Movatterモバイル変換


[0]ホーム

URL:


JP2004515119A - Apparatus and method for space-time turbo trellis coding - Google Patents

Apparatus and method for space-time turbo trellis coding
Download PDF

Info

Publication number
JP2004515119A
JP2004515119AJP2002544915AJP2002544915AJP2004515119AJP 2004515119 AJP2004515119 AJP 2004515119AJP 2002544915 AJP2002544915 AJP 2002544915AJP 2002544915 AJP2002544915 AJP 2002544915AJP 2004515119 AJP2004515119 AJP 2004515119A
Authority
JP
Japan
Prior art keywords
encoder
symbols
symbol
sttcm
bits
Prior art date
Legal status (The legal status is an assumption and is not a legal conclusion. Google has not performed a legal analysis and makes no representation as to the accuracy of the status listed.)
Pending
Application number
JP2002544915A
Other languages
Japanese (ja)
Inventor
ヴェセティック,ブランカ
ファーマント,ウェリー
ユアン,ジンホン
チェン,ジュオ
Current Assignee (The listed assignees may be inaccurate. Google has not performed a legal analysis and makes no representation or warranty as to the accuracy of the list.)
Nortel Networks Ltd
Original Assignee
Nortel Networks Ltd
Priority date (The priority date is an assumption and is not a legal conclusion. Google has not performed a legal analysis and makes no representation as to the accuracy of the date listed.)
Filing date
Publication date
Application filed by Nortel Networks LtdfiledCriticalNortel Networks Ltd
Publication of JP2004515119ApublicationCriticalpatent/JP2004515119A/en
Pendinglegal-statusCriticalCurrent

Links

Images

Classifications

Landscapes

Abstract

Translated fromJapanese

第1及び第2再帰的時空間トレリス符号変調(STTCM)符号器は、各々が、連続的なシンボル間隔で、b個の入力ビットの各群から複数のM−PSKシンボルを生成し、ここで、M=2である。bビット群は、第1符号器には直接的に与えられ、出力シンボルが逆にデインタリーブされる第2符号器にはインタリーバを介して与えられる。セレクタは、第1符号器からT個のシンボルを、デインタリーバからT個のシンボルを、送信ダイバーシチを行うためのT個のアンテナに関するT個の出力経路に、交互に連続的なシンボル間隔で与える。STTCM符号器は、高速及び低速フェージングチャネルに対して、異なるT,Mの値を利用する。First and second recursive space-time trellis code modulation (STTCM) encoders each generate, at successive symbol intervals, a plurality of M-PSK symbols from each group of b input bits, where , M =2b . The b bits are provided directly to the first encoder and via an interleaver to the second encoder, where the output symbols are deinterleaved in reverse. The selector provides the T symbols from the first encoder and the T symbols from the deinterleaver to T output paths for T antennas for transmit diversity at alternately consecutive symbol intervals. . The STTCM encoder utilizes different T, M values for the fast and slow fading channels.

Description

Translated fromJapanese

【0001】
[技術分野]
本発明は、いわゆるターボトレリス符号化(TC:turbo trellis coding)又はトレリス符号変調(TCM:trellis coded modulation)についての空間時間(ST:space−time)ダイバーシチを行う、例えばセルラ無線通信システムのような通信システムにおける符号化に関連する。
【0002】
[背景技術]
よく知られているように、無線通信チャネルは時変マルチパスフェージングに委ねられ、マルチパスフェージングチャネルに関する品質を向上させること又は有効誤り率を低減させることは比較的容易ではない。有利であることが見出されている技術の1つに、システムの送信機及び/又は受信機で2つ又はそれ以上のアンテナ(又は偏向した信号(signal polarizations))を利用するアンテナダイバーシチがある。
【0003】
セルラ無線通信システムでは、各基地局は、一般に多数の遠隔装置(固定された又は移動可能な装置)と通信し、その性質(例えば、サイズ及び場所)はアンテナダイバーシチに比較的適しており、遠隔装置におけるアンテナダイバーシチと供に又はそれを伴わずに、少なくとも基地局でアンテナダイバーシチを実行することが望ましい。この場合における少なくとも基地局からの通信に関し、それは送信ダイバーシチを行うこととなり、即ち信号は2つ又はそれ以上の送信アンテナから送信される。
【0004】
非特許文献1は、時空間ブロック符号化(STBC)を利用する単独の送信ダイバーシチ法を開示する。送信アンテナが2つの場合に、複素シンボルS0,−S1が一方のアンテナから連続的に送信され、複素シンボルS1,−S0が他方のアンテナから連続的に送信され、ここで、*は複素共役を表す。これら送信されたシンボルは、時空間ブロック(space−time block)と呼ばれるものを構成する。
【0005】
また、通信能力を強化するために様々な符号化を利用することも知られている。中でも、いわゆるターボ符号化(並列連結式畳み込み符号化(parallel concatenated convolutional coding))は、反復的なデコードが、AWGN(加法性白色ガウス雑音)通信チャネルに関し、シャノン限界(Shannon limit)に近い結果に到達することを可能にすることが、知られている。ターボ符号器は、典型的には理想的な2つの再帰的組織化畳み込み(RSC:recursive systematic convolutional)要素符号器を利用し、送信される信号は、要素符号器(component coder)の一方に直接的に与えられ、要素符号器の他方にはインタリーバを通じて与えられる。従って、ターボ及び時空間符号化を同一の送信機で組み合わせることが望ましい。
【0006】
非特許文献2は、トレリス(畳み込み)符号化及び時空間符号化の利点を与えるために2つ又はそれ以上の送信アンテナと供に使用され得る様々な畳み込み又はトレリス符号を開示している。これらの符号は、ダイバーシチ利得の最大化に最適であると考えられるが、符号利得(coding gain)には必ずしも最適ではない。更に、これらの符号は非再帰的である。これに対して、ターボ符号化の最良の効率は、再帰的符号を利用する場合に達成されることが立証されている。従って、タロー(Tarokh)等による符号は、ターボ符号化装置に使用される場合には、特に適切であるとはいえない。
【0007】
非特許文献3は、ウンガーボエク(Ungerboeck)及び多次元TCM要素符号器を利用するターボ符号器を開示しており、そこではインタリーバがm個の情報ビットの各群に対して動作する。m個の情報ビット群に対応する各ステップに関し、各要素符号器に付随する信号マッパ(mapper)がnシンボルを生成し、ここで、n=D/2であり、Dは信号集合次元(signal set dimensionaliry)である;例えば、D=2又は4ならば、n=1又は2である。nシンボルのデインタリーバは、第2の要素符号器からの出力シンボルをデインタリーブし、一連のステップに関してセレクタは第1要素符号器からのシンボル出力及びデインタリーバからのシンボルを交互に選択し、それらを単一の出力経路に与える。この装置は送信ダイバーシチを行わず、この文献は時空間符号化に関するものではない。
【0008】
非特許文献4は、その出力が時空間ブロック符号器に与えられる、2種類のターボトレリス符号変調(TCM)符号器を開示しており、ターボTCM及びSTBC装置が互いに簡潔に連結されるようにする。これら2つのターボTCM符号器の一方は、既に詳細に参照されている上述のロバートソン(Robertson)等による文献に開示されており、ウンガーボエク符号を利用し、マッピング関数部の出力に1つのシンボルを提供するが、そのボーク図(Bauch illustration)はシンボルデインタリーバを示していない。ボークの文献は、多次元要素符号器を議論していない。
【0009】
無線通信システムにおける符号化を通じた更なる改善を行うことが必要とされている。
【0010】
[非特許文献1]
S.M.Alamouti,“A Simple Transmit Diversity Technique for Wireless Communications”,IEEE Journal on Selected Areas in Communications,Vol.16,No.8,pages 1451−1458,October 1998
[非特許文献2]
V.Tarokh et al.,“Space−Time Coders for High Data Rate Wireless Communication”,IEEE Transactions on Information Theory,Vol.44,No.2,pages 744−765,March 1998
[非特許文献3]
P.Robertson et al.,“Bandwidth−Efficient Turbo Trellis−Coded Modulation Using Punctured Componet Codes”,IEEE Journal on Selected Areas in Communications,Vol.16,No.2,pages 206−218,February 1998
[非特許文献4]
G.Bauch,“Concatenation of Space−Time Block Codes and“Turbo”−TCM”,Proceedings of the International Conference on Communications,ICC’99,pages 1202−1206,June 1999
[発明の開示]
本発明の一態様による符号化装置は:第1及び第2の再帰的STTCM(時空間トレリス符号変調)符号器であって、複数の連続的なシンボル間隔の各々において、供給されるb個のビットから複数のT個のM−PSK(M位相シフトキーイング,ここでMは複数の整数)シンボルを生成するように各々が形成され、bは整数であるところの第1及び第2の再帰的STTCM符号器;偶数対偶数及び奇数対奇数、又は偶数対奇数及び奇数対偶数のマッピングを行いながらインタリーブブロック内でb個の入力ビットの各群をインタリーブするよう形成されるインタリーバ;第1の符号器及びインタリーバに供給される入力ビット、及びインタリーバから第2の符号器に供給されるインタリーブされたビット;インタリーバによるインタリーブとは逆の手法で、第2のSTTCM符号器により生成されたT個のシンボル群をデインタリーブするように形成されるシンボルデインタリーバ;及びT個の出力経路の各々に、第1のSTTCM符号器により生成されたT個のシンボル及びデインタリーバからのT個のシンボルを交互のシンボル間隔で供給するように形成されるセレクタ;を有する符号化装置である。
【0011】
好ましくは、各符号器は、各シンボル間隔で、前記符号器に供給された現在又は1つ若しくはそれ以上過去のbビット群の線形結合のT個のモジュロM加算値を生成し、各シンボル間隔で符号器により形成されるT個のシンボルを形成する。好都合なことには、各符号器に関し、M=2であり、bは少なくとも2でり、例えば、b=2又は3である。
【0012】
T個の出力経路は、一般的には送信機のT個のアンテナに至り、ターボ符号化TCMシンボルに関する時空間ダイバーシチを行い、例えば、T=2,3又は4である。
【0013】
また、本発明が提供する方法は、複数のT個のアンテナから送信される情報について時空間ダイバーシチを行うために符号化を行う方法であって:複数の連続的なシンボル間隔の各々において、第1及び第2の再帰的STTCM(時空間トレリス符号変調)符号器の各出力にてT個のシンボルを生成するステップであって、偶数対偶数及び奇数対奇数、又は偶数対奇数及び奇数対偶数の位置にマッピングしながら、第1の符号器には入力ビットが直接的に供給され、第2の符号器には、インタリーブブロックにおけるシンボル間隔の間にビット群のインタリーブを行った後に、情報ビットが供給されるところのステップ;インタリーブとは逆の手法で、第2のSTTCM符号器により生成されたT個のシンボル群をデインタリーブするステップ;及びT個のアンテナへの経路に供給するために、第1及び第2各自の交互のシンボル間隔で、第1の符号器により生成されたT個のシンボル及びデインタリーブするステップによるT個のシンボルを選択するステップ;より成る方法である。
【0014】
当業者に明らかなように、好ましい特徴は適切に組み合わせることが可能であり、本発明の任意の態様と供に組み合わせることが可能である。
【0015】
[発明を実施するための最良の形態]
本発明は、添付図面を参照しながら行われる以下の説明により更に理解されるであろう。
【0016】
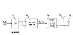
図を参照するに、図1は、既存の時空間ブロック符号化(STBC)送信機の一部を示す。簡単のため及び明確化のため、この図及び他の図において、従来技術及び本願実施例の理解に必要な部分のみが描かれている。
【0017】
図1の送信機は、並列直列変換器(S−P)10と、M−PSKマッピング関数部12と、送信ダイバーシチを行う少なくとも2つのアンテナ16,18に対して、アップコンバータのような送信機能部により出力を与える時空間ブロック符号器(STBC)14を含み、電力増幅器はブロックとして描かれていないが、図1にて波線で示されている。S−P変換器10には、通信される情報入力ビットが与えられ、2つ又はそれ以上の並列線にてM−PSKマッピング関数部12に出力ビットを与え、それは、等エネルギ信号コンステレーションの並列ビットシーケンスシンボルx,x,...から生成される。
【0018】
例えば、図1に示されるように、マッピング関数部12は、M=4のQPSK(直交位相シフトキーイング)信号点配置の各々に対して、S−P変換器10からの各2入力ビットに関するグレイコードマッピングを行う。マッピング関数部12は、例えばM=2(この場合は、S−P変換器10は不要である。),4又は8のような、所望の任意の位相状態数に関する信号点配置に関する所望のマッピングを行い得ることが、理解されるであろう。
【0019】
複素数により表現されるQPSKシンボルx,x,...は、STBC14に与えられ、それは図1では簡単のため各送信アンテナ16,18用に2つの出力を有するように描かれているが、より多くの送信アンテナに対応して2以上の出力を備えることも可能である。図示されているような2アンテナの場合には、STBC14は、図1に示されるように、その入力に与えられる一連のシンボルのペアx,x各々からシンボルの時空間ブロックを形成する。
【0020】
より具体的には、STBC関数部は、T×Tの直交行列Hxによって表現され、ここで、Tは、送信アンテナ数であり、即ちSTBC14のシンボル出力数である。図1に示されるようなT=2の場合には、次のように表現される。
【0021】
【数1】

Figure 2004515119
この行列Hxによれば、STBC14の入力に与えられるPSKシンボルx,xのペア各々に関し、第1シンボル期間にて、アンテナ16にシンボルxが供給され第2アンテナ18にシンボルxが供給され、第2シンボル期間では、アンテナ16にシンボル−xが供給され第2アンテナ18にシンボルxが供給され、ここで*は複素共役を表す。従って、空間及び時間ダイバーシチを行うために、各ペアにおける両QPSKシンボルは、異なるアンテナから異なる時間に異なる形式で2回送信される。行列Hxの各列は、各アンテナから連続的な時間間隔で送信されるシンボルを示し、各行はそれぞれシンボル送信間隔を表現することが、理解されるであろう。
【0022】
図2を参照するに、既存のターボ(並列連結畳込)符号器は、ターボ符号器の構成要素又は要素符号器として言及される2つの再帰的システム畳み込み(RSC)符号器20,22と、インタリーバ24と、セレクタ26より成る。入力ビットは一方の符号器20に供給され、その出力にて、入力ビットと同一の組織ビット(systematic bit)S1及びパリティビットP1の両者を与える。また、入力ビットはインタリーバ24にも供給されそれによりインタリーブされ、インタリーブされたビットは他の符号器の入力に供給され、他の符号器は、その出力にて、インタリーブされた入力ビットと同一の組織ビットS2及びパリティビットの両者を与える。2つの符号器20,22の出力はセレクタ26の入力に与えられるが、典型的には図3に示されるように、この出力におけるインタリーブされたビットはセレクタ26により選択されていないので、符号器22の出力ビット系列は接続されない。
【0023】
セレクタ26は、総てのビット系列S1と、符号器20,22からのパリティビットP1,P2の全部又は一部をそれぞれ選択し、ターボ符号器の出力に出力ビットとして供給する。パリティビットの選択は、符号器のレートに依存する。例えば、レート1/3(各入力ビットにつき3つの出力ビット)の符号器では、セレクタ26はパリティビットP1及びP2全部を選択する。レート1/2(各入力ビットにつき2つの出力ビット)の符号器では、セレクタ26はパリティビットP1,P2を交互に選択し、パリティビットP1の半分及びパリティビットP2の半分が出力になるようにすることが可能であり、このプロセスはパンクチャリング(puncturing)と呼ばれる。
【0024】
背景技術で言及した(ロバートソン等の)ターボTCM装置では、インタリーバ24は、mビットの各群に対して動作し、それらは、各要素符号器の出力において、その系列及びパリティ情報を結合するPSKシンボルにマッピングされる。第2要素符号器からのシンボルは、デインタリーバによりデインタリーブされ、出力セレクタは、第1要素符号器(及びデインタリーバ)からのシンボル出力を交互に選択する。この場合におけるインタリーバ(及びデインタリーバ)は、偶数対偶数、及び奇数対奇数(又は偶数対奇数、及び奇数対偶数)の位置番号の対応付けを行うこと(ポジションマッピング)が必要がある。
【0025】
背景技術で言及した連結SBTC及びターボ符号化(ボーク)装置では、本質的には、図3におけるもののようなターボ符号器の出力ビットが、図1におけるもののような時空間ブロック符号器に入力ビットとして供給され、又はロバートソン等によるターボTCM符号器からの出力シンボルが、図1にて説明されたようなSTBC符号器14に入力シンボルとして供給される。
【0026】
図3は、本願実施例による、2つの送信アンテナを利用する送信用のターボ時空間トレリス符号変調(STTCM)符号化装置の一部を示す。図1の場合と同様に、2つのアンテナが16,18で表されており、通信される情報入力ビットは、b個の情報ビットの各群についてb個の出力を与えるS−P変換器10に与えられる。図3の残りの要素は、ターボSTTCM符号化装置を示し、それは、第1,第2再帰的STTCM要素符号器30,32、インタリーバ34、シンボルデインタリーバ36、及び2つのアンテナ16,18各々への送信経路に関する2つの出力を有するセレクタ38を有する。符号器30,32及びインタリーバ34は、各々が、情報ビット群に対してb個の入力を有する。
【0027】
S−P変換器10から供給されるbビット群(グループ)は、それらのグループ内でインタリーバ34によりインタリーブされる。符号器30に供給されるインタリーブされないビット群、及び符号器32に供給されるインタリーブされたビット群は、符号化され、以下に説明されるような機能部によってシンボルにマッピングされる。図3に示されるような2つの送信アンテナに対応する2つの出力経路がある場合に、各符号器30,32は各ビット群に関して2つのM−PSKシンボルを生成し、ここで、M=2である。インタリーブされないビット群から第1符号器30により各シンボル間隔で生成されるシンボルは、図3にてx1,x1で示される。第2符号器32により生成されるシンボルは、インタリーバ34と逆の操作を行うデインタリーバ36によりデインタリーブされ、図3にてx2,x2で示される各シンボル間隔のシンボルを生成する。ここで、簡単のため及び明確化のため、符号器30,32が同一であることを想定しているが、既存のターボ符号器に関してこのことは必須ではなく、符号器30,32は互いに異なり得る。
【0028】
セレクタ38は、そのビットグループレートにて交互の1及び0の制御信号(1010...として図示されている)によって制御され、セレクタ38内のスイッチによって図3に示されるような選択及びパンクチャリング機能を実行する。制御信号の第1状態では、例えば制御信号が2進数の1である場合に、セレクタ38のスイッチは図3に示される状態を有し、符号器30からのシンボルx1,x1が、x,xとして送信アンテナ16,18への出力経路にそれぞれ供給され、シンボルデインタリーバ36からのシンボルx2,x2は使用されない。制御信号の第2状態では、例えば制御信号が2進数の0である場合に、セレクタ38のスイッチは逆の状態を有し、シンボルデインタリーバ36からのシンボルx2,x2が、x,xとして送信アンテナ16,18への出力経路にそれぞれ供給され、符号器30からのシンボルx1,x1は使用されない。
【0029】
上述したような符号器30からのインタリーブされていないシンボル及びデインタリーブ36からのデインタリーブされたシンボルを交互に選択するセレクタ38に関し、インタリーバ34は、その入力における偶数番号の位置(偶数位置)をその出力における偶数位置に、その入力における奇数位置をその出力における奇数位置にマッピングすること(或いは、代替的に、偶数対奇数、及び奇数対偶数のポジションマッピングすること)が、(上述したロバートソン等の文献に説明されているようなデコードに起因して)必要であることは、理解されるであろう。従ってインタリーバ34はそのようなマッピングを行うように形成され、デインタリーバ36はその逆のマッピングを行うように形成される。
【0030】
以下、簡単な具体例と供に図3の符号化装置が更に説明され、そこでは要素符号器30,32は、2つの送信アンテナについて2つの出力経路を有する同一の8状態再帰的QPSK(即ち、M=4)STTCM符号器であり、b=2ビットの6グループのブロックサイズでインタリーブすることが想定されている。符号器状態は0乃至7で番号付けられ、各QPSKシンボルは0乃至3で番号付けられた4状態の内の1つを有する。符号器30,32の各々は、以下の表1に従って動作し、そこでは符号器の次の状態及び2つのQPSKシンボル出力が、符号器の現在状態及び目下のグループのb=2個の入力ビットの現在状態に依存して変化する。これらは表の中でp/qrの形式で表現され、ここで、pは符号器の次の状態を示し、q及びrは2つのQPSK出力シンボルを示し、例えば符号器30に関するシンボルx1,x1それぞれである。
【0031】
表1
【0032】
【表1】
Figure 2004515119
例えば、符号化装置に対する入力ビットシーケンスが、c=(10,00,11,10,01,01)であるならば、表1により、状態0から始まって、符号器30は、次の状態を連続的に4,6,7,7,2,5に変化させながら、シンボル系列(x1,x1)={(0,2),(1,1),(1,3),(2,1),(0,1),(0,0)}を生成することが分かる。インタリーバ34が、シーケンスcをインタリーブして、インタリーブされたシーケンスc=(01,10,10,01,11,00)を形成するならば、即ちインタリーバが、インタリーブブロックの0乃至5の位置番号にて各2ビット群を位置2,5,4,1,0,3にそれぞれ移動させるならば、符号器32は、次の状態を連続的に1,5,3,4,3,5に変化させながら、初期状態0からシンボル系列{(2,2),(3,2),(0,3),(3,0),(3,1),(1,2)}を生成する。デインタリーバ34は、このシーケンスをデインタリーブし、シーケンス(x2,x2)={(0,3),(1,2),(3,1),(3,2),(2,2),(3,0)}を生成する。そして、セレクタ38は、アンテナ16への出力経路にシンボルシーケンスx=(0,1,1,3,0,3)を与え、アンテナ18への出力経路にシンボルシーケンスx=(2,2,3,2,1,0)を与える。
【0033】
上記の説明により及び図3により、装置30,32,34,36,38は時空間トレリス符号変調に関するターボ符号化装置を与え、これら符号化関数部の符号化利得及びダイバーシチ利得の恩恵を結び付け得ることが、理解されるであろう。
【0034】
上記の簡易な例は、図3の符号化装置及びその動作の充分な理解を支援するために与えられ、使用される具体的なSTTCM符号の選択は、その符号化装置の実効性に大きく影響し得ることが、理解されるであろう。例えば、上述のタロー等の公知文献によるSTTCM符号は、ターボ符号化装置の利点を充分に得るのに重要な再帰的なものではなく、符号化利得には必ずしも最適ではない。STTCM符号は、(算出が可能な)体系的な符号探索法により見出されることが可能であり、S.Baro et al.,“Improved Codes for Space−Time Trellis Coded Modulation”,IEEE Communication Letters,Vol.4,No.1,pages 20−22,January 2000 に述べられているように、理論的に最大のダイバーシチ利得及び改善された符号化利得を与え得る。所望のSTTCM符号(及びSTTCM符号器30,32の形式)は、既存の又は今までに設計された他の手法でも決定され得る。以下に説明される特定の符号は、特定の状況で有利な実効性(パフォーマンス)を与えると考えられる再帰的STTCM符号の例として与えられる。
【0035】
図4は、16状態のQPSK再帰的フィードバックSTTCM符号器を示し、これは、上述の図3に関連して説明される符号化装置の要素符号器30,32の各々を構築するために使用され得る。
【0036】
図4を参照するに、再帰的フィードバックSTTCM符号器は、各々が、時刻tにおける符号器へのb=2(QPSKの場合)個の入力ビットc,cに対応する遅延Tを与える4つの遅延素子41乃至44を有し、これにより各遅延素子は2=16状態の符号器を与える。それに加えて、符号器は、加算要素45,46、乗算関数部47乃至52、及び加算関数部53を有し、加算関数部は、乗算関数部42乃至52の出力供給を受け、(2つの送信アンテナに対して)時刻tにて2つの出力シンボルx,xを生成し、それらは例えば上述したような符号器30の出力シンボルx1,x1に対応する。
【0037】
入力ビットcは、加算要素45の一方の入力に供給され、遅延素子41,42の出力は他の入力に供給され、その(加算要素の)出力は遅延要素41の入力に供給される。また、遅延要素41の出力は、遅延要素42の入力にも供給される。また、加算要素45の出力及び遅延要素41,42の出力は、乗算関数部47乃至49の入力にそれぞれ供給され、それらには乗算係数(a,a),(a,a)及び(a,a)が与えられる。
【0038】
同様に、入力ビットcは、加算要素46の一方の入力に供給され、遅延素子43,44の出力は他の入力に供給され、その(加算要素の)出力は遅延要素43の入力に供給される。また、遅延要素43の出力は、遅延要素44の入力にも供給される。また、加算要素46の出力及び遅延要素43,44の出力は、乗算関数部50乃至52の入力にそれぞれ供給され、それらには乗算係数(b,b),(b,b)及び(b,b)が与えられる。
【0039】
図4の符号器は、現在の及び遅延した2進入力の線形結合のモジュロ4加算(modulo−4 sum)を与え、数式的には次式(1)で表現される:
【0040】
【数2】
Figure 2004515119
ここで、
【0041】
【数3】
Figure 2004515119
は2つの出力シンボルを区別するものであり、符号器のメモリ次数(order)vは、v=v+vにより与えられ、QPSKに関して
【0042】
【数4】
Figure 2004515119
であり、この場合において
【0043】
【数5】
Figure 2004515119
であり、変数
【0044】
【外1】
Figure 2004515119
は、
【0045】
【数6】
Figure 2004515119
により表現される。
【0046】
高速フェージングチャネル(あるシンボル期間から次への間にフェージング係数が変化するようなチャネル)におけるSTTCM符号化の実効性(パフォーマンス)は、最小シンボルハミング距離δHmin及び最小プロダクト距離(product distance)pdminにより決定される。表2は、メモリ次数の様々な値vに関する乗算係数で表現された再帰的QPSK STTCM符号を列挙し、それらは、各基準を最も良好に満たすように見出され、従って上述した図4により例示される形態を利用して与え等得ることが望ましい(各メモリ次数に適切であるならば縮小又は拡張される)。
【0047】
表2
【0048】
【表2】
Figure 2004515119
同様に、2つの送信アンテナを有する送信機における8PSK STTCM符号器は、高速フェージングチャネルに対して、時刻tにおける現在の及び遅延した2進入力c,c,cの線形結合のモジュロ8加算を与え、数式的には次式(2)により表現され得る。
【0049】
【数7】
Figure 2004515119
ここで、
【0050】
【数8】
Figure 2004515119
は2つの出力シンボルを区別するためのものであり、符号器のメモリ次数vは、v=v+v+v により与えられ、8PSKについては、
【0051】
【数9】
Figure 2004515119
であり、変数
【0052】
【外2】
Figure 2004515119
は、
【0053】
【数10】
Figure 2004515119
として定められる。上記の表2と同様の形式を有する表3は、現在の8PSK STTCM符号に対する乗算係数を列挙する。
【0054】
表3
【0055】
【表3】
Figure 2004515119
低速フェージングチャネル(インタリーブブロックのシンボルの間にフェージング係数が一定であるチャネル)では、再帰的フィードバックSTTCM符号は、トレリスの出力の順序を並べ替えることによって、フィードフォワード符号から導出され得る。以下の表4は、フィードフォワード符号及び導出される再帰的フィードバック符号に関し、上述の表1と同様の形式で、符号器の次の状態、及び2つの送信アンテナに対する符号化装置の4状態QPSK STTCM符号器の2つの出力シンボルを表現する。
【0056】
表4
【0057】
【表4】
Figure 2004515119
同様に、以下の表5は、フィードフォワード符号及び導出される再帰的フィードバック符号に関し、符号器の次の状態、及び2つの送信アンテナに対する符号化装置の8状態QPSK STTCM符号器の2つの出力シンボルを表現する。
【0058】
表5
【0059】
【表5】
Figure 2004515119
同様に、以下の表6は、導出される再帰的フィードバック符号のみに関し、符号器の次の状態、及び2つの送信アンテナに対する符号化装置の8状態PSK STTCM符号器の2つの出力シンボルを表現する。
【0060】
表6
【0061】
【表6】
Figure 2004515119
表4,5,6にて規定される再帰的フィードバックSTTCM符号は、低速フェージングチャネルに関し、2つの送信アンテナを有する送信機に有利に使用され得る。
【0062】
上記の各例は、図3のターボ符号化装置の2つの要素符号器30,32から交互に2つのアンテナに供給するために、b個の入力ビットの各群につき2つの出力シンボルを与える再帰的STTCM符号に関連する。b個の入力ビットの各群に対してより多くの出力シンボルを与える再帰的STTCM要素符号器を利用することで、より多くの送信アンテナを利用する符号化装置に応用され得ることが、理解されるであろう。一般に、送信機が複数のT個の送信アンテナを有するならば、2つの要素符号器の各々は、b個の入力ビットの各群に対してT個の出力シンボルを与える再帰的STTCM符号器であるよう選択され、セレクタは、2つの要素符号器からのT個のシンボルを交互に選択し、T個の送信アンテナに対するT個の出力経路に供給する。
【0063】
例として、以下の表7は、表2と同様に、様々なメモリ次数値vに関し、3つの出力シンボル、即ち3つの送信アンテナについての再帰的QPSK STTCM符号に関する乗算係数を列挙する。
【0064】
表7
【0065】
【表7】
Figure 2004515119
高速フェージングに関する、3つの送信アンテナを利用するQPSKシンボルに関し、再帰的STTCM符号器は、上述したような数式(1)により表現されるが、3つの出力経路に対応して、nは、
【0066】
【数11】
Figure 2004515119
である。
【0067】
更なる例として、以下の表8は、上述した例と同様に、様々なメモリ次数値vに関し、4つの出力シンボル、即ち4つの送信アンテナについての再帰的8−PSK STTCM符号に関する乗算係数を列挙する。
【0068】
表8
【0069】
【表8】
Figure 2004515119
高速フェージングチャネルに関する4つの送信アンテナの8−PSKシンボルでは、再帰的STTCM符号器は上記の数式(2)により表現されるが、4つの出力経路に対応して、nは、
【0070】
【数12】
Figure 2004515119
である。M−PSKシンボル及び多数の送信アンテナに関する他の組み合わせについてのSTTCM符号の形式は、これらの具体例から理解され得るであろう。
【0071】
図5は、図3を参照しながら説明したような符号化装置を利用する送信機からの信号を受信するために、受信機で使用されるデコード装置を示す。受信機(図示せず)は、単独の受信アンテナ並びにダウンコンバータ、信号増幅器及びサンプラのような関連する回路を備え、以下に説明されるようなデコード装置の入力に供給される受信シンボルを与えることが可能であり、又は2つ又はそれ以上の受信アンテナを備え、それに応じて修正されるデコード装置に供給される信号を与えることが可能である。
【0072】
デコード装置は、デパンクチャリング(de−puncturing)セレクタ60、2つのソフト出力トレリス符号デコーダ61,62、シンボルインタリーバ63,64、及びシンボルデインタリーバ65,66を有する。デインタリーバ65,66は、図3のターボ符号化装置のデインタリーバ36と同様なシンボルに基づくデインタリーブを行い、インタリーバ63,64、ターボ符号化装置のビット群インタリーバ34のインタリーブと逆の操作を行う。
【0073】
図5のデコード装置は、上述したロバートソン等の公知文献に示されるシンボル毎のログマップ(帰納的最大(maximum a posteriori))デコーダであり、その文献にはそのようなデコーダの詳細が記載されている。よく知られているように、図3のターボ符号化装置の要素符号器30,32各々と相補的であるデコーダ61,62は、ターボ符号化利得を利用して反復的に動作する。デコーダ61は、インタリーブされていない又はデインタリーブされた情報を操作(処理)し、デコーダ62はインタリーブされた情報を操作し、インタリーバ63,64及びデインタリーバ65は、これらのデコーダの間に接続され、情報のシンボル毎のインタリーブ及びデインタリーブを行う。所望の繰り返し数の後に、デインタリーバ66を通じてデコーダ62から出力判定が導出される。
【0074】
従って、セレクタ60に供給される交互の1及びゼロ(1010...)による制御信号によって決定される交互のシンボル期間にて、受信シンボルrはデコーダ61に与えられ、及びインタリーバ63によってインタリーブされ、デコーダ62に供給されるインタリーブされた受信シンボル
【0075】
【外3】
Figure 2004515119
を生成する。デコード装置の第1の反復では、デコーダ61は、外部(extrinsic)及び組織(systematic)情報
【0076】
【外4】
Figure 2004515119
を決定し(ロバートソン等の文献で説明されているように、シンボル毎のデコード装置では不可分である)、各受信シンボルに対するログ最尤率(log−likelihood ratios)を形成し、これらはインタリーバ64によってインタリーブされ、インタリーブされた外部及び組織情報
【0077】
【外5】
Figure 2004515119
を生成する。このインタリーブされた外部及び組織情報はデコーダ62に供給され、そのデコーダはそれを経験的情報として利用し、インタリーブされた受信シンボル
【0078】
【外6】
Figure 2004515119
をデコードする。デコーダ62は、インタリーブされた外部及び組織情報
【0079】
【外7】
Figure 2004515119
及び受信シンボルを表現するインタリーブされた情報
【0080】
【外8】
Figure 2004515119
を連続的に生成する。インタリーブされた外部及び組織情報
【0081】
【外9】
Figure 2004515119
は、デインタリーバ65によりデインタリーブされ、デコード装置の第2の反復にて経験情報として使用するために、デコーダ61に与えられる外部及び組織情報
【0082】
【外10】
Figure 2004515119
を生成する。各シンボルについての出力判定を行うために、デコーダ62により生成された情報
【0083】
【外11】
Figure 2004515119
が、デインタリーバ66によりデインタリーブされた後に、このプロセスは、所望の反復数にわたって反復される。
【0084】
ロバートソン等の文献に説明されているように、デコーダ61,62は、各反復にて1度以上同じ組織情報を利用することを回避するように形成され得る。
【0085】
以上本発明の特定の実施例が詳細に説明されたが、特許請求の範囲に規定される本発明の範囲内で様々な修正、変形及び応用がなされ得ることは、理解されるであろう。特に、上記以外の、再帰的STTCM要素符号器、ビット群のサイズ、M−PSKシンボル、及び出力経路数又は送信アンテナ数が使用され得ることが、理解されるであろう。
【図面の簡単な説明】
【図1】
既存の時空間ブロック符号(STBC)送信機の一部を示す図である。
【図2】
既存のターボ符号器を示す図である。
【図3】
本願実施例による、2つの送信アンテナを利用する送信機用のターボ時空間トレリス符号変調(STTCM)符号化装置の一部を示す図である。
【図4】
図3の装置に使用され得る16状態再帰的トレリス符号器を示す図である。
【図5】
図3の符号化装置に使用するデコード装置を示す図である。[0001]
[Technical field]
The present invention provides space-time (ST) diversity for so-called turbo trellis coding (TC) or trellis coded modulation (TCM), such as a cellular radio communication system. Related to coding in communication systems.
[0002]
[Background Art]
As is well known, wireless communication channels are subject to time-varying multipath fading, and it is relatively difficult to improve the quality or reduce the effective error rate for a multipath fading channel. One technique that has been found to be advantageous is antenna diversity, which utilizes two or more antennas (or signal-polarizations) at the transmitter and / or receiver of the system. .
[0003]
In a cellular wireless communication system, each base station typically communicates with a number of remote devices (stationary or mobile devices), the nature (eg, size and location) of which is relatively suitable for antenna diversity, and It is desirable to perform antenna diversity at least at the base station with or without antenna diversity in the device. At least for communication from the base station in this case, it will result in transmit diversity, ie, signals are transmitted from two or more transmit antennas.
[0004]
Non-Patent Document 1 discloses a single transmission diversity method using space-time block coding (STBC). When there are two transmitting antennas, complex symbols S0, -S1*Are continuously transmitted from one antenna, and the complex symbols S1, -S0*Are continuously transmitted from the other antenna, where * represents a complex conjugate. These transmitted symbols constitute what is referred to as a space-time block.
[0005]
It is also known to use various codings to enhance communication capabilities. Above all, so-called turbo coding (parallel concatenated convolutional coding) is a method in which iterative decoding is performed on an AWGN (additive white Gaussian noise) communication channel with a result close to the Shannon limit. It is known to be able to reach. Turbo encoders typically utilize an ideal recursive systematic convolutional (RSC) elementary encoder, where the transmitted signal is directly applied to one of the component encoders. And the other of the component encoders is provided through an interleaver. Therefore, it is desirable to combine turbo and space-time coding with the same transmitter.
[0006]
Non-PatentDocument 2 discloses various convolutional or trellis codes that can be used with two or more transmit antennas to provide the advantages of trellis (convolution) coding and space-time coding. Although these codes are considered optimal for maximizing diversity gain, they are not necessarily optimal for code gain. Furthermore, these codes are non-recursive. In contrast, the best efficiency of turbo coding has been demonstrated to be achieved when utilizing recursive codes. Therefore, codes based on Tarokh or the like are not particularly suitable when used in turbo coding devices.
[0007]
Non-Patent Document 3 discloses a turbo coder that utilizes an Ungerboeck and a multidimensional TCM elementary coder, where an interleaver operates on each group of m information bits. For each step corresponding to the m information bits, the signal mapper associated with each element encoder generates n symbols, where n = D / 2, and D is the signal set dimension (signal) set dimensionally); for example, if D = 2 or 4, then n = 1 or 2. The n-symbol deinterleaver deinterleaves the output symbols from the second component encoder, and for a series of steps, the selector alternately selects the symbol output from the first component encoder and the symbol from the deinterleaver. To a single output path. This device does not provide transmit diversity, and this document is not related to space-time coding.
[0008]
Non-Patent Document 4 discloses two types of turbo trellis code modulation (TCM) encoders, the outputs of which are provided to a space-time block encoder, such that the turbo TCM and STBC devices are simply coupled together. I do. One of these two turbo TCM encoders is disclosed in the above-mentioned document by Robertson et al., Which has already been referred to in detail, and utilizes an Ungerboeck code and outputs one symbol to the output of the mapping function unit. Although provided, the Balk diagram does not show a symbol deinterleaver. Bourke's document does not discuss multidimensional element encoders.
[0009]
There is a need to make further improvements through coding in wireless communication systems.
[0010]
[Non-Patent Document 1]
S. M. Alamouti, "A Simple Transmit Diversity Technology for Wireless Communications," IEEE Journal on Selected, Areas in Communications, Vol. 16, No. 8, pages 1451-1458, October 1998
[Non-Patent Document 2]
V. Tarokh et al. , "Space-Time Coders for High Data Data Wireless Communication", IEEE Transactions on Information Theory, Vol. 44, no. 2, pages 744-765, March 1998
[Non-Patent Document 3]
P. Robertson et al. , "Bandwidth-Efficient Turbo Trellis-Coded Modulation Using Punctured Component Codes", IEEE Journal on on Selected Areas in Communications, Vol. 16, No. 2, pages 206-218, February 1998
[Non-Patent Document 4]
G. FIG. Bauch, “Concatenation of Space-Time Block of Codes and“ Turbo ”-TCM”, Proceedings of the International, Conference on Communications, ICC'99, pages 120-1206, Jun.
[Disclosure of the Invention]
An encoding device according to one aspect of the present invention is: a first and a second recursive STTCM (space-time trellis code modulation) encoder, wherein b supplied at each of a plurality of consecutive symbol intervals. First and second recursive where each is formed to generate a plurality of T M-PSK (M phase shift keying, where M is a plurality of integers) symbols from the bits, where b is an integer. STTCM encoder; interleaver configured to interleave each group of b input bits in an interleaved block while performing even-even and odd-odd or even-odd and odd-even mapping; first code Input bits provided to an encoder and an interleaver and interleaved bits provided from the interleaver to a second encoder; interleaving by the interleaver Is a symbol deinterleaver configured to deinterleave the T symbols generated by the second STTCM encoder in the reverse manner; and a first STTCM encoder for each of the T output paths. And a selector configured to supply the T symbols generated from the deinterleaver and the T symbols generated by the deinterleaver at alternate symbol intervals.
[0011]
Preferably, each encoder generates, at each symbol interval, T modulo M additions of a linear combination of the current or one or more previous b bits supplied to the encoder, and each symbol interval Form T symbols formed by the encoder. Advantageously, for each encoder, M = 2bWhere b is at least 2, for example, b = 2 or 3.
[0012]
The T output paths typically lead to the transmitter's T antennas and provide space-time diversity for turbo-coded TCM symbols, for example, T = 2, 3, or 4.
[0013]
Also, a method provided by the present invention is a method of performing encoding for performing space-time diversity on information transmitted from a plurality of T antennas, wherein: Generating T symbols at each output of a first and a second recursive STTCM (space-time trellis code modulation) encoder, wherein the symbols are even-even and odd-odd or even-odd and odd-even. , While the first encoder is supplied directly with the input bits, and the second encoder interleaves the bits during the symbol interval in the interleaved block, after which the information bits Where T is provided; deinterleaving the group of T symbols generated by the second STTCM encoder in the reverse manner to interleaving. And T symbols generated by the first encoder and T interleaving steps at the first and second respective alternate symbol intervals to provide a path to the T antennas. Selecting a symbol;
[0014]
As will be apparent to those skilled in the art, the preferred features can be combined as appropriate and combined with any of the aspects of the invention.
[0015]
[Best Mode for Carrying Out the Invention]
The invention will be better understood from the following description made with reference to the accompanying drawings.
[0016]
Referring to the figures, FIG. 1 shows a portion of an existing space-time block coding (STBC) transmitter. For simplicity and clarity, this and the other figures show only those parts that are necessary for understanding the prior art and the embodiments of the present application.
[0017]
The transmitter shown in FIG. 1 includes a parallel-to-serial converter (SP) 10, an M-PSKmapping function unit 12, and at least twoantennas 16 and 18 that perform transmission diversity. It includes a space-time block coder (STBC) 14, which provides output by the unit, and the power amplifier is not depicted as a block, but is shown in dashed lines in FIG. TheSP converter 10 is provided with information input bits to be communicated and provides output bits to the M-PSKmapping function unit 12 on two or more parallel lines, which are used for the equal energy signal constellation. Parallel bit sequence symbol x1, X2,. . . Generated from
[0018]
For example, as shown in FIG. 1, for each of the M = 4 QPSK (quadrature phase shift keying) signal point constellations, themapping function unit 12 generates a gray scale for each two input bits from theSP converter 10. Perform code mapping. Themapping function unit 12 performs a desired mapping on a signal point constellation for a desired arbitrary number of phase states, for example, M = 2 (in this case, theSP converter 10 is unnecessary), 4 or 8, Will be understood.
[0019]
QPSK symbol x represented by a complex number1, X2,. . . Is provided to the STBC 14, which is depicted in FIG. 1 as having two outputs for each transmitantenna 16, 18 for simplicity, but with more than two outputs corresponding to more transmit antennas. It is also possible. In the case of two antennas as shown, the STBC 14 generates a series of symbol pairs x applied to its input, as shown in FIG.1, X2A spatio-temporal block of symbols is formed from each.
[0020]
More specifically, the STBC function part is represented by a T × T orthogonal matrix Hx, where T is the number of transmitting antennas, that is, the number of symbol outputs of the STBC 14. When T = 2 as shown in FIG. 1, it is expressed as follows.
[0021]
(Equation 1)
Figure 2004515119
According to this matrix Hx, the PSK symbol x given to the input of STBC 141, X2, During the first symbol period, a symbol x1Is supplied to thesecond antenna 18 and the symbol x2Is supplied to theantenna 16 in the second symbol period.2*Is supplied to thesecond antenna 18 and the symbol x1*Where * represents a complex conjugate. Thus, to achieve spatial and temporal diversity, both QPSK symbols in each pair are transmitted twice from different antennas at different times and in different formats. It will be appreciated that each column of the matrix Hx indicates a symbol transmitted at a continuous time interval from each antenna and each row represents a respective symbol transmission interval.
[0022]
Referring to FIG. 2, an existing turbo (parallel concatenated convolutional) encoder comprises two recursive system convolutional (RSC)encoders 20, 22, referred to as turbo encoder components or component encoders. It comprises aninterleaver 24 and aselector 26. The input bits are supplied to one of theencoders 20 and at the output thereof provide both the same systematic bits S1 and the parity bits P1 as the input bits. The input bits are also provided to and interleaved by theinterleaver 24, and the interleaved bits are provided to the inputs of another encoder, which outputs at its output the same as the interleaved input bits. Provide both the systematic bit S2 and the parity bit. The outputs of the twoencoders 20, 22 are provided to the input of aselector 26, but typically the interleaved bits at this output have not been selected by theselector 26, as shown in FIG. The 22 output bit sequences are not connected.
[0023]
Theselector 26 selects all the bit sequences S1 and all or some of the parity bits P1 and P2 from theencoders 20 and 22, respectively, and supplies them as output bits to the output of the turbo encoder. The choice of parity bits depends on the rate of the encoder. For example, in an encoder with a rate of 1/3 (three output bits for each input bit),selector 26 selects all parity bits P1 and P2. In a coder with a rate of 1/2 (two output bits for each input bit), theselector 26 alternately selects the parity bits P1, P2 so that half of the parity bits P1 and half of the parity bits P2 are output. And this process is called puncturing.
[0024]
In the Turbo TCM devices mentioned in the background (such as Robertson), theinterleaver 24 operates on each group of m bits, which combine the sequence and parity information at the output of each elementary encoder. Maps to a PSK symbol. The symbols from the second component encoder are deinterleaved by the deinterleaver, and the output selector alternately selects the symbol output from the first component encoder (and the deinterleaver). In this case, the interleaver (and the deinterleaver) needs to associate the position numbers of the even number with the even number and the odd number with the odd number (or the even number with the odd number and the odd number with the even number) (position mapping).
[0025]
In the concatenated SBTC and Turbo coding (Balk) device mentioned in the background, the output bits of the Turbo coder, such as in FIG. 3, are essentially the input bits to the space-time block coder, such as in FIG. Or output symbols from a turbo TCM encoder by Robertson et al. Are supplied as input symbols to an STBC encoder 14 as described in FIG.
[0026]
FIG. 3 shows a part of a turbo space-time trellis code modulation (STTCM) coding apparatus for transmission using two transmission antennas according to an embodiment of the present application. As in the case of FIG. 1, the two antennas are represented by 16, 18 and the information input bits to be communicated areSP converters 10 giving b outputs for each group of b information bits. Given to. The remaining elements of FIG. 3 show a turbo STTCM encoder, which includes a first and a second recursiveSTTCM element encoder 30, 32, aninterleaver 34, asymbol deinterleaver 36, and twoantennas 16, 18, respectively.Selector 38 having two outputs for the transmission path ofEncoders 30, 32 andinterleaver 34 each have b inputs for information bits.
[0027]
The b-bit groups (groups) supplied from theSP converter 10 are interleaved by theinterleaver 34 in those groups. The non-interleaved bits supplied to theencoder 30 and the interleaved bits supplied to theencoder 32 are encoded and mapped to symbols by functional units as described below. If there are two output paths corresponding to the two transmit antennas as shown in FIG. 3, eachencoder 30, 32 generates two M-PSK symbols for each group of bits, where M = 2bIt is. A symbol generated from the non-interleaved bit group by thefirst encoder 30 at each symbol interval is x1 in FIG.1, X12Indicated by The symbols generated by thesecond encoder 32 are deinterleaved by adeinterleaver 36 that performs the reverse operation of theinterleaver 34, and x2 in FIG.1, X22The symbol of each symbol interval shown by is generated. Here, for simplicity and clarity, it is assumed that theencoders 30, 32 are identical, but this is not essential for existing turbo encoders, and theencoders 30, 32 are different from each other. obtain.
[0028]
Selector 38 is controlled at its bit group rate by alternating 1 and 0 control signals (illustrated as 1010 ...), and selection and puncturing as shown in FIG. Perform a function. In the first state of the control signal, for example, when the control signal is a binary one, the switch of theselector 38 has the state shown in FIG.1, X12Is x1, X2Are supplied to the output paths to thetransmission antennas 16 and 18 respectively, and the symbol x2 from thesymbol deinterleaver 361, X22Is not used. In the second state of the control signal, for example, when the control signal is a binary 0, the switch of theselector 38 has the opposite state and the symbol x2 from thesymbol deinterleaver 361, X22Is x1, X2Are supplied to the output paths to the transmittingantennas 16 and 18 respectively, and the symbol x1 from theencoder 30 is1, X12Is not used.
[0029]
For aselector 38 that alternately selects non-interleaved symbols fromencoder 30 and de-interleaved symbols from de-interleave 36 as described above,interleaver 34 determines the even-numbered position (even position) at its input. Mapping the odd positions at the input to the odd positions at the output to the even positions at the output (or, alternatively, the even-odd and odd-even position mappings) is accomplished by the above-described Robertson It will be appreciated that this is necessary (due to the decoding as described in such documents). Thus,interleaver 34 is configured to perform such a mapping, anddeinterleaver 36 is configured to perform the reverse mapping.
[0030]
In the following, the encoding device of FIG. 3 will be further described with a simple embodiment, in which theelementary encoders 30, 32 have the same eight-state recursive QPSK (ie. , M = 4) STTCM encoder, and is assumed to be interleaved with a block size of 6 groups of b = 2 bits. The encoder states are numbered 0-7, and each QPSK symbol has one of four states numbered 0-3. Each of theencoders 30, 32 operates according to Table 1 below, where the next state of the encoder and the two QPSK symbol outputs are the current state of the encoder and b = 2 input bits of the current group. Will vary depending on the current state of. These are represented in the table in the form p / qr, where p indicates the next state of the encoder, q and r indicate the two QPSK output symbols, for example the symbol x1 for theencoder 301, X12Each.
[0031]
Table 1
[0032]
[Table 1]
Figure 2004515119
For example, if the input bit sequence to the encoder is c = (10,00,11,10,01,01), then from Table 1, starting from state 0, theencoder 30 will switch to the next state. While continuously changing to 4, 6, 7, 7, 2, and 5, the symbol sequence (x11, X12) = {(0, 2), (1, 1), (1, 3), (2, 1), (0, 1), (0, 0)}.Interleaver 34 interleaves sequence c to form interleaved sequence ci= (01,10,10,01,11,00), that is, the interleaver assigns each 2-bit group to thepositions 2, 5, 4, 1, 0 with position numbers 0 to 5 of the interleaved block. , 3 respectively, theencoder 32 continuously changes the next state to 1, 5, 3, 4, 3, 5 from the initial state 0 to the symbol sequence {(2, 2), (3, 2), (0, 3), (3, 0), (3, 1), (1, 2)}. Thedeinterleaver 34 deinterleaves this sequence and outputs the sequence (x21, X22) = {(0, 3), (1, 2), (3, 1), (3, 2), (2, 2), (3, 0)}. Then, theselector 38 outputs the symbol sequence x to the output path to the antenna 16.1= (0,1,1,3,0,3) and the symbol sequence x on the output path to theantenna 182= (2,2,3,2,1,0).
[0033]
According to the above description and according to FIG. 3, thedevices 30, 32, 34, 36, 38 provide a turbo coding device for space-time trellis code modulation and may combine the benefits of the coding and diversity gains of these coding functions. It will be appreciated.
[0034]
The above simple example is provided to assist in a thorough understanding of the encoder of FIG. 3 and its operation, and the choice of the specific STTCM code used has a significant effect on the effectiveness of the encoder. It will be appreciated that this can be done. For example, the STTCM code according to the known document such as the above-mentioned Taro is not a recursive one that is important for sufficiently obtaining the advantages of the turbo coding device, and is not always optimal for the coding gain. The STTCM code can be found by a (computable) systematic code search method. Baro et al. , "Improved Codes for Space-Time-Trellis Coded Modulation", IEEE Communication Letters, Vol. 4, No. 1, pages {20-22, January {2000}, can theoretically provide maximum diversity gain and improved coding gain. The desired STTCM code (and type ofSTTCM encoder 30, 32) may also be determined by other existing or previously designed techniques. The specific codes described below are provided as examples of recursive STTCM codes that are believed to provide advantageous performance in certain situations.
[0035]
FIG. 4 shows a 16-state QPSK recursive feedback STTCM encoder, which is used to construct each of theencoder component encoders 30, 32 described above in connection with FIG. obtain.
[0036]
Referring to FIG. 4, the recursive feedback STTCM encoder each has b = 2 (for QPSK) input bits c to the encoder at time t.t0, Ct1Have four delay elements 41 to 44 that provide a delay T corresponding to4= 16 state encoder. In addition, the encoder has addition elements 45 and 46, multiplication function units 47 to 52, and an addition function unit 53. The addition function unit receives the output supply of the multiplication function units 42 to 52, Two output symbols x at time t (for the transmitting antenna)t1, Xt2Which are, for example, output symbols x1 of theencoder 30 as described above.1, X12Corresponding to
[0037]
Input bit ct0Is supplied to one input of the summing element 45, the outputs of the delay elements 41, 42 are fed to the other input, and the output (of the summing element) is fed to the input of the delay element 41. The output of the delay element 41 is also supplied to the input of the delay element 42. The output of the addition element 45 and the output of the delay elements 41 and 42 are supplied to the inputs of the multiplication function units 47 to 49, respectively.01, A02), (A11, A12) And (a)21, A22) Is given.
[0038]
Similarly, input bit ct1Is supplied to one input of the summing element 46, the outputs of the delay elements 43 and 44 are fed to the other input, and the output (of the summing element) is fed to the input of the delay element 43. The output of the delay element 43 is also supplied to the input of the delay element 44. The output of the addition element 46 and the output of the delay elements 43 and 44 are supplied to the inputs of the multiplication function units 50 to 52, respectively.01, B02), (B11, B12) And (b)21, B22) Is given.
[0039]
The encoder of FIG. 4 provides a modulo-4 addition of a linear combination of the current and delayed binary inputs (modulo-4 @ sum) and is mathematically represented by the following equation (1):
[0040]
(Equation 2)
Figure 2004515119
here,
[0041]
(Equation 3)
Figure 2004515119
Distinguishes the two output symbols, and the memory order v of the encoder is v = v0+ V1Given by QPSK
[0042]
(Equation 4)
Figure 2004515119
And in this case
[0043]
(Equation 5)
Figure 2004515119
And the variable
[0044]
[Outside 1]
Figure 2004515119
Is
[0045]
(Equation 6)
Figure 2004515119
Is represented by
[0046]
The effectiveness of STTCM coding in a fast fading channel (a channel whose fading coefficient changes from one symbol period to the next) is determined by the minimum symbol Hamming distance δHminAnd minimum product distance (product @ distance) pdminIs determined by Table 2 lists the recursive QPSK STTCM codes expressed in multiplication factors for various values v of the memory order, which were found to best meet each criterion, and thus are illustrated by FIG. 4 above. It is desirable to be able to give and so on using the form to be performed (reduced or expanded if appropriate for each memory order).
[0047]
Table 2
[0048]
[Table 2]
Figure 2004515119
Similarly, the 8PSK @ STTCM encoder in a transmitter with two transmit antennas provides the current and delayed binary input c at time t for a fast fading channel.t0, Ct1, Ct2And a modulo-8 addition of a linear combination of
[0049]
(Equation 7)
Figure 2004515119
here,
[0050]
(Equation 8)
Figure 2004515119
Is for distinguishing two output symbols, and the memory order v of the encoder is v = v0+ V1+ V28, and for 8PSK,
[0051]
(Equation 9)
Figure 2004515119
And the variable
[0052]
[Outside 2]
Figure 2004515119
Is
[0053]
(Equation 10)
Figure 2004515119
Is defined as Table 3, having a format similar to Table 2 above, lists the multiplication coefficients for the current 8PSK @ STTCM code.
[0054]
Table 3
[0055]
[Table 3]
Figure 2004515119
In a slow fading channel (a channel in which the fading coefficient is constant between the symbols of the interleaved block), the recursive feedback STTCM code may be derived from the feedforward code by reordering the trellis output. Table 4 below shows the feed-forward code and the derived recursive feedback code, in the same manner as in Table 1 above, the next state of the encoder and the 4-state QPSK @ STTCM of the encoder for the two transmit antennas. Represents the two output symbols of the encoder.
[0056]
Table 4
[0057]
[Table 4]
Figure 2004515119
Similarly, Table 5 below shows the feed-forward code and the derived recursive feedback code, the next state of the encoder, and the two output symbols of the encoder's 8-state QPSK STTCM encoder for the two transmit antennas. To express.
[0058]
Table 5
[0059]
[Table 5]
Figure 2004515119
Similarly, Table 6 below represents the next state of the encoder and the two output symbols of the encoder's 8-state PSK STTCM encoder for two transmit antennas, with respect to the derived recursive feedback code only. .
[0060]
Table 6
[0061]
[Table 6]
Figure 2004515119
The recursive feedback STTCM codes defined in Tables 4, 5, and 6 can be advantageously used for transmitters with two transmit antennas for slow fading channels.
[0062]
Each of the above examples recursively provides two output symbols for each group of b input bits to alternately feed two antennas from the twocomponent encoders 30, 32 of the turbo encoder of FIG. Related to the generic STTCM code. It will be appreciated that by utilizing a recursive STTCM elementary encoder that provides more output symbols for each group of b input bits, it can be applied to encoders that utilize more transmit antennas. Will be. In general, if the transmitter has multiple T transmit antennas, each of the two component encoders is a recursive STTCM encoder that provides T output symbols for each group of b input bits. Selected as such, the selector alternately selects the T symbols from the two component encoders and provides them to the T output paths for the T transmit antennas.
[0063]
By way of example, Table 7 below, similar to Table 2, lists the multiplication factors for three output symbols, ie, a recursive QPSKQSTTCM code for three transmit antennas, for various memory order values v.
[0064]
Table 7
[0065]
[Table 7]
Figure 2004515119
For fast fading, for a QPSK symbol utilizing three transmit antennas, the recursive STTCM encoder is represented by equation (1) as described above, but for three output paths, n is
[0066]
(Equation 11)
Figure 2004515119
It is.
[0067]
As a further example, Table 8 below lists the multiplication factors for the four output symbols, ie, the recursive 8-PSK STTCM code for four transmit antennas, for various memory order values v, similar to the example described above. I do.
[0068]
Table 8
[0069]
[Table 8]
Figure 2004515119
For an 8-PSK symbol of four transmit antennas for a fast fading channel, the recursive STTCM encoder is described by equation (2) above, but for four output paths, n is
[0070]
(Equation 12)
Figure 2004515119
It is. The format of STTCM codes for M-PSK symbols and other combinations for multiple transmit antennas may be understood from these examples.
[0071]
FIG. 5 shows a decoding device used in a receiver to receive a signal from a transmitter using an encoding device as described with reference to FIG. The receiver (not shown) comprises a single receive antenna and associated circuits such as a downconverter, a signal amplifier and a sampler to provide received symbols which are supplied to the input of a decoding device as described below. It is possible to provide a signal to be provided to a decoding device comprising two or more receiving antennas and modified accordingly.
[0072]
The decoding device includes ade-puncturing selector 60, two soft outputtrellis code decoders 61 and 62, symbol interleavers 63 and 64, and symbol deinterleavers 65 and 66. Thedeinterleavers 65 and 66 perform deinterleaving based on the same symbols as thedeinterleaver 36 of the turbo encoder shown in FIG. 3, and perform operations reverse to the interleaving of theinterleavers 63 and 64 and thebit group interleaver 34 of the turbo encoder. Do.
[0073]
The decoding device in FIG. 5 is a symbol-by-symbol log map (recursive maximum (maximum @ a @ posteriori)) decoder shown in the above-mentioned known document such as Robertson, and the document describes details of such a decoder. ing. As is well known, thedecoders 61 and 62, which are complementary to therespective component encoders 30 and 32 of the turbo encoder of FIG. 3, operate repetitively using the turbo encoding gain. Thedecoder 61 operates (processes) the non-interleaved or deinterleaved information, thedecoder 62 operates the interleaved information, and theinterleavers 63, 64 and thedeinterleaver 65 are connected between these decoders. , Perform interleaving and deinterleaving for each symbol of information. After the desired number of iterations, an output decision is derived from thedecoder 62 through thedeinterleaver 66.
[0074]
Thus, in alternate symbol periods determined by the alternate 1 and zero (1010 ...) control signals provided to theselector 60, the received symbols r are provided to thedecoder 61 and interleaved by theinterleaver 63; Interleaved received symbols provided todecoder 62
[0075]
[Outside 3]
Figure 2004515119
Generate In the first iteration of the decoding device, thedecoder 61 provides extrinsic and systematic information.
[0076]
[Outside 4]
Figure 2004515119
(Which is inseparable with a symbol-by-symbol decoder, as described in Robertson et al.) And forms a log-likelihood ratio for each received symbol, which are interleavers 64. External and organizational information interleaved by
[0077]
[Outside 5]
Figure 2004515119
Generate This interleaved external and organizational information is provided to adecoder 62, which uses it as empirical information and uses the interleaved received symbol
[0078]
[Outside 6]
Figure 2004515119
To decode.Decoder 62 provides interleaved external and organizational information.
[0079]
[Outside 7]
Figure 2004515119
And interleaved information representing received symbols
[0080]
[Outside 8]
Figure 2004515119
Is generated continuously. External and organizational information interleaved
[0081]
[Outside 9]
Figure 2004515119
Are deinterleaved by adeinterleaver 65 and provided to adecoder 61 for use as empirical information in a second iteration of the decoding device.
[0082]
[Outside 10]
Figure 2004515119
Generate The information generated by thedecoder 62 to make an output decision for each symbol
[0083]
[Outside 11]
Figure 2004515119
Is deinterleaved bydeinterleaver 66, the process is repeated for the desired number of iterations.
[0084]
As described in Robertson et al., Thedecoders 61, 62 can be configured to avoid using the same tissue information more than once in each iteration.
[0085]
While a particular embodiment of the invention has been described in detail, it will be understood that various modifications, variations and applications may be made within the scope of the invention as defined by the appended claims. In particular, it will be appreciated that other than the above, recursive STTCM elementary encoders, bit group sizes, M-PSK symbols, and the number of output paths or transmit antennas may be used.
[Brief description of the drawings]
FIG.
FIG. 2 is a diagram illustrating a part of an existing space-time block code (STBC) transmitter.
FIG. 2
FIG. 2 is a diagram illustrating an existing turbo encoder.
FIG. 3
FIG. 2 is a diagram illustrating a part of a turbo space-time trellis code modulation (STTCM) coding apparatus for a transmitter using two transmission antennas according to an embodiment of the present application.
FIG. 4
FIG. 4 illustrates a 16-state recursive trellis encoder that may be used in the apparatus of FIG.
FIG. 5
FIG. 4 is a diagram illustrating a decoding device used in the encoding device of FIG. 3.

Claims (11)

Translated fromJapanese
第1及び第2の再帰的STTCM(時空間トレリス符号変調)符号器(30,32)であって、複数の連続的なシンボル間隔の各々において、供給されるb個のビットから複数のT個のM−PSK(M位相シフトキーイング,ここでMは複数の整数)シンボルを生成するように各々が形成され、bは整数であるところの第1及び第2の再帰的STTCM符号器;
偶数対偶数及び奇数対奇数、又は偶数対奇数及び奇数対偶数のマッピングを行いながらインタリーブブロック内でb個の入力ビットの各群をインタリーブするよう形成されるインタリーバ(34);
第1の符号器及びインタリーバに供給される入力ビット、及びインタリーバから第2の符号器に供給されるインタリーブされたビット;
インタリーバによるインタリーブとは逆の手法で、第2のSTTCM符号器により生成されたT個のシンボル群をデインタリーブするように形成されるシンボルデインタリーバ(36);及び
T個の出力経路の各々に、第1のSTTCM符号器により生成されたT個のシンボル及びデインタリーバからのT個のシンボルを交互のシンボル間隔で供給するように形成されるセレクタ(38);
を有することを特徴とする符号化装置。
A first and a second recursive STTCM (space-time trellis code modulation) encoder (30, 32), wherein in each of a plurality of consecutive symbol intervals, a plurality of T bits are provided from b bits supplied. A first and second recursive STTCM encoder, each formed to generate M-PSK (M phase shift keying, where M is a plurality of integers) symbols, where b is an integer;
An interleaver (34) configured to interleave each group of b input bits within the interleaving block while performing even-even and odd-odd or even-odd and odd-even mapping;
Input bits provided to a first encoder and an interleaver, and interleaved bits provided from the interleaver to a second encoder;
A symbol deinterleaver (36) formed to deinterleave the T symbols generated by the second STTCM encoder in a manner opposite to the interleaving by the interleaver; and in each of the T output paths A selector (38) configured to provide the T symbols generated by the first STTCM encoder and the T symbols from the deinterleaver at alternating symbol intervals;
An encoding device comprising:
各符号器が、各シンボル間隔で、前記符号器に供給された現在又は1つ若しくはそれ以上過去のbビット群の線形結合のT個のモジュロM加算値を生成し、各シンボル間隔で符号器により形成されるT個のシンボルを形成するように形成されることを特徴とする請求項1記載の符号化装置。Each encoder generates, at each symbol interval, T modulo M additions of a linear combination of the current or one or more past b bits supplied to the encoder, and at each symbol interval the encoder 2. The encoding apparatus according to claim 1, wherein the encoding apparatus is formed so as to form T symbols formed by:各符号器に関し、M=2であり、bは少なくとも2であることを特徴とする請求項1又は2に記載の符号化装置。For each encoder, M = a 2b, b is the coding apparatus according to claim 1 or 2, characterized in that at least two.b=2又はb=3であることを特徴とする請求項3記載の符号化装置。4. The encoding apparatus according to claim 3, wherein b = 2 or b = 3.T=2、T=3又はT=4であることを特徴とする請求項1乃至4の何れか1項に記載の符号化装置。The encoding device according to any one of claims 1 to 4, wherein T = 2, T = 3, or T = 4.複数のT個のアンテナから送信される情報について時空間ダイバーシチを行うために符号化を行う方法であって:
複数の連続的なシンボル間隔の各々において、第1及び第2の再帰的STTCM(時空間トレリス符号変調)符号器(30,32)の各出力にてT個のシンボルを生成するステップであって、偶数対偶数及び奇数対奇数、又は偶数対奇数及び奇数対偶数の位置にマッピングしながら、第1の符号器(30)には入力ビットが直接的に供給され、第2の符号器(32)には、インタリーブブロックにおけるシンボル間隔の間にビット群のインタリーブを行った後に、情報ビットが供給されるところのステップ;
インタリーブとは逆の手法で、第2のSTTCM符号器により生成されたT個のシンボル群をデインタリーブするステップ;及び
T個のアンテナへの経路に供給するために、第1及び第2各自の交互のシンボル間隔で、第1の符号器により生成されたT個のシンボル及びデインタリーブするステップによるT個のシンボルを選択するステップ(38);
より成ることを特徴とする方法。
A method for encoding information transmitted from a plurality of T antennas for space-time diversity, comprising:
Generating T symbols at each output of the first and second recursive STTCM (space-time trellis code modulation) encoders (30, 32) at each of a plurality of consecutive symbol intervals. The input bits are supplied directly to the first encoder (30), mapping to the even-to-even and odd-to-odd or even-to-odd and odd-to-even positions, while the second encoder (32 ) Includes interleaving the bits during the symbol interval in the interleaved block before the information bits are provided;
Deinterleaving the T symbols generated by the second STTCM encoder in a manner reverse to interleaving; and providing the first and second respective ones to provide a path to the T antennas. Selecting, at alternating symbol intervals, the T symbols generated by the first encoder and the T symbols by deinterleaving (38);
A method comprising:
各シンボル間隔で、再帰的STTCM符号器の各々が、T個のシンボルを、各シンボル間隔で符号器に供給される現在の又は1つ若しくはそれ以上過去のbビット群の線形結合をモジュロM加算することで形成されるM−PSK(M位相シフトキーイング)シンボルとして生成することを特徴とする請求項6記載の方法。At each symbol interval, each of the recursive STTCM encoders modulo M adds T symbols to a linear combination of the current or one or more previous b bits supplied to the encoder at each symbol interval. 7. The method according to claim 6, wherein the symbol is generated as an M-PSK (M phase shift keying) symbol formed by performing the following.各符号器に関し、M=2であり、bが少なくとも2であることを特徴とする請求項6又は7に記載の方法。The method according to claim 6 or 7, wherein for each encoder, M =2b , and b is at least 2.b=2又はb=3であることを特徴とする請求項8記載の方法。9. The method according to claim 8, wherein b = 2 or b = 3.T=2,T=3又はT=4であることを特徴とする請求項6乃至8の何れか1項に記載の方法。9. The method according to claim 6, wherein T = 2, T = 3 or T = 4.各シンボル間隔で、再帰的STTCM符号器の各々が、T個のシンボルを、各シンボル間隔で符号器に供給される現在の又は1つ若しくはそれ以上過去のbビット群からのM−PSK(M位相シフトキーイング)シンボルとして生成し、M=2であることを特徴とする請求項6乃至10の何れか1項に記載の方法。At each symbol interval, each of the recursive STTCM encoders converts T symbols to M-PSK (M-PSK (M-PSK) from the current or one or more previous b bits supplied to the encoder at each symbol interval. the method according to any one of claims 6 to 10 to produce a phase shift keying) symbols, characterized in that it is a M = 2b.
JP2002544915A2000-11-222001-11-20 Apparatus and method for space-time turbo trellis codingPendingJP2004515119A (en)

Applications Claiming Priority (2)

Application NumberPriority DateFiling DateTitle
US71728600A2000-11-222000-11-22
PCT/GB2001/005130WO2002043313A2 (en)2000-11-222001-11-20Space-time turbo trellis coding arrangement and method thereof

Publications (1)

Publication NumberPublication Date
JP2004515119Atrue JP2004515119A (en)2004-05-20

Family

ID=24881416

Family Applications (1)

Application NumberTitlePriority DateFiling Date
JP2002544915APendingJP2004515119A (en)2000-11-222001-11-20 Apparatus and method for space-time turbo trellis coding

Country Status (5)

CountryLink
EP (1)EP1340335A2 (en)
JP (1)JP2004515119A (en)
AU (1)AU2002223850A1 (en)
CA (1)CA2429658A1 (en)
WO (1)WO2002043313A2 (en)

Families Citing this family (9)

* Cited by examiner, † Cited by third party
Publication numberPriority datePublication dateAssigneeTitle
US6865237B1 (en)2000-02-222005-03-08Nokia Mobile Phones LimitedMethod and system for digital signal transmission
FI20002845L (en)2000-12-222002-06-23Nokia Corp Sending a digital signal
FI20011357A0 (en)*2001-06-252001-06-25Nokia Corp Shipping method
US7460607B2 (en)*2002-06-262008-12-02Broadcom CorporationMethod and apparatus for space-time turbo-coded modulation
GB2392065B (en)*2002-08-152004-12-29Toshiba Res Europ LtdSignal decoding methods and apparatus
DE60322049D1 (en)*2003-08-052008-08-21St Microelectronics Srl Signal transmission method using antenna diversity and corresponding device
US7209714B2 (en)*2003-08-292007-04-24Nokia CorporationApparatus, and associated method, for communicating data at selected levels of diversity in a radio communication system
KR101050570B1 (en)*2003-12-032011-07-19삼성전자주식회사 Apparatus and method for data transmission and reception for performance improvement in mobile communication system using space-time trellis code
KR100591904B1 (en)2004-03-182006-06-20한국전자통신연구원 Transmission Diversity Transceiver and its Method in Code Division Multiple Access Systems Using Space-Time Codes

Family Cites Families (1)

* Cited by examiner, † Cited by third party
Publication numberPriority datePublication dateAssigneeTitle
KR100374787B1 (en)*2000-01-182003-03-04삼성전자주식회사Bandwidth-efficient concatenated trellis-coded modulation decoder and method thereof

Also Published As

Publication numberPublication date
WO2002043313A2 (en)2002-05-30
CA2429658A1 (en)2002-05-30
AU2002223850A1 (en)2002-06-03
EP1340335A2 (en)2003-09-03
WO2002043313A3 (en)2002-10-17

Similar Documents

PublicationPublication DateTitle
US7958425B2 (en)Method and apparatus for communications using turbo like codes
Liew et al.Space-time codes and concatenated channel codes for wireless communications
US7770093B2 (en)Serial turbo trellis coded modulation using a serially concatenated coder
CA2429687C (en)Methods and apparatus for turbo space-time trellis coding
Raphaeli et al.Constellation shaping for pragmatic turbo-coded modulation with high spectral efficiency
Hanzo et al.Turbo decoding and detection for wireless applications
JP2004523938A5 (en)
US20120057641A1 (en)Transmitting method and a receiving method of a modulated data stream
Hong et al.Space-time turbo trellis codes for two, three, and four transmit antennas
Gulati et al.Concatenated codes for fading channels based on recursive space-time trellis codes
JP2004515119A (en) Apparatus and method for space-time turbo trellis coding
Liew et al.Concatenated space-time block codes and TCM, turbo TCM, convolutional as well as turbo codes
JP4403345B2 (en) Encoding device and encoding method, decoding device and decoding method, transmission device and transmission method, and reception device and reception method
Maunder et al.Iterative decoding convergence and termination of serially concatenated codes
US20020136320A1 (en)Flexible bit selection using turbo trellis-coded modulation
Firmanto et al.Design of space-time turbo trellis coded modulation for fading channels
Simon et al.Further Results on a Reduced-Complexity, Highly Power-/Bandwidth-Efficient Coded Feher-Patented Quadrature-Phase-Shift-Keying System with Iterative Decoding
Yuan et al.Turbo-coded M-QAM for fading channels
Ng et al.Jointly optimised iterative source-coding, channel-coding and modulation for transmission over wireless channels
Bassou et al.Constellation Shaping using Turbo Trellis-Coded Modulation
Wang et al.Bandwidth efficient turbo trellis-coded unitary space-time modulation for non-coherent multiple-antenna Rayleigh fading channel
Hanzo et al.Adaptive coding and transmission paradigms for wireless channels
Ko et al.Serial concatenation schemes for space-time and recursive convolutional codes
Ko et al.Serial Concatenation of Space‐Time and Recursive Convolutional Codes
CODERDivsalar et al.

[8]ページ先頭

©2009-2025 Movatter.jp