Movatterモバイル変換


[0]ホーム

URL:


JP2004334597A - Circulating coin depositing and dispensing machine - Google Patents

Circulating coin depositing and dispensing machine
Download PDF

Info

Publication number
JP2004334597A
JP2004334597AJP2003130771AJP2003130771AJP2004334597AJP 2004334597 AJP2004334597 AJP 2004334597AJP 2003130771 AJP2003130771 AJP 2003130771AJP 2003130771 AJP2003130771 AJP 2003130771AJP 2004334597 AJP2004334597 AJP 2004334597A
Authority
JP
Japan
Prior art keywords
coin
coins
coin storage
deposit
cassette
Prior art date
Legal status (The legal status is an assumption and is not a legal conclusion. Google has not performed a legal analysis and makes no representation as to the accuracy of the status listed.)
Pending
Application number
JP2003130771A
Other languages
Japanese (ja)
Inventor
Hideo Nishida
英生 西田
Current Assignee (The listed assignees may be inaccurate. Google has not performed a legal analysis and makes no representation or warranty as to the accuracy of the list.)
Glory Ltd
Original Assignee
Glory Ltd
Priority date (The priority date is an assumption and is not a legal conclusion. Google has not performed a legal analysis and makes no representation as to the accuracy of the date listed.)
Filing date
Publication date
Application filed by Glory LtdfiledCriticalGlory Ltd
Priority to JP2003130771ApriorityCriticalpatent/JP2004334597A/en
Publication of JP2004334597ApublicationCriticalpatent/JP2004334597A/en
Pendinglegal-statusCriticalCurrent

Links

Images

Classifications

Landscapes

Abstract

<P>PROBLEM TO BE SOLVED: To provide a circulating coin depositing and dispensing machine that makes it possible for one coin storage cassette 59 to supply coins and collect and store coins which do not need to be supplied. <P>SOLUTION: All the coins stored in a coin storage part 86 of the coin storage cassette 59 are released and received by a conveyor means 58. The coins entirely received by the conveyor means 58 are fed to a supply conveyor system 111 and supplied to a kind-based coin storage/dispensing device 57 through the supply conveyor system 111. The coins which do not need to be supplied to the kind-based coin storage/dispensing device 57 are collected and stored in the coin storage part 86 of the coin storage cassette 59 through the supply conveyor system 111. The one coin storage cassette 59 can supply coins and collect and store the coins which do not need to be supplied. Even when the coin storage cassette 59 is removed from a frame 11, incoming overflowing coins which do not need to be supplied to the kind-based coin storage/dispensing device 47 are collected in an incoming overflowing coin storage part 49 to enable a depositing process. <P>COPYRIGHT: (C)2005,JPO&NCIPI

Description

Translated fromJapanese

【0001】
【発明の属する技術分野】
本発明は、硬貨を入金および出金する循環式硬貨入出金機に関する。
【0002】
【従来の技術】
従来、例えば、銀行などで使用されるATM(現金自動預け払い機)に搭載されて硬貨を入金および出金する硬貨入出金機、とりわけ機体に操作者側から投入される入金硬貨を受け入れて金種識別し、出金に使用可能な硬貨は金種別硬貨収納投出装置へ送る入金搬送系と、補充硬貨を受け入れて金種識別し金種別硬貨収納投出装置へ送る補充搬送系と、金種別硬貨収納投出装置から投出される出金硬貨を操作者側へ搬送する出金搬送系とを有する循環式硬貨入出金機がある。なお、機械の使用形態によって操作者は顧客の場合とテラーなどの機械管理者の場合とがあるが、入金および出金以外の補充とか回収の動作はいずれの場合も機械管理者により行われる。
【0003】
この循環式硬貨入出金機では、金種別硬貨収納投出装置へ硬貨を補充する必要があり、その補充は、通常、初期補充(元詰め補充のモード)と途中補充(入金オーバーフロー硬貨または初期補充でオーバーフローとなった補充オーバーフロー硬貨を補充に使用するモード)とがある。
【0004】
従来の補充方法の1つである従来例1としては、硬貨の補充専用の硬貨補充カセットを用いるもので、この硬貨補充カセットには各金種の硬貨を50枚ずつ重積収納する筒タイプの金種別補充硬貨収納部を備え、その金種別補充硬貨収納部の底には硬貨補充時に開放されるシャッタを各々備えている。そして、初期補充時あるいは途中補充時に補充したい金種の金種別補充硬貨収納部のシャッタを開放し、その金種の金種別補充硬貨収納部の硬貨を補充搬送系の硬貨識別分岐通路へ送り、対応する金種の金種別硬貨収納投出装置へ硬貨を補充する。ところが、金種別硬貨収納投出装置への補充が充足された以後の硬貨は補充オーバーフロー硬貨として硬貨回収箱へ回収している。
【0005】
補充方法の他の例である従来例2としては、従来例1の硬貨回収箱に硬貨搬送ベルトを備えるようにし、この硬貨回収箱に複数金種硬貨を混合状態で元詰め(作業者が硬貨回収箱に事前に手詰めしておくこと)しておき、初期補充時あるいは途中補充時に硬貨回収箱から硬貨を送り出し、補充搬送系の硬貨識別分岐通路へ送り、対応する金種の金種別硬貨収納投出装置へ硬貨を補充する。金種別硬貨収納投出装置への補充が充足された以後の硬貨は補充オーバーフロー硬貨として硬貨回収箱に回収している(例えば、特許文献1参照)。
【0006】
また、補充方法のさらに他の例である従来例3としては、機体に着脱可能で補充硬貨を運搬する補充硬貨収納箱(硬貨を複数金種混合状態で収納している)と初期補充時あるいは途中補充時の補充動作時に補充硬貨収納箱から金種別硬貨収納投出装置へ硬貨を補充する際に、補充の必要のない硬貨を収納するオーバーフロー硬貨収納箱が設けられている。また、補充硬貨収納箱およびオーバーフロー硬貨収納箱は、それぞれ硬貨収納部を有し、それぞれの硬貨収納部の底部には硬貨を少量ずつ送り出すコンベヤ手段を備えている。そして、この従来例3の場合は、初期補充時あるいは途中補充時の補充動作時には、補充硬貨収納箱のコンベヤ手段を駆動し、補充に必要な硬貨量を送り出し、補充搬送系の硬貨識別分岐通路へ送り、対応する金種の金種別硬貨収納投出装置へ硬貨を補充する。ところが、金種別硬貨収納投出装置への補充が充足された以後の硬貨は補充オーバーフロー硬貨としてオーバーフロー硬貨収納箱に回収している(例えば、特許文献2参照)。
【0007】
【特許文献1】
特開平8−212420号公報(第6−7頁、図1)
【0008】
【特許文献2】
特開平10−228553号公報(第6−9頁、図1)
【0009】
【発明が解決しようとする課題】
しかしながら、従来例1の場合は、初期補充時あるいは途中補充時の補充動作時において、硬貨補充カセットと硬貨回収箱という2個の収納部が必要となる。従来例3の場合も、初期補充時あるいは途中補充時の補充動作時において、補充硬貨収納箱とオーバーフロー硬貨収納箱という2個の収納部が必要である。このように2個の収納部が必要なことにより、構造が複雑化し、大きな設置スペースが必要となる問題点がある。
【0010】
一方、従来例2の場合は、初期補充時あるいは途中補充時に硬貨回収箱から硬貨を補充するとともに補充オーバーフロー硬貨を硬貨回収箱に回収する方法であり、この方法では初期補充時あるいは途中補充時の補充動作時に1個の収納部で済ませることができる。ところが、この方法の場合は次の問題点がある。つまり、硬貨回収箱には補充すべき複数金種硬貨が混在して収納されており、初期補充時あるいは途中補充時の補充動作時には、収納されている補充硬貨に加え、補充オーバーフロー硬貨が回収されて混じり合うことになる。そのため、補充硬貨の混じり合いの状況によっては、回収されてきた補充オーバーフロー硬貨が先に繰り出されることも多く、補充すべき金種硬貨がなかなか繰り出せず、初期補充時あるいは途中補充時の補充動作に非常に時間がかかる問題点がある。また、回収されてきた補充オーバーフロー硬貨だけが循環して繰り出しされ、補充すべき金種硬貨が繰り出しされない場合もある。このように硬貨の補充に非常に時間がかかる問題点がある。この従来例2の場合は、理論的には上記のような問題点があるが、実際に商品化するうえではその問題点は致命的な欠点であるために製品化されず、製品としては従来例1または従来例3の補充方法が採られている。
【0011】
以上の理由で、従来の循環式硬貨入出金機は、硬貨補充カセットなり、補充硬貨収納と別に補充オーバーフロー硬貨を回収する硬貨回収箱なり、オーバーフロー硬貨収納箱が必須であった。
【0012】
また、従来例2のように硬貨回収箱が初期補充に使用される場合についてみると、硬貨回収箱内の元詰め硬貨が補充のために繰り出され、補充搬送系の硬貨識別分岐通路の硬貨識別部を通過して硬貨の金種と通過枚数が判り、識別済み硬貨として機内硬貨として扱われる。ちなみに、この硬貨識別時に識別不能なリジェクト硬貨と判断された場合は機外硬貨として区分け回収される。銀行などで使用されるATM(現金自動預け払い機)に搭載される循環式硬貨入出金機ではこの考え方のもとに硬貨補充することが必須とされる。
【0013】
その点からすると、従来例2の場合は、硬貨回収箱の中に初期補充硬貨と補充オーバーフロー硬貨が混在し、機外硬貨と機内硬貨の区別がつかず、銀行などで使用されるATM(現金自動預け払い機)に搭載される循環式硬貨入出金機には適用し得ない問題点がある。
【0014】
本発明は、このような問題点に鑑みなされたもので、1個の硬貨収納カセットで、途中補充時の補充動作または初期補充時および途中補充時の補充動作と補充の必要がない硬貨の回収収納とができ、構成の簡略化および小形化ができ、コストダウンおよびスペースの有効利用ができる循環式硬貨入出金機を提供することを目的とする。
【0015】
【課題を解決するための手段】
請求項1記載の循環式硬貨入出金機は、機体の操作者側から投入される入金硬貨を受け入れて金種識別し、出金に使用可能な硬貨は金種別硬貨収納投出装置へ送る入金搬送系と、補充硬貨を受け入れて金種識別し金種別硬貨収納投出装置へ送る補充搬送系と、金種別硬貨収納投出装置から投出される出金硬貨を操作者側へ搬送する出金搬送系とを有する循環式硬貨入出金機において、前記機体に着脱可能に装着され、硬貨を全量放出する開閉可能な硬貨放出口を有する硬貨収納部を備え、硬貨が全量放出されて硬貨放出口が閉塞された硬貨収納部に対し硬貨を受収可能とする硬貨収納カセットと、この硬貨収納カセットの硬貨収納部から全量放出された硬貨を全量受収するとともに全量受収した硬貨を補充搬送系へ送る搬送コンベヤ手段と、前記機体から硬貨収納カセットが取り外されているときに入金承認時の入金承認硬貨のうち金種別硬貨収納投出装置へ送る必要のない入金オーバーフロー硬貨を収納するとともに、機体に硬貨収納カセットが装着された後に収納硬貨を搬送コンベヤ手段へ全量放出する入金オーバーフロー硬貨収納部と、入金承認時に入金承認硬貨のうち金種別硬貨収納投出装置へ送る必要のない入金オーバーフロー硬貨を硬貨収納カセットの硬貨収納部と入金オーバーフロー硬貨収納部とのいずれかへ切り換え収納させる切換手段と、前記機体に硬貨収納カセットが装着されているときには、硬貨収納カセットから全量放出された硬貨を補充搬送系を通じて金種別硬貨収納投出装置へ補充させるとともに、金種別硬貨収納投出装置への補充の必要がない硬貨を切換手段を通じて硬貨収納カセットの硬貨収納部へ回収収納させ、かつ、機体から硬貨収納カセットが取り外されているときには、入金承認時に入金承認硬貨のうち金種別硬貨収納投出装置へ送る必要のない入金オーバーフロー硬貨を切換手段を通じて入金オーバーフロー硬貨収納部へ収納させる制御部とを具備しているものである。
【0016】
そして、この構成では、硬貨収納カセットの硬貨収納部に収納した硬貨を全量放出し、全量放出した硬貨を搬送コンベヤ手段で全量受収するとともに補充搬送系へ送り、補充搬送系を通じて補充の必要がある硬貨を金種別硬貨収納投出装置へ補充するとともに補充の必要がない硬貨を硬貨収納カセットの硬貨収納部へ回収収納するため、1つの硬貨収納カセットで、途中補充時の補充動作または初期補充時および途中補充時の補充動作と補充オーバーフロー硬貨の回収収納とが可能で、構成の簡略化および小形化が図れるとともにスペースの有効利用が図れる。しかも、機体から硬貨収納カセットが取り外されているときでも、入金承認時の入金承認硬貨のうち金種別硬貨収納投出装置へ送る必要のない入金オーバーフロー硬貨を入金オーバーフロー硬貨収納部へ収納するため、出金処理は勿論のこと、入金処理が可能となる。なお、途中補充時の補充動作に加えて、初期補充時の補充動作も硬貨収納カセットで行う場合には、初期補充に別のカセットなどが必要なく、構成の簡略化および小形化が可能となる。
【0017】
請求項2記載の循環式硬貨入出金機は、請求項1記載の循環式硬貨入出金機において、制御部は、機体から硬貨収納カセットが取り外されているときには、入金承認時に入金承認硬貨のうち金種別硬貨収納投出装置へ送る必要のない入金オーバーフロー硬貨を切換手段を通じて入金オーバーフロー硬貨収納部へ収納させ、補充時に入金オーバーフロー硬貨収納部の硬貨を搬送コンベヤ手段へ全量放出させて補充搬送系を通じて金種別硬貨収納投出装置へ補充させるとともに、金種別硬貨収納投出装置への補充の必要がない硬貨を切換手段を通じて入金オーバーフロー硬貨収納部へ回収収納させるものである。
【0018】
そして、この構成では、機体から硬貨収納カセットが取り外されているときでも、入金オーバーフロー硬貨収納部の硬貨を搬送コンベヤ手段へ全量放出させて補充搬送系を通じて金種別硬貨収納投出装置へ補充可能となるとともに、金種別硬貨収納投出装置への補充の必要がない硬貨を入金オーバーフロー硬貨収納部へ回収収納可能となる。
【0019】
請求項3記載の循環式硬貨入出金機は、機体の操作者側から投入される入金硬貨を受け入れて金種識別し、入金正規硬貨は入金一時保留装置に一時保留し、入金承認時に出金に使用可能な硬貨は金種別硬貨収納投出装置へ送る入金搬送系と、補充硬貨を受け入れて金種識別し金種別硬貨収納投出装置へ送る補充搬送系と、金種別硬貨収納投出装置から投出される出金硬貨を操作者側へ搬送する出金搬送系とを有する循環式硬貨入出金機において、前記機体に着脱可能に装着され、硬貨を全量放出する開閉可能な硬貨放出口を有する硬貨収納部を備え、硬貨が全量放出されて硬貨放出口が閉塞された硬貨収納部に対し硬貨を受収可能とする硬貨収納カセットと、この硬貨収納カセットの硬貨収納部から全量放出された硬貨を全量受収するとともに全量受収した硬貨を補充搬送系へ送り、入金搬送系を通じた入金送り込み時に入金一時保留装置に一時保留可能な一時保留量を超える入金正規硬貨を入金オーバーフロー硬貨として受収するとともに入金承認時に硬貨を収納する入金搬送系へ送る搬送コンベヤ手段と、前記機体から硬貨収納カセットが取り外されているときに入金承認時の入金承認硬貨のうち金種別硬貨収納投出装置へ送る必要のない入金オーバーフロー硬貨を収納するとともに、機体に硬貨収納カセットが装着された後に収納硬貨を搬送コンベヤ手段へ全量放出する入金オーバーフロー硬貨収納部と、入金承認時に入金承認硬貨のうち金種別硬貨収納投出装置へ送る必要のない入金オーバーフロー硬貨を硬貨収納カセットの硬貨収納部と入金オーバーフロー硬貨収納部とのいずれかへ切り換え収納させる切換手段と、前記機体に硬貨収納カセットが装着されているときには、硬貨収納カセットから全量放出された硬貨を補充搬送系を通じて金種別硬貨収納投出装置へ補充させるとともに、金種別硬貨収納投出装置への補充の必要がない硬貨を切換手段を通じて硬貨収納カセットの硬貨収納部へ回収収納させ、入金送り込み時に搬送コンベヤ手段に一時保留された入金オーバーフロー硬貨を入金承認時に硬貨を収納する入金搬送系を通じて硬貨収納カセットの硬貨収納部へ回収収納させ、かつ、機体から硬貨収納カセットが取り外されているときには、入金送り込み時に搬送コンベヤ手段に一時保留された入金オーバーフロー硬貨を入金承認時に切換手段を通じて入金オーバーフロー硬貨収納部へ収納させる制御部とを具備しているものである。
【0020】
そして、この構成では、硬貨収納カセットの硬貨収納部に収納した硬貨を全量放出し、全量放出した硬貨を搬送コンベヤ手段で全量受収するとともに補充搬送系へ送り、補充搬送系を通じて補充の必要がある硬貨を金種別硬貨収納投出装置へ補充するとともに補充の必要がない硬貨を硬貨収納カセットの硬貨収納部へ回収収納できるため、1つの硬貨収納カセットで、途中補充時の補充動作または初期補充時および途中補充時の補充動作と補充オーバーフロー硬貨の回収収納とが可能で、構成の簡略化および小形化が図れるとともにスペースの有効利用が図れる。しかも、機体から硬貨収納カセットが取り外されているときでも、入金送り込み時に搬送コンベヤ手段に一時保留された入金オーバーフロー硬貨を入金承認時に入金オーバーフロー硬貨収納部へ収納するため、出金処理は勿論のこと、入金処理が可能となる。さらに、搬送コンベヤ手段が、硬貨収納カセットの硬貨収納部から全量放出される硬貨だけでなく、入金オーバーフロー硬貨を受収して一時保留するとともに入金承認時に入金オーバーフロー硬貨を収納する入金搬送系へ送り、入金搬送系を通じて硬貨収納カセットの硬貨収納部または入金オーバーフロー硬貨収納部へ回収収納させるため、入金オーバーフロー硬貨を一時保留する専用の一時保留部が必要なく、構成の簡略化および小形化が図れるとともにスペースの有効利用が図れる。なお、途中補充時の補充動作に加えて、初期補充時の補充動作も硬貨収納カセットで行う場合には、初期補充に別のカセットなどが必要なく、構成の簡略化および小形化が可能となる。
【0021】
請求項4記載の循環式硬貨入出金機は、請求項3記載の循環式硬貨入出金機において、搬送コンベヤ手段は、入金非承認時に入金一時保留装置から送り出される入金一時保留硬貨を受収するとともに入金一時保留硬貨を操作者側へ返却する入金搬送系へ送るものである。
【0022】
そして、この構成では、搬送コンベヤ手段が、硬貨収納カセットの硬貨収納部から全量放出される硬貨および入金送り込み時の入金オーバーフロー硬貨だけでなく、入金非承認時に入金一時保留装置から送り出される入金一時保留硬貨を受収して入金一時保留硬貨を操作者側へ返却する入金搬送系へ送るため、構成の簡略化および小形化が図れるとともにスペースの有効利用が図れる。
【0023】
請求項5記載の循環式硬貨入出金機は、請求項1ないし4いずれか記載の循環式硬貨入出金機において、硬貨を貯留するとともに1枚ずつ繰り出す硬貨貯留装置、この硬貨貯留装置から1枚ずつ繰り出される硬貨を受け入れて搬送するとともに搬送途中に硬貨を識別する硬貨識別部および硬貨を種類別に分岐する種類別分岐部を有する硬貨通路装置を備え、これら硬貨貯留装置および硬貨通路装置は入金搬送系と補充搬送系とに共用、一部共用、および各搬送系毎に個別のいずれかで設けられ、切換手段は、硬貨通路装置の硬貨識別部より後流位置に設けられ、入金承認硬貨のうち金種別硬貨収納投出装置へ送る必要のない入金オーバーフロー硬貨を各々分岐する第1の入金オーバーフロー硬貨分岐部および第2の入金オーバーフロー硬貨分岐部を有し、第1の入金オーバーフロー硬貨分岐部で分岐する硬貨は硬貨収納カセットの硬貨収納部へ収納させ、第2の入金オーバーフロー硬貨分岐部で分岐する硬貨は入金オーバーフロー硬貨収納部へ収納させるものである。
【0024】
そして、この構成では、硬貨を貯留するとともに1枚ずつ繰り出す硬貨貯留装置、この硬貨貯留装置から1枚ずつ繰り出される硬貨を受け入れて搬送するとともに搬送途中に硬貨を識別する硬貨識別部および硬貨を種類別に分岐する種類別分岐部を有する硬貨通路装置を備え、硬貨通路装置の硬貨識別部より後流に設けられた切換手段の第1の入金オーバーフロー硬貨分岐部で硬貨収納カセットの硬貨収納部へ収納させる入金オーバーフロー硬貨を分岐し、第2の入金オーバーフロー硬貨分岐部で入金オーバーフロー硬貨収納部へ収納させる入金オーバーフロー硬貨を分岐する。
【0025】
請求項6記載の循環式硬貨入出金機は、請求項1ないし4いずれか記載の循環式硬貨入出金機において、入金搬送系と補充搬送系、入金搬送系と出金搬送系、入金搬送系と補充搬送系と出金搬送系のいずれかは、硬貨を貯留するとともに貯留した硬貨を1枚ずつ繰り出す硬貨貯留装置、この硬貨貯留装置により1枚ずつ繰り出される硬貨を搬送するとともに搬送途中に硬貨を識別する硬貨識別部および硬貨を種類別に分岐する種類別分岐部を有する硬貨通路装置を共用し、硬貨貯留装置に搬送コンベヤ手段から硬貨を送るものである。
【0026】
そして、この構成では、入金搬送系と補充搬送系、入金搬送系と出金搬送系、入金搬送系と補充搬送系と出金搬送系のいずれかが、硬貨を貯留するとともに貯留した硬貨を1枚ずつ繰り出す硬貨貯留装置、この硬貨貯留装置により1枚ずつ繰り出される硬貨を搬送するとともに搬送途中に硬貨を識別する硬貨識別部および硬貨を種類別に分岐する種類別分岐部を有する硬貨通路装置を共用し、硬貨貯留装置に搬送コンベヤ手段上の硬貨を送るため、構成の簡略化および小形化が図れるとともにスペースの有効利用が図れる。
【0027】
請求項7記載の循環式硬貨入出金機は、請求項1ないし6いずれか記載の循環式硬貨入出金機において、硬貨収納カセットの硬貨収納部の硬貨を全量放出する全量放出手段を備え、この全量放出手段は、硬貨収納部の底部に設けられ硬貨を自重で硬貨放出口から放出させる傾斜底面と、硬貨放出口を開閉する開閉板とを有するものである。
【0028】
そして、この構成では、硬貨収納カセットの硬貨収納部の硬貨を全量放出する全量放出手段が、硬貨収納部の硬貨放出口を開閉する開閉板の開放により、硬貨収納部の底部の傾斜底面によって硬貨を自重で硬貨放出口から放出させるため、硬貨の放出に例えばコンベヤなどを用いる場合に比べて、構成が簡略化されてコストダウンされ、短時間で硬貨の全量放出が可能となる。
【0029】
請求項8記載の循環式硬貨入出金機は、請求項1ないし6いずれか記載の循環式硬貨入出金機において、機体に装着された硬貨収納カセットの硬貨収納部から全量放出される硬貨を機体内に受け入れる硬貨受入口を備えるとともに、前記機体に装着された硬貨収納カセットの硬貨収納部の硬貨を全量放出させる全量放出手段を備え、この全量放出手段は、硬貨収納部の底部に設けられ硬貨を自重で硬貨放出口から放出させる傾斜底面と、硬貨収納部の硬貨放出口を開閉する第1の開閉板と、前記機体側の硬貨受入口を開閉する第2の開閉板とを有するものである。
【0030】
そして、この構成では、硬貨収納カセットの硬貨収納部の硬貨を全量放出する全量放出手段が、硬貨収納部の硬貨放出口を開閉する第1の開閉板および機体側の硬貨受入口を開閉する第2の開閉板の開放により、硬貨収納部の底部の傾斜底面によって硬貨を自重で硬貨放出口から放出させるため、硬貨の放出に例えばコンベヤなどを用いる場合に比べて、構成が簡略化されてコストダウンされ、短時間で硬貨の全量放出が可能となり、しかも、硬貨収納カセットが取り外されたときには、機体側の第2の開閉板を閉じることで、硬貨収納セットに関与しない処理が可能になり、硬貨収納カセットが取り外された空間へ硬貨が飛び出すことがなく、硬貨枚数などの違算が生じるのが防止される。
【0031】
【発明の実施の形態】
以下、本発明の実施の形態を図面を参照して説明する。
【0032】
図1ないし図24に循環式硬貨入出金機の一実施の形態を示す。
【0033】
図1および図2において、11は循環式硬貨入出金機の機体で、この機体11の操作者側(操作面側)12である前面上部に入金口と出金口とを兼ねて図示しない入出金口シャッタで開閉される入出金口13が形成され、この入出金口13の内側に硬貨を受け入れる硬貨受部14が配設されている。この硬貨受部14は上面を開口した受皿14aを有し、この受皿14aに硬貨を受け入れるとともに受皿14aの回動によって受け入れた硬貨を下方のシュート15に放出可能としている。硬貨受部14には、受皿14a内の硬貨の有無を検知する図示しないセンサが配設されている。
【0034】
機体11の前側下部にはシュート15などを通じて送り込まれる硬貨を受け入れる硬貨貯留装置18が配設されている。この硬貨貯留装置18は、図2および図5に示すように、垂直に対して上側が機体11の左側面方向(図2の左側)へ所定角度傾いて軸支された硬貨繰出部としての回転円盤19、およびこの回転円盤19の表面側に配設されたホッパ20を有し、これら回転円盤19とホッパ20との間に送り込まれる硬貨を貯留する硬貨貯留部21が形成されている。
【0035】
回転円盤19の表面周縁近傍に硬貨を掻き上げるための複数の突起22が一定間隔で突設されており、回転円盤19の回転により硬貨貯留部21内の硬貨を各突起22で1枚ずつ掻き上げながら回転円盤19の上部位置から1枚ずつ繰り出し可能としている。
【0036】
ホッパ20には、回転円盤19によってホッパ20内から繰り出されずに残留する異物を排出するために、ホッパ20の底部を開閉する開閉部23が開閉可能に配設されている。開閉部23の下方には開閉部23の開放によって放出される異物を受け入れて機体11の前面下部に開口形成された異物排出口24に送り込む異物排出シュート25が配設されている。
【0037】
また、図1および図5に示すように、回転円盤19の上部位置には、硬貨貯留装置18から1枚ずつ繰り出される硬貨を受け入れて1枚ずつ間隔をあけた分離状態で搬送する硬貨通路装置28の硬貨通路29の始端部が接続されている。この硬貨通路29は、硬貨貯留装置18の上部位置から斜め上後方へ向けて傾斜状に形成される識別通路域30、この識別通路域30の末端から後方へ向けて略水平状に形成される分岐通路域31、この分岐通路域31の末端から上方に円弧状に折り返して前方へ向けて形成されるとともに硬貨通路29の終端である末端部が硬貨受部14に接続される出金通路域32が形成されている。
【0038】
硬貨通路29は、回転円盤19と同じの傾斜状態であって、硬貨を垂直に対して上側が機体11の左側面方向(図2の左側)へ所定角度傾いた傾斜状態で搬送する通路板33を有し、この通路板33の下縁には搬送する硬貨の周縁下部を支持する案内縁34a,34bが形成されている。
【0039】
硬貨通路29上には、硬貨貯留装置18から1枚ずつ繰り出される硬貨を1枚ずつ間隔をあけた分離状態で搬送する搬送手段としての搬送ベルト35が配設されている。この搬送ベルト35は、無端状で、プーリ36,37,38を含む複数のプーリによって各通路域30〜32に沿って懸架されており、硬貨を通路板33に押し付けながら搬送する。搬送ベルト35には硬貨を1枚ずつ間隔をあけた分離状態で搬送する突起39が通路板33に対向する面に所定間隔毎に突設されている。そして、通路板33の上面と搬送ベルト35の突起39の対向面との間隙は接触しない微小間隙、通路板33の上面と搬送ベルト35の突起39以外の対向面部との間隙は処理対象とする最小厚み硬貨の厚みよりやや小さい間隙に設定されている。
【0040】
硬貨通路29の識別通路域30には、搬送する硬貨の適正、不適正、金種などを識別する材質センサやイメージセンサなどにて構成される硬貨識別部40が配設されている。この硬貨識別部40より搬送方向下流側すなわち後流位置には、硬貨収納カセット未装着時における入金承認時に入金オーバーフロー硬貨を分岐する切換手段としての第2の入金オーバーフロー硬貨分岐部41、入金送り込み時に入金オーバーフロー硬貨を分岐する入金送り込み時オーバーフロー硬貨分岐部42が配設されている。
【0041】
硬貨通路29の分岐通路域31には、上流側から順に、硬貨識別部40にて識別された硬貨を例えば1円、5円、10円、50円、100円、500円硬貨の金種別に分岐する種類別分岐部としての金種別分岐部43a〜43f、補充時の余剰補充硬貨つまり補充オーバーフロー硬貨および入金承認時の入金オーバーフロー硬貨や回収時の回収硬貨などを分岐する切換手段としての第1の入金オーバーフロー硬貨分岐部である第1の硬貨収納カセット用分岐部44、補充時および回収時のリジェクト硬貨や入金時および出金時の取り忘れ硬貨などを分類する第2の硬貨収納カセット用分岐部45がそれぞれ形成されている。
【0042】
各分岐部41,42,43a〜43f,44,45は、略共通に構成されており、例えば図6に金種別分岐部43a〜43fの一部を示すように、通路板33に分岐孔46がそれぞれ開口形成されるとともに、これら分岐孔46を開閉する分岐部材47がそれぞれ配設されている。各分岐部材47は、硬貨通路29の上流側が開閉するように通路板33に回動自在に軸支されているとともに、図示しないロータリーソレノイドにて開閉駆動される。各分岐部材47には、開口時に搬送ベルト35との干渉を避ける切欠部48が形成されている。
【0043】
通路板33の各分岐部41,42,43a〜43f,44,45の上流側および下流側に、硬貨通路29内を搬送する硬貨を検知する図示しない硬貨検知センサ(図8に示すセンサ群123に含まれる)が配設されている。そして、各分岐部41,42,43a〜43f,44,45の各分岐部材47は、硬貨識別部40での識別結果と硬貨検知センサとの両条件にて、ロータリーソレノイドにより開放駆動され、該当硬貨のみを各分岐部41,42,43a〜43f,44,45から分岐し、該当硬貨以外の硬貨を硬貨通路29の下流側へ通過させる。
【0044】
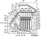
図1に示すように、第2の入金オーバーフロー硬貨分岐部41には、硬貨収納カセット未装着時に、入金承認時の入金オーバーフロー硬貨を収納する入金オーバーフロー硬貨収納部49が接続されている。この入金オーバーフロー硬貨収納部49は、硬貨を収納する収納空間部49aを有し、この収納空間部49aはその底部側が傾斜面に形成されるとともに、図1右面に上下移動可能に設けられた開閉板49bによって開閉される放出口(図1右面の下部域に開口)が形成され、開閉板49bの開放によって収納空間部49aに収納した硬貨を傾斜面に沿って搬送コンベヤ手段58へ全量放出可能としている。なお、これらの構成は、後述する硬貨収納カセット59の硬貨収納部86に形成される硬貨放出口94、傾斜底面95、第1の開閉板96と同様の構成である。
【0045】
図1に示すように、入金送り込み時オーバーフロー硬貨分岐部42には、この入金送り込み時オーバーフロー硬貨分岐部42で分岐した硬貨を受け入れて下方へ案内するシュート50が接続されている。図1および図2に示すように、各金種別分岐部43a〜43fには、各金種別分岐部43a〜43fで分岐した硬貨を受け入れて下方の搬送コンベヤ手段58へ案内する金種別のシュート51が接続されている。図1、図2および図4に示すように、各硬貨収納カセット用分岐部44,45には、各硬貨収納カセット用分岐部44,45で分岐した硬貨を受け入れて下方へ案内するシュート52,53がそれぞれ接続されている。
【0046】
また、図1および図2に示すように、機体11内には、金種別分岐部43a〜43fのシュート51の下方に入金一時保留装置56が配設され、この入金一時保留装置56の下方に金種別硬貨収納投出装置57が配設され、この金種別硬貨収納投出装置57の右側面側(図2の右側)の底部に搬送コンベヤ手段58が配設され、各硬貨収納カセット用分岐部44,45のシュート52,53の下方に硬貨収納カセット59が配設されている。
【0047】
入金一時保留装置56は、入金時に金種別分岐部43a〜43fで分岐されてシュート51で導かれる硬貨を受け入れるとともに所定枚数の硬貨を上下方向に重積して一時保留するもので、金種別に硬貨を上下方向に重積する筒状の開口を有する一時保留部62、およびこの一時保留部62の下面を開閉する投出板63などで構成されている。一時保留部62は、図示しない駆動機構により、投出板63で下面開口が閉塞されていてシュート51から硬貨を受け入れるとともに重積状態で一時保留可能とする定位置と、この定位置から機体11の右側面側(図2の右側)の搬送コンベヤ手段58上に移動して投出板63に対して相対的に開放される下面開口から一時保留硬貨を放出する返却位置との間で移動する。
【0048】
また、図1および図2に示すように、金種別硬貨収納投出装置57は、カセット方式で機体11内に着脱可能に装着される金種別の収納筒部66を有し、この収納筒部66の上方から硬貨の収納および投出を可能としている。収納筒部66の上方には投出板63が配設され、この投出板63は、図示しない駆動機構により、収納筒部66の上方の前進位置と、この前進位置より機体11の左側面側(図2の左側)の後退位置との間で往復移動する。そして、投出板63が定位置にあるとき一時保留部62の下面開口を閉塞して硬貨の一時保留を可能とし、この一時保留部62に一時保留した硬貨の収納時に投出板63が図2左方向の後退位置に移動し、一時保留部62の硬貨を収納筒部66に収納させ、また、一時保留部62が図2右方向の返却位置に移動した状態で、かつ収納筒部66内の硬貨を上昇させて最上位硬貨を一時保留部62の下面で受け止めた状態において、投出板63の往復移動により、収納筒部66の最上位の硬貨から順に投出可能としている。
【0049】
各収納筒部66内には重積硬貨を支承する支承部材67がそれぞれ上下動可能に配置され、これら各支承部材67が各収納筒部66に上下方向に形成された案内溝68を通じて収納筒部66に対し機体11の左側面側(図2の左側)に配置された駆動機構69に着脱可能に連結され、この駆動機構69によって各支承部材67がそれぞれ独立して上下動する。そして、収納筒部66内からの硬貨の投出時に支承部材67が上昇して最上位の硬貨を一時保留部62の下面に押し付けるとともに、収納筒部66内への硬貨の収納時に支承部材67が下降して硬貨を収納可能としている。
【0050】
なお、一時保留部62の硬貨を収納筒部66へ収納させる場合は、支承部材67が上昇して支承部材67上の重積硬貨上面を投出板63の下面近傍に位置させ、次に投出板63の退避により一時保留硬貨が重積状収納硬貨の上に載り、支承部材67の下降で重積硬貨上面が投出板63の下部近傍へ下降されて停止され、次に投出板63が閉じられて一時保留硬貨の収納が終わる。
【0051】
また、図1および図2に示すように、搬送コンベヤ手段58は、金種別硬貨収納投出装置57の右側面域(図2の右側)に沿って機体11の底部に略水平状に配置される受収コンベヤ域72、この受収コンベヤ域72の前端から斜め上前方の硬貨貯留装置18に接続される送出コンベヤ域73を有し、受収コンベヤ域72に受収した硬貨を硬貨貯留装置18に順次送り込む。これらコンベヤ域72,73上の両側に受収ガイド部材74が配設されるとともに受収コンベヤ域72の後端側に受収ガイド部材75が配設され、受収コンベヤ域72上の受収ガイド部材74,75で囲まれた空間に硬貨を受収する硬貨受収部76が形成されている。
【0052】
受収コンベヤ域72上の硬貨受収部76には、入金送り込み時オーバーフロー硬貨分岐部42で分岐してシュート50で導かれる入金オーバーフロー硬貨を受収可能とし、入金オーバーフロー硬貨収納部49から全量放出される硬貨を受収可能とし、硬貨収納カセット59が備える硬貨収納部86から全量放出される硬貨を全量受収可能とし、金種別硬貨収納投出装置57から全て投出される硬貨を受収可能としている。例えば、硬貨受収部76の最大受収枚数は1100枚、硬貨収納カセット59の硬貨収納部86の最大収納枚数は1100枚、入金オーバーフロー硬貨収納部49の最大収納枚数は300枚、金種別硬貨収納投出装置57の最大収納枚数は700枚程度に設定されている。
【0053】
搬送コンベヤ手段58は、無端状のベルト77を有し、このベルト77が複数のプーリ78に懸架されて各コンベヤ域72,73が形成されている。図7に示すように、ベルト77は、平ベルトで、その幅は処理する最大径の硬貨(図中には符号Cで示す)の直径より広い幅で最小径硬貨が径方向に2枚入らない幅に形成されており、ベルト77の表面にはその搬送方向に沿って処理する最大径の硬貨の直径より広く最小径硬貨が径方向に2枚入らない所定のピッチ毎に複数の突起79が形成されている。突起79は、断面四角形で、ベルト幅方向に3つが並び、ベルト77の表面から例えば4mm程度突出していて2枚の硬貨が同時に係合可能としている。そして、ベルト77の回転駆動により、受収コンベヤ域72に受収した硬貨を突起79に引っ掛けて硬貨貯留装置18に順次搬送可能としている。
【0054】
両側の受収ガイド部材74には、ベルト77の表面側に突出するガイド部80が形成され、このガイド部80に硬貨をベルト77の表面に案内する傾斜面81が形成されている。これら両側のガイド部80の内側間隔は最大径の硬貨の直径よりやや広くかつ最小径硬貨の直径の2枚分より狭く設定されている。また、受収コンベヤ域72と送出コンベヤ域73との鈍角状の交差域は、ガイド部材80にて鈍角状にガイド支持されている。
【0055】
また、図1、図2および図4に示すように、硬貨収納カセット59は、機体11の後部側に形成されたカセット装着部84に対しその機体11の右側面側(図4の左側)から着脱可能に装着されており、斜めにした硬貨収納カセット59の下部側を機体11に抜き差し、機体11に装着した硬貨収納カセット59の下部側を支点として上部側を機体11の内外に移動させることができる。
【0056】
図3に示すように、硬貨収納カセット59は、運搬可能な縦長箱状のカセット本体85を有し、このカセット本体85内の上部側に硬貨の全量放出を可能とする硬貨収納部86と硬貨を放出しない硬貨非放出収納部87とが左右方向に並んで区画形成され、これら収納部86,87の下側に補充リジェクト硬貨収納部88、回収リジェクト硬貨収納部89および取り忘れ硬貨収納部90が前後方向に並んで区画形成されている。硬貨非放出収納部87の最大収納枚数は800枚程度に設定されている。
【0057】
各収納部86,87の上面には硬貨を受収する受収口91,92がそれぞれ形成され、これら受収口91,92を一体に開閉する受収口シャッタ93がカセット本体85内に開閉可能に配設されている。各収納部88〜90の左側面上部には硬貨を受収する図示しない受収口がそれぞれ形成され、これら受収口を一体に開閉する図示しない受収口シャッタがカセット本体85内に開閉可能に配設されている。これら受収口シャッタ93を含む受収口シャッタは、硬貨収納カセット59を機体11内のカセット装着部84に装着することにより自動的に開放され、硬貨収納カセット59を機体11内のカセット装着部84から取り外すことにより自動的に閉塞される。
【0058】
硬貨収納部86の下部側には、カセット本体85の前面に開口する硬貨放出口94が形成され、硬貨収納部86の底部に硬貨を自重で硬貨放出口94から放出させるシュート状の傾斜底面95が形成され、硬貨放出口94を開閉する開閉板としての第1の開閉板96が上下方向に開閉可能に配設されている。傾斜底面95は、硬貨放出口94へ向けて下降傾斜するとともに傾斜方向と交差する方向の断面が円弧状に形成され、硬貨収納部86内の硬貨が傾斜底面に貼り付くのを防止して確実に全量放出可能としている。これら傾斜底面95および第1の開閉板96などによって、硬貨放出口94から硬貨収納部86内の硬貨を全量放出する全量放出手段97が構成されている。
【0059】
硬貨収納部86の傾斜底面95と閉塞状態の第1の開閉板96とのなす隅部の硬貨有無検知位置に対応して、カセット本体85を左右方向に貫通するセンサ孔98が形成されている。なお、センサ孔98は、硬貨収納部86内に開口して硬貨有無検知を許容するが、図3(c)に示すように、硬貨非放出収納部87ではこの硬貨非放出収納部87内の隅部に形成された膨出部99を貫通し、硬貨非放出収納部87の硬貨は硬貨有無検知に無関係としている。
【0060】
また、図3に示すように、カセット装着部84には、硬貨収納カセット59の硬貨放出口94が臨む硬貨受入口102が形成され、この硬貨受入口102を開閉する第2の開閉板103が上下方向に開閉可能に配設されている。硬貨受入口102の内側には図1に示す受収ガイド部材75の上端が連続され、硬貨収納カセット59の硬貨収納部86から全量放出される硬貨を搬送コンベヤ手段58の受収コンベヤ域72上の硬貨受収部76に受収可能としている。
【0061】
カセット装着部84の両側には硬貨収納カセット59のセンサ孔98を通じて硬貨収納部86内の硬貨の有無を検知する光学式の硬貨有無検知センサ104が配設されている。
【0062】
また、図1、図2および図4に示すように、第1の硬貨収納カセット用分岐部44のシュート52の下部側が2つのシュート部52a,52bに分岐され、一方のシュート部52aは硬貨収納カセット59の受収口91の上方に配置され、他方のシュート部52bは硬貨収納カセット59の受収口92の上方に配置され、2つのシュート部52a,52b間に配置される図示しない切換部材によって第1の硬貨収納カセット用分岐部44で分岐された硬貨の受収先が切り換えられる。
【0063】
第2の硬貨収納カセット用分岐部45のシュート53は硬貨収納カセット59の側部に配設され、このシュート53の下部側が3つのシュート部53a,53b,53cに分岐され、1つ目のシュート部53aは補充リジェクト硬貨収納部88の受収口に配置され、2つ目のシュート部53bは回収リジェクト硬貨収納部89の受収口に配置され、3つ目のシュート部53cは取り忘れ硬貨収納部90の受収口に配置されている。シュート部53a,53b間およびシュート部53b,53c間にそれぞれ配置される切換部材107,108によって第2の硬貨収納カセット用分岐部45で分岐された硬貨の受収先が切り換えられる。
【0064】
そして、循環式硬貨入出金機は、硬貨収納カセット59の硬貨収納部86から補充硬貨を受け入れて金種識別し、補充可能な硬貨は金種別に分岐して金種別硬貨収納投出装置57へ送り込む補充搬送系111と、操作者側12から投入される入金硬貨を受け入れて金種識別し、入金正規硬貨は入金一時保留装置56に一時保留し、入金承認時に出金に使用可能な硬貨は金種別硬貨収納投出装置57へ送り込む入金搬送系112と、金種別硬貨収納投出装置57から投出される出金硬貨を受け入れて金種識別し、正規硬貨は操作者側12へ搬送する出金搬送系113と、硬貨収納カセット59の硬貨収納部86から全量放出される硬貨や金種別硬貨収納投出装置57から全て投出される硬貨を受け入れて金種識別し、元の硬貨収納カセット59の硬貨収納部86や金種別硬貨収納投出装置57へ戻す精査搬送系114と、硬貨収納カセット59の硬貨収納部86から全量放出される硬貨や金種別硬貨収納投出装置57から全て投出される硬貨を受け入れて金種識別し、金種識別した硬貨を硬貨収納カセット59に回収する精査回収搬送系115とを備えている。これら補充搬送系111、入金搬送系112、出金搬送系113、精査搬送系114および精査回収搬送系115は、硬貨貯留装置18、硬貨通路装置28および搬送コンベヤ手段58を共用して構成されている。
【0065】
出金搬送系113は硬貨通路装置28から操作者側12へ硬貨を搬送する出金手段116を備え、この出金手段116には硬貨通路装置28の出金通路域32および搬送ベルト35などが含まれる。
【0066】
また、図8に、制御部121によって循環式硬貨入出金機を制御する概略制御構成を示し、この制御部121には指令操作部122、センサ群123、硬貨識別部40が接続され、これらからの情報を制御部121に入力し、また、制御部121には補充搬送系111、入金搬送系112、出金搬送系113、精査搬送系114、精査回収搬送系115、開閉板駆動部124、搬送コンベヤ手段58が接続され、これらの駆動を制御部121で制御する。
【0067】
指令操作部122は、各種の処理モードを指定したり、スタート、ストップを指令する。センサ群123は、各搬送系のセンサや、硬貨収納カセット59の機体11に対する装着の有無を検知するセンサなど、機体11内に配置される各センサを含み、これら各センサからの情報を制御部121に出力する。開閉板駆動部124の一部は、機体11のカセット装着部84の近傍に配設され、カセット装着部84に装着された硬貨収納カセット59の第1の開閉板96および機体11の第2の開閉板103を連動させて開閉する。また、開閉板駆動部124の他の一部は入金オーバーフロー硬貨収納部49の開閉板49bを開閉駆動するために開閉板49bの近くに設けられる。
【0068】
また、図9に、制御部121によって循環式硬貨入出金機を制御する詳細制御構成を示し、この制御部121には指令操作部122、センサ群123、硬貨識別部40が接続され、これらからの情報を制御部121に入力し、また、制御部121には開閉板駆動部124、搬送コンベヤ手段58、硬貨貯留装置18の回転円盤19を回転駆動する回転円盤駆動部125、硬貨通路装置28の搬送ベルト35を回行駆動する搬送ベルト駆動部126、各分岐部材47を切換駆動する分岐部材駆動部127、シュート52の切換部材およびシュート53の切換部材107,108を切換駆動する切換部材駆動部128、硬貨受部14の受皿14aを回動駆動する受皿駆動部129、入金一時保留装置56の一時保留部62を移動させる一時保留部駆動部130、投出板63を移動させる投出板駆動部131、支承部材67を介して収納筒部66内の重責硬貨を上下に移動させる駆動機構69の重積硬貨上下駆動部132が接続され、これらの駆動を制御部121で制御する。
【0069】
そして、制御部121は、以下の機能を有している。
【0070】
補充時に、搬送コンベヤ手段58に硬貨収納カセット59から全量放出された初期補充硬貨または途中補充硬貨を補充搬送系111を通じて金種別硬貨収納投出装置57へ補充させるとともに、金種別硬貨収納投出装置57への補充の必要がない硬貨すなわち金種別硬貨収納投出装置57に送り込めない余剰補充硬貨を補充搬送系111を通じて硬貨収納カセット59の硬貨収納部86へ回収収納させる補充動作の機能。
【0071】
入金時でかつ機体11に硬貨収納カセット59が装着されている場合、搬送コンベヤ手段58に一時保留した入金オーバーフロー硬貨を入金承認時に硬貨を収納する入金搬送系112および第1の入金オーバーフロー硬貨分岐部44を通じて硬貨収納カセット59の硬貨収納部86へ回収収納させる機能。
【0072】
入金時でかつ機体11から硬貨収納カセット59が取り外されている場合、搬送コンベヤ手段58に一時保留した入金オーバーフロー硬貨を入金承認時に硬貨を収納する入金搬送系112および第2の入金オーバーフロー硬貨分岐部41を通じて入金オーバーフロー硬貨収納部49の収納空間部49aへ回収収納させる機能。
【0073】
補充時でかつ機体11から硬貨収納カセット59が取り外されている場合、入金オーバーフロー硬貨収納部49の硬貨を搬送コンベヤ手段58へ全量放出させて補充搬送系111を通じて金種別硬貨収納投出装置57へ補充させるとともに、金種別硬貨収納投出装置57への補充の必要がない硬貨を第2の入金オーバーフロー硬貨分岐部を通じて入金オーバーフロー硬貨収納部49へ回収収納させる機能。
【0074】
精査時に、搬送コンベヤ手段58に硬貨収納カセット59の硬貨収納部86から全量放出された硬貨を精査搬送系114を通じて精査した後に硬貨収納カセット59の硬貨収納部86へ戻す第1の精査動作、および搬送コンベヤ手段58に金種別硬貨収納投出装置57から投出された全量の硬貨を精査搬送系114を通じて精査した後に金種別硬貨収納投出装置57へ戻す第2の精査動作の機能。
【0075】
回収時に、搬送コンベヤ手段58に硬貨収納カセット59の硬貨収納部86から全量放出された回収硬貨を精査回収搬送系115を通じて精査した後に硬貨収納カセット59へ回収させる第1の回収動作、および搬送コンベヤ手段58に金種別硬貨収納投出装置57から投出された全量の硬貨を精査回収搬送系115を通じて精査した後に硬貨収納カセット59へ回収させる第2の回収動作の機能。
【0076】
次に、本実施の形態の作用を説明する。
【0077】
まず、初期補充処理について図10を参照して説明する。
【0078】
循環式硬貨入出金機の外部で初期補充硬貨を硬貨収納部86に収納した硬貨収納カセット59を、循環式硬貨入出金機の機体11内のカセット装着部84に装着する。硬貨収納カセット59の装着により、各受収口シャッタ(受収口シャッタ93を含む)を開放し、第1の開閉板96が開閉板駆動部124側と係合して第1の開閉板96を開閉可能とする。硬貨有無検知センサ104に硬貨収納カセット59のセンサ孔98が対向し、硬貨有無検知センサ104の検知光が硬貨収納部86に収納されている初期補充硬貨で遮光されて硬貨ありを検知する。
【0079】
機械管理者が指令操作部122で初期補充モードを指定し、スタートを指令することにより、硬貨貯留装置18、硬貨通路装置28および搬送コンベヤ手段58の駆動を開始し、開閉板駆動部124によって硬貨収納カセット59の第1の開閉板96および第2の開閉板103を連動させて開放する。これら第1の開閉板96および第2の開閉板103の開放移動により硬貨放出口94および硬貨受入口102を開放し、硬貨収納部86に収納していた初期補充硬貨を傾斜底面95の傾斜によって自重で硬貨放出口94から全量放出させ、硬貨受入口102を通じて、搬送コンベヤ手段58の受収コンベヤ域72上、つまり硬貨受収部76に全量受収させる。このとき、例えば、搬送コンベヤ手段58上の硬貨受収部76の最大受収枚数は1100枚、硬貨収納カセット59の硬貨収納部86の最大収納枚数は1100枚であるため、硬貨収納カセット59から全量放出する初期補充硬貨を搬送コンベヤ手段58上に全量受収できる。
【0080】
硬貨収納部86に収納していた初期補充硬貨を全量放出することで、硬貨有無検知センサ104の検知光がセンサ孔98を通じて透光状態となり、この透光状態が所定時間以上継続することで硬貨収納部86の硬貨なしを検知する。開閉板駆動部124によって第1の開閉板96および第2の開閉板103を連動して閉塞し、これら第1の開閉板96および第2の開閉板103の閉塞移動により硬貨放出口94および硬貨受入口102を閉塞する。これにより、硬貨収納部86に硬貨の受収が可能な状態とする。なお、硬貨収納カセット59から搬送コンベヤ手段58に放出された全量放出硬貨CAは硬貨放出口94および硬貨受入口102より下方に位置し、各開閉板96,103とも閉塞移動可能としている。
【0081】
搬送コンベヤ手段58のベルト77の回転駆動により、受収コンベヤ域72上の初期補充硬貨を送出コンベヤ域73を通じて硬貨貯留装置18に順次送り込む。
【0082】
硬貨貯留装置18では回転円盤19が回転し、搬送コンベヤ手段58から送り込まれた初期補充硬貨を1枚ずつ硬貨通路装置28に繰り出す。
【0083】
硬貨通路装置28では硬貨貯留装置18から繰り出される初期補充硬貨を受け入れて1枚ずつ間隔をあけた分離状態で搬送し、初期補充硬貨の搬送途上で硬貨識別部40により識別する。
【0084】
硬貨識別部40での識別の結果、正規の初期補充硬貨は金種別分岐部43a〜43fで金種別に分岐し、シュート51および入金一時保留装置56の一時保留部62を通じて、金種別硬貨収納投出装置57の収納筒部66に収納する。入金一時保留装置56の一時保留部62は投出板63が後退位置(図2に示す位置より左方向に移動した位置)に移動して底面が開口された状態にあり、シュート51から一時保留部62に送り込まれた初期補充硬貨を収納筒部66に直接収納する。このとき、収納筒部66内の重積硬貨の上面を収納筒部66の上端近傍に位置させておくことにより、初期補充硬貨の落下距離を少なくし、硬貨立ちなどが発生するのを防止できる。収納筒部66内に初期補充硬貨を1枚受け入れる度に支承部材67とともに重積硬貨を1枚分下降させ、次の初期補充硬貨の収納を許容する。
【0085】
制御部121では硬貨識別部40での識別結果から金種別硬貨収納投出装置57の各収納筒部66に収納する初期補充硬貨の枚数をカウントし、カウント値が予め設定された満杯量に達した金種については、それ以降に硬貨識別部40で識別される正規の初期補充硬貨を補充オーバーフロー硬貨として取り扱う。この補充オーバーフロー硬貨は、該当する金種の金種別分岐部43a〜43fで分岐せずに下流側の第1の硬貨収納カセット用分岐部44で分岐し、シュート52の切換部材およびシュート部52aを通じて硬貨収納カセット59の硬貨収納部86に回収収納させる。このとき、硬貨収納部86の硬貨放出口94は第1の開閉板96によって既に閉塞されているため、硬貨収納部86に回収した初期補充硬貨は放出されることなく収納状態に保たれる。また、硬貨収納部86に初期補充硬貨を回収することで、硬貨有無検知センサ104の検知光が遮光されて硬貨ありを検知する。
【0086】
硬貨識別部40での識別の結果、不適正と判断されたリジェクト硬貨は、最下流の第2の硬貨収納カセット用分岐部45まで搬送してその第2の硬貨収納カセット用分岐部45で分岐し、シュート53の切換部材107およびシュート部53aを通じて硬貨収納カセット59の補充リジェクト硬貨収納部88に回収収納させる。
【0087】
そして、硬貨識別部40で初期補充硬貨の識別が所定時間以上なくなれば、硬貨貯留装置18、硬貨通路装置28および搬送コンベヤ手段58を停止し、初期補充処理を完了する。なお、金種別硬貨収納投出装置57の各収納筒部66が満杯となったときの合計枚数は例えば700枚であり、搬送コンベヤ手段58の最大受収量は例えば1100枚であるので、金種別硬貨収納投出装置57から搬送コンベヤ手段58への全量放出が可能である。
【0088】
次に、入金処理について図11ないし図14を参照して説明する。
【0089】
図11に入金処理時における入金送り込み動作を示し、操作者(機械管理者または顧客)が指令操作部122で入金を指令することにより、入出金口13の入出金口シャッタを開放し、さらに、操作者が入金硬貨を入出金口13を通じて硬貨受部14に投入することにより、硬貨受部14の受皿14a上の硬貨を図示しないセンサで検知して入出金口シャッタを閉鎖する。硬貨貯留装置18および硬貨通路装置28の駆動を開始し、硬貨受部14の受皿14aの回動によって投入された入金硬貨をシュート15に放出し、シュート15を通じて硬貨貯留装置18に送り込む。硬貨受部14では入金硬貨の放出後に受皿14aを戻して硬貨の受収を可能な状態とする。
【0090】
硬貨貯留装置18に送り込んだ入金硬貨は、上述したように硬貨貯留装置18から硬貨通路装置28に1枚ずつ送り込み、硬貨識別部40で識別する。
【0091】
硬貨識別部40での識別の結果、正規の入金硬貨は金種別分岐部43a〜43fで金種別に分岐し、シュート51を通じて入金一時保留装置56に金種別に一時保留する。入金一時保留装置56では、図2に示すように、一時保留部62の底面を投出板63で閉塞しており、一時保留部62に受け入れた入金硬貨を上下方向に重積状態で一時保留する。
【0092】
制御部121では硬貨識別部40での識別結果から入金一時保留装置56に一時保留する入金硬貨の枚数をカウントし、カウント値が予め設定された一時保留の満杯量に達した金種については、それ以降に硬貨識別部40で識別される正規の入金硬貨を入金オーバーフロー硬貨として取り扱う。この入金オーバーフロー硬貨は、入金送り込み時オーバーフロー硬貨分岐部42で分岐し、シュート50を通じて搬送コンベヤ手段58の受収コンベヤ域72に送り込み、一括して一時保留する。
【0093】
硬貨識別部40での識別の結果、不適正と判断されたリジェクト硬貨は、いずれの分岐部41〜45でも分岐せず、出金通路域32を通じて硬貨通路29の末端まで搬送し、硬貨受部14に送り込む。このとき、硬貨受部14の受皿14aはリジェクト硬貨を受収可能な状態にある。入出金口13の入出金口シャッタを開放し、操作者が硬貨受部14からリジェクト硬貨を取り出すことによって入出金口シャッタを閉鎖する。
【0094】
そして、硬貨識別部40で硬貨の識別が所定時間以上なくなれば、硬貨貯留装置18および硬貨通路装置28を停止して入金送り込み動作を完了し、その後、入金硬貨の識別結果を操作者に対して表示し、入金の確認をとる。
【0095】
図12に、操作者が指令操作部122によって入金承認の操作をした場合で、入金オーバーフロー硬貨がなかった場合の入金収納動作を示す。入金一時保留装置56の投出板63を後退位置(図2に示す位置より左方向に移動した位置)に移動させ、一時保留部62の底面を開口させ、重積状態に一時保留させていた一時保留硬貨を金種別硬貨収納投出装置57の収納筒部66に収納させる。このとき、収納筒部66内の重積硬貨の上面を収納筒部66の上端近傍に位置させておくことにより、硬貨の落下距離を少なくし、硬貨立ちなどが発生するのを防止できる。収納筒部66内に一時保留硬貨を受け入れる枚数に応じて支承部材67とともに重積硬貨を下降させ、一時保留硬貨を収納筒部66内に収納する。これにより、入金送り込み動作から入金収納動作までの一連の入金処理を完了する。
【0096】
図13に、操作者が指令操作部122によって入金承認の操作をした場合で、入金オーバーフロー硬貨があり、かつ機体11に硬貨収納カセット59が装着されている場合の入金収納動作を示す。入金一時保留装置56に一時保留していた一時保留硬貨は、上述したように投出板63の後退位置への移動によって金種別硬貨収納投出装置57の収納筒部66に収納させる。
【0097】
搬送コンベヤ手段58の受収コンベヤ域72に一括一時保留していた入金オーバーフロー硬貨は、硬貨貯留装置18、硬貨通路装置28および搬送コンベヤ手段58の駆動により、上述したように搬送コンベヤ手段58から硬貨貯留装置18を通じて硬貨通路装置28に送り込み、硬貨通路装置28の第1の硬貨収納カセット用分岐部44で分岐し、シュート52の切換部材およびシュート部52aを通じて硬貨収納カセット59の硬貨収納部86に収納させる。なお、例えば、硬貨収納カセット59の硬貨収納部86の硬貨収納量が、最大収納枚数内で予め任意に設定した途中補充処理における全量放出量に達している場合には、シュート52の切換部材を切り換え、入金オーバーフロー硬貨を、シュート52の切換部材およびシュート部52bを通じて硬貨非放出収納部87に収納させる。
【0098】
硬貨識別部40で入金オーバーフロー硬貨の識別が所定時間以上なくなれば、硬貨貯留装置18、硬貨通路装置28および搬送コンベヤ手段58を停止し、入金送り込み動作から入金収納動作までの一連の入金処理を完了する。
【0099】
これら入金一時保留装置56および搬送コンベヤ手段58からの一時保留硬貨の収納動作は並行処理が可能で、特に搬送コンベヤ手段58からの一時保留硬貨を金種別に分岐することなく硬貨収納カセット59の硬貨収納部86に収納させることで、処理時間を短くし、次の処理に迅速に移ることができる。
【0100】
図14に、操作者が指令操作部122によって入金承認の操作をした場合で、入金オーバーフロー硬貨があり、かつ機体11に硬貨収納カセット59が取り外されている場合の入金収納動作を示す。入金一時保留装置56に一時保留していた一時保留硬貨は、上述したように投出板63の後退位置への移動によって金種別硬貨収納投出装置57の収納筒部66に収納させる。
【0101】
搬送コンベヤ手段58の受収コンベヤ域72に一括一時保留していた入金オーバーフロー硬貨は、硬貨貯留装置18、硬貨通路装置28および搬送コンベヤ手段58の駆動により、上述したように搬送コンベヤ手段58から硬貨貯留装置18を通じて硬貨通路装置28に送り込み、硬貨通路装置28の第2の入金オーバーフロー硬貨分岐部41で分岐し、入金オーバーフロー硬貨収納部49の収納空間部49aに収納させる。このとき、収納空間部49aの右面下部域の放出口は開閉板49bで閉じられている。
【0102】
硬貨識別部40で入金オーバーフロー硬貨の識別が所定時間以上なくなれば、硬貨貯留装置18、硬貨通路装置28および搬送コンベヤ手段58を停止し、入金送り込み動作から入金収納動作までの一連の入金処理を完了する。
【0103】
なお、入金オーバーフロー硬貨収納部49に入金オーバーフロー硬貨を収納した後、機体11に硬貨収納カセット59が装着された場合には、入金オーバーフロー硬貨収納部49内の収納硬貨を硬貨収納カセット59に移すことができる。すなわち、制御部121を通じて開閉板駆動部124が駆動し、開閉板49bが開く。その結果、入金オーバーフロー硬貨収納部49内の収納硬貨を搬送コンベヤ手段58の受収コンベヤ域72に全量放出させ、この搬送コンベヤ手段58の受収コンベヤ域72に全量放出された硬貨を、上述した補充時の補充オーバーフロー硬貨または入金承認時の入金オーバーフロー硬貨のように、硬貨通路装置28を通じて硬貨収納カセット59の硬貨収納部86または硬貨非放出収納部87に収納させる。このとき、硬貨通路装置28を通じて金種別に分岐して金種別硬貨収納投出装置57へ補充可能な金種硬貨は補充し、補充オーバーフロー硬貨のみを硬貨収納カセット59に収納するようにしてもよいし、また、硬貨通路装置28を通じて硬貨を金種別に分岐することなく硬貨収納カセット59に収納させ、次の処理に迅速に移るようにしてもよい。なお、開閉板49bは硬貨の全量放出後に制御部121を通じて開閉板駆動部124の駆動で閉じられる。
【0104】
また、入金オーバーフロー硬貨収納部49に入金オーバーフロー硬貨を収納した後、機体11から硬貨収納カセット59が取り外されている状態のままでも、入金オーバーフロー硬貨収納部49内の収納硬貨を金種別硬貨収納投出装置57へ補充することができる。すなわち、制御部121を通じて開閉板49bを開くことにより、入金オーバーフロー硬貨収納部49内の収納硬貨を搬送コンベヤ手段58の受収コンベヤ域72に全量放出させ、開閉板49bはその直後に閉じられる。この搬送コンベヤ手段58の受収コンベヤ域72に全量放出された硬貨を、上述した補充時のように、硬貨通路装置28を通じて金種別に分岐して金種別硬貨収納投出装置57へ補充し、補充の必要のない補充オーバーフロー硬貨は第2のオーバーフロー硬貨分岐部41で分岐して入金オーバーフロー硬貨収納部49に回収収納させる。
【0105】
図15に、操作者が指令操作部122によって入金不承認の操作をした場合を示す。入金一時保留装置56の一時保留部62を搬送コンベヤ手段58の受収コンベヤ域72の上方の返却位置に移動させ、一時保留部62に一時保留していた全ての硬貨を搬送コンベヤ手段58の受収コンベヤ域72に放出する。このとき、搬送コンベヤ手段58の受収コンベヤ域72に入金オーバーフロー硬貨を一時保留していた場合には、一時保留部62から放出される硬貨と一緒になる。
【0106】
搬送コンベヤ手段58の受収コンベヤ域72上の返却硬貨は、硬貨貯留装置18、硬貨通路装置28および搬送コンベヤ手段58の駆動により、上述したように搬送コンベヤ手段58から硬貨貯留装置18を通じて硬貨通路装置28に送り込み、硬貨通路29の末端まで搬送して硬貨受部14の受皿14a(受入可能な上向き位置にある)に送り込む。全ての返却硬貨を硬貨受部14の受皿14aに送り込んだら、硬貨貯留装置18、硬貨通路装置28および搬送コンベヤ手段58を停止し、入出金口13の入出金口シャッタを開放し、操作者が硬貨受部14の受皿14aから返却硬貨を取り出すことによって入出金口シャッタを閉鎖する。これにより、入金送り込み動作から入金返却動作までの一連の処理を完了する。
【0107】
次に、出金処理について図16を参照して説明する。
【0108】
操作者(機械管理者または顧客)が指令操作部122によって出金貨幣値(金額または金種と枚数)を入力し、スタートを指令することにより、金種別硬貨収納投出装置57の出金金種に該当する収納筒部66において、収納されている重積硬貨を支承部材67によって上昇させ、収納筒部66の上部を閉塞する位置に位置される一時保留部62の下面に重積硬貨を当接させ、往復移動させる投出板63によって最上位の重積硬貨つまり出金硬貨を収納筒部66から搬送コンベヤ手段58の受収コンベヤ域72上に投出する。続けて投出する金種がある場合には、同様に重積硬貨を上昇させ投出板63によって投出する。出金金種に該当しない金種および出金枚数分を投出し終えた金種については、重積硬貨を下降させ、硬貨の投出を停止する。
【0109】
搬送コンベヤ手段58の受収コンベヤ域72上に投出された出金硬貨は、硬貨貯留装置18、硬貨通路装置28および搬送コンベヤ手段58の駆動により、上述したように搬送コンベヤ手段58から硬貨貯留装置18を通じて硬貨通路装置28に送り込み、硬貨識別部40で識別する。
【0110】
硬貨識別部40での識別の結果、正規の出金硬貨は硬貨通路29の末端まで搬送して硬貨受部14に送り込む。
【0111】
不適正と判断されたリジェクト硬貨は第1の硬貨収納カセット用分岐部44で分岐し、シュート52の切換部材およびシュート部52aを通じて硬貨収納カセット59の硬貨収納部86に回収収納させる。リジェクト硬貨が発生した場合には、出金貨幣値に不足する金種硬貨を金種別硬貨収納投出部57から再投出させる。
【0112】
出金貨幣値分の出金硬貨を硬貨受部14に送り込んだら、硬貨貯留装置18、硬貨通路装置28および搬送コンベヤ手段58を停止し、入出金口13の入出金口シャッタを開放し、操作者が硬貨受部14の受皿14aから出金硬貨を取り出すことによって入出金口シャッタを閉鎖する。これにより、出金処理を完了する。
【0113】
次に、途中補充処理について図17を参照して説明する。
【0114】
出金処理によって金種別硬貨収納投出装置57の金種別の硬貨の収納量が所定量以下に低下した場合に、途中補充処理を自動的に開始する。この途中補充処理では、初期補充処理と同様に、硬貨貯留装置18、硬貨通路装置28および搬送コンベヤ手段58の駆動を開始し、開閉板駆動部124によって硬貨収納カセット59の第1の開閉板96および第2の開閉板103を連動させて開放する。これら第1の開閉板96および第2の開閉板103の開放移動により硬貨放出口94および硬貨受入口102を開放し、硬貨収納部86に収納していた補充硬貨を傾斜底面95の傾斜によって自重で硬貨放出口94から全量放出させ、硬貨受入口102を通じて、搬送コンベヤ手段58の受収コンベヤ域72上、つまり硬貨受収部76に全量受収させる。
【0115】
硬貨収納部86に収納していた補充硬貨を全量放出することで、硬貨有無検知センサ104の検知光がセンサ孔98を通じて透光状態となり、この透光状態が所定時間以上継続することで硬貨収納部86の硬貨なしを検知する。開閉板駆動部124によって第1の開閉板96および第2の開閉板103を連動して閉塞し、これら第1の開閉板96および第2の開閉板103の閉塞移動により硬貨放出口94および硬貨受入口102を閉塞する。これにより、硬貨収納部86に硬貨の受収が可能な状態とする。
【0116】
搬送コンベヤ手段58の受収コンベヤ域72に全量受収した補充硬貨は、硬貨貯留装置18、硬貨通路装置28および搬送コンベヤ手段58の駆動により、上述したように搬送コンベヤ手段58から硬貨貯留装置18を通じて硬貨通路装置28に送り込み、硬貨識別部40で識別する。
【0117】
硬貨識別部40での識別の結果、正規の補充硬貨は、初期補充処理と同様に、金種別分岐部43a〜43fで金種別に分岐し、シュート51および入金一時保留装置56の底面が開口された一時保留部62を通じて、金種別硬貨収納投出装置57の収納筒部66に直接収納させる。
【0118】
制御部121では硬貨識別部40での識別結果から金種別硬貨収納投出装置57の各収納筒部66に収納する硬貨の枚数をカウントし、カウント値が予め設定された満杯量に達した金種については、それ以降に硬貨識別部40で識別する正規の補充硬貨を補充オーバーフロー硬貨として取り扱う。この補充オーバーフロー硬貨は、該当する金種の金種別分岐部43a〜43fで分岐せずに下流側の第1の硬貨収納カセット用分岐部44で分岐し、シュート52の切換部材およびシュート部52aを通じて硬貨収納カセット59の硬貨収納部86に回収収納させる。このとき、硬貨収納部86の硬貨放出口94は第1の開閉板96によって既に閉塞されているため、硬貨収納部86に回収した補充硬貨は放出されることなく収納状態に保たれる。また、硬貨収納部86に補充硬貨を回収することで、硬貨有無検知センサ104の検知光が遮光されて硬貨ありを検知する。
【0119】
硬貨識別部40での識別の結果、不適正と判断されたリジェクト硬貨は、オーバーフロー硬貨と同様に、第1の硬貨収納カセット用分岐部44で分岐し、シュート52の切換部材およびシュート部52aを通じて硬貨収納カセット59の硬貨収納部86に回収収納させる。
【0120】
そして、硬貨識別部40で補充硬貨の識別が所定時間以上なくなれば、硬貨貯留装置18、硬貨通路装置28および搬送コンベヤ手段58を停止し、途中補充処理を完了する。
【0121】
なお、硬貨収納カセット59の硬貨収納部86の硬貨収納量を適正に設定し、設定した硬貨収納量を超える硬貨は非放出収納部87に収納させるようにすることで、この途中補充処理において、硬貨収納カセット59の硬貨収納部86からの全量放出量を適正にし、補充処理時間の短縮を図ることができる。
【0122】
次に、精査処理について図18および図19を参照して説明する。
【0123】
機械管理者が指令操作部122で精査処理を指定し、スタートを指令することにより、硬貨収納カセット59の硬貨収納部86に収納している硬貨を精査する第1の精査動作、および金種別硬貨収納投出装置57の収納筒部66に収納している硬貨を精査する第2の精査動作を実行する。
【0124】
図18に、硬貨収納カセット59の硬貨収納部86に収納している硬貨を精査する第1の精査動作を示す。第1の精査動作では、硬貨貯留装置18、硬貨通路装置28および搬送コンベヤ手段58の駆動を開始し、開閉板駆動部124によって硬貨収納カセット59の第1の開閉板96および第2の開閉板103を連動させて開放する。これら第1の開閉板96および第2の開閉板103の開放移動により硬貨放出口94および硬貨受入口102を開放し、硬貨収納部86に収納していた硬貨を傾斜底面95の傾斜によって自重で硬貨放出口94から全量放出させ、硬貨受入口102を通じて、搬送コンベヤ手段58の受収コンベヤ域72上、つまり硬貨受収部76に全量受収させる。
【0125】
硬貨収納部86に収納されていた硬貨を全量放出して、硬貨有無検知センサ104の検知光がセンサ孔98を通じて透光状態となり、この透光状態が所定時間以上継続することで硬貨収納部86の硬貨なしを検知する。開閉板駆動部124によって第1の開閉板96および第2の開閉板103を連動して閉塞し、これら第1の開閉板96および第2の開閉板103の閉塞移動により硬貨放出口94および硬貨受入口102を閉塞する。これにより、硬貨収納部86に硬貨の受収が可能な状態となる。
【0126】
搬送コンベヤ手段58の受収コンベヤ域72に全量受収した硬貨は、硬貨貯留装置18、硬貨通路装置28および搬送コンベヤ手段58の駆動により、上述したように搬送コンベヤ手段58から硬貨貯留装置18を通じて硬貨通路装置28に送り込み、硬貨識別部40で識別する。識別した硬貨は、第1の硬貨収納カセット用分岐部44で分岐し、シュート52の切換部材およびシュート部52aを通じて硬貨収納カセット59の硬貨収納部86に回収収納させる。このとき、硬貨収納部86の硬貨放出口94は第1の開閉板96によって既に閉塞されているため、硬貨収納部86に回収収納した硬貨は放出されることなく収納状態に保たれる。また、硬貨収納部86に硬貨を回収することで、硬貨有無検知センサ104の検知光が遮光されて硬貨ありを検知する。
【0127】
そして、硬貨識別部40で硬貨の識別が所定時間以上なくなれば、硬貨貯留装置18、硬貨通路装置28および搬送コンベヤ手段58を停止し、第1の精査動作を完了する。
【0128】
図19に、金種別硬貨収納投出装置57の収納筒部66に収納している硬貨を精査する第2の精査動作を示す。指令操作部122で精査を指定し、スタートを指令することにより、第2の精査動作を開始する。この第2の精査動作では、金種別硬貨収納投出装置57の全ての金種の収納筒部66から全ての硬貨を投出させるか、金種別の収納筒部66から硬貨を順番に投出させて全ての硬貨を投出させる。すなわち、収納筒部66に収納されている重積硬貨を支承部材67によって上昇させ、往復移動する投出板63によって最上位の硬貨を収納筒部66から搬送コンベヤ手段58の受収コンベヤ域72上に投出する。このとき、例えば、搬送コンベヤ手段58上の硬貨受収部76の最大受収枚数は1100枚、金種別硬貨収納投出装置57の最大収納枚数は700枚であるため、金種別硬貨収納投出装置57から全て投出する硬貨を搬送コンベヤ手段58上に全量受収できる。
【0129】
搬送コンベヤ手段58の受収コンベヤ域72上に全て投出した硬貨は、硬貨貯留装置18、硬貨通路装置28および搬送コンベヤ手段58の駆動により、上述したように搬送コンベヤ手段58から硬貨貯留装置18を通じて硬貨通路装置28に送り込み、硬貨識別部40で識別する。識別した硬貨は、金種別分岐部43a〜43fで金種別に分岐し、シュート51および入金一時保留装置56の一時保留部62を通じて、金種別硬貨収納投出装置57の収納筒部66に収納する。入金一時保留装置56の一時保留部62は投出板63が後退位置(図2に示す位置より左方向に移動した位置)に移動して底面が開口された状態にあり、シュート51から一時保留部62に送り込まれた硬貨は収納筒部66に直接収納される。収納筒部66内の重積硬貨の上面を収納筒部66の上端近傍に位置させておくことにより、硬貨の落下距離を少なくし、硬貨立ちなどが発生するのを防止する。収納筒部66内に硬貨を1枚受け入れる度に支承部材67とともに重積硬貨を1枚分下降させ、後続の硬貨の収納を許容する。
【0130】
そして、硬貨識別部40で硬貨の識別が所定時間以上なくなれば、硬貨貯留装置18、硬貨通路装置28および搬送コンベヤ手段58を停止し、第2の精査処理を完了する。なお、第1、第2の精査動作連続モードを設け、指令操作部122でこのモードを指定すると、第1の精査動作、この第1の精査動作終了で第2の精査動作を行うようにしてもよい。
【0131】
次に、回収処理について図20ないし図22を参照して説明する。
【0132】
図20に、機体11内の硬貨を精査なしに硬貨収納カセット59に回収する精査なし回収処理を示す。機械管理者が指令操作部122で精査なし回収を指定し、スタートを指令することにより、精査なし回収処理を開始する。この精査なし回収処理では、金種別硬貨収納投出装置57の全ての金種の収納筒部66から全ての硬貨を投出させるか、金種別の収納筒部66から硬貨を順番に投出させて全ての硬貨を投出させる。すなわち、収納筒部66に収納されている重積硬貨を支承部材67によって上昇させ、往復移動する投出板63によって最上位の出金硬貨を収納筒部66から搬送コンベヤ手段58の受収コンベヤ域72上に投出する。
【0133】
搬送コンベヤ手段58の受収コンベヤ域72上に全て投出した硬貨は、硬貨貯留装置18、硬貨通路装置28および搬送コンベヤ手段58の駆動により、上述したように搬送コンベヤ手段58から硬貨貯留装置18を通じて硬貨通路装置28に送り込み、硬貨識別部40で識別する。識別の結果、正規の回収硬貨は、第1の硬貨収納カセット用分岐部44で分岐し、シュート52の切換部材およびシュート部52aを通じて硬貨収納カセット59の硬貨収納部86に、またはシュート52の切換部材およびシュート部52bを通じて硬貨収納カセット59の硬貨非放出収納部87に回収収納させる。
【0134】
硬貨識別部40での識別の結果、不適正と判断された回収リジェクト硬貨は、最下流の第2の硬貨収納カセット用分岐部45で分岐し、シュート53の切換部材108およびシュート部53bを通じて硬貨収納カセット59の回収リジェクト硬貨収納部89に回収収納させる。
【0135】
そして、硬貨識別部40で回収硬貨の識別が所定時間以上なくなれば、硬貨貯留装置18、硬貨通路装置28および搬送コンベヤ手段58を停止し、精査なし回収処理を完了する。
【0136】
図21に、機体11内の硬貨を精査して硬貨収納カセット59に回収する精査あり回収処理における第1の回収動作を示す。機械管理者が指令操作部122で精査あり回収を指定し、スタートを指令することにより、精査あり回収処理における第1の回収動作を開始する。この第1の回収動作では、硬貨貯留装置18、硬貨通路装置28および搬送コンベヤ手段58の駆動を開始し、開閉板駆動部124によって硬貨収納カセット59の第1の開閉板96および第2の開閉板103を連動させて開放する。これら第1の開閉板96および第2の開閉板103の開放移動により硬貨放出口94および硬貨受入口102を開放し、硬貨収納部86に収納していた硬貨を傾斜底面95の傾斜によって自重で硬貨放出口94から全量放出させ、硬貨受入口102を通じて、搬送コンベヤ手段58の受収コンベヤ域72上、つまり硬貨受収部76に全量受収させる。
【0137】
硬貨収納部86に収納していた硬貨を全量放出することで、硬貨有無検知センサ104の検知光がセンサ孔98を通じて透光状態となり、この透光状態が所定時間以上継続することで硬貨収納部86の硬貨なしを検知する。開閉板駆動部124によって第1の開閉板96および第2の開閉板103を連動して閉塞し、これら第1の開閉板96および第2の開閉板103の閉塞移動により硬貨放出口94および硬貨受入口102を閉塞する。これにより、硬貨収納部86に硬貨の受収が可能な状態となる。
【0138】
搬送コンベヤ手段58の受収コンベヤ域72に全量受収した硬貨は、硬貨貯留装置18、硬貨通路装置28および搬送コンベヤ手段58の駆動により、上述したように搬送コンベヤ手段58から硬貨貯留装置18を通じて硬貨通路装置28に送り込み、硬貨識別部40で識別する。識別した硬貨は、第1の硬貨収納カセット用分岐部44で分岐し、シュート52の切換部材およびシュート部52aを通じて硬貨収納カセット59の硬貨収納部86に回収収納させる。このとき、硬貨収納部86の硬貨放出口94は第1の開閉板96によって既に閉塞されているため、硬貨収納部86に回収収納した硬貨は放出されることなく収納状態に保たれる。また、硬貨収納部86に硬貨を回収することで、硬貨有無検知センサ104の検知光が遮光されて硬貨ありを検知する。
【0139】
そして、硬貨識別部40で硬貨の識別が所定時間以上なくなれば、硬貨貯留装置18、硬貨通路装置28および搬送コンベヤ手段58を停止し、精査あり回収処理における第1の回収動作を完了する。
【0140】
図22に、精査あり回収処理における第2の回収動作を示す。第1の回収動作に引き続いて精査あり回収処理における第2の回収動作を自動的に開始する。この第2の回収動作では、金種別硬貨収納投出装置57の全ての金種の収納筒部66から全ての硬貨を投出させるか、金種別の収納筒部66から硬貨を順番に投出させて全ての硬貨を投出させる。すなわち、収納筒部66に収納されている重積硬貨を支承部材67によって上昇させ、往復移動する投出板63によって最上位の硬貨を収納筒部66から搬送コンベヤ手段58の受収コンベヤ域72上に投出する。
【0141】
搬送コンベヤ手段58の受収コンベヤ域72上に全て投出した硬貨は、硬貨貯留装置18、硬貨通路装置28および搬送コンベヤ手段58の駆動により、上述したように搬送コンベヤ手段58から硬貨貯留装置18を通じて硬貨通路装置28に送り込み、硬貨識別部40で識別する。識別の結果、正規の回収硬貨は、第1の硬貨収納カセット用分岐部44で分岐し、シュート52の切換部材およびシュート部52aを通じて硬貨収納カセット59の硬貨収納部86に、またはシュート52の切換部材およびシュート部52bを通じて硬貨収納カセット59の硬貨非放出収納部87に回収収納させる。
【0142】
硬貨識別部40での識別の結果、不適正と判断された回収リジェクト硬貨は、最下流の第2の硬貨収納カセット用分岐部45で分岐し、シュート53の切換部材108およびシュート部53bを通じて硬貨収納カセット59の回収リジェクト硬貨収納部89に回収収納させる。
【0143】
そして、硬貨識別部40で回収硬貨の識別が所定時間以上なくなれば、硬貨貯留装置18、硬貨通路装置28および搬送コンベヤ手段58を停止し、精査あり回収処理における第2の回収動作を完了する。
【0144】
第1の回収動作および第2の回収動作後に、硬貨収納カセット59を機体11から外し、所定の回収場所に運搬する。
【0145】
次に、異物排除処理について図23を参照して説明する。
【0146】
入金処理時などにおいて、硬貨貯留装置18に入金硬貨を受け入れて繰り出し可能な入金硬貨を全て繰り出した後、繰り出すことができない変形硬貨や外国硬貨、入金硬貨とともに投入された例えばクリップなどを異物として硬貨貯留装置18から排除する異物排除処理を自動的に開始する。この異物排除処理では、ホッパ20の開閉部23を開放してホッパ20内の異物を異物排出シュート25に放出し、異物排出シュート25を通じて異物排出口24に排出し、取出可能とする。異物の排出後にホッパ20の開閉部23を閉鎖し、異物排除処理を完了する。
【0147】
次に、取り忘れ取り込み処理について図24を参照して説明する。
【0148】
入金処理時に入金返却硬貨やリジェクト硬貨を硬貨受部14に送り込み、または出金処理時に出金硬貨を硬貨受部14に送り込み、入出金口13の入出金口シャッタを開放した後、硬貨受部14から硬貨が取り出されないか、取り残しがあるまま、所定時間以上経過すれば、硬貨受部14の硬貨を取り忘れ硬貨として取り込む取り忘れ取り込み処理を開始する。この取り忘れ取り込み処理では、入出金口シャッタを閉じ、硬貨貯留装置18および硬貨通路装置28の駆動を開始し、硬貨受部14の受皿14aの回動によって取り忘れ硬貨をシュート15に放出し、シュート15を通じて硬貨貯留装置18に送り込む。硬貨受部14では取り忘れ硬貨の放出後に受皿14aを戻して硬貨の受収を可能な状態とする。
【0149】
硬貨貯留装置18に送り込んだ取り忘れ硬貨は、上述したように硬貨貯留装置18から硬貨通路装置28に1枚ずつ送り込み、硬貨識別部40で識別した後、第2の硬貨収納カセット用分岐部45で分岐し、シュート53のシュート部53cを通じて硬貨収納カセット59の取り忘れ硬貨収納部90に回収収納させる。
【0150】
そして、硬貨識別部40で取り忘れ硬貨の識別が所定時間以上なくなれば、硬貨貯留装置18、硬貨通路装置28および搬送コンベヤ手段58を停止し、取り忘れ取り込み処理を完了する。
【0151】
以上のように、循環式硬貨入出金機では、硬貨収納カセット59の硬貨収納部86に収納した硬貨を全量放出し、全量放出した硬貨を搬送コンベヤ手段58で全量受収するとともに補充搬送系111へ送り、補充搬送系111を通じて補充の必要がある硬貨を金種別硬貨収納投出装置57へ補充するとともに補充の必要がない硬貨を硬貨収納カセット59の硬貨収納部86へ回収収納できるため、1つの硬貨収納カセット59で初期補充時および途中補充時の補充動作と補充オーバーフロー硬貨の回収収納とができ、構成の簡略化および小形化ができるとともにスペースの有効利用ができる。特に、途中補充時の補充動作に加えて、初期補充時の補充動作も1つの硬貨収納カセット59で行う場合には、初期補充に別の補充カセットなどが必要なく、構成の簡略化および小形化ができるとともにスペースの有効利用ができる。
【0152】
しかも、機体11から硬貨収納カセット59が取り外されているときでも、入金承認時の入金承認硬貨のうち金種別硬貨収納投出装置57へ送る必要のない入金オーバーフロー硬貨を入金オーバーフロー硬貨収納部49へ収納できるため、出金処理は勿論のこと、入金処理ができる。
【0153】
しかも、機体11から硬貨収納カセット59が取り外されているときでも、入金オーバーフロー硬貨収納部49の硬貨を搬送コンベヤ手段58へ全量放出させて補充搬送系111を通じて金種別硬貨収納投出装置57へ補充できるとともに、金種別硬貨収納投出装置57への補充の必要がない硬貨を入金オーバーフロー硬貨収納部49へ回収収納できる。
【0154】
さらに、搬送コンベヤ手段58が、硬貨収納カセット59の硬貨収納部86から全量放出される硬貨だけでなく、入金オーバーフロー硬貨を一時保留するとともに入金承認時に硬貨収納カセット59または入金オーバーフロー硬貨収納部49へ回収収納させ、入金オーバーフロー硬貨を収納する専用の一時保留部が必要なく、しかも、入金非承認時に入金一時保留装置56から送り出される入金一時保留硬貨を受収して入金一時保留硬貨を操作者側12へ返却する入金搬送系112へ送ることができるため、構成の簡略化および小形化ができるとともにスペースの有効利用ができる。
【0155】
また、入金搬送系112と補充搬送系111、入金搬送系112と出金搬送系113、入金搬送系112と補充搬送系111と出金搬送系113のいずれかが、硬貨を貯留し貯留した硬貨を1枚ずつ繰り出す硬貨貯留装置18、この硬貨貯留装置18により1枚ずつ繰り出される硬貨を搬送するとともに搬送途中に硬貨を識別する硬貨識別部40および硬貨を金種別に分岐する金種別分岐部43a〜43fを有する硬貨通路装置28を共用し、硬貨貯留装置18に搬送コンベヤ手段58上の硬貨を送るため、構成の簡略化および小形化ができるとともにスペースの有効利用ができる。
【0156】
また、硬貨収納カセット59が、硬貨を全量放出可能とする硬貨収納部86と別に、この硬貨収納部86の収納量を超える硬貨を収納する硬貨非放出収納部87を有するため、硬貨収納部86の全量放出量を任意に設定でき、全量放出量を適正に設定して補充処理時間の短縮を図ることができる。
【0157】
また、硬貨収納カセット59の硬貨収納部86の硬貨を全量放出する全量放出手段97が、硬貨収納部86の硬貨放出口94を開閉する第1の開閉板96および機体11側の硬貨受入口102を開閉する第2の開閉板103の開放により、硬貨収納部86の底部の傾斜底面95によって硬貨を自重で硬貨放出口94から放出させるため、硬貨の放出に例えばコンベヤなどを用いる場合に比べて、構成を簡略化できてコストダウンでき、短時間で硬貨を全量放出でき、しかも、硬貨収納カセット59が外されたときには、機体11側の第2の開閉板103を閉じることで、硬貨収納セット59に関与しない処理ができる。
【0158】
次に、図25に、硬貨収納カセット59の他の実施の形態を示す。硬貨収納カセット59は、硬貨収納部86の底面に硬貨を全量放出する硬貨放出口141を有し、この硬貨放出口141を閉塞する開閉板142を開閉可能に設ける。開閉板142は、搬送コンベヤ手段58から離れた一端側を支軸143で回動可能に支持され、搬送コンベヤ手段58に接近した他端側が上下に移動して硬貨放出口141を開閉可能としている。この開閉板142によって硬貨放出口94から硬貨収納部86内の硬貨を全量放出する全量放出手段97が構成されている。
【0159】
開閉板142の開放時には、開閉板142が搬送コンベヤ手段58上へ向けて斜め下方へ傾斜状に開放され、硬貨収納部86に収納していた補充硬貨を開閉板142の傾斜によって自重で硬貨放出口141から全量放出させ、搬送コンベヤ手段58に全量受収させることができる。
【0160】
搬送コンベヤ手段58の端部上には開閉板142の開放によって放出される硬貨を搬送コンベヤ手段58上に案内するガイド板144が配設されている。このガイド板144によって、硬貨収納カセット59から全量放出された全量放出硬貨CAを搬送コンベヤ手段58上へ送ることで、全量放出硬貨CAが開閉板142の上方への閉塞移動の障害にならないようにできる。
【0161】
なお、前記実施の形態では、硬貨収納カセット59を用いて初期補充および途中補充をしたが、初期補充には硬貨収納カセット59とは別の補充カセットを用いてもよく、この場合、硬貨収納カセット59は補充オーバーフロー硬貨や入金オーバーフロー硬貨を収納して途中補充に用いる。
【0162】
【発明の効果】
請求項1記載の循環式硬貨入出金機によれば、硬貨収納カセットの硬貨収納部に収納した硬貨を全量放出し、全量放出した硬貨を搬送コンベヤ手段で全量受収するとともに補充搬送系へ送り、補充搬送系を通じて補充の必要がある硬貨を金種別硬貨収納投出装置へ補充するとともに補充の必要がない硬貨を硬貨収納カセットの硬貨収納部へ回収収納できるため、1つの硬貨収納カセットで、途中補充時の補充動作または初期補充時および途中補充時の補充動作と補充オーバーフロー硬貨の回収収納とができ、構成の簡略化および小形化ができるとともにスペースの有効利用ができる。しかも、機体から硬貨収納カセットが取り外されているときでも、入金承認時の入金承認硬貨のうち金種別硬貨収納投出装置へ送る必要のない入金オーバーフロー硬貨を入金オーバーフロー硬貨収納部へ収納できるため、出金処理は勿論のこと、入金処理ができる。
【0163】
請求項2記載の循環式硬貨入出金機によれば、請求項1記載の循環式硬貨入出金機の効果に加えて、機体から硬貨収納カセットが取り外されているときでも、入金オーバーフロー硬貨収納部の硬貨を搬送コンベヤ手段へ全量放出させて補充搬送系を通じて金種別硬貨収納投出装置へ補充できるとともに、金種別硬貨収納投出装置への補充の必要がない硬貨を入金オーバーフロー硬貨収納部へ回収収納できる。
【0164】
請求項3記載の循環式硬貨入出金機によれば、硬貨収納カセットの硬貨収納部に収納した硬貨を全量放出し、全量放出した硬貨を搬送コンベヤ手段で全量受収するとともに補充搬送系へ送り、補充搬送系を通じて補充の必要がある硬貨を金種別硬貨収納投出装置へ補充するとともに補充の必要がない硬貨を硬貨収納カセットの硬貨収納部へ回収収納できるため、1つの硬貨収納カセットで途中補充時の補充動作または初期補充時および途中補充時の補充動作と補充オーバーフロー硬貨の回収収納とができ、構成の簡略化および小形化ができるとともにスペースの有効利用ができる。しかも、機体から硬貨収納カセットが取り外されているときでも、入金送り込み時に搬送コンベヤ手段に一時保留された入金オーバーフロー硬貨を入金承認時に入金オーバーフロー硬貨収納部へ収納でき、出金処理は勿論のこと、入金処理ができる。さらに、搬送コンベヤ手段が、硬貨収納カセットの硬貨収納部から全量放出される硬貨だけでなく、入金オーバーフロー硬貨を受収して一時保留するとともに入金承認時に入金オーバーフロー硬貨を収納する入金搬送系へ送り、入金搬送系を通じて硬貨収納カセットの硬貨収納部または入金オーバーフロー硬貨収納部へ回収収納させることができるため、入金オーバーフロー硬貨を一時保留する専用の一時保留部が必要なく、構成の簡略化および小形化ができるとともにスペースの有効利用ができる。
【0165】
請求項4記載の循環式硬貨入出金機によれば、請求項3記載の循環式硬貨入出金機の効果に加えて、搬送コンベヤ手段が、硬貨収納カセットの硬貨収納部から全量放出される硬貨および入金送り込み時の入金オーバーフロー硬貨だけでなく、入金非承認時に入金一時保留装置から送り出される入金一時保留硬貨を受収して入金一時保留硬貨を操作者側へ返却する入金搬送系へ送ることができるため、構成の簡略化および小形化ができるとともにスペースの有効利用ができる。
【0166】
請求項5記載の循環式硬貨入出金機によれば、請求項1ないし4いずれか記載の循環式硬貨入出金機の効果に加えて、硬貨を貯留するとともに1枚ずつ繰り出す硬貨貯留装置、この硬貨貯留装置から1枚ずつ繰り出される硬貨を受け入れて搬送するとともに搬送途中に硬貨を識別する硬貨識別部および硬貨を種類別に分岐する種類別分岐部を有する硬貨通路装置を備え、硬貨通路装置の硬貨識別部より後流に設けられた切換手段の第1の入金オーバーフロー硬貨分岐部で硬貨収納カセットの硬貨収納部へ収納させる入金オーバーフロー硬貨を分岐でき、第2の入金オーバーフロー硬貨分岐部で入金オーバーフロー硬貨収納部へ収納させる入金オーバーフロー硬貨を分岐できる。
【0167】
請求項6記載の循環式硬貨入出金機によれば、請求項1ないし4いずれか記載の循環式硬貨入出金機の効果に加えて、入金搬送系と補充搬送系、入金搬送系と出金搬送系、入金搬送系と補充搬送系と出金搬送系のいずれかが、硬貨を貯留するとともに貯留した硬貨を1枚ずつ繰り出す硬貨貯留装置、この硬貨貯留装置により1枚ずつ繰り出される硬貨を搬送するとともに搬送途中に硬貨を識別する硬貨識別部および硬貨を種類別に分岐する種類別分岐部を有する硬貨通路装置を共用し、硬貨貯留装置に搬送コンベヤ手段上の硬貨を送るため、構成の簡略化および小形化ができるとともにスペースの有効利用ができる。
【0168】
請求項7記載の循環式硬貨入出金機によれば、請求項1ないし6いずれか記載の循環式硬貨入出金機の効果に加えて、硬貨収納カセットの硬貨収納部の硬貨を全量放出する全量放出手段が、硬貨収納部の硬貨放出口を開閉する開閉板の開放により、硬貨収納部の底部の傾斜底面によって硬貨を自重で硬貨放出口から放出させるため、硬貨の放出に例えばコンベヤなどを用いる場合に比べて、構成を簡略化できてコストダウンでき、短時間で硬貨を全量放出できる。
【0169】
請求項8記載の循環式硬貨入出金機によれば、請求項1ないし6いずれか記載の循環式硬貨入出金機の効果に加えて、硬貨収納カセットの硬貨収納部の硬貨を全量放出する全量放出手段が、硬貨収納部の硬貨放出口を開閉する第1の開閉板および機体側の硬貨受入口を開閉する第2の開閉板の開放により、硬貨収納部の底部の傾斜底面によって硬貨を自重で硬貨放出口から放出させるため、硬貨の放出に例えばコンベヤなどを用いる場合に比べて、構成を簡略化できてコストダウンでき、短時間で硬貨を全量放出でき、しかも、硬貨収納カセットが取り外されたときには、機体側の第2の開閉板を閉じることで、硬貨収納セットに関与しない処理をでき、硬貨収納カセットが取り外された空間へ硬貨が飛び出すことがなく、硬貨枚数などの違算が生じるのを防止できる。
【図面の簡単な説明】
【図1】本発明の一実施の形態を示す循環式硬貨入出金機の概略を示す右側面図である。
【図2】同上図1のA−A矢視図である。
【図3】同上循環式硬貨入出金機の硬貨収納カセットを示し、(a)は右側面図、(b)は背面図、(c)は図3(b)のB−B矢視図である。
【図4】同上循環式硬貨入出金機の機体に対する硬貨収納カセットの脱着を説明する背面図である。
【図5】同上循環式硬貨入出金機の硬貨貯留装置および硬貨通路装置の右側面図である。
【図6】同上硬貨通路装置の種類別分岐部の部分の斜視図である。
【図7】同上循環式硬貨入出金機の搬送ベルト手段を示し、(a)は平面図、(b)は図7(a)のD−D矢視図である。
【図8】同上循環式硬貨入出金機の制御部による概略制御構成を示すブロック図である。
【図9】同上循環式硬貨入出金機の制御部による詳細制御構成を示すブロック図である。
【図10】同上循環式硬貨入出金機の初期補充処理を示す説明図である。
【図11】同上循環式硬貨入出金機の入金処理における一時保留までの入金送り込みを示す説明図である。
【図12】同上循環式硬貨入出金機の入金処理における入金オーバーフロー硬貨なしの場合の入金収納を示す説明図である。
【図13】同上循環式硬貨入出金機の入金処理における入金オーバーフロー硬貨ありでかつ硬貨収納カセット装着の場合の入金収納を示す説明図である。
【図14】同上循環式硬貨入出金機の入金処理における入金オーバーフロー硬貨ありでかつ硬貨収納カセット未装着の場合の入金収納を示す説明図である。
【図15】同上循環式硬貨入出金機の入金処理における入金返却を示す説明図である。
【図16】同上循環式硬貨入出金機の出金処理を示す説明図である。
【図17】同上循環式硬貨入出金機の途中補充処理を示す説明図である。
【図18】同上循環式硬貨入出金機の硬貨収納カセットの精査処理を示す説明図である。
【図19】同上循環式硬貨入出金機の金種別硬貨収納投出装置の精査処理を示す説明図である。
【図20】同上循環式硬貨入出金機の精査なし回収処理を示す説明図である。
【図21】同上循環式硬貨入出金機の精査あり回収処理における硬貨収納カセットからの第1の回収動作を示す説明図である。
【図22】同上循環式硬貨入出金機の精査あり回収処理における金種別硬貨収納投出装置からの第2の回収動作を示す説明図である。
【図23】同上循環式硬貨入出金機の異物排除処理を示す説明図である。
【図24】同上循環式硬貨入出金機の取り忘れ取り込み処理を示す説明図である。
【図25】本発明の他の実施の形態を示す硬貨収納カセットの断面図である。
【符号の説明】
11 機体
12 操作者側
18 硬貨貯留装置
28 硬貨通路装置
40 硬貨識別部
41 切換手段としての第2の入金オーバーフロー硬貨分岐部
43a〜43f 種類別分岐部としての金種別分岐部
44 切換手段としての第1の入金オーバーフロー硬貨分岐部である第1の硬貨収納カセット用分岐部
49 入金オーバーフロー硬貨収納部
56 入金一時保留装置
57 金種別硬貨収納投出装置
58 搬送コンベヤ手段
59 硬貨収納カセット
86 硬貨収納部
94 硬貨放出口
95 傾斜底面
96 開閉板としての第1の開閉板
97 全量放出手段
102 硬貨受入口
103 第2の開閉板
111 補充搬送系
112 入金搬送系
113 出金搬送系
121 制御部
142 開閉板
[0001]
TECHNICAL FIELD OF THE INVENTION
The present invention relates to a circulating coin depositing and dispensing machine for depositing and dispensing coins.
[0002]
[Prior art]
2. Description of the Related Art Conventionally, for example, a coin depositing and dispensing machine mounted on an ATM (automatic teller machine) used in a bank or the like for depositing and dispensing coins, particularly accepting deposited coins inserted from the operator side into the machine and paying money. A coin transport system that identifies the kind and uses the coins that can be used for dispensing to the coin storage and dispensing device by denomination, a replenishment transport system that accepts replenished coins and identifies the denomination and sends it to the coin storing and dispensing device by denomination, There is a circulation type coin receiving and dispensing machine having a dispensing transport system for transporting a dispensed coin ejected from a type coin storing and dispensing device to an operator side. The operator may be a customer or a machine manager such as a teller, depending on the use mode of the machine. In any case, the operations of replenishment and collection other than depositing and withdrawing are performed by the machine manager.
[0003]
In this circulation type coin depositing and dispensing machine, coins need to be replenished to the coin storage and dispensing device by denomination, and the replenishment is usually performed by initial replenishment (mode of original replenishment) and intermediate replenishment (deposit overflow coin or initial replenishment). Mode in which the refill overflow coins that have overflowed are used for refilling.
[0004]
Conventional example 1, which is one of the conventional replenishment methods, uses a coin replenishment cassette dedicated to replenishing coins. The coin replenishment cassette has a cylindrical type in which 50 coins of each denomination are stacked and stored. A denomination-type replenishment coin storage unit is provided, and a shutter that is opened at the time of coin replenishment is provided at the bottom of the denomination-type replenishment coin storage unit. Then, at the time of initial replenishment or during replenishment, the shutter of the denomination replenishment coin storage unit of the denomination to be replenished is opened, and the coin of the denomination replenishment coin storage unit of the denomination is sent to the coin identification branch passage of the replenishment transport system, Replenish coins to the coin-type coin storage and ejection device of the corresponding denomination. However, coins after the replenishment of the denomination-type coin storage and dispensing device is satisfied are collected in a coin collection box as replenishment overflow coins.
[0005]
In Conventional Example 2, which is another example of the replenishment method, a coin transport belt is provided in the coin collection box of Conventional Example 1, and a plurality of denomination coins are mixed in the coin collection box and the original coins are packed (the coin is removed by the worker). At the time of initial replenishment or during replenishment, coins are sent out from the coin collection box, sent to the coin identification branch passage of the replenishment transport system, and stored by type of coin of the corresponding denomination. Replenish coins to the dispensing device. Coins after the replenishment to the coin-type coin storage and dispensing device are satisfied are collected in a coin collection box as replenishment overflow coins (for example, see Patent Document 1).
[0006]
Conventional example 3 which is still another example of the replenishment method includes a replenishment coin storage box (which stores coins in a mixed state of a plurality of denominations) and a replenishment coin storage box (which stores coins in a mixed state of a plurality of denominations). An overflow coin storage box is provided for storing coins that do not need to be replenished when replenishing coins from the replenishment coin storage box to the denomination coin storage and ejection device during a replenishment operation during replenishment during the course of the replenishment. Each of the refillable coin storage box and the overflow coin storage box has a coin storage section, and a conveyor means for feeding coins little by little is provided at the bottom of each coin storage section. In the case of the conventional example 3, during the replenishment operation at the time of the initial replenishment or during the replenishment, the conveyor means of the replenishment coin storage box is driven to send out the amount of coins required for replenishment, and the coin identification branch passage of the replenishment transport system. And replenish the coins to the coin type coin storage and ejection device of the corresponding denomination. However, coins after the replenishment of the denomination-type coin storage and dispensing device is satisfied are collected in an overflow coin storage box as replenishment overflow coins (for example, see Patent Document 2).
[0007]
[Patent Document 1]
JP-A-8-212420 (page 6-7, FIG. 1)
[0008]
[Patent Document 2]
JP-A-10-228553 (page 6-9, FIG. 1)
[0009]
[Problems to be solved by the invention]
However, in the case of Conventional Example 1, two storage units, a coin replenishment cassette and a coin collection box, are required at the time of the initial replenishment or the replenishment operation during the halfway replenishment. Also in the case of Conventional Example 3, two storage units, a refill coin storage box and an overflow coin storage box, are required at the time of initial replenishment or during replenishment operation during replenishment. The necessity of the two storage sections complicates the structure and requires a large installation space.
[0010]
On the other hand, in the case of Conventional Example 2, coins are replenished from the coin collection box at the time of initial replenishment or halfway replenishment, and replenishment overflow coins are collected in the coin collection box. In the replenishment operation, only one storage unit can be used. However, this method has the following problems. In other words, the coin collection box contains a plurality of denomination coins to be replenished in a mixed state, and during the replenishment operation during initial replenishment or during replenishment, replenishment overflow coins are collected in addition to the stored replenishment coins. Will be mixed. Therefore, depending on the situation of replenishment of coins, the collected replenishment overflow coins are often fed out first, and coins to be replenished are not easily fed out. There is a problem that takes a long time. In some cases, only the replenished overflow coins that have been recovered are circulated and paid out, and coins to be replenished are not paid out. Thus, there is a problem that replenishment of coins takes a very long time. In the case of the conventional example 2, there are theoretically the above-mentioned problems, but in actual commercialization, the problems are fatal disadvantages and are not commercialized. The replenishment method of Example 1 or Conventional Example 3 is employed.
[0011]
For the above reasons, the conventional circulation type coin receiving / dispensing machine is a coin replenishing cassette, a coin collecting box for collecting replenished overflow coins separately from replenishing coin storage, and an overflow coin storing box is essential.
[0012]
When the coin collection box is used for initial replenishment as in Conventional Example 2, the original coin in the coin collection box is fed out for replenishment, and coin identification in the coin identification branch passage of the replenishment transport system. After passing through the section, the coin denomination and the number of coins passed are known, and the coin is treated as an in-flight coin as an identified coin. By the way, if it is determined at the time of this coin identification that the coin is an unrecognizable reject coin, it is sorted and collected as an external coin. It is indispensable to replenish coins based on this concept in a circulating coin depositing and dispensing machine mounted on an ATM (automatic teller machine) used in a bank or the like.
[0013]
From that point of view, in the case of the conventional example 2, the initial replenishment coins and the replenishment overflow coins are mixed in the coin collection box, and it is not possible to distinguish between the external coins and the in-board coins. There is a problem that cannot be applied to a circulating coin depositing and dispensing machine mounted on an automatic teller machine.
[0014]
SUMMARY OF THE INVENTION The present invention has been made in view of the above problems, and provides a single coin storage cassette with a replenishing operation during intermediate replenishment or a replenishing operation during initial replenishment and during intermediate replenishment, and collection of coins that do not require replenishment. An object of the present invention is to provide a circulating coin depositing and dispensing machine that can be stored, can be simplified and downsized, and can reduce costs and effectively use space.
[0015]
[Means for Solving the Problems]
The circulation type coin depositing and dispensing machine according toclaim 1 receives a deposit coin inserted from an operator side of the machine, identifies a denomination, and sends a coin usable for dispensing to a coin-type coin storing and dispensing device. A transport system, a replenishment transport system that accepts replenished coins, identifies denominations, and sends them to a coin-type coin storage and dispensing device, and a withdrawal that transports dispensed coins ejected from the coin-type coin storage and dispensing device to the operator side A circulation type coin receiving and dispensing machine having a transport system, the coin dispensing machine having a coin storage unit which is detachably mounted on the machine and has an openable and closable coin discharge port for discharging all of the coins. A coin storage cassette that allows coins to be received in a closed coin storage unit, and a conveyor that receives all the coins discharged from the coin storage unit of the coin storage cassette in its entirety and sends all the received coins to the replenishment transport system Conveyor means; When the coin storage cassette has been removed from the machine body, it stores incoming overflow coins that do not need to be sent to the coin-type coin storage and dispensing device among the coins approved for payment when payment is approved, and the coin housing cassette is attached to the machine body. Deposit overflow coin storage unit that discharges all the stored coins to the conveyor means after the transfer, and a coin storage unit of the coin storage cassette that receives the overflow overflow coins that do not need to be sent to the denomination coin storage and ejection device among the deposit approved coins when the deposit is approved. Switching means for switching and storing the coin into a coin overflowing section and a coin overflowing section, and when a coin storing cassette is mounted on the machine body, the coins discharged from the coin storing cassette in their entirety are stored in the replenishment transport system and stored in a coin type. Coins that need to be replenished to the dispensing device and do not need to be replenished to the coin storage and dispensing device by denomination When the coin storage cassette is removed from the fuselage and the coin storage cassette is removed from the fuselage through the switching means and collected and stored in the coin storage unit, it is not necessary to send the approved coins to the denomination-type coin storage and dispensing device among the deposited coins. And a control unit for storing the overflow coins in the deposit overflow coin storage unit through the switching means.
[0016]
In this configuration, it is necessary to discharge all the coins stored in the coin storage section of the coin storage cassette, receive all the discharged coins by the transfer conveyor means, send the coins to the replenishment conveyance system, and replenish the coins through the replenishment conveyance system. In order to replenish coins to the coin storage and dispensing device by denomination and to collect and store coins that do not need replenishment in the coin storage part of the coin storage cassette, one coin storage cassette can be used for replenishment during replenishment in the middle or during initial replenishment. In addition, a replenishing operation at the time of replenishment in the middle and collection and replenishment of replenished overflow coins are possible, so that the configuration can be simplified and downsized, and the space can be effectively used. Moreover, even when the coin storage cassette has been removed from the aircraft, the deposit overflow coins that do not need to be sent to the denomination coin storage and ejection device among the deposit approved coins at the time of deposit approval are stored in the deposit overflow coin storage unit. Payment processing can be performed as well as payment processing. In addition, when the coin replenishment operation at the time of initial replenishment is performed in the coin storage cassette in addition to the replenishment operation at the time of replenishment in the middle, a separate cassette or the like is not required for the initial replenishment, and the configuration can be simplified and downsized. .
[0017]
In the circulating coin depositing and dispensing machine according to the second aspect, in the circulating coin depositing and dispensing machine according to the first aspect, when the coin storage cassette is removed from the machine body, the control unit is configured to output a coin among the deposit-approved coins when the deposit is approved. Deposit overflow coins that do not need to be sent to the coin storage and dispensing device are stored in the deposit overflow coin storage section through the switching means, and when replenished, all the coins in the deposit overflow coin storage section are discharged to the transport conveyor means, through the replenishment transport system. In addition to replenishing the denomination-type coin storage and dispensing device, coins that do not need to be replenished to the denomination-type coin storage and dispensing device are collected and stored in the deposit overflow coin storage unit through the switching means.
[0018]
And, in this configuration, even when the coin storage cassette is removed from the machine body, it is possible to discharge all the coins in the deposit overflow coin storage section to the conveyor means and replenish the coin-type coin storage and ejection device through the replenishment transport system. At the same time, coins that do not need to be replenished to the coin storage and dispensing device by denomination can be collected and stored in the deposit overflow coin storage unit.
[0019]
The circulation type coin receiving / dispensing machine according to claim 3 accepts a deposited coin inserted from an operator of the machine and identifies a denomination, temporarily deposits a deposited regular coin in a deposit temporary holding device, and dispenses when a deposit is approved. A coin transport system that sends coins that can be used for coins to the coin storage and dispensing device by denomination, a replenishment transport system that accepts replenishment coins, identifies denominations, and sends them to the coin storage and dispensing device by denomination, and a coin storage and ejection device by denomination In a circulating coin depositing and dispensing machine having a dispensing transport system for transporting dispensed coins thrown out from the operator to the operator side, the openable and closable coin discharge port which is detachably mounted on the machine and discharges all coins is provided. A coin storage cassette that includes a coin storage unit that has a coin storage unit that is capable of receiving coins in a coin storage unit in which all of the coins are discharged and the coin discharge opening is closed, and coins that are fully discharged from the coin storage unit of the coin storage cassette And receive the entire amount Sends all received coins to the replenishment transport system, accepts deposited regular coins that exceed the temporary reserve amount that can be temporarily stored in the deposit temporary storage device when deposit is sent through the deposit transport system as deposit overflow coins, and stores coins when deposit is approved Conveyor means for sending to the deposit transfer system, and deposit overflow coins that do not need to be sent to the denomination coin storage and dispensing device among the deposit approved coins at the time of deposit approval when the coin storage cassette is removed from the machine. In addition, a deposit overflow coin storage unit that discharges all the stored coins to the conveyor means after the coin storage cassette is mounted on the machine, and there is no need to send the approved coins to the denomination coin storage and ejection device when the deposit is approved. Deposit overflow coins into the coin storage section of the coin storage cassette and the deposit overflow coin storage section A switching unit for switching and storing any of the coins, and when a coin storage cassette is mounted on the machine body, coins ejected in full from the coin storage cassettes are replenished to a denomination-type coin storage and ejection device through a replenishment transport system. The coins that do not need to be replenished to the coin storage and dispensing device are collected and stored in the coin storage unit of the coin storage cassette through the switching means, and the coin overflow is temporarily held in the transport conveyor means at the time of deposit transfer, and the coins are approved upon deposit approval. When the coin storage cassette of the coin storage cassette is collected and stored through the deposit transfer system to be stored, and the coin storage cassette has been removed from the machine, the deposit overflow coin temporarily held in the transfer conveyor means at the time of deposit transfer is accepted at the time of deposit approval. A control unit for storing the coin in the deposit overflow coin storage unit through the switching unit Is provided.
[0020]
In this configuration, it is necessary to discharge all the coins stored in the coin storage section of the coin storage cassette, receive all the discharged coins by the transfer conveyor means, send the coins to the replenishment conveyance system, and replenish the coins through the replenishment conveyance system. Coins can be replenished to the coin storage and dispensing device by denomination, and coins that do not need to be replenished can be collected and stored in the coin storage section of the coin storage cassette. In addition, a replenishing operation at the time of replenishment in the middle and collection and replenishment of replenished overflow coins are possible, so that the configuration can be simplified and downsized, and the space can be effectively used. In addition, even when the coin storage cassette is removed from the machine, the deposit overflow coins temporarily held in the conveyor means at the time of deposit sending are stored in the deposit overflow coin storage unit at the time of deposit approval. , Payment processing becomes possible. Further, the conveying conveyor means receives not only the coins discharged from the coin storage section of the coin storage cassette in its entirety, but also receives and temporarily holds a deposit overflow coin, and sends it to a deposit transfer system for storing the deposit overflow coin at the time of deposit approval, Since the coins are collected and stored in the coin storage section or the coin overflow section of the coin storage cassette through the deposit transport system, there is no need for a dedicated temporary holding section to temporarily hold the deposit overflow coins, so that the configuration can be simplified and downsized, and the space can be reduced. Can be used effectively. In addition, when the coin replenishment operation at the time of initial replenishment is performed in the coin storage cassette in addition to the replenishment operation at the time of replenishment in the middle, a separate cassette or the like is not required for the initial replenishment, and the configuration can be simplified and downsized. .
[0021]
According to a fourth aspect of the present invention, there is provided a circulating coin depositing and dispensing machine according to the third aspect, wherein the conveyer means receives the deposit temporary holding coin sent out from the depositing temporary holding device when the deposit is not approved. The coin is temporarily sent to a deposit transfer system which returns the coin to the operator.
[0022]
In this configuration, the transfer conveyor means not only the coins discharged from the coin storage section of the coin storage cassette in full amount and the coins overflowing upon receipt of the deposit, but also the deposit temporary holding sent out from the deposit temporary holding device when the deposit is not approved. Since the coins are received and sent to the deposit transfer system for returning the deposit temporary holding coins to the operator side, the configuration can be simplified and downsized, and the space can be effectively used.
[0023]
According to a fifth aspect of the present invention, there is provided a circulation type coin depositing and dispensing machine according to any one of the first to fourth aspects, wherein the coin storing and dispensing device stores coins and feeds out one by one, and one coin from the coin storing device. The coin storage device and the coin passage device are provided with a coin discriminating unit for identifying coins and a coin passage device having a type-specific branching unit for branching coins according to the type of the coin during the conveyance. System, a partly shared system, and a partly shared system, and a separate unit for each transfer system. A first deposit overflow coin branch and a second deposit overflow coin for branching deposit overflow coins that do not need to be sent to the coin type coin storage and dispensing device. The coin branching at the first deposit overflow coin branch is stored in the coin storage section of the coin storage cassette, and the coin branching at the second deposit overflow coin branch is stored in the deposit overflow coin storage section. Things.
[0024]
In this configuration, a coin storage device that stores coins and feeds out coins one by one, receives and transports coins that are fed out one by one from the coin storage device, and identifies a coin in the middle of the transport and a coin identification unit and a type of coin. A coin passage device having a type-specific branch portion that branches separately, and stored in the coin storage portion of the coin storage cassette at the first deposit overflow coin branch portion of the switching means provided downstream of the coin identification portion of the coin passage device. The deposit overflow coin to be deposited is branched, and the deposit overflow coin to be stored in the deposit overflow coin storage section is branched at the second deposit overflow coin branch section.
[0025]
According to a sixth aspect of the present invention, there is provided a circulating coin depositing and dispensing machine according to any one of the first to fourth aspects of the present invention, wherein One of the replenishment transport system and the withdrawal transport system is a coin storage device that stores coins and feeds out the stored coins one by one. The coin storage device transports coins that are fed out one by one while coins are being transported. And a coin passage unit having a coin discriminating unit for identifying the coin and a type-specific branching unit for branching the coins by type, and sending coins from the conveyor means to the coin storage device.
[0026]
In this configuration, one of the deposit transport system and the replenishment transport system, the deposit transport system and the dispensing transport system, and the deposit transport system, the replenishment transport system, and the deposit transport system store coins and store the stored coins in one. A coin storage device that feeds out coins one by one, a coin passage device that transports coins that are fed out one by one by the coin storage device, and that has a coin identification unit that identifies coins during conveyance and a branching unit that sorts coins by type. However, since the coins on the conveyor means are sent to the coin storage device, the structure can be simplified and downsized, and the space can be effectively used.
[0027]
A circulating coin depositing and dispensing machine according to a seventh aspect is the circulating coin dispensing and dispensing machine according to any one of the first to sixth aspects, further comprising a full amount discharging means for discharging all the coins in a coin storage portion of the coin storage cassette. The full amount discharging means has an inclined bottom surface provided at the bottom of the coin storing portion for discharging coins from the coin discharging opening by its own weight, and an opening / closing plate for opening and closing the coin discharging opening.
[0028]
In this configuration, the full amount discharging means for releasing the entire amount of coins in the coin storage section of the coin storage cassette is opened and closed by the opening and closing plate for opening and closing the coin discharge port of the coin storage section, and the coin is tilted by the inclined bottom surface at the bottom of the coin storage section. Is released from the coin discharge opening by its own weight, the configuration is simplified and the cost is reduced as compared with the case where a conveyor or the like is used for discharging coins, and the entire amount of coins can be discharged in a short time.
[0029]
According to a circulating coin depositing and dispensing machine of the eighth aspect, in the circulating coin depositing and dispensing machine of any one of the first to sixth aspects, a coin ejected from the coin storage section of a coin storage cassette mounted on the machine is completely ejected. In addition to a coin receiving slot for receiving the coin in the body, the coin storing unit of the coin storage cassette mounted on the body is provided with a full amount discharging means for discharging the entire amount of coins, and the full amount discharging means is provided at the bottom of the coin storing unit. And a first opening and closing plate for opening and closing the coin outlet of the coin storage unit, and a second opening and closing plate for opening and closing the coin receiving opening on the machine side. is there.
[0030]
In this configuration, the full-amount discharging means for discharging the entire amount of coins in the coin storage section of the coin storage cassette includes a first opening / closing plate for opening / closing a coin discharge port of the coin storage section and a second opening / closing port for opening / closing a coin receiving port on the machine side. By opening the opening / closing plate 2, the coin is released from the coin discharge port by its own weight by the inclined bottom surface of the bottom of the coin storage portion, so that the configuration is simplified and the cost is simplified as compared with the case of using a conveyor or the like for discharging coins. When the coin storage cassette is removed, the second opening / closing plate on the fuselage side is closed so that processing not related to the coin storage set can be performed. The coins do not jump out into the space from which the coin storage cassette has been removed, thereby preventing a difference in the number of coins or the like from occurring.
[0031]
BEST MODE FOR CARRYING OUT THE INVENTION
Hereinafter, embodiments of the present invention will be described with reference to the drawings.
[0032]
1 to 24 show an embodiment of a circulating coin depositing and dispensing machine.
[0033]
In FIGS. 1 and 2,reference numeral 11 denotes a body of a circulating coin dispensing and dispensing machine. A pay-in / pay-outport 13 which is opened and closed by a spout is formed, and acoin receiving portion 14 for receiving coins is provided inside the pay-in / pay-outport 13. Thecoin receiving portion 14 has a receiving tray 14a having an open upper surface. The receiving tray 14a can receive coins, and can release the received coins to thelower chute 15 by rotating the receiving tray 14a. Thecoin receiving portion 14 is provided with a sensor (not shown) for detecting the presence or absence of a coin in the receiving tray 14a.
[0034]
Acoin storage device 18 that receives coins sent through thechute 15 or the like is provided in a lower front portion of thebody 11. As shown in FIGS. 2 and 5, thecoin storage device 18 rotates as a coin feeding portion that is supported by being inclined at a predetermined angle in the left side direction of the body 11 (left side in FIG. 2) with respect to the vertical. It has adisk 19 and ahopper 20 arranged on the surface side of therotating disk 19, and acoin storage unit 21 for storing coins fed between therotating disk 19 and thehopper 20 is formed.
[0035]
A plurality ofprojections 22 for scraping up coins are protruded at regular intervals in the vicinity of the peripheral edge of therotating disk 19, and the rotation of therotating disk 19 scrapes coins in thecoin storage unit 21 one by one with eachprojection 22. It is possible to feed out one by one from the upper position of therotating disk 19 while raising.
[0036]
Thehopper 20 is provided with an openable andclosable unit 23 for opening and closing the bottom of thehopper 20 in order to discharge foreign substances remaining without being fed out of thehopper 20 by therotating disk 19. Below the opening / closingpart 23, a foreignmatter discharge chute 25 which receives foreign matter emitted by opening of the opening / closingpart 23 and sends it to a foreignmatter discharge port 24 formed in the lower part of the front surface of themachine body 11 is provided.
[0037]
As shown in FIG. 1 and FIG. 5, a coin passage device which receives coins fed one by one from thecoin storage device 18 and conveys them in a separated state at intervals of one by one is provided at an upper position of therotating disk 19. The start ends of thecoin passages 28 are connected. Thecoin passage 29 is formed in anidentification passage area 30 that is inclined obliquely upward and rearward from an upper position of thecoin storage device 18, and is formed substantially horizontally from an end of theidentification passage area 30 to the rear. Abranch passage area 31, a payout passage area which is formed in a circular arc shape upward from an end of thebranch passage area 31 and is formed forward, and a terminal end of acoin passage 29 is connected to thecoin receiving portion 14; 32 are formed.
[0038]
Thecoin passage 29 is in the same inclined state as therotating disk 19, and is apassage plate 33 that conveys coins in an inclined state in which the upper side is inclined at a predetermined angle toward the left side of the body 11 (left side in FIG. 2) with respect to the vertical. At the lower edge of thepassage plate 33, there are formedguide edges 34a and 34b for supporting the lower peripheral portion of the coin to be conveyed.
[0039]
Atransport belt 35 is disposed on thecoin passage 29 as a transport unit that transports the coins fed one by one from thecoin storage device 18 one by one in a separated state. Thetransport belt 35 is endless and is suspended along each of thepassage areas 30 to 32 by a plurality ofpulleys including pulleys 36, 37, and 38, and transports coins while pressing the coins against thepassage plate 33. Thetransport belt 35 is provided withprojections 39 for transporting coins in a separated state with an interval of one coin at a predetermined interval on a surface facing thepassage plate 33. The gap between the upper surface of thepassage plate 33 and the opposing surface of theprojection 39 of theconveyor belt 35 is a minute gap that does not contact, and the gap between the upper surface of thepassage plate 33 and the opposing surface portion other than theprojection 39 of theconveyor belt 35 is to be processed. The gap is set to be slightly smaller than the minimum thickness coin thickness.
[0040]
In anidentification passage area 30 of thecoin passage 29, acoin identification unit 40 including a material sensor, an image sensor, and the like for identifying a proper or inappropriate coin to be conveyed, a denomination, and the like is provided. At the downstream side of thecoin discriminating section 40 in the transport direction, that is, at the downstream position, the second deposit overflowcoin branching section 41 as a switching means for branching the deposit overflow coin at the time of deposit approval when the coin storage cassette is not mounted, when the deposit is sent. An overflowcoin branching section 42 at the time of deposit sending which branches the deposit overflow coin is provided.
[0041]
In thebranch passage area 31 of thecoin passage 29, the coins identified by thecoin identification unit 40 are sequentially sorted from the upstream side into denominations of, for example, 1 yen, 5 yen, 10 yen, 50 yen, 100 yen, and 500 yen coin.Denomination branching units 43a to 43f as branching units for branching, and a first switching unit as a switching unit for branching surplus replenishment coins at the time of replenishment, that is, replenishment overflow coins, deposit overflow coins at the time of deposit approval, and collected coins at the time of collection. The first coin storagecassette branching section 44, which is a deposit overflow coin branching section, the second coin storage cassette branch for classifying rejected coins at the time of replenishment and withdrawal, and coins forgotten at the time of deposit and withdrawal.Portions 45 are respectively formed.
[0042]
Thebranch portions 41, 42, 43a to 43f, 44, and 45 are configured substantially in common, and, for example, as shown in FIG. Are formed, andbranch members 47 for opening and closing the branch holes 46 are provided. Eachbranch member 47 is rotatably supported by thepassage plate 33 so that the upstream side of thecoin passage 29 opens and closes, and is driven to open and close by a rotary solenoid (not shown). Eachbranch member 47 is formed with anotch 48 for avoiding interference with theconveyor belt 35 when opened.
[0043]
A coin detection sensor (not shown) for detecting coins transported in thecoin passage 29 is provided upstream and downstream of each of thebranch portions 41, 42, 43a to 43f, 44, 45 of the passage plate 33 (asensor group 123 shown in FIG. 8). Is included). Thebranch members 47 of thebranch portions 41, 42, 43a to 43f, 44, 45 are opened and driven by a rotary solenoid under both conditions of the identification result of thecoin identification portion 40 and the coin detection sensor. Only coins are branched from the branchingportions 41, 42, 43a to 43f, 44, 45, and coins other than the coins are passed to the downstream side of thecoin passage 29.
[0044]
As shown in FIG. 1, the second overflow overflowcoin branching section 41 is connected to a deposit overflowcoin storage section 49 for storing a deposit overflow coin at the time of deposit approval when the coin storage cassette is not mounted. The deposit overflowcoin storage unit 49 has astorage space 49a for storing coins. Thestorage space 49a has a bottom surface formed on an inclined surface, and an opening and closing mechanism provided on the right surface of FIG. A discharge port (opened in the lower area on the right side of FIG. 1) formed by theplate 49b is formed. By opening the open /close plate 49b, all coins stored in thestorage space 49a can be discharged to the conveyor means 58 along the inclined surface. And Note that these components are the same as those of acoin outlet 94, aninclined bottom surface 95, and a first opening / closing plate 96 formed in acoin storage portion 86 of acoin storage cassette 59 described later.
[0045]
As shown in FIG. 1, achute 50 is connected to the overflowcoin branching part 42 at the time of deposit sending and receives and guides the coins branched at the overflowcoin branching part 42 at the time of deposit sending. As shown in FIGS. 1 and 2, eachdenomination branch 43 a to 43 f receives a coin branched at eachdenomination branch 43 a to 43 f and guides the coin to the lower conveyor means 58 below. Is connected. As shown in FIGS. 1, 2, and 4, the coin storagecassette branch portions 44, 45 receive the coins branched by the coin storagecassette branch portions 44, 45 and guide the coins downward, respectively. 53 are respectively connected.
[0046]
Further, as shown in FIGS. 1 and 2, in thebody 11, a deposittemporary holding device 56 is disposed below thechute 51 of thedenomination branching portions 43 a to 43 f, and below the deposittemporary holding device 56. A coin storing and dispensingdevice 57 is provided, and a conveyor means 58 is provided at the bottom of the right side (the right side in FIG. 2) of the coin storing and dispensingdevice 57, and a branch for each coin storing cassette is provided. Acoin storage cassette 59 is disposed below thechutes 52 and 53 of theparts 44 and 45.
[0047]
Thedeposit holding device 56 receives coins branched by thedenomination branching units 43a to 43f at the time of deposit and guided by thechute 51, and stacks a predetermined number of coins vertically and temporarily holds them. Thetemporary holding unit 62 has a cylindrical opening for vertically stacking coins, and a throw-out plate 63 for opening and closing the lower surface of thetemporary holding unit 62. Thetemporary holding unit 62 is driven by a drive mechanism (not shown). The lower surface opening is closed by the throw-out plate 63 so that coins can be received from thechute 51 and can be temporarily stored in a stacked state. 2 moves to a position above the conveyor means 58 on the right side (the right side in FIG. 2) and moves between a return position for discharging the temporarily stored coins from a lower surface opening which is opened relatively to theejection plate 63. .
[0048]
As shown in FIGS. 1 and 2, the coin storage and dispensingdevice 57 according to denomination has astorage cylinder 66 for denomination which is detachably mounted in thebody 11 in a cassette system. The coins can be stored and ejected from above 66. A projectingplate 63 is disposed above thestorage tube portion 66. The projectingplate 63 is moved by a driving mechanism (not shown) to a forward position above thestorage tube portion 66 and a left side surface of thebody 11 from the forward position. Side (left side in FIG. 2). When theejection plate 63 is at the fixed position, the lower surface opening of thetemporary holding unit 62 is closed to allow the coin to be temporarily held. When the coin temporarily stored in thetemporary holding unit 62 is stored, theejection plate 63 2 Move to the left retreat position to store the coins in thetemporary storage section 62 in thestorage cylinder section 66, and with thetemporary storage section 62 moved to the return position in the right direction in FIG. When the top coins are received by the lower surface of thetemporary holding unit 62 by raising the coins therein, the throwingplate 63 can reciprocate so that the top coins in thestorage cylinder 66 can be ejected in order.
[0049]
In each of thestorage cylinder portions 66, a support member 67 for supporting a stacked coin is vertically movably arranged, and each of these support members 67 is inserted through aguide groove 68 formed in thestorage cylinder portion 66 in the vertical direction. Thedrive mechanism 69 disposed on the left side (the left side in FIG. 2) of themachine body 11 is detachably connected to theunit 66, and the respective support members 67 are vertically moved independently by thedrive mechanism 69. The support member 67 rises when coins are ejected from thestorage cylinder 66 and presses the uppermost coin against the lower surface of thetemporary storage 62, and when the coins are stored in thestorage cylinder 66. Descends and can store coins.
[0050]
When the coins in thetemporary holding section 62 are stored in thestorage cylinder section 66, the support member 67 is raised to position the upper surface of the stacked coins on the support member 67 near the lower surface of theejection plate 63, and then to insert the coin. The temporarily stored coins are put on the stacked storage coins by retreating theoutput plate 63, and the upper surface of the stacked coins is lowered to the vicinity of the lower portion of theejection plate 63 by the lowering of the support member 67, and then stopped. 63 is closed, and the storage of the temporarily stored coins ends.
[0051]
As shown in FIGS. 1 and 2, the conveyor means 58 is disposed substantially horizontally on the bottom of thebody 11 along the right side area (the right side in FIG. 2) of the denomination coin storage andejection device 57. And adelivery conveyor area 73 connected diagonally upward and forward from the front end of thereceipt conveyor area 72 to thecoin storage device 18. Coins received by thereceipt conveyor area 72 are sequentially sent to thecoin storage device 18. . Receivingguide members 74 are disposed on both sides of theconveyor areas 72, 73, and a receivingguide member 75 is disposed on the rear end side of the receivingconveyor area 72. Receivingguide members 74, 75 on the receivingconveyor area 72 are provided. Acoin receiving unit 76 for receiving coins is formed in a space surrounded by.
[0052]
In thecoin receiving section 76 on the receivingconveyor area 72, it is possible to receive the deposited overflow coins branched by the overflowcoin branching section 42 at the time of deposit sending and guided by thechute 50, and the total amount of coins discharged from the deposited overflowcoin storage section 49. Can be received, the entire amount of coins discharged from thecoin storage unit 86 of thecoin storage cassette 59 can be received in its entirety, and the coins discharged from the denomination-type coin storage andejection device 57 can all be received. For example, the maximum number of coins that can be received by thecoin receiving unit 76 is 1100, the maximum number of coins that can be stored in thecoin storage unit 86 of thecoin storage cassette 59 is 1,100, the maximum number of coins that can be stored in the deposit overflowcoin storage unit 49 is 300, The maximum storage number of thedelivery device 57 is set to about 700 sheets.
[0053]
The conveyor means 58 has anendless belt 77 which is suspended by a plurality ofpulleys 78 to formconveyor areas 72 and 73 respectively. As shown in FIG. 7, thebelt 77 is a flat belt whose width is wider than the diameter of the coin having the largest diameter to be processed (indicated by the symbol C in the figure) and two coins having the smallest diameter are inserted in the radial direction. Thebelt 77 has a plurality ofprotrusions 79 at a predetermined pitch on the surface of thebelt 77 which are wider than the diameter of the largest coin to be processed along the conveying direction and which do not accommodate two coins in the radial direction. Is formed. Theprotrusion 79 has a rectangular cross section, and three protrusions are arranged in the belt width direction. Theprotrusion 79 protrudes from the surface of thebelt 77 by, for example, about 4 mm so that two coins can be simultaneously engaged. The rotation of thebelt 77 causes the coins received in the receivingconveyor area 72 to be hooked on theprojections 79 and sequentially conveyed to thecoin storage device 18.
[0054]
The receivingguide members 74 on both sides are formed with aguide portion 80 protruding toward the surface of thebelt 77, and theguide portion 80 is formed with aninclined surface 81 for guiding coins to the surface of thebelt 77. The inner space between theguide portions 80 on both sides is set to be slightly wider than the diameter of the coin having the maximum diameter and narrower than two diameters of the coin having the minimum diameter. The obtuse intersection area between the receivingconveyor area 72 and the sendingconveyor area 73 is guided and supported by theguide member 80 at an obtuse angle.
[0055]
As shown in FIGS. 1, 2 and 4, thecoin storage cassette 59 is mounted on thecassette mounting portion 84 formed on the rear side of thebody 11 from the right side of the body 11 (left side in FIG. 4). The lower side of thecoin storage cassette 59, which is detachably mounted, is obliquely inserted into and removed from thebody 11, and the upper side is moved into and out of thebody 11 with the lower side of thecoin storage cassette 59 mounted on thebody 11 as a fulcrum. Can be.
[0056]
As shown in FIG. 3, thecoin storage cassette 59 has a vertically long box-shapedcassette body 85 that can be transported, and acoin storage section 86 and a coin that allow the entire amount of coins to be discharged to the upper side inside thecassette body 85. A coinnon-ejecting storage portion 87 that does not discharge the coin is formed in a lined up and down direction in the left-right direction, and below thesestorage portions 86, 87, a reject rejectcoin storage portion 88, a collection rejectcoin storage portion 89, and a forgottencoin storage portion 90. Are formed side by side in the front-rear direction. The maximum number of coins that can be stored in the coinnon-emission storage unit 87 is set to about 800.
[0057]
Receivingports 91 and 92 for receiving coins are formed on the upper surfaces of thestorage portions 86 and 87, respectively, and a receivingport shutter 93 for integrally opening and closing the receivingports 91 and 92 is provided in thecassette body 85 so as to be openable and closable. Have been. Receiving ports (not shown) for receiving coins are formed in the upper portion of the left side surface of each of thestorage portions 88 to 90, and a receiving port shutter (not shown) for integrally opening and closing these receiving ports is provided in thecassette body 85 so as to be openable and closable. ing. The receiving port shutters including the receivingport shutter 93 are automatically opened by mounting thecoin storage cassette 59 on thecassette mounting section 84 in themachine body 11, and thecoin storing cassette 59 is moved from thecassette mounting section 84 in themachine body 11. It is automatically closed by removing it.
[0058]
Acoin discharge port 94 is formed at the lower side of thecoin storage section 86 and opens at the front of the cassettemain body 85. A chute-shaped inclined bottom 95 for discharging coins from thecoin discharge port 94 by its own weight is formed at the bottom of thecoin storage section 86. Is formed, and a first opening / closing plate 96 as an opening / closing plate for opening and closing thecoin discharge port 94 is disposed so as to be able to open and close in the vertical direction. Theinclined bottom surface 95 is inclined downward toward thecoin discharge port 94 and has a circular cross section in a direction intersecting the inclination direction, and prevents the coins in thecoin storage unit 86 from sticking to the inclined bottom surface and reliably. It is possible to release the whole amount. Theinclined bottom surface 95, the first opening / closing plate 96, and the like constitute a total amount discharging means 97 for discharging all the coins in thecoin storage unit 86 from thecoin discharging port 94.
[0059]
Asensor hole 98 that penetrates thecassette body 85 in the left-right direction is formed corresponding to a coin presence / absence detection position at a corner formed by theinclined bottom surface 95 of thecoin storage unit 86 and the closed first opening / closing plate 96. . Note that thesensor hole 98 is opened in thecoin storage unit 86 to allow detection of the presence or absence of a coin. However, as shown in FIG. The coin in the coinnon-ejecting storage portion 87 penetrates the bulgingportion 99 formed at the corner and is irrelevant to the detection of the presence or absence of the coin.
[0060]
As shown in FIG. 3, thecassette mounting portion 84 is formed with a coin receiving port 102 facing thecoin discharge port 94 of thecoin storage cassette 59, and a second opening / closing plate 103 for opening and closing the coin receiving port 102 is provided. It is arranged to be openable and closable in the vertical direction. Inside the coin receiving slot 102, the upper end of the receivingguide member 75 shown in FIG. 1 is continuous, and the coins discharged from thecoin storing portion 86 of thecoin storing cassette 59 are completely discharged on the receivingconveyor area 72 of the conveyor means 58. The receivingunit 76 is capable of receiving.
[0061]
On both sides of thecassette mounting portion 84, optical coin presence /absence detection sensors 104 for detecting presence / absence of coins in thecoin storage portion 86 through sensor holes 98 of thecoin storage cassette 59 are provided.
[0062]
As shown in FIGS. 1, 2 and 4, the lower portion of thechute 52 of the first coin storagecassette branching portion 44 is branched into twochute portions 52a and 52b, and one of thechute portions 52a stores coins. Theother chute 52b is disposed above the receivingport 91 of thecassette 59, and theother chute 52b is disposed above the receivingport 92 of thecoin storage cassette 59, and is switched by a switching member (not shown) disposed between the twochute sections 52a and 52b. Receiving destinations of the coins branched by one coin storagecassette branching unit 44 are switched.
[0063]
Thechute 53 of the second coin storagecassette branching portion 45 is disposed on the side of thecoin storage cassette 59, and the lower side of thechute 53 is branched into threechute portions 53a, 53b, 53c, and the first chute is formed. Theportion 53a is arranged at the receiving port of the reject rejectcoin storage unit 88, thesecond chute unit 53b is disposed at the receiving port of the collection rejectcoin storage unit 89, and thethird chute unit 53c is the coin storage unit that has been forgotten. It is located at 90 receiving ports. By the switchingmembers 107 and 108 disposed between thechute portions 53a and 53b and between thechute portions 53b and 53c, the receiving destination of the coins branched at the second coin storagecassette branch portion 45 is switched.
[0064]
Then, the circulation type coin receiving / dispensing machine receives the replenished coins from thecoin storage unit 86 of thecoin storage cassette 59 and identifies the denomination, and refillable coins are branched into denominations and sent to the denomination coin storage andejection device 57. Receiving coins fed from theoperator side 12 and the replenishment /conveyance system 111 to be fed are accepted and denominations are identified. Deposited coins are temporarily held in thedeposit holding device 56, and coins that can be used for dispensing when deposit is approved are: The depositing / conveyingsystem 112 which sends the coins to the denomination-type coin storage /ejection device 57 and the coins ejected from the denomination-type coin storage /ejection device 57 are accepted and denominated, and the regular coins are conveyed to theoperator side 12. Thecoin transport system 113 receives the coins discharged from thecoin storage unit 86 of thecoin storage cassette 59 and the coins all discharged from the denomination-type coin storage andejection device 57 to identify the denomination, and identifies the originalcoin storage cassette 59. All the coins discharged from thecoin storage unit 86 and thecoin storage unit 86 of thecoin storage cassette 86 to be returned to thecoin storage unit 86 and thecoin storage unit 86 and thecoin storage unit 86 of thecoin storage cassette 59 are all ejected. The system includes a close-up / collection /transportation system 115 that accepts coins, identifies denominations, and collects the identified coins into thecoin storage cassette 59. Thereplenishment transport system 111, thedeposit transport system 112, the dispensingtransport system 113, thescrutiny transport system 114, and the scrutinycollection transport system 115 share thecoin storage device 18, thecoin passage device 28, and the transport conveyor means 58. I have.
[0065]
The dispensing and conveyingsystem 113 includes dispensing means 116 for conveying coins from thecoin passage device 28 to theoperator side 12. The dispensing means 116 includes the dispensingpassage area 32 of thecoin passage device 28, thetransport belt 35, and the like. included.
[0066]
FIG. 8 shows a schematic control configuration for controlling the circulating coin depositing and dispensing machine by thecontrol unit 121. Thecontrol unit 121 is connected to acommand operation unit 122, asensor group 123, and acoin identification unit 40. Is input to thecontrol unit 121, and thecontrol unit 121 has areplenishment transport system 111, adeposit transport system 112, apayout transport system 113, ascrutiny transport system 114, a scrutinycollection transport system 115, an opening / closingplate drive unit 124, The conveyance conveyor means 58 is connected, and these drives are controlled by thecontrol unit 121.
[0067]
Thecommand operation unit 122 designates various processing modes and commands start and stop. Thesensor group 123 includes sensors arranged in thebody 11 such as a sensor of each transport system and a sensor for detecting whether or not thecoin storage cassette 59 is attached to thebody 11, and controls information from each of these sensors. 121. A part of the opening / closingplate driving unit 124 is disposed near thecassette mounting unit 84 of thebody 11, and the first opening / closing plate 96 of thecoin storage cassette 59 mounted on thecassette mounting unit 84 and the second body of themachine 11 are The opening and closing plate 103 is opened and closed in conjunction with each other. Another part of the open / closeplate driving unit 124 is provided near the open /close plate 49b for driving the open /close plate 49b of the deposit overflowcoin storage unit 49 to open and close.
[0068]
FIG. 9 shows a detailed control configuration for controlling the circulating coin depositing and dispensing machine by thecontrol unit 121. Thecontrol unit 121 is connected to acommand operation unit 122, asensor group 123, and acoin identification unit 40. Is input to thecontrol unit 121, and thecontrol unit 121 includes an opening / closingplate driving unit 124, a conveyingconveyor unit 58, a rotatingdisk driving unit 125 that rotationally drives therotating disk 19 of thecoin storage device 18, and acoin passage device 28. Belt drivingunit 126 for circulatingly driving theconveyor belt 35, a branchmember driving unit 127 for switching and driving eachbranch member 47, a switching member driving for switching the switching members of thechute 52 and the switchingmembers 107 and 108 of thechute 53.Unit 128, atray driving unit 129 that rotationally drives the tray 14a of thecoin receiving unit 14, and a temporary holding unit that moves thetemporary holding unit 62 of the depositingtemporary holding device 56. The movingunit 130, the ejectionplate driving unit 131 for moving theejection plate 63, and the stacked coinvertical driving unit 132 of thedriving mechanism 69 for vertically moving the heavy coin in thestorage cylinder 66 via the support member 67 are connected. Then, these drives are controlled by thecontrol unit 121.
[0069]
And thecontrol part 121 has the following functions.
[0070]
At the time of replenishment, the transport conveyor means 58 refills the initial replenished coins or the halfway replenished coins discharged in their entirety from thecoin storage cassette 59 to the denominated coin storage andejection device 57 through thereplenishment conveyance system 111, and also performs the denomination coin storage and ejection device. A function of a replenishing operation for collecting and storing coins that do not need to be replenished into thecoin 57, that is, surplus replenished coins that cannot be sent to the denomination coin storage andejection device 57, through thereplenishment transport system 111 to thecoin storage part 86 of thecoin storage cassette 59.
[0071]
At the time of deposit and when thecoin storage cassette 59 is mounted on themachine body 11, thedeposit overflow system 112 and the first deposit overflow coin branching unit for storing coins when the deposit overflow coins temporarily stored in the conveyor means 58 are approved for deposit. A function of collecting and storing the coins in thecoin storage unit 86 of thecoin storage cassette 59 through 44.
[0072]
At the time of deposit and when thecoin storage cassette 59 has been removed from themachine body 11, adeposit transfer system 112 and a second deposit overflow coin branching unit for storing coins at the time of approving the deposit overflow coins temporarily stored in the conveyor means 58. A function of collecting and storing the coins into thestorage space 49a of the depositoverflow coin storage 49 through the 41;
[0073]
At the time of replenishment and when thecoin storage cassette 59 has been removed from themachine body 11, the entire amount of the coins in the deposit overflowcoin storage unit 49 is discharged to the conveyor means 58, and the coins are stored and ejected to the denomination type coin storage andejection device 57 through thereplenishment transfer system 111. A function of causing replenishment and collecting and storing coins that do not need to be replenished to the denomination-type coin storage and dispensingdevice 57 to the deposit overflowcoin storage unit 49 through the second deposit overflow coin branching unit.
[0074]
A first scrutiny operation in which the coins discharged from thecoin storage unit 86 of thecoin storage cassette 59 are scrutinized through thescrutiny transport system 114 to the transport conveyor means 58 and then returned to thecoin storage unit 86 of thecoin storage cassette 59 during the scrutiny; A second close-up operation function in which all the coins ejected from the denomination-type coin storage andejection device 57 to the transport conveyor means 58 are scrutinized through thescrutiny conveyance system 114 and then returned to the denomination-type coin storage andejection device 57.
[0075]
At the time of collection, a first collection operation in which the conveyed conveyor means 58 scrutinizes the collected coins discharged from thecoin storage section 86 of thecoin storage cassette 59 in its entirety through the scrutiny collection andconveyance system 115, and then collects the collected coins in thecoin storage cassette 59; A second collection operation function of causing themeans 58 to scrutinize the entire amount of coins ejected from the denomination-type coin storage andejection device 57 through the scrutiny collection andtransport system 115 and then collect the coins into thecoin storage cassette 59.
[0076]
Next, the operation of the present embodiment will be described.
[0077]
First, the initial replenishment process will be described with reference to FIG.
[0078]
Thecoin storage cassette 59 in which the initial replenished coins are stored in thecoin storage unit 86 outside the circulating coin depositing and dispensing machine is mounted on thecassette mounting unit 84 in thebody 11 of the circulating coin dispensing and dispensing machine. By mounting thecoin storage cassette 59, each of the receiving port shutters (including the receiving port shutter 93) is opened, and the first opening / closing plate 96 is engaged with the opening / closingplate driving section 124 to open / close the first opening / closing plate 96. Make it possible. Thesensor hole 98 of thecoin storage cassette 59 faces the coin presence /absence detection sensor 104, and the detection light of the coin presence /absence detection sensor 104 is blocked by the initial replenishment coins stored in thecoin storage part 86 to detect the presence of a coin.
[0079]
The machine administrator designates the initial replenishment mode with thecommand operation unit 122 and issues a start command, thereby starting the driving of thecoin storage device 18, thecoin passage device 28 and the conveyor means 58, and the opening / closingplate drive unit 124 for the coin. The first opening and closing plate 96 and the second opening and closing plate 103 of thestorage cassette 59 are linked and opened. The opening and closing of the first opening and closing plate 96 and the second opening and closing plate 103 open thecoin discharge port 94 and the coin receiving slot 102, and the initial replenishment coins stored in thecoin storage unit 86 are tilted by theinclined bottom surface 95. The entire amount is discharged from thecoin discharge port 94 by its own weight, and the entire amount is received on the receivingconveyor area 72 of the conveyor means 58, that is, thecoin receiving section 76 through the coin receiving port 102. At this time, for example, the maximum number of coins received by thecoin receiving unit 76 on the conveyor means 58 is 1100, and the maximum number of coins stored in thecoin storage unit 86 of thecoin storage cassette 59 is 1100. The entire initial replenishment coins to be received can be received on the conveyor means 58.
[0080]
By releasing the entire initial replenishment coin stored in thecoin storage unit 86, the detection light of the coin presence /absence detection sensor 104 becomes a light transmitting state through thesensor hole 98, and the light transmitting state continues for a predetermined time or more, and thus the coin is released. The absence of coins in thestorage section 86 is detected. The first opening / closing plate 96 and the second opening / closing plate 103 are interlocked and closed by the opening / closingplate driving section 124, and thecoin discharge port 94 and the coin are moved by the closing movement of the first opening / closing plate 96 and the second opening / closing plate 103. The receiving port 102 is closed. As a result, thecoin storage unit 86 is ready to receive coins. Note that the full-discharge coin CA discharged from thecoin storage cassette 59 to the conveyor means 58 is located below thecoin discharge port 94 and the coin receiving port 102, and both the open / close plates 96 and 103 can be closed and moved.
[0081]
The rotation of thebelt 77 of the conveyor means 58 causes the initial replenishment coins on the receivingconveyor area 72 to be sequentially sent to thecoin storage device 18 through theoutput conveyor area 73.
[0082]
In thecoin storage device 18, therotating disk 19 rotates, and the initial replenishment coins fed from the conveyor means 58 are fed out to thecoin passage device 28 one by one.
[0083]
Thecoin passage device 28 receives the initial replenishment coins fed from thecoin storage device 18 and transports them in a separated state one by one at intervals, and identifies them by thecoin identification unit 40 during the transportation of the initial replenishment coins.
[0084]
As a result of the discrimination by thecoin discriminating section 40, the regular initial replenishment coin is branched into denominations bydenomination branching sections 43a to 43f, and the coins are stored and thrown through thechute 51 and thetemporary storage section 62 of the depositingtemporary storage device 56. It is stored in thestorage cylinder 66 of thedelivery device 57. Theescrow unit 62 of thedeposit escrow unit 56 is in a state where the throwingplate 63 is moved to the retreat position (the position moved to the left from the position shown in FIG. 2) and the bottom surface is opened. The initial refill coin sent to thesection 62 is directly stored in thestorage cylinder section 66. At this time, by locating the upper surface of the stacked coins in thestorage cylinder 66 near the upper end of thestorage cylinder 66, the falling distance of the initial replenishment coins can be reduced, and the occurrence of coin standing can be prevented. . Each time one initial replenishment coin is received in thestorage cylinder 66, the stacked coin is lowered by one together with the support member 67 to allow the next initial replenishment coin to be stored.
[0085]
Thecontrol unit 121 counts the number of initial replenishment coins stored in eachstorage cylinder 66 of the denomination coin storage andejection device 57 from the identification result of thecoin identification unit 40, and the count value reaches a preset full amount. Regarding the denomination, the regular initial replenishment coin identified by thecoin identification unit 40 thereafter is treated as a replenishment overflow coin. The replenishment overflow coin does not branch at thedenomination branching sections 43a to 43f of the corresponding denomination, but branches at the first coin storagecassette branching section 44 on the downstream side, and passes through the switching member of thechute 52 and thechute section 52a. The coin is stored in thecoin storage section 86 of thecoin storage cassette 59. At this time, since thecoin discharge port 94 of thecoin storage unit 86 is already closed by the first opening / closing plate 96, the initial replenished coins collected in thecoin storage unit 86 are kept in the stored state without being released. Further, by collecting the initially replenished coins in thecoin storage unit 86, the detection light of the coin presence /absence detection sensor 104 is blocked, and the presence of a coin is detected.
[0086]
The rejected coin determined as inappropriate as a result of the discrimination by thecoin discriminating unit 40 is conveyed to the most downstream second coin storagecassette branching unit 45 and branched by the second coin storagecassette branching unit 45. Then, the rejectcoin storage unit 88 of thecoin storage cassette 59 collects and stores the coin through the switchingmember 107 of thechute 53 and thechute unit 53a.
[0087]
When thecoin recognizing unit 40 does not recognize the initial replenishment coin for a predetermined time or more, thecoin storage device 18, thecoin passage device 28, and the transport conveyor means 58 are stopped, and the initial replenishment process is completed. In addition, the total number of coins when the respectivestorage cylinder portions 66 of the coin storage andejection device 57 by type are full is, for example, 700, and the maximum receiving yield of the conveyor means 58 is, for example, 1,100. The entire amount can be discharged from the coin storage andejection device 57 to the conveyor means 58.
[0088]
Next, the deposit processing will be described with reference to FIGS.
[0089]
FIG. 11 shows a deposit sending operation at the time of deposit processing, in which an operator (a machine administrator or a customer) instructs a deposit with thecommand operating unit 122 to open a deposit / dispense port shutter of the deposit / dispenseport 13, and further, When the operator inserts the deposited coin into thecoin receiving portion 14 through the deposit andwithdrawal port 13, the coin on the tray 14a of thecoin receiving portion 14 is detected by a sensor (not shown), and the deposit and withdrawal port shutter is closed. Thecoin storage device 18 and thecoin passage device 28 are started to be driven, the deposited coins inserted by the rotation of the tray 14 a of thecoin receiving portion 14 are discharged to thechute 15, and sent to thecoin storage device 18 through thechute 15. Thecoin receiving unit 14 returns the receiving tray 14a after discharging the deposited coins so that the coins can be received.
[0090]
The deposited coins sent to thecoin storage device 18 are sent one by one from thecoin storage device 18 to thecoin passage device 28 as described above, and are identified by thecoin identification unit 40.
[0091]
As a result of the discrimination by thecoin discriminating unit 40, the legitimate deposited coin is branched into denominations by thedenomination branching units 43a to 43f, and is temporarily reserved in the depositingtemporary storage device 56 through thechute 51 by the denomination. As shown in FIG. 2, in the depositingtemporary holding device 56, the bottom surface of thetemporary storing unit 62 is closed by theejection plate 63, and the received coins received in thetemporary storing unit 62 are temporarily stored in the vertically stacked state. I do.
[0092]
Thecontrol unit 121 counts the number of deposited coins to be temporarily held in the depositingtemporary holding device 56 from the identification result of thecoin identifying unit 40, and for a denomination whose count value reaches a preset temporary holding full amount, Thereafter, the normal deposited coin identified by thecoin identifying unit 40 is treated as a deposited overflow coin. The deposit overflow coins are branched at the overflowcoin branching section 42 at the time of deposit sending, are sent to the receivingconveyor area 72 of the conveyor means 58 through thechute 50, and are temporarily held collectively.
[0093]
As a result of the discrimination by thecoin discriminating section 40, the rejected coin determined to be inappropriate is not branched at any of the branchingsections 41 to 45, and is conveyed to the end of thecoin passage 29 through the dispensingpassage area 32, and the coin receiving section. Send to 14. At this time, the tray 14a of thecoin receiving unit 14 is in a state where the reject coin can be received. The cash slot shutter of thecash slot 13 is opened, and the operator removes the rejected coin from thecoin receiving unit 14 to close the cash slot shutter.
[0094]
Then, when thecoin identification unit 40 does not recognize the coin for a predetermined time or more, thecoin storage device 18 and thecoin passage device 28 are stopped to complete the deposit feeding operation, and thereafter, the identification result of the deposited coin is transmitted to the operator. Display and confirm payment.
[0095]
FIG. 12 shows a deposit storing operation in a case where the operator performs a deposit approval operation using thecommand operation unit 122 and there is no deposit overflow coin. The throw-out plate 63 of thedeposit holding device 56 is moved to the retracted position (a position moved to the left from the position shown in FIG. 2), the bottom surface of thetemporary holding portion 62 is opened, and the stacking state is temporarily held. The temporarily stored coins are stored in thestorage tube portion 66 of the coin storage and dispensingdevice 57 by denomination. At this time, by arranging the upper surface of the stacked coins in thestorage cylinder 66 near the upper end of thestorage cylinder 66, the falling distance of the coins can be reduced, and the occurrence of coin standing can be prevented. The stacked coins are lowered together with the support member 67 in accordance with the number of coins to be temporarily stored in thestorage cylinder 66, and the temporarily stored coins are stored in thestorage cylinder 66. Thus, a series of deposit processing from the deposit sending operation to the deposit storing operation is completed.
[0096]
FIG. 13 shows a deposit storing operation in a case where the operator performs a deposit approval operation using thecommand operation unit 122, there is a deposit overflow coin, and thecoin storing cassette 59 is mounted on themachine body 11. The temporarily stored coins temporarily stored in the money receiving and storingdevice 56 are stored in thestorage cylinder 66 of the coin type coin storing and dischargingdevice 57 by moving to the retreat position of the dispensingplate 63 as described above.
[0097]
The deposited overflow coins temporarily stored in the receivingconveyor area 72 of the transport conveyor means 58 are temporarily stored by thecoin storage device 18, thecoin passage device 28 and the transport conveyor means 58 from the transport conveyor means 58 as described above. The coin is fed into thecoin passage device 28 through thedevice 18, branched at the first coin storagecassette branch portion 44 of thecoin passage device 28, and stored in thecoin storage portion 86 of thecoin storage cassette 59 through the switching member of thechute 52 and thechute portion 52 a. Let it. In addition, for example, when the coin storage amount of thecoin storage unit 86 of thecoin storage cassette 59 has reached the total release amount in the midway replenishment process arbitrarily set in advance within the maximum storage number, the switching member of thechute 52 is switched. The coins are switched and the deposit overflow coins are stored in the coinnon-discharge storage section 87 through the switching member of thechute 52 and thechute section 52b.
[0098]
If thecoin identification unit 40 does not recognize the deposit overflow coin for a predetermined time or more, thecoin storage device 18, thecoin passage device 28, and the conveyor means 58 are stopped, and a series of deposit processing from the deposit sending operation to the deposit storing operation is completed. I do.
[0099]
The operation of storing the temporarily stored coins from the depositing and temporarily storingdevice 56 and the conveyor means 58 can be performed in parallel. In particular, the coins in thecoin storage cassette 59 can be stored without branching the temporarily stored coins from the conveyor means 58 into denominations. By storing it in thestorage unit 86, the processing time can be shortened, and the process can be quickly shifted to the next processing.
[0100]
FIG. 14 shows a deposit storing operation in a case where the operator performs a deposit approval operation using thecommand operating unit 122, there is a deposit overflow coin, and thecoin storage cassette 59 is removed from themachine body 11. The temporarily stored coins temporarily stored in the money receiving and storingdevice 56 are stored in thestorage cylinder 66 of the coin type coin storing and dischargingdevice 57 by moving to the retreat position of the dispensingplate 63 as described above.
[0101]
The deposited overflow coins temporarily stored in the receivingconveyor area 72 of the transport conveyor means 58 are temporarily stored by thecoin storage device 18, thecoin passage device 28 and the transport conveyor means 58 from the transport conveyor means 58 as described above. The coin is sent to thecoin passage device 28 through thedevice 18, branched at the second deposit overflowcoin branch portion 41 of thecoin passage device 28, and stored in thestorage space portion 49 a of the deposit overflowcoin storage portion 49. At this time, the outlet in the lower right area of thestorage space 49a is closed by the opening /closing plate 49b.
[0102]
If thecoin identification unit 40 does not recognize the deposit overflow coin for a predetermined time or more, thecoin storage device 18, thecoin passage device 28, and the conveyor means 58 are stopped, and a series of deposit processing from the deposit sending operation to the deposit storing operation is completed. I do.
[0103]
After the deposit overflow coins are stored in the deposit overflowcoin storage unit 49, when thecoin storage cassette 59 is mounted on themachine body 11, the coins stored in the deposit overflowcoin storage unit 49 are transferred to thecoin storage cassette 59. Can be. That is, the open / closeplate driving unit 124 is driven through thecontrol unit 121, and the open /close plate 49b is opened. As a result, the entire amount of coins stored in the deposit overflowcoin storage unit 49 is discharged to the receivingconveyor area 72 of the conveyor means 58, and the total amount of coins discharged to the receivingconveyor area 72 of the conveyor means 58 is used for the above-described replenishment. Is stored in thecoin storage unit 86 or the coinnon-discharge storage unit 87 of thecoin storage cassette 59 through thecoin passage device 28 like a refill overflow coin or a deposit overflow coin at the time of payment approval. At this time, denomination coins that can be branched into denominations through thecoin passage device 28 and can be replenished to the denomination coin storage andejection device 57 may be replenished, and only replenishment overflow coins may be stored in thecoin storage cassette 59. Alternatively, the coins may be stored in thecoin storage cassette 59 through thecoin passage device 28 without branching by denomination, and the process may be promptly shifted to the next processing. The opening /closing plate 49b is closed by the drive of the opening / closingplate driving unit 124 through thecontrol unit 121 after the entire amount of coins has been discharged.
[0104]
Further, after storing the deposit overflow coins in the deposit overflowcoin storage section 49, the stored coins in the deposit overflowcoin storage section 49 are stored in the deposit overflowcoin storage section 49 even when thecoin storage cassette 59 is removed from themachine body 11. It can be replenished to thedelivery device 57. That is, by opening the opening /closing plate 49b through thecontrol unit 121, all the coins stored in the deposit overflowcoin storage unit 49 are discharged to the receivingconveyor area 72 of the conveyor means 58, and the opening /closing plate 49b is closed immediately thereafter. The coins discharged in their entirety into the receivingconveyor area 72 of the conveyor means 58 are branched into denominations through thecoin passage device 28 and replenished to the denomination coin storage /ejection device 57, as in the above-described replenishment. The replenishment overflow coin which does not need to be used is branched at the second overflowcoin branch part 41 and collected and stored in the deposit overflowcoin storage part 49.
[0105]
FIG. 15 illustrates a case where the operator performs an operation of rejecting payment by thecommand operation unit 122. Theescrow unit 62 of thedeposit escrow unit 56 is moved to a return position above the receivingconveyor area 72 of the conveyor means 58, and all the coins temporarily held in theescrow unit 62 are transferred to the receiving conveyor of the conveyor means 58. Release toarea 72. At this time, if the deposit overflow coins are temporarily stored in the receivingconveyor area 72 of the conveyor means 58, the coins are discharged together with the coins discharged from thetemporary storage unit 62.
[0106]
Returned coins on the receivingconveyor area 72 of the transport conveyor means 58 are driven by thecoin storage device 18, thecoin passage device 28 and thetransport conveyor device 58 from thetransport conveyor device 58 through thecoin storage device 18 as described above. 28, and is conveyed to the end of thecoin passage 29 to be sent to the receiving tray 14a of the coin receiving unit 14 (at an acceptable upward position). When all the returned coins have been sent to the tray 14a of thecoin receiving unit 14, thecoin storage device 18, thecoin passage device 28 and the conveyor means 58 are stopped, and the cash slot shutter of thecash slot 13 is opened. By taking out the returned coin from the tray 14a of thecoin receiving unit 14, the cash slot shutter is closed. This completes a series of processes from the deposit sending operation to the deposit return operation.
[0107]
Next, the dispensing process will be described with reference to FIG.
[0108]
An operator (a machine administrator or a customer) inputs a withdrawal money value (amount or denomination and the number of sheets) by using thecommand operation unit 122 and instructs start, whereby the withdrawal of the coin storage /dispensing device 57 by denomination is performed. In thestorage cylinder portion 66 corresponding to the seed, the stored stacked coins are raised by the support member 67, and the stacked coins are placed on the lower surface of thetemporary storage portion 62 located at a position where the upper portion of thestorage cylinder portion 66 is closed. The uppermost stacked coins, that is, dispensed coins, are ejected from thestorage cylinder 66 onto the receivingconveyor area 72 of the transport conveyor means 58 by the ejectingplate 63 which is brought into contact and reciprocated. When there are denominations to be continuously discharged, the coins are similarly raised and discharged by thedischarge plate 63. For the denominations that do not correspond to the withdrawal denominations and the denominations for which the number of withdrawals have been dispensed, the coins are lowered and the dispensing of coins is stopped.
[0109]
The dispensed coins ejected onto the receivingconveyor area 72 of the transport conveyor means 58 are driven from thecoin storage device 18, thecoin passage device 28, and thetransport conveyor device 58, and are transferred from thetransport conveyor device 58 to the coin storage device as described above. The coin is sent to thecoin passage device 28 through 18 and is identified by thecoin identification unit 40.
[0110]
As a result of the discrimination by thecoin discriminating section 40, the normal dispensed coin is conveyed to the end of thecoin passage 29 and sent to thecoin receiving section 14.
[0111]
The rejected coin determined to be inappropriate is branched at the first coin storagecassette branching section 44 and collected and stored in thecoin storage section 86 of thecoin storage cassette 59 through the switching member of thechute 52 and thechute section 52a. When a rejected coin is generated, the denomination coin having a shortage in the withdrawal money value is re-ejected from the coin-type coin storage /ejection unit 57.
[0112]
When the dispensed coins corresponding to the dispensed money value are sent to thecoin receiving portion 14, thecoin storage device 18, thecoin passage device 28, and the conveyor means 58 are stopped, and the deposit / dispense port shutter of the deposit / dispenseport 13 is opened to operate. The user takes out the dispensed coin from the receiving tray 14a of thecoin receiving unit 14 to close the deposit / withdrawal port shutter. Thus, the dispensing process is completed.
[0113]
Next, the intermediate replenishment process will be described with reference to FIG.
[0114]
When the storage amount of coins of the denomination-type coin storage unit of the denomination-type coin storage and dispensingdevice 57 is reduced to a predetermined amount or less by the dispensing process, the midway replenishment process is automatically started. In this midway replenishment process, as in the initial replenishment process, thecoin storage device 18, thecoin passage device 28, and the conveyance conveyor means 58 are started to be driven, and the first opening / closing plate 96 of thecoin storage cassette 59 is started by the opening / closingplate driving unit 124. Then, the second opening / closing plate 103 is linked and opened. The opening / closing of the first opening / closing plate 96 and the second opening / closing plate 103 opens thecoin discharge port 94 and the coin receiving port 102, and replenishes the coins stored in thecoin storage section 86 by the inclination of theinclined bottom surface 95. , The entire amount is discharged from thecoin discharge port 94, and the entire amount is received on the receivingconveyor area 72 of the conveyor means 58, that is, thecoin receiving unit 76 through the coin receiving port 102.
[0115]
By discharging the entire amount of the replenished coins stored in thecoin storage unit 86, the detection light of the coin presence /absence detection sensor 104 enters a light transmitting state through thesensor hole 98, and the light transmitting state continues for a predetermined time or more, thereby storing the coins. Theunit 86 detects that there is no coin. The first opening / closing plate 96 and the second opening / closing plate 103 are interlocked and closed by the opening / closingplate driving section 124, and thecoin discharge port 94 and the coin are moved by the closing movement of the first opening / closing plate 96 and the second opening / closing plate 103. The receiving port 102 is closed. As a result, thecoin storage unit 86 is ready to receive coins.
[0116]
The replenishment coins received in full in the receivingconveyor area 72 of theconveyor 58 are driven by thecoin storage device 18, thecoin passage device 28, and theconveyor 58, from theconveyor 58 through thecoin storage 18 as described above. The coin is sent to thepassage device 28 and identified by thecoin identification unit 40.
[0117]
As a result of the discrimination by thecoin discriminating section 40, the regular replenished coin is branched into denominations in thedenomination branching sections 43a to 43f in the same manner as in the initial replenishment process, and the bottom surfaces of thechute 51 and the deposittemporary holding device 56 are opened. The coins are stored directly in thestorage cylinder 66 of the coin-type coin storage and dispensingdevice 57 through thetemporary storage 62.
[0118]
Thecontrol unit 121 counts the number of coins stored in each of thestorage cylinders 66 of the denomination-specific coin storage and dispensingdevice 57 from the identification result of thecoin identification unit 40, and counts the number of coins that have reached a preset full amount. Regarding the seed, a regular replenishment coin identified by thecoin identification unit 40 thereafter is treated as a replenishment overflow coin. The replenishment overflow coin does not branch at thedenomination branching sections 43a to 43f of the corresponding denomination but branches at the first coin storagecassette branching section 44 on the downstream side, and passes through the switching member of thechute 52 and thechute section 52a. The coin is stored in thecoin storage section 86 of thecoin storage cassette 59. At this time, since thecoin discharge port 94 of thecoin storage unit 86 is already closed by the first opening / closing plate 96, the replenished coins collected in thecoin storage unit 86 are maintained in the stored state without being released. Further, by collecting the replenished coins in thecoin storage unit 86, the detection light of the coin presence /absence detection sensor 104 is blocked, and the presence of a coin is detected.
[0119]
The rejected coin determined as inappropriate as a result of the discrimination by thecoin discriminating section 40 branches off at the first coin storagecassette branching section 44 similarly to the overflow coin, and passes through the switching member of thechute 52 and thechute section 52a. The coin is stored in thecoin storage section 86 of thecoin storage cassette 59.
[0120]
Then, when thecoin identification unit 40 does not recognize the replenished coin for a predetermined time or more, thecoin storage device 18, thecoin passage device 28, and theconveyor unit 58 are stopped, and the replenishment process is completed.
[0121]
In addition, by appropriately setting the coin storage amount of thecoin storage unit 86 of thecoin storage cassette 59 and storing coins exceeding the set coin storage amount in thenon-discharge storage unit 87, The total amount of thecoin storage cassette 59 discharged from thecoin storage unit 86 can be made appropriate, and the replenishment processing time can be reduced.
[0122]
Next, the scrutiny process will be described with reference to FIGS.
[0123]
A first scrutiny operation for scrutinizing coins stored in thecoin storage unit 86 of thecoin storage cassette 59 by the machine administrator designating a scrutiny process with thecommand operation unit 122 and instructing a start, and a coin of a denomination type A second scrutiny operation for scrutinizing coins stored in thestorage cylinder 66 of the storage andejection device 57 is executed.
[0124]
FIG. 18 shows a first scrutiny operation for scrutinizing coins stored in thecoin storage unit 86 of thecoin storage cassette 59. In the first inspection operation, thecoin storage device 18, thecoin passage device 28, and the conveyance conveyor means 58 are started to be driven, and the first opening / closing plate 96 and the second opening / closing plate of thecoin storage cassette 59 are started by the opening / closingplate driving section 124. 103 is linked and released. Thecoin opening 94 and the coin receiving opening 102 are opened by the opening and closing movement of the first opening / closing plate 96 and the second opening / closing plate 103, and the coin stored in thecoin storing portion 86 is weighted by the inclination of theinclined bottom surface 95. The entire amount is discharged from thecoin discharge port 94, and the entire amount is received on the receivingconveyor area 72 of the conveyor means 58, that is, thecoin receiving unit 76 through the coin receiving port 102.
[0125]
The entire amount of the coins stored in thecoin storage unit 86 is released, and the detection light of the coin presence /absence detection sensor 104 enters a light-transmitting state through thesensor hole 98. This light-transmitting state continues for a predetermined time or more, so that thecoin storage unit 86 No coin is detected. The first opening / closing plate 96 and the second opening / closing plate 103 are interlocked and closed by the opening / closingplate driving section 124, and thecoin discharge port 94 and the coin are moved by the closing movement of the first opening / closing plate 96 and the second opening / closing plate 103. The receiving port 102 is closed. As a result, thecoin storage unit 86 can receive coins.
[0126]
All the coins received in the receivingconveyor area 72 of the conveying conveyor means 58 are driven by thecoin storage device 18, thecoin passage device 28 and the conveyingconveyor device 58 from the conveyingconveyor device 58 through thecoin storage device 18 as described above. The coin is sent to thedevice 28 and identified by thecoin identification unit 40. The identified coin branches at the first coin storagecassette branching section 44 and is collected and stored in thecoin storage section 86 of thecoin storage cassette 59 through the switching member of thechute 52 and thechute section 52a. At this time, since thecoin discharge port 94 of thecoin storage unit 86 is already closed by the first opening / closing plate 96, the coins collected and stored in thecoin storage unit 86 are kept in the stored state without being released. In addition, by collecting coins in thecoin storage unit 86, the detection light of the coin presence /absence detection sensor 104 is blocked, and the presence of coins is detected.
[0127]
Then, when the coin identification by thecoin identification section 40 has stopped for a predetermined time or more, thecoin storage device 18, thecoin passage device 28, and the conveyor means 58 are stopped, and the first inspection operation is completed.
[0128]
FIG. 19 shows a second scrutiny operation for scrutinizing coins stored in thestorage cylinder 66 of the coin type coin storage andejection device 57. The second inspection operation is started by designating the inspection by thecommand operation unit 122 and instructing the start. In the second inspection operation, all coins are ejected from all denominationstorage cylinder portions 66 of the denomination coin storage andejection device 57, or coins are sequentially ejected from the denominationstorage cylinder portion 66. Let all coins be thrown out. That is, the stacked coins stored in thestorage cylinder 66 are raised by the support member 67, and the top coin is moved from thestorage cylinder 66 to the receivingconveyor area 72 of the transporting conveyor means 58 by thereciprocating ejection plate 63. Throw in At this time, for example, the maximum number of coins received by thecoin receiving unit 76 on the transport conveyor means 58 is 1100, and the maximum number of coins that can be stored in the denomination coin storage andejection device 57 is 700. , The entire amount of coins to be ejected from the conveyor can be received on the conveyor means 58.
[0129]
The coins that have all been ejected onto the receivingconveyor area 72 of theconveyor 58 are driven by thecoin storage device 18, thecoin passage device 28, and theconveyor 58 through thecoin storage 18 from theconveyor 58 as described above. The coin is sent to thecoin passage device 28 and identified by thecoin identification unit 40. The identified coins are branched into denominations bydenomination branching sections 43a to 43f, and stored in thestorage cylinder 66 of the denomination coin storage and dispensingdevice 57 through thechute 51 and theescrow unit 62 of the depositingescrow unit 56. . Theescrow unit 62 of thedeposit escrow unit 56 is in a state where the throwingplate 63 is moved to the retreat position (the position moved to the left from the position shown in FIG. 2) and the bottom surface is opened. The coin sent to thesection 62 is directly stored in thestorage tube section 66. By arranging the upper surface of the stacked coins in thestorage cylinder 66 near the upper end of thestorage cylinder 66, the falling distance of the coins is reduced, and the occurrence of coin standing or the like is prevented. Each time a coin is received in thestorage cylinder 66, the stacked coin is lowered by one together with the support member 67, and the storage of the subsequent coins is permitted.
[0130]
Then, when the coin identification by thecoin identification section 40 has stopped for a predetermined time or more, thecoin storage device 18, thecoin passage device 28, and the conveyor means 58 are stopped, and the second close inspection process is completed. When the first and second continuous inspection modes are provided and this mode is designated by thecommand operating unit 122, the first inspection operation and the second inspection operation are performed at the end of the first inspection operation. Is also good.
[0131]
Next, the collection process will be described with reference to FIGS.
[0132]
FIG. 20 shows a collection process without scrutiny that collects the coins in thebody 11 into thecoin storage cassette 59 without scrutiny. The machine manager designates collection without scrutiny by thecommand operation unit 122 and instructs start, thereby starting the collection processing without scrutiny. In this non-examination collection process, all coins are ejected from all denominationstorage cylinder portions 66 of the denomination coin storage andejection device 57, or coins are sequentially discharged from the denominationstorage cylinder portion 66. All coins. That is, the stacked coins stored in thestorage cylinder 66 are lifted by the support member 67, and the top-end dispensed coin is moved from thestorage cylinder 66 by thereciprocating ejection plate 63 to the receiving conveyor area of the conveyor means 58. Throw on 72.
[0133]
The coins that have all been ejected onto the receivingconveyor area 72 of theconveyor 58 are driven by thecoin storage device 18, thecoin passage device 28, and theconveyor 58 through thecoin storage 18 from theconveyor 58 as described above. The coin is sent to thecoin passage device 28 and identified by thecoin identification unit 40. As a result of the discrimination, the legitimate collected coin is branched at the first coin storagecassette branching portion 44 and is switched to thecoin storage portion 86 of thecoin storage cassette 59 or the switching of thechute 52 through the switching member of thechute 52 and thechute portion 52a. The coins are collected and stored in the coinnon-discharge storage portion 87 of thecoin storage cassette 59 through the member and thechute portion 52b.
[0134]
As a result of the discrimination by thecoin discriminating unit 40, the rejected rejected coin determined to be improper is branched at the second most downstream coin storagecassette branching unit 45, and is passed through the switchingmember 108 of thechute 53 and thechute unit 53b. The rejectcoin storage unit 89 of thestorage cassette 59 collects and stores it.
[0135]
When thecoin identification unit 40 does not identify the collected coins for a predetermined time or more, thecoin storage device 18, thecoin passage device 28, and theconveyor unit 58 are stopped, and the collection process without scrutiny is completed.
[0136]
FIG. 21 shows a first collection operation in the collection processing with scrutiny for scrutinizing coins in themachine body 11 and collecting the coins in thecoin storage cassette 59. The machine administrator designates collection with scrutiny by thecommand operation unit 122 and instructs start, thereby starting the first collection operation in the collection processing with scrutiny. In this first collecting operation, thecoin storage device 18, thecoin passage device 28, and the transport conveyor means 58 are started to be driven, and the first opening / closing plate 96 and the second opening / closing of thecoin storage cassette 59 are started by the opening / closingplate driving section 124. The plate 103 is linked and opened. Thecoin opening 94 and the coin receiving opening 102 are opened by the opening and closing movement of the first opening / closing plate 96 and the second opening / closing plate 103, and the coin stored in thecoin storing portion 86 is weighted by the inclination of theinclined bottom surface 95. The entire amount is discharged from thecoin discharge port 94, and the entire amount is received on the receivingconveyor area 72 of the conveyor means 58, that is, thecoin receiving unit 76 through the coin receiving port 102.
[0137]
By discharging the entire amount of the coins stored in thecoin storage unit 86, the detection light of the coin presence /absence detection sensor 104 enters a light-transmitting state through thesensor hole 98, and the light-transmitting state continues for a predetermined time or longer, so that thecoin storage unit 86 coins are detected. The first opening / closing plate 96 and the second opening / closing plate 103 are interlocked and closed by the opening / closingplate driving section 124, and thecoin discharge port 94 and the coin are moved by the closing movement of the first opening / closing plate 96 and the second opening / closing plate 103. The receiving port 102 is closed. As a result, thecoin storage unit 86 can receive coins.
[0138]
All the coins received in the receivingconveyor area 72 of the conveying conveyor means 58 are driven by thecoin storage device 18, thecoin passage device 28 and the conveyingconveyor device 58 from the conveyingconveyor device 58 through thecoin storage device 18 as described above. The coin is sent to thedevice 28 and identified by thecoin identification unit 40. The identified coin branches at the first coin storagecassette branching section 44 and is collected and stored in thecoin storage section 86 of thecoin storage cassette 59 through the switching member of thechute 52 and thechute section 52a. At this time, since thecoin discharge port 94 of thecoin storage unit 86 is already closed by the first opening / closing plate 96, the coins collected and stored in thecoin storage unit 86 are kept in the stored state without being released. In addition, by collecting coins in thecoin storage unit 86, the detection light of the coin presence /absence detection sensor 104 is blocked, and the presence of coins is detected.
[0139]
Then, when the coin identification by thecoin identification unit 40 has stopped for a predetermined time or more, thecoin storage device 18, thecoin passage device 28, and the conveyor means 58 are stopped, and the first collection operation in the collection process with close inspection is completed.
[0140]
FIG. 22 shows a second collection operation in the collection processing with scrutiny. Subsequent to the first collection operation, the second collection operation in the collection processing with close inspection is automatically started. In the second collection operation, all coins are ejected from all denominationstorage cylinder portions 66 of the denomination coin storage andejection device 57, or coins are sequentially ejected from the denominationstorage cylinder portion 66. Let all coins be thrown out. That is, the stacked coins stored in thestorage cylinder 66 are raised by the support member 67, and the top coin is moved from thestorage cylinder 66 to the receivingconveyor area 72 of the transporting conveyor means 58 by thereciprocating ejection plate 63. Throw in
[0141]
The coins that have all been ejected onto the receivingconveyor area 72 of theconveyor 58 are driven by thecoin storage device 18, thecoin passage device 28, and theconveyor 58 through thecoin storage 18 from theconveyor 58 as described above. The coin is sent to thecoin passage device 28 and identified by thecoin identification unit 40. As a result of the discrimination, the legitimate collected coin is branched at the first coin storagecassette branching portion 44 and is switched to thecoin storage portion 86 of thecoin storage cassette 59 or the switching of thechute 52 through the switching member of thechute 52 and thechute portion 52a. The coins are collected and stored in the coinnon-discharge storage portion 87 of thecoin storage cassette 59 through the member and thechute portion 52b.
[0142]
As a result of the discrimination by thecoin discriminating unit 40, the rejected rejected coin determined to be improper is branched at the second most downstream coin storagecassette branching unit 45, and is passed through the switchingmember 108 of thechute 53 and thechute unit 53b. The rejectcoin storage unit 89 of thestorage cassette 59 collects and stores it.
[0143]
When thecoin identification unit 40 does not recognize the collected coins for a predetermined time or more, thecoin storage device 18, thecoin passage device 28, and theconveyor unit 58 are stopped, and the second collection operation in the collection process with close inspection is completed.
[0144]
After the first collection operation and the second collection operation, thecoin storage cassette 59 is removed from thebody 11 and transported to a predetermined collection place.
[0145]
Next, the foreign matter removal processing will be described with reference to FIG.
[0146]
At the time of deposit processing, etc., after deposit coins are received in thecoin storage device 18 and all deposit coins that can be dispensed are dispensed, deformed coins and foreign coins that cannot be dispensed, for example, clips etc. inserted together with the deposit coin as foreign matter are used as coins. The foreign matter exclusion process to be eliminated from thestorage device 18 is automatically started. In this foreign matter elimination process, the opening / closingpart 23 of thehopper 20 is opened to discharge the foreign matter in thehopper 20 to the foreignmatter discharge chute 25, to be discharged to the foreignmatter discharge port 24 through the foreignmatter discharge chute 25, and to be able to be taken out. After the foreign matter is discharged, the opening / closingpart 23 of thehopper 20 is closed, and the foreign matter elimination process is completed.
[0147]
Next, the forgetting capture process will be described with reference to FIG.
[0148]
A deposit return coin or a reject coin is sent to thecoin receiving unit 14 at the time of deposit processing, or a dispensed coin is sent to thecoin receiving unit 14 at the time of dispensing processing, and after opening a deposit / withdrawal port shutter of the deposit /withdrawal port 13, the coin receiving section is opened. When a predetermined time or more elapses with no coins removed from thecoin 14 or a coin is left behind, a forgotten take-in process is started in which the coin in thecoin receiving unit 14 is taken as a forgotten coin. In this forgetting take-in processing, the cash slot shutter is closed, the drive of thecoin storage device 18 and thecoin passage device 28 is started, and the forgotten coins are discharged to thechute 15 by the rotation of the tray 14a of thecoin receiving portion 14, The coin is sent to thecoin storage device 18 through thechute 15. Thecoin receiving section 14 returns the receiving tray 14a after the ejection of the forgotten coins so that the coins can be received.
[0149]
The forgotten coins sent to thecoin storage device 18 are sent one by one from thecoin storage device 18 to thecoin passage device 28 as described above, and after being identified by thecoin identification unit 40, the second coin storagecassette branching unit 45. The coin is forcibly collected and stored in thecoin storage unit 90 of thecoin storage cassette 59 through thechute portion 53c of thechute 53.
[0150]
Then, when thecoin identification unit 40 does not identify the left coin for a predetermined time or more, thecoin storage device 18, thecoin passage device 28, and the transport conveyor means 58 are stopped, and the missed coin taking process is completed.
[0151]
As described above, in the circulating coin depositing and dispensing machine, all the coins stored in thecoin storage unit 86 of thecoin storage cassette 59 are discharged, and all the discharged coins are received by the transfer conveyor means 58 and sent to thereplenishment transfer system 111. Coins that need to be replenished can be replenished to the denomination coin storage andejection device 57 through the feeding andreplenishment transport system 111, and coins that do not need to be replenished can be collected and stored in thecoin storage unit 86 of thecoin storage cassette 59. Thecoin storage cassette 59 can perform a replenishing operation at the time of initial replenishment and halfway replenishment, and can collect and store replenished overflow coins, so that the configuration can be simplified and downsized, and the space can be effectively used. In particular, in the case where the replenishment operation at the time of initial replenishment is performed by onecoin storage cassette 59 in addition to the replenishment operation at the time of intermediate replenishment, another replenishment cassette or the like is not required for the initial replenishment, and the configuration is simplified and downsized. And space can be used effectively.
[0152]
Moreover, even when thecoin storage cassette 59 is removed from themachine body 11, the deposit overflow coins that do not need to be sent to the denomination coin storage andejection device 57 among the deposit-approved coins at the time of deposit approval are transferred to the deposit overflowcoin storage unit 49. Because it can be stored, it is possible to perform a depositing process as well as a dispensing process.
[0153]
In addition, even when thecoin storage cassette 59 is removed from themachine body 11, all of the coins in the deposit overflowcoin storage section 49 are discharged to the conveyor means 58, and replenished to the denomination-type coin storage andejection device 57 through thereplenishment conveyance system 111. In addition, coins that do not need to be replenished to the denomination-specific coin storage andejection device 57 can be collected and stored in the deposit overflowcoin storage unit 49.
[0154]
Further, the conveying conveyor means 58 temporarily holds not only the coins discharged from thecoin storage unit 86 of thecoin storage cassette 59 but also the overflowing coins and transfers the coins to thecoin storage cassette 59 or the depositing overflowcoin storage unit 49 when the deposit is approved. There is no need for a dedicated temporary holding unit for collecting and storing the deposited overflow coins, and further, receiving the deposited temporary holding coins sent from the depositingtemporary holding device 56 at the time of non-approval of the deposit, and transferring the deposited temporary holding coins to theoperator side 12. Since it can be sent to thedeposit transfer system 112 to be returned, the structure can be simplified and downsized, and the space can be effectively used.
[0155]
One of thedeposit transfer system 112 and thereplenishment transfer system 111, thedeposit transfer system 112 and the dispensingtransfer system 113, and thedeposit transfer system 112, thereplenishment transfer system 111, and thedispensation transfer system 113 store and store coins.Storage unit 18 for feeding coins one by one, acoin identification unit 40 for conveying coins fed one by one by thecoin storage unit 18 and identifying coins during the conveyance, and adenomination branching unit 43a for branching coins by denomination. Since thecoin passage device 28 having .about.43f is shared and the coins on the conveyor means 58 are sent to thecoin storage device 18, the configuration can be simplified and downsized, and the space can be effectively used.
[0156]
Further, since thecoin storage cassette 59 has a coinnon-discharge storage portion 87 for storing coins exceeding the storage amount of thecoin storage portion 86, separately from thecoin storage portion 86 capable of discharging all coins, thecoin storage portion 86 Can be arbitrarily set, and the total discharge amount can be set appropriately to shorten the replenishment processing time.
[0157]
Further, a full-amount discharging means 97 for discharging the entire amount of coins in thecoin storage section 86 of thecoin storage cassette 59 includes a first opening / closing plate 96 for opening and closing thecoin discharge port 94 of thecoin storage section 86 and a coin receiving port 102 on themachine body 11 side. By opening the second opening / closing plate 103 for opening and closing the coin, the coin is discharged from thecoin discharge port 94 by its own weight by theinclined bottom surface 95 at the bottom of thecoin storage unit 86, compared with a case where a conveyor or the like is used for discharging the coin. The structure can be simplified, the cost can be reduced, the entire amount of coins can be discharged in a short time, and when thecoin storage cassette 59 is removed, the second open / close plate 103 on thebody 11 side is closed, so that the coin storage set can be set. 59 can be performed.
[0158]
Next, FIG. 25 shows another embodiment of thecoin storage cassette 59. Thecoin storage cassette 59 has acoin discharge port 141 for discharging the entire amount of coins on the bottom surface of thecoin storage section 86, and an openable / closable plate 142 for closing thecoin discharge port 141 is provided so as to be openable and closable. The opening / closing plate 142 is rotatably supported at one end side away from the conveyor means 58 by asupport shaft 143, and the other end side close to the conveyor means 58 moves up and down to open and close thecoin discharge port 141. . The opening / closing plate 142 constitutes a full amount discharging means 97 for discharging all the coins in thecoin storage portion 86 from thecoin discharging port 94.
[0159]
When the opening / closing plate 142 is opened, the opening / closing plate 142 is opened obliquely downward toward the conveyor means 58, and the replenished coins stored in thecoin storage unit 86 are released by their own weight by the inclination of the opening / closing plate 142. The entire amount can be discharged from theoutlet 141, and can be received by the conveyor means 58.
[0160]
Aguide plate 144 for guiding coins discharged by opening the opening / closing plate 142 onto theconveyor 58 is provided on an end of theconveyor 58. Theguide plate 144 sends the fully discharged coins CA discharged from thecoin storage cassette 59 onto theconveyor 58 so that the fully discharged coins CA do not obstruct the upward movement of the opening / closing plate 142. it can.
[0161]
In the above-described embodiment, the initial replenishment and the intermediate replenishment are performed using thecoin storage cassette 59. However, a replenishment cassette different from thecoin storage cassette 59 may be used for the initial replenishment.Numeral 59 stores refill overflow coins and deposit overflow coins and uses them during replenishment.
[0162]
【The invention's effect】
According to the circulating coin depositing and dispensing machine according toclaim 1, all the coins stored in the coin storage section of the coin storage cassette are discharged, and all the discharged coins are received by the transfer conveyor means and sent to the replenishment transfer system. Coins that need to be replenished can be replenished to the coin storage and dispensing device by denomination through the replenishment transport system, and coins that do not need to be replenished can be collected and stored in the coin storage unit of the coin storage cassette. The replenishment operation at the time of replenishment, the replenishment operation at the time of initial replenishment and the replenishment during the replenishment and the collection and storage of the replenished overflow coins can be performed, so that the configuration can be simplified and downsized, and the space can be effectively used. In addition, even when the coin storage cassette is removed from the aircraft, the deposit overflow coins that do not need to be sent to the denomination coin storage and ejection device among the deposit approved coins at the time of deposit approval can be stored in the deposit overflow coin storage unit. Payment processing can be performed as well as payment processing.
[0163]
According to the circulating coin depositing and dispensing machine of the second aspect, in addition to the effect of the circulating coin depositing and dispensing machine of the first aspect, even when the coin storing cassette is removed from the machine body, the deposit overflow coin storing section. Of coins can be discharged to the conveyor means and replenished to the coin storage and dispenser by denomination through the replenishment transport system, and coins that do not need to be replenished to the coin storage and dispenser by denomination are collected in the deposit overflow coin storage unit. Can be stored.
[0164]
According to the circulating coin depositing and dispensing machine according to claim 3, all the coins stored in the coin storage section of the coin storage cassette are discharged, and all the discharged coins are received by the transfer conveyor means and sent to the replenishment transfer system. Coins that need to be replenished can be replenished to the coin storage and dispensing device by denomination through the replenishment transport system, and coins that do not need to be replenished can be collected and stored in the coin storage unit of the coin storage cassette. The replenishment operation at the time of replenishment, the replenishment operation at the time of initial replenishment and the replenishment during the replenishment and the collection and storage of the replenishment overflow coins can be performed, so that the configuration can be simplified and downsized, and the space can be effectively used. Moreover, even when the coin storage cassette is removed from the machine, the deposit overflow coins temporarily held in the conveyor means at the time of deposit sending can be stored in the deposit overflow coin storage section at the time of deposit approval. Payment processing is possible. Further, the conveying conveyor means receives not only the coins discharged from the coin storage section of the coin storage cassette in its entirety, but also receives and temporarily holds a deposit overflow coin, and sends it to a deposit transfer system for storing the deposit overflow coin at the time of deposit approval, Since the coins can be collected and stored in the coin storage section of the coin storage cassette or the deposit overflow coin storage section through the deposit transfer system, there is no need for a dedicated temporary holding section for temporarily holding the deposit overflow coins, and the configuration can be simplified and downsized. And space can be used effectively.
[0165]
According to the circulating coin depositing and dispensing machine according to the fourth aspect, in addition to the effect of the circulating coin depositing and dispensing machine according to the third aspect, in addition to the effect that the transport conveyor means discharges all the coins from the coin storage section of the coin storage cassette. In addition to the deposit overflow coins at the time of deposit transfer, it is possible to receive the deposit temporary coins sent from the deposit temporary holding device when the deposit is not approved and send it to the deposit transfer system that returns the deposit temporary coins to the operator side Therefore, the configuration can be simplified and downsized, and the space can be effectively used.
[0166]
According to the circulating coin depositing and dispensing machine according to the fifth aspect, in addition to the effect of the circulating coin depositing and dispensing machine according to any one of the first to fourth aspects, a coin storing device for storing coins and feeding out one by one, The coin of the coin passage device is provided with a coin discriminating part for identifying and discriminating coins during the conveyance and a coin passage device having a type-specific branch portion for branching coins according to the type while receiving and conveying coins fed one by one from the coin storage device. A deposit overflow coin to be stored in the coin storage section of the coin storage cassette can be branched at the first deposit overflow coin branch section of the switching means provided downstream of the identification section, and a deposit overflow coin is deposited at the second deposit overflow coin branch section. Deposit overflow coins to be stored in the storage section can be branched.
[0167]
According to the circulating coin depositing and dispensing machine of claim 6, in addition to the effects of the circulating coin depositing and dispensing machine of any one ofclaims 1 to 4, a deposit transport system and a replenishment transport system, a deposit transport system and a dispensing. Any of a transport system, a deposit transport system, a replenishment transport system, and a dispensing transport system stores coins and feeds the stored coins one by one. A coin fed by the coin storage device is fed one coin at a time. In addition, a coin passage unit having a coin discriminating unit for identifying coins during conveyance and a branching unit for each type of branching coins according to the type is shared, and coins on the conveyor means are sent to the coin storage device. In addition, the size can be reduced and the space can be effectively used.
[0168]
According to the circulating coin depositing and dispensing machine according to claim 7, in addition to the effect of the circulating coin dispensing and dispensing machine according to any one ofclaims 1 to 6, the total amount of discharging the entire amount of coins in the coin storage section of the coin storage cassette. The release means opens and closes the opening and closing plate which opens and closes the coin discharge port of the coin storage section, so that the coin is released from the coin discharge port by its own weight by the inclined bottom surface of the bottom of the coin storage section, for example, using a conveyor or the like for discharging coins. Compared to the case, the structure can be simplified, the cost can be reduced, and the entire amount of coins can be discharged in a short time.
[0169]
According to the circulating coin depositing and dispensing machine according to claim 8, in addition to the effect of the circulating coin depositing and dispensing machine according to any one ofclaims 1 to 6, the total amount of coins discharged from the coin storage section of the coin storage cassette is fully discharged. When the first opening and closing plate for opening and closing the coin outlet of the coin storage unit and the second opening and closing plate for opening and closing the coin receiving opening on the machine side are opened, the coin is weighted by the inclined bottom surface of the bottom of the coin storage unit. Since the coin is released from the coin discharge port, the configuration can be simplified and the cost can be reduced as compared to a case where a coin is discharged, for example, using a conveyor, and the entire amount of coins can be discharged in a short time, and the coin storage cassette is removed. In this case, by closing the second opening / closing plate on the fuselage side, processing not related to the coin storage set can be performed, coins do not jump out into the space from which the coin storage cassette has been removed, and the difference in the number of coins, etc. It is possible to prevent the results.
[Brief description of the drawings]
FIG. 1 is a right side view schematically showing a circulation type coin depositing and dispensing machine showing an embodiment of the present invention.
FIG. 2 is a view taken along the line AA of FIG. 1;
3A and 3B show a coin storage cassette of the circulation type coin depositing and dispensing machine, wherein FIG. 3A is a right side view, FIG. 3B is a rear view, and FIG. 3C is a view taken in the direction of arrows BB in FIG. is there.
FIG. 4 is a rear view for explaining attachment and detachment of a coin storage cassette with respect to the body of the circulation type coin receiving and dispensing machine.
FIG. 5 is a right side view of a coin storage device and a coin passage device of the circulation type coin receiving and dispensing machine.
FIG. 6 is a perspective view of a branch portion for each type of the coin path device.
7A and 7B show a conveyor belt means of the circulation type coin receiving and dispensing machine, wherein FIG. 7A is a plan view, and FIG. 7B is a view taken along the line DD in FIG. 7A.
FIG. 8 is a block diagram showing a schematic control configuration by a control unit of the circulation type coin depositing and dispensing machine.
FIG. 9 is a block diagram showing a detailed control configuration by a control unit of the circulation type coin depositing and dispensing machine.
FIG. 10 is an explanatory diagram showing an initial replenishment process of the circulation type coin depositing and dispensing machine.
FIG. 11 is an explanatory diagram showing a deposit transfer until a temporary hold in a deposit process of the circulation type coin depositing and dispensing machine.
FIG. 12 is an explanatory view showing deposit storage in the case where there is no deposit overflow coin in the deposit process of the circulation type coin depositing and dispensing machine.
FIG. 13 is an explanatory diagram showing deposit storage in the case where there is a deposit overflow coin in the deposit process of the circulation type coin depositing and dispensing machine and a coin storage cassette is mounted.
FIG. 14 is an explanatory diagram showing deposit storage when there is a deposit overflow coin and no coin storage cassette is mounted in the deposit process of the circulation type coin depositing and dispensing machine.
FIG. 15 is an explanatory diagram showing a deposit return in the deposit process of the circulating coin depositing and dispensing machine.
FIG. 16 is an explanatory diagram showing a dispensing process of the circulation type coin receiving and dispensing machine.
FIG. 17 is an explanatory diagram showing a replenishment process on the way of the circulation type coin depositing and dispensing machine.
FIG. 18 is an explanatory diagram showing a close inspection process of a coin storage cassette of the circulation type coin receiving and dispensing machine.
FIG. 19 is an explanatory diagram showing a close inspection process of the coin storing and dispensing device by denomination of the circulation type coin receiving and dispensing machine.
FIG. 20 is an explanatory diagram showing a collection process without scrutiny of the circulating coin depositing and dispensing machine.
FIG. 21 is an explanatory diagram showing a first collection operation from the coin storage cassette in the collection processing with scrutiny of the circulation type coin depositing and dispensing machine.
FIG. 22 is an explanatory diagram showing a second collection operation from the coin-type coin storage and dispensing device in the collection processing with scrutiny of the circulation type coin depositing and dispensing machine.
FIG. 23 is an explanatory view showing a foreign matter removing process of the circulation type coin receiving and dispensing machine.
FIG. 24 is an explanatory diagram showing a forgetting take-in process of the circulation type coin receiving / dispensing machine.
FIG. 25 is a cross-sectional view of a coin storage cassette showing another embodiment of the present invention.
[Explanation of symbols]
11 aircraft
12 Operator side
18 Coin storage device
28 coin passage device
40 coin identification unit
41 Second Deposit Overflow Coin Branch as Switching Means
43a-43f Denomination type branch as type branch
44 First coin storage cassette branch, which is the first deposit overflow coin branch as switching means
49 Deposit overflow coin storage
56 Deposit holding device
57 Coin storage and dispensing device by denomination
58 Conveyor means
59 coin storage cassette
86 coin compartment
94 coin outlet
95 Slope bottom
96 First opening / closing plate as opening / closing plate
97 Means of total release
102 coin reception
103 Second opening / closing plate
111 Replenishment transport system
112 Payment transfer system
113 Withdrawal transfer system
121 control unit
142 opening and closing plate

Claims (8)

Translated fromJapanese
機体の操作者側から投入される入金硬貨を受け入れて金種識別し、出金に使用可能な硬貨は金種別硬貨収納投出装置へ送る入金搬送系と、補充硬貨を受け入れて金種識別し金種別硬貨収納投出装置へ送る補充搬送系と、金種別硬貨収納投出装置から投出される出金硬貨を操作者側へ搬送する出金搬送系とを有する循環式硬貨入出金機において、
前記機体に着脱可能に装着され、硬貨を全量放出する開閉可能な硬貨放出口を有する硬貨収納部を備え、硬貨が全量放出されて硬貨放出口が閉塞された硬貨収納部に対し硬貨を受収可能とする硬貨収納カセットと、
この硬貨収納カセットの硬貨収納部から全量放出された硬貨を全量受収するとともに全量受収した硬貨を補充搬送系へ送る搬送コンベヤ手段と、
前記機体から硬貨収納カセットが取り外されているときに入金承認時の入金承認硬貨のうち金種別硬貨収納投出装置へ送る必要のない入金オーバーフロー硬貨を収納するとともに、機体に硬貨収納カセットが装着された後に収納硬貨を搬送コンベヤ手段へ全量放出する入金オーバーフロー硬貨収納部と、
入金承認時に入金承認硬貨のうち金種別硬貨収納投出装置へ送る必要のない入金オーバーフロー硬貨を硬貨収納カセットの硬貨収納部と入金オーバーフロー硬貨収納部とのいずれかへ切り換え収納させる切換手段と、
前記機体に硬貨収納カセットが装着されているときには、硬貨収納カセットから全量放出された硬貨を補充搬送系を通じて金種別硬貨収納投出装置へ補充させるとともに、金種別硬貨収納投出装置への補充の必要がない硬貨を切換手段を通じて硬貨収納カセットの硬貨収納部へ回収収納させ、かつ、機体から硬貨収納カセットが取り外されているときには、入金承認時に入金承認硬貨のうち金種別硬貨収納投出装置へ送る必要のない入金オーバーフロー硬貨を切換手段を通じて入金オーバーフロー硬貨収納部へ収納させる制御部と
を具備していることを特徴とする循環式硬貨入出金機。
It accepts incoming coins inserted from the operator of the aircraft and identifies the denomination, and accepts coins that can be used for dispensing. In a circulating coin depositing and dispensing machine having a replenishment transport system for sending to a coin-type coin storing and dispensing device and a dispensing transport system for transporting a dispensed coin ejected from the coin-type coin storing and dispensing device to an operator side,
It has a coin storage unit that is detachably attached to the body and has an openable coin discharge port that discharges all coins, and can receive coins in a coin storage unit where all coins are discharged and the coin discharge port is closed. A coin storage cassette,
Conveyor means for receiving all the coins discharged from the coin storage section of the coin storage cassette in its entirety and sending the received coins to the replenishment transport system;
When the coin storage cassette has been removed from the machine, a coin overflow cassette that does not need to be sent to the denomination coin storage and dispensing device among the coins approved at the time of payment approval is stored, and the coin housing cassette is mounted on the machine. A deposit overflow coin storage unit that discharges all stored coins to the conveyor means after the
Switching means for switching and storing a deposit overflow coin which does not need to be sent to the denomination coin storage / dispensing device among the deposit approved coins at the time of deposit approval, to one of the coin storage section of the coin storage cassette and the deposit overflow coin storage section,
When the coin storage cassette is mounted on the machine body, coins discharged in full from the coin storage cassette are replenished to the denomination coin storage and ejection device through the replenishment transport system, and replenishment to the denomination coin storage and ejection device is performed. Unnecessary coins are collected and stored in the coin storage section of the coin storage cassette through the switching means, and when the coin storage cassette has been removed from the machine, when the deposit is approved, the coins approved for deposit are transferred to the denomination coin storage and ejection device. A control unit for storing a deposit overflow coin that does not need to be sent to a deposit overflow coin storage unit through a switching unit.
制御部は、機体から硬貨収納カセットが取り外されているときには、入金承認時に入金承認硬貨のうち金種別硬貨収納投出装置へ送る必要のない入金オーバーフロー硬貨を切換手段を通じて入金オーバーフロー硬貨収納部へ収納させ、補充時に入金オーバーフロー硬貨収納部の硬貨を搬送コンベヤ手段へ全量放出させて補充搬送系を通じて金種別硬貨収納投出装置へ補充させるとともに、金種別硬貨収納投出装置への補充の必要がない硬貨を切換手段を通じて入金オーバーフロー硬貨収納部へ回収収納させる
ことを特徴とする請求項1記載の循環式硬貨入出金機。
When the coin storage cassette has been removed from the machine, the control unit stores, in the deposit overflow coin storage unit, the deposit overflow coins which do not need to be sent to the denomination coin storage and dispensing device among the deposit approved coins at the time of deposit approval. At the time of replenishment, all of the coins in the deposit overflow coin storage unit are discharged to the conveyor means and replenished to the denomination coin storage and ejection device through the replenishment transport system, and there is no need to replenish the denomination coin storage and ejection device. 2. The circulation type coin receiving and dispensing machine according to claim 1, wherein the coins are collected and stored in a deposit overflow coin storing section through a switching means.
機体の操作者側から投入される入金硬貨を受け入れて金種識別し、入金正規硬貨は入金一時保留装置に一時保留し、入金承認時に出金に使用可能な硬貨は金種別硬貨収納投出装置へ送る入金搬送系と、補充硬貨を受け入れて金種識別し金種別硬貨収納投出装置へ送る補充搬送系と、金種別硬貨収納投出装置から投出される出金硬貨を操作者側へ搬送する出金搬送系とを有する循環式硬貨入出金機において、
前記機体に着脱可能に装着され、硬貨を全量放出する開閉可能な硬貨放出口を有する硬貨収納部を備え、硬貨が全量放出されて硬貨放出口が閉塞された硬貨収納部に対し硬貨を受収可能とする硬貨収納カセットと、
この硬貨収納カセットの硬貨収納部から全量放出された硬貨を全量受収するとともに全量受収した硬貨を補充搬送系へ送り、入金搬送系を通じた入金送り込み時に入金一時保留装置に一時保留可能な一時保留量を超える入金正規硬貨を入金オーバーフロー硬貨として受収するとともに入金承認時に硬貨を収納する入金搬送系へ送る搬送コンベヤ手段と、
前記機体から硬貨収納カセットが取り外されているときに入金承認時の入金承認硬貨のうち金種別硬貨収納投出装置へ送る必要のない入金オーバーフロー硬貨を収納するとともに、機体に硬貨収納カセットが装着された後に収納硬貨を搬送コンベヤ手段へ全量放出する入金オーバーフロー硬貨収納部と、
入金承認時に入金承認硬貨のうち金種別硬貨収納投出装置へ送る必要のない入金オーバーフロー硬貨を硬貨収納カセットの硬貨収納部と入金オーバーフロー硬貨収納部とのいずれかへ切り換え収納させる切換手段と、
前記機体に硬貨収納カセットが装着されているときには、硬貨収納カセットから全量放出された硬貨を補充搬送系を通じて金種別硬貨収納投出装置へ補充させるとともに、金種別硬貨収納投出装置への補充の必要がない硬貨を切換手段を通じて硬貨収納カセットの硬貨収納部へ回収収納させ、入金送り込み時に搬送コンベヤ手段に一時保留された入金オーバーフロー硬貨を入金承認時に硬貨を収納する入金搬送系を通じて硬貨収納カセットの硬貨収納部へ回収収納させ、かつ、機体から硬貨収納カセットが取り外されているときには、入金送り込み時に搬送コンベヤ手段に一時保留された入金オーバーフロー硬貨を入金承認時に切換手段を通じて入金オーバーフロー硬貨収納部へ収納させる制御部と
を具備していることを特徴とする循環式硬貨入出金機。
Deposited coins received from the operator of the aircraft are accepted and denominations are identified.Deposited coins are temporarily held in a deposit holding device, and coins that can be used for dispensing at the time of deposit approval are denominated coin storage and ejection devices. A transfer system for receiving money, a replenishment system that accepts replenished coins, identifies the denomination, sends it to the coin storage and dispensing device by denomination, and conveys dispensed coins ejected from the coin storage and dispensing device by denomination to the operator side In a circulating coin dispensing and dispensing machine having a dispensing and conveying system,
It has a coin storage unit that is detachably attached to the body and has an openable coin discharge port that discharges all coins, and can receive coins in a coin storage unit where all coins are discharged and the coin discharge port is closed. A coin storage cassette,
A temporary holding amount capable of receiving all the coins discharged from the coin storage section of the coin storage cassette in its entirety, sending the received coins to the replenishment transfer system, and temporarily storing the coins in the deposit hold device at the time of deposit transfer through the deposit transfer system. Conveyor means for receiving a regular coin exceeding the number of deposits as a deposit overflow coin and sending it to a deposit transfer system for storing coins when deposit is approved,
When the coin storage cassette has been removed from the machine, a coin overflow cassette that does not need to be sent to the denomination coin storage and dispensing device among the coins approved at the time of payment approval is stored, and the coin housing cassette is mounted on the machine. A deposit overflow coin storage unit that discharges all stored coins to the conveyor means after the
Switching means for switching and storing a deposit overflow coin which does not need to be sent to the denomination coin storage / dispensing device among the deposit approved coins at the time of deposit approval, to one of the coin storage section of the coin storage cassette and the deposit overflow coin storage section,
When the coin storage cassette is mounted on the machine body, coins discharged in full from the coin storage cassette are replenished to the denomination coin storage and ejection device through the replenishment transport system, and replenishment to the denomination coin storage and ejection device is performed. Unnecessary coins are collected and stored in the coin storage section of the coin storage cassette through the switching means, and the deposit overflow coins temporarily held in the transport conveyor means at the time of deposit transfer are stored in the coin storage cassette through the deposit transfer system for storing coins at the time of approval of deposit. When the coin storage cassette is removed from the machine and the coin storage cassette has been removed from the machine, the deposit overflow coins temporarily stored in the conveyor means at the time of deposit transfer are stored in the deposit overflow coin compartment through the switching means when deposit is approved. And a controller for controlling the circulation type. Depositing and dispensing machine.
搬送コンベヤ手段は、入金非承認時に入金一時保留装置から送り出される入金一時保留硬貨を受収するとともに入金一時保留硬貨を操作者側へ返却する入金搬送系へ送る
ことを特徴とする請求項3記載の循環式硬貨入出金機。
4. The transfer conveyor device according to claim 3, wherein the transfer conveyor means receives the deposit temporary holding coin sent from the deposit temporary holding device when the deposit is not approved, and sends the received deposit temporary holding coin to a deposit transfer system for returning the coin to the operator side. Circulating coin depositing and dispensing machine.
硬貨を貯留するとともに1枚ずつ繰り出す硬貨貯留装置、この硬貨貯留装置から1枚ずつ繰り出される硬貨を受け入れて搬送するとともに搬送途中に硬貨を識別する硬貨識別部および硬貨を種類別に分岐する種類別分岐部を有する硬貨通路装置を備え、これら硬貨貯留装置および硬貨通路装置は入金搬送系と補充搬送系とに共用、一部共用、および各搬送系毎に個別のいずれかで設けられ、
切換手段は、硬貨通路装置の硬貨識別部より後流位置に設けられ、入金承認硬貨のうち金種別硬貨収納投出装置へ送る必要のない入金オーバーフロー硬貨を各々分岐する第1の入金オーバーフロー硬貨分岐部および第2の入金オーバーフロー硬貨分岐部を有し、第1の入金オーバーフロー硬貨分岐部で分岐する硬貨は硬貨収納カセットの硬貨収納部へ収納させ、第2の入金オーバーフロー硬貨分岐部で分岐する硬貨は入金オーバーフロー硬貨収納部へ収納させる
ことを特徴とする請求項1ないし4いずれか記載の循環式硬貨入出金機。
A coin storage device for storing coins and paying out coins one by one, a coin discriminating unit for receiving and transporting coins fed one by one from the coin storage device, and identifying coins during the transfer, and branching coins by type. Comprising a coin passage device having a portion, these coin storage device and coin passage device are shared by the deposit transfer system and the replenishment transfer system, partially shared, and provided individually for each transfer system,
The switching means is provided at a position downstream of the coin discriminating portion of the coin passage device, and is a first deposit overflow coin branch for branching deposit overflow coins which do not need to be sent to the denomination coin storage and ejection device among the deposit approved coins. Coin having a second deposit overflow coin branch portion and coins branching at the first deposit overflow coin branch portion are stored in the coin storage portion of the coin storage cassette, and coins branching at the second deposit overflow coin branch portion. The circulation coin depositing and dispensing machine according to any one of claims 1 to 4, wherein the coins are stored in a deposit overflow coin storing section.
入金搬送系と補充搬送系、入金搬送系と出金搬送系、入金搬送系と補充搬送系と出金搬送系のいずれかは、硬貨を貯留するとともに貯留した硬貨を1枚ずつ繰り出す硬貨貯留装置、この硬貨貯留装置により1枚ずつ繰り出される硬貨を搬送するとともに搬送途中に硬貨を識別する硬貨識別部および硬貨を種類別に分岐する種類別分岐部を有する硬貨通路装置を共用し、硬貨貯留装置に搬送コンベヤ手段から硬貨を送る
ことを特徴とする請求項1ないし4いずれか記載の循環式硬貨入出金機。
One of the deposit transport system and the replenishment transport system, the deposit transport system and the dispensing transport system, and the deposit transport system, the replenishment transport system, and the withdrawal transport system store coins and feed out the stored coins one by one. The coin storage device shares a coin passage unit having a coin identification unit for identifying coins and a type-specific branching unit for branching coins according to type while conveying coins being fed one by one by the coin storage device. The circulation type coin receiving and dispensing machine according to any one of claims 1 to 4, wherein coins are sent from a conveyor means.
硬貨収納カセットの硬貨収納部の硬貨を全量放出する全量放出手段を備え、この全量放出手段は、硬貨収納部の底部に設けられ硬貨を自重で硬貨放出口から放出させる傾斜底面と、硬貨放出口を開閉する開閉板とを有する
ことを特徴とする請求項1ないし6いずれか記載の循環式硬貨入出金機。
The coin storage unit of the coin storage cassette is provided with a total amount discharging means for discharging the entire amount of coins, the full amount discharging means is provided at the bottom of the coin storage unit and discharges coins by their own weight from the coin discharge port, and a coin discharge port. The circulation coin receiving and dispensing machine according to any one of claims 1 to 6, further comprising an opening and closing plate for opening and closing the coin.
機体に装着された硬貨収納カセットの硬貨収納部から全量放出される硬貨を機体内に受け入れる硬貨受入口を備えるとともに、
前記機体に装着された硬貨収納カセットの硬貨収納部の硬貨を全量放出させる全量放出手段を備え、この全量放出手段は、硬貨収納部の底部に設けられ硬貨を自重で硬貨放出口から放出させる傾斜底面と、硬貨収納部の硬貨放出口を開閉する第1の開閉板と、前記機体側の硬貨受入口を開閉する第2の開閉板とを有する
ことを特徴とする請求項1ないし6いずれか記載の循環式硬貨入出金機。
A coin receiving slot is provided for receiving into the body all coins released from the coin storage section of the coin storage cassette mounted on the body,
The coin storage unit of the coin storage cassette mounted on the body includes a full amount discharging means for discharging all the coins in the coin storage unit, and the full amount discharging means is provided at the bottom of the coin storage unit and discharges coins by their own weight from a coin discharge opening. 7. The apparatus according to claim 1, further comprising a bottom surface, a first opening / closing plate for opening / closing a coin outlet of a coin storage unit, and a second opening / closing plate for opening / closing a coin receiving opening on the body side. Circulating coin depositing and dispensing machine as described.
JP2003130771A2003-05-082003-05-08Circulating coin depositing and dispensing machinePendingJP2004334597A (en)

Priority Applications (1)

Application NumberPriority DateFiling DateTitle
JP2003130771AJP2004334597A (en)2003-05-082003-05-08Circulating coin depositing and dispensing machine

Applications Claiming Priority (1)

Application NumberPriority DateFiling DateTitle
JP2003130771AJP2004334597A (en)2003-05-082003-05-08Circulating coin depositing and dispensing machine

Related Child Applications (1)

Application NumberTitlePriority DateFiling Date
JP2009108302ADivisionJP4956580B2 (en)2009-04-272009-04-27 Circulating coin deposit and withdrawal machine

Publications (1)

Publication NumberPublication Date
JP2004334597Atrue JP2004334597A (en)2004-11-25

Family

ID=33506180

Family Applications (1)

Application NumberTitlePriority DateFiling Date
JP2003130771APendingJP2004334597A (en)2003-05-082003-05-08Circulating coin depositing and dispensing machine

Country Status (1)

CountryLink
JP (1)JP2004334597A (en)

Cited By (7)

* Cited by examiner, † Cited by third party
Publication numberPriority datePublication dateAssigneeTitle
JP2006209344A (en)*2005-01-262006-08-10Glory LtdCirculation type coin depositing/dispensing machine
WO2008024043A1 (en)*2006-08-252008-02-28Scan Coin Industries AbA coin dispensing apparatus and a coin deposit and dispensing apparatus
WO2008032350A1 (en)2006-09-112008-03-20Glory Ltd.Coin receiving and ejecting device
WO2008120344A1 (en)2007-03-292008-10-09Glory Ltd.Coin throwing device and coin processing machine
JP2011108120A (en)*2009-11-192011-06-02Oki Electric Industry Co LtdCoin storage cassette and coin processor
US8157162B2 (en)2005-11-112012-04-17Scan Coin AbCash deposit apparatus and associated methods and devices
EP3319053A1 (en)*2016-11-032018-05-09NGZ Geldzählmaschinengesellschaft mbH & Co. KGCoin sorting machine and method for sorting coins

Cited By (11)

* Cited by examiner, † Cited by third party
Publication numberPriority datePublication dateAssigneeTitle
JP2006209344A (en)*2005-01-262006-08-10Glory LtdCirculation type coin depositing/dispensing machine
US8157162B2 (en)2005-11-112012-04-17Scan Coin AbCash deposit apparatus and associated methods and devices
WO2008024043A1 (en)*2006-08-252008-02-28Scan Coin Industries AbA coin dispensing apparatus and a coin deposit and dispensing apparatus
US8109379B2 (en)2006-08-252012-02-07Scan Coin AbCoin deposit and dispensing apparatus
WO2008032350A1 (en)2006-09-112008-03-20Glory Ltd.Coin receiving and ejecting device
EP2063401A4 (en)*2006-09-112010-08-25Glory Kogyo KkCoin receiving and ejecting device
US8100246B2 (en)2006-09-112012-01-24Glory Ltd.Coin accommodating and dispensing device
WO2008120344A1 (en)2007-03-292008-10-09Glory Ltd.Coin throwing device and coin processing machine
US8216032B2 (en)2007-03-292012-07-10Glory Ltd.Coin dispensing device and coin processing machine
JP2011108120A (en)*2009-11-192011-06-02Oki Electric Industry Co LtdCoin storage cassette and coin processor
EP3319053A1 (en)*2016-11-032018-05-09NGZ Geldzählmaschinengesellschaft mbH & Co. KGCoin sorting machine and method for sorting coins

Similar Documents

PublicationPublication DateTitle
JP4956580B2 (en) Circulating coin deposit and withdrawal machine
JP4336519B2 (en) Circulating coin deposit and withdrawal machine
JP2004334597A (en)Circulating coin depositing and dispensing machine
JP4284100B2 (en) Scrutinization processing equipment for circulating coin depositing and dispensing machine
JP2000207606A (en)Circulating coin reception/payment machine
JP2004341789A (en)Circulation type coin depositing/dispensing machine
JPH10255104A (en)Transaction port device for coin receiving and dispensing machine
JP3499702B2 (en) Coin depositing and dispensing machine
JP4234855B2 (en) Coin handling machine
JP4284101B2 (en) Recycling processing equipment for circulating coin depositing and dispensing machine
JP4815131B2 (en) Coin deposit device
JP2004326540A (en)Circulation-type coin-depositing and dispensing machine
JPH10228556A (en)Coin carrier device and residual coin or the like carrier device of coin receiving processing machine
JP4764020B2 (en) Coin processing apparatus and coin processing method
JP2807647B2 (en) Circulating coin depositing and dispensing machine
JP3214841B2 (en) Circulating coin depositing and dispensing machine
JP2004341636A (en)Circulation type coin paying and receiving machine
JP3774289B2 (en) Coin deposit and withdrawal machine
JP2003157460A (en)Coin processing machine
JP3086681B2 (en) Coin processing equipment
JP2807645B2 (en) Circulating coin depositing and dispensing machine
JP3384747B2 (en) Circulating coin depositing and dispensing machine
JPH08212412A (en)Returning and collecting device for remaining coin etc., of coin reception and payment processing machine
JP2006209345A (en)Circulation type coin depositing/dispensing machine
JP2001126110A (en)Coin receiving opening device

Legal Events

DateCodeTitleDescription
A621Written request for application examination

Free format text:JAPANESE INTERMEDIATE CODE: A621

Effective date:20060315

A977Report on retrieval

Free format text:JAPANESE INTERMEDIATE CODE: A971007

Effective date:20090220

A131Notification of reasons for refusal

Free format text:JAPANESE INTERMEDIATE CODE: A131

Effective date:20090225

A02Decision of refusal

Free format text:JAPANESE INTERMEDIATE CODE: A02

Effective date:20090701


[8]ページ先頭

©2009-2025 Movatter.jp