





【0001】
【発明の属する技術分野】
本発明は、一般家庭などにおけるガス配管に取り付けられて、ガスの流量を計測するガスメータに関する。
【0002】
【従来の技術】
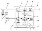
図1はガス配管とガスメータの構成を示すブロック図である。
ガス配管は遮断弁8を境界としてガスの供給側配管14と2次側配管15に分けられ、遮断弁8に次いでガス計量センサ10および圧力センサ9が設置されている。2次側配管15にはガス器具13が接続されている。
遮断弁8、圧力センサ9、ガス計量センサ10はガスメータ1の構成部品である。ガスメータ1は他に、これらセンサが発信するガスの圧力信号や流量信号を入力回路4、6を介して受け、これらを処理し適切な制御信号を出力するマイクロプロッセッサ3および遮断弁8を制御する出力回路5を有するコントローラ2で構成されている。
【0003】
マイクロプロッセッサ3は、上記センサの他にもガス漏れ警報器12や感振器11などからのセンサ信号も適宜入力回路4を介して受け、それらを処理でき、プログラムされた判断基準に従って、出力信号を出力回路5に出力し、遮断弁8を制御できる。マイクロプロッセッサ3には処理、判断、出力などのソフトウェアが組み込まれている。
ガス計量センサ10は単位体積毎に流量パルスを発信し、この流量パルスをコントローラは検出している。例えば、マイクロプロッセッサ3がガス計量センサ10からの流量信号を異常な流量と判断した場合には、出力回路5を通じて遮断弁8の閉栓指令を出力し、2次側へのガスの供給を停止する、などの保安機能をガスメータ1は有している。
【0004】
このような遮断弁の閉栓状態から、通常にガスを使用できるようにするときには、先ず遮断弁を開栓し、ガス計量センサ10の信号を調べる。開栓時から、所定の一定時間内に流量が無ければ、2次側に接続しているガス器具の栓が閉じていると判断して、開栓を保持しガスを通常に使用できるようにしている。一定時間内に流量があれば、ガス器具の立ち消えたままの状態すなわちガス器具から生ガスが漏れる危険性があると判断して、遮断弁を閉栓する。
また、市場で多数を占めている遮断弁は、コントローラからの信号で一度閉栓すると、ばねの力で閉栓状態を保持し、遮断弁を開栓する場合にはガスメータ前面にガスの流路とはシールされている復帰棒を操作することにより、閉栓状態から開栓状態にする必要がある。
【0005】
ガスメータに内蔵するコントローラには試験的に遮断弁を閉栓するための機能を実現するための入力手段にリードスイッチ7を備えており、このリードスイッチ7を磁石によってオンすることで、コントローラは遮断弁を閉栓する。遮断弁はコントローラからの出力で一度閉栓すると、ばねの力で閉栓状態を保持するようになっている。また、遮断弁を開栓する場合はガスメータ前面にガスの流路とはシールされている復帰棒を操作することにより、閉栓状態から開栓状態にする遮断弁を使用している この復帰棒操作を一般的に「復帰」と称しており、コントローラは復帰時に遮断弁のプランジャーが動作することによりのコイルから発生する電圧を監視し、遮断弁が開栓状態になったことを検出している。これを以下のガスメータのフローチャートでは復帰入力と称することにする。
【0006】
図6は従来のガスメータの動作のフローチャートである。
ステップS33(以下ステップは省略する)の遮断弁閉栓の遮断状態からS34の復帰入力すなわち遮断弁を開栓した後、S35で圧力の回復を判定する。S35で2次側の圧力が回復していれば、S36、S37で定められた一定時間流量パルスがないことを確認してS33の漏れ検査を終了している。すなわちS36、S37の処理にてガス器具の栓が閉じていることを確認してガスを通常に使用できる状態としている。
S35で圧力が回復していなければ、S38の遮断弁の開栓から、例えば、3分間を計測してそれでも圧力が回復しなければ、S39の遮断弁を閉栓して、遮断状態としていた。
【0007】
このように開栓直後はガス器具の栓を止めていても、2次側のガス管の配管容量があるため、2次側の配管容量分、ガスが流れるため、コントローラは圧力が回復するまでのコントローラへ入力される流量信号は異常流量として判断しないようになっている。
さらに、需要家毎に様々な2次配管容量の全てに対応するため、推定できる最大の配管長を想定してその最大の配管容量をもとに、開栓時の圧力の回復までの時間を供給能力も勘案して、例えば3分間と一意に決定し、開栓後3分経過後まで圧力が回復しなければ、コントローラは異常と判断し、遮断状態にするという方法を取っていた。
【0008】
また、供給側の異常によりガスが供給できなくなった場合には、圧力は低下しているが、コントローラは、この圧力低下を圧力センサからの信号により検出できるようになっている。
この圧力低下の状態でもガスが使われていなければ、すなわちコントローラが流量信号を検出しなければ、遮断弁を閉栓することはしないが、流量があった場合はガスの供給能力ないときのガス器具の使用としてガス器具からの生ガスの大気中への放出を懸念し、コントローラは遮断弁を閉栓するようになっている。しかしこの場合でも同様に、供給異常が解除されてガスの供給が可能となったときに2次側配管の配管容量分ガスが流れることを勘案して、コントローラは圧力の回復判定中の流量を2次側配管のガス充填として異常な流量とは判断せず、遮断しない動作となっている。
【0009】
【特許文献1】
特開平8−278170(第3−4頁、第1図)
【特許文献2】
特開平8−278171(第3−4頁、第1図)
【0010】
【発明が解決しようとする課題】
上記のように、ガスを使用できるように遮断弁を開栓する場合、ガス器具の使用状態での開栓を防止するために流量の一定時間ないことを判断しているが、2次側のガス管の配管容量があり、配管にガスを充填するガスが流れるため、圧力回復を待ってから一定時間、流量検出することでガス器具の漏れ検査を実施している。
しかし、圧力回復には2次側の配管容量が各需要家の配管の布設状況にもより異なることから、圧力回復までの時間を勘案できる最大の配管容量と、様々に異なる供給能力からその最大時間を類推し、例えば3分間と一意に決めていた。
【0011】
この場合、配管容量の小さな需要家であっても圧力回復までは前述の最大の配管容量に合わせた圧力回復の時間が適用されるため、遮断弁を開栓した場合、実際の配管容量からすれば、圧力回復までの時間は短いのにも関わらず、コントローラは前述の最大の配管容量に合わせた圧力回復の時間までは遮断弁を閉栓しないため、ガス器具の開栓状態になっていた場合、その時間ガス器具から大気中に生ガスを放出することになる。供給側のガス供給能力が無くなった後の回復時も同様なことが起こりうる。
このような問題に対して、ガスメータに供給ガス圧変動装置を付加し、二次配管側に供給ガス圧を容量を推定する方法が提案されている(特開平7−27591)。しかし、この提案では、対象ガス器具はガバナ付のものに限られており、ガバナを持たないガス器具には適用できない。供給ガス圧変動装置を付加するためコストアップとなる。
【0012】
本発明の目的は、各需要家の様々に異なる布設配管の条件に自由に対応でき、またガバナを持たないガス器具に対しても、安全にがス供給開始のできるガスメータを提供することにある。
【0013】
【課題を解決するための手段】
本発明の目的を達成するために、少なくとも、ガス供給側配管と2次側の配管との間に配置される遮断弁、遮断弁の2次側配管に設置された流量センサおよび圧力センサを有し、ガスメータの計量センサより発信された流量信号を計測し、異常な流量が流れたときには遮断弁を閉栓するコントローラを有するガスメータにおいて、前記コントローラには、試験的に遮断弁を閉栓してガス回路を遮断した後、遮断弁を開栓し、圧力の回復までに要した圧回復時間および圧回復流量を計測することにより、2次側の配管容量を推定し、圧回復時間、圧回復流量および2次側の配管容量を記憶する機能がソフトウェアとして組み込まれていることとする。
【0014】
前記コントローラには、流量センサによる異常流量あるいは外部センサからの入力信号に従って遮断弁が閉栓された後、遮断弁を開栓したときに、圧力が回復するまでの時間が、前記圧回復時間と所定の余裕時間の和の時間以上であれば、遮断弁を閉栓してガス使用を禁止する機能がソフトウェアとして組み込まれていると良い。
前記コントローラは、流量センサによる異常流量あるいは外部センサからの入力信号により、遮断弁が閉栓された後、遮断弁を開栓したときに、圧力が回復するまでの時間内に、前記圧回復流量と所定の余裕流量の和の流量以上のガスの流量信号を計測した場合には遮断弁を閉栓してガス使用を禁止する機能がソフトウェアとして組み込まれていると良い。
【0015】
前記コントローラは、供給側の異常によりガスが供給できなくなった状態から供給が可能になる、すなわち供給側の圧力が復圧していく過程において、圧力が回復するまでの時間内に、前記圧回復流量と所定の余裕流量の和の流量以上のガスの流量を計測した場合、遮断弁を閉栓する機能機能がソフトウェアとして組み込まれていると良い。
本発明によれば、2次側の配管容量を推定し、圧回復時間、圧回復流量および2次側の配管容量を記憶することができるので、ガス配管の異常を検出することにこれらのデータを用いることができる。
【0016】
さらに、遮断弁を開栓したときに、圧力が回復するまでの時間が、前記圧回復時間と所定の余裕時間の和の時間以上であれば、遮断弁を閉栓してガス使用を禁止するので、従来より高い確度でガス配管の安全が維持できる。
同様に、遮断弁が閉栓された後、遮断弁を開栓したときに、圧力が回復するまでの時間内に、前記圧回復流量と所定の余裕流量の和の流量以上のガスの流量信号を計測した場合には遮断弁を閉栓してガス使用を禁止するので、ガバナを持たないガス器具に対しても、従来より高い確度でガス配管の安全が維持できる。
また、これらの機能向上はソフトウェア組み込みのみでなされるので、ガスメータの体積は増加せず、またコストは低く抑えられる。
【0017】
【発明の実施の形態】
以下、実施例に従って本発明を詳細に説明する。
実施例1
ガスメータはガスが流れる単位体積毎に流量パルスを発信し、この流量パルスをコントローラは検出して、例えば一定時間内に規定の流量パルスがあった場合に異常なガスの使われ方、すなわち異常流量検出として遮断弁に閉栓指令を出し、遮断弁を閉栓する。
2次側配管にガスが無い状態からガスメータ内の遮断弁を開栓する場合、2次側配管内の圧力は上昇し供給側の圧力に達して、一定値となる。図2は遮断弁の開栓後の2次側配管内の圧力の時間経過を示すグラフである。曲線の符号は2次側配管容量すなわち10、20および30リットルに対応している。遮断弁を開栓したときに供給側の供給能力が同等であれば、2次側配管容量が小さい方が早い時間で圧力が上昇する。ある一定の圧力までに供給側から2次側に流れる流量は供給側、2次側の初期圧力条件および配管容量が同じであれば、常に一定である。
【0018】
本発明に係るガスメータの使用に当たっては、配管布設後、コントローラに2次側の配管容量を記憶することを初めに実施する。図3は本発明に係るガスメータの配管容量計測時等におけるフローチャートである。
まず、このリードスイッチ入力をS2、S3に示すように連続で入力した後の遮断弁の開栓時に2次側の配管容量を記憶するようにコントローラにソフトウエアを組み込む。
その後、ガスメータの設置作業者はS4にて遮断弁が閉じられた状態においてガス器具を開栓するなどして一時的に2次側のガス圧を無くし、2次側配管内の圧力を大気圧と同じとする。
【0019】
この後、遮断弁を開栓する。コントローラは遮断弁開栓時に遮断弁のプランジャーが動作することにより、コイルから発生する電圧を監視し、遮断弁が開栓状態になったことを検出し、復帰入力を判定できるようになっている。
S5にて復帰入力を判定したコントローラはS6、S7、S8にて圧力回復するまでの時間t0とS8の圧力回復するまでに流れたガスの流量パルス数n0を計測し、圧力回復後に従来例と同等のS9、S10にて一定時間、流量パルスが無ければ、ガス器具からの漏れがないと判断し、通常にガスが使用できる状態とする。このときS11にて先に計測したt0とn0を登録する。
【0020】
一方、S9、S10にて一定時間内に流量パルスがあった場合には、S13にてガス器具からの漏れがあったとして遮断弁を閉栓し遮断状態とするが、この場合はガス器具からの漏れがあるので、計測した時間t0および流量パルス数n0は2次側配管容量の計測とは異なるのでS14にて計測したt0、n0を破棄し、登録は行わない。S13の遮断によって設置作業者はt0、n0の登録は失敗と判断できるので、点検整備を行い同手順で、登録を試みる。
実施例2
登録後は、例えば異常流量検出して遮断弁に閉栓指令を出し、遮断状態となってから遮断弁を開栓する場合に、図3のフローチャートにて記憶した圧力回復するまでの時間t0と圧力回復するまでに流れたガスの流量パルス数n0を基準に開栓後の漏れ検査を実施する。図4は本発明に係るガスメータの漏れ検査におけるフローチャートである。
【0021】
遮断状態から遮断弁を開栓した後(S16、S17)、S22の圧力回復するまでの時間t0に計量機能の分解能・および時間計測の誤差等を勘案した余裕時間t1を加えたt0+t1の時間をS20とS21で計測し、S18で流れた流量を計測する。また、t0+t1時間内に、先に圧力回復までに要した流量パルスn0と計量機能の分解能・および計量の誤差等を勘案した余裕流量n1を加えたn0+n1以上、流量パルスがあるか否かをS19で判定し、流量パルスがあった場合には2次側に接続されたガス器具の栓が閉まってないとして、漏れ有りと判断してS25で遮断弁を閉栓する。
【0022】
また、S20の時間計測により、遮断弁の開栓からt0+t1時間内を経過したかをS21で判断し、この時間までに圧力が回復してなければ、前述同等漏れ有りとしてS25で遮断弁を閉栓し、遮断状態とする。
実施例3
供給側にガスの供給能力が無くなった後、供給能力が戻る場合である。
図5は本発明に係るガスメータの供給側の供給能力が戻る場合のフローチャートである。
ガスの供給能力が無くなるとS27に示す圧力低下状態となる。これはガスメータ内の圧力センサの信号をコントローラが検出することで判断できることになっている。
【0023】
コントローラは圧力低下状態になった時点から圧力回復(S30)までの流量パルスをS28にて計測し、計測した流量パルスが前述したn0+n1以上となった場合(S29)、2次側の配管容量以上の流量が流れた、すなわちガス供給能力が無くなったS27の状態以降にガス器具が使われ、その後に供給側圧力が回復して開栓したままのガス器具より生ガスが大気中に放出されるとして、S31にて遮断弁を閉栓し遮断状態とする。
S28にて計測した流量パルスがn0+n1以下で、S30の圧力の回復を検知できた場合はガスの供給が正常に復旧したとして、S32圧力低下監視状態を終了する、すなわち通常にガスが使用できる状態とする。
【0024】
【発明の効果】
本発明によれば、ガスメータの計量センサより発信された流量信号を計測し、異常な流量が流れたときには遮断弁を閉栓するコントローラを有するガスメータにおいて、コントローラに、試験的に遮断弁を閉栓してガス回路を遮断した後、遮断弁を開栓し、圧力の回復までに要した圧回復時間および圧回復流量を計測することにより、2次側の配管容量を推定し、圧回復時間、圧回復流量および2次側の配管容量を記憶する機能をソフトウェアとして組み込んだために、閉栓状態からの開栓時に、圧力回復までの時間および圧力回復までに流れる流量を監視することができ、需要家毎に配管布設の条件が異なっても適切にガス器具からの漏れを判定することが可能となる。
【0025】
また、本発明は従来の構成を元にソフトウエアにより構築できるのでコストアップもない。
【図面の簡単な説明】
【図1】ガス配管とガスメータの構成を示すブロック図
【図2】遮断弁の開栓後の2次側配管内の圧力の時間経過を示すグラフ
【図3】本発明に係るガスメータの配管容量計測時等におけるフローチャートフ終了
【図4】本発明に係るガスメータの漏れ検査におけるフローチャート
【図5】本発明に係るガスメータの供給側の供給能力が戻る場合のフローチャート
【図6】従来のガスメータの動作のフローチャート
【符号の説明】
1 ガスメータ
2 コントローラ
3 水平部
4 入力回路
5 出力回路
6 流量入力回路
7 リードスイッチ
8 遮断弁
9 圧力センサ
10 ガス計量センサ
11 感震器
12 警報器
13 ガス器具
14 供給側配管
15 2次側配管[0001]
TECHNICAL FIELD OF THE INVENTION
The present invention relates to a gas meter attached to a gas pipe in a general household or the like to measure a gas flow rate.
[0002]
[Prior art]
FIG. 1 is a block diagram showing a configuration of a gas pipe and a gas meter.
The gas pipe is divided into a
The
[0003]
The
The
[0004]
When the gas can be used normally from the closed state of the shut-off valve, the shut-off valve is first opened and the signal of the
Also, shutoff valves, which occupy a large number in the market, once closed by a signal from the controller, maintain the closed state by the force of a spring, and when the shutoff valve is opened, the gas flow path is in front of the gas meter. It is necessary to change from the closed state to the open state by operating the sealed return rod.
[0005]
The controller built in the gas meter is provided with a
[0006]
FIG. 6 is a flowchart of the operation of the conventional gas meter.
After the return input of step S34, that is, opening of the shut-off valve from the shut-off state of shut-off of the shut-off valve in step S33 (hereinafter, step is omitted), it is determined in S35 that the pressure is recovered. If the pressure on the secondary side has recovered in S35, it is confirmed that there is no flow pulse for a certain period of time determined in S36 and S37, and the leak test in S33 has been completed. That is, it is confirmed that the plug of the gas appliance is closed in the processing of S36 and S37, and the gas is put into a state where it can be used normally.
If the pressure has not recovered in S35, for example, three minutes have elapsed since the opening of the shut-off valve in S38, and if the pressure still did not recover, the shut-off valve in S39 was closed to bring it into a shut-off state.
[0007]
In this way, immediately after opening, even if the plug of the gas appliance is stopped, there is a pipe capacity of the secondary gas pipe, and the gas flows by the secondary pipe capacity. Is not determined as an abnormal flow rate.
Furthermore, in order to correspond to all of the various secondary pipe capacities for each customer, assuming the maximum pipe length that can be estimated, based on the maximum pipe capacity, the time until the pressure recovery at the time of plug opening is determined. In consideration of the supply capacity, for example, it is uniquely determined to be, for example, 3 minutes, and if the pressure does not recover until 3 minutes after opening, the controller determines that there is an abnormality and shuts off.
[0008]
When the gas cannot be supplied due to an abnormality on the supply side, the pressure has decreased, but the controller can detect the decrease in the pressure by a signal from the pressure sensor.
If the gas is not used even in this state of pressure drop, that is, if the controller does not detect a flow signal, the shut-off valve will not be closed, but if there is a flow rate, the gas appliance when there is no gas supply capacity The controller is designed to close off the shut-off valve when there is concern about the release of raw gas from the gas appliance into the atmosphere as a use of a gas appliance. However, also in this case, similarly, in consideration of the fact that gas flows by the pipe capacity of the secondary pipe when the supply abnormality is released and the gas can be supplied, the controller determines the flow rate during the pressure recovery determination. The operation is such that the flow rate is not determined to be abnormal as the gas filling of the secondary side pipe and is not interrupted.
[0009]
[Patent Document 1]
JP-A-8-278170 (page 3-4, FIG. 1)
[Patent Document 2]
JP-A-8-278171 (page 3-4, FIG. 1)
[0010]
[Problems to be solved by the invention]
As described above, when opening the shut-off valve so that the gas can be used, it is determined that there is no fixed amount of flow in order to prevent the gas appliance from being opened in the use state. Since there is a pipe capacity of a gas pipe and a gas filling the pipe flows into the pipe, a leak inspection of a gas appliance is performed by detecting a flow rate for a certain time after waiting for pressure recovery.
However, since the pipe capacity on the secondary side differs depending on the laying condition of the pipes of each customer for pressure recovery, the maximum pipe capacity that can take into account the time required for pressure recovery and the various supply capacities differ from the maximum capacity. By estimating the time, for example, it was uniquely determined to be 3 minutes.
[0011]
In this case, even if the customer has a small pipe capacity, the pressure recovery time according to the above-mentioned maximum pipe capacity is applied until pressure recovery, so if the shut-off valve is opened, For example, even though the time to pressure recovery is short, the controller does not close the shut-off valve until the time of pressure recovery according to the maximum piping capacity described above, so the gas appliance is open. At that time, raw gas is released from the gas appliance into the atmosphere. The same can occur during recovery after the gas supply capacity on the supply side has been lost.
To solve such a problem, a method has been proposed in which a supply gas pressure fluctuation device is added to a gas meter to estimate the supply gas pressure capacity on the secondary pipe side (Japanese Patent Application Laid-Open No. 7-27591). However, in this proposal, the target gas appliances are limited to those with a governor, and cannot be applied to gas appliances without a governor. The cost increases because the supply gas pressure fluctuation device is added.
[0012]
SUMMARY OF THE INVENTION An object of the present invention is to provide a gas meter which can freely respond to various conditions of laying piping of each customer and can start supplying gas safely even to a gas appliance having no governor. .
[0013]
[Means for Solving the Problems]
In order to achieve the object of the present invention, at least a shutoff valve arranged between a gas supply side pipe and a secondary side pipe, a flow sensor and a pressure sensor installed in a secondary side pipe of the shutoff valve are provided. A gas meter having a controller that measures a flow signal transmitted from a metering sensor of the gas meter and closes a shutoff valve when an abnormal flow rate flows. After shutting off, the shut-off valve is opened, and the pressure recovery time and the pressure recovery flow required until the pressure recovers are measured to estimate the secondary-side piping capacity, and the pressure recovery time, the pressure recovery flow and It is assumed that the function of storing the secondary pipe capacity is incorporated as software.
[0014]
After the shut-off valve is closed according to the abnormal flow rate by the flow sensor or the input signal from the external sensor, when the shut-off valve is opened, the time until the pressure recovers is determined as the pressure recovery time by the controller. If the time is equal to or greater than the sum of the spare times, the function of closing the shut-off valve and prohibiting the use of gas may be incorporated as software.
After the shut-off valve is closed by the abnormal flow rate by the flow sensor or the input signal from the external sensor, when the shut-off valve is opened, within the time until the pressure is recovered, the controller sets the pressure recovery flow rate and It is preferable that a function of closing the shut-off valve and prohibiting the use of gas when the gas flow signal is equal to or more than the sum of the predetermined marginal flow rates is incorporated as software.
[0015]
The controller is capable of supplying gas from a state in which gas cannot be supplied due to an abnormality on the supply side, that is, in the process of restoring the pressure on the supply side, within the time until the pressure recovers, the pressure recovery flow rate When the gas flow rate is equal to or more than the sum of the predetermined marginal flow rate and the gas flow rate, the function of closing the shut-off valve may be incorporated as software.
According to the present invention, since the secondary pipe capacity can be estimated and the pressure recovery time, the pressure recovery flow rate, and the secondary pipe capacity can be stored, these data can be used for detecting an abnormality in the gas pipe. Can be used.
[0016]
Further, when the time until the pressure recovers when the shut-off valve is opened is equal to or longer than the sum of the pressure recovery time and a predetermined margin time, the shut-off valve is closed to prohibit the use of gas. Thus, the safety of the gas pipe can be maintained with higher accuracy than before.
Similarly, after the shut-off valve is closed, when the shut-off valve is opened, within the time until the pressure recovers, a flow signal of the gas equal to or more than the sum of the pressure recovery flow rate and the predetermined margin flow rate is output. When the measurement is performed, the shut-off valve is closed to prohibit the use of gas, so that the safety of the gas pipe can be maintained with higher accuracy than in the past even for gas appliances without a governor.
Further, since these functions are improved only by incorporating software, the volume of the gas meter does not increase and the cost can be kept low.
[0017]
BEST MODE FOR CARRYING OUT THE INVENTION
Hereinafter, the present invention will be described in detail with reference to examples.
Example 1
The gas meter emits a flow pulse for each unit volume of gas flow, and the controller detects this flow pulse.For example, if there is a specified flow pulse within a certain time, the abnormal gas is used, that is, the abnormal flow rate As detection, a closing command is issued to the shutoff valve, and the shutoff valve is closed.
When the shut-off valve in the gas meter is opened from a state where there is no gas in the secondary pipe, the pressure in the secondary pipe rises and reaches the pressure on the supply side, and becomes a constant value. FIG. 2 is a graph showing the time course of the pressure in the secondary pipe after the shutoff valve is opened. The signs of the curves correspond to the secondary piping volumes, ie, 10, 20 and 30 liters. If the supply capacity on the supply side is the same when the shut-off valve is opened, the pressure increases faster as the secondary-side piping capacity is smaller. The flow rate flowing from the supply side to the secondary side up to a certain pressure is always constant if the initial pressure conditions and the pipe capacity of the supply side and the secondary side are the same.
[0018]
In using the gas meter according to the present invention, after laying the piping, first storing the secondary-side piping capacity in the controller is performed. FIG. 3 is a flowchart at the time of measuring the pipe capacity of the gas meter according to the present invention.
First, software is installed in the controller so as to store the secondary-side piping capacity when the shut-off valve is opened after the reed switch input is continuously input as shown in S2 and S3.
Thereafter, the gas meter installation worker temporarily removes the gas pressure on the secondary side by opening the gas appliance in a state where the shut-off valve is closed in S4 to reduce the pressure in the secondary side pipe to the atmospheric pressure. And the same as
[0019]
Thereafter, the shutoff valve is opened. The controller monitors the voltage generated from the coil by operating the plunger of the shut-off valve when the shut-off valve is opened, detects that the shut-off valve has been opened, and can determine the return input. I have.
The controller, which has determined the return input in S5, measures the time t0 until the pressure is recovered in S6, S7, and S8 and the number n0 of the flow rate pulses of the gas flowing until the pressure is recovered in S8. If there is no flow pulse for a certain period of time at equivalent S9 and S10, it is determined that there is no leakage from the gas appliance, and the gas is normally used. At this time, the previously measured t0 and n0 are registered in S11.
[0020]
On the other hand, if there is a flow pulse within a certain period of time in S9 and S10, it is determined that there is a leak from the gas appliance in S13, and the shutoff valve is closed to be in the cutoff state. Since there is a leak, the measured time t0 and the flow pulse number n0 are different from the measurement of the secondary-side piping capacity, so that t0 and n0 measured in S14 are discarded and registration is not performed. Since the installation worker can determine that registration of t0 and n0 has failed due to the interruption in S13, the installation worker performs inspection and maintenance and attempts registration in the same procedure.
Example 2
After the registration, for example, when the abnormal flow rate is detected, a closing command is issued to the shut-off valve, and when the shut-off valve is opened after the shut-off state, the time t0 and the pressure until the pressure recovery stored in the flowchart of FIG. A leak test after opening is performed based on the number n0 of flow rate pulses of the gas flowing until recovery. FIG. 4 is a flowchart in the leak test of the gas meter according to the present invention.
[0021]
After opening the shut-off valve from the shut-off state (S16, S17), a time t0 + t1 obtained by adding a margin time t1 in consideration of the resolution of the measuring function and an error in the time measurement to the time t0 until the pressure is recovered in S22. The flow is measured at S20 and S21, and the flow rate at S18 is measured. In step S19, it is determined whether or not there is a flow pulse within the time t0 + t1 which is equal to or more than n0 + n1 obtained by adding the flow rate pulse n0 required before the pressure recovery and the surplus flow rate n1 in consideration of the resolution and the measurement error of the measuring function. If there is a flow pulse, it is determined that the plug of the gas appliance connected to the secondary side is not closed, and it is determined that there is a leak, and the shutoff valve is closed in S25.
[0022]
Also, based on the time measurement in S20, it is determined in S21 whether or not the time t0 + t1 has elapsed since the opening of the shut-off valve. If the pressure has not recovered by this time, it is determined that there is an equivalent leak, and the shut-off valve is closed in S25. And shut off.
Example 3
This is a case where the supply capability returns after the supply capability of the gas is lost on the supply side.
FIG. 5 is a flowchart when the supply capacity of the supply side of the gas meter according to the present invention returns.
When the gas supply capacity is lost, the pressure drops as shown in S27. This can be determined by the controller detecting the signal of the pressure sensor in the gas meter.
[0023]
The controller measures the flow rate pulse from the time when the pressure drops to the pressure recovery state (S30) in S28, and when the measured flow rate pulse becomes n0 + n1 or more (S29), the secondary side piping capacity or more. The gas appliance is used after the state of S27 in which the flow rate of the gas has flown, that is, the gas supply capability has been lost, and thereafter, the raw gas is released into the atmosphere from the gas appliance which is still open after the supply side pressure is restored. In step S31, the shutoff valve is closed to set the shutoff state.
If the flow rate pulse measured in S28 is n0 + n1 or less and the recovery of the pressure in S30 is detected, it is determined that the gas supply has been restored to normal, and the S32 pressure drop monitoring state is ended, that is, the gas can be used normally. And
[0024]
【The invention's effect】
According to the present invention, a gas meter having a controller that measures a flow signal transmitted from a metering sensor of a gas meter and closes a shut-off valve when an abnormal flow rate flows, in the controller, test-closes the shut-off valve. After shutting off the gas circuit, open the shut-off valve, measure the pressure recovery time and pressure recovery flow required until the pressure recovers, estimate the secondary side piping capacity, and recover the pressure recovery time and pressure recovery. Since the function of storing the flow rate and the pipe capacity on the secondary side is incorporated as software, it is possible to monitor the time until the pressure recovery and the flow rate until the pressure recovery at the time of opening from the closed state, and for each customer. Even if the conditions for laying the piping are different, it is possible to appropriately determine the leak from the gas appliance.
[0025]
Further, the present invention can be constructed by software based on the conventional configuration, so that there is no increase in cost.
[Brief description of the drawings]
FIG. 1 is a block diagram showing a configuration of a gas pipe and a gas meter. FIG. 2 is a graph showing a time course of pressure in a secondary pipe after opening of a shutoff valve. FIG. 3 is a pipe capacity of a gas meter according to the present invention. FIG. 4 is a flowchart of a gas meter leakage inspection according to the present invention. FIG. 5 is a flowchart of a gas meter according to the present invention when the supply capacity on the supply side is returned. FIG. 6 is an operation of a conventional gas meter. Flow chart [Explanation of reference numerals]
DESCRIPTION OF
| Application Number | Priority Date | Filing Date | Title |
|---|---|---|---|
| JP2003099107AJP4063124B2 (en) | 2003-04-02 | 2003-04-02 | Gas meter |
| Application Number | Priority Date | Filing Date | Title |
|---|---|---|---|
| JP2003099107AJP4063124B2 (en) | 2003-04-02 | 2003-04-02 | Gas meter |
| Publication Number | Publication Date |
|---|---|
| JP2004309159Atrue JP2004309159A (en) | 2004-11-04 |
| JP4063124B2 JP4063124B2 (en) | 2008-03-19 |
| Application Number | Title | Priority Date | Filing Date |
|---|---|---|---|
| JP2003099107AExpired - Fee RelatedJP4063124B2 (en) | 2003-04-02 | 2003-04-02 | Gas meter |
| Country | Link |
|---|---|
| JP (1) | JP4063124B2 (en) |
| Publication number | Priority date | Publication date | Assignee | Title |
|---|---|---|---|---|
| US8839815B2 (en) | 2011-12-15 | 2014-09-23 | Honeywell International Inc. | Gas valve with electronic cycle counter |
| US8899264B2 (en) | 2011-12-15 | 2014-12-02 | Honeywell International Inc. | Gas valve with electronic proof of closure system |
| US8905063B2 (en) | 2011-12-15 | 2014-12-09 | Honeywell International Inc. | Gas valve with fuel rate monitor |
| US8947242B2 (en) | 2011-12-15 | 2015-02-03 | Honeywell International Inc. | Gas valve with valve leakage test |
| US9074770B2 (en) | 2011-12-15 | 2015-07-07 | Honeywell International Inc. | Gas valve with electronic valve proving system |
| JP2015224978A (en)* | 2014-05-28 | 2015-12-14 | 東京瓦斯株式会社 | Piping capacity estimation device, gas leak inspection device, piping capacity estimation method, and piping capacity estimation program |
| US9234661B2 (en) | 2012-09-15 | 2016-01-12 | Honeywell International Inc. | Burner control system |
| US9557059B2 (en) | 2011-12-15 | 2017-01-31 | Honeywell International Inc | Gas valve with communication link |
| US9645584B2 (en) | 2014-09-17 | 2017-05-09 | Honeywell International Inc. | Gas valve with electronic health monitoring |
| US9683674B2 (en) | 2013-10-29 | 2017-06-20 | Honeywell Technologies Sarl | Regulating device |
| US9835265B2 (en) | 2011-12-15 | 2017-12-05 | Honeywell International Inc. | Valve with actuator diagnostics |
| US9841122B2 (en) | 2014-09-09 | 2017-12-12 | Honeywell International Inc. | Gas valve with electronic valve proving system |
| US9846440B2 (en) | 2011-12-15 | 2017-12-19 | Honeywell International Inc. | Valve controller configured to estimate fuel comsumption |
| US9851103B2 (en) | 2011-12-15 | 2017-12-26 | Honeywell International Inc. | Gas valve with overpressure diagnostics |
| US9995486B2 (en) | 2011-12-15 | 2018-06-12 | Honeywell International Inc. | Gas valve with high/low gas pressure detection |
| US10024439B2 (en) | 2013-12-16 | 2018-07-17 | Honeywell International Inc. | Valve over-travel mechanism |
| US10422531B2 (en) | 2012-09-15 | 2019-09-24 | Honeywell International Inc. | System and approach for controlling a combustion chamber |
| US10503181B2 (en) | 2016-01-13 | 2019-12-10 | Honeywell International Inc. | Pressure regulator |
| US10564062B2 (en) | 2016-10-19 | 2020-02-18 | Honeywell International Inc. | Human-machine interface for gas valve |
| US10697815B2 (en) | 2018-06-09 | 2020-06-30 | Honeywell International Inc. | System and methods for mitigating condensation in a sensor module |
| US11073281B2 (en) | 2017-12-29 | 2021-07-27 | Honeywell International Inc. | Closed-loop programming and control of a combustion appliance |
| Publication number | Priority date | Publication date | Assignee | Title |
|---|---|---|---|---|
| US10851993B2 (en) | 2011-12-15 | 2020-12-01 | Honeywell International Inc. | Gas valve with overpressure diagnostics |
| US10697632B2 (en) | 2011-12-15 | 2020-06-30 | Honeywell International Inc. | Gas valve with communication link |
| US8905063B2 (en) | 2011-12-15 | 2014-12-09 | Honeywell International Inc. | Gas valve with fuel rate monitor |
| US8947242B2 (en) | 2011-12-15 | 2015-02-03 | Honeywell International Inc. | Gas valve with valve leakage test |
| US9074770B2 (en) | 2011-12-15 | 2015-07-07 | Honeywell International Inc. | Gas valve with electronic valve proving system |
| US9995486B2 (en) | 2011-12-15 | 2018-06-12 | Honeywell International Inc. | Gas valve with high/low gas pressure detection |
| US8899264B2 (en) | 2011-12-15 | 2014-12-02 | Honeywell International Inc. | Gas valve with electronic proof of closure system |
| US9851103B2 (en) | 2011-12-15 | 2017-12-26 | Honeywell International Inc. | Gas valve with overpressure diagnostics |
| US8839815B2 (en) | 2011-12-15 | 2014-09-23 | Honeywell International Inc. | Gas valve with electronic cycle counter |
| US9557059B2 (en) | 2011-12-15 | 2017-01-31 | Honeywell International Inc | Gas valve with communication link |
| US9846440B2 (en) | 2011-12-15 | 2017-12-19 | Honeywell International Inc. | Valve controller configured to estimate fuel comsumption |
| US9835265B2 (en) | 2011-12-15 | 2017-12-05 | Honeywell International Inc. | Valve with actuator diagnostics |
| US10422531B2 (en) | 2012-09-15 | 2019-09-24 | Honeywell International Inc. | System and approach for controlling a combustion chamber |
| US9234661B2 (en) | 2012-09-15 | 2016-01-12 | Honeywell International Inc. | Burner control system |
| US9657946B2 (en) | 2012-09-15 | 2017-05-23 | Honeywell International Inc. | Burner control system |
| US11421875B2 (en) | 2012-09-15 | 2022-08-23 | Honeywell International Inc. | Burner control system |
| US10215291B2 (en) | 2013-10-29 | 2019-02-26 | Honeywell International Inc. | Regulating device |
| US9683674B2 (en) | 2013-10-29 | 2017-06-20 | Honeywell Technologies Sarl | Regulating device |
| US10024439B2 (en) | 2013-12-16 | 2018-07-17 | Honeywell International Inc. | Valve over-travel mechanism |
| JP2015224978A (en)* | 2014-05-28 | 2015-12-14 | 東京瓦斯株式会社 | Piping capacity estimation device, gas leak inspection device, piping capacity estimation method, and piping capacity estimation program |
| US9841122B2 (en) | 2014-09-09 | 2017-12-12 | Honeywell International Inc. | Gas valve with electronic valve proving system |
| US10203049B2 (en) | 2014-09-17 | 2019-02-12 | Honeywell International Inc. | Gas valve with electronic health monitoring |
| US9645584B2 (en) | 2014-09-17 | 2017-05-09 | Honeywell International Inc. | Gas valve with electronic health monitoring |
| US10503181B2 (en) | 2016-01-13 | 2019-12-10 | Honeywell International Inc. | Pressure regulator |
| US10564062B2 (en) | 2016-10-19 | 2020-02-18 | Honeywell International Inc. | Human-machine interface for gas valve |
| US11073281B2 (en) | 2017-12-29 | 2021-07-27 | Honeywell International Inc. | Closed-loop programming and control of a combustion appliance |
| US10697815B2 (en) | 2018-06-09 | 2020-06-30 | Honeywell International Inc. | System and methods for mitigating condensation in a sensor module |
| Publication number | Publication date |
|---|---|
| JP4063124B2 (en) | 2008-03-19 |
| Publication | Publication Date | Title |
|---|---|---|
| JP2004309159A (en) | Gas meter | |
| KR100262298B1 (en) | Piping Leak Detection Device | |
| KR970010319B1 (en) | Apparatus for detecting abnormality of gas supply equipment and method for detecting the same | |
| KR101323065B1 (en) | Method for permanently monitoring pressurized piping and line systems | |
| JP2010521625A (en) | Diagnosis method of shut-off valve | |
| US8166999B2 (en) | Gas block device and gas block method | |
| KR20110013768A (en) | Gas tank residual amount detection and gas state inspection device, and method thereof | |
| WO2025078093A1 (en) | Compressed gas supply system, motor vehicle equipped therewith and operating method for it | |
| JP4278722B2 (en) | Gas shut-off device | |
| JP2713066B2 (en) | Gas supply equipment abnormality detector | |
| JPH11316170A (en) | Gas leak detection device | |
| JP2001280693A (en) | Water heater | |
| JP2827811B2 (en) | Gas supply equipment abnormality monitoring device | |
| JP2800376B2 (en) | Gas meter with safety function | |
| JPH02225949A (en) | Method of filling bathtub with hot water in automated bath device | |
| JP2677133B2 (en) | Gas pressure abnormality monitoring device | |
| CN114233502B (en) | A natural gas engine gas proportional valve control method and device | |
| JP3090186B2 (en) | Gas meter with gas leak inspection function | |
| JP4486150B2 (en) | Gas shut-off device | |
| JP2677132B2 (en) | Gas supply equipment abnormality detector | |
| JPS63163100A (en) | Supervesoly device for distribution gas pipe | |
| JP4550381B2 (en) | Gas meter | |
| JP2008111672A (en) | Gas meter | |
| JPH085502A (en) | Gas leak detection device and gas meter having the same | |
| JP3163198B2 (en) | Meter control device |
| Date | Code | Title | Description |
|---|---|---|---|
| A621 | Written request for application examination | Effective date:20050415 Free format text:JAPANESE INTERMEDIATE CODE: A621 | |
| RD02 | Notification of acceptance of power of attorney | Effective date:20060703 Free format text:JAPANESE INTERMEDIATE CODE: A7422 | |
| RD04 | Notification of resignation of power of attorney | Effective date:20060704 Free format text:JAPANESE INTERMEDIATE CODE: A7424 | |
| A977 | Report on retrieval | Effective date:20070621 Free format text:JAPANESE INTERMEDIATE CODE: A971007 | |
| A131 | Notification of reasons for refusal | Free format text:JAPANESE INTERMEDIATE CODE: A131 Effective date:20070703 | |
| A521 | Written amendment | Effective date:20070730 Free format text:JAPANESE INTERMEDIATE CODE: A523 | |
| TRDD | Decision of grant or rejection written | ||
| A01 | Written decision to grant a patent or to grant a registration (utility model) | Effective date:20071211 Free format text:JAPANESE INTERMEDIATE CODE: A01 | |
| A61 | First payment of annual fees (during grant procedure) | Effective date:20071224 Free format text:JAPANESE INTERMEDIATE CODE: A61 | |
| R150 | Certificate of patent (=grant) or registration of utility model | Free format text:JAPANESE INTERMEDIATE CODE: R150 | |
| FPAY | Renewal fee payment (prs date is renewal date of database) | Free format text:PAYMENT UNTIL: 20110111 Year of fee payment:3 | |
| FPAY | Renewal fee payment (prs date is renewal date of database) | Free format text:PAYMENT UNTIL: 20110111 Year of fee payment:3 | |
| S111 | Request for change of ownership or part of ownership | Free format text:JAPANESE INTERMEDIATE CODE: R313111 | |
| FPAY | Renewal fee payment (prs date is renewal date of database) | Free format text:PAYMENT UNTIL: 20110111 Year of fee payment:3 | |
| R350 | Written notification of registration of transfer | Free format text:JAPANESE INTERMEDIATE CODE: R350 | |
| FPAY | Renewal fee payment (prs date is renewal date of database) | Free format text:PAYMENT UNTIL: 20110111 Year of fee payment:3 | |
| S111 | Request for change of ownership or part of ownership | Free format text:JAPANESE INTERMEDIATE CODE: R313113 | |
| FPAY | Renewal fee payment (prs date is renewal date of database) | Year of fee payment:3 Free format text:PAYMENT UNTIL: 20110111 | |
| R350 | Written notification of registration of transfer | Free format text:JAPANESE INTERMEDIATE CODE: R350 | |
| LAPS | Cancellation because of no payment of annual fees |