Movatterモバイル変換


[0]ホーム

URL:


JP2004266886A - Continuous body provided with RFID, method for manufacturing the same, and optical fiber cable using continuous body - Google Patents

Continuous body provided with RFID, method for manufacturing the same, and optical fiber cable using continuous body
Download PDF

Info

Publication number
JP2004266886A
JP2004266886AJP2003033812AJP2003033812AJP2004266886AJP 2004266886 AJP2004266886 AJP 2004266886AJP 2003033812 AJP2003033812 AJP 2003033812AJP 2003033812 AJP2003033812 AJP 2003033812AJP 2004266886 AJP2004266886 AJP 2004266886A
Authority
JP
Japan
Prior art keywords
rfid
tape body
tape
rfids
buffer
Prior art date
Legal status (The legal status is an assumption and is not a legal conclusion. Google has not performed a legal analysis and makes no representation as to the accuracy of the status listed.)
Pending
Application number
JP2003033812A
Other languages
Japanese (ja)
Inventor
Takeshi Honjo
武史 本庄
Kazunaga Kobayashi
和永 小林
Satoru Shiobara
悟 塩原
Osamu Koyasu
修 子安
Takeshi Osato
健 大里
Masashi Hara
昌志 原
Yukiaki Tanaka
志明 田中
Keiji Ohashi
圭二 大橋
Current Assignee (The listed assignees may be inaccurate. Google has not performed a legal analysis and makes no representation or warranty as to the accuracy of the list.)
Fujikura Ltd
Original Assignee
Fujikura Ltd
Priority date (The priority date is an assumption and is not a legal conclusion. Google has not performed a legal analysis and makes no representation as to the accuracy of the date listed.)
Filing date
Publication date
Application filed by Fujikura LtdfiledCriticalFujikura Ltd
Priority to JP2003033812ApriorityCriticalpatent/JP2004266886A/en
Priority to PCT/JP2004/001414prioritypatent/WO2004073129A1/en
Priority to TW93103216Aprioritypatent/TWI234017B/en
Publication of JP2004266886ApublicationCriticalpatent/JP2004266886A/en
Pendinglegal-statusCriticalCurrent

Links

Images

Classifications

Landscapes

Abstract

Translated fromJapanese

【課題】多数のケーブルの中から目的とするケーブルのみを容易にしかも確実に識別でき、しかもケーブルに加わる外力からの悪影響を少なくする。
【解決手段】連長体15は、長尺のテープ体25と、このテープ体25の片面にその長手方向に適宜間隔を介して配列した複数のRFID23と、前記RFID23を外力から保護すべく前記RFID23の付近に貼着し且つ前記RFID23より大きな厚さを有するスペーサ29と、から構成される。RFID23がその付近で前記RFID23より厚いスペーサ29で保護されるので、連長体15の機械的強度が向上し、連長体15に外力が加わっても、スペーサ29が外力を吸収し、RFID23の破損が防止される。この連長体15を縦添えしたケーブルはRFID23により容易に識別される。
【選択図】 図1
An object of the present invention is to easily and reliably identify only a target cable from a large number of cables, and to reduce adverse effects from external force applied to the cables.
A continuous-length body (15) includes a long tape body (25), a plurality of RFIDs (23) arranged on one surface of the tape body (25) at appropriate intervals in the longitudinal direction, and the RFID (23) for protecting the RFID (23) from external force. And a spacer 29 attached to the vicinity of the RFID 23 and having a thickness greater than that of the RFID 23. Since the RFID 23 is protected by the spacer 29 thicker than the RFID 23 in the vicinity thereof, the mechanical strength of the elongated body 15 is improved, and even when an external force is applied to the elongated body 15, the spacer 29 absorbs the external force, and Damage is prevented. The cable to which the elongated body 15 is vertically attached is easily identified by the RFID 23.
[Selection diagram] Fig. 1

Description

Translated fromJapanese

【0001】
【発明の属する技術分野】
この発明は、敷設された多数のケーブルの中から目的とするケーブルのみを容易に識別することを可能とするRFIDを備えた連長体及びその製造方法、並びに連長体を使用した光ファイバケーブルに関する。
【0002】
【従来の技術】
例えば、トラフ内には多数の光ファイバケーブルが敷設されており、2.5〜5km間隔で機器室が設けられており、上記の多数のケーブルは各機器室の接続端子に接続されている。上記の接続端子の各ケーブルの管理及びケーブル撤去時には各ケーブルの識別が確実に行われることが求められる。
【0003】
従来のケーブル識別方法としては、ケーブルの外被表面に識別用印字が施されたり、識別用タグが各ケーブルの終端部に取り付けられるという方法が取られている。上記の識別用印字は、製造者名/製造年月/ケーブル品名/長さ等のケーブル情報が、インクや熱転写、レーザなどでケーブル表面に表示される。識別用タグの場合は、例えば薄い金属板に上述したような項目のケーブル情報を刻印して各ケーブルに貼り付け、あるいは金属線などで吊り下げられている(例えば、特許文献1参照。)。
【0004】
また、他のケーブル識別方法としては、光ケーブルの布設関連情報を2次元QRコード化して印刷されたQRコード印刷紙が光ケーブルの外皮に貼着されている。メンテナンス等の際には、コードリーダーでQRコード印刷紙の上を走査することにより、記録された情報が敷設現場で読み出される。上記のQRコード印刷紙は、バーコード、磁気カード、ICカードに替えて同様に光ケーブルの情報が読み出される(例えば、特許文献2参照。)。
【0005】
【特許文献1】
特開平6−60750号公報([0012]〜[0013]、図1)
【0006】
【特許文献2】
特開2001−21730号公報([0012]〜[0018]、図1)
【0007】
【発明が解決しようとする課題】
ところで、従来のケーブル識別方法においては、ケーブル表面へ識別用印字が施される場合、ケーブルの長手方向に印字されるために、文字数が多くなると、トラフや地中に埋設されたケーブルを長区間露出させないと確認できないという問題点があった。トラフの蓋や土砂を長区間取り除くには、工事コストのアップとなる。そのため、識別用印字の全体の長さは1m以下が望ましくなるが、1m程度に印字できる文字数には限りがあるので、必要な情報を全て記載することは不可能であるという問題点があった。
【0008】
また、識別用印字は、長期間経過したり、擦られたりすると文字が消えてしまうことがあり、判別不能となることが生じるという問題点があった。
【0009】
また、識別用タグを取り付ける方法の場合は、長尺のケーブルに一定間隔で取り付けなければならないので、その数も膨大となり、工費もアップするという問題点があった。
【0010】
また、識別用タグに書き込める文字数にも制限があり、必要な情報を全て記載することは不可能である。また、識別用タグは刻印などで文字を書き込まれるが、識別用印字と同じように長期間経過すると文字がかすれて判別不能となることが生じるという問題点があった。
【0011】
また、QRコード印刷紙、バーコード、磁気カード、ICカードなどが光ケーブルの外皮に貼着されているものは、書き込み情報が少ないことと、長期間経過したり、擦られたりすると識別不能となることが生じるという問題点があった。
【0012】
なお、ケーブルの識別が必要となるのは、張り替えや撒去作業時に多数のケーブルから目的のケーブルを確定するためであるが、識別用印字や識別用タグやQRコード印刷紙、バーコードが不鮮明であったり、同じ内容の表示のケーブルが複数ある場合には、情報確定のために多くの時間がかかってしまうという問題点があった。
【0013】
さらに、もし、間違ったケーブルを切断してしまった場合には、そのケーブルに流れる信号で制御されていた機器の誤作動や情報の停止が発生し、重大な事故になるという問題点があった。
【0014】
この発明は上述の課題を解決するためになされたもので、その目的は、多数のケーブルの中から目的とするケーブルのみを容易にしかも確実に識別でき、しかもケーブルに加わる外力からの悪影響を少なくすることのできるRFIDを備えた連長体及びその製造方法、並びに連長体を使用した光ファイバケーブルを提供することにある。
【0015】
【課題を解決するための手段】
上記目的を達成するために請求項1によるこの発明の連長体は、長尺のテープ体と、このテープ体の片面にその長手方向に適宜間隔を介して配列した複数のRFIDと、このRFIDを外力から保護すべく前記RFIDの付近に貼着し且つ前記RFIDより大きな厚さを有するスペーサと、からなることを特徴とするものである。
【0016】
したがって、RFIDがその付近で前記RFIDより厚いスペーサで保護されているので、連長体の機械的強度が向上し、連長体に外力が加わっても、スペーサが外力を吸収し、RFIDの破損が防止される。
【0017】
請求項2によるこの発明の連長体は、請求項1記載の連長体において、前記スペーサが、前記テープ体の片面に貼着可能な長尺のテープ状をなすと共に前記複数の各RFIDを内部に収容する複数の穴部を備えてなることを特徴とするものである。
【0018】
したがって、RFIDは当該RFIDより厚いテープ状のスペーサの穴部に囲まれて確実に保護される。
【0019】
請求項3によるこの発明の連長体は、請求項1記載の連長体において、前記スペーサが、前記テープ体の片面に貼着可能なテープ状をなすと共に前記複数の各RFIDを挟んでその両側に配置してなることを特徴とするものである。
【0020】
したがって、RFIDはその付近の両側にある2枚の厚いテープ状のスペーサで確実に保護される。
【0021】
請求項4によるこの発明の連長体は、請求項1記載の連長体において、前記スペーサが、前記テープ体の片面に貼着可能で且つ前記RFIDを収容可能な穴部を備えたリング形状をなすことを特徴とするものである。
【0022】
したがって、RFIDは当該RFIDより厚いリング形状のスペーサの穴部に囲まれて確実に保護される。
【0023】
請求項5によるこの発明の連長体は、長尺のテープ体又は第1面状緩衝体と、前記テープ体又は第1面状緩衝体の片面にその長手方向に適宜間隔を介して配列した複数のRFIDと、このRFIDにかかる外力を吸収して保護すべく前記RFIDを外側から被覆して前記テープ体又は第1面状緩衝体に貼着する第2面状緩衝体と、からなることを特徴とするものである。
【0024】
したがって、少なくともRFIDの片面に被覆した第2面状緩衝体によりRFIDにかかる外力が吸収されるので、RFIDへ伝達する外力及び衝撃が減少し、RFIDの破損が防止される。また、第1面状緩衝体と第2面状緩衝体が用いられている場合はRFIDの保護状態がより一層良好となり、長尺のテープ体と第2面状緩衝体が用いられている場合は経済的になる。
【0025】
請求項6によるこの発明の連長体は、請求項5記載の連長体において、前記第2面状緩衝体が、複数のRFIDを被覆可能な長尺のテープ状、又は各RFIDを被覆可能なディスク形状であることを特徴とするものである。
【0026】
したがって、第2面状緩衝体はRFIDを被覆可能であれば、長尺のテープ状であっても、ディスク形状であっても適用される。
【0027】
請求項7によるこの発明の連長体は、長尺の第1テープ体と、この第1テープ体の片面にその長手方向に適宜間隔を介して配列した複数のRFIDと、このRFIDにかかる外力を吸収して保護すべく前記RFIDを前記第1テープ体との間で挟み込むように重ねる面状緩衝体と、前記面状緩衝体を外側から被覆して前記第1テープ体に貼着する第2テープ体と、からなることを特徴とするものである。
【0028】
したがって、RFIDの片面に被覆した面状緩衝体によりRFIDにかかる外力が吸収されるので、RFIDへ伝達する外力及び衝撃が減少し、RFIDの破損が防止される。面状緩衝体は第1テープ体と第2テープ体との間で被覆されるので、安定した状態になる。
【0029】
請求項8によるこの発明の連長体は、長尺の第1テープ体と、この第1テープ体の片面にその長手方向に適宜間隔を介して配列した複数のRFIDと、このRFIDを外側から被覆して前記第1テープ体に貼着する第2テープ体と、前記RFIDにかかる外力を吸収して保護すべく第2テープ体の外側に貼着する面状緩衝体と、からなることを特徴とするものである。
【0030】
したがって、複数のRFIDが第1テープ体と第2テープ体との間で被覆されるので、安定した状態になる。しかも第2テープ体の外面に面状緩衝体が被覆されているので、各RFIDにかかる外力は前記面状緩衝体によって吸収されるため、RFIDへ伝達する外力及び衝撃が減少し、RFIDの破損が防止される。
【0031】
請求項9によるこの発明の連長体は、長尺の第1テープ体と、前記第1テープ体の片面にその長手方向に適宜間隔を介して配列した複数のRFIDと、このRFIDにかかる外力を吸収して保護すべく前記RFIDを外側から前記第1テープ体との間で封入する封入緩衝物と、前記封入緩衝物を外側から被覆して前記第1テープ体に貼着する第2テープ体と、からなることを特徴とするものである。
【0032】
したがって、複数の各RFIDは第1テープ体と封入緩衝物との間で封入されるので、各RFIDにかかる外力は前記封入緩衝物によって吸収されるため、RFIDへ伝達する外力及び衝撃が減少し、RFIDの破損が防止される。また、封入緩衝物により連長体自体の防水性が向上するので、浸水によるRFIDの破壊が起こりにくくなるため、高湿環境下でもRFIDの情報が読みとれる。
【0033】
請求項10によるこの発明の連長体の製造方法は、複数のRFIDを長尺のテープ体の片面に当該テープ体の長手方向に適宜間隔を介して配列し、前記複数のRFIDを外力から保護すべく前記RFIDより大きな厚さを有するスペーサを前記RFIDの付近に貼着することを特徴とするものである。
【0034】
したがって、連長体は製造ラインで容易に製造されると共に製造された連長体は、請求項1記載の作用と同様に、RFIDがその付近で前記RFIDより厚いスペーサで保護されているので、連長体の機械的強度が向上し、連長体に外力が加わっても、スペーサが外力を吸収し、RFIDの破損が防止される。
【0035】
請求項11によるこの発明の連長体の製造方法は、複数のRFIDを長尺のテープ体又は第1面状緩衝体の片面に当該テープ体又は第1面状緩衝体の長手方向に適宜間隔を介して配列し、前記RFIDにかかる外力を吸収して保護すべく第2面状緩衝体で前記RFIDの外側を被覆して前記第2面状緩衝体をテープ体又は第1面状緩衝体に貼着することを特徴とするものである。
【0036】
したがって、連長体は製造ラインで容易に製造されると共に製造された連長体は、請求項5記載の作用と同様に、少なくともRFIDの片面に被覆した第2面状緩衝体によりRFIDにかかる外力が吸収されるので、RFIDへ伝達する外力及び衝撃が減少し、RFIDの破損が防止される。また、第1面状緩衝体と第2面状緩衝体が用いられている場合はRFIDの保護状態がより一層良好となり、長尺のテープ体と第2面状緩衝体が用いられている場合は経済的になる。
【0037】
請求項12によるこの発明の連長体の製造方法は、複数のRFIDを長尺のテープ体又は第1面状緩衝体の片面に当該テープ体又は第1面状緩衝体の長手方向に適宜間隔を介して配列し、前記RFIDにかかる外力を吸収して保護すべく第2面状緩衝体で前記RFIDの外側を被覆して前記第2面状緩衝体をテープ体又は第1面状緩衝体に貼着することを特徴とするものである。
【0038】
したがって、連長体は製造ラインで容易に製造されると共に製造された連長体は、請求項7記載の作用と同様に、RFIDの片面に被覆した面状緩衝体によりRFIDにかかる外力が吸収されるので、RFIDへ伝達する外力及び衝撃が減少し、RFIDの破損が防止される。面状緩衝体は第1テープ体と第2テープ体との間で被覆されるので、安定した状態になる。
【0039】
請求項13によるこの発明の連長体の製造方法は、複数のRFIDを長尺の第1テープ体の片面に当該第1テープ体の長手方向に適宜間隔を介して配列し、第2テープ体で前記RFIDを外側から被覆して前記第2テープ体を前記第1テープ体に貼着し、前記RFIDにかかる外力を吸収して保護すべく面状緩衝体を前記第2テープ体の外側に貼着することを特徴とするものである。
【0040】
したがって、連長体は製造ラインで容易に製造されると共に製造された連長体は、請求項8記載の作用と同様に、複数のRFIDが第1テープ体と第2テープ体との間で被覆されるので、安定した状態になる。しかも第2テープ体の外面に面状緩衝体が被覆されているので、各RFIDにかかる外力は前記面状緩衝体によって吸収されるため、RFIDへ伝達する外力及び衝撃が減少し、RFIDの破損が防止される。
【0041】
請求項14によるこの発明の連長体の製造方法は、複数のRFIDを長尺の第1テープ体の片面に当該第1テープ体の長手方向に適宜間隔を介して配列し、前記RFIDにかかる外力を吸収して保護すべく封入緩衝物により前記RFIDを外側から前記第1テープ体との間で封入し、第2テープ体で前記封入緩衝物を外側から被覆して前記第2テープ体を第1テープ体に貼着することを特徴とするものである。
【0042】
したがって、連長体は製造ラインで容易に製造されると共に製造された連長体は、請求項9記載の作用と同様に、複数の各RFIDは第1テープ体と封入緩衝物との間で封入されるので、各RFIDにかかる外力は前記封入緩衝物によって吸収されるため、RFIDへ伝達する外力及び衝撃が減少し、RFIDの破損が防止される。また、封入緩衝物により連長体自体の防水性が向上するので、浸水によるRFIDの破壊が起こりにくくなるため、高湿環境下でもRFIDの惰報が読みとれる。
【0043】
請求項15によるこの発明の光ファイバケーブルは、ほぼ円筒形状の外皮部材を設け、この外皮部材の内部に抗張力体と複数の光ファイバ心線とを収納する収納部を設けた光ファイバケーブルにおいて、
長尺のテープ体と、このテープ体の片面にその長手方向に適宜間隔を介して配列した複数のRFIDと、このRFIDにかかる外力を吸収して保護すべく前記RFIDの付近に貼着し且つ前記RFIDより大きな厚さを有するスペーサと、からなる連長体を、前記外皮部材の内部又は表面に縦添えして収納してなることを特徴とするものである。
【0044】
したがって、連長体によりRFIDを光ファイバケーブルの長尺方向に一定間隔で配列しているので、光ファイバケーブルの一部を露出すれば、RFIDに書き込まれているケーブル情報は例えばリーダ/ライタ機器により容易に識別可能となり、光ファイバケーブルの誤切断を防止可能となる。これに伴って、工事費の削減にも寄与する。
【0045】
しかも、請求項1記載の連長体がケーブルに縦添えされているので、請求項1記載の作用と同様に、連長体のRFIDがその付近で前記RFIDより厚いスペーサで保護されているので、連長体の機械的強度が向上し、連長体に外力が加わっても、スペーサが外力を吸収し、RFIDの破損が防止される。そのため、ケーブルに大きな外力がかかっても、RFIDの情報を読みとれる。
【0046】
請求項16によるこの発明の光ファイバケーブルは、請求項15記載の光ファイバケーブルにおいて、前記スペーサが、前記テープ体の片面に貼着可能な長尺のテープ状をなすと共に前記複数の各RFIDを内部に収容する複数の穴部を備えてなることを特徴とするものである。
【0047】
したがって、連長体に外力がかかっても、請求項2記載の作用と同様に、RFIDは当該RFIDより厚いテープ状のスペーサの穴部に囲まれて確実に保護される。
【0048】
請求項17によるこの発明の光ファイバケーブルは、請求項15記載の光ファイバケーブルにおいて、前記スペーサが、前記テープ体の片面に貼着可能なテープ状をなすと共に前記複数の各RFIDを挟んでその両側に配置してなることを特徴とするものである。
【0049】
したがって、連長体に外力がかかっても、請求項3記載の作用と同様に、RFIDはその付近の両側にある2枚の厚いテープ状のスペーサで確実に保護される。
【0050】
請求項18によるこの発明の光ファイバケーブルは、請求項15記載の光ファイバケーブルにおいて、前記スペーサが、前記テープ体の片面に貼着可能で且つ前記RFIDを収容可能な穴部を備えたリング形状をなすことを特徴とするものである。
【0051】
したがって、連長体に外力がかかっても、請求項4記載の作用と同様に、RFIDは当該RFIDより厚いリング形状のスペーサの穴部に囲まれて確実に保護される。
【0052】
請求項19によるこの発明の光ファイバケーブルは、ほぼ円筒形状の外皮部材を設け、この外皮部材の内部に抗張力体と複数の光ファイバ心線とを収納する収納部を設けた光ファイバケーブルにおいて、
長尺のテープ体又は第1面状緩衝体と、前記テープ体又は第1面状緩衝体の片面にその長手方向に適宜間隔を介して配列した複数のRFIDと、このRFIDにかかる外力を吸収して保護すべく前記RFIDを外側から被覆して前記テープ体又は第1面状緩衝体に貼着する第2面状緩衝体と、からなる連長体を、前記外皮部材の内部又は表面に縦添えして収納してなることを特徴とするものである。
【0053】
したがって、連長体によりRFIDがケーブルの長尺方向に一定間隔で配列されるので、請求項15記載の作用と同様に、ケーブル情報は容易に識別可能となり、光ファイバケーブルの誤切断を防止可能となり、工事費の削減にも寄与する。
【0054】
しかも、請求項5記載の連長体がケーブルに縦添えされているので、請求項5記載の作用と同様に、少なくともRFIDの片面に被覆した第2面状緩衝体によりRFIDにかかる外力が吸収されるので、RFIDへ伝達する外力及び衝撃が減少し、RFIDの破損が防止される。そのため、ケーブルに大きな外力がかかっても、RFIDの惰報を読みとれる。また、第1面状緩衝体と第2面状緩衝体が用いられている場合はRFIDの保護状態がより一層良好となり、長尺のテープ体と第2面状緩衝体が用いられている場合は経済的になる。
【0055】
請求項20によるこの発明の光ファイバケーブルは、請求項19記載の光ファイバケーブルにおいて、前記第2面状緩衝体が、複数のRFIDを被覆可能な長尺のテープ状、又は各RFIDを被覆可能なディスク形状であることを特徴とするものである。
【0056】
したがって、連長体においては、請求項6記載の作用と同様に、第2面状緩衝体はRFIDを被覆可能であれば、長尺のテープ状であっても、ディスク形状であっても適用される。
【0057】
請求項21によるこの発明の光ファイバケーブルは、ほぼ円筒形状の外皮部材を設け、この外皮部材の内部に抗張力体と複数の光ファイバ心線とを収納する収納部を設けた光ファイバケーブルにおいて、
長尺の第1テープ体と、この第1テープ体の片面にその長手方向に適宜間隔を介して配列した複数のRFIDと、このRFIDにかかる外力を吸収して保護すべく前記RFIDを前記第1テープ体との間で挟み込むように重ねる面状緩衝体と、前記面状緩衝体を外側から被覆して前記第1テープ体に貼着する第2テープ体と、からなる連長体を、前記外皮部材の内部又は表面に縦添えして収納してなることを特徴とするものである。
【0058】
したがって、連長体によりRFIDがケーブルの長尺方向に一定間隔で配列されるので、請求項15記載の作用と同様に、ケーブル情報は容易に識別可能となり、光ファイバケーブルの誤切断を防止可能となり、工事費の削減にも寄与する。
【0059】
しかも、請求項7記載の連長体がケーブルに縦添えされているので、請求項7記載の作用と同様に、RFIDの片面に被覆した面状緩衝体によりRFIDにかかる外力が吸収されるので、RFIDへ伝達する外力及び衝撃が減少し、RFIDの破損が防止される。そのため、ケーブルに大きな外力がかかっても、RFIDの惰報を読みとれる。面状緩衝体は第1テープ体と第2テープ体との間で被覆されるので、安定した状態になる。
【0060】
請求項22によるこの発明の光ファイバケーブルは、ほぼ円筒形状の外皮部材を設け、この外皮部材の内部に抗張力体と複数の光ファイバ心線とを収納する収納部を設けた光ファイバケーブルにおいて、
長尺の第1テープ体と、この第1テープ体の片面にその長手方向に適宜間隔を介して配列した複数のRFIDと、このRFIDを外側から被覆して前記第1テープ体に貼着する第2テープ体と、前記RFIDにかかる外力を吸収して保護すべく第2テープ体の外側に貼着する面状緩衝体と、からなる連長体を、前記外皮部材の内部又は表面に縦添えして収納してなることを特徴とするものである。
【0061】
したがって、連長体によりRFIDがケーブルの長尺方向に一定間隔で配列されるので、請求項15記載の作用と同様に、ケーブル情報は容易に識別可能となり、光ファイバケーブルの誤切断を防止可能となり、工事費の削減にも寄与する。
【0062】
しかも、請求項8記載の連長体がケーブルに縦添えされているので、請求項8記載の作用と同様に、複数のRFIDが第1テープ体と第2テープ体との間で被覆されるので、安定した状態になる。しかも第2テープ体の外面に面状緩衝体が被覆されているので、各RFIDにかかる外力は前記面状緩衝体によって吸収されるため、RFIDへ伝達する外力及び衝撃が減少し、RFIDの破損が防止される。そのため、ケーブルに大きな外力がかかっても、RFIDの惰報を読みとれる。
【0063】
請求項23によるこの発明の光ファイバケーブルは、ほぼ円筒形状の外皮部材を設け、この外皮部材の内部に抗張力体と複数の光ファイバ心線とを収納する収納部を設けた光ファイバケーブルにおいて、
長尺の第1テープ体と、前記第1テープ体の片面にその長手方向に適宜間隔を介して配列した複数のRFIDと、このRFIDにかかる外力を吸収して保護すべく前記RFIDを外側から前記第1テープ体との間で封入する封入緩衝物と、前記封入緩衝物を外側から被覆して前記第1テープ体に貼着する第2テープ体と、からなる連長体を、前記外皮部材の内部又は表面に縦添えして収納してなることを特徴とするものである。
【0064】
したがって、連長体によりRFIDがケーブルの長尺方向に一定間隔で配列されるので、請求項15記載の作用と同様に、ケーブル情報は容易に識別可能となり、光ファイバケーブルの誤切断を防止可能となり、工事費の削減にも寄与する。
【0065】
しかも、請求項9記載の連長体がケーブルに縦添えされているので、請求項9記載の作用と同様に、複数の各RFIDは第1テープ体と封入緩衝物との間で封入されるので、各RFIDにかかる外力は前記封入緩衝物によって吸収されるため、RFIDへ伝達する外力及び衝撃が減少し、RFIDの破損が防止される。そのため、ケーブルに大きな外力がかかっても、RFIDの情報を読みとれる。また、封入緩衝物により連長体自体の防水性が向上するので、ケーブルが高湿環境下に置かれても、浸水によるRFIDの破壊が起こりにくくなるため、RFIDの情報を読みとれるケーブルとなる。
【0066】
【発明の実施の形態】
以下、この発明の実施の形態について図面を参照して説明する。
【0067】
図5を参照するに、この実施の形態に係る光ファイバケーブル1は収納部としてのスロット形のケーブルであるが、スロット形に限定されず、ストランド形やチューブ型のケーブルであっても構わない。この実施の形態ではスロット形のケーブルで説明する。
【0068】
ケーブル1は、ほぼ断面円形で長尺のスロットロッド3のほぼ中央には鋼線、FRP、高強度繊維などの材料からなる抗張力体5が挿通されており、前記スロットロッド3の外周面には複数のスロット溝7、この実施の形態では5つのスロット溝7が当該スロットロッド3の長手方向に沿って互いに並行して設けられている。
【0069】
また、上記の5つのスロット溝7の内部に光ファイバ心線としての例えば4心のテープ心線9(以下、「4心テープ」という)がそれぞれ5枚ずつ収納されており、合計100心の光ファイバが収納されている。なお、上記の4心テープ9としては、図6に示されているように4本の光ファイバ単心線11が並列に配列され、その周囲に樹脂からなる被覆層13が形成されてテープ状に一体化して製造されているのである。なお、スロット溝7内に収納される光ファイバ心線は、上記の4心テープ9などのテープ心線に限定されるものではなく、他の形態の光ファイバ心線であっても構わない。
【0070】
さらに、この発明の実施の形態の連長体15が上記のスロットロッド3の外周面に縦添えされている。連長体15は、RFID(Radio Frequency Identification;無線周波数識別)が長尺のテープ状の部材に長手方向に一定間隔のピッチで配列されて構成されており、詳細については後述する。
【0071】
以上のように各スロット溝7に複数の4心テープ9が収納されると共にスロットロッド3の外周面に連長体15が縦添えされた状態で、スロットロッド3の外周には樹脂テープ材からなる押え巻き17で横巻きされている。この押え巻き17の外側は例えばPE樹脂の外皮19でシースされている。なお、外皮19のシース材料としては、上記のPEの他にPVCやノンハロ難燃材、エコ材が用いられても構わない。
【0072】
次に、この発明の実施の形態の連長体15について詳しく説明する。
【0073】
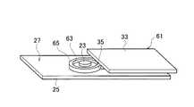
図1及び図2を参照するに、連長体15としての例えば第1の実施の形態の連長体21は、複数のRFID23が長尺の第1テープ体25の片面にその長手方向に適宜間隔を介して配列され、接着固定されている。この第1の実施の形態では一定間隔のピッチP、つまり1mピッチで配列されている。第1テープ体25としては、材質がPET(ポリエチレンテレフタレート)であり、厚さ30μmで、幅30mmであり、第1テープ体25の片面には予め例えばホットメルト樹脂などの接着材層27が設けられている。
【0074】
さらに、上記のRFID23を外力から保護するために、RFID23より厚いスペーサ29が前記RFID23の付近に貼着されている。この第1の実施の形態では、上記のスペーサ29が上記の第1テープ体25の片面に貼着可能な長尺のテープ状をなしており、しかも複数の各RFID23を内部に収容する複数の穴部31がRFID23の配列状態と同様のピッチP、例えば1mピッチで設けられている。
【0075】
なお、スペーサ29は材質がポリエチレンで、厚さが0.8mmで、幅30mmであり、上記の穴部31はほぼ円形で直径22mmである。また、RFID23は直径20mmで、厚さ0.35mmのディスク状である。
【0076】
このスペーサ29は複数の穴部31内に各RFID23を収納するようにして第1テープ体25の片面に接着材層27を介して貼着され、スペーサ29の上面には第1テープ体25と同様の材質、厚さ、幅を有する第2テープ体33が図1において裏面の接着材層35を介して貼着される。なお、上記の第2テープ体33はしっかりとした連長体21を構成する点で好ましいが、連長体21の機能を満たすという点では必ずしもなくても構わない。
【0077】
上記のRFID23についてより詳しくは、図3に示されているようにこの実施の形態では中空のほぼ円盤形状でプラスチック製のケース37内に、ケーブル情報を記憶したICチップ39と、このICチップ39に電気的に接続したアンテナコイル41が内蔵されている。アンテナコイル41は円板状の磁芯部材43と、この磁芯部材43の周囲に渦巻き状に卷回されたコイル本体としての被覆銅線45とからなる。つまり、RFID23は、電磁誘導を用いたリード/ライタ機器から発信される無線電波により、アンテナコイル41を経てICチップ39に記憶されたケーブル情報が読み出し且つ書き込み可能に構成されている。
【0078】
上記構成により、例えば、鉄道沿線には多数の光ファイバケーブルが敷設されており、この発明の実施の形態の光ファイバケーブル1が上記の鉄道沿線の多数の光ファイバケーブルとして用いられる場合を例として説明すると、線路沿いには2.5〜5km間隔で機器室が設けられており、上記の多数のケーブル1は各機器室の接続端子に接続されている。
【0079】
上記の接続端子の各ケーブル1の管理及びケーブル撤去時には、各ケーブル1の識別を行う必要がある。この各ケーブル1の識別時、各ケーブル1には長尺方向に1mの一定間隔でRFID23が配列されているので、ケーブル1の一部が露出すればRFID23を見つけることができ、電磁誘導を用いたリード/ライタ機器で容易にRFID23に書き込まれているケーブル情報を得ることができる。また、上記のリード/ライタ機器でRFID23内のICチップ39に読み書きが容易に行われる。しかも、RFID23に書き込まれた情報は時間経過によって消滅することはなく、リード/ライタ機器で、短時間で容易に目的のケーブル1を識別可能となる。したがって、光ファイバケーブル1の誤切断を防止可能となり、これに伴って、工事費の削減にも寄与する。
【0080】
なお、上述したようにRFID23にはICチップ39が使用されており、このICチップ39の周辺部分は機械的強度に乏しいので、複数の上記のRFID23が単にテープ体の片面に固定された連長体では、外力によりRFID23のICチップ39が破損する懸念がある。また、上記の連長体が光ファイバケーブル1の内部や表面に配置された場合、ケーブル内部あるいは外部の力によりRFID23のIC部分が破損して、ケーブルが識別不可能になる可能性がある。
【0081】
しかし、この発明の第1の実施の形態の連長体21は、RFID23の厚さ0.35mmに対してスペーサ29の厚さが0.8mmであるので、図1に示されているようにRFID23がスペーサ29で囲まれて保護されることになる。したがって、連長体21に外力が加わることがあっても、スペーサ29が外力を吸収し、RFID23の破損が防止される。
【0082】
次に、第1の実施の形態の連長体21の製造方法について説明する。なお、前述した連長体21と同様の部分の詳細な説明は省略する。
【0083】
図4を参照するに、長尺の第1テープ体25の片面に接着材層27が付けられており、この第1テープ体25の片面に長尺のテープ状のスペーサ29が加圧ローラ47にて貼着される。なお、上記のスペーサ29には長手方向に予めピッチP(この実施の形態では1mピッチ)の一定間隔でRFID23を収納可能な大きさの穴部31が設けられている。
【0084】
なお、前述したように第1テープ体25は材質がPETで、厚さ30μmで、幅30mmであり、スペーサ29は材質がポリエチレンで、厚さが0.8mmで、幅30mmであり、上記の穴部31は直径22mmのほぼ円形である。
【0085】
次いで、上記の加圧ローラ47の前方(図4において右方)に設けられているRFID供給装置49からスペーサ29の穴部31内にRFID23が供給され、第1テープ体25の片面の接着材層27に貼着される。なお、RFID23は直径20mmで、厚さ0.35mmのディスク状である。したがって、複数の各RFID23は第1テープ体25の片面にその長手方向に1mピッチで配列されることになる。
【0086】
次いで、上記のスペーサ29の上面には第1テープ体25と同様の材質、厚さ、幅を有する第2テープ体33が接着材層35を介して貼り合わされ、加圧ローラ51にて貼着され、連長体21が製造される。
【0087】
次に、この発明の第2の実施の形態の連長体53について詳しく説明する。なお、前述した第1の実施の形態の連長体21と同様の部分の詳細な説明は省略する。
【0088】
図7を参照するに、連長体53は、第1テープ体25と第2テープ体33は第1の実施の形態の連長体21と同様であるが、2枚のテープ状のスペーサ55がRFID23を挟んでその両側に配置された形態である。つまり、スペーサ55は材質がポリエチレンで、幅4mmで、厚さ0.8mmの長尺のテープ状であり、2枚のスペーサ55が第1テープ体25の幅方向の両側縁に沿って第1テープ体25の接着材層27に貼り合わされており、この2枚のスペーサ55の間のほぼ中央部にはRFID23が第1テープ体25の長手方向に適宜間隔を介して配列され、接着固定されている。この第2の実施の形態では一定間隔の1mピッチで配列されている。
【0089】
また、2枚のスペーサ55の上面には第1テープ体25と同様の材質、厚さ、幅を有する第2テープ体33が図1において裏面の接着材層35を介して貼着される。
【0090】
この第2の実施の形態の連長体53の作用は、前述した連長体21とほぼ同様であり、基本的にはRFID23の厚さに対してスペーサ55の厚さが大きいので、RFID23が両側のスペーサ55で保護される。連長体53に外力が加わっても、スペーサ55によって外力が吸収され、RFID23の破損が防止される。
【0091】
この第2の実施の形態の連長体53の製造方法としては、長尺の第1テープ体25の片面に付けた接着材層27に、2枚の長尺のテープ状のスペーサ55が第1テープ体25の幅方向の両側縁に沿って貼り合わされる。第1の実施の形態の図4の場合と同様に加圧ローラ47にて貼着される。
【0092】
次いで、RFID供給装置49からRFID23が上記の2枚のスペーサ55の間のほぼ中央部に一定間隔の1mピッチで供給され、第1テープ体25の片面の接着材層27に貼着される。次いで、上記の2枚のスペーサ55の上面には第2テープ体33が接着材層35を介して貼り合わされ、第1の実施の形態の図4の場合と同様に加圧ローラ51にて貼着され、連長体53が製造される。
【0093】
次に、この発明の第3の実施の形態の連長体57について詳しく説明する。なお、前述した第1及び第2の実施の形態と同様の部分の詳細な説明は省略する。
【0094】
図8を参照するに、この連長体57は、2枚のテープ状のスペーサがRFID23を挟んでその両側に配置された形態である点では、第2の実施の形態の連長体53と同様であるが、この実施の形態では2枚のスペーサ59が各RFID23に対して第1テープ体25の長手方向の両側に配置され、第1テープ体25の長手方向に対して直交する方向に延伸される形態で第1テープ体25の片面に接着材層27を介して貼り付けられている。なお、スペーサ59は材質がポリエチレンで、幅4mmで、厚さ0.8mmで、長さ30mmのテープ状である。
【0095】
また、2枚のスペーサ59の上面及び第1テープ体25の片面には第1テープ体25と同様の材質、厚さ、幅を有する第2テープ体33が図1において裏面の接着材層35を介して貼着される。
【0096】
この第3の実施の形態の連長体57の作用は、前述した連長体53とほぼ同様であり、基本的にはRFID23の厚さに対してスペーサ59の厚さが大きいので、RFID23が両側のスペーサ59で保護される。連長体57に外力が加わっても、2枚のスペーサ59によって外力が吸収され、RFID23の破損が防止される。
【0097】
この第3の実施の形態の連長体57の製造方法としては、長尺の第1テープ体25の片面に付けた接着材層27に、2枚のテープ状のスペーサ59が第1テープ体25の長手方向に対して直交する方向に延伸される形態で、第1テープ体25の長手方向に一定間隔の1mピッチでRFID23を貼り付けるべき位置の両側に位置して供給され、第1の実施の形態の図4の場合と同様に加圧ローラ47にて貼着される。
【0098】
次いで、RFID供給装置49からRFID23が上記の2枚のスペーサ59の間に供給され、第1テープ体25の片面の接着材層27に貼着される。次いで、第2テープ体33が上記の各スペーサ59の上面及び第1テープ体25の片面に第2テープ体33の裏面の接着材層35を介して貼り合わされ、第1の実施の形態の図4の場合と同様に加圧ローラ51にて貼着され、連長体57が製造される。
【0099】
次に、この発明の第4の実施の形態の連長体61について詳しく説明する。なお、前述した第1の実施の形態の連長体21と同様の部分の詳細な説明は省略する。
【0100】
図9を参照するに、この連長体61は、第1テープ体25と第2テープ体33は第1の実施の形態の連長体21と同様であるが、RFID23を収容可能な穴部63を備えたリング形状のスペーサ65が第1テープ体25の長手方向に適宜間隔を介して配置され、接着固定されている。この第4の実施の形態では一定間隔の1mピッチで配置され、第1テープ体25の接着材層27に貼り合わされた形態である。スペーサ65は材質がポリエチレンで、厚さ0.8mmで、穴部63の内径が22mmで、外径30mmである。複数の各RFID23は各スペーサ65の穴部63の内部に第1テープ体25の片面に接着材層27を介して貼り付けられている。
【0101】
また、スペーサ65の上面及び第1テープ体25の片面には第1テープ体25と同様の材質、厚さ、幅を有する第2テープ体33が図1において裏面の接着材層35を介して貼着される。
【0102】
この第4の実施の形態の連長体61の作用は、前述した連長体21とほぼ同様であり、基本的にはRFID23の厚さに対してスペーサ65の厚さが大きいので、RFID23がスペーサ65で囲まれて保護されることになる。連長体61に外力が加わっても、スペーサ65によって外力が吸収され、RFID23の破損が防止される。
【0103】
この第4の実施の形態の連長体61の製造方法としては、長尺の第1テープ体25の片面に付けた接着材層27に、リング形状のスペーサ65が第1テープ体25の長手方向に一定間隔の1mピッチでRFID23を貼り付けるべき位置をスペーサ65の穴部63で囲むように位置して供給され、第1の実施の形態の図4の場合と同様に加圧ローラ47にて貼着される。
【0104】
次いで、RFID供給装置49からRFID23が上記のスペーサ65の穴部63内に供給され、第1テープ体25の片面の接着材層27に貼着される。次いで、第2テープ体33が上記の各スペーサ65の上面及び第1テープ体25の片面に第2テープ体33の裏面の接着材層35を介して貼り合わされ、第1の実施の形態の図4の場合と同様に加圧ローラ51にて貼着され、連長体61が製造される。
【0105】
次に、上記の第1〜第4の実施の形態の連長体21、53、57、61を図5に示されている光ファイバケーブル1に使用したときの効果性を確認するために比較例1の連長体67を製造し、以下の比較試験を行った。
【0106】
図10を参照するに、比較例1の連長体67としては、第1テープ体25と第2テープ体33とRFID23、及びRFID23の配列状態は、前述した第1〜第4の実施の形態の連長体21、53、57、61と同様であるが、スペーサなしで第1テープ体25と第2テープ体33の貼り合わせ構造である。
【0107】
〔比較試験1〕
上記の第1〜第4の実施の形態の連長体21、53、57、61と比較例1の連長体67に対して、それぞれ対衝撃試験を行った。ちなみに、対衝撃試験方法は、対衝撃試験(「IEC68−2−27(1987):Basic environmental testing procedures Part 2.1:Tests Test Ea: Shock 」準拠)に基づいて行った。試験条件は、40gの荷重で、18msecの速度で、RFID23の直上から1方向でRFID23に当てるものである。また、試験回数は、100回ずつの試験が行われ、100回毎に動作確認をして、情報を読みとれれば、試験を継続する。その結果、表1に示されているように情報を読みとれた最大の回数が確認された。なお、試験の上限は2000回とした。
【0108】
【表1】

Figure 2004266886
以上の表1から分かるように、比較例1の連長体67は、600回の衝撃を加えた後に,RFID23の情報を読みとれなくなった。すなわち耐衝撃回数は500回であった。第1〜第4の実施の形態の連長体21、53、57、61は上限の2000回を行っても情報が読みとれた。
【0109】
したがって、第1〜第4の実施の形態の連長体21、53、57、61のいずれにおいても、RFID23がスペーサ65によって外力が吸収されて保護されていることが明らかである。
【0110】
〔比較試験2〕
さらに、上記の第1〜第4の実施の形態の連長体21、53、57、61をケーブルの内部又は表面に縦添えした光ファイバケーブル1の効果性を確認するために、第1の実施の形態の連長体21を縦添えした図5の形態の光ファイバケーブル1を代表して製造し、上記の比較例1の連長体67を図5の形態と同様にしてケーブルの内部に縦添えした光ファイバケーブルを比較例2として製造し、それぞれに対して比較試験を行った。
【0111】
ちなみに、試験方法は圧壊試験(JISC6821準拠)に基づいたものであり、試験条件は、圧壊試験用鋼板100mmで、RFID23のあるケーブル面を上にして、RFID23の部分を狙って荷重を印可した。このときの印可時間1分である。なお、印可荷重は5N/mm刻みに増やすものである。そして、一回の試験ごとにRFID23からの情報が読みとれるかを確認し、表2に示されているように情報が読みとれたときの最大の印可荷重が得られる試験値として確認された。
【0112】
【表2】
Figure 2004266886
以上の表2から分かるように、比較例2の光ファイバケーブルでは、印可荷重が10N/mmのときに情報が読みとれなくなった。また、この実施の形態の光ファイバケーブルでは20N/mmのときに情報が読みとれなくなった。したがって、ケーブル状態においても、この発明のスペーサを使用した連長体の方が機械的特性に優れることは明らかである。
【0113】
次に、この発明の第5の実施の形態の連長体69について詳しく説明する。なお、前述した第1の実施の形態の連長体21と同様の部分の詳細な説明は省略する。
【0114】
図11ないしは図13を参照するに、連長体69は、RFID23が長尺のテープ状の第1面状緩衝体71の片面にその長手方向に適宜間隔を介して配列され、接着固定されている。この第5の実施の形態では一定間隔のピッチP、つまり1mピッチで配列されている。
【0115】
上記の第1面状緩衝体71としては、材質が不織布で、厚さ1mmで、幅30mmであり、第1面状緩衝体71の片面には予め接着材層73が設けられており、防水効果を持つ吸水性高分子としてポリアクリル酸塩が混ぜられている。
【0116】
さらに、上記のRFID23を外力から保護するために、第2面状緩衝体75がRFID23を外側から覆うようにして第1面状緩衝体71に貼り合わされている。上記の第2面状緩衝体75は前述した第1面状緩衝体71と同様の材質、厚さ、幅を有し且つ吸水性高分子としてポリアクリル酸塩が混ぜられている。また、第2面状緩衝体75の片面には予め接着材層77が付けられている。
【0117】
なお、上記の第1,第2面状緩衝体71,75は、縦添えされる光ファイバケーブル1の外皮19より柔らかい材質であれば外力を吸収するという点で効果を得ることができる。したがって、十分に外皮19より柔らかい材質にするために、紙、不織布、綿、布等を好んで用いることができる。また、柔らかいプラスチックも使用可能である。また、緩衝材としては、固体に限らず、ゲル状のものでRFID23付近に封入させる形態であっても構わない。また、上記の第1,第2面状緩衝体71,75は、厚みがあるほど、得られる効果が大きい。
【0118】
また、第1,第2面状緩衝体71,75にデンプン、セルロース、ポリビニルアルコール、ポリアクリル酸塩などの吸水性高分子を包んだり、接着塗布したり、練り込んだりして、吸水性を高めたものも好んで使用される。
【0119】
この第5の実施の形態の連長体69の作用は、RFID23の少なくとも片面に、ケーブル1の外皮19と比べて硬度の小さい第1,第2面状緩衝体71,75が少なくともRFID23を覆うようにして構成しているので、連長体69に外力が加わることがあっても、上記の面第1,第2状緩衝体71,75が緩衝材となり、外力及び衝撃がRFID23へ伝達するのを減少させ、RFID23の破損を防ぐことができる。また、第1,第2面状緩衝体71,75に防水効果を持つ吸水性高分子を混ぜることにより、RFID23中に浸水することを防ぐ効果もある。
【0120】
図14を参照するに、この第5の実施の形態の連長体69の製造方法としては、長尺の第1面状緩衝体71の片面に付けた接着材層73に、RFID供給装置49から直径20mmで、厚さ0.35mmのディスク状のRFID23が上記の第1面状緩衝体71の長手方向に一定間隔の1mピッチで供給され、第1面状緩衝体71の片面の接着材層73に貼着される。次いで、第2面状緩衝体75がRFID23を覆うようにして上記の第1面状緩衝体71の片面に接着材層73及び77を介して貼り合わされ、加圧ローラ79にて貼着され、連長体69が製造される。
【0121】
次に、この発明の第6の実施の形態の連長体81について詳しく説明する。なお、前述した第1及び第5の実施の形態の連長体21,69と同様の部分の詳細な説明は省略する。
【0122】
図15を参照するに、連長体81は、RFID23が長尺の第1テープ体25の片面に、この第6の実施の形態では長手方向に一定間隔の1mピッチで配列され、接着固定されている。上記の第1テープ体25は材質がPETで、厚さ30μmで、幅30mmであり、第1テープ体25の片面には予め接着材層27が設けられている。
【0123】
さらに、上記のRFID23を外力から保護するために、第5の実施の形態と同様の材質、厚さ、幅を有し且つ吸水性高分子が混ぜられているテープ状の第2面状緩衝体75がRFID23を外側から被覆して第1テープ体25に貼り合わされている。
【0124】
この第6の実施の形態の連長体81の作用は、RFID23の少なくとも片面に、ケーブルの外皮19と比べて硬度の小さい第2面状緩衝体75が少なくともRFID23を覆うようにして構成しているので、連長体81に外力が加わることがあっても、上記の第2面状緩衝体75が緩衝材となり、外力及び衝撃がRFID23へ伝達するのを減少させ、RFID23の破損を防ぐことができる。また、第2面状緩衝体75に吸水性高分子を混ぜているのでRFID23中への浸水を防ぐ効果もある。
【0125】
この第6の実施の形態の連長体81の製造方法としては、前述した第5の実施の形態の連長体69の製造方法を示す図14において、長尺の第1面状緩衝体71が第1テープ体25に替えただけで同様であるので、詳細な説明を省略する。
【0126】
次に、この発明の第7の実施の形態の連長体83について詳しく説明する。なお、前述した第1及び第5の実施の形態の連長体21,69と同様の部分の詳細な説明は省略する。
【0127】
図16及び図17を参照するに、連長体83はRFID23が長尺のテープ状の第1面状緩衝体71の片面に、この第7の実施の形態では長手方向に一定間隔の1mピッチで配列され、接着固定されている。
【0128】
上記の第1面状緩衝体71は、連長体69の場合と同様に、材質が不織布で、厚さ1mmで、幅30mmであり、第1面状緩衝体71の片面には予め接着材層73が設けられており、吸水性高分子としてポリアクリル酸塩が混ぜられている。
【0129】
さらに、上記のRFID23を外力から保護するために、ディスク形状の第2面状緩衝体85がRFID23を外側から覆うようにして第1面状緩衝体71に貼り合わされている。なお、第2面状緩衝体85は、材質が不織布で、厚さ1mmで、直径25mmであり、第2面状緩衝体85の片面には予め接着材層77が設けられており、吸水性高分子としてポリアクリル酸塩が混ぜられている。
【0130】
この第7の実施の形態の連長体83の作用は、基本的には第5の実施の形態の連長体69と同様であり、ディスク形状の第2面状緩衝体85がRFID23に加わる外力及び衝撃を減少させ、RFID23の破損を防ぎ、RFID23中への浸水も防ぐ作用をする。
【0131】
図18を参照するに、この第7の実施の形態の連長体83の製造方法としては、長尺の第1面状緩衝体71の片面に付けた接着材層73に、RFID供給装置49からRFID23が上記の第1面状緩衝体71の長手方向に一定間隔の1mピッチで供給され、第1面状緩衝体71の片面の接着材層73に貼着される。次いで、緩衝体供給装置87からディスク形状の第2面状緩衝体85が裏面の接着材層77を介してRFID23の上面に貼られ、加圧ローラ79により第2面状緩衝体85がRFID23を覆うようにして上記の第1面状緩衝体71の片面に接着材層73及び77を介して貼り合わされ、連長体83が製造される。
【0132】
次に、この発明の第8の実施の形態の連長体89について詳しく説明する。なお、前述した第1及び第7の実施の形態の連長体21,83と同様の部分の詳細な説明は省略する。
【0133】
図19を参照するに、連長体89は、RFID23が長尺の第1テープ体25の片面に、この第8の実施の形態では長手方向に一定間隔の1mピッチで配列され、接着固定されている。上記の第1テープ体25は材質がPETで、厚さ30μmで、幅30mmであり、第1テープ体25の片面には予め接着材層27が設けられている。
【0134】
さらに、上記のRFID23を外力から保護するために、ディスク形状の第2面状緩衝体85がRFID23を外側から覆うようにして第1テープ体25に貼り合わされている。なお、第2面状緩衝体85は、材質が不織布で、厚さ1mmで、直径25mmであり、第2面状緩衝体85の片面には予め接着材層77が設けられており、吸水性高分子としてポリアクリル酸塩が混ぜられている。
【0135】
この第8の実施の形態の連長体89の作用は、基本的には第5の実施の形態の連長体69と同様であり、ディスク形状の第2面状緩衝体85がRFID23に加わる外力及び衝撃を減少させ、RFID23の破損を防ぎ、RFID23中への浸水も防ぐ作用をする。
【0136】
この第8の実施の形態の連長体89の製造方法としては、前述した第7の実施の形態の連長体83の製造方法を示す図18において、長尺の第1面状緩衝体71が第1テープ体25に替えただけで同様であるので、詳細な説明を省略する。
【0137】
次に、この発明の第9の実施の形態の連長体91について詳しく説明する。なお、前述した第1及び第5の実施の形態の連長体21,69と同様の部分の詳細な説明は省略する。
【0138】
図20を参照するに、連長体91は、RFID23が長尺の第1テープ体25の片面に、この第9の実施の形態では長手方向に一定間隔の1mピッチで配列され、接着固定されている。上記の第1テープ体25は材質がPETで、厚さ30μmで、幅30mmであり、第1テープ体25の片面には予め接着材層27が設けられている。
【0139】
さらに、上記のRFID23を外力から保護するために、テープ形状の第2面状緩衝体93がRFID23の上面を挟み込むように接着材層77を介して重ねられている。なお、第2面状緩衝体93は、材質が不織布で、厚さ1mmで、幅25mmであり、第2面状緩衝体93の裏面には予め接着材層77が設けられており、吸水性高分子としてポリアクリル酸塩が混ぜられている。
【0140】
また、長尺の第2テープ体33が上記の第2面状緩衝体93の外側から覆うようにして裏面の接着材層27を介して第1テープ体25に貼り合わされている。なお、第2テープ体33は材質、厚さ、幅が第1テープ体25とほぼ同様である。
【0141】
この第9の実施の形態の連長体91の作用は、基本的には第5の実施の形態の連長体69と同様であり、第2面状緩衝体93がRFID23に加わる外力及び衝撃を減少させ、RFID23の破損を防ぎ、RFID23中への浸水も防ぐ作用をする。
【0142】
図21を参照するに、この第9の実施の形態の連長体91の製造方法としては、長尺の第1テープ体25の片面に付けた接着材層27に、RFID供給装置49からRFID23が上記の第1テープ体25の長手方向に一定間隔の1mピッチで供給され、第1テープ体25の片面の接着材層27に貼着される。次いで、第2面状緩衝体93がRFID23の上面を挟み込むように重ねられ、加圧ローラ79にて接着材層77を介して貼着される。
【0143】
また、第2テープ体33が上記の第2面状緩衝体93の外側から覆うようにして裏面の接着材層35を介して第1テープ体25に貼り合わされ、加圧ローラ95にて貼着され、連長体91が製造される。
【0144】
次に、この発明の第10の実施の形態の連長体97について詳しく説明する。なお、前述した第1及び第9の実施の形態の連長体21,91と同様の部分の詳細な説明は省略する。
【0145】
図22を参照するに、連長体97は、RFID23が長尺の第1テープ体25の片面に、この第10の実施の形態では長手方向に一定間隔の1mピッチで配列され、接着固定されている。上記の第1テープ体25は材質がPETで、厚さ30μmで、幅30mmであり、第1テープ体25の片面には予め接着材層27が設けられている。
【0146】
また、長尺の第2テープ体33が上記のRFID23の外側から覆うようにして裏面の接着材層35を介して第1テープ体25に貼り合わされている。なお、第2テープ体33は材質、厚さ、幅が第1テープ体25とほぼ同様である。
【0147】
さらに、上記のRFID23を外力から保護するために、テープ形状の第2面状緩衝体93が第2テープ体33の外側に接着材層77を介して貼着されている。なお、第2面状緩衝体93は、材質が不織布で、厚さ1mmで、幅25mmであり、第2面状緩衝体93の裏面には予め接着材層77が設けられており、吸水性高分子としてポリアクリル酸塩が混ぜられている。
【0148】
この第10の実施の形態の連長体97の作用は、基本的には第5の実施の形態の連長体69と同様であり、第2面状緩衝体93がRFID23に加わる外力及び衝撃を減少させ、RFID23の破損を防ぎ、RFID23中への浸水も防ぐ作用をする。
【0149】
図23を参照するに、この第10の実施の形態の連長体97の製造方法としては、長尺の第1テープ体25の片面に付けた接着材層27に、RFID供給装置49からRFID23が上記の第1テープ体25の長手方向に一定間隔の1mピッチで供給され、第1テープ体25の片面の接着材層27に貼着される。次いで、第2テープ体33が上記のRFID23の外側から覆うようにして裏面の接着材層35を介して第1テープ体25に貼り合わされ、加圧ローラ79にて貼着される。
【0150】
また、第2面状緩衝体93が第2テープ体33の上面に重ねられ、加圧ローラ95にて接着材層77を介して貼着され、連長体97が製造される。
【0151】
次に、この発明の第11の実施の形態の連長体99について詳しく説明する。なお、前述した第1及び第5の実施の形態の連長体21,69と同様の部分の詳細な説明は省略する。
【0152】
図24を参照するに、連長体99はRFID23が長尺の第1テープ体25の片面に、この第11の実施の形態では長手方向に一定間隔の1mピッチで配列され、接着固定されている。上記の第1テープ体25は材質がPETで、厚さ30μmで、幅30mmであり、第1テープ体25の片面には予め接着材層27が設けられている。
【0153】
さらに、上記のRFID23を外力から保護するために、RFID23を封入するための封入緩衝物としての例えばゲル状の物体からなるゲル状物101がRFID23の外側から第1テープ体25との間で封入している。なお、封入緩衝物としては、上記のゲル状物101に代えて吸水性高分子の粉末であっても構わない。
【0154】
また、長尺の第2テープ体33が上記のゲル状物101の外側から覆うようにして裏面の接着材層77を介して第1テープ体25に貼り合わされている。なお、第2テープ体33は材質、厚さ、幅が第1テープ体25とほぼ同様である。
【0155】
この第11の実施の形態の連長体99の作用は、基本的には第5の実施の形態の連長体69と同様であり、ゲル状物101または吸水性高分子の粉末がRFID23に加わる外力及び衝撃を減少させ、RFID23の破損を防ぎ、RFID23中への浸水も防ぐ作用をする。
【0156】
図25を参照するに、この第11の実施の形態の連長体99の製造方法としては、長尺の第1テープ体25の片面に付けた接着材層27に、RFID供給装置49からRFID23が上記の第1テープ体25の長手方向に一定間隔の1mピッチで供給され、第1テープ体25の片面の接着材層27に貼着される。次いで、ゲル状物供給装置103からゲル状物101が供給されRFID23を封入する。その後、第2テープ体33が上記のゲル状物101の外側から覆うようにして裏面の接着材層77を介して第1テープ体25に貼り合わされ、加圧ローラ79にて貼着され、連長体99が製造される。
【0157】
次に、上記の第5〜第11の実施の形態の連長体69,81,83,89,91,97,99が図5に示されている光ファイバケーブル1に使用されたときの効果性を確認するために、以下の比較試験を行った。
【0158】
〔比較試験3〕
まず、上記の第5〜第11の実施の形態で使用された緩衝体と光ファイバケーブル1の外皮19の硬度とを比較すると、表3のようになる。
【0159】
【表3】
Figure 2004266886
表3に示されているように、各材料の硬度は、硬い方から、PET(100)>低密度ポリエチレン(90)>不織布(10)>ゲル状物(O)の順であった。硬度試験は、JIS K6301に基づいて行った。ゲル状物は、JIS K6301試験と同体積分の試料を用いて測定した。
【0160】
〔比較試験4〕
図5の光ファイバケーブルに基づいて、上記の第5〜第11の実施の形態の連長体69,81,83,89,91,97,99を使用したケーブルと、前述した比較例1の連長体67を使用したケーブル(前述した比較例2のケーブル)と、RFID23の単体をケーブル長手方向に1mピッチの間隔で外皮19の中に埋め込んだケーブル(比較例3)と、を比較する試験を行った。
【0161】
ちなみに、試験方法は圧壊試験(JIS C6821準拠)に基づくものであり、試験条件は前述した比較試験2と同様である。その結果、表4に示されているように情報が読みとれたときの最大の印可荷重が得られる試験値として確認された。
【0162】
【表4】
Figure 2004266886
以上の表4から分かるように、RFID23の単体をケーブル中に埋め込んだケーブルや、比較例1を使用したケーブルよりも、第5〜第11の実施の形態の連長体(緩衝体を含むもの)を使用したケーブルの方が、RFID23が壊れて情報が読みとれなくなるまでの荷重が大きく、機械的特性に優れている。したがって、連長体の中に埋め込まれた面状緩衝体75,85やゲル状物101などの緩衝体が、ケーブル1の外皮19よりも柔らかいために、RFID23にかかる外力の伝達を減少させている。
【0163】
〔比較試験5〕
上記の第11の実施の形態の連長体99と、第11の実施の形態でゲル状物101の代わりに吸水性高分子(ポリアクリル酸塩)を用いた連長体と、前述した比較例1の連長体67と、RFID23の単体との防水性を比較する防水性試験を行った。なお、試験方法はIEC529準拠したものであり、試験特性としてはIPの等級である。
【0164】
ちなみに、IP(International Protection)の各等級としては、次に示す通りである。IP65級は、噴流水に対する構造であり、内径6.3mmのノズルを用い、29.4kPaの水を3mの距離からあらゆる方向に15分注水しても水が進入しない構造である。IP66級は、波浪に対する構造であり、内径12.5mmのノズルを用い、98kPaの水を3mの距離からあらゆる方向に1分間注水しても水が進入しない構造である。IP67級は、水中への浸漬に対する保護構造であり、水深1mに30分間没しても水が進入しない構造である。
【0165】
【表5】
Figure 2004266886
以上の表5から分かるように、RFID23の単体や、比較例1の連長体よりも、第11の実施の形態の連長体99の方が、防水グレードが高く、防水性に優れている。特に、RFID23を封入する封入緩衝物としては吸水性高分子の粉末よりもゲル状物101の方が防水性に優れている。したがって、封入緩衝物により連長体自体の防水性が向上するので、封入緩衝物を備えた連長体を縦添えしたケーブルが高湿環境下に置かれても、浸水によるRFIDの破壊が起こりにくくなるため、RFIDの惰報が読みとれるケーブルとなる。
【0166】
なお、この発明は前述した実施の形態に限定されることなく、適宜な変更を行うことによりその他の態様で実施し得るものである。
【0167】
【発明の効果】
以上のごとき発明の実施の形態の説明から理解されるように、請求項1の発明によれば、RFIDをその付近で前記RFIDより厚いスペーサで保護しているので、連長体の機械的強度を向上でき、連長体に外力が加わっても、スペーサにより外力を吸収し、RFIDの破損を防止できる。
【0168】
請求項2の発明によれば、当該RFIDより厚いテープ状のスペーサの穴部でRFIDを囲むことにより確実に保護できる。
【0169】
請求項3の発明によれば、RFIDをその付近の両側にある2枚の厚いテープ状のスペーサで確実に保護できる。
【0170】
請求項4の発明によれば、当該RFIDより厚いリング形状のスペーサの穴部でRFIDを囲むことにより確実に保護できる。
【0171】
請求項5の発明によれば、少なくともRFIDの片面に被覆した第2面状緩衝体によりRFIDにかかる外力を吸収できるので、RFIDへ伝達する外力及び衝撃を減少せしめ、RFIDの破損を防止できる。また、第1面状緩衝体と第2面状緩衝体を用いた場合はRFIDの保護状態をより一層良好にでき、長尺のテープ体と第2面状緩衝体を用いた場合は経済的に寄与できる。
【0172】
請求項6の発明によれば、第2面状緩衝体がRFIDを被覆可能であれば、長尺のテープ状であっても、ディスク形状であっても適用できる。
【0173】
請求項7の発明によれば、RFIDの片面に被覆した面状緩衝体によりRFIDにかかる外力を吸収できるので、RFIDへ伝達する外力及び衝撃を減少せしめ、RFIDの破損を防止できる。第1テープ体と第2テープ体との間で面状緩衝体を被覆することにより安定した状態にできる。
【0174】
請求項8の発明によれば、第1テープ体と第2テープ体との間で複数のRFIDを被覆することにより安定した状態にできる。しかも第2テープ体の外面に面状緩衝体を被覆しているので、各RFIDにかかる外力を前記面状緩衝体によって吸収できるため、RFIDへ伝達する外力及び衝撃を減少せしめ、RFIDの破損を防止できる。
【0175】
請求項9の発明によれば、第1テープ体と封入緩衝物との間で複数の各RFIDを封入することにより、各RFIDにかかる外力を前記封入緩衝物によって吸収できるため、RFIDへ伝達する外力及び衝撃を減少せしめ、RFIDの破損を防止できる。また、封入緩衝物により連長体自体の防水性を向上できるので、浸水によるRFIDの破壊を起こりにくくできる。
【0176】
請求項10の発明によれば、連長体を製造ラインで容易に製造できると共に製造された連長体は、請求項1記載の効果と同様に、RFIDをその付近で前記RFIDより厚いスペーサで保護しているので、連長体の機械的強度を向上でき、連長体に外力が加わっても、スペーサにより外力を吸収し、RFIDの破損を防止できる。
【0177】
請求項11の発明によれば、連長体を製造ラインで容易に製造できると共に製造された連長体は、請求項5記載の効果と同様に、少なくともRFIDの片面に被覆した第2面状緩衝体によりRFIDにかかる外力を吸収できるので、RFIDへ伝達する外力及び衝撃を減少せしめ、RFIDの破損を防止できる。また、第1面状緩衝体と第2面状緩衝体を用いた場合はRFIDの保護状態をより一層良好にでき、長尺のテープ体と第2面状緩衝体を用いた場合は経済的に寄与できる。
【0178】
請求項12の発明によれば、連長体を製造ラインで容易に製造できると共に製造された連長体は、請求項7記載の効果と同様に、RFIDの片面に被覆した面状緩衝体によりRFIDにかかる外力を吸収できるので、RFIDへ伝達する外力及び衝撃を減少せしめ、RFIDの破損を防止できる。第1テープ体と第2テープ体との間で面状緩衝体を被覆することにより安定した状態にできる。
【0179】
請求項13の発明によれば、連長体を製造ラインで容易に製造できると共に製造された連長体は、請求項8記載の効果と同様に、第1テープ体と第2テープ体との間で複数のRFIDを被覆することにより安定した状態にできる。しかも第2テープ体の外面に面状緩衝体を被覆しているので、各RFIDにかかる外力を前記面状緩衝体によって吸収できるため、RFIDへ伝達する外力及び衝撃を減少せしめ、RFIDの破損を防止できる。
【0180】
請求項14の発明によれば、連長体を製造ラインで容易に製造できると共に製造された連長体は、請求項9記載の効果と同様に、第1テープ体と封入緩衝物との間で複数の各RFIDを封入することにより、各RFIDにかかる外力を前記封入緩衝物によって吸収できるため、RFIDへ伝達する外力及び衝撃を減少せしめ、RFIDの破損を防止できる。また、封入緩衝物により連長体自体の防水性を向上できるので、浸水によるRFIDの破壊を起こりにくくできる。
【0181】
請求項15の発明によれば、連長体によりRFIDを光ファイバケーブルの長尺方向に一定間隔で配列しているので、光ファイバケーブルの一部を露出すれば、RFIDに書き込まれているケーブル情報を例えばリーダ/ライタ機器により容易に識別でき、光ファイバケーブルの誤切断を防止でき、工事費の削減を図ることができる。
【0182】
しかも、請求項1記載の連長体をケーブルに縦添えしたので、請求項1記載の効果と同様に、RFIDをその付近で前記RFIDより厚いスペーサで保護しているので、連長体の機械的強度を向上でき、連長体に外力が加わっても、スペーサにより外力を吸収し、RFIDの破損を防止できる。その結果、ケーブルに大きな外力がかかっても、RFIDの惰報を読みとることができる。
【0183】
請求項16の発明によれば、連長体に外力がかかっても、請求項2記載の効果と同様に、当該RFIDより厚いテープ状のスペーサの穴部でRFIDを囲むことにより確実に保護できる。
【0184】
請求項17の発明によれば、連長体に外力がかかっても、請求項3記載の効果と同様に、RFIDをその付近の両側にある2枚の厚いテープ状のスペーサで確実に保護できる。
【0185】
請求項18の発明によれば、連長体に外力がかかっても、請求項4記載の効果と同様に、当該RFIDより厚いリング形状のスペーサの穴部でRFIDを囲むことにより確実に保護できる。
【0186】
請求項19の発明によれば、連長体によりRFIDをケーブルの長尺方向に一定間隔で配列しているので、請求項15記載の効果と同様に、ケーブル情報を容易に識別でき、光ファイバケーブルの誤切断を防止でき、工事費の削減を図ることができる。
【0187】
しかも、請求項5記載の連長体をケーブルに縦添えしたので、請求項5記載の効果と同様に、少なくともRFIDの片面に被覆した第2面状緩衝体によりRFIDにかかる外力を吸収できるので、RFIDへ伝達する外力及び衝撃を減少せしめ、RFIDの破損を防止できる。その結果、ケーブルに大きな外力がかかっても、RFIDの惰報を読みとることができる。また、第1面状緩衝体と第2面状緩衝体を用いた場合はRFIDの保護状態をより一層良好にでき、長尺のテープ体と第2面状緩衝体を用いた場合は経済的に寄与できる。
【0188】
請求項20の発明によれば、連長体においては、請求項6記載の効果と同様に、第2面状緩衝体がRFIDを被覆可能であれば、長尺のテープ状であっても、ディスク形状であっても適用できる。
【0189】
請求項21の発明によれば、連長体によりRFIDをケーブルの長尺方向に一定間隔で配列しているので、請求項15記載の効果と同様に、ケーブル情報を容易に識別でき、光ファイバケーブルの誤切断を防止でき、工事費の削減を図ることができる。
【0190】
しかも、請求項7記載の連長体をケーブルに縦添えしたので、請求項7記載の効果と同様に、RFIDの片面に被覆した面状緩衝体によりRFIDにかかる外力を吸収できるので、RFIDへ伝達する外力及び衝撃を減少せしめ、RFIDの破損を防止できる。その結果、ケーブルに大きな外力がかかっても、RFIDの惰報を読みとることができる。第1テープ体と第2テープ体との間で面状緩衝体を被覆することにより安定した状態にできる。
【0191】
請求項22の発明によれば、連長体によりRFIDをケーブルの長尺方向に一定間隔で配列しているので、請求項15記載の効果と同様に、ケーブル情報を容易に識別でき、光ファイバケーブルの誤切断を防止でき、工事費の削減を図ることができる。
【0192】
しかも、請求項8記載の連長体をケーブルに縦添えしたので、請求項8記載の効果と同様に、第1テープ体と第2テープ体との間で複数のRFIDを被覆することにより安定した状態にできる。しかも第2テープ体の外面に面状緩衝体を被覆しているので、各RFIDにかかる外力を前記面状緩衝体によって吸収できるため、RFIDへ伝達する外力及び衝撃を減少せしめ、RFIDの破損を防止できる。その結果、ケーブルに大きな外力がかかっても、RFIDの惰報を読みとることができる。
【0193】
請求項23の発明によれば、連長体によりRFIDをケーブルの長尺方向に一定間隔で配列しているので、請求項15記載の効果と同様に、ケーブル情報を容易に識別でき、光ファイバケーブルの誤切断を防止でき、工事費の削減を図ることができる。
【0194】
しかも、請求項9記載の連長体をケーブルに縦添えしたので、請求項9記載の効果と同様に、第1テープ体と封入緩衝物との間で複数の各RFIDを封入することにより、各RFIDにかかる外力を前記封入緩衝物によって吸収できるため、RFIDへ伝達する外力及び衝撃を減少せしめ、RFIDの破損を防止できる。その結果、ケーブルに大きな外力がかかっても、RFIDの惰報を読みとることができる。また、封入緩衝物により連長体自体の防水性を向上できるので、ケーブルが高湿環境下に置かれても、浸水によるRFIDの破壊が起こりにくくなるため、RFIDの惰報を読みとることができる。
【図面の簡単な説明】
【図1】この発明の第1の実施の形態の連長体の部分的な斜視図である。
【図2】図1の連長体の全体的な概略を示す斜視図である。
【図3】図1で用いるRFIDの概略的な斜視図である。
【図4】図1の連長体の製造工程の概略的な説明図である。
【図5】この発明の実施の形態の光ファイバケーブルの断面図である。
【図6】図5の光ファイバケーブル内に収納される光ファイバ心線としての例えば4心テープの断面図である。
【図7】この発明の第2の実施の形態の連長体の部分的な斜視図である。
【図8】この発明の第3の実施の形態の連長体の部分的な斜視図である。
【図9】この発明の第4の実施の形態の連長体の部分的な斜視図である。
【図10】比較例1の連長体の部分的な斜視図である。
【図11】この発明の第5の実施の形態の連長体の部分的な斜視図である。
【図12】図11の連長体の全体的な概略を示す斜視図である。
【図13】(A)は図11の連長体の長手方向の断面図で、(B)は(A)の矢視XIII−XIII線の断面図である。
【図14】図11の連長体の製造工程の概略的な説明図である。
【図15】この発明の第6の実施の形態の連長体を示すもので、(A)は連長体の長手方向の断面図で、(B)は(A)の矢視XV−XV線の断面図である。
【図16】この発明の第7の実施の形態の連長体の部分的な斜視図である。
【図17】(A)は図16の連長体の長手方向の断面図で、(B)は(A)の矢視XVII−XVII線の断面図である。
【図18】図16の連長体の製造工程の概略的な説明図である。
【図19】この発明の第8の実施の形態の連長体を示すもので、(A)は連長体の長手方向の断面図で、(B)は(A)の矢視XIX−XIX線の断面図である。
【図20】この発明の第9の実施の形態の連長体を示すもので、(A)は連長体の長手方向の断面図で、(B)は(A)の矢視XX−XX線の断面図である。
【図21】図20の連長体の製造工程の概略的な説明図である。
【図22】この発明の第10の実施の形態の連長体を示すもので、(A)は連長体の長手方向の断面図で、(B)は(A)の矢視XXII−XXII線の断面図である。
【図23】図22の連長体の製造工程の概略的な説明図である。
【図24】この発明の第11の実施の形態の連長体を示すもので、(A)は連長体の長手方向の断面図で、(B)は(A)の矢視XXIV−XXIV線の断面図である。
【図25】図22の連長体の製造工程の概略的な説明図である。
【符号の説明】
1 光ファイバケーブル
3 スロッドロッド(収納部)
9 4心テープ(光ファイバ心線)
15 連長体
19 外皮
21 連長体(第1の実施の形態の)
23 RFID
25 第1テープ体
29 スペーサ
31 穴部
33 第2テープ体
49 RFID供給装置
53 連長体(第2の実施の形態の)
55 スペーサ
57 連長体(第3の実施の形態の)
59 スペーサ
61 連長体(第4の実施の形態の)
63 穴部
65 スペーサ
69 連長体(第5の実施の形態の)
71 第1面状緩衝体
75 第2面状緩衝体(テープ状)
81 連長体(第6の実施の形態の)
83 連長体(第7の実施の形態の)
85 第2面状緩衝体(ディスク状)
87 緩衝体供給装置
89 連長体(第8の実施の形態の)
91 連長体(第9の実施の形態の)
93 第2面状緩衝体(テープ状)
97 連長体(第10の実施の形態の)
99 連長体(第11の実施の形態の)
101 ゲル状物(封入緩衝物)
103 ゲル状物供給装置[0001]
TECHNICAL FIELD OF THE INVENTION
The present invention relates to a continuous body provided with an RFID capable of easily identifying only a target cable from a large number of cables laid, a manufacturing method thereof, and an optical fiber cable using the continuous body About.
[0002]
[Prior art]
For example, a number of optical fiber cables are laid in the trough, and equipment rooms are provided at intervals of 2.5 to 5 km, and the above-mentioned many cables are connected to connection terminals of each equipment room. The management of each cable of the connection terminal and the removal of the cable are required to reliably identify each cable.
[0003]
As a conventional cable identification method, a method of performing identification printing on the outer surface of a cable, or attaching an identification tag to the end of each cable has been adopted. In the above-described identification print, cable information such as a manufacturer name / manufacturing date / cable product name / length is displayed on the cable surface by ink, thermal transfer, laser, or the like. In the case of the identification tag, for example, the cable information of the above-described items is engraved on a thin metal plate and attached to each cable, or is suspended by a metal wire or the like (for example, see Patent Document 1).
[0004]
As another cable identification method, a QR code printing paper in which the installation related information of the optical cable is converted into a two-dimensional QR code and printed is attached to the outer cover of the optical cable. At the time of maintenance or the like, the recorded information is read out at the installation site by scanning the QR code printed paper with a code reader. The information of the optical cable is similarly read from the above-described QR code printing paper in place of the bar code, the magnetic card, and the IC card (for example, see Patent Document 2).
[0005]
[Patent Document 1]
JP-A-6-60750 ([0012]-[0013], FIG. 1)
[0006]
[Patent Document 2]
JP 2001-21730 A ([0012] to [0018], FIG. 1)
[0007]
[Problems to be solved by the invention]
By the way, in the conventional cable identification method, when the identification printing is performed on the cable surface, the printing is performed in the longitudinal direction of the cable. There was a problem that it could not be confirmed unless it was exposed. Removal of long sections of trough lids and soil will increase construction costs. For this reason, the entire length of the identification print is desirably 1 m or less, but the number of characters that can be printed to about 1 m is limited, so that it is impossible to describe all necessary information. .
[0008]
In addition, in the identification printing, characters may disappear when a long period of time elapses or is rubbed.
[0009]
In addition, in the case of the method of attaching the identification tag, since it is necessary to attach the tag to a long cable at a constant interval, there is a problem that the number of the tag becomes enormous and the construction cost is increased.
[0010]
Further, the number of characters that can be written in the identification tag is limited, and it is impossible to describe all necessary information. In addition, characters are written on the identification tag by engraving or the like, but there is a problem that the characters may be blurred after a long period of time, as in the case of the identification printing, and may not be distinguished.
[0011]
In addition, when a QR code printing paper, a bar code, a magnetic card, an IC card, or the like is stuck on the outer cover of the optical cable, the writing information is small, and it becomes indistinguishable after a long period of time or rubbing. There is a problem that this occurs.
[0012]
The identification of cables is necessary to determine the target cable from a large number of cables at the time of re-laying or spreading work. However, the identification printing, identification tag, QR code printing paper, and barcode are unclear. Or when there are a plurality of cables having the same display, there is a problem that it takes much time to determine the information.
[0013]
Furthermore, if the wrong cable is disconnected, the device controlled by the signal flowing through the cable may malfunction or stop the information, resulting in a serious accident. .
[0014]
SUMMARY OF THE INVENTION The present invention has been made to solve the above-described problems, and has as its object to easily and reliably identify only a desired cable from among a large number of cables, and to reduce the adverse effects from external force applied to the cables. An object of the present invention is to provide a continuous body provided with an RFID which can be performed, a manufacturing method thereof, and an optical fiber cable using the continuous body.
[0015]
[Means for Solving the Problems]
In order to achieve the above object, a continuous body according to the present invention according toclaim 1 includes a long tape body, a plurality of RFIDs arranged on one surface of the tape body at appropriate intervals in the longitudinal direction thereof, and And a spacer having a thickness larger than that of the RFID and attached to the vicinity of the RFID so as to protect the RFID from external force.
[0016]
Therefore, since the RFID is protected by a spacer thicker than the RFID in the vicinity thereof, the mechanical strength of the elongated body is improved, and even if an external force is applied to the elongated body, the spacer absorbs the external force and the RFID is damaged. Is prevented.
[0017]
The continuous body according to the present invention according to claim 2 is the continuous body according toclaim 1, wherein the spacer has a long tape shape that can be attached to one surface of the tape body, and the plurality of RFIDs are attached. It is characterized by comprising a plurality of holes to be accommodated therein.
[0018]
Therefore, the RFID is reliably protected by being surrounded by the hole of the tape-shaped spacer thicker than the RFID.
[0019]
According to a third aspect of the present invention, in the continuous body according to the first aspect, the spacer has a tape shape that can be attached to one surface of the tape body and sandwiches each of the plurality of RFIDs. It is characterized by being arranged on both sides.
[0020]
Therefore, the RFID is reliably protected by the two thick tape-like spacers on both sides near the RFID.
[0021]
According to a fourth aspect of the present invention, in the continuous body according to the first aspect, the spacer has a ring shape having a hole that can be attached to one surface of the tape body and that can accommodate the RFID. It is characterized by performing.
[0022]
Therefore, the RFID is reliably protected by being surrounded by the hole of the ring-shaped spacer thicker than the RFID.
[0023]
According to the fifth aspect of the present invention, the continuous body according to the present invention has a long tape body or a first planar buffer, and is arranged on one surface of the tape body or the first planar buffer at appropriate intervals in the longitudinal direction thereof. A plurality of RFIDs, and a second planar buffer attached to the tape body or the first planar buffer by covering the RFID from outside to absorb and protect the external force applied to the RFID. It is characterized by the following.
[0024]
Therefore, since the external force applied to the RFID is absorbed by the second planar cushioning member coated on at least one side of the RFID, the external force and impact transmitted to the RFID are reduced, and the RFID is prevented from being damaged. Further, when the first planar buffer and the second planar buffer are used, the protection state of the RFID is further improved, and when the long tape and the second planar buffer are used. Becomes economical.
[0025]
According to a sixth aspect of the present invention, in the continuous body according to the fifth aspect, the second planar buffer is a long tape that can cover a plurality of RFIDs or can cover each RFID. It has a characteristic disk shape.
[0026]
Therefore, as long as the second planar buffer can cover the RFID, the second planar buffer may be applied in the form of a long tape or a disk.
[0027]
According to a seventh aspect of the present invention, there is provided a continuous elongated body, comprising: a long first tape body; a plurality of RFIDs arranged on one surface of the first tape body at appropriate intervals in a longitudinal direction thereof; A planar buffer body that is stacked so as to sandwich the RFID between the first tape body to absorb and protect the RFID tag, and a second buffer body that covers the planar buffer body from the outside and adheres to the first tape body. And a two-tape body.
[0028]
Accordingly, the external force applied to the RFID is absorbed by the planar cushioning member coated on one side of the RFID, so that the external force and impact transmitted to the RFID are reduced, and the RFID is prevented from being damaged. Since the planar buffer is covered between the first tape and the second tape, a stable state is achieved.
[0029]
According to an eighth aspect of the present invention, there is provided a continuous elongated body, comprising: a long first tape body; a plurality of RFIDs arranged on one surface of the first tape body at appropriate intervals in the longitudinal direction; A second tape body that covers and adheres to the first tape body, and a planar buffer body that adheres to the outside of the second tape body to absorb and protect the external force applied to the RFID. It is a feature.
[0030]
Therefore, since a plurality of RFIDs are covered between the first tape body and the second tape body, a stable state is achieved. In addition, since the outer surface of the second tape body is covered with the planar buffer, the external force applied to each RFID is absorbed by the planar buffer, so that the external force and impact transmitted to the RFID are reduced, and the RFID is damaged. Is prevented.
[0031]
According to a ninth aspect of the present invention, there is provided an elongated body according to the present invention, comprising a long first tape body, a plurality of RFIDs arranged on one surface of the first tape body at appropriate intervals in a longitudinal direction thereof, and an external force applied to the RFIDs. Buffer for enclosing the RFID from the outside with the first tape body to absorb and protect the RFID tag, and a second tape for covering the enclosure buffer from outside and sticking to the first tape body And a body.
[0032]
Therefore, since each of the plurality of RFIDs is sealed between the first tape body and the sealing buffer, the external force applied to each RFID is absorbed by the sealing buffer, so that the external force and impact transmitted to the RFID are reduced. , RFID is prevented from being damaged. In addition, the sealing buffer improves the waterproofness of the continuous body itself, so that it is difficult for the RFID to be destroyed due to water intrusion, so that the RFID information can be read even in a high humidity environment.
[0033]
According to a tenth aspect of the present invention, in the method for manufacturing a continuous elongated body, a plurality of RFIDs are arranged on one surface of a long tape body at appropriate intervals in a longitudinal direction of the tape body to protect the plurality of RFIDs from external force. Preferably, a spacer having a thickness larger than that of the RFID is attached to the vicinity of the RFID.
[0034]
Therefore, the continuous body is easily manufactured on the manufacturing line, and the manufactured continuous body is protected by the thicker spacer than the RFID in the vicinity of the RFID in the vicinity of the RFID, similarly to the operation according toclaim 1. The mechanical strength of the elongate body is improved, and even if an external force is applied to the elongate body, the spacer absorbs the external force and the breakage of the RFID is prevented.
[0035]
In the method for manufacturing a continuous elongated body according to the present invention, a plurality of RFIDs may be disposed on one surface of a long tape body or a first planar buffer in a longitudinal direction of the tape or the first planar buffer. And the outside of the RFID is covered with a second planar buffer to absorb and protect the external force applied to the RFID, and the second planar buffer is a tape body or a first planar buffer. Characterized in that it is attached to
[0036]
Therefore, the continuous body is easily manufactured on the manufacturing line, and the manufactured continuous body is applied to the RFID by the second planar buffer coated on at least one side of the RFID in the same manner as in the fifth aspect. Since the external force is absorbed, the external force and impact transmitted to the RFID are reduced, and the RFID is prevented from being damaged. Further, when the first planar buffer and the second planar buffer are used, the protection state of the RFID is further improved, and when the long tape and the second planar buffer are used. Becomes economical.
[0037]
According to a twelfth aspect of the present invention, in the method for manufacturing a continuous elongated body according to the present invention, a plurality of RFIDs are appropriately spaced on one surface of a long tape body or the first planar buffer in the longitudinal direction of the tape or the first planar buffer. And the outside of the RFID is covered with a second planar buffer to absorb and protect the external force applied to the RFID, and the second planar buffer is a tape body or a first planar buffer. Characterized in that it is attached to
[0038]
Therefore, the continuous body is easily manufactured on the manufacturing line, and the manufactured continuous body absorbs the external force applied to the RFID by the planar cushioning member coated on one side of the RFID in the same manner as in the seventh aspect. Therefore, external force and impact transmitted to the RFID are reduced, and damage to the RFID is prevented. Since the planar buffer is covered between the first tape and the second tape, a stable state is achieved.
[0039]
According to a thirteenth aspect of the present invention, there is provided the continuous tape manufacturing method, wherein the plurality of RFIDs are arranged on one surface of the long first tape at appropriate intervals in the longitudinal direction of the first tape. Then, the RFID is covered from the outside and the second tape body is adhered to the first tape body, and a planar buffer is provided on the outside of the second tape body to absorb and protect an external force applied to the RFID. It is characterized by sticking.
[0040]
Accordingly, the continuous body is easily manufactured on the manufacturing line, and the manufactured continuous body has a plurality of RFIDs between the first tape body and the second tape body. Because it is covered, it is in a stable state. In addition, since the outer surface of the second tape body is covered with the planar buffer, the external force applied to each RFID is absorbed by the planar buffer, so that the external force and impact transmitted to the RFID are reduced, and the RFID is damaged. Is prevented.
[0041]
According to a fourteenth aspect of the present invention, in the method for manufacturing a continuous elongated body, a plurality of RFIDs are arranged on one surface of a long first tape body at appropriate intervals in a longitudinal direction of the first tape body, and the RFID is applied to the RFID. The RFID is sealed between the first tape body from the outside with a sealing buffer to absorb and protect the external force, and the second tape body is covered by covering the sealing buffer with a second tape body from the outside. It is characterized in that it is attached to a first tape body.
[0042]
Therefore, the continuous body is easily manufactured on the manufacturing line, and the manufactured continuous body has a plurality of RFIDs between the first tape body and the enclosing buffer in the same manner as the operation ofclaim 9. Since the enclosure is sealed, the external force applied to each RFID is absorbed by the enclosure buffer, so that the external force and impact transmitted to the RFID are reduced, and the RFID is prevented from being damaged. In addition, since the waterproofness of the continuous body itself is improved by the enclosed buffer, destruction of the RFID due to water infiltration is less likely to occur, so that RFID information can be read even in a high humidity environment.
[0043]
The optical fiber cable of the present invention according toclaim 15 is an optical fiber cable comprising a substantially cylindrical outer sheath member, and a storage portion for storing a tensile strength member and a plurality of optical fiber cores inside the outer sheath member.
A long tape body, a plurality of RFIDs arranged on one side of the tape body at appropriate intervals in the longitudinal direction, and affixed near the RFIDs to absorb and protect external force applied to the RFIDs; A continuous body consisting of a spacer having a thickness larger than that of the RFID is housed vertically along the inside or the surface of the outer cover member.
[0044]
Therefore, since the RFIDs are arranged at regular intervals in the longitudinal direction of the optical fiber cable by the continuous body, if a part of the optical fiber cable is exposed, the cable information written in the RFID can be read, for example, by a reader / writer device. Thus, the optical fiber cable can be easily identified and erroneous cutting of the optical fiber cable can be prevented. Along with this, it will also contribute to the reduction of construction costs.
[0045]
Moreover, since the continuous body according to the first aspect is vertically attached to the cable, the RFID of the continuous body is protected by a spacer thicker than the RFID in the vicinity of the continuous body in the same manner as the operation according to the first aspect. In addition, the mechanical strength of the elongated body is improved, and even if an external force is applied to the elongated body, the spacer absorbs the external force and the RFID is prevented from being damaged. Therefore, even if a large external force is applied to the cable, the information of the RFID can be read.
[0046]
The optical fiber cable according to the present invention according to claim 16 is the optical fiber cable according toclaim 15, wherein the spacer has a long tape shape that can be attached to one surface of the tape body, and the plurality of RFIDs are attached. It is characterized by comprising a plurality of holes to be accommodated therein.
[0047]
Therefore, even when an external force is applied to the continuous body, the RFID is reliably protected by being surrounded by the hole of the tape-shaped spacer thicker than the RFID, similarly to the operation of the second aspect.
[0048]
The optical fiber cable according to the present invention according toclaim 17 is the optical fiber cable according toclaim 15, wherein the spacer has a tape shape that can be attached to one surface of the tape body and sandwiches the plurality of RFIDs. It is characterized by being arranged on both sides.
[0049]
Therefore, even when an external force is applied to the continuous body, the RFID is reliably protected by the two thick tape-like spacers on both sides in the vicinity of the RFID in the same manner as in the third aspect.
[0050]
According to an eighteenth aspect of the present invention, there is provided an optical fiber cable according to the fifteenth aspect, wherein the spacer has a hole that can be attached to one surface of the tape body and that can accommodate the RFID. It is characterized by performing.
[0051]
Therefore, even if an external force is applied to the continuous body, the RFID is reliably protected by being surrounded by the hole of the ring-shaped spacer thicker than the RFID, similarly to the operation of the fourth aspect.
[0052]
An optical fiber cable according to the present invention according toclaim 19, wherein an optical fiber cable provided with a substantially cylindrical outer cover member, and a storage portion for storing a tensile strength member and a plurality of optical fiber cores inside the outer cover member,
A long tape body or a first planar buffer, a plurality of RFIDs arranged on one surface of the tape body or the first planar buffer at appropriate intervals in the longitudinal direction thereof, and absorbing an external force applied to the RFID; And a second planar buffer attached to the tape body or the first planar buffer to cover the RFID from the outside to protect the RFID. It is characterized by being housed vertically.
[0053]
Therefore, since the RFIDs are arranged at regular intervals in the longitudinal direction of the cable by the continuous body, the cable information can be easily identified and the erroneous cutting of the optical fiber cable can be prevented, as in the operation of the fifteenth aspect. It also contributes to the reduction of construction costs.
[0054]
In addition, since the continuous body according to the fifth aspect is vertically attached to the cable, the external force applied to the RFID is absorbed by the second planar buffer coated on at least one side of the RFID, similarly to the operation according to the fifth aspect. Therefore, external force and impact transmitted to the RFID are reduced, and damage to the RFID is prevented. Therefore, even if a large external force is applied to the cable, the coast information of the RFID can be read. Further, when the first planar buffer and the second planar buffer are used, the protection state of the RFID is further improved, and when the long tape and the second planar buffer are used. Becomes economical.
[0055]
An optical fiber cable according to the present invention according to claim 20 is the optical fiber cable according toclaim 19, wherein the second planar buffer is a long tape that can cover a plurality of RFIDs or can cover each RFID. It has a characteristic disk shape.
[0056]
Therefore, in the continuous elongated body, as in the case of the sixth aspect, as long as the second planar buffer can cover the RFID, it can be applied to a long tape or a disk. Is done.
[0057]
The optical fiber cable according to the present invention according toclaim 21 is an optical fiber cable comprising a substantially cylindrical outer sheath member, and a storage portion for storing a tensile strength member and a plurality of optical fiber cores inside the outer sheath member.
A long first tape body, a plurality of RFIDs arranged on one surface of the first tape body at appropriate intervals in the longitudinal direction thereof, and the RFIDs to absorb and protect an external force applied to the RFIDs; A continuous buffer consisting of a planar buffer that is stacked so as to be sandwiched between one tape and a second tape that covers the planar buffer from outside and adheres to the first tape; It is characterized by being housed vertically inside or on the outer skin member.
[0058]
Therefore, since the RFIDs are arranged at regular intervals in the longitudinal direction of the cable by the continuous body, the cable information can be easily identified and the erroneous cutting of the optical fiber cable can be prevented, as in the operation of the fifteenth aspect. It also contributes to the reduction of construction costs.
[0059]
Moreover, since the continuous body according to the seventh aspect is vertically attached to the cable, the external force applied to the RFID is absorbed by the planar cushioning member coated on one side of the RFID in the same manner as the operation according to the seventh aspect. , External force and impact transmitted to the RFID are reduced, and damage to the RFID is prevented. Therefore, even if a large external force is applied to the cable, the coast information of the RFID can be read. Since the planar buffer is covered between the first tape and the second tape, a stable state is achieved.
[0060]
The optical fiber cable according to the present invention according to claim 22, wherein an optical fiber cable provided with a substantially cylindrical outer cover member, and a storage portion for storing a tensile strength member and a plurality of optical fiber core wires inside the outer cover member,
A long first tape body, a plurality of RFIDs arranged on one surface of the first tape body at appropriate intervals in a longitudinal direction thereof, and covering the RFIDs from outside, and attaching the RFIDs to the first tape body; A continuous body consisting of a second tape body and a planar buffer attached to the outside of the second tape body to absorb and protect the external force applied to the RFID is vertically arranged inside or on the outer skin member. It is characterized by being housed together.
[0061]
Therefore, since the RFIDs are arranged at regular intervals in the longitudinal direction of the cable by the continuous body, the cable information can be easily identified and the erroneous cutting of the optical fiber cable can be prevented, as in the operation of the fifteenth aspect. It also contributes to the reduction of construction costs.
[0062]
Moreover, since the continuous body described inclaim 8 is vertically attached to the cable, a plurality of RFIDs are covered between the first tape body and the second tape body in the same manner as the operation described inclaim 8. So it will be in a stable state. In addition, since the outer surface of the second tape body is covered with the planar buffer, the external force applied to each RFID is absorbed by the planar buffer, so that the external force and impact transmitted to the RFID are reduced, and the RFID is damaged. Is prevented. Therefore, even if a large external force is applied to the cable, the coast information of the RFID can be read.
[0063]
The optical fiber cable according to the present invention according toclaim 23, wherein an optical fiber cable provided with a substantially cylindrical outer cover member and a storage portion for storing a tensile strength member and a plurality of optical fiber cores inside the outer cover member,
A long first tape body, a plurality of RFIDs arranged on one surface of the first tape body at appropriate intervals in a longitudinal direction thereof, and the RFIDs from outside to absorb and protect an external force applied to the RFIDs. The continuous body consisting of an enclosure buffer to be enclosed between the first tape body and a second tape body covering the enclosure buffer from outside and attaching to the first tape body, It is characterized by being housed vertically inside the member or on the surface thereof.
[0064]
Therefore, since the RFIDs are arranged at regular intervals in the longitudinal direction of the cable by the continuous body, the cable information can be easily identified and the erroneous cutting of the optical fiber cable can be prevented, as in the operation of the fifteenth aspect. It also contributes to the reduction of construction costs.
[0065]
In addition, since the continuous body according to the ninth aspect is vertically attached to the cable, the plurality of RFIDs are sealed between the first tape body and the sealing buffer, similarly to the operation according to the ninth aspect. Therefore, since the external force applied to each RFID is absorbed by the enclosure buffer, the external force and impact transmitted to the RFID are reduced, and the RFID is prevented from being damaged. Therefore, even if a large external force is applied to the cable, the information of the RFID can be read. In addition, since the waterproofness of the continuous body itself is improved by the inclusion buffer, even if the cable is placed in a high-humidity environment, it is difficult for the RFID to be destroyed due to water infiltration, so that the cable can read RFID information. .
[0066]
BEST MODE FOR CARRYING OUT THE INVENTION
Hereinafter, embodiments of the present invention will be described with reference to the drawings.
[0067]
Referring to FIG. 5, theoptical fiber cable 1 according to the present embodiment is a slot-type cable as a storage portion, but is not limited to the slot type, and may be a strand-type or tube-type cable. . In this embodiment, a slot type cable will be described.
[0068]
In thecable 1, atensile member 5 made of a material such as a steel wire, FRP, or high-strength fiber is inserted through a substantially central portion of along slot rod 3 having a substantially circular cross section. A plurality ofslot grooves 7, in this embodiment, fiveslot grooves 7 are provided in parallel with each other along the longitudinal direction of theslot rod 3.
[0069]
Further, inside the above-mentioned fiveslot grooves 7, for example, five pieces of optical fiber ribbons 9 (hereinafter, referred to as “four-core tape”) as optical fiber cores are respectively stored, and a total of 100 cores are provided. The optical fiber is housed. As shown in FIG. 6, the four-core tape 9 is composed of four single-coreoptical fibers 11 arranged in parallel, and acoating layer 13 made of resin is formed around the single-core optical fiber. It is manufactured in one piece. The optical fiber cores accommodated in theslot grooves 7 are not limited to the above-described four-core tapes 9 or the like, but may be other types of optical fiber cores.
[0070]
Further, theelongated body 15 according to the embodiment of the present invention is vertically attached to the outer peripheral surface of theslot rod 3. Thecontinuous body 15 is configured by arranging RFIDs (Radio Frequency Identification; radio frequency identification) on a long tape-shaped member at a constant pitch in the longitudinal direction and will be described later in detail.
[0071]
As described above, a plurality of four-core tapes 9 are accommodated in eachslot groove 7 and thecontinuous rod 15 is vertically attached to the outer peripheral surface of theslot rod 3. It is horizontally wound with a presser winding 17. The outer side of the presser winding 17 is sheathed with anouter skin 19 of, for example, PE resin. In addition, as the sheath material of theouter cover 19, PVC, a non-halo flame retardant material, or an eco material may be used in addition to the above PE.
[0072]
Next, thecontinuous body 15 according to the embodiment of the present invention will be described in detail.
[0073]
Referring to FIGS. 1 and 2, for example, thecontinuous body 21 of the first embodiment as thecontinuous body 15 includes a plurality ofRFIDs 23 on one surface of a longfirst tape body 25 as appropriate in the longitudinal direction thereof. They are arranged at intervals and are adhesively fixed. In the first embodiment, they are arranged at a constant pitch P, that is, at 1 m pitch. Thefirst tape body 25 is made of PET (polyethylene terephthalate), has a thickness of 30 μm, and a width of 30 mm. Anadhesive layer 27 such as a hot melt resin is provided on one surface of thefirst tape body 25 in advance. Have been.
[0074]
Further, in order to protect theRFID 23 from external force, aspacer 29 thicker than theRFID 23 is attached near theRFID 23. In the first embodiment, thespacer 29 is in the form of a long tape that can be attached to one surface of thefirst tape body 25, and the plurality ofRFIDs 23 that house the plurality ofRFIDs 23 therein are included. Theholes 31 are provided at the same pitch P as the arrangement state of theRFIDs 23, for example, at a pitch of 1 m.
[0075]
Thespacer 29 is made of polyethylene, has a thickness of 0.8 mm and a width of 30 mm, and thehole 31 has a substantially circular shape and a diameter of 22 mm. TheRFID 23 has a disk shape with a diameter of 20 mm and a thickness of 0.35 mm.
[0076]
Thespacer 29 is attached to one surface of thefirst tape body 25 via anadhesive layer 27 so as to accommodate eachRFID 23 in the plurality ofholes 31, and thefirst tape body 25 is attached to the upper surface of thespacer 29. Asecond tape body 33 having the same material, thickness and width is attached via anadhesive layer 35 on the back surface in FIG. Thesecond tape body 33 is preferable in terms of forming the solidelongated body 21, but is not necessarily required to satisfy the function of theelongated body 21.
[0077]
More specifically, as shown in FIG. 3, in this embodiment, theRFID 23 has anIC chip 39 storing cable information in a hollow, substantially disk-shapedplastic case 37, and theIC chip 39. And anantenna coil 41 electrically connected to the antenna. Theantenna coil 41 includes a disk-shapedmagnetic core member 43 and a coveredcopper wire 45 serving as a coil body spirally wound around themagnetic core member 43. That is, theRFID 23 is configured such that the cable information stored in theIC chip 39 via theantenna coil 41 can be read and written by a radio wave transmitted from a read / writer device using electromagnetic induction.
[0078]
With the above configuration, for example, a case where a large number of optical fiber cables are laid along a railway line, and theoptical fiber cable 1 according to the embodiment of the present invention is used as a large number of optical fiber cables along the railway line as an example Explaining, equipment rooms are provided along the track at intervals of 2.5 to 5 km, and the large number ofcables 1 are connected to connection terminals of each equipment room.
[0079]
It is necessary to identify eachcable 1 when managing and removing thecables 1 of the connection terminals. At the time of identification of eachcable 1, theRFID 23 is arranged at a constant interval of 1 m in the long direction in eachcable 1, so that if a part of thecable 1 is exposed, theRFID 23 can be found, and the electromagnetic induction is used. The read / writer device can easily obtain the cable information written in theRFID 23. Further, reading / writing to / from theIC chip 39 in theRFID 23 is easily performed by the above read / writer device. In addition, the information written in theRFID 23 does not disappear with the passage of time, and thetarget cable 1 can be easily identified in a short time by a read / writer device. Therefore, erroneous cutting of theoptical fiber cable 1 can be prevented, which also contributes to reduction of construction costs.
[0080]
As described above, theIC chip 39 is used for theRFID 23. Since the peripheral portion of theIC chip 39 has poor mechanical strength, a plurality of theRFIDs 23 are simply fixed to one side of the tape body. In the body, there is a concern that theIC chip 39 of theRFID 23 may be damaged by external force. Further, when the above-described continuous body is disposed inside or on the surface of theoptical fiber cable 1, the IC portion of theRFID 23 may be damaged by the force inside or outside the cable, and the cable may not be identified.
[0081]
However, in thecontinuous body 21 according to the first embodiment of the present invention, since the thickness of thespacer 29 is 0.8 mm with respect to the thickness of theRFID 23 of 0.35 mm, as shown in FIG. TheRFID 23 is protected by being surrounded by thespacer 29. Therefore, even if an external force is applied to thecontinuous body 21, thespacer 29 absorbs the external force, and the breakage of theRFID 23 is prevented.
[0082]
Next, a method of manufacturing theelongated body 21 according to the first embodiment will be described. A detailed description of the same parts as those of the aforementionedelongated body 21 will be omitted.
[0083]
Referring to FIG. 4, anadhesive layer 27 is provided on one surface of a longfirst tape body 25, and a long tape-shapedspacer 29 is provided on one surface of thefirst tape body 25 with apressure roller 47. It is stuck on. Thespacers 29 are provided withholes 31 having a size capable of accommodating the RFIDs 23 at a constant pitch P (1 m pitch in this embodiment) in the longitudinal direction in advance.
[0084]
As described above, thefirst tape body 25 is made of PET and has a thickness of 30 μm and a width of 30 mm. Thespacer 29 is made of polyethylene and has a thickness of 0.8 mm and a width of 30 mm. Thehole 31 is substantially circular with a diameter of 22 mm.
[0085]
Next, theRFID 23 is supplied into thehole 31 of thespacer 29 from theRFID supply device 49 provided in front (to the right in FIG. 4) of thepressure roller 47, and the adhesive material on one surface of thefirst tape body 25 is provided. Affixed tolayer 27. TheRFID 23 has a disk shape with a diameter of 20 mm and a thickness of 0.35 mm. Therefore, the plurality ofRFIDs 23 are arranged on one surface of thefirst tape body 25 at a pitch of 1 m in the longitudinal direction.
[0086]
Next, asecond tape body 33 having the same material, thickness, and width as thefirst tape body 25 is adhered to the upper surface of thespacer 29 via anadhesive layer 35, and adhered by apressure roller 51. Thus, thecontinuous body 21 is manufactured.
[0087]
Next, acontinuous body 53 according to a second embodiment of the present invention will be described in detail. The detailed description of the same parts as those of theelongated body 21 of the first embodiment is omitted.
[0088]
Referring to FIG. 7, acontinuous tape 53 has afirst tape body 25 and asecond tape body 33 similar to thecontinuous tape 21 of the first embodiment, but has two tape-shapedspacers 55. Are arranged on both sides of theRFID 23. That is, thespacer 55 is made of polyethylene, is a long tape having a width of 4 mm and a thickness of 0.8 mm, and the twospacers 55 are formed along thefirst tape body 25 along both side edges in the width direction. TheRFID 23 is attached to theadhesive layer 27 of thetape body 25, and theRFIDs 23 are arranged at a substantially central portion between the twospacers 55 at appropriate intervals in the longitudinal direction of thefirst tape body 25, and are adhered and fixed. ing. In the second embodiment, they are arranged at regular intervals of 1 m.
[0089]
Asecond tape body 33 having the same material, thickness, and width as thefirst tape body 25 is attached to the upper surfaces of the twospacers 55 via anadhesive layer 35 on the back surface in FIG.
[0090]
The operation of theelongated body 53 of the second embodiment is substantially the same as that of theelongated body 21 described above. Since the thickness of thespacer 55 is basically larger than the thickness of theRFID 23, theRFID 23 It is protected by spacers 55 on both sides. Even if an external force is applied to thecontinuous body 53, the external force is absorbed by thespacer 55, and theRFID 23 is prevented from being damaged.
[0091]
As a method of manufacturing the continuouselongated body 53 of the second embodiment, two long tape-shapedspacers 55 are attached to theadhesive layer 27 attached to one surface of the longfirst tape body 25. Onetape body 25 is adhered along both side edges in the width direction. As in the case of the first embodiment shown in FIG.
[0092]
Next, theRFID 23 is supplied from theRFID supply device 49 to a substantially central portion between the twospacers 55 at a constant pitch of 1 m, and is attached to theadhesive layer 27 on one surface of thefirst tape body 25. Next, asecond tape body 33 is adhered to the upper surfaces of the twospacers 55 via anadhesive layer 35, and is adhered by thepressure roller 51 as in the case of FIG. 4 of the first embodiment. Thecontinuous body 53 is manufactured.
[0093]
Next, acontinuous body 57 according to a third embodiment of the present invention will be described in detail. The detailed description of the same parts as those in the first and second embodiments is omitted.
[0094]
Referring to FIG. 8, thecontinuous body 57 is different from thecontinuous body 53 of the second embodiment in that two tape-shaped spacers are disposed on both sides of theRFID 23. Similarly, in this embodiment, twospacers 59 are disposed on both sides in the longitudinal direction of thefirst tape body 25 with respect to eachRFID 23, and are arranged in a direction orthogonal to the longitudinal direction of thefirst tape body 25. It is attached to one side of thefirst tape body 25 via anadhesive layer 27 in a stretched form. Thespacer 59 is made of polyethylene and has a tape shape with a width of 4 mm, a thickness of 0.8 mm, and a length of 30 mm.
[0095]
Further, on the upper surface of the twospacers 59 and on one surface of thefirst tape body 25, asecond tape body 33 having the same material, thickness, and width as thefirst tape body 25 is provided with anadhesive layer 35 on the back surface in FIG. Is pasted through.
[0096]
The operation of theelongated body 57 of the third embodiment is substantially the same as that of theelongated body 53 described above. Since the thickness of thespacer 59 is basically larger than the thickness of theRFID 23, theRFID 23 It is protected by spacers 59 on both sides. Even if an external force is applied to thecontinuous body 57, the external force is absorbed by the twospacers 59, and the breakage of theRFID 23 is prevented.
[0097]
As a method of manufacturing the continuouselongated body 57 of the third embodiment, two tape-shapedspacers 59 are attached to theadhesive layer 27 attached to one surface of the longfirst tape body 25. Thefirst tape body 25 is supplied in such a manner that it is stretched in a direction orthogonal to the longitudinal direction of thefirst tape body 25 at both sides of the position where theRFID 23 is to be attached at a constant pitch of 1 m in the longitudinal direction of thefirst tape body 25. It is adhered by thepressure roller 47 as in the case of FIG. 4 of the embodiment.
[0098]
Next, theRFID 23 is supplied between the twospacers 59 from theRFID supply device 49 and is attached to theadhesive layer 27 on one side of thefirst tape body 25. Next, thesecond tape body 33 is adhered to the upper surface of each of thespacers 59 and one surface of thefirst tape body 25 via theadhesive layer 35 on the back surface of thesecond tape body 33, and a diagram of the first embodiment. As in the case of No. 4, it is adhered by thepressure roller 51, and thecontinuous body 57 is manufactured.
[0099]
Next, acontinuous body 61 according to a fourth embodiment of the present invention will be described in detail. The detailed description of the same parts as those of theelongated body 21 of the first embodiment is omitted.
[0100]
Referring to FIG. 9, thecontinuous body 61 has afirst tape body 25 and asecond tape body 33 similar to thecontinuous body 21 of the first embodiment. Ring-shapedspacers 65 having 63 are arranged at appropriate intervals in the longitudinal direction of thefirst tape body 25 and are adhesively fixed. In the fourth embodiment, thefirst tape body 25 is arranged at a constant interval of 1 m pitch and is bonded to theadhesive layer 27 of thefirst tape body 25. Thespacer 65 is made of polyethylene, has a thickness of 0.8 mm, an inner diameter of thehole 63 is 22 mm, and an outer diameter is 30 mm. Each of the plurality ofRFIDs 23 is attached to the inside of thehole 63 of eachspacer 65 on one side of thefirst tape body 25 via theadhesive layer 27.
[0101]
Asecond tape body 33 having the same material, thickness, and width as thefirst tape body 25 is provided on the upper surface of thespacer 65 and one surface of thefirst tape body 25 via theadhesive layer 35 on the back surface in FIG. Affixed.
[0102]
The operation of theelongated body 61 of the fourth embodiment is substantially the same as that of theelongated body 21 described above. Since the thickness of thespacer 65 is basically larger than the thickness of theRFID 23, theRFID 23 It is protected by being surrounded by thespacer 65. Even if an external force is applied to thecontinuous body 61, the external force is absorbed by thespacer 65, and theRFID 23 is prevented from being damaged.
[0103]
As a method of manufacturing the continuouselongated body 61 of the fourth embodiment, a ring-shapedspacer 65 is attached to theadhesive layer 27 attached to one surface of the longfirst tape body 25. In the direction, the position where theRFID 23 is to be stuck at a constant pitch of 1 m is supplied so as to be surrounded by thehole 63 of thespacer 65, and is supplied to thepressing roller 47 in the same manner as in the case of FIG. 4 of the first embodiment. Is attached.
[0104]
Next, theRFID 23 is supplied from theRFID supply device 49 into thehole 63 of thespacer 65, and is attached to theadhesive layer 27 on one surface of thefirst tape body 25. Next, thesecond tape body 33 is adhered to the upper surface of each of thespacers 65 and one surface of thefirst tape body 25 via theadhesive layer 35 on the back surface of thesecond tape body 33, and a diagram of the first embodiment. As in the case of No. 4, it is adhered by thepressure roller 51, and thecontinuous body 61 is manufactured.
[0105]
Next, a comparison was made to confirm the effectiveness when thecontinuous bodies 21, 53, 57, and 61 of the first to fourth embodiments were used for theoptical fiber cable 1 shown in FIG. Thecontinuous body 67 of Example 1 was manufactured, and the following comparative test was performed.
[0106]
Referring to FIG. 10, as thecontinuous body 67 of Comparative Example 1, thefirst tape body 25, thesecond tape body 33, theRFID 23, and the arrangement state of theRFID 23 are the same as those of the first to fourth embodiments. This is the same as thecontinuous bodies 21, 53, 57, and 61, except that thefirst tape body 25 and thesecond tape body 33 are bonded together without spacers.
[0107]
[Comparative test 1]
Impact resistance tests were performed on theelongated bodies 21, 53, 57, and 61 of the first to fourth embodiments and theelongated body 67 of Comparative Example 1, respectively. Incidentally, the impact test method was performed based on an impact test ("IEC68-2-27 (1987): Basic environmental testing procedures Part 2.1: Tests Test Ea: Shock"). The test conditions are such that a load of 40 g is applied to theRFID 23 in one direction from directly above theRFID 23 at a speed of 18 msec. As for the number of tests, the test is performed 100 times, and the operation is confirmed every 100 times. If the information can be read, the test is continued. As a result, as shown in Table 1, the maximum number of times the information was read was confirmed. The upper limit of the test was 2000 times.
[0108]
[Table 1]
Figure 2004266886
As can be seen from Table 1 above, therun 67 in Comparative Example 1 could not read the information of theRFID 23 after the application of 600 shocks. That is, the number of times of impact resistance was 500 times. In therunners 21, 53, 57, and 61 of the first to fourth embodiments, information was read even after the upper limit of 2,000 times was performed.
[0109]
Therefore, in any of theelongated members 21, 53, 57, and 61 of the first to fourth embodiments, it is clear that theRFID 23 is protected by the external force absorbed by thespacer 65.
[0110]
[Comparative test 2]
Further, in order to confirm the effectiveness of theoptical fiber cable 1 in which theelongated bodies 21, 53, 57, and 61 of the above-described first to fourth embodiments are vertically attached to the inside or the surface of the cable, the first Theoptical fiber cable 1 of the embodiment of FIG. 5 to which theelongated body 21 of the embodiment is longitudinally attached is manufactured as a representative, and theelongated body 67 of the comparative example 1 is formed inside the cable in the same manner as in the embodiment of FIG. Were manufactured as Comparative Example 2 and a comparative test was performed on each of them.
[0111]
Incidentally, the test method was based on a crush test (based on JIS C6821). The test condition was a steel plate for crush test 100 mm, a load was applied to theRFID 23 portion with the cable surface with theRFID 23 facing upward. The application time at this time is one minute. Note that the applied load is increased in steps of 5 N / mm. Then, it was confirmed whether or not the information from theRFID 23 could be read for each test, and as shown in Table 2, it was confirmed as a test value at which the maximum applicable load when the information was read was obtained.
[0112]
[Table 2]
Figure 2004266886
As can be seen from Table 2 above, with the optical fiber cable of Comparative Example 2, information could not be read when the applied load was 10 N / mm. In the optical fiber cable of this embodiment, information could not be read at 20 N / mm. Therefore, it is clear that the continuous body using the spacer of the present invention has better mechanical properties even in the cable state.
[0113]
Next, acontinuous body 69 according to a fifth embodiment of the present invention will be described in detail. The detailed description of the same parts as those of theelongated body 21 of the first embodiment is omitted.
[0114]
Referring to FIGS. 11 to 13, thecontinuous body 69 is configured such that the RFIDs 23 are arranged on one surface of a long tape-shaped firstplanar buffer 71 at appropriate intervals in the longitudinal direction, and are adhesively fixed. I have. In the fifth embodiment, they are arranged at a constant pitch P, that is, at a pitch of 1 m.
[0115]
The firstplanar buffer 71 is made of non-woven fabric, has a thickness of 1 mm, and has a width of 30 mm. Anadhesive layer 73 is provided on one surface of the firstplanar buffer 71 in advance. A polyacrylate is mixed as a water-absorbing polymer having an effect.
[0116]
Further, in order to protect theRFID 23 from external force, a secondplanar buffer 75 is attached to the firstplanar buffer 71 so as to cover theRFID 23 from outside. The secondplanar buffer 75 has the same material, thickness and width as the firstplanar buffer 71 described above, and is mixed with polyacrylate as a water-absorbing polymer. Anadhesive layer 77 is previously attached to one surface of the secondplanar buffer 75.
[0117]
The first and secondplanar buffers 71 and 75 can be made of a material that is softer than theouter sheath 19 of the vertically attachedoptical fiber cable 1 to obtain an effect of absorbing external force. Therefore, in order to make the material sufficiently softer than theouter cover 19, paper, nonwoven fabric, cotton, cloth, or the like can be preferably used. Also, soft plastics can be used. The cushioning material is not limited to a solid, but may be a gel-like material that is sealed in the vicinity of theRFID 23. The greater the thickness of the first and secondplanar buffers 71 and 75, the greater the effect obtained.
[0118]
In addition, the first and secondplanar buffers 71 and 75 are wrapped with a water-absorbing polymer such as starch, cellulose, polyvinyl alcohol, and polyacrylate, or are coated with adhesive or kneaded to reduce water absorption. Enhanced ones are also preferred.
[0119]
The effect of thecontinuous body 69 of the fifth embodiment is that the first and secondplanar buffers 71 and 75, which have a lower hardness than theouter cover 19 of thecable 1, cover at least theRFID 23 on at least one surface of theRFID 23. With such a configuration, even if an external force is applied to theelongated body 69, the surface first andsecond cushions 71 and 75 serve as cushioning materials, and the external force and impact are transmitted to theRFID 23. And the damage of theRFID 23 can be prevented. Further, by mixing the first and secondplanar buffers 71 and 75 with a water-absorbing polymer having a waterproof effect, there is also an effect of preventing theRFID 23 from being immersed in water.
[0120]
Referring to FIG. 14, as a method of manufacturing thecontinuous body 69 of the fifth embodiment, anRFID supply device 49 is attached to anadhesive layer 73 attached to one surface of a long firstplanar buffer 71. A disk-shapedRFID 23 having a diameter of 20 mm and a thickness of 0.35 mm is supplied at a regular interval of 1 m in the longitudinal direction of the firstplanar buffer 71, and an adhesive material on one surface of the firstplanar buffer 71 is provided. Affixed tolayer 73. Then, the secondplanar buffer 75 is attached to one surface of the firstplanar buffer 71 via theadhesive layers 73 and 77 so as to cover theRFID 23, and is adhered by thepressure roller 79, Theelongated body 69 is manufactured.
[0121]
Next, acontinuous body 81 according to a sixth embodiment of the present invention will be described in detail. The detailed description of the same parts as those of theelongated bodies 21 and 69 of the first and fifth embodiments described above is omitted.
[0122]
Referring to FIG. 15, the continuouselongated body 81 has the RFIDs 23 arranged on one surface of the longfirst tape body 25 at a constant interval of 1 m in the longitudinal direction in the sixth embodiment, and is adhesively fixed. ing. Thefirst tape body 25 is made of PET, has a thickness of 30 μm, and a width of 30 mm. Anadhesive layer 27 is provided on one surface of thefirst tape body 25 in advance.
[0123]
Further, in order to protect the above-mentionedRFID 23 from external force, a tape-shaped second planar buffer having the same material, thickness and width as in the fifth embodiment and mixed with a water-absorbing polymer is used.Reference numeral 75 covers theRFID 23 from outside and is attached to thefirst tape body 25.
[0124]
The action of theelongated body 81 of the sixth embodiment is configured such that a secondplanar buffer 75 having a smaller hardness than theouter sheath 19 of the cable covers at least theRFID 23 on at least one surface of theRFID 23. Therefore, even if an external force is applied to thecontinuous body 81, the above-mentioned secondplanar buffer 75 serves as a cushioning material, which reduces the transmission of external force and impact to theRFID 23, and prevents theRFID 23 from being damaged. Can be. In addition, since the secondplanar buffer 75 is mixed with the water-absorbing polymer, there is also an effect of preventing water from entering theRFID 23.
[0125]
As a method of manufacturing theelongated body 81 of the sixth embodiment, a method of manufacturing theelongated body 69 of the fifth embodiment described above with reference to FIG. Is the same except that thefirst tape body 25 is replaced, and a detailed description thereof will be omitted.
[0126]
Next, acontinuous body 83 according to a seventh embodiment of the present invention will be described in detail. The detailed description of the same parts as those of theelongated bodies 21 and 69 of the first and fifth embodiments described above is omitted.
[0127]
Referring to FIGS. 16 and 17, thecontinuous body 83 has aRFID 23 on one side of a long tape-shaped firstplanar buffer 71. In the seventh embodiment, a 1 m pitch is provided at regular intervals in the longitudinal direction. It is arranged with and fixed by adhesive.
[0128]
The firstplanar buffer 71 is made of a non-woven fabric and has a thickness of 1 mm and a width of 30 mm, similarly to the case of theelongated body 69. Alayer 73 is provided, and polyacrylate is mixed as a water-absorbing polymer.
[0129]
Further, in order to protect theRFID 23 from external force, a disk-shaped secondplanar buffer 85 is attached to the firstplanar buffer 71 so as to cover theRFID 23 from outside. The secondplanar buffer 85 is made of non-woven fabric and has a thickness of 1 mm and a diameter of 25 mm. Anadhesive layer 77 is provided on one surface of the secondplanar buffer 85 in advance. Polyacrylate is mixed as a polymer.
[0130]
The operation of theelongated body 83 of the seventh embodiment is basically the same as that of theelongated body 69 of the fifth embodiment, and the disk-shaped secondplanar buffer 85 is added to theRFID 23. It functions to reduce external force and impact, prevent breakage of theRFID 23, and prevent water from entering theRFID 23.
[0131]
Referring to FIG. 18, as a method of manufacturing thecontinuous body 83 of the seventh embodiment, anRFID supply device 49 is attached to anadhesive layer 73 attached to one surface of a long firstplanar buffer 71. Are supplied at regular intervals of 1 m in the longitudinal direction of the firstplanar buffer 71, and are adhered to theadhesive layer 73 on one side of the firstplanar buffer 71. Next, a disk-shaped secondplanar buffer 85 is adhered from thebuffer supply device 87 to the upper surface of theRFID 23 via theadhesive layer 77 on the back surface, and the secondplanar buffer 85 is attached to theRFID 23 by thepressure roller 79. The firstplanar buffer 71 is bonded to one surface of the firstplanar buffer 71 via theadhesive layers 73 and 77 so as to cover the firstplanar buffer 71, whereby thecontinuous body 83 is manufactured.
[0132]
Next, acontinuous body 89 according to an eighth embodiment of the present invention will be described in detail. The detailed description of the same parts as those of theelongated bodies 21 and 83 of the first and seventh embodiments is omitted.
[0133]
Referring to FIG. 19, the continuouselongated body 89 has theRFID 23 arranged on one surface of the longfirst tape body 25 at a constant interval of 1 m in the longitudinal direction in the eighth embodiment, and is adhesively fixed. ing. Thefirst tape body 25 is made of PET, has a thickness of 30 μm, and a width of 30 mm. Anadhesive layer 27 is provided on one surface of thefirst tape body 25 in advance.
[0134]
Further, in order to protect theRFID 23 from external force, a disk-shaped secondplanar buffer 85 is attached to thefirst tape body 25 so as to cover theRFID 23 from outside. The secondplanar buffer 85 is made of non-woven fabric and has a thickness of 1 mm and a diameter of 25 mm. Anadhesive layer 77 is provided on one surface of the secondplanar buffer 85 in advance. Polyacrylate is mixed as a polymer.
[0135]
The operation of theelongated body 89 of the eighth embodiment is basically the same as that of theelongated body 69 of the fifth embodiment, and the disk-shaped secondplanar buffer 85 is added to theRFID 23. It functions to reduce external force and impact, prevent breakage of theRFID 23, and prevent water from entering theRFID 23.
[0136]
As a method of manufacturing theelongated body 89 of the eighth embodiment, the method of manufacturing theelongated body 83 of the seventh embodiment described above with reference to FIG. Is the same except that thefirst tape body 25 is replaced, and a detailed description thereof will be omitted.
[0137]
Next, acontinuous body 91 according to a ninth embodiment of the present invention will be described in detail. The detailed description of the same parts as those of theelongated bodies 21 and 69 of the first and fifth embodiments described above is omitted.
[0138]
Referring to FIG. 20, thecontinuous body 91 has the RFIDs 23 arranged on one surface of the longfirst tape body 25 at a constant pitch of 1 m in the longitudinal direction in the ninth embodiment, and is adhesively fixed. ing. Thefirst tape body 25 is made of PET, has a thickness of 30 μm, and a width of 30 mm. Anadhesive layer 27 is provided on one surface of thefirst tape body 25 in advance.
[0139]
Further, in order to protect theRFID 23 from external force, a tape-shaped secondplanar buffer 93 is laminated via anadhesive layer 77 so as to sandwich the upper surface of theRFID 23. The secondplanar buffer 93 is made of non-woven fabric, has a thickness of 1 mm, and has a width of 25 mm. Anadhesive layer 77 is provided on the back surface of the secondplanar buffer 93 in advance. Polyacrylate is mixed as a polymer.
[0140]
Further, a longsecond tape body 33 is attached to thefirst tape body 25 via theadhesive layer 27 on the back surface so as to cover the secondplanar buffer body 93 from outside. The material, thickness and width of thesecond tape body 33 are substantially the same as those of thefirst tape body 25.
[0141]
The action of theelongated body 91 of the ninth embodiment is basically the same as that of theelongated body 69 of the fifth embodiment, and the external force and impact applied to theRFID 23 , The damage of theRFID 23 is prevented, and the infiltration into theRFID 23 is also prevented.
[0142]
Referring to FIG. 21, as a method of manufacturing thecontinuous body 91 of the ninth embodiment, theadhesive layer 27 attached to one surface of the longfirst tape body 25 is attached from theRFID supply device 49 to theRFID 23. Is supplied at regular intervals of 1 m in the longitudinal direction of thefirst tape body 25, and is adhered to theadhesive layer 27 on one side of thefirst tape body 25. Next, the secondplanar buffer 93 is stacked so as to sandwich the upper surface of theRFID 23, and is adhered by thepressure roller 79 via theadhesive layer 77.
[0143]
Further, thesecond tape body 33 is bonded to thefirst tape body 25 via theadhesive layer 35 on the back surface so as to cover from the outside of the secondplanar buffer 93, and is bonded by thepressure roller 95. Then, thecontinuous body 91 is manufactured.
[0144]
Next, acontinuous body 97 according to a tenth embodiment of the present invention will be described in detail. The detailed description of the same parts as those of theelongated bodies 21 and 91 of the first and ninth embodiments is omitted.
[0145]
With reference to FIG. 22, thecontinuous body 97 has the RFIDs 23 arranged on one surface of the longfirst tape body 25 at a regular interval of 1 m in the longitudinal direction in the tenth embodiment, and is adhesively fixed. ing. Thefirst tape body 25 is made of PET, has a thickness of 30 μm, and a width of 30 mm. Anadhesive layer 27 is provided on one surface of thefirst tape body 25 in advance.
[0146]
Further, a longsecond tape body 33 is bonded to thefirst tape body 25 via anadhesive layer 35 on the back surface so as to cover theRFID 23 from outside. The material, thickness and width of thesecond tape body 33 are substantially the same as those of thefirst tape body 25.
[0147]
Further, in order to protect theRFID 23 from external force, a tape-shaped secondplanar buffer 93 is attached to the outside of thesecond tape body 33 via anadhesive layer 77. The secondplanar buffer 93 is made of non-woven fabric, has a thickness of 1 mm, and has a width of 25 mm. Anadhesive layer 77 is provided on the back surface of the secondplanar buffer 93 in advance. Polyacrylate is mixed as a polymer.
[0148]
The action of theelongated body 97 of the tenth embodiment is basically the same as that of theelongated body 69 of the fifth embodiment, and the secondplanar buffer 93 applies an external force and an impact applied to theRFID 23. , The damage of theRFID 23 is prevented, and the infiltration into theRFID 23 is also prevented.
[0149]
Referring to FIG. 23, as a method of manufacturing thecontinuous body 97 according to the tenth embodiment, theRFID layer 49 is attached to theadhesive layer 27 attached to one surface of the longfirst tape body 25. Is supplied at regular intervals of 1 m in the longitudinal direction of thefirst tape body 25, and is adhered to theadhesive layer 27 on one side of thefirst tape body 25. Next, thesecond tape body 33 is attached to thefirst tape body 25 via theadhesive layer 35 on the back surface so as to cover theRFID 23 from outside, and is attached by thepressure roller 79.
[0150]
Further, the secondplanar buffer 93 is overlaid on the upper surface of thesecond tape body 33, and is adhered by the pressingroller 95 via theadhesive layer 77, whereby thecontinuous body 97 is manufactured.
[0151]
Next, acontinuous body 99 according to an eleventh embodiment of the present invention will be described in detail. The detailed description of the same parts as those of theelongated bodies 21 and 69 of the first and fifth embodiments described above is omitted.
[0152]
Referring to FIG. 24, the continuous-length body 99 is configured such that theRFID 23 is arranged on one surface of the longfirst tape body 25 at a constant pitch of 1 m in the longitudinal direction in the eleventh embodiment, and is adhesively fixed. I have. Thefirst tape body 25 is made of PET, has a thickness of 30 μm, and a width of 30 mm. Anadhesive layer 27 is provided on one surface of thefirst tape body 25 in advance.
[0153]
Further, in order to protect the above-mentionedRFID 23 from external force, a gel-like substance 101 made of, for example, a gel-like substance as an enclosing buffer for enclosing theRFID 23 is enclosed between the outside of theRFID 23 and thefirst tape body 25. are doing. In addition, as the encapsulating buffer, a powder of a water-absorbing polymer may be used in place of the gel-like material 101.
[0154]
In addition, the longsecond tape body 33 is bonded to thefirst tape body 25 via theadhesive layer 77 on the back surface so as to cover from the outside of thegel material 101. The material, thickness and width of thesecond tape body 33 are substantially the same as those of thefirst tape body 25.
[0155]
The action of theelongated body 99 of the eleventh embodiment is basically the same as that of theelongated body 69 of the fifth embodiment, and the gel-like substance 101 or the powder of the water-absorbing polymer is applied to theRFID 23. It acts to reduce external force and impact to be applied, prevent breakage of theRFID 23, and prevent water from entering into theRFID 23.
[0156]
Referring to FIG. 25, as a method of manufacturing thecontinuous body 99 of the eleventh embodiment, theadhesive layer 27 attached to one surface of the longfirst tape body 25 is attached from theRFID supply device 49 to theRFID 23. Is supplied at regular intervals of 1 m in the longitudinal direction of thefirst tape body 25, and is adhered to theadhesive layer 27 on one side of thefirst tape body 25. Next, the gel-like material 101 is supplied from the gel-likematerial supply device 103 to enclose theRFID 23. Thereafter, thesecond tape body 33 is adhered to thefirst tape body 25 via theadhesive layer 77 on the back surface so as to cover the above-mentioned gel-like material 101 from the outside, and is adhered by thepressure roller 79, and Thelong body 99 is manufactured.
[0157]
Next, effects when theelongated bodies 69, 81, 83, 89, 91, 97, 99 of the fifth to eleventh embodiments are used for theoptical fiber cable 1 shown in FIG. The following comparative tests were performed to confirm the properties.
[0158]
[Comparative test 3]
First, Table 3 shows a comparison between the hardness of theouter cover 19 of theoptical fiber cable 1 and the buffer used in the fifth to eleventh embodiments.
[0159]
[Table 3]
Figure 2004266886
As shown in Table 3, the hardness of each material was in the order of PET (100)> low-density polyethylene (90)> nonwoven fabric (10)> gel (O) from the harder one. The hardness test was performed based on JIS K6301. The gel was measured using a sample of the same volume as in the JIS K6301 test.
[0160]
[Comparative test 4]
Based on the optical fiber cable of FIG. 5, a cable using theelongated bodies 69, 81, 83, 89, 91, 97, and 99 of the fifth to eleventh embodiments described above and the cable of Comparative Example 1 described above. A cable using the elongated body 67 (the cable of the comparative example 2 described above) is compared with a cable (Comparative Example 3) in which theRFID 23 alone is embedded in theouter cover 19 at a pitch of 1 m in the longitudinal direction of the cable. The test was performed.
[0161]
Incidentally, the test method is based on a crush test (based on JIS C6821), and the test conditions are the same as those in Comparative Test 2 described above. As a result, as shown in Table 4, it was confirmed as a test value at which a maximum applied load when information was read was obtained.
[0162]
[Table 4]
Figure 2004266886
As can be seen from Table 4 above, the continuous body (including the buffer) according to the fifth to eleventh embodiments is better than the cable in which theRFID 23 alone is embedded in the cable or the cable using Comparative Example 1. The cable using ()) has a larger load until theRFID 23 is broken and information cannot be read, and is superior in mechanical properties. Accordingly, since the buffer members such as theplanar buffer members 75 and 85 and thegel material 101 embedded in the continuous body are softer than theouter cover 19 of thecable 1, the transmission of the external force applied to theRFID 23 is reduced. I have.
[0163]
[Comparative test 5]
The comparison between theelongated body 99 according to the eleventh embodiment and the elongated body using a water-absorbing polymer (polyacrylate) instead of the gel-like material 101 according to the eleventh embodiment described above. A waterproofness test was performed to compare the waterproofness of thecontinuous body 67 of Example 1 with theRFID 23 alone. The test method is based on IEC529, and the test characteristics are IP grade.
[0164]
Incidentally, each grade of the IP (International Protection) is as follows. The IP65 class is a structure for jet water, and has a structure in which water of 29.4 kPa does not enter even when water of 29.4 kPa is injected from a distance of 3 m in all directions for 15 minutes using a nozzle having an inner diameter of 6.3 mm. The IP66 class is a structure against waves, and uses a nozzle having an inner diameter of 12.5 mm, and has a structure in which water does not enter even if 98 kPa of water is injected for 1 minute in all directions from a distance of 3 m from a distance of 3 m. The IP67 class is a protection structure against immersion in water, and is a structure in which water does not enter even if immersed at a depth of 1 m for 30 minutes.
[0165]
[Table 5]
Figure 2004266886
As can be seen from Table 5 described above, thecontinuous body 99 of the eleventh embodiment has a higher waterproof grade and is more excellent in waterproofness than the simple substance of theRFID 23 or the continuous body of Comparative Example 1. . In particular, as an encapsulating buffer for enclosing theRFID 23, the gel-like material 101 is more waterproof than the water-absorbing polymer powder. Accordingly, the sealing buffer enhances the waterproofness of the runner itself, so that even if the cable with the runner equipped with the sealant buffer is placed in a high-humidity environment, the destruction of the RFID due to inundation may occur Since it becomes difficult, it becomes a cable from which RFID coast information can be read.
[0166]
The present invention is not limited to the above-described embodiment, but can be embodied in other modes by making appropriate changes.
[0167]
【The invention's effect】
As understood from the above description of the embodiment of the invention, according to the invention ofclaim 1, since the RFID is protected by a spacer thicker than the RFID in the vicinity thereof, the mechanical strength of the continuous body is increased. Therefore, even if an external force is applied to the continuous body, the external force is absorbed by the spacer, and the breakage of the RFID can be prevented.
[0168]
According to the second aspect of the present invention, the RFID can be reliably protected by surrounding the RFID with the hole of the tape-like spacer thicker than the RFID.
[0169]
According to the third aspect of the present invention, the RFID can be reliably protected by the two thick tape-shaped spacers on both sides near the RFID.
[0170]
According to the invention of claim 4, the RFID can be reliably protected by surrounding the RFID with the hole of the ring-shaped spacer thicker than the RFID.
[0171]
According to the fifth aspect of the present invention, since the external force applied to the RFID can be absorbed by the second planar buffer coated on at least one surface of the RFID, the external force and impact transmitted to the RFID can be reduced, and the RFID can be prevented from being damaged. In addition, when the first planar buffer and the second planar buffer are used, the protection state of the RFID can be further improved, and when the long tape and the second planar buffer are used, economical. Can contribute to
[0172]
According to the invention of claim 6, as long as the second planar buffer can cover the RFID, the present invention can be applied to a long tape-shaped or disk-shaped one.
[0173]
According to the invention ofclaim 7, since the external force applied to the RFID can be absorbed by the planar cushioning member coated on one side of the RFID, the external force and impact transmitted to the RFID can be reduced, and the RFID can be prevented from being damaged. A stable state can be achieved by coating the planar buffer between the first tape and the second tape.
[0174]
According to the invention ofclaim 8, a stable state can be achieved by covering a plurality of RFIDs between the first tape body and the second tape body. Moreover, since the outer surface of the second tape body is covered with the planar buffer, the external force applied to each RFID can be absorbed by the planar buffer, so that the external force and impact transmitted to the RFID can be reduced, and the RFID can be damaged. Can be prevented.
[0175]
According to the ninth aspect of the present invention, by enclosing the plurality of RFIDs between the first tape body and the enclosing buffer, the external force applied to each RFID can be absorbed by the enclosing buffer, so that the RFID is transmitted to the RFID. External force and impact can be reduced, and breakage of the RFID can be prevented. In addition, the waterproofness of the continuous body itself can be improved by the enclosed buffer, so that the destruction of the RFID due to water infiltration can be suppressed.
[0176]
According to the tenth aspect of the present invention, the continuous body can be easily manufactured on the manufacturing line, and the manufactured continuous body can be configured such that the RFID is surrounded by a spacer thicker than the RFID in the vicinity thereof, similarly to the effect of the first aspect. Because of the protection, the mechanical strength of the elongated body can be improved, and even if an external force is applied to the elongated body, the external force can be absorbed by the spacer, and the breakage of the RFID can be prevented.
[0177]
According to the eleventh aspect of the present invention, the continuous body can be easily manufactured on the manufacturing line, and the manufactured continuous body is, like the effect of the fifth aspect, coated on at least one surface of the RFID. Since the external force applied to the RFID can be absorbed by the buffer, the external force and impact transmitted to the RFID can be reduced, and the breakage of the RFID can be prevented. In addition, when the first planar buffer and the second planar buffer are used, the protection state of the RFID can be further improved, and when the long tape and the second planar buffer are used, economical. Can contribute to
[0178]
According to the twelfth aspect of the present invention, the continuous body can be easily manufactured on the manufacturing line, and the manufactured continuous body is formed by the planar buffer coated on one side of the RFID in the same manner as the effect of the seventh aspect. Since the external force applied to the RFID can be absorbed, the external force and impact transmitted to the RFID can be reduced, and the breakage of the RFID can be prevented. A stable state can be achieved by coating the planar buffer between the first tape and the second tape.
[0179]
According to the thirteenth aspect of the present invention, the continuous body can be easily manufactured on the manufacturing line, and the manufactured continuous body can be connected to the first tape body and the second tape body similarly to the effect of the eighth aspect. A stable state can be achieved by coating a plurality of RFIDs between them. Moreover, since the outer surface of the second tape body is covered with the planar buffer, the external force applied to each RFID can be absorbed by the planar buffer, so that the external force and impact transmitted to the RFID can be reduced, and the RFID can be damaged. Can be prevented.
[0180]
According to the fourteenth aspect of the present invention, the continuous body can be easily manufactured on the manufacturing line, and the manufactured continuous body can be disposed between the first tape body and the sealing buffer in the same manner as in the ninth aspect. By enclosing a plurality of RFIDs, the external force applied to each RFID can be absorbed by the enclosing buffer, so that the external force and impact transmitted to the RFID can be reduced, and the breakage of the RFID can be prevented. In addition, the waterproofness of the continuous body itself can be improved by the enclosed buffer, so that the destruction of the RFID due to water infiltration can be suppressed.
[0181]
According to the fifteenth aspect of the present invention, since the RFIDs are arranged at regular intervals in the longitudinal direction of the optical fiber cable by the continuous body, if a part of the optical fiber cable is exposed, the cable written on the RFID can be used. Information can be easily identified by, for example, a reader / writer device, erroneous cutting of the optical fiber cable can be prevented, and construction costs can be reduced.
[0182]
Moreover, since the continuous body according to the first aspect is vertically attached to the cable, the RFID is protected by a spacer thicker than the RFID in the vicinity thereof in the same manner as the effect according to the first aspect. Therefore, even if an external force is applied to the continuous body, the external force is absorbed by the spacer, and the breakage of the RFID can be prevented. As a result, even if a large external force is applied to the cable, the coast information of the RFID can be read.
[0183]
According to the sixteenth aspect, even if an external force is applied to the continuous body, the RFID can be reliably protected by surrounding the RFID with the hole of the tape-shaped spacer thicker than the RFID, similarly to the effect of the second aspect. .
[0184]
According to the seventeenth aspect, even when an external force is applied to the continuous body, the RFID can be reliably protected by the two thick tape-shaped spacers on both sides in the vicinity of the RFID in the same manner as the effect of the third aspect. .
[0185]
According to the eighteenth aspect, even when an external force is applied to the continuous body, the RFID can be reliably protected by surrounding the RFID with the hole of the ring-shaped spacer thicker than the RFID, similarly to the effect of the fourth aspect. .
[0186]
According to the nineteenth aspect of the present invention, the RFIDs are arranged at constant intervals in the longitudinal direction of the cable by the continuous body, so that the cable information can be easily identified as in the case of the fifteenth aspect. It is possible to prevent erroneous disconnection of the cable and to reduce the construction cost.
[0187]
Moreover, since the continuous body according to the fifth aspect is vertically attached to the cable, the external force applied to the RFID can be absorbed by the second planar buffer coated on at least one side of the RFID, similarly to the effect according to the fifth aspect. The external force and impact transmitted to the RFID can be reduced, and the RFID can be prevented from being damaged. As a result, even if a large external force is applied to the cable, the coast information of the RFID can be read. In addition, when the first planar buffer and the second planar buffer are used, the protection state of the RFID can be further improved, and when the long tape and the second planar buffer are used, economical. Can contribute to
[0188]
According to the twentieth aspect, in the continuous body, as long as the effect of the sixth aspect, as long as the second planar buffer can cover the RFID, even if it is in the form of a long tape, Applicable even in the form of a disc.
[0189]
According to the twenty-first aspect of the present invention, the RFIDs are arranged at a constant interval in the longitudinal direction of the cable by the continuous body, so that the cable information can be easily identified as in the case of the fifteenth aspect. It is possible to prevent erroneous disconnection of the cable and to reduce the construction cost.
[0190]
In addition, since the continuous body according to the seventh aspect is vertically attached to the cable, the external force applied to the RFID can be absorbed by the planar buffer coated on one side of the RFID in the same manner as the effect according to the seventh aspect. The transmitted external force and impact can be reduced, and the breakage of the RFID can be prevented. As a result, even if a large external force is applied to the cable, the coast information of the RFID can be read. A stable state can be achieved by coating the planar buffer between the first tape and the second tape.
[0191]
According to the twenty-second aspect of the present invention, the RFIDs are arranged at regular intervals in the longitudinal direction of the cable by the continuous body, so that the cable information can be easily identified as in the case of the fifteenth aspect. It is possible to prevent erroneous disconnection of the cable and to reduce the construction cost.
[0192]
In addition, since the continuous body according toclaim 8 is vertically attached to the cable, a plurality of RFIDs are covered between the first tape body and the second tape body in a manner similar to the effect according toclaim 8, thereby providing stability. It can be in a state of having done. Moreover, since the outer surface of the second tape body is covered with the planar buffer, the external force applied to each RFID can be absorbed by the planar buffer, so that the external force and impact transmitted to the RFID can be reduced, and the RFID can be damaged. Can be prevented. As a result, even if a large external force is applied to the cable, the coast information of the RFID can be read.
[0193]
According to the twenty-third aspect of the present invention, since the RFIDs are arranged at regular intervals in the longitudinal direction of the cable by the continuous body, the cable information can be easily identified and the optical fiber can be easily identified in the same manner as the effect of the fifteenth aspect. It is possible to prevent erroneous disconnection of the cable and to reduce the construction cost.
[0194]
Moreover, since the continuous body according to the ninth aspect is vertically attached to the cable, a plurality of RFIDs are encapsulated between the first tape body and the encapsulating buffer, similarly to the effect according to the ninth aspect. Since the external force applied to each RFID can be absorbed by the enclosure buffer, external force and impact transmitted to the RFID can be reduced, and damage to the RFID can be prevented. As a result, even if a large external force is applied to the cable, the coast information of the RFID can be read. In addition, since the waterproofness of the continuous body itself can be improved by the enclosed buffer, even if the cable is placed in a high-humidity environment, it is difficult for the destruction of the RFID due to inundation to occur, so it is possible to read the RFID information of the RFID. .
[Brief description of the drawings]
FIG. 1 is a partial perspective view of an elongated body according to a first embodiment of the present invention.
FIG. 2 is a perspective view showing an overall outline of the continuous body of FIG. 1;
FIG. 3 is a schematic perspective view of the RFID used in FIG. 1;
FIG. 4 is a schematic explanatory view of a manufacturing process of the continuous body in FIG. 1;
FIG. 5 is a sectional view of the optical fiber cable according to the embodiment of the present invention.
6 is a sectional view of, for example, a 4-core tape as an optical fiber core housed in the optical fiber cable of FIG. 5;
FIG. 7 is a partial perspective view of a continuous body according to a second embodiment of the present invention.
FIG. 8 is a partial perspective view of a continuous body according to a third embodiment of the present invention.
FIG. 9 is a partial perspective view of a continuous body according to a fourth embodiment of the present invention.
FIG. 10 is a partial perspective view of a continuous body of Comparative Example 1.
FIG. 11 is a partial perspective view of a continuous body according to a fifth embodiment of the present invention.
FIG. 12 is a perspective view showing the general outline of the continuous body of FIG. 11;
13A is a longitudinal sectional view of the elongated body of FIG. 11, and FIG. 13B is a sectional view taken along line XIII-XIII of FIG. 13A.
FIG. 14 is a schematic explanatory view of a manufacturing process of the continuous body in FIG. 11;
15A and 15B show a continuous body according to a sixth embodiment of the present invention, wherein FIG. 15A is a longitudinal sectional view of the continuous body, and FIG. 15B is a sectional view taken along the line XV-XV of FIG. It is sectional drawing of a line.
FIG. 16 is a partial perspective view of a continuous body according to a seventh embodiment of the present invention.
17A is a longitudinal sectional view of the elongated body of FIG. 16, and FIG. 17B is a sectional view taken along line XVII-XVII of FIG.
FIG. 18 is a schematic explanatory view of a manufacturing process of the continuous body in FIG. 16;
19A and 19B show an elongated body according to an eighth embodiment of the present invention, wherein FIG. 19A is a longitudinal sectional view of the elongated body, and FIG. 19B is a sectional view taken along the line XIX-XIX of FIG. It is sectional drawing of a line.
20A and 20B show a continuous body according to a ninth embodiment of the present invention, wherein FIG. 20A is a longitudinal sectional view of the continuous body, and FIG. 20B is a sectional view taken along line XX-XX of FIG. It is sectional drawing of a line.
FIG. 21 is a schematic explanatory view of a manufacturing process of the continuous body in FIG. 20;
FIGS. 22A and 22B show a continuous body according to a tenth embodiment of the present invention, in which FIG. 22A is a longitudinal sectional view of the continuous body, and FIG. 22B is a view taken along the line XXII-XXII of FIG. It is sectional drawing of a line.
FIG. 23 is a schematic explanatory view of a manufacturing process of the continuous body in FIG. 22;
24A and 24B show an elongated body according to an eleventh embodiment of the present invention, in which FIG. 24A is a longitudinal sectional view of the elongated body, and FIG. 24B is a view taken along the line XXIV-XXIV of FIG. It is sectional drawing of a line.
FIG. 25 is a schematic explanatory view of a manufacturing process of the continuous body of FIG. 22;
[Explanation of symbols]
1 Optical fiber cable
3 Srod rod (storage part)
9 4-core tape (optical fiber core)
15 Climax
19 Skin
21 Run-length body (of the first embodiment)
23 RFID
25 First tape body
29 Spacer
31 hole
33 2nd tape body
49 RFID supply device
53 Run-length body (of the second embodiment)
55 spacer
57 Runout (of the third embodiment)
59 Spacer
61 Run-length body (of the fourth embodiment)
63 hole
65 Spacer
69 Run-length body (of the fifth embodiment)
71 First planar cushion
75 Second planar cushion (tape)
81 Run-length body (of the sixth embodiment)
83 Rune (of the seventh embodiment)
85 2nd surface buffer (disk shape)
87 Buffer supply device
89 Run-length body (of the eighth embodiment)
91 Run-length body (of the ninth embodiment)
93 Second surface buffer (tape)
97 Run-length body (of the tenth embodiment)
99 run-length body (of the eleventh embodiment)
101 Gel substance (encapsulation buffer)
103 Gel-like material supply device

Claims (23)

Translated fromJapanese
長尺のテープ体と、このテープ体の片面にその長手方向に適宜間隔を介して配列した複数のRFIDと、このRFIDを外力から保護すべく前記RFIDの付近に貼着し且つ前記RFIDより大きな厚さを有するスペーサと、からなることを特徴とする連長体。A long tape body, a plurality of RFIDs arranged on one side of the tape body at appropriate intervals in the longitudinal direction, and affixed near the RFID to protect the RFID from external force and larger than the RFID A continuous body comprising: a spacer having a thickness.前記スペーサが、前記テープ体の片面に貼着可能な長尺のテープ状をなすと共に前記複数の各RFIDを内部に収容する複数の穴部を備えてなることを特徴とする請求項1記載の連長体。2. The spacer according to claim 1, wherein the spacer has a long tape shape that can be stuck to one surface of the tape body, and includes a plurality of holes for accommodating the plurality of RFIDs inside. 3. Streak.前記スペーサが、前記テープ体の片面に貼着可能なテープ状をなすと共に前記複数の各RFIDを挟んでその両側に配置してなることを特徴とする請求項1記載の連長体。2. The continuous body according to claim 1, wherein the spacer has a tape shape that can be attached to one surface of the tape body, and is disposed on both sides of the plurality of RFIDs.前記スペーサが、前記テープ体の片面に貼着可能で且つ前記RFIDを収容可能な穴部を備えたリング形状をなすことを特徴とする請求項1記載の連長体。The continuous body according to claim 1, wherein the spacer has a ring shape that has a hole that can be attached to one surface of the tape body and that can accommodate the RFID.長尺のテープ体又は第1面状緩衝体と、前記テープ体又は第1面状緩衝体の片面にその長手方向に適宜間隔を介して配列した複数のRFIDと、このRFIDにかかる外力を吸収して保護すべく前記RFIDを外側から被覆して前記テープ体又は第1面状緩衝体に貼着する第2面状緩衝体と、からなることを特徴とする連長体。A long tape body or a first planar buffer, a plurality of RFIDs arranged on one surface of the tape body or the first planar buffer at appropriate intervals in the longitudinal direction thereof, and absorbing an external force applied to the RFID; And a second planar cushion attached to the tape body or the first planar cushion to cover the RFID from outside for protection.前記第2面状緩衝体が、複数のRFIDを被覆可能な長尺のテープ状、又は各RFIDを被覆可能なディスク形状であることを特徴とする請求項5記載の連長体。6. The continuous body according to claim 5, wherein the second planar buffer has a long tape shape capable of covering a plurality of RFIDs or a disk shape capable of covering each RFID.長尺の第1テープ体と、この第1テープ体の片面にその長手方向に適宜間隔を介して配列した複数のRFIDと、このRFIDにかかる外力を吸収して保護すべく前記RFIDを前記第1テープ体との間で挟み込むように重ねる面状緩衝体と、この面状緩衝体を外側から被覆して前記第1テープ体に貼着する第2テープ体と、からなることを特徴とする連長体。A long first tape body, a plurality of RFIDs arranged on one surface of the first tape body at appropriate intervals in the longitudinal direction thereof, and the RFIDs to absorb and protect an external force applied to the RFIDs; It is characterized by comprising a planar buffer body that is stacked so as to be sandwiched between one tape body, and a second tape body that covers the planar buffer body from the outside and adheres to the first tape body. Streak.長尺の第1テープ体と、この第1テープ体の片面にその長手方向に適宜間隔を介して配列した複数のRFIDと、このRFIDを外側から被覆して前記第1テープ体に貼着する第2テープ体と、前記RFIDにかかる外力を吸収して保護すべく第2テープ体の外側に貼着する面状緩衝体と、からなることを特徴とする連長体。A long first tape body, a plurality of RFIDs arranged on one surface of the first tape body at appropriate intervals in the longitudinal direction, and covering the RFIDs from outside, and attaching the RFIDs to the first tape body; A continuous body comprising: a second tape body; and a planar buffer attached to the outside of the second tape body to absorb and protect an external force applied to the RFID.長尺の第1テープ体と、この第1テープ体の片面にその長手方向に適宜間隔を介して配列した複数のRFIDと、このRFIDにかかる外力を吸収して保護すべく前記RFIDを外側から前記第1テープ体との間で封入する封入緩衝物と、この封入緩衝物を外側から被覆して前記第1テープ体に貼着する第2テープ体と、からなることを特徴とする連長体。A long first tape body, a plurality of RFIDs arranged on one surface of the first tape body at appropriate intervals in the longitudinal direction thereof, and the RFIDs from outside to absorb and protect an external force applied to the RFIDs. A run length comprising: a sealed buffer to be sealed between the first tape body; and a second tape body to cover the sealed buffer from outside and adhere to the first tape body. body.複数のRFIDを長尺のテープ体の片面に当該テープ体の長手方向に適宜間隔を介して配列し、前記複数のRFIDを外力から保護すべく前記RFIDより大きな厚さを有するスペーサを前記RFIDの付近に貼着することを特徴とする連長体の製造方法。A plurality of RFIDs are arranged on one surface of a long tape body at appropriate intervals in the longitudinal direction of the tape body, and a spacer having a thickness greater than that of the RFID is used to protect the plurality of RFIDs from external force. A method for producing a continuous body, which is attached to a neighborhood.複数のRFIDを長尺のテープ体又は第1面状緩衝体の片面に当該テープ体又は第1面状緩衝体の長手方向に適宜間隔を介して配列し、前記RFIDにかかる外力を吸収して保護すべく第2面状緩衝体で前記RFIDの外側を被覆して前記第2面状緩衝体をテープ体又は第1面状緩衝体に貼着することを特徴とする連長体の製造方法。A plurality of RFIDs are arranged on one surface of a long tape body or the first planar buffer at appropriate intervals in the longitudinal direction of the tape or the first planar buffer to absorb external force applied to the RFID. A method of manufacturing a continuous body, wherein the outside of the RFID is covered with a second planar buffer for protection, and the second planar buffer is attached to a tape body or a first planar buffer. .複数のRFIDを長尺の第1テープ体の片面に当該第1テープ体の長手方向に適宜間隔を介して配列し、前記RFIDにかかる外力を吸収して保護すべく前記RFIDを面状緩衝体と前記第1テープ体との間で挟み込むように重ね、第2テープ体で前記面状緩衝体を外側から被覆して前記第2テープ体を第1テープ体に貼着することを特徴とする連長体の製造方法。A plurality of RFIDs are arranged on one surface of a long first tape body at appropriate intervals in the longitudinal direction of the first tape body, and the RFID is a planar buffer to absorb and protect an external force applied to the RFID. And the first tape body is sandwiched between the first and second tape bodies, the second tape body covers the planar buffer from the outside, and the second tape body is attached to the first tape body. The method of manufacturing the elongate body.複数のRFIDを長尺の第1テープ体の片面に当該第1テープ体の長手方向に適宜間隔を介して配列し、第2テープ体で前記RFIDを外側から被覆して前記第2テープ体を前記第1テープ体に貼着し、前記RFIDにかかる外力を吸収して保護すべく面状緩衝体を前記第2テープ体の外側に貼着することを特徴とする連長体の製造方法。A plurality of RFIDs are arranged on one surface of a long first tape body at appropriate intervals in the longitudinal direction of the first tape body, and the RFID is covered from the outside with a second tape body to form the second tape body. A method for manufacturing a continuous body, comprising: attaching a planar buffer to the outside of the second tape to absorb and protect an external force applied to the RFID.複数のRFIDを長尺の第1テープ体の片面に当該第1テープ体の長手方向に適宜間隔を介して配列し、前記RFIDにかかる外力を吸収して保護すべく封入緩衝物により前記RFIDを外側から前記第1テープ体との間で封入し、第2テープ体で前記封入緩衝物を外側から被覆して前記第2テープ体を第1テープ体に貼着することを特徴とする連長体の製造方法。A plurality of RFIDs are arranged on one surface of a long first tape body at appropriate intervals in the longitudinal direction of the first tape body, and the RFIDs are sealed by an enclosed buffer to absorb and protect the external force applied to the RFIDs. A continuous length, which is sealed from the outside with the first tape body, covers the sealed buffer from outside with a second tape body, and adheres the second tape body to the first tape body. How to make the body.ほぼ円筒形状の外皮部材を設け、この外皮部材の内部に抗張力体と複数の光ファイバ心線とを収納する収納部を設けた光ファイバケーブルにおいて、
長尺のテープ体と、このテープ体の片面にその長手方向に適宜間隔を介して配列した複数のRFIDと、このRFIDにかかる外力を吸収して保護すべく前記RFIDの付近に貼着し且つ前記RFIDより大きな厚さを有するスペーサと、からなる連長体を、前記外皮部材の内部又は表面に縦添えして収納してなることを特徴とする光ファイバケーブル。
In an optical fiber cable provided with a substantially cylindrical outer cover member, and a storage portion for storing a tensile strength member and a plurality of optical fiber core wires inside the outer cover member,
A long tape body, a plurality of RFIDs arranged on one surface of the tape body at appropriate intervals in the longitudinal direction, and affixed in the vicinity of the RFID to absorb and protect an external force applied to the RFID; An optical fiber cable, wherein a continuous body composed of a spacer having a thickness larger than that of the RFID is vertically attached to the inside or the surface of the outer cover member and stored.
前記スペーサが、前記テープ体の片面に貼着可能な長尺のテープ状をなすと共に前記複数の各RFIDを内部に収容する複数の穴部を備えてなることを特徴とする請求項15記載の光ファイバケーブル。16. The spacer according to claim 15, wherein the spacer has a long tape shape that can be attached to one surface of the tape body, and includes a plurality of holes for accommodating the plurality of RFIDs therein. Fiber optic cable.前記スペーサが、前記テープ体の片面に貼着可能なテープ状をなすと共に前記複数の各RFIDを挟んでその両側に配置してなることを特徴とする請求項15記載の光ファイバケーブル。16. The optical fiber cable according to claim 15, wherein the spacer has a tape shape that can be attached to one surface of the tape body, and is disposed on both sides of the plurality of RFIDs.前記スペーサが、前記テープ体の片面に貼着可能で且つ前記RFIDを収容可能な穴部を備えたリング形状をなすことを特徴とする請求項15記載の光ファイバケーブル。16. The optical fiber cable according to claim 15, wherein the spacer has a ring shape having a hole that can be attached to one surface of the tape body and that can accommodate the RFID.ほぼ円筒形状の外皮部材を設け、この外皮部材の内部に抗張力体と複数の光ファイバ心線とを収納する収納部を設けた光ファイバケーブルにおいて、
長尺のテープ体又は第1面状緩衝体と、前記テープ体又は第1面状緩衝体の片面にその長手方向に適宜間隔を介して配列した複数のRFIDと、このRFIDにかかる外力を吸収して保護すべく前記RFIDを外側から被覆して前記テープ体又は第1面状緩衝体に貼着する第2面状緩衝体と、からなる連長体を、前記外皮部材の内部又は表面に縦添えして収納してなることを特徴とする光ファイバケーブル。
In an optical fiber cable provided with a substantially cylindrical outer cover member, and a storage portion for storing a tensile strength member and a plurality of optical fiber core wires inside the outer cover member,
A long tape body or a first planar buffer, a plurality of RFIDs arranged on one surface of the tape body or the first planar buffer at appropriate intervals in the longitudinal direction thereof, and absorbing an external force applied to the RFID; And a second planar buffer attached to the tape body or the first planar buffer to cover the RFID from the outside to protect the RFID. An optical fiber cable characterized by being housed vertically.
前記第2面状緩衝体が、複数のRFIDを被覆可能な長尺のテープ状、又は各RFIDを被覆可能なディスク形状であることを特徴とする請求項19記載の光ファイバケーブル。20. The optical fiber cable according to claim 19, wherein the second planar buffer has a long tape shape capable of covering a plurality of RFIDs or a disk shape capable of covering each RFID.ほぼ円筒形状の外皮部材を設け、この外皮部材の内部に抗張力体と複数の光ファイバ心線とを収納する収納部を設けた光ファイバケーブルにおいて、
長尺の第1テープ体と、この第1テープ体の片面にその長手方向に適宜間隔を介して配列した複数のRFIDと、前記RFIDにかかる外力を吸収して保護すべく前記RFIDを前記第1テープ体との間で挟み込むように重ねる面状緩衝体と、前記面状緩衝体を外側から被覆して前記第1テープ体に貼着する第2テープ体と、からなる連長体を、前記外皮部材の内部又は表面に縦添えして収納してなることを特徴とする光ファイバケーブル。
In an optical fiber cable provided with a substantially cylindrical outer cover member, and a storage portion for storing a tensile strength member and a plurality of optical fiber core wires inside the outer cover member,
A long first tape body, a plurality of RFIDs arranged on one surface of the first tape body at appropriate intervals in the longitudinal direction thereof, and the RFIDs to absorb and protect an external force applied to the RFIDs; A continuous buffer consisting of a planar buffer that is stacked so as to be sandwiched between one tape and a second tape that covers the planar buffer from outside and adheres to the first tape; An optical fiber cable characterized in that the optical fiber cable is housed vertically inside or inside the outer cover member.
ほぼ円筒形状の外皮部材を設け、この外皮部材の内部に抗張力体と複数の光ファイバ心線とを収納する収納部を設けた光ファイバケーブルにおいて、
長尺の第1テープ体と、この第1テープ体の片面にその長手方向に適宜間隔を介して断続的に配列した複数のRFIDと、このRFIDを外側から被覆して前記第1テープ体に貼着する第2テープ体と、前記RFIDにかかる外力を吸収して保護すべく第2テープ体の外側に貼着する面状緩衝体と、からなる連長体を、前記外皮部材の内部又は表面に縦添えして収納してなることを特徴とする光ファイバケーブル。
In an optical fiber cable provided with a substantially cylindrical outer cover member, and a storage portion for storing a tensile strength member and a plurality of optical fiber core wires inside the outer cover member,
A long first tape body, a plurality of RFIDs intermittently arranged on one surface of the first tape body at appropriate intervals in the longitudinal direction, and covering the RFIDs from the outside to form the first tape body. A continuous body consisting of a second tape body to be adhered, and a planar cushioning body adhered to the outside of the second tape body to absorb and protect the external force applied to the RFID, inside the outer skin member or An optical fiber cable characterized by being housed vertically along the surface.
ほぼ円筒形状の外皮部材を設け、この外皮部材の内部に抗張力体と複数の光ファイバ心線とを収納する収納部を設けた光ファイバケーブルにおいて、
長尺の第1テープ体と、この第1テープ体の片面にその長手方向に適宜間隔を介して配列した複数のRFIDと、このRFIDにかかる外力を吸収して保護すべく前記RFIDを外側から前記第1テープ体との間で封入する封入緩衝物と、前記封入緩衝物を外側から被覆して前記第1テープ体に貼着する第2テープ体と、からなる連長体を、前記外皮部材の内部又は表面に縦添えして収納してなることを特徴とする光ファイバケーブル。
In an optical fiber cable provided with a substantially cylindrical outer cover member, and a storage portion for storing a tensile strength member and a plurality of optical fiber core wires inside the outer cover member,
A long first tape body, a plurality of RFIDs arranged on one surface of the first tape body at appropriate intervals in the longitudinal direction thereof, and the RFIDs from outside to absorb and protect an external force applied to the RFIDs. The continuous body consisting of an enclosure buffer to be enclosed between the first tape body and a second tape body covering the enclosure buffer from outside and attaching to the first tape body, An optical fiber cable characterized by being housed vertically inside or inside a member.
JP2003033812A2003-02-122003-02-12 Continuous body provided with RFID, method for manufacturing the same, and optical fiber cable using continuous bodyPendingJP2004266886A (en)

Priority Applications (3)

Application NumberPriority DateFiling DateTitle
JP2003033812AJP2004266886A (en)2003-02-122003-02-12 Continuous body provided with RFID, method for manufacturing the same, and optical fiber cable using continuous body
PCT/JP2004/001414WO2004073129A1 (en)2003-02-122004-02-10Rfid-equipped identification member and method of producing the same, and optical fiber cable using identification member
TW93103216ATWI234017B (en)2003-02-122004-02-11RFID-equipped identification member and method of producing the same, and optical fiber cable using identification member

Applications Claiming Priority (1)

Application NumberPriority DateFiling DateTitle
JP2003033812AJP2004266886A (en)2003-02-122003-02-12 Continuous body provided with RFID, method for manufacturing the same, and optical fiber cable using continuous body

Publications (1)

Publication NumberPublication Date
JP2004266886Atrue JP2004266886A (en)2004-09-24

Family

ID=32866246

Family Applications (1)

Application NumberTitlePriority DateFiling Date
JP2003033812APendingJP2004266886A (en)2003-02-122003-02-12 Continuous body provided with RFID, method for manufacturing the same, and optical fiber cable using continuous body

Country Status (3)

CountryLink
JP (1)JP2004266886A (en)
TW (1)TWI234017B (en)
WO (1)WO2004073129A1 (en)

Cited By (9)

* Cited by examiner, † Cited by third party
Publication numberPriority datePublication dateAssigneeTitle
JP2006209401A (en)*2005-01-272006-08-10Dainippon Printing Co Ltd Inlet forming body, roll-shaped inlet forming body, non-contact data carrier and non-contact data carrier forming body
JP2007115183A (en)*2005-10-242007-05-10Dainippon Printing Co Ltd Non-contact IC tag having IC chip destruction prevention structure
JP2009026173A (en)*2007-07-232009-02-05Dainippon Printing Co Ltd IC tag
US7782202B2 (en)2006-10-312010-08-24Corning Cable Systems, LlcRadio frequency identification of component connections
JP2011192480A (en)*2010-03-122011-09-29Hitachi Cable LtdCable manufacturing device, cable manufacturing method, and length measurement device
US8264355B2 (en)2006-12-142012-09-11Corning Cable Systems LlcRFID systems and methods for optical fiber network deployment and maintenance
US8731405B2 (en)2008-08-282014-05-20Corning Cable Systems LlcRFID-based systems and methods for collecting telecommunications network information
US9563832B2 (en)2012-10-082017-02-07Corning IncorporatedExcess radio-frequency (RF) power storage and power sharing RF identification (RFID) tags, and related connection systems and methods
WO2024257260A1 (en)*2023-06-142024-12-19住友電気工業株式会社Optical cable reuse system

Families Citing this family (2)

* Cited by examiner, † Cited by third party
Publication numberPriority datePublication dateAssigneeTitle
FR2881252A1 (en)*2005-01-242006-07-28Ask Sa MEDIUM-RESISTANT RADIOFREQUENCY IDENTIFICATION DEVICE AND METHOD FOR MANUFACTURING THE SAME
JP5995549B2 (en)*2012-06-222016-09-21サトーホールディングス株式会社 RFID inlet and method of manufacturing IC chip protective seal in RFID inlet

Family Cites Families (3)

* Cited by examiner, † Cited by third party
Publication numberPriority datePublication dateAssigneeTitle
JPH1134557A (en)*1997-07-241999-02-09Rohm Co LtdProduction of ic module, and apparatus for producing ic module assembly used therefor
JP2002072886A (en)*2000-09-012002-03-12Oji Paper Co Ltd Method and apparatus for manufacturing data storage element holding label
JP2003203527A (en)*2002-01-092003-07-18Hitachi Cable Ltd Wires and cables with electronic identification function

Cited By (10)

* Cited by examiner, † Cited by third party
Publication numberPriority datePublication dateAssigneeTitle
JP2006209401A (en)*2005-01-272006-08-10Dainippon Printing Co Ltd Inlet forming body, roll-shaped inlet forming body, non-contact data carrier and non-contact data carrier forming body
JP2007115183A (en)*2005-10-242007-05-10Dainippon Printing Co Ltd Non-contact IC tag having IC chip destruction prevention structure
US7782202B2 (en)2006-10-312010-08-24Corning Cable Systems, LlcRadio frequency identification of component connections
US8264355B2 (en)2006-12-142012-09-11Corning Cable Systems LlcRFID systems and methods for optical fiber network deployment and maintenance
JP2009026173A (en)*2007-07-232009-02-05Dainippon Printing Co Ltd IC tag
US8731405B2 (en)2008-08-282014-05-20Corning Cable Systems LlcRFID-based systems and methods for collecting telecommunications network information
US9058529B2 (en)2008-08-282015-06-16Corning Optical Communications LLCRFID-based systems and methods for collecting telecommunications network information
JP2011192480A (en)*2010-03-122011-09-29Hitachi Cable LtdCable manufacturing device, cable manufacturing method, and length measurement device
US9563832B2 (en)2012-10-082017-02-07Corning IncorporatedExcess radio-frequency (RF) power storage and power sharing RF identification (RFID) tags, and related connection systems and methods
WO2024257260A1 (en)*2023-06-142024-12-19住友電気工業株式会社Optical cable reuse system

Also Published As

Publication numberPublication date
TWI234017B (en)2005-06-11
TW200422672A (en)2004-11-01
WO2004073129A1 (en)2004-08-26

Similar Documents

PublicationPublication DateTitle
JP2004266886A (en) Continuous body provided with RFID, method for manufacturing the same, and optical fiber cable using continuous body
EP1914671B1 (en)Transponder embedded in a flexible multi-layer support
US6973243B2 (en)Cable
US20100166374A1 (en)Cable
JP2004245963A (en) Continuous body provided with RFID, method for manufacturing the same, and optical fiber cable using continuous body
US8155491B2 (en)Cable
KR20040004069A (en)Ic card
US20100158454A1 (en)Cable
JP2008310540A (en) Non-contact IC tag having IC chip destruction prevention and communication inhibition suppression structure
JP2004146068A (en) Continuous body and cable with information storage element
JP2005011227A (en) IC label
JP4811561B2 (en) Non-contactable IC tag that can be disabled
CN201252766Y (en)Electronic ear tag
TW200422673A (en)RFID prolonged body and cable
JP2004343834A (en) Outdoor line anchor and outdoor line management method using the outdoor line anchor
JP4469622B2 (en) RFID continuous body and cable
JP2004247134A (en) RFID runner and cable
JP4323338B2 (en) cable
CN213634554U (en)Anti-shielding radio frequency coil anti-theft device
JP2006010731A (en)Label with ic tag, and manufacturing method of base material of the label
JP2007102513A (en) Non-contact IC tag label
JP4563023B2 (en) IC card with indicator
JP5176131B2 (en) IC tag for cable management
JP3507160B2 (en) Water-resistant reversible display label and method for producing the same
JP4753339B2 (en) Non-contact communication medium

[8]ページ先頭

©2009-2025 Movatter.jp