Movatterモバイル変換


[0]ホーム

URL:


JP2004264908A - Memory pack - Google Patents

Memory pack
Download PDF

Info

Publication number
JP2004264908A
JP2004264908AJP2003039318AJP2003039318AJP2004264908AJP 2004264908 AJP2004264908 AJP 2004264908AJP 2003039318 AJP2003039318 AJP 2003039318AJP 2003039318 AJP2003039318 AJP 2003039318AJP 2004264908 AJP2004264908 AJP 2004264908A
Authority
JP
Japan
Prior art keywords
memory
memory card
card
voltage
cards
Prior art date
Legal status (The legal status is an assumption and is not a legal conclusion. Google has not performed a legal analysis and makes no representation as to the accuracy of the status listed.)
Pending
Application number
JP2003039318A
Other languages
Japanese (ja)
Inventor
Shigekazu Togashi
茂和 富樫
Current Assignee (The listed assignees may be inaccurate. Google has not performed a legal analysis and makes no representation or warranty as to the accuracy of the list.)
Panasonic Holdings Corp
Original Assignee
Matsushita Electric Industrial Co Ltd
Priority date (The priority date is an assumption and is not a legal conclusion. Google has not performed a legal analysis and makes no representation as to the accuracy of the date listed.)
Filing date
Publication date
Application filed by Matsushita Electric Industrial Co LtdfiledCriticalMatsushita Electric Industrial Co Ltd
Priority to JP2003039318ApriorityCriticalpatent/JP2004264908A/en
Priority to PCT/JP2004/001655prioritypatent/WO2004075099A1/en
Publication of JP2004264908ApublicationCriticalpatent/JP2004264908A/en
Pendinglegal-statusCriticalCurrent

Links

Images

Classifications

Landscapes

Abstract

Translated fromJapanese

【課題】コストメリットの生かせる民生用メモリカードを使用しながら、通常使用時には一個の大容量記録媒体として取り扱え、かつ、メモリカードが外れてしまうトラブルを防止できる、信頼性の高い大容量記録媒体を構成することを目的とする。
【解決手段】SDメモリカード1,2は、バスブリッジ5を介してSDカード規格I/FがCardバス規格I/Fに変換されてコネクタ6に接続され、外装7はコネクタ6の接合部以外を完全に覆い、前記メモリカード1,2を外から見えない状態にネジ止めにより閉鎖し、カードの脱落や順番の入れ替り等の発生しない信頼性の高い、管理のしやすい大容量記録媒体を構成している。
【選択図】 図1
A highly reliable large-capacity recording medium that can be handled as one large-capacity recording medium during normal use while preventing the trouble of detaching the memory card while using a consumer-use memory card that can make use of cost advantages. The purpose is to configure.
An SD memory card is connected to a connector by converting an SD card standard I / F into a card bus standard I / F via a bus bridge. And completely close the memory cards 1 and 2 with screws so that the memory cards 1 and 2 cannot be seen from the outside, thereby forming a highly reliable, easy-to-manage large-capacity recording medium in which the cards do not drop or the order is not changed. are doing.
[Selection diagram] Fig. 1

Description

Translated fromJapanese

【0001】
【発明の属する技術分野】
本発明は、動画映像などを扱うカメラレコーダやパソコン等の大容量記憶媒体として用いる目的で、メモリカードを複数個使用し構成する記憶媒体に関する。
【0002】
【従来の技術】
従来、複数のメモリカードを同時に使用する方法として、以下のような構成が知られている(例えば、特許文献1参照。)。
【0003】
図12に従来のメモリカードアダプタの構造を示している。従来のメモリカードアダプタは、情報処理機器に接続可能なカード型の本体61と、この本体の表面に本体を通じて情報処理機器と電気的に接続するように形成された、メモリカード64/65がそれぞれ装着可能な複数のスロット62/63とを具備している。そして、メモリカード64/65を装着した状態で本体61を情報処理機器に接続することにより、情報処理機器からメモリカード64/65に対してデータの書き込み及び読み出し動作を可能としている。。
【0004】
【特許文献1】
特開2001−188883号公報
【0005】
【発明が解決しようとする課題】
放送・業務用の動画映像などを扱うカメラレコーダやパソコン等においては、非常に大きな連続したデータ或いはファイルを記録する必要があり、それらを記録するための大容量の記憶媒体が必要となる。そして、複数のメモリカードを大容量の記憶媒体として扱う場合には、複数のメモリカードにまたがってデータを記憶できることが要求される。
【0006】
ところが、前記従来の技術による方法では民生用のメモリカードを通常のスロット方式でアダプタに装着する構成であり、特別なロック機構は用意されていない。このため、複数のメモリカードの内の1枚が故意または偶然にはずれてしまうという問題点があった。そして、はずれてしまったメモリカードが他のメモリカードと混ざった場合には目視では見分けがつけられず、アダプタに装着するメモリカードの組合せを変えながら確認すると言った余分な作業が発生していた。特に放送・業務用の映像記録においては、コンテンツは非常に重要な物であり、また、これらは多くの人々の協調作業であるため、途中でメディアの一部が抜けるような信頼性の低いものは受け入れてもらえない。
【0007】
そこで、本発明は上記課題に鑑み、コストメリットの生かせる民生用メモリカードを使用しながら、通常使用時には一個の大容量記録媒体として取り扱え、かつ、メモリカードが外れてしまうトラブルを防止できる、信頼性の高い大容量記録媒体を構成することを目的とする。
【0008】
【課題を解決するための手段】
この課題を解決するために本発明は、SDカードやMMCカードの様に規格化された標準I/Fを備えた複数のメモリカードと、前記複数のメモリカードを装着する複数のソケットと、前記複数のメモリカードの標準I/Fを単一のI/F仕様に変換するためのバスブリッジと、このバスブリッジを外部ホストに接続するための入出力コネクタと、使用時には個々のメモリカードがはずせない閉鎖され外装とを有するメモリパックとしたものである。
【0009】
【発明の実施の形態】
本発明の請求項1に記載の発明は、規格化された標準I/Fを備えた複数のメモリカードと、前記複数のメモリカードを装着する複数のソケットと、前記複数のメモリカードの標準I/Fを単一のI/F仕様に変換するためのバスブリッジと、このバスブリッジを外部ホストに接続するための入出力コネクタと、使用時には個々のメモリカードがはずせない閉鎖され外装とを有するメモリパックとしたものであり、通常使用時は外装が閉鎖されている為、故意又は偶然によりメモリカードが外されることが無く信頼性の高い、管理のしやすい大容量記録媒体が構成され、メンテナンス時にはメモリカードがソケットを介して接続されているため、書込回数の増加したメモリカードの交換が外装を外すだけで容易に行える構造になる。
【0010】
請求項2に記載の発明は、外部ホスト或いは外部電源から供給される電源が停止時に内部電源電圧を所定の時間以上保持する電圧保持手段と、供給される電源電圧が所定の電圧以下に降下したことを検出する電圧検出手段とを備え、前記バスブリッジは、前記電圧検出手段で電圧低下が検出された以降のホスト側からの書込を拒否すると共にメモリカード内に記録または消去し始めたプロセスが完了するまで制御を継続する様にした請求項1記載のメモリパックとしたものであり、メモリカードへの書込・消去プロセス実行時時に外部ホスト或いは外部電源から供給される電源が停止しても、電圧検出手段で電圧の低下が検出され、その情報に基づきバスブリッジが保護モードに入り、既に開始したメモリカードへの書込・消去プロセスを、電圧保持手段の電圧保持期間内に正常に終了させる作用を有する。
【0011】
請求項3に記載の発明は、前記入出力コネクタとは別に設けられ、前記入出力コネクタから供給される電源より大きい電流を供給する高速動作モード専用電源入力手段を有し、前記バスブリッジは、消去モード及び高速転送モードの少なくともいずれか一方の時に、メモリパック内の複数のメモリカードに対して並行して消去・読み出し・書込等の動作を行わせる請求項1及び請求項2記載のメモリパックであり、通常時外部ホストに接続する為の入出力コネクタの許容電流を超えた電流が高速動作モード専用電源入力手段から供給可能になり、通常時外部ホストに接続する為の入出力コネクタの許容電流に制約されることなく複数のメモリカードを同時に消去したり、同時に書き込んだりする事が可能になる。
【0012】
請求項4に記載の発明は、内蔵されるメモリカードとメモリパック外壁板との間に軟構造の熱伝導手段を備えた請求項1乃至請求項3記載のメモリパックであり、メモリカードの発熱が軟構造の熱伝導手段を介して外装に逃がされるため、高密度実装された使用温度条件の厳しいメモリカードでも発熱の問題無しに複数同時に消去・書込が可能になる。
【0013】
請求項5に記載の発明は、メモリパック外壁面にメモカード等の挿入できる透明ポケット手段を備えた請求項1乃至請求項4記載のメモリパックであり、メモカードに必要事項を記入し、透明ポケットに挿入する事で目視識別が容易な記録媒体となる。
【0014】
請求項6に記載の発明は、メモリパック組立後にメモリカードソケット内でのメモリカード移動可能範囲を制限するメモリカード脱落防止手段を備えた請求項1乃至請求項5記載のメモリパックであり、プッシュIN/プッシュOUTの様な押すと吐き出すようなタイプのメモリカードソケットでも、メモリカード脱落防止手段でメモリカード移動可能範囲が制限され、メモリパックを落下させた場合などでも衝撃でコネクタから抜けかけに成ることが防止される。
【0015】
以下、本発明の実施の形態について、図1から図11を用いて説明する。
【0016】
(実施の形態1)
図1は、実施の形態1のメモリパックの構成を示し、図2はその回路ブロック図を示し、図3は収録画像とSDメモリカード内のデータ配置例を示す。本実施の形態のメモリパックは、Cardバス規格に基づいた外形とI/Fをもっており、その内部にSDメモリカードを複数枚内蔵できるようになっている。図1、図2においてSDメモリカード1、2は通常の標準化されたSDメモリカード規格に基づくメモリカードであり、専用規格のソケット3、4に挿入され、プリント基板8上で接続されたバスブリッジ5で、複数のSDカード規格I/Fが一つのCardバス規格I/Fに変換され、コネクタ6に接続される。また、SDカード1、2は、ホスト側からはそれぞれ1つのFATのパーティションに見えるようにバスブリッジ5で変換される。そして、複数のSDメモリカードにまたがる、即ちパーティションを超える記録は、ホスト側アプリケーションにて境界のファイルを分割して記録している。例えば、画像収録時にホスト側から送られてくる図3の3Aのデータはバスブリッジ5を介し図3の3Bのように、シーン1とシーン2の途中までがそれぞれ1個のファイルとしてSDメモリカード1に記録され、シーン2の途中からとシーン3がそれぞれ1個のファイルとしてSDメモリカード2に記録される。
【0017】
また、外装7は図1のように2つに分割されており、コネクタ6の接合部以外を完全に覆うようにメモリパック本体に固定される構造であり、前記メモリカード1、2を外から見えない状態にネジ止めにより閉鎖している。ソケット3、4は、SDメモリカード1、2がソケット3、4から外れる方向に移動することを阻止するように、外装7に対して位置決めすることが望ましい。そのように構成することで、メモリパックを落下させたりして衝撃が加わった際に、メモリパック内でSDメモリカード1、2がソケット3、4から外れてしまうことを防止できる。
【0018】
本実施の形態1によれば、通常使用時は外装が閉鎖されている為、故意又は偶然によりSDメモリカードが外されることが無く、カードの順番の入れ替り等が発生せず、信頼性の高い、管理のしやすい大容量記録媒体が構成されると言った効果がある。また、メンテナンス時にはメモリカードがソケットを介して接続されているため、書込回数の増加したメモリカードの交換が外装を外すだけで容易に行えると言った効果と、規格化されたメモリカードを使用することで、フラッシュメモリを直接組み込んだ場合に比べ、メモリパックの容量変更やフラッシュメモリの素子の生産中止対応がメモリカード交換のみで済むと言う効果がある。
【0019】
なお、本実施の形態1においては、説明の単純化のためメモリカードは2個としたが、4個でも、8個でも、複数個で有れば全く同様に実施でき、メモリカードの個数が増加するほど本発明の効果が増加する。また、本実施の形態1ではファイルシステムを持つメモリカードを用いたが、スマートメディアの様にカード自身にコントローラを持たない場合も、各メモリカードを一括管理する必要があり、同様の効果がある。また、本実施の形態1ではメモリパックの外形はCardバス規格に基づいたものとしたが、内蔵するメモリカードよりも外形の大きなものであれば、その他の規格に基づいたもの、例えばコンパクトフラッシュ(R)等のメモリカードや、ハードディスク等の記録装置の規格に基づいたものであってもよい。
【0020】
(実施の形態2)
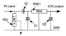
図4は、実施の形態2の構成を示し、図5はその回路ブロック図を示し、図6はそれらの電源電圧検出保持部の回路図であり、図7は電源断時の動作説明のための電圧波形図である。ここで8個のSDメモリカード11〜18はそれぞれの専用ソケットを介してバスブリッジ19に接続され、ATAバスに変換されコネクタ21に接続される。図4においてはSDメモリカード15〜18は基板の裏面に配置されているため、図示されていない。3V系電源は、コネクタ21の5V入力より電圧検出保持回路20にて3.3Vに変換されてから、各SDメモリカード等に供給される。電圧検出保持回路20は図6に示すように、5V電圧が4.75V(5Vに対して95%の電圧)以下に降下したことを検出する電源電圧検出手段である電圧検出器VD1と、電源断後しばらくの期間だけ電源電圧を保持するための電源電圧保持手段であるダイオードD1及びコンデンサC1と、3.3V作成用のレギュレータREG1及びコンデンサC2とから構成されている。
【0021】
以下本実施の形態のポイントである電源断時の動作について、図7の波形図を中心に説明する。ポータブル機器のバッテリ誤脱等による電源断時、5V入力電圧は波形h1の如く低下し、4.75V以下に成った時点で電圧検出器VD1から波形h4の如き電源断信号がバスブリッジ19に伝えられ、バスブリッジ19は書込中や消去中のSDカードを保護するように保護モードに入る。一方レギュレータREG1の入力電圧は電源電圧保持手段であるダイオードD1・コンデンサC1の働きで図7の波形h2の様に緩やかに低下し、電源断から図7の波形h3の様に電圧保持期間t1の期間は3.3Vが保持される。この期間にバスブリッジ19はメモリ書込・消去の必要プロセスを正常に完了し、SDメモリカード内の記録済みデータを保護している。ここで電圧保持期間t1は使用するSDメモリカードによって定まるところのブロックイレースに要する時間に対し十分な余裕を取っている。
【0022】
なお、外装としては図4に示す様に一面のみ開口した外ケース22をかぶせ、コネクタ近くでネジ止めする形にしているが、実施の形態1に示したような外装の構成としてもよく、メモリカードの枚数も8枚以外の構成としてもよい。すなわち、前記電源断時の保護動作以外の構成や動作については、基本的に実施の形態1と同様の構成としてもよい。また、電源電圧検出・保持ブロックへの入力電圧は5Vであったが、他の電圧でも問題はない。但し、3.3Vに近いかそれ以下になる場合はレギュレータをDC−DCコンバータにして昇圧出来る構成にするのが望ましい。また、その場合電源電圧検出器VD1の検出電圧も通常入力電源電圧に応じて設定すべきなのは言うまでもない。
【0023】
(実施の形態3)
図8は実施の形態3の構成を示しており、実施の形態2に、高速動作モード専用電源入力手段であるコネクタ30を追加たものである。コネクタ30は4つの端子P1〜P4を有しており、外部電源入力が無い通常時にはコネクタ21からコネクタ30のP2に接続された電源がP3から電源電圧検出・保持ブロック20に加えられて実施の形態2と全く同じ動作を行う。一方、外部電源入力がある高速動作モード時には外部入力電源がP3から電源電圧検出・保持ブロック20に加えられ、同時に外部電源が加わったことを示すFE信号がコネクタ30のP4からバスブリッジ19に伝えられ、バスブリッジ19は8個のSDメモリカード11〜18を同時並行的に全消去・読み出しを行える。通常時に外部ホストから入出力コネクタ21を介して入力される電流を超えた電流が必要な高速動作モードにおいては、そのような電流が高速動作モード専用電源入力手段31から供給可能になり、通常時外部ホストに接続する為の入出力コネクタ21の許容電流に制約されることなく、複数のメモリカード11〜18を同時に消去したり、同時に書き込んだりする事が可能になると言う効果がある。
【0024】
(実施の形態4)
図9は実施の形態4の構成図であり、内蔵される各SDメモリカード11〜18とメモリパック外壁板23、24との間に軟構造の熱伝導手段であるシリコン系の放熱シート31〜38を備えたものであり、その他の点は実施の形態2と同様のメモリパックである。SDメモリカード11〜18の発熱が放熱シート31〜38を介して外壁板23、24に逃がされるため、高密度実装された使用温度条件の厳しいメモリカードでも発熱の問題無しに複数同時に消去・書込が可能になると言う効果がある。なお、軟構造の熱伝導手段である放熱シート31〜38はシリコン系の放熱シートを使用したが、グラファイトなどの弾性のある物または板バネでも同様の効果が得られる。しかしながら、放熱性能の観点で言えば、熱伝導率がより高い素材を使用するほうが望ましく、メモリカード及び外壁板との接触面積を広くとるほうが望ましいことは言うまでもない。
【0025】
(実施の形態5)
図10は実施の形態5の構成図であり、メモリパック外壁面41に透明シート42の厚さ以上の第1のくぼみを設け、更にその内側に0.5mm程度の深さの第2のくぼみを設けている。そして、第1のくぼみに透明シート42を張ることにより、第2のくぼみと透明シート42で囲まれた透明ポケット43を構成する。透明ポケット43にはメモカード等が挿入できる。その他の点は実施の形態2と同様としたメモリパックである。
【0026】
以上の実施の形態によれば、記録媒体にメモリカードを使用しながらも、メモカードに必要事項を記入し、透明ポケット43に挿入する事で目視識別が容易な大容量の記録媒体が実現できると言った効果がある。
【0027】
(実施の形態6)
図11は実施の形態6の構成図であり、メモリパック組立後のSDメモリカードソケット3、4内でのSDメモリカード1、2の移動可能範囲を制限するメモリカード脱落防止手段であるゴム製バー51を備えている。その他の点は実施の形態1と同様としたメモリパックである。
【0028】
本実施の形態によれば、プッシュIN/プッシュOUTの様な押すと吐き出すようなタイプのメモリカードソケットでも、メモリカード脱落防止手段でメモリカード移動可能範囲が制限され、メモリパックを落下させた場合などでも衝撃によってメモリカードがソケットから外れたり、外れかけて接触不良となることが防止されると言う効果がある。
【0029】
なお、メモリカード脱落防止手段をゴム製バーとしたが、板バネやプラスティック等メモリカード移動可能範囲が制限されれば、特に材質や形状は実施上問題とならない。また、メモリカード脱落防止手段は、実施の形態4で説明した熱伝導手段を兼ねる材質と形状であってもよい。また、メモリパック組立後にはメモリカード脱落防止手段がメモリカードを押圧することで、メモリカードが脱落する方向に移動しないことが望ましいが、必ずしも押圧している必要はなく、メモリカードの移動により接触不良がおこらない程度であれば、軽く接触する程度であったり、多少の遊びがあってもよい。
【0030】
【発明の効果】
以上のように本発明によれば、コストメリットの生かせる民生用メモリカードを使用しながら、通常使用時には一個の大容量記録媒体として取り扱え、かつ、メモリカードが外れてしまうトラブルを防止できる、信頼性の高い大容量記録媒体を構成できるという有利な効果が得られる。
【図面の簡単な説明】
【図1】本発明の実施の形態1によるメモリパックを示す見取り図
【図2】本発明の実施の形態1によるメモリパックを示す回路ブロック図
【図3】本発明の実施の形態1によるメモリパックのデータ配置示すデータ配置図
【図4】本発明の実施の形態2によるメモリパックを示す見取り図
【図5】本発明の実施の形態2によるメモリパックを示す回路ブロック図
【図6】本発明の実施の形態2によるメモリパック内電圧検出・保持回路示す回路図
【図7】本発明の実施の形態2によるメモリパック内電圧検出・保持回路の動作説明のための波形図
【図8】本発明の実施の形態3によるメモリパックを示す見取り図
【図9】本発明の実施の形態4によるメモリパックを示す見取り図
【図10】本発明の実施の形態5によるメモリパックを示す見取り図
【図11】本発明の実施の形態6によるメモリパックを示す見取り図
【図12】従来のメモリカードアダプタを示す見取り図
【符号の説明】
1、2 ・・・メモリカード
3、4 ・・・メモリカードソケット
5 ・・・バスブリッジ
6 ・・・コネクタ
7 ・・・外装
8 ・・・プリント基板
11〜18 ・・・メモリカード
19 ・・・バスブリッジ
20 ・・・電圧検出・保持ブロック
21 ・・・コネクタ
22 ・・・外装
23、24 ・・・外壁板
30 ・・・コネクタ
31〜38 ・・・放熱シート
41 ・・・パック外壁面
42 ・・・透明シート
43 ・・・透明ポケット
51 ・・・ゴム製バー
[0001]
TECHNICAL FIELD OF THE INVENTION
The present invention relates to a storage medium using a plurality of memory cards for use as a large-capacity storage medium such as a camera recorder or a personal computer that handles moving image and the like.
[0002]
[Prior art]
Conventionally, as a method of using a plurality of memory cards at the same time, the following configuration is known (for example, see Patent Document 1).
[0003]
FIG. 12 shows the structure of a conventional memory card adapter. The conventional memory card adapter has a card-shapedmain body 61 connectable to an information processing device, andmemory cards 64/65 formed on the surface of the main body so as to be electrically connected to the information processing device through the main body. It has a plurality ofpossible slots 62/63. Then, by connecting themain body 61 to the information processing device with thememory card 64/65 mounted, data writing and reading operations from the information processing device to thememory card 64/65 are enabled. .
[0004]
[Patent Document 1]
JP 2001-188883 A
[Problems to be solved by the invention]
2. Description of the Related Art In a camera recorder, a personal computer, or the like that handles video images for broadcasting and business, it is necessary to record very large continuous data or files, and a large-capacity storage medium for recording them is required. When handling a plurality of memory cards as a large-capacity storage medium, it is required that data can be stored across the plurality of memory cards.
[0006]
However, the method according to the above-mentioned conventional technique has a configuration in which a consumer memory card is mounted on an adapter by a normal slot method, and no special lock mechanism is prepared. For this reason, there has been a problem that one of the plurality of memory cards is intentionally or accidentally shifted. And when the detached memory card was mixed with other memory cards, it could not be visually identified and extra work such as checking while changing the combination of memory cards attached to the adapter occurred. . Especially in video recording for broadcasting and business use, content is very important, and since it is a collaborative work of many people, it is unreliable because some media can be lost in the middle. Is not accepted.
[0007]
In view of the above-mentioned problems, the present invention can be used as a single large-capacity recording medium during normal use while using a consumer-use memory card that can make use of the cost advantage, and can prevent the trouble that the memory card comes off. It is an object of the present invention to configure a high-capacity recording medium having a high recording capacity.
[0008]
[Means for Solving the Problems]
In order to solve this problem, the present invention provides a plurality of memory cards provided with a standardized I / F such as an SD card or an MMC card, a plurality of sockets for mounting the plurality of memory cards, A bus bridge for converting a standard I / F of a plurality of memory cards into a single I / F specification, an input / output connector for connecting the bus bridge to an external host, and individual memory cards can be removed when used. This is a memory pack having no closed exterior.
[0009]
BEST MODE FOR CARRYING OUT THE INVENTION
The invention according toclaim 1 of the present invention provides a plurality of memory cards having a standardized standard I / F, a plurality of sockets for mounting the plurality of memory cards, and a standard I / F of the plurality of memory cards. A bus bridge for converting the / F into a single I / F specification, an input / output connector for connecting the bus bridge to an external host, and a closed exterior that cannot be detached when using the individual memory card. It is a memory pack, and the exterior is closed during normal use, so a high-reliability, easy-to-manage large-capacity recording medium is configured without removing the memory card intentionally or accidentally, At the time of maintenance, the memory card is connected via the socket, so that the memory card having the increased number of writings can be easily replaced simply by removing the outer casing.
[0010]
The invention according toclaim 2 is a voltage holding means for holding the internal power supply voltage for a predetermined time or more when the power supplied from the external host or the external power supply is stopped, and the supplied power supply voltage drops below the predetermined voltage. The bus bridge rejects writing from the host after the voltage drop is detected by the voltage detecting means and starts recording or erasing in the memory card. Wherein the power supplied from an external host or an external power supply is stopped when a write / erase process for the memory card is executed. Also, the voltage drop is detected by the voltage detecting means, and based on the information, the bus bridge enters the protection mode, and the already started writing / erasing process to the memory card is performed. It has the effect of completed normally within the voltage holding period of pressure retaining means.
[0011]
The invention according toclaim 3 includes a high-speed operation mode dedicated power supply input unit that is provided separately from the input / output connector and supplies a current larger than a power supply supplied from the input / output connector. 3. The memory according toclaim 1, wherein at least one of the erasing mode and the high-speed transfer mode performs operations such as erasing, reading, and writing on a plurality of memory cards in the memory pack in parallel. A current that exceeds the allowable current of the I / O connector for connecting to the external host during normal operation can be supplied from the dedicated power input means for the high-speed operation mode. A plurality of memory cards can be simultaneously erased and simultaneously written without being restricted by the allowable current.
[0012]
According to a fourth aspect of the present invention, there is provided the memory pack according to any one of the first to third aspects, further comprising a heat conducting means having a soft structure between the built-in memory card and the outer wall plate of the memory pack. Is released to the exterior through the heat conduction means having a soft structure, so that a plurality of memory cards can be simultaneously erased / written without a heat generation problem even in a high-density mounted memory card under severe operating temperature conditions.
[0013]
According to a fifth aspect of the present invention, there is provided the memory pack according to any one of the first to fourth aspects, further comprising transparent pocket means for inserting a memo card or the like on the outer wall surface of the memory pack. By inserting it into a pocket, it becomes a recording medium that can be easily visually identified.
[0014]
According to a sixth aspect of the present invention, there is provided the memory pack according to any one of the first to fifth aspects, further comprising a memory card falling-off preventing means for limiting a movable range of the memory card in the memory card socket after the memory pack is assembled. Even with a memory card socket such as IN / push OUT that ejects when pressed, the movable range of the memory card is limited by the memory card drop-off prevention means, and even if the memory pack is dropped, it may come off from the connector due to impact. Is prevented.
[0015]
Hereinafter, embodiments of the present invention will be described with reference to FIGS.
[0016]
(Embodiment 1)
FIG. 1 shows a configuration of a memory pack according to the first embodiment, FIG. 2 shows a circuit block diagram thereof, and FIG. 3 shows an example of recorded images and data arrangement in an SD memory card. The memory pack according to the present embodiment has an outer shape and an I / F based on the Card bus standard, and a plurality of SD memory cards can be built therein. 1 and 2,SD memory cards 1 and 2 are memory cards based on a standardized SD memory card standard, and are inserted intosockets 3 and 4 of a dedicated standard and connected to a printedcircuit board 8 by a bus bridge. At 5, the plurality of SD card standard I / Fs are converted into one Card bus standard I / F and connected to theconnector 6. Further, theSD cards 1 and 2 are converted by thebus bridge 5 so that each of theSD cards 1 and 2 appears as one FAT partition from the host side. For recording over a plurality of SD memory cards, that is, recording beyond a partition, the boundary file is divided and recorded by the host-side application. For example, the data of 3A in FIG. 3 transmitted from the host side at the time of image recording is transferred to the SD memory card through thebus bridge 5 as one file in each of thescenes 1 and 2 as shown in 3B in FIG. 1, thescene 2 and thescene 3 are recorded on theSD memory card 2 as one file.
[0017]
Theexterior 7 is divided into two parts as shown in FIG. 1, and is fixed to the memory pack body so as to completely cover the portion other than the joint of theconnector 6. It is closed by screwing so that it cannot be seen. It is desirable that thesockets 3 and 4 be positioned with respect to theouter case 7 so as to prevent theSD memory cards 1 and 2 from moving in the direction away from thesockets 3 and 4. With such a configuration, it is possible to prevent theSD memory cards 1 and 2 from being detached from thesockets 3 and 4 in the memory pack when a shock is applied by dropping the memory pack or the like.
[0018]
According to the first embodiment, since the exterior is closed during normal use, the SD memory card is not removed intentionally or accidentally, the order of the cards is not changed, and the reliability is improved. There is an effect that a high-capacity recording medium that is expensive and easy to manage is configured. In addition, during maintenance, the memory card is connected via a socket, so the replacement of a memory card with an increased number of writes can be easily performed simply by removing the exterior, and the use of a standardized memory card By doing so, there is an effect that, as compared with the case where the flash memory is directly incorporated, the change of the capacity of the memory pack and the suspension of the production of the elements of the flash memory need only be performed by replacing the memory card.
[0019]
In the first embodiment, the number of memory cards is two for simplicity of description. However, the present invention can be implemented in exactly the same manner as long as the number of memory cards is four or eight. The effect of the present invention increases as the number increases. In the first embodiment, a memory card having a file system is used. However, even when a card does not have a controller such as a smart media, each memory card needs to be collectively managed, and the same effect is obtained. . In the first embodiment, the outer shape of the memory pack is based on the Card bus standard. However, if the outer shape of the memory pack is larger than that of the built-in memory card, the outer shape of the memory pack is based on another standard, for example, a compact flash ( R) or the like, or may be based on the standard of a recording device such as a hard disk.
[0020]
(Embodiment 2)
FIG. 4 shows the configuration of the second embodiment, FIG. 5 is a circuit block diagram thereof, FIG. 6 is a circuit diagram of the power supply voltage detection holding unit, and FIG. FIG. 3 is a voltage waveform diagram of FIG. Here, the eightSD memory cards 11 to 18 are connected to thebus bridge 19 via respective dedicated sockets, converted into an ATA bus, and connected to theconnector 21. In FIG. 4, theSD memory cards 15 to 18 are not shown because they are arranged on the back surface of the substrate. The 3V-system power is converted into 3.3V by the voltage detection and holdingcircuit 20 from the 5V input of theconnector 21 and then supplied to each SD memory card or the like. As shown in FIG. 6, the voltage detection and holdingcircuit 20 includes a voltage detector VD1 as power supply voltage detection means for detecting that the 5V voltage has dropped to 4.75V (95% of 5V) or less, and a power supply. It is composed of a diode D1 and a capacitor C1, which are power supply voltage holding means for holding a power supply voltage only for a short period after the disconnection, and a regulator REG1 and a capacitor C2 for producing 3.3V.
[0021]
Hereinafter, the operation at the time of power-off, which is a point of the present embodiment, will be described with reference to the waveform diagram of FIG. When the power supply is cut off due to an accidental battery disconnection of the portable device, the 5V input voltage decreases as shown by a waveform h1, and when the voltage drops to 4.75V or less, a power off signal such as a waveform h4 is transmitted from the voltage detector VD1 to thebus bridge 19. Then, thebus bridge 19 enters a protection mode so as to protect the SD card being written or erased. On the other hand, the input voltage of the regulator REG1 gradually decreases as shown by the waveform h2 in FIG. 7 by the action of the diode D1 and the capacitor C1 as the power supply voltage holding means, and after the power is turned off, during the voltage holding period t1 as shown by the waveform h3 in FIG. During the period, 3.3 V is maintained. During this period, thebus bridge 19 normally completes the necessary process of memory writing / erasing, and protects the recorded data in the SD memory card. Here, the voltage holding period t1 has a sufficient allowance for the time required for block erase determined by the SD memory card used.
[0022]
The outer case is covered with anouter case 22 having only one opening as shown in FIG. 4, and is screwed near the connector. However, the outer case may be configured as shown in the first embodiment, and a memory may be used. The number of cards may be other than eight. That is, configurations and operations other than the protection operation when the power is turned off may be basically the same as those in the first embodiment. In addition, the input voltage to the power supply voltage detection / holding block is 5 V, but there is no problem with other voltages. However, when the voltage is close to or lower than 3.3 V, it is desirable to use a DC-DC converter as a regulator so that the voltage can be boosted. In this case, it goes without saying that the detection voltage of the power supply voltage detector VD1 should also be set according to the normal input power supply voltage.
[0023]
(Embodiment 3)
FIG. 8 shows the configuration of the third embodiment, in which aconnector 30 serving as a power supply input device dedicated to the high-speed operation mode is added to the second embodiment. Theconnector 30 has four terminals P1 to P4. Normally, when there is no external power input, a power supply connected from theconnector 21 to the connector P2 of theconnector 30 is applied from the P3 to the power supply voltage detection / holdingblock 20 to implement the embodiment. The same operation as in the second embodiment is performed. On the other hand, in the high-speed operation mode in which the external power is input, the external input power is applied from P3 to the power supply voltage detection / holdingblock 20, and at the same time, the FE signal indicating that the external power is applied is transmitted from P4 of theconnector 30 to thebus bridge 19. Thus, thebus bridge 19 can simultaneously erase and read all eightSD memory cards 11 to 18 in parallel. In a high-speed operation mode in which a current exceeding a current input from an external host via the input /output connector 21 is normally required, such a current can be supplied from the high-speed operation mode dedicated power supply input means 31. There is an effect that a plurality ofmemory cards 11 to 18 can be simultaneously erased and written simultaneously without being restricted by the allowable current of the input /output connector 21 for connecting to an external host.
[0024]
(Embodiment 4)
FIG. 9 is a configuration diagram of the fourth embodiment, in which a silicon-based heat-dissipating sheet 31- serving as a soft-structure heat conducting means is provided between each of the built-in SD memory cards 11-18 and the memory packouter wall plates 23, 24. In other respects, the memory pack is the same as that of the second embodiment. Since the heat generated by theSD memory cards 11 to 18 is released to theouter wall plates 23 and 24 via theheat dissipation sheets 31 to 38, even a plurality of memory cards which are densely mounted and have severe operating temperature conditions can be erased and written simultaneously without heat generation problem. There is an effect that it becomes possible. Theheat radiation sheets 31 to 38, which are heat conduction means having a soft structure, use silicon heat radiation sheets. However, similar effects can be obtained by using an elastic material such as graphite or a leaf spring. However, from the standpoint of heat dissipation performance, it is needless to say that it is desirable to use a material having a higher thermal conductivity, and to increase the contact area with the memory card and the outer wall plate.
[0025]
(Embodiment 5)
FIG. 10 is a configuration diagram of the fifth embodiment, in which a first recess having a thickness equal to or greater than the thickness of thetransparent sheet 42 is provided on theouter wall surface 41 of the memory pack, and a second recess having a depth of about 0.5 mm is further provided inside the first recess. Is provided. Then, thetransparent sheet 42 is stretched in the first recess to form atransparent pocket 43 surrounded by the second recess and thetransparent sheet 42. A memo card or the like can be inserted into thetransparent pocket 43. The other points are the same as those of the memory pack according to the second embodiment.
[0026]
According to the above-described embodiment, it is possible to realize a large-capacity recording medium that is easy to visually identify by filling in the necessary information on the memo card and inserting it into thetransparent pocket 43 while using the memory card as the recording medium. This has the effect.
[0027]
(Embodiment 6)
FIG. 11 is a configuration diagram of the sixth embodiment, and is made of rubber which is a memory card drop-off preventing means for limiting the movable range of theSD memory cards 1 and 2 in the SDmemory card sockets 3 and 4 after the memory pack is assembled. Abar 51 is provided. The other points are the same as those of the first embodiment.
[0028]
According to the present embodiment, even in a memory card socket of a type such as push-in / push-out that is ejected when pushed, the movable range of the memory card is limited by the memory card drop prevention means, and the memory pack is dropped. This also has the effect of preventing the memory card from being detached from the socket due to an impact or from being detached, resulting in poor contact.
[0029]
Although the memory card drop prevention means is a rubber bar, the material and the shape do not matter in particular if the movable range of the memory card such as a leaf spring or plastic is limited. Further, the memory card falling-off prevention means may be made of a material and a shape which also serves as the heat conduction means described in the fourth embodiment. Also, after the memory pack is assembled, it is desirable that the memory card drop-prevention means does not move in the direction in which the memory card is dropped by pressing the memory card. As long as the defect does not occur, the contact may be light contact or there may be some play.
[0030]
【The invention's effect】
As described above, according to the present invention, while using a consumer-use memory card that can make use of cost advantages, it can be handled as one large-capacity recording medium during normal use, and the trouble that the memory card comes off can be prevented. Advantageous effect that a large-capacity recording medium having a high density can be formed.
[Brief description of the drawings]
FIG. 1 is a schematic diagram showing a memory pack according to a first embodiment of the present invention; FIG. 2 is a circuit block diagram showing a memory pack according to a first embodiment of the present invention; FIG. FIG. 4 is a schematic diagram showing a memory pack according to a second embodiment of the present invention. FIG. 5 is a circuit block diagram showing a memory pack according to a second embodiment of the present invention. FIG. 7 is a circuit diagram showing a voltage detection and holding circuit in a memory pack according to a second embodiment. FIG. 7 is a waveform diagram for explaining the operation of the voltage detection and holding circuit in a memory pack according to a second embodiment of the present invention. FIG. 9 is a sketch showing a memory pack according to a third embodiment of the present invention. FIG. 9 is a sketch showing a memory pack according to a fourth embodiment of the present invention. FIG. 10 is a diagram showing a memory pack according to a fifth embodiment of the present invention. Floor [EXPLANATION OF SYMBOLS] that according to a sixth embodiment of the take view [11] The present invention shows a sketch Figure 12 conventional memory card adapter of a memory pack
1, 2 ...memory card 3, 4 ...memory card socket 5 ...bus bridge 6 ...connector 7 ...exterior 8 ... printedcircuit boards 11 to 18 ...memory card 19 ... ·Bus bridge 20 ··· Voltage detection and holdingblock 21 ···Connector 22 ···Exterior 23 and 24 ···Outer wall plate 30 ···Connectors 31 to 38 ···Heat dissipation sheet 41 ··· Packouter wall surface 42 ...transparent sheet 43 ...transparent pocket 51 ... rubber bar

Claims (6)

Translated fromJapanese
規格化された標準I/Fを備えた複数のメモリカードと、
前記複数のメモリカードを装着する複数のソケットと、
前記複数のメモリカードの標準I/Fを単一のI/F仕様に変換するためのバスブリッジと、
このバスブリッジを外部ホストに接続するための入出力コネクタと、
使用時には個々のメモリカードがはずせない閉鎖された外装とを有するメモリパック。
A plurality of memory cards having a standardized standard I / F,
A plurality of sockets for mounting the plurality of memory cards;
A bus bridge for converting the standard I / F of the plurality of memory cards into a single I / F specification;
An input / output connector for connecting this bus bridge to an external host,
A memory pack having a closed outer casing from which an individual memory card cannot be removed when used.
外部ホスト或いは外部電源から供給される電源が停止時に内部電源電圧を所定の時間以上保持する電圧保持手段と、
供給される電源電圧が所定の電圧以下に降下したことを検出する電圧検出手段とを備え、
前記バスブリッジは、前記電圧検出手段で電圧低下が検出された以降のホスト側からの書込を拒否すると共にメモリカード内に記録または消去し始めたプロセスが完了するまで制御を継続する様にした請求項1記載のメモリパック。
Voltage holding means for holding the internal power supply voltage for a predetermined time or more when power supplied from an external host or an external power supply is stopped;
Voltage detecting means for detecting that the supplied power supply voltage has dropped below a predetermined voltage,
The bus bridge rejects writing from the host side after the voltage drop is detected by the voltage detecting means and continues control until the process of starting recording or erasing in the memory card is completed. The memory pack according to claim 1.
前記入出力コネクタとは別に設けられ、前記入出力コネクタから供給される電源より大きい電流を供給する高速動作モード専用電源入力手段を有し、
前記バスブリッジは、消去モード及び高速転送モードの少なくともいずれか一方の時に、メモリパック内の複数のメモリカードに対して並行して消去・読み出し・書込等の動作を行わせる請求項1及び請求項2記載のメモリパック。
High-speed operation mode dedicated power supply input means provided separately from the input / output connector and supplying a current larger than the power supplied from the input / output connector,
4. The bus bridge according to claim 1, wherein at least one of an erase mode and a high-speed transfer mode performs operations such as erase, read, and write on a plurality of memory cards in a memory pack in parallel. Item 2. The memory pack according to Item 2.
内蔵されるメモリカードとメモリパック外壁板との間に軟構造の熱伝導手段を備えた請求項1乃至請求項3記載のメモリパック。4. The memory pack according to claim 1, further comprising a heat conduction means having a soft structure between a built-in memory card and a memory pack outer wall plate.メモリパック外壁面にメモカード等の挿入できる透明ポケット手段を備えた請求項1乃至請求項4記載のメモリパック。5. The memory pack according to claim 1, further comprising a transparent pocket means for inserting a memo card or the like into an outer wall surface of the memory pack.メモリパック組立後にメモリカードソケット内でのメモリカード移動可能範囲を制限するメモリカード脱落防止手段を備えた請求項1乃至請求項5記載のメモリパック。6. The memory pack according to claim 1, further comprising a memory card drop-off preventing means for limiting a movable range of the memory card in the memory card socket after assembling the memory pack.
JP2003039318A2003-02-182003-02-18 Memory packPendingJP2004264908A (en)

Priority Applications (2)

Application NumberPriority DateFiling DateTitle
JP2003039318AJP2004264908A (en)2003-02-182003-02-18 Memory pack
PCT/JP2004/001655WO2004075099A1 (en)2003-02-182004-02-16Memory pack

Applications Claiming Priority (1)

Application NumberPriority DateFiling DateTitle
JP2003039318AJP2004264908A (en)2003-02-182003-02-18 Memory pack

Publications (1)

Publication NumberPublication Date
JP2004264908Atrue JP2004264908A (en)2004-09-24

Family

ID=32905165

Family Applications (1)

Application NumberTitlePriority DateFiling Date
JP2003039318APendingJP2004264908A (en)2003-02-182003-02-18 Memory pack

Country Status (2)

CountryLink
JP (1)JP2004264908A (en)
WO (1)WO2004075099A1 (en)

Cited By (6)

* Cited by examiner, † Cited by third party
Publication numberPriority datePublication dateAssigneeTitle
JP2009157931A (en)*2008-12-262009-07-16Sony CorpMemory card
JP2010079445A (en)*2008-09-242010-04-08Toshiba CorpSsd device
US7703692B2 (en)2006-12-062010-04-27Sony CorporationMemory card
JP2010271846A (en)*2009-05-202010-12-02Niigata Power Systems Co Ltd Data collection device
US8374482B2 (en)2006-12-272013-02-12Sony CorporationMemory card, imaging apparatus, and recording/reproducing apparatus
JP2013140625A (en)*2013-03-212013-07-18Niigata Power Systems Co LtdData collection device

Families Citing this family (1)

* Cited by examiner, † Cited by third party
Publication numberPriority datePublication dateAssigneeTitle
KR100878905B1 (en)*2007-10-302009-01-15(주)이지펙스Memory card changer, method for reading or writing data in memory card changer

Family Cites Families (4)

* Cited by examiner, † Cited by third party
Publication numberPriority datePublication dateAssigneeTitle
JP3486057B2 (en)*1996-06-212004-01-13株式会社東芝 Semiconductor integrated circuit and contact IC card
JPH10162108A (en)*1996-11-291998-06-19Tokimec Inc Data storage
JP2000357208A (en)*1999-06-152000-12-26D D K LtdAdapter card for memory card
JP2002189992A (en)*2000-12-202002-07-05Sony CorpMemory card drive and portable memory card drive

Cited By (6)

* Cited by examiner, † Cited by third party
Publication numberPriority datePublication dateAssigneeTitle
US7703692B2 (en)2006-12-062010-04-27Sony CorporationMemory card
US8374482B2 (en)2006-12-272013-02-12Sony CorporationMemory card, imaging apparatus, and recording/reproducing apparatus
JP2010079445A (en)*2008-09-242010-04-08Toshiba CorpSsd device
JP2009157931A (en)*2008-12-262009-07-16Sony CorpMemory card
JP2010271846A (en)*2009-05-202010-12-02Niigata Power Systems Co Ltd Data collection device
JP2013140625A (en)*2013-03-212013-07-18Niigata Power Systems Co LtdData collection device

Also Published As

Publication numberPublication date
WO2004075099A1 (en)2004-09-02

Similar Documents

PublicationPublication DateTitle
JP4544281B2 (en) Card type peripheral device
US7535718B2 (en)Memory card compatible with multiple connector standards
US7162549B2 (en)Multimode controller for intelligent and “dumb” flash cards
US6832281B2 (en)Flashtoaster for reading several types of flash memory cards with or without a PC
US20090100207A1 (en)Memory Card Reader to Provide Access to Multiple Memory Card Types
EP1562199B1 (en)Memory card with a plurality of memory chips and a changeover switch
US20060253636A1 (en)Flash toaster for reading several types of flash memory cards with or without a PC
EP1265433A1 (en)Digital memory system
US6189055B1 (en)Multi-module adapter having a plurality of recesses for receiving a plurality of insertable memory modules
JP2004264908A (en) Memory pack
US20070290050A1 (en)Memory card and memory card/adaptor combination
US7525807B2 (en)Semiconductor memory device
US20090282194A1 (en)Removable storage accelerator device
US8964369B2 (en)Solid-state mass data storage device
US20030133270A1 (en)Embedding type signal adapter for memory cards
US20070267505A1 (en)Composite interface memory card
JP2004055102A (en)Large capacity storage medium provided with storage card conversion interface
CN222690160U (en)Vehicle-mounted USB box
CN201104307Y (en)Non-volatile digital memory paper sheet
JP3826131B2 (en) Semiconductor memory device
CN102024796B (en)Integrated circuit module with display device
JP3358668B2 (en) IC card
CN200941203Y (en) riser card
CN2791749Y (en) multimedia connection reader
JP2005148853A (en)Data storage device

[8]ページ先頭

©2009-2025 Movatter.jp