



【0001】
【発明の属する技術分野】
本発明は、高濃度溶液の逆浸透処理に関する発明であり、特に海水の淡水化などを目的とする分離方法に関するものである。
【0002】
【従来の技術】
逆浸透法は、海水及びかん水の淡水化、半導体工業及び医薬品工業用の純水、超純水の製造、都市排水処理等の幅広い分野で利用されている。蒸発法、電気透析法と比較して省エネルギーの点で有利であり、広く普及が進んでいる。特に、中空糸型逆浸透膜は、単位容積当たりの膜面積を大きくできるため、膜分離操作に適した形状であり、例えば、逆浸透膜による海水淡水化分野では広く用いられている。
【0003】
逆浸透法での処理において、近年、より高回収率での処理が求められている。特に、高濃度溶液の処理においては、膜への負担軽減や、膜表面への濃度分極層の低減のために一旦、逆浸透膜モジュール処理された濃縮水を別の逆浸透膜モジュールへ供給して処理する多連システムが採用されている。
【0004】
従来、1連目の逆浸透膜処理された濃縮水が2連目の逆浸透膜で処理される場合、2連目の逆浸透膜モジュールの本数が少ない状態での処理方法が開示されている。(例えば、非特許文献1、2参照。)これは、逆浸透膜モジュール本数が同じであれば、逆浸透膜モジュール内を流れる流量は1連目より2連目の方が少なくなり、逆浸透膜モジュール内の流量が少ないと逆浸透膜モジュール内に偏流が生じたり、膜表面濃度分極の増大によるなど逆浸透膜モジュール性能低下の原因となるため、2連目以降の逆浸透膜モジュール本数を少なくすることで2連目の逆浸透膜モジュール内の流量を維持するためと考えられている。このように、逆浸透膜やナノろ過膜などのクロスフローで処理する逆浸透膜モジュールに関しては、2連目の逆浸透膜モジュールの濃縮水をさらに3連目の逆浸透膜モジュールに供給するような多連システムにおいても、下流の逆浸透膜モジュール本数が少なく配置することはいわゆるクリスマスツリー方式として開示されている。 (例えば、非特許文献1、2参照。)これらは、一般的には、低濃度溶液の逆浸透膜処理を高回収率で実施する場合に適用されている。
【0005】
【非特許文献1】
最新の膜処理技術とその応用 (株)フジテクノシステム発行 (第33 4頁、図−1)
【非特許文献2】
水道膜ろ過法入門 日本水道新聞社発行 (第24頁、図−2.3−1)
【0006】
【発明が解決しようとする課題】
高濃度溶液を高回収率での多連システムで逆浸透膜の処理する場合、2連目以降の逆浸透膜モジュールの本数が、1連目と同じ場合やそれ以下である場合より、高効率な処理が可能な処理方法を提供することを目的とする。
【0007】
【課題を解決するための手段】
本発明者らは、上記課題を克服すべく鋭意検討を重ねた結果、海水淡水化のような高濃度溶液の2連システムでの処理の場合、驚くべきことに、2連目の逆浸透膜モジュール本数が1連目の逆浸透膜モジュール本数より少ない場合より多い場合の方が、2連システムトータルの性能、特に、海水淡水化でのホウ素の除去率がよくなることを見出し、本発明に至った。すなわち、本願発明は下記の構成を有するものである。
(1) 高濃度原水を逆浸透膜モジュールの2連システムで処理し、高濃度の濃縮水と低濃度の透過水とに分離する処理方法であって、1連目の逆浸透膜モジュールで分離された高濃度の濃縮水が2連目の逆浸透膜モジュールに供給されるように配設され、2連目の逆浸透膜モジュールが1連目の逆浸透膜モジュールより多い本数で処理することを特徴とする高濃度溶液の処理方法。
(2) 2連目の逆浸透膜モジュールの本数が1連目の逆浸透膜モジュールの本数の110%から200%であることを特徴とする(1)記載の高濃度溶液の処理方法。
(3) 高濃度原水を逆浸透膜モジュールの2連システムで処理し、高濃度の濃縮水と低濃度の透過水とに分離する処理方法であって、1連目の逆浸透膜モジュールで分離された高濃度の濃縮水が2連目の逆浸透膜モジュールに供給されるように配設され、2連目の逆浸透膜モジュールの膜面積の総和が1連目の逆浸透膜モジュールの膜面積の総和より多い状態で処理することを特徴とする高濃度溶液の処理方法。
(4) 2連目の逆浸透膜モジュールの膜面積の総和が1連目の逆浸透膜モジュールの膜面積の総和の110%から200%であることを特徴とする(3)記載の高濃度溶液の処理方法。
(5) 逆浸透膜が中空糸膜型であるであることを特徴とする(1)〜(4)いずれか記載の高濃度溶液の処理方法。
(6)中空糸型逆浸透膜が酢酸セルロース系高分子からなることを特徴とする(5)記載の高濃度溶液の処理方法。
(7) 高濃度原水が海水であることを特徴とする(1)〜(6)いずれか記載の高濃度溶液の処理方法。
【0008】
本発明における高濃度原水とは、逆浸透処理が可能な溶質の溶解液体であり、濃度はその浸透圧から逆浸透処理が可能な範囲であるものである。例えば、海水などがあげられ、回収率によっても異なるが、逆浸透膜では、5.4MPaから10MPaで淡水化処理が可能である。また、他の一例としては、食品関係の高濃度糖類の溶液などがあげられる。
【0009】
本発明における逆浸透膜とは、数十ダルトンの分子量の分離特性を有する領域の分離膜であり、具体的には、0.5MPa以上の操作圧力で、食塩を90%以上、除去可能であるものである。海水淡水化に使用される中空糸型逆浸透膜は、操作圧力が大きく、また、食塩の除去率は99%以上が一般的である。
【0010】
本発明における逆浸透膜モジュールとは、逆浸透膜からなる膜モジュールであれば特に限定されない。例えば、膜形状からは、平膜型逆浸透膜モジュール、スパイラル型逆浸透膜モジュール、中空糸型逆浸透膜モジュール、管状型逆浸透膜モジュールなどがあげられるが、逆浸透膜モジュールの容積あたりの膜面積が大きく取れる中空糸型逆浸透膜モジュールが好ましい。
【0011】
本発明における逆浸透膜モジュールの2連システムでの処理とは、原水を一度、逆浸透処理した際に生じる濃縮水をそのまま排水せずに、再度、逆浸透処理する処理方法であり、1連目逆浸透膜モジュールと2連目逆浸透膜モジュールの間には昇圧操作があってもかまわないが、使用エネルギーの点から昇圧操作がない方が好ましい。
【0012】
本発明において、2連目の逆浸透膜モジュールの本数が1連目の逆浸透膜モジュールの本数より多いとは、逆浸透膜モジュールの大きさ、仕様、性能が基本的には同様の場合についてである。1連目に対して110%以上で200%以下が好ましい。これより低いと効果が小さく、これより大きすぎると、2連目の逆浸透膜モジュール内の流量が極端に低下し、逆浸透膜モジュール内の偏流や膜表面の濃度分極が拡大し所期の効果が得られない可能性がある。より好ましくは115%以上、180%以下、さらに好ましくは120%以上、160%以下である。逆浸透膜モジュールの大きさが異なる場合は、逆浸透膜モジュールの膜面積が110%から200%が好ましい。より好ましくは115%以上、180%以下、さらに好ましくは120%以上、160%以下である。
【0013】
2連目の逆浸透膜モジュール本数、膜面積を増やすことにより、トータルの2連システムの性能が向上する理由は明らかではないが、以下のように推測される。すなわち、2連目の逆浸透膜モジュール本数、膜面積を増加すること、逆に1連目の逆浸透膜モジュール本数、膜面積を減少させることにより、1連目の回収率が小さくなる。原水が高濃度(例えば、海水)であれば、浸透圧も大きいため、回収率が透水性能、除去性能に及ぼす影響は大きく、1連目の性能は高くなる。一方、回収率が低いため1連目の濃縮水、すなわち2連目の供給水の溶質濃度が低下し浸透圧が低くなり、2連目の透水性能、除去性能は向上する。これらの傾向は膜が有する性能の溶質濃度の依存性が大きいほど顕著になると推察される。
【0014】
本発明における逆浸透膜が中空糸膜型であるとは、膜形状が中空状ものであれば、均質構造、非対称構造、複合構造など、膜構造は特に限定されない。中空糸の内径は、中空糸膜の内径と外径とから算出される中空率も考慮して設定することが好ましいが、30μmから200μmが好ましく、40μmから150μmがより好ましい。内径が小さすぎると、中空部内の流動圧損が大きくなりすぎるため好ましくない。一方、内径が大きすぎると、中空糸膜径自体が大きくなるため、容積当たりの膜面積が大きく取れなくなるため、好ましくない。本発明における中空糸膜型逆浸透膜の素材等は特に限定されず、例えば、酢酸セルロース系高分子、ポリアミド系高分子、ポリビニルアルコール系高分子などがあげられ、耐塩素性の点から酢酸セルロース系素材が好ましい。
【0015】
本発明における酢酸セルロース系高分子とは、酢酸セルロース、三酢酸セルロース、両者の混合物が例としてあげられる。性能面、性能の安定性等から三酢酸セルロースが好ましい。また、これらの素材は耐塩素性に優れるため、供給水に殺菌剤として塩素の添加が可能である。間欠的に注入するほうが、消毒物副生成物の発生量や薬品使用量が小さくなり好ましい。
【0016】
【発明の実施の形態】
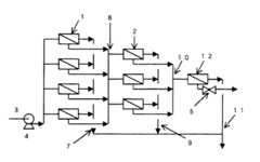
本発明の実施の形態を図1に基づいて説明する。図1は、一例として1連目には4本の中空糸型逆浸透膜モジュールを配置し、2連目には5本の逆浸透膜モジュールを配置しており、1連目の4本の逆浸透膜モジュールの濃縮水を集めて5本の逆浸透膜モジュールへ供給して分離操作を行う場合を示している。高圧ポンプ4により昇圧された供給水6は1連目の逆浸透膜モジュール1に供給され、濃縮水8は2連目の逆浸透膜モジュール2に供給される。2連目の逆浸透膜モジュール2の濃縮水10は排出され、透過水9は1連目の透過水7と合流し生産水13として得られる。
【0017】
図2は従来法の一例として、2連目の方が1連目に比べて、逆浸透膜モジュール本数が少ない例である。1連目には5本の中空糸型逆浸透膜モジュールを配置し、2連目には4本の逆浸透膜モジュールを配置しており、1連目の5本の逆浸透膜モジュールの濃縮水を集めて4本の逆浸透膜モジュールへ供給して分離操作を行う場合を示している。高圧ポンプ4により昇圧された供給水6は1連目の逆浸透膜モジュール1に供給され、濃縮水8は2連目の逆浸透膜モジュール2に供給される。2連目の逆浸透膜モジュール2の濃縮水10は排出され、透過水9は1連目の透過水7と合流し生産水13として得られる。
【0018】
図3は従来法の他の一例として、2連目と1連目が逆浸透膜モジュール本数が同じの場合の例である。1連目には4本の中空糸型逆浸透膜モジュールを配置し、2連目には4本の逆浸透膜モジュールを配置しており、1連目の4本の逆浸透膜モジュールの濃縮水を集めて4本の逆浸透膜モジュールへ供給して分離操作を行う場合を示している。高圧ポンプ4により昇圧された供給水6は1連目の逆浸透膜モジュール1に供給され、濃縮水8は2連目の逆浸透膜モジュール2に供給される。2連目の逆浸透膜モジュール2の濃縮水10は排出され、透過水9は1連目の透過水7と合流し生産水13として得られる。
【0019】
図4は3連システムでの従来の一例を示す。2連目の方が1連目に比べて、逆浸透膜モジュール本数が少なく、さらに、3連目の方が2連目に比べて逆浸透膜モジュール本数が少ない例である。
【0020】
【実施例】
以下に、実施例を挙げて本発明を説明するが、本発明はこれらの実施例により何ら制限されるものではない。なお、実施例は、海水淡水化用の逆浸透膜の場合を示す。
【0021】
(実施例1)
1連目に三酢酸セルロース製の中空糸型逆浸透膜モジュール4本を用い、2連目に三酢酸セルロース製の中空糸型逆浸透膜モジュール5本を用い、図1に示すような、2連システムの逆浸透膜モジュール配置でホウ素含有の海水を処理した。運転条件は以下の通りであった。原水の温度30℃、塩濃度3.1%、ホウ素濃度4.5mg/L、1連目の操作圧力71kg/cm2、回収率62.5%であった。得られた透過水の流量とホウ素の濃度は、それぞれ、1連目は、119m3/日、1.7mg/L、2連目が52m3/日、4.0mg/Lでトータルが171m3/日、2.4mg/Lであった。トータルのホウ素の除去率は47%であった。なお、使用した逆浸透膜モジュールの標準条件の性能は、透水量16m3/日、塩除去率99.2%、ホウ素除去率50%であった。ここでの標準条件は、供給水の温度25℃、食塩濃度3.5%、ホウ素濃度4.5mg/L、供給圧力55kg/cm2、回収率30%である。1連目、2連目の水質等のデータは表1に示した。なお、除去率は下記の(1)式により定義される。溶質が、塩の場合は塩除去率、食塩の場合は、食塩の除去率、ホウ素の場合はホウ素除去率である。塩、食塩の濃度は電気伝導度の値から求めた。また、ホウ素の濃度は、吸光光度法により求めた。
除去率=(1−(透過水の溶質濃度/供給水の溶質濃度))x100(%) (1)
また、回収率は下記の(2)式で定義される。
回収率=(透過水流量/供給水流量)x100(%) (2)
なお、透過水流量は、通常の面積式流量計で測定し、供給水流量は、透過水流量と濃縮水流量の和として求めた。
【0022】
(比較例1)
逆浸透膜モジュールの配置が図2であること以外、実施例1と同様の逆浸透膜モジュールを用いてホウ素含有の食塩水を処理した。1連目に三酢酸セルロース製の中空糸型逆浸透膜モジュール5本を用い、2連目に三酢酸セルロース製の中空糸型逆浸透膜モジュール4本を用いている。得られた透過水の流量とホウ素の濃度は、1連目は、136m3/日、2.1mg/L、2連目が31m3/日、4.7mg/Lでトータルが168m3/日、2.6mg/Lであった。トータルのホウ素の除去率は42%であり、実施例の場合に比べて低い値となった。1連目、2連目の水質等のデータは表1に示した。
【0023】
(比較例2)
逆浸透膜モジュールの配置が図3であること以外、実施例1と同様の逆浸透膜モジュールを用いてホウ素含有の食塩水を処理した。1連目に三酢酸セルロース製の中空糸型逆浸透膜モジュール4本を用い、2連目に三酢酸セルロース製の中空糸型逆浸透膜モジュール4本を用いている。得られた透過水の流量とホウ素の濃度は、1連目は、114m3/日、1.9mg/L、2連目が36m3/日、4.7mg/Lでトータルが150m3/日、2.6mg/Lであった。トータルのホウ素の除去率は42%であり、実施例の場合に比べて低い値となった。1連目、2連目の水質等のデータは表1に示した。
【0024】
【表1】
【0025】
【発明の効果】
逆浸透膜で処理した濃縮水を再度逆浸透膜で処理する2連システムの逆浸透膜の処理方法において、2連目の逆浸透膜モジュールの本数を1連目の逆浸透膜モジュールの本数より多くすることにより、より高効率な分離操作、特に海水のホウ素の除去が可能である。
【図面の簡単な説明】
【図1】本発明の処理方法の一例で、1連目の逆浸透膜モジュールが4本で、2連目の逆浸透膜モジュールが5本の場合の2連システムの場合の簡単な構成図を示す。
【図2】従来例の処理方法の一例で1連目の逆浸透膜モジュールが5本で、2連目の逆浸透膜モジュールが4本の場合の2連システムの場合の簡単な構成図を示す。
【図3】従来例の処理方法の他の一例で1連目の逆浸透膜モジュールが4本で、2連目の逆浸透膜モジュールが4本の場合の2連システムの場合の簡単な構成図を示す。
【図4】従来例の処理方法の他の一例で1連目の逆浸透膜モジュールが4本で、2連目の逆浸透膜モジュールが3本で3連目の逆浸透膜モジュールが1本の場合の3連システムの場合の簡単な構成図を示す。
【符号の説明】
1:1連目の逆浸透膜モジュール
2:2連目の逆浸透膜モジュール
3:供給水
4:高圧ポンプ
5:流量調整バルブ
6:昇圧された供給水
7:1連目の逆浸透膜モジュールの透過水
8:1連目の逆浸透膜モジュールの濃縮水
9:2連目の逆浸透膜モジュールの透過水
10:2連目の逆浸透膜モジュールの濃縮水
11:3連目の逆浸透膜モジュールの透過水
12:3連目の逆浸透膜モジュール[0001]
TECHNICAL FIELD OF THE INVENTION
The present invention relates to a reverse osmosis treatment of a high-concentration solution, and more particularly to a separation method for desalination of seawater and the like.
[0002]
[Prior art]
The reverse osmosis method is used in a wide range of fields such as desalination of seawater and brackish water, production of pure water and ultrapure water for the semiconductor industry and the pharmaceutical industry, and municipal wastewater treatment. Compared to the evaporation method and the electrodialysis method, they are advantageous in energy saving and are widely used. In particular, the hollow fiber type reverse osmosis membrane has a shape suitable for the membrane separation operation because the membrane area per unit volume can be increased. For example, the hollow fiber type reverse osmosis membrane is widely used in the field of seawater desalination using a reverse osmosis membrane.
[0003]
In the treatment by the reverse osmosis method, a treatment with a higher recovery rate has been required in recent years. In particular, in the treatment of high-concentration solutions, concentrated water that has been treated with a reverse osmosis membrane module is supplied to another reverse osmosis membrane module to reduce the load on the membrane and reduce the concentration polarization layer on the membrane surface. A multiple system is used for processing.
[0004]
Conventionally, when the concentrated water treated by the first reverse osmosis membrane is treated by the second reverse osmosis membrane, a treatment method in a state where the number of the second reverse osmosis membrane modules is small is disclosed. . (For example, see Non-Patent
[0005]
[Non-patent document 1]
Latest membrane processing technology and its applications Published by Fuji Techno System Co., Ltd. (Page 334, Fig. 1)
[Non-patent document 2]
Introduction to the water membrane filtration method Published by Nihon Suido Shimbun (Page 24, Figure 2.3-1)
[0006]
[Problems to be solved by the invention]
When a high concentration solution is treated in a reverse osmosis membrane in a multiple system with a high recovery rate, the efficiency is higher than when the number of reverse osmosis membrane modules in the second and subsequent stations is the same as or less than the first station It is an object of the present invention to provide a processing method capable of performing various processing.
[0007]
[Means for Solving the Problems]
The present inventors have made intensive studies to overcome the above-mentioned problems, and as a result, in the case of treatment of a highly concentrated solution such as seawater desalination in a dual system, surprisingly, the second reverse osmosis membrane was used. The present inventors have found that a case where the number of modules is larger than a case where the number of reverse osmosis membrane modules is smaller than that of the first unit has a higher performance of the total system of the two units, particularly, a removal rate of boron in seawater desalination. Was. That is, the present invention has the following configuration.
(1) High-concentration raw water is treated by a reverse osmosis membrane module dual system, and is separated into high-concentration concentrated water and low-concentration permeated water. The second concentrated reverse osmosis membrane module is disposed in such a manner that the concentrated water having a high concentration is supplied to the second reverse osmosis membrane module, and the second reverse osmosis membrane module is processed in a larger number than the first reverse osmosis membrane module. A method for treating a high-concentration solution, comprising:
(2) The method for treating a high-concentration solution according to (1), wherein the number of reverse osmosis membrane modules in the second series is 110% to 200% of the number of reverse osmosis membrane modules in the first series.
(3) A treatment method in which high-concentration raw water is treated by a reverse osmosis membrane module dual system and separated into high-concentration concentrated water and low-concentration permeate water, separated by the first reverse osmosis membrane module The concentrated high-density water is supplied to the second reverse osmosis membrane module, and the sum of the membrane areas of the second reverse osmosis membrane module is equal to that of the first reverse osmosis membrane module. A method for treating a high-concentration solution, wherein the treatment is performed in a state where the area is larger than the total area.
(4) The high concentration according to (3), wherein the total membrane area of the second reverse osmosis membrane module is 110% to 200% of the total membrane area of the first reverse osmosis membrane module. Solution treatment method.
(5) The method for treating a high-concentration solution according to any one of (1) to (4), wherein the reverse osmosis membrane is a hollow fiber membrane type.
(6) The method for treating a high-concentration solution according to (5), wherein the hollow fiber type reverse osmosis membrane comprises a cellulose acetate polymer.
(7) The method for treating a high-concentration solution according to any one of (1) to (6), wherein the high-concentration raw water is seawater.
[0008]
The high-concentration raw water in the present invention is a dissolved liquid of a solute that can be subjected to reverse osmosis treatment, and has a concentration within a range in which reverse osmosis treatment is possible based on its osmotic pressure. For example, seawater and the like can be mentioned, and depending on the recovery rate, the reverse osmosis membrane can be desalinated at 5.4 MPa to 10 MPa. Another example is a solution of a high-concentration saccharide related to food.
[0009]
The reverse osmosis membrane in the present invention is a separation membrane in a region having a separation characteristic of a molecular weight of several tens of daltons, and specifically, can remove 90% or more of salt at an operation pressure of 0.5 MPa or more. Things. A hollow fiber type reverse osmosis membrane used for seawater desalination has a large operating pressure, and the salt removal rate is generally 99% or more.
[0010]
The reverse osmosis membrane module in the present invention is not particularly limited as long as it is a membrane module made of a reverse osmosis membrane. For example, the membrane shape includes a flat membrane type reverse osmosis membrane module, a spiral type reverse osmosis membrane module, a hollow fiber type reverse osmosis membrane module, a tubular type reverse osmosis membrane module, and the like. The hollow fiber type reverse osmosis membrane module which can take a large membrane area is preferable.
[0011]
The treatment in the dual system of the reverse osmosis membrane module in the present invention is a treatment method in which the concentrated water generated when the raw water is once subjected to the reverse osmosis treatment is subjected to the reverse osmosis treatment again without draining the concentrated water. Although a pressurizing operation may be performed between the first reverse osmosis membrane module and the second reverse osmosis membrane module, it is preferable that there is no pressurizing operation from the viewpoint of energy consumption.
[0012]
In the present invention, the case where the number of reverse osmosis membrane modules in the second series is larger than the number of reverse osmosis membrane modules in the first series means that the size, specification and performance of the reverse osmosis membrane modules are basically the same. It is. It is preferably 110% or more and 200% or less with respect to the first station. If it is lower than this, the effect is small, and if it is too large, the flow rate in the second reverse osmosis membrane module is extremely reduced, and the drift in the reverse osmosis membrane module and the concentration polarization of the membrane surface are enlarged, and The effect may not be obtained. More preferably, it is 115% or more and 180% or less, and still more preferably 120% or more and 160% or less. When the size of the reverse osmosis membrane module is different, the membrane area of the reverse osmosis membrane module is preferably from 110% to 200%. More preferably, it is 115% or more and 180% or less, and still more preferably 120% or more and 160% or less.
[0013]
Although it is not clear why the total number of reverse osmosis membrane modules and the membrane area are increased by increasing the number of the second reverse osmosis membrane modules and the membrane area, the following is presumed. That is, by increasing the number of reverse osmosis membrane modules and the membrane area in the second series, and conversely, reducing the number of reverse osmosis membrane modules and the membrane area in the first series, the recovery rate of the first series is reduced. If the raw water has a high concentration (for example, seawater), the osmotic pressure is large, and thus the recovery rate has a large effect on the water permeability and the removal performance, and the performance of the first series is high. On the other hand, since the recovery rate is low, the solute concentration of the first concentrated water, that is, the supply water of the second series is reduced, the osmotic pressure is reduced, and the permeability and removal performance of the second series are improved. It is presumed that these tendencies become more remarkable as the performance of the membrane is more dependent on the solute concentration.
[0014]
The term “reverse osmosis membrane of the present invention being a hollow fiber membrane type” means that the membrane structure is not particularly limited as long as the membrane shape is hollow, such as a homogeneous structure, an asymmetric structure, and a composite structure. The inner diameter of the hollow fiber is preferably set in consideration of the hollow ratio calculated from the inner diameter and the outer diameter of the hollow fiber membrane, but is preferably 30 μm to 200 μm, more preferably 40 μm to 150 μm. If the inner diameter is too small, the flow pressure loss in the hollow portion becomes too large, which is not preferable. On the other hand, if the inner diameter is too large, the diameter of the hollow fiber membrane itself becomes large, and a large membrane area per volume cannot be obtained. The material and the like of the hollow fiber membrane type reverse osmosis membrane in the present invention are not particularly limited, and include, for example, cellulose acetate-based polymers, polyamide-based polymers, polyvinyl alcohol-based polymers, and the like. System materials are preferred.
[0015]
Examples of the cellulose acetate polymer in the present invention include cellulose acetate, cellulose triacetate, and a mixture of both. Cellulose triacetate is preferred from the viewpoint of performance and stability of performance. Further, since these materials have excellent chlorine resistance, it is possible to add chlorine as a disinfectant to the supplied water. It is preferable to inject intermittently because the amount of disinfectant by-products and the amount of chemicals used are small.
[0016]
BEST MODE FOR CARRYING OUT THE INVENTION
An embodiment of the present invention will be described with reference to FIG. FIG. 1 shows an example in which four hollow fiber type reverse osmosis membrane modules are arranged in the first series, and five reverse osmosis membrane modules are arranged in the second series. A case is shown in which concentrated water of a reverse osmosis membrane module is collected and supplied to five reverse osmosis membrane modules to perform a separation operation. The
[0017]
FIG. 2 shows an example of a conventional method in which the number of reverse osmosis membrane modules in the second station is smaller than that in the first station. Five hollow fiber reverse osmosis membrane modules are placed in the first station, four reverse osmosis membrane modules are placed in the second station, and the five reverse osmosis membrane modules in the first station are concentrated. A case is shown in which water is collected and supplied to four reverse osmosis membrane modules to perform a separation operation. The
[0018]
FIG. 3 shows another example of the conventional method in which the second and first stations have the same number of reverse osmosis membrane modules. Four hollow fiber reverse osmosis membrane modules are arranged in the first station, and four reverse osmosis membrane modules are arranged in the second station. Concentration of four reverse osmosis membrane modules in the first station A case is shown in which water is collected and supplied to four reverse osmosis membrane modules to perform a separation operation. The
[0019]
FIG. 4 shows a conventional example of a triple system. This is an example in which the number of reverse osmosis membrane modules in the second station is smaller than that in the first station, and the number of reverse osmosis membrane modules in the third station is smaller than that in the second station.
[0020]
【Example】
Hereinafter, the present invention will be described with reference to examples, but the present invention is not limited to these examples. In addition, an Example shows the case of the reverse osmosis membrane for seawater desalination.
[0021]
(Example 1)
As shown in FIG. 1, two hollow fiber type reverse osmosis membrane modules made of cellulose triacetate were used in the first series and five hollow fiber type reverse osmosis membrane modules made of cellulose triacetate were used in the second series. Seawater containing boron was treated in a reverse osmosis membrane module arrangement in a continuous system. The operating conditions were as follows. The raw water temperature was 30 ° C., the salt concentration was 3.1%, the boron concentration was 4.5 mg / L, the operating pressure for the first run was 71 kg / cm2 , and the recovery was 62.5%. The resulting concentration of flow and boron permeate, respectively, the first station on the 119m3 / day, 1.7 mg / L, 2 consecutive th 52m3 / day, total at 4.0 mg / L is 171m3 / Day, 2.4 mg / L. The total boron removal was 47%. The performance of the reverse osmosis membrane module used under the standard conditions was a water permeability of 16 m3 / day, a salt removal rate of 99.2%, and a boron removal rate of 50%. The standard conditions here are a supply water temperature of 25 ° C., a salt concentration of 3.5%, a boron concentration of 4.5 mg / L, a supply pressure of 55 kg / cm2 , and a recovery of 30%. Table 1 shows data such as water quality for the first and second stations. The removal rate is defined by the following equation (1). When the solute is salt, the salt removal rate is used. When the solute is salt, the salt removal rate is used. When the solute is boron, the boron removal rate is used. The concentrations of salt and salt were determined from the value of electric conductivity. Further, the concentration of boron was determined by an absorption spectrophotometry.
Removal rate = (1− (concentration of solute in permeate / concentration of solute in feed water)) × 100 (%) (1)
The recovery rate is defined by the following equation (2).
Recovery rate = (permeate flow rate / supply water flow rate) × 100 (%) (2)
The flow rate of the permeated water was measured with an ordinary area flow meter, and the flow rate of the supply water was determined as the sum of the flow rate of the permeated water and the flow rate of the concentrated water.
[0022]
(Comparative Example 1)
A saline solution containing boron was treated using the same reverse osmosis membrane module as in Example 1 except that the arrangement of the reverse osmosis membrane module was as shown in FIG. The first uses five hollow fiber type reverse osmosis membrane modules made of cellulose triacetate, and the second uses four hollow fiber type reverse osmosis membrane modules made of cellulose triacetate. The resulting concentration of flow and boron permeate 1st station is 136m3 / day, 2.1 mg / L, 2 consecutive th 31m3 / day, total at 4.7 mg / L is 168 m3 / day 2.6 mg / L. The total removal rate of boron was 42%, which was lower than that of the example. Table 1 shows data such as water quality for the first and second stations.
[0023]
(Comparative Example 2)
A saline solution containing boron was treated using the same reverse osmosis membrane module as in Example 1 except that the arrangement of the reverse osmosis membrane module was as shown in FIG. Four hollow fiber type reverse osmosis membrane modules made of cellulose triacetate are used in the first series, and four hollow fiber type reverse osmosis membrane modules made of cellulose triacetate are used in the second series. The resulting concentration of flow and boron permeate 1st station is 114m3 / day, 1.9 mg / L, 2 consecutive th 36m3 / day, a total is 150 meters3 / day at 4.7 mg / L 2.6 mg / L. The total removal rate of boron was 42%, which was lower than that of the example. Table 1 shows data such as water quality for the first and second stations.
[0024]
[Table 1]
[0025]
【The invention's effect】
In the reverse osmosis membrane treatment method of the double system in which the concentrated water treated with the reverse osmosis membrane is again treated with the reverse osmosis membrane, the number of the second reverse osmosis membrane modules is calculated from the number of the first reverse osmosis membrane modules. By increasing the number, it is possible to perform a more efficient separation operation, particularly, removal of boron from seawater.
[Brief description of the drawings]
FIG. 1 is an example of a processing method according to the present invention, which is a simple configuration diagram in the case of a dual system in which the first reverse osmosis membrane module is four and the second reverse osmosis membrane module is five. Is shown.
FIG. 2 shows a simple configuration diagram of a dual system in which there are five first reverse osmosis membrane modules and four second reverse osmosis membrane modules in an example of a conventional processing method. Show.
FIG. 3 shows another example of a conventional processing method, in which a first reverse-osmosis membrane module is four and a second reverse-osmosis membrane module is four. The figure is shown.
FIG. 4 shows another example of the conventional processing method in which the first reverse osmosis membrane module is four, the second reverse osmosis membrane module is three, and the third reverse osmosis membrane module is one. 3 shows a simple configuration diagram in the case of a triple system in the case of FIG.
[Explanation of symbols]
1: 1st reverse osmosis membrane module 2: 2nd reverse osmosis membrane module 3: supply water 4: high pressure pump 5: flow control valve 6: pressurized supply water 7: 1st reverse osmosis membrane module 8: Concentrated water of the first reverse osmosis membrane module 9: Permeated water of the second reverse osmosis membrane module 10: Concentrated water of the second reverse osmosis membrane module 11: Third osmosis Permeated water 12 of the membrane module: reverse osmosis membrane module in the third series
| Application Number | Priority Date | Filing Date | Title |
|---|---|---|---|
| JP2003030576AJP4337024B2 (en) | 2003-02-07 | 2003-02-07 | Treatment method of high concentration solution by reverse osmosis membrane |
| Application Number | Priority Date | Filing Date | Title |
|---|---|---|---|
| JP2003030576AJP4337024B2 (en) | 2003-02-07 | 2003-02-07 | Treatment method of high concentration solution by reverse osmosis membrane |
| Publication Number | Publication Date |
|---|---|
| JP2004237228Atrue JP2004237228A (en) | 2004-08-26 |
| JP4337024B2 JP4337024B2 (en) | 2009-09-30 |
| Application Number | Title | Priority Date | Filing Date |
|---|---|---|---|
| JP2003030576AExpired - LifetimeJP4337024B2 (en) | 2003-02-07 | 2003-02-07 | Treatment method of high concentration solution by reverse osmosis membrane |
| Country | Link |
|---|---|
| JP (1) | JP4337024B2 (en) |
| Publication number | Priority date | Publication date | Assignee | Title |
|---|---|---|---|---|
| JP2007229708A (en)* | 2006-02-06 | 2007-09-13 | Univ Nagoya | Filtration device |
| JP2019076827A (en)* | 2017-10-24 | 2019-05-23 | 住友電気工業株式会社 | Water treatment equipment and water treatment method |
| JP2022028429A (en)* | 2020-08-03 | 2022-02-16 | オルガノ株式会社 | Water treatment method and water treatment equipment |
| Publication number | Priority date | Publication date | Assignee | Title |
|---|---|---|---|---|
| JP2007229708A (en)* | 2006-02-06 | 2007-09-13 | Univ Nagoya | Filtration device |
| JP2019076827A (en)* | 2017-10-24 | 2019-05-23 | 住友電気工業株式会社 | Water treatment equipment and water treatment method |
| JP2022028429A (en)* | 2020-08-03 | 2022-02-16 | オルガノ株式会社 | Water treatment method and water treatment equipment |
| Publication number | Publication date |
|---|---|
| JP4337024B2 (en) | 2009-09-30 |
| Publication | Publication Date | Title |
|---|---|---|
| EP2969145B1 (en) | Advancements in osmotically driven membrane systems including multi-stage purification | |
| JP6822689B2 (en) | Liquid purification method | |
| JP5941629B2 (en) | Water purification system and water purification method | |
| US11628403B2 (en) | High water recovery hybrid membrane system for desalination and brine concentration | |
| WO2018084246A1 (en) | Concentration method and concentration device | |
| KR101555781B1 (en) | Desalination system and method | |
| WO2014129399A1 (en) | Multi-stage reverse osmosis membrane device, and operation method therefor | |
| WO2013134710A1 (en) | Methods for osmotic concentration of hyper saline streams | |
| KR102107881B1 (en) | Method for treating water containing low molecular weight organic substance | |
| JP2008100220A (en) | Method for producing freshwater | |
| JP2018001111A (en) | Processing method of desalinating salt water and processing system of desalinating salt water | |
| JPH1110146A (en) | Reverse osmosis membrane separation method | |
| JP4304573B2 (en) | Treatment method of high concentration solution by reverse osmosis membrane | |
| JP4332774B2 (en) | Method and apparatus for processing high concentration solution by reverse osmosis membrane | |
| KR20170069614A (en) | Saltwater desalination system | |
| JP4337024B2 (en) | Treatment method of high concentration solution by reverse osmosis membrane | |
| Pontié et al. | Seawater nanofiltration (NF): fiction or reality? | |
| JP3353810B2 (en) | Reverse osmosis seawater desalination system | |
| JP2014140794A (en) | Fresh water generator and fresh water generation metho | |
| JP2010142799A (en) | Device for converting seawater into drinking water by hnad control | |
| KR20170097967A (en) | Method for concentrate of saline water using a reverse osmosis | |
| JP2000262867A (en) | Reverse osmosis membrane separator and method for separating water | |
| JP2006167533A (en) | Seawater concentration method | |
| JP2003117553A (en) | Method and apparatus for producing fresh water | |
| JP2001347142A (en) | Reverse osmosis separation method |
| Date | Code | Title | Description |
|---|---|---|---|
| A621 | Written request for application examination | Free format text:JAPANESE INTERMEDIATE CODE: A621 Effective date:20060206 | |
| A977 | Report on retrieval | Free format text:JAPANESE INTERMEDIATE CODE: A971007 Effective date:20080111 | |
| A131 | Notification of reasons for refusal | Free format text:JAPANESE INTERMEDIATE CODE: A131 Effective date:20080117 | |
| A521 | Request for written amendment filed | Free format text:JAPANESE INTERMEDIATE CODE: A523 Effective date:20080218 | |
| TRDD | Decision of grant or rejection written | ||
| A01 | Written decision to grant a patent or to grant a registration (utility model) | Free format text:JAPANESE INTERMEDIATE CODE: A01 Effective date:20090604 | |
| A01 | Written decision to grant a patent or to grant a registration (utility model) | Free format text:JAPANESE INTERMEDIATE CODE: A01 | |
| A61 | First payment of annual fees (during grant procedure) | Free format text:JAPANESE INTERMEDIATE CODE: A61 Effective date:20090617 | |
| R151 | Written notification of patent or utility model registration | Ref document number:4337024 Country of ref document:JP Free format text:JAPANESE INTERMEDIATE CODE: R151 | |
| FPAY | Renewal fee payment (event date is renewal date of database) | Free format text:PAYMENT UNTIL: 20120710 Year of fee payment:3 | |
| FPAY | Renewal fee payment (event date is renewal date of database) | Free format text:PAYMENT UNTIL: 20130710 Year of fee payment:4 | |
| EXPY | Cancellation because of completion of term |