

















































【0001】
【発明の属する技術分野】
本発明は、発光体の励起光に可視光を用いた平面表示素子及びその駆動方法に関し、特に、素子材料の選択に裕度を持たせる技術に関する。
【0002】
【従来の技術】
従来、薄型の平面表示装置として種々のものが提案されており、代表的なものには、例えば液晶の電気光学効果を利用した液晶表示素子、プラズマ表示装置、フィールドエミッションディスプレイ、有機エレクトロルミネッセンス、無機エレクトロルミネッセンス等がある。
【0003】
(1)液晶表示素子(LCD)は、一対の導電性透明膜を形成した基板間に、基板と平行に、且つ両基板間で90度ねじれた状態にするように配向したネマテック液晶を入れて封止し、これを直交した偏光板で挟んだ構造を有する。この液晶表示素子による表示は、導電性透明膜に電圧を印加することで液晶分子の長軸方向が基板に対して垂直に配向され、バックライトからの光の透過率が変化することを利用して行われる。良好な動画像対応性を持たせるには、TFT(薄型トランジスタ)を用いたアクティブマトリクス液晶パネルが使用される。
【0004】
(2)プラズマ表示装置(PDP)は、ネオン、ヘリウム、キセノン等の希ガスを封入した二枚のガラス板の間に、放電電極に相当する規則的に配列した直交方向の電極を多数配置し、それぞれの対向電極の交点部を単位画素とした構造を有する。このプラズマ表示装置による画像表示は、画像情報に基づき、ぞれぞれの交点部を特定する対向電極に、選択的に電圧を印加することにより、交点部を放電発光させ、発生する紫外線により蛍光体を励起発光させて行なわれる。
【0005】
(3)フィールドエミッションディスプレイ(FED)は、微小間隔を介して一対のパネルを対向配置し、これらパネルの周囲を封止する平板状の表示管としての構造を有する。表示面側のパネルの内側には、蛍光膜が設けられ、背面パネル上には個々の単位発光領域毎に電界放出陰極が配列される。代表的な電界放出陰極は、微小サイズのエミッタティブと称される錐状突起状の電界放出型マイクロカソードを有している。このFEDによる表示は、エミッタティブを用いて電子を取り出し、これを蛍光体に加速照射することで、蛍光体を励起させて行なわれる。
【0006】
(4)有機エレクトロルミネッセンス(有機EL)は、発光材料として用いる有機材料を選択することにより容易に可視領域を全てカバーすることができ、近年、高輝度・高効率な材料が数多く開発され、盛んに研究が行われている。素子寿命も連続動作で1万時間を超え、カラーディスプレイとして実用化されてきている。
【0007】
(5)無機エレクトロルミネッセンス(無機EL)は、電界による衝突励起を利用するもので、小型又は大型軽量のフラットディスプレイとして盛んに研究されている。例えば、黄橙色発光のマンガン添加硫化亜鉛からなる蛍光体薄膜を用いたモノクロ薄膜ELディスプレイが既に実用化されている。
【0008】
しかしながら、このような従来の平面表示素子にあっては、以下に述べる種々の問題があった。
(1)LCDでは、バックライトからの光を、偏光板、透明電極、カラーフィルタの多数層に透過させるため、光利用効率が低下する問題があった。また、高品位型には高コストのTFTが必要とされ、且つ2枚の基板間に液晶を封入し、配向させなければならないことも相まって、大面積化が困難となる欠点があった。更に、配向した液晶分子に光を透過させるため、視野角度が狭くなる欠点があり、特に、中間色の視野角依存性を完全に補正することは困難であった。
【0009】
(2)PDPでは、画素毎にプラズマを発生させるための隔壁形成により製造コストが嵩むと共に、大重量となる欠点があった。また、放電電極に相当する多数の電極を、単位画素毎に規則的に配列しなければならない。このため、高精細になると発光(放電)効率が低下し、また、真空紫外線励起による蛍光体の発光効率が低いために、高電力効率で高精細、高輝度の画像が得難いといった欠点があった。更に、駆動電圧が高く、駆動ICが高価といった欠点もあった。
【0010】
(3)FEDでは、放電を高効率且つ安定化させるために、パネル内を超高真空にする必要があり、プラズマ表示装置と同様に製造コストが高くなる欠点がある。また、電界放電した電子を加速して蛍光体へ照射するため、高電圧が必要となる不利もあった。
【0011】
(4)有機ELでは、アクティブマトリックスで10インチ以上の大面積表示画面のものを製造するには、低温ポリシリコンTFTが必要であり、その分、高コストでしかも表示均一性が芳しくなかった。
【0012】
(5)無機ELでは、発光効率が悪く、高コストであり、高電圧の駆動ICが必要となり、性能不足である。また、硫化物蛍光体薄膜を用いた薄膜ELディスプレイは、信頼性、耐環境性に優れているが、現在のところ、赤色、緑色、青色の3原色に発光するEL用蛍光体の特性が充分でないため、フルカラー化には適していない。
【0013】
そこで、上記既存のディスプレイ素子の欠点を解消するため、例えば特許文献1に記載のようなPL−MEMS(Photo Luminescence−Micro Electro Mechanical System)方式の平面表示装置が提案され開発されている。この平面表示装置は、電気機械動作により可動薄膜を変位させることで光源からの光を光変調する光変調部と、この光変調部による変調光に励起される蛍光体とを対向配置した構成のものである。
【特許文献1】
特開平11−258558号公報
【0014】
また、この種の平面表示素子としては、例えば、下記の文献に記載されている導光板方式のものも知られている。
【非特許文献1】
Large-Area Micromechanical Display IDRC 1997, p230〜p233
【特許文献2】
米国特許第5,771,321号明細書
【特許文献3】
特表2000−505911号公報
【0015】
このような平面表示素子は、電気機械動作として電圧印加による圧電効果を利用したもの、電流印加による電磁気力を利用したもの等の種々の方式があるが、特に静電気を利用したものは、光変調のための可動薄膜の変位量が1μm程度であれば、低電圧・低消費電力で数μs以下の高速駆動が可能となる。
【0016】
次に、上記の平面表示素子について、特許文献1に記載の構成を一例として図50を参照しながら説明する。
平面表示素子900は、光源901からの光が導入される導光板903と、導光板903上に設けた光変調部905と、光変調部905に対向配置されこの光変調部905からの出射光に励起される蛍光体907a,907b,907cとを備え、また、光変調部905は、導光板903上に設けた透明な信号電極909と、この信号電極909に空隙911を挟んで対向する透明な可動薄膜913と、可動薄膜913に設けられ信号電極909に対向する走査電極915とを備えている。上記光源901としては、紫外線を発光する低圧水銀ランプ等が用いられる。
【0017】
この平面表示素子900では、信号電極903と走査電極915との間に駆動電圧が印加されると、電極間に発生する静電気力によって可動薄膜913が導光板903側に吸引されて撓む。この静電気力により可動薄膜913が撓む動作を、電気機械動作とよぶ。これにより、導光板903により全反射導光される光源901からの光が可動薄膜913によって取り出され、光路前方の蛍光体907a,907b,907cに照射される。そして、光の照射された蛍光体907a,907b,907cは、励起発光して所定の色を発光する。以上の動作により、所望のパターンの出力光が可動薄膜913の選択的な電気機械動作によって得られるようになる。
【0018】
【発明が解決しようとする課題】
しかしながら、このような平面表示素子にあっては、蛍光体を効率良く励起発光させるといった事情から、エネルギーの高いUV光を出射する光源を用いているので、平面表示素子の各構成部材に使用する材料としては、UV光耐性に優れるものに制限されるといった問題があった。このため、各構成部材の材料選定が大きく制限され、表面表示素子の設計自由度の向上や製造工程の簡略化が図りにくくなるといった不都合を生じている。
【0019】
本発明は、このような事情に鑑みてなされたもので、可視光域の光を出射する光源を用いて平面表示素子を構成することにより、UV光耐性のない材料でも構成部材の材料として使用可能にした平面表示素子及びその駆動方法を提供し、以て、平面表示素子の設計自由度を向上させ、製造工程の簡略化を図ることを目的としている。
【0020】
【課題を解決するための手段】
上記目的達成のため本発明に係る請求項1記載の表面表示素子は、可視光域の波長成分を含む光を出射する光源と、前記光源からの光の透過率を電気機械動作により制御する2次元マトリクス状に配列された光変調素子と、前記光変調素子を含む光路前方に表示画素に対応して設けられ少なくとも波長変換機能を有するフィルタを含む発色フィルタとを具備することを特徴とする。
【0021】
この平面表示素子では、可視光域の波長成分の光を使用して表示を行うため、平面表示素子を構成する各部材の材料を、特にUV耐性に優れた材料とする必要がなくなり、平面表示素子の設計自由度を向上させ、製造工程の簡略化を図ることができる。
【0022】
請求項2記載の平面表示素子は、前記発色フィルタが、これに入射する光を吸収すると共に、前記入射する光の波長とは異なる波長の可視光を光路前方に出射する色変換フィルタであることを特徴とする。
【0023】
この平面表示素子では、色変換フィルタが光源からの光を他の波長の光に変換して光路前方に出射することで、光源光の波長以外の波長成分の光を表示できるようになる。
【0024】
請求項3記載の平面表示素子は、前記色変換フィルタが、少なくとも、前記入射する光を吸収して緑色光を励起発光する蛍光材料を有することを特徴とする。
【0025】
この平面表示素子では、例えば光源光を青色とした場合に、青色から緑色に変換して発光表示することができる。
【0026】
請求項4記載の平面表示素子は、前記色変換フィルタが、少なくとも、前記入射する光を吸収して赤色光を励起発光する蛍光材料を有することを特徴とする。
【0027】
この平面表示素子では、例えば光源光を青色とした場合に、青色から赤色に変換して発光表示することができる。
【0028】
請求項5記載の平面表示素子は、前記色変換フィルタが、少なくとも、前記入射する光を吸収して青色光を励起発光する蛍光材料を有することを特徴とする。
【0029】
この平面表示素子では、光源光を青色に変換して発光表示することができる。また、光源光が青色である場合には、より色純度の高い青色に変換することができる。
【0030】
請求項6記載の平面表示素子は、前記発色フィルタが、これに入射する光のうち、特定の色成分のみを透過させて光路前方に出射する色フィルタであることを特徴とする。
【0031】
この平面表示素子では、色フィルタが特定の色成分のみ透過させることで、特定の色に発色させることができる。
【0032】
請求項7記載の平面表示素子は、前記色フィルタが、少なくとも、前記入射される光に対して緑色成分のみを透過させることを特徴とする。
【0033】
この平面表示素子では、光源光のうち緑色成分のみが透過され、緑色の表示を行うことができる。
【0034】
請求項8記載の平面表示素子は、前記色フィルタが、少なくとも、前記入射される光に対して赤色成分のみを透過させることを特徴とする。
【0035】
この平面表示素子では、光源光のうち赤成分のみが透過され、赤色の表示を行うことができる。
【0036】
請求項9記載の平面表示素子は、前記色フィルタが、少なくとも、前記入射される光に対して青色成分のみを透過させることを特徴とする。
【0037】
この平面表示素子では、光源光のうち青色成分のみが透過され、青色の表示を行うことができる。
【0038】
請求項10記載の平面表示素子は、前記色フィルタが、光拡散機能を有することを特徴とする。
【0039】
この平面表示素子では、特に光源光が青色である場合に、光源光の方向性をなくすことができ、方向依存性のない均一な表示を行うことができる。
【0040】
請求項11記載の平面表示素子は、前記発色フィルタが、前記光変調素子から離間して配置されたことを特徴とする。
【0041】
この平面表示素子では、発色フィルタが光変調素子から離間して配置されることで、それぞれを独立して製造することができ、製造工程の簡略化が図られる。
【0042】
請求項12記載の平面表示素子は、前記色変換フィルタと前記光変調素子との間に、前記光源からの入射光の少なくとも一部を透過し、前記色変換フィルタの励起発光光を反射する反射膜を備えたことを特徴とする。
【0043】
この平面表示素子では、光源光が反射膜を透過して色変換フィルタを励起発光させ、この励起発光した光が反射膜により光路前方に向けられる。これにより、光利用効率が向上して発光輝度を増大できる。
【0044】
請求項13記載の平面表示素子は、前記発色フィルタの光路前方に、外部光を減衰させる外部光減衰フィルタを備えたことを特徴とする。
【0045】
この平面表示素子では、外部光が平面表示素子に照射された場合でも、表示光が観察しやくすくなり、画像表示品質が向上する。
【0046】
請求項14記載の平面表示素子は、前記外部光減衰フィルタが、NDフィルタ又は偏光フィルタであることを特徴とする。
【0047】
この平面表示素子では、NDフィルタを用いることで色変化を伴うことなく外部光の写り込みが低減され、また、偏光フィルタを用いることで、特定の偏光方向の光が吸収されて写り込みが防止される。
【0048】
請求項15記載の平面表示素子は、前記光源から出射する光が、少なくとも400nm〜520nmの波長域内に主波長を有する可視光であることを特徴とする。
【0049】
この平面表示素子では、400nm〜520nmの可視光域の光を用いることで、特にUV光を用いる場合と比較すると、平面表示素子の各構成部材に耐UV特性を持たせる必要がなくなり、材料選定の自由度が向上される。
【0050】
請求項16記載の平面表示素子は、前記光源から出射する光が、少なくとも青色光を含むことを特徴とする。
【0051】
この平面表示素子では、可視光の中でもエネルギの高い青色光を用いることで、他の色、例えば緑色や赤色への変換が高効率で行える。
【0052】
請求項17記載の平面表示素子は、前記光源が、蛍光ランプ、LED、レーザ、有機EL、薄膜無機EL、FEDのいずれかであることを特徴とする。
【0053】
この平面表示素子では、蛍光ランプ、LED、レーザ、有機EL、薄膜無機EL、FEDのいずれかを用いて光源光を得ることができる。
【0054】
請求項18記載の平面表示素子は、前記光変調素子が、静電気を利用して可動薄膜を電気機械動作させることで光透過率を制御することを特徴とする。
【0055】
この平面表示素子では、静電気力を利用して可動薄膜を動作させる光変調素子を用いるため、低電圧・低消費電力で且つ高速駆動を容易に実現することができる。
【0056】
請求項19記載の平面表示素子は、前記発色フィルタが、前記可動薄膜に接して、又は可動薄膜内に設けられていることを特徴とする。
【0057】
この平面表示素子では、発色フィルタが可動薄膜に接するか、可動薄膜内に設けることで、平面表示素子の構成を簡略化でき、一層の薄型化が図られる。
【0058】
請求項20記載の平面表示素子は、導入した入射光の少なくとも一部が層の界面で全反射する一方、光路前方には前記入射光が実質的に出射しない特性を有する全反射光学部材と、前記全反射光学部材の全反射面側に配設すると共に前記全反射面から入射光を選択的に結合させて取り出す光結合要素とを備え、前記光変調素子が、前記可動薄膜の変位により前記光結合要素を移動させて、近接光の透過と全反射による遮光とによって光透過率を制御することを特徴とする。
【0059】
この平面表示素子では、導入された入射光が全反射光学部材に照射されて、全反射光学部材内に導入されると、その導入された入射光の少なくとも一部が光変調素子の構成する層の界面で全反射する一方、入射光導入側の反対側からは入射光が実質的に出射されなくなる。この全反射光学部材の全反射面に入射光を結合させて取り出す光結合要素を選択的に近接配置することにより、近接配置された光結合要素に全反射光が取り出されて入射光光路前方に出射される。
【0060】
請求項21記載の平面表示素子は、前記光源が平面光源であり、全反射光学部材へ平面状の光を入射することを特徴とする。
【0061】
この平面表示素子では、面状の入射光を高効率で光変調素子に導入でき、光結合要素の近接配置状態に応じた選択的な光変調が行える。
【0062】
請求項22記載の平面表示素子は、前記全反射光学部材が、該全反射光学部材内に光路を変化させる光路変換膜が配置され、前記全反射光学部材に導入された面状の入射光の少なくとも一部が光路変換膜に導入され、この導入された入射光の実質的全てが前記全反射光学部材の構成する層の界面で全反射により反射されることを特徴とする。
【0063】
この平面表示素子では、光変調素子内に入射光の光路を変化させる光路変換膜が配置され、この光路変換膜へ面状に入射光を導入する。導入された面状の入射光は、光路変換膜によって入射光の光路が特定の方向或いは任意の方向に変化させられ、その実質的全てが光変調素子の構成する層の界面で全反射により反射される。このため、入射光の形状、導入位置、並びに光源の種類に制限を受けることなく、面状の入射光を面状のまま直接的に高効率で導入でき、所望の界面で面状の全反射光を高効率で得ることができる。
【0064】
請求項23記載の平面表示素子は、前記全反射光学部材が、該全反射光学部材内に光路を選択する光路選択膜が配置され、前記全反射光学部材に導入された面状の入射光の少なくとも一部が光路選択膜に導入され、この導入された入射光の実質的全てが前記全反射光学部材の構成する層の界面で全反射により反射されることを特徴とする。
【0065】
この平面表示素子では、光変調素子内に入射光の光路を選択する光路選択膜が配置され、この光路選択膜へ面状に入射光を導入する。導入された面状の入射光は、光路選択膜によって特定の方向成分の光のみが取り出され、他の方向成分の光はその実質的全てが光路選択膜の界面で反射される。これにより、光変調素子に導入された光の実質的全てが光変調素子の構成する層の界面で全反射により反射される。このため、入射光の形状、導入位置、並びに光源の種類に制限を受けることなく、面状の入射光を面状のまま直接的に高効率で導入でき、所望の界面で面状の全反射光を高効率で得ることができる。
【0066】
請求項24記載の平面表示素子は、前記全反射光学部材が、該全反射光学部材の厚さ方向の入射光導入側から、光路を変化させる光路変換膜と、光路を選択する光路選択膜とがこの順で配置され、前記光路変換膜へ面状に入射光を導入した際に、導入された入射光の少なくとも一部が光路選択膜に導入され、この導入された入射光の実質的全てが前記光変調素子の構成する層の界面で全反射により反射されることを特徴とする。
【0067】
この平面表示素子では、光変調素子の厚さ方向の入射光導入側から、光路を変化させる光路変換膜と、光路を選択する光路選択膜とがこの順で配置され、光路変換膜へ面状に入射光を導入する。導入された入射光は、光路変換膜によって入射光の光路が特定の方向或いは任意の方向に変化させられ、さらに光路選択膜によって特定の方向の入射光のみを透過させる。これにより、光変調素子に導入された光の実質的全てが光変調素子の構成する層の界面で全反射により反射される。このため、入射光の形状、導入位置、並びに光源の種類に制限を受けることなく、面状の入射光を面状のまま直接的に高効率で導入でき、所望の界面で面状の全反射光を高効率で得ることができる。
【0068】
請求項25記載の平面表示素子は、前記光路変換膜と前記光路選択膜とが、光学的に接触していることを特徴とする。
【0069】
この平面表示素子では、光路変換膜と、光路選択膜とが光学的に接触していることにより、双方の光のカップリング性を良好にできると共に、光路変換膜が方向性を有する場合に、入射光を光路変換膜から入射角度成分を保持させたまま光路選択膜に導入することができる。
【0070】
請求項26記載の平面表示素子は、前記光路変換膜と前記光路選択膜とが、屈折率が1より大きい媒質を介して光学的に接触していることを特徴とする。
【0071】
この平面表示素子では、光路変換膜と、光路選択膜とが屈折率が1より大きい媒質を介して光学的に接触することにより、この媒質との界面で全反射を生じさせることなく、光路変換膜から光路選択膜へ入射光を導入できる。
【0072】
請求項27記載の平面表示素子は、全反射光学部材の一部を構成する透明媒質を備え、該透明媒質の光路前方に前記光路変換膜を配置したことを特徴とする。
【0073】
この平面表示素子では、入射光が透明媒質を透過した後に光路変換膜に導入されて、特定の方向の入射光のみ透過される。
【0074】
請求項28記載の平面表示素子は、全反射光学部材の一部を構成する透明媒質を備え、該透明媒質の光路前方に前記光路選択膜を配置したことを特徴とする。
【0075】
この平面表示素子では、入射光が透明媒質を透過した後に光路選択膜に導入されて、特定の方向の入射光のみ透過される。
【0076】
請求項29記載の平面表示素子は、全反射光学部材の一部を構成する透明媒質を備え、該透明媒質の光路前方に前記光路変換膜と前記光路選択膜をこの順で配置したことを特徴とする。
【0077】
この平面表示素子では、入射光が透明媒質を透過した後に光路変換膜に導入され、入射光の光路が特定の方向或いは任意の方向に変化させられ、さらに、光路選択膜に導入され、特定の方向の入射光のみ透過される。
【0078】
請求項30記載の平面表示素子は、前記光路変換膜が、該光路変換膜の平均屈折率をnt、光路前方の全反射界面の前方側媒質の屈折率をnw、光路変換膜の媒質内を進む光の角度をθtとしたときに、少なくとも、sinθt>nw/ntの条件を満たす角度θtの光を含んで前方に出力することを特徴とする。
【0079】
この平面表示素子では、少なくとも、sinθt>nw/ntの条件を満たす角度θtの光が光路変換膜透過して、光路を変化させつつ前方に出力される。
【0080】
請求項31記載の平面表示素子は、前記光路変換膜が、屈折により光路を変化させるものであることを特徴とする。
【0081】
この平面表示素子では、光路変換膜が、入射光の光路を屈折により変化させることにより、入射光の強度を実質的に低下させることなく光変調素子へ導入できる。
【0082】
請求項32記載の平面表示素子は、前記光路変換膜が、レンズアレイ、プリズムアレイ、異なる屈折率が分布した異種屈折率分布体のいずれかであることを特徴とする。
【0083】
この平面表示素子では、量産に適したレンズアレイ、プリズムアレイ、異種屈折率分布体による光学要素を適宜選定することにより、コストダウンを図りつつ良好な性能を発揮することができる。
【0084】
請求項33記載の平面表示素子は、前記光路変換膜が、回折により光路を変化させるものであることを特徴とする。
【0085】
この平面表示素子では、光路変換膜が、入射光の光路を例えば透過型回折格子による回折によって変化させることにより、高精度な入射角度で入射光を光変調素子へ導入できる。
【0086】
請求項34記載の平面表示素子は、前記光路変換膜が、体積ホログラム、位相変調型回折格子、振幅変調型回折格子のいずれかであることを特徴とする。
【0087】
この平面表示素子では、例えばフォトポリマー法や射出成形法によって大量転写生産が可能となり、平面表示素子自体のコストダウンが図れる。
【0088】
請求項35記載の平面表示素子は、前記光路変換膜が、光拡散により光路を変化させるものであることを特徴とする。
【0089】
この平面表示素子では、光路変換膜が、光拡散により光路を変化させることで、入射光を任意の方向から光変調素子へ入射させることができる。
【0090】
請求項36記載の平面表示素子は、前記光路変換膜が、多孔質体、異種屈折率分布体又は分散体、表面に凹凸を有する拡散体又は散乱体のいずれかであることを特徴とする。
【0091】
この平面表示素子では、量産に適した多孔質体、異種屈折率分布体又は分散体、拡散体による光学要素を適宜選定することにより、コストダウンを図りつつ良好な性能を発揮することができる。
【0092】
請求項37記載の平面表示素子は、前記光路変換膜が、光反射により光路を変化させるものであることを特徴とする。
【0093】
この平面表示素子では、光路変換膜が、光反射によって光路を変化させることで、入射光を任意の方向から光変調素子へ入射させることができる。
【0094】
請求項38記載の平面表示素子は、前記光路選択膜が、該光路選択膜から出射される透過光の実質的全てが、前記光路選択膜より入射光光路前方の層の界面又は前記光路選択膜の入射光光路前方の界面における全反射臨界角より大きい角度成分を有し、その他の角度成分の入射光は選択的に反射されて透過されない性質を有することを特徴とする。
【0095】
この平面表示素子では、光路選択膜は、この光学要素から出射される透過光の実質的全てが、光路選択膜より入射光光路前方の層の界面又は光路選択膜の入射光光路前方の界面における全反射臨界角より大きい角度成分を有し、その他の角度成分の入射光は、光路選択膜により選択的に反射される。従って、光路選択膜からは、入射光光路前方の界面において全反射する入射角成分の入射光だけが選択的に透過して、全反射されない入射角成分の入射光は透過されないことになる。
【0096】
請求項39記載の平面表示素子は、前記光路選択膜が、該光路選択膜の平均屈折率をns、光路前方の全反射界面の前方側媒質の屈折率をnw、光路選択膜の媒質内を進む光の角度をθsとしたときに、sinθs>nw/nsの条件を満たす角度θsの光を実質的全て透過させることを特徴とする。
【0097】
この平面表示素子では、sinθs>nw/nsの条件を満たす角度θsの光が光路選択膜を実質的全て透過して、他の光は反射されることにより、特定の光成分のみ選択的に透過される。
【0098】
請求項40記載の平面表示素子は、前記光路選択膜が、入射光の波長域に対して選択的に反射する機能を有し、前記光路選択膜への入射光の入射角が該光路選択膜の面に対して浅い角度となるに従って、選択的に反射される入射光の波長が短波長側にシフトすることを特徴とする。
【0099】
この平面表示素子では、光路選択膜が、入射光の波長域に対して選択的に反射する機能を有し、この光学要素への入射光の入射角が該光学要素の面に対して浅い角度となるに従って、選択的に反射される入射光の波長が短波長側にシフトする。この性質を利用して、所定の入射角成分の入射光だけが透過するように光路選択膜を設計し、全反射の生じる入射角度成分の入射光だけを選択的に抽出することを可能にできる。
【0100】
請求項41記載の平面表示素子は、前記光路選択膜への入射光の入射角が、入射光光路前方の全反射界面への入射角を全反射臨界角以下にするときに、前記光路選択膜が前記入射光の実質的全てを選択的に反射することを特徴とする。
【0101】
この平面表示素子では、光路選択膜への入射光の入射角が、この入射角と各層の屈折条件により変化する入射光光路前方の全反射界面への入射角をこの全反射界面における全反射臨界角以下にするときに、光路選択膜が入射光の実質的全てを選択的に反射する。これにより、全反射界面において全反射されない角度成分の入射光が選択的に反射されて光路前方に透過されなくなる。
【0102】
請求項42記載の平面表示素子は、前記光路選択膜が、誘電体多層膜を含む光干渉フィルタであることを特徴とする。
【0103】
この平面表示素子では、誘電体多層膜を含む光干渉フィルタを用いることにより、大面積かつ簡単な構成で任意の波長選択反射膜が形成でき、その反射波長の入射角依存性を利用して容易に光路選択膜を形成することができる。
【0104】
請求項43記載の平面表示素子は、前記光路選択膜が、コレステリック液晶、体積ホログラムを含むブラッグ反射フィルタであることを特徴とする。
【0105】
この平面表示素子では、コレステリック液晶、体積ホログラムを含むブラッグ反射フィルタを用いることにより、低コストで光路選択膜を形成できる。
【0106】
請求項44記載の平面表示素子は、前記全反射された入射光の実質的全てが前記全反射光学部材の入射光導入側に戻ることを特徴とする。
【0107】
この平面表示素子では、全反射された入射光の実質的全てが光変調素子の入射光導入側に戻ることにより、全反射面を有する媒質内において、導光、蓄積、閉じ込め等が行われることが実質的にない。
【0108】
請求項45記載の平面表示素子は、前記全反射光学部材の前記光変調素子とは反対側の表面に有機EL光源を一体に形成したことを特徴とする。
【0109】
この平面表示素子では、有機EL光源による光が直接的に光変調素子に入射され、平面表示素子の構成を簡略化できる。
【0110】
請求項46記載の平面表示素子は、前記光源が点又は線光源であり、全反射光学部材の一方の端部から線状の光を導入して全反射導光させることを特徴とする。
【0111】
この平面表示素子では、全反射導光により入射光を導入することで、平面表示素子の薄型化が図られる。
【0112】
請求項47記載の平面表示素子は、前記全反射光学部材を構成する層が、前記入射光の波長域に対して吸収が実質的にないことを特徴とする。
【0113】
この平面表示素子では、全反射光学部材を構成する層が入射光の波長域に対して実質的に吸収されないため、入射光及び全反射された入射光の損失を抑えて高効率化を図ることができる。
【0114】
請求項48記載の平面表示素子は、前記光変調素子が、前記可動薄膜の変位により光路開口面積を変化させて光透過率を制御するものであることを特徴とする。
【0115】
この平面表示素子では、可動薄膜の変位により光路開口面積を変化させることで、容易に光透過率を制御することができる。
【0116】
請求項49記載の平面表示素子は、前記光変調素子が、前記可動薄膜の変位により、前記可動薄膜に設けた干渉膜と、固定側に設けた干渉膜との間隔を変化させて、光透過率を制御するものであることを特徴とする。
【0117】
この平面表示素子では、干渉膜間でファブリペロー干渉による光変調が行われ、特定波長の光のみが選択的に透過・反射される。
【0118】
請求項50記載の平面表示素子の駆動方法は、請求項1〜請求項49のいずれか1項記載の平面表示素子を駆動する平面表示素子の駆動方法であって、2次元マトリクス状に配列された光変調素子に対し、行方向に沿って複数配設された走査信号電極と、該走査信号電極に直交して複数配設された画像信号電極とが具備され、走査された走査信号電極に接続された光変調素子へ、前記画像信号電極から信号電圧を直接印加する単純マトリクス駆動方式により表示のための駆動を行うことを特徴とする。
【0119】
この平面表示素子の駆動方法では、平面表示素子が単純マトリクス駆動により表示駆動され、低コストな簡単な構成で画像表示が行える。
【0120】
請求項51記載の平面表示素子の駆動方法は、請求項1〜請求項49のいずれか1項記載の平面表示素子を駆動する平面表示素子の駆動方法であって、2次元マトリクス状に配列された光変調素子に対し、行方向に沿って複数配設された走査信号電極と、該走査信号電極に直交して複数配設された画像信号電極と、走査信号共通電極とが具備され、走査された走査信号電極に接続された光変調素子に対し、アクティブ素子を介して画像信号電極から信号電圧を印加するアクティブマトリクス駆動方式により表示のための駆動を行うことを特徴とする。
【0121】
この平面表示素子の駆動方法では、平面表示素子がアクティブマトリクス駆動により表示駆動され、高コントラストで高速応答可能な表示が行える。
【0122】
請求項52記載の平面表示素子の駆動方法は、前記アクティブ素子として、半導体スイッチを用いることを特徴とする。
【0123】
この平面表示素子の駆動方法では、半導体スイッチにより各光変調素子をアクティブ駆動することができる。
【0124】
請求項53記載の平面表示素子の駆動方法は、前記アクティブ素子として、静電気力によって可動薄膜を変位させる機械的導電スイッチを用いることを特徴とする。
【0125】
この平面表示素子の駆動方法では、機械的導電スイッチを用いてスイッチング動作させることで、半導体形成独自の成膜や不純物ドーピング工程が不要となり、パターンニング工程が少なくなると共に、設計条件が緩やかになり、スループットや歩留りが向上し、低コストでの大面積化が可能となる。また、高精細・大面積化においても高速応答が期待できる。
【0126】
【発明の実施の形態】
以下、本発明に係る平面表示素子及びその駆動方法の実施の形態について、図面を参照しながら詳細に説明する。
まず、本発明に係る平面表示素子の原理を説明する。
図1に本発明に係る平面表示素子1の概略的な基本構成を示した。この平面表示素子1は、主に、青色を含む可視光である励起光が導入される透明基板2と、透明基板2上に形成した光変調素子3と、支柱4を介して透明基板2と平行に配置されると共に光変調素子3に対向して発色フィルタとしての、青色フィルタ5、緑色変換フィルタ6,赤色変換フィルタ7が配置された透明な前面板8とを備えて構成される。なお、各フィルタ5,6,7同士の間には、遮光性を有するブラックマトリクス9がそれぞれ形成されている。この場合のブラックマトリクス9は、カーボン分散樹脂、クロム等の金属で形成できる。
【0127】
青色フィルタ5は、青色に発色させるフィルタであり、励起光に対して青色を含む色に発光する材料或いは光拡散機能を有する材料からなる。また、緑色変換フィルタ6は、青色から緑色に変換するフィルタであり、励起光に対して緑を含む色に発光する材料或いは緑色を透過させる材料からなる。また、赤色変換フィルタ7は、青色から赤色に変換するフィルタであり、励起光に対して赤を含む色に発光する材料或いは赤色を透過させる材料からなる。これら各材料についての詳細は後述することにする。この平面表示素子1は、上記構成によって赤R、緑G、青Bの三色を任意のパターンで発光できるようになっている。なお、単色でのみ表示させる場合には、青色の拡散光のみ出射する構成としたり、緑色変換フィルタ6や赤色変換フィルタ7等の単色の色変換フィルタのみ用いる構成とする。
【0128】
上記構成によれば、青色を含む励起光が透明基板に2に導入され、光変調素子3が光透過状態になったとき、透明基板2からの励起光が青色フィルタ5、緑色変換フィルタ6、赤色変換フィルタ7へ選択的に照射される。そして、青色フィルタ5では、入射された青色光を拡散させて光路前方に出射する。緑色変換フィルタ6では、入射された青色光を受けて緑色に励起発光して光路前方に緑色光を出射する。赤色変換フィルタ7では、入射された青色光を受けて赤色に励起発光して光路前方に赤色光を出射する。このように、光変調素子3を表示画像に合わせてオンオフ変調することことで、任意のパターンで青色光、緑色光、赤色光を出射させ、所望のカラー画像を表示させることができる。
【0129】
上記緑色変換フィルタ6、赤色変換フィルタ7は、短波長の光(例えば青色光)を吸収して長波長の光(例えば緑色や赤色)を放出する蛍光材料を有している。緑色変換フィルタ6の蛍光物質(色素)の具体的材料としては、例えば、2,3,5,6−1H、4H−テトラヒドロ−8−トリフルオロメチルキノリジノ(9,9s1−gh)クマリン、3−(2’ベンゾイミダゾイル)−7−N,N−ジエチルアミノクマリン等のクマリン色素、他クマリン色素系染料であるベーシックイエロー5I等を用いることが可能である。
【0130】
また、赤色変換フィルタ7の蛍光物質(色素)の具体的な材料としては、例えば、4−ジシアノメチレン−2−メチル−6−(P−ジメチルアミノスチルリン)−4H−ビラン等のシアニン系色素、1−エチル−2−(4−(p−ジメチルアミノフェニル)−1,3−ブタジエニエル)−ビリジウム−パーコラレイト等のビリジン系色素、ローダミンB、ローダミン6G等のキサンチン系色素、オキサジン系色素等を用いることが可能である。
【0131】
青色フィルタ5は、青色を透過させる機能を有する色フィルタであって、本実施形態では、励起光に青色の光を用いているので、光の指向性を無くすために拡散機能を持たせている。具体的には、透明基板の表面に凹凸を設けた構成にしたり、例えばシリカ、チタニア、ガラス、有機微粒子やタルク等の添加物を基材に共存させることで形成している。また、この青色フィルタ5には、例えば励起光として青色よりも短波長の紫色から近紫外の光を用いる場合には、次のような蛍光物質(色素)が利用できる。例えば1,4−ビス(2−メチルスチリン)ベンゼン、トランス−4,4’−ジフェニルスチルベン等のスチルベン系色素、7−ヒドロキシ−4−メチルクマリン等のクマリン系色素等を用いることが可能である。
【0132】
また、これらの蛍光物質を塗布させる基材としては、例えば、ガラス板、樹脂板、樹脂膜等が可能である。樹脂板や樹脂膜に使用する樹脂としては、例えばポリメチルメタクリレート、ポリアクリレート、ポリカーボネート、ポリビニルアルコール、ポリビニルビロリドン、ヒドロキシエチルセルロース、カルボキシメチルセルロース等の透明樹脂(高分子)等を用いることが可能である。
【0133】
さらに、本発明における色変換フィルタに含有される蛍光物質は、1種類であってもよいが、複数種類の蛍光物質を混合して用いてもよい。この場合には、フルカラーディスプレイを作製するに好適な、色純度の高い青、緑、赤色発光体が得られる。青色光を用いて赤色を発光させるときには大きな波長変化を呈する蛍光物質が必要になるが、現実にはそのような蛍光物質の数は多くない。そこで、赤色の発光を行うときに青色の光を吸収して緑色に発光する蛍光物質と、緑色の光を吸収して赤色に発光する蛍光物質とを共存させると、二段階で青色光が赤色光に変換される。
【0134】
この方法では、緑色や赤色発光において色純度を上げたり発光効率を向上させることを目的に第二の蛍光体を添加することができる。ただし、蛍光体の種類は2種類に限らず、色の調整やより発光効率を向上させるために、3種類以上の蛍光体を任意の割合で混合することも可能である。蛍光体は、そのまま使用することもできるし、蛍光体を練り込んだ微粒子や表面に蛍光体をコーティングした微粒子をそのまま、又はバインダー樹脂に混合して用いてもよい。更に、蛍光物質には蛍光体やバインダーの他にもその機能を発揮するために添加物を加えることもできる。例えば、励起光を効率よく蛍光物質に吸収させるための光散乱用として、シリカ、チタニア、ガラス、有機微粒子やタルクなどを共存させることができる。また蛍光物質が発する光の色を調整するために特定の波長の光を吸収できる顔料や染料等の化合物を混合してよい。
上記の蛍光物質は、蛍光材料をインク基材に練り込んだインクを使用する印刷法や、フォトリソグラフィ法を利用した塗膜法等の公知の技術を利用して形成できる。
【0135】
また、上記緑色フィルタを、入射される光に対して緑色成分のみを透過させる色フィルタとしてもよく、赤色フィルタを、入射される光に対して赤色成分のみを透過させる色フィルタとして構成してもよい。この場合には、光源として白色光が用いられる。
【0136】
なお、透明基板2への励起光の導入は、図示のような透明基板2の裏側から光を導入する方式と、透明基板2の側方から光を導入して伝播させる方式とが適用可能である。また、光変調素子3は、例えば、ファブリペロー干渉計として知られる多重反射による干渉を利用して光変調を行う干渉タイプ、メカニカルなシャッタの開閉動作を利用して光変調を行う遮光(シャッタ)タイプ、全反射を利用する全反射タイプの少なくとも3種類のものが適用できる。
【0137】
次に、上記原理を用いた本発明の平面表示素子の各実施形態を順次具体的に説明する。
[第1実施形態]
最初に、本発明に係る平面表示素子の第1実施形態について説明する。
図2に本実施形態に係る平面表示素子の概念的な構成を示した。なお、図1に示す部材と同一の機能を有する部材に対しては、同一の符号を付与することで、以降はその説明を省略するものとする。
この平面表示素子100は、青色に点灯する蛍光ランプ10aと拡散板10bとを有する平面光源10と、光源から入射される光の光路を変化させる光路変換膜13、及び入射された入射光のうち、特定の入射光路の光のみを選択的に透過させる光路選択膜15とをこの順で光路上に配設されるよう積層した透明基板2と、透明基板2上に形成した可動薄膜(光結合要素)を有する光変調素子3と、青色フィルタ5、緑色変換フィルタ6、赤色変換フィルタ7、及びこれらの間のブラックマトリクス9が形成された前面板8とを具備している。上記光路変換膜13、光路選択膜15、透明基板2は、全反射光学部材17を構成している。
【0138】
まず、平面光源10を説明する。
平面光源10は、全反射光学部材17に面状の入射光を照射するものであり、入射光としては、コリメート光又は拡散光のいずれでも使用できる。また、全反射光学部材17の外部から入射光を導入する他にも、全反射光学部材17の内部に光源を有して発光させる構成としてもよい。特に、本発明の平面表示素子100の入射光としては、主波長が400nm〜520nmの光が使用可能であって、具体的には、青色光を含む可視光を使用している。また、平面光源10からの入射光として、波長が400nm〜520nmの光を含むブロードな波長分布特性を有した光(白色光等)を用い、光路の途中に波長400nm〜520nmの波長成分のみ透過させる或いは発光させる光学素子を設けた構成としてもよい。
【0139】
平面光源10からの入射光がコリメート光である場合は、特定の入射角度成分の入射光を全反射光学部材17に供給することで光利用効率を向上できる一方、拡散光の場合は、任意の低コストな平面光源が使用できる。また、全反射光学部材17の内部に光源を有する場合は、光源からの光が直接的に全反射光学部材17内へ導入されるため光の導入効率が向上し、光学素子と光源が一体形成できるため小型薄型化が図られる。一方、外部に光源を有する場合は、平面表示素子100の設計自由度が向上し、大型で任意の外部平面光源をも利用することができ、高出力化が容易に行える。
【0140】
本実施形態の平面光源10は、可視光領域の光のうちエネルギの高い短波長の光、特に青色を出射する蛍光ランプ10aと、この蛍光ランプ10aにより出射される光を拡散させる拡散板10bとを備えており、この拡散板10bによって蛍光ランプ10aからの光を全反射光学部材17に向けて均一に拡散させている。平面光源10の発光体としては、不活性ガスや水銀蒸気を封入した電子管である蛍光灯の他にも、例えば水銀灯、ネオン管灯、クルックス管等が利用できる。また、そのまま利用できる放電ランプ、コリメート光が容易に得られるレーザ光源、安価で波長域の定まったLED、面状光が得られる無機又は有機EL、白色光を発して目的に応じてフィルタリングすることで任意の波長成分が取り出せる白熱ランプ、表示素子へ導入する面状光が直接的に得られるCRT等の陰極線ランプや、同じく平面状の表示管であって面状光が直接的に得られるFED等が使用できる。上記平面光源10には、直接面状光が得られるもの以外では、例えば、複数の点光源や線光源を集結させることで面状光を形成したり、1本又は複数本の光ビームを偏向走査させることで面状光を形成するようにしてもよい。
【0141】
次に、全反射光学部材17を説明する。
全反射光学部材17は、図3に示すように、平面光源10から面状の入射光を導入したときに、この導入した入射光が全反射光学部材17の光路前方の面19(以下、全反射面と称する)で全反射されるように形成されている。そして、全反射光学部材17に光変調素子3の光結合要素21が近接配置された領域では、全反射面19における入射光の全反射条件が崩れ、入射光が光結合要素21に取り出され、入射光が全反射面19から光結合要素21を通して出射される。
一方、全反射光学部材17の全反射面19において光結合要素21が近接していない領域では、全反射光学部材17に導入される入射光が全反射され、実質的にこの全反射光学部材17の全反射面19を透過して光路前方に出射することはない。
【0142】
上記光結合要素21は、全反射光学部材17の全反射面19に接触する位置に移動可能に設けられるが、全反射面19に完全に接触させなくても十分に近接させるだけでもよい。この場合の近接距離はλ/10(λは波長)程度以下とすることで、接触時と同様な近接場光結合を生じさせることができる。
従って、上記平面表示素子100によれば、平面光源10から面状の光を全反射光学部材17に導入し、光結合要素21を全反射光学部材17の全反射面19に選択的に近接させることで、この近接させた光結合要素21から光を光路前方に出射させ、所望の表示を行うことができる。
【0143】
以下に、平面表示素子100の全反射光学部材17の各構成要素について詳細に説明する。
図4に全反射光学部材17の具体的な一構成例を示した。全反射光学部材17は、入射光の導入側から、光路を変換する光路変換膜13、光路を選択する光路選択膜15、透明基板2の順で積層された多層構造体となっている。この全反射光学部材17の透明基板2の光路前方には透明媒質27(本実施形態では空気)が存在し、透明基板2の屈折率n1(第1の屈折率)と透明媒質27の屈折率n2(第2の屈折率)との関係は、透明基板2と透明媒質27との界面となる全反射面19における全反射条件を満足するように設定されている。例えば透明基板2がガラス基板の場合は屈折率n1=1.5で、透明媒質27が空気の場合は屈折率n2=1.0となる。なお、全反射光学部材17を構成する各層は、入射光の波長域に対して実質的に吸収されることがなく、入射光及び全反射面19で全反射された入射光の損失を抑止して高効率な光学部材を構成している。
【0144】
光路変換膜13は、屈折、回折、光拡散、光反射等を利用して光路を変化させる光学要素であり、一例として次の種類の光学要素を使用できる。屈折を利用する場合は、レンズアレイ、プリズムアレイ、屈折率分散体等が用いられ、入射光の強度が実質的に低下しない。回折を利用する場合は、図5に示す透過型の回折格子が用いられ、体積ホログラム(図5(a)参照)、レリーフ型回折格子(図5(b)参照)や屈折率変調型回折格子(図5(c)参照)等の位相変調型回折格子、振幅変調型回折格子等が用いられ、高精度に入射光光路の角度を設定できる。各光学要素は、例えばフォトポリマー法や射出成形法によって大量転写生産が可能である。
【0145】
また、光拡散を利用する場合は、図6に示す光拡散板が用いられ、多孔質体(図6(a)参照)、異なる屈折率を有する物質20が分布・分散した異種屈折率分布体・分散体(図6(b)参照)、表面が凹凸に形成された光拡散体又は散乱体(図6(c)参照)等が用いられる。さらに、光反射を利用する場合は、任意の方向に反射する微小反射体の分散体等が用いられる。いずれの光学要素も量産に適しており、容易にコストダウンが可能である。
【0146】
光路選択膜15は、この光路選択膜15から出射される選択透過光の実質的全てが、入射光光路前方の層における全反射臨界角より大きい角度成分を有し、その他の角度成分の入射光は選択的に反射されて透過されないものである。即ち、透明基板2と透明媒質27との界面で全反射を生じさせる条件である全反射臨界角θCより大きい角度成分の入射光だけが光路選択膜15を透過し、他の角度成分の入射光に対しては遮光される。なお、全反射臨界角θCは(1)式により求められる。
θC=sin-1(n2/n1) (1)
【0147】
具体的な光路選択膜15の一構成例としては、誘電体多層膜からなる光干渉フィルタが挙げられる。この光干渉フィルタの層構成を図7に示した。
光干渉フィルタは、高屈折率材料と低屈折率材料を順次積層して構成された誘電体多層膜であって、その光学特性としては、詳細は後述するが、入射光をその波長によって選択的に反射する機能を有し、入射角に応じて選択反射する波長が短波長側にシフトする特性を有する。いま、入射光の波長域をλiS〜λiL(λiS<λiL)としたとき、光路選択膜15から出射される選択透過光の出射角が全反射臨界角θC以下の角度成分の光に対しては、波長域λiS〜λiLの入射光の実質的全てを選択的に反射する。
【0148】
この構成によれば、大面積かつ簡単な構成で任意の波長選択が可能な反射膜が形成でき、その反射波長の入射角依存性を利用して容易に光路選択膜15を形成することができる。なお、上記光干渉フィルタは、誘電体多層膜の層構成に金属膜を追加した金属/誘電体多層膜としてもよい。また、誘電体多層膜等からなる光干渉フィルタは、EB蒸着(電子ビーム共蒸着)、スパッタ等で透明支持基板上に複数の薄膜材料を成膜することで形成可能である。さらに、前記薄膜材料は、異なる屈折率を有する有機多層膜、又は無機物を含有する有機多層膜でもよく、この場合は塗布、ラミネート等により、より低コストで形成可能である。
【0149】
ここで、光路変換膜13と光路選択膜15の光学的性質について詳述する。
まず、光路変換膜13が、例えば屈折により光路を変化させる場合を考える。図8に示すように、光路変換膜(平均屈折率nt)、光路選択膜(平均屈折率ns)、透明媒質u(平均屈折率nu)、透明媒質v(平均屈折率nv)、全反射面の前方側の透明媒質w(平均屈折率nw)がこの順で配置された光学素子の場合、透明媒質vと透明媒質wとの界面が全反射面とすると、各々の界面での入射角と各媒質の平均屈折率の関係は(2)式のように表せる。
【0150】
nv・sinθv=nw
nu・sinθu=nv・sinθv=nw
ns・sinθs=nu・sinθu=nw
nt・sinθt=ns・sinθs=nw (2)
ここで、θt、θs、θu、θvは、それぞれの媒質内での光路角度である。
【0151】
従って、光路変換膜13の条件としては、
sinθt>nw/nt
の条件を満たす角度θtの光を少なくとも含んで光路前方に出力する必要がある。好ましくは、この条件を満たす角度θtの光をできる限り多く含んで光路前方に出力する。なお、透明媒質wが空気の場合はnw=1となり、上記条件は、
sinθt>1/nt
となる。
【0152】
一方、光路選択膜15の条件としては、
sinθs>nw/ns
の条件を満たす光のみを透過させるように設定される。なお、透明媒質wが空気の場合はnw=1となり、上記条件は、
sinθs>1/ns
となる。
【0153】
次に、光路選択膜15の特性を、図9〜図11を用いて詳細に説明する。
図9は光路選択膜15への入射光の入射角を示しており、図10は入射光の波長に対する光路選択膜15の分光透過率を入射角毎に示したグラフで、図11は光路選択膜15内外の光路を示す図である。
【0154】
まず、図9に示すように、光路選択膜15へ入射光を各入射角θ0,θ1,θ2,θ3で入射させた場合を考えると、図10に示すように光路選択膜15の分光透過率が変化する。即ち、入射角が全反射臨界角θC以下のθ0(0度)の場合は、分光透過率が入射光の波長域λiS〜λiLに対して略0%となって遮光状態(透過せずに反射される状態)となる。一方、入射角が全反射臨界角度θCより大きい場合は、入射角がθ1,θ2,θ3と大きくなるに従って、分光透過率の透過特性が短波長側にシフトするため透過光量が増加する。即ち、光路選択膜15への入射光の入射角がこの光路選択膜15の表面に対して浅い角度となるに従って、選択的に反射される入射光の波長が短波長側にシフトする。これにより、入射光の入射角度成分がθ0の光は透過せず、入射角度成分が特定の角度より大きいθ1,θ2,θ3の光がこの順に多く透過するようになる。そこで、光路選択膜15を、その分光特性が、所定の界面における全反射臨界角θCより大きい入射光成分だけが透過するように設計することにより、全反射条件を満足しない入射光成分を遮光して、全反射する入射光成分だけを光路選択膜15から選択的に出射させることが可能となる。
【0155】
上記のように、全反射面19における全反射臨界角θCより大きい入射光成分だけが透過するように設計された光路選択膜15を用いて全反射光学部材17を構成した場合の入射光光路を、図11を用いて説明する。
図11(a)は、光路選択膜15に入射された光が光路選択膜15で反射する光路Aと、光路選択膜15に入射された光が、光路選択膜15を透過して光路前方の透明基板2と透明媒質27との界面となる全反射面19で全反射する光路Bとを示している。
【0156】
光路Aは、入射光の入射角θiが全反射面19における全反射臨界角θC以下の場合で、光路選択膜15は、このような入射角成分の光を透過させずにその表面で選択的に反射させる。このため、全反射臨界角θC以下の入射角度成分の光は光路選択膜15により光路前方に対して遮光される。
光路Bは、入射光の入射角θiが全反射面19における全反射臨界角θCより大きい場合で、光路選択膜15は、このような入射角成分の光を透過させる。このため、全反射臨界角θCより大きい入射角度成分の光は光路選択膜15を透過して透明基板2に導入され、全反射面19で全反射される。
なお、図11(a)は、入射光が入射される側の屈折率naと透明基板2の屈折率nbが等しく、光路選択膜15に対する入射角θiと全反射面19における入射角θSとが等しい場合を示している。
【0157】
一方、図11(b)は、入射光が入射される側の屈折率naと透明基板2の屈折率nbが異なり、光路選択膜15に対する入射角θiと全反射面19における入射角θSとが異なる場合を示している。この場合の光路選択膜15は、全反射面19における入射角θSが全反射臨界角θCより大きくなるように設計される。
【0158】
上記のように設計された光路選択膜15を用いて全反射光学部材17を構成することにより、図3に矢印で光路を示すように、全反射光学部材17に導入されたコリメート光又は拡散光からなる面状の入射光が光路変換膜13に入射されると、光の照射位置から拡散等により光路が変化する。そして、光路の変化した光が光路選択膜15に到達すると、透明基板2と透明媒質18との界面となる全反射面19における全反射臨界角θCより大きい角度成分の入射光だけが光路選択膜15を透過し、他の角度成分の入射光は光路選択膜15の表面で光入射側に選択的に反射される。
【0159】
従って、全反射光学部材17に入射される光のうち、全反射面19で全反射する光だけが光路前方に導入され、この導入された光が全反射面19で全反射する。即ち、光路選択膜15においては、光路選択膜15から出射される透過光の実質的全てが、光路選択膜15より入射光光路前方の全反射面における全反射臨界角より大きい角度成分を有し、その他の角度成分の入射光は選択的に反射されて透過されない。なお、全反射面を有する媒質内において、導光、蓄積、閉じ込め等が行われることは実質的にない。
【0160】
また、光路選択膜15の表面で入射光導入側に反射された光の一部は、光路変換膜13の光入射側の界面(反射層)で反射され、再度、光路選択膜15に投入される。この再投入された光は入射角度が大きくなり、全反射臨界角θCより大きくなって、光路選択膜15を透過して透明基板2に導入される。
【0161】
次に、全反射光学部材17の分光透過率をシミュレーションにより求めた結果を説明する。
本シミュレーションでは、全反射光学部材17の構成を、入射光の導入側から、光路変換膜13としての光拡散フィルム(屈折率n=1.5)、光路選択膜15としての誘電体多層膜、透明基板2としてのガラス基板(屈折率n=1.5)の順に積層されている。なお、透明基板2の光路前方には、空気(屈折率n=1.0)が存在する。
【0162】
光路選択膜15を構成する誘電体多層膜は、TiO2/SiO2/…/SiO2/TiO2なる合計29層の多層膜構造とし、各層の光学膜厚は1/4λ(ただし、波長λ=440nm)に設定した。また、入射光は、波長λ=400〜520nmの青色を含む可視光を用いた。そして、この場合の全反射臨界角θCは約40degとなる。
【0163】
上記条件の下で光路選択膜15(誘電体多層膜)の分光透過率を求めたところ、図12、図13に示す結果を得た。ここで、図12は波長λに対する分光透過率Tの変化を入射角θ毎に示したグラフであり、図13は入射角θに対する分光透過率Tを波長λ毎に示したグラフである。
【0164】
図12(a)に示すように、入射角θが0degの場合は、青色光源の波長域における分光透過率Tが略0%となっており、光路選択膜15から入射光が透過することはない。また、図12(b)に示す入射角θが全反射臨界角θCの直前となる40degの場合も、入射光が光路選択膜15から透過されることはない。図12(c)に示す入射角θが70degの場合は、P波に対しては80%前後の分光透過率で、S波に対しては略0%の分光透過率で、P波とS波の平均は約40%程度となっている。
【0165】
また、図13(a)に示すように、青色光源の波長域における短波長側の波長λ=400nmの場合は、P波に対しては入射角θが約50deg以上から分光透過率が向上しており、図13(b)に示す中心波長λ=450nmの場合は、入射角θが約45deg以上から分光透過率が向上し、さらに、図13(c)に示す長波長側の波長λ=500nmの場合は、入射角θが約40deg以上から分光透過率が向上している。
【0166】
従って、P波を用いて光学部材を全反射させたり、光学部材の諸条件を変更してS波の分光特性をP波に近い特性に適宜設計することにより、青色光源の波長域の入射光を、その入射角θが全反射臨界角θC以下の角度では選択的に反射させ、且つ、全反射臨界角θCより大きい角度では透過させることができる。これにより、誘電体多層膜を光路選択膜15として実用上十分に機能させることができる。
【0167】
なお、前述した変形例では誘電体多層膜の例としてTiO2/SiO2からなる多層膜を挙げたが、対象とする光の波長に対して適宜その材料を選択することが好ましい。例えば、
可視光に対して、
・高い屈折率材料(屈折率が概ね1.8以上の材料)として;
TiO2,CeO2,Ta2O5,ZrO2,Sb2O3,HfO2,La2O3,NdO3,Y2O3,ZnO,Nb2O5
・比較的高い屈折率材料(屈折率が概ね1.6〜1.8の材料)として、
MgO,Al2O3,CeF3,LaF3,NdF3
・低い屈折率材料(屈折率が概ね1.5以下の材料)として;
SiO2,AlF3,MgF2,Na3AlF6,NaF,LiF,CaF2,BaF2
等が好ましい。
【0168】
次に、以上説明した平面表示素子100に使用される全反射光学部材17の変形例を説明する。
まず、光路選択膜として、前述の光干渉フィルタに代えてブラッグ反射フィルタを用いた変形例を説明する。
図14に光路選択膜を液晶膜により構成した例を示した。この場合の光路選択膜16は、ITO等からなる一対の透明電極31と、その内側に形成された配向層33と、配向層33に囲まれたコレステリック液晶層35とからなる。
【0169】
この構成のコレステリック液晶層35によるフィルタリング効果を以下に説明する。コレステリック液晶層35は、コレステリック液晶分子が層に対して平行に配向され、層の垂直方向に対して螺旋構造を呈している。
コレステリック液晶層35の常光屈折率をno、異常光屈折率をne、複屈折率をΔn、平均屈折率をnとすると、複屈折率Δnは(3)式で表せる。
【0170】
Δn=ne−no (3)
また、平均屈折率nは、近似的に(4)式により表せる。
n=(ne+no)/2 (4)
【0171】
さらに、コレステリック液晶層35の螺旋ピッチをP[nm]とした場合、コレステリック液晶層35はブラッグ反射の原理で選択的に反射する特性を示す。即ち、入射角θ[deg]でコレステリック液晶層35に入射した光が選択的に反射された場合の入射光の中心波長λ(θ)[nm]は(5)式で表せる。
λ(θ)=λ(0)・cos[sin-1(sinθ/n)] (5)
【0172】
ただし、入射光は空気(屈折率=1)から入射させるものとする。ここで、λ(0)[nm]は入射角がθ0、即ち、層に対して垂直入射したときの中心波長であり、(6)式で表せる。
λ(0)=n・P (6)
また、反射波長幅Δλ[nm]は(7)式で表せる。
Δλ=Δn・P (7)
【0173】
従って、コレステリック液晶層35の物性値である常光屈折率no、異常光屈折率ne、螺旋ピッチPを制御して層を形成することにより、入射角θに応じて変化する任意の反射中心波長λ(θ)と、所望の反射波長幅Δλを有した光学フィルタを形成できる。例えば、螺旋ピッチPの調整は、螺旋ピッチの異なる2種以上の材料を混合して調整する等の製法により可能である。
さらに、対象とする入射光の波長域が広い場合は、コレステリック液晶層の選択反射波長域も広げる必要がある。この場合は、螺旋ピッチが厚み方向で連続的に異なるように液晶を配向させることで反射波長域を広げることができる。また、異なる選択反射波長域のコレステリック液晶層を積層することによっても反射波長域を広げることができ、本発明の光路選択膜として使用可能である。
【0174】
なお、このコレステリック液晶層35は、次のようにして製造できる。
コレステリック液晶を成膜する支持体上にポリイミド配向膜を塗布、乾燥し、ラビングによる表面処理を行う。これにより、ポリイミド配向膜が形成される。この上に、低分子コレステリック液晶、又はネマチック液晶とねじれを発現させるカイラル剤の混合物、高分子モノマー、光重合開始剤を有機溶剤で混合させた調整液により塗布した後、適当な温度で配向させる。その後、必要な部分に紫外線を露光して光重合させ、現像により不要部分を除去する。最後に高温ベークを行って安定させる。
ねじれ方向及び反射入射角度を制御するためには、コレステリック液晶、カイラル剤、及び各々の濃度を適宜変更すればよい。
【0175】
また、高分子コレステリック液晶を用いて成膜することも可能である。この場合は、上記同様にポリイミド配向膜の上に高分子コレステリック液晶と光重合開始剤を有機溶媒で混合させた調整液により塗布した後、適当な温度で配向させ、必要な部分に紫外線を露光して光重合させる。反射入射角度は、配向温度を適宜選択することで制御でき、光重合により安定化する。
【0176】
ここで、この構成の光路選択膜16による分光透過率を図15に示した。このコレステリック液晶層は、左ねじれコレステリック液晶層と右ねじれ液晶層を重ねた例で、反射波長域では全偏光成分を反射する。入射角が全反射臨界角度θC以下のθ0(図9参照)の場合では分光透過率が入射光の波長域λiS〜λiLに対して略0%となって遮光状態となるが、入射角が全反射臨界角θCより大きい角度で、θ1,θ2,θ3と大きくなるに従って、分光透過率の透過特性が短波長側にシフトするため透過光量が増加する。これにより、入射光の入射角度成分がθ0の光は透過せず、入射角度成分が特定の角度より大きいθ1,θ2,θ3の光がこの順に多く透過するようになる。そこで、光路選択膜16の分光特性を所定の界面における全反射臨界角θCより大きい入射光成分だけが透過するように設計することにより、全反射条件を満足しない入射光成分を選択的に除去して、全反射する入射光成分だけを光路選択膜16から出射させることが可能となる。
【0177】
この構成によれば、前述の光干渉フィルタを用いた場合と同様な作用効果が得られると共に、より低コストで光路選択膜を実現することができる。
【0178】
また、コレステリック液晶層35については、その螺旋構造が右ねじれの場合、右円偏光成分の光を反射し、螺旋に沿った左円偏光成分の光を透過させる。一方、螺旋構造が左ねじれの場合、左円偏光成分の光を反射し、右円偏光成分の光を透過させる。従って、全偏光成分の光を反射、即ち、透過させない場合は、左ねじれ(又は右ねじれ)コレステリック層と逆の右ねじれ(左ねじれ)コレステリック層を順次重ねる構造にすることにより、全偏光を反射させることができる。
【0179】
上記コレステリック液晶以外で、ブラッグ反射の機能を有する光学要素としては体積ホログラムが有効である。体積ホログラムはフィルム内に形成された格子状の屈折率分布によりブラッグ反射機能を有し、特定の波長を反射する。また、入射角が大きくなると反射波長は短波側にシフトし、光路選択膜として機能する。体積ホログラムは、ホログラム用写真感材、相分離型フォトポリマー、HPDLC(ホログラフィック高分子分散液晶)、フォトリソグラフィ材料等を感光材料とし、これに多光束干渉露光を行うことにより形成可能である。
【0180】
次に、光結合要素21を説明する。
光結合要素21は、全反射面における入射光の全反射条件を崩し、光結合要素21に光を結合させて取り出し、光路前方に出射させるものである。この光結合要素21には、取り出した光の光路を変更する光路変更手段、特定波長成分を吸収する特定波長成分吸収手段が適宜設けられる。具体的には、例えば次の(1)〜(4)に示す種類のものが利用できる。
【0181】
(1)屈折により光路を変更するもの又はその機能を有するもの
全反射面19に近接配置させることで取り出した出力光を、屈折によりその光路を変更するものであって、例えば、図16(a)に示すレンズアレイ、図16(b)に示すプリズムアレイ、図16(c)に示す屈折率分布レンズ体等が挙げられる。これらのレンズアレイ、プリズムアレイによれば、全反射光学部材17の全反射面19から取り出した出力光を集光或いは拡散させて異なる方向に出射させることができ、出力光に出射方向性を持たせたり、出射方向性をなくすことを出力光の強度を低下させることなく簡単な構成で行える。
【0182】
(2)透過型回折格子又はその機能を有するもの
取り出した光を透過させると共に回折により出射方向を変更する透過型回折格子としては、前述と同様の図5(a)に示す体積ホログラム、図5(b)に示すレリーフ型回折格子、図5(c)に示す屈折率変調型回折格子、また、振幅変調型回折格子等が挙げられる。これらの透過型回折格子によれば、出力光の出射角度を正確に設定することができる。また、例えばフォトポリマー法や射出成形法によって大量生産が可能となり、表示素子自体のコストダウンが図られる。
(3)光拡散体又は光散乱体或いはその機能を有するもの
取り出した光を拡散又は散乱させる光拡散体又は光散乱体としては、図17(a)に示す量産に適した多孔質体、図17(b)に示す高屈折率微粒子等の異なる屈折率を有する物質37の分散体又は分布体、図17(c)に示す表面に凹凸が形成された光拡散体又は光散乱体等が挙げられる。これらの光拡散体又は光散乱体によれば、拡散又は散乱により出力光を任意の方向に散らすことができ、出力光の出射方向性をなくすことができる。
【0183】
(4)入射光を吸収するもの又はその機能を有するもの
入射光を吸収するものとしては、画像データの記録された透過性画像フィルム等が挙げられる。全反射光学部材17の全反射面19から取り出した出力光を透過性画像フィルムにより特定波長成分を吸収させて出射することで、濃淡表示と特定色の発色を得ることができる。即ち、透過性画像フィルムに記録された画像様に表示が行える。このため、同一種の入射光であっても複数色の出射光を選択的に得ることができる。
【0184】
以上説明した図2に示す平面光源10、全反射光学部材17,光結合要素21を備えた第1実施形態の平面表示素子100について、その光変調動作を説明する。
図2に示す平面光源10からの励起光が全反射光学部材17に導入されると、光路変換膜13及び光路選択膜15を透過した励起光が全反射光学部材17の全反射面19で全反射されることになる。
【0185】
そして、この全反射面19に光結合要素21が近接した領域では、全反射面19における全反射条件が崩されて、光結合要素21に全反射面19から励起光が取り出される。取り出された励起光は全反射光学部材17とは反対側の表示側に出射され表示光となる。一方、光結合要素21が全反射面19から離間した領域では、励起光は全反射面19で全反射されて表示側に出射されることはない。このように、本実施形態の平面表示素子100は、光結合要素21の構成が単純であるため、空隙ギャップや成膜の不均一性が大幅に低減でき、大面積化への実用性に優れた構成となっている。
【0186】
上記構成の平面表示素子100によれば、導光板や光導波路を使用することなく、低コストの構成で面状の光源からの入射光を面状のまま直接的に高効率で全反射光学部材17に導入するため、例えば入射光を端面側から導入する場合と比較して入射光の導入口を格段に広く採ることが可能となり、入射光との結合効率が向上し、平面表示素子100自体の薄型化に影響されることなく、高効率で面状の全反射光を導入することができる。これにより、光結合要素21が全反射面19に近接配置された領域から、全反射面19から取り出された入射光を表示面側に高効率で出射することができる。従って、平面表示素子100の光路前方側の面では、光結合要素21の近接配置された領域だけが光り、平面表示素子100から画像様に光が出射される。即ち、必要箇所だけに画像表示を行うことができる。また、この構成によれば、導光板や光導波路を使用する場合に生じるクロストークによる局所的な光量低下が防止され、表示画面の全面に亘って均等な明るさの表示が可能となる。
【0187】
そして、平面表示素子100内の各界面で反射される入射光の一部は、界面における反射等により光路前方に再投入されるため、平面表示素子100の高出力化も容易に達成できる。さらに、全反射光学部材17単体では透過光が実質的に生じないため、導入した光量が減衰することがなく、光利用効率を向上できる。なお、全反射光学部材17が空気(不活性ガスであってもよい)と接触する気体接触界面を全反射面とすることにより、全反射を生じさせる屈折率の層を別途設けることなく単純構造にできる。
【0188】
また、平面光源の配置位置が自在に選択でき、数多くの光源を実装することが可能となり、光の出射輝度を向上できる。さらに、平面光源の入射光角度分布制限がなく、既存のバックライト光源が使用可能となる。なお、図示は省略するが、平面表示素子100の入射光導入側に、この平面表示素子100により反射された入射光を平面表示素子100側に再投入するための反射体を設けてもよい。これにより、光のリサイクルが行われ、光利用効率が向上して高効率化が図られる。
【0189】
次に、上記平面表示素子100に用いられる全反射光学部材17の他の構成例を簡単に説明する。
まず、図18(a)に示す全反射光学部材は、入射光の導入側から、光路変換膜13、全反射面を有する透明基板2がこの順で積層された構造体である。この全反射光学部材は、透明基板2の光路前方の全反射面で入射光が全反射されるように光路変換膜13が設計されている。
この全反射光学部材によれば、入射光が照射されると、光路変換膜13によって、透明基板2の全反射面で全反射する入射角度成分に光路が変更される。この光路変換膜13の透過光が全反射面で全反射される。
【0190】
次に、図18(b)に示す全反射光学部材は、入射光の導入側から、光路変換膜13、透明基板2、全反射面を有する光路選択膜15がこの順で積層された構造体である。この全反射光学部材は、光路選択膜15の光路前方の全反射面で入射光が全反射されるように光路変換膜13が設計されている。
この全反射光学部材によれば、入射光が照射されると、光路変換膜13によって入射光の光路が変更される。これにより、全反射面で全反射する入射角成分となった光は、光路選択膜15に導入されて全反射面で全反射される。一方、これ以外の入射角成分の光は、光路選択膜15に導入されずに選択的に反射され、入射光導入側に戻される。
【0191】
さらに、図18(c)に示す全反射光学部材は、図18(b)に示す全反射光学部材の光路前方に透明基板2の屈折率より低い屈折率を有する透明媒質39を設けた構成としている。この場合は、光路選択膜15が透明媒質39の光路前方の全反射面で入射光を全反射するように設計されている。
この全反射光学部材によれば、光路変換膜13と透明基板2を通じて入射光が導入されると、光路選択膜15に導入された入射光が、透明媒質39の光路前方の全反射面で全反射される。一方、これ以外の入射角成分の励起光は、光路選択膜15に導入されずに選択的に反射され、入射光導入側に戻される
【0192】
次に、図18(d)に示す全反射光学部材は、入射光の導入側から、光路選択膜15、全反射面を有する透明基板2がこの順で積層された構造体である。この全反射光学部材は、透明基板2の光路前方の全反射面で入射光が全反射されるように光路選択膜15が設計されている。
この全反射光学部材によれば、入射光が照射されると、光路選択膜15によって、透明基板2の全反射面で全反射する入射角度成分の光だけがこの光路選択膜15を透過する。この透過光が全反射面で全反射される。一方、全反射条件を満足しない入射光成分は、光路選択膜15で選択的に反射され、実質的に全反射光学部材を透過することはない。
【0193】
次に、図18(e)に示す全反射光学部材は、入射光の導入側から光路変換膜13、光学的接着層となる光学的接続媒質41、光路選択膜15、透明基板2がこの順で積層された構造体である。この全反射光学部材によれば、入射光が照射されると、光路変換膜13と光路選択膜15によって透明基板2の全反射面で全反射する入射角度成分だけが取り出される。この取り出された光が全反射面で全反射する。一方、全反射条件を満足しない入射光成分は、光路選択膜15で選択的に反射され、実質的に全反射光学部材を透過することはない。
【0194】
次に、図24(f)に示す全反射光学部材は、入射光の導入側から透明基板2、光路変換膜13、光路選択膜15がこの順で積層された構造体である。この全反射光学部材によれば、入射光が照射されると、透明基板2を通して光路変換膜13に入射光が導入され、光路変換膜13と光路選択膜15によって全反射面で全反射する入射角度成分だけが取り出される。この取り出された光が全反射面で全反射する。一方、全反射条件を満足しない入射光成分は、光路選択膜15で選択的に反射され、実質的に全反射光学部材を透過することはない。
【0195】
上記各構成の全反射光学部材のいずれであっても、前述した実施形態の全反射光学部材に適用でき、同様の作用効果を奏することができる。なお、全反射光学部材の層構成は、上述の主旨に添った機能を奏すれば、特に限定されるものではない。
【0196】
次に、本実施形態の平面表示素子の変形例として、入射光を平面表示素子の側方から導入して全反射導光させる構成とした一例を説明する。
図19に透明基板2を全反射導光板として使用して入射光を側方から導入する構成例を示した。この平面表示素子では、導光板となる透明基板2の一方の側端部にプリズム43を光学的に接続し、このプリズム43を通じて光源(白色光源、LED、レーザ光源等)11からの光を導入し、透明基板2内で全反射導光させている。
この構成によれば、光源11を平面表示素子の側方に配置する構成となるため、平面表示素子を薄型化が図られ、よりコンパクトにできる。
【0197】
次に、本実施形態の平面表示素子の他の態様として、発色フィルタの構成を変更したいくつかの変形例を説明する。
図20に発色フィルタに反射膜を設けた一構成例を示した。反射膜45は、光変調素子3と各発色フィルタ(青色フィルタ5,緑色変換フィルタ6,赤色変換フィルタ7)との間に設けられ、励起光を透過させて各色変換フィルタからの発光光を反射する。これにより、反射膜45を透過した励起光は、各発色フィルタで励起発光に供され、この発光光のうち励起光の導入側に戻る向きの成分が反射膜45により反射され、光路前方へ出射される。従って、発光光の光利用効率が向上して高輝度の表示を効率よく行うことができる。
【0198】
次に、図21に発色フィルタに外部光減衰フィルタを設けた一構成例を示した。外部光減衰フィルタは、前面板8と各発色フィルタとの間に設けられ、前面板8を介して照射される外光により各発色フィルタからの発光光が見えにくくなることを防止している。この外部光減衰フィルタ47としては、例えばND(Neutral Density)フィルタを用いることができる。
外部光減衰フィルタ47は、発色フィルタの出射面側に外部光が入射して反射することを抑制するものであり、NDフィルタを用いることで色調を変えることなく光量を減少させるようになっている。なお、本実施形態のNDフィルタは、例えばガラス板に金属クロムを成膜させることで形成している。また、NDフィルタに代えて、偏光フィルタを用いることができる。これにより、特定偏光方向の光成分を除去して反射強度を弱めることができる。
【0199】
さらに、図22に発色フィルタを光結合要素に接して設けた一構成例を示した。色変換フィルタ(色フィルタ)は、光結合要素21の光路前方で接するようにそれぞれ設けられ、光結合要素21によって取り出される光を高効率で励起発光させている(或いは選択的に色成分を透過させている)。
また、図23は、発色フィルタを光結合要素内に設けた一構成例を示している。このように、色変換フィルタを光結合要素と混合して一体に設けた構成とすることで、平面表示素子の製造工程の簡略化が図られる。なお、光結合要素の可動薄膜材料との混合比率については、光結合要素が実用上十分な可撓性を有すればいずれの比率であってもよい。
【0200】
[第2実施形態]
次に、本発明に係る平面表示素子の第2実施形態について説明する。本実施形態の平面表示素子は、前述の第1実施形態における全反射光学部材17と全反射型の光変調素子3に代えて、透明基板上に形成した干渉型の光変調素子を備えたものである。
【0201】
図24に本実施形態の平面表示素子の概略的な構成図を示した。本実施形態の平面表示素子200は、平面光源10の出射光を導入する透明基板2と、透明基板2上に形成した干渉型の光変調素子51と、発色フィルタ5,6,7を光変調素子51側に設けた前面板8とを備えてなる。
図25は干渉型の光変調素子51の具体的な構成と動作を示す説明図である。この光変調素子51は、ガラス等の透明基板2上に、ITO等の下側透明電極53、誘電体多層膜等の下側干渉膜55、透明スペーサ57がこの順で形成され、さらに、両脇の支柱59を介して所定の空隙を空けて上側干渉膜61、上側透明電極63が透明基板2に対して近接可能に可撓性を有して形成されている。
【0202】
つまり、光変調素子51は、下側透明電極53と下側干渉膜55が形成された透明基板2と、上側干渉膜61と上側透明電極63からなる可動薄膜65との間に空隙67を有し、この空隙67内の下側干渉膜55上に透明スペーサ57を設けてある。
これら上側干渉膜61、下側干渉膜55は、誘電体多層膜からなり、例えば蒸着により形成した5層、7層、9層又は15層等のTiO2/SiO2の多層膜からなる。これら干渉膜61,55は、所謂ハーフミラーとしての機能を有する。このような多層干渉膜は、屈折率の高い誘電体材料と、屈折率の低い誘電体材料とを交互に積層することで、各層間の境界面での反射光や透過光による干渉を強め合い、高反射率、高透過率が得られる。
【0203】
上記光変調素子51では、図25(a)に示す状態から、上側透明電極63と下側透明電極53との間に駆動電圧VONが印加されることにより、電極間に静電気力が発生して、図25(b)に示すように、可動薄膜65が透明基板2側へ吸引されて透明スペーサ57に密着される。そして、非駆動電圧VOFFの印加により静電気力による吸引力がなくなると、図25(a)に示すように、可動薄膜65は弾性復帰力によって再び中央部が空隙67を隔てた位置に浮上して配置される。光変調素子51は、この可動薄膜65の変位動作又は弾性復帰動作により、特定の波長域の光が可干渉性により透過又は反射される。
【0204】
この光変調素子51は、可動薄膜65の変位により、上側干渉膜61、下側干渉膜55からなる平行ミラー間の距離を異ならせ、平行ミラー間で繰り返し反射させた合成波の強度を変化させることによって、光を透過又は反射させている。即ち、ファブリペロー干渉を利用した光変調を行っている。平行ミラー間で反射と透過が繰り返されるファブリペロー干渉においては、空隙の略整数倍の波長のみが光変調素子51を透過する。
【0205】
ファブリペロー干渉では、入射光線が、反射と透過を繰り返して多数の光線に分割され、これらは互いに平行となる。透過光線は、無限遠において重なり合い干渉する。面の垂線と入射光線のなす角をθとすれば、隣り合う二光線間の光路差はx=nt・cosθで与えられる。但し、nは二面間の屈折率、tは間隔である。光路差xが波長λの整数倍であれば透過線は互いに強め合い、半波長の奇数倍であれば互いに打ち消し合う。即ち、反射の際の位相変化がなければ、
2nt・cosθ=mλ …(8) で透過光最大となり、
2nt・cosθ=(2m+1)λ/2 …(9) で透過光最小となる。
但し、mは整数である。
【0206】
ここで、光変調素子51を用い、平均波長λ0が450nmの青色光源からの出射光を光変調する場合について説明する。ここで、光変調素子51において、非駆動電圧VOFF印加時における空隙67の間隔をtOFF 、駆動電圧VON印加時における空隙67の間隔をtONとする。
更に、tOFF、tON を下記のように設定する。
tOFF =3/4×λ0=337.5nm
tON =1/2×λ0=225nm
但し、
m=1
上記間隔tONは、透明スペーサ57の厚みを調整することで、正確に設定することができる。
【0207】
また、可動薄膜65、干渉膜55,61は、光強度反射率をR=0.85とする。空隙67は空気又は希ガスとし、その屈折率はn=1とする。入射光は、コリメートされており、光変調素子51に入射する入射角θは略ゼロとする。このときの光変調素子51の光強度透過率は図26のようになる。即ち、光変調素子51は、非駆動電圧VOFFの印加時には、tOFF=337.5nmとなり、400〜520nmの青色光をほとんど透過させない。一方、駆動電圧VONを印加してtON=225nmとなると、上記青色光を透過させるようになる。
【0208】
さらに、光変調素子51は、可動薄膜65を変位させ、干渉モードで光変調を行うことで、低い駆動電圧(数V〜致十V)で、数十〔nsec〕の高速動作が可能になる。なお、干渉の条件を満たせば、空隙67の間隔t、屈折率n、可動薄膜65、干渉膜55,61の光強度反射率R等はいずれの組合せでも良い。また、電圧の値により、間隔tを連続的に変化させると、透過スペクトルの中心波長を任意に変化させることが可能である。これにより透過光量を連続的に制御することも可能である。即ち、印加電圧による階調制御が可能となる。
【0209】
[第3実施形態]
次に、本発明に係る平面表示素子の第3実施形態について説明する。本実施形態の平面表示素子は、前述の第1実施形態における全反射光学部材17と全反射型の光変調素子3に代えて、透明基板上に形成した遮光型の光変調素子を備えたものである。
図27は遮光型の光変調素子51の具体的な構成と動作を示す説明図である。
透明電極73は、光源光である青色光を透過する透明基板2上に設けられており、入射された青色光を透過させる。透明基板2上の透明電極73以外の部位には、絶縁性の遮光膜75が設けられる。透明電極73及び遮光膜75の上面には、絶縁膜77が積層される。そして、可動薄膜としての遮光板79は、透明基板2上に立設された支柱78を介して、透明基板2の上方に透明基板2と所定の間隔をあけて片持ち梁構造として設けられる。遮光板79の形状は、対向する透明基板2上の透明電極73の形状に対応しており、透明電極73よりも若干大きくしてある。
【0210】
遮光板79は、導電性を有する可動薄膜からなり、例えば青色光を吸収、若しくは反射する材料からなる単一の導電性薄膜、又は複数の導電性薄膜で構成される。具体的には、青色光を反射するアルミ、クロム等の金属薄膜、ポリシリコン等の半導体による単体構成が挙げられる。また、シリコン酸化物、シリコン窒化物等の絶縁膜、ポリシリコン等の半導体薄膜に金属を蒸着した構成、又は誘電体多層膜等のフィルタを蒸着した複合構成とすることもできる。
【0211】
このように構成された光変調素子71は、次のように動作する。光変調素子71において、遮光板79及び透明電極73間に非駆動電圧を印加した状態では、図27(a)に示すように、遮光板79は透明電極73と対向しており、透明電極73を透過した青色光は遮光板79によって吸収又は反射される。
一方、遮光板79及び透明電極73間に駆動電圧を印加すると、図27(b)に示すように、両者間に作用する静電気力により遮光板79が捩じれながら透明電極73側に変形する。これにより、平面光源から透明電極73を透過した青色光は、遮光板79に遮光されることなく、上方に出射される。
そして、再び遮光板79、及び透明電極73間への印加電圧をゼロにすると、遮光板79は、遮光板79自体及び支柱78の弾性によって初期位置に戻る。
【0212】
次に、本実施形態に係る遮光型の光変調素子を備えた平面表示素子の他の変形例について説明する。
図28はスライド型の光変調素子の概略構成図であり、(a)は平面図、(b)は(a)のP−P断面図である。
光変調素子81は、対向電極82,83及び可動薄膜としての電極遮光板84への駆動電圧印加に伴う静電気力によって、電極遮光板84を図28で左右方向に変位させることにより、図示しない平面光源からの光を遮光させ、又は透過させる。
【0213】
この対向電極82,83は、透明基板2上で所定の間隔をあけて対向して対をなし、図28(a)において、並列に計2対設けられる。また、透明基板2上の図28における右側の対向電極83の間には、遮光膜85が設けられる。
電極遮光板84は、対向電極82,83間で透明基板2から図28(b)の上方に所定の間隔をあけた位置に、左右方向に変位可能に設けられる。即ち、電極遮光板84の左右両側は、折れ線バネ86等の可撓部材を介して支持部87に支持されている。電極遮光板84は、対向電極82,83への駆動電圧印加に伴う静電気力によって、折れ線バネ86を弾性変形させつつ、図28の左右方向に変位する。電極遮光板84の左右方向の寸法は、支持部87間の左右方向に沿う距離の略半分である。
【0214】
このように構成された光変調素子81は、次のように動作する。即ち、光変調素子81において、電極遮光板84に電圧ゼロを印加した状態で、図28の左側の対向電極82のみに駆動電圧を印加すると、電極遮光板84は、静電気力によって図28の左側の対向電極82間に移動する。即ち、図28に示す状態となる。これにより、平面光源から出射され遮光膜85で遮光されずに透明基板2を透過した光は、電極遮光板84によって遮光される。
【0215】
一方、電極遮光板84に+Vの電圧を印加した状態で、図29の左側の対向電極82のみに駆動電圧を印加すると、電極遮光板84は、静電気力によって図29の右側の対向電極83間に移動する。即ち、図29に示す状態となる。これにより、平面光源から出射され遮光膜85で遮光されずに透明基板2を透過した光は、電極遮光板84によっても遮光されることなく、図29(b)の上方に出射される。
そして、再び電極遮光板84への印加電圧をゼロにすると、電極遮光板84は、折れ線バネ86の弾性力及び静電気力によって初期位置に戻る。
【0216】
次に、遮光型の光変調素子のさらなる他の変形例について説明する。
図30に櫛形の光変調素子を一部切り欠いた斜視図を示した。この光変調素子91は、絶縁性を有し変調しようとする励起光に対して透明な透明基板2上に、一定の間隔を隔てて複数の遮光膜92を形成してある。この遮光膜92は、透明基板2下側から導入された励起光を遮光して上側への光出射を阻止している。
【0217】
また、透明基板2上には一対の平行な帯状のスペーサ93が形成され、このスペーサ93の上面には可撓性を有する薄膜状の格子体94が形成されている。格子体94は、透明基板2上で、隣接する遮光膜92の間に配置される帯状の可動子(可動薄膜と同機能)95を複数形成しており、これら可動子95の長手方向両端を所定の間隔ピッチで支持することによりスリット(細長の間隙)96を形成している。このため、透明基板2と可動子95とは、スペーサ93の厚み分の間隙を隔てて対向配置されている。
【0218】
可動子95は、この可動子95の長手方向両端に断面積の小さくなったくびれ部95aを有しており、このくびれ部95aが脆弱部分となって変形することで、可動子95が透明基板2に対して略平行方向に移動可能になっている。そして、可動子95は、X方向の断面形状が方形状となっており、少なくとも隣接する可動子側の面には絶縁膜95bを形成して接触によるショートを防止している。図示した例では、絶縁膜95bは透明基板2の反対側の面にも形成している。
【0219】
この可動子95の断面は、その殆どが遮光性を有する導電膜95cによって形成されているが、その構成はこの遮光性の導電膜95cに限らず、遮光膜と導電膜とを個別に形成するものであっても良い。遮光性の導電膜95cとしては、例えば金属、金属化合物、高不純物ドープ半導体、導電性高分子等を用いることができる。また、可動子95を遮光性絶縁体で形成し、その周囲に導電膜を形成しても良い。なお、前述の遮光膜92は、スリット96と同一幅かそれ以上の幅に形成され、隣接する遮光膜92同士の間は、遮光膜92の形成されていない光変調領域97が形成される。
【0220】
従って、図30における透明基板2の下側から導入された光は、スリット96に相当する位置では遮光膜92によって透過が阻止され、光変調領域97に相当する位置では可動子95の遮光性の導電膜95cによって透過が阻止される。結局、平面光源からの励起光は図30における光変調素子91の上側へは透過されないことになる。
【0221】
次に、このように構成される光変調素子91の具体的な駆動方法を説明する。図31(a)に示すように、走査信号電極,画像信号電極が同電位(0[V])である場合は、可動子95は光変調領域97の上方に重なって位置し、光変調領域97を通過した光の光変調素子91上側への出射を阻止する。一方、図31(b)に示すように、走査時、画像信号電極に画像信号電圧Vaが印加され、走査信号電極に0[V]の電圧が印加された場合は、静電吸引力によって、異なる電極に接続された可動子95同士が吸引されて、図中矢印で示すように透明基板2に対して平行に移動する。その結果、光変調領域97における可動子95による光の遮光がなくなり、透明基板2を通過した光が光変調領域97から出射され、2値の光変調が可能になる。
【0222】
[第3実施形態]
次に、本発明に係る平面表示素子の第4実施形態について説明する。
図32に本実施形態に係る平面表示素子の概念的な構成を示した。この平面表示素子300では、第1実施形態と同様に平面光源101が使用され、特にこの平面光源101を面状光が得られる有機EL(エレクトロルミネッセンス)から構成している。なお、この有機ELは、薄膜無機ELにより構成してもよい。
【0223】
この有機ELは、均一な励起光を全反射光学部材17の全面に供給するために、基板103の全面にわたって均等に設けられている。具体的には、この有機ELは、基板103の全反射光学部材17に対面する面の全面に設けたカソード電極(陰極)105と、このカソード電極105の上面に設けた有機EL層107と、この有機EL層107の上に設けたアノード電極(陽極)109とを備えている。そして、カソード電極105とアノード電極109との間には、電源112が接続されて、有機EL層107を全面発光させる構成としている。
【0224】
カソード電極105としては、例えばAgMg等の導電性材料の成膜体とすることができ、これにより金属反射膜として機能させることができる。即ち、電圧印加により発光した有機EL層107の発光成分のうち、基板103へ向いた成分をこの金属反射膜により反射させて全反射光学部材17に向けることができる。
【0225】
この有機EL層107を構成する青色に発光する有機発光材料としては、例えば、アントラセン、シクロペンタジエン誘導体(PPCP:1,2,3,4,5−Pentaphenyl-1,3−cyclopentadiene)、ジスチルベンゼン(DSB)、及びその誘導体(PESB)等が挙げられる。また、緑色の光を励起光として使用する場合には、キノリノール錯体(8−hydoroxyquinoline aluminium:Alq3)の他、コロネン(coronene)等がその材料として挙げられる。
アノード電極109には、ITO等の透明電極を用いており、有機EL層107からの発光光量ができるだけ減衰しない材料で形成されている。
【0226】
なお、本実施形態の平面光源101では、基板103上に、カソード電極105と、有機EL層107と、アノード電極109とを順次積層させた構造であるが、例えば、この有機EL層107を光路選択膜15の光路後方に貼り付けてもよい。この場合には、光路変換膜13は省略可能である。
【0227】
また、このような有機EL層107は、発光層が電子輸送層側に設けられたホール輸送層との2層構造であってもよく、発光層がホール輸送層側に設けられた電子輸送層との2層構造であってもよい。さらに、電子輸送層と発光層とホール輸送層との3層構造であってもよい。
【0228】
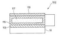
なお、本実施形態の光変調素子3については、前述の実施形態と同様に、静電気力を利用した全反射型、干渉型、遮光型のいずれも適用可能である。また、ここでは、平面光源101に有機ELを用いた一例を説明したが、例えば薄膜無機ELを平面光源101として用いた場合には、平面光源101は次に示す構成となる。
図33は薄膜無機ELを用いて平面光源を構成した一例を示す断面図である。この平面光源102は、透明基板111上に電極層113、絶縁層115に囲まれた蛍光体薄膜層117、ITO等の透明電極層119が積層された構造体である。電極層113と透明電極層119に電圧を印加すると、蛍光体薄膜層117と絶縁層115との界面に高い電界が生じ、電子が加速されて蛍光体薄膜層117内を高速で移動するようになる。この蛍光体薄膜層117には例えば青色に発光する少量の不純物イオン(発光中心)が混ぜられており、移動した電子がこの発光中心に当たると、その運動エネルギが光として放出される。
【0229】
上記の蛍光体薄膜層117の発光材料としては、例えば、Ce(セリウム)を混ぜたSrS:Ce(硫化ストロンチウム)を用いることで、明るい青緑色が得られる。また、Ceイオンを混ぜたストロンチウムチオガレート(SrGa2S4:Ce)を用いることで色純度の優れた青色が得られる。
また、電極層113としては、例えば金属、金属化合物、高不純物ドープ半導体、導電性高分子等を用いることができ、絶縁層115としては、シリコン酸化物、シリコン窒化物、セラミック、樹脂等を用いることができる。
【0230】
[第4実施形態]
次に、本発明に係る平面表示素子の第4実施形態について説明する。
図34に本実施形態に係る平面表示素子の概念的な構成を示した。この平面表示素子400は、基板103上に、カソード電極105、有機EL層107、アノード電極109からなる平面光源121と、この平面光源121上に光路選択膜15、バッファ層123、光変調素子3とが設けられ、さらに光変調素子3の光路前方には色変換フィルタを有する前面板8が配置される。
【0231】
バッファ層123は、必ずしも必要とするものではなく、光変調素子3を作製するための平坦性を確保するため、及び硬化により強度を得るためのものである。このような構成とすることにより、有機EL層107を含む平面光源121と、全反射光学部材17と、光変調素子3とが一体化されるので、平面表示素子400がシンプルな構成になると共に、一層薄型化を図ることができる。また、有機EL層107は、基板103の全面にベタで成膜するため、パターニングが不要であり、簡単な工程により容易に製造できる。
【0232】
[第5実施形態]
次に、本発明に係る平面表示素子の第5実施形態について説明する。
本実施形態は、上述した各実施形態における平面表示素子を2次元マトリクス状に配列して、RBGの三色によりフルカラーで表示駆動するものである。
図35は本実施形態に係る平面表示素子の光変調素子及び前面板の概念的な構成を示す斜視図である。この平面表示素子は、図2に示す第1実施形態の平面表示素子のうち、特に全反射光学部材17と光変調素子3、及び各色変換フィルタを有する前面板8とを示したものである。
【0233】
光変調素子3は、透明基板2上に形成された透明導電膜からなる固定電極131と、この固定電極131と透明基板2とを覆うように形成された絶縁膜133と、この絶縁膜133の上面で固定電極131の上方位置に支柱135による空隙を隔てて対向配置された光結合要素21とを備えている。この光結合要素21は導電性材料からなる電極層が積層されたり、光結合要素21自体が導電性材料からなることで、可動電極を構成する。
そして、光結合要素21は図示のように、RGBの順でそれぞれマトリクス状に配列され、RGB3つの光結合要素からなる表示領域は、1つの画素領域に相当している。
【0234】
固定電極131は、一般的には微粒子化により透明にされた金属或いは導電性を有する金属化合物で構成される。この金属としては、金、銀、パラジウム、亜鉛、アルミニウム等を用いることができ、金属化合物としては、酸化インジウム、酸化亜鉛、アルミニウム添加酸化亜鉛(通称;AZO)等を用いることができる。具体的には、SnO2膜(ネサ膜)、ITO膜等を用いることができる。
絶縁膜133は、例えばSIO2により形成でき、この他にも、絶縁性のシリコン窒化物、セラミック、樹脂等を用いることができる。
【0235】
上記構成の光変調素子3によれば、光結合要素21を固定電極131と可動電極との間の電気機械動作によって変形させることで、光結合要素21の光の透過率を変化させることができる。電気機械動作としては、電圧印加による静電気力を利用する方式、電圧印加による圧電効果を利用する方式、電流印加による電磁気力を利用する方式等があるが、ここでは、静電気力を利用する方式を用い、光結合要素21を固定電極131側に撓ませて、光結合要素21からの光透過率を変更するように構成している。
【0236】
また、平面表示素子の光変調素子3に対向配置された前面板8は、青色フィルタ5、緑色変換フィルタ6、赤色変換フィルタ7の三原色の帯状の色変換フィルタを設けてある。また、これら帯状の色変換フィルタの間には、コントラストを向上させるブラックマトリクス9を配置している。
【0237】
ここで、上記構成の平面表示素子の駆動方法について説明する。
図36は平面表示素子の光変調素子を単純マトリックス駆動する構成を示す説明図である。
この単純マトリックス構成の光変調素子は、平行配列された複数の走査信号電極141と、走査信号電極141に直交し平行配列された複数の画像信号電極143を備え、走査信号電極141と画像信号電極143との交差部に光変調素子3をそれぞれ配置している。
【0238】
このような接続構成により、走査信号電極141と画像信号電極143とのそれぞれのタイミングを合わせて電気信号を送ることにより、目的とする複数の光変調素子3を同時に光変調することができる。具体的には、走査信号電極141と画像信号電極143の電圧がともに0[V]のときは遮光状態となり、いずれか一方の電極電圧が駆動電圧Va[V]のときは、光透過状態になる。
【0239】
つまり、図35に示す光変調素子において、走査信号電極141に相当する固定電極131と、画像信号電極143に相当する光結合要素21が同電位(0[V])である場合には、光結合要素21は図示した通りの初期状態のようになり、透明基板2の下方から導入される励起光は前面板8側へは出射されずに遮光される。
一方、画像信号電極143、即ち、光結合要素21に画像信号電圧Vaが印加され、走査信号電極に0[V]の電圧が印加された場合は、この画像信号電圧Vaの印加された光結合要素21が静電気力により固定電極131側に吸引される。この結果、光変調素子3の光結合要素21が透明基板2側に近接配置され、透明基板2に導入された励起光が光結合要素21によって取り出され、前面板8側に出射される。2値の光変調が可能になる。
この基本原理により、図36に示した単純マトリックス構造で平面配列された光変調素子を駆動することができ、簡単な構造でコストパフォーマンスに優れた構成にできる。
【0240】
図36に示す構成の光変調素子3は、単純マトリックス駆動方式の構成であるが、この他にも、例えば図37に示すように、各光変調素子にアクティブ素子を設けてアクティブマトリクス駆動方式の構成としてもよい。図37には、アクティブ素子として、TFT(Thin Film Transistor)素子145等の半導体スイッチを画素毎に設けたアクティブマトリックス駆動方式の光変調素子3の構成を示した。この構成によれば、例えば、各光変調素子に接続されたTFT素子145を走査信号電極141からの信号によりオンオフ駆動する。これにより、オン状態にあるTFT素子145は、そのままの電圧を保ち、画像信号電極143と通じることができる。そして、画像信号電極143に信号を入力することで、オン状態にあるTFT素子145を有する目的の光変調素子を光透過状態にする一方、オフ状態にあるTFT素子145を有する光変調素子は遮光状態にする。この基本原理により、図37に示したアクティブマトリクス構造で平面配列された光変調素子を駆動することができ、高コントラストで高速表示が可能となる。
【0241】
次に、上記単純マトリクス駆動方式とアクティブマトリクス駆動方式による具体的な駆動方法について順次説明する。
まず、単純マトリクス駆動方法について説明する。
図38は印加電圧と光透過率との特性を示したヒステリシス線図、図39はマトリクス状に配列された光変調素子の平面図、図40は走査電極電圧及び信号電極電圧の組み合わせと、光変調素子の電極間電圧との関係を示した説明図、図41は2行2列のマトリクスに対する駆動信号を示す図である。
最初に光結合要素21の印加電圧と光透過率との特性を説明する。可動薄膜である光結合要素21を静電気応力によって変形及び弾性復帰させる場合、印加電圧Vgsと、光結合要素21の変位との関係は、ヒステリシス特性を示す。従って、印加電圧Vgsと、光透過率Tとの関係も、図38に示すようなヒステリシス特性を示す。
【0242】
このヒステリシス特性によれば、光変調素子は、VgsがVth(L) 以下であると、OFF(光遮蔽)状態を維持する。一方、VgsがVs (H) 以上になると、光変調素子は、ON(光透過)状態に飽和する。その後、光変調素子は、VgsがVth(H) 以上ではON状態を維持したままとなる。そして、VgsがVs (L) 以下になると、光変調素子は、OFF状態に飽和する。即ち、光変調素子は、VgsがVth(H) とVth(L) との範囲であれば、Vgsの履歴によって、T(ON)、T(OFF)の二つの状態を得ることができる。なお、Vgsの極性が負の場合には、上述と縦軸対象の特性になる。
【0243】
本実施形態では、図39に示すように、二行二列のマトリクスの各交点Tr(1,1)、Tr(1,2)、Tr(2,1)、Tr(2,2)に光変調素子を配置した構成としてある。各光変調素子は、一画素の領域(単色表示の場合)に対応させてある。
同じ行に配列された光変調素子のそれぞれの電極は、共通に接続して走査信号電極(走査電極)141としてある。この走査電極141には電位Vg が印加される。また、同じ列に配列された光変調素子のそれぞれの電極は、共通に接続して画像信号電極(信号電極)143としてある。この信号電極143には電位Vb が印加される。従って、各光変調素子に印加される電極141,143間の電圧Vgsは(Vb −Vg )となる。
【0244】
この光変調素子を駆動するには、走査信号に従って、行順次に走査電極141を走査し、これと同期させ、走査された電極141に対応するデータ信号を信号電極143に印加する。
【0245】
ここで、走査電極141には、リセット信号、選択信号、非選択信号の三種類の信号(電圧)が与えられる。
リセット信号は、光変調素子の以前の状態に拘わらず、その行の光変調素子をOFF(光遮蔽)にする。この時の走査電極141の電圧をVg(r)とする。
【0246】
選択信号は、その行にデータを書き込むための信号である。この信号と同時に、信号電極143に印加された電圧に従い、光変調素子の状態がON(光透過)又はOFF(光遮蔽)に決定される。この時の走査電極141の電圧をVg(s)とする。
【0247】
非選択信号は、選択がなされないときの信号である。この時、信号電極143の電圧に拘わることなく光変調素子の状態は変わらず、前の状態が維持される。この時の走査電極141の電圧をVg(ns) とする。
【0248】
一方、信号電極143には、ON信号、OFF信号の二種類の信号(電圧)が与えられる。ON信号は、選択された行の光変調素子に対し、光変調素子の状態をON(光透過)にする。この時の信号電極143の電圧をVb(on) とする。
【0249】
OFF信号は、選択された行の光変調素子に対し、光変調素子の状態をOFF(光遮蔽)にする。但し、実際には、直前で光変調素子がリセットされることを想定しているので、光変調素子の状態をOFF(光遮蔽)にする場合は、前の状態(OFF状態)を維持する信号でよい。この時の信号電極143の電圧をVb(off)とする。
【0250】
以上の走査電極電圧、信号電極電圧の組み合わせにより、光変調素子の電極間電圧Vgsは、以下の6種類の電圧に分けられる。また、電極間電圧Vgsと透過率の特性により、特定の条件が与えられることになる。
【0251】
Vgs(r-on) =Vb(on) −Vg(r) ≦ Vs(L)
Vgs(r-off) =Vb(off)−Vg(r) ≦ Vs(L)
Vgs(s-on) =Vb(on) −Vg(s) ≧ Vs(H)
Vgs(s-off) =Vb(off)−Vg(s) ≦ Vth(L)
Vgs(ns-on) =Vb(on) −Vg(ns) ≦ Vth(L)
Vgs(ns-off)=Vb(off)−Vg(ns) ≧ Vth(H)
【0252】
以上の条件をまとめると、図40に示す通りになる。
例えば、走査電極電圧Vg がリセットVg(r)で、信号電極電圧Vb がON即ちVb(on) の場合には、Vs(H)より大きい値の信号電極電圧Vb (図中太実線151)から、Vs(H)とVth(L) との間の値の走査電極電圧Vg (図中太実線153)が減算され、その値(図中太実線155)がVs(L)より小さくなる。
即ち、
Vgs(r-on)≦Vs(L)
となる。
その他同様にして、6種類の電圧が定まることになる。
【0253】
次に、このような電極間電圧Vgsと透過率との関係を利用して、光変調素子を2次元に配置したマトリクスにデータを書き込む方法を説明する。
マトリクスとしては、図39に示した2行2列のマトリクスを用いてデータの書き込みを行う。マトリクスの各光変調素子には、以下のON、OFFデータを書き込むものとする。
Tr(1,1) → ON Tr(1,2) → OFF
Tr(2,1) → OFF Tr(2,2) → ON
【0254】
この場合、マトリクスには、図41に示すような波形の電圧を印加する。
例えば、1行目Vg(1)には、
t1:リセット電圧 t2:選択電圧
t3:非選択電圧 t4:非選択電圧
を印加する。
1列目Vb(1)には、
t1:don't care t2:ON電圧
t3:OFF電圧 t4:don't care
を印加する。
これにより、各光変調素子に所望のデータが行順次で書き込まれる。
【0255】
即ち、例えば上述の1行1列目のマトリクスTr(1,1)の場合では、
Vgs:Vb(1)−Vg(1)であるから、
t1:リセット電圧(OFF) t2:ON
t3=状態維持 t4=状態維持となる。
【0256】
従って、t2におけるONの状態が維持(記憶)され、その結果、マトリクスTr(1,1)は光変調素子が「ON」の状態となる。その他、同様にして、他のマトリクスTr(1,2)は「OFF」、Tr(2,1)は「OFF」、Tr(2,2)は「ON」の状態となる。
【0257】
次に、アクティブマトリクス駆動方法について説明する。
図42は半導体トランジスタによるアクティブマトリクスの等価回路図である。光変調素子では、ゲート電極157に接続された走査信号電極141にTFT145を導通させる電圧Vg-onが印加される。そして、ドレイン電極158に接続された信号電極143に所望の画像信号電圧Vb が印加されると、ドレイン電極158とソース電極159とが導通する。従って、画像信号電圧が、画素電極161に印加されることになる。これにより、共通電極163の電位Vcom と画素電極161の電位との電圧差Vgs(Vb −Vcom )により静電気応力が働き、所望の光変調を行う。
この後に他の行の走査のため、TFT145が非導通となっても上述の光変調状態は維持され、複数の行のマトリクス変調が可能となる。
【0258】
つまり、図42に示すn行×m列のアクティブマトリクスの構成例では、走査信号電極141に順次走査電圧を印加し、これに接続されているTFT145を一斉にオン状態とする。同時に、画像信号電極143から画像信号電圧Vb を印加し、TFT145を通して各画素の静電容量に電荷を蓄積する。1行の走査が終了すると、TFT145はオフ状態となり、画素容量に蓄積された電荷はそのまま保持されることになる。
【0259】
図43は2行2列に配列した半導体アクティブマトリクスの等価回路図、図44は半導体アクティブマトリクスの各光変調素子に異なる波形の電圧を印加してデータを書き込む方法の説明図である。なお、光変調素子の印加電圧Vgsと光透過率Tの特性は、上述の単純マトリクス駆動で説明した特性(図38参照)と同じとする。
【0260】
ここで、図43に示す2行2列の画素電極に、以下の電位を書き込む具体的な駆動方法を説明する。
Tr(1,1)=ON Tr(1,2)=OFF
Tr(2,1)=OFF Tr(2,2)=ON
【0261】
同じ行に配列したTr(1,1)、Tr(1,2)、又はTr(2,1)、Tr(2,2)の画素電極161は、共通の走査信号電極141に接続してある。この走査信号電極141には、電位Vg が印加される。また、同じ列に配列したTr(1,1)、Tr(2,1)、又はTr(1,2)、Tr(2,2)の画素電極は、それぞれ共通の画像信号電極に接続してある。この画像信号電極には、電位Vb が印加される。
【0262】
このように構成したアクティブマトリクス素子を駆動するには、走査信号に従って、行順次にTr(1,1)、Tr(1,2)、又はTr(2,1)、Tr(2,2)の画素電極を走査し、これと同期させ、走査された画素電極に対応するデータ信号を列に配列したTr(1,1)、Tr(2,1)、又はTr(1,2)、Tr(2,2)の画素電極に印加する。
【0263】
この際、マトリクスには、図44に示すような波形の電圧を印加する。
例えば、1行目Vg(1)には、
t1:走査ON(導通)電圧 t2:走査OFF(非導通)電圧
を印加する。
【0264】
2行目Vg(2)には、
t1:走査OFF(非導通)電圧 t2:走査ON(導通)電圧
を印加する。
【0265】
1列目Vb(1)には、
t1:Tr(1,1)へON(透過)電圧 t2:Tr(2,1)へOFF(遮光)電圧
を印加する。
【0266】
2列目Vb(2)には、
t1:Tr(1,2)へOFF(遮光)電圧 t2:Tr(2,2)へON(透過)電圧
を印加する。
【0267】
これにより、Tr(1,1)の電位Vgsは、t1で電位がVs(H)となり、その結果、画素の状態がONとなり、t2以降はON状態が保持される。
Tr(1,2)の電位Vgsは、t1で電位がVs(L)となり、その結果、画素の状態がOFFとなり、t2以降は保持される。
Tr(2,1)の電位Vgsは、t1で電位がVs(L)となり、その結果、画素の状態がOFFとなり、t2以降は保持される。
Tr(2,2)の電位Vgsは、t1で電位がVs(H)となり、その結果、画素の状態がONとなり、t2以降はON状態が保持される。
【0268】
以上のように、ゲート電極157を行順次でON(導通)にし、それと同期させて信号電極143からON(透過)又はOFF(遮光)の電位を印加する。その後、ゲート電極157をOFF(非導通)にしても、光変調素子が容量性の場合、画素電極の電位は保持されることとなる。
【0269】
[第6実施形態]
【0270】
次に、本発明に係る平面表示素子の第6実施形態について説明する。本実施形態は、上述のアクティブマトリクス駆動による構成におけるアクティブ素子を機械的スイッチで構成したものである。
図45は各光変調素子に設けた機械的スイッチの概念的な構成例を示す平面図、図46は図45のQ−Q断面を示す断面図、図47は機械的スイッチを用いてアクティブマトリックス構成とした光変調素子の等価回路図である。
【0271】
図45,図46に示すように、基板165上には、ストライプ状の複数の平行な走査信号共通電極167を形成してある。基板165上には、少なくともこの走査信号共通電極167を覆う絶縁層169を形成してある。また、基板165上には、走査信号共通電極167に直交するストライプ状の複数の平行な画像信号電極143を形成してある。基板165上の走査信号共通電極167と画像信号電極143とに包囲された領域には、それぞれ光変調素子が配置される。
【0272】
走査信号共通電極167に沿ってストライプ状に形成された絶縁層169上には、複数の支柱171を絶縁層169の長手方向に沿って等間隔で設けてある。支柱171の上端部には、ストライプ状の可動薄膜173及び走査信号電極141を順次積層して架設してある。可動薄膜173は絶縁材料からなる。この可動薄膜173と走査信号電極141とは、支柱171に架設されることで、間隙を挟んで、絶縁層169に被覆された走査信号共通電極167と対向している。走査信号電極141と画像信号電極143とは、複数の交差部175を有するマトリクス状に配設されている。
【0273】
光変調素子の上面には、光結合要素21に接続される画素電極177を形成してある。絶縁層169上の画像信号電極143の近傍には、この画素電極177の一部分177aを延設してある。画像信号電極143と、この画素電極177の一部分177aとは、図46に示すように同一高さで、且つ間隙を隔てて平行に配設してある。つまり、非導通状態に配設されている。
【0274】
また、可動薄膜173の下面には、金属等からなる導電膜179を形成してある。導電膜179には、アルミ、銅、銀、金等を用いることができる。導電膜179は、画像信号電極143及び画素電極177aに空隙181を介して対向している。可動薄膜173、画像信号電極143、画素電極177(177a)、導電膜179は、マトリクス駆動手段である機械的導電スイッチ183を構成している。機械的導電スイッチ183は、マトリクス状に配設された走査信号電極141と画像信号電極143との各交差部175に設けられている。
【0275】
このように構成された機械的導電スイッチ183は、図46(a)に示すように、走査信号共通電極167に対して、走査信号電極141が同電位であると、可動薄膜173は静電気応力を受けず撓まない。従って、画像信号電極143と画素電極177(177a)とは、相互の間の抵抗が無限に近く大きく非導通状態を保つ。
一方、図46(b)に示すように、走査信号共通電極167に対して、走査信号電極141に電圧を印加すると、可動薄膜173が静電気応力によって基板165側に撓み、可動薄膜173の下方に位置する画像信号電極143及び画素電極177(177a)に導電膜179が電気的に接触する。これにより、画像信号電極143と画素電極177との電位が等しくなる。
【0276】
また、走査信号電極141の電圧をゼロにすると、可動薄膜173は弾性力により元の位置に復帰し、画像信号電極143及び画素電極177(177a)から離れる。これにより、図46(a)に示す状態となって、画像信号電極143と画素電極177とは、再び非導通状態となる。
【0277】
図47は機械的導電スイッチ183によるアクティブマトリクス構成の等価回路図である。この例に示すn行×m列のアクティブマトリクスの構成では、走査信号電極141に順次走査電圧を印加し、これに接続されている機械的導電スイッチ183を一斉にオン状態とする。同時に、画像信号電極143から画像信号電圧Vb を印加し、機械的導電スイッチ183を通して各画素の静電容量に電荷を蓄積する。1行の走査が終了すると、機械的導電スイッチ183はオフ状態となり、画素容量に蓄積された電荷はそのまま保持されることになる。
この後に他の行の走査のため、機械的導電スイッチ183が非導通となっても上述の光変調状態は維持され、複数の行のマトリクス変調が可能となる。
【0278】
図48に2行2列に配列した機械的導電スイッチを用いたアクティブマトリクスの等価回路図を示した。また、図49は可動薄膜のスイッチ特性を示すヒステリシス線図である。
ここで、図48に示す二行二列の画素電極に、以下の電位を書き込む具体的な駆動方法を場合を説明する。
Tr(1,1)=ON Tr(1,2)=OFF
Tr(2,1)=OFF Tr(2,2)=ON
【0279】
走査信号共通電極167に対する走査信号電極141の電圧をVg とすると、可動薄膜173によるスイッチ特性は、図49に示すようなヒステリシス特性を有する。即ち、Vg がVg-on以上になると導通(ON)し、Vg-off 以下になると非導通(OFF)になる。従って、機械的導電スイッチ183は、Vg がVg-onとVg-off との範囲であれば、Vg の履歴によって、ON、OFFの二つの状態を得ることができる。
【0280】
同じ行に配列したTr(1,1)、Tr(1,2)、又はTr(2,1)、Tr(2,2)の画素電極177は、共通の走査信号電極141に接続してある。この走査信号電極141には、電位Vg が印加される。また、同じ列に配列したTr(1,1)、Tr(2,1)、又はTr(1,2)、Tr(2,2)の画素電極177は、それぞれ共通の画像信号電極143に接続してある。この画像信号電極143には、電位Vb が印加される。
【0281】
このように構成したアクティブマトリクス素子を駆動するには、走査信号に従って、行順次にTr(1,1)、Tr(1,2)、又はTr(2,1)、Tr(2,2)の画素電極177を走査し、これと同期させ、走査された画素電極177に対応するデータ信号を列に配列したTr(1,1)、Tr(2,1)、又はTr(1,2)、Tr(2,2)の画素電極177に印加する。
【0282】
この際、マトリクスには、前述の図44に示すような波形の電圧を印加する。これにより、前述の半導体アクティブマトリクスの場合と同様に、Tr(1,1)の電位Vgsは、t1で電位がVs(H)となり、その結果、画素の状態がONとなり、t2以降はON状態が保持される。
Tr(1,2)の電位Vgsは、t1で電位がVs(L)となり、その結果、画素の状態がOFFとなり、t2以降は保持される。
Tr(2,1)の電位Vgsは、t1で電位がVs(L)となり、その結果、画素の状態がOFFとなり、t2以降は保持される。
Tr(2,2)の電位Vgsは、t1で電位がVs(H)となり、その結果、画素の状態がONとなり、t2以降はON状態が保持される。
【0283】
以上のように、走査信号電極141を行順次でONにし、それと同期させて画像信号電極143から任意の電位を印加する。その後、走査信号電極141をOFFにしても、機械的導電スイッチ183が容量性の場合、画素電極177の電位は保持されることとなる。その他の動作は、従来のトランジスタ形アクティブマトリクス素子と同様である。
【0284】
このように、走査信号電極141と画像信号電極143をマトリクス状に配置した交差部175に、機械的導電スイッチ183を設け、この機械的導電スイッチ183により、静電気力で可動薄膜173を撓ませて、機械的動作によって画像信号電極143と画素電極177とをON、OFFさせる。従って、従来、交差部に設けられていたMOS形等の半導体スイッチに代えて機械的にスイッチ部を作動させることが可能になり、以下に述べる種々の欠点を解決することができる。
【0285】
即ち、半導体形成独自の成膜や不純物ドーピング工程が不要となり、パターンニング工程が少なくなると共に、設計条件が緩やかになる。即ち、接合条件、不純物限度を厳密に管理する必要がなくなる。このため、スループットや歩留りが向上し、低コストでの大面積化が可能となる。また、導電膜179に金属を使用するので、従来の半導体スイッチ部に比べてキャリア移動度を高くすることができ、高精細・大面積化においても高速応答が期待できる。さらに、機械的導電スイッチ183を用いるため、外部からの光入射、水分、酸素、イオン、有機物の侵入に対する悪影響が半導体に比べて小さくなる。従って、これらの外乱による誤動作が生じにくくなり、動作信頼性、耐久性を高めることができる。
【0286】
【発明の効果】
本発明に係る平面表示素子によれば、可視光域の波長成分を含む光を出射する光源と、光源からの光の透過率を電気機械動作により制御する2次元マトリクス状に配列された光変調素子と、光変調素子を含む光路前方に表示画素に対応して設けられ少なくとも波長変換機能を有するフィルタを含む発色フィルタとを具備することにより、これを構成する各部材の材料として、UV耐性に優れた材料でなくても用いることができる。これにより、平面表示素子の設計自由度を向上させ、製造工程の簡略化を図ることができる。
また、本発明に係る平面表示素子の駆動方法では、2次元マトリクス状に配列された光変調素子に対し、行方向に沿って複数配設された走査信号電極と、該走査信号電極に直交して複数配設された画像信号電極とを具備して単純マトリクス駆動されることで、低コストな簡単な構成で画像表示が行える。また、さらに走査信号共通電極を加え、走査された走査信号電極へ光変調素子に接続されたアクティブ素子を介して画像信号電極から信号電圧を印加するといったアクティブマトリクス駆動方式によって表示のための駆動を行うことにより、高コントラストで高速応答可能な表示が行える。
【図面の簡単な説明】
【図1】本発明に係る平面表示素子の概略的な基本構成を示す図である。
【図2】第1実施形態に係る平面表示素子の概念的な構成を示す図である。
【図3】光源と全反射光学部材と光結合要素とを示す図である。
【図4】全反射光学部材の具体的な一構成例を示す図である。
【図5】光路変換膜として透過型の回折格子を用いた例を示す図である。
【図6】光路変換膜として光拡散板を用いた例を示す図である。
【図7】光路選択膜の一構成例としての光干渉フィルタの層構成を示す図である。
【図8】光路を変化させる光学要素、光路を選択する光学要素、透明媒質u、透明媒質v、全反射面の前方側の透明媒質wがこの順で配置された光学素子に対し、各界面における入射角と各媒質の平均屈折率の関係を示す図である。
【図9】光路選択膜への入射光の入射角度を示す図である。
【図10】入射光の波長に対する光路選択膜の分光透過率を入射角毎に示したグラフである。
【図11】屈折による光路選択膜内外の光路を示す図である。
【図12】波長λに対する分光透過率Tの変化を入射角θ毎に示したグラフである。
【図13】入射角θに対する分光透過率Tを波長λ毎に示したグラフである。
【図14】光路選択膜を液晶膜により構成した例を示す図である。
【図15】図14に示す光路選択膜による分光透過率を示すグラフである。
【図16】屈折により光路を変更する光結合要素を示す図であって、(a)はレンズアレイ、(b)はプリズムアレイ、(c)は屈折率分布レンズ体である。
【図17】取り出した光を拡散又は散乱させる光結合要素を示す図であって、(a)は多孔質体、(b)は高屈折率微粒子等の異なる屈折率を有する物質の分散体又は分布体、(c)は表面に凹凸が形成された光拡散体又は光散乱体である。
【図18】全反射光学部材の他の構成例をそれぞれ示す図である。
【図19】透明基板を全反射導光板として使用して入射光を側方から導入する構成例を示す図である。
【図20】発色フィルタに反射膜を設けた一構成例を示す図である。
【図21】発色フィルタに外部光減衰フィルタを設けた一構成例を示す図である。
【図22】発色フィルタを光結合要素に接して設けた一構成例を示す図である。
【図23】発色フィルタを光結合要素内に設けた一構成例を示す図である。
【図24】第2実施形態の平面表示素子の概略的な構成図を示す図である。
【図25】干渉型の光変調素子の具体的な構成と動作を示す説明図である。
【図26】図25の光変調素子の光強度透過率を示すグラフである。
【図27】遮光型の光変調素子の具体的な構成と動作を示す説明図である。
【図28】スライド型の光変調素子の遮光状態における概略構成図であり、(a)は平面図、(b)は(a)のP−P断面図である。
【図29】スライド型の光変調素子の透過状態における概略構成図であり、(a)は平面図、(b)は(a)のP−P断面図である。
【図30】櫛形の光変調素子を一部切り欠いて示した斜視図である。
【図31】図30の光変調素子に対する具体的な駆動方法を説明する図である。
【図32】第3実施形態に係る平面表示素子の概念的な構成を示す図である。
【図33】薄膜無機ELを用いて平面光源を構成した一例を示す断面図である。
【図34】第4実施形態に係る平面表示素子の概念的な構成を示す図である。
【図35】第5実施形態に係る平面表示素子の光変調素子及び前面板の概念的な構成を示す斜視図である。
【図36】平面表示素子の光変調素子を単純マトリックス駆動する構成を示す説明図である。
【図37】各光変調素子にアクティブ素子を設けてアクティブマトリクス駆動する構成を示す説明図である。
【図38】印加電圧と光透過率との特性を示したヒステリシス線図である。
【図39】マトリクス状に配列された光変調素子の平面図である。
【図40】走査電極電圧及び信号電極電圧の組み合わせと、光変調素子の電極間電圧との関係を示した説明図である。
【図41】2行2列のマトリクスに対する駆動信号を示す図である。
【図42】半導体トランジスタによるアクティブマトリクスの等価回路図である。
【図43】2行2列に配列した半導体アクティブマトリクスの等価回路図である。
【図44】半導体アクティブマトリクスの各光変調素子に異なる波形の電圧を印加してデータを書き込む方法の説明図である。
【図45】第6実施形態における各光変調素子に設けた機械的スイッチの概念的な構成例を示す平面図である。
【図46】図45のQ−Q断面を示す断面図である。
【図47】機械的スイッチを用いてアクティブマトリックス構成とした光変調素子の等価回路図である。
【図48】2行2列に配列した機械的導電スイッチを用いたアクティブマトリクスの等価回路図である。
【図49】可動薄膜のスイッチ特性を示すヒステリシス線図である。
【図50】従来の平面表示素子の構成を説明する図である。
【符号の説明】
1 平面表示素子
2 透明基板
3 光変調素子
4 支柱
5 青色フィルタ(発色フィルタ)
6 緑色変換フィルタ(発色フィルタ)
7 赤色変換フィルタ(発色フィルタ)
8 前面板
9 ブラックマトリクス
10 平面光源
10b 拡散板
10a 蛍光ランプ
11 光源
13 光路変換膜
15 光路選択膜
16 光路選択膜
17 全反射光学部材
19 全反射面
21 光結合要素
45 反射膜
47 外部光減衰フィルタ
51 光変調素子
53 下側透明電極
55 下側干渉膜
57 透明スペーサ
59 支柱
61 上側干渉膜
63 上側透明電極
65 可動薄膜
67 空隙
71 光変調素子
73 透明電極
75 遮光膜
77 絶縁膜
78 支柱
79 遮光板
81 光変調素子
82 対向電極
83 対向電極
84 電極遮光板
85 遮光膜
86 折れ線バネ
87 支持部
91 光変調素子
92 遮光膜
93 スペーサ
94 格子体
95 可動子
95b 絶縁膜
95c 導電膜
96 スリット
97 光変調領域
101 平面光源
105 カソード電極
107 有機EL層
109 アノード電極
111 透明基板
112 電源
113 電極層
115 絶縁層
117 蛍光体薄膜層
119 透明電極層
121 平面光源
131 固定電極
133 絶縁膜
135 支柱
141 走査信号電極
143 画像信号電極
145 アクティブ素子
157 ゲート電極
158 ドレイン電極
159 ソース電極
161 画素電極
163 共通電極
165 基板
167 走査信号共通電極
169 絶縁層
171 支柱
173 可動薄膜
175 交差部
177 画素電極
179 導電膜
181 空隙
183 機械的導電スイッチ
100,200,300,400 平面表示素子[0001]
BACKGROUND OF THE INVENTION
The present invention relates to a flat display element using visible light as excitation light of a light emitter and a driving method thereof, and more particularly to a technique for allowing a margin for selection of element materials.
[0002]
[Prior art]
Conventionally, various types of thin flat display devices have been proposed. Typical examples include a liquid crystal display element using a liquid crystal electro-optic effect, a plasma display device, a field emission display, organic electroluminescence, and inorganic. There is electroluminescence.
[0003]
(1) A liquid crystal display element (LCD) includes nematic liquid crystal aligned between a substrate on which a pair of conductive transparent films are formed, aligned in parallel with the substrate and twisted 90 degrees between both substrates. It has a structure in which it is sealed and sandwiched between orthogonal polarizing plates. This liquid crystal display element utilizes the fact that by applying a voltage to the conductive transparent film, the long axis direction of the liquid crystal molecules is aligned perpendicular to the substrate, and the transmittance of light from the backlight changes. Done. An active matrix liquid crystal panel using TFTs (thin transistors) is used to provide good moving image compatibility.
[0004]
(2) In the plasma display device (PDP), a plurality of regularly arranged orthogonal electrodes corresponding to discharge electrodes are arranged between two glass plates filled with a rare gas such as neon, helium, and xenon, A structure in which the intersection of the counter electrodes is a unit pixel. Image display by this plasma display device is based on image information, by selectively applying a voltage to a counter electrode that identifies each intersection, thereby causing the intersection to discharge and emit fluorescence. This is done by exciting the body to emit light.
[0005]
(3) A field emission display (FED) has a structure as a flat display tube in which a pair of panels are arranged to face each other with a minute interval and the periphery of these panels is sealed. A fluorescent film is provided inside the panel on the display surface side, and a field emission cathode is arranged for each unit light emitting region on the back panel. A typical field emission cathode has a conical-projection field emission type microcathode called a micro-size emissive. The display by the FED is performed by exciting the phosphor by taking out electrons using an emissive and irradiating the electrons with acceleration.
[0006]
(4) Organic electroluminescence (organic EL) can easily cover the entire visible region by selecting an organic material to be used as a light-emitting material. In recent years, many high-brightness and high-efficiency materials have been developed and prospered. Research has been conducted. The device life has exceeded 10,000 hours in continuous operation and has been put into practical use as a color display.
[0007]
(5) Inorganic electroluminescence (inorganic EL) uses collision excitation by an electric field, and has been actively studied as a small or large and light flat display. For example, a monochrome thin film EL display using a phosphor thin film made of manganese-added zinc sulfide that emits yellow-orange light has already been put into practical use.
[0008]
However, such a conventional flat display device has various problems described below.
(1) In the LCD, since light from the backlight is transmitted through multiple layers of a polarizing plate, a transparent electrode, and a color filter, there is a problem that light utilization efficiency is lowered. In addition, a high-quality TFT requires a high-cost TFT, and there is a drawback that it is difficult to increase the area because liquid crystal must be sealed between two substrates and aligned. Further, since light is transmitted through the aligned liquid crystal molecules, there is a disadvantage that the viewing angle becomes narrow, and it is particularly difficult to completely correct the viewing angle dependence of the intermediate color.
[0009]
(2) In the PDP, there is a drawback that the manufacturing cost increases due to the formation of the partition wall for generating plasma for each pixel and the weight is increased. In addition, a large number of electrodes corresponding to the discharge electrodes must be regularly arranged for each unit pixel. For this reason, when it becomes high definition, the light emission (discharge) efficiency is lowered, and the phosphor has low light emission efficiency by excitation with vacuum ultraviolet rays, so that it is difficult to obtain a high-definition and high-brightness image with high power efficiency. . Further, there are disadvantages such as a high driving voltage and an expensive driving IC.
[0010]
(3) In the FED, in order to stabilize the discharge with high efficiency, it is necessary to set the inside of the panel to an ultra-high vacuum, and there is a drawback that the manufacturing cost is increased like the plasma display device. In addition, there is a disadvantage that a high voltage is required for accelerating the field-discharged electrons and irradiating the phosphor.
[0011]
(4) In the organic EL, a low-temperature polysilicon TFT is required to manufacture a large-area display screen of 10 inches or more with an active matrix, and accordingly, the cost is high and the display uniformity is not good.
[0012]
(5) Inorganic EL has low luminous efficiency, high cost, requires a high-voltage drive IC, and lacks performance. In addition, thin-film EL displays using sulfide phosphor thin films are excellent in reliability and environmental resistance, but at present, the properties of EL phosphors that emit light in the three primary colors of red, green, and blue are sufficient. Therefore, it is not suitable for full color.
[0013]
Therefore, in order to eliminate the drawbacks of the existing display elements, for example, a PL-MEMS (Photo Luminescence-Micro Electro Mechanical System) type flat display device as described in
[Patent Document 1]
JP 11-258558 A
[0014]
As this type of flat display element, for example, a light guide plate type described in the following document is also known.
[Non-Patent Document 1]
Large-Area Micromechanical Display IDRC 1997, p230-p233
[Patent Document 2]
US Pat. No. 5,771,321
[Patent Document 3]
Special Table 2000-505911
[0015]
There are various types of such flat display elements, such as those using a piezoelectric effect by applying voltage as an electromechanical operation, and those using an electromagnetic force by applying current. Especially, those using static electricity are light modulation. If the amount of displacement of the movable thin film is about 1 μm, high-speed driving of several μs or less is possible with low voltage and low power consumption.
[0016]
Next, the above flat display element will be described with reference to FIG. 50 by taking the configuration described in
The
[0017]
In the
[0018]
[Problems to be solved by the invention]
However, in such a flat display element, a light source that emits high-energy UV light is used because of efficient excitation and emission of the phosphor, and therefore, it is used for each component of the flat display element. As a material, there was a problem that it was limited to a material excellent in UV light resistance. For this reason, the material selection of each constituent member is greatly restricted, and there is a problem that it is difficult to improve the design freedom of the surface display element and to simplify the manufacturing process.
[0019]
The present invention has been made in view of such circumstances, and by configuring a flat display element using a light source that emits light in the visible light range, even a material that does not have UV light resistance can be used as a material for a constituent member. An object of the present invention is to provide a flat display element and a driving method thereof, and to improve the design freedom of the flat display element and simplify the manufacturing process.
[0020]
[Means for Solving the Problems]
In order to achieve the above object, a surface display element according to
[0021]
In this flat display element, display is performed using light having a wavelength component in the visible light range. Therefore, it is not necessary to use a material having excellent UV resistance as the material of each member constituting the flat display element. The degree of freedom in designing the element can be improved and the manufacturing process can be simplified.
[0022]
The flat display element according to
[0023]
In this flat display element, the color conversion filter converts the light from the light source into light of another wavelength and emits it in front of the optical path, so that light of wavelength components other than the wavelength of the light source light can be displayed.
[0024]
The flat display element according to
[0025]
In this flat display element, for example, when the light source light is blue, the light can be emitted and converted from blue to green.
[0026]
The flat display element according to
[0027]
In this flat display element, for example, when the light source light is blue, the light can be emitted and converted from blue to red.
[0028]
The flat display element according to
[0029]
In this flat display element, the light source light can be converted into blue light for light emission display. Further, when the light source light is blue, it can be converted into blue with higher color purity.
[0030]
The flat display element according to
[0031]
In this flat display element, a specific color can be developed by allowing a color filter to transmit only a specific color component.
[0032]
The flat display element according to
[0033]
In this flat display element, only the green component of the light source light is transmitted, and a green display can be performed.
[0034]
The flat display element according to
[0035]
In this flat display element, only the red component of the light source light is transmitted, and a red display can be performed.
[0036]
The flat display element according to
[0037]
In the flat display element, only the blue component of the light source light is transmitted, and blue display can be performed.
[0038]
The flat display element according to
[0039]
With this flat display element, particularly when the light source light is blue, the direction of the light source light can be eliminated, and uniform display without direction dependency can be performed.
[0040]
The flat display element according to
[0041]
In this flat display element, the color forming filters are arranged apart from the light modulation element, so that each of them can be manufactured independently, and the manufacturing process can be simplified.
[0042]
The flat display element according to
[0043]
In this flat display element, the light source light passes through the reflection film to cause the color conversion filter to emit light, and the excitation light is directed to the front of the optical path by the reflection film. Thereby, the light use efficiency can be improved and the light emission luminance can be increased.
[0044]
According to a thirteenth aspect of the present invention, there is provided a flat display element including an external light attenuation filter that attenuates external light in front of an optical path of the color filter.
[0045]
In this flat display element, even when external light is irradiated on the flat display element, the display light becomes easy to observe and the image display quality is improved.
[0046]
The flat display element according to
[0047]
In this flat display element, the reflection of external light is reduced without using a color change by using the ND filter, and the reflection in the specific polarization direction is absorbed by using the polarization filter, thereby preventing the reflection. Is done.
[0048]
The flat display element according to
[0049]
In this flat display element, by using light in the visible light region of 400 nm to 520 nm, it is not necessary to give each component member of the flat display element UV resistance, particularly when compared with the case of using UV light. The degree of freedom is improved.
[0050]
The flat display element according to
[0051]
In this flat display element, conversion to another color, for example, green or red, can be performed with high efficiency by using blue light having high energy among visible light.
[0052]
The flat display element according to
[0053]
In this flat display element, light source light can be obtained using any one of a fluorescent lamp, LED, laser, organic EL, thin-film inorganic EL, and FED.
[0054]
The flat display element according to
[0055]
Since this flat display element uses a light modulation element that operates a movable thin film using electrostatic force, low voltage and low power consumption and high speed driving can be easily realized.
[0056]
The flat display element according to
[0057]
In this flat display element, the color filter is in contact with the movable thin film or provided in the movable thin film, whereby the configuration of the flat display element can be simplified and the thickness can be further reduced.
[0058]
The flat display element according to
[0059]
In the flat display element, when the introduced incident light is irradiated onto the total reflection optical member and introduced into the total reflection optical member, at least a part of the introduced incident light is a layer that the light modulation element forms. In contrast, the incident light is not substantially emitted from the side opposite to the incident light introduction side. By selectively placing the optical coupling element that couples the incident light to the total reflection surface of the total reflection optical member and selectively takes it out, the total reflected light is extracted to the optical coupling element arranged in the vicinity and is placed in front of the incident light optical path. Emitted.
[0060]
The flat display element according to
[0061]
In this flat display element, planar incident light can be introduced into the light modulation element with high efficiency, and selective light modulation can be performed according to the close arrangement state of the optical coupling elements.
[0062]
23. The flat display element according to
[0063]
In this flat display element, an optical path conversion film for changing the optical path of incident light is disposed in the light modulation element, and the incident light is introduced into the optical path conversion film in a planar shape. The introduced planar incident light has its optical path changed in a specific direction or any direction by the optical path conversion film, and substantially all of it is reflected by total reflection at the interface of the layers constituting the light modulation element. Is done. Therefore, it is possible to introduce planar incident light directly and with high efficiency without being limited by the shape of the incident light, the introduction position, and the type of the light source, and the total reflection at the desired interface. Light can be obtained with high efficiency.
[0064]
The flat display element according to claim 23, wherein the total reflection optical member includes an optical path selection film that selects an optical path in the total reflection optical member, and the planar reflection light that is introduced into the total reflection optical member. At least a part is introduced into the optical path selection film, and substantially all of the introduced incident light is reflected by total reflection at the interface of the layers constituting the total reflection optical member.
[0065]
In this flat display element, an optical path selection film for selecting an optical path of incident light is disposed in the light modulation element, and incident light is introduced into the optical path selection film in a planar shape. Of the introduced planar incident light, only light of a specific direction component is extracted by the optical path selection film, and substantially all of the light of other direction components is reflected at the interface of the optical path selection film. Thereby, substantially all of the light introduced into the light modulation element is reflected by total reflection at the interface of the layers constituting the light modulation element. Therefore, it is possible to introduce planar incident light directly and with high efficiency without being limited by the shape of the incident light, the introduction position, and the type of the light source, and the total reflection at the desired interface. Light can be obtained with high efficiency.
[0066]
The flat display element according to claim 24, wherein the total reflection optical member includes an optical path conversion film that changes an optical path from an incident light introduction side in a thickness direction of the total reflection optical member, and an optical path selection film that selects an optical path. Are arranged in this order, and when the incident light is introduced into the optical path conversion film in a planar shape, at least a part of the introduced incident light is introduced into the optical path selection film, and substantially all of the introduced incident light is introduced. Is reflected by total reflection at the interface of the layers constituting the light modulation element.
[0067]
In this flat display element, an optical path changing film for changing the optical path and an optical path selecting film for selecting the optical path are arranged in this order from the incident light introducing side in the thickness direction of the light modulating element, and the planar shape is formed on the optical path converting film. Incident light is introduced into the. The introduced incident light has its optical path changed in a specific direction or an arbitrary direction by the optical path conversion film, and only the incident light in the specific direction is transmitted by the optical path selection film. Thereby, substantially all of the light introduced into the light modulation element is reflected by total reflection at the interface of the layers constituting the light modulation element. Therefore, it is possible to introduce planar incident light directly and with high efficiency without being limited by the shape of the incident light, the introduction position, and the type of the light source, and the total reflection at the desired interface. Light can be obtained with high efficiency.
[0068]
The flat display element according to claim 25 is characterized in that the optical path conversion film and the optical path selection film are in optical contact.
[0069]
In this flat display element, the optical path conversion film and the optical path selection film are in optical contact with each other, so that both light coupling properties can be improved and the optical path conversion film has directionality. Incident light can be introduced from the optical path conversion film into the optical path selection film while maintaining the incident angle component.
[0070]
The flat display element according to claim 26 is characterized in that the optical path conversion film and the optical path selection film are in optical contact with each other through a medium having a refractive index larger than 1.
[0071]
In this flat display element, the optical path conversion film and the optical path selection film are in optical contact with each other through a medium having a refractive index larger than 1, so that the optical path conversion is not caused at the interface with the medium. Incident light can be introduced from the film to the optical path selection film.
[0072]
A flat display element according to a twenty-seventh aspect is provided with a transparent medium that constitutes a part of a total reflection optical member, and the optical path conversion film is disposed in front of an optical path of the transparent medium.
[0073]
In this flat display element, incident light is introduced into the optical path conversion film after passing through the transparent medium, and only incident light in a specific direction is transmitted.
[0074]
A flat display element according to a twenty-eighth aspect is characterized in that a transparent medium constituting a part of the total reflection optical member is provided, and the optical path selection film is arranged in front of the optical path of the transparent medium.
[0075]
In this flat display element, incident light is introduced into the optical path selection film after passing through the transparent medium, and only incident light in a specific direction is transmitted.
[0076]
The flat display element according to claim 29 is provided with a transparent medium constituting a part of the total reflection optical member, and the optical path conversion film and the optical path selection film are arranged in this order in front of the optical path of the transparent medium. And
[0077]
In this flat display element, incident light is introduced into the optical path conversion film after passing through the transparent medium, and the optical path of the incident light is changed to a specific direction or an arbitrary direction, and further introduced into the optical path selection film, Only incident light in the direction is transmitted.
[0078]
The flat display element according to
[0079]
In this flat display element, at least light having an angle θt satisfying the condition of sin θt> nw / nt is transmitted through the optical path conversion film and output forward while changing the optical path.
[0080]
A flat display element according to a thirty-first aspect is characterized in that the optical path changing film changes an optical path by refraction.
[0081]
In this flat display element, the optical path conversion film can be introduced into the light modulation element without substantially reducing the intensity of the incident light by changing the optical path of the incident light by refraction.
[0082]
A flat display element according to a thirty-second aspect is characterized in that the optical path changing film is any one of a lens array, a prism array, and a different kind of refractive index distribution body in which different refractive indexes are distributed.
[0083]
In the flat display element, by appropriately selecting a lens array, a prism array, and an optical element using a different refractive index distribution body suitable for mass production, good performance can be exhibited while reducing costs.
[0084]
A flat display element according to a thirty-third aspect is characterized in that the optical path changing film changes an optical path by diffraction.
[0085]
In this flat display element, the optical path conversion film changes the optical path of the incident light by, for example, diffraction by a transmissive diffraction grating, so that the incident light can be introduced into the light modulation element with a highly accurate incident angle.
[0086]
A flat display element according to a thirty-fourth aspect is characterized in that the optical path changing film is any one of a volume hologram, a phase modulation type diffraction grating, and an amplitude modulation type diffraction grating.
[0087]
With this flat display element, mass transfer production is possible, for example, by a photopolymer method or an injection molding method, and the cost of the flat display element itself can be reduced.
[0088]
A flat display element according to a thirty-fifth aspect is characterized in that the optical path changing film changes an optical path by light diffusion.
[0089]
In this flat display element, the optical path conversion film changes the optical path by light diffusion, so that incident light can be incident on the light modulation element from an arbitrary direction.
[0090]
The flat display element according to claim 36 is characterized in that the optical path changing film is any one of a porous body, a different refractive index distribution body or a dispersion, a diffuser having a concavo-convex surface, or a scatterer.
[0091]
This flat display element can exhibit good performance while reducing costs by appropriately selecting an optical element including a porous body, a different refractive index distribution body or dispersion body, and a diffusion body suitable for mass production.
[0092]
The flat display element according to
[0093]
In this flat display element, the optical path conversion film changes the optical path by light reflection, so that incident light can be incident on the light modulation element from an arbitrary direction.
[0094]
39. The flat display element according to claim 38, wherein the optical path selection film is such that substantially all of the transmitted light emitted from the optical path selection film is an interface between layers preceding the optical path selection film or an optical path selection film. The incident light has an angle component larger than the total reflection critical angle at the interface in front of the optical path, and incident light having other angle components is selectively reflected and not transmitted.
[0095]
In this flat display element, the optical path selection film has substantially all of the transmitted light emitted from the optical element at the interface of the layer in front of the optical path selection film or the interface in front of the optical path selection film of the optical path selection film. The incident light having an angle component larger than the total reflection critical angle is selectively reflected by the optical path selection film. Therefore, only the incident light of the incident angle component that is totally reflected at the interface in front of the incident light optical path is selectively transmitted from the optical path selection film, and the incident light of the incident angle component that is not totally reflected is not transmitted.
[0096]
The flat display element according to
[0097]
In this flat display element, light having an angle θs satisfying the condition of sin θs> nw / ns is transmitted through the optical path selection film substantially entirely, and other light is reflected, whereby only a specific light component is selectively transmitted. Is done.
[0098]
The flat display element according to
[0099]
In this flat display element, the optical path selection film has a function of selectively reflecting the wavelength range of incident light, and the incident angle of the incident light on this optical element is shallow with respect to the surface of the optical element. As a result, the wavelength of incident light that is selectively reflected shifts to the short wavelength side. Using this property, it is possible to design an optical path selection film so that only incident light with a predetermined incident angle component is transmitted, and to selectively extract only incident light with an incident angle component that causes total reflection. .
[0100]
42. The flat display element according to
[0101]
In this flat display element, the incident angle of the incident light on the optical path selection film varies depending on the incident angle and the refractive condition of each layer. When the angle is less than or equal to the angle, the optical path selection film selectively reflects substantially all of the incident light. Thereby, incident light having an angle component that is not totally reflected at the total reflection interface is selectively reflected and is not transmitted forward of the optical path.
[0102]
A flat display element according to a forty-second aspect is characterized in that the optical path selection film is an optical interference filter including a dielectric multilayer film.
[0103]
In this flat display element, an arbitrary wavelength selective reflection film can be formed with a large area and a simple configuration by using an optical interference filter including a dielectric multilayer film, and it is easy to use the incident angle dependence of the reflection wavelength. An optical path selection film can be formed.
[0104]
The flat display element according to
[0105]
In this flat display element, an optical path selection film can be formed at low cost by using a Bragg reflection filter including a cholesteric liquid crystal and a volume hologram.
[0106]
A flat display element according to a 44th aspect is characterized in that substantially all of the totally reflected incident light returns to the incident light introduction side of the total reflection optical member.
[0107]
In this flat display element, substantially all of the totally reflected incident light returns to the incident light introduction side of the light modulation element, so that light guide, accumulation, confinement, etc. are performed in a medium having a total reflection surface. There is virtually no.
[0108]
A flat display element according to a 45th aspect is characterized in that an organic EL light source is integrally formed on a surface of the total reflection optical member opposite to the light modulation element.
[0109]
In this flat display element, light from the organic EL light source is directly incident on the light modulation element, and the configuration of the flat display element can be simplified.
[0110]
A flat display element according to a 46th aspect is characterized in that the light source is a point or line light source, and linear light is introduced from one end of the total reflection optical member to guide total reflection.
[0111]
In this flat display element, the flat display element can be thinned by introducing incident light by total reflection light guide.
[0112]
The flat display element according to a 47th aspect is characterized in that the layer constituting the total reflection optical member has substantially no absorption in the wavelength range of the incident light.
[0113]
In this flat display element, the layers constituting the total reflection optical member are not substantially absorbed in the wavelength range of the incident light, so that the loss of the incident light and the totally reflected incident light is suppressed to increase the efficiency. Can do.
[0114]
A flat display element according to a 48th aspect is characterized in that the light modulation element changes a light path opening area by displacement of the movable thin film to control light transmittance.
[0115]
In this flat display element, the light transmittance can be easily controlled by changing the optical path opening area by the displacement of the movable thin film.
[0116]
50. The flat display element according to claim 49, wherein the light modulation element changes the distance between the interference film provided on the movable thin film and the interference film provided on the fixed side by the displacement of the movable thin film, thereby transmitting light. It is characterized by controlling the rate.
[0117]
In this flat display element, light modulation by Fabry-Perot interference is performed between the interference films, and only light of a specific wavelength is selectively transmitted and reflected.
[0118]
A flat display element driving method according to
[0119]
In this flat display element driving method, the flat display element is displayed and driven by simple matrix driving, and an image can be displayed with a simple structure at low cost.
[0120]
A driving method of a flat display element according to
[0121]
In this driving method of a flat display element, the flat display element is driven by active matrix driving, and display capable of high contrast and high speed response can be performed.
[0122]
The flat display element driving method according to claim 52 is characterized in that a semiconductor switch is used as the active element.
[0123]
In this method of driving a flat display element, each light modulation element can be actively driven by a semiconductor switch.
[0124]
The driving method of the flat display element according to
[0125]
In the driving method of the flat display element, the switching operation using the mechanical conductive switch eliminates the need for the film formation and impurity doping process unique to the semiconductor formation, reduces the patterning process, and reduces the design conditions. Throughput and yield are improved, and a large area can be obtained at low cost. In addition, high-speed response can be expected even with high definition and large area.
[0126]
DETAILED DESCRIPTION OF THE INVENTION
Hereinafter, embodiments of a flat display element and a driving method thereof according to the present invention will be described in detail with reference to the drawings.
First, the principle of the flat display element according to the present invention will be described.
FIG. 1 shows a schematic basic configuration of a
[0127]
The
[0128]
According to the above configuration, when excitation light containing blue is introduced into the
[0129]
The
[0130]
Moreover, as a specific material of the fluorescent substance (dye) of the red
[0131]
The
[0132]
Moreover, as a base material which apply | coats these fluorescent substances, a glass plate, a resin plate, a resin film etc. are possible, for example. As the resin used for the resin plate or the resin film, for example, a transparent resin (polymer) such as polymethyl methacrylate, polyacrylate, polycarbonate, polyvinyl alcohol, polyvinyl pyrrolidone, hydroxyethyl cellulose, carboxymethyl cellulose, or the like can be used. is there.
[0133]
Furthermore, the fluorescent substance contained in the color conversion filter in the present invention may be one kind, but a plurality of kinds of fluorescent substances may be mixed and used. In this case, blue, green and red light emitters with high color purity suitable for producing a full color display can be obtained. When red light is emitted using blue light, a fluorescent material exhibiting a large wavelength change is required, but in reality, the number of such fluorescent materials is not large. Therefore, when a fluorescent material that absorbs blue light and emits green light when emitting red light and a fluorescent material that absorbs green light and emits red light coexist, blue light is converted into red in two stages. Converted to light.
[0134]
In this method, the second phosphor can be added for the purpose of increasing the color purity or improving the light emission efficiency in green or red light emission. However, the types of the phosphors are not limited to two, and three or more phosphors can be mixed at an arbitrary ratio in order to adjust the color and improve the light emission efficiency. The phosphor can be used as it is, or fine particles in which the phosphor is kneaded or fine particles whose surface is coated with the phosphor may be used as they are or mixed with a binder resin. Furthermore, in addition to the fluorescent substance and the binder, an additive can be added to the fluorescent substance in order to exhibit its function. For example, silica, titania, glass, organic fine particles, talc, and the like can coexist for light scattering for efficiently absorbing excitation light in a fluorescent substance. Further, in order to adjust the color of light emitted from the fluorescent material, a compound such as a pigment or a dye that can absorb light of a specific wavelength may be mixed.
The fluorescent substance can be formed using a known technique such as a printing method using an ink in which a fluorescent material is kneaded into an ink base, or a coating method using a photolithography method.
[0135]
Further, the green filter may be a color filter that transmits only the green component with respect to incident light, and the red filter may be configured as a color filter that transmits only the red component with respect to incident light. Good. In this case, white light is used as the light source.
[0136]
The excitation light can be introduced into the
[0137]
Next, each embodiment of the flat display element of the present invention using the above principle will be specifically described sequentially.
[First Embodiment]
First, a first embodiment of a flat display element according to the present invention will be described.
FIG. 2 shows a conceptual configuration of the flat display element according to the present embodiment. Note that members having the same functions as those shown in FIG. 1 are given the same reference numerals, and the description thereof will be omitted hereinafter.
The
[0138]
First, the planar
The planar
[0139]
When the incident light from the planar
[0140]
The planar
[0141]
Next, the total reflection
As shown in FIG. 3, when the planar incident light is introduced from the planar
On the other hand, in a region where the
[0142]
The
Therefore, according to the
[0143]
Below, each component of the total reflection
FIG. 4 shows a specific configuration example of the total reflection
[0144]
The optical
[0145]
When light diffusion is used, the light diffusing plate shown in FIG. 6 is used, a porous body (see FIG. 6A), and a heterogeneous refractive index distribution body in which
[0146]
In the optical
θC= Sin-1(N2 / n1) (1)
[0147]
A specific configuration example of the optical
The optical interference filter is a dielectric multilayer film that is formed by sequentially laminating a high-refractive index material and a low-refractive index material. The optical characteristics of the optical interference filter will be described later in detail. The wavelength which selectively reflects according to an incident angle shifts to the short wavelength side. Now, let the wavelength range of incident light be λiS~ ΛiL(ΛiS<ΛiL), The outgoing angle of the selectively transmitted light emitted from the optical
[0148]
According to this configuration, a reflection film capable of selecting an arbitrary wavelength with a large area and a simple configuration can be formed, and the optical
[0149]
Here, the optical properties of the optical
First, consider a case where the optical
[0150]
nv · sin θv = nw
nu · sin θu = nv · sin θv = nw
ns · sin θs = nu · sin θu = nw
nt · sin θt = ns · sin θs = nw (2)
Here, θt, θs, θu, and θv are optical path angles in the respective media.
[0151]
Therefore, the conditions for the optical
sinθt> nw / nt
It is necessary to output at least the light of the angle θt that satisfies the above condition and output it in front of the optical path. Preferably, as much light as possible with an angle θt that satisfies this condition is included and output to the front of the optical path. If the transparent medium w is air, nw = 1, and the above condition is
sinθt> 1 / nt
It becomes.
[0152]
On the other hand, the condition of the optical
sinθs> nw / ns
It is set so that only light satisfying the above condition is transmitted. If the transparent medium w is air, nw = 1, and the above condition is
sinθs> 1 / ns
It becomes.
[0153]
Next, the characteristics of the optical
FIG. 9 shows the incident angle of the incident light on the optical
[0154]
First, as shown in FIG. 9, each incident angle θ is incident on the optical path selection film 15.0, Θ1, Θ2, ΘThreeConsidering the case where the light is incident on the optical
[0155]
As described above, the total reflection critical angle θ on the
FIG. 11A shows an optical path A in which light incident on the optical
[0156]
The optical path A has an incident angle θ of incident light.iIs the total reflection critical angle θ on the total reflection surface 19.CIn the following cases, the optical
The optical path B is incident angle θ of incident light.iIs the total reflection critical angle θ on the total reflection surface 19.CIn the case where it is larger, the optical
In FIG. 11A, the refractive index na on the incident light side is equal to the refractive index nb of the
[0157]
On the other hand, in FIG. 11B, the refractive index na on the incident light side is different from the refractive index nb of the
[0158]
By configuring the total reflection
[0159]
Therefore, only the light that is totally reflected by the
[0160]
Further, a part of the light reflected on the incident light introduction side on the surface of the optical
[0161]
Next, the result of obtaining the spectral transmittance of the total reflection
In this simulation, the structure of the total reflection
[0162]
The dielectric multilayer film constituting the optical
[0163]
When the spectral transmittance of the optical path selection film 15 (dielectric multilayer film) was determined under the above conditions, the results shown in FIGS. 12 and 13 were obtained. Here, FIG. 12 is a graph showing changes in the spectral transmittance T with respect to the wavelength λ for each incident angle θ, and FIG. 13 is a graph showing the spectral transmittance T with respect to the incident angle θ for each wavelength λ.
[0164]
As shown in FIG. 12A, when the incident angle θ is 0 deg, the spectral transmittance T in the wavelength range of the blue light source is approximately 0%, and the incident light is transmitted from the optical
[0165]
In addition, as shown in FIG. 13A, when the wavelength λ = 400 nm on the short wavelength side in the wavelength range of the blue light source, the spectral transmittance is improved for the P wave from the incident angle θ of about 50 deg or more. In the case of the center wavelength λ = 450 nm shown in FIG. 13B, the spectral transmittance is improved when the incident angle θ is about 45 deg or more, and the wavelength λ = long wavelength side shown in FIG. In the case of 500 nm, the spectral transmittance is improved from the incident angle θ of about 40 deg or more.
[0166]
Therefore, the incident light in the wavelength range of the blue light source can be obtained by totally reflecting the optical member using the P wave, or changing the various conditions of the optical member to appropriately design the spectral characteristic of the S wave to a characteristic close to the P wave. The incident angle θ is the total reflection critical angle θCThe following angles are selectively reflected and the total reflection critical angle θCLarger angles can be transmitted. Thereby, the dielectric multilayer film can be made to function practically sufficiently as the optical
[0167]
In the modification described above, TiO is used as an example of the dielectric multilayer film.2/ SiO2Although the multilayer film which consists of this was mentioned, it is preferable to select the material suitably with respect to the wavelength of the target light. For example,
For visible light
・ As a high refractive index material (a material having a refractive index of about 1.8 or more);
TiO2, CeO2, Ta2OFive, ZrO2, Sb2OThree, HfO2, La2OThree, NdOThree, Y2OThree, ZnO, Nb2OFive
・ As a relatively high refractive index material (a material having a refractive index of approximately 1.6 to 1.8),
MgO, Al2OThree, CeFThree, LaFThree, NdFThree
As a low refractive index material (a material with a refractive index of approximately 1.5 or less);
SiO2, AlFThree, MgF2, NaThreeAlF6, NaF, LiF, CaF2, BaF2
Etc. are preferred.
[0168]
Next, a modified example of the total reflection
First, a modified example using a Bragg reflection filter instead of the above-described optical interference filter as the optical path selection film will be described.
FIG. 14 shows an example in which the optical path selection film is composed of a liquid crystal film. In this case, the optical
[0169]
The filtering effect of the cholesteric liquid crystal layer 35 having this configuration will be described below. In the cholesteric liquid crystal layer 35, cholesteric liquid crystal molecules are aligned parallel to the layer and have a spiral structure with respect to the vertical direction of the layer.
If the ordinary refractive index of the cholesteric liquid crystal layer 35 is no, the extraordinary refractive index is ne, the birefringence is Δn, and the average refractive index is n, the birefringence Δn can be expressed by equation (3).
[0170]
Δn = ne−no (3)
The average refractive index n can be approximately expressed by the equation (4).
n = (ne + no) / 2 (4)
[0171]
Further, when the spiral pitch of the cholesteric liquid crystal layer 35 is P [nm], the cholesteric liquid crystal layer 35 exhibits a characteristic of selectively reflecting on the principle of Bragg reflection. That is, the center wavelength λ (θ) [nm] of the incident light when the light incident on the cholesteric liquid crystal layer 35 at the incident angle θ [deg] is selectively reflected can be expressed by Equation (5).
λ (θ) = λ (0) · cos [sin-1(Sinθ / n)] (5)
[0172]
However, incident light is assumed to be incident from air (refractive index = 1). Here, λ (0) [nm] has an incident angle of θ0That is, it is the center wavelength when perpendicularly incident on the layer, and can be expressed by equation (6).
λ (0) = n · P (6)
Further, the reflection wavelength width Δλ [nm] can be expressed by equation (7).
Δλ = Δn · P (7)
[0173]
Therefore, by forming the layer by controlling the ordinary light refractive index no, the extraordinary light refractive index ne, and the helical pitch P, which are physical properties of the cholesteric liquid crystal layer 35, an arbitrary reflection center wavelength λ that changes according to the incident angle θ. An optical filter having (θ) and a desired reflection wavelength width Δλ can be formed. For example, the spiral pitch P can be adjusted by a manufacturing method such as mixing and adjusting two or more materials having different spiral pitches.
Furthermore, when the wavelength range of the incident light of interest is wide, it is necessary to widen the selective reflection wavelength range of the cholesteric liquid crystal layer. In this case, the reflection wavelength region can be widened by aligning the liquid crystal so that the helical pitch is continuously different in the thickness direction. In addition, the reflection wavelength range can be widened by laminating cholesteric liquid crystal layers having different selective reflection wavelength ranges, and can be used as the optical path selection film of the present invention.
[0174]
The cholesteric liquid crystal layer 35 can be manufactured as follows.
A polyimide alignment film is applied on a support on which a cholesteric liquid crystal is formed, dried, and subjected to surface treatment by rubbing. Thereby, a polyimide alignment film is formed. On top of this, a low molecular weight cholesteric liquid crystal or a mixture of a nematic liquid crystal and a chiral agent that develops twist, a polymer monomer, and a photopolymerization initiator mixed with an organic solvent are applied and then aligned at an appropriate temperature. . Thereafter, the necessary portions are exposed to ultraviolet light for photopolymerization, and unnecessary portions are removed by development. Finally, heat bake to stabilize.
In order to control the twist direction and the reflection incident angle, the cholesteric liquid crystal, the chiral agent, and the respective concentrations may be appropriately changed.
[0175]
It is also possible to form a film using a polymer cholesteric liquid crystal. In this case, as described above, a polymer cholesteric liquid crystal and a photopolymerization initiator are coated on a polyimide alignment film with an adjustment solution mixed with an organic solvent, and then aligned at an appropriate temperature, and ultraviolet rays are exposed to necessary portions. And photopolymerized. The reflection incident angle can be controlled by appropriately selecting the alignment temperature, and is stabilized by photopolymerization.
[0176]
Here, the spectral transmittance of the optical
[0177]
According to this configuration, it is possible to obtain the same operation effect as the case where the above-described optical interference filter is used, and to realize an optical path selection film at a lower cost.
[0178]
Further, when the spiral structure of the cholesteric liquid crystal layer 35 is right-handed, light of the right circularly polarized component is reflected and light of the left circularly polarized component along the spiral is transmitted. On the other hand, when the spiral structure is a left-handed twist, the light of the left circularly polarized component is reflected and the light of the right circularly polarized component is transmitted. Therefore, when the light of all polarization components is reflected, that is, not transmitted, all polarized light is reflected by sequentially stacking the right twist (left twist) cholesteric layer opposite to the left twist (or right twist) cholesteric layer. Can be made.
[0179]
A volume hologram is effective as an optical element having the function of Bragg reflection other than the cholesteric liquid crystal. The volume hologram has a Bragg reflection function due to a grating-like refractive index distribution formed in the film, and reflects a specific wavelength. Further, when the incident angle increases, the reflected wavelength shifts to the short wavelength side and functions as an optical path selection film. The volume hologram can be formed by using a photographic material for hologram, a phase-separated photopolymer, HPDLC (holographic polymer dispersed liquid crystal), a photolithography material or the like as a photosensitive material, and subjecting it to multibeam interference exposure.
[0180]
Next, the
The
[0181]
(1) Change the optical path by refraction or have the function
The optical path of the output light extracted by being placed close to the
[0182]
(2) Transmission type diffraction grating or one having the function
As the transmission type diffraction grating that transmits the extracted light and changes the emission direction by diffraction, the same volume hologram as shown in FIG. 5A, the relief type diffraction grating shown in FIG. 5B, and FIG. Examples thereof include a refractive index modulation type diffraction grating shown in c) and an amplitude modulation type diffraction grating. According to these transmission type diffraction gratings, the emission angle of output light can be set accurately. Further, for example, mass production is possible by a photopolymer method or an injection molding method, and the cost of the display element itself can be reduced.
(3) Light diffuser or light scatterer or one having the function
As a light diffuser or light scatterer that diffuses or scatters the extracted light, a porous material suitable for mass production shown in FIG. 17A, a different refractive index such as a high refractive index fine particle shown in FIG. Examples thereof include a dispersion or distribution of the
[0183]
(4) What absorbs incident light or has its function
Examples of the device that absorbs incident light include a transmissive image film on which image data is recorded. By outputting the output light extracted from the
[0184]
The light modulation operation of the
When the excitation light from the planar
[0185]
In a region where the
[0186]
According to the
[0187]
Since a part of the incident light reflected at each interface in the
[0188]
Further, the arrangement position of the planar light source can be freely selected, so that a large number of light sources can be mounted, and the light emission luminance can be improved. Furthermore, the incident light angle distribution of the planar light source is not limited, and an existing backlight light source can be used. Although not shown, a reflector for re-injecting incident light reflected by the
[0189]
Next, another configuration example of the total reflection
First, the total reflection optical member shown in FIG. 18A is a structure in which an optical
According to this total reflection optical member, when incident light is irradiated, the optical path is changed by the optical
[0190]
Next, the total reflection optical member shown in FIG. 18B has a structure in which the optical
According to this total reflection optical member, when incident light is irradiated, the optical path of the incident light is changed by the optical
[0191]
Further, the total reflection optical member shown in FIG. 18C has a configuration in which a transparent medium 39 having a refractive index lower than the refractive index of the
According to this total reflection optical member, when incident light is introduced through the optical
[0192]
Next, the total reflection optical member shown in FIG. 18D is a structure in which the optical
According to this total reflection optical member, when incident light is irradiated, only light having an incident angle component totally reflected by the total reflection surface of the
[0193]
Next, in the total reflection optical member shown in FIG. 18E, the optical
[0194]
Next, the total reflection optical member shown in FIG. 24F is a structure in which the
[0195]
Any of the total reflection optical members having the above-described configurations can be applied to the total reflection optical member of the above-described embodiment, and the same operational effects can be achieved. The layer configuration of the total reflection optical member is not particularly limited as long as it has a function in accordance with the above-described gist.
[0196]
Next, as a modification of the flat display element of the present embodiment, an example in which incident light is introduced from the side of the flat display element to guide the total reflection will be described.
FIG. 19 shows a configuration example in which incident light is introduced from the side using the
According to this configuration, since the
[0197]
Next, as another aspect of the flat display element of the present embodiment, some modified examples in which the configuration of the color filter is changed will be described.
FIG. 20 shows an example of a configuration in which a reflective film is provided on the color filter. The
[0198]
Next, FIG. 21 shows a configuration example in which an external light attenuation filter is provided in the coloring filter. The external light attenuating filter is provided between the
The external
[0199]
Further, FIG. 22 shows an example of a configuration in which a color filter is provided in contact with the optical coupling element. The color conversion filters (color filters) are provided so as to be in contact with each other in front of the optical path of the
FIG. 23 shows a configuration example in which a color filter is provided in the optical coupling element. In this way, the process of manufacturing the flat display element can be simplified by adopting a configuration in which the color conversion filter is mixed with the optical coupling element and provided integrally. The mixing ratio of the optical coupling element to the movable thin film material may be any ratio as long as the optical coupling element has sufficient practical flexibility.
[0200]
[Second Embodiment]
Next, a second embodiment of the flat display element according to the present invention will be described. The flat display element of the present embodiment includes an interference type light modulation element formed on a transparent substrate in place of the total reflection
[0201]
FIG. 24 shows a schematic configuration diagram of the flat display element of the present embodiment. The
FIG. 25 is an explanatory diagram showing a specific configuration and operation of the interference type
[0202]
That is, the
The
[0203]
In the
[0204]
The
[0205]
In Fabry-Perot interference, an incident light beam is repeatedly reflected and transmitted to be divided into a large number of light beams, which are parallel to each other. The transmitted light overlaps and interferes at infinity. If the angle formed by the normal of the surface and the incident ray is θ, the optical path difference between two adjacent rays is given by x = nt · cos θ. However, n is a refractive index between two surfaces, and t is an interval. If the optical path difference x is an integral multiple of the wavelength λ, the transmission lines reinforce each other, and if the optical path difference x is an odd multiple of the half wavelength, they cancel each other. That is, if there is no phase change during reflection,
2nt · cos θ = mλ (8)
2nt · cos θ = (2m + 1) λ / 2 (9) The transmitted light is minimized.
However, m is an integer.
[0206]
Here, using the
Furthermore, tOFF, TON Is set as follows.
tOFF = 3/4 × λ0= 337.5nm
tON = 1/2 × λ0= 225nm
However,
m = 1
The above interval tONCan be accurately set by adjusting the thickness of the
[0207]
The movable
[0208]
Further, the
[0209]
[Third Embodiment]
Next, a third embodiment of the flat display element according to the present invention will be described. The flat display element of this embodiment includes a light-shielding light modulation element formed on a transparent substrate in place of the total reflection
FIG. 27 is an explanatory diagram showing a specific configuration and operation of the light-shielding
The
[0210]
The
[0211]
The
On the other hand, when a driving voltage is applied between the
When the voltage applied between the
[0212]
Next, another modification of the flat display element including the light-shielding type light modulation element according to the present embodiment will be described.
FIG. 28 is a schematic configuration diagram of a slide-type light modulation element, where (a) is a plan view and (b) is a cross-sectional view taken along the line P-P in (a).
The
[0213]
The opposing
The electrode
[0214]
The
[0215]
On the other hand, when a driving voltage is applied only to the
Then, when the voltage applied to the electrode
[0216]
Next, still another modification of the light shielding type light modulation element will be described.
FIG. 30 is a perspective view in which a comb-shaped light modulation element is partially cut away. In this
[0217]
A pair of
[0218]
The
[0219]
Most of the cross section of the
[0220]
Therefore, the light introduced from the lower side of the
[0221]
Next, a specific driving method of the
[0222]
[Third Embodiment]
Next, a fourth embodiment of the flat display element according to the present invention will be described.
FIG. 32 shows a conceptual configuration of the flat display element according to the present embodiment. In the
[0223]
The organic EL is provided uniformly over the entire surface of the
[0224]
As the
[0225]
Examples of the organic light-emitting material that emits blue light constituting the
The
[0226]
The planar
[0227]
Such an
[0228]
As for the
FIG. 33 is a cross-sectional view showing an example in which a planar light source is configured using thin-film inorganic EL. The planar
[0229]
As the light emitting material of the phosphor
For example, a metal, a metal compound, a highly doped semiconductor, a conductive polymer, or the like can be used as the
[0230]
[Fourth Embodiment]
Next, a fourth embodiment of the flat display element according to the present invention will be described.
FIG. 34 shows a conceptual configuration of the flat display element according to the present embodiment. The
[0231]
The
[0232]
[Fifth Embodiment]
Next, a fifth embodiment of the flat display element according to the present invention will be described.
In the present embodiment, the flat display elements in the above-described embodiments are arranged in a two-dimensional matrix, and display driving is performed in full color using the three colors of RBG.
FIG. 35 is a perspective view showing a conceptual configuration of the light modulation element and the front plate of the flat display element according to the present embodiment. This flat display element shows the total reflection
[0233]
The
As shown in the figure, the
[0234]
The fixed
The insulating
[0235]
According to the
[0236]
Further, the
[0237]
Here, a driving method of the flat display element having the above configuration will be described.
FIG. 36 is an explanatory diagram showing a configuration in which the light modulation element of the flat display element is driven in a simple matrix.
The light modulation element having a simple matrix configuration includes a plurality of
[0238]
With such a connection configuration, a plurality of target
[0239]
35, when the fixed
On the other hand, when the image signal voltage Va is applied to the
With this basic principle, it is possible to drive the light modulation elements arranged in a plane with the simple matrix structure shown in FIG. 36, and to have a simple structure and excellent cost performance.
[0240]
The
[0241]
Next, specific driving methods using the simple matrix driving method and the active matrix driving method will be sequentially described.
First, a simple matrix driving method will be described.
FIG. 38 is a hysteresis diagram showing the characteristics of applied voltage and light transmittance, FIG. 39 is a plan view of light modulation elements arranged in a matrix, and FIG. 40 is a combination of scan electrode voltage and signal electrode voltage, and light FIG. 41 is a diagram showing a driving signal for a matrix of 2 rows and 2 columns, showing the relationship with the voltage between the electrodes of the modulation element.
First, characteristics of applied voltage and light transmittance of the
[0242]
According to this hysteresis characteristic, the light modulation element maintains an OFF (light shielding) state when Vgs is Vth (L) or less. On the other hand, when Vgs becomes equal to or higher than Vs (H), the light modulation element is saturated to an ON (light transmission) state. Thereafter, the light modulation element remains in the ON state when Vgs is equal to or higher than Vth (H). When Vgs becomes equal to or lower than Vs (L), the light modulation element is saturated to the OFF state. That is, the light modulation element can obtain two states of T (ON) and T (OFF) according to the history of Vgs as long as Vgs is in the range of Vth (H) and Vth (L). In addition, when the polarity of Vgs is negative, the above characteristics and the characteristics of the vertical axis are obtained.
[0243]
In this embodiment, as shown in FIG. 39, light is applied to the intersections Tr (1,1), Tr (1,2), Tr (2,1), and Tr (2,2) of the matrix of two rows and two columns. The modulation element is arranged. Each light modulation element corresponds to a region of one pixel (in the case of monochromatic display).
The respective electrodes of the light modulation elements arranged in the same row are connected in common to form a scanning signal electrode (scanning electrode) 141. A potential Vg is applied to the
[0244]
In order to drive the light modulation element, the
[0245]
Here, three types of signals (voltages) including a reset signal, a selection signal, and a non-selection signal are given to the
The reset signal turns off (light shielding) the light modulation elements in that row, regardless of the previous state of the light modulation elements. The voltage of the
[0246]
The selection signal is a signal for writing data in the row. Simultaneously with this signal, the state of the light modulation element is determined to be ON (light transmission) or OFF (light shielding) in accordance with the voltage applied to the
[0247]
The non-selection signal is a signal when no selection is made. At this time, the state of the light modulation element does not change regardless of the voltage of the
[0248]
On the other hand, the
[0249]
The OFF signal turns off the light modulation element (light shielding) with respect to the light modulation elements in the selected row. However, since it is actually assumed that the light modulation element is reset immediately before, when the light modulation element is turned off (light shielding), a signal for maintaining the previous state (OFF state). It's okay. The voltage of the
[0250]
The interelectrode voltage Vgs of the light modulation element is divided into the following six types of voltages by the combination of the scan electrode voltage and the signal electrode voltage. Further, specific conditions are given by the characteristics of the interelectrode voltage Vgs and the transmittance.
[0251]
Vgs (r-on) = Vb (on)-Vg (r) ≤ Vs (L)
Vgs (r-off) = Vb (off)-Vg (r) ≤ Vs (L)
Vgs (s-on) = Vb (on)-Vg (s) ≥ Vs (H)
Vgs (s-off) = Vb (off)-Vg (s) ≤ Vth (L)
Vgs (ns-on) = Vb (on)-Vg (ns) ≤ Vth (L)
Vgs (ns-off) = Vb (off) -Vg (ns) ≥ Vth (H)
[0252]
The above conditions are summarized as shown in FIG.
For example, when the scan electrode voltage Vg is reset Vg (r) and the signal electrode voltage Vb is ON, that is, Vb (on), the signal electrode voltage Vb (thick
That is,
Vgs (r-on) ≦ Vs (L)
It becomes.
In the same manner, six types of voltages are determined.
[0253]
Next, a method of writing data in a matrix in which light modulation elements are two-dimensionally arranged using such a relationship between the interelectrode voltage Vgs and the transmittance will be described.
As the matrix, data is written using the matrix of 2 rows and 2 columns shown in FIG. The following ON / OFF data is written in each light modulation element of the matrix.
Tr (1,1) → ON Tr (1,2) → OFF
Tr (2,1) → OFF Tr (2,2) → ON
[0254]
In this case, a voltage having a waveform as shown in FIG. 41 is applied to the matrix.
For example, the first line Vg (1)
t1: Reset voltage t2: Selection voltage
t3: non-selection voltage t4: non-selection voltage
Apply.
In the first row Vb (1),
t1: don't care t2: ON voltage
t3: OFF voltage t4: don't care
Apply.
As a result, desired data is written to each light modulation element in a row sequential manner.
[0255]
That is, for example, in the case of the matrix Tr (1,1) in the above-mentioned first row and first column,
Since Vgs: Vb (1) -Vg (1),
t1: Reset voltage (OFF) t2: ON
t3 = state maintenance t4 = state maintenance.
[0256]
Accordingly, the ON state at t2 is maintained (stored), and as a result, the light modulation element is in the “ON” state in the matrix Tr (1, 1). Similarly, the other matrix Tr (1, 2) is in the “OFF” state, Tr (2, 1) is in the “OFF” state, and Tr (2, 2) is in the “ON” state.
[0257]
Next, an active matrix driving method will be described.
FIG. 42 is an equivalent circuit diagram of an active matrix using semiconductor transistors. In the light modulation element, a voltage Vg-on for making the
Since the other rows are scanned thereafter, the above-described light modulation state is maintained even when the
[0258]
That is, in the configuration example of the active matrix of n rows × m columns shown in FIG. 42, the scanning voltage is sequentially applied to the
[0259]
FIG. 43 is an equivalent circuit diagram of a semiconductor active matrix arranged in 2 rows and 2 columns, and FIG. 44 is an explanatory diagram of a method of writing data by applying voltages having different waveforms to the respective light modulation elements of the semiconductor active matrix. Note that the characteristics of the applied voltage Vgs and the light transmittance T of the light modulation element are the same as those described in the simple matrix driving (see FIG. 38).
[0260]
Here, a specific driving method for writing the following potentials to the pixel electrodes in 2 rows and 2 columns shown in FIG. 43 will be described.
Tr (1,1) = ON Tr (1,2) = OFF
Tr (2,1) = OFF Tr (2,2) = ON
[0261]
The pixel electrodes 161 of Tr (1,1), Tr (1,2), or Tr (2,1), Tr (2,2) arranged in the same row are connected to a common
[0262]
In order to drive the active matrix element configured as described above, Tr (1,1), Tr (1,2), or Tr (2,1), Tr (2,2) are sequentially arranged in a row according to the scanning signal. The pixel electrode is scanned and synchronized, and Tr (1,1), Tr (2,1), or Tr (1,2), Tr () in which data signals corresponding to the scanned pixel electrode are arranged in columns. Applied to the pixel electrode of (2) and (2).
[0263]
At this time, a voltage having a waveform as shown in FIG. 44 is applied to the matrix.
For example, the first line Vg (1)
t1: Scan ON (conduction) voltage t2: Scan OFF (non-conduction) voltage
Apply.
[0264]
The second line Vg (2)
t1: Scan OFF (non-conduction) voltage t2: Scan ON (conduction) voltage
Apply.
[0265]
In the first row Vb (1),
t1: ON (transmission) voltage to Tr (1,1) t2: OFF (light shielding) voltage to Tr (2,1)
Apply.
[0266]
In the second row Vb (2),
t1: Off (shading) voltage to Tr (1, 2) t2: ON (transmission) voltage to Tr (2, 2)
Apply.
[0267]
Thereby, the potential Vgs of Tr (1,1) becomes the potential Vs (H) at t1, and as a result, the state of the pixel is turned on, and the on state is maintained after t2.
The potential Vgs of Tr (1,2) becomes Vs (L) at t1, and as a result, the state of the pixel is turned off and is held after t2.
The potential Vgs of Tr (2,1) becomes Vs (L) at t1, and as a result, the state of the pixel is turned off and is held after t2.
The potential Vgs of Tr (2, 2) becomes Vs (H) at t1, and as a result, the state of the pixel is turned ON, and the ON state is maintained after t2.
[0268]
As described above, the
[0269]
[Sixth Embodiment]
[0270]
Next, a sixth embodiment of the flat display element according to the present invention will be described. In the present embodiment, the active element in the configuration based on the active matrix driving described above is configured by a mechanical switch.
45 is a plan view showing a conceptual configuration example of a mechanical switch provided in each light modulation element, FIG. 46 is a sectional view showing a QQ section of FIG. 45, and FIG. 47 is an active matrix using the mechanical switch. FIG. 6 is an equivalent circuit diagram of the light modulation element configured.
[0271]
As shown in FIGS. 45 and 46, a plurality of parallel scanning signal
[0272]
On the insulating
[0273]
A
[0274]
A
[0275]
As shown in FIG. 46A, the mechanical
On the other hand, as shown in FIG. 46B, when a voltage is applied to the
[0276]
When the voltage of the
[0277]
FIG. 47 is an equivalent circuit diagram of an active matrix configuration using the mechanical
After this, for scanning of another row, even if the mechanical
[0278]
FIG. 48 shows an equivalent circuit diagram of an active matrix using mechanical conductive switches arranged in 2 rows and 2 columns. FIG. 49 is a hysteresis diagram showing the switch characteristics of the movable thin film.
Here, a case of a specific driving method for writing the following potentials to the pixel electrodes in two rows and two columns shown in FIG. 48 will be described.
Tr (1,1) = ON Tr (1,2) = OFF
Tr (2,1) = OFF Tr (2,2) = ON
[0279]
When the voltage of the
[0280]
The
[0281]
In order to drive the active matrix element configured as described above, Tr (1,1), Tr (1,2), or Tr (2,1), Tr (2,2) are sequentially arranged in a row according to the scanning signal. Tr (1,1), Tr (2,1), or Tr (1,2), in which data signals corresponding to the scanned
[0282]
At this time, a voltage having a waveform as shown in FIG. 44 is applied to the matrix. As a result, as in the case of the semiconductor active matrix described above, the potential Vgs of Tr (1,1) becomes the potential Vs (H) at t1, and as a result, the state of the pixel is turned on, and after t2, the state is turned on. Is retained.
The potential Vgs of Tr (1,2) becomes Vs (L) at t1, and as a result, the state of the pixel is turned off and is held after t2.
The potential Vgs of Tr (2,1) becomes Vs (L) at t1, and as a result, the state of the pixel is turned off and is held after t2.
The potential Vgs of Tr (2, 2) becomes Vs (H) at t1, and as a result, the state of the pixel is turned ON, and the ON state is maintained after t2.
[0283]
As described above, the
[0284]
As described above, the mechanical
[0285]
That is, the film formation and impurity doping process unique to semiconductor formation are not required, the patterning process is reduced, and the design conditions are relaxed. That is, it is not necessary to strictly manage the bonding conditions and the impurity limit. For this reason, throughput and yield are improved, and a large area can be obtained at low cost. In addition, since metal is used for the
[0286]
【The invention's effect】
According to the flat display device of the present invention, a light source that emits light including a wavelength component in the visible light region, and a light modulation arranged in a two-dimensional matrix that controls the transmittance of light from the light source by electromechanical operation. By providing an element and a coloring filter including a filter having at least a wavelength conversion function provided corresponding to the display pixel in front of the optical path including the light modulation element, the material constituting each member is UV resistant. Even if it is not an excellent material, it can be used. Thereby, the design freedom of a flat display element can be improved and the manufacturing process can be simplified.
In the driving method of the flat display element according to the present invention, a plurality of scanning signal electrodes arranged along the row direction with respect to the light modulation elements arranged in a two-dimensional matrix, and orthogonal to the scanning signal electrodes. By providing a plurality of image signal electrodes and performing simple matrix driving, it is possible to display an image with a simple configuration at low cost. Further, a drive for display is performed by an active matrix driving method in which a scanning signal common electrode is further added and a signal voltage is applied to the scanned scanning signal electrode from the image signal electrode through an active element connected to the light modulation element. By doing so, display with high contrast and high-speed response can be performed.
[Brief description of the drawings]
FIG. 1 is a diagram showing a schematic basic configuration of a flat display element according to the present invention.
FIG. 2 is a diagram showing a conceptual configuration of the flat display element according to the first embodiment.
FIG. 3 is a diagram showing a light source, a total reflection optical member, and an optical coupling element.
FIG. 4 is a diagram showing a specific configuration example of a total reflection optical member.
FIG. 5 is a diagram showing an example in which a transmissive diffraction grating is used as an optical path changing film.
FIG. 6 is a diagram showing an example in which a light diffusing plate is used as an optical path changing film.
FIG. 7 is a diagram showing a layer configuration of an optical interference filter as one configuration example of an optical path selection film.
FIG. 8 shows an optical element for changing an optical path, an optical element for selecting an optical path, a transparent medium u, a transparent medium v, and an optical element in which a transparent medium w on the front side of the total reflection surface is arranged in this order. It is a figure which shows the relationship between the incident angle in and the average refractive index of each medium.
FIG. 9 is a diagram illustrating an incident angle of incident light on an optical path selection film.
FIG. 10 is a graph showing the spectral transmittance of the optical path selection film for each incident angle with respect to the wavelength of incident light.
FIG. 11 is a diagram showing optical paths inside and outside the optical path selection film due to refraction.
FIG. 12 is a graph showing changes in spectral transmittance T with respect to wavelength λ for each incident angle θ.
FIG. 13 is a graph showing the spectral transmittance T with respect to an incident angle θ for each wavelength λ.
FIG. 14 is a diagram illustrating an example in which an optical path selection film is configured by a liquid crystal film.
15 is a graph showing the spectral transmittance of the optical path selection film shown in FIG.
16A and 16B are diagrams showing an optical coupling element that changes an optical path by refraction, wherein FIG. 16A is a lens array, FIG. 16B is a prism array, and FIG. 16C is a gradient index lens body.
FIGS. 17A and 17B are diagrams showing an optical coupling element that diffuses or scatters extracted light, in which FIG. 17A is a porous body, and FIG. 17B is a dispersion of substances having different refractive indexes such as high refractive index fine particles or The distribution body, (c), is a light diffuser or light scatterer with irregularities formed on the surface.
FIG. 18 is a diagram showing another configuration example of the total reflection optical member.
FIG. 19 is a diagram showing a configuration example in which incident light is introduced from the side using a transparent substrate as a total reflection light guide plate.
FIG. 20 is a diagram illustrating a configuration example in which a reflective film is provided on the color filter.
FIG. 21 is a diagram illustrating a configuration example in which an external light attenuation filter is provided in a color filter.
FIG. 22 is a diagram illustrating a configuration example in which a color filter is provided in contact with an optical coupling element.
FIG. 23 is a diagram showing a configuration example in which a color filter is provided in the optical coupling element.
FIG. 24 is a diagram showing a schematic configuration diagram of a flat display element according to a second embodiment.
FIG. 25 is an explanatory diagram showing a specific configuration and operation of an interference-type light modulation element.
26 is a graph showing the light intensity transmittance of the light modulation element in FIG. 25. FIG.
FIG. 27 is an explanatory diagram showing a specific configuration and operation of a light-shielding light modulation element.
28A and 28B are schematic configuration diagrams of a slide type light modulation element in a light-shielded state, where FIG. 28A is a plan view and FIG. 28B is a cross-sectional view taken along line PP of FIG.
29A and 29B are schematic configuration diagrams in a transmission state of a slide-type light modulation element, where FIG. 29A is a plan view and FIG. 29B is a cross-sectional view taken along the line P-P in FIG.
FIG. 30 is a perspective view of the comb-shaped light modulation element, partly cut away.
31 is a diagram illustrating a specific driving method for the light modulation element in FIG. 30;
FIG. 32 is a diagram showing a conceptual configuration of a flat display element according to a third embodiment.
FIG. 33 is a cross-sectional view showing an example in which a planar light source is configured using thin-film inorganic EL.
FIG. 34 is a diagram showing a conceptual configuration of a flat display element according to a fourth embodiment.
FIG. 35 is a perspective view showing a conceptual configuration of a light modulation element and a front plate of a flat display element according to a fifth embodiment.
FIG. 36 is an explanatory diagram showing a configuration in which a light modulation element of a flat display element is driven in a simple matrix.
FIG. 37 is an explanatory diagram showing a configuration in which an active element is provided in each light modulation element and active matrix driving is performed.
FIG. 38 is a hysteresis diagram showing characteristics of applied voltage and light transmittance.
FIG. 39 is a plan view of light modulation elements arranged in a matrix.
FIG. 40 is an explanatory diagram showing a relationship between a combination of a scan electrode voltage and a signal electrode voltage and an interelectrode voltage of the light modulation element.
FIG. 41 is a diagram showing drive signals for a matrix of 2 rows and 2 columns.
FIG. 42 is an equivalent circuit diagram of an active matrix using semiconductor transistors.
FIG. 43 is an equivalent circuit diagram of a semiconductor active matrix arranged in two rows and two columns.
FIG. 44 is an explanatory diagram of a method of writing data by applying voltages having different waveforms to the light modulation elements of the semiconductor active matrix.
FIG. 45 is a plan view showing a conceptual configuration example of a mechanical switch provided in each light modulation element in the sixth embodiment.
46 is a cross-sectional view showing the QQ cross section of FIG. 45. FIG.
FIG. 47 is an equivalent circuit diagram of an optical modulation element having an active matrix configuration using a mechanical switch.
FIG. 48 is an equivalent circuit diagram of an active matrix using mechanical conductive switches arranged in 2 rows and 2 columns.
FIG. 49 is a hysteresis diagram showing the switch characteristics of the movable thin film.
FIG. 50 is a diagram illustrating a configuration of a conventional flat display element.
[Explanation of symbols]
1 Flat display element
2 Transparent substrate
3 Light modulator
4 props
5 Blue filter (coloring filter)
6 Green conversion filter (coloring filter)
7 Red conversion filter (coloring filter)
8 Front plate
9 Black matrix
10 Planar light source
10b Diffuser
10a Fluorescent lamp
11 Light source
13 Optical path conversion film
15 Optical path selection film
16 Optical path selection film
17 Total reflection optical member
19 Total reflection surface
21 Optical coupling elements
45 Reflective film
47 External light attenuation filter
51 Light modulation element
53 Lower transparent electrode
55 Lower interference film
57 Transparent spacer
59 prop
61 Upper interference film
63 Upper transparent electrode
65 Movable thin film
67 Air gap
71 Light modulation element
73 Transparent electrode
75 Shading film
77 Insulating film
78 prop
79 Shading plate
81 Light modulation element
82 Counter electrode
83 Counter electrode
84 Electrode shading plate
85 Shading film
86 Polygonal spring
87 Support
91 Light modulation element
92 Shading film
93 Spacer
94 lattice
95 Mover
95b Insulating film
95c conductive film
96 slits
97 Light modulation area
101 Planar light source
105 Cathode electrode
107 Organic EL layer
109 Anode electrode
111 transparent substrate
112 Power supply
113 Electrode layer
115 Insulating layer
117 Phosphor thin film layer
119 Transparent electrode layer
121 Planar light source
131 Fixed electrode
133 Insulating film
135 prop
141 Scanning signal electrode
143 Image signal electrode
145 active element
157 Gate electrode
158 Drain electrode
159 Source electrode
161 pixel electrode
163 Common electrode
165 substrate
167 Scan signal common electrode
169 Insulating layer
171 Prop
173 Movable thin film
175 Intersection
177 Pixel electrode
179 conductive film
181 Air gap
183 Mechanical conductive switch
100, 200, 300, 400 Flat display element
| Application Number | Priority Date | Filing Date | Title |
|---|---|---|---|
| JP2002377421AJP2004205973A (en) | 2002-12-26 | 2002-12-26 | Flat plane display element and method of driving the same |
| Application Number | Priority Date | Filing Date | Title |
|---|---|---|---|
| JP2002377421AJP2004205973A (en) | 2002-12-26 | 2002-12-26 | Flat plane display element and method of driving the same |
| Publication Number | Publication Date |
|---|---|
| JP2004205973Atrue JP2004205973A (en) | 2004-07-22 |
| Application Number | Title | Priority Date | Filing Date |
|---|---|---|---|
| JP2002377421APendingJP2004205973A (en) | 2002-12-26 | 2002-12-26 | Flat plane display element and method of driving the same |
| Country | Link |
|---|---|
| JP (1) | JP2004205973A (en) |
| Publication number | Priority date | Publication date | Assignee | Title |
|---|---|---|---|---|
| JP2006039271A (en)* | 2004-07-28 | 2006-02-09 | Brother Ind Ltd | Image display device, reflecting mirror thereof, and image display method |
| KR100853016B1 (en) | 2007-07-25 | 2008-08-19 | 삼성전기주식회사 | Projection type display device for noise reduction |
| JP2009163248A (en)* | 2004-09-27 | 2009-07-23 | Idc Llc | Interferometric modulator array with integrated mems electrical switches |
| US7612933B2 (en) | 2008-03-27 | 2009-11-03 | Qualcomm Mems Technologies, Inc. | Microelectromechanical device with spacing layer |
| JP2011070188A (en)* | 2009-09-23 | 2011-04-07 | Samsung Electronics Co Ltd | Display device |
| KR20110108129A (en)* | 2010-03-26 | 2011-10-05 | 삼성전자주식회사 | MEMS shutter and display device having same |
| JP2012128451A (en)* | 2005-02-23 | 2012-07-05 | Pixtronix Inc | Display methods and apparatus |
| KR101209094B1 (en)* | 2004-09-27 | 2012-12-11 | 퀄컴 엠이엠에스 테크놀로지스, 인크. | Display device having an array of spatial light modulators with integrated color filters |
| US8416154B2 (en) | 2004-09-27 | 2013-04-09 | Qualcomm Mems Technologies, Inc. | Apparatus and method for reducing perceived color shift |
| WO2013115043A1 (en)* | 2012-01-31 | 2013-08-08 | シャープ株式会社 | Display device |
| US8736939B2 (en) | 2011-11-04 | 2014-05-27 | Qualcomm Mems Technologies, Inc. | Matching layer thin-films for an electromechanical systems reflective display device |
| KR101411689B1 (en)* | 2007-05-25 | 2014-06-25 | 엘지디스플레이 주식회사 | Organic Light Emitting Display |
| EP2741130A3 (en)* | 2012-12-04 | 2014-09-24 | Boe Technology Group Co. Ltd. | Surface light source device and liquid crystal display device |
| WO2014153281A1 (en)* | 2013-03-18 | 2014-09-25 | Pixtronix, Inc. | Display device |
| US8848294B2 (en) | 2010-05-20 | 2014-09-30 | Qualcomm Mems Technologies, Inc. | Method and structure capable of changing color saturation |
| US9082353B2 (en) | 2010-01-05 | 2015-07-14 | Pixtronix, Inc. | Circuits for controlling display apparatus |
| US9087486B2 (en) | 2005-02-23 | 2015-07-21 | Pixtronix, Inc. | Circuits for controlling display apparatus |
| US9116344B2 (en) | 2008-10-27 | 2015-08-25 | Pixtronix, Inc. | MEMS anchors |
| US9128277B2 (en) | 2006-02-23 | 2015-09-08 | Pixtronix, Inc. | Mechanical light modulators with stressed beams |
| US9135868B2 (en) | 2005-02-23 | 2015-09-15 | Pixtronix, Inc. | Direct-view MEMS display devices and methods for generating images thereon |
| US9134552B2 (en) | 2013-03-13 | 2015-09-15 | Pixtronix, Inc. | Display apparatus with narrow gap electrostatic actuators |
| US9158106B2 (en) | 2005-02-23 | 2015-10-13 | Pixtronix, Inc. | Display methods and apparatus |
| US9176318B2 (en) | 2007-05-18 | 2015-11-03 | Pixtronix, Inc. | Methods for manufacturing fluid-filled MEMS displays |
| US9177523B2 (en) | 2005-02-23 | 2015-11-03 | Pixtronix, Inc. | Circuits for controlling display apparatus |
| US9229222B2 (en) | 2005-02-23 | 2016-01-05 | Pixtronix, Inc. | Alignment methods in fluid-filled MEMS displays |
| US9261694B2 (en) | 2005-02-23 | 2016-02-16 | Pixtronix, Inc. | Display apparatus and methods for manufacture thereof |
| US9336732B2 (en) | 2005-02-23 | 2016-05-10 | Pixtronix, Inc. | Circuits for controlling display apparatus |
| US9500853B2 (en) | 2005-02-23 | 2016-11-22 | Snaptrack, Inc. | MEMS-based display apparatus |
| CN112255805A (en)* | 2019-11-13 | 2021-01-22 | 谷歌有限责任公司 | Head mounted display with light guide and holographic element |
| JP2021018159A (en)* | 2019-07-22 | 2021-02-15 | 横河電機株式会社 | Inspection method, light receiving device, and inspection system |
| CN113294748A (en)* | 2020-02-21 | 2021-08-24 | 华域视觉科技(上海)有限公司 | Grid light-emitting lamp and automobile |
| Publication number | Priority date | Publication date | Assignee | Title |
|---|---|---|---|---|
| JP2006039271A (en)* | 2004-07-28 | 2006-02-09 | Brother Ind Ltd | Image display device, reflecting mirror thereof, and image display method |
| US8223424B2 (en) | 2004-09-27 | 2012-07-17 | Qualcomm Mems Technologies, Inc. | Interferometric modulator array with integrated MEMS electrical switches |
| JP2009163248A (en)* | 2004-09-27 | 2009-07-23 | Idc Llc | Interferometric modulator array with integrated mems electrical switches |
| US8437071B2 (en) | 2004-09-27 | 2013-05-07 | Qualcomm Mems Technologies, Inc. | Interferometric modulator array with integrated MEMS electrical switches |
| EP1640960B1 (en)* | 2004-09-27 | 2009-11-18 | Idc, Llc | Matrix display with interferometric modulators and integrated MEMS switches |
| US7859739B2 (en) | 2004-09-27 | 2010-12-28 | Qualcomm Mems Technologies, Inc. | Interferometric modulator array with integrated MEMS electrical switches |
| US8437070B2 (en) | 2004-09-27 | 2013-05-07 | Qualcomm Mems Technologies, Inc. | Interferometric modulator with dielectric layer |
| US8416154B2 (en) | 2004-09-27 | 2013-04-09 | Qualcomm Mems Technologies, Inc. | Apparatus and method for reducing perceived color shift |
| KR101227622B1 (en)* | 2004-09-27 | 2013-01-31 | 퀄컴 엠이엠에스 테크놀로지스, 인크. | Display device having an array of spatial light modulators with integrated color filters |
| KR101209094B1 (en)* | 2004-09-27 | 2012-12-11 | 퀄컴 엠이엠에스 테크놀로지스, 인크. | Display device having an array of spatial light modulators with integrated color filters |
| US9177523B2 (en) | 2005-02-23 | 2015-11-03 | Pixtronix, Inc. | Circuits for controlling display apparatus |
| US9087486B2 (en) | 2005-02-23 | 2015-07-21 | Pixtronix, Inc. | Circuits for controlling display apparatus |
| JP2012256069A (en)* | 2005-02-23 | 2012-12-27 | Pixtronix Inc | Display method and device |
| US9500853B2 (en) | 2005-02-23 | 2016-11-22 | Snaptrack, Inc. | MEMS-based display apparatus |
| US9336732B2 (en) | 2005-02-23 | 2016-05-10 | Pixtronix, Inc. | Circuits for controlling display apparatus |
| US9274333B2 (en) | 2005-02-23 | 2016-03-01 | Pixtronix, Inc. | Alignment methods in fluid-filled MEMS displays |
| US9261694B2 (en) | 2005-02-23 | 2016-02-16 | Pixtronix, Inc. | Display apparatus and methods for manufacture thereof |
| US9229222B2 (en) | 2005-02-23 | 2016-01-05 | Pixtronix, Inc. | Alignment methods in fluid-filled MEMS displays |
| JP2012128451A (en)* | 2005-02-23 | 2012-07-05 | Pixtronix Inc | Display methods and apparatus |
| US9158106B2 (en) | 2005-02-23 | 2015-10-13 | Pixtronix, Inc. | Display methods and apparatus |
| US9135868B2 (en) | 2005-02-23 | 2015-09-15 | Pixtronix, Inc. | Direct-view MEMS display devices and methods for generating images thereon |
| US9128277B2 (en) | 2006-02-23 | 2015-09-08 | Pixtronix, Inc. | Mechanical light modulators with stressed beams |
| US9176318B2 (en) | 2007-05-18 | 2015-11-03 | Pixtronix, Inc. | Methods for manufacturing fluid-filled MEMS displays |
| KR101411689B1 (en)* | 2007-05-25 | 2014-06-25 | 엘지디스플레이 주식회사 | Organic Light Emitting Display |
| KR100853016B1 (en) | 2007-07-25 | 2008-08-19 | 삼성전기주식회사 | Projection type display device for noise reduction |
| US7612933B2 (en) | 2008-03-27 | 2009-11-03 | Qualcomm Mems Technologies, Inc. | Microelectromechanical device with spacing layer |
| US9116344B2 (en) | 2008-10-27 | 2015-08-25 | Pixtronix, Inc. | MEMS anchors |
| US9182587B2 (en) | 2008-10-27 | 2015-11-10 | Pixtronix, Inc. | Manufacturing structure and process for compliant mechanisms |
| JP2011070188A (en)* | 2009-09-23 | 2011-04-07 | Samsung Electronics Co Ltd | Display device |
| US9082353B2 (en) | 2010-01-05 | 2015-07-14 | Pixtronix, Inc. | Circuits for controlling display apparatus |
| JP2011209689A (en)* | 2010-03-26 | 2011-10-20 | Samsung Electronics Co Ltd | Mems shutter and display apparatus having the same |
| US8817353B2 (en) | 2010-03-26 | 2014-08-26 | Samsung Display Co., Ltd. | MEMS shutter and display apparatus having the same |
| KR101682931B1 (en) | 2010-03-26 | 2016-12-07 | 삼성디스플레이 주식회사 | Mems shutter and display apparatus having the same |
| KR20110108129A (en)* | 2010-03-26 | 2011-10-05 | 삼성전자주식회사 | MEMS shutter and display device having same |
| US8848294B2 (en) | 2010-05-20 | 2014-09-30 | Qualcomm Mems Technologies, Inc. | Method and structure capable of changing color saturation |
| US9081188B2 (en) | 2011-11-04 | 2015-07-14 | Qualcomm Mems Technologies, Inc. | Matching layer thin-films for an electromechanical systems reflective display device |
| US8736939B2 (en) | 2011-11-04 | 2014-05-27 | Qualcomm Mems Technologies, Inc. | Matching layer thin-films for an electromechanical systems reflective display device |
| WO2013115043A1 (en)* | 2012-01-31 | 2013-08-08 | シャープ株式会社 | Display device |
| EP2741130A3 (en)* | 2012-12-04 | 2014-09-24 | Boe Technology Group Co. Ltd. | Surface light source device and liquid crystal display device |
| US9134552B2 (en) | 2013-03-13 | 2015-09-15 | Pixtronix, Inc. | Display apparatus with narrow gap electrostatic actuators |
| WO2014153281A1 (en)* | 2013-03-18 | 2014-09-25 | Pixtronix, Inc. | Display device |
| JP2021018159A (en)* | 2019-07-22 | 2021-02-15 | 横河電機株式会社 | Inspection method, light receiving device, and inspection system |
| JP7011630B2 (en) | 2019-07-22 | 2022-02-10 | 横河電機株式会社 | Inspection method, light receiving device, and inspection system |
| CN112255805A (en)* | 2019-11-13 | 2021-01-22 | 谷歌有限责任公司 | Head mounted display with light guide and holographic element |
| US11662581B2 (en) | 2019-11-13 | 2023-05-30 | Google Llc | Head mounted display with lightguide and holographic element |
| CN113294748A (en)* | 2020-02-21 | 2021-08-24 | 华域视觉科技(上海)有限公司 | Grid light-emitting lamp and automobile |
| Publication | Publication Date | Title |
|---|---|---|
| JP2004205973A (en) | Flat plane display element and method of driving the same | |
| JP3909812B2 (en) | Display element and exposure element | |
| JP3487782B2 (en) | Liquid crystal display | |
| US6642913B1 (en) | Light modulation element, exposure unit, and flat-panel display unit | |
| TWI412832B (en) | Color liquid crystal display device assembly | |
| US7580181B2 (en) | Display | |
| JP2004212673A (en) | Planar display device and its driving method | |
| US6195196B1 (en) | Array-type exposing device and flat type display incorporating light modulator and driving method thereof | |
| CN100437702C (en) | Display panel, method for manufacturing display panel, and display device | |
| JP3420399B2 (en) | Light emitting element | |
| KR102581401B1 (en) | Display device | |
| KR102302401B1 (en) | Photoluminescence device, method of manufacturing the same and display apparatus having the same | |
| US20060274400A1 (en) | Method and device for modulating light with optical compensation | |
| WO2013118653A1 (en) | Display element and illumination device | |
| US20050068606A1 (en) | Color changeable pixel | |
| US6320633B1 (en) | Display device and method of manufacturing such a display device | |
| CN103323970B (en) | Display panel, manufacturing method thereof, and display device | |
| JP2001356701A (en) | Optical element, light source unit and display device | |
| JPH09189869A (en) | Optical modulator and display device | |
| JPH11258558A (en) | Flat panel display | |
| JP2006309166A (en) | Display panel and display device having the same | |
| KR20090043095A (en) | Display device | |
| JP2004205974A (en) | Two-dimensional matrix element, and two-dimensional matrix plane display element and its driving method | |
| JP2004039388A (en) | Optical member and EL display device using the same | |
| WO2020203313A1 (en) | Display device and lens array |
| Date | Code | Title | Description |
|---|---|---|---|
| A621 | Written request for application examination | Free format text:JAPANESE INTERMEDIATE CODE: A621 Effective date:20050215 | |
| RD04 | Notification of resignation of power of attorney | Free format text:JAPANESE INTERMEDIATE CODE: A7424 Effective date:20060324 | |
| A711 | Notification of change in applicant | Free format text:JAPANESE INTERMEDIATE CODE: A712 Effective date:20061124 | |
| A977 | Report on retrieval | Free format text:JAPANESE INTERMEDIATE CODE: A971007 Effective date:20070402 | |
| A131 | Notification of reasons for refusal | Free format text:JAPANESE INTERMEDIATE CODE: A131 Effective date:20070424 | |
| A02 | Decision of refusal | Free format text:JAPANESE INTERMEDIATE CODE: A02 Effective date:20070905 |