Movatterモバイル変換


[0]ホーム

URL:


JP2004205116A - Cold and hot water generator and control method thereof - Google Patents

Cold and hot water generator and control method thereof
Download PDF

Info

Publication number
JP2004205116A
JP2004205116AJP2002375208AJP2002375208AJP2004205116AJP 2004205116 AJP2004205116 AJP 2004205116AJP 2002375208 AJP2002375208 AJP 2002375208AJP 2002375208 AJP2002375208 AJP 2002375208AJP 2004205116 AJP2004205116 AJP 2004205116A
Authority
JP
Japan
Prior art keywords
hot water
cold
refrigerant
water generator
amount
Prior art date
Legal status (The legal status is an assumption and is not a legal conclusion. Google has not performed a legal analysis and makes no representation as to the accuracy of the status listed.)
Pending
Application number
JP2002375208A
Other languages
Japanese (ja)
Inventor
Yasuji Ogoshi
靖二 大越
Tomoaki Tanabe
智明 田邉
Current Assignee (The listed assignees may be inaccurate. Google has not performed a legal analysis and makes no representation or warranty as to the accuracy of the list.)
Carrier Japan Corp
Original Assignee
Toshiba Carrier Corp
Priority date (The priority date is an assumption and is not a legal conclusion. Google has not performed a legal analysis and makes no representation as to the accuracy of the date listed.)
Filing date
Publication date
Application filed by Toshiba Carrier CorpfiledCriticalToshiba Carrier Corp
Priority to JP2002375208ApriorityCriticalpatent/JP2004205116A/en
Publication of JP2004205116ApublicationCriticalpatent/JP2004205116A/en
Pendinglegal-statusCriticalCurrent

Links

Images

Landscapes

Abstract

<P>PROBLEM TO BE SOLVED: To provide a high performance cold/hot water generator capable of supplying hot water at a high temperature. <P>SOLUTION: The cold/hot water generator is provided with a refrigerant amount control mechanism provided at the outlet of a water heat exchanger provided in a heat pump refrigerating cycle. The refrigerant amount control mechanism controls the amount of a cooling medium to be circulated in the refrigerating cycle depending on a boiling temperature target value. <P>COPYRIGHT: (C)2004,JPO&NCIPI

Description

Translated fromJapanese

【0001】
【発明の属する技術分野】
本発明はヒートポンプを用いた冷温水発生装置およびその制御方法に係わり、特に冷媒を制御し高温の出湯温度が得られる冷温水発生装置およびその制御方法に関する。
【0002】
【従来の技術】
従来、冷温水発生装置は、図9に示すように、圧縮機33、四方弁34、水熱交換器35、絞り装置37、空気熱交換器38が順次連結されて冷凍サイクル32が構成されていた。従来の冷温水発生装置において、温水発生時、圧縮機33から吐出される冷媒は、四方弁34を通り水熱交換器35で凝縮され、絞り装置37、空気熱交換器38を介して圧縮機33に還流するようになっており、水熱交換器38で熱交換された給水は、温水になり、ポンプ39で給湯されていた。
【0003】
しかしながら、従来の冷温水発生装置では、表1および図2に示すように、温水発生運転時、性能が最もよい冷媒量と、最高沸上温度が得られる冷媒量が異なっていたため、いずれか(性能あるいは最高沸上温度)を優先させた冷媒量としていた。例えば、最高沸上温度80℃が必要な冷温水発生装置の場合は、冷媒量を800gとしていた。そのため、沸上温度65℃の場合では、循環する冷媒量が少なく、過冷却量が少なくなり性能が悪かった。
【0004】
また、従来の冷温水発生装置の制御方法においては、絞り装置37は、目標沸上温度にかかわらず、スーパーヒート量(吸込み温度Ts−蒸発温度Te)(以下、SHという。)が一定となるようコントロールされていた。このため、表2に示すように、吐出温度(以下、Tdという。)<105℃以下という圧縮機の信頼性上の制約から、運転可能Hzが制限され、最高沸上温度をあまり高くできなかった。
【0005】
なお、特許文献1には、外気温度および/または給水温度に応じて、リキッドタンクの温度調整手段を備え、季節に関係なく、冷凍サイクル内に適量の冷媒を循環させて、長期に連続運転が可能で、安定した出湯運転が可能な冷温水発生装置が記載されているが、特許文献1の冷温水発生装置は、COPが最もよい冷媒量と最も高い沸上温度を得られる冷媒量とに容易に変更することができず、高温の出湯温度が可能あるいは性能がよい冷温水発生装置が得られない。
【0006】
また、特許文献2には、除霜バイパス弁を設け、除霜時、流量制御弁を所定の開度に制御して、スーパーヒート量一定制御を行ない、除霜を短時間で行なう冷温水発生装置が記載されているが、沸上温度目標値に応じて、液冷媒の絞りを変え、スーパーヒート量を制御し、高温の沸上温度が得られるものではない。
【0007】
【特許文献1】
特開平2002−115924号公報(段落番号[0026]、0027、0030、図1)
【0008】
【特許文献2】
特開平2002−243276号公報(段落番号[0079]、図1)
【0009】
【発明が解決しようとする課題】
本発明は上述した事情を考慮してなされたもので、高温の沸上温度が得られ、かつ、性能がよい冷温水発生装置およびその制御方法を提供することを目的とする。
【0010】
【課題を解決するための手段】
上記目的を達成するため、本発明の1つの態様によれば、圧縮機、四方弁、水熱交換器、絞り装置、空気熱交換器が順次連結されて冷凍サイクルが構成され、前記水熱交換器に給水ロおよび出湯口が連結された冷温水発生装置において、前記水熱交換器の出口に冷媒量調整機構を設け、沸上温度目標値に応じて、前記冷媒量調整機構により前記冷凍サイクル内を循環する冷媒量を調整することを特徴とする冷温水発生装置が提供される。これにより、必要に応じて最高沸上温度が得られ、さらに、通常は冷凍サイクルのCOPが最高での運転が実現される。
【0011】
好適な一例では、前記冷媒量調整機構は、前記水熱交換器出口に、二方弁、リキッドタンクを順次連結するとともに、前記二方弁、リキッドタンクと並列にキャピラリチューブを連結させる。これにより、構造が簡単であり、かつ冷媒を確実に溜めることができ、信頼性が高い。
【0012】
また、他の好適な一例では、沸上目標温度が高い場合は、前記リキッドタンクに冷媒を溜め、沸上目標温度が低い場合は、前記リキッドタンクに冷媒を溜めないようにする。これにより、最高沸上温度と高COP運転が実現される。
【0013】
また、他の好適な一例では、前記リキッドタンクは、最高COPが得られる冷媒量と、最高沸上温度が得られる冷媒量の差を吸収できる容量である。これにより、COPが最もよい冷媒量と最も高い沸上温度を得られる冷媒量との変更が容易に実現される。
【0014】
また、他の好適な一例では、前記冷凍サイクルに充填される冷媒量は、最高COPが得られる量とする。
【0015】
また、本発明の他の態様によれば、能力可変の圧縮機、四方弁、水熱交換器、絞り装置、空気熱交換器を順次連結することで冷凍サイクルが構成され、水熱交換器には給水口、出湯口が連結された冷温水発生装置の制御方法において、沸上温度目標値に応じた目標スーパーヒート量を設定し、前記絞り装置の絞り量を変え、スーパーヒート量を制御することを特徴とする冷温水発生装置の制御方法が提供される。これにより、沸上温度目標値に応じて、液冷媒の絞りを変え、スーパーヒート量を制御し、従来と比較し高温の沸上温度が実現される。
【0016】
また、他の好適な一例では、沸上目標温度が低い場合は、目標スーパーヒート量一定制御を行ない、沸上目標温度が高い場合は、吐出温度一定制御を行なう。これにより、効率よくかつ安全に高い沸上温度が実現される。
【0017】
また、他の好適な一例では、沸上目標温度が高い場合は、目標スーパーヒート量が小さい状態で運転を開始し、吐出温度が一定値以上となった場合、吐出温度一定制御へ切り換える。これにより、圧縮機の周波数をアップでき、吐出温度に制約があっても、高Hzまで運転可能となり、高い沸上温度が実現される。
【0018】
また、他の好適な一例では、沸上目標温度が高くなるにつれ目標スーパーヒート量を小さくする。冷媒にR410AまたはR407Cを用いることで、COを用いた場合に比べ圧縮機の吐出圧力がさほど高くなく特別な高耐圧設計を不要としてコストの低減が実現される。
【0019】
【発明の実施の形態】
以下、本発明に係わる冷温水発生装置の一実施形態について添付図面を参照して説明する。
【0020】
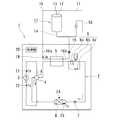
図3は本発明に係わる一実施形態の冷温水発生装置の概念図を示す。
【0021】
図3に示すように、本実施形態の冷温水発生装置1は、ヒートポンプ式の冷凍サイクル2を有しており、この冷凍サイクル2は、能力可変の圧縮機3、四方弁4、水熱交換器5が順次連結され、さらに、二方弁6a、リキッドタンク6bが順次連結されるとともに、二方弁6a、リキッドタンク6bと並列にキャピラリチューブ6cが連結されてなる冷媒量調整機構6が連結され、それぞれの回路は合流後、絞り装置7、空気熱交換器8、四方弁4を介して圧縮機3に連結されることで形成されている。冷媒量調整機構6は、上記構造を有するので、構造が簡単であり、かつ冷媒を確実に溜めることができ、信頼性が高い。
【0022】
また、冷温水発生装置1には、水系統11が設けられており、この水系統11には、上記水熱交換器5と、貯水タンク12の頂部側に設けられた給湯口13と、貯水タンク12と、貯水タンク12の底部に設けられた取水口14と、給水側パイプ16bに設けられたポンプ15が順次連通されてなる循環路16が形成され、また、給湯口13には、台所等の蛇口(図示せず)等に接続される配管17が接続され、さらに、貯湯タンク12の底部側には、給水圧を加えながら貯湯タンク12に市水を供給するための給水配管18が接続されている。
【0023】
また、出湯側パイプ16aには、温度センサ19が取付けられており、温水の沸上温度(Tw)は、温度センサ19の温度が一定となるように、装置全体を制御しインバータ回路(図示せず)を含む制御装置20を介して、圧縮機3の運転周波数を可変させることで制御されるようになっている。冷凍サイクル2に充填される冷媒は、例えばR410Aであり、その量は、定格運転時(例えば、沸上温度65℃時)にCOPが最もよい冷媒量(例えば、1000g)であり、リキッドタンク8の容量は、最も高い沸上温度を得られる冷媒量(800g)との差を吸収できる容量(例えば、200cc)であるのが好ましい。これにより、COPが最もよい冷媒量と最も高い沸上温度を得られる冷媒量との変更が容易にできる。また、冷媒にR410Aを用いることにより、COを用いた場合に比べて圧縮機の吐出圧力がさほど高くなく冷凍サイクルの構成部品に特別な高耐圧設計をする必要がないので、信頼性が高い上に、コストの低減ができる。更には、冷凍サイクルに既存の空調機の室外ユニットを流用できる。
【0024】
上記冷凍サイクル2は、予め行われた試験により、表1に示すような特性を有するように設定されている。
【0025】
【表1】

Figure 2004205116
【0026】
なお、図1中、符号21は吐出温度センサ、22は吸込み温度センサ、23は蒸発温度センサ、24は温度センサであり、各々取付け部の温度を検出して、制御装置20に温度信号を送るようになっている。
【0027】
次に、本実施形態の冷温水発生装置を用いた給湯方法について説明する。
【0028】
「最高(80℃)沸上時」
図1に示すように、最高(80℃)沸上を希望する使用者により、リモート操作により、制御装置20に入力され、この制御装置20を介して予め二方弁6aは開放される。二方弁6aが開放された状態で、冷凍サイクル2は運転され、安定状態になると図2に示すモリエル線図のような状態になる。このような状態において、圧縮機3から吐出された冷媒は、四方弁4を通り、水熱交換器5に接続された給水側パイプ16bを流れる給水と熱交換し、冷却されて凝縮され、給水は加熱される。凝縮された冷媒は、二方弁6a、リキッドタンク6b、絞り装置7を流れ、空気熱交換器8で蒸発し、四方弁4を介して圧縮機1に吸入されて還流される。このような冷媒の循環過程において、水熱交換器5で凝縮液化された冷媒は、リキッドタンク6bに溜められる。リキッドタンク6bは、当初に冷凍サイクル2に充填した冷媒量(1000g)のうち、最高沸上温度が得られる冷媒量との余剰分(200cc)を吸収できる容量となっているため、冷凍サイクル2を流れる冷媒量は800gとなり、圧縮機1の最高運転可能周波数は80Hzとなり、最高沸上温度80℃が得られる。図2からもわかるように、この時のCOP(成績係数)=Q800/qであるCOPは表1に示すように3.6となる。
【0029】
「65℃沸上時」
図3に示すように、65℃沸上を希望する使用者によりリモート操作により、予め二方弁6aは閉止される。二方弁6aが閉止された状態で、冷凍サイクル2は運転され、圧縮機3から吐出された冷媒は、四方弁4を通り、水熱交換器5に設けられた給水側パイプ16bを流れる給水と熱交換し、冷却されて凝縮され、給水は加熱される。凝縮された冷媒は、二方弁6aが閉止状態にあるためキャピラリチューブ6cへ流れ、空気熱交換器8で蒸発した後、四方弁4を介して圧縮機3に吸入されて環流される。このような冷媒の循環過程において、水熱交換器5で凝縮液化された冷媒は、キャピラリチューブを通って流れるため、リキッドタンク8に液冷媒が溜められることはない。従って、冷凍サイクル2を流れる冷媒量は、当初に冷凍サイクル2に充填した冷媒量、すなわち1000gが常時冷凍サイクル内を循環することになり、定常運転時の沸上温度65℃が得られる。図2からもわかるように、この時のCOP(成績係数)=Q1000/qであるCOPは表1に示すように最高の4.0となる。
【0030】
上記のように本実施形態の冷温水発生装置によれば、水熱交換器5の出口に冷媒量調整機構6が設けられ、沸上目標温度に応じて循環冷媒量を調整することで、必要に応じて最高沸上温度が得られ、さらに、通常は冷凍サイクル2のCOPが最高での運転が可能になる。
【0031】
次に本発明に係わる冷温水発生装置の制御方法について説明する。
【0032】
上記一実施形態が冷媒量調整機構により冷凍サイクル内を循環する冷媒量を調整して沸上温度を制御するのに対して、本発明に係わる冷温水発生装置の制御方法は、冷媒の絞り制御してスーパーヒート量を制御し、さらに、圧縮機の回転数も制御するものである。
【0033】
例えば、図4に示すように、本発明に係わる冷温水発生装置の制御方法に用いられる冷温水発生装置1Aは、ヒートポンプ式の冷凍サイクル2Aを有しており、この冷凍サイクル2Aは、能力可変の圧縮機3A、四方弁4A、水熱交換器5A、絞り装置7A、空気熱交換器8A、四方弁4Aを介して圧縮機3Aに連結されることで形成されている。また、出湯側パイプ16Aaには、温度センサ19Aが取付けられており、温水の沸上温度(Tw)は、温度センサ19Aの温度が一定となるように、制御装置20Aを介して、圧縮機3Aの運転周波数を可変させることで制御されるようになっている。
【0034】
上記絞り装置7Aは、流量調整自在な電動膨張弁により構成されており、制御装置20Aからの入力により、そこを流れる冷媒流量を制御できるようになっている。また、圧縮機3Aの吸込み側連通管2Aaには吸込み温度センサ22Aが設けられて、さらに、空気熱交換器8Aには蒸発温度を検知する蒸発温度センサ23Aが設けられており、吸込み温度Ts−蒸発温度Teから冷媒の空気熱交換器8AにおけるSHが演算できるようになっており、また、圧縮機3Aから吐出される冷媒のTdは、吐出側連通管2Abに取付けられた吐出温度センサ21Aによって検知されるようになっている。
【0035】
従って、絞り装置7Aにより空気熱交換器8Aに流入される冷媒量を制御して、冷媒の空気熱交換器8Aの出口におけるSHを制御でき、圧縮機3Aから吐出される冷媒の温度を制御できるようになっている。ここで、SHは、目標沸上温度な応じて目標値が設定され、絞り装置7Aにより制御される。
【0036】
上記冷凍サイクル2Aは、予め行われた試験によれば、表2に示すような特性を有するように設定されている。他の構成は図1に示す冷温水発生装置と異ならないので、同一符号を付して説明は省略する。
【0037】
また、本発明に係わる冷温水発生装置の制御方法について説明する。
【0038】
【表2】
Figure 2004205116
【0039】
「65℃沸上時」
図4に示すような冷凍サイクル2Aが定常運転になった状態で、65℃沸上を希望する使用者により、制御装置20Aを介して、絞り装置7Aは、表2に示すように、目的SHが5degになるように開度が制御され、図5に示すように、空気熱交換器8Aのガス冷媒量が多くなり、SH=5degで制御される。このようにSHが制御された状態で、冷凍サイクル2Aは運転され、安定状態になると図2に示すモリエル線図のような状態になる。このような状態において、圧縮機3Aから吐出された冷媒は、四方弁4Aを通り、水熱交換器5Aに接続された給水側パイプ16Abを流れる給水と熱交換し、冷却されて凝縮され、給水は65℃に加熱される。凝縮された冷媒は、絞り装置7Aを流れ、空気熱交換器8Aで蒸発し、四方弁4Aを介して圧縮機1Aに吸入されて環流される。
【0040】
このような冷媒の循環過程において、空気熱交換器8Aの出口側に取付けられた吸込み温度センサ22Aにより、検知された空気熱交換器8Aの出口の冷媒温度と、温度センサ24Aで検出される蒸発温度との差、すなわちSHが演算され、目標SH量が一定、5degになるように圧縮機3Aの運転周波数が制御され、保持される。
【0041】
この時、沸上目標温度は65℃と低いため吐出温度が低くてもよく、適度のスーパーヒート量が取れた効率的な運転が可能となる。
【0042】
「70℃沸上時」
制御装置20Aを介して、絞り装置7Aは、表2に示すように目的SHが3degになるように開度が制御され、SH=3degで制御される。このSHが制御された状態で、冷凍サイクル2Aは運転される。水熱交換器5Aに接続された給水側パイプ16Abを流れる給水と熱交換し、冷却されて凝縮され、給水は70℃に加熱される。65℃沸上時に比べTd温度は上がる傾向であるが、SHが3degで制御されているためTdが100℃を超えることはなく、70℃沸上げが可能となる。
【0043】
「75℃沸上時」
制御装置20Aを介して、絞り装置7Aは、表2に示すように目的SHが2degになるように開度が制御され、SH=2degで制御される。このSHが制御された状態で、冷凍サイクル2Aは運転される。水熱交換器5Aに接続された給水側パイプ16Abを流れる給水と熱交換し、冷却されて凝縮され、給水は75℃に加熱される。70℃沸上時と同様、SHが2degで制御されているためTdが100℃を超えることはなく、75℃沸上げが可能となる。
【0044】
「80℃沸上時」
制御装置20Aを介して、絞り装置7Aは、表2に示すように目的SHが1degになるように開度が制御され、SH=1degに制御される。
【0045】
このSHが制御された状態で、冷凍サイクル2Aは運転される。水熱交換器5Aに接続された給水側パイプ16Abを流れる給水と熱交換し、冷却されて凝縮され、給水は80℃に加熱される。
【0046】
このような80℃沸上時、圧縮機3AのTdが上昇し、104℃を超えると、絞り装置7Aは、Tdセンサの値が103℃になるように制御される。これにより、圧縮機3Aの周波数をアップでき、Td<105℃という制約条件下でも、最高Hz90まで運転可能となり、80℃の沸上温度が得られる。
【0047】
上記のように本発明に係わる冷温水発生装置の制御方法によれば、沸上温度目標値に応じて、液冷媒の絞りを変え、スーパーヒート量を制御し、従来と比較し高温の沸上温度が得られる。
【0048】
また、上記一実施形態に用いられる冷媒量調整機構の第1変形例について説明する。
【0049】
本第1変形例は、図1に示す一実施形態に用いられる冷媒量調整機構のキャピラリチューブと直列に第2の二方弁が付加されたものである。
【0050】
例えば、図7に示すように、冷媒量調整機構6Bのキャピラリチューブ6Bcに直列に第2の二方弁6Bdが設けられている。これにより、第1実施形態と同様の効果が得られるほか、キャピラリチューブ6Bcを介して流れる冷媒を完全に止めることができる。
【0051】
さらに、一実施形態に用いられる冷媒量調整機構の第2変形例について説明する。
【0052】
本第2変形例は、図1に示す第1実施形態に用いられる冷媒量調整機構のリキッドタンクと直列に第2のキャピラリチューブが付加されたものである。
【0053】
例えば、図8に示すように、冷媒量調整機構6Cのリキッドタンク6Bbに直列に第2のキャピラリチューブ6Beが設けられている。これにより、第1実施形態と同様の効果が得られるほか、冷媒の逆流が防止される。
【0054】
また、上記第1変形例と上記第2変形例を組合せた構造、すなわち、図7に示すリキッドタンク6bと直列に、図8に示すように第2のキャピラリチューブ6Beを設けるようにしてもよい。
【0055】
【発明の効果】
本発明に係わる冷温水発生装置によれば、高温の沸上温度が得られ、かつ、性能がよい冷温水発生装置を提供することができる。
【図面の簡単な説明】
【図1】本発明に係わる冷温水発生装置の一実施形態の概念図。
【図2】本発明に係わる冷温水発生装置に用いられる冷凍サイクルのモリエル線図。
【図3】本発明に係わる冷温水発生装置の一実施形態の動作状態を示す概念図。
【図4】本発明に係わる冷温水発生装置の制御方法に用いられる冷温水発生装置の概念図。
【図5】本発明に係わる冷温水発生装置の制御方法に用いられる冷温水発生装置の空気熱交換器の状態を示す概念図。
【図6】本発明に係わる冷温水発生装置の制御方法に用いられる冷温水発生装置の絞り装置の制御図。
【図7】本発明に係わる冷温水発生装置の第1実施形態に用いられる冷媒量調整機構の第1変形例の概念図。
【図8】本発明に係わる冷温水発生装置の第1実施形態に用いられる冷媒量調整機構の第2変形例の概念図。
【図9】従来の冷温水発生装置の概念図。
【符号の説明】
1 冷温水発生装置
2 冷凍サイクル
3 圧縮機
4 四方弁
5 水熱交換器
6 冷媒量調整機構
6a 二方弁
6b リキッドタンク
6c キャピラリチューブ
7 絞り装置
8 空気熱交換器
11 水系統
12 貯水タンク
13 給湯口
14 取水口
15 ポンプ
16 循環路
16a 出湯側パイプ
16b 給水側パイプ
17 配管
18 給水配管
19 温度センサ
20 制御装置
21〜24 温度センサ[0001]
TECHNICAL FIELD OF THE INVENTION
The present invention relates to a hot / cold water generator using a heat pump and a control method thereof, and more particularly to a cold / hot water generator capable of controlling a refrigerant to obtain a high tap water temperature and a control method thereof.
[0002]
[Prior art]
Conventionally, as shown in FIG. 9, in a cold / hot water generator, arefrigeration cycle 32 is configured by sequentially connecting acompressor 33, a four-way valve 34, awater heat exchanger 35, athrottle device 37, and anair heat exchanger 38. Was. In the conventional cold / hot water generator, when hot water is generated, the refrigerant discharged from thecompressor 33 passes through the four-way valve 34, is condensed in thewater heat exchanger 35, and is condensed through theexpansion device 37 and theair heat exchanger 38. The feed water is returned to thefeed water 33, and the feed water that has been heat-exchanged by thewater heat exchanger 38 has become hot water and has been fed by thepump 39.
[0003]
However, in the conventional cold / hot water generator, as shown in Table 1 and FIG. 2, during the hot water generation operation, the amount of refrigerant having the best performance and the amount of refrigerant at which the highest boiling temperature is obtained are different. Performance or maximum boiling temperature). For example, in the case of a cold / hot water generator requiring a maximum boiling temperature of 80 ° C., the amount of the refrigerant is set to 800 g. Therefore, when the boiling temperature was 65 ° C., the amount of circulating refrigerant was small, the amount of supercooling was small, and the performance was poor.
[0004]
Further, in the conventional control method of the cold / hot water generator, theexpansion device 37 has a constant superheat amount (suction temperature Ts-evaporation temperature Te) (hereinafter referred to as SH) regardless of the target boiling temperature. Was controlled as follows. Therefore, as shown in Table 2, the operable Hz is limited due to the restriction on the reliability of the compressor that the discharge temperature (hereinafter, referred to as Td) <105 ° C. or less, and the maximum boiling temperature cannot be too high. Was.
[0005]
In addition, Patent Document 1 includes a liquid tank temperature adjusting means in accordance with the outside air temperature and / or the supply water temperature, irrespective of the season, circulates an appropriate amount of refrigerant in the refrigeration cycle, and continuously operates for a long time. Although a cold and hot water generator capable of performing a stable tapping operation is described, the cold and hot water generator of Patent Document 1 has a COP having the best refrigerant amount and a refrigerant amount capable of obtaining the highest boiling temperature. Since it cannot be easily changed, a hot and cold water generating device capable of a high tap water temperature or having good performance cannot be obtained.
[0006]
Further, inPatent Document 2, a defrost bypass valve is provided, and at the time of defrost, the flow rate control valve is controlled to a predetermined opening to perform constant control of the superheat amount to generate defrost in a short time. Although an apparatus is described, it is not possible to obtain a high boiling temperature by controlling the amount of superheat by changing the throttle of the liquid refrigerant according to the boiling temperature target value.
[0007]
[Patent Document 1]
JP-A-2002-115924 (paragraph numbers [0026], 0027, 0030, FIG. 1)
[0008]
[Patent Document 2]
JP-A-2002-243276 (paragraph number [0079], FIG. 1)
[0009]
[Problems to be solved by the invention]
The present invention has been made in consideration of the above-described circumstances, and has as its object to provide a cold and hot water generating apparatus capable of obtaining a high boiling temperature and having good performance, and a control method thereof.
[0010]
[Means for Solving the Problems]
According to one embodiment of the present invention, a compressor, a four-way valve, a water heat exchanger, a throttle device, and an air heat exchanger are sequentially connected to form a refrigeration cycle. In a cold / hot water generator in which a water supply unit and a hot water outlet are connected to a heat exchanger, a refrigerant amount adjusting mechanism is provided at an outlet of the water heat exchanger, and the refrigeration cycle is controlled by the refrigerant amount adjusting mechanism in accordance with a boiling temperature target value. There is provided a cold and hot water generator characterized by adjusting the amount of refrigerant circulating in the inside. As a result, a maximum boiling temperature can be obtained if necessary, and furthermore, the operation of the refrigeration cycle with the highest COP is usually realized.
[0011]
In a preferred example, the refrigerant amount adjusting mechanism sequentially connects a two-way valve and a liquid tank to the water heat exchanger outlet, and connects a capillary tube in parallel with the two-way valve and the liquid tank. Thus, the structure is simple, the refrigerant can be reliably stored, and the reliability is high.
[0012]
In another preferred example, when the boiling target temperature is high, the refrigerant is stored in the liquid tank, and when the boiling target temperature is low, the refrigerant is not stored in the liquid tank. Thereby, the maximum boiling temperature and the high COP operation are realized.
[0013]
In another preferred example, the liquid tank has a capacity capable of absorbing a difference between a refrigerant amount at which a maximum COP is obtained and a refrigerant amount at which a maximum boiling temperature is obtained. This makes it easy to change between the amount of refrigerant having the best COP and the amount of refrigerant capable of obtaining the highest boiling temperature.
[0014]
Further, in another preferred example, the amount of the refrigerant charged into the refrigeration cycle is an amount that allows the highest COP to be obtained.
[0015]
According to another aspect of the present invention, a refrigeration cycle is configured by sequentially connecting a variable capacity compressor, a four-way valve, a water heat exchanger, a throttle device, and an air heat exchanger. Is a method for controlling a hot / cold water generator in which a water inlet and a tap is connected, wherein a target superheat amount is set according to a boiling temperature target value, a throttle amount of the throttle device is changed, and a superheat amount is controlled. A method for controlling a cold / hot water generator is provided. Thereby, the throttle of the liquid refrigerant is changed in accordance with the boiling temperature target value, the amount of superheat is controlled, and a higher boiling temperature than that of the related art is realized.
[0016]
In another preferred example, when the boiling target temperature is low, the target superheat amount constant control is performed, and when the boiling target temperature is high, the discharge temperature constant control is performed. Thereby, a high boiling temperature is realized efficiently and safely.
[0017]
In another preferred example, when the boiling target temperature is high, the operation is started in a state where the target superheat amount is small, and when the discharge temperature becomes equal to or higher than a predetermined value, the control is switched to the discharge temperature constant control. As a result, the frequency of the compressor can be increased, and even if the discharge temperature is restricted, the compressor can be operated up to a high Hz, and a high boiling temperature can be realized.
[0018]
In another preferred example, the target superheat amount is reduced as the boiling target temperature increases. By using R410A or R407C the refrigerant, the discharge pressure of the compressor compared with the case of using CO2 to reduce the cost of is achieved a special high-voltage design as required not so high.
[0019]
BEST MODE FOR CARRYING OUT THE INVENTION
Hereinafter, an embodiment of a cold and hot water generator according to the present invention will be described with reference to the accompanying drawings.
[0020]
FIG. 3 shows a conceptual diagram of the cold / hot water generator of one embodiment according to the present invention.
[0021]
As shown in FIG. 3, the cold / hot water generator 1 of the present embodiment has a heat pumptype refrigeration cycle 2, and thisrefrigeration cycle 2 has a variable capacity compressor 3, a four-way valve 4, a water heat exchange Thevessel 5 is sequentially connected, and further, the two-way valve 6a and theliquid tank 6b are sequentially connected, and the refrigerantamount adjusting mechanism 6, which is connected to thecapillary tube 6c in parallel with the two-way valve 6a and theliquid tank 6b, is connected. The respective circuits are formed by being connected to the compressor 3 via theexpansion device 7, theair heat exchanger 8, and the four-way valve 4 after the merging. Since the refrigerantamount adjusting mechanism 6 has the above structure, the structure is simple, the refrigerant can be reliably stored, and the reliability is high.
[0022]
Further, the cold / hot water generator 1 is provided with awater system 11. Thewater system 11 includes thewater heat exchanger 5, a hotwater supply port 13 provided on the top side of thewater storage tank 12, and a water storage system. Acirculation path 16 is formed in which atank 12, awater intake port 14 provided at the bottom of thewater storage tank 12, and apump 15 provided on a watersupply side pipe 16 b are sequentially communicated. Apipe 17 connected to a faucet (not shown) or the like is connected to the bottom of the hotwater storage tank 12, and awater supply pipe 18 for supplying city water to the hotwater storage tank 12 while applying water supply pressure. It is connected.
[0023]
Atemperature sensor 19 is attached to the tapping-side pipe 16a. The temperature of the boiling water (Tw) of the hot water is controlled by controlling the entire apparatus so that the temperature of thetemperature sensor 19 becomes constant. ) Is controlled by varying the operating frequency of the compressor 3 via thecontrol device 20 including The refrigerant to be charged into therefrigeration cycle 2 is, for example, R410A, the amount of which is the refrigerant amount (for example, 1000 g) having the best COP at the time of rated operation (for example, at a boiling temperature of 65 ° C.). Is preferably a capacity (for example, 200 cc) capable of absorbing a difference from a refrigerant amount (800 g) at which the highest boiling temperature can be obtained. Thereby, it is possible to easily change the amount of refrigerant having the best COP and the amount of refrigerant capable of obtaining the highest boiling temperature. Also, by using R410A for the refrigerant, the discharge pressure of the compressor is not so high as compared with the case of using CO2, and there is no need to design special high pressure resistance for the components of the refrigeration cycle. In addition, costs can be reduced. Furthermore, the outdoor unit of the existing air conditioner can be used for the refrigeration cycle.
[0024]
Therefrigeration cycle 2 is set so as to have characteristics as shown in Table 1 by a test performed in advance.
[0025]
[Table 1]
Figure 2004205116
[0026]
In FIG. 1,reference numeral 21 denotes a discharge temperature sensor, 22 denotes a suction temperature sensor, 23 denotes an evaporation temperature sensor, and 24 denotes a temperature sensor, each of which detects the temperature of the mounting portion and sends a temperature signal to thecontrol device 20. It has become.
[0027]
Next, a hot water supply method using the cold / hot water generator of the present embodiment will be described.
[0028]
"At maximum (80 ° C) boiling"
As shown in FIG. 1, a user who desires the maximum (80 ° C.) boiling is input to thecontrol device 20 by remote operation, and the two-way valve 6a is opened in advance via thecontrol device 20. Therefrigeration cycle 2 is operated in a state where the two-way valve 6a is opened, and when therefrigeration cycle 2 is in a stable state, the state is as shown in a Mollier diagram shown in FIG. In such a state, the refrigerant discharged from the compressor 3 passes through the four-way valve 4 and exchanges heat with the feedwater flowing through thefeedwater pipe 16b connected to thewater heat exchanger 5, and is cooled and condensed to supply water. Is heated. The condensed refrigerant flows through the two-way valve 6a, theliquid tank 6b, and theexpansion device 7, evaporates in theair heat exchanger 8, is drawn into the compressor 1 via the four-way valve 4, and is returned. In such a refrigerant circulation process, the refrigerant condensed and liquefied in thewater heat exchanger 5 is stored in theliquid tank 6b. Theliquid tank 6b has a capacity capable of absorbing a surplus (200 cc) of the refrigerant amount (1000 g) initially charged into therefrigeration cycle 2 with the refrigerant amount at which the maximum boiling temperature is obtained. Is 800 g, the maximum operable frequency of the compressor 1 is 80 Hz, and a maximum boiling temperature of 80 ° C. is obtained. As can be seen from FIG. 2, the COP (coefficient of performance) = Q800 / q at this time is 3.6 as shown in Table 1.
[0029]
"When boiling at 65 ° C"
As shown in FIG. 3, the two-way valve 6a is previously closed by a remote operation by a user who wants to heat up to 65 ° C. With the two-way valve 6a closed, therefrigeration cycle 2 is operated, and the refrigerant discharged from the compressor 3 passes through the four-way valve 4 and flows through thewater supply pipe 16b provided in thewater heat exchanger 5 to supply water. Heat exchange with the water, cooled and condensed, and the feed water is heated. The condensed refrigerant flows to thecapillary tube 6c because the two-way valve 6a is in the closed state, evaporates in theair heat exchanger 8, is drawn into the compressor 3 via the four-way valve 4, and is recirculated. In such a refrigerant circulation process, the refrigerant condensed and liquefied in thewater heat exchanger 5 flows through the capillary tube, so that the liquid refrigerant is not stored in theliquid tank 8. Therefore, the amount of the refrigerant flowing through therefrigeration cycle 2 is the amount of the refrigerant initially charged in therefrigeration cycle 2, that is, 1000 g constantly circulates in the refrigeration cycle, and a boiling temperature of 65 ° C. at the time of steady operation is obtained. As can be seen from FIG. 2, the COP (coefficient of performance) = Q1000 / q at this time is the highest 4.0 as shown in Table 1.
[0030]
As described above, according to the cold / hot water generator of the present embodiment, the refrigerantamount adjusting mechanism 6 is provided at the outlet of thewater heat exchanger 5, and the required amount of circulating refrigerant is adjusted according to the target boiling temperature. , The maximum boiling temperature is obtained, and the operation of therefrigeration cycle 2 with the highest COP is generally possible.
[0031]
Next, a control method of the cold / hot water generator according to the present invention will be described.
[0032]
While the above embodiment controls the boiling temperature by adjusting the amount of refrigerant circulating in the refrigeration cycle by the refrigerant amount adjustment mechanism, the control method of the chilled / hot water generator according to the present invention employs the throttle control of the refrigerant. In this way, the amount of superheat is controlled, and the number of revolutions of the compressor is also controlled.
[0033]
For example, as shown in FIG. 4, the cold /hot water generator 1A used in the control method of the cold / hot water generator according to the present invention has a heat pumptype refrigeration cycle 2A. 3A, a four-way valve 4A, awater heat exchanger 5A, athrottle device 7A, anair heat exchanger 8A, and acompressor 3A via a four-way valve 4A. A temperature sensor 19A is attached to the tapping-side pipe 16Aa, and the boiling temperature (Tw) of the hot water is controlled by thecompressor 3A via the control device 20A so that the temperature of the temperature sensor 19A becomes constant. Is controlled by varying the operating frequency of the motor.
[0034]
Theexpansion device 7A is configured by an electric expansion valve whose flow rate can be adjusted, and the flow rate of the refrigerant flowing therethrough can be controlled by an input from the control device 20A. The suction side communication pipe 2Aa of thecompressor 3A is provided with asuction temperature sensor 22A, and theair heat exchanger 8A is further provided with an evaporation temperature sensor 23A for detecting an evaporation temperature. The SH of the refrigerant in theair heat exchanger 8A can be calculated from the evaporation temperature Te, and the Td of the refrigerant discharged from thecompressor 3A is calculated by adischarge temperature sensor 21A attached to the discharge communication pipe 2Ab. It is to be detected.
[0035]
Therefore, by controlling the amount of refrigerant flowing into theair heat exchanger 8A by theexpansion device 7A, SH at the outlet of theair heat exchanger 8A of the refrigerant can be controlled, and the temperature of the refrigerant discharged from thecompressor 3A can be controlled. It has become. Here, a target value of SH is set according to the target boiling temperature, and is controlled by theexpansion device 7A.
[0036]
Therefrigeration cycle 2A is set to have characteristics as shown in Table 2 according to a test performed in advance. The other configuration is the same as that of the cold / hot water generator shown in FIG.
[0037]
Further, a control method of the cold / hot water generator according to the present invention will be described.
[0038]
[Table 2]
Figure 2004205116
[0039]
"When boiling at 65 ° C"
In a state where therefrigeration cycle 2A shown in FIG. 4 is in a steady operation, the user who desires to raise the temperature to 65 ° C. through the control device 20A causes theexpansion device 7A to perform the target SH as shown in Table 2. Is set to 5 deg, and as shown in FIG. 5, the gas refrigerant amount of theair heat exchanger 8A increases, and control is performed at SH = 5 deg. Therefrigeration cycle 2A is operated in a state where the SH is controlled as described above. When therefrigeration cycle 2A becomes stable, a state as shown in a Mollier diagram shown in FIG. 2 is obtained. In such a state, the refrigerant discharged from thecompressor 3A passes through the four-way valve 4A, exchanges heat with the feedwater flowing through the feedwater pipe 16Ab connected to thewater heat exchanger 5A, is cooled, condensed, and supplied with water. Is heated to 65 ° C. The condensed refrigerant flows through theexpansion device 7A, evaporates in theair heat exchanger 8A, is sucked into thecompressor 1A via the four-way valve 4A, and is recirculated.
[0040]
In such a refrigerant circulation process, the refrigerant temperature at the outlet of theair heat exchanger 8A detected by thesuction temperature sensor 22A attached to the outlet side of theair heat exchanger 8A and the evaporation temperature detected by thetemperature sensor 24A. The difference from the temperature, that is, SH is calculated, and the operating frequency of thecompressor 3A is controlled and maintained so that the target SH amount is constant at 5 deg.
[0041]
At this time, since the boiling target temperature is as low as 65 ° C., the discharge temperature may be low, and efficient operation with an appropriate amount of superheat can be performed.
[0042]
"When boiling at 70 ° C"
The opening degree of theexpansion device 7A is controlled via the control device 20A so that the target SH becomes 3 deg as shown in Table 2, and is controlled at SH = 3 deg. With this SH controlled, therefrigeration cycle 2A is operated. It exchanges heat with the feedwater flowing through the feedwater pipe 16Ab connected to thewater heat exchanger 5A, is cooled and condensed, and the feedwater is heated to 70 ° C. Although the Td temperature tends to rise as compared with the case of boiling at 65 ° C., since SH is controlled at 3 deg, Td does not exceed 100 ° C., and boiling at 70 ° C. becomes possible.
[0043]
"When boiling at 75 ° C"
The opening degree of theexpansion device 7A is controlled via the control device 20A so that the target SH becomes 2 deg as shown in Table 2, and is controlled at SH = 2 deg. With this SH controlled, therefrigeration cycle 2A is operated. It exchanges heat with the feedwater flowing through the feedwater pipe 16Ab connected to thewater heat exchanger 5A, is cooled and condensed, and the feedwater is heated to 75 ° C. As in the case of boiling at 70 ° C., since SH is controlled at 2 deg, Td does not exceed 100 ° C., and boiling at 75 ° C. becomes possible.
[0044]
"When boiling at 80 ° C"
The opening degree of theexpansion device 7A is controlled via the control device 20A so that the target SH becomes 1 deg as shown in Table 2, and is controlled to SH = 1 deg.
[0045]
With this SH controlled, therefrigeration cycle 2A is operated. It exchanges heat with the feedwater flowing through the feedwater pipe 16Ab connected to thewater heat exchanger 5A, is cooled and condensed, and the feedwater is heated to 80 ° C.
[0046]
At the time of such 80 ° C. boiling, the Td of thecompressor 3A rises, and when it exceeds 104 ° C., theexpansion device 7A is controlled such that the value of the Td sensor becomes 103 ° C. As a result, the frequency of thecompressor 3A can be increased, and thecompressor 3A can be operated up to a maximum of 90 even under the constraint condition of Td <105 ° C., and a boiling temperature of 80 ° C. can be obtained.
[0047]
As described above, according to the method for controlling the cold / hot water generator according to the present invention, the throttle of the liquid refrigerant is changed according to the boiling temperature target value, and the superheat amount is controlled. The temperature is obtained.
[0048]
Further, a first modification of the refrigerant amount adjusting mechanism used in the embodiment will be described.
[0049]
In the first modification, a second two-way valve is added in series with the capillary tube of the refrigerant amount adjusting mechanism used in the embodiment shown in FIG.
[0050]
For example, as shown in FIG. 7, a second two-way valve 6Bd is provided in series with the capillary tube 6Bc of the refrigerant amount adjusting mechanism 6B. Accordingly, the same effect as that of the first embodiment can be obtained, and the refrigerant flowing through the capillary tube 6Bc can be completely stopped.
[0051]
Further, a second modified example of the refrigerant amount adjusting mechanism used in the embodiment will be described.
[0052]
In the second modified example, a second capillary tube is added in series with the liquid tank of the refrigerant amount adjusting mechanism used in the first embodiment shown in FIG.
[0053]
For example, as shown in FIG. 8, a second capillary tube 6Be is provided in series with the liquid tank 6Bb of the refrigerantamount adjusting mechanism 6C. Thereby, the same effect as that of the first embodiment is obtained, and the backflow of the refrigerant is prevented.
[0054]
In addition, a structure combining the first modification and the second modification, that is, a second capillary tube 6Be may be provided in series with theliquid tank 6b shown in FIG. 7 as shown in FIG. .
[0055]
【The invention's effect】
ADVANTAGE OF THE INVENTION According to the cold / hot water generator according to the present invention, a high boiling temperature can be obtained, and a cold / hot water generator with good performance can be provided.
[Brief description of the drawings]
FIG. 1 is a conceptual diagram of one embodiment of a cold / hot water generator according to the present invention.
FIG. 2 is a Mollier diagram of a refrigeration cycle used in the cold / hot water generator according to the present invention.
FIG. 3 is a conceptual diagram showing an operation state of an embodiment of the cold and hot water generation device according to the present invention.
FIG. 4 is a conceptual diagram of a cold / hot water generator used in the method for controlling a cold / hot water generator according to the present invention.
FIG. 5 is a conceptual diagram showing a state of an air heat exchanger of the cold / hot water generator used in the method for controlling the cold / hot water generator according to the present invention.
FIG. 6 is a control diagram of a throttle device of the cold / hot water generator used in the method of controlling the cold / hot water generator according to the present invention.
FIG. 7 is a conceptual diagram of a first modified example of the refrigerant amount adjusting mechanism used in the first embodiment of the cold and hot water generation device according to the present invention.
FIG. 8 is a conceptual diagram of a second modification of the refrigerant amount adjusting mechanism used in the first embodiment of the cold / hot water generator according to the present invention.
FIG. 9 is a conceptual diagram of a conventional cold / hot water generator.
[Explanation of symbols]
DESCRIPTION OF SYMBOLS 1 Cold andhot water generator 2 Refrigeration cycle 3 Compressor 4 Four-way valve 5Water heat exchanger 6 Refrigerantamount adjustment mechanism 6a Two-way valve6b Liquid tank6c Capillary tube 7Throttling device 8Air heat exchanger 11Water system 12Water tank 13 Hotwater supply Mouth 14Intake 15Pump 16Circulation path 16a Hot-water supply pipe 16bWater supply pipe 17Pipe 18Water supply pipe 19Temperature sensor 20Control devices 21 to 24 Temperature sensor

Claims (11)

Translated fromJapanese
圧縮機、四方弁、水熱交換器、絞り装置、空気熱交換器が順次連結されて冷凍サイクルが構成され、前記水熱交換器に給水ロおよび出湯口が連結された冷温水発生装置において、前記水熱交換器の出口に冷媒量調整機構を設け、沸上温度目標値に応じて、前記冷媒量調整機構により前記冷凍サイクル内を循環する冷媒量を調整することを特徴とする冷温水発生装置。A compressor, a four-way valve, a water heat exchanger, a throttling device, an air heat exchanger are sequentially connected to form a refrigeration cycle, and a cold and hot water generator in which a water supply port and a tap hole are connected to the water heat exchanger Providing a refrigerant amount adjusting mechanism at an outlet of the water heat exchanger, and adjusting a refrigerant amount circulating in the refrigeration cycle by the refrigerant amount adjusting mechanism according to a boiling temperature target value. apparatus.請求項1に記載の冷温水発生装置において、前記冷媒量調整機構は、前記水熱交換器出口に、二方弁、リキッドタンクを順次連結するとともに、前記二方弁、リキッドタンクと並列にキャピラリチューブを連結させたことを特徴とする冷温水発生装置。2. The cooling / heating water generating device according to claim 1, wherein the refrigerant amount adjusting mechanism sequentially connects a two-way valve and a liquid tank to the outlet of the water heat exchanger, and a capillary in parallel with the two-way valve and the liquid tank. A cold / hot water generator characterized by connecting tubes.請求項2に記載の冷温水発生装置において、沸上目標温度が高い場合は、前記リキッドタンクに冷媒を溜め、沸上目標温度が低い場合は、前記リキッドタンクに冷媒を溜めないようにしたことを特徴とする冷温水発生装置。In the cold / hot water generator according to claim 2, when the boiling target temperature is high, the refrigerant is stored in the liquid tank, and when the boiling target temperature is low, the refrigerant is not stored in the liquid tank. A cold / hot water generator.請求項2または3に記載の冷温水発生装置において、前記リキッドタンクは、最高COPが得られる冷媒量と、最高沸上温度が得られる冷媒量の差を吸収できる容量としたことを特徴とする冷温水発生装置。4. The cold / hot water generator according to claim 2, wherein the liquid tank has a capacity capable of absorbing a difference between a refrigerant amount at which a maximum COP is obtained and a refrigerant amount at which a maximum boiling temperature is obtained. 5. Cold and hot water generator.請求項1ないし4のいずれか1項に記載の冷温水発生装置において、前記冷凍サイクルに充填される冷媒量は、最高COPが得られる量とすることを特徴とする冷温水発生装置。The cold / hot water generator according to any one of claims 1 to 4, wherein the amount of refrigerant charged into the refrigeration cycle is an amount at which a maximum COP is obtained.能力可変の圧縮機、四方弁、水熱交換器、絞り装置、空気熱交換器を順次連結することで冷凍サイクルが構成され、水熱交換器には給水口、出湯口が連結された冷温水発生装置の制御方法において、沸上温度目標値に応じた目標スーパーヒート量を設定し、前記絞り装置の絞り量を変え、スーパーヒート量を制御することを特徴とする冷温水発生装置の制御方法。A refrigeration cycle is configured by connecting a compressor, a four-way valve, a water heat exchanger, a throttle device, and an air heat exchanger in order, with variable capacity, and the water heat exchanger is connected to a water supply port and a tap water port. A method for controlling a cold / hot water generating apparatus, comprising: setting a target superheat amount according to a boiling temperature target value, changing a throttle amount of the throttle device, and controlling a superheat amount. .請求項6に記載の冷温水発生装置の制御方法において、沸上目標温度が低い場合は、目標スーパーヒート量一定制御を行ない、沸上目標温度が高い場合は、吐出温度一定制御を行なうことを特徴とする冷温水発生装置の制御方法。In the method for controlling a cold and hot water generator according to claim 6, when the boiling target temperature is low, the target superheat amount constant control is performed, and when the boiling target temperature is high, the discharge temperature constant control is performed. A method for controlling a cold / hot water generator.請求項7に記載の冷温水発生装置の制御方法において、沸上目標温度が高い場合は、目標スーパーヒート量が小さい状態で運転を開始し、吐出温度が一定値以上となった場合、吐出温度一定制御へ切り換えることを特徴とする冷温水発生装置の制御方法。The method according to claim 7, wherein when the boiling target temperature is high, the operation is started in a state where the target superheat amount is small, and when the discharge temperature is equal to or higher than a predetermined value, the discharge temperature is increased. A method for controlling a cold / hot water generator, characterized by switching to constant control.請求項6ないし8のいずれか1項に記載の冷温水発生装置の制御方法において、沸上目標温度が高くなるにつれ目標スーパーヒート量を小さくしたことを特徴とする冷温水発生装置の制御方法。9. The method for controlling a chilled / hot water generator according to claim 6, wherein the target superheat amount is reduced as the boiling target temperature is increased.請求項1ないし5のいずれか1項に記載の冷温水発生装置において、上記冷媒は、R410AまたはR407Cが選択されていることを特徴とする冷温水発生装置。The cold / hot water generator according to any one of claims 1 to 5, wherein R410A or R407C is selected as the refrigerant.請求項6ないし9のいずれか1項に記載の冷温水発生装置の制御方法において、上記冷媒は、R410AまたはR407Cが選択されていることを特徴とする冷温水発生装置の制御方法。The method for controlling a chilled / hot water generator according to any one of claims 6 to 9, wherein R410A or R407C is selected as the refrigerant.
JP2002375208A2002-12-252002-12-25 Cold and hot water generator and control method thereofPendingJP2004205116A (en)

Priority Applications (1)

Application NumberPriority DateFiling DateTitle
JP2002375208AJP2004205116A (en)2002-12-252002-12-25 Cold and hot water generator and control method thereof

Applications Claiming Priority (1)

Application NumberPriority DateFiling DateTitle
JP2002375208AJP2004205116A (en)2002-12-252002-12-25 Cold and hot water generator and control method thereof

Publications (1)

Publication NumberPublication Date
JP2004205116Atrue JP2004205116A (en)2004-07-22

Family

ID=32813016

Family Applications (1)

Application NumberTitlePriority DateFiling Date
JP2002375208APendingJP2004205116A (en)2002-12-252002-12-25 Cold and hot water generator and control method thereof

Country Status (1)

CountryLink
JP (1)JP2004205116A (en)

Cited By (5)

* Cited by examiner, † Cited by third party
Publication numberPriority datePublication dateAssigneeTitle
JP2007127335A (en)*2005-11-042007-05-24Sanden CorpCooling system
JP2008196777A (en)*2007-02-132008-08-28Mitsubishi Electric Corp Water heat exchanger
CN105466078A (en)*2014-08-182016-04-06青岛海尔洗衣机有限公司Heat pump system, washing-drying integrated machine and clothes dryer
CN106482379A (en)*2016-10-252017-03-08重庆美的通用制冷设备有限公司Air-conditioning and its refrigeration system
CN106766324A (en)*2016-11-142017-05-31重庆美的通用制冷设备有限公司Refrigeration system and the refrigerating plant with it

Cited By (9)

* Cited by examiner, † Cited by third party
Publication numberPriority datePublication dateAssigneeTitle
JP2007127335A (en)*2005-11-042007-05-24Sanden CorpCooling system
JP2008196777A (en)*2007-02-132008-08-28Mitsubishi Electric Corp Water heat exchanger
CN105466078A (en)*2014-08-182016-04-06青岛海尔洗衣机有限公司Heat pump system, washing-drying integrated machine and clothes dryer
JP2017526887A (en)*2014-08-182017-09-14青島海爾洗衣机有限公司QingDao Haier Washing Machine Co.,Ltd. Heat pump system, washing dryer and dryer
EP3184934A4 (en)*2014-08-182018-04-18Qingdao Haier Washing Machine Co. Ltd.Heat pump system, combo washer-dryer, and dryer
CN106482379A (en)*2016-10-252017-03-08重庆美的通用制冷设备有限公司Air-conditioning and its refrigeration system
WO2018076934A1 (en)*2016-10-252018-05-03重庆美的通用制冷设备有限公司Air conditioner and refrigeration system thereof
RU2721628C1 (en)*2016-10-252020-05-21Чунцин Мидеа Дженерал Рефриджерейшн Эквипмент Ко., Лтд.Air conditioner and refrigeration system thereof
CN106766324A (en)*2016-11-142017-05-31重庆美的通用制冷设备有限公司Refrigeration system and the refrigerating plant with it

Similar Documents

PublicationPublication DateTitle
JP5121922B2 (en) Air conditioning and hot water supply complex system
JP5084903B2 (en) Air conditioning and hot water supply complex system
EP2669605B1 (en)Heat pump device and control method for heat pump device
JP5264936B2 (en) Air conditioning and hot water supply complex system
EP2333457A2 (en)Water circulation apparatus associated with refrigerant system
JP6589946B2 (en) Refrigeration equipment
JP4178446B2 (en) Heat pump system
JP2008121982A (en) Refrigeration cycle equipment
WO2012164608A1 (en)Combined air-conditioning/hot water supply system
JP2007303806A (en) Refrigeration cycle apparatus and operation method thereof
CN112739966A (en) heat pump device
JP3737357B2 (en) Water heater
JP2004003825A (en) Heat pump system, heat pump water heater
JP2002235953A (en) Heat pump water heater
JP2004205116A (en) Cold and hot water generator and control method thereof
JP2020003155A (en) Air conditioner
JP2004044948A (en) Air conditioner
JP2009085479A (en) Water heater
JP4231863B2 (en) Heat pump water heater bathroom heating dryer
WO2025032656A1 (en)Air conditioning and hot water supply system
KR100877055B1 (en) Hybrid Heat Pump System with Hot Water Function
JP7293661B2 (en) Heat pump water heater and controller
JP2004044946A (en) Air conditioner
JP2004278987A (en) Heat pump water heater
JP4169453B2 (en) Hot water storage hot water source

[8]ページ先頭

©2009-2025 Movatter.jp