Movatterモバイル変換


[0]ホーム

URL:


JP2004197889A - Dynamic-pressure bearing device - Google Patents

Dynamic-pressure bearing device
Download PDF

Info

Publication number
JP2004197889A
JP2004197889AJP2002369630AJP2002369630AJP2004197889AJP 2004197889 AJP2004197889 AJP 2004197889AJP 2002369630 AJP2002369630 AJP 2002369630AJP 2002369630 AJP2002369630 AJP 2002369630AJP 2004197889 AJP2004197889 AJP 2004197889A
Authority
JP
Japan
Prior art keywords
bearing
thrust
housing
radial
bearing sleeve
Prior art date
Legal status (The legal status is an assumption and is not a legal conclusion. Google has not performed a legal analysis and makes no representation as to the accuracy of the status listed.)
Withdrawn
Application number
JP2002369630A
Other languages
Japanese (ja)
Inventor
Takatsugu Furubayashi
卓嗣 古林
Current Assignee (The listed assignees may be inaccurate. Google has not performed a legal analysis and makes no representation or warranty as to the accuracy of the list.)
NTN Corp
Original Assignee
NTN Corp
NTN Toyo Bearing Co Ltd
Priority date (The priority date is an assumption and is not a legal conclusion. Google has not performed a legal analysis and makes no representation as to the accuracy of the date listed.)
Filing date
Publication date
Application filed by NTN Corp, NTN Toyo Bearing Co LtdfiledCriticalNTN Corp
Priority to JP2002369630ApriorityCriticalpatent/JP2004197889A/en
Publication of JP2004197889ApublicationCriticalpatent/JP2004197889A/en
Withdrawnlegal-statusCriticalCurrent

Links

Images

Landscapes

Abstract

<P>PROBLEM TO BE SOLVED: To prevent negative pressure of a lubrication fluid from occurring inside a housing, and at the same time, to maintain a thrust bearing clearance at a thrust bearing part to a proper value. <P>SOLUTION: A bearing sleeve 8, which is formed of a porous body made of a sintered metal, is provided with inner fine pores (structure fine pores of the porous body) and surface openings which are formed by opening the inner fine pores on the surface. The transmission factor k of the bearing sleeve 8 defined by the following formula is set within the range of 1×10<SP>-15</SP>-1×10<SP>-14</SP>m<SP>2</SP>. ν<SB>x</SB>=-(k/μ)(Δp/Δx), here, it is set as follows; v<SB>x</SB>: flow velocity in an X direction of a fluid inside the porous body, k : transmission factor, μ : viscosity of the fluid, and Δp/Δx : pressure gradient in the X direction of the fluid inside the porous body. <P>COPYRIGHT: (C)2004,JPO&NCIPI

Description

Translated fromJapanese

【0001】
【発明の属する技術分野】
本発明は、軸受隙間に生じる潤滑油の動圧作用で軸部材を回転自在に非接触支持する動圧軸受装置に関する。この軸受装置は、情報機器、例えばHDD、FDD等の磁気ディスク駆動装置、CD−ROM、CD−R/RW、DVD−ROM/RAM等の光ディスク駆動装置、MD、MO等の光磁気ディスク駆動装置などのスピンドルモータ、レーザビームプリンタ(LBP)のポリゴンスキャナモータ、あるいは電気機器、例えば軸流ファンなどの小型モータ用として好適である。
【0002】
【従来の技術】
ディスク駆動装置に代表される情報機器用のスピンドルモータには、高回転精度、高減衰性、低騒音性等の理由から、転がり軸受に代えて、これら要求特性に優れた動圧軸受を使用する事例が増えてきている。
【0003】
例えば、HDD等のディスク駆動装置のスピンドルモータに組込まれる動圧軸受装置では、軸部材をラジアル方向に回転自在に非接触支持するラジアル軸受部と、軸部材をスラスト方向に回転自在に非接触支持するスラスト軸受部とが設けられ、ラジアル軸受部として、軸受スリーブの内周面又は軸部材の外周面に動圧発生用の溝(動圧溝)を設けた動圧軸受が用いられる(例えば、特許文献1、非特許文献1参照)。ラジアル軸受部は、ラジアル方向の軸支持機能を高めるため、軸方向に離隔して2箇所に設ける場合が多い。スラスト軸受部としては、例えば、軸部材のフランジ部の両端面、又は、これに対向する面(軸受スリーブの端面や、ハウジングに固定されるスラスト部材の端面等)に動圧溝を設けた動圧軸受が用いられる。また、ハンジング内部の潤滑流体が外部に漏れるのを防止するため、ハウジングの開口部にシール部を設ける場合が多い。
【0004】
軸受スリーブは、ステンレス鋼や銅合金といった中実金属材料で形成するのが一般的であるが、本出願人は、製造コストの低減を図ると共に、潤滑流体の劣化を抑制して耐久性の向上を図る等の理由から、軸受スリーブを焼結金属の多孔質体で形成した構成を提案している(例えば、特許文献1、非特許文献1参照)。
【0005】
【特許文献1】
特開2002―61641号公報
【非特許文献1】
「日経メカニカル」日経BP社出版、2000年10月1日、
第553号、p.49−55
【0006】
【発明が解決しようとする課題】
上記構成の動圧軸受装置では、軸部材の回転時、ラジアル軸受部及びスラスト軸受部周辺の潤滑流体が動圧溝のポンピング作用(引き込み作用)によって各軸受部の軸受隙間中央部に引き込まれて、軸受隙間中央部の流体圧力(流体動圧)が高まる反面、ラジアル軸受部間の領域の隙間部、軸部とフランジ部との境界付近の隙間部、フランジ部の外周面側の隙間部などに保持される潤滑流体は圧力が低下して負圧になる場合がある。このように、ハウジング内部の潤滑流体に局部的な負圧が発生すると、潤滑流体に溶け込んだ空気が気泡となって現れ、軸受機能や耐久性に好ましくない影響を与え、また、潤滑流体の漏れの原因ともなる。
【0007】
上記の現象を防止し又は抑制するため、シール部側のラジアル軸受部の動圧溝を軸方向非対称形状とし、潤滑流体のポンピング力がスラスト部材の側よりもシール部の側が大きくなるように構成して、ハウジング内部の潤滑流体を正圧に保つことも考えられるが、実際には、ラジアル軸受隙間の寸法形状の加工誤差に起因して、負圧の発生が見られ、逆に、負圧の発生は解消されるものの、軸部材のスラスト部材に対する浮上量が過大となる結果、軸受スリーブ側のスラスト軸受部のスラスト軸受隙間が過小となり、十分な油膜厚さを確保できない場合が起こり得る。
【0008】
本発明の課題は、ハウジング内部における潤滑流体の負圧の発生を防止すると同時に、スラスト軸受部のスラスト軸受隙間を適正値に維持することである。
【0009】
【課題を解決するための手段】
上記課題を解決するため、本発明は、ハウジングと、ハウジングに固定された軸受スリーブと、軸部およびフランジ部を有する軸部材と、ハウジングの一端側に設けられたスラスト部と、軸受スリーブの内周面と軸部の外周面との間に設けられ、ラジアル軸受隙間に生じる潤滑油の動圧作用で軸部をラジアル方向に非接触支持するラジアル軸受部と、フランジ部の両端面と軸受スリーブ及びスラスト部との間に設けられ、ヘリングボーン形状の動圧溝を備え、スラスト軸受隙間に生じる潤滑油の動圧作用でフランジ部をスラスト方向に非接触支持するスラスト軸受部と、ハウジングの他端側に設けられたシール部とを備えた動圧軸受装置において、軸受スリーブは焼結金属で形成され、ハウジングの内部空間には、軸受スリーブの内部細孔を含めて、潤滑流体が充満され、下記式
νx=−(k/μ)(Δp/Δx)
νx:多孔質体内部における流体のX方向の流速
k:透過率
μ:流体の粘度
Δp/Δx:多孔質体内部における流体のX方向の圧力勾配
で規定される軸受スリーブの透過率kが1×10-15〜1×10-142である構成を提供する。ここでの透過率kの値は、軸受スリーブの母材(内部)の透過率の値であり、表面の透過率の値は母材(内部)と同じか、それより小さくしても良い。
【0010】
軸受スリーブを形成する焼結金属としては、例えば、銅、鉄、及びアルミニウムの中から選択される1種以上の金属粉末を主原料とし、必要に応じて、すず、亜鉛、鉛、黒鉛、二硫化モリブデン等の粉末又はこれらの合金粉末を混合し、成形し、焼結して得られたものを用いることができる。このような焼結金属で形成された軸受スリーブは、多孔質体組織としての多数の内部細孔と、内部細孔が外表面に開孔して形成される表面開孔とを備えている。この内部細孔に潤滑流体(潤滑油等)を含浸させることにより、装置全体としての保油量を多くすることができると共に、内部細孔から軸受隙間への潤滑流体の滲み出し、軸受隙間から内部細孔への潤滑流体の戻りがあるので、潤滑流体の劣化が生じにくく、軸受寿命が向上する。また、軸受スリーブの内周面に動圧溝を形成する場合、その動圧溝をプレス加工によって簡易に形成することができる(例えば、動圧溝の形状に対応する溝型をもったコアロッドを軸受スリーブの内周面に加圧して、動圧溝の形状を該内周面に転写する。)。
【0011】
ここで、上記の関係式はDarcyの法則と呼ばれているもので、上記の関係式から、多孔質体としての軸受スリーブの透過率kを求めることができる。Darcyの法則に関しては、例えば、「トライボロジーハンドブック」(養賢堂、日本トライボロジー学会編)の106項に記載されている。
【0012】
上記構成において、スラスト部はハウジングの一端側に一体に設け、あるいは、ハウジングの一端側にスラスト部材を固定することによって構成することができる。また、シール部はハウジングの他端側に一体に設け、あるいは、ハウジングの他端側にシール部材を固定することによって構成することができる。
【0013】
スラスト軸受部の動圧溝をスパイラル形状にする場合は、上記式で規定される軸受スリーブの透過率kを5×10-15〜1×10-142とする。
【0014】
また、以上の構成において、ハウジング内部の潤滑流体に負圧が発生するのを効果的に防止するため、ラジアル軸受部を軸方向に離隔して複数箇所に設け、ラジアル軸受部に動圧溝を設け、シール部に最も近い個所に設けられているラジアル軸受部は、動圧溝による潤滑流体のポンピング力がスラスト部の側よりもシール部の側が大きくなるように構成するのが好ましい。より具体的には、上記ラジアル軸受部の動圧溝を軸方向非対称に形成することができる。例えば、該動圧溝をヘリングボーン形状とする場合、シール部側の溝部の軸方向寸法をスラスト部側の溝部の軸方向寸法をよりも大きくし、若しくは、シール部側の溝本数、溝角度、溝深さ等をスラスト部側と異ならせる。あるいは、上記ラジアル軸受部の動圧溝を軸方向対称に形成する一方、該動圧溝のスラスト部側端部領域と対向する相手部材の表面に軸受隙間よりも大きな隙間を形成する逃げ部を設けて、スラスト部側の溝部の軸方向寸法を擬似的にシール部側の溝部の軸方向寸法よりも小さくしても良い。
【0015】
【発明の実施の形態】
以下、本発明の実施形態について説明する。
【0016】
図1は、この実施形態に係る動圧軸受装置1を組み込んだ情報機器用スピンドルモータの一構成例を示している。このスピンドルモータは、HDD等のディスク駆動装置に用いられるもので、軸部材2を回転自在に非接触支持する動圧軸受装置1と、軸部材2に装着されたロータ(ディスクハブ)3と、例えば半径方向のギャップを介して対向させたステータ4およびロータマグネット5とを備えている。ステータ4はブラケット6の外周に取付けられ、ロータマグネット5はディスクハブ3の内周に取付けられる。動圧軸受装置1のハウジング7は、ブラケット6の内周に装着される。ディスクハブ3には、磁気ディスク等のディスクDが一又は複数枚保持される。ステータ4に通電すると、ロータマグネット5がステータ4と協働して回転磁界を発生し、それによって、ディスクハブ3および軸部材2が一体となって回転する。
【0017】
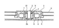
図2は、動圧軸受装置1を示している。この動圧軸受装置1は、ハウジング7と、軸部材2と、軸受スリーブ8およびシール部材10とを構成部品して構成される。
【0018】
軸受スリーブ8の内周面8aと軸部材2の軸部2aの外周面2a1との間に第1ラジアル軸受部R1と第2ラジアル軸受部R2とが軸方向に離隔して設けられる。また、軸受スリーブ8の下側端面8cと軸部材2のフランジ部2bの上側端面2b1との間に第1スラスト軸受部T1が設けられ、ハウジング7の底部7cの内底面7c1とフランジ部2bの下側端面2b2との間に第2スラスト軸受部T2が設けられる。尚、説明の便宜上、ハウジング7の底部7cの側を下側、これと反対の側を上側として説明を進める。
【0019】
ハウジング7は、例えば、黄銅等の軟質金属材料や熱可塑性樹脂等の樹脂材料で上端が開口した有底筒状に形成され、円筒状の側部7bと、側部7bと一体に形成された底部7cとを備えている。底部7cの内底面7c1のスラスト軸受面(第2スラスト軸受部T2のスラスト軸受隙間を構成する面)となる領域には、ヘリングボーン形状又はスパイラル形状の動圧溝が形成されている(図示省略)。
【0020】
軸部材2は、例えば、ステンレス鋼等の金属材料で形成され、軸部2aと、軸部2aの下端に一体又は別体に設けられたフランジ部2bとを備えている。軸部2aの外周面2a1には、僅かに小径となったぬすみ部2a2が設けられている。尚、同図には、ぬすみ部2a2の小径の程度が実際よりもかなり誇張して図示されている。
【0021】
軸受スリーブ8は、例えば、焼結金属からなる多孔質体、特に銅を主成分とする燒結金属の多孔質体で円筒状に形成され、ハウジング7の内周面の所定位置に固定される。燒結金属の多孔質体で形成された軸受スリーブ8は、内部細孔(多孔質体の組織細孔)と、内部細孔が表面に開孔して形成される表面開孔を備えている。
【0022】
軸受スリーブ8の内周面8aには、ラジアル軸受面(第1ラジアル軸受部R1と第2ラジアル軸受部R2のラジアル軸受隙間を構成する面)となる上下2つの領域が軸方向に離隔して設けられている。図3に示すように、第1ラジアル軸受部R1のラジアル軸受面となる領域はヘリングボーン形状の動圧溝を備え、例えば軸方向の一方に傾斜した複数の動圧溝8a1が円周方向に配列された第1領域R1aと、軸方向の他方に傾斜した複数の動圧溝8a2が円周方向に配列された第2領域R1bと、第1領域R1aと第2領域R1bとの間の環状領域R1cとで構成される。第1領域R1aの軸方向長さは第2領域R1bよりも大きく、第1領域R1aの動圧溝8a1と第2領域R1bの動圧溝8a2とは、環状領域R1cの軸方向中心(軸方向溝中心)に対して軸方向非対称形状になっている。また、軸方向長さの長い第1領域R1aが上側端面8bの側に位置し、軸方向長さの短い第2領域R1bが下側端面8cの側に位置している。第2ラジアル軸受部R2のラジアル軸受面となる領域も、同様に、ヘリングボーン形状の動圧溝を備え、軸方向の一方に傾斜した複数の動圧溝8a3が円周方向に配列された第1領域R2aと、軸方向の他方に傾斜した複数の動圧溝8a4が円周方向に配列された第2領域R2bと、第1領域R2aと第2領域R2bと間のR2cとで構成される。但し、第1ラジアル軸受部R1と異なり、第1領域R2aの軸方向長さと第2領域R2bの軸方向長さとは等しく、第1領域R2aの動圧溝8a3と第2領域R2bの動圧溝8a4とは、環状領域R2cの軸方向中心(軸方向溝中心)に対して軸方向対称形状になっている。また、上側端面8bと下側端面8cの内外周角部に、それぞれ、チャンファ8d、8e、8f、8gが形成されている。
【0023】
軸受スリーブ8の下側端面8cのスラスト軸受面(第1スラスト軸受部T1のスラスト軸受隙間を構成する面)となる領域には、ヘリングボーン形状又はスパイラル形状の動圧溝が形成されている(図示省略)。
【0024】
第1スラスト軸受部T1(軸受スリーブ8の下側端面8c)と第2スラスト軸受部T2(ハウジング7の内底面7c1)の動圧溝をそれぞれヘリングボーン形状にする場合、軸受スリーブ8の下記式で規定される透過率kは、
1×10-15〜1×10-142の範囲内に設定する。
νx=−(k/μ)(Δp/Δx)
νx:多孔質体内部における流体のX方向の流速
k:透過率
μ:流体の粘度
Δp/Δx:多孔質体内部における流体のX方向の圧力勾配
【0025】
また、第1スラスト軸受部T1(軸受スリーブ8の下側端面8c)と第2スラスト軸受部T2(ハウジング7の内底面7c1)の動圧溝をそれぞれスパイラル形状にする場合、軸受スリーブ8の上記式で規定される透過率kは、
5×10-15〜1×10-142の範囲内に設定する。
【0026】
図2に示すように、シール部材10は環状のもので、例えば、ハウジング7の側部7bの上端部内周に圧入、接着等の適宜の手段で固定される。シール部材10の内周面10aは軸部2aの外周面2a1との間にシール空間Sを形成し、シール部材10の下側端面は軸受スリーブ8の上側端面8bと当接する。
【0027】
軸部材2の軸部2aは軸受スリーブ8の内周面8aに挿入され、フランジ部2bは軸受スリーブ8の下側端面8cとハウジング7の内底面7c1との間の空間部に収容される。軸受スリーブ8の内周面8aのラジアル軸受面となる領域(上下2箇所の領域)は、それぞれ、軸部2aの外周面2a1とラジアル軸受隙間を介して対向する。また、軸受スリーブ8の下側端面8cのスラスト軸受面となる領域はフランジ部2bの上側面2b1とスラスト軸受隙間を介して対向し、ハウジング7の内底面7c1のスラスト軸受面となる領域はフランジ部2bの下側面2b2とスラスト軸受隙間を介して対向する。軸部2aのぬすみ部2a2と軸受スリーブ8の内周面8a(ラジアル軸受部R1、R2間の領域)との間には、ラジアル軸受隙間よりも大きな隙間部が形成される(X部)。また、軸部2aとフランジ部2bとの境界付近には隙間部(Y部)が形成され、フランジ部2bの外周面とハウジング7の内周面との間にはラジアル軸受隙間よりも大きな隙間部(Z部)が形成される。
【0028】
シール部材10で密封されたハウジング7の内部空間には、軸受スリーブ8の内部細孔を含め、潤滑流体、例えば潤滑油が充満され、その潤滑油の油面はシール空間S内に維持される。
【0029】
軸部材2の回転時、上記ラジアル軸受隙間に潤滑油の動圧が発生し、軸部材2の軸部2aが上記ラジアル軸受隙間内に形成される潤滑油の油膜によってラジアル方向に回転自在に非接触支持される。これにより、軸部材2をラジアル方向に回転自在に非接触支持する第1ラジアル軸受部R1と第2ラジアル軸受部R2とが構成される。同時に、上記スラスト軸受隙間に潤滑油の動圧が発生し、軸部材2のフランジ部2bが上記スラスト軸受隙間内に形成される潤滑油の油膜によって両スラスト方向に回転自在に非接触支持される。これにより、軸部材2をスラスト方向に回転自在に非接触支持する第1スラスト軸受部T1と第2スラスト軸受部T2とが構成される。
【0030】
前述したように、第1ラジアル軸受部R1の動圧溝8a1、8a2は、軸方向非対称に形成されており、軸方向中心より上側の動圧溝8a1の軸方向寸法が下側の動圧溝8a2の軸方向寸法よりも大きくなっている(図3)。そのため、軸部材2の回転時、動圧溝8a1による潤滑油のポンピング力(引き込み力)は動圧溝8a2による潤滑油のポンピング力に比べて相対的に大きくなり、このポンピング力の差圧によって、ハウジング7の内部空間に充満された潤滑油が底部7cの側に向けて加圧される。そして、この潤滑油の加圧作用と、軸受スリーブ8の透過率kを1×10-15〜1×10-142(または5×10-15〜1×10-142)の範囲内に設定していることとが相まって、ハウジング7の内部空間に充満された潤滑油の圧力が、隙間部(X部、Y部、Z部)を含めて正圧に保たれる。同時に、第1スラスト軸受部T1のスラスト軸受隙間および第2スラスト軸受部T2のスラスト軸受隙間も適正値に維持される。
【0031】
【実施例】
[実施例1]
図2に示す構成の動圧軸受装置1において、第1スラスト軸受部T1(軸受スリーブ8の下側端面8c)と第2スラスト軸受部T2(ハウジング7の内底面7c1)の動圧溝をそれぞれヘリングボーン形状とし、軸部材2を回転数7200rpm、スラスト荷重0.5Nで回転させたときの、軸受スリーブ8の透過率kとZ部の潤滑油の圧力との関係、軸受スリーブ8の透過率kと第2スラスト軸受部T2のスラスト軸受隙間との関係を計算によって求めた。その結果を図4〜図7に示す。図4〜図7において、実線の●、▲、点線の●、▲はそれぞれ下記の条件での計算結果である。
【0032】
[実線●]
第1ラジアル軸受部R1及び第2ラジアル軸受部R2のラジアル軸受隙間が、それぞれ、図2における上側から下側に向けてテーパ状に末狭まりになっており、第1ラジアル軸受部R1の環状領域R1cの中央部でのラジアル軸受隙間が、第2ラジアル軸受部R2の環状領域R2cの中央部でのラジアル軸受軸受隙間よりも直径値で1μm大きい。軸受スリーブ8の内周面8a及び下側端面8cの透過率が母材(内部)の透過率kと同じ。
[実線▲]
第1ラジアル軸受部R1及び第2ラジアル軸受部R2のラジアル軸受隙間が、それぞれ、図2における上側から下側に向けてテーパ状に末広がりになっており、第1ラジアル軸受部R1の環状領域R1cの中央部でのラジアル軸受隙間が、第2ラジアル軸受部R2の環状領域R2cの中央部でのラジアル軸受軸受隙間よりも直径値で1μm小さい。軸受スリーブ8の内周面8a及び下側端面8cの透過率が母材(内部)の透過率kと同じ。
[点線●]
第1ラジアル軸受部R1及び第2ラジアル軸受部R2のラジアル軸受隙間が、それぞれ、図2における上側から下側に向けてテーパ状に末狭まりになっており、第1ラジアル軸受部R1の環状領域R1cの中央部でのラジアル軸受隙間が、第2ラジアル軸受部R2の環状領域R2cの中央部でのラジアル軸受軸受隙間よりも直径値で1μm大きい。軸受スリーブ8の内周面8a及び下側端面8cの透過率が母材(内部)の透過率kの1/10。
[点線▲]
第1ラジアル軸受部R1及び第2ラジアル軸受部R2のラジアル軸受隙間が、それぞれ、図2における上側から下側に向けてテーパ状に末広がりになっており、第1ラジアル軸受部R1の環状領域R1cの中央部でのラジアル軸受隙間が、第2ラジアル軸受部R2の環状領域R2cの中央部でのラジアル軸受軸受隙間よりも直径値で1μm小さい。軸受スリーブ8の内周面8a及び下側端面8cの透過率が母材(内部)の透過率kの1/10。
【0033】
上記の条件でラジアル軸受隙間をテーパ状にしたのは、軸部2aや軸受スリーブ8の加工誤差を考慮したものである。また、点線の計算データは、軸受スリーブ8の製造時に、サイジングや軸受面成形加工によって内周面の表面開孔の一部が封孔される場合があることを考慮したものである。
【0034】
図4及び図5に示す計算データは、スラスト荷重を図2における鉛直下方に加えた場合のもの、図6及び図7に示す計算データは、この種の動圧軸受装置が倒立姿勢で使用される場合があることを考慮し、スラスト荷重を図2における鉛直上方に加えた場合のものである。
【0035】
第1スラスト軸受部T1のスラスト軸受隙間と第2スラスト軸受部T2のスラスト軸受隙間の合計量は18μmで、この合計量は一定である。図5及び図7には、スラスト軸受部T2のスラスト軸受隙間の値のみを示している。
【0036】
尚、第1ラジアル軸受部R1における動圧溝8a1と8a2の軸方向寸法の寸法差(R1a−R1b)は150μmであり、全ての計算データに共通である。
【0037】
図4に示す計算データから、第1ラジアル軸受部R1のラジアル軸受隙間が第2ラジアル軸受部R2のラジアル軸受隙間よりも大きい場合(●)、軸受スリーブ8の透過率kが1×10-152よりも小さくなるとZ部が負圧になることが分かる。一方、図5に示す計算データから、第1ラジアル軸受部R1のラジアル軸受隙間が第2ラジアル軸受部R2のラジアル軸受隙間よりも小さい場合(▲)、軸受スリーブ8の透過率kが1×10-152よりも小さくなると第2スラスト軸受部T2のスラスト軸受隙間が過大となり、第1スラスト軸受部T1のスラスト軸受隙間が1μm未満となり、十分な油膜厚さが確保できないことが分かる。また、図4に示す計算データから、軸受スリーブ8の透過率kが1×10-142よりも大きくなるとZ部の圧力が0atmに近付き、場合によっては負圧になることが予測される。
【0038】
図4及び図5に示す計算データより、第1ラジアル軸受部R1のラジアル軸受隙間と第2ラジアル軸受部R2のラジアル軸受隙間の大小関係にかかわらず、Z部に負圧が発生せず、かつ、第1スラスト軸受部T1のスラスト軸受隙間と第2スラスト軸受部T2のスラスト軸受隙間をともに1μm以上確保するためには、軸受スリーブ8の透過率kを1×10-15〜1×10-142とすれば良いことが分かる。また、倒立姿勢での使用を想定した図6及び図7に示す計算データからも同様の結果が得られた。
【0039】
[実施例2]
図8及び図9は、上記実施例1において、第1スラスト軸受部T1(軸受スリーブ8の下側端面8c)と第2スラスト軸受部T2(ハウジング7の内底面7c1)の動圧溝をそれぞれへリングボーン形状からスパイラル形状に変更した場合の計算結果であり、図4及び図5にそれぞれ対応している。また、図10及び図11は、同様の変更条件の下で、倒立姿勢での使用を想定した計算結果であり、図6及び図7にそれぞれ対応している。
【0040】
図8〜図11に示す計算データより、Z部に負圧が発生せず、かつ、第1スラスト軸受部T1のスラスト軸受隙間と第2スラスト軸受部T2のスラスト軸受隙間をともに1μm以上確保するためには、軸受スリーブ8の透過率kを5×10-15〜1×10-142とすれば良いことが分かる。
【発明の効果】
本発明によれば、ハウジング内部における潤滑流体の負圧の発生を防止することができると同時に、スラスト軸受部のスラスト軸受隙間を適正値に維持することができる。
【図面の簡単な説明】
【図1】本発明に係る動圧軸受装置を使用した情報機器用スピンドルモータの断面図である。
【図2】本発明に係る動圧軸受装置の一実施形態を示す断面図である。
【図3】軸受スリーブの断面図である。
【図4】スラスト軸受部の動圧溝をヘリングボーン形状とした場合での、軸受スリーブの透過率kとハウジング内部の隙間部における潤滑油の圧力との関係を示す図である。
【図5】スラスト軸受部の動圧溝をヘリングボーン形状とした場合での、軸受スリーブの透過率kとスラスト軸受部のスラスト軸受隙間との関係を示す図である。
【図6】スラスト軸受部の動圧溝をヘリングボーン形状とした場合での、軸受スリーブの透過率kとハウジング内部の隙間部における潤滑油の圧力との関係を示す図である。
【図7】スラスト軸受部の動圧溝をヘリングボーン形状とした場合での、軸受スリーブの透過率kとスラスト軸受部のスラスト軸受隙間との関係を示す図である。
【図8】スラスト軸受部の動圧溝をスパイラル形状とした場合での、軸受スリーブの透過率kとハウジング内部の隙間部における潤滑油の圧力との関係を示す図である。
【図9】スラスト軸受部の動圧溝をスパイラル形状とした場合での、軸受スリーブの透過率kとスラスト軸受部のスラスト軸受隙間との関係を示す図である。
【図10】スラスト軸受部の動圧溝をスパイラル形状とした場合での、軸受スリーブの透過率kとハウジング内部の隙間部における潤滑油の圧力との関係を示す図である。
【図11】スラスト軸受部の動圧溝をスパイラル形状とした場合での、軸受スリーブの透過率kとスラスト軸受部のスラスト軸受隙間との関係を示す図である。
【符号の説明】
1 動圧軸受装置
2 軸部材
2a 軸部
2b フランジ部
7 ハウジング
7c1 内底面
8 軸受スリーブ
8a 内周面
10 シール部材
R1 ラジアル軸受部
R2 ラジアル軸受部
T1 スラスト軸受部
T2 スラスト軸受部
[0001]
TECHNICAL FIELD OF THE INVENTION
The present invention relates to a dynamic bearing device that rotatably supports a shaft member in a non-contact manner by a dynamic pressure action of lubricating oil generated in a bearing gap. This bearing device is an information device, for example, a magnetic disk drive such as an HDD or FDD, an optical disk drive such as a CD-ROM, a CD-R / RW, or a DVD-ROM / RAM, or a magneto-optical disk drive such as an MD or MO. It is suitable for a spindle motor such as a laser scanner, a polygon scanner motor of a laser beam printer (LBP), or a small motor such as an electric device such as an axial fan.
[0002]
[Prior art]
For a spindle motor for information equipment represented by a disk drive, use a dynamic pressure bearing that excels in these required characteristics in place of a rolling bearing for reasons such as high rotational accuracy, high damping, and low noise. Cases are increasing.
[0003]
For example, in a hydrodynamic bearing device incorporated in a spindle motor of a disk drive device such as an HDD, a radial bearing portion that rotatably supports a shaft member in a radial direction in a non-contact manner, and a non-contact support rotatably supports a shaft member in a thrust direction. A dynamic pressure bearing having a groove (dynamic pressure groove) for generating dynamic pressure on the inner peripheral surface of the bearing sleeve or the outer peripheral surface of the shaft member is used as the radial bearing portion (for example,Patent Document 1, Non-Patent Document 1). The radial bearing portion is often provided at two locations separated in the axial direction in order to enhance the function of supporting the shaft in the radial direction. As the thrust bearing portion, for example, a dynamic pressure groove provided on both end surfaces of a flange portion of a shaft member or a surface opposed thereto (an end surface of a bearing sleeve, an end surface of a thrust member fixed to a housing, or the like). A pressure bearing is used. Further, in order to prevent the lubricating fluid inside the housing from leaking to the outside, a seal portion is often provided at the opening of the housing.
[0004]
The bearing sleeve is generally formed of a solid metal material such as stainless steel or a copper alloy. However, the present applicant has attempted to reduce the manufacturing cost and suppress the deterioration of the lubricating fluid to improve the durability. For this reason, a configuration in which a bearing sleeve is formed of a porous body of a sintered metal has been proposed (for example, seePatent Document 1 and Non-Patent Document 1).
[0005]
[Patent Document 1]
Japanese Patent Application Laid-Open No. 2002-61641 [Non-Patent Document 1]
"Nikkei Mechanical" published by Nikkei BP, October 1, 2000,
No. 553, p. 49-55
[0006]
[Problems to be solved by the invention]
In the hydrodynamic bearing device having the above configuration, when the shaft member rotates, the lubricating fluid around the radial bearing portion and the thrust bearing portion is drawn into the center of the bearing gap of each bearing portion by the pumping action (drawing action) of the dynamic pressure groove. While the fluid pressure (fluid dynamic pressure) at the center of the bearing gap increases, the gap between the radial bearings, the gap near the boundary between the shaft and the flange, the gap on the outer peripheral side of the flange, etc. The lubricating fluid held at the pressure may decrease in pressure and become negative pressure. As described above, when a local negative pressure is generated in the lubricating fluid inside the housing, air dissolved in the lubricating fluid appears as bubbles, which adversely affects the bearing function and durability, and also causes leakage of the lubricating fluid. It may cause.
[0007]
In order to prevent or suppress the above phenomenon, the dynamic pressure groove of the radial bearing portion on the seal portion side is formed in an asymmetric shape in the axial direction, and the pumping force of the lubricating fluid is larger on the seal portion side than on the thrust member side. Although it is conceivable to maintain the lubricating fluid inside the housing at a positive pressure, a negative pressure is actually generated due to a machining error in the dimensions and shape of the radial bearing gap. However, as a result, the floating amount of the shaft member with respect to the thrust member becomes excessive, and as a result, the thrust bearing gap of the thrust bearing portion on the bearing sleeve side becomes too small, so that a sufficient oil film thickness may not be secured.
[0008]
It is an object of the present invention to prevent the generation of a negative pressure of a lubricating fluid inside a housing and to maintain a thrust bearing gap of a thrust bearing at an appropriate value.
[0009]
[Means for Solving the Problems]
In order to solve the above problems, the present invention provides a housing, a bearing sleeve fixed to the housing, a shaft member having a shaft portion and a flange portion, a thrust portion provided on one end side of the housing, and a bearing sleeve. A radial bearing portion provided between the peripheral surface and the outer peripheral surface of the shaft portion for supporting the shaft portion in a radially non-contact manner by a dynamic pressure action of lubricating oil generated in the radial bearing gap, and both end surfaces of the flange portion and the bearing sleeve. A thrust bearing portion provided between the thrust bearing portion and the thrust portion, the thrust bearing portion having a herringbone-shaped dynamic pressure groove, and supporting the flange portion in the thrust direction in a non-contact manner by dynamic pressure action of lubricating oil generated in the thrust bearing gap; In a hydrodynamic bearing device provided with a seal portion provided on an end side, a bearing sleeve is formed of sintered metal, and an internal space of the bearing sleeve is formed in an internal space of the housing. Umate, lubricating fluid is filled, the following equationν x = - (k / μ ) (Δp / Δx)
νx : Flow velocity in the X direction of the fluid inside the porous body k: Permeability μ: Viscosity of the fluid Δp / Δx: Permeability k of the bearing sleeve defined by the pressure gradient in the X direction of the fluid inside the porous body is An arrangement is provided that is between 1 × 10−15 and 1 × 10−14 m2 . The value of the transmittance k here is the value of the transmittance of the base material (inside) of the bearing sleeve, and the value of the transmittance on the surface may be the same as or smaller than that of the base material (inside).
[0010]
As the sintered metal forming the bearing sleeve, for example, one or more metal powders selected from copper, iron, and aluminum are used as a main material, and tin, zinc, lead, graphite, Powders obtained by mixing powders of molybdenum sulfide or the like or alloy powders thereof, molding and sintering can be used. A bearing sleeve made of such a sintered metal has a large number of internal pores as a porous body structure, and surface apertures formed by opening the internal pores on the outer surface. By impregnating the internal pores with a lubricating fluid (lubricating oil, etc.), it is possible to increase the amount of oil retained in the entire device, to seep out the lubricating fluid from the internal pores into the bearing gap, Since the lubricating fluid returns to the internal pores, deterioration of the lubricating fluid hardly occurs, and the life of the bearing is improved. When a dynamic pressure groove is formed on the inner peripheral surface of the bearing sleeve, the dynamic pressure groove can be easily formed by press working (for example, a core rod having a groove shape corresponding to the shape of the dynamic pressure groove is used). Pressure is applied to the inner peripheral surface of the bearing sleeve to transfer the shape of the dynamic pressure groove to the inner peripheral surface.)
[0011]
Here, the above relational expression is called Darcy's law, and the transmittance k of the bearing sleeve as a porous body can be obtained from the above relational expression. The Darcy's law is described, for example, in Item 106 of “Tribology Handbook” (Yokendo, edited by Japan Society of Tribology).
[0012]
In the above configuration, the thrust portion may be integrally provided at one end of the housing, or may be configured by fixing a thrust member to one end of the housing. Further, the seal portion may be provided integrally with the other end of the housing, or may be configured by fixing a seal member to the other end of the housing.
[0013]
When the dynamic pressure groove of the thrust bearing portion is formed in a spiral shape, the transmittance k of the bearing sleeve defined by the above equation is set to 5 × 10−15 to 1 × 10−14 m2 .
[0014]
Further, in the above configuration, in order to effectively prevent a negative pressure from being generated in the lubricating fluid inside the housing, radial bearings are provided at a plurality of locations separated in the axial direction, and dynamic pressure grooves are formed in the radial bearings. It is preferable that the radial bearing portion provided at the location closest to the seal portion is configured such that the pumping force of the lubricating fluid by the dynamic pressure groove is greater on the seal portion side than on the thrust portion side. More specifically, the dynamic pressure grooves of the radial bearing portion can be formed asymmetrically in the axial direction. For example, when the dynamic pressure groove is a herringbone shape, the axial dimension of the groove portion on the seal portion side is made larger than the axial dimension of the groove portion on the thrust portion side, or the number of grooves on the seal portion side, the groove angle. , Groove depth, etc. are different from the thrust part side. Alternatively, while the dynamic pressure groove of the radial bearing portion is formed symmetrically in the axial direction, a relief portion that forms a clearance larger than the bearing clearance on the surface of a mating member facing the thrust portion side end region of the dynamic pressure groove is provided. By providing the groove, the axial dimension of the groove on the thrust portion side may be artificially made smaller than the axial dimension of the groove portion on the seal portion side.
[0015]
BEST MODE FOR CARRYING OUT THE INVENTION
Hereinafter, embodiments of the present invention will be described.
[0016]
FIG. 1 shows an example of a configuration of a spindle motor for information equipment incorporating ahydrodynamic bearing device 1 according to this embodiment. The spindle motor is used in a disk drive device such as an HDD, and includes ahydrodynamic bearing device 1 that rotatably supports ashaft member 2 in a non-contact manner, a rotor (disk hub) 3 mounted on theshaft member 2, For example, astator 4 and arotor magnet 5 are provided facing each other via a radial gap. Thestator 4 is attached to the outer periphery of thebracket 6, and therotor magnet 5 is attached to the inner periphery of the disk hub 3. Thehousing 7 of thehydrodynamic bearing device 1 is mounted on the inner periphery of thebracket 6. The disk hub 3 holds one or more disks D such as magnetic disks. When thestator 4 is energized, therotor magnet 5 generates a rotating magnetic field in cooperation with thestator 4, whereby the disk hub 3 and theshaft member 2 rotate integrally.
[0017]
FIG. 2 shows the dynamicpressure bearing device 1. The dynamicpressure bearing device 1 is configured by constituting components of ahousing 7, ashaft member 2, abearing sleeve 8, and aseal member 10.
[0018]
A first radial bearing portion R1 and a second radial bearing portion R2 are provided between the innerperipheral surface 8a of thebearing sleeve 8 and the outer peripheral surface 2a1 of theshaft portion 2a of theshaft member 2 so as to be separated in the axial direction. Further, a first thrust bearing portion T1 is provided between alower end surface 8c of thebearing sleeve 8 and an upper end surface 2b1 of theflange portion 2b of theshaft member 2, and an inner bottom surface 7c1 of abottom portion 7c of thehousing 7 and aflange portion 2b. The second thrust bearing portion T2 is provided between the lower end surface 2b2 and the lower end surface 2b2. For the sake of convenience, the description will proceed with the bottom 7c side of thehousing 7 being the lower side and the opposite side being the upper side.
[0019]
Thehousing 7 is, for example, formed of a soft metal material such as brass or a resin material such as a thermoplastic resin into a bottomed cylindrical shape having an open upper end, and is formed integrally with thecylindrical side portion 7b and theside portion 7b. And a bottom 7c. A herringbone-shaped or spiral-shaped dynamic pressure groove is formed in a region serving as a thrust bearing surface of the inner bottom surface 7c1 of thebottom portion 7c (a surface forming a thrust bearing gap of the second thrust bearing portion T2) (not shown). ).
[0020]
Theshaft member 2 is formed of, for example, a metal material such as stainless steel, and includes ashaft portion 2a and aflange portion 2b provided integrally or separately at a lower end of theshaft portion 2a. An outer peripheral surface 2a1 of theshaft portion 2a is provided with a slightly smaller diameter sunk portion 2a2. In the same figure, the extent of the small diameter of the squeezed portion 2a2 is shown in a state exaggerated considerably from the actual size.
[0021]
Thebearing sleeve 8 is formed of, for example, a porous body made of a sintered metal, particularly a porous body of a sintered metal containing copper as a main component, and is fixed at a predetermined position on the inner peripheral surface of thehousing 7. Thebearing sleeve 8 made of a sintered metal porous body has internal pores (texture pores of the porous body) and surface apertures formed by opening the internal pores on the surface.
[0022]
On the innerperipheral surface 8a of thebearing sleeve 8, two upper and lower regions serving as radial bearing surfaces (surfaces forming a radial bearing gap between the first radial bearing portion R1 and the second radial bearing portion R2) are separated in the axial direction. Is provided. As shown in FIG. 3, the region serving as the radial bearing surface of the first radial bearing portion R1 is provided with a herringbone-shaped dynamic pressure groove. For example, a plurality of dynamic pressure grooves 8a1 inclined in one axial direction are provided in the circumferential direction. A first region R1a arranged, a second region R1b in which a plurality of dynamic pressure grooves 8a2 inclined in the other axial direction are arranged in a circumferential direction, and an annular region between the first region R1a and the second region R1b. And a region R1c. The axial length of the first region R1a is greater than the second region R1b, and the dynamic pressure groove 8a1 of the first region R1a and the dynamic pressure groove 8a2 of the second region R1b are axially centered (axial direction) of the annular region R1c. (The center of the groove). Further, the first region R1a having a long axial length is located on theupper end surface 8b side, and the second region R1b having a short axial length is located on thelower end surface 8c side. Similarly, the region serving as the radial bearing surface of the second radial bearing portion R2 also includes a herringbone-shaped dynamic pressure groove, and a plurality of dynamic pressure grooves 8a3 inclined in one axial direction are arranged in the circumferential direction. One region R2a, a second region R2b in which a plurality of dynamic pressure grooves 8a4 inclined in the other axial direction are arranged in the circumferential direction, and R2c between the first region R2a and the second region R2b. . However, unlike the first radial bearing portion R1, the axial length of the first region R2a and the axial length of the second region R2b are equal, and the dynamic pressure grooves 8a3 of the first region R2a and the dynamic pressure grooves of the second region R2b are provided. 8a4 has an axially symmetric shape with respect to the axial center (axial groove center) of the annular region R2c. Further,chamfers 8d, 8e, 8f and 8g are formed at the inner and outer corners of theupper end face 8b and thelower end face 8c, respectively.
[0023]
A herringbone-shaped or spiral-shaped dynamic pressure groove is formed in a region of thelower end surface 8c of thebearing sleeve 8 serving as a thrust bearing surface (a surface forming a thrust bearing gap of the first thrust bearing portion T1) ( Not shown).
[0024]
When each of the dynamic pressure grooves of the first thrust bearing portion T1 (thelower end face 8c of the bearing sleeve 8) and the second thrust bearing portion T2 (the inner bottom surface 7c1 of the housing 7) has a herringbone shape, the following formula of thebearing sleeve 8 is used. The transmittance k defined by
Set within the range of 1 × 10-15 to 1 × 10-14 m2 .
νx = − (k / μ) (Δp / Δx)
νx : flow velocity in the X direction of the fluid inside the porous body k: permeability μ: viscosity of the fluid Δp / Δx: pressure gradient in the X direction of the fluid inside the porous body
When the dynamic pressure grooves of the first thrust bearing portion T1 (thelower end surface 8c of the bearing sleeve 8) and the second thrust bearing portion T2 (the inner bottom surface 7c1 of the housing 7) are formed in spiral shapes, respectively, The transmittance k defined by the equation is
Set within the range of 5 × 10-15 to 1 × 10-14 m2 .
[0026]
As shown in FIG. 2, theseal member 10 is annular, and is fixed to the inner periphery of the upper end of theside portion 7 b of thehousing 7 by appropriate means such as press-fitting or bonding. The innerperipheral surface 10a of theseal member 10 forms a seal space S with the outer peripheral surface 2a1 of theshaft portion 2a, and the lower end surface of theseal member 10 contacts theupper end surface 8b of thebearing sleeve 8.
[0027]
Theshaft portion 2a of theshaft member 2 is inserted into the innerperipheral surface 8a of thebearing sleeve 8, and theflange portion 2b is accommodated in a space between thelower end surface 8c of thebearing sleeve 8 and the inner bottom surface 7c1 of thehousing 7. The regions (two upper and lower regions) of the innerperipheral surface 8a of the innerperipheral surface 8a of thebearing sleeve 8 oppose the outer peripheral surface 2a1 of theshaft portion 2a via the radial bearing gap. The region of thelower end surface 8c of thebearing sleeve 8 serving as the thrust bearing surface faces the upper surface 2b1 of theflange portion 2b via the thrust bearing gap, and the region of the inner bottom surface 7c1 of thehousing 7 serving as the thrust bearing surface is a flange. The lower surface 2b2 of theportion 2b is opposed to the lower surface 2b2 via a thrust bearing gap. A gap portion larger than the radial bearing gap is formed between the slack portion 2a2 of theshaft portion 2a and the innerperipheral surface 8a of the bearing sleeve 8 (the region between the radial bearing portions R1 and R2) (X portion). A gap (Y portion) is formed near the boundary between theshaft portion 2a and theflange portion 2b, and a gap larger than the radial bearing gap is formed between the outer peripheral surface of theflange portion 2b and the inner peripheral surface of thehousing 7. A portion (Z portion) is formed.
[0028]
The internal space of thehousing 7 sealed with theseal member 10 is filled with a lubricating fluid, for example, lubricating oil, including the internal pores of thebearing sleeve 8, and the oil level of the lubricating oil is maintained in the seal space S. .
[0029]
When theshaft member 2 rotates, a dynamic pressure of the lubricating oil is generated in the radial bearing gap, and theshaft portion 2a of theshaft member 2 is rotatably non-rotatable in the radial direction by an oil film of the lubricating oil formed in the radial bearing gap. Contact supported. Thus, a first radial bearing portion R1 and a second radial bearing portion R2 that rotatably support theshaft member 2 in the radial direction in a non-contact manner are configured. At the same time, a dynamic pressure of lubricating oil is generated in the thrust bearing gap, and theflange portion 2b of theshaft member 2 is rotatably and non-contactly supported in both thrust directions by a lubricating oil film formed in the thrust bearing gap. . Thus, a first thrust bearing portion T1 and a second thrust bearing portion T2 that rotatably support theshaft member 2 in the thrust direction in a non-contact manner are configured.
[0030]
As described above, the dynamic pressure grooves 8a1 and 8a2 of the first radial bearing portion R1 are formed asymmetrically in the axial direction, and the dynamic pressure groove 8a1 whose axial dimension is lower than the axial center is smaller than the dynamic pressure groove 8a1. 8a2 is larger than the axial dimension (FIG. 3). Therefore, when theshaft member 2 rotates, the pumping force (pulling force) of the lubricating oil by the dynamic pressure groove 8a1 becomes relatively larger than the pumping force of the lubricating oil by the dynamic pressure groove 8a2. The lubricating oil filled in the internal space of thehousing 7 is pressurized toward the bottom 7c. The pressurizing action of the lubricating oil and the transmittance k of thebearing sleeve 8 are in the range of 1 × 10−15 to 1 × 10−14 m2 (or 5 × 10−15 to 1 × 10−14 m2 ). The pressure of the lubricating oil filled in the internal space of thehousing 7 is maintained at a positive pressure including the gaps (X, Y, Z). At the same time, the thrust bearing gap of the first thrust bearing portion T1 and the thrust bearing gap of the second thrust bearing portion T2 are also maintained at appropriate values.
[0031]
【Example】
[Example 1]
In thehydrodynamic bearing device 1 having the configuration shown in FIG. 2, the hydrodynamic grooves of the first thrust bearing portion T1 (thelower end surface 8c of the bearing sleeve 8) and the second thrust bearing portion T2 (the inner bottom surface 7c1 of the housing 7) are respectively formed. The relationship between the transmittance k of thebearing sleeve 8 and the pressure of the lubricating oil in the Z portion when theshaft member 2 is rotated at 7200 rpm and a thrust load of 0.5 N in a herringbone shape, and the transmittance of thebearing sleeve 8. The relationship between k and the thrust bearing gap of the second thrust bearing portion T2 was determined by calculation. The results are shown in FIGS. 4 to 7, solid circles and ▲, dotted lines and 、 and ▲ indicate calculation results under the following conditions, respectively.
[0032]
[Solid line ●]
The radial bearing gaps of the first radial bearing portion R1 and the second radial bearing portion R2 are each tapered from the upper side to the lower side in FIG. The radial bearing gap at the center of R1c is 1 μm larger in diameter than the radial bearing gap at the center of the annular region R2c of the second radial bearing R2. The transmittance of the innerperipheral surface 8a and thelower end surface 8c of thebearing sleeve 8 is the same as the transmittance k of the base material (inside).
[Solid line ▲]
The radial bearing gaps of the first radial bearing portion R1 and the second radial bearing portion R2 are each tapered from the upper side to the lower side in FIG. 2, and the annular region R1c of the first radial bearing portion R1 is formed. Is smaller by 1 μm in diameter than the radial bearing gap at the center of the annular region R2c of the second radial bearing portion R2. The transmittance of the innerperipheral surface 8a and thelower end surface 8c of thebearing sleeve 8 is the same as the transmittance k of the base material (inside).
[Dotted line ●]
The radial bearing gaps of the first radial bearing portion R1 and the second radial bearing portion R2 are each tapered from the upper side to the lower side in FIG. The radial bearing gap at the center of R1c is 1 μm larger in diameter than the radial bearing gap at the center of the annular region R2c of the second radial bearing R2. The transmittance of the innerperipheral surface 8a and thelower end surface 8c of thebearing sleeve 8 is 1/10 of the transmittance k of the base material (inside).
[Dotted line ▲]
The radial bearing gaps of the first radial bearing portion R1 and the second radial bearing portion R2 are each tapered from the upper side to the lower side in FIG. 2, and the annular region R1c of the first radial bearing portion R1 is formed. Is smaller by 1 μm in diameter than the radial bearing gap at the center of the annular region R2c of the second radial bearing portion R2. The transmittance of the innerperipheral surface 8a and thelower end surface 8c of thebearing sleeve 8 is 1/10 of the transmittance k of the base material (inside).
[0033]
The reason why the radial bearing gap is tapered under the above conditions is to take into account machining errors of theshaft portion 2a and thebearing sleeve 8. The calculation data indicated by the dotted line takes into consideration that a part of the surface opening on the inner peripheral surface may be sealed by sizing or bearing surface forming processing when thebearing sleeve 8 is manufactured.
[0034]
The calculation data shown in FIGS. 4 and 5 are obtained when a thrust load is applied vertically downward in FIG. 2, and the calculation data shown in FIGS. 6 and 7 show that this type of hydrodynamic bearing device is used in an inverted posture. Considering that the thrust load may be applied, the thrust load is applied vertically upward in FIG.
[0035]
The total amount of the thrust bearing gap of the first thrust bearing portion T1 and the thrust bearing gap of the second thrust bearing portion T2 is 18 μm, and this total amount is constant. 5 and 7 show only the value of the thrust bearing gap of the thrust bearing portion T2.
[0036]
In addition, the dimension difference (R1a-R1b) of the axial dimension of the dynamic pressure grooves 8a1 and 8a2 in the first radial bearing portion R1 is 150 μm, which is common to all calculation data.
[0037]
From the calculation data shown in FIG. 4, when the radial bearing gap of the first radial bearing portion R1 is larger than the radial bearing gap of the second radial bearing portion R2 (●), the transmittance k of thebearing sleeve 8 is 1 × 10−15. It can be seen that when the value is smaller than m2 , the Z portion becomes a negative pressure. On the other hand, from the calculation data shown in FIG. 5, when the radial bearing gap of the first radial bearing portion R1 is smaller than the radial bearing gap of the second radial bearing portion R2 (▲), the transmittance k of thebearing sleeve 8 is 1 × 10If it is smaller than−15 m2, the thrust bearing gap of the second thrust bearing portion T2 becomes excessively large, and the thrust bearing gap of the first thrust bearing portion T1 becomes less than 1 μm, so that a sufficient oil film thickness cannot be secured. Further, from the calculation data shown in FIG. 4, it is predicted that when the transmittance k of thebearing sleeve 8 becomes larger than 1 × 10−14 m2 , the pressure in the Z portion approaches 0 atm, and in some cases, the pressure becomes negative. .
[0038]
From the calculation data shown in FIGS. 4 and 5, regardless of the magnitude relationship between the radial bearing gap of the first radial bearing portion R1 and the radial bearing gap of the second radial bearing portion R2, no negative pressure is generated in the Z portion, and In order to ensure that both the thrust bearing gap of the first thrust bearing portion T1 and the thrust bearing gap of the second thrust bearing portion T2 are 1 μm or more, the transmittance k of thebearing sleeve 8 must be 1 × 10−15 to 1 × 10−. It can be seen that14 m2 should be used. Similar results were obtained from the calculation data shown in FIGS. 6 and 7 assuming use in an inverted posture.
[0039]
[Example 2]
8 and 9 show the dynamic pressure grooves of the first thrust bearing portion T1 (lower end surface 8c of the bearing sleeve 8) and the second thrust bearing portion T2 (the inner bottom surface 7c1 of the housing 7) in the first embodiment. It is a calculation result when changing from a herringbone shape to a spiral shape, and corresponds to FIGS. 4 and 5, respectively. FIGS. 10 and 11 show calculation results assuming use in an inverted posture under similar changing conditions, and correspond to FIGS. 6 and 7, respectively.
[0040]
From the calculation data shown in FIGS. 8 to 11, no negative pressure is generated in the Z portion, and the thrust bearing gap of the first thrust bearing portion T1 and the thrust bearing gap of the second thrust bearing portion T2 are both 1 μm or more. For this purpose, it can be seen that the transmittance k of thebearing sleeve 8 may be set to 5 × 10−15 to 1 × 10−14 m2 .
【The invention's effect】
According to the present invention, it is possible to prevent the generation of a negative pressure of the lubricating fluid inside the housing, and at the same time, it is possible to maintain the thrust bearing gap of the thrust bearing at an appropriate value.
[Brief description of the drawings]
FIG. 1 is a sectional view of a spindle motor for information equipment using a hydrodynamic bearing device according to the present invention.
FIG. 2 is a cross-sectional view showing one embodiment of a hydrodynamic bearing device according to the present invention.
FIG. 3 is a sectional view of a bearing sleeve.
FIG. 4 is a diagram showing the relationship between the transmittance k of the bearing sleeve and the pressure of lubricating oil in a clearance inside the housing when the dynamic pressure groove of the thrust bearing is formed in a herringbone shape.
FIG. 5 is a view showing the relationship between the transmittance k of the bearing sleeve and the thrust bearing gap of the thrust bearing portion when the dynamic pressure groove of the thrust bearing portion has a herringbone shape.
FIG. 6 is a diagram showing the relationship between the transmittance k of the bearing sleeve and the pressure of the lubricating oil in the gap inside the housing when the dynamic pressure groove of the thrust bearing is formed in a herringbone shape.
FIG. 7 is a diagram showing the relationship between the transmittance k of the bearing sleeve and the thrust bearing gap of the thrust bearing portion when the dynamic pressure groove of the thrust bearing portion has a herringbone shape.
FIG. 8 is a diagram showing the relationship between the transmittance k of the bearing sleeve and the pressure of the lubricating oil in the clearance inside the housing when the dynamic pressure groove of the thrust bearing is formed in a spiral shape.
FIG. 9 is a diagram showing the relationship between the transmittance k of the bearing sleeve and the gap of the thrust bearing of the thrust bearing when the dynamic pressure groove of the thrust bearing has a spiral shape.
FIG. 10 is a diagram showing the relationship between the transmittance k of the bearing sleeve and the pressure of the lubricating oil in the clearance inside the housing when the dynamic pressure groove of the thrust bearing has a spiral shape.
FIG. 11 is a diagram showing the relationship between the transmittance k of the bearing sleeve and the thrust bearing gap of the thrust bearing when the dynamic pressure groove of the thrust bearing has a spiral shape.
[Explanation of symbols]
DESCRIPTION OFSYMBOLS 1 Dynamicpressure bearing device 2Shaft member2a Shaft portion2b Flange portion 7 Housing 7c1Inner bottom surface 8Bearing sleeve 8a Innerperipheral surface 10 Seal member R1 Radial bearing portion R2 Radial bearing portion T1 Thrust bearing portion T2 Thrust bearing portion

Claims (3)

Translated fromJapanese
ハウジングと、該ハウジングに固定された軸受スリーブと、軸部およびフランジ部を有する軸部材と、前記ハウジングの一端側に設けられたスラスト部と、前記軸受スリーブの内周面と前記軸部の外周面との間に設けられ、ラジアル軸受隙間に生じる潤滑油の動圧作用で前記軸部をラジアル方向に非接触支持するラジアル軸受部と、前記フランジ部の両端面と前記軸受スリーブ及び前記スラスト部との間に設けられ、ヘリングボーン形状の動圧溝を備え、スラスト軸受隙間に生じる潤滑油の動圧作用で前記フランジ部をスラスト方向に非接触支持するスラスト軸受部と、前記ハウジングの他端側に設けられたシール部とを備えた動圧軸受装置において、
前記軸受スリーブは焼結金属で形成され、
前記ハウジングの内部空間には、前記軸受スリーブの内部細孔を含めて、潤滑流体が充満され、
下記式
νx=−(k/μ)(Δp/Δx)
νx:多孔質体内部における流体のX方向の流速
k:透過率
μ:流体の粘度
Δp/Δx:多孔質体内部における流体のX方向の圧力勾配
で規定される前記軸受スリーブの透過率kが1×10-15〜1×10-142であることを特徴とする動圧軸受装置。
A housing, a bearing sleeve fixed to the housing, a shaft member having a shaft portion and a flange portion, a thrust portion provided on one end side of the housing, an inner peripheral surface of the bearing sleeve, and an outer periphery of the shaft portion A radial bearing portion that is provided between the bearing portion and the radial bearing portion and that supports the shaft portion in a non-contact manner in the radial direction by a dynamic pressure action of lubricating oil generated in a radial bearing gap; both end surfaces of the flange portion, the bearing sleeve and the thrust portion; A thrust bearing portion provided between the first and second bearings, the herringbone-shaped dynamic pressure groove, the thrust bearing portion non-contactly supporting the flange portion in the thrust direction by the dynamic pressure action of lubricating oil generated in the thrust bearing gap, and the other end of the housing. And a seal portion provided on the side,
The bearing sleeve is formed of a sintered metal,
The internal space of the housing is filled with a lubricating fluid, including the internal pores of the bearing sleeve,
The following equation νx = − (k / μ) (Δp / Δx)
νx : Flow velocity in the X direction of the fluid inside the porous body k: Permeability μ: Viscosity Δp / Δx: Permeability k of the bearing sleeve defined by the pressure gradient in the X direction of the fluid inside the porous body Is 1 × 10−15 to 1 × 10−14 m2 .
ハウジングと、該ハウジングに固定された軸受スリーブと、軸部およびフランジ部を有する軸部材と、前記ハウジングの一端側に設けられたスラスト部と、前記軸受スリーブの内周面と前記軸部の外周面との間に設けられ、ラジアル軸受隙間に生じる潤滑油の動圧作用で前記軸部をラジアル方向に非接触支持するラジアル軸受部と、前記フランジ部の両端面と前記軸受スリーブ及び前記スラスト部との間に設けられ、スパイラル形状の動圧溝を備え、スラスト軸受隙間に生じる潤滑油の動圧作用で前記フランジ部をスラスト方向に非接触支持するスラスト軸受部と、前記ハウジングの他端側に設けられたシール部とを備えた動圧軸受装置において、
前記軸受スリーブは焼結金属で形成され、
前記ハウジングの内部空間には、前記軸受スリーブの内部細孔を含めて、潤滑流体が充満され、
下記式
νx=−(k/μ)(Δp/Δx)
νx:多孔質体内部における流体のX方向の流速
k:透過率
μ:流体の粘度
Δp/Δx:多孔質体内部における流体のX方向の圧力勾配
で規定される前記軸受スリーブの透過率kが5×10-15〜1×10-142であることを特徴とする動圧軸受装置。
A housing, a bearing sleeve fixed to the housing, a shaft member having a shaft portion and a flange portion, a thrust portion provided on one end side of the housing, an inner peripheral surface of the bearing sleeve, and an outer periphery of the shaft portion A radial bearing portion that is provided between the bearing portion and the radial bearing portion and that supports the shaft portion in a non-contact manner in the radial direction by a dynamic pressure action of lubricating oil generated in a radial bearing gap; both end surfaces of the flange portion, the bearing sleeve and the thrust portion; A thrust bearing portion provided between the thrust bearing portion, the thrust bearing portion being provided in a thrust direction in a non-contact manner by a dynamic pressure action of lubricating oil generated in a thrust bearing gap, and the other end of the housing. A hydrodynamic bearing device comprising a seal portion provided in
The bearing sleeve is formed of a sintered metal,
The internal space of the housing is filled with a lubricating fluid, including the internal pores of the bearing sleeve,
The following equation νx = − (k / μ) (Δp / Δx)
νx : Flow velocity in the X direction of the fluid inside the porous body k: Permeability μ: Viscosity Δp / Δx: Permeability k of the bearing sleeve defined by the pressure gradient in the X direction of the fluid inside the porous body Is 5 × 10−15 to 1 × 10−14 m2 .
前記ラジアル軸受部は軸方向に離隔して複数箇所に設けられており、前記ラジアル軸受部は動圧溝を有し、前記シール部に最も近い個所に設けられているラジアル軸受部は、前記動圧溝による潤滑流体のポンピング力が前記スラスト部の側よりも前記シール部の側が大きくなるように構成されていることを特徴とする請求項1又は2に記載の流体軸受装置。The radial bearing portion is provided at a plurality of locations spaced apart in the axial direction, the radial bearing portion has a dynamic pressure groove, and the radial bearing portion provided at a location closest to the seal portion has the dynamic bearing portion. 3. The hydrodynamic bearing device according to claim 1, wherein a pumping force of the lubricating fluid by the pressure groove is configured to be larger on the seal portion side than on the thrust portion side. 4.
JP2002369630A2002-12-202002-12-20Dynamic-pressure bearing deviceWithdrawnJP2004197889A (en)

Priority Applications (1)

Application NumberPriority DateFiling DateTitle
JP2002369630AJP2004197889A (en)2002-12-202002-12-20Dynamic-pressure bearing device

Applications Claiming Priority (1)

Application NumberPriority DateFiling DateTitle
JP2002369630AJP2004197889A (en)2002-12-202002-12-20Dynamic-pressure bearing device

Publications (1)

Publication NumberPublication Date
JP2004197889Atrue JP2004197889A (en)2004-07-15

Family

ID=32765799

Family Applications (1)

Application NumberTitlePriority DateFiling Date
JP2002369630AWithdrawnJP2004197889A (en)2002-12-202002-12-20Dynamic-pressure bearing device

Country Status (1)

CountryLink
JP (1)JP2004197889A (en)

Cited By (4)

* Cited by examiner, † Cited by third party
Publication numberPriority datePublication dateAssigneeTitle
JP2006234161A (en)*2005-01-282006-09-07Victor Co Of Japan LtdSintered alloy dynamic bearing and motor having the same
JP2007087729A (en)*2005-09-212007-04-05Aisan Ind Co LtdControl valve for fluid
JP2009097640A (en)*2007-10-172009-05-07Mitsuba CorpSintered oil-retaining bearing and rotating electric machine
WO2019159787A1 (en)*2018-02-192019-08-22Ntn株式会社Fluid dynamic pressure bearing device and motor provided with same

Cited By (4)

* Cited by examiner, † Cited by third party
Publication numberPriority datePublication dateAssigneeTitle
JP2006234161A (en)*2005-01-282006-09-07Victor Co Of Japan LtdSintered alloy dynamic bearing and motor having the same
JP2007087729A (en)*2005-09-212007-04-05Aisan Ind Co LtdControl valve for fluid
JP2009097640A (en)*2007-10-172009-05-07Mitsuba CorpSintered oil-retaining bearing and rotating electric machine
WO2019159787A1 (en)*2018-02-192019-08-22Ntn株式会社Fluid dynamic pressure bearing device and motor provided with same

Similar Documents

PublicationPublication DateTitle
JP3942482B2 (en) DYNAMIC PRESSURE BEARING DEVICE AND MOTOR HAVING THE SAME
CN101868636B (en) Hydrodynamic bearing device
US8128289B2 (en)Fluid dynamic bearing device
CN104411988B (en) Fluid dynamic pressure bearing device and electric motor including the fluid dynamic pressure bearing device
JP2006194400A (en) Spindle motor and rotating device
JP3686630B2 (en) Hydrodynamic bearing device
JP2004176816A (en)Dynamic pressure bearing device
JP2004197889A (en)Dynamic-pressure bearing device
JP4080229B2 (en) Hydrodynamic bearing, spindle motor, and recording disk drive
JP2008275130A (en)Fluid bearing device
JP4152707B2 (en) Hydrodynamic bearing device
JP2007024089A (en)Dynamic pressure bearing device and motor
JP2009228873A (en)Fluid bearing device
JP2003065324A (en)Hydrodyanamic type bearing apparatus
JP3828464B2 (en) Spindle motor and disk drive device having the same
JP5687104B2 (en) Axial fan motor
JP2011007336A (en)Dynamic pressure bearing device and motor
JP4579013B2 (en) Hydrodynamic bearing device
JP4949216B2 (en) Hydrodynamic bearing device
JP2004183867A (en) Hydrodynamic bearing device and motor having the same
JP2007040527A (en)Fluid bearing device
JP2007255457A (en) Hydrodynamic bearing device
JP6502036B2 (en) Fluid dynamic bearing device and motor including the same
JP2006194383A (en)Dynamic pressure bearing device
JP2006329391A (en)Dynamic pressure bearing arrangement

Legal Events

DateCodeTitleDescription
A300Withdrawal of application because of no request for examination

Free format text:JAPANESE INTERMEDIATE CODE: A300

Effective date:20060307


[8]ページ先頭

©2009-2025 Movatter.jp