

【0001】
【発明の属する技術分野】
本発明は、用いる導電性フィラーに特徴を有している導電性樹脂成形部品に関する。
【0002】
【従来の技術】
電磁波シールドや、半導体関連の分野で導電性が求められる樹脂成型物品は、樹脂バインダー中に導電性フィラーを分散した導電性樹脂組成物を成型して製造されている。
【0003】
この導電性フィラーとしては、金属系フィラー、マイカやガラスビーズの表面を金属で被覆した金属被覆フィラーなどがある。
【0004】
例えば、金属系フィラーを用いた例としては、特開平10−021742号公報には、導電性ペーストに銅合金粉末を導電性フィラーとして用いることが開示されている。
【0005】
この金属系フィラーは、高い導電性を容易に付与することができる。その一方、比重が大きく、樹脂のなかでフィラーが沈んでしまう、という欠点があった。
【0006】
また、マイカやガラスビーズを用いた金属被覆フィラーを用いた例としては、特公昭63−54316号公報には、ニッケルを被覆した雲母粉末を導電性塗料に用いることが開示されている。さらに、特開昭63−317541号公報には、ガラスビーズを、Ni,CuおよびAgの少なくとも1種の金属で被覆したものを含む導電性樹脂組成物が開示されている。
【0007】
金属被覆フィラーは、被覆する金属の特性にもよるが、金属系フィラーと比較しても、導電性フィラーとしての性能には遜色がない。また、金属系フィラーと比較して比重が小さいため、樹脂や塗料のなかでも沈みにくく、分散性にも優れている。
【0008】
なお、上述の特開平10−021742号公報では、導電性ペーストにおける導電性フィラーの形状を「球状、鱗片状、あるいは、それらの混合物」とすることが開示されている。
また特開平5−151821号公報では、硬化性導電組成物において、樹枝状銅粉と、フレーク状銅粉及び/又は繊維状銅粉を配合することが開示されている。
【0009】
【特許文献1】
特開平10−021742号公報
【特許文献2】
特公昭63−54316号公報
【特許文献3】
特開昭63−317541号公報
【特許文献4】
特開平05−151821号公報
【0010】
【発明が解決しようとする課題】
しかし、例えばマイカのような鱗片状フィラーのみを用いたものでは、鱗片状フィラーが一方向に配列する傾向にある。このため、鱗片状フィラーの面と面の間にある樹脂が残ってしまい、電気的な接点を確保することが難しくなる。このため、フィラーの添加量ほどには、導電性を発現することが困難であった。
【0011】
これを解決するには、樹脂中の導電性フィラーの配合量を多くする必要がある。しかし、導電性フィラーの配合量を多くすると、樹脂の成型性が著しく損なわれ、例えばシート状に成型することは困難であった。
【0012】
略球状の金属被覆フィラーについて、特公昭63−54316号公報では、金属被覆されたガラスビーズを95重量%まで含有すると記載されている。
また特開平5−151821号公報の開示から、銅粉混合物を96容量%まで配合することを、計算によって導き出すことができる。
【0013】
本発明は、これらの問題点に着目してなされたものである。その目的は、多量の導電性フィラーを配合する必要がなく、樹脂成型物品の成型性を損なうことなく、良好な導電性樹脂成形部品を提供することにある。
【0014】
【課題を解決するための手段】
上記課題を達成するために、本発明では、鱗片状導電性フィラーと、繊維状または略球状導電性フィラーを混合して用いることを特徴としている。
【0015】
これは、上述したように鱗片状フィラーのみでは、鱗片状フィラーが一方向に配列し層をなしてしまう。このため層の方向には、鱗片形状とも相まって、高い導電性を確保しやすい。しかし、層と層の間の樹脂の存在により、電気的な接続を確保することが難しい。
【0016】
また、略球状または繊維状の導電性フィラーのみでは、導電性フィラー間の電気的な接続は確保しやすいものの、その形状からフィラー同士の接触面積を大きく取ることが難しい。このため、高い導電性を確保するには不充分であった。
【0017】
そこで本発明では、一方向には高い導電性を確保しやすい鱗片状フィラーと、導電性フィラー間の電気的な接続を確保しやすい略球状または繊維状フィラーを混合して用いている。このことによって、層状のなす鱗片状フィラー間の電気的な接続を、略球状または繊維状フィラーによって、確保することができる。この結果、導電性フィラーを多量に配合する必要がなくなるのである。
【0018】
図1は、本発明による導電性樹脂成型物品における導電性のメカニズムを説明する模式図である。図1では、導電性樹脂成型物品1の樹脂2中において、略球状または繊維状フィラー4が、層状のなす鱗片状フィラー3の間を電気的に接続している様子を模式的に表している。
【0019】
すなわち本発明は、請求項1に記載の発明として、
樹脂成型物品中に導電性フィラーを含んでなる導電性樹脂成形部品において、
前記導電性フィラーは、絶縁性の無機質基材に金属被覆が施されており、その形状が、鱗片状と、繊維状または略球状の少なくとも2種類の形状の異なる導電性フィラーを含む導電性樹脂成形部品である。
【0020】
請求項2に記載の発明として、
前記鱗片状導電性フィラーは、平均厚さが1〜50μm、平均粒径が20〜250μmである請求項1に記載の導電性樹脂成形部品である。
【0021】
請求項3に記載の発明として、
前記繊維状導電性フィラーは、平均繊維径が1〜100μm、繊維長が20μm〜1mmである請求項1または2に記載の導電性樹脂成形部品である。
【0022】
請求項4に記載の発明として、
前記略球状導電性フィラーは、平均粒径が1〜100μmである請求項1または2に記載の導電性樹脂成形部品である。
【0023】
請求項5に記載の発明として、
前記無機質基材がガラスおよび/またはマイカである請求項1〜4のいずれか1項に記載の導電性樹脂成形部品である。
【0024】
請求項6に記載の発明として、
前記金属被覆の厚みが0.05〜5μmである請求項1〜5のいずれか1項に記載の導電性樹脂成形部品である。
【0025】
請求項7に記載の発明として、
前記金属被覆がニッケル−リン合金皮膜である請求項1〜6のいずれか1項に記載の導電性樹脂成形部品である。
【0026】
請求項8に記載の発明として、
前記導電性フィラーは、樹脂成型物品の全質量に対して30〜80質量%の割合で含まれている請求項1〜7のいずれか1項に記載の導電性樹脂成形部品である。
【0027】
請求項9に記載の発明として、
前記導電性フィラーは、樹脂成型物品の全質量に対して50〜80質量%の割合で含まれている請求項8に記載の導電性樹脂成形部品である。
【0028】
【発明の実施の形態】
以下、本発明の実施形態について詳細に説明する。
【0029】
本発明では、形状の異なる鱗片状導電性フィラーと、繊維状または略球状導電性フィラーを混合して用いることを特徴としている。
【0030】
フィラー基材の材質は、樹脂溶液や樹脂中での分散性を考慮して、比重の小さい材質を用いる。具体的には比重3.0以下である、ガラス(ガラスチョップ、ガラスビーズ、ガラス粉末、ガラスフレーク)、マイカを例示することができる。
【0031】
鱗片状フィラーの形状は、平均厚さ1〜50μm、平均粒径20〜250μmのものが好ましい。鱗片状フィラーの平均粒径が250μmを超える場合は、樹脂の成型が困難になったり、樹脂成型体から導電材が突出したりする可能性が高くなり、好ましくない。
【0032】
一方、鱗片状フィラーの平均粒径が20μm未満になると、水平方向の導電性が取り難くなり、抵抗の増加につながり、好ましくない。また、鱗片状フィラーの平均厚さが1μm未満の場合は、垂直方向の導電性が取り難くなり、抵抗の増加につながり、好ましくない。一方、鱗片状フィラーの平均厚さが50μmを超えると、樹脂の成型が困難になったり、粒径が大きい場合は樹脂成型体から導電材が突出したりする可能性が高くなるので、好ましくない。
【0033】
繊維状または略球状フィラーの場合において、略球状の場合の形状は、その平均粒径が1〜100μmであることが好ましい。略球状フィラーの平均粒径が1μm未満であると、導電性フィラーの個数が多くなる。その結果、電気的接点数が増えるため、抵抗増加につながり、好ましくない。一方、略球状フィラーの平均粒径が100μmを超えると、樹脂形成物の平坦性が損なわれたり、樹脂の成型性が損なわれたりしてしまうので、好ましくない。
【0034】
繊維状フィラーの場合、その平均繊維径は1〜100μmであることが好ましい。略球状フィラーの場合と同様に、その平均繊維径が1μm未満であると、導電性フィラーの個数が多くなり、その結果、電気的接点数が増えるため、抵抗増加につながり、好ましくない。一方、繊維状フィラーの平均繊維径が100μmを超えると、樹脂成型物品の平坦性が損なわれたり、樹脂の成型性が損なわれたりしてしまい、好ましくない。
【0035】
繊維状フィラーの繊維長は特に限定されないが、20μm〜1mmであることが好ましい。繊維状フィラーの繊維長が20μm未満になると、水平方向の導電性が取り難くなり、抵抗の増加につながり、好ましくない。一方、繊維状フィラーの繊維長が1mmを超える場合は、取り扱いが難しくなり、また樹脂の成型も困難になり、樹脂成型物品の厚さによっては導電材が突出する可能性が高くなるので好ましくない。さらに繊維径が太い場合は、樹脂成型体から導電材が突出する可能性が高くなるので好ましくない。
【0036】
略球状導電性フィラーと繊維状導電性フィラーを比較した場合、接触面積の観点から繊維状導電性フィラーの方がより好ましい。
【0037】
導電性フィラーとして使用される基材の具体例としては、日本板硝子製マイクログラス(登録商標、以下省略)チョップドストランド RES 010、マイクログラス(登録商標、以下省略)サーフェストランド REVシリーズ、等が挙げられる。
【0038】
基材に被覆する導電性物質は、特に限定されないが金属または導電性金属酸化物であることが好ましい。なかでも導電性の良好な銅、ニッケル、銀、クロム、金、錫、鉄、アルミニウム等であることが好ましい。また、これらの金属は2種類以上を混合して用いてもよく、またこれらの金属からなる合金を使用することもできる。ただし、Auは高価な材料であるので、多量の使用はコスト高を招く。また、CuやAlは酸化しやすい材料であり、導電性の経時変化が認められるので、その用途が限られる。Agやニッケル、およびその合金が好ましく用いられる。特にニッケルやその合金は、化学的安定でコストも低く抑えられるので、好ましく使用することができる。
【0039】
そのなかでも特に、ニッケル−リン合金は被覆が容易で、高い導電率が得られ、その場合のリンの含有率は5〜20質量%であることが好ましく、さらには7〜15質量%であることが好ましい。リンの含有量が5質量%未満であると、導電性は高くなるものの、クラックが入りやすくなるなど、均一に被覆することが困難になる。一方リンの含有量が20質量%を超えると、被覆速度が遅くなるなどの不具合点が生じる。
【0040】
導電性物質の被覆厚さは、厚いほど導電性が向上するが、金属を被覆する場合は比重が大きくなり、導電性フィラーが塗料や樹脂中で沈降しやすくなる。被覆厚さが薄いと、比重が小さくなり塗料や樹脂中での分散性がよくなるが、導電性が低下してしまう。これら分散性(比重)と導電性を両立できる被覆厚みは0.05〜5μmであり、さらに好ましくは0.2〜3μmである。
【0041】
金属を被覆する場合は無電解めっき、真空蒸着、スパッタ、イオンプレーティング、金属容射またはメカノケミカル法、その他一般的など紛状体に薄膜成形する公知の方法を用いることができる。
【0042】
なかでも無電解めっき法は、均一に被覆でき比較的安価な方法である。これらの方法で複数種の金属またはその合金を被覆してもよいし、被覆層が複数層となってもよい。さらに、塗料中での分散性を向上させるために、シランカップリング処理またはチタネートカップリング処理などで導電性フィラーに表面処理を施してもよい。
【0043】
金属またはその合金が被覆された導電性フィラーの比重は、6.0以下であることが好ましい。導電性フィラーの比重が6.0を超えると、導電性フィラーが樹脂中で沈んでしまい、その分散が困難になるためである。
【0044】
樹脂に対する導電性フィラーの添加量は、導電性フィラーの形状や導電材の被覆厚み、比表面積、比重、用いる樹脂や塗料など種々の要因を考慮して決めるとよい。
【0045】
樹脂に対する導電性フィラーの好ましい添加量は、成型物品の全質量に対して30〜80質量%であり、さらに好ましくは50〜80質量%である。なお添加量の上限としては、70質量%がさらに好ましい。添加量が30質量%未満の添加量の場合は導電性が得られず、80質量%を超える場合は樹脂成形が困難になる。
【0046】
鱗片状フィラーと、繊維状または略球状フィラーの混合率は、導電性フィラーの形状や導電材の厚さ、粒径、比表面積など種々の要因を考慮して決めるとよい。
好ましい混合率は、導電性フィラー全体に対して、鱗片状フィラーの割合が10質量%〜90質量%であり、さらに好ましくは30〜70質量%である。
【0047】
例えば、平均厚さ5μm、平均粒径90μmの鱗片状フィラーに、平均繊維径13μm、平均繊維長35μmの繊維状フィラーを混合したものを樹脂中に70質量%含有した場合、以下の割合で混合した場合に、樹脂成型性を維持しながら最も導電性が高くなる。
鱗片状フィラー:繊維状フィラー=60:40
【0048】
樹脂成型物品のマトリックスとして使用される樹脂の種類は、用途によって異なるが、一般に塗料や樹脂成型体に用いられているものであれば、特に限定されない。例えば、熱硬化性樹脂、熱可塑性樹脂等が使用できる。
【0049】
熱硬化性樹脂としては、エポキシ樹脂、フェノール樹脂、メラミン樹脂、ウレタン樹脂、シリコーン樹脂等が挙げられる。
【0050】
熱可塑性樹脂としては、ポリ四フッ化エチレン(PTFE)、エチレン−四フッ化エチレン共重合体(ETFE)、ポリビニリデンフルオライド(PVDF)等のフッ素樹脂、ポリエチレン、ポリプロピレン、ポリブテン、ポリメチルペンテン、等の脂肪族ポリオレフィンや脂環族ポリオレフィン、芳香族ポリカーボネート、ポリブチレンテレフタレート、ポリフェニレンサルファイド、各種ポリアミド(ナイロン6、66、ナイロン610、ナイロンMXD6等)、ポリエーテルイミド、ポリサルフォン、ポリエーテルサルフォン、ポリエーテルエーテルケトン、アクリル系樹脂、スチレン系樹脂、変性ポリフェニレンエーテル、液晶性ポリエステル、塩化ビニル、CPE(塩素化ポリエチレン)、EPDM(エチレン・プロピレン・ジエンモノマー三元共重合体)、TPE(熱可塑性エラストマー)等の非オレフィン系樹脂、が挙げられる。
【0051】
なお、これらのマトリックス材料は、1種でもよいし、複数を組み合わせて使用してもよい。
【0052】
本発明における導電性樹脂成型物品は、一般に導電性製品が使用されている様々なものに使用できる。例えば、電磁波シールド、半導体、電子工業、精密工業、医療機関、医薬品工業、バイオインダストリー、食品工業、衛生関係における帯電防止などの用途に使用できる。また、電池電極部材、高周波信号を扱う受送信器のアンテナ、伝送ケーブル、接点部材、さらにパソコンなどの高周波回路の伝送ケーブルやコネクタ、接点部品として使用できる。
【0053】
【実施例】
以下、実施例により本発明をより具体的に説明する。
【0054】
(導電性フィラーの準備)
鱗片状フィラーの基材として、Cガラス組成(比重:2.49)からなる平均厚さ5μm、平均粒径90μmのガラスフレークを準備した。
また、繊維状フィラーの基材として、Eガラス組成(比重:2.54)からなる平均繊維径13μm、平均繊維長35μmのマイクログラス サーフェストランド REV1を準備した。
さらに、略球状フィラーの基材としてEガラス組成からなる平均粒径20μmのガラスビーズを準備した。
【0055】
これらの基材に、無電解めっき法にてニッケル−リン合金を被覆した。作製された導電性フィラーの断面を電子顕微鏡にて観察したところ、それぞれニッケル−リン合金皮膜の厚さは約1.3μmであった。さらにX線マイクロアナライザーにて分析した結果、合金皮膜中のリン含有率は12質量%であった。また作製された導電性フィラーの比表面積を、比表面積計(NOVA1000、ユアサアイオニクス株式会社製)を用いて測定した結果を表1に示す。
【0056】
【表1】
【0057】
(導電性樹脂組成物品の作製)
作製したこれら導電性フィラーと、シリコーンゲル(東レ・ダウコーニング・シリコーン株式会社製 CY 52−272A&B)を均一に撹拌混合し、常温に硬化させた。鱗片状フィラーと繊維状または略球状フィラーの添加量は、合計で全質量に対して70質量%とした。
【0058】
導電性フィラー入りのシリコーンゲルについて、その成型性を目視にて評価した。また導電性は以下のように測定した。
【0059】
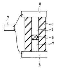
絶縁物で作製された内径10mmの円筒内に測定試料を2g詰め込み、ステンレス製の円柱を前記円筒の両側から押し込んで、測定資料を挟み込み、さらにその上下を2枚のステンレス製の板を介して一定の圧力をかけて、デジタルマルチメーターを用いて、測定資料の比抵抗を測定した。図2にその測定原理図を示す。
【0060】
表2には、鱗片状フィラーと繊維状フィラーの組み合わせで、その混合比率を順次変えて測定した結果を示す。鱗片状フィラーと繊維状フィラーの組み合わせをサンプル1シリーズとし、サンプル番号(S1−N)で表す。
【0061】
また表3には、鱗片状フィラーと略球状フィラーの組み合わせで、その混合比率を順次変えて測定した結果を表3に示す。鱗片状フィラーと略球状フィラーの組み合わせをサンプル2シリーズとし、サンプル番号(S2−N)で表す。なお、S2−5はS1−5と同じである。
【0062】
【表2】
【0063】
【表3】
【0064】
以上の結果から、繊維状フィラーのみ(S1−1)や略球状フィラーのみ(S2−1)では、樹脂の成型性は良好であるが、充分な導電性が得られていないことがわかった。
【0065】
これに対して、鱗片状フィラーと繊維状フィラーを混合することにより(S1−2〜4)、また鱗片状フィラーと略球状フィラーを混合することにより(S2−2〜4)、樹脂の成型性が良好で、かつ導電性の優れた樹脂成型物品の作製が可能であることがわかった。
【0066】
また、鱗片状フィラーのみ(S1−5(=S2−5))では、樹脂の成型性が悪く、かつ充分な導電性が得られていない。
【0067】
鱗片状フィラーに組み合わせるフィラーとしては、略球状フィラーよりも繊維状フィラーの方が、その効果の大きいことがわかった。
【0068】
以上の説明では、樹脂成型物品について説明してきたが、本発明の特徴である導電性フィラーの組み合わせを、導電性塗料に適用することも可能である。
すなわち、樹脂バインダーと、溶剤と、少なくとも2種類の形状の異なる導電性フィラーを含んでなる導電性塗料において、前記導電性フィラーは、絶縁性の無機質基材に金属被覆が施されており、その形状が鱗片状と繊維状または略球状である、少なくとも2種類の形状の異なる導電性フィラーである導電性塗料である。
【0069】
以上、本発明の実施例を用いて説明してきたが、本発明はこれらの実施の形態に限定されるものではない。
【0070】
【発明の効果】
本発明によれば、鱗片状導電性フィラーと、繊維状または略球状導電性フィラーを混合して用いるため、樹脂成型物品の成形性を損なうことなく、その導電性を飛躍的に向上させることができる。
【0071】
そのため、高価な貴金属を使用せずに導電性フィラーの金属被覆量を低減することができ、同時にフィラー基材の比重を小さくすることで、樹脂中での沈みこみを防ぎ、分散性を向上させた安価な導電性フィラーを提供することができる。
【0072】
これらの導電性フィラーを用いた導電性樹脂成型物品は、様々な分野での電磁波シールド、帯電防止などの性能向上を図ることができる。
【図面の簡単な説明】
【図1】本発明による導電性樹脂成型物品における導電性のメカニズムを説明する模式図である。
【図2】導電性の測定方法を説明する模式図である。
【符号の説明】
1:導電性樹脂成型物品
2:樹脂
3:鱗片状フィラー
4:略球状または繊維状フィラー
5:測定試料
6:絶縁性円筒
7:ステンレス製の円柱
8:ステンレス製の板
9:デジタルマルチメーター[0001]
TECHNICAL FIELD OF THE INVENTION
The present invention relates to a conductive resin molded part characterized by a conductive filler to be used.
[0002]
[Prior art]
BACKGROUND ART Electromagnetic wave shields and resin molded articles requiring conductivity in the field of semiconductors are manufactured by molding a conductive resin composition in which a conductive filler is dispersed in a resin binder.
[0003]
Examples of the conductive filler include a metal-based filler and a metal-coated filler in which the surface of mica or glass beads is coated with a metal.
[0004]
For example, as an example using a metal-based filler, JP-A-10-021742 discloses that a copper alloy powder is used as a conductive filler in a conductive paste.
[0005]
This metal-based filler can easily impart high conductivity. On the other hand, there is a drawback that the specific gravity is large and the filler sinks in the resin.
[0006]
As an example using a metal-coated filler using mica or glass beads, Japanese Patent Publication No. 63-54316 discloses the use of mica powder coated with nickel for a conductive paint. Further, JP-A-63-317541 discloses a conductive resin composition containing glass beads coated with at least one metal of Ni, Cu and Ag.
[0007]
Although the metal-coated filler depends on the characteristics of the metal to be coated, the performance as a conductive filler is not inferior to a metal-based filler. Further, since the specific gravity is smaller than that of the metal-based filler, it does not easily sink in resins and paints, and has excellent dispersibility.
[0008]
In the above-mentioned Japanese Patent Application Laid-Open No. 10-021742, it is disclosed that the shape of the conductive filler in the conductive paste is “spherical, scale-like, or a mixture thereof”.
JP-A-5-151821 discloses that a curable conductive composition contains dendritic copper powder and flake-like copper powder and / or fibrous copper powder.
[0009]
[Patent Document 1]
JP-A-10-021742 [Patent Document 2]
JP-B-63-54316 [Patent Document 3]
JP-A-63-317541 [Patent Document 4]
Japanese Patent Application Laid-Open No. 05-151821
[Problems to be solved by the invention]
However, in the case of using only flaky fillers such as mica, for example, the flaky fillers tend to be arranged in one direction. For this reason, the resin between the surfaces of the flaky filler remains, and it is difficult to secure an electrical contact. For this reason, it was difficult to exhibit conductivity as much as the amount of filler added.
[0011]
In order to solve this, it is necessary to increase the amount of the conductive filler in the resin. However, when the compounding amount of the conductive filler is increased, the moldability of the resin is significantly impaired, and for example, it has been difficult to mold the resin into a sheet.
[0012]
Japanese Patent Publication No. Sho 63-54316 discloses that a substantially spherical metal-coated filler contains up to 95% by weight of metal-coated glass beads.
Further, from the disclosure of JP-A-5-151821, it can be derived by calculation that the copper powder mixture is blended up to 96% by volume.
[0013]
The present invention has been made in view of these problems. An object of the present invention is to provide a good conductive resin molded part without having to mix a large amount of a conductive filler and without impairing the moldability of a resin molded article.
[0014]
[Means for Solving the Problems]
In order to achieve the above object, the present invention is characterized in that a flaky conductive filler and a fibrous or substantially spherical conductive filler are mixed and used.
[0015]
This is because, as described above, with only the flaky filler, the flaky filler is arranged in one direction to form a layer. For this reason, in the direction of the layer, high conductivity is easily ensured in combination with the scale shape. However, it is difficult to secure electrical connection due to the presence of the resin between the layers.
[0016]
Further, with only a substantially spherical or fibrous conductive filler, electrical connection between the conductive fillers can be easily secured, but it is difficult to obtain a large contact area between the fillers due to the shape. For this reason, it was insufficient to secure high conductivity.
[0017]
Therefore, in the present invention, a flaky filler that easily ensures high conductivity in one direction and a substantially spherical or fibrous filler that easily ensures electrical connection between the conductive fillers are used. This makes it possible to secure electrical connection between the lamellar fillers in a layered form by the substantially spherical or fibrous fillers. As a result, it is not necessary to mix a large amount of the conductive filler.
[0018]
FIG. 1 is a schematic diagram illustrating a mechanism of conductivity in a conductive resin molded article according to the present invention. FIG. 1 schematically illustrates a state in which substantially spherical or fibrous fillers 4 electrically connect between
[0019]
That is, the present invention provides
In a conductive resin molded part comprising a conductive filler in a resin molded article,
The conductive filler has a metal coating applied to an insulating inorganic base material, and the shape thereof is a scale-like, fibrous or substantially spherical conductive resin containing a conductive filler having at least two different shapes. Molded parts.
[0020]
As the invention according to
2. The conductive resin molded part according to claim 1, wherein the flaky conductive filler has an average thickness of 1 to 50 μm and an average particle size of 20 to 250 μm. 3.
[0021]
As the invention according to
3. The conductive resin molded part according to claim 1, wherein the fibrous conductive filler has an average fiber diameter of 1 to 100 μm and a fiber length of 20 μm to 1 mm. 4.
[0022]
As the invention according to claim 4,
The conductive resin molded part according to claim 1, wherein the substantially spherical conductive filler has an average particle size of 1 to 100 μm.
[0023]
As the invention according to
The conductive resin molded part according to any one of claims 1 to 4, wherein the inorganic base material is glass and / or mica.
[0024]
As the invention according to claim 6,
The conductive resin molded part according to any one of claims 1 to 5, wherein the thickness of the metal coating is 0.05 to 5 µm.
[0025]
As the invention according to
The conductive resin molded part according to any one of claims 1 to 6, wherein the metal coating is a nickel-phosphorus alloy film.
[0026]
As the invention according to
The conductive resin molded part according to any one of claims 1 to 7, wherein the conductive filler is contained in a proportion of 30 to 80% by mass based on the total mass of the resin molded article.
[0027]
According to the ninth aspect of the present invention,
The conductive resin molded part according to
[0028]
BEST MODE FOR CARRYING OUT THE INVENTION
Hereinafter, embodiments of the present invention will be described in detail.
[0029]
The present invention is characterized in that flaky conductive fillers having different shapes and fibrous or substantially spherical conductive fillers are mixed and used.
[0030]
As the material of the filler base material, a material having a small specific gravity is used in consideration of dispersibility in a resin solution or a resin. Specifically, glass (glass chop, glass beads, glass powder, glass flake) and mica having a specific gravity of 3.0 or less can be exemplified.
[0031]
The shape of the flaky filler preferably has an average thickness of 1 to 50 μm and an average particle size of 20 to 250 μm. If the average particle size of the flaky filler is more than 250 μm, it is not preferable because it becomes difficult to mold the resin and the possibility that the conductive material protrudes from the resin molded body increases.
[0032]
On the other hand, when the average particle size of the flaky filler is less than 20 μm, it becomes difficult to obtain conductivity in the horizontal direction, which leads to an increase in resistance, which is not preferable. On the other hand, when the average thickness of the flaky filler is less than 1 μm, it is difficult to obtain conductivity in the vertical direction, which leads to an increase in resistance, which is not preferable. On the other hand, if the average thickness of the flaky filler exceeds 50 μm, molding of the resin becomes difficult, and if the particle size is large, the possibility of the conductive material protruding from the resin molded body increases, which is not preferable.
[0033]
In the case of a fibrous or substantially spherical filler, the shape of the substantially spherical filler preferably has an average particle size of 1 to 100 μm. When the average particle diameter of the substantially spherical filler is less than 1 μm, the number of conductive fillers increases. As a result, the number of electrical contacts increases, which leads to an increase in resistance, which is not preferable. On the other hand, when the average particle diameter of the substantially spherical filler exceeds 100 μm, the flatness of the resin formed product is impaired and the moldability of the resin is impaired, which is not preferable.
[0034]
In the case of a fibrous filler, the average fiber diameter is preferably 1 to 100 μm. As in the case of the substantially spherical filler, if the average fiber diameter is less than 1 μm, the number of conductive fillers increases, and as a result, the number of electrical contacts increases, which leads to an increase in resistance, which is not preferable. On the other hand, if the average fiber diameter of the fibrous filler exceeds 100 μm, the flatness of the resin molded article is impaired or the moldability of the resin is impaired, which is not preferable.
[0035]
The fiber length of the fibrous filler is not particularly limited, but is preferably 20 μm to 1 mm. If the fiber length of the fibrous filler is less than 20 μm, it becomes difficult to obtain conductivity in the horizontal direction, leading to an increase in resistance, which is not preferable. On the other hand, if the fiber length of the fibrous filler exceeds 1 mm, handling becomes difficult and molding of the resin becomes difficult, and the possibility that the conductive material protrudes increases depending on the thickness of the resin molded article, which is not preferable. . Further, when the fiber diameter is large, the possibility that the conductive material protrudes from the resin molded body increases, which is not preferable.
[0036]
When the substantially spherical conductive filler and the fibrous conductive filler are compared, the fibrous conductive filler is more preferable from the viewpoint of the contact area.
[0037]
Specific examples of the substrate used as the conductive filler include Microglass (registered trademark, hereinafter abbreviated) chopped strand RES 010, Microglass (registered trademark, hereinafter abbreviated) Surface Strand REV series manufactured by Nippon Sheet Glass. .
[0038]
The conductive substance coated on the substrate is not particularly limited, but is preferably a metal or a conductive metal oxide. Among them, copper, nickel, silver, chromium, gold, tin, iron, aluminum and the like having good conductivity are preferable. Further, these metals may be used as a mixture of two or more kinds, and alloys composed of these metals may also be used. However, since Au is an expensive material, its use in large amounts leads to high costs. Further, Cu and Al are materials that are easily oxidized, and a change with time in the conductivity is recognized, so that the use thereof is limited. Ag, nickel, and alloys thereof are preferably used. In particular, nickel and its alloys can be preferably used because they are chemically stable and the cost can be kept low.
[0039]
Among them, nickel-phosphorus alloys are particularly easy to coat and high conductivity is obtained. In this case, the phosphorus content is preferably 5 to 20% by mass, and more preferably 7 to 15% by mass. Is preferred. When the content of phosphorus is less than 5% by mass, the conductivity is increased, but it is difficult to uniformly coat such that cracks are easily formed. On the other hand, if the phosphorus content exceeds 20% by mass, problems such as a low coating speed occur.
[0040]
As the coating thickness of the conductive substance increases, the conductivity improves. However, when coating with a metal, the specific gravity increases, and the conductive filler tends to settle in the paint or resin. When the coating thickness is small, the specific gravity becomes small and the dispersibility in the paint or resin is improved, but the conductivity is reduced. The coating thickness capable of satisfying both dispersibility (specific gravity) and conductivity is 0.05 to 5 μm, and more preferably 0.2 to 3 μm.
[0041]
In the case of coating with a metal, a known method of forming a thin film into a powder, such as electroless plating, vacuum deposition, sputtering, ion plating, metal spraying or mechanochemical method, and other general methods can be used.
[0042]
Among them, the electroless plating method is a relatively inexpensive method that can cover uniformly. A plurality of kinds of metals or alloys thereof may be coated by these methods, or a plurality of coating layers may be formed. Further, in order to improve the dispersibility in the paint, the conductive filler may be subjected to a surface treatment by a silane coupling treatment or a titanate coupling treatment.
[0043]
The specific gravity of the conductive filler coated with a metal or an alloy thereof is preferably 6.0 or less. If the specific gravity of the conductive filler exceeds 6.0, the conductive filler sinks in the resin, and the dispersion thereof becomes difficult.
[0044]
The amount of the conductive filler to be added to the resin may be determined in consideration of various factors such as the shape of the conductive filler, the coating thickness of the conductive material, the specific surface area, the specific gravity, the resin and the paint to be used.
[0045]
The preferred amount of the conductive filler to be added to the resin is 30 to 80% by mass, more preferably 50 to 80% by mass, based on the total mass of the molded article. The upper limit of the addition amount is more preferably 70% by mass. When the amount is less than 30% by mass, conductivity cannot be obtained. When the amount exceeds 80% by mass, resin molding becomes difficult.
[0046]
The mixing ratio of the flaky filler and the fibrous or substantially spherical filler may be determined in consideration of various factors such as the shape of the conductive filler, the thickness, the particle size, and the specific surface area of the conductive material.
The preferred mixing ratio is such that the proportion of the flaky filler is 10% by mass to 90% by mass, more preferably 30% by mass to 70% by mass, based on the whole conductive filler.
[0047]
For example, when 70% by mass of fibrous filler having an average fiber diameter of 13 μm and an average fiber length of 35 μm mixed with a flaky filler having an average thickness of 5 μm and an average particle size of 90 μm is contained in the resin at the following ratio, In this case, the conductivity becomes highest while maintaining the resin moldability.
Scale-like filler: fibrous filler = 60: 40
[0048]
The type of resin used as the matrix of the resin molded article varies depending on the application, but is not particularly limited as long as it is generally used for a paint or a resin molded article. For example, a thermosetting resin, a thermoplastic resin, or the like can be used.
[0049]
Examples of the thermosetting resin include an epoxy resin, a phenol resin, a melamine resin, a urethane resin, and a silicone resin.
[0050]
Examples of the thermoplastic resin include fluorocarbon resins such as polytetrafluoroethylene (PTFE), ethylene-tetrafluoroethylene copolymer (ETFE), and polyvinylidene fluoride (PVDF), polyethylene, polypropylene, polybutene, and polymethylpentene. Such as aliphatic polyolefins and alicyclic polyolefins, aromatic polycarbonate, polybutylene terephthalate, polyphenylene sulfide, various polyamides (nylon 6, 66, nylon 610, nylon MXD6, etc.), polyetherimide, polysulfone, polyethersulfone, poly Ether ether ketone, acrylic resin, styrene resin, modified polyphenylene ether, liquid crystalline polyester, vinyl chloride, CPE (chlorinated polyethylene), EPDM (ethylene propylene die Monomer terpolymer), non-olefin resins such as TPE (thermoplastic elastomer), and the like.
[0051]
These matrix materials may be used alone or in combination of two or more.
[0052]
The conductive resin molded article according to the present invention can be used for various products in which conductive products are generally used. For example, it can be used for applications such as electromagnetic wave shielding, semiconductor, electronics industry, precision industry, medical institution, pharmaceutical industry, bioindustry, food industry, and antistatic in the hygiene industry. Further, it can be used as a battery electrode member, an antenna of a transmitter / receiver that handles high-frequency signals, a transmission cable, a contact member, and a transmission cable, a connector, and a contact part of a high-frequency circuit such as a personal computer.
[0053]
【Example】
Hereinafter, the present invention will be described more specifically with reference to examples.
[0054]
(Preparation of conductive filler)
Glass flakes having an average thickness of 5 μm and an average particle size of 90 μm made of a C glass composition (specific gravity: 2.49) were prepared as a base material of the flaky filler.
In addition, as a base material of the fibrous filler, a microglass surface strand REV1 composed of an E glass composition (specific gravity: 2.54) and having an average fiber diameter of 13 μm and an average fiber length of 35 μm was prepared.
Further, glass beads having an average particle diameter of 20 μm and made of an E glass composition were prepared as a base material of the substantially spherical filler.
[0055]
These substrates were coated with a nickel-phosphorus alloy by an electroless plating method. When the cross section of the produced conductive filler was observed with an electron microscope, the thickness of each nickel-phosphorus alloy film was about 1.3 μm. Further analysis by an X-ray microanalyzer showed that the phosphorus content in the alloy film was 12% by mass. Table 1 shows the results of measuring the specific surface area of the prepared conductive filler using a specific surface area meter (NOVA1000, manufactured by Yuasa Ionics Inc.).
[0056]
[Table 1]
[0057]
(Production of conductive resin composition article)
These prepared conductive fillers and silicone gel (CY 52-272A & B manufactured by Dow Corning Toray Silicone Co., Ltd.) were uniformly stirred and mixed, and cured at room temperature. The total amount of the scaly filler and the fibrous or substantially spherical filler was 70% by mass based on the total mass.
[0058]
The moldability of the silicone gel containing the conductive filler was visually evaluated. The conductivity was measured as follows.
[0059]
2 g of a measurement sample is packed in a cylinder having an inner diameter of 10 mm made of an insulating material, a stainless steel cylinder is pushed in from both sides of the cylinder, the measurement material is sandwiched, and the upper and lower portions of the cylinder are interposed through two stainless steel plates. A specific pressure was applied and the specific resistance of the measurement data was measured using a digital multimeter. FIG. 2 shows the principle of the measurement.
[0060]
Table 2 shows the results of measurements of the combination of the flaky filler and the fibrous filler, with the mixing ratio being sequentially changed. A combination of the scaly filler and the fibrous filler is referred to as a sample 1 series, and is represented by a sample number (S1-N).
[0061]
Table 3 shows the results of measurements of the combination of the flaky filler and the substantially spherical filler, with the mixing ratio being changed sequentially. A combination of the scaly filler and the substantially spherical filler is referred to as a
[0062]
[Table 2]
[0063]
[Table 3]
[0064]
From the above results, it was found that when only the fibrous filler (S1-1) or the substantially spherical filler (S2-1) was used, the moldability of the resin was good, but sufficient conductivity was not obtained.
[0065]
On the other hand, by mixing the flaky filler and the fibrous filler (S1-2-4), and by mixing the flaky filler and the substantially spherical filler (S2-2-4), the moldability of the resin is improved. It was found that it was possible to produce a resin molded article having a good electrical conductivity and excellent conductivity.
[0066]
In addition, when only the scaly filler (S1-5 (= S2-5)) is used, the moldability of the resin is poor and sufficient conductivity is not obtained.
[0067]
As a filler to be combined with the flaky filler, it was found that a fibrous filler had a greater effect than a substantially spherical filler.
[0068]
In the above description, a resin molded article has been described, but a combination of conductive fillers, which is a feature of the present invention, can be applied to a conductive paint.
That is, in a conductive paint containing a resin binder, a solvent, and at least two types of conductive fillers having different shapes, the conductive filler is provided with a metal coating on an insulating inorganic base material. It is a conductive paint that is at least two types of conductive fillers different in shape, which are flake-like, fibrous, or substantially spherical.
[0069]
The embodiments of the present invention have been described above, but the present invention is not limited to these embodiments.
[0070]
【The invention's effect】
According to the present invention, since the flaky conductive filler and the fibrous or substantially spherical conductive filler are used in combination, the conductivity can be significantly improved without impairing the moldability of the resin molded article. it can.
[0071]
Therefore, it is possible to reduce the amount of conductive filler metal coating without using expensive precious metals, and at the same time, by reducing the specific gravity of the filler base material, to prevent sinking in the resin and improve dispersibility. Inexpensive conductive fillers can be provided.
[0072]
The conductive resin molded article using these conductive fillers can improve performance such as electromagnetic wave shielding and antistatic in various fields.
[Brief description of the drawings]
FIG. 1 is a schematic diagram illustrating a mechanism of conductivity in a conductive resin molded article according to the present invention.
FIG. 2 is a schematic diagram illustrating a method for measuring conductivity.
[Explanation of symbols]
1: conductive resin molded article 2: resin 3: scaly filler 4: substantially spherical or fibrous filler 5: measurement sample 6: insulating cylinder 7: stainless steel cylinder 8: stainless steel plate 9: digital multimeter
| Application Number | Priority Date | Filing Date | Title |
|---|---|---|---|
| JP2002361016AJP2004189938A (en) | 2002-12-12 | 2002-12-12 | Conductive molded resin part |
| Application Number | Priority Date | Filing Date | Title |
|---|---|---|---|
| JP2002361016AJP2004189938A (en) | 2002-12-12 | 2002-12-12 | Conductive molded resin part |
| Publication Number | Publication Date |
|---|---|
| JP2004189938Atrue JP2004189938A (en) | 2004-07-08 |
| Application Number | Title | Priority Date | Filing Date |
|---|---|---|---|
| JP2002361016APendingJP2004189938A (en) | 2002-12-12 | 2002-12-12 | Conductive molded resin part |
| Country | Link |
|---|---|
| JP (1) | JP2004189938A (en) |
| Publication number | Priority date | Publication date | Assignee | Title |
|---|---|---|---|---|
| JP2009544815A (en)* | 2006-07-24 | 2009-12-17 | スリーエム イノベイティブ プロパティズ カンパニー | Conductive pressure sensitive adhesive |
| WO2009158045A1 (en)* | 2008-06-23 | 2009-12-30 | Parker-Hannifin Corporation | Emi shielding materials |
| WO2010027070A1 (en)* | 2008-09-08 | 2010-03-11 | 新日鐵化学株式会社 | Highly heat conductive polyimide film, highly heat conductive metal-clad laminate and method for producing same |
| JP2010073578A (en)* | 2008-09-19 | 2010-04-02 | Sekisui Chem Co Ltd | Conducting particles, anisotropic conducting material and connecting structure |
| CN102093713B (en)* | 2009-12-10 | 2013-02-13 | 财团法人工业技术研究院 | Thermal Composite Materials |
| US9153354B2 (en) | 2009-11-20 | 2015-10-06 | 3M Innovative Properties Company | Compositions comprising conductive particles with surface-modified nanoparticles covalently attached thereto, and methods of making |
| JP2020198344A (en)* | 2019-05-31 | 2020-12-10 | Dic株式会社 | Conductive buffer material |
| Publication number | Priority date | Publication date | Assignee | Title |
|---|---|---|---|---|
| JPS58161205A (en)* | 1982-02-08 | 1983-09-24 | ポツタ−ズ・インダストリ−ズ・インコ−ポレイテツド | Conductive element, fluid conductive composition and method of producing same |
| JPS59152936A (en)* | 1983-02-21 | 1984-08-31 | Kuraray Co Ltd | Hybrid resin composition with excellent electromagnetic resistance and rigidity |
| JPS61223041A (en)* | 1985-03-29 | 1986-10-03 | Ube Ind Ltd | Conductive resin products and materials thereof |
| JPH06228412A (en)* | 1993-01-29 | 1994-08-16 | Nissan Motor Co Ltd | Resin composition with excellent rust resistance |
| JPH0976272A (en)* | 1995-09-11 | 1997-03-25 | Nissan Motor Co Ltd | Resin composition with excellent impact resistance |
| JPH09150425A (en)* | 1995-11-30 | 1997-06-10 | Sumitomo Bakelite Co Ltd | Anisotropically conductive film |
| JP2001152045A (en)* | 1999-11-29 | 2001-06-05 | Shin Etsu Chem Co Ltd | Gold-plated silica and method for producing the same |
| Publication number | Priority date | Publication date | Assignee | Title |
|---|---|---|---|---|
| JPS58161205A (en)* | 1982-02-08 | 1983-09-24 | ポツタ−ズ・インダストリ−ズ・インコ−ポレイテツド | Conductive element, fluid conductive composition and method of producing same |
| JPS59152936A (en)* | 1983-02-21 | 1984-08-31 | Kuraray Co Ltd | Hybrid resin composition with excellent electromagnetic resistance and rigidity |
| JPS61223041A (en)* | 1985-03-29 | 1986-10-03 | Ube Ind Ltd | Conductive resin products and materials thereof |
| JPH06228412A (en)* | 1993-01-29 | 1994-08-16 | Nissan Motor Co Ltd | Resin composition with excellent rust resistance |
| JPH0976272A (en)* | 1995-09-11 | 1997-03-25 | Nissan Motor Co Ltd | Resin composition with excellent impact resistance |
| JPH09150425A (en)* | 1995-11-30 | 1997-06-10 | Sumitomo Bakelite Co Ltd | Anisotropically conductive film |
| JP2001152045A (en)* | 1999-11-29 | 2001-06-05 | Shin Etsu Chem Co Ltd | Gold-plated silica and method for producing the same |
| Publication number | Priority date | Publication date | Assignee | Title |
|---|---|---|---|---|
| JP2009544815A (en)* | 2006-07-24 | 2009-12-17 | スリーエム イノベイティブ プロパティズ カンパニー | Conductive pressure sensitive adhesive |
| WO2009158045A1 (en)* | 2008-06-23 | 2009-12-30 | Parker-Hannifin Corporation | Emi shielding materials |
| JP2011525703A (en)* | 2008-06-23 | 2011-09-22 | パーカー・ハニフィン・コーポレーション | EMI shielding material |
| WO2010027070A1 (en)* | 2008-09-08 | 2010-03-11 | 新日鐵化学株式会社 | Highly heat conductive polyimide film, highly heat conductive metal-clad laminate and method for producing same |
| JP5330396B2 (en)* | 2008-09-08 | 2013-10-30 | 新日鉄住金化学株式会社 | High thermal conductive polyimide film, high thermal conductive metal-clad laminate and method for producing the same |
| US9101062B2 (en) | 2008-09-08 | 2015-08-04 | Nippon Steel & Sumikin Chemical Co., Ltd. | Highly heat conductive polyimide film, highly heat conductive metal-clad laminate, and method for producing the same |
| JP2010073578A (en)* | 2008-09-19 | 2010-04-02 | Sekisui Chem Co Ltd | Conducting particles, anisotropic conducting material and connecting structure |
| US9153354B2 (en) | 2009-11-20 | 2015-10-06 | 3M Innovative Properties Company | Compositions comprising conductive particles with surface-modified nanoparticles covalently attached thereto, and methods of making |
| CN102093713B (en)* | 2009-12-10 | 2013-02-13 | 财团法人工业技术研究院 | Thermal Composite Materials |
| JP2020198344A (en)* | 2019-05-31 | 2020-12-10 | Dic株式会社 | Conductive buffer material |
| JP7263924B2 (en) | 2019-05-31 | 2023-04-25 | Dic株式会社 | Conductive cushioning material |
| Publication | Publication Date | Title |
|---|---|---|
| EP1744326B1 (en) | Conductive filler and use thereof | |
| US7589284B2 (en) | Composite polymeric material for EMI shielding | |
| CN101747619B (en) | High performance emi/rfi shielding polymer composite and molded article therefrom | |
| EP0117700A1 (en) | Rigid resin composition having electromagnetic shielding properties | |
| JP5205947B2 (en) | Resin carbon composite material | |
| JP2010155993A (en) | Resin composition | |
| CN101747653A (en) | EMI/RFI shielding resin polymer composite material and molding product produced | |
| JP2004079544A (en) | Electrochemically adaptable conductive filler and its manufacturing method | |
| Crossman | Conductive composites past, present, and future | |
| KR100898900B1 (en) | Conductive Composites and Manufacturing Method Thereof | |
| US7285152B2 (en) | Method of manufacturing chain-structure metal powder | |
| US20030113531A1 (en) | Conductive fillers and conductive polymers made therefrom | |
| JP2004189938A (en) | Conductive molded resin part | |
| JP2004519549A (en) | Polymer resin for ion beam or ion implantation treatment to impart conductivity to the surface | |
| CN107250308A (en) | Conductive adhesive material and the conductive adhesive material with conductive substrate | |
| CN107333462B (en) | Conductive layer, electromagnetic shielding film and processing method of electromagnetic shielding film | |
| JP2008001757A (en) | Resin composition for semiconductor sealing use and resin-sealed type semiconductor device | |
| US20020160193A1 (en) | Noble metal clad Ni/C conductive fillers and conductive polymers made therefrom | |
| WO1998020719A1 (en) | Materials for radio frequency/electromagnetic interference shielding | |
| JPH0195170A (en) | Conductive paint | |
| JPH0245359B2 (en) | ||
| JPH0316387B2 (en) | ||
| US7708920B2 (en) | Conductively doped resin moldable capsule and method of manufacture | |
| WO2001051565A1 (en) | Electrically conductive resin composition | |
| KR20030019527A (en) | Electromagnetic Wave Shielding Material using Carbon Nano-Composites and Preparation Method Thereof |
| Date | Code | Title | Description |
|---|---|---|---|
| A621 | Written request for application examination | Free format text:JAPANESE INTERMEDIATE CODE: A621 Effective date:20050916 | |
| A977 | Report on retrieval | Free format text:JAPANESE INTERMEDIATE CODE: A971007 Effective date:20080318 | |
| RD05 | Notification of revocation of power of attorney | Free format text:JAPANESE INTERMEDIATE CODE: A7425 Effective date:20080411 | |
| A131 | Notification of reasons for refusal | Free format text:JAPANESE INTERMEDIATE CODE: A131 Effective date:20080415 | |
| A02 | Decision of refusal | Free format text:JAPANESE INTERMEDIATE CODE: A02 Effective date:20080930 |