Movatterモバイル変換


[0]ホーム

URL:


JP2004186635A - Semiconductor substrate cutting apparatus and method - Google Patents

Semiconductor substrate cutting apparatus and method
Download PDF

Info

Publication number
JP2004186635A
JP2004186635AJP2002355045AJP2002355045AJP2004186635AJP 2004186635 AJP2004186635 AJP 2004186635AJP 2002355045 AJP2002355045 AJP 2002355045AJP 2002355045 AJP2002355045 AJP 2002355045AJP 2004186635 AJP2004186635 AJP 2004186635A
Authority
JP
Japan
Prior art keywords
cutting
semiconductor substrate
support base
fixing
laser beam
Prior art date
Legal status (The legal status is an assumption and is not a legal conclusion. Google has not performed a legal analysis and makes no representation as to the accuracy of the status listed.)
Withdrawn
Application number
JP2002355045A
Other languages
Japanese (ja)
Inventor
Ryuichi Oishi
隆一 大石
Current Assignee (The listed assignees may be inaccurate. Google has not performed a legal analysis and makes no representation or warranty as to the accuracy of the list.)
Sharp Corp
Original Assignee
Sharp Corp
Priority date (The priority date is an assumption and is not a legal conclusion. Google has not performed a legal analysis and makes no representation as to the accuracy of the date listed.)
Filing date
Publication date
Application filed by Sharp CorpfiledCriticalSharp Corp
Priority to JP2002355045ApriorityCriticalpatent/JP2004186635A/en
Publication of JP2004186635ApublicationCriticalpatent/JP2004186635A/en
Withdrawnlegal-statusCriticalCurrent

Links

Images

Landscapes

Abstract

Translated fromJapanese

【課題】半導体基板を切断する際のクラックの発生や割れなどを低減した半導体基板の切断装置および切断方法を提供する。
【解決手段】半導体基板の切断装置は、半導体基板1を切断するための切断手段と、半導体基板1を支えるための支持台5,6と、半導体基板1の切断線となるべき領域の両側を固定する固定手段7,8とを備える。上記の固定手段7,8は、切断線に対して、少なくとも片側の領域に加工物押え7,8を含み、支持台5,6と加工物押え7,8とで半導体基板1を挟むように固定する挟持手段を含む。好ましくは、上記の切断手段はレーザ光線20の照射機能を有する。
【選択図】 図2
The present invention provides a semiconductor substrate cutting apparatus and a cutting method in which the occurrence of cracks and cracks when cutting a semiconductor substrate are reduced.
A semiconductor substrate cutting apparatus includes a cutting means for cutting a semiconductor substrate, support bases for supporting the semiconductor substrate, and both sides of a region to be a cutting line of the semiconductor substrate. And fixing means 7 and 8 for fixing. The fixing means 7 and 8 include the workpiece holders 7 and 8 in at least one region with respect to the cutting line so that the semiconductor substrate 1 is sandwiched between the support bases 5 and 6 and the workpiece holders 7 and 8. Includes clamping means for fixing. Preferably, the cutting means has a laser beam 20 irradiation function.
[Selection] Figure 2

Description

Translated fromJapanese

【0001】
【発明の属する技術分野】
本発明は、半導体基板の切断装置および切断方法に関するものである。
【0002】
【従来の技術】
従来、半導体基板を切断する際は、裏面を真空吸着によって加工ステージに固定した上で切断を行なっていた。特に、被加工物が反りを有しているような場合、真空吸着の吸着力で半導体基板を弾性変形させ、吸着力の範囲内で半導体基板を平坦化するなどして切断を行なっていた。
【0003】
図8に従来の技術による半導体基板の切断装置の説明図を示す。半導体基板には、ポリシリコン基板など半導体を製造するための材料としての基板や基板表面にトランジスタなどが形成された製造途中の基板が含まれる。図8は半導体基板のうち、シリコン板をレーザ光線によって切断する装置および方法を説明する図である。そのうち図8(a)はシリコン板を切断する様子を示す斜視図である。シリコン板1を支持する支持台は、第1支持台5および第2支持台6から構成され、互いに離間して配置されている。この離間した空間はシリコン板1の切断線となるべき直線や曲線の形状に沿って形成されている。この空間を通過するようにレーザ光線20が照射され、シリコン板1を切断する。図8(b)に半導体基板の切断装置の概略断面図を示す。第1支持台5には第1支持台5を貫通するように複数本の吸着用真空配管31が配置されており、吸着用真空ポンプ30で真空引きが行なわれて、シリコン板1が吸着保持される。第1支持台5と第2支持台6との間には、ドロス吸引用配管33が配置されている。レーザ光切断に伴って発生するドロスは、ドロス吸引用排気ポンプ32によってドロス吸引用配管33を通じて吸引される。シリコン板1の保持は、第1支持台5における吸着によってのみ行なわれている。
【0004】
なお、以上本発明についての従来の技術を、出願人の知得した一般的技術情報に基づいて説明したが、出願人の記憶する範囲において、出願前までに先行技術文献情報として開示すべき情報を出願人は有していない。
【0005】
【発明が解決しようとする課題】
図8(a)および(b)に示すように、半導体基板を切断する際、切断を行なった切断線の両側のうち一方または両方において、シリコン板1が支持台から浮き上がり、矢印50に示すようにシリコン板1の振動(以下、「ばたつき」という。)が生じることがあった。その結果、切断された片側の部分は大きく振動するのに対して、切断されていない反対側の部分は小さく振動し、それらの境界である切断面に大きな負荷がかかってしまい、図8(c)に示すように切断面56にクラック55が生じることがあった。特に、反りを有するシリコン板1を切断する場合には、もともと有していた反りのために、切断面56に不規則な力がかかり、クラック55が発生しやすく、クラック55が発生したまま切断を継続すると、シリコン板1が割れたり、破断して飛散したりするという問題があった。
【0006】
切断線の両側を真空吸着した場合においても、切断面56付近においてシリコン板1がばたつき、結果的には切断線の片側を吸着保持する状態と同様の状態になってしまい、クラック55が生じるなどの問題があった。
【0007】
本発明の目的は、上記の問題点を解決するためになされたものであり、切断する際のクラックの発生や割れなどを低減した半導体基板の切断装置および切断方法を提供することを目的とする。
【0008】
【課題を解決するための手段】
上記目的を達成するため、本発明に基づく半導体基板の切断装置は、半導体基板を切断するための切断手段と、上記半導体基板を支えるための支持台と、上記半導体基板の切断線となるべき領域の両側を固定する固定手段とを備える。上記固定手段は、上記切断線に対して少なくとも片側の領域に加工物押えを含み、上記支持台と上記加工物押えとで上記半導体基板を挟むように固定する挟持手段を含む。この構成を採用することにより、クラックの発生や割れなどを低減した上記半導体基板の切断装置を提供することができる。
【0009】
上記発明において好ましくは、上記切断手段は、レーザ光線照射機能を有する。この構成を採用することにより、切断に際して溶融する幅を小さくすることができ、また切断速度も速くすることができる。
【0010】
上記発明において好ましくは、上記加工物押えは、レーザ光線を透過する部材を含む。この構成を採用することにより、上記加工物押えの構成を簡単にすることができる。
【0011】
上記発明において好ましくは、上記切断手段は、ウォータージェット噴射機能を有し、ウォータージェットをレーザ光線の導波路として用いる。この構成を採用することにより、上記ウォータージェットの水流に沿って上記レーザ光線を集光することができ、焦点ずれを防止することができる。
【0012】
上記発明において好ましくは、上記切断手段は、ウォータージェット噴射機能、または、サンドブラスト噴射機能を有する。この構成を採用することにより、切断面における変質層の発生を伴わず、上記半導体基板を切断することができる。
【0013】
上記発明において好ましくは、上記切断手段は、ダイシングブレードを含む。この構成を採用することにより、切断面の変質層の発生を伴わず、上記半導体基板を切断することができる。
【0014】
上記発明において好ましくは、上記切断手段は、プラズマ噴射機能を有する。この構成を採用することにより、上記レーザ光線による切断装置などと比較して、安価に装置を形成することができる。
【0015】
上記発明において好ましくは、上記挟持手段は、上記支持台と上記加工物押えとが、磁力によって互いに引力を生じる磁力発生手段を含む。この構成を採用することにより、円板形などの挟持しにくい形状の半導体基板を容易に挟持することができる。
【0016】
上記発明において好ましくは、上記磁力発生手段は、電磁石を有する。または、上記磁力発生手段は、励磁状態と非励磁状態との切替えが可能なマグネットベースを含む。この構成を採用することにより、容易に上記半導体基板の固定と解放とを行なうことができる。
【0017】
上記目的を達成するため、本発明に基づく半導体基板の切断方法は、半導体基板の切断線となるべき領域の両側を、半導体基板を支えるための支持台に固定する基板固定工程と、上記半導体基板を切断する切断工程とを含む。上記基板固定工程は、上記切断線となるべき領域の両側のうち、少なくとも片側を挟持する基板挟持工程を含む。この方法を採用することにより、切断する際のクラックの発生や割れなどを低減することができる。
【0018】
上記発明において好ましくは、上記基板挟持工程は、上記支持台に押し当てる向きに上記半導体基板を圧接させる工程を含む。この方法を採用することにより、上記半導体基板を容易に上記支持台に固定することができる。
【0019】
上記発明において好ましくは、上記基板挟持工程は、磁力を用いて行なう。この方法を採用することにより、円板形などの挟持しにくい形状の上記半導体基板を容易に挟持することができる。
【0020】
上記発明において好ましくは、上記磁力の発生源として、電磁石を用いる。または、上記磁力の発生源として、励磁状態と非励磁状態との切替えが可能なマグネットベースを用いる。この方法を採用することにより、容易に半導体基板の固定と解放とを行なうことができる。
【0021】
上記発明において好ましくは、上記切断工程は、レーザ光線を照射して行なう。この方法を採用することにより、切断に際して溶融させる幅を小さくすることができ、また切断速度も速くすることができる。
【0022】
上記発明において好ましくは、上記基板挟持工程は、上記レーザ光線に対して透過性を有する透過部材を、上記半導体基板に押し当てる工程を含み、上記切断工程は、上記レーザ光線が上記透過部材を通過するように行なう。この方法を採用することにより、上記半導体基板を押し当てる部材を2つ以上準備する必要はなく、1つの部材で上記半導体基板を押し当てて固定することができる。
【0023】
上記発明において好ましくは、上記切断工程は、ウォータージェットを噴き当てて行なう。または、サンドブラストを噴き付けて行なう。この方法を採用することにより、切断面の変質層の発生を伴わず、上記半導体基板の切断を行なうことができる。
【0024】
上記発明において好ましくは、上記切断工程は、上記ウォータージェットの水流の中を通過するようにレーザ光線を照射する工程を含む。この方法を採用することにより、上記ウォータージェット水流に沿って、上記レーザ光線を照射位置に導くことができる。
【0025】
上記発明において好ましくは、上記切断工程は、ダイシング加工によって行なう。この方法を採用することにより、切断面の変質層の発生を伴わず、上記半導体基板を切断することができる。
【0026】
上記発明において好ましくは、上記切断工程は、プラズマ切断によって行なう。この方法を採用することにより、比較的安価に上記半導体基板の切断を行なうことができる。
【0027】
【発明の実施の形態】
(実施の形態1)
図1および図2を参照して、本発明に基づく実施の形態1における半導体基板の切断装置および切断方法について説明する。
【0028】
(装置の構成)
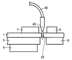
図1(a)に本発明に基づく実施の形態1における切断装置主要部の概略拡大図を示す。本実施の形態においては、切断手段としてレーザ光線を用いている。図1(a)に示すように、シリコン板1は、第1支持台5および第2支持台6に支持されている。第1支持台5および第2支持台6が互いに離間して配置されていることは、従来の技術に基づく切断装置と同様である。本実施の形態における切断装置は、第1加工物押え7および第2加工物押え8を備える。第1加工物押え7は、第1支持台5の上方に配置され、シリコン板1は第1支持第5および第1加工物押え7に挟持される。同様に、第2加工物押え8は第2支持台6の上方に配置されて、第2加工物押え8と第2支持台6とでシリコン板1を挟持する。すなわち、加工物押えと支持台とでそれぞれ挟むようにシリコン板を固定する。
【0029】
図2(a)に本実施の形態における切断装置の概略断面図を示す。レーザ発振機37から発振したレーザ光は、光ファイバ38によって切断箇所まで導かれ、集光レンズ36によって集光されて、切断の対象物であるシリコン板1に照射される。第1支持台5と第2支持台6とは連結されており(図示せず)、XYZスキャナ9によって位置が検知され、XYZスキャナ9に内蔵のモータによって切断線に対応して移動する。第1支持台5と第2支持台6との間には、ドロス吸引用排気ポンプ32に接続されたドロス吸引用配管33が配置され、切断と同時に発生するドロスを吸引する。
【0030】
本実施の形態においては、レーザ光を加工部まで導くために光ファイバ38を用いた例を示したが、ミラーなどを用いてレーザ光を加工部に導いてもよい。また、切断を行なうための半導体基板の移動は、XYZスキャナを用いる場合を図示したが、第1支持台5および第2支持台6は移動させずに、光ファイバ38自体を移動させてもよい。また、ミラーを用いたレーザ光線の照射装置においては、ミラーの角度を変更することで切断を行なうことができる。このように、レーザ光線を照射する機構に関しては、特に限定されるものではなく、レーザ光線が相対的に半導体基板上を移動できる装置であればよい。
【0031】
シリコン板1は、切断位置にレーザ光線20が照射されて溶断される。シリコン板1において切断線の両側は、支持台と加工物押さえとにそれぞれ挟持されて固定されている。本実施の形態においては、固定手段として、第1支持台5および第2支持台6は鉄製のものを使用して、第1加工物押え7および第2加工物押え8にはサマリウムコバルト磁石を使用している。支持台と加工物押えとが互いに引合うことによって、シリコン板1は磁力によって支持台に押えつけられて固定されている。固定手段としては、支持台を磁石としてもよいし、支持台および加工物押えを共に磁石としてもよい。この際、被加工物の取り外し作業を考慮して、励磁状態と非励磁状態との切り替えが可能な電磁石や永久磁石の中でもマグネットベースを用いることが好ましい。
【0032】
加工物押えが切断を行なうレーザ光の波長領域に対して透明な材質で形成された透過部材10であれば、図2(b)に示すように、加工物押えを分離して形成する必要なく、1つの部材で加工物押えを形成することができる。たとえば、Nd:YAGレーザの基本波を用いて切断する場合には透過部材10の材質として、ガラスを用いることができる。
【0033】
本実施の形態においては、図8に示した従来の技術による切断装置のように、半導体基板の下面を吸着固定する構成は有していないが、加工物押えによる固定に加えて、半導体基板の下面を真空吸着するための構成を有していてもよい。
【0034】
(装置の作用・効果、切断方法)
図1(b)および図1(c)にシリコン基板1を支持台に固定する方法を説明する図を示す。図1(b)に示すように、第1支持台5および第2支持台6の上面にシリコン板1を配置する。矢印51,52で示すように、第1加工物押え7および第2加工物押え8によって、シリコン板1の上方からシリコン板1を押えつける。第1加工物押え7および第2加工物押え8は磁石でできており、鉄製の支持台との間に磁力が働くことによって、シリコン板1は支持台と加工物押えとに挟持されるように固定される。この際にシリコン板1に反りが生じていても、強力な挟みこまれる力によって、シリコン板1は弾性変形して反りは大幅に減少される。図1(c)にシリコン板1の切断中の断面図を示す。シリコン板1の切断中においても切断線の両側は強力に固定されているため、レーザ光線によって切断を行なった場合でも、ばたつきは生じず、切断面に負荷をかけることはない。よって、シリコン基板1にクラックや割れは生じずに良好な切断を行なうことができる。
【0035】
図2(a)に示すように、レーザ光線20は、光ファイバ38の先端から発振して、集光レンズ36を通してシリコン板1に照射される。XYZスキャナ9によって、第1支持台5および第2支持台6が移動することに伴い、シリコン板1上の照射される位置が移動して切断線となり、シリコン板1を任意の形状で切断することができる。
【0036】
本発明の効果を確認するために、従来の技術によるシリコン板の切断試験と本発明に基づくシリコン板の切断試験とを行なって結果の比較を行なった。
【0037】
初めに、従来の技術に基づくシリコン板の切断試験とを行なった。装置は、図8(b)に示したシリコン板1の下面を吸着固定する装置を用いた。切断の対象となるシリコン板の大きさは、170mm×170mm×0.4mmであり、このシリコン板の反りは約2mmであった。このシリコン板から155mm×155mm×0.4mmの大きさのものを切り出したときの歩留まりを求めた。レーザ光線を照射する条件としては、レーザにはNd:YAGレーザを用い、このレーザの基本波である1.064μmの波長の光を用いた。その他、レーザ出力200W、パルス周波数500Hz、パルス幅3ミリ秒、ビーム径200μm、切断速度1000mm/分、アシストガスとしてエアを吹き付けて切断を行なった。
【0038】
シリコン板を100枚を切断した結果、ほとんどの場合、切断中にシリコン板にばたつきが生じた。100枚のうち35枚が良好に切断できたものの、残りの65枚については、クラックや割れが発生した。すなわち、歩留まりは35%であった。
【0039】
次に、本発明に基づく実施の形態1における切断装置を用いて、シリコン板を切断する試験を行なった。試験に用いた切断装置は図2(a)に示した切断装置であり、2つの加工物支持台5,6は、それぞれ鉄を材料として形成されている。2つの加工物押え7,8は、サマリウムコバルト磁石からなり、大きさは10mm×10mm×140mmである。切断の対象となるものは、従来の技術に基づく切断試験と同様に、大きさが170mm×170mm×0.4mm、反りが約2mmのシリコン板を選定し、このシリコン板から155mm×155mm×0.4mmの大きさのものを切り出した。2つの加工物押え7,8を、加工物押えの長軸方向が加工線と平行になるように切断線から5mm程度離れた位置に配置した。レーザ光線を照射する条件も従来の技術に基づく切断試験と同様に、レーザにはNd:YAGレーザを用い、レーザの基本波である1.064μmの波長の光を用いた。その他の条件としては、レーザ出力200W、パルス周波数500Hz、パルス幅3ミリ秒、ビーム径200μm、切断速度1000mm/分、アシストガスとしてエアを吹き付ける条件で切断を行なった。
【0040】
この試験においては、切断を安定して行なうことができ、切断中にシリコン板がばたつく現象は見られず、切断終了までシリコン板は完全に支持台に固定されたままであった。シリコン板を500枚切断した結果、18枚にクラックや割れが発生していたものの、残り482枚は所望の形状に加工されており、歩留まりは96.4%であった。
【0041】
このように、切断線となるべき領域の両側を固定し、さらに半導体基板の厚さ方向から挟みこむように固定することによって、反りを有する基板に対しても歩留まりよく切断を行なうことができる。特に、基板の脆性が大きくなるほど、本発明の効果は大きくなり、切断時のクラックや割れを大幅に低減することができる。レーザによる切断装置は、他の切断方法と比較して、切断部の幅を小さくすることができ、さらに、加工速度も比較的速くすることができる。
【0042】
また、加工物押えが当該レーザ光を透過する部材から形成され、加工物押えが分離されておらず全体として1つである図2(b)に示す切断装置についても同様の試験を行ない、ほぼ同等の結果が確認された。このような加工物押えの構成や方法を採用することにより、装置の構成が簡略化できて、安価に装置を製造することができる。
【0043】
(実施の形態2)
本実施の形態における切断装置および切断方法は多くにおいて実施の形態1と同様である。実施の形態1と異なる点は、半導体基板を固定する固定手段にある。実施の形態1においては、第1加工物押えおよび第2加工物押えともに、磁力を用いてシリコン板を固定した。本実施の形態においては、シリコン板の固定手段として、磁力によるものの他、真空吸着での固定、機械的な固定手段での固定、およびこれらの組み合わせについての切断試験を行なった。試験方法は、実施の形態1における切断試験と同様にレーザ光による切断を行ない、同様のシリコン板、レーザ照射条件で切断を行なった。磁力による固定手段としては、サマリウムコバルト磁石と鉄との組合せを用いた。真空吸着による固定手段としては、従来の技術による固定手段と同様に第1支持台に吸着用真空配管が形成されたものを使用して、吸着固定を行なった。機械的な固定手段としては、半導体基板の上方からばねを用いて押えつけて固定した。切断におけるシリコン板の歩留まりを求めて、それぞれの固定手段の良否の比較を行なった。固定手段の組合せとそれぞれの組合せに対する歩留まりを表1に示す。
【0044】
【表1】

Figure 2004186635
【0045】
切断試験の結果、全ての組合せに対して90%以上の歩留まりが確保でき、良好な切断を行うことができた。特に試験番号4および5の結果に着目すると、切断線の両側のうち片側は第1支持台の下側からの真空吸着のみの固定として、シリコン板を挟みこむように固定しなくても、反対側で第2支持台と第2加工物押えとによってシリコン板を挟むように固定していれば、良好な切断を行なうことができる。この他の試験についても固定手段によって歩留まりは大差なく、いずれの方法においても良好な切断を行うことができる。
【0046】
本実施の形態においては、挟持手段として、磁力による固定、機械的な固定方法を例示したが、とくにこれらの挟持手段に限られず、半導体基板を挟みこむように固定できればよい。たとえば、機械的な固定方法としてばねで押え付ける方法を例示したが、その他にも、ねじで押えつけて固定する方法などがあり、その挟持手段の種類が限定されるものではない。
【0047】
ばねなどによる機械的な固定手段は構造が容易で、安価に形成することができる。一方で磁力による固定手段は、容易に固定、解放を行なうことができる。また、磁力による固定手段は、切断を行なう形状の自由度が大きい利点を有する。たとえば、円形の半導体基板を切り出すとき、機械的に固定する方法であれば、固定部材(支え棒など)が切断線となるべきところを少なくとも1箇所は横切る必要があり、連続して切断を行なうことが困難であるか、または、切断装置の構造が複雑になる。一方で磁力による固定手段は、円柱形の加工物押えを採用すれば容易に固定を行なうことができる。
【0048】
(実施の形態3)
図3を参照して、本発明に基づく実施の形態3における半導体基板の切断装置および切断方法について説明する。本実施の形態における半導体基板の切断装置は、第1支持台5、第2支持台6、第1加工物押え7および第2加工物押え8を備えており、これらの支持台と加工物押えとで、半導体基板としてのシリコン板1を固定することや、XYZスキャナ9を備えて切断方向に対応する方向に支持台が移動することは実施の形態1と同様である。
【0049】
本実施の形態における半導体切断装置は、切断手段として、ウォータージェット噴射装置を備える。ウォータージェット噴射装置は、噴射水を加圧するための加圧ポンプ40および加圧水用ホース39を含む。砥粒が混入された水が、加圧ポンプ40で加圧されて、ノズル45からシリコン板1に向けて噴射されることによってシリコン板1を切断する。第1支持台5と第2支持台6との間には、排水用ポンプ34に接続された排水用配管35が配置され、切断に使用された水は排水用配管35内に溜まることなく排水される。
【0050】
実施の形態1と同様に、切断試験を行なった。切断に用いた砥粒は#120のガーネット、ノズルの径は0.3mm、圧力は294MPa、切断速度1000mm/分でシリコン板1の切断を行なった。切断時の状況および結果は良好であり、歩留まりは92.3%であった。
【0051】
この切断装置と切断方法を採用することにより、レーザ光線による切断方法、プラズマによる切断方法のように切断部の変質層が生じることがなく、基板の機械的強度を損なわずに切断することができる。
【0052】
(実施の形態4)
図4を参照して、本発明に基づく実施の形態4における半導体基板の切断装置および切断方法について説明する。本実施の形態における半導体基板の切断装置は、第1支持台5、第2支持台6、第1加工物押え7および第2加工物押え8を備えており、これらの支持台と加工物押えとで、半導体基板としてのシリコン板1を固定することや、XYZスキャナ9を備えて切断方向に対応する方向に支持台が移動することは実施の形態1と同様である。
【0053】
本実施の形態における半導体切断装置は、切断手段としてサンドブラスト装置を備える。サンドブラスト装置は、圧力をかけるためのサンドコンプレッサ41およびサンドブラスト導入ホース42を含む。ノズル46からサンドブラスト流23がシリコン板1に向けて噴射されることによって、切断を行なう。
【0054】
実施の形態1と同様に、切断試験を行なった。切断に用いた砥粒は#80のガーネット、ノズルの径0.4mm、切断速度は600mm/分でシリコン板1の切断を行った。切断時の状況および結果は良好であり、歩留まりは93.4%であった。
【0055】
この切断装置と切断方法を採用することにより、レーザ光線による切断方法、プラズマによる切断方法のように切断部の変質層が生じることがなく、基板の機械的強度を損なわずに切断することができる。
【0056】
(実施の形態5)
図5を参照して、本発明に基づく実施の形態5における半導体基板の切断装置および切断方法について説明する。本実施の形態における半導体基板の切断装置は、第1支持台5、第2支持台6、第1加工物押え7および第2加工物押え8を備えており、これらの支持台と加工物押えとで、半導体基板としてのシリコン板1を固定することや、XYZスキャナ9を備えて切断方向に対応する方向に支持台が移動することは実施の形態1と同様である。
【0057】
本実施の形態における半導体切断装置は切断手段として、ウォータージェット21の水流内にレーザ光線20を通す装置を示す。水を加圧するための加圧ポンプ40および加圧水用ホース39を含み、ノズル47からウォータージェット21が噴射される。一方でレーザ発振機37によってレーザ光線20を発振し、ウォータージェット21とレーザ光線20とが重なるように配置して、ウォータージェット21を導波路としてレーザ光を照射位置まで導いてシリコン板1を切断する。第1支持台5と第2支持台6との間には、排水用ポンプ34に接続された排水用配管35が配置され、切断に使用された水は排水用配管35内に溜まることなく排水される。
【0058】
実施の形態1と同様に、切断試験を行なった。切断試験においては、ウォータージェット21を噴出するノズルの径は0.1mm、圧力は200MPa、レーザ光線にはNd:YAGレーザの基本波である1.064μmの波長の光を用い、レーザ出力300W、パルス周波数1000Hz、パルス幅3ミリ秒、ビーム径100μm、切断速度2000mm/分で切断を行なった。この切断手段の場合も切断時の状況および結果は良好で、歩留まりは91.3%であった。
【0059】
この切断装置と切断方法とを採用することにより、切断部の幅を小さくすることができ、さらに、加工速度も速くすることができる。また、レーザ光はウォータージェットに沿って進むため、ウォータージェットを導波路とすることによって、レーザ光の焦点のずれを防止できる。また、切断面が水に接触していることから、端面の酸化を防止することができる。
【0060】
(実施の形態6)
図6を参照して、本発明に基づく実施の形態6における半導体基板の切断装置および切断方法について説明する。本実施の形態における半導体基板の切断装置は、第1支持台5、第2支持台6、第1加工物押え7および第2加工物押え8を備えており、これらの支持台と加工物押えで、半導体基板としてのシリコン板1を固定することや、XYZスキャナ9を備えて切断方向に対応する方向に支持台が移動することは実施の形態1と同様である。
【0061】
本実施の形態における切断手段としては、プラズマジェットによって半導体基板を溶断する。ガス供給管48の先端に配置されたプラズマトーチ43からプラズマジェット22を噴射して、シリコン板1を溶断する。レーザ切断装置と同様に、第1支持台5と第2支持台6との間の切断線となるべき空間には、ドロス吸引用配管が配置されており、切断に伴って発生するドロスをドロス吸引用ポンプによって吸引する(図示せず)。
【0062】
実施の形態1と同様に、切断試験を行なった。切断試験は、電流250A、切断速度3500mm/分、酸素流量40リットル/分、空気流量30リットル/分の条件で行なった。この切断手段の場合も切断時の切断状況および結果は良好で、歩留まりは90.2%であった。
【0063】
この切断装置と切断方法は、同じ溶融による切断であるレーザ光線による切断などと比較して、構成が容易であり、安価に切断手段を形成することができる。
【0064】
(実施の形態7)
図7を参照して、本発明に基づく実施の形態7における半導体基板の切断装置および切断方法について説明する。本実施の形態における半導体基板の切断装置は、第1支持台5、第2支持台6、第1加工物押え7および第2加工物押え8を備えており、これらの支持台と加工物押えで、半導体基板としてのシリコン板1を固定することや、XYZスキャナ9を備えて切断方向に対応する方向に支持台が移動することは実施の形態1と同様である。
【0065】
本実施の形態における切断手段としては、ダイシング装置を用いて、機械的に切断する。円板形のダイシングブレード44を高速回転させて、シリコン板1を切断する。切断箇所の近傍にはダイシングブレード44を冷却するための冷却水を噴射する冷却水噴射管49が配置されている。切断試験には#400のダイシングブレードを用い、回転数3000rpm、切断速度2000mm/分で行なった。この切断手段の場合も切断時の切断状況および結果は良好で、歩留まりは95.1%であった。
【0066】
この切断装置と切断方法を採用することにより、レーザ光線による切断方法、プラズマによる切断方法のように切断部の変質層が生じることがなく、基板の機械的強度を損なわずに切断することができる。
【0067】
上記の全ての実施の形態においては、切断される半導体基板は平面状に伸ばしたものを示したが、特に平面状である必要はなく、たとえば被加工物の反りによる曲面状の半導体基板の場合も同様の効果を有する。その他、表面が平面に限られず、凹凸を有していたり、曲面になっていてもよい。本発明は、基板が薄板であって脆性が大きい場合に効果が大きいが、半導体基板の形状や材質が限定されるわけではない。
【0068】
また、説明においては、主にシリコン板を用いて説明を行なったが、特にシリコン板に限定されるわけではなく、基板全般にわたって適用が可能である。シリコン板としては、太陽電池用の板状シリコンの切断などに採用することができる。
【0069】
上記の半導体切断装置の支持台は、切断線を含むように2つに分かれたものであるが、レーザ切断時のドロス吸引のために必要なドロス吸引用配管の配置など、特に必要な場合を除いて一体型の支持台であってもよい。または、切断する手段を問わずに本願発明は適用可能である。たとえば、上記のレーザ切断、ウォータージェットによる切断方法などのほか、ガス切断などにも適用することができる。切断加工される被加工物の切断線の両側を固定することが可能な機構を有し、かつ、少なくとも一方を板厚方向に挟み込むようにして固定することが可能な機構を持つことが本発明の本質であり、その他の変更は本質的なものではない。
【0070】
なお、今回開示した上記実施の形態はすべての点で例示であって制限的なものではない。本発明の範囲は上記した説明ではなくて特許請求の範囲によって示され、特許請求の範囲と均等の意味および範囲内でのすべての変更を含むものである。
【0071】
【発明の効果】
本発明によれば、切断する半導体基板の切断線の両側を固定し、さらに少なくとも一方を半導体基板を挟むように固定することによって、切断時に生じる半導体基板のばたつきなどを低減することができる。よって、クラックの発生や割れなどを低減して半導体基板を切断することができる切断装置および切断方法を提供することができる。特に、反りを有する半導体基板を歩留まりよく切断することが可能になり、製品の低コスト化、資源の有効活用に寄与することができる。
【図面の簡単な説明】
【図1】(a)〜(c)は、本発明に基づく実施の形態1における半導体基板の切断装置および切断方法を説明する図である。
【図2】(a)および(b)は、本発明に基づく実施の形態1における半導体基板の切断装置の概略断面図である。
【図3】本発明に基づく実施の形態3における半導体基板の切断装置の概略断面図である。
【図4】本発明に基づく実施の形態4における半導体基板の切断装置の概略断面図である。
【図5】本発明に基づく実施の形態5における半導体基板の切断装置の概略断面図である。
【図6】本発明に基づく実施の形態6における半導体基板の切断装置の概略断面図である。
【図7】本発明に基づく実施の形態7における半導体基板の切断装置の概略断面図である。
【図8】従来の技術に基づく半導体基板の切断装置および切断方法を説明する図であり、(a)は切断時の斜視図、(b)は切断装置の概略断面図、(c)は切断中の半導体基板の不具合を説明する図である。
【符号の説明】
1 シリコン板、5 第1支持台、6 第2支持台、7 第1加工物押え、8第2加工物押え、9 XYZスキャナ、10 透過部材、20 レーザ光線、21 ウォータージェット、22 プラズマジェット、23 サンドブラスト流、30 吸着用真空ポンプ、31 吸着用真空配管、32 ドロス吸引用排気ポンプ、33 ドロス吸引用配管、34 排水ポンプ、35 排水用配管、36 集光レンズ、37 レーザ発振機、38 光ファイバ、39 加圧水用ホース、40 加圧ポンプ、41 サンドコンプレッサ、42 サンドブラスト導入ホース、43 プラズマトーチ、44 ダイシングブレード、45,46,47 ノズル、48 ガス供給管、49 冷却水噴射管、50,51,52 矢印、55
クラック、56 切断面。[0001]
BACKGROUND OF THE INVENTION
The present invention relates to a semiconductor substrate cutting apparatus and a cutting method.
[0002]
[Prior art]
Conventionally, when cutting a semiconductor substrate, the back surface is fixed to a processing stage by vacuum suction and then the cutting is performed. In particular, when the workpiece has a warp, the semiconductor substrate is elastically deformed by the suction force of vacuum suction, and the semiconductor substrate is flattened within the range of the suction force.
[0003]
FIG. 8 is an explanatory view of a conventional semiconductor substrate cutting apparatus. The semiconductor substrate includes a substrate as a material for manufacturing a semiconductor, such as a polysilicon substrate, and a substrate in the middle of manufacturing in which transistors and the like are formed on the surface of the substrate. FIG. 8 is a diagram for explaining an apparatus and method for cutting a silicon plate of a semiconductor substrate with a laser beam. FIG. 8A is a perspective view showing how the silicon plate is cut. The support base that supports thesilicon plate 1 is composed of afirst support base 5 and asecond support base 6, which are arranged apart from each other. This spaced-apart space is formed along the shape of a straight line or a curve to be a cutting line of thesilicon plate 1. Thelaser beam 20 is irradiated so as to pass through this space, and thesilicon plate 1 is cut. FIG. 8B shows a schematic cross-sectional view of a semiconductor substrate cutting apparatus. A plurality ofvacuum suction pipes 31 are arranged on thefirst support base 5 so as to penetrate thefirst support base 5, and vacuum suction is performed by thesuction vacuum pump 30 to hold thesilicon plate 1 by suction. Is done. Adross suction pipe 33 is disposed between thefirst support base 5 and thesecond support base 6. Dross generated along with the laser beam cutting is sucked through thedross suction pipe 33 by the drosssuction exhaust pump 32. Thesilicon plate 1 is held only by suction on thefirst support 5.
[0004]
In addition, although the prior art about this invention was demonstrated based on the general technical information which the applicant acquired, the information which should be disclosed as prior art document information before filing in the range which an applicant memorize | stores The applicant does not have
[0005]
[Problems to be solved by the invention]
As shown in FIGS. 8A and 8B, when the semiconductor substrate is cut, thesilicon plate 1 is lifted from the support base on one or both sides of the cut cutting line, as indicated by anarrow 50. In some cases, vibration of the silicon plate 1 (hereinafter referred to as “flapping”) occurred. As a result, the cut portion on one side vibrates greatly, while the uncut portion on the opposite side vibrates slightly, and a large load is applied to the cut surface as a boundary between them, as shown in FIG. ), Acrack 55 may occur in thecut surface 56 as shown in FIG. In particular, when thesilicon plate 1 having warpage is cut, an irregular force is applied to thecut surface 56 due to the warp originally provided, and thecrack 55 is likely to be generated. If the process is continued, there is a problem that thesilicon plate 1 is broken or broken and scattered.
[0006]
Even when both sides of the cutting line are vacuum-sucked, thesilicon plate 1 flutters in the vicinity of thecutting surface 56, resulting in a state similar to the state of sucking and holding one side of the cutting line, resulting in acrack 55. There was a problem.
[0007]
An object of the present invention is to solve the above-described problems, and an object of the present invention is to provide a semiconductor substrate cutting device and a cutting method in which generation of cracks and cracks during cutting are reduced. .
[0008]
[Means for Solving the Problems]
In order to achieve the above object, a semiconductor substrate cutting apparatus according to the present invention includes a cutting means for cutting a semiconductor substrate, a support for supporting the semiconductor substrate, and a region to be a cutting line for the semiconductor substrate. And fixing means for fixing the both sides. The fixing means includes a work clamp in at least one region with respect to the cutting line, and includes a clamping means for fixing the semiconductor substrate so as to sandwich the semiconductor substrate between the support base and the work clamp. By adopting this configuration, it is possible to provide the semiconductor substrate cutting device in which the occurrence of cracks and cracks are reduced.
[0009]
Preferably, in the above invention, the cutting means has a laser beam irradiation function. By adopting this configuration, it is possible to reduce the width of melting at the time of cutting, and to increase the cutting speed.
[0010]
In the above invention, preferably, the workpiece presser includes a member that transmits a laser beam. By adopting this configuration, the configuration of the workpiece presser can be simplified.
[0011]
Preferably, in the above invention, the cutting means has a water jet injection function and uses the water jet as a laser beam waveguide. By adopting this configuration, the laser beam can be condensed along the water flow of the water jet, and defocusing can be prevented.
[0012]
Preferably, in the above invention, the cutting means has a water jet injection function or a sandblast injection function. By adopting this configuration, it is possible to cut the semiconductor substrate without generating a deteriorated layer on the cut surface.
[0013]
Preferably in the above invention, the cutting means includes a dicing blade. By adopting this configuration, the semiconductor substrate can be cut without generating an altered layer on the cut surface.
[0014]
Preferably in the above invention, the cutting means has a plasma injection function. By adopting this configuration, the apparatus can be formed at a lower cost than the above-described cutting apparatus using a laser beam.
[0015]
Preferably, in the above invention, the clamping means includes a magnetic force generating means in which the support base and the workpiece presser generate an attractive force with each other by a magnetic force. By adopting this configuration, it is possible to easily hold a semiconductor substrate having a disk shape or the like that is difficult to hold.
[0016]
Preferably, in the above invention, the magnetic force generating means has an electromagnet. Alternatively, the magnetic force generating means includes a magnet base capable of switching between an excited state and a non-excited state. By adopting this configuration, the semiconductor substrate can be easily fixed and released.
[0017]
In order to achieve the above object, a semiconductor substrate cutting method according to the present invention includes a substrate fixing step for fixing both sides of a region to be a cutting line of a semiconductor substrate to a support for supporting the semiconductor substrate, and the semiconductor substrate. Cutting step. The substrate fixing step includes a substrate clamping step of clamping at least one side of both sides of the region to be the cutting line. By adopting this method, it is possible to reduce the occurrence of cracks and cracks during cutting.
[0018]
Preferably, in the above invention, the substrate clamping step includes a step of pressing the semiconductor substrate in a direction in which the substrate is pressed against the support base. By adopting this method, the semiconductor substrate can be easily fixed to the support base.
[0019]
Preferably, in the above invention, the substrate clamping step is performed using magnetic force. By adopting this method, it is possible to easily clamp the semiconductor substrate having a disk shape or the like that is difficult to clamp.
[0020]
In the above invention, an electromagnet is preferably used as the magnetic force generation source. Alternatively, a magnet base capable of switching between an excited state and a non-excited state is used as the magnetic force generation source. By adopting this method, the semiconductor substrate can be easily fixed and released.
[0021]
Preferably, in the above invention, the cutting step is performed by irradiating a laser beam. By adopting this method, the width to be melted at the time of cutting can be reduced, and the cutting speed can be increased.
[0022]
Preferably, in the above invention, the substrate clamping step includes a step of pressing a transmission member having transparency to the laser beam against the semiconductor substrate, and the cutting step includes the laser beam passing through the transmission member. Do as you do. By adopting this method, it is not necessary to prepare two or more members for pressing the semiconductor substrate, and the semiconductor substrate can be pressed and fixed with one member.
[0023]
Preferably in the above invention, the cutting step is performed by spraying a water jet. Alternatively, sandblasting is performed. By adopting this method, the semiconductor substrate can be cut without generating an altered layer on the cut surface.
[0024]
Preferably, in the above invention, the cutting step includes a step of irradiating a laser beam so as to pass through the water flow of the water jet. By adopting this method, the laser beam can be guided to the irradiation position along the water jet water flow.
[0025]
Preferably, in the above invention, the cutting step is performed by dicing. By adopting this method, it is possible to cut the semiconductor substrate without generating an altered layer on the cut surface.
[0026]
Preferably, in the above invention, the cutting step is performed by plasma cutting. By adopting this method, the semiconductor substrate can be cut relatively inexpensively.
[0027]
DETAILED DESCRIPTION OF THE INVENTION
(Embodiment 1)
With reference to FIG. 1 and FIG. 2, the semiconductor substrate cutting device and cutting method according to the first embodiment of the present invention will be described.
[0028]
(Device configuration)
FIG. 1 (a) shows a schematic enlarged view of the main part of the cutting device according to the first embodiment of the present invention. In the present embodiment, a laser beam is used as the cutting means. As shown in FIG. 1A, thesilicon plate 1 is supported by thefirst support base 5 and thesecond support base 6. The fact that thefirst support base 5 and thesecond support base 6 are arranged apart from each other is the same as the cutting device based on the conventional technique. The cutting device in the present embodiment includes afirst workpiece presser 7 and asecond workpiece presser 8. Thefirst workpiece presser 7 is disposed above thefirst support 5, and thesilicon plate 1 is sandwiched between the first support fifth and thefirst workpiece presser 7. Similarly, thesecond workpiece presser 8 is disposed above thesecond support base 6, and thesilicon plate 1 is sandwiched between thesecond workpiece presser 8 and thesecond support base 6. That is, the silicon plate is fixed so as to be sandwiched between the workpiece presser and the support base.
[0029]
FIG. 2A shows a schematic cross-sectional view of the cutting device according to the present embodiment. The laser light oscillated from thelaser oscillator 37 is guided to the cutting position by theoptical fiber 38, is condensed by the condensinglens 36, and is irradiated onto thesilicon plate 1 which is an object to be cut. Thefirst support base 5 and thesecond support base 6 are connected (not shown), and their positions are detected by theXYZ scanner 9 and moved corresponding to the cutting line by a motor built in theXYZ scanner 9. Adross suction pipe 33 connected to the drosssuction exhaust pump 32 is disposed between thefirst support base 5 and thesecond support base 6, and sucks dross generated simultaneously with the cutting.
[0030]
In the present embodiment, an example in which theoptical fiber 38 is used to guide the laser beam to the processing unit has been described. However, the laser beam may be guided to the processing unit using a mirror or the like. In addition, although the movement of the semiconductor substrate for cutting is illustrated using an XYZ scanner, theoptical fiber 38 itself may be moved without moving thefirst support base 5 and thesecond support base 6. . Moreover, in the laser beam irradiation apparatus using a mirror, it can cut | disconnect by changing the angle of a mirror. As described above, the mechanism for irradiating the laser beam is not particularly limited as long as the apparatus can relatively move the laser beam on the semiconductor substrate.
[0031]
Thesilicon plate 1 is melted by being irradiated with alaser beam 20 at a cutting position. In thesilicon plate 1, both sides of the cutting line are sandwiched and fixed by a support base and a workpiece presser, respectively. In the present embodiment, as the fixing means, thefirst support base 5 and thesecond support base 6 are made of iron, and thefirst workpiece presser 7 and thesecond workpiece presser 8 are made of samarium cobalt magnets. I use it. When the support base and the work clamp are attracted to each other, thesilicon plate 1 is pressed and fixed to the support base by a magnetic force. As the fixing means, the support base may be a magnet, and both the support base and the workpiece presser may be magnets. At this time, it is preferable to use a magnet base among electromagnets and permanent magnets capable of switching between an excited state and a non-excited state in consideration of the work for removing the workpiece.
[0032]
If the work clamp is made of atransparent member 10 made of a material transparent to the wavelength region of the laser beam to be cut, there is no need to separately form the work clamp as shown in FIG. A workpiece presser can be formed with a single member. For example, glass can be used as the material of thetransmissive member 10 when cutting using a fundamental wave of an Nd: YAG laser.
[0033]
In the present embodiment, unlike the conventional cutting apparatus shown in FIG. 8, there is no configuration for adsorbing and fixing the lower surface of the semiconductor substrate. However, in addition to fixing by the workpiece holder, You may have the structure for carrying out the vacuum suction of the lower surface.
[0034]
(Operation / effect of the device, cutting method)
FIGS. 1B and 1C illustrate a method for fixing thesilicon substrate 1 to the support base. As shown in FIG. 1B, thesilicon plate 1 is arranged on the upper surfaces of thefirst support base 5 and thesecond support base 6. As indicated byarrows 51 and 52, thesilicon plate 1 is pressed from above thesilicon plate 1 by thefirst workpiece presser 7 and thesecond workpiece presser 8. Thefirst workpiece presser 7 and thesecond workpiece presser 8 are made of magnets, and magnetic force acts between the iron support and thesilicon plate 1 so that thesilicon plate 1 is sandwiched between the support and the workpiece presser. Fixed to. Even if thesilicon plate 1 is warped at this time, thesilicon plate 1 is elastically deformed by the force of the strong sandwiching, and the warpage is greatly reduced. FIG. 1C shows a sectional view of thesilicon plate 1 during cutting. Even when thesilicon plate 1 is being cut, both sides of the cutting line are firmly fixed, so even if the cutting is performed with a laser beam, no flapping occurs and no load is applied to the cut surface. Therefore, thesilicon substrate 1 can be satisfactorily cut without being cracked or broken.
[0035]
As shown in FIG. 2A, thelaser beam 20 oscillates from the tip of theoptical fiber 38 and is irradiated to thesilicon plate 1 through thecondenser lens 36. As thefirst support base 5 and thesecond support base 6 move by theXYZ scanner 9, the irradiated position on thesilicon plate 1 moves to become a cutting line, and thesilicon plate 1 is cut into an arbitrary shape. be able to.
[0036]
In order to confirm the effect of the present invention, a silicon plate cutting test according to the prior art and a silicon plate cutting test according to the present invention were performed and the results were compared.
[0037]
First, a silicon plate cutting test based on a conventional technique was performed. As the apparatus, an apparatus for adsorbing and fixing the lower surface of thesilicon plate 1 shown in FIG. 8B was used. The size of the silicon plate to be cut was 170 mm × 170 mm × 0.4 mm, and the warpage of this silicon plate was about 2 mm. The yield when a 155 mm × 155 mm × 0.4 mm size piece was cut out from this silicon plate was determined. As a condition for irradiating the laser beam, an Nd: YAG laser was used as the laser, and light having a wavelength of 1.064 μm, which is a fundamental wave of this laser, was used. In addition, cutting was performed by blowing air as an assist gas with a laser output of 200 W, a pulse frequency of 500 Hz, a pulse width of 3 milliseconds, a beam diameter of 200 μm, a cutting speed of 1000 mm / min.
[0038]
As a result of cutting 100 silicon plates, in most cases, the silicon plate fluttered during cutting. Although 35 out of 100 sheets could be cut well, cracks and cracks occurred on the remaining 65 sheets. That is, the yield was 35%.
[0039]
Next, the test which cut | disconnects a silicon plate was done using the cutting device inEmbodiment 1 based on this invention. The cutting device used in the test is the cutting device shown in FIG. 2A, and the twoworkpiece support bases 5 and 6 are each made of iron as a material. The twoworkpiece holders 7 and 8 are made of samarium cobalt magnets and have a size of 10 mm × 10 mm × 140 mm. As a cutting target, a silicon plate having a size of 170 mm × 170 mm × 0.4 mm and a warpage of about 2 mm is selected similarly to the cutting test based on the conventional technique, and 155 mm × 155 mm × 0 is selected from this silicon plate. A 4 mm size piece was cut out. The twoworkpiece pressers 7 and 8 were arranged at a position about 5 mm away from the cutting line so that the long axis direction of the workpiece presser was parallel to the processing line. Similarly to the cutting test based on the conventional technique, the laser beam was irradiated using an Nd: YAG laser and light having a wavelength of 1.064 μm, which is the fundamental wave of the laser. Other conditions were as follows: laser output 200 W, pulse frequency 500 Hz, pulse width 3 milliseconds, beam diameter 200 μm, cutting speed 1000 mm / min, and air blown as assist gas.
[0040]
In this test, the cutting could be performed stably, and the phenomenon that the silicon plate fluttered during the cutting was not observed, and the silicon plate was completely fixed to the support table until the end of the cutting. As a result of cutting the 500 silicon plates, cracks and cracks were generated in 18 sheets, but the remaining 482 sheets were processed into a desired shape, and the yield was 96.4%.
[0041]
In this way, by fixing both sides of the region to be the cutting line and further fixing the semiconductor substrate so as to be sandwiched from the thickness direction of the semiconductor substrate, the substrate having warpage can be cut with a high yield. In particular, the greater the brittleness of the substrate, the greater the effect of the present invention, and the number of cracks and breaks during cutting can be greatly reduced. The laser cutting device can reduce the width of the cutting portion and can also make the processing speed relatively faster than other cutting methods.
[0042]
Further, a similar test was performed on the cutting apparatus shown in FIG. 2B, in which the workpiece presser is formed of a member that transmits the laser beam, and the workpiece presser is not separated, and is one as a whole. Equivalent results were confirmed. By adopting such a structure and method for pressing the workpiece, the structure of the apparatus can be simplified and the apparatus can be manufactured at low cost.
[0043]
(Embodiment 2)
The cutting apparatus and cutting method in the present embodiment are mostly the same as those in the first embodiment. The difference from the first embodiment is the fixing means for fixing the semiconductor substrate. In the first embodiment, the silicon plate is fixed using a magnetic force for both the first workpiece presser and the second workpiece presser. In the present embodiment, as a means for fixing the silicon plate, a cutting test was performed on not only by magnetic force but also fixing by vacuum adsorption, fixing by mechanical fixing means, and combinations thereof. In the test method, cutting was performed with laser light in the same manner as the cutting test inEmbodiment 1, and cutting was performed under the same silicon plate and laser irradiation conditions. As a fixing means by magnetic force, a combination of samarium cobalt magnet and iron was used. As the fixing means by vacuum suction, suction fixing was performed using a suction vacuum pipe formed on the first support base in the same manner as the fixing means according to the prior art. As a mechanical fixing means, it was fixed by pressing from above the semiconductor substrate using a spring. The yield of the silicon plate in cutting was obtained, and the quality of each fixing means was compared. Table 1 shows the combination of the fixing means and the yield for each combination.
[0044]
[Table 1]
Figure 2004186635
[0045]
As a result of the cutting test, it was possible to secure a yield of 90% or more for all the combinations, and to perform good cutting. Paying particular attention to the results oftest numbers 4 and 5, one side of both sides of the cutting line is fixed only by vacuum suction from the lower side of the first support base, even if it is not fixed so as to sandwich the silicon plate, the opposite side If the silicon plate is fixed by the second support base and the second workpiece presser, good cutting can be performed. For other tests, the yield does not vary greatly depending on the fixing means, and good cutting can be performed by either method.
[0046]
In the present embodiment, examples of the clamping means include fixing by magnetic force and mechanical fixing methods. However, the clamping means is not limited to these clamping means, and it is sufficient that the semiconductor substrate can be fixed so as to be sandwiched. For example, the method of pressing with a spring is illustrated as a mechanical fixing method, but there are other methods such as a method of pressing and fixing with a screw, and the type of the clamping means is not limited.
[0047]
The mechanical fixing means such as a spring has a simple structure and can be formed at low cost. On the other hand, the fixing means by magnetic force can be easily fixed and released. Moreover, the fixing means by magnetic force has an advantage that the degree of freedom of the shape to be cut is large. For example, when a circular semiconductor substrate is cut out, if it is a method of mechanically fixing, it is necessary to cross at least one place where a fixing member (supporting bar or the like) should become a cutting line, and continuous cutting is performed. Is difficult, or the structure of the cutting device is complicated. On the other hand, the fixing means using magnetic force can be easily fixed by adopting a cylindrical workpiece presser.
[0048]
(Embodiment 3)
With reference to FIG. 3, a semiconductor substrate cutting apparatus and method according to the third embodiment of the present invention will be described. The semiconductor substrate cutting apparatus according to the present embodiment includes afirst support base 5, asecond support base 6, afirst workpiece presser 7, and asecond workpiece presser 8. These support base and workpiece presser are provided. As in the first embodiment, thesilicon plate 1 as a semiconductor substrate is fixed and the support base moves in the direction corresponding to the cutting direction with theXYZ scanner 9.
[0049]
The semiconductor cutting device in the present embodiment includes a water jet spray device as a cutting means. The water jet injection device includes a pressurizingpump 40 and apressurized water hose 39 for pressurizing the jet water. The water mixed with the abrasive grains is pressurized by thepressure pump 40 and sprayed from thenozzle 45 toward thesilicon plate 1 to cut thesilicon plate 1. Adrainage pipe 35 connected to thedrainage pump 34 is arranged between thefirst support base 5 and thesecond support base 6, and the water used for cutting is drained without collecting in thedrainage pipe 35. Is done.
[0050]
A cutting test was performed in the same manner as in the first embodiment. The abrasive grains used for the cutting were # 120 garnet, the nozzle diameter was 0.3 mm, the pressure was 294 MPa, and thesilicon plate 1 was cut at a cutting speed of 1000 mm / min. The situation and results at the time of cutting were good, and the yield was 92.3%.
[0051]
By adopting this cutting apparatus and cutting method, the altered layer of the cutting portion does not occur unlike the cutting method using laser beam and the cutting method using plasma, and the substrate can be cut without impairing the mechanical strength of the substrate. .
[0052]
(Embodiment 4)
With reference to FIG. 4, a semiconductor substrate cutting apparatus and method according to the fourth embodiment of the present invention will be described. The semiconductor substrate cutting apparatus according to the present embodiment includes afirst support base 5, asecond support base 6, afirst workpiece presser 7, and asecond workpiece presser 8. These support base and workpiece presser are provided. As in the first embodiment, thesilicon plate 1 as a semiconductor substrate is fixed and the support base moves in the direction corresponding to the cutting direction with theXYZ scanner 9.
[0053]
The semiconductor cutting device in the present embodiment includes a sand blast device as cutting means. The sandblasting apparatus includes asand compressor 41 and asandblast introduction hose 42 for applying pressure. Cutting is performed by spraying thesandblast flow 23 from thenozzle 46 toward thesilicon plate 1.
[0054]
A cutting test was performed in the same manner as in the first embodiment. The abrasive used for the cutting was # 80 garnet, the nozzle diameter was 0.4 mm, and the cutting speed was 600 mm / min. The situation and result at the time of cutting were good, and the yield was 93.4%.
[0055]
By adopting this cutting apparatus and cutting method, the altered layer of the cutting portion does not occur unlike the cutting method using laser beam and the cutting method using plasma, and the substrate can be cut without impairing the mechanical strength of the substrate. .
[0056]
(Embodiment 5)
With reference to FIG. 5, a semiconductor substrate cutting apparatus and method according to the fifth embodiment of the present invention will be described. The semiconductor substrate cutting apparatus according to the present embodiment includes afirst support base 5, asecond support base 6, afirst workpiece presser 7, and asecond workpiece presser 8. These support base and workpiece presser are provided. As in the first embodiment, thesilicon plate 1 as a semiconductor substrate is fixed and the support base moves in the direction corresponding to the cutting direction with theXYZ scanner 9.
[0057]
The semiconductor cutting device in the present embodiment is a device that passes thelaser beam 20 into the water flow of thewater jet 21 as cutting means. Awater jet 21 is jetted from anozzle 47 including apressure pump 40 for pressurizing water and ahose 39 for pressurized water. On the other hand, thelaser beam 20 is oscillated by thelaser oscillator 37, thewater jet 21 and thelaser beam 20 are arranged so as to overlap, and thesilicon plate 1 is cut by guiding the laser beam to the irradiation position using thewater jet 21 as a waveguide. To do. Adrainage pipe 35 connected to thedrainage pump 34 is arranged between thefirst support base 5 and thesecond support base 6, and the water used for cutting is drained without collecting in thedrainage pipe 35. Is done.
[0058]
A cutting test was performed in the same manner as in the first embodiment. In the cutting test, the diameter of the nozzle that ejects thewater jet 21 is 0.1 mm, the pressure is 200 MPa, the laser beam uses light having a wavelength of 1.064 μm, which is the fundamental wave of the Nd: YAG laser, and the laser output is 300 W. Cutting was performed at a pulse frequency of 1000 Hz, a pulse width of 3 milliseconds, a beam diameter of 100 μm, and a cutting speed of 2000 mm / min. In the case of this cutting means, the situation and result at the time of cutting were good, and the yield was 91.3%.
[0059]
By adopting this cutting device and cutting method, the width of the cutting portion can be reduced, and the processing speed can be increased. Further, since the laser light travels along the water jet, the laser light can be prevented from being out of focus by using the water jet as a waveguide. Moreover, since the cut surface is in contact with water, oxidation of the end surface can be prevented.
[0060]
(Embodiment 6)
With reference to FIG. 6, a semiconductor substrate cutting apparatus and cutting method according to the sixth embodiment of the present invention will be described. The semiconductor substrate cutting apparatus according to the present embodiment includes afirst support base 5, asecond support base 6, afirst workpiece presser 7, and asecond workpiece presser 8. These support base and workpiece presser are provided. Thus, fixing thesilicon plate 1 as a semiconductor substrate and moving the support base in the direction corresponding to the cutting direction with theXYZ scanner 9 is the same as in the first embodiment.
[0061]
As a cutting means in the present embodiment, the semiconductor substrate is melted by a plasma jet. Theplasma jet 22 is sprayed from theplasma torch 43 disposed at the tip of thegas supply pipe 48 to melt thesilicon plate 1. Similarly to the laser cutting device, a dross suction pipe is arranged in a space to be a cutting line between thefirst support base 5 and thesecond support base 6, and dross generated by cutting is drossed. Suction is performed by a suction pump (not shown).
[0062]
A cutting test was performed in the same manner as in the first embodiment. The cutting test was performed under the conditions of a current of 250 A, a cutting speed of 3500 mm / min, an oxygen flow rate of 40 liters / minute, and an air flow rate of 30 liters / minute. In the case of this cutting means, the cutting situation and result at the time of cutting were good, and the yield was 90.2%.
[0063]
The cutting device and the cutting method have a simpler configuration and can form a cutting means at a lower cost than cutting by laser beam, which is cutting by the same melting.
[0064]
(Embodiment 7)
With reference to FIG. 7, a semiconductor substrate cutting apparatus and cutting method according to the seventh embodiment of the present invention will be described. The semiconductor substrate cutting apparatus according to the present embodiment includes afirst support base 5, asecond support base 6, afirst workpiece presser 7, and asecond workpiece presser 8. These support base and workpiece presser are provided. Thus, fixing thesilicon plate 1 as a semiconductor substrate and moving the support base in the direction corresponding to the cutting direction with theXYZ scanner 9 is the same as in the first embodiment.
[0065]
As the cutting means in the present embodiment, mechanical cutting is performed using a dicing apparatus. The disc-shapeddicing blade 44 is rotated at a high speed to cut thesilicon plate 1. A coolingwater injection pipe 49 for injecting cooling water for cooling thedicing blade 44 is disposed in the vicinity of the cutting portion. The cutting test was performed using a # 400 dicing blade at a rotation speed of 3000 rpm and a cutting speed of 2000 mm / min. In the case of this cutting means, the cutting situation and result at the time of cutting were good, and the yield was 95.1%.
[0066]
By adopting this cutting apparatus and cutting method, the altered layer of the cutting portion does not occur unlike the cutting method using laser beam and the cutting method using plasma, and the substrate can be cut without impairing the mechanical strength of the substrate. .
[0067]
In all the above embodiments, the semiconductor substrate to be cut is shown to be flat, but it is not particularly required to be flat. For example, in the case of a curved semiconductor substrate due to warping of a workpiece Has the same effect. In addition, the surface is not limited to a flat surface, and may have irregularities or a curved surface. The present invention is very effective when the substrate is a thin plate and is brittle, but the shape and material of the semiconductor substrate are not limited.
[0068]
In the description, the description has been made mainly using the silicon plate. However, the present invention is not particularly limited to the silicon plate, and can be applied to the entire substrate. As a silicon plate, it can employ | adopt for the cutting | disconnection of the plate-like silicon for solar cells, etc.
[0069]
The above-mentioned support for the semiconductor cutting device is divided into two parts so as to include the cutting line, but there are cases where it is particularly necessary, such as the arrangement of dross suction piping necessary for dross suction during laser cutting. An integrated support base may be excluded. Or this invention is applicable regardless of the means to cut | disconnect. For example, the present invention can be applied to gas cutting and the like in addition to the above laser cutting and water jet cutting methods. The present invention has a mechanism capable of fixing both sides of a cutting line of a workpiece to be cut and has a mechanism capable of fixing at least one of the workpieces in the thickness direction. The other changes are not essential.
[0070]
In addition, the said embodiment disclosed this time is an illustration in all the points, Comprising: It is not restrictive. The scope of the present invention is defined by the terms of the claims, rather than the description above, and includes all modifications within the scope and meaning equivalent to the terms of the claims.
[0071]
【The invention's effect】
According to the present invention, by fixing both sides of the cutting line of the semiconductor substrate to be cut and further fixing at least one of the semiconductor substrates so as to sandwich the semiconductor substrate, it is possible to reduce the flapping of the semiconductor substrate that occurs during cutting. Therefore, it is possible to provide a cutting device and a cutting method capable of cutting the semiconductor substrate while reducing the occurrence of cracks and cracks. In particular, a warped semiconductor substrate can be cut with a high yield, which contributes to cost reduction of products and effective use of resources.
[Brief description of the drawings]
FIGS. 1A to 1C are diagrams illustrating a semiconductor substrate cutting device and a cutting method according to a first embodiment of the present invention.
FIGS. 2A and 2B are schematic cross-sectional views of a semiconductor substrate cutting device according to a first embodiment of the present invention.
FIG. 3 is a schematic cross-sectional view of a semiconductor substrate cutting device according to a third embodiment of the present invention.
FIG. 4 is a schematic cross-sectional view of a semiconductor substrate cutting device according to a fourth embodiment of the present invention.
FIG. 5 is a schematic sectional view of a semiconductor substrate cutting device according to a fifth embodiment of the present invention.
FIG. 6 is a schematic sectional view of a semiconductor substrate cutting device according to a sixth embodiment of the present invention.
FIG. 7 is a schematic sectional view of a semiconductor substrate cutting device according to a seventh embodiment of the present invention.
8A and 8B are diagrams illustrating a semiconductor substrate cutting device and a cutting method based on a conventional technique, wherein FIG. 8A is a perspective view during cutting, FIG. 8B is a schematic cross-sectional view of the cutting device, and FIG. It is a figure explaining the malfunction of the inside semiconductor substrate.
[Explanation of symbols]
DESCRIPTION OFSYMBOLS 1 Silicon plate, 5 1st support stand, 6 2nd support stand, 7 1st workpiece holder, 8 2nd workpiece holder, 9 XYZ scanner, 10 Transmission member, 20 Laser beam, 21 Water jet, 22 Plasma jet, 23 Sandblast flow, 30 vacuum pump for adsorption, 31 vacuum pipe for adsorption, 32 exhaust pump for dross suction, 33 pipe for dross suction, 34 drainage pump, 35 pipe for drainage, 36 condenser lens, 37 laser oscillator, 38 light Fiber, 39 Pressurized water hose, 40 Pressurized pump, 41 Sand compressor, 42 Sandblast introduction hose, 43 Plasma torch, 44 Dicing blade, 45, 46, 47 Nozzle, 48 Gas supply pipe, 49 Cooling water injection pipe, 50, 51 , 52 Arrow, 55
Crack, 56 Cut surface.

Claims (18)

Translated fromJapanese
半導体基板を切断するための切断手段と、
前記半導体基板を支えるための支持台と、
前記半導体基板の切断線となるべき領域の両側を固定する固定手段と
を備え、前記固定手段は、
前記切断線に対して少なくとも片側の領域に加工物押えを含み、
前記支持台と前記加工物押えとで前記半導体基板を挟むように固定する挟持手段を含む、半導体基板の切断装置。
Cutting means for cutting the semiconductor substrate;
A support for supporting the semiconductor substrate;
Fixing means for fixing both sides of a region to be a cutting line of the semiconductor substrate, the fixing means,
Including a work clamp in at least one region with respect to the cutting line;
A semiconductor substrate cutting device comprising clamping means for fixing the semiconductor substrate so as to be sandwiched between the support base and the workpiece presser.
前記切断手段は、レーザ光線照射機能を有する、請求項1に記載の半導体基板の切断装置。The semiconductor substrate cutting device according to claim 1, wherein the cutting means has a laser beam irradiation function.前記加工物押えは、レーザ光線を透過する部材を含む、請求項2に記載の半導体基板の切断装置。The semiconductor substrate cutting device according to claim 2, wherein the workpiece presser includes a member that transmits a laser beam.前記切断手段は、ウォータージェット噴射機能を有し、
ウォータージェットをレーザ光線の導波路として用いる、請求項2に記載の半導体基板の切断装置。
The cutting means has a water jet injection function,
The semiconductor substrate cutting device according to claim 2, wherein a water jet is used as a laser beam waveguide.
前記切断手段は、ウォータージェット噴射機能、サンドブラスト噴射機能、ダイシングブレードおよびプラズマ噴射機能のうちいずれかを有する、請求項1に記載の半導体基板の切断装置。The semiconductor substrate cutting device according to claim 1, wherein the cutting means has any one of a water jet spray function, a sand blast spray function, a dicing blade, and a plasma spray function.前記挟持手段は、前記支持台と前記加工物押えとが、磁力によって互いに引力を生じる磁力発生手段を含む、請求項1に記載の半導体基板の切断装置。2. The semiconductor substrate cutting device according to claim 1, wherein the clamping means includes a magnetic force generating means for causing the support base and the workpiece presser to generate an attractive force by a magnetic force.前記磁力発生手段は、電磁石を有する請求項6に記載の半導体基板の切断装置。The semiconductor substrate cutting device according to claim 6, wherein the magnetic force generating means includes an electromagnet.前記磁力発生手段は、励磁状態と非励磁状態との切替えが可能なマグネットベースを含む、請求項6に記載の半導体基板の切断装置。The semiconductor substrate cutting device according to claim 6, wherein the magnetic force generating means includes a magnet base capable of switching between an excited state and a non-excited state.半導体基板の切断線となるべき領域の両側を、半導体基板を支えるための支持台に、固定する基板固定工程と、
前記半導体基板を切断する切断工程と
を含み、前記基板固定工程は、
前記切断線となるべき領域の両側のうち、少なくとも片側を挟持する基板挟持工程を含む、半導体基板の切断方法。
A substrate fixing step of fixing both sides of a region to be a cutting line of the semiconductor substrate to a support base for supporting the semiconductor substrate;
A cutting step of cutting the semiconductor substrate, the substrate fixing step,
A semiconductor substrate cutting method, comprising: a substrate clamping step of clamping at least one side of both sides of the region to be the cutting line.
前記基板挟持工程は、前記支持台に押し当てる向きに前記半導体基板を圧接させる工程を含む、請求項9に記載の半導体基板の切断方法。The semiconductor substrate cutting method according to claim 9, wherein the substrate clamping step includes a step of pressing the semiconductor substrate in a direction in which the substrate is pressed against the support base.前記基板挟持工程は、磁力を用いて行なう、請求項10に記載の半導体基板の切断方法。The semiconductor substrate cutting method according to claim 10, wherein the substrate clamping step is performed using magnetic force.前記磁力の発生源として、電磁石を用いる、請求項11に記載の半導体基板の製造方法。The method of manufacturing a semiconductor substrate according to claim 11, wherein an electromagnet is used as the magnetic force generation source.前記磁力の発生源として、励磁状態と非励磁状態との切替えが可能なマグネットベースを用いる、請求項11に記載の半導体基板の製造方法。The method of manufacturing a semiconductor substrate according to claim 11, wherein a magnet base capable of switching between an excited state and a non-excited state is used as the magnetic force generation source.前記切断工程は、レーザ光線を照射して行なう、請求項9に記載の半導体基板の切断方法。The semiconductor substrate cutting method according to claim 9, wherein the cutting step is performed by irradiating a laser beam.前記基板挟持工程は、前記レーザ光線に対して透過性を有する透過部材を、前記半導体基板に押し当てる工程を含み、
前記切断工程は、前記レーザ光線が前記透過部材を通過するように行なう、請求項14に記載の半導体基板の切断方法。
The substrate clamping step includes a step of pressing a transmissive member having transparency to the laser beam against the semiconductor substrate,
The semiconductor substrate cutting method according to claim 14, wherein the cutting step is performed so that the laser beam passes through the transmission member.
前記切断工程は、ウォータージェットを噴き当てて行なう、請求項9に記載の半導体基板の切断方法。The semiconductor substrate cutting method according to claim 9, wherein the cutting step is performed by spraying a water jet.前記切断工程は、前記ウォータージェットの水流の中を通過するようにレーザ光線を照射する工程を含む、請求項16に記載の半導体基板の切断方法。The semiconductor substrate cutting method according to claim 16, wherein the cutting step includes a step of irradiating a laser beam so as to pass through a water flow of the water jet.前記切断工程は、サンドブラスト加工、ダイシング加工およびプラズマ切断加工のうちいずれかを用いて行なう、請求項9に記載の半導体基板の切断方法。The semiconductor substrate cutting method according to claim 9, wherein the cutting step is performed using any one of sandblasting, dicing, and plasma cutting.
JP2002355045A2002-12-062002-12-06 Semiconductor substrate cutting apparatus and methodWithdrawnJP2004186635A (en)

Priority Applications (1)

Application NumberPriority DateFiling DateTitle
JP2002355045AJP2004186635A (en)2002-12-062002-12-06 Semiconductor substrate cutting apparatus and method

Applications Claiming Priority (1)

Application NumberPriority DateFiling DateTitle
JP2002355045AJP2004186635A (en)2002-12-062002-12-06 Semiconductor substrate cutting apparatus and method

Publications (1)

Publication NumberPublication Date
JP2004186635Atrue JP2004186635A (en)2004-07-02

Family

ID=32755853

Family Applications (1)

Application NumberTitlePriority DateFiling Date
JP2002355045AWithdrawnJP2004186635A (en)2002-12-062002-12-06 Semiconductor substrate cutting apparatus and method

Country Status (1)

CountryLink
JP (1)JP2004186635A (en)

Cited By (19)

* Cited by examiner, † Cited by third party
Publication numberPriority datePublication dateAssigneeTitle
JP2006061625A (en)*2004-08-302006-03-09Olympus CorpProduction method of instrument introduced into subject
JP2007294541A (en)*2006-04-212007-11-08Disco Abrasive Syst Ltd Wafer dividing method
WO2007129715A1 (en)*2006-05-092007-11-15Denki Kagaku Kogyo Kabushiki KaishaAluminum-silicon carbide composite body and method for processing the same
US7589297B2 (en)*2005-12-082009-09-15Boston Scientific Scimed, Inc.Apparatus and method for cutting flat stent precursors
KR100932347B1 (en)*2006-07-212009-12-16폭스세미콘 인티그리티드 테크놀로지, 인코포레이티드Laser cutting apparatus and laser cutting method
US7737001B2 (en)2005-06-012010-06-15Renesas Technology Corp.Semiconductor manufacturing method
KR101072510B1 (en)2009-10-192011-10-13한종문A jig plate for cutting sheet glass
JP2013086144A (en)*2011-10-192013-05-13Honda Motor Co LtdLaser beam machining apparatus
JP2013119094A (en)*2011-12-062013-06-17Sumitomo Chemical Co LtdSheet material cutting method
JP2013121598A (en)*2011-12-092013-06-20Disco CorpMethod for cutting workpiece, and laser machining device
JP2014056950A (en)*2012-09-132014-03-27Lintec CorpRetention device, and retention method
JP2014079791A (en)*2012-10-172014-05-08Disco Abrasive Syst LtdLaser processing method
JP2014113626A (en)*2012-12-112014-06-26Disco Abrasive Syst LtdLaser processing device
JPWO2013100149A1 (en)*2011-12-282015-05-11古河電気工業株式会社 Substrate cutting jig, processing apparatus, and substrate cutting method
JP2016196047A (en)*2016-08-312016-11-24住友化学株式会社Sheet material cutting method
US9919945B2 (en)2013-11-142018-03-20Mitsubishi Electric CorporationLaser processing method and laser processing apparatus
JP2019061778A (en)*2017-09-252019-04-18株式会社Ihi Plasma actuator
WO2020105939A1 (en)*2018-11-232020-05-28주식회사 엘지화학Electrode lead cutting apparatus for battery cell
JP2022080654A (en)*2020-11-182022-05-30株式会社ディスコWafer manufacturing method and laminated device chip manufacturing method

Cited By (25)

* Cited by examiner, † Cited by third party
Publication numberPriority datePublication dateAssigneeTitle
JP2006061625A (en)*2004-08-302006-03-09Olympus CorpProduction method of instrument introduced into subject
US7737001B2 (en)2005-06-012010-06-15Renesas Technology Corp.Semiconductor manufacturing method
US7589297B2 (en)*2005-12-082009-09-15Boston Scientific Scimed, Inc.Apparatus and method for cutting flat stent precursors
JP2007294541A (en)*2006-04-212007-11-08Disco Abrasive Syst Ltd Wafer dividing method
JP5021636B2 (en)*2006-05-092012-09-12電気化学工業株式会社 Aluminum-silicon carbide composite and processing method thereof
WO2007129715A1 (en)*2006-05-092007-11-15Denki Kagaku Kogyo Kabushiki KaishaAluminum-silicon carbide composite body and method for processing the same
KR100932347B1 (en)*2006-07-212009-12-16폭스세미콘 인티그리티드 테크놀로지, 인코포레이티드Laser cutting apparatus and laser cutting method
KR101072510B1 (en)2009-10-192011-10-13한종문A jig plate for cutting sheet glass
JP2013086144A (en)*2011-10-192013-05-13Honda Motor Co LtdLaser beam machining apparatus
JP2013119094A (en)*2011-12-062013-06-17Sumitomo Chemical Co LtdSheet material cutting method
JP2013121598A (en)*2011-12-092013-06-20Disco CorpMethod for cutting workpiece, and laser machining device
JPWO2013100149A1 (en)*2011-12-282015-05-11古河電気工業株式会社 Substrate cutting jig, processing apparatus, and substrate cutting method
JP2014056950A (en)*2012-09-132014-03-27Lintec CorpRetention device, and retention method
JP2014079791A (en)*2012-10-172014-05-08Disco Abrasive Syst LtdLaser processing method
JP2014113626A (en)*2012-12-112014-06-26Disco Abrasive Syst LtdLaser processing device
US9919945B2 (en)2013-11-142018-03-20Mitsubishi Electric CorporationLaser processing method and laser processing apparatus
JP2016196047A (en)*2016-08-312016-11-24住友化学株式会社Sheet material cutting method
JP2019061778A (en)*2017-09-252019-04-18株式会社Ihi Plasma actuator
WO2020105939A1 (en)*2018-11-232020-05-28주식회사 엘지화학Electrode lead cutting apparatus for battery cell
KR20200060864A (en)*2018-11-232020-06-02주식회사 엘지화학Electrode lead cutting apparatus of battery cell
CN111741837A (en)*2018-11-232020-10-02株式会社Lg化学 Electrode lead cutting equipment for battery cells
US11491582B2 (en)2018-11-232022-11-08Lg Energy Solution, Ltd.Electrode lead cutting apparatus for battery cells
KR102655101B1 (en)*2018-11-232024-04-08주식회사 엘지에너지솔루션Electrode lead cutting apparatus of battery cell
JP2022080654A (en)*2020-11-182022-05-30株式会社ディスコWafer manufacturing method and laminated device chip manufacturing method
JP7608019B2 (en)2020-11-182025-01-06株式会社ディスコ Wafer manufacturing method and stacked device chip manufacturing method

Similar Documents

PublicationPublication DateTitle
JP2004186635A (en) Semiconductor substrate cutting apparatus and method
JP4486943B2 (en) Cutting apparatus and cutting method of work brittle plate
JP6416901B2 (en) Method and apparatus for dividing a flat workpiece into a plurality of parts
US7364986B2 (en)Laser beam processing method and laser beam machine
US20050158968A1 (en)Wafer laser processing method
US20050095819A1 (en)Method and apparatus for cutting devices from substrates
WO2007094348A1 (en)Laser scribing method, laser scribing apparatus and cut substrate cut by using such method or apparatus
JP2015076115A (en) Disk-shaped glass substrate for magnetic recording medium and method for manufacturing disk-shaped glass substrate for magnetic recording medium
KR20190077484A (en) Glass sheet transfer device for laser-based processing of sheet-type glass substrates
JP2012124527A (en)Wafer table and laser dicing device
CN100468641C (en) Wafer dividing method and dividing device
CN1391535A (en)Method and device for cutting flat workpiece consisting of brittle material
TWI300960B (en)Method of cutting and machining a silicon wafer
CN111055029A (en) Laser cutting device and method for electromagnetic field-controlled plasma-controlled crack propagation
JP2007242787A (en) Wafer division method
JP2700136B2 (en) How to cut brittle materials
CN116494132A (en) Laser-assisted abrasive water-jet through-shot processing method and device
JP2011233641A (en)Laser processing method for plate-like object
KR102586503B1 (en) Laser processing method and laser processing device
JP6504977B2 (en) Wafer processing method
JP2000117471A (en) Glass processing method and apparatus
JP5918044B2 (en) Processing method and processing apparatus
JP2017019704A (en)Method and apparatus for cutting hard fragile plate
KR102560763B1 (en)Cutting apparatus and method using lazer
KR101282053B1 (en)Ultrathin wafer micro-machining method and system by laser rail-roading technique

Legal Events

DateCodeTitleDescription
A621Written request for application examination

Free format text:JAPANESE INTERMEDIATE CODE: A621

Effective date:20051206

A072Dismissal of procedure

Free format text:JAPANESE INTERMEDIATE CODE: A073

Effective date:20070424

A300Withdrawal of application because of no request for examination

Free format text:JAPANESE INTERMEDIATE CODE: A300

Effective date:20070501


[8]ページ先頭

©2009-2025 Movatter.jp