Movatterモバイル変換


[0]ホーム

URL:


JP2004133846A - Traveling device - Google Patents

Traveling device
Download PDF

Info

Publication number
JP2004133846A
JP2004133846AJP2002300105AJP2002300105AJP2004133846AJP 2004133846 AJP2004133846 AJP 2004133846AJP 2002300105 AJP2002300105 AJP 2002300105AJP 2002300105 AJP2002300105 AJP 2002300105AJP 2004133846 AJP2004133846 AJP 2004133846A
Authority
JP
Japan
Prior art keywords
obstacle
traveling
distance
traveling device
detecting
Prior art date
Legal status (The legal status is an assumption and is not a legal conclusion. Google has not performed a legal analysis and makes no representation as to the accuracy of the status listed.)
Pending
Application number
JP2002300105A
Other languages
Japanese (ja)
Inventor
Hirotsugu Kamiya
洋次 上谷
Tetsuya Koda
哲也 甲田
Masayo Haji
雅代 土師
Yumiko Hara
由美子 原
Keiko Noda
桂子 野田
Current Assignee (The listed assignees may be inaccurate. Google has not performed a legal analysis and makes no representation or warranty as to the accuracy of the list.)
Panasonic Holdings Corp
Original Assignee
Matsushita Electric Industrial Co Ltd
Priority date (The priority date is an assumption and is not a legal conclusion. Google has not performed a legal analysis and makes no representation as to the accuracy of the date listed.)
Filing date
Publication date
Application filed by Matsushita Electric Industrial Co LtdfiledCriticalMatsushita Electric Industrial Co Ltd
Priority to JP2002300105ApriorityCriticalpatent/JP2004133846A/en
Publication of JP2004133846ApublicationCriticalpatent/JP2004133846A/en
Pendinglegal-statusCriticalCurrent

Links

Images

Landscapes

Abstract

Translated fromJapanese

【課題】人が走行装置から離れても、走行装置の周囲あるいは進行方向の障害物を回避し、意図どうりに走行する走行装置を提供すること。
【解決手段】検出後急停止可能な近距離の障害物を検出する近距離検知手段3と、検出後減速し停止または回避可能な中距離の障害物を検出する中距離検知手段5と、周囲を撮影する撮映装置1と、撮映装置1で撮影した画像のデータ処理を行う画像認識装置2と、近距離検知手段3と中距離検知手段5と画像認識装置2の出力を入力して走行を制御する制御手段9とを備える走行装置とした。これにより、走行装置の周囲あるいは進行方向の障害物を確認しながら走行することが可能な走行装置を提供できるようになる。
【選択図】 図1
An object of the present invention is to provide a traveling device that can avoid obstacles around or around the traveling device and travel as intended even when a person is away from the traveling device.
A short distance detecting means for detecting a short distance obstacle capable of suddenly stopping after detection, a medium distance detecting means for detecting a medium distance obstacle capable of decelerating and stopping or avoiding after detection, and , An image recognition device 2 for processing data of an image captured by the imaging device 1, a short-range detection unit 3, a medium-range detection unit 5, and an output of the image recognition device 2. The traveling device is provided with control means 9 for controlling traveling. This makes it possible to provide a traveling device that can travel while checking obstacles around or around the traveling device.
[Selection diagram] Fig. 1

Description

Translated fromJapanese

【0001】
【発明の属する技術分野】
本発明は、走行により物を運搬する、または移動してあるいは移動しながら作業等をする走行装置に関するものである。
【0002】
【従来の技術】
従来から、軽トラックの荷台に積んで、あるいは人が台車を押して物を運搬する、または人が芝刈り機を押しながら芝を刈る、または人が農薬を担いで歩きながら散布する、または掃除機を引いて歩きながら掃除をする等の、運搬あるいは作業をする走行装置がある。
【0003】
また、撮影装置を備え、画像認識装置で撮影した洗濯物の画像のデータ処理を行い、洗濯物データの判定をし、洗濯工程の運転内容を決定する洗濯機がある(例えば、特許文献1参照)。
【0004】
【特許文献1】
特開平4−244193号公報
【0005】
【発明が解決しようとする課題】
前記従来の走行装置は人が運転する、あるいは人が障害物を回避する装置が多い。したがって、人がその場を離れると障害物を回避できないため走行を停止する、あるいは意図どうりに障害物を回避して走行してくれないという課題があった。本発明は上記従来の課題を解決するもので、走行装置の周囲あるいは進行方向の障害物を回避し、意図どうりに走行する走行装置を提供するものである。
【0006】
【課題を解決するための手段】
本発明は、前記従来の課題を解決するもので、検出後急停止可能な近距離の障害物を検出する近距離検知手段と、検出後減速し停止または回避可能な中距離の障害物を検出する中距離検知手段と、周囲を撮影する撮映装置と、前記撮映装置で撮影した画像のデータ処理を行う画像認識装置と、前記近距離検知手段と前記中距離検知手段と前記画像認識装置の出力を入力して走行を制御する制御手段とを備える走行装置とした。
【0007】
これにより、人が走行装置から離れても、走行装置の周囲あるいは進行方向の障害物を回避し、意図どうりに走行する走行装置を提供できる。
【0008】
【発明の実施の形態】
請求項1に記載した発明は、検出後急停止可能な近距離の障害物を検出する近距離検知手段と、検出後減速し停止または回避可能な中距離の障害物を検出する中距離検知手段と、周囲を撮影する撮映装置と、前記撮映装置で撮影した画像のデータ処理を行う画像認識装置と、前記近距離検知手段と前記中距離検知手段と前記画像認識装置の出力を入力して走行を制御する制御手段とを備えることにより、走行装置の周囲あるいは進行方向の障害物を確認しながら走行することが可能な走行装置とすることができる。
【0009】
請求項2に記載した発明は、請求項1に記載の発明に加えて、回転方向の角速度を検出するジャイロと、角速度から回転の角度を算出する角度算出手段とを備え、制御手段は、角度算出手段の出力を入力し、その場で360度回転し、周囲の画像処理データを記憶し、走行を制御する走行装置としたことにより、周囲の状況を確認し進行可能な方向を選択する走行装置とすることができる。
【0010】
請求項3に記載した発明は、特に、請求項1に記載の撮映装置の首を、上下または左右に振る首振り手段を備えることにより、撮影の範囲が広がり走行面から装置高さの障害物あるいは装置走行幅の障害物を確認する走行装置とすることができる。
【0011】
請求項4に記載した発明は、特に、請求項1または3に記載の撮映装置を昇降する昇降手段あるいは撮影装置を左右に動かす移動手段を備えることにより、撮映装置を上下、左右に移動でき進行面の障害物を確認する走行装置とすることができる。
【0012】
請求項5に記載した発明は、特に、請求項1〜4のいずれか1項に記載の制御手段が、画像データを処理して得られる障害物データの判定をし、その判定結果から走行の運転内容を決定して制御することにより、近距離検知手段あるいは中距離検知手段で検出しにくい障害物を判定し、進行方向を決定あるいは障害物を回避する走行装置とすることができる。
【0013】
請求項6に記載した発明は、特に、請求項1〜5のいずれか1項に記載の近距離検知手段を、光を発光し障害物からの反射光を検知する光検知手段で構成することにより、指向性の幅が狭いので近距離の障害物の方位と距離を特定する走行装置とすることができる。
【0014】
請求項7に記載した発明は、特に、請求項6に記載の制御手段が、障害物が光を透過するガラスと判定または障害物が光の反射率の大きい鏡と判定すると、中距離で障害物から回避させることにより、近距離検知手段で検出しにくい、あるいは誤検知する障害物を中距離検知手段で検出して回避する走行装置とすることができる。
【0015】
請求項8に記載した発明は、特に、請求項1〜7のいずれか1項に記載の中距離検知手段を、超音波を発音し障害物からの反射音を検知する超音波検知手段で構成することにより、指向性の幅が広く、広範囲の障害物の距離を特定する走行装置とすることができる。
【0016】
請求項9に記載した発明は、特に、請求項8に記載の制御手段は、障害物が、超音波を透過する、または超音波の反射量の少ない、カーテン、丸棒、斜め壁と判定すると、所定の距離で前記障害物回避させることにより、中距離検知手段で検出しにくい、あるいは誤検知する障害物を回避する走行装置とすることができる。
【0017】
【実施例】
以下本発明の実施例について図面を参照しながら説明する。
【0018】
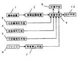
図1は本発明の実施例における走行装置のブロック図である。本実施例の走行装置は、あらかじめ走行経路から例えばペットの猫等の動的障害物を除いた、あるいは動的障害物が経路に侵入しない場所で走行させて使用するものを示している。
【0019】
図1において、1は走行場所の走行装置の周囲を撮影する撮映装置で、撮映した画像データは2の画像認識装置に出力する。撮映装置1はCMOSイメージセンサあるいはCCDと光学レンズ等で構成される。画像認識装置2はマイコン、メモリー等で構成される。画像認識装置2で処理されたデータは制御手段9に出力する。3は検出後急停止可能な近距離の障害物を検出する近距離検知手段で、障害物を検知すると制御手段9に近距離の障害物検知信号を出力する。近距離検知手段3は赤外線を発光する赤外LEDと受光した位置を検出する位置検出素子等で構成される。4は検出後急停止可能な前方あるいは後方の走行面の段差を検出する段差検知手段で、段差を検知すると制御手段9に段差信号を出力する。段差検知手段4は赤外線を発光する赤外LEDと受光した位置を検出する位置検出素子等で構成される。5は検出後減速し停止あるいは回避可能な中距離の障害物を検出する中距離検知手段で、障害物を検出すると制御手段9に中距離の障害物検知信号を出力する。中距離検知手段5は超音波を発音する圧電セラミックと超音波を受音する圧電セラミックと増幅回路等で構成される。6は装置が回転したときの回転方向の角速度を検出するジャイロで右回転あるいは左回転で異なる値を出力し回転方向及び単位時間当たりの回転角度変化を検出する。ジャイロ6は振動子を構成する圧電体と、振動する圧電体が回転時に生じるコリオリの力で変化する電位を増幅する増幅器等で構成される。ジャイロ6の出力は7の角度算出手段に入力され演算により回転方向と回転角を算出し、制御手段9に出力する。10は走行手段で制御手段の出力を入力し装置を走行あるいは回転する。走行手段10は車輪と駆動モータ等で構成される。8は、あらかじめ入力された制御内容等を記憶する記憶手段で、制御手段9に接続される。記憶手段8は半導体記憶素子等で構成する。
【0020】
以下本実施例の動作について説明する。入力手段6の図示していない走行装置の使用スイッチを使用側に操作すると、制御手段9が動作を開始してあらかじめ記憶手段8に記憶された方向に走行手段10を制御してジャイロ6と角度算出手段7で回転角度を確認しながら所定の方向まで回転する。走行手段10を制御してあらかじめ記憶手段8に記憶された速度で図示していない走行距離検出手段で走行距離を確認しながら次の方向変更ポイントまで走行する。以下目的地で停止するまで同様の走行制御を繰り返す。
【0021】
走行中に近距離検知手段3で近距離の障害物を検知すると急停止し、撮映装置1と画像認識装置2で周囲の障害物の状況を確認し障害物のない方向に走行を再開する。
【0022】
走行中に段差検知手段4で所定高さより高い乗り越えられない起伏あるいは所定深さより深い窪みを検出すると急停止し所定距離後退して停止し、撮映装置1と画像認識装置2で周囲の起伏あるいは窪みの状況を確認し段差の無い方向に走行を再開する。
【0023】
走行中に中距離検知手段5で中距離の障害物を検知すると、減速し、撮映装置1と画像認識装置2で周囲の障害物の状況を確認し障害物の無い方向に回避する。
【0024】
従って装置が回転した角度を確認しながら障害物あるいは段差を回避して走行することが可能な走行装置とすることができる。
【0025】
また、図2に本実施例の走行手段の構成図を示す。21は左駆動モータで制御手段9の出力を入力し左車輪20を正転、逆転あるいは停止する。23は右駆動モータで制御手段14の出力を入力し右車輪22を正転、逆転あるいは停止する。
【0026】
制御手段9は走行場所に設置後左駆動モータ21と右駆動モータ23とを制御して、ジャイロ6と角度算出手段7で回転角を確認しながら左車輪と右車輪とを同方向に回転しその場で360度回転を行い回転しながら撮影装置1で各角度の状況を撮映し画像認識装置2で処理して障害物と判定すると回転角度と障害物データとを記憶手段8に記憶させ障害物のない角度に回転して走行を開始する。
【0027】
従って周囲の状況を確認し進行可能な方向を選択する走行装置とすることができる。
【0028】
また、図3に本実施例の首振り手段の構成図を示す。31は撮影装置1を回転させて撮影方向を上向き/下向きあるいは左向き/右向きに首振りさせる首振り手段で回転モータ等で構成される。
【0029】
従って撮影の範囲が広がり走行面から装置高さの障害物あるいは装置走行幅の障害物を確認する走行装置とすることができる。
【0030】
また、図4に本実施例の昇降手段あるいは移動手段の構成図を示す。41は撮影装置1を接続部42を介して接続し、上/下に昇降させるあるいは左/右に移動させる昇降手段あるいは移動手段でベルト、回転モータ等で構成される。
【0031】
従って撮映装置を上下左右に移動でき進行面の障害物を確認する走行装置とすることができる。
【0032】
また、図5に本実施例の近距離検知手段の構成図を示す。51は赤外線を発光する発光素子である。52は障害物56で反射した赤外線を受光するフォトトランジスタで構成され受光した位置を検出する位置検知素子である。直角三角形の相似から既知の窓の距離a、素子と窓の距離Lc、発光素子と位置検出素子の受光検知位置で定まるbから障害物までの距離Laが計算できる。
【0033】
La=Lc*a/(b−a)
発光素子の前面延長上の障害物を検知するので指向幅は狭い。従って、近距離の障害物の方位と距離を特定する走行装置とすることができる。
【0034】
また、光を使用しているのでガラス等の透明な障害物は透過する。鏡等の反射率の大きな障害物は向きによっては反射光が受光側の窓を通過しないあるいは受光位置がずれて誤検知することがある。制御手段9は、撮映装置1で撮映し画像認識装置2で処理した障害物データが障害物を光を透過するガラス等あるいは光の反射率の大きい鏡等と判定すると中距離検知手段5で検出すると走行手段10を制御して障害物を回避させる。従って、近距離検知手段で検出しにくいあるいは誤検知する障害物を中距離検知手段で検出して回避する走行装置とすることができる。
【0035】
また、図6に本実施例の中距離検知手段の構成図を示す。61は超音波を発音する発音素子で圧電セラミック、共振子等で構成される。62は障害物64で反射した超音波を受音する受音素子で同様に圧電セラミック、共振子、増幅回路等で構成される。中距離検知手段と障害物の距離Ltは、図7に示す発音信号の発音を開始してtk秒後から受音信号の受音を開始してからtk秒後までの距離Ltを往復するのに掛かる時間tsと超音波の空気中の速度vから距離Ltを計算できる。
【0036】
Lt=v*ts/2
超音波は広がるので指向性の幅は広い。従って、広範囲の障害物の距離を特定する走行装置とすることができる。
【0037】
また、超音波を使用しているので目の粗い布、柔らかいカーテン等は透過する。反射面の狭い細い棒や丸棒等は検知できないことがある。制御手段9は、撮映装置1で撮影し画像認識装置2で処理した障害物が障害物を超音波を透過するあるいは超音波の反射量の少ないカーテン等、丸棒等、斜め壁等と判定すると中距離検知手段5で検出しなくても所定の距離で走行手段10を制御して回避させる。従って中距離検知手段で検出しにくいあるいは誤検知する障害物を回避する走行装置とすることができる。
【0038】
尚、本実施例において、段差検知手段を距離検知手段とは別に設けたが、距離検知手段が段差検知手段を兼ねて、走行面の段差を検出するようにしても支障ないものである。
【0039】
【発明の効果】
以上のように、請求項1〜9に記載した発明によれば、走行装置の周囲あるいは進行方向の障害物を確認しながら走行することが可能な走行装置とすることができる。
【図面の簡単な説明】
【図1】本発明の実施例における走行装置のブロック図
【図2】本発明の実施例における走行手段の構成図
【図3】(a)本発明の実施例における首振り手段が水平時の構成図
(b)同、首振り手段が上向き時の構成図
(c)同、首振り手段が下向き時の構成図
【図4】(a)本発明の実施例における、昇降手段が中間の高さに位置した構成図
(b)同、昇降手段が上に昇った状態の構成図
(c)同、昇降手段が下に降りた状態の構成図
【図5】本発明の実施例における近距離検知手段の構成図
【図6】本発明の実施例における中距離検知手段の構成図
【図7】本発明の実施例における中距離検知手段の信号波形図
【符号の説明】
1 撮映装置
2 画像認識装置
3 近距離検知手段
5 中距離検知手段
9 制御手段
[0001]
TECHNICAL FIELD OF THE INVENTION
TECHNICAL FIELD The present invention relates to a traveling device that carries an object by traveling, or moves or moves to perform work or the like.
[0002]
[Prior art]
Conventionally, a load is carried on a light truck bed, or a person pushes a trolley to carry goods, or a person mows a lawn while pushing a lawn mower, or a person carries a pesticide and spreads while walking, or avacuum cleaner 2. Description of the Related Art There is a traveling device for carrying or working, such as cleaning while walking while pulling.
[0003]
Further, there is a washing machine that includes a photographing device, performs data processing of an image of the laundry photographed by the image recognition device, determines the laundry data, and determines the operation content of the laundry process (for example, see Patent Document 1). ).
[0004]
[Patent Document 1]
JP-A-4-244193 [0005]
[Problems to be solved by the invention]
Many of the above-mentioned conventional traveling devices are devices that a person drives or a person avoids an obstacle. Therefore, there is a problem in that when the person leaves the place, he cannot stop the obstacle because he cannot avoid the obstacle, or he does not drive around the obstacle as he intended. SUMMARY OF THE INVENTION The present invention is to solve the above-mentioned conventional problems, and to provide a traveling device that travels as intended by avoiding obstacles around the traveling device or in the traveling direction.
[0006]
[Means for Solving the Problems]
SUMMARY OF THE INVENTION The present invention solves the above-mentioned conventional problems, and detects a short-distance obstacle that can be quickly stopped after detection, and detects a middle-distance obstacle that can be decelerated, stopped, or avoided after detection. Medium distance detecting means, an imaging device for photographing the surroundings, an image recognition device for performing data processing of an image photographed by the imaging device, the short distance detecting means, the medium distance detecting means, and the image recognition device And a control means for controlling traveling by inputting the output of the vehicle.
[0007]
Thus, even if a person moves away from the traveling device, it is possible to provide a traveling device that avoids obstacles around or around the traveling device and travels as intended.
[0008]
BEST MODE FOR CARRYING OUT THE INVENTION
The invention described inclaim 1 is a short-distance detecting means for detecting a short-distance obstacle capable of suddenly stopping after detection, and a medium-distance detecting means for detecting a medium-distance obstacle capable of decelerating and stopping or avoiding after detection. And an imaging device that captures the surroundings, an image recognition device that performs data processing of an image captured by the imaging device, and inputs the outputs of the short distance detection unit, the medium distance detection unit, and the image recognition device. And a control means for controlling the traveling of the traveling device, whereby the traveling device can travel while confirming obstacles around the traveling device or in the traveling direction.
[0009]
According to a second aspect of the present invention, in addition to the first aspect, the gyro further includes a gyro for detecting an angular velocity in a rotational direction, and an angle calculating means for calculating an angle of rotation from the angular velocity. A running device that inputs the output of the calculating means, rotates 360 degrees on the spot, stores image processing data of the surroundings, and uses a traveling device that controls the traveling, thereby confirming the surrounding conditions and selecting a traveling direction. It can be a device.
[0010]
According to the third aspect of the present invention, particularly, by providing the imaging device of the first aspect with a swinging means for swinging the head up and down or left and right, the range of shooting is widened and the height of the device from the running surface is obstructed. A traveling device for confirming an object or an obstacle of a device traveling width can be provided.
[0011]
The invention described inclaim 4 particularly moves the imaging device up and down and left and right by providing an elevating means for raising and lowering the imaging device according toclaim 1 or 3 or a moving means for moving the imaging device left and right. The traveling device can be used to check obstacles on the traveling surface.
[0012]
According to a fifth aspect of the present invention, in particular, the control means according to any one of the first to fourth aspects determines obstacle data obtained by processing the image data, and based on a result of the determination, determines whether or not the vehicle travels. By determining and controlling the driving content, it is possible to determine an obstacle that is difficult to be detected by the short distance detecting means or the medium distance detecting means, and to determine the traveling direction or to avoid the obstacle.
[0013]
According to a sixth aspect of the present invention, in particular, the short-distance detecting means according to any one of the first to fifth aspects is constituted by a light detecting means for emitting light and detecting reflected light from an obstacle. Accordingly, since the width of the directivity is narrow, it is possible to provide a traveling device that specifies the azimuth and the distance of a nearby obstacle.
[0014]
According to a seventh aspect of the present invention, in particular, when the control means according to the sixth aspect determines that the obstacle is a glass that transmits light or determines that the obstacle is a mirror having a high light reflectance, the control means determines that the obstacle is at a medium distance. By avoiding an obstacle, it is possible to provide a traveling device that detects an obstacle that is difficult to be detected by the short distance detection unit or that detects an erroneously detected obstacle by the middle distance detection unit.
[0015]
According to an eighth aspect of the present invention, in particular, the middle distance detecting means according to any one of the first to seventh aspects comprises an ultrasonic detecting means for emitting an ultrasonic wave and detecting a reflected sound from an obstacle. By doing so, it is possible to provide a traveling device that has a wide directivity range and specifies the distance of a wide range of obstacles.
[0016]
According to a ninth aspect of the invention, in particular, the control means according to the eighth aspect determines that the obstacle is a curtain, a round bar, or an oblique wall that transmits an ultrasonic wave or has a small amount of ultrasonic wave reflection. By making the obstacle avoidable at a predetermined distance, it is possible to provide a traveling device that avoids an obstacle that is difficult to be detected by the middle distance detecting means or that is erroneously detected.
[0017]
【Example】
Hereinafter, embodiments of the present invention will be described with reference to the drawings.
[0018]
FIG. 1 is a block diagram of a traveling device according to an embodiment of the present invention. The traveling apparatus according to the present embodiment is an apparatus that is used by removing a dynamic obstacle such as a pet cat from a traveling route in advance, or traveling at a location where the dynamic obstacle does not enter the route.
[0019]
In FIG. 1,reference numeral 1 denotes an image capturing device that captures an image of a periphery of a traveling device at a traveling place, and outputs captured image data to animage recognition device 2. Theimaging device 1 is composed of a CMOS image sensor or a CCD and an optical lens. Theimage recognition device 2 includes a microcomputer, a memory, and the like. The data processed by theimage recognition device 2 is output to the control means 9.Reference numeral 3 denotes a short-distance detection unit that detects a short-distance obstacle that can be suddenly stopped after detection, and outputs a short-distance obstacle detection signal to thecontrol unit 9 when an obstacle is detected. The short-range detecting means 3 includes an infrared LED that emits infrared light, a position detecting element that detects a position at which light is received, and the like.Reference numeral 4 denotes a step detecting means for detecting a step on the front or rear running surface which can be suddenly stopped after the detection, and outputs a step signal to the control means 9 when the step is detected. Thestep detecting means 4 includes an infrared LED that emits infrared light, a position detecting element that detects a position at which light is received, and the like.Reference numeral 5 denotes a medium-distance detecting means for detecting a medium-distance obstacle which can be decelerated and stopped or avoided after detection, and outputs a medium-distance obstacle detection signal to the control means 9 when an obstacle is detected. The mediumdistance detecting means 5 includes a piezoelectric ceramic that emits ultrasonic waves, a piezoelectric ceramic that receives ultrasonic waves, an amplifier circuit, and the like.Reference numeral 6 denotes a gyro for detecting the angular velocity in the rotational direction when the apparatus is rotated, and outputs different values depending on the clockwise or counterclockwise rotation to detect the rotational direction and the change in the rotational angle per unit time. Thegyro 6 includes a piezoelectric body constituting a vibrator, an amplifier for amplifying a potential that changes due to Coriolis force generated when the vibrating piezoelectric body rotates, and the like. The output of thegyro 6 is input to the angle calculation means 7, calculates the rotation direction and the rotation angle by calculation, and outputs it to the control means 9. Numeral 10 denotes a running means for running or rotating the apparatus by inputting the output of the control means. The traveling means 10 includes wheels, a drive motor, and the like.Reference numeral 8 denotes a storage unit that stores control contents and the like input in advance, and is connected to thecontrol unit 9. The storage means 8 is composed of a semiconductor storage element or the like.
[0020]
Hereinafter, the operation of this embodiment will be described. When the use switch of the traveling device (not shown) of the input means 6 is operated to the use side, the control means 9 starts the operation and controls the traveling means 10 in the direction previously stored in the storage means 8 so that thegyro 6 and thegyro 6 The rotation is made to a predetermined direction while the rotation angle is checked by the calculation means 7. The vehicle travels to the next direction change point while controlling the traveling means 10 and confirming the traveling distance with the traveling distance detecting means (not shown) at the speed previously stored in the storage means 8. Hereinafter, the same traveling control is repeated until the vehicle stops at the destination.
[0021]
If a short-distance obstacle is detected by the short-distance detection means 3 during traveling, the vehicle stops suddenly, the situation of surrounding obstacles is confirmed by theimaging device 1 and theimage recognition device 2, and the traveling is restarted in a direction without any obstacle. .
[0022]
If thebump detecting means 4 detects an undulating undulation higher than a predetermined height or a dent deeper than a predetermined depth during traveling, the vehicle suddenly stops and retreats a predetermined distance to stop. Check the condition of the depression and restart running in the direction without steps.
[0023]
When the middledistance detecting means 5 detects a middle distance obstacle during traveling, the vehicle decelerates, and theimaging device 1 and theimage recognition device 2 confirm the situation of surrounding obstacles and avoid the obstacle in the direction without any obstacle.
[0024]
Therefore, it is possible to provide a traveling device that can travel while avoiding an obstacle or a step while checking the angle at which the device rotates.
[0025]
FIG. 2 shows a configuration diagram of the traveling means of the present embodiment.Reference numeral 21 denotes a left drive motor for inputting the output of the control means 9 to rotate theleft wheel 20 forward, reverse or stop.Reference numeral 23 denotes a right drive motor which inputs the output of the control means 14 to rotate theright wheel 22 forward, reverse or stop.
[0026]
The control means 9 controls theleft drive motor 21 and theright drive motor 23 after installation at the traveling place, and rotates the left wheel and the right wheel in the same direction while checking the rotation angle with thegyro 6 and the angle calculation means 7. While rotating 360 degrees on the spot, theimaging device 1 captures the situation of each angle while rotating and processes it with theimage recognition device 2 and determines that it is an obstacle. Start running at a clear angle.
[0027]
Therefore, it is possible to provide a traveling device that checks surrounding conditions and selects a direction in which traveling is possible.
[0028]
FIG. 3 shows a configuration diagram of the swinging means of the present embodiment. Numeral 31 denotes a swinging means for rotating the photographingapparatus 1 to swing the photographing direction upward / downward or leftward / rightward, and is constituted by a rotation motor or the like.
[0029]
Accordingly, the traveling range can be increased so that the range of photographing is widened and an obstacle of the device height or an obstacle of the device traveling width is confirmed from the traveling surface.
[0030]
FIG. 4 shows a configuration diagram of the lifting / lowering means or moving means of the present embodiment. Numeral 41 denotes an elevating / lowering means or a moving means for connecting the photographingapparatus 1 via a connection part 42 and moving up / down or moving left / right, and is constituted by a belt, a rotary motor and the like.
[0031]
Therefore, it is possible to provide a traveling device that can move the imaging device up, down, left, and right and check an obstacle on the traveling surface.
[0032]
FIG. 5 shows a configuration diagram of the short distance detecting means of the present embodiment. Reference numeral 51 denotes a light emitting element that emits infrared light. Reference numeral 52 denotes a position detecting element which is constituted by a phototransistor that receives infrared light reflected by theobstacle 56 and detects a position at which the light is received. From the similarity of the right triangle, the distance La to the obstacle can be calculated from the known distance a between the window, the distance Lc between the element and the window, and the distance b from the light receiving detection positions of the light emitting element and the position detecting element.
[0033]
La = Lc * a / (ba)
Since the obstacle on the front extension of the light emitting element is detected, the directivity width is narrow. Therefore, it is possible to provide a traveling device that specifies the azimuth and distance of a nearby obstacle.
[0034]
In addition, since light is used, transparent obstacles such as glass are transmitted. An obstacle such as a mirror having a large reflectance may cause erroneous detection because reflected light does not pass through the window on the light receiving side or the light receiving position is shifted depending on the direction. When the obstacle data captured by theimaging device 1 and processed by theimage recognition device 2 determines that the obstacle is a glass or the like that transmits light or a mirror with a high light reflectance, thecontrol unit 9 controls the mediumdistance detection unit 5. When it is detected, the traveling means 10 is controlled to avoid obstacles. Therefore, it is possible to provide a traveling device that detects obstacles that are difficult to detect by the short distance detecting means or that are erroneously detected by the medium distance detecting means and avoids them.
[0035]
FIG. 6 shows a configuration diagram of the middle distance detecting means of this embodiment. Reference numeral 61 denotes a sound generating element that emits ultrasonic waves, and is composed of a piezoelectric ceramic, a resonator, or the like. Reference numeral 62 denotes a sound receiving element for receiving the ultrasonic wave reflected by the obstacle 64, which is also formed of a piezoelectric ceramic, a resonator, an amplifier circuit and the like. The distance Lt between the middle distance detection means and the obstacle is determined by the distance Lt from tk seconds after the sounding signal shown in FIG. 7 is started to tk seconds after the sound receiving signal starts being received. The distance Lt can be calculated from the time ts required for the measurement and the velocity v of the ultrasonic wave in the air.
[0036]
Lt = v * ts / 2
Ultrasonic waves spread, so the directivity is wide. Therefore, it is possible to provide a traveling device that specifies the distance of a wide range of obstacles.
[0037]
In addition, since an ultrasonic wave is used, a coarse cloth, a soft curtain or the like is transmitted. A narrow rod or round rod with a narrow reflecting surface may not be detected. The control means 9 determines that the obstacle photographed by theimaging apparatus 1 and processed by theimage recognition apparatus 2 is an obstacle that transmits ultrasonic waves or has a small amount of ultrasonic wave reflection, such as a curtain, a round bar, or an oblique wall. Then, even if the traveling distance is not detected by the middledistance detecting means 5, the traveling means 10 is controlled at a predetermined distance to avoid it. Therefore, it is possible to provide a traveling device that avoids obstacles that are difficult to be detected by the middle distance detecting means or that are erroneously detected.
[0038]
In this embodiment, the step detecting means is provided separately from the distance detecting means. However, it does not matter if the distance detecting means also serves as the step detecting means and detects a step on the running surface.
[0039]
【The invention's effect】
As described above, according to the first to ninth aspects of the invention, it is possible to provide a traveling device that can travel while checking obstacles around the traveling device or in the traveling direction.
[Brief description of the drawings]
FIG. 1 is a block diagram of a traveling device according to an embodiment of the present invention. FIG. 2 is a configuration diagram of a traveling device according to an embodiment of the present invention. FIG. FIG. 4B is a structural view when the swinging means is directed upward. FIG. 4C is a structural view when the swinging means is directed downward. FIG. FIG. 5 (b) is a structural view showing the state in which the elevating means is raised upward. FIG. 5 (c) is a structural view showing the state in which the elevating means is lowered. FIG. 5 is a short distance view in the embodiment of the present invention. FIG. 6 is a configuration diagram of a medium distance detection unit according to an embodiment of the present invention. FIG. 7 is a signal waveform diagram of a medium distance detection unit according to an embodiment of the present invention.
DESCRIPTION OFSYMBOLS 1Imaging device 2Image recognition device 3 Short distance detection means 5 Medium distance detection means 9 Control means

Claims (9)

Translated fromJapanese
検出後急停止可能な近距離の障害物を検出する近距離検知手段と、検出後減速し停止または回避可能な中距離の障害物を検出する中距離検知手段と、周囲を撮影する撮映装置と、前記撮映装置で撮影した画像のデータ処理を行う画像認識装置と、前記近距離検知手段と前記中距離検知手段と前記画像認識装置の出力を入力して走行を制御する制御手段とを備えた走行装置。A short-distance detecting means for detecting a short-distance obstacle that can be suddenly stopped after detection, a medium-distance detection means for detecting a medium-distance obstacle that can be decelerated and stopped or avoided after detection, and an imaging device for photographing the surrounding area And an image recognition device that performs data processing of an image captured by the imaging device, and a control unit that controls traveling by inputting outputs of the short distance detection unit, the medium distance detection unit, and the image recognition device. Traveling equipment equipped.回転方向の角速度を検出するジャイロと、角速度から回転の角度を算出する角度算出手段とを備え、制御手段は、角度算出手段の出力を入力し、その場で360度回転し、周囲の画像処理データを記憶し、走行を制御する請求項1に記載の走行装置。A gyro for detecting an angular velocity in a rotational direction; and angle calculating means for calculating an angle of rotation from the angular velocity. The control means receives an output of the angle calculating means, rotates 360 degrees on the spot, and processes surrounding images. The traveling device according to claim 1, wherein the traveling device stores data and controls traveling.撮映装置の首を上下あるいは左右に振る首振り手段を備えた請求項1に記載の走行装置。The traveling device according to claim 1, further comprising a swinging means for swinging the head of the imaging device up and down or left and right.撮映装置を昇降する昇降手段または撮影装置を左右に動かす移動手段を備えた請求項1または3に記載の走行装置。The traveling device according to claim 1 or 3, further comprising a lifting unit that raises and lowers the imaging device or a moving unit that moves the imaging device left and right.制御手段は、画像データを処理して得られる障害物データの判定をし、その判定結果から走行の運転内容を決定して制御する請求項1〜4のいずれか1項に記載の走行装置。The travel device according to any one of claims 1 to 4, wherein the control means determines obstacle data obtained by processing the image data, and determines and controls the driving operation content based on the determination result.近距離検知手段は、光を発光し障害物からの反射光を検知する光検知手段で構成する請求1〜5のいずれか1項に記載の走行装置。The traveling device according to any one of claims 1 to 5, wherein the short-distance detection unit includes a light detection unit that emits light and detects reflected light from an obstacle.制御手段は、障害物が光を透過するガラスと判定または障害物が光の反射率の大きい鏡と判定すると、中距離で障害物から回避させる請求項6に記載の走行装置。7. The traveling apparatus according to claim 6, wherein the control means, when judging that the obstacle is a glass transmitting light or judging that the obstacle is a mirror having a high light reflectance, avoids the obstacle at an intermediate distance.中距離検知手段は、超音波を発音し障害物からの反射音を検知する超音波検知手段で構成する請求1〜7のいずれか1項に記載の走行装置。The traveling device according to any one of claims 1 to 7, wherein the middle distance detecting unit is configured by an ultrasonic detecting unit that emits an ultrasonic wave and detects a reflected sound from an obstacle.制御手段は、障害物が、超音波を透過する、または超音波の反射量の少ない、カーテン、丸棒、斜め壁と判定すると、所定の距離で前記障害物を回避させる請求項8に記載の走行装置。The control unit according to claim 8, wherein the control unit, when determining that the obstacle is a curtain, a round bar, or an oblique wall that transmits an ultrasonic wave or reflects a small amount of the ultrasonic wave, avoids the obstacle at a predetermined distance. Traveling device.
JP2002300105A2002-10-152002-10-15 Traveling devicePendingJP2004133846A (en)

Priority Applications (1)

Application NumberPriority DateFiling DateTitle
JP2002300105AJP2004133846A (en)2002-10-152002-10-15 Traveling device

Applications Claiming Priority (1)

Application NumberPriority DateFiling DateTitle
JP2002300105AJP2004133846A (en)2002-10-152002-10-15 Traveling device

Publications (1)

Publication NumberPublication Date
JP2004133846Atrue JP2004133846A (en)2004-04-30

Family

ID=32289052

Family Applications (1)

Application NumberTitlePriority DateFiling Date
JP2002300105APendingJP2004133846A (en)2002-10-152002-10-15 Traveling device

Country Status (1)

CountryLink
JP (1)JP2004133846A (en)

Cited By (9)

* Cited by examiner, † Cited by third party
Publication numberPriority datePublication dateAssigneeTitle
JP2006192562A (en)*2004-12-142006-07-27Honda Motor Co Ltd Autonomous mobile robot
US7278505B2 (en)*2005-03-152007-10-09Omron CorporationControl device for starting motion of mobile body
US7885738B2 (en)2004-11-262011-02-08Samsung Electronics Co., Ltd.Method, medium, and apparatus for self-propelled mobile unit with obstacle avoidance during wall-following algorithm
WO2015159961A1 (en)*2014-04-182015-10-22株式会社東芝Autonomous traveling body
CN105573308A (en)*2014-10-082016-05-11苏州宝时得电动工具有限公司Mower based on image detection and mower control method
JP2017146742A (en)*2016-02-162017-08-24東芝ライフスタイル株式会社Autonomous travelling body
WO2018193653A1 (en)*2017-04-212018-10-25パナソニックIpマネジメント株式会社Mobile device, object detection method, and program
CN109804420A (en)*2016-10-032019-05-24本田技研工业株式会社Controller of vehicle
CN117908031A (en)*2024-01-202024-04-19广东图灵智新技术有限公司Autonomous navigation system of robot

Cited By (17)

* Cited by examiner, † Cited by third party
Publication numberPriority datePublication dateAssigneeTitle
US7885738B2 (en)2004-11-262011-02-08Samsung Electronics Co., Ltd.Method, medium, and apparatus for self-propelled mobile unit with obstacle avoidance during wall-following algorithm
US7933684B2 (en)2004-12-142011-04-26Honda Motor Co., Ltd.Autonomous mobile robot
JP2006192562A (en)*2004-12-142006-07-27Honda Motor Co Ltd Autonomous mobile robot
US7278505B2 (en)*2005-03-152007-10-09Omron CorporationControl device for starting motion of mobile body
CN106255932B (en)*2014-04-182020-06-09东芝生活电器株式会社Autonomous walking body
WO2015159961A1 (en)*2014-04-182015-10-22株式会社東芝Autonomous traveling body
JP2015207120A (en)*2014-04-182015-11-19株式会社東芝Autonomous travel body
CN106255932A (en)*2014-04-182016-12-21东芝生活电器株式会社 self-propelled body
KR101834678B1 (en)2014-04-182018-03-05도시바 라이프스타일 가부시키가이샤Autonomous traveling body
US9968232B2 (en)2014-04-182018-05-15Toshiba Lifestyle Products & Services CorporationAutonomous traveling body
CN105573308A (en)*2014-10-082016-05-11苏州宝时得电动工具有限公司Mower based on image detection and mower control method
CN105573308B (en)*2014-10-082018-09-07宝时得科技(中国)有限公司Grass trimmer based on image detection and grass trimmer control method
JP2017146742A (en)*2016-02-162017-08-24東芝ライフスタイル株式会社Autonomous travelling body
CN109804420A (en)*2016-10-032019-05-24本田技研工业株式会社Controller of vehicle
CN109804420B (en)*2016-10-032021-07-06本田技研工业株式会社 vehicle control device
WO2018193653A1 (en)*2017-04-212018-10-25パナソニックIpマネジメント株式会社Mobile device, object detection method, and program
CN117908031A (en)*2024-01-202024-04-19广东图灵智新技术有限公司Autonomous navigation system of robot

Similar Documents

PublicationPublication DateTitle
CN100524135C (en)Mobile robot and system and method of compensating for path diversions
JP4677888B2 (en) Autonomous mobile vacuum cleaner
US7184586B2 (en)Location mark detecting method for robot cleaner and robot cleaner using the method
JP5138895B2 (en) Traveling robot position sensing device and robot cleaner provided with the same
JP2005211364A (en)Self-propelled cleaner
JP2002355204A (en) Self-propelled vacuum cleaner
JPH0683442A (en)Traveling robot
SE523831C2 (en) Robot cleaner, robot cleaning system and method for controlling the same
KR20170000071A (en)Vacuum cleaner and method for controlling the same
KR102293657B1 (en)Moving Robot
US11141860B2 (en)Method for operating an automatically moving cleaning device and cleaning device of this type
CN101088720A (en) Obstacle avoidance and fall prevention system and method thereof
CN112423640A (en)Autonomous walking type dust collector
WO2017056334A1 (en)Object following movement system
JP2005216022A (en)Autonomous run robot cleaner
JP2004133846A (en) Traveling device
KR20200075140A (en)Artificial intelligence lawn mover robot and controlling method for the same
KR20080093768A (en) Position sensing device of traveling robot and robot cleaner using the same
WO2020017236A1 (en)Self-propelled vacuum cleaner
JP2006095005A (en)Self-propelled vacuum cleaner
KR20220021980A (en)Cleaning robot and controlling method thereof
KR102300790B1 (en)Moving Robot and controlling method
KR100264832B1 (en) Robot cleaner control device using computer and its method
JP2006247803A (en) Autonomous mobile robot
JP7522004B2 (en) Vehicle position control device and autonomous driving device

[8]ページ先頭

©2009-2025 Movatter.jp