






【0001】
【発明の属する技術分野】
本発明は、マイクロ部品用金型およびその製造方法に関し、特に製造コストが安価でかつ高い精度を有し、しかも表面の硬度が高いマイクロ部品用金型およびその製造方法に関するものである。
【0002】
【従来の技術】
マイクロ部品としては、例えば、回折格子を形成した分光デバイス、エンコーダー用スケール、フルネルレンズ、マイクロレンズなどが挙げられる。
回折格子を形成した分光デバイスは、例えば、図6に示すように、金属もしくはガラスからなる平板1の表面1aに、微細なピッチで形成された回折格子を有するものである。この分光デバイスに光を照射することによって、所定の回折条件を満たす光波長を分光するデバイスである。
【0003】
エンコーダ用スケールは、例えば、図7に示すように、平板2の表面に微細な凹凸が形成された平面状のスケールである。
フルネルレンズは、平板の表面上に一定の間隔で形成された溝がレンズ状に形成されたものであり、平面方向からの光を平面と垂直な方向に取り出すものである。
マイクロレンズは、平面基板上に微細なレンズの集合体が形成され、光学上の一括位置合わせを可能にするものであり、複眼レンズの製造も可能とするものである。
【0004】
従来、上記マイクロ部品は、製品そのものを機械加工により直接切削加工するか、あるいは、ガラスやシリコンにフォトリソグラフィ法によって製品のパターニングをした後、エッチングすることにより製造していた。
例えば、上記分光デバイスを製造する場合は、平板の表面に回折格子を機械加工するために、非常に高精度の加工機械と加工制御技術が必要とされる上に、加工に長時間を要することから、製造コストが高かった。これは、上記他のマイクロ部品に関しても同様であった。
【0005】
機械加工の他に、マイクロ部品を製造する方法として、マイクロ部品用金型を使用する方法もある。このマイクロ部品用金型の製造方法としては、以下のようなものがある。
(1)製品金型そのものを機械加工により直接切削加工する方法
(2)LIGAプロセス(Lithographie Galvanoformung Abformung)(例えば、非特許文献1参照。)
(3)放電加工法
【0006】
【非特許文献1】
「表面技術」 Vol.52、No.11、2001、p.734−736
【0007】
【発明が解決しようとする課題】
しかしながら、上記各製造方法には、以下のような問題があった。
(1)の機械加工による方法は、加工精度に問題があり、十分な加工精度を得るためには、大型で高剛性の機械が必要であった。したがって、金型製造コストが高かった。
(2)のLIGAプロセスは、シリコンなどからなる基板上に厚いレジスト膜を形成し、その上に放射光を用いてパターニングし、そのレジストパターンを電気めっき(電気鋳造)により複写して製造するものであるが、この方法では、放射光を照射する特殊で高価な設備が必要であった。また、電気めっきによって製造される金型は、金やニッケルなどの比較的柔らかい材料に限られているため、高精度の金型を製造することができなかった。
(3)の放電加工方法は、例えば、WEDG法と呼ばれる方法によって調製された電極を用い、金型の加工を行う方法であるが、この方法では、電極の消耗が激しく、長時間の加工では電極の交換を頻繁に行わなければならないため、加工精度を高くすることが困難であった。また、電極の交換を行うため、金型制作費が膨大となっていた。さらに、放電加工は熱加工のため、得られた金型はその表面粗さが粗いものとなっていた。
【0008】
本発明は、前記事情に鑑みてなされたもので、製造コストが安価でかつ高い精度を有し、しかも表面層の硬度が高いマイクロ部品用金型およびその製造方法を提供することを課題とする。
【0009】
【課題を解決するための手段】
本発明は、少なくとも表面層に硬質皮膜が形成されためっき金属からなるマイクロ部品用金型を提供する。
本発明は、前記硬質皮膜は、傾斜分布組成を有するマイクロ部品用金型を提供する。
本発明は、前記硬質皮膜は、窒化チタンを含むチタン膜からなり、該窒化チタンの濃度が前記硬質皮膜の表層から内部に向かって次第に低下しているマイクロ部品用金型を提供する。
本発明は、基板の表面を加工してマイクロ部品用金型の原型を調製し、次いで、該マイクロ部品用金型の原型の表面に硬質皮膜を形成し、そして、該硬質皮膜の表面に無電解めっきおよび電解めっき、あるいは無電解めっきにより、めっき金属形成して、該めっき金属と前記硬質皮膜とを密着させることにより、該めっき金属に前記硬質皮膜を介して前記マイクロ部品用金型の原型を転写し、前記マイクロ部品用金型の原型を除去してマイクロ部品用金型を得るマイクロ部品用金型の製造方法を提供する。
本発明は、基板の表面にフォトリソグラフィ法によって前記マイクロ部品用金型の原型のレジストパターンを形成し、次いで、該レジストパターンの表面に硬質皮膜を形成し、そして、該硬質皮膜の表面に無電解めっきおよび電解めっき、あるいは無電解めっきにより、めっき金属形成して、該めっき金属と前記硬質皮膜とを密着させることにより、該めっき金属に前記硬質皮膜を介して前記マイクロ部品用金型の原型を転写し、前記マイクロ部品用金型の原型を除去してマイクロ部品用金型を得るマイクロ部品用金型の製造方法を提供する。
本発明は、上記マイクロ部品用金型の製造方法において、前記硬質皮膜を形成した後、該硬質皮膜の表面にめっき触媒層を形成して、該めっき触媒層の表面に少なくとも無電解めっきによりめっき金属層を形成するマイクロ部品用金型の製造方法を提供する。
本発明は、前記硬質皮膜を形成する硬質形成物質の濃度を、前記基板の表面から前記めっき金属側に向けて低下させるマイクロ部品用金型の製造方法を提供する。
本発明は、前記基板はシリコンからなり、前記硬質形成物質は窒化チタンからなるマイクロ部品用金型の製造方法を提供する。
【0010】
【発明の実施の形態】
以下、本発明を詳しく説明する。
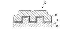
図1および図2は、本発明のマイクロ部品用金型の第1の実施形態を示す断面図である。
この実施形態のマイクロ部品用金型10は、表面層をなす硬質皮膜11と、硬質皮膜11上に形成されためっき触媒層12と、めっき触媒層12を介して硬質皮膜11上に形成された無電解めっき金属層13と、この無電解めっき金属層13上に形成された電解めっき金属層14とからなる積層構造をなすものである。ここでは、マイクロ部品用金型の製造方法も説明するために、シリコン基板20上に形成されたマイクロ部品用金型10を示している。
【0011】
硬質皮膜11は、高硬度の窒化チタン(TiN)を含むチタン膜からなるものである。また、硬質皮膜11は、TiN濃度が、硬質皮膜11とめっき触媒層12とが接する面に向かって次第に低くなっており、硬質皮膜11のめっき触媒層12と接する面においては、実質的に純Tiのみが存在する傾斜分布組成となっている。
硬質皮膜11の厚みは、目的とするマイクロ部品用金型10の厚みに応じて適宜設定されるが、1μm以上であることが好ましい。硬質皮膜11の厚みが1μm以上であれば、マイクロ部品用金型10の強度(剛性)が高くなり、所望の金型形状が保持される。
【0012】
めっき触媒層12は、硬質皮膜11上に無電解めっき層13を析出させる初期反応を起こさせるために設けられたものである。
めっき触媒層12を形成する材料としては、鉄、ニッケル、パラジウムなどが挙げられるが、これらの中でも、無電解めっきの初期反応の反応性が高いことなどから、パラジウムが好ましく用いられる。
なお、めっき触媒層12は、硬質皮膜11上に無電解めっき層13を析出させる初期反応を起こさせる触媒としての役割を果たすために形成されたものであるから、僅かに存在していればよく、その厚さは0.02μm以上あればよい。
【0013】
無電解めっき金属層13は、無電解ニッケルめっき、無電解コバルトめっき、無電解銅めっき、無電解金めっき、無電解スズめっきなどで形成されている。これらの中でも、耐食性が高く、硬度が非常に高いことなどから、無電解めっき金属層13は無電解ニッケルめっきで形成されていることが好ましい。無電解めっきは、均一な膜厚のめっき層が得られるので、マイクロ部品用金型のように高い寸法精度が要求されるような用途には、好適である。
無電解めっき金属層13の厚みは、目的とするマイクロ部品用金型10の厚みや、硬質皮膜11の厚みに応じて適宜設定されるが、30μm以上であることが好ましい。無電解めっき金属層13の厚みが30μm以上であれば、マイクロ部品用金型10の強度(剛性)が高くなり、所望の金型形状が保持される。
【0014】
無電解めっき金属層13を形成する無電解ニッケルめっきとしては、例えば、無電解ニッケル−リンめっき(中リン)、無電解ニッケル−リンめっき(低リン)、無電解ニッケル−リンめっき(高リン)、無電解ニッケル−ホウ素めっき、無電解ニッケル−タングステンめっきなどが挙げられる。特に、無電解ニッケル−リンめっきでは、使用するリンの量に応じて、めっきの硬度を調製することができ、リンの量が少ないと軟らかく、リンの量が多いと硬くなる。なお、リンの量が多いと硬くなるが、それに加えて脆くなるので、無電解ニッケル−リンめっき(中リン)で、無電解めっき金属層13を形成することが好ましい。
【0015】
無電解ニッケル−リンめっき(中リン)を形成するには、めっき液の組成を、例えば、硫酸ニッケル21g/L、錯化剤、次亜リン酸ナトリウム21g/L、pH緩衝剤、安定剤などからなるものとする。
錯化剤としては、酢酸、クエン酸、有機酸などが用いられる。
pH緩衝剤としては、酢酸、プロピオン酸などが用いられる。
安定剤としては、微量の鉛などが用いられる。
【0016】
電解めっき金属層14は、電解銅めっき、電解ニッケルめっき、電解クロムめっき、電解亜鉛めっき、電解スズめっき、電解金めっき、電解銀めっきなどで形成されている。これらの中でも、形成時間が短く、安価であることなどから、電解めっき金属層14は電解ニッケルめっきで形成されていることが好ましい。
電解めっき金属層14の厚みは、目的とするマイクロ部品用金型10の厚みに応じて適宜設定され、所望のマイクロ部品用金型10の形状が得られる程度の厚みさえあれば特に限定されるものではない。
【0017】
電解めっき金属層14を形成する電解ニッケルめっき液の組成を、例えば、硫酸ニッケル200〜400g/L、塩化ニッケル30〜60g/L、ホウ酸30〜40g/L、添加剤などからなるものとする。
【0018】
この実施形態のマイクロ部品用金型10は、表面層として、TiNを含むチタン膜からなる硬質皮膜11が形成されているから、金型の形状が長期に渡って保持され、金型の寿命が長くなる。
さらに、硬質の無電解めっき金属層13が形成されているから、硬質皮膜11のみが形成されている場合よりも、金型の寿命が長くなる。
【0019】
次に、この実施形態のマイクロ部品用金型の製造方法を説明する。
この実施形態のマイクロ部品用金型10を製造するには、先ず、シリコン基板の表面にフォトレジストを所定の厚さに塗布する。次いで、このシリコン基板上にマスクを配置し、マスクを介してシリコン基板の表面に光を照射して、マスクパターンをフォトレジストに転写する。次いで、光が当たった部分のフォトレジストを溶剤によって除去する。次いで、イオン照射などのドライエッチングによりシリコン基板の表面を所定深さにエッチングして、シリコン基板の表面にレジストパターンに対応した溝を形成する。次いで、残存するフォトレジストを除去し、表面に所望のマイクロ部品用金型形状を有するシリコン基板20を得る。
【0020】
次いで、このシリコン基板20の表面に、反応性スパッタリングによりTiNを所定の厚さに蒸着させて、硬質皮膜11を形成し、マイクロ部品用金型の原型の表層部を調製する。硬質皮膜11は、スパッタリング条件を調整して、めっき触媒層12と接する側の表層に向かってTiN濃度が低くなり、めっき触媒層12と接する表面は、実質的に純Tiとなる傾斜分布組成となるように形成する。
【0021】
次いで、硬質皮膜11の表面に、スパッタリングによりパラジウムなどを所定の厚さに蒸着させて、めっき触媒層12を形成する。
【0022】
次いで、硬質皮膜11およびめっき触媒層12が形成されたシリコン基板20を、無電解めっき浴に浸漬し、めっき浴の温度を90℃とし、めっき浴を攪拌しながらめっきを成長させて、所定厚さの無電解めっき金属層13を形成する。
【0023】
次いで、硬質皮膜11、めっき触媒層12および無電解めっき金属層13が形成されたシリコン基板20を、pH3.0〜4.5に調整した電解めっき浴に浸漬し、めっき浴の温度を40〜60℃とし、めっき浴を空気攪拌しながら、電流密度1〜10A/dm2で、めっきを成長させて、所定厚さの電解めっき金属層14を形成する。
【0024】
次いで、ウェットエッチング、機械的に削り取る方法などによって、シリコン基板20を除去して、マイクロ部品用金型10を得る。
【0025】
この実施形態のマイクロ部品用金型の製造方法では、反応性スパッタリングにより、シリコン基板20の表面にTiNを含むチタン膜からなる硬質皮膜11を形成するため、マイクロ部品用金型10にナノオーダーの形状を転写することができ、結果として、高精度にシリコン基板20の凹凸形状を転写することができる。
また、無電解めっき金属層13を形成する面に、無電解めっきの触媒となるパラジウムなどからなるめっき触媒層12が存在することにより、無電解めっきの初期反応の反応性が高くなり、より容易に無電解めっき金属層13を形成することができる。
さらに、無電解めっき金属層13は、電解めっき時の電気伝導膜として機能するから、電解めっき金属層14を形成する面に電気伝導性を確保することができる。したがって、より容易に電解めっき金属層14を形成することができる。
【0026】
なお、このマイクロ部品用金型の製造方法では、表面に所望のマイクロ部品用金型形状を有するシリコン基板20を用いたが、本発明のマイクロ部品用金型の製造方法はこれに限定されない。図3に示すように、シリコン基板21の表面に、フォトレジストを比較的厚く塗布し、このフォトレジストをパターニングすることにより、レジスト自体に形状を形成して、所望のマイクロ部品用金型形状を有するレジスト膜22を形成してもよい。
また、シリコン基板21の代わりに、ガラス基板を用いてもよい。
【0027】
図4は、本発明のマイクロ部品用金型の第2の実施形態を示す断面図である。この実施形態では、上記第1の実施形態とは、無電解めっき金属層13が表面層をなしている点が異なっている。図4において、図1に示した第1の実施形態の構成要素と同じ構成要素には同一符号を付して、その説明を省略する。
【0028】
この実施形態のマイクロ部品用金型10では、表面層としてTiNを含むチタン膜からなる硬質皮膜を形成せずに、無電解めっき層13のみが形成されている。めっき触媒層12は、マイクロ部品用金型の形状を保持する程の強度を有していないから、所望のマイクロ部品用金型の形状を保持するためには、無電解めっき層13の厚みが30μm以上であることが好ましい。
【0029】
この実施形態のマイクロ部品用金型10では、TiNを含むチタン膜からなる硬質皮膜を形成していなが、無電解めっき金属層13の厚みを、第1の実施形態よりも僅かに厚くすることにより、金型の形状が長期に渡って保持され、金型の寿命が長くなる。
【0030】
この実施形態のマイクロ部品用金型10を製造するには、上述の第1の実施形態と同様の製造方法で製造されるが、TiNを含むチタン膜からなる硬質皮膜を形成する必要がないから、工程が簡略化され、より低コストでマイクロ部品用金型10を製造することができる。
【0031】
図5は、本発明のマイクロ部品用金型の第3の実施形態を示す断面図である。この実施形態では、上記第1の実施形態とは、電解めっき金属層14が形成されていない点が異なっている。図5において、図1に示した第1の実施形態の構成要素と同じ構成要素には同一符号を付して、その説明を省略する。
【0032】
この実施形態のマイクロ部品用金型10では、硬質皮膜11およびめっき触媒層12の上に、無電解めっき層13のみが形成されている。したがって、所望のマイクロ部品用金型の形状を保持するために、無電解めっき層13の厚みが100μm以上であることが好ましい。
【0033】
この実施形態のマイクロ部品用金型10では、比較的軟質の電解めっき層が形成されておらず、硬質の硬質皮膜11および無電解めっき層13が形成されているから、より高硬度のマイクロ部品用金型10が得られ、より金型の形状が長期に渡って保持され、金型の寿命が長くなる。ゆえに、この実施形態のマイクロ部品用金型10は、より高精度、高耐久性の要求される用途に好適である。
【0034】
この実施形態のマイクロ部品用金型10も、上述の第1の実施形態と同様の製造方法で製造される。
【0035】
【発明の効果】
以上説明したように、本発明のマイクロ部品用金型は、表面層として、TiNを含むチタン膜からなる硬質皮膜または硬質の無電解めっき金属層、あるいは、硬質皮膜および硬質の無電解めっき金属層が形成されているから、金型の形状が長期に渡って保持され、金型の寿命が長くなる。
本発明のマイクロ部品用金型の製造方法によれば、所望の金型形状を有するシリコン基板などの表面にTiNを含むチタン膜からなる硬質皮膜を形成するため、マイクロ部品用金型にナノオーダーの形状を転写することができ、結果として、高精度に所望の金型形状を転写することができる。また、無電解めっき金属層を形成する面に、無電解めっきの触媒となるパラジウムなどからなるめっき触媒層が存在するから、無電解めっきの初期反応の反応性が高くなる。さらに、無電解めっき金属層は、電解めっき時の電気伝導膜として機能するから、電解めっき金属層を形成する面に電気伝導性を確保することができる。
【図面の簡単な説明】
【図1】本発明のマイクロ部品用金型の第1の実施形態を示す断面図である。
【図2】本発明のマイクロ部品用金型の第1の実施形態を示す断面図である。
【図3】本発明のマイクロ部品用金型の第1の実施形態の製造方法を示す断面図である。
【図4】本発明のマイクロ部品用金型の第2の実施形態を示す断面図である。
【図5】本発明のマイクロ部品用金型の第3の実施形態を示す断面図である。
【図6】回折格子を形成した分光デバイスを示す部分断面図である。
【図7】エンコーダー用スケールを示す部分断面図である。
【符号の説明】
10・・・マイクロ部品用金型、11・・・硬質皮膜、12・・・めっき触媒層、13・・・無電解めっき金属層、14・・・電解めっき金属層、20・・・シリコン基板、21・・・ガラス基板、22・・・レジスト膜[0001]
TECHNICAL FIELD OF THE INVENTION
The present invention relates to a metal mold for a micro component and a method for manufacturing the same, and more particularly to a metal mold for a micro component having a low manufacturing cost, high accuracy, and high surface hardness, and a method for manufacturing the same.
[0002]
[Prior art]
Examples of the micro component include a spectral device having a diffraction grating, a scale for an encoder, a Fresnel lens, and a micro lens.
For example, as shown in FIG. 6, a spectral device having a diffraction grating has a diffraction grating formed at a fine pitch on the
[0003]
The encoder scale is, for example, a flat scale having fine irregularities formed on the surface of the
The Fresnel lens is a lens in which grooves formed at regular intervals on the surface of a flat plate are formed in a lens shape, and extracts light from a plane direction in a direction perpendicular to the plane.
The microlenses are formed by forming an aggregate of fine lenses on a flat substrate, enabling collective optical alignment, and also enabling manufacture of a compound eye lens.
[0004]
Conventionally, the above-mentioned micro component has been manufactured by directly cutting the product itself by machining, or by patterning the product on a glass or silicon by a photolithography method and then etching the product.
For example, when manufacturing the above-mentioned spectral device, in order to machine a diffraction grating on the surface of a flat plate, a very high-precision processing machine and processing control technology are required, and processing takes a long time. Therefore, the manufacturing cost was high. This was the same for the other micro components described above.
[0005]
In addition to machining, as a method of manufacturing a micro component, there is a method of using a micro component mold. As a method of manufacturing the micro component mold, there is the following method.
(1) A method of directly cutting a product die itself by machining (2) LIGA process (Lithographie Galvanoformung Abformung) (for example, see Non-Patent Document 1).
(3) Electric discharge machining method
[Non-patent document 1]
“Surface Technology” Vol. 52, no. 11, 2001, p. 734-736
[0007]
[Problems to be solved by the invention]
However, each of the above manufacturing methods has the following problems.
The method of (1) by machining has a problem in machining accuracy, and a large-sized, high-rigidity machine is required in order to obtain sufficient machining accuracy. Therefore, the mold manufacturing cost was high.
The LIGA process (2) is a process in which a thick resist film is formed on a substrate made of silicon or the like, patterned using radiation light, and the resist pattern is copied by electroplating (electroforming). However, this method requires special and expensive equipment for irradiating the emitted light. In addition, since a mold manufactured by electroplating is limited to a relatively soft material such as gold or nickel, a highly accurate mold cannot be manufactured.
The electric discharge machining method (3) is, for example, a method of machining a metal mold using an electrode prepared by a method called a WEDG method. Since the electrodes must be replaced frequently, it has been difficult to increase the processing accuracy. In addition, since the electrodes are exchanged, the cost of mold production is enormous. Furthermore, since the electrical discharge machining was performed by thermal machining, the obtained mold had a rough surface roughness.
[0008]
The present invention has been made in view of the above circumstances, and it is an object of the present invention to provide a micropart mold having a low manufacturing cost and high accuracy, and a high hardness of a surface layer, and a method of manufacturing the same. .
[0009]
[Means for Solving the Problems]
The present invention provides a metal mold for a micro component comprising a plated metal having a hard film formed on at least a surface layer.
The present invention provides a mold for microparts, wherein the hard coating has a gradient distribution composition.
The present invention provides a micro component mold in which the hard coating is formed of a titanium film containing titanium nitride, and the concentration of the titanium nitride is gradually reduced from the surface layer of the hard coating toward the inside.
In the present invention, a surface of a substrate is processed to prepare a mold for a micro component mold, and then a hard film is formed on the surface of the mold for the micro component mold, and a hard film is formed on the surface of the hard film. By forming a plating metal by electrolytic plating and electrolytic plating, or electroless plating, and bringing the plating metal into close contact with the hard film, a prototype of the micro component mold is formed on the plating metal via the hard film. And a method for manufacturing a mold for a micro component to obtain a mold for a micro component by removing the original mold of the mold for the micro component.
According to the present invention, a resist pattern of a prototype of the mold for micro parts is formed on a surface of a substrate by a photolithography method, a hard film is formed on the surface of the resist pattern, and a hard film is formed on a surface of the hard film. By forming a plating metal by electrolytic plating and electrolytic plating, or by electroless plating, and bringing the plating metal into close contact with the hard film, a prototype of the micro component mold is formed on the plating metal via the hard film. And a method for manufacturing a mold for a micro component to obtain a mold for a micro component by removing the original mold of the mold for the micro component.
The present invention provides the method for manufacturing a mold for a micro component, wherein, after forming the hard coating, a plating catalyst layer is formed on the surface of the hard coating, and the surface of the plating catalyst layer is plated by at least electroless plating. Provided is a method for manufacturing a metal mold for forming a metal layer.
The present invention provides a method for manufacturing a mold for a micro component, in which the concentration of a hard forming substance forming the hard film is reduced from the surface of the substrate toward the plating metal side.
The present invention provides a method for manufacturing a micro component mold, wherein the substrate is made of silicon and the hard forming material is made of titanium nitride.
[0010]
BEST MODE FOR CARRYING OUT THE INVENTION
Hereinafter, the present invention will be described in detail.
1 and 2 are sectional views showing a first embodiment of a mold for a micro component of the present invention.
The
[0011]
The
The thickness of the
[0012]
The
Examples of the material for forming the
Note that the
[0013]
The electroless
The thickness of the electroless
[0014]
Examples of the electroless nickel plating for forming the electroless
[0015]
To form electroless nickel-phosphorus plating (medium phosphorus), the composition of the plating solution is, for example, nickel sulfate 21 g / L, complexing agent, sodium hypophosphite 21 g / L, pH buffer, stabilizer, etc. Shall consist of
Acetic acid, citric acid, organic acids and the like are used as complexing agents.
Acetic acid, propionic acid and the like are used as the pH buffer.
As a stabilizer, a trace amount of lead or the like is used.
[0016]
The electrolytic
The thickness of the electroplated
[0017]
The composition of the electrolytic nickel plating solution for forming the electrolytic
[0018]
In the
Further, since the hard electroless plating
[0019]
Next, a method of manufacturing the micro component mold according to this embodiment will be described.
In order to manufacture the
[0020]
Next, TiN is vapor-deposited on the surface of the
[0021]
Next, palladium or the like is vapor-deposited to a predetermined thickness on the surface of the
[0022]
Next, the
[0023]
Next, the
[0024]
Next, the
[0025]
In the manufacturing method of the micro component mold of this embodiment, the
In addition, the presence of the
Further, since the electroless
[0026]
In the method of manufacturing the micro component mold, the
Further, instead of the
[0027]
FIG. 4 is a cross-sectional view showing a second embodiment of the mold for a micro component of the present invention. This embodiment is different from the first embodiment in that the electroless
[0028]
In the
[0029]
In the
[0030]
In order to manufacture the
[0031]
FIG. 5 is a sectional view showing a third embodiment of the mold for a micro component of the present invention. This embodiment is different from the first embodiment in that the
[0032]
In the
[0033]
In the
[0034]
The
[0035]
【The invention's effect】
As described above, the mold for a micro component of the present invention has, as a surface layer, a hard coating or a hard electroless plating metal layer made of a titanium film containing TiN, or a hard coating and a hard electroless plating metal layer. Is formed, the shape of the mold is maintained for a long time, and the life of the mold is prolonged.
According to the method of manufacturing a mold for a micro component of the present invention, a hard film made of a titanium film containing TiN is formed on the surface of a silicon substrate or the like having a desired mold shape. Can be transferred, and as a result, a desired mold shape can be transferred with high accuracy. Further, since a plating catalyst layer made of palladium or the like serving as a catalyst for electroless plating is present on the surface on which the electroless plating metal layer is formed, the reactivity of the initial reaction of electroless plating is increased. Furthermore, since the electroless plating metal layer functions as an electric conductive film at the time of electrolytic plating, electric conductivity can be secured on the surface on which the electrolytic plating metal layer is formed.
[Brief description of the drawings]
FIG. 1 is a sectional view showing a first embodiment of a mold for a micro component of the present invention.
FIG. 2 is a cross-sectional view showing a first embodiment of a mold for a micro component of the present invention.
FIG. 3 is a cross-sectional view showing the method for manufacturing the micro component mold according to the first embodiment of the present invention.
FIG. 4 is a cross-sectional view showing a second embodiment of the mold for a micro component of the present invention.
FIG. 5 is a cross-sectional view showing a third embodiment of the mold for a micro component of the present invention.
FIG. 6 is a partial cross-sectional view showing a spectral device on which a diffraction grating is formed.
FIG. 7 is a partial cross-sectional view showing an encoder scale.
[Explanation of symbols]
DESCRIPTION OF
| Application Number | Priority Date | Filing Date | Title |
|---|---|---|---|
| JP2002271637AJP4098044B2 (en) | 2002-09-18 | 2002-09-18 | Manufacturing method of mold for micro parts |
| Application Number | Priority Date | Filing Date | Title |
|---|---|---|---|
| JP2002271637AJP4098044B2 (en) | 2002-09-18 | 2002-09-18 | Manufacturing method of mold for micro parts |
| Publication Number | Publication Date |
|---|---|
| JP2004106341Atrue JP2004106341A (en) | 2004-04-08 |
| JP4098044B2 JP4098044B2 (en) | 2008-06-11 |
| Application Number | Title | Priority Date | Filing Date |
|---|---|---|---|
| JP2002271637AExpired - Fee RelatedJP4098044B2 (en) | 2002-09-18 | 2002-09-18 | Manufacturing method of mold for micro parts |
| Country | Link |
|---|---|
| JP (1) | JP4098044B2 (en) |
| Publication number | Priority date | Publication date | Assignee | Title |
|---|---|---|---|---|
| JP2008044328A (en)* | 2006-08-21 | 2008-02-28 | Yamaha Corp | Manufacturing method of fine mold |
| Publication number | Priority date | Publication date | Assignee | Title |
|---|---|---|---|---|
| JP2008044328A (en)* | 2006-08-21 | 2008-02-28 | Yamaha Corp | Manufacturing method of fine mold |
| Publication number | Publication date |
|---|---|
| JP4098044B2 (en) | 2008-06-11 |
| Publication | Publication Date | Title |
|---|---|---|
| US8070970B2 (en) | UV-LIGA process for fabricating a multilayer metal structure having adjacent layers that are not entirely superposed, and the structure obtained | |
| CN101243209B (en) | Microfabrication using replicated patterned topography and self-assembled monolayers | |
| KR100431676B1 (en) | Microstructure array, and methods of fabricating a microstructure array, a mold for forming a microstructure array, and a microlens array | |
| CN101918617B (en) | Method for manufacturing a metal microstructure and microstructure obtained by this method | |
| JP3959763B2 (en) | Manufacturing method of micro mechanical element | |
| CN102459713B (en) | Method for manufacturing a metal microstructure and microstructure obtained according to said method | |
| CN101517130A (en) | Method for manufacturing electroformed mold, electroformed mold, and method for manufacturing electroformed parts | |
| JP2001001349A (en) | Microlens mold or mold master, and method for producing them | |
| CN102758226B (en) | Accurate electroplating machining method for long-grating roller stamping mould for machine tool | |
| JP2008230083A (en) | Stamper manufacturing method | |
| JP4098044B2 (en) | Manufacturing method of mold for micro parts | |
| JP2019070193A (en) | Die for electric plating and production process of the same | |
| CN101169589A (en) | Method for manufacturing light guide plate mold core | |
| JP4836522B2 (en) | Electroforming mold, electroforming mold manufacturing method, and electroformed component manufacturing method | |
| JP2006297571A (en) | Method for manufacturing micro metallic structure, and micro metallic structure | |
| JP2006028604A (en) | Fine shape transfer method, mold manufacturing method, mold surface treatment method and mold | |
| JP2006299371A (en) | Method for producing fine metal structure, and fine metal structure | |
| JP3548511B2 (en) | Die for diffractive optical element, diffractive optical element, and method of manufacturing the same | |
| JPH09300573A (en) | Electroformed thin metal plate and method for manufacturing the same | |
| JP4674735B2 (en) | Method for producing electroformed metal | |
| US20050276914A1 (en) | Method for manufacturing light guide plate mold cores | |
| KR100343886B1 (en) | Replication Method of Molybdenum metal-mould Stemper | |
| CN114929942A (en) | Electroforming process | |
| JP2001026895A (en) | Main mold for electroforming, its manufacture and manufacture of structural body having projection part using main mold for electroforming | |
| CN100419128C (en) | Heat sink manufacturing device and manufacturing method thereof |
| Date | Code | Title | Description |
|---|---|---|---|
| A621 | Written request for application examination | Free format text:JAPANESE INTERMEDIATE CODE: A621 Effective date:20041216 | |
| A977 | Report on retrieval | Free format text:JAPANESE INTERMEDIATE CODE: A971007 Effective date:20060804 | |
| A131 | Notification of reasons for refusal | Free format text:JAPANESE INTERMEDIATE CODE: A131 Effective date:20060815 | |
| A521 | Written amendment | Free format text:JAPANESE INTERMEDIATE CODE: A523 Effective date:20061013 | |
| A131 | Notification of reasons for refusal | Free format text:JAPANESE INTERMEDIATE CODE: A131 Effective date:20071016 | |
| A521 | Written amendment | Free format text:JAPANESE INTERMEDIATE CODE: A523 Effective date:20071217 | |
| TRDD | Decision of grant or rejection written | ||
| A01 | Written decision to grant a patent or to grant a registration (utility model) | Free format text:JAPANESE INTERMEDIATE CODE: A01 Effective date:20080304 | |
| A61 | First payment of annual fees (during grant procedure) | Free format text:JAPANESE INTERMEDIATE CODE: A61 Effective date:20080312 | |
| R150 | Certificate of patent or registration of utility model | Free format text:JAPANESE INTERMEDIATE CODE: R150 | |
| FPAY | Renewal fee payment (event date is renewal date of database) | Free format text:PAYMENT UNTIL: 20110321 Year of fee payment:3 | |
| FPAY | Renewal fee payment (event date is renewal date of database) | Free format text:PAYMENT UNTIL: 20120321 Year of fee payment:4 | |
| FPAY | Renewal fee payment (event date is renewal date of database) | Free format text:PAYMENT UNTIL: 20130321 Year of fee payment:5 | |
| FPAY | Renewal fee payment (event date is renewal date of database) | Free format text:PAYMENT UNTIL: 20130321 Year of fee payment:5 | |
| FPAY | Renewal fee payment (event date is renewal date of database) | Free format text:PAYMENT UNTIL: 20140321 Year of fee payment:6 | |
| R250 | Receipt of annual fees | Free format text:JAPANESE INTERMEDIATE CODE: R250 | |
| R250 | Receipt of annual fees | Free format text:JAPANESE INTERMEDIATE CODE: R250 | |
| R250 | Receipt of annual fees | Free format text:JAPANESE INTERMEDIATE CODE: R250 | |
| LAPS | Cancellation because of no payment of annual fees |