Movatterモバイル変換


[0]ホーム

URL:


JP2004095745A - Semiconductor device and method for manufacturing the same - Google Patents

Semiconductor device and method for manufacturing the same
Download PDF

Info

Publication number
JP2004095745A
JP2004095745AJP2002253094AJP2002253094AJP2004095745AJP 2004095745 AJP2004095745 AJP 2004095745AJP 2002253094 AJP2002253094 AJP 2002253094AJP 2002253094 AJP2002253094 AJP 2002253094AJP 2004095745 AJP2004095745 AJP 2004095745A
Authority
JP
Japan
Prior art keywords
semiconductor substrate
layer
groove
insulating film
diffusion layer
Prior art date
Legal status (The legal status is an assumption and is not a legal conclusion. Google has not performed a legal analysis and makes no representation as to the accuracy of the status listed.)
Pending
Application number
JP2002253094A
Other languages
Japanese (ja)
Inventor
Masahiro Uejima
上島 正弘
Current Assignee (The listed assignees may be inaccurate. Google has not performed a legal analysis and makes no representation or warranty as to the accuracy of the list.)
Sony Corp
Original Assignee
Sony Corp
Priority date (The priority date is an assumption and is not a legal conclusion. Google has not performed a legal analysis and makes no representation as to the accuracy of the date listed.)
Filing date
Publication date
Application filed by Sony CorpfiledCriticalSony Corp
Priority to JP2002253094ApriorityCriticalpatent/JP2004095745A/en
Publication of JP2004095745ApublicationCriticalpatent/JP2004095745A/en
Pendinglegal-statusCriticalCurrent

Links

Images

Landscapes

Abstract

<P>PROBLEM TO BE SOLVED: To reduce the resistance of a word line(gate electrode), to suppress joint leak, to ensure the breakdown voltage of a gate insulating film, to suppress short channel effects by extending effective channel length, and to stabilize the transistor characteristics. <P>SOLUTION: This semiconductor device is constituted of a semiconductor substrate 11, a groove 14 formed in the semiconductor substrate 11, a channel diffused layer 15 formed in the semiconductor substrate 11 at the bottom of the groove 14, a word line(gate electrode) 18 buried through a gate insulating film 16 in the groove 14, a groove 183 formed at the groove 14 side wall at the upper part of the word line 18, a side wall insulating film 20 formed at the wide wall of the groove 14 on the word line 18 buried in the groove 183, a diffused layer 19 formed at the surface side of the semiconductor substrate 11 at the groove 14 side wall, and a silicide layer 21 formed in the upper layer of the word line 18 positioned higher than the bottom of the side wall insulating film 20. <P>COPYRIGHT: (C)2004,JPO

Description

Translated fromJapanese

【0001】
【発明の属する技術分野】
本発明は、半導体装置およびその製造方法に関し、詳しくはDRAM(Dynamic Random Access Memory)からなる半導体装置およびその製造方法、ならびにDRAMとロジック素子とを混載した半導体装置およびその製造方法に関する。
【0002】
【従来の技術】
年々加速される微細化競争によって、特に大容量のDRAMと高速ロジック素子とを1チップに搭載する複合デバイスの開発が行われている。その構成の一例としては、DRAMのメモリセルゲートを基板上に積み上げ、メモリセルトランジスタの拡散層の取り出しには、いわゆるセルフアラインコンタクトを用い、一方、ロジック素子はセルフアラインコンタクトを用いずに形成するという構成のものである。
【0003】
【発明が解決しようとする課題】
しかしながら、積み上げ型のDRAMもさまざまな問題が顕在化してきている。
【0004】
トランジスタ性能を維持するため、DRAMメモリセルの縮小とともに基板濃度はますます高くなり、それにともない、DRAM領域の接合リークも厳しくなっている。このため、メガビット級のDRAMでは、接合リークを抑制することが困難になってきている。すなわち、従来は余裕を持って制御可能であったDRAMのデータ保持特性の維持が困難なものとなってきている。
【0005】
また、DRAMセルの縮小化にともない、拡散層と取り出し電極との接触面積が狭くなり、世代ごとに2倍の勢いでコンタクト抵抗が上昇するようになっている。例えば0.1μm以降の世代では、このコンタクト抵抗が数kΩになることが予想され、メモリセルのワードトランジスタのオン抵抗に匹敵してくるようになると予想される。したがって、セルトランジスタのみならず、このコンタクト抵抗のばらつきがDRAM動作に厳しく影響してくるようになり、製造上、一層の精密性が要求されるようになって来ている。
【0006】
また、DRAMセルの縮小化にともない、ワード線とその脇に形成される拡散層の取り出しコンタクトとの層間絶縁距離は世代ごとに近づきつつある。メガビット級のDRAMを製造する上で、この耐圧を確保するためには20nm〜30nmが限界の距離といわれている。そのため、0.1μm以降の世代のDRAMでは、この耐圧限界距離以下の距離で拡散層の取り出しコンタクトを形成することが必要になってしまう。
【0007】
従来は、タングステンシリサイド(WSi2 )/ドープトポリシリコンのポリサイド構造を採用することで遅延を押さえてきたDRAMのワード線も、近年の微細化とともに、アスペクト比を低く保つことが困難となり、また、ワード線の遅延を抑えるための十分な低抵抗を得ることが困難となってきた。特に高速動作を要求される積み上げDRAMなどでは、このワード線遅延がDRAMのアクセスタイムに影響する深刻な問題となる。ゲートの抵抗を下げる技術として、サリサイドによる配線の低抵抗化が実用化されている。しかしながら、DRAMメモリセルのゲートに適用するためには、オフセット酸化シリコン膜を使えなくなることによるDRAMメモリセル縮小化の障害とデータ保持特性の維持のために、DRAMの拡散層にはサリサイドを形成しないプロセスを必要とするなどの困難から通常は採用できない。
【0008】
また、DRAMの記憶ノードコンタクトもそのセルサイズから余裕の無い開口が必須であり、拡散層コンタクトと同様、耐圧限界での開口が必要となり、その狭いコンタクト径で抵抗上昇を効率的に抑制する技術が必要になっている。
【0009】
一方、ロジック部のトランジスタ性能の向上も目覚しく、特にpチャネルトランジスタのオフリークを抑制するp+ ゲート電極が一般に用いられるように成ってきている。ところがこのp+ ゲートは、不純物のホウ素が熱処理によって基板側に拡散してしまう。いわゆる「突き抜け」の問題を含んでおり、pチャネルトランジスタの特性ばらつきやゲート電極の空乏化といった深刻な問題を引き起こすことが知られている。したがって、DRAM形成工程の熱処理温度は極力抑えたい。
【0010】
以上説明したように、今後の0.1μm世代以降では、pチャネルトランジスタの特性ばらつきやゲート電極の空乏化といった問題に対する何らかの対策が必要となり、チップの性能トレンドを維持するためには、積み上げ型のDRAM構造の抜本的な改良が必要となると予想される。本願発明は、この対策として開発されたDRAM部のワード線を基板に形成した「溝」に埋め込む、トレンチ・アクセス・トランジスタ(Trench Access Transistor:TAT)DRAMセルをさらに改良したものである。すなわち、ゲート電極上に形成されたシリサイドとゲート絶縁膜との物理的距離を確保して、ゲート絶縁耐圧の劣化を抑制するものである。
【0011】
上記TAT・DRAMセルにおいて、ゲート電極に形成されたシリサイド層とゲート絶縁膜との物理的距離を確保するためには、DRAM部のゲート電極を形成する溝の側壁に形成される窒化シリコン膜からなるでサイドウォール絶縁膜を厚く形成する必要がある。しかしながら、サイドウォール絶縁膜の膜厚を厚く形成すると、DRAM部のゲート電極の配線抵抗が上昇してしまうという副作用が生じる。このため、デバイス特性への副作用なく、ゲート電極上のシリサイド層とゲート絶縁膜との物理的距離を良好に確保できる方法が望まれている。
【0012】
【課題を解決するための手段】
本発明は、上記課題を解決するためになされた半導体装置およびその製造方法である。
【0013】
本発明の第1の半導体装置は、半導体基板と、前記半導体基板に形成された溝と、前記溝の底部の前記半導体基板に形成されたチャネル拡散層と、前記溝内にゲート絶縁膜を介して埋め込まれたゲート電極と、前記ゲート電極上部の前記溝側壁側に形成した溝部と、前記溝部内を埋め込み前記ゲート電極上の前記溝の側壁に形成したサイドウォール絶縁膜と、前記溝側壁の前記半導体基板表面側に形成された拡散層と、前記サイドウォール絶縁膜の底部よりも高い位置で前記ゲート電極上層に形成されたシリサイド層とを備えたものである。
【0014】
また前記第1導電層は前記第2導電層よりもエッチングレートが速い導電膜からなる。また前記素子分離領域により分離された前記半導体基板中にウエル拡散層が形成され、前記溝は前記ウエル拡散層上に前記半導体基板の一部を残した状態で前記半導体基板および前記素子分離領域に形成され、前記チャネル拡散層は前記溝の底部と前記ウエル拡散層との間の前記半導体基板に形成されている。
【0015】
上記半導体装置では、ワード線上部の溝側壁側に溝部が形成され、この溝部を埋め込むようにワード線上の溝側壁にサイドウォール絶縁膜が形成されていることから、ワード線上にシリサイド層が形成されても、シリサイド層とゲート絶縁膜との間のサイドウォール絶縁膜がオフセットになり、シリサイド層とゲート絶縁膜との距離が十分に確保されるので、ゲート絶縁耐圧の劣化が抑制される。
【0016】
上記第1の半導体装置において、チャネルが形成される溝下部とウエル拡散層との間の半導体基板にチャネル拡散層が形成されている構成では、溝とウエル拡散層との間の領域の不純物濃度は溝周囲の半導体基板の不純物濃度よりも高くなる。また、ソース・ドレインとなる拡散層下部の半導体基板濃度は極めて低くなっていることから、ソース・ドレインとなる拡散層の接合の電界が弱められるので、ppmオーダーでの接合リークの抑制が可能になり、それによって、データ保持特性が極めてよくなる。
【0017】
上記第1の半導体装置では、ゲート電極上層にシリサイド層が形成されていることから、ゲート電極の抵抗が低減され、遅延の問題が回避されて、動作速度が向上する。それとともに、ゲート電極へのコンタクト抵抗が低減される。
【0018】
しかも、半導体基板表面側に拡散層が形成され、その半導体基板に形成された溝内にゲート絶縁膜を介してワード線が埋め込まれていることから、チャネルはゲート電極が形成されている溝底部側の半導体基板を廻り込むように形成される。そのため、実効的なチャネル長が十分に確保されるため、バックバイアスを印加して、短チャネル効果が厳しいメモリ素子(例えばDRAM)のトランジスタ特性が安定化される。
【0019】
本発明の第1の半導体装置の製造方法は、素子分離領域を形成した半導体基板および前記素子分離領域のゲート電極を形成する位置に溝を形成する工程と、前記溝の底部の前記半導体基板にチャネル拡散層を形成する工程と、前記溝内および前記半導体基板上にゲート絶縁膜を形成する工程と、前記溝の内壁を含む前記半導体基板上に第1導電層を形成する工程と、前記半導体基板上に前記第1導電層を介して前記溝を埋め込む第2導電層を形成する工程と、前記溝の内部における前記第1導電層が前記第2導電層よりも低くなるように前記溝の上部および前記半導体基板上の前記第1導電層および前記第2導電層を除去して、前記溝内部に残した前記第1導電層と前記第2導電層とでゲート電極を形成するとともに、前記溝側壁と前記第2導電層との間に溝部を形成する工程と、前記溝側壁上部の前記半導体基板に拡散層を形成する工程と、前記溝部の内部を埋め込むとともに前記ゲート電極上の前記溝側壁にサイドウォール絶縁膜を形成する工程と、前記ゲート電極上層にシリサイド層を形成する工程とを備えている。
【0020】
また前記第1導電層は前記第2導電層よりもエッチングレートが速い導電膜を用いる。また前記素子分離領域により分離された前記半導体基板中にウエル拡散層を形成し、前記溝を前記ウエル拡散層上に前記半導体基板の一部を残した状態で前記半導体基板および前記素子分離領域に形成し、前記チャネル拡散層を前記溝の底部と前記ウエル拡散層との間の前記半導体基板に形成する。
【0021】
上記第1の半導体装置の製造方法では、ゲート電極上部の溝側壁側に溝部を形成し、この溝部を埋め込むようにゲート電極上の溝側壁にサイドウォール絶縁膜を形成することから、ゲート電極上にシリサイド層が形成されても、サイドウォール絶縁膜がオフセットになり、シリサイド層とゲート絶縁膜との距離は十分に確保されるので、ゲート絶縁耐圧の劣化が抑制される半導体装置となる。上記第1の半導体装置の製造方法において、チャネルが形成される溝下部とウエル拡散層との間の半導体基板にチャネル拡散層を形成する製造方法では、溝とウエル拡散層との間の領域の不純物濃度は溝周囲の半導体基板の不純物濃度よりも高くなる。また、ソース・ドレインとなる拡散層下部の半導体基板濃度は極めて低くい状態に保つことができるので、ソース・ドレインとなる拡散層の接合の電界が弱められる。このため、ppmオーダーでの接合リークの抑制が可能になり、それによって、データ保持特性が極めてよくなる半導体装置が形成される。
【0022】
さらに、ゲート電極上層にシリサイド層を形成することから、ゲート電極の抵抗が低減され、遅延の問題が回避される。それとともに、ゲート電極へのコンタクト抵抗が低減される。
【0023】
また、半導体基板表面側に拡散層を形成し、その半導体基板に形成した溝内にゲート絶縁膜を介してゲート電極を埋め込むように形成することから、チャネルはゲート電極が形成されている溝底部側の半導体基板を廻り込むように形成される。そのため、実効的なチャネル長が十分に確保されるため、バックバイアスを印加して、短チャネル効果が厳しいメモリ素子(例えばDRAM)のトランジスタ特性が安定化される。
【0024】
本発明の第2の半導体装置は、メモリ素子とロジック素子とを同一半導体基板上に形成した半導体装置において、前記メモリ素子のトランジスタは、半導体基板に形成された素子分離領域と、前記素子分離領域により分離された前記半導体基板中に形成されたウエル拡散層と、前記半導体基板および前記素子分離領域に形成されたもので前記ウエル拡散層上に前記半導体基板の一部を残した状態で形成された溝と、前記溝の底部と前記ウエル拡散層との間の前記半導体基板に形成されたチャネル拡散層と、前記溝内にゲート絶縁膜を介して埋め込まれたワード線と、前記ワード線上部の前記溝側壁側に形成した溝部と、前記溝部内を含み前記ワード線上の前記溝の側壁に形成したサイドウォール絶縁膜と、前記溝側壁の前記半導体基板表面側に形成された拡散層と、前記サイドウォール絶縁膜の底部よりも高い位置で前記ワード線上層に形成されたシリサイド層と、前記ワード線上に絶縁膜を介して前記ワード線にオーバラップする状態で前記拡散層に接続された取り出し電極とを備えたもので、前記ロジック素子のトランジスタは、前記半導体基板上に形成されたもので、ポリシリコン電極と金属系電極とが積層されたポリメタル構造のゲート電極と、前記ゲート電極の両側における前記半導体基板表面側に形成された拡散層と、前記拡散層上層に形成されたシリサイド層とを備えたものである。
【0025】
上記第2の半導体装置では、ワード線上部の溝側壁側に溝部が形成され、この溝部を埋め込むようにワード線上の溝側壁にサイドウォール絶縁膜が形成されていることから、ワード線上にシリサイド層が形成されても、シリサイド層とゲート絶縁膜との間のサイドウォール絶縁膜がオフセットになり、シリサイド層とゲート絶縁膜との距離が十分に確保されるので、ゲート絶縁耐圧の劣化が抑制される。
【0026】
上記第2の半導体装置では、チャネルが形成される溝下部とウエル拡散層との間の半導体基板にチャネル拡散層が形成されていることから、溝とウエル拡散層との間の領域の不純物濃度は溝周囲の半導体基板の不純物濃度よりも高くなる。また、ソース・ドレインとなる拡散層下部の半導体基板濃度は極めて低くなっていることから、ソース・ドレインとなる拡散層の接合の電界が弱められるので、ppmオーダーでの接合リークの抑制が可能になり、それによって、データ保持特性が極めてよくなる。
【0027】
ワード線上層にシリサイド層が形成されていることから、ワード線の抵抗が低減され、遅延の問題が回避され、動作速度が向上する。それとともに、ワード線へのコンタクト抵抗が低減される。また、ロジック素子の拡散層上にシリサイド層が形成されていることから、この拡散層へのコンタクト抵抗が低減される。
【0028】
しかも、半導体基板表面側に拡散層が形成され、その半導体基板に形成された溝内にゲート絶縁膜を介してワード線が埋め込まれていることから、チャネルはワード線が形成されている溝底部側の半導体基板を廻り込むように形成される。そのため、実効的なチャネル長が十分に確保されるため、バックバイアスを印加して、短チャネル効果が厳しいメモリ素子(例えばDRAM)のトランジスタ特性が安定化される。
【0029】
また、拡散層は、その深さ方向に不純物濃度が薄くなっていることから、メモリ素子領域の拡散層下部の半導体基板濃度をセルトランジスタに要求されるほどに濃くしなくともよいので、接合の電界が緩和され、メモリ素子のセル縮小化にともない厳しくなるデータ保持特性の性能が維持される。
【0030】
また、ゲート絶縁膜を介して半導体基板に形成された溝内に埋め込まれたワード線上に、絶縁膜を介してこのワード線にオーバラップする状態で、半導体基板表面に形成した拡散層に接続される取り出し電極が形成されていることから、ワード線上の絶縁膜を20nm〜30nm以上の十分な膜厚を確保することが可能になる。それによって、拡散層に接続される取り出し電極との耐圧が確保される。そのため、メモリ素子の拡散層上の全面がコンタクトに使用されるので、実効面積を有効に使用できる。よって、セルデザインで実現可能な最低の抵抗値が実現されるので、コンタクト抵抗の低減が図れる。
【0031】
本発明の第2の半導体装置の製造方法は、メモリ素子とロジック素子とを同一半導体基板上に形成する半導体装置の製造方法において、前記半導体基板に素子分離領域を形成した後該半導体基板上にバッファ層を形成する工程と、前記素子分離領域によって分離されたメモリ素子領域の前記半導体基板中にウエル拡散層を形成する工程と、前記ウエル拡散層上に前記半導体基板の一部を残した状態で前記バッファ層および前記半導体基板および前記素子分離領域のワード線を形成する位置に溝を形成する工程と、前記溝の底部と前記ウエル拡散層との間の前記半導体基板にチャネル拡散層を形成する工程と、前記溝内および前記半導体基板上にゲート絶縁膜を形成する工程と、メモリ素子領域の前記溝の内壁を含む前記半導体基板上に第1導電層を形成する工程と、前記半導体基板上に前記第1導電層を介して前記溝を埋め込む第2導電層を形成する工程と、前記素子分離領域によって分離されたロジック素子領域の前記半導体基板にウエル拡散層を形成する工程と、前記半導体基板上に前記溝を埋め込むポリシリコン層と該ポリシリコン層とのエッチング選択性を有する材料からなるダミー層を順に形成する工程と、前記ポリシリコン層と前記ダミー層とを加工して、ロジック素子領域の半導体基板上に前記ゲート絶縁膜を介して、前記ポリシリコン層と前記ダミー層とでダミーゲートを形成する工程と、前記溝の内部における前記第1導電層が前記第2導電層よりも低くなるように前記溝の上部および前記半導体基板上の前記第1導電層および前記第2導電層を除去して、前記溝内部に残した前記第1導電層と前記第2導電層とでワード線を形成するとともに、前記溝側壁と前記第2導電層との間に溝部を形成する工程と、前記溝側壁上部の前記半導体基板に拡散層を形成する工程と、前記ダミーゲートの両側の半導体基板表面にロジック素子の低濃度拡散層を形成する工程と、前記ダミーゲートの側壁にサイドウォール絶縁膜を形成する工程と、前記ダミーゲートの両側の半導体基板に前記ダミーゲート側に前記低濃度拡散層を介して拡散層を形成する工程と、前記溝部の内部を埋め込むとともに前記ワード線上の前記溝側壁にサイドウォール絶縁膜を形成する工程と、前記ワード線上層および前記ロジック素子の拡散層上層にシリサイド層を形成する工程と、前記溝の上部を埋め込むとともに前記ダミーゲートを覆うように絶縁膜を形成する工程と、前記ワード線上に前記絶縁膜を介して前記ワード線にオーバラップする状態でメモリ素子領域に形成した前記拡散層に達する接続孔を形成する工程と、前記接続孔内に取り出し電極を形成する工程と、前記絶縁膜表面を平坦化するとともに前記ダミーゲートの上部を露出させ、さらに前記ダミー層を除去して前記ポリシリコン層を露出させてゲート溝を形成する工程と、前記ダミーゲートのポリシリコン層に不純物をドーピングする工程と、前記取り出し電極及び前記ポリシリコン層を活性化する熱処理を行う工程と、前記ゲート溝に金属系電極を形成する工程とを備えた半導体装置の製造方法である。
【0032】
上記第2の半導体装置の製造方法では、ワード線上部の溝側壁側に溝部を形成し、この溝部を埋め込むようにワード線上の溝側壁にサイドウォール絶縁膜を形成することから、ワード線上にシリサイド層が形成されても、サイドウォール絶縁膜がオフセットになり、シリサイド層とゲート絶縁膜との距離が十分に確保されるので、ゲート絶縁耐圧の劣化が抑制される半導体装置となる。
【0033】
上記第2の半導体装置の製造方法では、バッファ層を形成していることにより、その後、溝の底部における半導体基板にチャネル拡散層を形成する不純物を導入する際に、バッファ層がマスクとなって、選択的に溝の底部の半導体基板に不純物が導入され、チャネル拡散層が形成される。
【0034】
このように、溝下部とウエル拡散層との間の半導体基板にチャネル拡散層を形成することから、溝とウエル拡散層との間の領域の不純物濃度は溝周囲の半導体基板の不純物濃度よりも高くなる。また、ソース・ドレインとなる拡散層下部の半導体基板濃度は極めて低くい状態に保つことができるので、ソース・ドレインとなる拡散層の接合の電界が弱められる。このため、ppmオーダーでの接合リークの抑制が可能になり、それによって、データ保持特性が極めてよくなる半導体装置が形成される。
【0035】
また、ゲート絶縁膜を介して半導体基板に形成された溝内に埋め込まれたワード線上に、絶縁膜を介してこのワード線にオーバラップする状態で、半導体基板表面に形成した拡散層に接続される取り出し電極を形成することから、ワード線上の絶縁膜を20nm〜30nm以上の十分な膜厚を確保することが可能になる。それによって、拡散層に接続される取り出し電極との耐圧が確保される。そのため、メモリ素子の拡散層上の全面がコンタクトに使用されるので、実効面積を有効に使用できる。よって、セルデザインで実現可能な最低の抵抗値が実現されるので、コンタクト抵抗の低減が図れる。
【0036】
さらに、ワード線上層にシリサイド層を形成することから、ワード線の抵抗が低減され、遅延の問題が回避される。また、ロジック素子の拡散層上にシリサイド層を形成することから、この拡散層へのコンタクト抵抗が低減される。
【0037】
また、半導体基板表面側に拡散層を形成し、その半導体基板に形成した溝内にゲート絶縁膜を介してワード線を埋め込むように形成することから、チャネルはワード線が形成されている溝底部側の半導体基板を廻り込むように形成される。そのため、実効的なチャネル長が十分に確保されるため、バックバイアスを印加して、短チャネル効果が厳しいメモリ素子(例えばDRAM)のトランジスタ特性が安定化される。
【0038】
また、メモリ素子領域の拡散層を、その深さ方向に不純物濃度が薄くなるように形成することから、メモリ素子領域の拡散層下部の半導体基板濃度をセルトランジスタに要求されるほどに濃くしなくともよいので、接合の電界が緩和され、メモリ素子のセル縮小化にともない厳しくなるデータ保持特性の性能が維持される。
【0039】
また、ロジック素子領域に形成するダミーゲートにポリシリコン層とダミー層との積層構造を用いることによって、メモリ素子領域の拡散層の取り出し電極を形成した後にダミー層を除去し、ダミーゲートのポリシリコン層に不純物をドーピングすることが可能になる。その後、熱処理を行い、金属ゲート電極を形成することから、熱処理によるpチャネルゲート電極におけるホウ素の突き抜けの問題が最小限に抑えられる。
【0040】
【発明の実施の形態】
本発明の半導体装置に係る一実施の形態を、図1の概略構成断面図および図2の部分拡大図によって説明する。図1では、本発明の半導体装置をDRAMに適用した一例を示し、図2では図1のA部拡大概略図を示す。
【0041】
図1および図2に示すように、半導体基板11は、例えば1×1017/cm3 程度のp型不純物濃度を有するシリコン基板で構成されている。上記半導体基板11には、メモリ素子領域(以下DRAMとして説明し、図面ではDRAM領域と記す)、標準電圧ロジック領域、高電圧ロジック領域等を分離する素子分離領域12が形成されている。この素子分離領域12は、例えばSTI(Shallow Trench Isolation )技術によって、例えば0.1μm〜0.2μm程度の深さに形成される。さらに半導体基板11上には、素子分離領域12上を覆うバッファ層71が例えば酸化シリコン膜で例えば20nm〜40nmの厚さに形成されている。
【0042】
上記バッファ層71は製造上、必要なものである。すなわち、バッファ層71は、ウエル拡散層13を形成する際の緩衝膜の機能を有するものであり、後に説明するメモリ素子のトランジスタ(アクセストランジスタ)の基板濃度を調整するイオン注入時にDRAMの接合となる領域に対してイオン注入のストッパとして機能するものであり、さらに、溝14に埋め込まれたワード線18の表面にシリサイド層21を形成する際に、DRAM領域の拡散層19にシリサイド層21が形成されるのを防止する機能を有する。
【0043】
上記メモリ素子領域の半導体基板11中には、ウエル拡散層13が、例えば上面が150nm〜200nmよりも深い状態で、下面が素子分離領域12の深さよりもやや深い状態に、かつ深さ方向の厚さが例えば0.8μm程度となるように形成されている。このウエル拡散層13は、P形であり、例えばホウ素を導入して形成されるものであり、例えばイオン注入で形成する場合には、イオン種にホウ素を用い、ドーズ量を例えば5×1012/cm2 〜7×1012/cm2 程度とする。
【0044】
さらに、必要に応じて、素子分離領域12下方の半導体基板11に素子分離拡散層(図示せず)が形成されていてもよい。
【0045】
さらに、バッファ層71を貫通し、上記素子分離領域12および半導体基板11には、DRAM領域のワード線(以下ワード線はゲート電極も含む)が形成される溝14を形成されている。この溝14の深さは、例えば100nm〜150nm程度であり、先に形成したウエル拡散層13とこの溝14の底部との間に半導体基板11が残るように形成されている。なお、半導体基板11に形成された溝14の深さと素子分離領域12に形成された溝14の深さとが多少の差を生じてもよい。
【0046】
また、上記溝14底部のエッジ部分は、セルトランジスタの電界集中を避けるために、いわゆるラウンド形状に形成されていることが望ましく、また、溝14の幅がメモリ素子のアクセストランジスタのチャネル長になるので、溝14の側壁はできうる限り半導体基板11表面に対して垂直に形成されることが望ましい。
【0047】
さらに、上記溝14の底部と上記ウエル拡散層13との間の半導体基板11にはチャネル拡散層15が形成されている。DRAM領域のワードトランジスタの上記チャネル拡散層15として、高濃度(例えば1.0×1018/cm3 〜1.0×1019/cm3 )にしなければならない領域は、半導体基板11を掘り下げた溝14底部の半導体基板11(11a)部分であり、溝14の側壁や上部における半導体基板11は極めて低濃度でよい。したがって、後述する拡散層19下部の半導体基板11部分は、極めて低濃度(例えば1.0×1017/cm3 〜1.0×1018/cm3 )で形成されている。
【0048】
上記溝14の内面および半導体基板11上等には、ゲート絶縁膜16が形成されている。上記ゲート絶縁膜15は、最先端のロジックのトランジスタよりもやや厚めの膜厚を有し、またゲート長もやや長く形成されるため、この世代であっても、熱酸化による酸化シリコン膜の適用が可能である。したがって、DRAM領域の上記ゲート絶縁膜15は、例えば1.5nm〜5nm程度の厚さの酸化シリコン膜で形成されている。
【0049】
さらに各溝14を埋め込むように上記ゲート絶縁膜16を介して、例えばリンドープトポリシリコン膜からなるワード線(ゲート電極も含む)18が形成されている。上記ワード線18は、第1導電層181と第2導電層182の2層のポリシリコン層から形成されている。上記第1導電層181は、例えば5nm〜10nmの厚さのリンドープトポリシリコン膜からなり、上記第2導電層182は例えばノンドープトポリシリコン膜に不純物(例えばリン)をドーピングした膜からなる。また上記ワード線18上部の溝14壁面側(第1導電層181上部)には溝部183が形成されている。
【0050】
また、上記ワード線18のポリシリコン層上の溝14側壁には、上記溝部183を埋め込むサイドウォール絶縁膜20が例えば窒化シリコン膜で形成されている。さらに上記ワード線18は、上層にシリサイド(例えばサリサイド)層21で形成されている。したがって、上記シリサイド層21はゲート絶縁膜16に対してサイドウォール絶縁膜20を介してワード線18の上層に形成されている。
【0051】
また、上記ワード線18として機能する上記シリサイド層21は、少なくとも後に説明する取り出し電極24との耐圧が確保される距離として、その表面が溝14の上部の半導体基板11表面より少なくとも30nm〜100nm程度下がるように、好ましくは50nm〜90nm程度下がるように形成されている。この実施の形態では、例えば50nm程度下がった状態に形成されている。そのため、後述する拡散層の取り出し電極24との耐圧距離が確保されている。
【0052】
さらに、上記シリサイド層21は、例えばコバルトシリサイド(CoSi2 )、チタンシリサイド(TiSi2 )ニッケルシリサイド(NiSi2 )等を用いられている。上記サイドウォール絶縁膜20はシリサイド層21と拡散層19との間の耐圧を確保する機能を有する。なお、半導体基板11に形成された溝14の深さと素子分離領域12に形成された溝14の深さに多少の差を生じていても差し支えはない。
【0053】
さらに、DRAM領域の半導体基板11には、ソース・ドレインとなる拡散層19が形成されている。この拡散層19には、N形の不純物としてリンが用いられ、濃度が1×1017/cm3 〜1×1018/cm3 となっている。そのため、この領域の半導体基板11は1×1016/cm3 〜×1017/cm3 程度の非常に薄い濃度に設定されている。
【0054】
よって、このN−P接合は超グレーディッド接合(非常に緩やかな濃度勾配の接合)となる。このような状態の接合では、逆バイアス時の電界を緩和し、メガビット級のDRAMでわずかppmオーダーの不良ビットに起きる通常よりも2桁程度も悪い接合リークの電流抑制に劇的に寄与する。この不良ビットのデータ保持特性がDRAMのチップ性能を支配しており、今後のDRAMでデータ保持特性を維持する重要な技術となっている。
【0055】
例えば、基板濃度が5×1016/cm3 程度であるならば、85℃で500ms以上のデータ保持特性が基体でき、これは実に4世代〜5世代も前のデータのデータ保持特性に匹敵する性能を発揮すると予想される。また、DRAM領域のアクセストランジスタは、半導体基板11をいわゆるラウンドする形でチャネルが形成されることから、実効的なチャネル長を長く確保することもでき、バックバイアスを印加して使う、短チャネル効果が厳しいDRAMセルのトランジスタ特性の安定化を図ることもできる。
【0056】
上記半導体基板11上の全面には、第1の絶縁膜(絶縁膜)22が形成されている。この第1の絶縁膜22は、表面が平坦化されている。さらに、全面にキャップ絶縁膜80が例えば窒化シリコン膜で形成されている。このキャップ絶縁膜80はサリサイド形成部の接合リークを抑制するのに効果的であるが、不要であれば形成する必要はない。
【0057】
さらに、全面に第1の絶縁膜(絶縁膜)22が形成されている。この第1の絶縁膜22には、キャップ絶縁膜80、バッファ層71等を貫通してDRAM領域の拡散層19に達する接続孔23が形成されている。この接続孔23は、拡散層19の表面全面で取り出し電極をコンタクトさせることが可能なように、接続孔23の開口径をでき得る限り大きく形成することが望ましい。それによってコンタクト抵抗の低減が図られる。
【0058】
また、図面では、多少アライメントずれを起こした状態をわざと記載したが、接続孔開口時に過剰なオーバエッチングを施さなければ、接続孔23内に形成されるワード線の取り出し電極24の物理的な距離を確保することが可能となる。なお、上部からみた投影デザインでは、この接続孔23が完全にワード線(ゲート電極)18にオーバラップする形となっている。上記接続孔23内には、例えばリンドープトポリシリコンで形成される取り出し電極24が形成されている。
【0059】
また、取り出し電極24上面が第2の絶縁膜22表面と同一面になるように、上記第2の絶縁膜22の表面は平坦化されている。さらに、第2の絶縁膜22上には、取り出し電極24を覆うエッチングストップ層25が形成されている。
【0060】
上記エッチングストップ層25、上記第1の絶縁膜22およびキャップ絶縁膜80には、DRAM領域のワード線18上のシリサイド層21に達する接続孔26が形成されている。上記接続孔26内には取り出し電極27が形成されている。上記取り出し電極27は、窒化チタン膜からなる密着層85を介して接続孔26内を埋め込むように形成されたタングステン膜86からなる。
【0061】
上記エッチングストップ層25上には、上記取り出し電極27を覆う第2の絶縁膜31が形成されている。この第2の絶縁膜31は例えば酸化シリコン膜を50nm〜150nmの厚さに堆積して形成されている。
【0062】
上記第2の絶縁膜31、エッチングストップ層25には、取り出し電極24に接続するビットコンタクトホール32が形成されている。また第2の絶縁膜31上にはビット線34が形成されていて、その一部は上記ビットコンタクトホール32を通じて取り出し電極24に接続されている。また、第2の絶縁膜31上にはローカル配線35が形成されている。上記ビット線34およびローカル配線35は、例えばタングステン膜37により形成され、その下部に密着層36が形成され、その上部にキャップ層38が形成されている。
【0063】
上記第2の絶縁膜22上には、上記ビット線34およびローカル配線35を覆うエッチングストッパ層41および第3の絶縁膜42が形成されている。このエッチングストッパ層41は、ALD(Atomic Layer Deposition)法によって成膜された窒化シリコン膜で、例えば30nm〜50nmの厚さに形成されている。
【0064】
上記第3の絶縁膜42から上記エッチングストッパ層25にかけて、記憶ノードコンタクトの取り出し電極24、24に達する記憶ノードコンタクトを形成する接続孔43が形成されている。この接続孔43内においては上記エッチングストッパ層41がビット線と記憶ノードコンタクトとの耐圧が確保される膜厚のサイドウォールとしてビット線34の側壁に残る。さらに上記接続孔43内には取り出し電極24に接続する記憶ノードコンタクト44が形成されている。この記憶ノードコンタクト44は、例えばタングステン、チタン、窒化チタン、タンタル、窒化タンタル、酸化ルテニウム等の材料で形成されている。なお、上記第3の絶縁膜42表面は、例えば、記憶ノードコンタクト44上面とともに平坦化されている。
【0065】
上記第3の絶縁膜42上には第4の絶縁膜45が形成されている。この第4の絶縁膜45には、キャパシタが形成される凹部46が、その底部に上記記憶ノードコンタクト44上面が露出するように形成されている。その凹部46内には、熱処理が不要なMIM(Metal/insulator/Metal)構造のキャパシタ91が形成されている。MIM構造のキャパシタ91は0.1μm以降のDRAMでは必須になると予想され、現在では、一例として、電極92、94にルテニウム(Ru)、酸化ルテニウム(RuO)系材料が用いられ、電極92、94間に形成される誘電体膜93にはBST(BaTiO3 とSrTiO3 との混晶)系の膜が採用されている。
【0066】
上記第4の絶縁膜45上には、上記MIM構造のキャパシタ91を覆う第5の絶縁膜47が形成されている。この第5の絶縁膜47表面は平坦化されている。上記第5の絶縁膜47ないし第1の絶縁膜22には、キャパシタ取り出し電極、ワード線取り出し電極、ローカル配線取り出し電極等を形成するための接続孔111、112、113等が形成されている。
【0067】
各接続孔111、112、113等には、キャパシタ取り出し電極121、ワード線取り出し電極122、ローカル配線取り出し電極123等が形成されている。
【0068】
さらに、第5の絶縁膜47上には第6の絶縁膜48が形成されている。この第6の絶縁膜48には、各電極121、122、123に達する配線溝131、132、133が形成され、各配線溝131〜133には第1の配線141〜143が形成されている。この第1の配線141〜143は例えば銅配線からなる。図示はしないが、さらに必要に応じて上層配線が形成されている。なお、上記電極121〜123および上記配線141〜143には、電極、配線、絶縁膜の材質によって、通常知られている密着層、バリア層が形成されている。
【0069】
上記第1の半導体装置では、溝14内に形成されるワード線18の上部で溝14の側壁側に溝部183を形成し、その溝部183を埋め込むようにワード線(ゲート電極を含む)18上の溝14の側壁にサイドウォール絶縁膜20を形成したことから、このサイドウォール絶縁膜20の溝部183に形成された部分によってワード線18上面のシリサイド層21とゲート絶縁膜16との物理的距離が十分に確保される。このため、ゲート絶縁膜16の耐圧劣化を防止することができる。
【0070】
チャネルが形成される溝14下部とウエル拡散層13との間の半導体基板11にチャネル拡散層15が形成されていることから、溝14とウエル拡散層13との間の領域の不純物濃度は溝14周囲の半導体基板11の不純物濃度よりも高くなる。また、ソース・ドレインとなる拡散層19下部の半導体基板11濃度は極めて低くなっていることから、拡散層19の接合の電界が弱められるので、ppmオーダーでの接合リークの抑制が可能になり、それによって、データ保持特性が極めてよくなる。
【0071】
ワード線18上層にシリサイド層21が形成されていることから、ワード線18の抵抗が低減され、遅延の問題が回避されて、動作速度が向上する。それとともに、ワード線18へのコンタクト抵抗が低減される。
【0072】
しかも、半導体基板11表面側に拡散層が形成され、その半導体基板に形成された溝内にゲート絶縁膜を介してワード線が埋め込まれていることから、チャネルはワード線が形成されている溝底部側の半導体基板を廻り込むように形成される。そのため、実効的なチャネル長が十分に確保されるため、バックバイアスを印加して、短チャネル効果が厳しいメモリ素子(例えばDRAM)のトランジスタ特性が安定化される。
【0073】
また、拡散層19は、その深さ方向に不純物濃度が薄くなっていることから、メモリ素子領域の拡散層19下部の半導体基板11濃度をセルトランジスタに要求されるほどに濃くしなくともよいので、接合の電界が緩和され、メモリ素子のセル縮小化にともない厳しくなるデータ保持特性の性能が維持される。
【0074】
また、ゲート絶縁膜16を介して半導体基板11に形成された溝14内に埋め込まれたワード線18上に、第1の絶縁膜22を介してこのワード線18にオーバラップする状態で、半導体基板11表面に形成した拡散層19に接続される取り出し電極24が形成されていることから、ワード線18上の第1の絶縁膜22を20nm〜30nm以上の十分な膜厚を確保することが可能になる。それによって、拡散層19に接続される取り出し電極との耐圧が確保される。そのため、メモリ素子の拡散層19上の全面がコンタクトに使用されるので、実効面積を有効に使用できる。よって、セルデザインで実現可能な最低の抵抗値が実現されるので、コンタクト抵抗の低減が図れる。
【0075】
本発明の第1の半導体装置の製造方法に係る実施の形態の一例を、図3〜図23の概略構成断面図、部分拡大概略図によって説明する。図3〜図23では、メモリ素子とロジック素子とを同一半導体基板に形成する製造方法を示し、前記図1によって説明したのと同様なる構成部品には同一符号を付与する。
【0076】
図3の(1)に示すように、半導体基板11として、例えば1×1017/cm3 程度のp型不純物濃度を有するシリコン基板を用意する。例えばSTI(Shallow Trench Isolation )技術によって、上記半導体基板11に、メモリ素子領域(以下DRAMとして説明し、図面ではDRAM領域と記す)、標準電圧ロジック領域、高電圧ロジック領域等を分離する素子分離領域12を形成する。この素子分離領域12は例えば0.1μm〜0.2μm程度の深さに形成される。次いで、化学的気相成長(以下CVDという、CVDはChemical Vapor Deposition の略)によって素子分離領域12上を覆うように上記半導体基板11上に例えば酸化シリコン膜からなるバッファ層71を例えば20nm〜40nmの厚さに形成する。
【0077】
さらに半導体基板11上にレジスト膜201を形成した後、リソグラフィー技術に用いてDRAM領域のメモリセル形成領域上に開口部202を形成する。
【0078】
次いで上記レジスト膜201をマスクに用いたイオン注入により、上記メモリ素子領域の半導体基板11中に例えばホウ素を導入してウエル拡散層13を形成する。このイオン注入条件としては、イオン種にホウ素を用い、ドーズ量を例えば5×1012/cm2 〜7×1012/cm2 程度とし、後に形成される溝の深さよりも深くなるように、例えば150nm〜200nmよりも深く、素子分離領域12の深さよりもやや深い状態に形成される。また、ウエル拡散層13は深さ方向の厚さを例えば0.8μm程度とする。
【0079】
さらに、必要に応じて、素子分離領域12下方の半導体基板11に素子分離拡散層(図示せず)を形成してもよい。
【0080】
上記バッファ層71は、上記ウエル拡散層13を形成する際の緩衝膜の機能を有するものである。また、後に行うメモリ素子のトランジスタ(アクセストランジスタ)の基板濃度を調整するイオン注入時にDRAMの接合となる領域に対してイオン注入のストッパとして機能する。さらに、溝に埋め込まれたワード線の表面にサリサイドを形成する際に、DRAM領域の拡散層にサリサイドが形成されるのを防止する機能を有する。その後、上記レジスト膜201を除去する。
【0081】
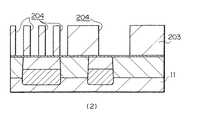
次いで、図4の(2)に示すように、半導体基板11上にレジスト膜203を形成した後、リソグラフィー技術によりDRAM領域のワード線(ゲート電極)となる領域上のレジスト膜203に開口部204を形成する。
【0082】
次いで、図5の(3)に示すように、上記レジスト膜203をエッチングマスクに用いて、バッファ層71、素子分離領域12および半導体基板11をエッチング(例えば連続的にエッチング)して素子分離領域12(フィールド)および半導体基板11に、DRAM領域のワード線(ゲート電極も含む)が形成される溝14を形成する。この溝14の深さは、例えば100nm〜150nm程度であり、先に形成したウエル拡散層13とこの溝14の底部との間に半導体基板11が残るようにする。なお、半導体基板11に形成された溝14の深さと素子分離領域12に形成された溝14の深さとが多少の差を生じてもよい。
【0083】
また、上記溝14はDRAM領域のみに形成されることから、溝14底部のエッジ部分は、セルトランジスタの電界集中を避けるために、いわゆるラウンド形状に形成することが望ましく、また、溝14の幅がメモリ素子のアクセストランジスタのチャネル長になるので、溝14の側壁はできうる限り半導体基板11表面に対して垂直に形成されることが望ましい。なお、DRAM領域に形成されているバッファ層71は素子分離領域12をエッチングする際に同時にエッチングされる。その後、上記レジスト膜203を通常の除去技術によって除去する。
【0084】
なお、この世代で想定している電圧としては、標準ロジック領域は0.5V〜1.2V、高電圧ロジック領域は1.5V〜2.5V、DRAMセルのワード線昇圧は1.5V〜2.5Vである。
【0085】
次いで図6の(4)に示すように、例えば熱酸化法によって上記半導体基板11の露出している全面に犠牲酸化膜(図示せず)を例えば10nm〜20nmの厚さに形成する。
【0086】
次いで、DRAM領域のアクセストランジスタのチャネルドーピングを行って、上記溝14の底部と上記ウエル拡散層13との間にチャネル拡散層15を形成する。
【0087】
DRAM領域のワードトランジスタの上記チャネル拡散層15として、高濃度(例えば1.0×1018/cm3 〜1.0×1019/cm3 )にしなければならない領域は、半導体基板11を掘り下げた溝14底部の半導体基板11(11a)部分であり、溝14の側壁や上部における半導体基板11には基板濃度としてのイオン注入をほとんど行う必要はない。また、上記イオン注入では、半導体基板11表面やロジック素子領域には、最初に設けたバッファ層71がイオン注入のマスクとなるため、新たなマスクを用いないで溝14の底部のみにチャネル拡散層15を形成することが可能になる。したがって、後述する拡散層19(図35参照)下部の半導体基板11部分は、極めて低濃度(例えば1.0×1017/cm3 〜1.0×1018/cm3 )での形成が可能になる。
【0088】
その後、例えばウエットエッチングによって上記犠牲酸化膜(図示せず)を除去する。その後、DRAM領域の上記溝14の内面および半導体基板11上等にゲート絶縁膜16を通常のゲート酸化膜の形成方法により形成する。
【0089】
図7の(5)および図8に示すように、DRAM領域の各溝14の内壁を被覆するように上記ゲート絶縁膜16表面に第1導電層181を例えば5nm〜10nmの厚さにリンドープトポリシリコンを堆積して形成する。次いでDRAM領域の各溝14を埋め込むように上記第1導電層181表面に第2導電層182を50nm〜150nmの厚さにノンドープトポリシリコンを堆積して形成する。この膜厚は溝14を埋め込むのに十分な厚さであればよく、その膜厚は特に溝状のワード線を形成するためのみに最適化した膜厚に設定される。
【0090】
図9の(6)および図10に示すように、溝14の内部に第1導電層181、第2導電層182が残るよう第1導電層181、第2導電層182をエッチバックする。このエッチングでは、第1導電層181のほうが第2導電層182よりもエッチングレートが速くなるエッチング条件を用いる。言い換えれば、第1導電層181のほうが第2導電層182よりもエッチングレートが速くなる導電膜で形成する。その結果、エッチング速度が速い第1導電層181がより多くエッチングされ、第1導電層181上の第2導電層182と密着4の側壁との間に溝部183が形成される。同時に溝14の内部には第1導電層181、第2導電層182からなるワード線(一部ゲート電極として機能する)18が形成される。その際、ワード線18の表面が半導体基板11表面より30nm〜100nm程度下がるように上記第1導電層181、第2導電層182のエッチバックを行うことで、後に形成される拡散層の取り出し電極との耐圧距離が確保される。このエッチバックでは、ゲート絶縁膜16がエッチングストップ層として機能する。
【0091】
さらに、DRAM領域の半導体基板11にソース・ドレインを形成するためのイオン注入を行い、拡散層19を形成する。このイオン注入条件としては、一例として、イオン注入する不純物にリンを用い、濃度が1×1017/cm3 〜1×1018/cm3 となるように、ドーズ量、注入エネルギーを設定する。バッファ層71を貫通する注入エネルギーであれば十分なため、注入エネルギーを例えば20keV〜50keVに設定し、ドーズ量を1×1018/cm2 〜3×1018/cm2 に設定する。この条件でイオン注入を行えば、DRAM領域の上記拡散層19下層の半導体基板11にはほとんどイオン注入されない。そのため、この領域の半導体基板11は1×1016/cm3 〜×1017/cm3 程度の非常に薄い濃度に設定することが可能となる。上記リンイオン注入により第2導電層182にもリンがドーピングされ、その後の熱処理によって、第1導電層181と第2導電層182は同等の不純物濃度になる。この第1導電層181および第2導電層182は、DRAM領域のワード線のみに使用され、Pチャネルのトランジスタには使用されないため、N+ ゲート材料(例えばリン)をドーピング物質として用いることができる。
【0092】
よって、このN−P接合は超グレーディッド接合(非常に緩やかな濃度勾配の接合)となる。このような状態の接合では、逆バイアス時の電界を緩和し、メガビット級のDRAMでわずかppmオーダーの不良ビットに起きる通常よりも2桁程度も悪い接合リークの電流抑制に劇的に寄与する。この不良ビットのデータ保持特性がDRAMのチップ性能を支配しており、今後のDRAMでデータ保持特性を維持する重要な技術となっている。
【0093】
例えば、基板濃度が5×1016/cm3 程度であるならば、85℃で500ms以上のデータ保持特性が基体でき、これは実に4世代〜5世代も前のデータのデータ保持特性に匹敵する性能を発揮すると予想される。また、DRAM領域のアクセストランジスタは、半導体基板11をいわゆるラウンドする形でチャネルが形成されることから、実効的なチャネル長を長く確保することもでき、バックバイアスを印加して使う、短チャネル効果が厳しいDRAMセルのトランジスタ特性の安定化を図ることもできる。
【0094】
上記イオン注入では、後のDRAM領域のゲート形成に係る熱処理による拡散を考慮して、やや浅めにイオン注入を行うが、DRAMのゲートが基板埋め込み型であるため、DRAM領域のチャネルは埋め込みゲートを形成する溝14の底部に形成されるので、何ら問題はない。また、後の熱処理によって活性化されるため、特にこの段階で熱処理を行う必要もない。
【0095】
次いで、図11の(7)に示すように、DRAM領域のゲートを保護する保護膜78を例えば薄い窒化シリコン膜(例えば厚さが10nm〜50nm)で形成する。この保護膜78は、上記溝部183内を埋め込むように形成され、後にDRAM領域のワード線18上の側壁にサイドウォール状に形成され、サリサイド形成時に、ワード線18側壁の耐圧確保に寄与する。
【0096】
次いで、図12の(8)および図13に示すように、DRAM領域の保護膜78を例えば反応性イオンエッチング(RIE)によりエッチングしてDRAM領域のワード線18を露出させる。この結果、溝部183を埋め込むようにワード線18上の溝14の側壁に保護膜78からなるサイドウォール絶縁膜20が形成される。このサイドウォール絶縁膜20は側壁保護の機能を有する。なお、上記反応性イオンエッチングでは、DRAM領域の拡散層19が露出しないようにすること、すなわち、拡散層19上にバッファ層71を残すようにすることが重要である。
【0097】
さらに、図14の(9)に示すように、通常のシリサイド化技術を用いて、上記DRAM領域のワード線18上にシリサイド層21を選択的に形成する。このようにして、低抵抗を実現する必要が有るDRAM領域のワード線18上に選択的にシリサイド層21が形成される。このシリサイド層としては、例えばコバルトシリサイド(CoSi2 )、チタンシリサイド(TiSi2 )ニッケルシリサイド(NiSi2 )等を用いることができる。
【0098】
その後、全面にキャップ絶縁膜80を例えば窒化シリコン膜で形成する。このキャップ絶縁膜80はサリサイド形成部の接合リークを抑制するのに効果的であるが、不要であれば形成する必要はない。なお、先に記述したように、周辺回路部のトランジスタのゲート電極上にもシリサイド層を形成してサリサイド構造として、ゲート電極の低抵抗化を図っても差し支えはない。
【0099】
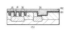
次いで、図15の(10)に示すように、全面に第1の絶縁膜(絶縁膜)22を形成した後、CMPによって、第1絶縁膜22表面を平坦化する。上記第1の絶縁膜22表面を平坦化する方法は、平坦化を実現することができる方法であればCMPに限定されることはなく、例えばエッチバック法等を用いることも可能である。その後、上記第1の絶縁膜22上にレジスト膜215を形成した後、リソグラフィー技術によって、上記レジスト膜215にDRAM領域の拡散層取り出しコンタクト用の接続孔パターン216を形成する。
【0100】
次いで、上記レジスト膜215をエッチングマスクに用いてエッチングを行い、図16の(11)に示すように、第1の絶縁膜22を貫通してDRAM領域の拡散層19に達する接続孔23を形成する。このとき、DRAM領域のワード線(ゲート電極)18はコンタクトを取るべき拡散層19よりも半導体基板11表面下に配置されているので、セルフアラインコンタクト等の特別な技術を用いる必要はない。またDRAMの拡散層19全面が取り出し電極とコンタクトできるように、接続孔23の開口径をでき得る限り大きく形成することが望ましい。それによってコンタクト抵抗の低減が図られる。
【0101】
また、図面では、多少アライメントずれを起こした状態をわざと記載したが、接続孔開口時に過剰なオーバエッチングを施さなければ、後の工程で接続孔23内に形成されるワード線取り出し電極の物理的な距離を確保することが可能となる。なお、上部からみた投影デザインでは、この接続孔23が完全にワード線(ゲート電極)18にオーバラップする形となっている。
【0102】
次いで、上記接続孔23内を埋め込むように、第1の絶縁膜22上に、取り出し電極形成膜81を形成する。この取り出し電極形成膜81は、例えばリンドープトポリシリコンで形成される。この拡散層取り出しのための取り出し電極形成膜81は、従来通り、DRAM領域に接合リークの低減を考慮してリンドープトポリシリコンが選択されることが望ましい。なお、この段階では活性化のための熱処理は不要である。
【0103】
その後、図17の(12)に示すように、例えばCMPによって、第1の絶縁膜22上の余剰な取り出し電極形成膜81(リンドープトポリシリコン)を除去して、接続孔23内に拡散層19に接続する取り出し電極形成膜81からなる取り出し電極24を形成するとともに、第1の絶縁膜22を研磨してその表面を平坦化させる。
【0104】
その後、熱処理を行う。この熱処理によって、DRAM領域のポリシリコンからなる取り出し電極24の活性化を行う。この熱処理では、900℃、10秒程度のRTA(Rapid Thermal Annealing )で十分ではあるが、通常の炉を用いた熱アニールを行っても差し支えは無い。なお、これ以降の工程では、高温の熱工程は行われないので、例えば、DRAMと同時にロジック素子を形成する場合には、ロジック素子のゲート電極からホウ素が拡散する、いわゆる「突き抜け」は最小限に抑えられる。
【0105】
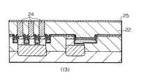
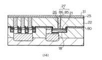
次いで、図18の(13)に示すように、第1の絶縁膜22上に、DRAM領域の取り出し電極24を覆うエッチングストップ層25を例えば酸化シリコン膜で全面に形成する。
【0106】
その後、図19の(14)に示すように、エッチングストップ層25上にレジスト膜(図示せず)を形成した後、リソグラフィー技術によって、上記レジスト膜にDRAM領域のワード線取り出しコンタクト用の接続孔パターン(図示せず)を形成する。続いて、上記レジスト膜をエッチングマスクに用いて、上記エッチングストップ層25、上記第1の絶縁膜22およびキャップ絶縁膜80を貫通してDRAM領域のワード線18上のシリサイド層21に達する接続孔26を形成する。
【0107】
その後、上記レジスト膜を除去する。次に、通常のタングステンプラグの形成技術により上記接続孔26に内面に窒化チタン膜からなる密着層85を形成した後、接続孔26内を埋め込むようにタングステン膜86を形成する。その後CMPにより上記エッチングストップ層25上の上記タングステン膜86および密着層85の余剰な部分を除去し、上記接続孔26の内部に取り出し電極27を形成する。
【0108】
次いで、上記取り出し電極27を覆うように上記エッチングストップ層25上の全面に第2の絶縁膜31を例えば酸化シリコン膜を50nm〜150nmの厚さに堆積して形成する。
【0109】
その後、第2の絶縁膜31上にレジスト膜(図示せず)を形成した後、リソグラフィー技術により上記レジスト膜にビットコンタクトを形成する位置に開口部(図示せず)を形成する。そのレジスト膜をマスクに用いたエッチングにより、図20の(15)に示すように、上記エッチングストッパ層25および第2の絶縁膜31に所定の取り出し電極24に達するビットコンタクトホール32を形成する。
【0110】
次いで、ビット線34、ローカル配線35を形成するための配線金属層を形成する。この配線金属層は、まず上記ビットコンタクトホール32の内面および第2の絶縁膜31上に、例えばチタン膜と窒化チタン膜を積層してなる密着層36を形成する。さらにビットコンタクトホール32を埋め込むようにして、上記密着層36上に金属配線の主材料となるタングステン膜37を成膜する。さらにタングステン膜37上にキャップ層38を例えば窒化シリコン膜で形成する。
【0111】
その後、通常のリソグラフィー技術とエッチング技術とによって上記キャップ層38、タングステン膜37、密着層36をパターニングしてビットコンタクトホール32を通じてビットコンタクトの取り出し電極24に接続されるビット線34が形成されるとともに、ローカル配線35が形成される。したがって、ビット線34上およびローカル配線35上にはキャップ層38が形成される。
【0112】
その後、上記第2の絶縁膜31上に、ビット線34を覆うエッチングストッパ層41をALD窒化シリコン膜で、例えば30nm〜50nmの厚さに形成する。
【0113】
次に、図21の(16)に示すように、上記エッチングストッパ層41上に第3の絶縁膜42を形成する。そして、第3の絶縁膜42表面を例えばCMPを用いて平坦化する。次に、上記第3の絶縁膜42上にレジスト膜219を形成した後、リソグラフィー技術により記憶ノードコンタクトを開口するための開口パターン220を形成する。この開口パターン220は、実際の記憶ノードコンタクトが形成される接続孔の口径よりも大きく形成することができる。
【0114】
次いで、上記レジスト膜219をエッチングマスクに用いて、図22の(17)に示すように、上記第3の絶縁膜42からエッチングストップ層25までをエッチングして、記憶ノードコンタクトの取り出し電極24、24に達する記憶ノードコンタクトを形成する接続孔43を形成する。このエッチングでは、上記レジスト膜219〔前記図21の(16)参照〕の他にキャップ層38およびエッチングストッパ層41がエッチングマスクとなっている。なお、上記エッチングストッパ層41は、その一部がエッチングされるが、ビット線と記憶ノードコンタクトとの耐圧が確保される膜厚のサイドウォールとしてビット線34の側壁に残る。その後上記レジスト膜219〔図21の(16)参照〕を除去する。
【0115】
次に、図23の(18)に示すように、上記接続孔43内に取り出し電極24に接続する記憶ノードコンタクト44を形成する。この記憶ノードコンタクト44は、例えば上記接続孔43を埋め込むように上記第3の絶縁膜42上にタングステン、チタン、窒化チタン、タンタル、窒化タンタル、酸化ルテニウム等を堆積して材料層を形成した後、第3の絶縁膜42上の余剰な上記材料層を例えばCMPによって除去することによって、接続孔43内に残した上記材料層で形成される。
【0116】
次に、第3の絶縁膜42上に上記記憶ノードコンタクト44等を覆う第4の絶縁膜45を形成する。次いで、第4の絶縁膜45にキャパシタが形成される凹部46を、その底部に上記記憶ノードコンタクト44上面が露出するように形成する。
【0117】
その後、凹部46内に、熱処理が不要なMIM(Metal/insulator/Metal)構造のキャパシタ91を形成する。MIM構造のキャパシタ91は0.1μm以降のDRAMでは必須になると予想され、現在では、一例として、電極92、94には、ルテニウム(Ru)、酸化ルテニウム(RuO)系材料が用いられ、誘電体膜93にはBST(BaTiO3 とSrTiO3 との混晶)系の膜が採用される。
【0118】
次いで、上記第4の絶縁膜45上に、上記MIM構造のキャパシタ91を覆う第5の絶縁膜47を形成する。その後、CMPによって上記第5の絶縁膜47表面を平坦化する。次いで、第5の絶縁膜47ないし第2の絶縁膜31に、キャパシタ取り出し電極、ワード線取り出し電極等を形成するための接続孔111、112、113等を形成する。
【0119】
さらに、接続孔111、112、113等に、キャパシタ取り出し電極121、ワード線取り出し電極122、ローカル配線取り出し電極123等を形成する。さらに、第5の絶縁膜47上に第6の絶縁膜48を形成する。次いで、この第6の絶縁膜48に各電極121、122、123等に達する各配線溝131、132、133を形成し、配線溝131、132、133に配線141、142、143を形成する。この配線141、142、143は例えば銅配線からなる。図示はしないが、さらに必要に応じて上層配線を形成する。なお、上記電極121、122、123および上記配線141、142、143には、電極、配線、絶縁膜の材質によって、通常知られている密着層、バリア層が形成される。
【0120】
上記第1の半導体装置の製造方法では、ワード線(ゲート電極)18上部の溝14側壁側に溝部183を形成し、この溝部183を埋め込むようにワード線(ゲート電極)18上の溝14側壁にサイドウォール絶縁膜20を形成することから、ワード線(ゲート電極)18上にシリサイド層21が形成されても。シリサイド層21とゲート絶縁膜16との距離はサイドウォール絶縁膜20の溝部183に形成された部分によって十分に確保されるので、ゲート絶縁耐圧の劣化が抑制される半導体装置となる。
【0121】
上記第1の半導体装置の製造方法では、バッファ層71を形成していることにより、その後、溝14の底部における半導体基板11にチャネル拡散層15を形成する不純物を導入する際に、バッファ層71がマスクとなって、選択的に溝14の底部の半導体基板11に不純物が導入され、チャネル拡散層15が形成される。
【0122】
このように、溝14下部とウエル拡散層13との間の半導体基板11にチャネル拡散層15を形成することから、溝14とウエル拡散層13との間の領域の不純物濃度は溝14周囲の半導体基板11の不純物濃度よりも高くなる。また、ソース・ドレインとなる拡散層19下部の半導体基板11濃度は極めて低くい状態に保つことができるので、拡散層19の接合の電界が弱められる。このため、ppmオーダーでの接合リークの抑制が可能になり、それによって、データ保持特性が極めてよくなる半導体装置が形成される。
【0123】
また、ゲート絶縁膜16を介して半導体基板11に形成された溝14内に埋め込まれたワード線18上に、第2の絶縁膜22を介してこのワード線18にオーバラップする状態で、半導体基板11表面に形成した拡散層19に接続される取り出し電極24を形成することから、ワード線18上の第2の絶縁膜22を20nm〜30nm以上の十分な膜厚を確保することが可能になる。それによって、拡散層19に接続される取り出し電極24との耐圧が確保される。そのため、メモリ素子の拡散層19上の全面がコンタクトに使用されるので、実効面積を有効に使用できる。よって、セルデザインで実現可能な最低の抵抗値が実現されるので、コンタクト抵抗の低減が図れる。
【0124】
さらに、ワード線18上層にシリサイド層21を形成することから、ワード線18の抵抗が低減され、遅延の問題が回避される。それとともに、ワード線18へのコンタクト抵抗が低減される。
【0125】
また、半導体基板11表面側に拡散層19を形成し、その半導体基板11に形成した溝14内にゲート絶縁膜16を介してワード線18を埋め込むように形成することから、チャネルはワード線18が形成されている溝14底部側の半導体基板11を廻り込むように形成される。そのため、実効的なチャネル長が十分に確保されるため、バックバイアスを印加して、短チャネル効果が厳しいメモリ素子(例えばDRAM)のトランジスタ特性が安定化される。
【0126】
また、メモリ素子領域の拡散層19を、その深さ方向に不純物濃度が薄くなるように形成することから、メモリ素子領域の拡散層19下部の半導体基板11濃度をセルトランジスタに要求されるほどに濃くしなくともよいので、接合の電界が緩和され、メモリ素子のセル縮小化にともない厳しくなるデータ保持特性の性能が維持される。
【0127】
本発明の第2の半導体装置に係る一実施の形態を、図24の概略構成断面図および図25のE部拡大図によって説明する。
【0128】
図24および図25に示すように、半導体基板11は、例えば1×1017/cm3 程度のp型不純物濃度を有するシリコン基板で構成されている。上記半導体基板11には、メモリ素子領域(以下DRAMとして説明し、図面ではDRAM領域と記す)、標準電圧ロジック領域、高電圧ロジック領域等を分離する素子分離領域12が形成されている。この素子分離領域12は、例えばSTI(Shallow Trench Isolation )技術によって、例えば0.1μm〜0.2μm程度の深さに形成される。さらに半導体基板11上には、素子分離領域12上を覆うバッファ層71が例えば酸化シリコン膜で例えば20nm〜40nmの厚さに形成されている。
【0129】
上記バッファ層71は製造上、必要なものである。すなわち、バッファ層71は、ウエル拡散層13を形成する際の緩衝膜の機能を有するものであり、後に説明するメモリ素子のトランジスタ(アクセストランジスタ)の基板濃度を調整するイオン注入時にDRAMの接合となる領域に対してイオン注入のストッパとして機能するものであり、さらに、溝14に埋め込まれたワード線18の表面にシリサイド層27を形成する際に、DRAM領域の拡散層19にシリサイド層27が形成されるのを防止する機能を有する。
【0130】
上記メモリ素子領域の半導体基板11中には、ウエル拡散層13が、例えば上面が150nm〜200nmよりも深い状態で、下面が素子分離領域12の深さよりもやや深い状態に、かつ深さ方向の厚さが例えば0.8μm程度となるように形成されている。このウエル拡散層13は、P形であり、例えばホウ素を導入して形成されるものであり、例えばイオン注入で形成する場合には、イオン種にホウ素を用い、ドーズ量を例えば5×1012/cm2 〜7×1012/cm2 程度とする。
【0131】
さらに、必要に応じて、素子分離領域12下方の半導体基板11に素子分離拡散層(図示せず)が形成されていてもよい。
【0132】
さらに、バッファ層71を貫通し、上記素子分離領域12および半導体基板11には、DRAM領域のワード線(ゲート電極も含む)が形成される溝14を形成されている。この溝14の深さは、例えば100nm〜150nm程度であり、先に形成したウエル拡散層13とこの溝14の底部との間に半導体基板11が残るように形成されている。なお、半導体基板11に形成された溝14の深さと素子分離領域12に形成された溝14の深さとが多少の差を生じてもよい。
【0133】
また、上記溝14底部のエッジ部分は、セルトランジスタの電界集中を避けるために、いわゆるラウンド形状に形成されていることが望ましく、また、溝14の幅がメモリ素子のアクセストランジスタのチャネル長になるので、溝14の側壁はできうる限り半導体基板11表面に対して垂直に形成されることが望ましい。
【0134】
さらに、上記溝14の底部と上記ウエル拡散層13との間の半導体基板11にはチャネル拡散層15が形成されている。DRAM領域のワードトランジスタの上記チャネル拡散層15として、高濃度(例えば1.0×1018/cm3 〜1.0×1019/cm3 )にしなければならない領域は、半導体基板11を掘り下げた溝14底部の半導体基板11(11a)部分であり、溝14の側壁や上部における半導体基板11は極めて低濃度でよい。したがって、後述する拡散層19下部の半導体基板11部分は、極めて低濃度(例えば1.0×1017/cm3 〜1.0×1018/cm3 )で形成されている。
【0135】
上記溝14の内面および半導体基板11上等には、ゲート絶縁膜16が形成されている。上記ゲート絶縁膜15は、最先端のロジックのトランジスタよりもやや厚めの膜厚を有し、またゲート長もやや長く形成されるため、この世代であっても、熱酸化による酸化シリコン膜の適用が可能である。したがって、DRAM領域の上記ゲート絶縁膜15は、例えば1.5nm〜5nm程度の厚さの酸化シリコン膜で形成されている。
【0136】
さらに各溝14を埋め込むように上記ゲート絶縁膜16を介して、例えばリンドープトポリシリコン膜からなるワード線(ゲート電極も含む)18が形成されている。上記ワード線18は、第1導電層181と第2導電層182の2層のポリシリコン層から形成されている。上記第1導電層181は、例えば5nm〜10nmの厚さのリンドープトポリシリコン膜からなり、上記第2導電層182は例えばノンドープトポリシリコン膜に不純物(例えばリン)をドーピングした膜からなる。また上記ワード線18上部の溝14壁面側(第1導電層181上部)には溝部183が形成されている。
【0137】
また、上記ワード線18のポリシリコン層上の溝14側壁には、上記溝部183を埋め込むサイドウォール絶縁膜20が例えば窒化シリコン膜で形成されている。さらに上記ワード線18は、上層にシリサイド(例えばサリサイド)層21で形成されている。したがって、上記シリサイド層21はゲート絶縁膜16に対してサイドウォール絶縁膜20を介してワード線18の上層に形成されている。
【0138】
また、上記ワード線18として機能する上記シリサイド層21は、少なくとも後に説明する取り出し電極24との耐圧が確保される距離として、その表面が溝14の上部の半導体基板11表面より少なくとも30nm〜100nm程度下がるように、好ましくは50nm〜90nm程度下がるように形成されている。この実施の形態では、例えば50nm程度下がった状態に形成されている。そのため、後述する拡散層の取り出し電極24との耐圧距離が確保されている。
【0139】
さらに、上記シリサイド層21は、例えばコバルトシリサイド(CoSi2 )、チタンシリサイド(TiSi2 )ニッケルシリサイド(NiSi2 )等を用いられている。上記サイドウォール絶縁膜20はシリサイド層21と拡散層19との間の耐圧を確保する機能を有する。なお、半導体基板11に形成された溝14の深さと素子分離領域12に形成された溝14の深さに多少の差を生じていても差し支えはない。
【0140】
さらに、DRAM領域の半導体基板11には、ソース・ドレインとなる拡散層19が形成されている。この拡散層19には、N形の不純物としてリンが用いられ、濃度が1×1017/cm3 〜1×1018/cm3 となっている。そのため、この領域の半導体基板11は1×1016/cm3 〜×1017/cm3 程度の非常に薄い濃度に設定されている。
【0141】
よって、このN−P接合は超グレーディッド接合(非常に緩やかな濃度勾配の接合)となる。このような状態の接合では、逆バイアス時の電界を緩和し、メガビット級のDRAMでわずかppmオーダーの不良ビットに起きる通常よりも2桁程度も悪い接合リークの電流抑制に劇的に寄与する。この不良ビットのデータ保持特性がDRAMのチップ性能を支配しており、今後のDRAMでデータ保持特性を維持する重要な技術となっている。
【0142】
例えば、基板濃度が5×1016/cm3 程度であるならば、85℃で500ms以上のデータ保持特性が基体でき、これは実に4世代〜5世代も前のデータのデータ保持特性に匹敵する性能を発揮すると予想される。また、DRAM領域のアクセストランジスタは、半導体基板11をいわゆるラウンドする形でチャネルが形成されることから、実効的なチャネル長を長く確保することもでき、バックバイアスを印加して使う、短チャネル効果が厳しいDRAMセルのトランジスタ特性の安定化を図ることもできる。
【0143】
一方、標準電圧ロジック領域の半導体基板11には、NチャネルトランジスタのPウエル拡散層51と、PチャネルトランジスタのNウエル拡散層(図示せず)が形成されている。また高電圧ロジック領域の半導体基板11には、NチャネルトランジスタのPウエル拡散層(図示せず)と、PチャネルトランジスタのNウエル拡散層61が形成されている。なお、必用に応じてチャネルドーピングがなされている。
【0144】
さらに、標準電圧ロジック領域のNチャネルトランジスタの形成領域における半導体基板11(Pウエル拡散層51)には、Nチャネルトランジスタの低濃度拡散層52、52が形成されている。また標準電圧ロジック領域のpチャネルトランジスタの形成領域における半導体基板11には、Pチャネルトランジスタの低濃度拡散層(図示せず)が形成されている。
【0145】
さらに、高電圧ロジック領域のPチャネルトランジスタの形成領域における半導体基板11(Nウエル拡散層61)には、Pチャネルトランジスタの低濃度拡散層62、62が形成されている。また高電圧ロジック領域のNチャネルトランジスタの形成領域における半導体基板11には、Nチャネルトランジスタの低濃度拡散層(図示せず)が形成されている。
【0146】
このロジック素子領域の半導体基板11(素子分離領域12も含む)上には、ロジック素子のゲート絶縁膜17が形成されている。この世代では、ゲート絶縁膜を膜厚に応じて作り分けるのが一般的であり、レジストプロセスを用いて作り分けが行われている。ゲート絶縁膜には酸化シリコンもしくは耐熱性が必要な場合には窒化シリコンが用いられている。また、Pチャネルゲートからのホウ素(B)の突き抜けを防止するために、Pチャネルゲートには例えば酸窒化シリコン膜が用いられている。
【0147】
一方、上記標準電圧ロジック領域の半導体基板11上には、ゲート絶縁膜17を介してゲート電極51が形成されている。このゲート電極51は、下層がリンドープトポリシリコンからなるポリシリコン層で形成され、上層がダミー層を置き換えて形成した密着層と金属層との積層膜からなる金属系ゲート電極で形成され、上記密着層には例えば窒化チタン層が用いられ、金属層にはタングステン層が用いられている。さらに、ゲート電極51の側壁にはゲート絶縁膜17を介してサイドウォール54が形成されている。上記サイドウォール54下部における半導体基板11には上記低濃度拡散層52、52が形成され、この低濃度拡散層52、52を介したゲート電極51の両側の半導体基板11には拡散層55、55が形成されている。この拡散層55の上層にはシリサイド層58が形成されている。このシリサイド層58としては、例えばコバルトシリサイド(CoSi2 )、チタンシリサイド(TiSi2 )ニッケルシリサイド(NiSi2 )等を用いることができる。
【0148】
また、上記高電圧ロジック領域の半導体基板11上には、ゲート絶縁膜17を介してゲート電極61が形成されている。このゲート電極61は、下層がホウ素ドープトポリシリコンからなるポリシリコン層で形成され、上層がダミー層を置き換えて形成した密着層と金属層との積層膜からなる金属系ゲート電極で形成され、上記密着層には例えば窒化チタン層が用いられ、金属層にはタングステン層が用いられている。さらに、ゲート電極61の側壁にはゲート絶縁膜17を介してサイドウォール64が形成されている。上記サイドウォール64下部における半導体基板11には上記低濃度拡散層62、62が形成され、この低濃度拡散層62、62を介したゲート電極61の両側の半導体基板11には拡散層65、65が形成されている。この拡散層65の上層にはシリサイド層68が形成されている。このシリサイド層58としては、例えばコバルトシリサイド(CoSi2 )、チタンシリサイド(TiSi2 )ニッケルシリサイド(NiSi2 )等を用いることができる。
【0149】
上記サイドウォール54、64は、窒化シリコンよりも低応力でウエット処理による剥離性のよい酸化シリコンで形成することが好ましい。または、酸化シリコン膜と窒化シリコン膜の積層膜もしくは酸化窒化シリコン膜で形成することも可能である。
【0150】
また、ロジック領域の素子分離領域12上には、上記ゲート電極51と同様な構造のゲート電極(ゲート配線)51が形成されている。
【0151】
上記半導体基板11上の全面には、第1の絶縁膜(絶縁膜)19が形成されている。この第1の絶縁膜19は、表面が平坦化されていて、上記ロジック領域のゲート電極51、61の各表面が同一平面上にある。
【0152】
さらに、全面にキャップ絶縁膜80が例えば窒化シリコン膜で形成されている。このキャップ絶縁膜80はサリサイド形成部の接合リークを抑制するのに効果的であるが、不要であれば形成する必要はない。
【0153】
さらに、全面に第1の絶縁膜(絶縁膜)22が形成されている。この第1の絶縁膜22には、キャップ絶縁膜80、バッファ層71等を貫通してDRAM領域の拡散層19に達する接続孔23が形成されている。この接続孔23は、拡散層19の表面全面で取り出し電極をコンタクトさせることが可能なように、接続孔23の開口径をでき得る限り大きく形成することが望ましい。それによってコンタクト抵抗の低減が図られる。
【0154】
また、図面では、多少アライメントずれを起こした状態をわざと記載したが、接続孔開口時に過剰なオーバエッチングを施さなければ、接続孔23内に形成されるワード線の取り出し電極24の物理的な距離を確保することが可能となる。なお、上部からみた投影デザインでは、この接続孔23が完全にワード線(ゲート電極)18にオーバラップする形となっている。上記接続孔23内には、例えばリンドープトポリシリコンで形成される取り出し電極24が形成されている。
【0155】
また、取り出し電極24上面、ゲート電極51、61各上面が第2の絶縁膜22表面と同一面になるように、上記第2の絶縁膜22の表面は平坦化されている。さらに、第2の絶縁膜22上には、取り出し電極24、ゲート電極51、61を覆うエッチングストップ層25が形成されている。
【0156】
上記エッチングストップ層25、上記第1の絶縁膜22およびキャップ絶縁膜80には、DRAM領域のワード線18上のシリサイド層21、ロジック領域のトランジスタのシリサイド層57、67に達する接続孔26、58、68が形成されている。上記接続孔26、58、68内には取り出し電極27、59、69が形成されている。上記取り出し電極27、59、69は、窒化チタン膜からなる密着層を介して接続孔26、58、68内を埋め込むように形成されたタングステン膜からなる。
【0157】
上記エッチングストップ層25上には、上記取り出し電極27、59、69を覆う第2の絶縁膜31が形成されている。この第2の絶縁膜31は例えば酸化シリコン膜を50nm〜150nmの厚さに堆積して形成されている。
【0158】
上記第2の絶縁膜31、エッチングストップ層25には、取り出し電極24に接続するビットコンタクトホール32と取り出し電極59に接続するローカルハッチングコンタクトホール33が形成されている。また第2の絶縁膜31上にはビット線34が形成されていて、その一部は上記ビットコンタクトホール32を通じて取り出し電極24に接続されている。また、第2の絶縁膜31上にはローカル配線35が形成されていて、その一部は上記ローカル配線コンタクトホール33を通じて取り出し電極59に接続されている。上記ビット線34およびローカル配線35は、例えばタングステン膜37により形成され、その下部に密着層36が形成され、その上部にキャップ層38が形成されている。
【0159】
上記第2の絶縁膜22上には、上記ビット線34およびローカル配線35を覆うエッチングストッパ層41および第3の絶縁膜42が形成されている。このエッチングストッパ層41は、ALD窒化シリコン膜で、例えば30nm〜50nmの厚さに形成されている。
【0160】
上記第3の絶縁膜42から上記エッチングストッパ層25にかけて、記憶ノードコンタクトの取り出し電極24、24に達する記憶ノードコンタクトを形成する接続孔43が形成されている。この接続孔43内においては上記エッチングストッパ層41がビット線と記憶ノードコンタクトとの耐圧が確保される膜厚のサイドウォールとしてビット線34の側壁に残る。さらに上記接続孔43内には取り出し電極24に接続する記憶ノードコンタクト44が形成されている。この記憶ノードコンタクト44は、例えばタングステン、チタン、窒化チタン、タンタル、窒化タンタル、酸化ルテニウム等の材料で形成されている。なお、上記第3の絶縁膜42表面は、例えば、記憶ノードコンタクト44上面とともに平坦化されている。
【0161】
上記第3の絶縁膜42上には第4の絶縁膜45が形成されている。この第4の絶縁膜45には、キャパシタが形成される凹部46が、その底部に上記記憶ノードコンタクト44上面が露出するように形成されている。その凹部46内には、熱処理が不要なMIM(Metal/insulator/Metal)構造のキャパシタ91が形成されている。MIM構造のキャパシタ91は0.1μm以降のDRAMでは必須になると予想され、現在では、一例として、電極92、94にルテニウム(Ru)、酸化ルテニウム(RuO)系材料が用いられ、電極92、94間に形成される誘電体膜93にはBST(BaTiO3 とSrTiO3 との混晶)系の膜が採用されている。
【0162】
上記第4の絶縁膜45上には、上記MIM構造のキャパシタ91を覆う第5の絶縁膜47が形成されている。この第5の絶縁膜47表面は平坦化されている。上記第5の絶縁膜47ないし第1の絶縁膜22には、キャパシタ取り出し電極、ワード線取り出し電極、ローカル配線取り出し電極、ロジック領域の拡散層取り出し電極、ロジック領域のゲート取り出し電極等を形成するための接続孔111、112、113、114〜116、117等が形成されている。
【0163】
各接続孔111、112、113、114〜116、117等には、キャパシタ取り出し電極121、ワード線取り出し電極122、ローカル配線取り出し電極123、標準電圧ロジック領域の拡散層取り出し電極124、高電圧ロジック領域の拡散層取り出し電極125,126、ロジック領域のゲート取り出し電極127等が形成されている。
【0164】
さらに、第5の絶縁膜47上には第6の絶縁膜48が形成されている。この第6の絶縁膜48には、各電極121、122、123、124,127、125、126に達する配線溝131、132、133、134、135、136が形成され、各配線溝131〜136には第1の配線141〜146が形成されている。この第1の配線141〜146は例えば銅配線からなる。図示はしないが、さらに必要に応じて上層配線が形成されている。なお、上記電極121〜127および上記配線141〜146には、電極、配線、絶縁膜の材質によって、通常知られている密着層、バリア層が形成されている。
【0165】
上記第2の半導体装置では、溝14内に形成されるワード線18の上部で溝14の側壁側に溝部183を形成し、その溝部183を埋め込むようにワード線(ゲート電極を含む)18上の溝14の側壁にサイドウォール絶縁膜20を形成したことから、このサイドウォール絶縁膜20の溝部183に形成された部分によってワード線18上面のシリサイド層21とゲート絶縁膜16との物理的距離が十分に確保される。このため、ゲート絶縁膜16の耐圧劣化を防止することができる。
【0166】
上記第2の半導体装置では、チャネルが形成される溝14下部とウエル拡散層13との間の半導体基板11にチャネル拡散層15が形成されていることから、溝14とウエル拡散層13との間の領域の不純物濃度は溝14周囲の半導体基板11の不純物濃度よりも高くなる。また、ソース・ドレインとなる拡散層19下部の半導体基板11濃度は極めて低くなっていることから、ソース・ドレインとなる拡散層19の接合の電界が弱められるので、ppmオーダーでの接合リークの抑制が可能になり、それによって、データ保持特性が極めてよくなる。
【0167】
ワード線18上層にシリサイド層21が形成されていることから、ワード線18の抵抗が低減され、遅延の問題が回避され、動作速度が向上する。それとともに、ワード線18へのコンタクト抵抗が低減される。また、ロジック素子の拡散層55、65上にシリサイド層57、67が形成されていることから、この拡散層55、65へのコンタクト抵抗が低減される。
【0168】
しかも、半導体基板11表面側に拡散層19が形成され、その半導体基板11に形成された溝14内にゲート絶縁膜16を介してワード線18が埋め込まれていることから、チャネルはワード線18が形成されている溝14底部側の半導体基板11を廻り込むように形成される。そのため、実効的なチャネル長が十分に確保されるため、バックバイアスを印加して、短チャネル効果が厳しいメモリ素子(例えばDRAM)のトランジスタ特性が安定化される。
【0169】
また、拡散層19は、その深さ方向に不純物濃度が薄くなっていることから、メモリ素子領域の拡散層19下部の半導体基板11濃度をセルトランジスタに要求されるほどに濃くしなくともよいので、接合の電界が緩和され、メモリ素子のセル縮小化にともない厳しくなるデータ保持特性の性能が維持される。
【0170】
また、ゲート絶縁膜16を介して溝14内に埋め込まれたワード線18上に、第1の絶縁膜22を介してこのワード線18にオーバラップする状態で、半導体基板11表面に形成した拡散層19に接続される取り出し電極24が形成されていることから、ワード線18上の第2の絶縁膜22を20nm〜30nm以上の十分な膜厚を確保することが可能になる。それによって、拡散層19に接続される取り出し電極24との耐圧が確保される。そのため、メモリ素子の拡散層19上の全面がコンタクトに使用されるので、実効面積を有効に使用できる。よって、セルデザインで実現可能な最低の抵抗値が実現されるので、コンタクト抵抗の低減が図れる。
【0171】
本発明の半導体装置の製造方法に係る実施の形態の一例を、図26〜図52の概略構成断面図、部分拡大図によって説明する。図26〜図52では、メモリ素子とロジック素子とを同一半導体基板に形成する製造方法を示し、前記図25によって説明したのと同様なる構成部品には同一符号を付与する。
【0172】
図26の(1)に示すように、半導体基板11として、例えば1×1017/cm3 程度のp型不純物濃度を有するシリコン基板を用意する。例えばSTI(Shallow Trench Isolation )技術によって、上記半導体基板11に、メモリ素子領域(以下DRAMとして説明し、図面ではDRAM領域と記す)、標準電圧ロジック領域、高電圧ロジック領域等を分離する素子分離領域12を形成する。この素子分離領域12は例えば0.1μm〜0.2μm程度の深さに形成される。次いで、化学的気相成長(以下CVDという、CVDはChemical Vapor Deposition の略)によって素子分離領域12上を覆うように上記半導体基板11上に例えば酸化シリコン膜からなるバッファ層71を例えば20nm〜40nmの厚さに形成する。
【0173】
さらに半導体基板11上にレジスト膜201を形成した後、リソグラフィー技術に用いてDRAM領域となる部分のレジスト膜201を除去し、ロジック領域(以下、標準電圧ロジック領域と高電圧ロジック領域とをロジック領域という)上にレジスト膜201を残す。
【0174】
次いで上記レジスト膜201をマスクに用いたイオン注入により、上記メモリ素子領域の半導体基板11中に例えばホウ素を導入してウエル拡散層13を形成する。このイオン注入条件としては、イオン種にホウ素を用い、ドーズ量を例えば5×1012/cm2 〜7×1012/cm2 程度とし、後に形成される溝の深さよりも深くなるように、例えば150nm〜200nmよりも深く、素子分離領域12の深さよりもやや深い状態に形成される。また、ウエル拡散層13は深さ方向の厚さを例えば0.8μm程度とする。
【0175】
さらに、必要に応じて、素子分離領域12下方の半導体基板11に素子分離拡散層(図示せず)を形成してもよい。
【0176】
上記バッファ層71は、上記ウエル拡散層13を形成する際の緩衝膜の機能を有するものである。また、後に行うメモリ素子のトランジスタ(アクセストランジスタ)の基板濃度を調整するイオン注入時にDRAMの接合となる領域に対してイオン注入のストッパとして機能する。さらに、溝に埋め込まれたワード線の表面にサリサイドを形成する際に、DRAM領域の拡散層にサリサイドが形成されるのを防止する機能を有する。
【0177】
さらに、図27の(2)に示すように、半導体基板11上にレジスト膜203を形成した後、リソグラフィー技術によりDRAM領域のワード線(ゲート電極)となる領域上のレジスト膜203に開口部204を形成する。
【0178】
次いで、図28の(3)に示すように、上記レジスト膜203をエッチングマスクに用いて、バッファ層71、素子分離領域12および半導体基板11をエッチング(例えば連続的にエッチング)して素子分離領域12(フィールド)および半導体基板11に、DRAM領域のワード線(ゲート電極も含む)が形成される溝14を形成する。この溝14の深さは、例えば100nm〜150nm程度であり、先に形成したウエル拡散層13とこの溝14の底部との間に半導体基板11が残るようにする。なお、半導体基板11に形成された溝14の深さと素子分離領域12に形成された溝14の深さとが多少の差を生じてもよい。
【0179】
また、上記溝14はDRAM領域のみに形成されることから、溝14底部のエッジ部分は、セルトランジスタの電界集中を避けるために、いわゆるラウンド形状に形成することが望ましく、また、溝14の幅がメモリ素子のアクセストランジスタのチャネル長になるので、溝14の側壁はできうる限り半導体基板11表面に対して垂直に形成されることが望ましい。なお、DRAM領域に形成されているバッファ層71は素子分離領域12をエッチングする際に同時にエッチングされる。その後、上記レジスト膜203を通常の除去技術によって除去する。
【0180】
なお、この世代で想定している電圧としては、標準ロジック領域は0.5V〜1.2V、高電圧ロジック領域は1.5V〜2.5V、DRAMセルのワード線昇圧は1.5V〜2.5Vである。
【0181】
次いで図29の(4)に示すように、例えば熱酸化法によって上記半導体基板11の露出している全面に犠牲酸化膜(図示せず)を例えば10nm〜20nmの厚さに形成する。
【0182】
次いで、DRAM領域のアクセストランジスタのチャネルドーピングを行って、上記溝14の底部と上記ウエル拡散層13との間にチャネル拡散層15を形成する。
【0183】
DRAM領域のワードトランジスタの上記チャネル拡散層15として、高濃度(例えば1.0×1018/cm3 〜1.0×1019/cm3 )にしなければならない領域は、半導体基板11を掘り下げた溝14底部の半導体基板11(11a)部分であり、溝14の側壁や上部における半導体基板11には基板濃度としてのイオン注入をほとんど行う必要はない。また、上記イオン注入では、半導体基板11表面やロジック素子領域には、最初に設けたバッファ層71がイオン注入のマスクとなるため、新たなマスクを用いないで溝14の底部のみにチャネル拡散層15を形成することが可能になる。したがって、後述する拡散層19(図30参照)下部の半導体基板11部分は、極めて低濃度(例えば1.0×1017/cm3 〜1.0×1018/cm3 )での形成が可能になる。
【0184】
その後、例えばウエットエッチングによって上記犠牲酸化膜(図示せず)を除去する。その後、DRAM領域の上記溝14の内面および半導体基板11上等にゲート絶縁膜16を通常のゲート酸化膜の形成方法により形成する。
【0185】
図30の(5)に示すように、DRAM領域の各溝14の内壁を被覆するように上記ゲート絶縁膜16表面に第1導電層181を例えば5nm〜10nmの厚さにリンドープトポリシリコンを堆積して形成する。次いでDRAM領域の各溝14を埋め込むように上記第1導電層181表面に第2導電層182を50nm〜150nmの厚さにノンドープトポリシリコンを堆積して形成する。この膜厚は溝14を埋め込むのに十分な厚さであればよく、その膜厚は特に溝状のワード線を形成するためのみに最適化した膜厚に設定される。さらに、第2導電層182上にレジスト膜205を形成した後、リソグラフィー技術によりDRAM領域上のレジスト膜205を残してロジック領域上のレジスト膜205を除去する。
【0186】
次いで、図31の(6)に示すように、上記レジスト膜205をマスクにしてロジック素子領域上の第2導電層182、第1導電層181、ゲート絶縁膜16およびバッファ層71をエッチングにより除去する。このエッチングでは、第2導電層182、第1導電層181のエッチングではバッファ層71がエッチングストッパとなり、これによって、ロジック素子領域の半導体基板11表面が露出される。さらに、このエッチングでは、バッファ層71を除去するエッチングはフッ酸系のウエットエッチングが望ましい。その後、レジスト膜205を除去する。
【0187】
その後、図32の(7)に示すように、ロジック素子領域の表面に犠牲酸化膜(図示せず)を形成する。次いで、標準電圧ロジック領域のNチャネルトランジスタの形成領域上を開口したレジスト膜(図示せず)を形成し、続いてそのレジスト膜をマスクに用いて半導体基板11にイオン注入を行い、NチャネルトランジスタのPウエル拡散層51を形成する。その際、必用に応じてチャネルドーピングを行うこともできる。その後、上記レジスト膜を除去する。同様にして、標準電圧ロジック領域のPチャネルトランジスタの形成領域上を開口したレジスト膜(図示せず)を形成し、続いてそのレジスト膜をマスクに用いて半導体基板11にイオン注入を行い、PチャネルトランジスタのNウエル拡散層61を形成する。その際、必用に応じてチャネルドーピングを行うこともできる。その後、上記レジスト膜を除去する。
【0188】
次に、上記犠牲酸化膜を除去する。そして、DRAM領域上に残したゲート形成膜72上およびロジック素子領域の半導体基板11(素子分離領域12も含む)上にロジック素子のゲート絶縁膜17を形成する。この世代では、ゲート絶縁膜を膜厚に応じて作り分けるのが一般的であり、レジストプロセスを用いて作り分けを行う。ゲート絶縁膜には酸化シリコンもしくは耐熱性が必要な場合には窒化シリコンを用いる。また、Pチャネルゲートからのホウ素(B)の突き抜けを防止するために、Pチャネルゲートには例えば酸窒化シリコン膜を用いる。これらの処理時には、DRAM領域はリンドープトポリシリコンからなるゲート形成膜72で覆われているため、その表面は酸化されるが、チャネル領域は熱処理がかかるのみで酸化等の影響はない。
【0189】
図33の(8)に示すように、半導体基板11、素子分離領域12および第2導電層182上に上記ゲート絶縁膜17を介してポリシリコン層73を、例えばノンドープトポリシリコンで形成する。そして、Nチャネル領域のゲート電極形成層にリンをイオン注入してN型のゲート電極形成層とする。このポリシリコン層73はロジック領域のトランジスタのゲート電極に最適化されているため、例えばその膜厚は70nm〜200nm、好ましくは100nm程度に形成することが好ましい。なおPチャネル領域のポリシリコン層73にはイオン注入を行わず、ノンドープ状態としておく。これによって、その後のLDD(Lightly Doped Drain )形成やサイドウォール形成時におけるホウ素(B)の突き抜けは無くなる。
【0190】
その後、上記ポリシリコン層73上にダミー層74を形成する。このダミー層74は、例えば、窒化タングステン膜とタングステン膜とを積層して形成する。また、上記ダミー層74は、後のロジック素子領域のポリシリコン層73を露出させるために行うウエットエッチングのために選択される膜種であり、抵抗自体は関係がない。絶縁膜の酸化シリコン膜とポリシリコン層73とに高選択比でウエットエッチングできるものなら何でもよい。次いで、上記ダミー層74上にバッファ層75を例えば酸化シリコン膜で形成する。
【0191】
次に、上記バッファ層75上の全面にレジスト膜を形成した後、リソグラフィー技術によって、そのレジスト膜を加工してロジック素子領域のゲート電極を形成するためのレジストパターン207を形成する。
【0192】
次いで、図34の(9)に示すように、上記レジストパターン207をマスクに用いて、上記バッファ層75、ダミー層74、ポリシリコン層73をエッチング加工して、各ロジック素子領域にダミーゲート76を形成する。上記バッファ層75は、後のサリサイド形成時に金属系電極上のタングステンにサリサイドが形成されるのを防ぐために堆積しているが、汚染や加工上の問題がない場合には、特には不要である。また、周辺部のゲート電極にサリサイド構造を採用する場合には不要である。その後、レジストパターン207を除去する。
【0193】
図35の(10)に示すように、半導体基板11上にダミーゲート76を覆うレジスト膜209を形成した後、リソグラフィー技術に用いてDRAM領域となる部分のレジスト膜209を除去し、ロジック領域上にレジスト膜209を残す。
【0194】
その後、上記レジスト膜209をマスクにして、溝14の内部に第1導電層181、第2導電層182が残るようこの第1導電層181、第2導電層182をエッチバックする。このエッチングでは、第1導電層181のほうが第2導電層182よりもエッチングレートが速くなるエッチング条件を用いる。言い換えれば、第1導電層181のほうが第2導電層182よりもエッチングレートが速くなる導電膜で形成する。その結果、エッチング速度が速い第1導電層181がより多くエッチングされ、第1導電層181上の第2導電層182と溝14の側壁との間に溝部183が形成される。同時に、溝14の内部に第1導電層181、第2導電層182からなるワード線(一部ゲート電極として機能する)18が形成される。その際、ワード線18の表面が半導体基板11表面より50nm〜100nm程度下がるように上記第1導電層181、第2導電層182のエッチバックを行うことで、後に形成される拡散層の取り出し電極との耐圧距離が確保される。このエッチバックでは、ゲート絶縁膜16がエッチングストップ層として機能する。
【0195】
さらに、上記レジスト膜209をマスクに用いて、DRAM領域の半導体基板11にソース・ドレインを形成するためのイオン注入を行い、拡散層19を形成する。このイオン注入条件としては、一例として、イオン注入する不純物にリンを用い、濃度が1×1017/cm3 〜1×1018/cm3 となるように、ドーズ量、注入エネルギーを設定する。バッファ層71を貫通する注入エネルギーであれば十分なため、注入エネルギーを例えば20keV〜50keVに設定し、ドーズ量を1×1018/cm2 〜3×1018/cm2 に設定する。この条件でイオン注入を行えば、DRAM領域の上記拡散層19下層の半導体基板11にはほとんどイオン注入されない。そのため、この領域の半導体基板11は1×1016/cm3 〜×1017/cm3 程度の非常に薄い濃度に設定することが可能となる。上記リンイオン注入により第2導電層182にもリンがドーピングされ、その後の熱処理によって、第1導電層181と第2導電層182は同等の不純物濃度になる。この第1導電層181および第2導電層182は、DRAM領域のワード線のみに使用され、Pチャネルのトランジスタには使用されないため、N+ ゲート材料(例えばリン)をドーピング物質として用いることができる。
【0196】
よって、このN−P接合は超グレーディッド接合(非常に緩やかな濃度勾配の接合)となる。このような状態の接合では、逆バイアス時の電界を緩和し、メガビット級のDRAMでわずかppmオーダーの不良ビットに起きる通常よりも2桁程度も悪い接合リークの電流抑制に劇的に寄与する。この不良ビットのデータ保持特性がDRAMのチップ性能を支配しており、今後のDRAMでデータ保持特性を維持する重要な技術となっている。
【0197】
例えば、基板濃度が5×1016/cm3 程度であるならば、85℃で500ms以上のデータ保持特性が基体でき、これは実に4世代〜5世代も前のデータのデータ保持特性に匹敵する性能を発揮すると予想される。また、DRAM領域のアクセストランジスタは、半導体基板11をいわゆるラウンドする形でチャネルが形成されることから、実効的なチャネル長を長く確保することもでき、バックバイアスを印加して使う、短チャネル効果が厳しいDRAMセルのトランジスタ特性の安定化を図ることもできる。
【0198】
その後、上記レジスト膜209を除去する。上記イオン注入では、後のDRAM領域のゲート形成に係る熱処理による拡散を考慮して、やや浅めにイオン注入を行うが、DRAMのゲートが基板埋め込み型であるため、DRAM領域のチャネルは埋め込みゲートを形成する溝14の底部に形成されるので、何ら問題はない。また、後の熱処理によって活性化されるため、特にこの段階で熱処理を行う必要もない。
【0199】
図37の(11)に示すように、標準電圧ロジック領域のNチャネルトランジスタの形成領域上を開口したレジスト膜(図示せず)を形成し、続いてそのレジスト膜およびダミーゲート76をマスクに用いて半導体基板11(Pウエル拡散層51)にイオン注入を行い、Nチャネルトランジスタの低濃度拡散層52、52を形成する。その後、上記レジスト膜を除去する。同様にして、標準電圧ロジック領域のPチャネルトランジスタの形成領域上を開口したレジスト膜(図示せず)を形成し、続いてそのレジスト膜およびダミーゲート(図示せず)をマスクに用いて半導体基板11にイオン注入を行い、Pチャネルトランジスタの低濃度拡散層(図示せず)を形成する。その後、上記レジスト膜を除去する。
【0200】
さらに、同様にして、高電圧ロジック領域のPチャネルトランジスタの形成領域上を開口したレジスト膜(図示せず)を形成し、続いてそのレジスト膜およびダミーゲート76をマスクに用いて半導体基板11(Nウエル拡散層61)にイオン注入を行い、Pチャネルトランジスタの低濃度拡散層62、62を形成する。その後、上記レジスト膜を除去する。同様にして、高電圧ロジック領域のpチャネルトランジスタの形成領域上を開口したレジスト膜(図示せず)を形成し、続いてそのレジスト膜およびゲート電極(図示せず)をマスクに用いて半導体基板11にイオン注入を行い、Nチャネルトランジスタの低濃度拡散層(図示せず)を形成する。その後、上記レジスト膜を除去する。
【0201】
次いで、図38の(12)に示すように、DRAM領域のゲートを保護する保護膜78を例えば薄い窒化シリコン膜(例えば厚さが10nm〜50nm)で形成する。この保護膜78は、上記溝部183内を埋め込むように形成され、後にDRAM領域のワード線18上の側壁にサイドウォール状に形成され、サリサイド形成時に、ワード線18側壁の耐圧確保に寄与する。
【0202】
次いで、サイドウォール形成膜79を全面に形成する。このサイドウォール形成膜79は、窒化シリコンよりも低応力でウエット処理による剥離性のよい酸化シリコンで形成することが好ましい。または、酸化シリコン膜と窒化シリコン膜の積層膜もしくは酸化窒化シリコン膜で形成することも可能である。上記保護膜78は、後にDRAM内で周辺回路用トランジスタのサイドウォール形成膜79を除去する際のエッチングストッパとなるとともに、後にDRAM領域のワード線18上の側壁にサイドウォール状に形成され、サリサイド形成時に、溝14側壁の耐圧確保に寄与する。
【0203】
その後、図39の(13)に示すように、全面にレジスト膜211を形成し、例えばリソグラフィー技術によってロジック領域のレジスト膜211を除去し、DRAM領域のレジスト膜211は残して、DRAM領域を保護しておく。その状態で、上記サイドウォール形成膜79をエッチバックする。
【0204】
その結果、標準電圧ロジック領域のダミーゲート76の側壁にサイドウォール形成膜79でサイドウォール54が形成され、高電圧ロジック領域のダミーゲート76の側壁にサイドウォール形成膜79でサイドウォール64が形成される。上記エッチングでは、ダミーゲート76上の保護膜78はその膜厚によってはエッチング除去される。その後、上記レジスト膜211を除去する。
【0205】
次いで、図40の(14)に示すように、標準電圧ロジック領域のnチャネルトランジスタの形成領域上を開口したレジスト膜(図示せず)を形成し、続いてそのレジスト膜およびダミーゲート76、サイドウォール54をマスクに用いて半導体基板11にイオン注入を行い、ダミーゲート76側に低濃度拡散層52を残すようにnチャネルトランジスタの拡散層55、55を形成する。その後、上記レジスト膜を除去する。同様にして、標準電圧ロジック領域のpチャネルトランジスタの形成領域上を開口したレジスト膜(図示せず)を形成し、続いてそのレジスト膜およびダミーゲート(図示せず)、サイドウォール(図示せず)をマスクに用いて半導体基板11にイオン注入を行い、ダミーゲート側に低濃度拡散層(図示せず)を残すようにpチャネルトランジスタの拡散層(図示せず)を形成する。その後、上記レジスト膜を除去する。
【0206】
さらに、同様にして、高電圧ロジック領域のnチャネルトランジスタの形成領域上を開口したレジスト膜(図示せず)を形成し、続いてそのレジスト膜およびダミーゲート76をマスクに用いて半導体基板11にイオン注入を行い、ダミーゲート76側に低濃度拡散層62を残すようにしてnチャネルトランジスタの拡散層65、65を形成する。その後、上記レジスト膜を除去する。同様にして、高電圧ロジック領域のpチャネルトランジスタの形成領域上を開口したレジスト膜(図示せず)を形成し、続いてそのレジスト膜およびダミーゲート(図示せず)をマスクに用いて半導体基板11にイオン注入を行い、ダミーゲート側(図示せず)に低濃度拡散層(図示せず)を残すようにしてpチャネルトランジスタの拡散層(図示せず)を形成する。その後、上記レジスト膜を除去する。
【0207】
次いで、全面にレジスト膜213を形成した後、リソグラフィー技術によって、DRAM領域のレジスト膜213を除去し、上記レジスト膜213でロジック領域を覆うようにパターニングを行う。次いで、上記レジスト膜213をマスクに用いて例えばウエット処理によって、DRAM領域の酸化シリコンからなるサイドウォール形成膜79のエッチバックを行う。このエッチングでは、先に形成されているDRAMのワード線18直上に形成されている窒化シリコンからなる保護膜78がエッチングストッパとなる。
【0208】
また、上記レジスト膜213をそのまま利用して、DRAM領域の保護膜78を例えば反応性イオンエッチング(RIE)によりエッチングしてDRAM領域のワード線18を露出させる。この結果。ワード線18上の溝14の側壁に保護膜78からなるサイドウォール絶縁膜20が形成される。このサイドウォール絶縁膜20は側壁保護の機能を有する。なお、上記反応性イオンエッチングでは、DRAM領域の拡散層19が露出しないようにすること、すなわち、拡散層19上にバッファ層71を残すようにすることが重要である。その後、上記レジスト膜213を除去する。
【0209】
さらに、図41の(15)に示すように、通常のシリサイド化技術を用いて、上記ロジック領域の各拡散層55、65上、DRAM領域のワード線18上に、シリサイド層57、67、21を選択的に形成する。このとき、ダミーゲート76の頂上部には、酸化シリコン膜からなるバッファ層75が形成されているので、シリサイド層は形成されない。このようにして、低抵抗を実現する必要が有るロジック領域の各拡散層55、65上、DRAM領域のワード線18上に選択的にシリサイド層57、67、21が形成される。このシリサイド層としては、例えばコバルトシリサイド(CoSi2 )、チタンシリサイド(TiSi2 )ニッケルシリサイド(NiSi2 )等を用いることができる。
【0210】
その後、全面にキャップ絶縁膜80を例えば窒化シリコン膜で形成する。このキャップ絶縁膜80はサリサイド形成部の接合リークを抑制するのに効果的であるが、不要であれば形成する必要はない。なお、先に記述したように、周辺回路部のトランジスタのゲート電極上にもシリサイド層を形成してサリサイド構造として、ゲート電極の低抵抗化を図っても差し支えはない。
【0211】
次いで、図42の(16)に示すように、全面に第1の絶縁膜(絶縁膜)22を形成した後、CMPによって、第1絶縁膜22表面を平坦化する。上記第1の絶縁膜22表面を平坦化する方法は、平坦化を実現することができる方法であればCMPに限定されることはなく、例えばエッチバック法等を用いることも可能である。その後、上記第1の絶縁膜22上にレジスト膜215を形成した後、リソグラフィー技術によって、上記レジスト膜215にDRAM領域の拡散層取り出しコンタクト用の接続孔パターン216を形成する。
【0212】
次いで、上記レジスト膜215をエッチングマスクに用いてエッチングを行い、図43の(17)に示すように、第1の絶縁膜22、バッファ層71等を貫通してDRAM領域の拡散層19に達する接続孔23を形成する。このとき、DRAM領域のワード線(ゲート電極)18はコンタクトを取るべき拡散層19よりも半導体基板11表面下に配置されているので、セルフアラインコンタクト等の特別な技術を用いる必要はない。またDRAMの拡散層19全面が取り出し電極とコンタクトできるように、接続孔23の開口径をでき得る限り大きく形成することが望ましい。それによってコンタクト抵抗の低減が図られる。
【0213】
また、図面では、多少アライメントずれを起こした状態をわざと記載したが、接続孔開口時に過剰なオーバエッチングを施さなければ、後の工程で接続孔23内に形成されるワード線取り出し電極の物理的な距離を確保することが可能となる。なお、上部からみた投影デザインでは、この接続孔23が完全にワード線(ゲート電極)18にオーバラップする形となっている。
【0214】
次いで、上記接続孔23内を埋め込むように、第1の絶縁膜22上に、取り出し電極形成膜81を形成する。この取り出し電極形成膜81は、例えばリンドープトポリシリコンで形成される。この拡散層取り出しのための取り出し電極形成膜81は、従来通り、DRAM領域に接合リークの低減を考慮してリンドープトポリシリコンが選択されることが望ましい。なお、この段階では活性化のための熱処理は不要である。
【0215】
その後、図44の(18)に示すように、例えばCMPによって、第1の絶縁膜22上の余剰な取り出し電極形成膜81(リンドープトポリシリコン)を除去して、接続孔23内に拡散層19に接続する取り出し電極形成膜81からなる取り出し電極24を形成するとともに、第1の絶縁膜22を研磨してその表面を平坦化させる。その際、各ロジック領域のダミーゲート76のバッファ層75〔図34の(9)参照〕を除去してダミーゲート76のダミー層74上部を露出させる。
【0216】
次いで、ロジック領域におけるダミーゲート76のダミー層74〔図44の(18)参照〕を除去する。その結果、図45の(19)に示すように、上記各ダミーゲート76のポリシリコン層73上に溝83が形成される。このエッチングは、例えば、硫酸過水もしくはフッ硝酸によるウエットエッチングにより行うことが好ましい。
【0217】
次いで、上記第1の絶縁膜22側の全面にレジスト膜217を形成した後、リソグラフィー技術によって、ロジック素子領域のpチャネルトランジスタの形成領域上に開口部218を形成する。続いてそのレジスト膜217をマスクに用いてノンドープトポリシリコンからなるポリシリコン層73にp型不純物として例えばホウ素をイオン注入する。
【0218】
その後、上記レジスト膜217を除去する。次いで熱処理を行う。この熱処理によって、DRAM領域のポリシリコンからなる取り出し電極24と、ロジック素子領域のゲート電極の不純物がドーピングされたポリシリコン層73の活性化を行う。この熱処理では、900℃、10秒程度のRTA(Rapid Thermal Annealing )で十分ではあるが、通常の炉を用いた熱アニールを行っても差し支えは無い。なお、これ以降の工程では、高温の熱工程は行われないので、ロジック素子領域のゲート電極からホウ素が拡散する、いわゆる「突き抜け」は最小限に抑えられる。
【0219】
そして、図46の(20)に示すように、上記溝83内部を埋め込むように金属系ゲート電極形成膜84を形成する。上記金属系ゲート電極形成膜84は金属膜(例えばタングステン膜)84W/密着膜(例えば窒化チタン膜84T)の積層膜で形成することが一般的である。または、タングステン/窒化タングステン、銅/窒化チタン、ルテニウム等の電極を形成することも可能である。
【0220】
再びCMPによって、第1の絶縁膜22上の余剰な金属系ゲート電極形成膜84を除去する。
【0221】
その結果、図47の(21)に示すように、溝83内に残した金属系ゲート電極形成膜84からなる金属系ゲート電極84Gが形成され、金属系ゲート電極84Gとポリシリコン層73とからなるゲート電極51、61が形成されるとともに、第1の絶縁膜22表面が平坦化される。その際、DRAM領域の拡散層を取り出すための取り出し電極24の上部も研磨されるが、何ら問題はない。
【0222】
次いで、第1の絶縁膜22上に、DRAM領域の取り出し電極24およびロジック素子領域のゲート電極51、61を覆うエッチングストップ層25を例えば酸化シリコン膜で全面に形成する。
【0223】
その後、図48の(22)に示すように、エッチングストップ層25上にレジスト膜(図示せず)を形成した後、リソグラフィー技術によって、上記レジスト膜にDRAM領域のワード線取り出しコンタクト用およびロジック領域の拡散層取り出し電極用の接続孔パターン(図示せず)を形成する。続いて、上記レジスト膜をエッチングマスクに用いて、上記エッチングストップ層25、上記第1の絶縁膜22およびキャップ絶縁膜80を貫通してDRAM領域のワード線18上のシリサイド層21、ロジック領域のトランジスタのシリサイド層57、67に達する接続孔26、58、68を形成する。
【0224】
その後、上記レジスト膜を除去する。次に、通常のタングステンプラグの形成技術により上記接続孔26、58、68に内面に窒化チタン膜からなる密着層85を形成した後、接続孔26、58、68内を埋め込むようにタングステン膜86を形成する。その後CMPにより上記エッチングストップ層25上の上記タングステン膜86および密着層85の余剰な部分を除去し、上記接続孔26、58、68の内部に取り出し電極27、59、69を形成する。
【0225】
次いで、上記取り出し電極27、59、69を覆うように上記エッチングストップ層25上の全面に第2の絶縁膜31を例えば酸化シリコン膜を50nm〜150nmの厚さに堆積して形成する。
【0226】
その後、第2の絶縁膜31上にレジスト膜(図示せず)を形成した後、リソグラフィー技術により上記レジスト膜にビットコンタクトを形成する位置に開口部(図示せず)を形成する。そのレジスト膜をマスクに用いたエッチングにより、図49の(23)に示すように、上記第2の絶縁膜31、エッチングストッパ層25にビットコンタクトホール32およびローカル配線コンタクトホール33を形成する。
【0227】
次いで、ビット線34およびローカル配線35を形成するための配線金属層を形成する。この配線金属層は、まず上記ビットコンタクトホール32およびローカル配線コンタクトホール33の内面および第2の絶縁膜31上に、例えばチタン膜と窒化チタン膜を積層してなる密着層36を形成する。さらにビットコンタクトホール32およびローカル配線コンタクトホール33を埋め込むようにして、上記密着層36上に金属配線の主材料となるタングステン膜37を成膜する。さらにタングステン膜37上にキャップ層38を例えば窒化シリコン膜で形成する。
【0228】
その後、通常のリソグラフィー技術とエッチング技術とによって上記キャップ層38、タングステン膜37、密着層36をパターニングしてビットコンタクトホール32を通じてビットコンタクトの取り出し電極24に接続されるビット線34と、ローカル配線コンタクトホール33を通じて取り出し電極59に接続されるローカル配線35とが形成される。したがって、ビット線34上およびローカル配線35上にはキャップ層38が形成される。
【0229】
その後、上記第2の絶縁膜31上に、ビット線34、ローカル配線35等を覆うエッチングストッパ層41をALD窒化シリコン膜で、例えば30nm〜50nmの厚さに形成する。
【0230】
次に、図50の(24)に示すように、上記エッチングストッパ層41上に第3の絶縁膜42を形成する。そして、第3の絶縁膜42表面を例えばCMPを用いて平坦化する。次に、上記第3の絶縁膜42上にレジスト膜219を形成した後、リソグラフィー技術により記憶ノードコンタクトを開口するための開口パターン220を形成する。この開口パターン220は、実際の記憶ノードコンタクトが形成される接続孔の口径よりも大きく形成することができる。
【0231】
次いで、上記レジスト膜219をエッチングマスクに用いて、図51の(25)に示すように、記憶ノード上記第3の絶縁膜42からエッチングストップ層25までをエッチングして、コンタクトの取り出し電極24、24に達する記憶ノードコンタクトを形成する接続孔43を形成する。このエッチングでは、上記レジスト膜219〔前記図50の(24)参照〕の他にキャップ層38およびエッチングストッパ層41がエッチングマスクとなっている。なお、上記エッチングストッパ層41は、その一部がエッチングされるが、ビット線と記憶ノードコンタクトとの耐圧が確保される膜厚のサイドウォールとしてビット線34の側壁に残る。その後上記レジスト膜219〔図50の(24)参照〕を除去する。
【0232】
次に、図52の(26)に示すように、上記接続孔43内に取り出し電極24に接続する記憶ノードコンタクト44を形成する。この記憶ノードコンタクト44は、例えば上記接続孔43を埋め込むように上記第3の絶縁膜42上にタングステン、チタン、窒化チタン、タンタル、窒化タンタル、酸化ルテニウム等を堆積して材料層を形成した後、第3の絶縁膜42上の余剰な上記材料層を例えばCMPによって除去することによって、接続孔43内に残した上記材料層で形成される。
【0233】
次に、第3の絶縁膜42上に上記記憶ノードコンタクト44等を覆う第4の絶縁膜45を形成する。次いで、第4の絶縁膜45にキャパシタが形成される凹部46を、その底部に上記記憶ノードコンタクト44上面が露出するように形成する。
【0234】
その後、凹部46内に、熱処理が不要なMIM(Metal/insulator/Metal)構造のキャパシタ91を形成する。MIM構造のキャパシタ91は0.1μm以降のDRAMでは必須になると予想され、現在では、一例として、電極92、94には、ルテニウム(Ru)、酸化ルテニウム(RuO)系材料が用いられ、誘電体膜93にはBST(BaTiO3 とSrTiO3 との混晶)系の膜が採用される。
【0235】
次いで、上記第4の絶縁膜45上に、上記MIM構造のキャパシタ91を覆う第5の絶縁膜47を形成する。その後、CMPによって上記第5の絶縁膜47表面を平坦化する。次いで、第5の絶縁膜47ないし第2の絶縁膜31に、キャパシタ取り出し電極、ワード線取り出し電極、ローカル配線取り出し電極、ロジック領域の拡散層取り出し電極、ロジック領域のゲート取り出し電極等を形成するための接続孔111、112、113、114〜116、117等を形成する。
【0236】
さらに、接続孔111、112、113、114〜116、117等に、キャパシタ取り出し電極121、ワード線取り出し電極122、ローカル配線取り出し電極123、ロジック領域の拡散層取り出し電極124〜126、ロジック領域のゲート取り出し電極127を形成する。さらに、第5の絶縁膜47上に第6の絶縁膜48を形成する。次いで、この第6の絶縁膜48に各電極121〜127等に達する各配線溝131〜136を形成し、配線溝131〜136に配線141〜146を形成する。この配線141〜146は例えば銅配線からなる。図示はしないが、さらに必要に応じて上層配線を形成する。なお、上記電極121〜127および上記配線141〜146には、電極、配線、絶縁膜の材質によって、通常知られている密着層、バリア層が形成される。
【0237】
上記第2の半導体装置の製造方法では、ワード線(ゲート電極)18上部の溝14側壁側に溝部183を形成し、この溝部183を埋め込むようにワード線(ゲート電極)18上の溝14側壁にサイドウォール絶縁膜20を形成することから、ワード線(ゲート電極)18上にシリサイド層21が形成されても。シリサイド層21とゲート絶縁膜16との距離はサイドウォール絶縁膜20の溝部183に形成された部分によって十分に確保されるので、ゲート絶縁耐圧の劣化が抑制される半導体装置となる。
【0238】
上記第2の半導体装置の製造方法では、バッファ層71を形成していることにより、その後、溝14の底部における半導体基板11にチャネル拡散層15を形成する不純物を導入する際に、バッファ層71がマスクとなって、選択的に溝14の底部の半導体基板11に不純物が導入され、チャネル拡散層15が形成される。
【0239】
このように、溝14下部とウエル拡散層13との間の半導体基板11にチャネル拡散層15を形成することから、溝144とウエル拡散層13との間の領域の不純物濃度は溝14周囲の半導体基板11の不純物濃度よりも高くなる。また、ソース・ドレインとなる拡散層19下部の半導体基板11濃度は極めて低くい状態に保つことができるので、ソース・ドレインとなる拡散層19の接合の電界が弱められる。このため、ppmオーダーでの接合リークの抑制が可能になり、それによって、データ保持特性が極めてよくなる半導体装置が形成される。
【0240】
また、ゲート絶縁膜16を介して半導体基板11に形成された溝14内に埋め込まれたワード線8上に、第1の絶縁膜22を介してこのワード線18にオーバラップする状態で、半導体基板11表面に形成した拡散層19に接続される取り出し電極を形成することから、ワード線18上の第1の絶縁膜22を20nm〜30nm以上の十分な膜厚を確保することが可能になる。それによって、拡散層19に接続される取り出し電極24との耐圧が確保される。そのため、メモリ素子の拡散層上の全面がコンタクトに使用されるので、実効面積を有効に使用できる。よって、セルデザインで実現可能な最低の抵抗値が実現されるので、コンタクト抵抗の低減が図れる。
【0241】
さらに、ワード線18上層にシリサイド層21を形成することから、ワード線18の抵抗が低減され、遅延の問題が回避される。また、ロジック素子の拡散層55、65上にシリサイド層57、67を形成することから、この拡散層55、65へのコンタクト抵抗が低減される。
【0242】
また、半導体基板11表面側に拡散層19を形成し、その半導体基板11に形成した溝14内にゲート絶縁膜16を介してワード線18を埋め込むように形成することから、チャネルはワード線18が形成されている溝14底部側の半導体基板11を廻り込むように形成される。そのため、実効的なチャネル長が十分に確保されるため、バックバイアスを印加して、短チャネル効果が厳しいメモリ素子(例えばDRAM)のトランジスタ特性が安定化される。
【0243】
また、メモリ素子領域の拡散層19を、その深さ方向に不純物濃度が薄くなるように形成することから、拡散層19下部の半導体基板11濃度をセルトランジスタに要求されるほどに濃くしなくともよいので、接合の電界が緩和され、メモリ素子のセル縮小化にともない厳しくなるデータ保持特性の性能が維持される。
【0244】
また、ロジック素子領域に形成するダミーゲート76にポリシリコン層73とダミー層74との積層構造を用いることによって、メモリ素子領域の拡散層の取り出し電極を形成した後にダミー層74を除去し、ダミーゲート76のポリシリコン層73に不純物をドーピングすることが可能になる。その後、熱処理を行い、金属ゲート電極形成膜84で金属ゲート電極84Gを形成することから、熱処理によるpチャネルゲート電極におけるホウ素の突き抜けの問題が最小限に抑えられる。
【0245】
上記DRAM領域に用いた技術は、汎用DRAMのメモリチップの製造にも適用することが可能である。
【0246】
【発明の効果】
以上、説明したように本発明の第1、第2の半導体装置およびその製造方法によれば、半導体基板に形成した溝内に形成されるワード線の上部で溝の側壁側に溝部を形成し、その溝部を埋め込むようにワード線(ゲート電極を含む)上の溝の側壁にサイドウォール絶縁膜を形成することから、このサイドウォール絶縁膜の溝部に形成された部分によってワード線上面のシリサイド層とゲート絶縁膜との物理的距離が十分に確保される。このため、デバイス特性に副作用を与えること無くゲート絶縁膜の耐圧劣化を防止することができる。ワード線上層にシリサイド層が形成されているので、ワード線抵抗の低減が図れ、微細加工化で問題となるワード線の遅延の問題が回避できる。
【0247】
また、半導体基板表面側に拡散層が形成され、その半導体基板に形成された溝内にゲート絶縁膜を介してワード線が埋め込まれているので、チャネルはワード線が形成されている溝底部側の半導体基板を廻り込むように形成される。そのため、メモリ素子領域のセルトランジスタの実効的なチャネル長が十分に確保されるため、バックバイアスを印加して短チャネル効果が厳しいメモリ素子(例えばDRAM)のトランジスタ特性が安定化される。
【0248】
半導体基板に形成した溝内に埋め込まれたワード線上に、サイドウォール、絶縁膜等を介してこのワード線にオーバラップする状態で、半導体基板表面に形成した拡散層に接続される取り出し電極を形成するので、ワード線上の絶縁膜等によって、拡散層と取り出し電極との耐圧を確保することができる。そのため、ワード線よりも高い位置にあるメモリ素子領域の拡散層上の全面をコンタクトに使用できるようになるので、実効面積を有効に使用できる。よって、セルデザインで実現可能な最低の抵抗値を実現することができ、コンタクト抵抗の低減が図れる。
【0249】
したがって、上部投影デザイン的に、メモリ素子領域の拡散層の取り出し電極と、ワード線(ゲート電極)とがオーバラップすることが可能となり、セルの微細化が可能になる。すなわち、基板面方向にはワード線と取り出し電極間の耐圧確保のための距離が必要なくなる。よって、メモリ素子の拡散層上の全面がコンタクトに使用できるので、実効面積を有効に使用でき、セルデザインで実現可能な最低の抵抗値が実現され、コンタクト抵抗の低減が図れる。
【0250】
また、メモリ素子領域の拡散層はその濃度が深さ方向に薄くなるように形成されるので、この拡散層下部の基板濃度をセルトランジスタに要求されるほど濃くする必要がない。そのため、この拡散層の接合の電界を緩和することが可能になり、メモリ素子領域のセル縮小化でますます厳しくなるデータ保持特性の性能を維持することが可能になる。
【0251】
また、第2の半導体装置およびその製造方法によれば、ロジック素子の拡散層上にシリサイド層が形成されているので、この拡散層へのコンタクト抵抗を低減することができる。
【0252】
さらに、ロジック領域の高駆動力トランジスタを実現するためのいわゆるリプレースメントゲート電極を有するロジックトランジスタとメモリ素子との1チップ化が実現される。これによって、ロジック領域のゲートは、熱処理に対するケアが不要となり、ゲート絶縁膜に高誘電率材料を用いることが可能となり、ゲート電極をポリメタル構造で形成することが可能になる。
【図面の簡単な説明】
【図1】本発明の半導体装置に係る実施の形態の一例を示す概略構成断面図である。
【図2】図1のA部拡大概略図である。
【図3】本発明の半導体装置の製造方法に係る実施の形態の一例を示す概略構成断面図(1)である。
【図4】本発明の半導体装置の製造方法に係る実施の形態の一例を示す概略構成断面図(2)である。
【図5】本発明の半導体装置の製造方法に係る実施の形態の一例を示す概略構成断面図(3)である。
【図6】本発明の半導体装置の製造方法に係る実施の形態の一例を示す概略構成断面図(4)である。
【図7】本発明の半導体装置の製造方法に係る実施の形態の一例を示す概略構成断面図(5)である。
【図8】図7のB部拡大概略図である。
【図9】本発明の半導体装置の製造方法に係る実施の形態の一例を示す概略構成断面図(6)である。
【図10】図9のC部拡大概略図である。
【図11】本発明の半導体装置の製造方法に係る実施の形態の一例を示す概略構成断面図(7)である。
【図12】本発明の半導体装置の製造方法に係る実施の形態の一例を示す概略構成断面図(8)である。
【図13】図12のD部拡大概略図である。
【図14】本発明の半導体装置の製造方法に係る実施の形態の一例を示す概略構成断面図(9)である。
【図15】本発明の半導体装置の製造方法に係る実施の形態の一例を示す概略構成断面図(10)である。
【図16】本発明の半導体装置の製造方法に係る実施の形態の一例を示す概略構成断面図(11)である。
【図17】本発明の半導体装置の製造方法に係る実施の形態の一例を示す概略構成断面図(12)である。
【図18】本発明の半導体装置の製造方法に係る実施の形態の一例を示す概略構成断面図(13)である。
【図19】本発明の半導体装置の製造方法に係る実施の形態の一例を示す概略構成断面図(14)である。
【図20】本発明の半導体装置の製造方法に係る実施の形態の一例を示す概略構成断面図(15)である。
【図21】本発明の半導体装置の製造方法に係る実施の形態の一例を示す概略構成断面図(16)である。
【図22】本発明の半導体装置の製造方法に係る実施の形態の一例を示す概略構成断面図(17)である。
【図23】本発明の半導体装置の製造方法に係る実施の形態の一例を示す概略構成断面図(18)である。
【図24】本発明の半導体装置に係る実施の形態の一例を示す概略構成断面図である。
【図25】図24のE部拡大概略図である。
【図26】本発明の半導体装置の製造方法に係る実施の形態の一例を示す概略構成断面図(1)である。
【図27】本発明の半導体装置の製造方法に係る実施の形態の一例を示す概略構成断面図(2)である。
【図28】本発明の半導体装置の製造方法に係る実施の形態の一例を示す概略構成断面図(3)である。
【図29】本発明の半導体装置の製造方法に係る実施の形態の一例を示す概略構成断面図(4)である。
【図30】本発明の半導体装置の製造方法に係る実施の形態の一例を示す概略構成断面図(5)である。
【図31】本発明の半導体装置の製造方法に係る実施の形態の一例を示す概略構成断面図(6)である。
【図32】本発明の半導体装置の製造方法に係る実施の形態の一例を示す概略構成断面図(7)である。
【図33】本発明の半導体装置の製造方法に係る実施の形態の一例を示す概略構成断面図(8)である。
【図34】本発明の半導体装置の製造方法に係る実施の形態の一例を示す概略構成断面図(9)である。
【図35】本発明の半導体装置の製造方法に係る実施の形態の一例を示す概略構成断面図(10)である。
【図36】図35のF部拡大概略図である。
【図37】本発明の半導体装置の製造方法に係る実施の形態の一例を示す概略構成断面図(11)である。
【図38】本発明の半導体装置の製造方法に係る実施の形態の一例を示す概略構成断面図(12)である。
【図39】本発明の半導体装置の製造方法に係る実施の形態の一例を示す概略構成断面図(13)である。
【図40】本発明の半導体装置の製造方法に係る実施の形態の一例を示す概略構成断面図(14)である。
【図41】本発明の半導体装置の製造方法に係る実施の形態の一例を示す概略構成断面図(15)である。
【図42】本発明の半導体装置の製造方法に係る実施の形態の一例を示す概略構成断面図(16)である。
【図43】本発明の半導体装置の製造方法に係る実施の形態の一例を示す概略構成断面図(17)である。
【図44】本発明の半導体装置の製造方法に係る実施の形態の一例を示す概略構成断面図(18)である。
【図45】本発明の半導体装置の製造方法に係る実施の形態の一例を示す概略構成断面図(19)である。
【図46】本発明の半導体装置の製造方法に係る実施の形態の一例を示す概略構成断面図(20)である。
【図47】本発明の半導体装置の製造方法に係る実施の形態の一例を示す概略構成断面図(21)である。
【図48】本発明の半導体装置の製造方法に係る実施の形態の一例を示す概略構成断面図(22)である。
【図49】本発明の半導体装置の製造方法に係る実施の形態の一例を示す概略構成断面図(23)である。
【図50】本発明の半導体装置の製造方法に係る実施の形態の一例を示す概略構成断面図(24)である。
【図51】本発明の半導体装置の製造方法に係る実施の形態の一例を示す概略構成断面図(25)である。
【図52】本発明の半導体装置の製造方法に係る実施の形態の一例を示す概略構成断面図(26)である。
【符号の説明】
11…半導体基板、14…溝、15…チャネル拡散層、16…ゲート絶縁膜、18…ワード線(ゲート電極も含む)、19…拡散層、20…サイドウォール絶縁膜、21…シリサイド層、
[0001]
TECHNICAL FIELD OF THE INVENTION
The present invention relates to a semiconductor device and a method of manufacturing the same, and more particularly, to a semiconductor device including a dynamic random access memory (DRAM) and a method of manufacturing the same, and a semiconductor device in which a DRAM and a logic element are mounted and a method of manufacturing the same.
[0002]
[Prior art]
Due to the miniaturization competition accelerated year by year, especially, a composite device in which a large capacity DRAM and a high speed logic element are mounted on one chip is being developed. As an example of the configuration, a memory cell gate of a DRAM is stacked on a substrate, and a so-called self-aligned contact is used to take out a diffusion layer of a memory cell transistor, while a logic element is formed without using a self-aligned contact. The configuration is as follows.
[0003]
[Problems to be solved by the invention]
However, various problems have also become apparent in stacked DRAMs.
[0004]
In order to maintain transistor performance, the substrate density has become higher with the shrinking of DRAM memory cells, and accordingly, the junction leak in the DRAM region has become severer. For this reason, it is becoming difficult to suppress the junction leak in a megabit class DRAM. That is, it has become difficult to maintain the data retention characteristics of the DRAM, which was conventionally controllable with a margin.
[0005]
Further, as the size of the DRAM cell is reduced, the contact area between the diffusion layer and the extraction electrode is reduced, and the contact resistance is increased twice as much in each generation. For example, in the generation of 0.1 μm or later, the contact resistance is expected to be several kΩ, which is expected to be comparable to the on-resistance of the word transistor of the memory cell. Therefore, not only the cell transistor but also the variation in the contact resistance severely affects the operation of the DRAM, and more precision is required in manufacturing.
[0006]
Further, with the reduction in size of DRAM cells, the interlayer insulation distance between a word line and a contact for taking out a diffusion layer formed beside the word line is approaching with each generation. In manufacturing a megabit DRAM, the critical distance is said to be 20 nm to 30 nm in order to ensure this withstand voltage. Therefore, in a DRAM of a generation of 0.1 μm or less, it is necessary to form a contact for taking out the diffusion layer at a distance equal to or less than the withstand voltage limit distance.
[0007]
Conventionally, tungsten silicide (WSi2 The word line of a DRAM, which has been suppressed in delay by adopting a polycide structure of doped polysilicon, has become difficult to keep the aspect ratio low with the recent miniaturization, and also to suppress the delay of the word line. It has become difficult to obtain a sufficiently low resistance. In particular, in a stacked DRAM or the like that requires a high-speed operation, the word line delay becomes a serious problem affecting the access time of the DRAM. As a technique for lowering the resistance of the gate, reduction in the resistance of the wiring by salicide has been put to practical use. However, in order to apply the method to the gate of the DRAM memory cell, salicide is not formed in the diffusion layer of the DRAM in order to obstruct the reduction of the DRAM memory cell due to the inability to use the offset silicon oxide film and maintain the data retention characteristics. It cannot be usually adopted due to difficulties such as requiring a process.
[0008]
Also, a DRAM storage node contact must have an opening with no margin due to its cell size, and like the diffusion layer contact, an opening at the breakdown voltage limit is required. Is needed.
[0009]
On the other hand, the transistor performance of the logic section has been remarkably improved.+ Gate electrodes are becoming commonly used. However, this p+ In the gate, boron as an impurity is diffused toward the substrate by heat treatment. It includes the problem of so-called "penetration", and is known to cause serious problems such as variation in characteristics of the p-channel transistor and depletion of the gate electrode. Therefore, it is desirable to minimize the heat treatment temperature in the DRAM forming process.
[0010]
As described above, in the future 0.1 μm generation and beyond, some measures are needed to deal with problems such as variations in the characteristics of the p-channel transistor and depletion of the gate electrode. In order to maintain the chip performance trend, a stacked type It is expected that a drastic improvement in the DRAM structure will be required. The present invention is a further improvement of a trench access transistor (TAT) DRAM cell in which a word line of a DRAM part developed as a countermeasure for this is buried in a “groove” formed in a substrate. That is, the physical distance between the silicide formed on the gate electrode and the gate insulating film is ensured, and deterioration of the gate withstand voltage is suppressed.
[0011]
In the above-mentioned TAT / DRAM cell, in order to secure a physical distance between the silicide layer formed on the gate electrode and the gate insulating film, the silicon nitride film formed on the side wall of the groove for forming the gate electrode in the DRAM portion needs to be formed. Therefore, it is necessary to form the sidewall insulating film thickly. However, when the thickness of the sidewall insulating film is increased, the side effect of increasing the wiring resistance of the gate electrode in the DRAM portion occurs. For this reason, there is a demand for a method capable of ensuring a good physical distance between the silicide layer on the gate electrode and the gate insulating film without any adverse effect on device characteristics.
[0012]
[Means for Solving the Problems]
The present invention is directed to a semiconductor device and a method of manufacturing the same that have been made to solve the above problems.
[0013]
A first semiconductor device of the present invention includes a semiconductor substrate, a groove formed in the semiconductor substrate, a channel diffusion layer formed in the semiconductor substrate at a bottom of the groove, and a gate insulating film in the groove. A buried gate electrode; a groove formed on the side of the groove above the gate electrode; a sidewall insulating film buried in the groove and formed on a side wall of the groove on the gate electrode; A diffusion layer formed on the surface of the semiconductor substrate; and a silicide layer formed on the gate electrode at a position higher than a bottom of the sidewall insulating film.
[0014]
The first conductive layer is formed of a conductive film having a higher etching rate than the second conductive layer. In addition, a well diffusion layer is formed in the semiconductor substrate separated by the element isolation region, and the trench is formed in the semiconductor substrate and the element isolation region while leaving a part of the semiconductor substrate on the well diffusion layer. The channel diffusion layer is formed on the semiconductor substrate between the bottom of the groove and the well diffusion layer.
[0015]
In the above-described semiconductor device, since the groove is formed on the groove side wall above the word line, and the sidewall insulating film is formed on the groove side wall on the word line so as to fill the groove, the silicide layer is formed on the word line. However, since the sidewall insulating film between the silicide layer and the gate insulating film is offset and the distance between the silicide layer and the gate insulating film is sufficiently ensured, the deterioration of the gate insulating withstand voltage is suppressed.
[0016]
In the first semiconductor device, in the configuration in which the channel diffusion layer is formed in the semiconductor substrate between the lower portion of the groove where the channel is formed and the well diffusion layer, the impurity concentration in the region between the groove and the well diffusion layer is increased. Becomes higher than the impurity concentration of the semiconductor substrate around the trench. Also, since the concentration of the semiconductor substrate below the diffusion layer serving as the source / drain is extremely low, the electric field at the junction of the diffusion layer serving as the source / drain is weakened, so that it is possible to suppress the junction leakage on the order of ppm. Therefore, the data retention characteristics are extremely improved.
[0017]
In the first semiconductor device, since the silicide layer is formed on the gate electrode, the resistance of the gate electrode is reduced, the problem of delay is avoided, and the operation speed is improved. At the same time, the contact resistance to the gate electrode is reduced.
[0018]
In addition, since the diffusion layer is formed on the surface of the semiconductor substrate and the word line is embedded in the groove formed on the semiconductor substrate via the gate insulating film, the channel is formed at the bottom of the groove where the gate electrode is formed. Formed around the semiconductor substrate on the side. Therefore, since an effective channel length is sufficiently ensured, the transistor characteristics of a memory element (for example, DRAM) having a severe short channel effect are stabilized by applying a back bias.
[0019]
According to a first method of manufacturing a semiconductor device of the present invention, a step of forming a groove at a position where a gate electrode is formed in a semiconductor substrate on which an element isolation region is formed, and a step of forming a groove in the semiconductor substrate at a bottom of the groove Forming a channel diffusion layer; forming a gate insulating film in the trench and on the semiconductor substrate; forming a first conductive layer on the semiconductor substrate including the inner wall of the trench; Forming a second conductive layer filling the groove on the substrate via the first conductive layer; and forming the second conductive layer inside the groove so that the first conductive layer is lower than the second conductive layer. Removing the first conductive layer and the second conductive layer on the upper portion and on the semiconductor substrate to form a gate electrode with the first conductive layer and the second conductive layer remaining inside the trench; Groove side wall and the second Forming a trench between the conductive layer and a conductive layer; forming a diffusion layer in the semiconductor substrate above the trench sidewall; burying the interior of the trench, and forming a sidewall insulating film on the trench sidewall on the gate electrode; And a step of forming a silicide layer on the gate electrode.
[0020]
Further, a conductive film having an etching rate higher than that of the second conductive layer is used for the first conductive layer. A well diffusion layer is formed in the semiconductor substrate separated by the element isolation region, and the trench is formed in the semiconductor substrate and the element isolation region in a state where a part of the semiconductor substrate is left on the well diffusion layer. Forming the channel diffusion layer on the semiconductor substrate between the bottom of the trench and the well diffusion layer.
[0021]
In the first method of manufacturing a semiconductor device, a trench is formed on the trench sidewall on the upper portion of the gate electrode, and a sidewall insulating film is formed on the trench sidewall on the gate electrode so as to fill the trench. Even if a silicide layer is formed, the sidewall insulating film is offset and the distance between the silicide layer and the gate insulating film is sufficiently ensured, so that a semiconductor device in which deterioration of the gate withstand voltage is suppressed can be obtained. In the first method for manufacturing a semiconductor device, the method for forming a channel diffusion layer in a semiconductor substrate between a lower portion of a groove in which a channel is formed and a well diffusion layer may include forming a region between the groove and the well diffusion layer. The impurity concentration becomes higher than the impurity concentration of the semiconductor substrate around the trench. Further, since the concentration of the semiconductor substrate below the diffusion layer serving as the source / drain can be kept extremely low, the electric field at the junction of the diffusion layer serving as the source / drain is weakened. For this reason, it is possible to suppress the junction leak on the order of ppm, thereby forming a semiconductor device having extremely good data retention characteristics.
[0022]
Furthermore, since the silicide layer is formed on the gate electrode, the resistance of the gate electrode is reduced, and the problem of delay is avoided. At the same time, the contact resistance to the gate electrode is reduced.
[0023]
Further, since a diffusion layer is formed on the surface of the semiconductor substrate and the gate electrode is buried through a gate insulating film in the groove formed in the semiconductor substrate, the channel is formed at the bottom of the groove where the gate electrode is formed. Formed around the semiconductor substrate on the side. Therefore, since an effective channel length is sufficiently ensured, the transistor characteristics of a memory element (for example, DRAM) having a severe short channel effect are stabilized by applying a back bias.
[0024]
According to a second semiconductor device of the present invention, in a semiconductor device in which a memory element and a logic element are formed on the same semiconductor substrate, a transistor of the memory element includes an element isolation region formed on the semiconductor substrate, And a well diffusion layer formed in the semiconductor substrate separated by the above, and formed in the semiconductor substrate and the element isolation region while leaving a part of the semiconductor substrate on the well diffusion layer. A trench, a channel diffusion layer formed in the semiconductor substrate between the bottom of the trench and the well diffusion layer, a word line embedded in the trench via a gate insulating film, and a top of the word line. A groove formed on the side wall of the groove, a sidewall insulating film formed on the side wall of the groove on the word line including the inside of the groove, and a surface of the semiconductor substrate on the side wall of the groove. The formed diffusion layer, the silicide layer formed on the word line upper layer at a position higher than the bottom of the sidewall insulating film, and the silicide layer formed on the word line with an insulating film interposed therebetween. A transistor of the logic element is formed on the semiconductor substrate, and has a polymetal structure gate electrode in which a polysilicon electrode and a metal-based electrode are laminated. And a diffusion layer formed on the surface of the semiconductor substrate on both sides of the gate electrode, and a silicide layer formed on the diffusion layer.
[0025]
In the second semiconductor device, since the groove is formed on the side of the groove above the word line, and the sidewall insulating film is formed on the side wall of the groove on the word line so as to fill the groove, the silicide layer is formed on the word line. Is formed, the sidewall insulating film between the silicide layer and the gate insulating film is offset, and the distance between the silicide layer and the gate insulating film is sufficiently ensured. You.
[0026]
In the second semiconductor device, since the channel diffusion layer is formed in the semiconductor substrate between the lower portion of the groove where the channel is formed and the well diffusion layer, the impurity concentration in the region between the groove and the well diffusion layer is increased. Becomes higher than the impurity concentration of the semiconductor substrate around the trench. Also, since the concentration of the semiconductor substrate below the diffusion layer serving as the source / drain is extremely low, the electric field at the junction of the diffusion layer serving as the source / drain is weakened, so that it is possible to suppress the junction leakage on the order of ppm. Therefore, the data retention characteristics are extremely improved.
[0027]
Since the silicide layer is formed above the word line, the resistance of the word line is reduced, the problem of delay is avoided, and the operation speed is improved. At the same time, the contact resistance to the word line is reduced. Further, since the silicide layer is formed on the diffusion layer of the logic element, the contact resistance to this diffusion layer is reduced.
[0028]
In addition, since the diffusion layer is formed on the surface of the semiconductor substrate and the word line is buried in the groove formed on the semiconductor substrate via the gate insulating film, the channel is formed at the bottom of the groove where the word line is formed. Formed around the semiconductor substrate on the side. Therefore, since an effective channel length is sufficiently ensured, the transistor characteristics of a memory element (for example, DRAM) having a severe short channel effect are stabilized by applying a back bias.
[0029]
Further, since the impurity concentration of the diffusion layer is reduced in the depth direction, the concentration of the semiconductor substrate under the diffusion layer in the memory element region does not have to be as high as required for the cell transistor. The electric field is alleviated, and the performance of the data retention characteristic, which becomes more severe as the cell size of the memory element is reduced, is maintained.
[0030]
In addition, a word line embedded in a groove formed in the semiconductor substrate via a gate insulating film is connected to a diffusion layer formed on the surface of the semiconductor substrate in a state of overlapping with the word line via an insulating film. Since the extraction electrode is formed, the insulating film on the word line can have a sufficient thickness of 20 nm to 30 nm or more. Thereby, the withstand voltage with respect to the extraction electrode connected to the diffusion layer is ensured. Therefore, since the entire surface of the diffusion layer of the memory element is used for the contact, the effective area can be used effectively. Therefore, the lowest resistance value that can be realized by the cell design is realized, so that the contact resistance can be reduced.
[0031]
According to a second method for manufacturing a semiconductor device of the present invention, in the method for manufacturing a semiconductor device in which a memory element and a logic element are formed on the same semiconductor substrate, after forming an element isolation region on the semiconductor substrate, Forming a buffer layer, forming a well diffusion layer in the semiconductor substrate in the memory element region separated by the element isolation region, and leaving a part of the semiconductor substrate on the well diffusion layer Forming a groove at a position where a word line is formed in the buffer layer, the semiconductor substrate, and the element isolation region; and forming a channel diffusion layer in the semiconductor substrate between the bottom of the groove and the well diffusion layer. Forming a gate insulating film in the trench and on the semiconductor substrate; and forming a first conductive film on the semiconductor substrate including an inner wall of the trench in a memory element region. Forming a layer, forming a second conductive layer filling the trench through the first conductive layer on the semiconductor substrate, forming a second conductive layer on the semiconductor substrate in a logic element region separated by the element isolation region. Forming a well diffusion layer, forming a polysilicon layer for filling the trench on the semiconductor substrate, and forming a dummy layer of a material having an etching selectivity with respect to the polysilicon layer in order; Processing the dummy layer and forming a dummy gate with the polysilicon layer and the dummy layer on the semiconductor substrate in a logic element region via the gate insulating film; and forming the dummy gate in the trench. Removing the first conductive layer and the second conductive layer on the groove and on the semiconductor substrate so that one conductive layer is lower than the second conductive layer; Forming a word line between the first conductive layer and the second conductive layer left inside, and forming a groove between the groove side wall and the second conductive layer; Forming a diffusion layer on a semiconductor substrate, forming a low-concentration diffusion layer of a logic element on the surface of the semiconductor substrate on both sides of the dummy gate, and forming a sidewall insulating film on a side wall of the dummy gate; Forming a diffusion layer on the semiconductor substrate on both sides of the dummy gate on the dummy gate side via the low-concentration diffusion layer; and burying the inside of the groove and forming a sidewall insulating film on the side wall of the groove on the word line. Forming, forming a silicide layer on the word line and a diffusion layer of the logic element, filling the trench and covering the dummy gate. Forming an insulating film as described above; forming a connection hole on the word line to reach the diffusion layer formed in the memory element region in a state of overlapping with the word line via the insulating film; Forming an extraction electrode in the connection hole, flattening the surface of the insulating film, exposing an upper portion of the dummy gate, removing the dummy layer and exposing the polysilicon layer to form a gate groove Performing a step of doping the polysilicon layer of the dummy gate with an impurity, performing a heat treatment for activating the extraction electrode and the polysilicon layer, and forming a metal-based electrode in the gate groove. This is a method for manufacturing a semiconductor device provided with the same.
[0032]
In the second method of manufacturing a semiconductor device, a groove is formed on the side of the groove above the word line, and a sidewall insulating film is formed on the side wall of the word line so as to fill the groove. Even when the layer is formed, the sidewall insulating film is offset and the distance between the silicide layer and the gate insulating film is sufficiently ensured, so that a semiconductor device in which deterioration of the gate withstand voltage is suppressed can be obtained.
[0033]
In the second method for manufacturing a semiconductor device, since the buffer layer is formed, the buffer layer serves as a mask when the impurity for forming the channel diffusion layer is subsequently introduced into the semiconductor substrate at the bottom of the groove. Then, an impurity is selectively introduced into the semiconductor substrate at the bottom of the groove to form a channel diffusion layer.
[0034]
As described above, since the channel diffusion layer is formed in the semiconductor substrate between the groove lower part and the well diffusion layer, the impurity concentration in the region between the groove and the well diffusion layer is higher than the impurity concentration in the semiconductor substrate around the groove. Get higher. Further, since the concentration of the semiconductor substrate below the diffusion layer serving as the source / drain can be kept extremely low, the electric field at the junction of the diffusion layer serving as the source / drain is weakened. For this reason, it is possible to suppress the junction leak on the order of ppm, thereby forming a semiconductor device having extremely good data retention characteristics.
[0035]
In addition, a word line embedded in a groove formed in the semiconductor substrate via a gate insulating film is connected to a diffusion layer formed on the surface of the semiconductor substrate in a state of overlapping with the word line via an insulating film. Since the extraction electrode is formed, the insulating film on the word line can have a sufficient thickness of 20 nm to 30 nm or more. Thereby, the withstand voltage with respect to the extraction electrode connected to the diffusion layer is ensured. Therefore, since the entire surface of the diffusion layer of the memory element is used for the contact, the effective area can be used effectively. Therefore, the lowest resistance value that can be realized by the cell design is realized, so that the contact resistance can be reduced.
[0036]
Furthermore, since the silicide layer is formed on the word line, the resistance of the word line is reduced, and the problem of delay is avoided. Further, since the silicide layer is formed on the diffusion layer of the logic element, the contact resistance to this diffusion layer is reduced.
[0037]
Further, since a diffusion layer is formed on the surface of the semiconductor substrate and the word line is buried in the groove formed in the semiconductor substrate via a gate insulating film, the channel is formed at the bottom of the groove where the word line is formed. Formed around the semiconductor substrate on the side. Therefore, since an effective channel length is sufficiently ensured, the transistor characteristics of a memory element (for example, DRAM) having a severe short channel effect are stabilized by applying a back bias.
[0038]
Further, since the diffusion layer in the memory element region is formed so that the impurity concentration is reduced in the depth direction, the semiconductor substrate concentration under the diffusion layer in the memory element region is not increased as required for the cell transistor. Therefore, the electric field at the junction is alleviated, and the performance of the data retention characteristic, which becomes more severe as the cell size of the memory element is reduced, is maintained.
[0039]
Also, by using a laminated structure of a polysilicon layer and a dummy layer for the dummy gate formed in the logic element region, the dummy layer is removed after the extraction electrode of the diffusion layer in the memory element region is formed, and the polysilicon of the dummy gate is removed. The layer can be doped with impurities. Thereafter, heat treatment is performed to form a metal gate electrode, so that the problem of boron penetration in the p-channel gate electrode due to the heat treatment can be minimized.
[0040]
BEST MODE FOR CARRYING OUT THE INVENTION
One embodiment according to the semiconductor device of the present invention will be described with reference to a schematic sectional view of FIG. 1 and a partially enlarged view of FIG. FIG. 1 shows an example in which the semiconductor device of the present invention is applied to a DRAM, and FIG. 2 shows an enlarged schematic view of a portion A in FIG.
[0041]
As shown in FIGS. 1 and 2, thesemiconductor substrate 11 is, for example, 1 × 1017 / Cm3 It is composed of a silicon substrate having a p-type impurity concentration of about one level. On thesemiconductor substrate 11, anelement isolation region 12 for isolating a memory element region (hereinafter, referred to as a DRAM and referred to as a DRAM region in the drawings), a standard voltage logic region, a high voltage logic region, and the like are formed. Theelement isolation region 12 is formed to a depth of, for example, about 0.1 μm to 0.2 μm by, for example, STI (Shallow Trench Isolation) technology. Further, on thesemiconductor substrate 11, abuffer layer 71 covering theelement isolation region 12 is formed of, for example, a silicon oxide film to a thickness of, for example, 20 nm to 40 nm.
[0042]
Thebuffer layer 71 is necessary for manufacturing. That is, thebuffer layer 71 has a function of a buffer film when thewell diffusion layer 13 is formed, and is connected to the junction of the DRAM at the time of ion implantation for adjusting the substrate concentration of the transistor (access transistor) of the memory element described later. In addition, when thesilicide layer 21 is formed on the surface of theword line 18 buried in thegroove 14, thesilicide layer 21 is formed in thediffusion layer 19 in the DRAM region. It has a function of preventing formation.
[0043]
In thesemiconductor substrate 11 in the memory element region, awell diffusion layer 13 is formed, for example, in a state in which the upper surface is deeper than 150 nm to 200 nm, and the lower surface is slightly deeper than the depth of theelement isolation region 12. It is formed so that the thickness is, for example, about 0.8 μm. Thewell diffusion layer 13 is P-type and is formed by introducing, for example, boron. For example, when thewell diffusion layer 13 is formed by ion implantation, boron is used as an ion species and a dose is set to, for example, 5 × 10 4.12 / Cm2 ~ 7 × 1012 / Cm2 Degree.
[0044]
Further, if necessary, an element isolation diffusion layer (not shown) may be formed on thesemiconductor substrate 11 below theelement isolation region 12.
[0045]
Further, agroove 14 is formed in theelement isolation region 12 and thesemiconductor substrate 11 so as to penetrate thebuffer layer 71 and to form a word line (hereinafter, word line also includes a gate electrode) in the DRAM region. The depth of thegroove 14 is, for example, about 100 nm to 150 nm, and thesemiconductor substrate 11 is formed so as to remain between thewell diffusion layer 13 formed previously and the bottom of thegroove 14. Note that a slight difference may occur between the depth of thegroove 14 formed in thesemiconductor substrate 11 and the depth of thegroove 14 formed in theelement isolation region 12.
[0046]
Further, it is desirable that the edge portion at the bottom of thegroove 14 is formed in a so-called round shape in order to avoid electric field concentration of the cell transistor, and the width of thegroove 14 becomes the channel length of the access transistor of the memory element. Therefore, it is desirable that the side wall of thegroove 14 be formed as perpendicular to the surface of thesemiconductor substrate 11 as possible.
[0047]
Further, achannel diffusion layer 15 is formed in thesemiconductor substrate 11 between the bottom of thegroove 14 and thewell diffusion layer 13. As thechannel diffusion layer 15 of the word transistor in the DRAM region, a high concentration (for example, 1.0 × 1018 / Cm3 ~ 1.0 × 1019 / Cm3 The region to be formed is the semiconductor substrate 11 (11a) at the bottom of thegroove 14 in which thesemiconductor substrate 11 is dug down, and thesemiconductor substrate 11 on the side wall and upper portion of thegroove 14 may have a very low concentration. Therefore, the portion of thesemiconductor substrate 11 below thediffusion layer 19 described later has an extremely low concentration (for example, 1.0 × 1017 / Cm3 ~ 1.0 × 1018 / Cm3 ).
[0048]
Agate insulating film 16 is formed on the inner surface of thegroove 14, on thesemiconductor substrate 11, and the like. Since thegate insulating film 15 has a slightly larger film thickness than a state-of-the-art logic transistor and a slightly longer gate length, even in this generation, a silicon oxide film formed by thermal oxidation can be used. Is possible. Therefore, thegate insulating film 15 in the DRAM region is formed of, for example, a silicon oxide film having a thickness of about 1.5 nm to 5 nm.
[0049]
Further, a word line (including a gate electrode) 18 made of, for example, a phosphorus-doped polysilicon film is formed via thegate insulating film 16 so as to fill eachgroove 14. Theword line 18 is formed of two polysilicon layers, a firstconductive layer 181 and a secondconductive layer 182. The firstconductive layer 181 is formed of, for example, a phosphorus-doped polysilicon film having a thickness of 5 nm to 10 nm, and the secondconductive layer 182 is formed of, for example, a non-doped polysilicon film doped with an impurity (for example, phosphorus). Agroove 183 is formed on the wall surface of thegroove 14 above the word line 18 (on the first conductive layer 181).
[0050]
On the side wall of thetrench 14 on the polysilicon layer of theword line 18, asidewall insulating film 20 for filling thetrench 183 is formed of, for example, a silicon nitride film. Further, theword line 18 is formed of a silicide (for example, salicide)layer 21 as an upper layer. Therefore, thesilicide layer 21 is formed above theword line 18 with respect to thegate insulating film 16 with thesidewall insulating film 20 interposed therebetween.
[0051]
Thesilicide layer 21 functioning as theword line 18 has at least a distance of at least about 30 to 100 nm from the surface of thesemiconductor substrate 11 above thegroove 14 as a distance at which a withstand voltage with respect to anextraction electrode 24 described later is secured. It is formed so as to be lowered, preferably about 50 nm to 90 nm. In this embodiment, for example, it is formed so as to be lowered by about 50 nm. Therefore, a withstand voltage distance between the diffusion layer and theextraction electrode 24 described later is ensured.
[0052]
Further, thesilicide layer 21 is made of, for example, cobalt silicide (CoSi2 ), Titanium silicide (TiSi2 ) Nickel silicide (NiSi2 ) Etc. are used. Thesidewall insulating film 20 has a function of ensuring a withstand voltage between thesilicide layer 21 and thediffusion layer 19. Note that a slight difference may occur between the depth of thegroove 14 formed in thesemiconductor substrate 11 and the depth of thegroove 14 formed in theelement isolation region 12.
[0053]
Further, adiffusion layer 19 serving as a source / drain is formed on thesemiconductor substrate 11 in the DRAM region. Phosphorus is used for thediffusion layer 19 as an N-type impurity, and the concentration is 1 × 1017 / Cm3 ~ 1 × 1018 / Cm3 It has become. Therefore, thesemiconductor substrate 11 in this region is 1 × 1016 / Cm3 ~ × 1017 / Cm3 It is set to a very light concentration.
[0054]
Therefore, this NP junction becomes a super graded junction (junction having a very gentle concentration gradient). The junction in such a state relieves the electric field at the time of reverse bias, and dramatically contributes to suppressing junction leakage current, which is about two orders of magnitude worse than usual, which occurs in a defective bit of only a ppm level in a megabit DRAM. The data retention characteristic of the defective bit dominate the chip performance of the DRAM, and is an important technique for maintaining the data retention characteristic in the future DRAM.
[0055]
For example, if the substrate concentration is 5 × 1016 / Cm3 If this is the case, a data holding characteristic of 500 ms or more at 85 ° C. can be obtained, which is expected to exhibit performance comparable to the data holding characteristic of the previous data even for 4 to 5 generations. In addition, since the access transistor in the DRAM region has a channel formed in a so-called round shape in thesemiconductor substrate 11, a long effective channel length can be ensured. It is also possible to stabilize the transistor characteristics of a DRAM cell with severe requirements.
[0056]
On the entire surface of thesemiconductor substrate 11, a first insulating film (insulating film) 22 is formed. The surface of the first insulatingfilm 22 is flattened. Further, acap insulating film 80 is formed on the entire surface by, for example, a silicon nitride film. Thecap insulating film 80 is effective for suppressing the junction leak at the salicide formation portion, but need not be formed if unnecessary.
[0057]
Further, a first insulating film (insulating film) 22 is formed on the entire surface. The first insulatingfilm 22 has aconnection hole 23 that penetrates through thecap insulating film 80, thebuffer layer 71 and the like and reaches thediffusion layer 19 in the DRAM region. Theconnection hole 23 is desirably formed as large as possible in diameter so that the extraction electrode can be brought into contact with the entire surface of thediffusion layer 19. Thereby, the contact resistance is reduced.
[0058]
Also, in the drawings, a state in which the alignment is slightly misaligned is intentionally described. However, unless excessive over-etching is performed at the time of opening the connection hole, the physical distance of theextraction electrode 24 of the word line formed in theconnection hole 23 will be described. Can be secured. In the projection design viewed from above, theconnection hole 23 completely overlaps the word line (gate electrode) 18. In theconnection hole 23, anextraction electrode 24 made of, for example, phosphorus-doped polysilicon is formed.
[0059]
The surface of the second insulatingfilm 22 is flattened so that the upper surface of theextraction electrode 24 is flush with the surface of the second insulatingfilm 22. Further, anetching stop layer 25 covering theextraction electrode 24 is formed on the second insulatingfilm 22.
[0060]
In theetching stop layer 25, the first insulatingfilm 22, and thecap insulating film 80, connection holes 26 reaching the silicide layers 21 on the word lines 18 in the DRAM region are formed. Anextraction electrode 27 is formed in theconnection hole 26. The take-outelectrode 27 is made of atungsten film 86 formed so as to fill theconnection hole 26 via anadhesion layer 85 made of a titanium nitride film.
[0061]
On theetching stop layer 25, a second insulatingfilm 31 covering theextraction electrode 27 is formed. The second insulatingfilm 31 is formed by depositing, for example, a silicon oxide film to a thickness of 50 nm to 150 nm.
[0062]
Abit contact hole 32 connected to theextraction electrode 24 is formed in the second insulatingfilm 31 and theetching stop layer 25. Abit line 34 is formed on the second insulatingfilm 31, and a part of thebit line 34 is connected to theextraction electrode 24 through thebit contact hole 32. Further, alocal wiring 35 is formed on the second insulatingfilm 31. Thebit line 34 and thelocal wiring 35 are formed of, for example, atungsten film 37, anadhesive layer 36 is formed below thetungsten film 37, and acap layer 38 is formed above theadhesive layer 36.
[0063]
On the second insulatingfilm 22, anetching stopper layer 41 and a third insulatingfilm 42 covering thebit line 34 and thelocal wiring 35 are formed. Theetching stopper layer 41 is a silicon nitride film formed by an ALD (Atomic Layer Deposition) method and has a thickness of, for example, 30 nm to 50 nm.
[0064]
From the third insulatingfilm 42 to theetching stopper layer 25, aconnection hole 43 for forming a storage node contact reaching theextraction electrodes 24 of the storage node contact is formed. In theconnection hole 43, theetching stopper layer 41 remains on the side wall of thebit line 34 as a side wall having a thickness that ensures the withstand voltage between the bit line and the storage node contact. Further, in theconnection hole 43, astorage node contact 44 connected to theextraction electrode 24 is formed. Thestorage node contact 44 is formed of a material such as tungsten, titanium, titanium nitride, tantalum, tantalum nitride, ruthenium oxide, or the like. The surface of the third insulatingfilm 42 is flattened together with the upper surface of thestorage node contact 44, for example.
[0065]
A fourth insulatingfilm 45 is formed on the third insulatingfilm 42. In the fourth insulatingfilm 45, aconcave portion 46 in which a capacitor is formed is formed at the bottom so that the upper surface of thestorage node contact 44 is exposed. In theconcave portion 46, acapacitor 91 having an MIM (Metal / Insulator / Metal) structure that does not require heat treatment is formed. Thecapacitor 91 having the MIM structure is expected to be indispensable for a DRAM of 0.1 μm or less. At present, for example, ruthenium (Ru) and ruthenium oxide (RuO) -based materials are used for theelectrodes 92 and 94, and theelectrodes 92 and 94 are used. BST (BaTiO 3) is formed on thedielectric film 93 formed therebetween.3 And SrTiO3 (Mixed crystal with).
[0066]
On the fourth insulatingfilm 45, a fifth insulatingfilm 47 that covers thecapacitor 91 having the MIM structure is formed. The surface of the fifth insulatingfilm 47 is flattened. In the fifth insulatingfilm 47 to the first insulatingfilm 22, connection holes 111, 112, 113, etc. for forming a capacitor lead electrode, a word line lead electrode, a local wiring lead electrode and the like are formed.
[0067]
In each of the connection holes 111, 112, 113, etc., acapacitor lead electrode 121, a wordline lead electrode 122, a localwiring lead electrode 123, etc. are formed.
[0068]
Further, a sixth insulatingfilm 48 is formed on the fifth insulatingfilm 47. In the sixth insulatingfilm 48,wiring grooves 131, 132, 133 reaching theelectrodes 121, 122, 123 are formed, and in the wiring grooves 131-133, first wirings 141-143 are formed. . Thefirst wirings 141 to 143 are made of, for example, copper wiring. Although not shown, an upper layer wiring is further formed as necessary. Theelectrodes 121 to 123 and thewirings 141 to 143 are formed with a well-known adhesion layer and barrier layer depending on the materials of the electrodes, wirings, and insulating films.
[0069]
In the first semiconductor device, thegroove 183 is formed on the side of thegroove 14 above theword line 18 formed in thegroove 14, and the word line (including the gate electrode) 18 is formed so as to fill thegroove 183. Since thesidewall insulating film 20 is formed on the side wall of thegroove 14, the physical distance between thesilicide layer 21 on the upper surface of theword line 18 and thegate insulating film 16 depends on the portion formed in thegroove 183 of thesidewall insulating film 20. Is sufficiently secured. Therefore, deterioration of the breakdown voltage of thegate insulating film 16 can be prevented.
[0070]
Since thechannel diffusion layer 15 is formed in thesemiconductor substrate 11 between the lower portion of thegroove 14 where the channel is formed and thewell diffusion layer 13, the impurity concentration in the region between thegroove 14 and thewell diffusion layer 13 is 14 becomes higher than the impurity concentration of thesemiconductor substrate 11 around. In addition, since the concentration of thesemiconductor substrate 11 below thediffusion layer 19 serving as a source / drain is extremely low, the electric field at the junction of thediffusion layer 19 is weakened, so that it is possible to suppress the junction leakage on the order of ppm. Thereby, the data retention characteristics are extremely improved.
[0071]
Since thesilicide layer 21 is formed above theword line 18, the resistance of theword line 18 is reduced, the problem of delay is avoided, and the operation speed is improved. At the same time, the contact resistance toword line 18 is reduced.
[0072]
In addition, since the diffusion layer is formed on the surface side of thesemiconductor substrate 11 and the word line is buried in the groove formed in the semiconductor substrate via the gate insulating film, the channel is formed in the groove in which the word line is formed. It is formed so as to go around the semiconductor substrate on the bottom side. Therefore, since an effective channel length is sufficiently ensured, the transistor characteristics of a memory element (for example, DRAM) having a severe short channel effect are stabilized by applying a back bias.
[0073]
Further, since the impurity concentration of thediffusion layer 19 is reduced in the depth direction, the concentration of thesemiconductor substrate 11 below thediffusion layer 19 in the memory element region does not have to be as high as required for the cell transistor. In addition, the electric field at the junction is alleviated, and the performance of data retention characteristics, which becomes more severe as the cell size of the memory element is reduced, is maintained.
[0074]
Further, the semiconductor device is overlapped with theword line 18 via the first insulatingfilm 22 on theword line 18 embedded in thegroove 14 formed in thesemiconductor substrate 11 via thegate insulating film 16. Since theextraction electrode 24 connected to thediffusion layer 19 formed on the surface of thesubstrate 11 is formed, the first insulatingfilm 22 on theword line 18 can have a sufficient thickness of 20 nm to 30 nm or more. Will be possible. Thereby, a withstand voltage with respect to the extraction electrode connected to thediffusion layer 19 is ensured. Therefore, since the entire surface of thediffusion layer 19 of the memory element is used for the contact, the effective area can be used effectively. Therefore, the lowest resistance value that can be realized by the cell design is realized, so that the contact resistance can be reduced.
[0075]
An example of an embodiment according to a first method of manufacturing a semiconductor device of the present invention will be described with reference to schematic cross-sectional views and partial enlarged schematic views of FIGS. 3 to 23 show a manufacturing method for forming a memory element and a logic element on the same semiconductor substrate, and the same components as those described with reference to FIG. 1 are denoted by the same reference numerals.
[0076]
As shown in FIG. 3A, for example, 1 × 1017 / Cm3 A silicon substrate having a p-type impurity concentration of the order is prepared. For example, the STI (Shallow Trench Isolation) technology allows thesemiconductor substrate 11 to have an element isolation area for isolating a memory element area (hereinafter, referred to as a DRAM and referred to as a DRAM area), a standard voltage logic area, a high voltage logic area, and the like. 12 is formed. Thiselement isolation region 12 is formed at a depth of, for example, about 0.1 μm to 0.2 μm. Next, abuffer layer 71 made of, for example, a silicon oxide film is formed on thesemiconductor substrate 11 by, for example, 20 nm to 40 nm so as to cover theelement isolation region 12 by chemical vapor deposition (hereinafter, referred to as CVD; CVD is an abbreviation of Chemical Vapor Deposition). Formed to a thickness of
[0077]
Further, after forming a resistfilm 201 on thesemiconductor substrate 11, an opening 202 is formed on a memory cell formation region in a DRAM region by using lithography technology.
[0078]
Next, for example, boron is introduced into thesemiconductor substrate 11 in the memory element region by ion implantation using the resistfilm 201 as a mask to form thewell diffusion layer 13. As the ion implantation conditions, boron is used as an ion species, and the dose amount is, for example, 5 × 1012 / Cm2 ~ 7 × 1012 / Cm2 It is formed to a depth of, for example, more than 150 nm to 200 nm and a little deeper than the depth of theelement isolation region 12 so as to be deeper than the depth of a groove to be formed later. The thickness of thewell diffusion layer 13 in the depth direction is, for example, about 0.8 μm.
[0079]
Further, if necessary, an element isolation diffusion layer (not shown) may be formed on thesemiconductor substrate 11 below theelement isolation region 12.
[0080]
Thebuffer layer 71 has a function of a buffer film when thewell diffusion layer 13 is formed. In addition, at the time of ion implantation for adjusting the substrate concentration of a transistor (access transistor) of a memory element to be performed later, it functions as a stopper for ion implantation in a region to be a junction of a DRAM. Further, when a salicide is formed on the surface of the word line buried in the groove, it has a function of preventing salicide from being formed in the diffusion layer in the DRAM region. After that, the resistfilm 201 is removed.
[0081]
Next, as shown in FIG. 4 (2), after a resistfilm 203 is formed on thesemiconductor substrate 11, anopening 204 is formed in the resistfilm 203 on a region to be a word line (gate electrode) in a DRAM region by a lithography technique. To form
[0082]
Next, as shown in FIG. 5C, thebuffer layer 71, thedevice isolation region 12, and thesemiconductor substrate 11 are etched (for example, continuously etched) using the resistfilm 203 as an etching mask. Agroove 14 for forming a word line (including a gate electrode) in a DRAM region is formed in 12 (field) and thesemiconductor substrate 11. The depth of thegroove 14 is, for example, about 100 nm to 150 nm, and thesemiconductor substrate 11 is left between thewell diffusion layer 13 formed previously and the bottom of thegroove 14. Note that a slight difference may occur between the depth of thegroove 14 formed in thesemiconductor substrate 11 and the depth of thegroove 14 formed in theelement isolation region 12.
[0083]
Since thegroove 14 is formed only in the DRAM region, it is desirable that the edge portion at the bottom of thegroove 14 be formed in a so-called round shape in order to avoid electric field concentration of the cell transistor. Becomes the channel length of the access transistor of the memory element, so that the side wall of thegroove 14 is desirably formed as perpendicular to the surface of thesemiconductor substrate 11 as possible. Note that thebuffer layer 71 formed in the DRAM region is simultaneously etched when theelement isolation region 12 is etched. Thereafter, the resistfilm 203 is removed by a normal removal technique.
[0084]
The voltage assumed in this generation is 0.5 V to 1.2 V for the standard logic area, 1.5 V to 2.5 V for the high voltage logic area, and 1.5 V to 2 V for the DRAM cell word line boost. 0.5V.
[0085]
Next, as shown in FIG. 6D, a sacrificial oxide film (not shown) is formed to a thickness of, for example, 10 nm to 20 nm on the entire exposed surface of thesemiconductor substrate 11 by, for example, a thermal oxidation method.
[0086]
Next, channel doping of the access transistor in the DRAM region is performed to form achannel diffusion layer 15 between the bottom of thegroove 14 and thewell diffusion layer 13.
[0087]
As thechannel diffusion layer 15 of the word transistor in the DRAM region, a high concentration (for example, 1.0 × 1018 / Cm3 ~ 1.0 × 1019 / Cm3 The region which must be formed is a portion of the semiconductor substrate 11 (11a) at the bottom of thegroove 14 where thesemiconductor substrate 11 is dug down. There is no. In the above-described ion implantation, thebuffer layer 71 provided first serves as a mask for ion implantation on the surface of thesemiconductor substrate 11 and the logic element region. Therefore, the channel diffusion layer is formed only at the bottom of thegroove 14 without using a new mask. 15 can be formed. Therefore, the portion of thesemiconductor substrate 11 below the diffusion layer 19 (see FIG. 35) described later has an extremely low concentration (for example, 1.0 × 1017 / Cm3 ~ 1.0 × 1018 / Cm3 ) Can be formed.
[0088]
Thereafter, the sacrificial oxide film (not shown) is removed by, for example, wet etching. Thereafter, agate insulating film 16 is formed on the inner surface of thegroove 14 in the DRAM region, on thesemiconductor substrate 11, and the like by an ordinary method for forming a gate oxide film.
[0089]
As shown in FIGS. 7 (5) and 8, the firstconductive layer 181 is phosphorus-doped to a thickness of, for example, 5 nm to 10 nm on the surface of thegate insulating film 16 so as to cover the inner wall of eachgroove 14 in the DRAM region. It is formed by depositing polysilicon. Next, a secondconductive layer 182 is formed by depositing non-doped polysilicon to a thickness of 50 nm to 150 nm on the surface of the firstconductive layer 181 so as to fill eachgroove 14 in the DRAM region. This film thickness may be sufficient to fill thegroove 14, and the film thickness is set to a film thickness optimized especially for forming a groove-shaped word line.
[0090]
As shown in FIGS. 9 (6) and 10, the firstconductive layer 181 and the secondconductive layer 182 are etched back so that the firstconductive layer 181 and the secondconductive layer 182 remain inside thegroove 14. In this etching, an etching condition in which the etching rate of the firstconductive layer 181 is higher than that of the secondconductive layer 182 is used. In other words, the firstconductive layer 181 is formed using a conductive film whose etching rate is higher than that of the secondconductive layer 182. As a result, the firstconductive layer 181 having a higher etching rate is etched more, and agroove 183 is formed between the secondconductive layer 182 on the firstconductive layer 181 and the side wall of theclose contact 4. At the same time, a word line (partly functioning as a gate electrode) 18 including the firstconductive layer 181 and the secondconductive layer 182 is formed inside thegroove 14. At this time, the firstconductive layer 181 and the secondconductive layer 182 are etched back so that the surface of theword line 18 is lower than the surface of thesemiconductor substrate 11 by about 30 nm to 100 nm, so that an electrode for extracting a diffusion layer formed later is formed. Withstand pressure distance is secured. In this etch back, thegate insulating film 16 functions as an etching stop layer.
[0091]
Further, ion implantation for forming a source / drain is performed on thesemiconductor substrate 11 in the DRAM region to form adiffusion layer 19. As an example of the ion implantation conditions, phosphorus is used as an impurity to be ion-implanted, and the concentration is 1 × 10 4.17 / Cm3 ~ 1 × 1018 / Cm3 The dose and the implantation energy are set so that Since the implantation energy penetrating thebuffer layer 71 is sufficient, the implantation energy is set to, for example, 20 keV to 50 keV, and the dose is set to 1 × 1018 / Cm2 ~ 3 × 1018 / Cm2 Set to. If ions are implanted under these conditions, almost no ions are implanted into thesemiconductor substrate 11 below thediffusion layer 19 in the DRAM region. Therefore, thesemiconductor substrate 11 in this region is 1 × 1016 / Cm3 ~ × 1017 / Cm3 It is possible to set a very low density. The secondconductive layer 182 is also doped with phosphorus by the above-described phosphorus ion implantation, and the firstconductive layer 181 and the secondconductive layer 182 have the same impurity concentration by the subsequent heat treatment. The firstconductive layer 181 and the secondconductive layer 182 are used only for word lines in the DRAM region and are not used for P-channel transistors.+ A gate material (eg, phosphorus) can be used as a doping material.
[0092]
Therefore, this NP junction becomes a super graded junction (junction having a very gentle concentration gradient). The junction in such a state relieves the electric field at the time of reverse bias, and dramatically contributes to suppressing junction leakage current, which is about two orders of magnitude worse than usual, which occurs in a defective bit of only a ppm level in a megabit DRAM. The data retention characteristic of the defective bit dominate the chip performance of the DRAM, and is an important technique for maintaining the data retention characteristic in the future DRAM.
[0093]
For example, if the substrate concentration is 5 × 1016 / Cm3 If this is the case, a data holding characteristic of 500 ms or more at 85 ° C. can be obtained, which is expected to exhibit performance comparable to the data holding characteristic of the previous data even for 4 to 5 generations. In addition, since the access transistor in the DRAM region has a channel formed in a so-called round shape in thesemiconductor substrate 11, a long effective channel length can be ensured. It is also possible to stabilize the transistor characteristics of a DRAM cell with severe requirements.
[0094]
In the above-described ion implantation, ion implantation is performed slightly shallower in consideration of diffusion due to heat treatment for forming a gate in a DRAM region later. Since it is formed at the bottom of thegroove 14 to be formed, there is no problem at all. In addition, since activation is performed by a subsequent heat treatment, there is no need to perform a heat treatment at this stage.
[0095]
Next, as shown in FIG. 11 (7), aprotective film 78 for protecting the gate in the DRAM region is formed of, for example, a thin silicon nitride film (for example, having a thickness of 10 nm to 50 nm). Theprotective film 78 is formed so as to fill thetrench 183, and is formed in a sidewall shape on the side wall on theword line 18 in the DRAM region later, and contributes to securing the withstand voltage of the side wall of theword line 18 during salicide formation.
[0096]
Next, as shown in FIG. 12 (8) and FIG. 13, theprotective film 78 in the DRAM region is etched by, for example, reactive ion etching (RIE) to expose theword line 18 in the DRAM region. As a result, thesidewall insulating film 20 made of theprotective film 78 is formed on the side wall of thegroove 14 on theword line 18 so as to fill thegroove 183. Thissidewall insulating film 20 has a function of protecting the side wall. In the reactive ion etching, it is important that thediffusion layer 19 in the DRAM region is not exposed, that is, thebuffer layer 71 is left on thediffusion layer 19.
[0097]
Further, as shown in FIG. 14 (9), asilicide layer 21 is selectively formed on theword line 18 in the DRAM region by using a normal silicidation technique. In this manner, thesilicide layer 21 is selectively formed on theword line 18 in the DRAM region where low resistance needs to be realized. As this silicide layer, for example, cobalt silicide (CoSi2 ), Titanium silicide (TiSi2 ) Nickel silicide (NiSi2 ) Etc. can be used.
[0098]
Thereafter, acap insulating film 80 is formed on the entire surface by, for example, a silicon nitride film. Thecap insulating film 80 is effective for suppressing the junction leak at the salicide formation portion, but need not be formed if unnecessary. Note that, as described above, a silicide layer may be formed also on the gate electrode of the transistor in the peripheral circuit portion to form a salicide structure to reduce the resistance of the gate electrode.
[0099]
Next, as shown in FIG. 15 (10), after forming a first insulating film (insulating film) 22 on the entire surface, the surface of the first insulatingfilm 22 is flattened by CMP. The method of planarizing the surface of the first insulatingfilm 22 is not limited to CMP as long as planarization can be realized, and for example, an etch-back method may be used. Then, after forming a resistfilm 215 on the first insulatingfilm 22, aconnection hole pattern 216 for contacting a diffusion layer in the DRAM region is formed in the resistfilm 215 by lithography.
[0100]
Next, etching is performed using the resistfilm 215 as an etching mask to form aconnection hole 23 that penetrates through the first insulatingfilm 22 and reaches thediffusion layer 19 in the DRAM region, as shown in FIG. I do. At this time, since the word line (gate electrode) 18 in the DRAM region is disposed below the surface of thesemiconductor substrate 11 with respect to thediffusion layer 19 to be contacted, there is no need to use a special technique such as a self-aligned contact. Further, it is desirable to form theconnection hole 23 as large as possible so that the entire surface of thediffusion layer 19 of the DRAM can contact the extraction electrode. Thereby, the contact resistance is reduced.
[0101]
In the drawings, a state in which the alignment is slightly misaligned is intentionally described. However, unless excessive over-etching is performed at the time of opening the connection hole, the physical characteristics of the word line extraction electrode formed in theconnection hole 23 in a later step will be described. It is possible to secure a long distance. In the projection design viewed from above, theconnection hole 23 completely overlaps the word line (gate electrode) 18.
[0102]
Next, an extractionelectrode forming film 81 is formed on the first insulatingfilm 22 so as to fill the connection holes 23. The extractionelectrode forming film 81 is formed of, for example, phosphorus-doped polysilicon. For the extractionelectrode forming film 81 for extracting the diffusion layer, it is desirable that phosphorus-doped polysilicon be selected in consideration of the reduction of junction leakage in the DRAM region as in the related art. At this stage, heat treatment for activation is unnecessary.
[0103]
Thereafter, as shown in (12) of FIG. 17, an excessive extraction electrode forming film 81 (phosphorus-doped polysilicon) on the first insulatingfilm 22 is removed by, for example, CMP, and a diffusion layer is formed in theconnection hole 23. Theextraction electrode 24 made of the extractionelectrode forming film 81 connected to thesubstrate 19 is formed, and the first insulatingfilm 22 is polished to flatten its surface.
[0104]
After that, heat treatment is performed. By this heat treatment, theextraction electrode 24 made of polysilicon in the DRAM region is activated. In this heat treatment, RTA (Rapid Thermal Annealing) at 900 ° C. for about 10 seconds is sufficient, but thermal annealing using an ordinary furnace may be performed. In the subsequent steps, a high-temperature heat step is not performed. For example, when a logic element is formed simultaneously with a DRAM, so-called “penetration” in which boron diffuses from the gate electrode of the logic element is minimized. Can be suppressed.
[0105]
Next, as shown in FIG. 18 (13), anetching stop layer 25 covering theextraction electrode 24 in the DRAM region is formed on the entire surface of the first insulatingfilm 22 with, for example, a silicon oxide film.
[0106]
Thereafter, as shown in (14) of FIG. 19, after forming a resist film (not shown) on theetching stop layer 25, a connection hole for a word line take-out contact in the DRAM region is formed in the resist film by a lithography technique. A pattern (not shown) is formed. Subsequently, using the resist film as an etching mask, a connection hole penetrating through theetching stop layer 25, the first insulatingfilm 22, and thecap insulating film 80 and reaching thesilicide layer 21 on theword line 18 in the DRAM region. 26 is formed.
[0107]
After that, the resist film is removed. Next, anadhesion layer 85 made of a titanium nitride film is formed on the inner surface of theconnection hole 26 by a normal tungsten plug formation technique, and then atungsten film 86 is formed so as to fill theconnection hole 26. After that, excess portions of thetungsten film 86 and theadhesion layer 85 on theetching stop layer 25 are removed by CMP, and anextraction electrode 27 is formed inside theconnection hole 26.
[0108]
Next, a second insulatingfilm 31 is formed on the entire surface of theetching stop layer 25 by, for example, depositing a silicon oxide film to a thickness of 50 nm to 150 nm so as to cover theextraction electrode 27.
[0109]
Then, after forming a resist film (not shown) on the second insulatingfilm 31, an opening (not shown) is formed at a position where a bit contact is to be formed in the resist film by lithography. By etching using the resist film as a mask, abit contact hole 32 reaching thepredetermined extraction electrode 24 is formed in theetching stopper layer 25 and the second insulatingfilm 31 as shown in FIG.
[0110]
Next, a wiring metal layer for forming thebit line 34 and thelocal wiring 35 is formed. In this wiring metal layer, first, anadhesion layer 36 formed by stacking a titanium film and a titanium nitride film is formed on the inner surface of thebit contact hole 32 and on the second insulatingfilm 31. Further, atungsten film 37 serving as a main material of the metal wiring is formed on theadhesion layer 36 so as to fill the bit contact holes 32. Further, acap layer 38 is formed on thetungsten film 37 by, for example, a silicon nitride film.
[0111]
Thereafter, thecap layer 38, thetungsten film 37, and theadhesion layer 36 are patterned by the usual lithography and etching techniques to form the bit lines 34 connected to the bit contact take-outelectrodes 24 through the bit contact holes 32. ,Local wiring 35 is formed. Therefore, thecap layer 38 is formed on thebit line 34 and thelocal wiring 35.
[0112]
Thereafter, anetching stopper layer 41 covering thebit line 34 is formed on the second insulatingfilm 31 with an ALD silicon nitride film to a thickness of, for example, 30 nm to 50 nm.
[0113]
Next, as shown in (16) of FIG. 21, a third insulatingfilm 42 is formed on theetching stopper layer 41. Then, the surface of the third insulatingfilm 42 is flattened using, for example, CMP. Next, after a resistfilm 219 is formed on the third insulatingfilm 42, anopening pattern 220 for opening a storage node contact is formed by lithography. Thisopening pattern 220 can be formed larger than the diameter of the connection hole where the actual storage node contact is formed.
[0114]
Then, using the resistfilm 219 as an etching mask, as shown in (17) of FIG. 22, the region from the third insulatingfilm 42 to theetching stop layer 25 is etched to form theextraction electrode 24 of the storage node contact, Aconnection hole 43 for forming a storage node contact reaching 24 is formed. In this etching, thecap layer 38 and theetching stopper layer 41 serve as an etching mask in addition to the resist film 219 (see (16) in FIG. 21). Although part of theetching stopper layer 41 is etched, theetching stopper layer 41 remains on the side wall of thebit line 34 as a side wall having a thickness enough to ensure the withstand voltage between the bit line and the storage node contact. Thereafter, the resist film 219 (see (16) in FIG. 21) is removed.
[0115]
Next, as shown in (18) of FIG. 23, astorage node contact 44 connected to theextraction electrode 24 is formed in theconnection hole 43. Thestorage node contact 44 is formed, for example, by forming a material layer by depositing tungsten, titanium, titanium nitride, tantalum, tantalum nitride, ruthenium oxide, or the like on the third insulatingfilm 42 so as to fill theconnection hole 43. The surplus material layer on the third insulatingfilm 42 is formed by the material layer left in theconnection hole 43 by removing the material layer by, for example, CMP.
[0116]
Next, a fourth insulatingfilm 45 covering thestorage node contact 44 and the like is formed on the third insulatingfilm 42. Next, aconcave portion 46 in which a capacitor is formed is formed in the fourth insulatingfilm 45 so that the upper surface of thestorage node contact 44 is exposed at the bottom.
[0117]
Thereafter, acapacitor 91 having an MIM (Metal / Insulator / Metal) structure that does not require heat treatment is formed in theconcave portion 46. The MIM-structuredcapacitor 91 is expected to be indispensable in a DRAM of 0.1 μm or less. At present, as an example, theelectrodes 92 and 94 are made of ruthenium (Ru) or ruthenium oxide (RuO) -based material, and Thefilm 93 has BST (BaTiO3 And SrTiO3 And a mixed crystal) film.
[0118]
Next, a fifth insulatingfilm 47 is formed on the fourth insulatingfilm 45 so as to cover thecapacitor 91 having the MIM structure. Thereafter, the surface of the fifth insulatingfilm 47 is flattened by CMP. Next, in the fifth insulatingfilm 47 or the second insulatingfilm 31, connection holes 111, 112, 113 and the like for forming a capacitor lead electrode, a word line lead electrode and the like are formed.
[0119]
Further, acapacitor lead electrode 121, a wordline lead electrode 122, a localwiring lead electrode 123, and the like are formed in the connection holes 111, 112, 113, and the like. Further, a sixth insulatingfilm 48 is formed on the fifth insulatingfilm 47. Next,wiring grooves 131, 132, 133 reaching theelectrodes 121, 122, 123 and the like are formed in the sixth insulatingfilm 48, and wirings 141, 142, 143 are formed in thewiring grooves 131, 132, 133. Thewirings 141, 142, 143 are made of, for example, copper wiring. Although not shown, an upper layer wiring is further formed as necessary. Theelectrodes 121, 122, and 123 and thewirings 141, 142, and 143 are formed with a well-known adhesion layer and barrier layer depending on the materials of the electrodes, wirings, and insulating films.
[0120]
In the first method of manufacturing a semiconductor device, thegroove 183 is formed on the side of thegroove 14 above the word line (gate electrode) 18, and thegroove 14 is formed on the word line (gate electrode) 18 so as to fill thegroove 183. Since thesidewall insulating film 20 is formed on the substrate, thesilicide layer 21 may be formed on the word line (gate electrode) 18. Since the distance between thesilicide layer 21 and thegate insulating film 16 is sufficiently ensured by the portion formed in thegroove 183 of thesidewall insulating film 20, a semiconductor device in which the deterioration of the gate withstand voltage is suppressed is obtained.
[0121]
In the first method of manufacturing a semiconductor device, since thebuffer layer 71 is formed, when the impurity for forming thechannel diffusion layer 15 is introduced into thesemiconductor substrate 11 at the bottom of thegroove 14, thebuffer layer 71 is formed. Is used as a mask, an impurity is selectively introduced into thesemiconductor substrate 11 at the bottom of thegroove 14, and thechannel diffusion layer 15 is formed.
[0122]
As described above, since thechannel diffusion layer 15 is formed in thesemiconductor substrate 11 between the lower portion of thegroove 14 and thewell diffusion layer 13, the impurity concentration in the region between thegroove 14 and thewell diffusion layer 13 is reduced. It becomes higher than the impurity concentration of thesemiconductor substrate 11. Further, since the concentration of thesemiconductor substrate 11 below thediffusion layer 19 serving as a source / drain can be kept extremely low, the electric field at the junction of thediffusion layer 19 is weakened. For this reason, it is possible to suppress the junction leak on the order of ppm, thereby forming a semiconductor device having extremely good data retention characteristics.
[0123]
In addition, the semiconductor is overlapped with theword line 18 via the second insulatingfilm 22 on theword line 18 buried in thegroove 14 formed in thesemiconductor substrate 11 via thegate insulating film 16. Since theextraction electrode 24 connected to thediffusion layer 19 formed on the surface of thesubstrate 11 is formed, the second insulatingfilm 22 on theword line 18 can have a sufficient thickness of 20 nm to 30 nm or more. Become. Thereby, a withstand voltage with respect to theextraction electrode 24 connected to thediffusion layer 19 is ensured. Therefore, since the entire surface of thediffusion layer 19 of the memory element is used for the contact, the effective area can be used effectively. Therefore, the lowest resistance value that can be realized by the cell design is realized, so that the contact resistance can be reduced.
[0124]
Further, since thesilicide layer 21 is formed above theword line 18, the resistance of theword line 18 is reduced, and the problem of delay is avoided. At the same time, the contact resistance toword line 18 is reduced.
[0125]
Further, since adiffusion layer 19 is formed on the front surface side of thesemiconductor substrate 11 and aword line 18 is buried in agroove 14 formed in thesemiconductor substrate 11 via agate insulating film 16, a channel is formed. Are formed so as to go around thesemiconductor substrate 11 on the bottom side of thegroove 14 in which is formed. Therefore, since an effective channel length is sufficiently ensured, the transistor characteristics of a memory element (for example, DRAM) having a severe short channel effect are stabilized by applying a back bias.
[0126]
Further, since thediffusion layer 19 in the memory element region is formed so that the impurity concentration becomes low in the depth direction, the concentration of thesemiconductor substrate 11 below thediffusion layer 19 in the memory element region is reduced to a level required for the cell transistor. Since it is not necessary to increase the density, the electric field at the junction is alleviated, and the performance of the data retention characteristic, which becomes more severe as the cell size of the memory element is reduced, is maintained.
[0127]
An embodiment according to the second semiconductor device of the present invention will be described with reference to a schematic sectional view of FIG. 24 and an enlarged view of a portion E in FIG.
[0128]
As shown in FIGS. 24 and 25, thesemiconductor substrate 11 is, for example, 1 × 1017 / Cm3 It is composed of a silicon substrate having a p-type impurity concentration of about one level. On thesemiconductor substrate 11, anelement isolation region 12 for isolating a memory element region (hereinafter, referred to as a DRAM and referred to as a DRAM region in the drawings), a standard voltage logic region, a high voltage logic region, and the like are formed. Theelement isolation region 12 is formed to a depth of, for example, about 0.1 μm to 0.2 μm by, for example, STI (Shallow Trench Isolation) technology. Further, on thesemiconductor substrate 11, abuffer layer 71 covering theelement isolation region 12 is formed of, for example, a silicon oxide film to a thickness of, for example, 20 nm to 40 nm.
[0129]
Thebuffer layer 71 is necessary for manufacturing. That is, thebuffer layer 71 has a function of a buffer film when thewell diffusion layer 13 is formed, and is connected to the junction of the DRAM at the time of ion implantation for adjusting the substrate concentration of the transistor (access transistor) of the memory element described later. In addition, when thesilicide layer 27 is formed on the surface of theword line 18 buried in thegroove 14, thesilicide layer 27 is formed in thediffusion layer 19 in the DRAM region. It has a function of preventing formation.
[0130]
In thesemiconductor substrate 11 in the memory element region, awell diffusion layer 13 is formed, for example, in a state in which the upper surface is deeper than 150 nm to 200 nm, and the lower surface is slightly deeper than the depth of theelement isolation region 12. It is formed so that the thickness is, for example, about 0.8 μm. Thewell diffusion layer 13 is P-type and is formed by introducing, for example, boron. For example, when thewell diffusion layer 13 is formed by ion implantation, boron is used as an ion species and a dose is set to, for example, 5 × 10 4.12 / Cm2 ~ 7 × 1012 / Cm2 Degree.
[0131]
Further, if necessary, an element isolation diffusion layer (not shown) may be formed on thesemiconductor substrate 11 below theelement isolation region 12.
[0132]
Further, agroove 14 is formed in theelement isolation region 12 and thesemiconductor substrate 11 so as to penetrate thebuffer layer 71 and to form a word line (including a gate electrode) in the DRAM region. The depth of thegroove 14 is, for example, about 100 nm to 150 nm, and thesemiconductor substrate 11 is formed so as to remain between thewell diffusion layer 13 formed previously and the bottom of thegroove 14. Note that a slight difference may occur between the depth of thegroove 14 formed in thesemiconductor substrate 11 and the depth of thegroove 14 formed in theelement isolation region 12.
[0133]
Further, it is desirable that the edge portion at the bottom of thegroove 14 is formed in a so-called round shape in order to avoid electric field concentration of the cell transistor, and the width of thegroove 14 becomes the channel length of the access transistor of the memory element. Therefore, it is desirable that the side wall of thegroove 14 be formed as perpendicular to the surface of thesemiconductor substrate 11 as possible.
[0134]
Further, achannel diffusion layer 15 is formed in thesemiconductor substrate 11 between the bottom of thegroove 14 and thewell diffusion layer 13. As thechannel diffusion layer 15 of the word transistor in the DRAM region, a high concentration (for example, 1.0 × 1018 / Cm3 ~ 1.0 × 1019 / Cm3 The region to be formed is the semiconductor substrate 11 (11a) at the bottom of thegroove 14 in which thesemiconductor substrate 11 is dug down, and thesemiconductor substrate 11 on the side wall and upper portion of thegroove 14 may have a very low concentration. Therefore, the portion of thesemiconductor substrate 11 below thediffusion layer 19 described later has an extremely low concentration (for example, 1.0 × 1017 / Cm3 ~ 1.0 × 1018 / Cm3 ).
[0135]
Agate insulating film 16 is formed on the inner surface of thegroove 14, on thesemiconductor substrate 11, and the like. Since thegate insulating film 15 has a slightly larger film thickness than a state-of-the-art logic transistor and a slightly longer gate length, even in this generation, a silicon oxide film formed by thermal oxidation can be used. Is possible. Therefore, thegate insulating film 15 in the DRAM region is formed of, for example, a silicon oxide film having a thickness of about 1.5 nm to 5 nm.
[0136]
Further, a word line (including a gate electrode) 18 made of, for example, a phosphorus-doped polysilicon film is formed via thegate insulating film 16 so as to fill eachgroove 14. Theword line 18 is formed of two polysilicon layers, a firstconductive layer 181 and a secondconductive layer 182. The firstconductive layer 181 is formed of, for example, a phosphorus-doped polysilicon film having a thickness of 5 nm to 10 nm, and the secondconductive layer 182 is formed of, for example, a non-doped polysilicon film doped with an impurity (for example, phosphorus). Agroove 183 is formed on the wall surface of thegroove 14 above the word line 18 (on the first conductive layer 181).
[0137]
On the side wall of thetrench 14 on the polysilicon layer of theword line 18, asidewall insulating film 20 for filling thetrench 183 is formed of, for example, a silicon nitride film. Further, theword line 18 is formed of a silicide (for example, salicide)layer 21 as an upper layer. Therefore, thesilicide layer 21 is formed above theword line 18 with respect to thegate insulating film 16 with thesidewall insulating film 20 interposed therebetween.
[0138]
Thesilicide layer 21 functioning as theword line 18 has at least a distance of at least about 30 to 100 nm from the surface of thesemiconductor substrate 11 above thegroove 14 as a distance at which a withstand voltage with respect to anextraction electrode 24 described later is secured. It is formed so as to be lowered, preferably about 50 nm to 90 nm. In this embodiment, for example, it is formed so as to be lowered by about 50 nm. Therefore, a withstand voltage distance between the diffusion layer and theextraction electrode 24 described later is ensured.
[0139]
Further, thesilicide layer 21 is made of, for example, cobalt silicide (CoSi2 ), Titanium silicide (TiSi2 ) Nickel silicide (NiSi2 ) Etc. are used. Thesidewall insulating film 20 has a function of ensuring a withstand voltage between thesilicide layer 21 and thediffusion layer 19. Note that a slight difference may occur between the depth of thegroove 14 formed in thesemiconductor substrate 11 and the depth of thegroove 14 formed in theelement isolation region 12.
[0140]
Further, adiffusion layer 19 serving as a source / drain is formed on thesemiconductor substrate 11 in the DRAM region. Phosphorus is used for thediffusion layer 19 as an N-type impurity, and the concentration is 1 × 1017 / Cm3 ~ 1 × 1018 / Cm3 It has become. Therefore, thesemiconductor substrate 11 in this region is 1 × 1016 / Cm3 ~ × 1017 / Cm3 It is set to a very light concentration.
[0141]
Therefore, this NP junction becomes a super graded junction (junction having a very gentle concentration gradient). The junction in such a state relieves the electric field at the time of reverse bias, and dramatically contributes to suppressing junction leakage current, which is about two orders of magnitude worse than usual, which occurs in a defective bit of only a ppm level in a megabit DRAM. The data retention characteristic of the defective bit dominate the chip performance of the DRAM, and is an important technique for maintaining the data retention characteristic in the future DRAM.
[0142]
For example, if the substrate concentration is 5 × 1016 / Cm3 If this is the case, a data holding characteristic of 500 ms or more at 85 ° C. can be obtained, which is expected to exhibit performance comparable to the data holding characteristic of the previous data even for 4 to 5 generations. In addition, since the access transistor in the DRAM region has a channel formed in a so-called round shape in thesemiconductor substrate 11, a long effective channel length can be ensured. It is also possible to stabilize the transistor characteristics of a DRAM cell with severe requirements.
[0143]
On the other hand, a P-well diffusion layer 51 of an N-channel transistor and an N-well diffusion layer (not shown) of a P-channel transistor are formed on thesemiconductor substrate 11 in the standard voltage logic region. On thesemiconductor substrate 11 in the high-voltage logic region, a P-well diffusion layer (not shown) of an N-channel transistor and an N-well diffusion layer 61 of a P-channel transistor are formed. Note that channel doping is performed as necessary.
[0144]
Further, low-concentration diffusion layers 52 of the N-channel transistor are formed in the semiconductor substrate 11 (P-well diffusion layer 51) in the N-channel transistor formation region of the standard voltage logic region. A low-concentration diffusion layer (not shown) of a P-channel transistor is formed on thesemiconductor substrate 11 in the p-channel transistor formation region of the standard voltage logic region.
[0145]
Further, low-concentration diffusion layers 62 of a P-channel transistor are formed in the semiconductor substrate 11 (N-well diffusion layer 61) in the P-channel transistor formation region of the high-voltage logic region. A low-concentration diffusion layer (not shown) of the N-channel transistor is formed on thesemiconductor substrate 11 in the formation region of the N-channel transistor in the high-voltage logic region.
[0146]
On the semiconductor substrate 11 (including the element isolation region 12) in the logic element region, agate insulating film 17 of the logic element is formed. In this generation, the gate insulating film is generally formed separately according to the film thickness, and the gate insulating film is formed separately using a resist process. The gate insulating film is made of silicon oxide or silicon nitride when heat resistance is required. Further, in order to prevent penetration of boron (B) from the P-channel gate, for example, a silicon oxynitride film is used for the P-channel gate.
[0147]
On the other hand, on thesemiconductor substrate 11 in the standard voltage logic region, agate electrode 51 is formed via agate insulating film 17. Thegate electrode 51 has a lower layer formed of a polysilicon layer made of phosphorus-doped polysilicon, and an upper layer formed of a metal gate electrode formed of a laminated film of an adhesion layer and a metal layer formed by replacing a dummy layer. For example, a titanium nitride layer is used for the adhesion layer, and a tungsten layer is used for the metal layer. Further, aside wall 54 is formed on the side wall of thegate electrode 51 with thegate insulating film 17 interposed therebetween. The low-concentration diffusion layers 52, 52 are formed on thesemiconductor substrate 11 below thesidewalls 54. The diffusion layers 55, 55 are formed on thesemiconductor substrate 11 on both sides of thegate electrode 51 via the low-concentration diffusion layers 52, 52. Is formed. Asilicide layer 58 is formed on thediffusion layer 55. As thesilicide layer 58, for example, cobalt silicide (CoSi2 ), Titanium silicide (TiSi2 ) Nickel silicide (NiSi2 ) Etc. can be used.
[0148]
Further, agate electrode 61 is formed on thesemiconductor substrate 11 in the high-voltage logic region via agate insulating film 17. Thegate electrode 61 has a lower layer formed of a polysilicon layer formed of boron-doped polysilicon, and an upper layer formed of a metal gate electrode formed of a laminated film of an adhesion layer formed by replacing a dummy layer and a metal layer, For example, a titanium nitride layer is used for the adhesion layer, and a tungsten layer is used for the metal layer. Further, aside wall 64 is formed on the side wall of thegate electrode 61 via thegate insulating film 17. The low-concentration diffusion layers 62, 62 are formed on thesemiconductor substrate 11 below thesidewalls 64, and the diffusion layers 65, 65 are formed on thesemiconductor substrate 11 on both sides of thegate electrode 61 via the low-concentration diffusion layers 62, 62. Is formed. Asilicide layer 68 is formed above thediffusion layer 65. As thesilicide layer 58, for example, cobalt silicide (CoSi2 ), Titanium silicide (TiSi2 ) Nickel silicide (NiSi2 ) Etc. can be used.
[0149]
Thesidewalls 54 and 64 are preferably formed of silicon oxide having a lower stress than silicon nitride and having good removability by wet processing. Alternatively, it can be formed using a stacked film of a silicon oxide film and a silicon nitride film or a silicon oxynitride film.
[0150]
Further, a gate electrode (gate wiring) 51 having the same structure as thegate electrode 51 is formed on theelement isolation region 12 in the logic region.
[0151]
On the entire surface of thesemiconductor substrate 11, a first insulating film (insulating film) 19 is formed. The surface of the first insulatingfilm 19 is flattened, and the surfaces of thegate electrodes 51 and 61 in the logic region are on the same plane.
[0152]
Further, acap insulating film 80 is formed on the entire surface by, for example, a silicon nitride film. Thecap insulating film 80 is effective for suppressing the junction leak at the salicide formation portion, but need not be formed if unnecessary.
[0153]
Further, a first insulating film (insulating film) 22 is formed on the entire surface. The first insulatingfilm 22 has aconnection hole 23 that penetrates through thecap insulating film 80, thebuffer layer 71 and the like and reaches thediffusion layer 19 in the DRAM region. Theconnection hole 23 is desirably formed as large as possible in diameter so that the extraction electrode can be brought into contact with the entire surface of thediffusion layer 19. Thereby, the contact resistance is reduced.
[0154]
Also, in the drawings, a state in which the alignment is slightly misaligned is intentionally described. However, unless excessive over-etching is performed at the time of opening the connection hole, the physical distance of theextraction electrode 24 of the word line formed in theconnection hole 23 will be described. Can be secured. In the projection design viewed from above, theconnection hole 23 completely overlaps the word line (gate electrode) 18. In theconnection hole 23, anextraction electrode 24 made of, for example, phosphorus-doped polysilicon is formed.
[0155]
The surface of the second insulatingfilm 22 is flattened so that the upper surface of theextraction electrode 24 and the upper surfaces of thegate electrodes 51 and 61 are flush with the surface of the second insulatingfilm 22. Further, on the second insulatingfilm 22, anetching stop layer 25 covering theextraction electrode 24 and thegate electrodes 51 and 61 is formed.
[0156]
In theetching stop layer 25, the first insulatingfilm 22, and thecap insulating film 80, the connection holes 26, 58 reaching the silicide layers 21 on the word lines 18 in the DRAM region and the silicide layers 57, 67 of the transistors in the logic region. , 68 are formed.Extraction electrodes 27, 59, and 69 are formed in the connection holes 26, 58, and 68, respectively. Theextraction electrodes 27, 59, and 69 are made of a tungsten film formed so as to fill the connection holes 26, 58, and 68 via an adhesion layer made of a titanium nitride film.
[0157]
On theetching stop layer 25, a second insulatingfilm 31 covering theextraction electrodes 27, 59, 69 is formed. The second insulatingfilm 31 is formed by depositing, for example, a silicon oxide film to a thickness of 50 nm to 150 nm.
[0158]
Abit contact hole 32 connected to theextraction electrode 24 and a localhatching contact hole 33 connected to theextraction electrode 59 are formed in the second insulatingfilm 31 and theetching stop layer 25. Abit line 34 is formed on the second insulatingfilm 31, and a part of thebit line 34 is connected to theextraction electrode 24 through thebit contact hole 32. Further, alocal wiring 35 is formed on the second insulatingfilm 31, and a part thereof is connected to theextraction electrode 59 through the localwiring contact hole 33. Thebit line 34 and thelocal wiring 35 are formed of, for example, atungsten film 37, anadhesive layer 36 is formed below thetungsten film 37, and acap layer 38 is formed above theadhesive layer 36.
[0159]
On the second insulatingfilm 22, anetching stopper layer 41 and a third insulatingfilm 42 covering thebit line 34 and thelocal wiring 35 are formed. Theetching stopper layer 41 is an ALD silicon nitride film and has a thickness of, for example, 30 nm to 50 nm.
[0160]
From the third insulatingfilm 42 to theetching stopper layer 25, aconnection hole 43 for forming a storage node contact reaching theextraction electrodes 24 of the storage node contact is formed. In theconnection hole 43, theetching stopper layer 41 remains on the side wall of thebit line 34 as a side wall having a thickness that ensures the withstand voltage between the bit line and the storage node contact. Further, in theconnection hole 43, astorage node contact 44 connected to theextraction electrode 24 is formed. Thestorage node contact 44 is formed of a material such as tungsten, titanium, titanium nitride, tantalum, tantalum nitride, ruthenium oxide, or the like. The surface of the third insulatingfilm 42 is flattened together with the upper surface of thestorage node contact 44, for example.
[0161]
A fourth insulatingfilm 45 is formed on the third insulatingfilm 42. In the fourth insulatingfilm 45, aconcave portion 46 in which a capacitor is formed is formed at the bottom so that the upper surface of thestorage node contact 44 is exposed. In theconcave portion 46, acapacitor 91 having an MIM (Metal / Insulator / Metal) structure that does not require heat treatment is formed. Thecapacitor 91 having the MIM structure is expected to be indispensable for a DRAM of 0.1 μm or less. At present, for example, ruthenium (Ru) and ruthenium oxide (RuO) -based materials are used for theelectrodes 92 and 94, and theelectrodes 92 and 94 are used. BST (BaTiO 3) is formed on thedielectric film 93 formed therebetween.3 And SrTiO3 (Mixed crystal with).
[0162]
On the fourth insulatingfilm 45, a fifth insulatingfilm 47 that covers thecapacitor 91 having the MIM structure is formed. The surface of the fifth insulatingfilm 47 is flattened. The fifth insulatingfilm 47 to the first insulatingfilm 22 are used to form a capacitor lead electrode, a word line lead electrode, a local wiring lead electrode, a diffusion layer lead electrode in a logic region, a gate lead electrode in a logic region, and the like. Connection holes 111, 112, 113, 114 to 116, 117 and the like.
[0163]
In each of the connection holes 111, 112, 113, 114 to 116, 117, etc., acapacitor extraction electrode 121, a wordline extraction electrode 122, a localwiring extraction electrode 123, a diffusionlayer extraction electrode 124 of a standard voltage logic region, a high voltage logic region Of the diffusion layer, agate extraction electrode 127 of the logic region, and the like.
[0164]
Further, a sixth insulatingfilm 48 is formed on the fifth insulatingfilm 47. Wiringgrooves 131, 132, 133, 134, 135, and 136 reaching theelectrodes 121, 122, 123, 124, 127, 125, and 126 are formed in the sixth insulatingfilm 48, and thewiring grooves 131 to 136 are formed. Are formed withfirst wirings 141 to 146. Thefirst wirings 141 to 146 are made of, for example, copper wiring. Although not shown, an upper layer wiring is further formed as necessary. Theelectrodes 121 to 127 and thewirings 141 to 146 are provided with a well-known adhesion layer and barrier layer depending on the materials of the electrodes, wirings, and insulating films.
[0165]
In the second semiconductor device, agroove 183 is formed on the side of thegroove 14 above theword line 18 formed in thegroove 14, and the word line (including the gate electrode) 18 is formed so as to fill thegroove 183. Since thesidewall insulating film 20 is formed on the side wall of thegroove 14, the physical distance between thesilicide layer 21 on the upper surface of theword line 18 and thegate insulating film 16 depends on the portion formed in thegroove 183 of thesidewall insulating film 20. Is sufficiently secured. Therefore, deterioration of the breakdown voltage of thegate insulating film 16 can be prevented.
[0166]
In the second semiconductor device, since thechannel diffusion layer 15 is formed in thesemiconductor substrate 11 between the lower portion of thegroove 14 where the channel is formed and thewell diffusion layer 13, the formation of thechannel 14 and thewell diffusion layer 13 The impurity concentration in the region between them becomes higher than the impurity concentration of thesemiconductor substrate 11 around thetrench 14. Further, since the concentration of thesemiconductor substrate 11 below thediffusion layer 19 serving as the source / drain is extremely low, the electric field at the junction of thediffusion layer 19 serving as the source / drain is weakened. , Thereby greatly improving data retention characteristics.
[0167]
Since thesilicide layer 21 is formed above theword line 18, the resistance of theword line 18 is reduced, the problem of delay is avoided, and the operation speed is improved. At the same time, the contact resistance toword line 18 is reduced. Further, since the silicide layers 57 and 67 are formed on the diffusion layers 55 and 65 of the logic element, the contact resistance to the diffusion layers 55 and 65 is reduced.
[0168]
Moreover, since thediffusion layer 19 is formed on the surface side of thesemiconductor substrate 11 and theword line 18 is buried in thegroove 14 formed on thesemiconductor substrate 11 via thegate insulating film 16, the channel is formed by theword line 18. Are formed so as to go around thesemiconductor substrate 11 on the bottom side of thegroove 14 in which is formed. Therefore, since an effective channel length is sufficiently ensured, the transistor characteristics of a memory element (for example, DRAM) having a severe short channel effect are stabilized by applying a back bias.
[0169]
Further, since the impurity concentration of thediffusion layer 19 is reduced in the depth direction, the concentration of thesemiconductor substrate 11 below thediffusion layer 19 in the memory element region does not have to be as high as required for the cell transistor. In addition, the electric field at the junction is alleviated, and the performance of data retention characteristics, which becomes more severe as the cell size of the memory element is reduced, is maintained.
[0170]
Further, a diffusion layer formed on the surface of thesemiconductor substrate 11 on theword line 18 buried in thetrench 14 via thegate insulating film 16 in a state of overlapping with theword line 18 via the first insulatingfilm 22. Since theextraction electrode 24 connected to thelayer 19 is formed, the second insulatingfilm 22 on theword line 18 can have a sufficient thickness of 20 nm to 30 nm or more. Thereby, a withstand voltage with respect to theextraction electrode 24 connected to thediffusion layer 19 is ensured. Therefore, since the entire surface of thediffusion layer 19 of the memory element is used for the contact, the effective area can be used effectively. Therefore, the lowest resistance value that can be realized by the cell design is realized, so that the contact resistance can be reduced.
[0171]
An example of an embodiment according to a method for manufacturing a semiconductor device of the present invention will be described with reference to schematic sectional views and partial enlarged views of FIGS. 26 to 52 show a manufacturing method for forming a memory element and a logic element on the same semiconductor substrate, and the same components as those described with reference to FIG. 25 are denoted by the same reference numerals.
[0172]
As shown in FIG. 26A, as thesemiconductor substrate 11, for example, 1 × 1017 / Cm3 A silicon substrate having a p-type impurity concentration of the order is prepared. For example, the STI (Shallow Trench Isolation) technology allows thesemiconductor substrate 11 to have an element isolation area for isolating a memory element area (hereinafter, referred to as a DRAM and referred to as a DRAM area), a standard voltage logic area, a high voltage logic area, and the like. 12 is formed. Thiselement isolation region 12 is formed at a depth of, for example, about 0.1 μm to 0.2 μm. Next, abuffer layer 71 made of, for example, a silicon oxide film is formed on thesemiconductor substrate 11 by, for example, 20 nm to 40 nm so as to cover theelement isolation region 12 by chemical vapor deposition (hereinafter, referred to as CVD; CVD is an abbreviation of Chemical Vapor Deposition). Formed to a thickness of
[0173]
Further, after a resistfilm 201 is formed on thesemiconductor substrate 11, the resistfilm 201 in a portion to be a DRAM region is removed by using lithography technology, and a logic region (hereinafter, a standard voltage logic region and a high voltage logic region are defined as a logic region). Is left on the resist film 201).
[0174]
Next, for example, boron is introduced into thesemiconductor substrate 11 in the memory element region by ion implantation using the resistfilm 201 as a mask to form thewell diffusion layer 13. As the ion implantation conditions, boron is used as an ion species, and the dose amount is, for example, 5 × 1012 / Cm2 ~ 7 × 1012 / Cm2 It is formed to a depth of, for example, more than 150 nm to 200 nm and a little deeper than the depth of theelement isolation region 12 so as to be deeper than the depth of a groove to be formed later. The thickness of thewell diffusion layer 13 in the depth direction is, for example, about 0.8 μm.
[0175]
Further, if necessary, an element isolation diffusion layer (not shown) may be formed on thesemiconductor substrate 11 below theelement isolation region 12.
[0176]
Thebuffer layer 71 has a function of a buffer film when thewell diffusion layer 13 is formed. In addition, at the time of ion implantation for adjusting the substrate concentration of a transistor (access transistor) of a memory element to be performed later, it functions as a stopper for ion implantation in a region to be a junction of a DRAM. Further, when a salicide is formed on the surface of the word line buried in the groove, it has a function of preventing salicide from being formed in the diffusion layer in the DRAM region.
[0177]
Further, as shown in FIG. 27 (2), after forming a resistfilm 203 on thesemiconductor substrate 11, anopening 204 is formed in the resistfilm 203 on a region to be a word line (gate electrode) in the DRAM region by lithography technology. To form
[0178]
Next, as shown in (3) of FIG. 28, thebuffer layer 71, theelement isolation region 12, and thesemiconductor substrate 11 are etched (for example, continuously etched) using the resistfilm 203 as an etching mask, and the element isolation region is etched. Agroove 14 for forming a word line (including a gate electrode) in a DRAM region is formed in 12 (field) and thesemiconductor substrate 11. The depth of thegroove 14 is, for example, about 100 nm to 150 nm, and thesemiconductor substrate 11 is left between thewell diffusion layer 13 formed previously and the bottom of thegroove 14. Note that a slight difference may occur between the depth of thegroove 14 formed in thesemiconductor substrate 11 and the depth of thegroove 14 formed in theelement isolation region 12.
[0179]
Since thegroove 14 is formed only in the DRAM region, it is desirable that the edge portion at the bottom of thegroove 14 be formed in a so-called round shape in order to avoid electric field concentration of the cell transistor. Becomes the channel length of the access transistor of the memory element, so that the side wall of thegroove 14 is desirably formed as perpendicular to the surface of thesemiconductor substrate 11 as possible. Note that thebuffer layer 71 formed in the DRAM region is simultaneously etched when theelement isolation region 12 is etched. Thereafter, the resistfilm 203 is removed by a normal removal technique.
[0180]
The voltage assumed in this generation is 0.5 V to 1.2 V for the standard logic area, 1.5 V to 2.5 V for the high voltage logic area, and 1.5 V to 2 V for the DRAM cell word line boost. 0.5V.
[0181]
Next, as shown in FIG. 29D, a sacrificial oxide film (not shown) is formed to a thickness of, for example, 10 nm to 20 nm on the entire exposed surface of thesemiconductor substrate 11 by, for example, a thermal oxidation method.
[0182]
Next, channel doping of the access transistor in the DRAM region is performed to form achannel diffusion layer 15 between the bottom of thegroove 14 and thewell diffusion layer 13.
[0183]
As thechannel diffusion layer 15 of the word transistor in the DRAM region, a high concentration (for example, 1.0 × 1018 / Cm3 ~ 1.0 × 1019 / Cm3 The region which must be formed is a portion of the semiconductor substrate 11 (11a) at the bottom of thegroove 14 where thesemiconductor substrate 11 is dug down. There is no. In the above-described ion implantation, thebuffer layer 71 provided first serves as a mask for ion implantation on the surface of thesemiconductor substrate 11 and the logic element region. Therefore, the channel diffusion layer is formed only at the bottom of thegroove 14 without using a new mask. 15 can be formed. Therefore, the portion of thesemiconductor substrate 11 below the diffusion layer 19 (see FIG. 30) described later has an extremely low concentration (for example, 1.0 × 1017 / Cm3 ~ 1.0 × 1018 / Cm3 ) Can be formed.
[0184]
Thereafter, the sacrificial oxide film (not shown) is removed by, for example, wet etching. Thereafter, agate insulating film 16 is formed on the inner surface of thegroove 14 in the DRAM region, on thesemiconductor substrate 11, and the like by an ordinary method for forming a gate oxide film.
[0185]
As shown in FIG. 30 (5), a firstconductive layer 181 is coated on the surface of thegate insulating film 16 to a thickness of, for example, 5 nm to 10 nm with phosphorus-doped polysilicon so as to cover the inner wall of eachgroove 14 in the DRAM region. Deposit and form. Next, a secondconductive layer 182 is formed by depositing non-doped polysilicon to a thickness of 50 nm to 150 nm on the surface of the firstconductive layer 181 so as to fill eachgroove 14 in the DRAM region. This film thickness may be sufficient to fill thegroove 14, and the film thickness is set to a film thickness optimized especially for forming a groove-shaped word line. Further, after forming a resistfilm 205 on the secondconductive layer 182, the resistfilm 205 on the logic region is removed by a lithography technique while leaving the resistfilm 205 on the DRAM region.
[0186]
Then, as shown in FIG. 31 (6), the secondconductive layer 182, the firstconductive layer 181, thegate insulating film 16 and thebuffer layer 71 on the logic element region are removed by etching using the resistfilm 205 as a mask. I do. In this etching, in the etching of the secondconductive layer 182 and the firstconductive layer 181, thebuffer layer 71 serves as an etching stopper, thereby exposing the surface of thesemiconductor substrate 11 in the logic element region. Further, in this etching, the etching for removing thebuffer layer 71 is preferably a hydrofluoric acid-based wet etching. After that, the resistfilm 205 is removed.
[0187]
Thereafter, as shown in FIG. 32 (7), a sacrificial oxide film (not shown) is formed on the surface of the logic element region. Next, a resist film (not shown) having an opening on the N-channel transistor formation region in the standard voltage logic region is formed, and then ion implantation is performed on thesemiconductor substrate 11 using the resist film as a mask. Is formed. At that time, channel doping can be performed as necessary. After that, the resist film is removed. Similarly, a resist film (not shown) having an opening on the P-channel transistor formation region in the standard voltage logic region is formed, and then the resist film is used as a mask to ion-implant thesemiconductor substrate 11. An N-well diffusion layer 61 of a channel transistor is formed. At that time, channel doping can be performed as necessary. After that, the resist film is removed.
[0188]
Next, the sacrificial oxide film is removed. Then, thegate insulating film 17 of the logic element is formed on the gate forming film 72 left on the DRAM area and on the semiconductor substrate 11 (including the element isolation area 12) in the logic element area. In this generation, the gate insulating film is generally formed separately according to the film thickness, and is separately formed using a resist process. Silicon oxide or silicon nitride is used when heat resistance is required for the gate insulating film. Further, in order to prevent penetration of boron (B) from the P-channel gate, for example, a silicon oxynitride film is used for the P-channel gate. During these processes, since the DRAM region is covered with the gate forming film 72 made of phosphorus-doped polysilicon, its surface is oxidized, but the channel region is only subjected to heat treatment and is not affected by oxidation or the like.
[0189]
As shown in FIG. 33 (8), apolysilicon layer 73 is formed of, for example, non-doped polysilicon on thesemiconductor substrate 11, theelement isolation region 12, and the secondconductive layer 182 via thegate insulating film 17. Then, phosphorus is ion-implanted into the gate electrode formation layer in the N-channel region to form an N-type gate electrode formation layer. Since thepolysilicon layer 73 is optimized for the gate electrode of the transistor in the logic region, it is preferable to form thepolysilicon layer 73 to have a thickness of, for example, 70 nm to 200 nm, and preferably about 100 nm. Note that thepolysilicon layer 73 in the P-channel region is not ion-implanted and is kept in a non-doped state. This eliminates the penetration of boron (B) during subsequent LDD (Lightly Doped Drain) formation and sidewall formation.
[0190]
After that, adummy layer 74 is formed on thepolysilicon layer 73. Thedummy layer 74 is formed by stacking, for example, a tungsten nitride film and a tungsten film. Thedummy layer 74 is a film type selected for wet etching performed to expose thepolysilicon layer 73 in the logic element region later, and has no relation to the resistance itself. Any material can be used as long as it can wet-etch the silicon oxide film of the insulating film and thepolysilicon layer 73 with a high selectivity. Next, abuffer layer 75 is formed on thedummy layer 74 by, for example, a silicon oxide film.
[0191]
Next, after forming a resist film on the entire surface of thebuffer layer 75, the resist film is processed by lithography technology to form a resistpattern 207 for forming a gate electrode in a logic element region.
[0192]
Next, as shown in FIG. 34 (9), thebuffer layer 75, thedummy layer 74, and thepolysilicon layer 73 are etched using the resistpattern 207 as a mask, and adummy gate 76 is formed in each logic element region. To form Thebuffer layer 75 is deposited to prevent salicide from being formed on tungsten on the metal-based electrode at the time of forming salicide later, but is not particularly necessary when there is no contamination or processing problem. . This is not necessary when a salicide structure is used for the peripheral gate electrode. After that, the resistpattern 207 is removed.
[0193]
As shown in FIG. 35 (10), after forming a resistfilm 209 covering thedummy gate 76 on thesemiconductor substrate 11, the resistfilm 209 in a portion to be a DRAM region is removed by using a lithography technique, and a The resistfilm 209 is left.
[0194]
Thereafter, using the resistfilm 209 as a mask, the firstconductive layer 181 and the secondconductive layer 182 are etched back so that the firstconductive layer 181 and the secondconductive layer 182 remain inside thegroove 14. In this etching, an etching condition in which the etching rate of the firstconductive layer 181 is higher than that of the secondconductive layer 182 is used. In other words, the firstconductive layer 181 is formed using a conductive film whose etching rate is higher than that of the secondconductive layer 182. As a result, the firstconductive layer 181 having a higher etching rate is etched more, and agroove 183 is formed between the secondconductive layer 182 on the firstconductive layer 181 and the side wall of thegroove 14. At the same time, a word line (partly functioning as a gate electrode) 18 including the firstconductive layer 181 and the secondconductive layer 182 is formed inside thegroove 14. At this time, the firstconductive layer 181 and the secondconductive layer 182 are etched back so that the surface of theword line 18 is lower than the surface of thesemiconductor substrate 11 by about 50 nm to 100 nm, so that an extraction electrode of a diffusion layer formed later is formed. Withstand pressure distance is secured. In this etch back, thegate insulating film 16 functions as an etching stop layer.
[0195]
Further, using the resistfilm 209 as a mask, ion implantation for forming a source / drain is performed on thesemiconductor substrate 11 in the DRAM region to form adiffusion layer 19. As an example of the ion implantation conditions, phosphorus is used as an impurity to be ion-implanted, and the concentration is 1 × 10 4.17 / Cm3 ~ 1 × 1018 / Cm3 The dose and the implantation energy are set so that Since the implantation energy penetrating thebuffer layer 71 is sufficient, the implantation energy is set to, for example, 20 keV to 50 keV, and the dose is set to 1 × 1018 / Cm2 ~ 3 × 1018 / Cm2 Set to. If ions are implanted under these conditions, almost no ions are implanted into thesemiconductor substrate 11 below thediffusion layer 19 in the DRAM region. Therefore, thesemiconductor substrate 11 in this region is 1 × 1016 / Cm3 ~ × 1017 / Cm3 It is possible to set a very low density. The secondconductive layer 182 is also doped with phosphorus by the above-described phosphorus ion implantation, and the firstconductive layer 181 and the secondconductive layer 182 have the same impurity concentration by the subsequent heat treatment. The firstconductive layer 181 and the secondconductive layer 182 are used only for word lines in the DRAM region and are not used for P-channel transistors.+ A gate material (eg, phosphorus) can be used as a doping material.
[0196]
Therefore, this NP junction becomes a super graded junction (junction having a very gentle concentration gradient). The junction in such a state relieves the electric field at the time of reverse bias, and dramatically contributes to suppressing junction leakage current, which is about two orders of magnitude worse than usual, which occurs in a defective bit of only a ppm level in a megabit DRAM. The data retention characteristic of the defective bit dominate the chip performance of the DRAM, and is an important technique for maintaining the data retention characteristic in the future DRAM.
[0197]
For example, if the substrate concentration is 5 × 1016 / Cm3 If this is the case, a data holding characteristic of 500 ms or more at 85 ° C. can be obtained, which is expected to exhibit performance comparable to the data holding characteristic of the previous data even for 4 to 5 generations. In addition, since the access transistor in the DRAM region has a channel formed in a so-called round shape in thesemiconductor substrate 11, a long effective channel length can be ensured. It is also possible to stabilize the transistor characteristics of a DRAM cell with severe requirements.
[0198]
After that, the resistfilm 209 is removed. In the above-described ion implantation, ion implantation is performed slightly shallower in consideration of diffusion due to heat treatment for forming a gate in a DRAM region later. Since it is formed at the bottom of thegroove 14 to be formed, there is no problem at all. In addition, since activation is performed by a subsequent heat treatment, there is no need to perform a heat treatment at this stage.
[0199]
As shown in FIG. 37 (11), a resist film (not shown) having an opening on the N-channel transistor formation region in the standard voltage logic region is formed, and then the resist film and thedummy gate 76 are used as a mask. Then, ions are implanted into the semiconductor substrate 11 (P-well diffusion layer 51) to form low-concentration diffusion layers 52, 52 of the N-channel transistor. After that, the resist film is removed. Similarly, a resist film (not shown) having an opening on the formation region of the P-channel transistor in the standard voltage logic region is formed, and then the resist film and the dummy gate (not shown) are used as a mask to form a semiconductor substrate. Ion implantation is carried out on 11 to form a low concentration diffusion layer (not shown) of the P-channel transistor. After that, the resist film is removed.
[0200]
Further, in the same manner, a resist film (not shown) having an opening on the formation region of the P-channel transistor in the high-voltage logic region is formed, and subsequently, using the resist film and thedummy gate 76 as a mask, the semiconductor substrate 11 ( Ion implantation is performed on the N-well diffusion layer 61) to form low-concentration diffusion layers 62, 62 of the P-channel transistor. After that, the resist film is removed. Similarly, a resist film (not shown) having an opening on the p-channel transistor formation region in the high-voltage logic region is formed, and then the resist film and the gate electrode (not shown) are used as a mask to form a semiconductor substrate. Ion implantation is carried out on 11 to form a low concentration diffusion layer (not shown) of the N-channel transistor. After that, the resist film is removed.
[0201]
Next, as shown in FIG. 38 (12), aprotective film 78 for protecting the gate in the DRAM region is formed of, for example, a thin silicon nitride film (for example, having a thickness of 10 nm to 50 nm). Theprotective film 78 is formed so as to fill thetrench 183, and is formed in a sidewall shape on the side wall on theword line 18 in the DRAM region later, and contributes to securing the withstand voltage of the side wall of theword line 18 during salicide formation.
[0202]
Next, asidewall forming film 79 is formed on the entire surface. Thissidewall forming film 79 is preferably formed of silicon oxide having a lower stress than silicon nitride and having good removability by wet processing. Alternatively, it can be formed using a stacked film of a silicon oxide film and a silicon nitride film or a silicon oxynitride film. Theprotective film 78 serves as an etching stopper when thesidewall forming film 79 of the transistor for a peripheral circuit is later removed in the DRAM, and is formed in a sidewall shape on the sidewall on theword line 18 in the DRAM region later. During formation, it contributes to ensuring the withstand voltage of the side wall of thegroove 14.
[0203]
Thereafter, as shown in (13) of FIG. 39, a resist film 211 is formed on the entire surface, the resist film 211 in the logic region is removed by, for example, lithography technology, and the resist film 211 in the DRAM region is left to protect the DRAM region. Keep it. In this state, thesidewall forming film 79 is etched back.
[0204]
As a result, thesidewall 54 is formed on the side wall of thedummy gate 76 in the standard voltage logic region with thesidewall forming film 79, and theside wall 64 is formed on the side wall of thedummy gate 76 in the high voltage logic region. You. In the above etching, theprotective film 78 on thedummy gate 76 is removed by etching depending on its thickness. After that, the resist film 211 is removed.
[0205]
Next, as shown in (14) of FIG. 40, a resist film (not shown) having an opening on the n-channel transistor formation region in the standard voltage logic region is formed. Ion implantation is performed on thesemiconductor substrate 11 using thewall 54 as a mask, anddiffusion layers 55 and 55 of the n-channel transistor are formed so as to leave the lowconcentration diffusion layer 52 on thedummy gate 76 side. After that, the resist film is removed. Similarly, a resist film (not shown) having an opening on the p-channel transistor formation region in the standard voltage logic region is formed, and then the resist film, a dummy gate (not shown), and a sidewall (not shown) are formed. Using a mask as a mask, ions are implanted into thesemiconductor substrate 11 to form a diffusion layer (not shown) of the p-channel transistor so as to leave a low-concentration diffusion layer (not shown) on the dummy gate side. After that, the resist film is removed.
[0206]
Further, in the same manner, a resist film (not shown) having an opening on the n-channel transistor formation region in the high-voltage logic region is formed, and subsequently, the resist film and thedummy gate 76 are used as a mask to form asemiconductor substrate 11 on thesemiconductor substrate 11. By performing ion implantation, diffusion layers 65 and 65 of the n-channel transistor are formed such that the lowconcentration diffusion layer 62 is left on thedummy gate 76 side. After that, the resist film is removed. Similarly, a resist film (not shown) having an opening on the p-channel transistor formation region in the high-voltage logic region is formed, and then the resist film and the dummy gate (not shown) are used as a mask to form a semiconductor substrate. Ion implantation is performed to form a diffusion layer (not shown) of a p-channel transistor while leaving a low concentration diffusion layer (not shown) on the dummy gate side (not shown). After that, the resist film is removed.
[0207]
Next, after forming a resistfilm 213 on the entire surface, the resistfilm 213 in the DRAM region is removed by lithography technology, and patterning is performed so that the resistfilm 213 covers the logic region. Next, using the resistfilm 213 as a mask, thesidewall formation film 79 made of silicon oxide in the DRAM region is etched back by, for example, a wet process. In this etching, theprotection film 78 made of silicon nitride formed immediately above theword line 18 of the DRAM formed earlier serves as an etching stopper.
[0208]
Further, using the resistfilm 213 as it is, theprotective film 78 in the DRAM region is etched by, for example, reactive ion etching (RIE) to expose theword line 18 in the DRAM region. As a result. Asidewall insulating film 20 made of aprotective film 78 is formed on the side wall of thegroove 14 on theword line 18. Thissidewall insulating film 20 has a function of protecting the side wall. In the reactive ion etching, it is important that thediffusion layer 19 in the DRAM region is not exposed, that is, thebuffer layer 71 is left on thediffusion layer 19. After that, the resistfilm 213 is removed.
[0209]
Further, as shown in FIG. 41 (15), silicide layers 57, 67, 21 are formed on the respective diffusion layers 55, 65 in the logic region and the word lines 18 in the DRAM region by using a normal silicidation technique. Are selectively formed. At this time, since thebuffer layer 75 made of a silicon oxide film is formed on the top of thedummy gate 76, no silicide layer is formed. In this way, the silicide layers 57, 67, 21 are selectively formed on the respective diffusion layers 55, 65 in the logic area where low resistance needs to be realized, and on the word lines 18 in the DRAM area. As this silicide layer, for example, cobalt silicide (CoSi2 ), Titanium silicide (TiSi2 ) Nickel silicide (NiSi2 ) Etc. can be used.
[0210]
Thereafter, acap insulating film 80 is formed on the entire surface by, for example, a silicon nitride film. Thecap insulating film 80 is effective for suppressing the junction leak at the salicide formation portion, but need not be formed if unnecessary. Note that, as described above, a silicide layer may be formed also on the gate electrode of the transistor in the peripheral circuit portion to form a salicide structure to reduce the resistance of the gate electrode.
[0211]
Next, as shown in (16) of FIG. 42, after forming a first insulating film (insulating film) 22 on the entire surface, the surface of the first insulatingfilm 22 is flattened by CMP. The method of planarizing the surface of the first insulatingfilm 22 is not limited to CMP as long as planarization can be realized, and for example, an etch-back method may be used. Then, after forming a resistfilm 215 on the first insulatingfilm 22, aconnection hole pattern 216 for contacting a diffusion layer in the DRAM region is formed in the resistfilm 215 by lithography.
[0212]
Next, etching is performed using the resistfilm 215 as an etching mask, and as shown in (17) of FIG. 43, penetrates through the first insulatingfilm 22, thebuffer layer 71, etc., and reaches thediffusion layer 19 in the DRAM region. Theconnection hole 23 is formed. At this time, since the word line (gate electrode) 18 in the DRAM region is disposed below the surface of thesemiconductor substrate 11 with respect to thediffusion layer 19 to be contacted, there is no need to use a special technique such as a self-aligned contact. Further, it is desirable to form theconnection hole 23 as large as possible so that the entire surface of thediffusion layer 19 of the DRAM can contact the extraction electrode. Thereby, the contact resistance is reduced.
[0213]
In the drawings, a state in which the alignment is slightly misaligned is intentionally described. However, unless excessive over-etching is performed at the time of opening the connection hole, the physical characteristics of the word line extraction electrode formed in theconnection hole 23 in a later step will be described. It is possible to secure a long distance. In the projection design viewed from above, theconnection hole 23 completely overlaps the word line (gate electrode) 18.
[0214]
Next, an extractionelectrode forming film 81 is formed on the first insulatingfilm 22 so as to fill the connection holes 23. The extractionelectrode forming film 81 is formed of, for example, phosphorus-doped polysilicon. For the extractionelectrode forming film 81 for extracting the diffusion layer, it is desirable that phosphorus-doped polysilicon be selected in consideration of the reduction of junction leakage in the DRAM region as in the related art. At this stage, heat treatment for activation is unnecessary.
[0215]
Thereafter, as shown in (18) of FIG. 44, the excessive extraction electrode forming film 81 (phosphorus-doped polysilicon) on the first insulatingfilm 22 is removed by, for example, CMP, and the diffusion layer is formed in theconnection hole 23. Theextraction electrode 24 made of the extractionelectrode forming film 81 connected to thesubstrate 19 is formed, and the first insulatingfilm 22 is polished to flatten its surface. At this time, the buffer layer 75 (see (9) in FIG. 34) of thedummy gate 76 in each logic region is removed to expose the upper portion of thedummy layer 74 of thedummy gate 76.
[0216]
Next, the dummy layer 74 (see (18) in FIG. 44) of thedummy gate 76 in the logic region is removed. As a result, agroove 83 is formed on thepolysilicon layer 73 of each of thedummy gates 76, as shown in FIG. This etching is preferably performed by, for example, wet etching with sulfuric acid / hydrogen peroxide or hydrofluoric / nitric acid.
[0217]
Next, after forming a resistfilm 217 on the entire surface on the first insulatingfilm 22 side, an opening 218 is formed by lithography on the formation region of the p-channel transistor in the logic element region. Subsequently, using the resistfilm 217 as a mask, for example, boron is ion-implanted as a p-type impurity into thepolysilicon layer 73 made of non-doped polysilicon.
[0218]
After that, the resistfilm 217 is removed. Next, heat treatment is performed. By this heat treatment, theextraction electrode 24 made of polysilicon in the DRAM region and thepolysilicon layer 73 doped with impurities of the gate electrode in the logic element region are activated. In this heat treatment, RTA (Rapid Thermal Annealing) at 900 ° C. for about 10 seconds is sufficient, but thermal annealing using an ordinary furnace may be performed. In the subsequent steps, a high-temperature heat step is not performed, so that the so-called “penetration” in which boron diffuses from the gate electrode in the logic element region is minimized.
[0219]
Then, as shown in (20) of FIG. 46, a metal-based gateelectrode formation film 84 is formed so as to fill the inside of thegroove 83. The metal-based gateelectrode forming film 84 is generally formed as a laminated film of a metal film (for example, a tungsten film) 84W / an adhesion film (for example, atitanium nitride film 84T). Alternatively, an electrode of tungsten / tungsten nitride, copper / titanium nitride, ruthenium, or the like can be formed.
[0220]
The surplus metal-based gateelectrode forming film 84 on the first insulatingfilm 22 is removed again by CMP.
[0221]
As a result, as shown in (21) of FIG. 47, ametal gate electrode 84G made of the metal gateelectrode forming film 84 left in thegroove 83 is formed, and themetal gate electrode 84G and thepolysilicon layer 73 are formed. Thegate electrodes 51 and 61 are formed, and the surface of the first insulatingfilm 22 is planarized. At this time, the upper portion of theextraction electrode 24 for extracting the diffusion layer in the DRAM region is also polished, but there is no problem.
[0222]
Next, anetching stop layer 25 covering theextraction electrode 24 in the DRAM region and thegate electrodes 51 and 61 in the logic element region is formed on the entire surface of the first insulatingfilm 22 with, for example, a silicon oxide film.
[0223]
Thereafter, as shown in (22) of FIG. 48, after forming a resist film (not shown) on theetching stop layer 25, the resist film is formed on the resist film by a lithography technique. A connection hole pattern (not shown) for a diffusion layer extraction electrode is formed. Subsequently, by using the resist film as an etching mask, thesilicide layer 21 on theword line 18 in the DRAM region penetrating through theetching stop layer 25, the first insulatingfilm 22 and thecap insulating film 80, and the The connection holes 26, 58, 68 reaching the silicide layers 57, 67 of the transistor are formed.
[0224]
After that, the resist film is removed. Next, anadhesion layer 85 made of a titanium nitride film is formed on the inner surface of each of the connection holes 26, 58, and 68 by a normal tungsten plug forming technique, and then atungsten film 86 is formed so as to fill the connection holes 26, 58, and 68. To form After that, excess portions of thetungsten film 86 and theadhesion layer 85 on theetching stop layer 25 are removed by CMP, andextraction electrodes 27, 59, and 69 are formed inside the connection holes 26, 58, and 68.
[0225]
Next, a second insulatingfilm 31 is formed, for example, by depositing a silicon oxide film to a thickness of 50 to 150 nm on the entire surface of theetching stop layer 25 so as to cover theextraction electrodes 27, 59, and 69.
[0226]
Then, after forming a resist film (not shown) on the second insulatingfilm 31, an opening (not shown) is formed at a position where a bit contact is to be formed in the resist film by lithography. By etching using the resist film as a mask, abit contact hole 32 and a localwiring contact hole 33 are formed in the second insulatingfilm 31 and theetching stopper layer 25 as shown in FIG.
[0227]
Next, a wiring metal layer for forming thebit line 34 and thelocal wiring 35 is formed. In this wiring metal layer, first, anadhesion layer 36 formed by stacking a titanium film and a titanium nitride film is formed on the inner surfaces of the bit contact holes 32 and the local wiring contact holes 33 and on the second insulatingfilm 31. Further, atungsten film 37 serving as a main material of the metal wiring is formed on theadhesion layer 36 so as to fill thebit contact hole 32 and the localwiring contact hole 33. Further, acap layer 38 is formed on thetungsten film 37 by, for example, a silicon nitride film.
[0228]
Thereafter, thecap layer 38, thetungsten film 37, and theadhesion layer 36 are patterned by the usual lithography and etching techniques to form abit line 34 connected to the bit contact take-outelectrode 24 through thebit contact hole 32, and a local wiring contact. Thelocal wiring 35 connected to theextraction electrode 59 through thehole 33 is formed. Therefore, thecap layer 38 is formed on thebit line 34 and thelocal wiring 35.
[0229]
Thereafter, anetching stopper layer 41 covering thebit line 34, thelocal wiring 35, and the like is formed on the second insulatingfilm 31 with an ALD silicon nitride film to a thickness of, for example, 30 nm to 50 nm.
[0230]
Next, as shown in (24) of FIG. 50, a third insulatingfilm 42 is formed on theetching stopper layer 41. Then, the surface of the third insulatingfilm 42 is flattened using, for example, CMP. Next, after a resistfilm 219 is formed on the third insulatingfilm 42, anopening pattern 220 for opening a storage node contact is formed by lithography. Thisopening pattern 220 can be formed larger than the diameter of the connection hole where the actual storage node contact is formed.
[0231]
Then, using the resistfilm 219 as an etching mask, as shown in (25) of FIG. 51, the storage node from the third insulatingfilm 42 to theetching stop layer 25 is etched to form thecontact extraction electrode 24, Aconnection hole 43 for forming a storage node contact reaching 24 is formed. In this etching, in addition to the resist film 219 (see (24) in FIG. 50), thecap layer 38 and theetching stopper layer 41 serve as an etching mask. Although part of theetching stopper layer 41 is etched, theetching stopper layer 41 remains on the side wall of thebit line 34 as a side wall having a thickness enough to ensure the withstand voltage between the bit line and the storage node contact. Thereafter, the resist film 219 (see (24) in FIG. 50) is removed.
[0232]
Next, as shown in (26) of FIG. 52, astorage node contact 44 connected to theextraction electrode 24 is formed in theconnection hole 43. Thestorage node contact 44 is formed, for example, by forming a material layer by depositing tungsten, titanium, titanium nitride, tantalum, tantalum nitride, ruthenium oxide, or the like on the third insulatingfilm 42 so as to fill theconnection hole 43. The surplus material layer on the third insulatingfilm 42 is formed by the material layer left in theconnection hole 43 by removing the material layer by, for example, CMP.
[0233]
Next, a fourth insulatingfilm 45 covering thestorage node contact 44 and the like is formed on the third insulatingfilm 42. Next, aconcave portion 46 in which a capacitor is formed is formed in the fourth insulatingfilm 45 so that the upper surface of thestorage node contact 44 is exposed at the bottom.
[0234]
Thereafter, acapacitor 91 having an MIM (Metal / Insulator / Metal) structure that does not require heat treatment is formed in theconcave portion 46. The MIM-structuredcapacitor 91 is expected to be indispensable in a DRAM of 0.1 μm or less. At present, as an example, theelectrodes 92 and 94 are made of ruthenium (Ru) or ruthenium oxide (RuO) -based material, and Thefilm 93 has BST (BaTiO3 And SrTiO3 And a mixed crystal) film.
[0235]
Next, a fifth insulatingfilm 47 is formed on the fourth insulatingfilm 45 so as to cover thecapacitor 91 having the MIM structure. Thereafter, the surface of the fifth insulatingfilm 47 is flattened by CMP. Next, on the fifth insulatingfilm 47 or the second insulatingfilm 31, a capacitor lead electrode, a word line lead electrode, a local wiring lead electrode, a diffusion layer lead electrode in a logic region, a gate lead electrode in a logic region, and the like are formed. Connection holes 111, 112, 113, 114 to 116, 117, etc. are formed.
[0236]
Further, thecapacitor extraction electrode 121, the wordline extraction electrode 122, the localwiring extraction electrode 123, the diffusionlayer extraction electrodes 124 to 126 of the logic area, and the gate of the logic area are formed in the connection holes 111, 112, 113, 114 to 116, 117 and the like. Anextraction electrode 127 is formed. Further, a sixth insulatingfilm 48 is formed on the fifth insulatingfilm 47. Next,wiring grooves 131 to 136 reaching theelectrodes 121 to 127 and the like are formed in the sixth insulatingfilm 48, and wirings 141 to 146 are formed in thewiring grooves 131 to 136. Thewirings 141 to 146 are made of, for example, copper wiring. Although not shown, an upper layer wiring is further formed as necessary. Theelectrodes 121 to 127 and thewirings 141 to 146 are formed with a well-known adhesion layer and barrier layer depending on the materials of the electrodes, wirings, and insulating films.
[0237]
In the second method of manufacturing a semiconductor device, thegroove 183 is formed on the side of thegroove 14 above the word line (gate electrode) 18, and the side wall of thegroove 14 on the word line (gate electrode) 18 is filled so as to fill thegroove 183. Since thesidewall insulating film 20 is formed on the substrate, thesilicide layer 21 may be formed on the word line (gate electrode) 18. Since the distance between thesilicide layer 21 and thegate insulating film 16 is sufficiently ensured by the portion formed in thegroove 183 of thesidewall insulating film 20, a semiconductor device in which the deterioration of the gate withstand voltage is suppressed is obtained.
[0238]
In the second method for manufacturing a semiconductor device, since thebuffer layer 71 is formed, when the impurity for forming thechannel diffusion layer 15 is introduced into thesemiconductor substrate 11 at the bottom of thegroove 14, thebuffer layer 71 is formed. Is used as a mask, an impurity is selectively introduced into thesemiconductor substrate 11 at the bottom of thegroove 14, and thechannel diffusion layer 15 is formed.
[0239]
As described above, since thechannel diffusion layer 15 is formed in thesemiconductor substrate 11 between the lower part of thegroove 14 and thewell diffusion layer 13, the impurity concentration in the region between thegroove 144 and thewell diffusion layer 13 is reduced. It becomes higher than the impurity concentration of thesemiconductor substrate 11. Further, since the concentration of thesemiconductor substrate 11 below thediffusion layer 19 serving as the source / drain can be kept extremely low, the electric field at the junction of thediffusion layer 19 serving as the source / drain is weakened. For this reason, it is possible to suppress the junction leak on the order of ppm, thereby forming a semiconductor device having extremely good data retention characteristics.
[0240]
In addition, the semiconductor is overlapped with theword line 18 via the first insulatingfilm 22 on theword line 8 embedded in thegroove 14 formed in thesemiconductor substrate 11 via thegate insulating film 16. Since the extraction electrode connected to thediffusion layer 19 formed on the surface of thesubstrate 11 is formed, the first insulatingfilm 22 on theword line 18 can have a sufficient thickness of 20 nm to 30 nm or more. . Thereby, a withstand voltage with respect to theextraction electrode 24 connected to thediffusion layer 19 is ensured. Therefore, since the entire surface of the diffusion layer of the memory element is used for the contact, the effective area can be used effectively. Therefore, the lowest resistance value that can be realized by the cell design is realized, so that the contact resistance can be reduced.
[0241]
Further, since thesilicide layer 21 is formed above theword line 18, the resistance of theword line 18 is reduced, and the problem of delay is avoided. Further, since the silicide layers 57 and 67 are formed on the diffusion layers 55 and 65 of the logic element, the contact resistance to the diffusion layers 55 and 65 is reduced.
[0242]
Further, since adiffusion layer 19 is formed on the front surface side of thesemiconductor substrate 11 and aword line 18 is buried in agroove 14 formed in thesemiconductor substrate 11 via agate insulating film 16, a channel is formed. Are formed so as to go around thesemiconductor substrate 11 on the bottom side of thegroove 14 in which is formed. Therefore, since an effective channel length is sufficiently ensured, the transistor characteristics of a memory element (for example, DRAM) having a severe short channel effect are stabilized by applying a back bias.
[0243]
Further, since thediffusion layer 19 in the memory element region is formed so that the impurity concentration decreases in the depth direction, the concentration of thesemiconductor substrate 11 under thediffusion layer 19 does not have to be so high as required for the cell transistor. As a result, the electric field at the junction is alleviated, and the performance of the data retention characteristic, which becomes more severe as the cell size of the memory element is reduced, is maintained.
[0244]
Further, by using a laminated structure of thepolysilicon layer 73 and thedummy layer 74 for thedummy gate 76 formed in the logic element region, thedummy layer 74 is removed after forming the extraction electrode of the diffusion layer in the memory element region, and thedummy layer 74 is removed. It becomes possible to dope thepolysilicon layer 73 of thegate 76 with an impurity. Thereafter, a heat treatment is performed to form themetal gate electrode 84G with the metal gateelectrode forming film 84, so that the problem of boron penetration in the p-channel gate electrode due to the heat treatment can be minimized.
[0245]
The technology used for the DRAM area can be applied to the manufacture of memory chips for general-purpose DRAMs.
[0246]
【The invention's effect】
As described above, according to the first and second semiconductor devices and the method of manufacturing the same of the present invention, the groove is formed on the side wall of the groove above the word line formed in the groove formed in the semiconductor substrate. Since the sidewall insulating film is formed on the side wall of the trench on the word line (including the gate electrode) so as to fill the trench, the silicide layer on the upper surface of the word line is formed by the portion formed in the trench of the sidewall insulating film. The physical distance between the gate insulating film and the gate insulating film is sufficiently ensured. For this reason, it is possible to prevent the withstand voltage of the gate insulating film from deteriorating without giving a side effect to the device characteristics. Since the silicide layer is formed on the word line, the resistance of the word line can be reduced, and the problem of the word line delay, which is a problem in miniaturization, can be avoided.
[0247]
Further, a diffusion layer is formed on the surface of the semiconductor substrate, and the word line is buried in the groove formed in the semiconductor substrate via the gate insulating film. Formed around the semiconductor substrate. Therefore, since the effective channel length of the cell transistor in the memory element region is sufficiently ensured, the transistor characteristics of a memory element (for example, DRAM) having a severe short channel effect by applying a back bias are stabilized.
[0248]
On a word line embedded in a groove formed in a semiconductor substrate, an extraction electrode connected to a diffusion layer formed on the surface of the semiconductor substrate is formed in a state overlapping with the word line via a sidewall, an insulating film, and the like. Therefore, withstand voltage between the diffusion layer and the extraction electrode can be ensured by the insulating film or the like on the word line. Therefore, the entire surface of the diffusion layer in the memory element region at a position higher than the word line can be used for the contact, and the effective area can be used effectively. Therefore, the lowest resistance value that can be realized by the cell design can be realized, and the contact resistance can be reduced.
[0249]
Therefore, in the upper projection design, the extraction electrode of the diffusion layer in the memory element region and the word line (gate electrode) can overlap, and the cell can be miniaturized. In other words, there is no need for a distance between the word line and the extraction electrode in the direction of the substrate surface for ensuring the withstand voltage. Therefore, since the entire surface of the diffusion layer of the memory element can be used for the contact, the effective area can be used effectively, the lowest resistance value achievable in the cell design can be realized, and the contact resistance can be reduced.
[0250]
In addition, since the diffusion layer in the memory element region is formed so that its concentration decreases in the depth direction, it is not necessary to increase the substrate concentration below the diffusion layer as required for the cell transistor. For this reason, the electric field at the junction of the diffusion layer can be reduced, and the performance of data retention characteristics, which becomes more and more severe due to the reduction in the cell size of the memory element region, can be maintained.
[0251]
Further, according to the second semiconductor device and the method for manufacturing the same, since the silicide layer is formed on the diffusion layer of the logic element, the contact resistance to the diffusion layer can be reduced.
[0252]
Further, a logic transistor having a so-called replacement gate electrode for realizing a high driving force transistor in a logic region and a memory element can be realized as one chip. As a result, the gate of the logic region does not need to be treated for heat treatment, a high dielectric constant material can be used for the gate insulating film, and the gate electrode can be formed with a polymetal structure.
[Brief description of the drawings]
FIG. 1 is a schematic sectional view showing an example of an embodiment of a semiconductor device of the present invention.
FIG. 2 is an enlarged schematic view of a portion A in FIG.
FIG. 3 is a schematic cross-sectional view (1) showing an example of an embodiment according to a method for manufacturing a semiconductor device of the present invention.
FIG. 4 is a schematic sectional view (2) showing an example of an embodiment of a method for manufacturing a semiconductor device of the present invention.
FIG. 5 is a schematic sectional view (3) showing an example of an embodiment of a method for manufacturing a semiconductor device of the present invention.
FIG. 6 is a schematic sectional view (4) showing an example of an embodiment according to a method for manufacturing a semiconductor device of the present invention.
FIG. 7 is a schematic sectional view (5) showing an example of an embodiment of a method for manufacturing a semiconductor device of the present invention.
8 is an enlarged schematic view of a portion B in FIG. 7;
FIG. 9 is a schematic sectional view (6) showing an example of an embodiment according to a method for manufacturing a semiconductor device of the present invention.
FIG. 10 is an enlarged schematic view of a portion C in FIG. 9;
FIG. 11 is a schematic sectional view (7) showing an example of an embodiment of a method for manufacturing a semiconductor device of the present invention.
FIG. 12 is a schematic cross-sectional view (8) showing an example of an embodiment according to a method for manufacturing a semiconductor device of the present invention.
FIG. 13 is an enlarged schematic view of a portion D in FIG.
FIG. 14 is a schematic cross-sectional view (9) showing an example of an embodiment of a method for manufacturing a semiconductor device of the present invention.
FIG. 15 is a schematic sectional view (10) showing an example of an embodiment according to a method for manufacturing a semiconductor device of the present invention.
FIG. 16 is a schematic sectional view (11) showing an example of an embodiment of a method for manufacturing a semiconductor device of the present invention.
FIG. 17 is a schematic sectional view (12) showing an example of an embodiment according to a method for manufacturing a semiconductor device of the present invention.
FIG. 18 is a schematic sectional view (13) showing an example of an embodiment according to a method for manufacturing a semiconductor device of the present invention.
FIG. 19 is a schematic sectional view (14) showing an example of an embodiment of a method for manufacturing a semiconductor device of the present invention.
FIG. 20 is a schematic sectional view (15) showing an example of an embodiment of a method for manufacturing a semiconductor device of the present invention.
FIG. 21 is a schematic sectional view (16) showing an example of an embodiment of a method for manufacturing a semiconductor device of the present invention.
FIG. 22 is a schematic sectional view (17) showing an example of an embodiment according to a method for manufacturing a semiconductor device of the present invention.
FIG. 23 is a schematic sectional view (18) showing an example of an embodiment of a method for manufacturing a semiconductor device of the present invention.
FIG. 24 is a schematic sectional view showing an example of an embodiment of a semiconductor device of the present invention.
25 is an enlarged schematic view of a portion E in FIG. 24.
FIG. 26 is a schematic cross-sectional view (1) showing an example of an embodiment according to a method for manufacturing a semiconductor device of the present invention.
FIG. 27 is a schematic sectional view (2) showing an example of an embodiment of a method for manufacturing a semiconductor device of the present invention.
FIG. 28 is a schematic sectional view (3) showing an example of an embodiment according to a method for manufacturing a semiconductor device of the present invention.
FIG. 29 is a schematic cross-sectional view (4) showing an example of an embodiment of a method for manufacturing a semiconductor device of the present invention.
FIG. 30 is a schematic sectional view (5) showing an example of an embodiment according to a method for manufacturing a semiconductor device of the present invention.
FIG. 31 is a schematic sectional view (6) showing an example of an embodiment according to a method for manufacturing a semiconductor device of the present invention.
FIG. 32 is a schematic sectional view (7) showing an example of an embodiment according to a method for manufacturing a semiconductor device of the present invention.
FIG. 33 is a schematic cross-sectional view (8) showing an example of an embodiment according to a method for manufacturing a semiconductor device of the present invention.
FIG. 34 is a schematic cross-sectional view (9) showing an example of an embodiment according to a method for manufacturing a semiconductor device of the present invention.
FIG. 35 is a schematic sectional view (10) showing an example of an embodiment according to a method for manufacturing a semiconductor device of the present invention.
FIG. 36 is an enlarged schematic view of a portion F in FIG. 35;
FIG. 37 is a schematic sectional view (11) showing an example of an embodiment of a method for manufacturing a semiconductor device of the present invention.
FIG. 38 is a schematic sectional view (12) showing an example of an embodiment of a method for manufacturing a semiconductor device according to the present invention;
FIG. 39 is a schematic sectional view (13) showing an example of an embodiment of a method for manufacturing a semiconductor device of the present invention.
FIG. 40 is a schematic cross-sectional view (14) showing an example of an embodiment of a method for manufacturing a semiconductor device of the present invention.
FIG. 41 is a schematic structural sectional view (15) showing an example of an embodiment of a method for manufacturing a semiconductor device of the present invention;
FIG. 42 is a schematic sectional view (16) showing an example of an embodiment of a method for manufacturing a semiconductor device according to the present invention;
FIG. 43 is a schematic sectional view (17) showing an example of an embodiment of a method for manufacturing a semiconductor device of the present invention;
FIG. 44 is a schematic sectional view (18) showing an example of an embodiment of a method for manufacturing a semiconductor device according to the present invention;
FIG. 45 is a schematic sectional view (19) showing an example of an embodiment of a method for manufacturing a semiconductor device of the present invention.
FIG. 46 is a schematic sectional view (20) showing an example of an embodiment of a method for manufacturing a semiconductor device of the present invention.
FIG. 47 is a schematic sectional view (21) showing an example of an embodiment of a method for manufacturing a semiconductor device of the present invention.
FIG. 48 is a schematic sectional view (22) showing an example of an embodiment of a method for manufacturing a semiconductor device according to the present invention;
FIG. 49 is a schematic sectional view (23) showing an example of an embodiment of a method for manufacturing a semiconductor device of the present invention;
FIG. 50 is a schematic sectional view (24) showing an example of an embodiment of a method for manufacturing a semiconductor device of the present invention;
FIG. 51 is a schematic sectional view (25) showing an example of an embodiment of a method for manufacturing a semiconductor device of the present invention;
FIG. 52 is a schematic sectional view (26) showing an example of an embodiment of a method for manufacturing a semiconductor device of the present invention;
[Explanation of symbols]
DESCRIPTION OFSYMBOLS 11 ... Semiconductor substrate, 14 ... Groove, 15 ... Channel diffusion layer, 16 ... Gate insulating film, 18 ... Word line (including gate electrode), 19 ... Diffusion layer, 20 ... Side wall insulating film, 21 ... Silicide layer,

Claims (8)

Translated fromJapanese
半導体基板と、
前記半導体基板に形成された溝と、
前記溝の底部の前記半導体基板に形成されたチャネル拡散層と、
前記溝内にゲート絶縁膜を介して埋め込まれたゲート電極と、
前記ゲート電極上部の前記溝側壁側に形成した溝部と、
前記溝部内を埋め込み前記ゲート電極上の前記溝の側壁に形成したサイドウォール絶縁膜と、
前記溝側壁の前記半導体基板表面側に形成された拡散層と、
前記サイドウォール絶縁膜の底部よりも高い位置で前記ゲート電極上層に形成されたシリサイド層と
を備えたことを特徴とする半導体装置。
A semiconductor substrate;
A groove formed in the semiconductor substrate,
A channel diffusion layer formed on the semiconductor substrate at the bottom of the groove;
A gate electrode embedded in the groove via a gate insulating film;
A groove formed on the side wall of the groove above the gate electrode;
A sidewall insulating film embedded in the trench and formed on a sidewall of the trench on the gate electrode;
A diffusion layer formed on the semiconductor substrate surface side of the groove side wall;
And a silicide layer formed on the gate electrode at a position higher than the bottom of the sidewall insulating film.
前記半導体基板に形成された素子分離領域により分離された前記半導体基板中にウエル拡散層が形成され、
前記溝は前記ウエル拡散層上に前記半導体基板の一部を残した状態で前記半導体基板および前記素子分離領域に形成され、
前記チャネル拡散層は前記溝の底部と前記ウエル拡散層との間の前記半導体基板に形成された
ことを特徴とする請求項1記載の半導体装置。
A well diffusion layer is formed in the semiconductor substrate separated by an element isolation region formed in the semiconductor substrate;
The trench is formed in the semiconductor substrate and the element isolation region while leaving a part of the semiconductor substrate on the well diffusion layer,
2. The semiconductor device according to claim 1, wherein the channel diffusion layer is formed on the semiconductor substrate between a bottom of the groove and the well diffusion layer.
半導体基板のワード線を形成する位置に溝を形成する工程と、
前記溝の底部の前記半導体基板にチャネル拡散層を形成する工程と、
前記溝内および前記半導体基板上にゲート絶縁膜を形成する工程と、
前記溝の内壁を含む前記半導体基板上に第1導電層を形成する工程と、
前記半導体基板上に前記第1導電層を介して前記溝を埋め込む第2導電層を形成する工程と、
前記溝の内部における前記第1導電層が前記第2導電層よりも低くなるように前記溝の上部および前記半導体基板上の前記第1導電層および前記第2導電層を除去して、前記溝内部に残した前記第1導電層と前記第2導電層とでゲート電極を形成するとともに、前記溝側壁と前記第2導電層との間に溝部を形成する工程と、
前記溝側壁上部の前記半導体基板に拡散層を形成する工程と、
前記溝部の内部を埋め込むとともに前記ゲート電極上の前記溝側壁にサイドウォール絶縁膜を形成する工程と、
前記ゲート電極上層にシリサイド層を形成する工程と
を備えたことを特徴とする半導体装置の製造方法。
Forming a groove at a position where a word line is formed on a semiconductor substrate;
Forming a channel diffusion layer in the semiconductor substrate at the bottom of the groove;
Forming a gate insulating film in the trench and on the semiconductor substrate;
Forming a first conductive layer on the semiconductor substrate including the inner wall of the groove;
Forming a second conductive layer filling the groove on the semiconductor substrate via the first conductive layer;
Removing the first conductive layer and the second conductive layer over the groove and the semiconductor substrate so that the first conductive layer inside the groove is lower than the second conductive layer; Forming a gate electrode between the first conductive layer and the second conductive layer left inside, and forming a groove between the groove side wall and the second conductive layer;
Forming a diffusion layer on the semiconductor substrate above the trench sidewalls;
Forming a sidewall insulating film on the side wall of the groove on the gate electrode while filling the inside of the groove;
Forming a silicide layer on the gate electrode.
前記第1導電層は前記第2導電層よりもエッチングレートが速い膜からなる
ことを特徴とする請求項3記載の半導体装置の製造方法。
4. The method according to claim 3, wherein the first conductive layer is formed of a film having a higher etching rate than the second conductive layer.
前記半導体基板に形成された素子分離領域により分離された前記半導体基板中にウエル拡散層を形成し、
前記溝は前記ウエル拡散層上に前記半導体基板の一部を残した状態で前記半導体基板および前記素子分離領域に形成し、
前記チャネル拡散層は前記溝の底部と前記ウエル拡散層との間の前記半導体基板に形成する
ことを特徴とする請求項3記載の半導体装置の製造方法。
Forming a well diffusion layer in the semiconductor substrate separated by an element isolation region formed in the semiconductor substrate;
The trench is formed in the semiconductor substrate and the element isolation region while leaving a part of the semiconductor substrate on the well diffusion layer,
4. The method according to claim 3, wherein the channel diffusion layer is formed on the semiconductor substrate between a bottom of the groove and the well diffusion layer.
メモリ素子とロジック素子とを同一半導体基板上に形成した半導体装置において、
前記メモリ素子のトランジスタは、
半導体基板に形成された素子分離領域と、
前記素子分離領域により分離された前記半導体基板中に形成されたウエル拡散層と、
前記半導体基板および前記素子分離領域に形成されたもので前記ウエル拡散層上に前記半導体基板の一部を残した状態で形成された溝と、
前記溝の底部と前記ウエル拡散層との間の前記半導体基板に形成されたチャネル拡散層と、
前記溝内にゲート絶縁膜を介して埋め込まれたワード線と、
前記ワード線上部の前記溝側壁側に形成した溝部と、
前記溝部内を含み前記ワード線上の前記溝の側壁に形成したサイドウォール絶縁膜と、
前記溝側壁の前記半導体基板表面側に形成された拡散層と、
前記サイドウォール絶縁膜の底部よりも高い位置で前記ワード線上層に形成されたシリサイド層と、
前記ワード線上に絶縁膜を介して前記ワード線にオーバラップする状態で前記拡散層に接続された取り出し電極とを備えたもので、
前記ロジック素子のトランジスタは、
前記半導体基板上に形成されたもので、ポリシリコン電極と金属系電極とが積層されたポリメタル構造のゲート電極と、
前記ゲート電極の両側における前記半導体基板表面側に形成された拡散層と、
前記拡散層上層に形成されたシリサイド層とを備えたものである
ことを特徴とする半導体装置。
In a semiconductor device in which a memory element and a logic element are formed on the same semiconductor substrate,
The transistor of the memory element,
An element isolation region formed in the semiconductor substrate,
A well diffusion layer formed in the semiconductor substrate separated by the element isolation region;
A groove formed in the semiconductor substrate and the element isolation region and formed on the well diffusion layer while leaving a part of the semiconductor substrate;
A channel diffusion layer formed in the semiconductor substrate between the bottom of the groove and the well diffusion layer;
A word line embedded in the trench via a gate insulating film;
A groove formed on the side wall of the groove above the word line;
A sidewall insulating film formed on a side wall of the trench on the word line including in the trench,
A diffusion layer formed on the semiconductor substrate surface side of the groove side wall;
A silicide layer formed above the word line at a position higher than the bottom of the sidewall insulating film;
An extraction electrode connected to the diffusion layer in a state of overlapping with the word line via an insulating film on the word line,
The transistor of the logic element,
A gate electrode formed on the semiconductor substrate, having a polymetal structure in which a polysilicon electrode and a metal-based electrode are stacked;
A diffusion layer formed on the semiconductor substrate surface side on both sides of the gate electrode;
And a silicide layer formed on the diffusion layer.
メモリ素子とロジック素子とを同一半導体基板上に形成する半導体装置の製造方法において、
前記半導体基板に素子分離領域を形成した後該半導体基板上にバッファ層を形成する工程と、
前記素子分離領域によって分離されたメモリ素子領域の前記半導体基板中にウエル拡散層を形成する工程と、
前記ウエル拡散層上に前記半導体基板の一部を残した状態で前記バッファ層および前記半導体基板および前記素子分離領域のワード線を形成する位置に溝を形成する工程と、
前記溝の底部と前記ウエル拡散層との間の前記半導体基板にチャネル拡散層を形成する工程と、
前記溝内および前記半導体基板上にゲート絶縁膜を形成する工程と、
メモリ素子領域の前記溝の内壁を含む前記半導体基板上に第1導電層を形成する工程と、
前記半導体基板上に前記第1導電層を介して前記溝を埋め込む第2導電層を形成する工程と、
前記素子分離領域によって分離されたロジック素子領域の前記半導体基板にウエル拡散層を形成する工程と、
前記半導体基板上に前記溝を埋め込むポリシリコン層と該ポリシリコン層とのエッチング選択性を有する材料からなるダミー層を順に形成する工程と、
前記ポリシリコン層と前記ダミー層とを加工して、ロジック素子領域の半導体基板上に前記ゲート絶縁膜を介して、前記ポリシリコン層と前記ダミー層とでダミーゲートを形成する工程と、
前記溝の内部における前記第1導電層が前記第2導電層よりも低くなるように前記溝の上部および前記半導体基板上の前記第1導電層および前記第2導電層を除去して、前記溝内部に残した前記第1導電層と前記第2導電層とでワード線を形成するとともに、前記溝側壁と前記第2導電層との間に溝部を形成する工程と、
前記溝側壁上部の前記半導体基板に拡散層を形成する工程と、
前記ダミーゲートの両側の半導体基板表面にロジック素子の低濃度拡散層を形成する工程と、
前記ダミーゲートの側壁にサイドウォール絶縁膜を形成する工程と、
前記ダミーゲートの両側の半導体基板に前記ダミーゲート側に前記低濃度拡散層を介して拡散層を形成する工程と、
前記溝部の内部を埋め込むとともに前記ワード線上の前記溝側壁にサイドウォール絶縁膜を形成する工程と、
前記ワード線上層および前記ロジック素子の拡散層上層にシリサイド層を形成する工程と、
前記溝の上部を埋め込むとともに前記ダミーゲートを覆うように絶縁膜を形成する工程と、
前記ワード線上に前記絶縁膜を介して前記ワード線にオーバラップする状態でメモリ素子領域に形成した前記拡散層に達する接続孔を形成する工程と、
前記接続孔内に取り出し電極を形成する工程と、
前記絶縁膜表面を平坦化するとともに前記ダミーゲートの上部を露出させ、さらに前記ダミー層を除去して前記ポリシリコン層を露出させてゲート溝を形成する工程と、
前記ダミーゲートのポリシリコン層に不純物をドーピングする工程と、
前記取り出し電極及び前記ポリシリコン層を活性化する熱処理を行う工程と、
前記ゲート溝に金属系電極を形成する工程と
を備えたことを特徴とする半導体装置の製造方法。
In a method of manufacturing a semiconductor device in which a memory element and a logic element are formed on the same semiconductor substrate,
Forming a buffer layer on the semiconductor substrate after forming an element isolation region on the semiconductor substrate;
Forming a well diffusion layer in the semiconductor substrate in the memory element region separated by the element isolation region;
Forming a groove at a position where a word line of the buffer layer, the semiconductor substrate, and the element isolation region is formed, with a part of the semiconductor substrate remaining on the well diffusion layer;
Forming a channel diffusion layer in the semiconductor substrate between the bottom of the groove and the well diffusion layer;
Forming a gate insulating film in the trench and on the semiconductor substrate;
Forming a first conductive layer on the semiconductor substrate including an inner wall of the groove in a memory element region;
Forming a second conductive layer filling the groove on the semiconductor substrate via the first conductive layer;
Forming a well diffusion layer on the semiconductor substrate in the logic element region separated by the element isolation region;
Forming a polysilicon layer for filling the trench and a dummy layer made of a material having an etching selectivity for the polysilicon layer on the semiconductor substrate,
Processing the polysilicon layer and the dummy layer, forming a dummy gate with the polysilicon layer and the dummy layer via the gate insulating film on the semiconductor substrate in a logic element region;
Removing the first conductive layer and the second conductive layer above the groove and the semiconductor substrate so that the first conductive layer inside the groove is lower than the second conductive layer; Forming a word line with the first conductive layer and the second conductive layer left inside, and forming a groove between the groove side wall and the second conductive layer;
Forming a diffusion layer on the semiconductor substrate above the trench sidewalls;
Forming a low concentration diffusion layer of a logic element on the surface of the semiconductor substrate on both sides of the dummy gate;
Forming a sidewall insulating film on a side wall of the dummy gate;
Forming a diffusion layer on the dummy gate side on the semiconductor substrate on both sides of the dummy gate via the low concentration diffusion layer;
Forming a sidewall insulating film on the side wall of the groove on the word line while filling the inside of the groove;
Forming a silicide layer on the word line and on the diffusion layer of the logic element;
Forming an insulating film so as to fill the upper portion of the groove and cover the dummy gate;
Forming a connection hole on the word line reaching the diffusion layer formed in the memory element region in a state of overlapping with the word line via the insulating film;
Forming an extraction electrode in the connection hole;
Forming a gate groove by flattening the insulating film surface and exposing the upper part of the dummy gate, further removing the dummy layer to expose the polysilicon layer,
Doping the polysilicon layer of the dummy gate with an impurity,
Performing a heat treatment to activate the extraction electrode and the polysilicon layer;
Forming a metal-based electrode in the gate groove.
前記第1導電層は前記第2導電層よりもエッチングレートが速い導電膜からなる
ことを特徴とする請求項7記載の半導体装置の製造方法。
8. The method according to claim 7, wherein the first conductive layer is formed of a conductive film having a higher etching rate than the second conductive layer.
JP2002253094A2002-08-302002-08-30Semiconductor device and method for manufacturing the samePendingJP2004095745A (en)

Priority Applications (1)

Application NumberPriority DateFiling DateTitle
JP2002253094AJP2004095745A (en)2002-08-302002-08-30Semiconductor device and method for manufacturing the same

Applications Claiming Priority (1)

Application NumberPriority DateFiling DateTitle
JP2002253094AJP2004095745A (en)2002-08-302002-08-30Semiconductor device and method for manufacturing the same

Publications (1)

Publication NumberPublication Date
JP2004095745Atrue JP2004095745A (en)2004-03-25

Family

ID=32059199

Family Applications (1)

Application NumberTitlePriority DateFiling Date
JP2002253094APendingJP2004095745A (en)2002-08-302002-08-30Semiconductor device and method for manufacturing the same

Country Status (1)

CountryLink
JP (1)JP2004095745A (en)

Cited By (12)

* Cited by examiner, † Cited by third party
Publication numberPriority datePublication dateAssigneeTitle
JP2006135117A (en)*2004-11-082006-05-25Elpida Memory Inc Semiconductor device and manufacturing method thereof
JP2008205477A (en)*2007-02-212008-09-04Samsung Electronics Co Ltd Semiconductor integrated circuit device having gate pattern having step difference, and connecting line located between the patterns, and method of forming the same
US7576389B2 (en)2006-06-222009-08-18Elpida Memory, Inc.Semiconductor device and manufacture method thereof
US7723755B2 (en)*2007-01-042010-05-25Samsung Electronics Co., Ltd.Semiconductor having buried word line cell structure and method of fabricating the same
JP2012089566A (en)*2010-10-152012-05-10Elpida Memory IncSemiconductor device, manufacturing method thereof, data processing system
WO2014050590A1 (en)*2012-09-262014-04-03ピーエスフォー ルクスコ エスエイアールエルSemiconductor device and method for manufacturing same
US9276074B2 (en)2012-04-302016-03-01Samsung Electronics Co., Ltd.Methods of fabricating semiconductor devices having buried channel array
US9941127B2 (en)2015-08-122018-04-10Kabushiki Kaisha ToshibaSemiconductor device and method of manufacturing semiconductor device
CN108695327A (en)*2017-04-122018-10-23三星电子株式会社Semiconductor devices and its manufacturing method
CN113314563A (en)*2020-02-262021-08-27铠侠股份有限公司Nonvolatile semiconductor memory device and method of manufacturing the same
CN113539972A (en)*2021-07-132021-10-22长鑫存储技术有限公司 Memory and method of making the same
CN115172277A (en)*2021-04-072022-10-11长鑫存储技术有限公司Memory manufacturing method and memory

Cited By (18)

* Cited by examiner, † Cited by third party
Publication numberPriority datePublication dateAssigneeTitle
JP2006135117A (en)*2004-11-082006-05-25Elpida Memory Inc Semiconductor device and manufacturing method thereof
US7576389B2 (en)2006-06-222009-08-18Elpida Memory, Inc.Semiconductor device and manufacture method thereof
US7723755B2 (en)*2007-01-042010-05-25Samsung Electronics Co., Ltd.Semiconductor having buried word line cell structure and method of fabricating the same
JP2008205477A (en)*2007-02-212008-09-04Samsung Electronics Co Ltd Semiconductor integrated circuit device having gate pattern having step difference, and connecting line located between the patterns, and method of forming the same
US9299827B2 (en)2007-02-212016-03-29Samsung Electronics Co., Ltd.Semiconductor integrated circuit devices including gates having connection lines thereon
TWI455188B (en)*2007-02-212014-10-01Samsung Electronics Co Ltd a semiconductor integrated circuit device including a gate pattern having a step difference therebetween, a connection line disposed between the gate patterns, and a method of manufacturing the same
US8872262B2 (en)2007-02-212014-10-28Samsung Electronics Co., Ltd.Semiconductor integrated circuit devices including gates having connection lines thereon
JP2012089566A (en)*2010-10-152012-05-10Elpida Memory IncSemiconductor device, manufacturing method thereof, data processing system
US9276074B2 (en)2012-04-302016-03-01Samsung Electronics Co., Ltd.Methods of fabricating semiconductor devices having buried channel array
WO2014050590A1 (en)*2012-09-262014-04-03ピーエスフォー ルクスコ エスエイアールエルSemiconductor device and method for manufacturing same
US9941127B2 (en)2015-08-122018-04-10Kabushiki Kaisha ToshibaSemiconductor device and method of manufacturing semiconductor device
CN108695327A (en)*2017-04-122018-10-23三星电子株式会社Semiconductor devices and its manufacturing method
CN108695327B (en)*2017-04-122023-09-12三星电子株式会社 Semiconductor device and manufacturing method thereof
CN113314563A (en)*2020-02-262021-08-27铠侠股份有限公司Nonvolatile semiconductor memory device and method of manufacturing the same
CN113314563B (en)*2020-02-262024-02-09铠侠股份有限公司Nonvolatile semiconductor memory device and method of manufacturing the same
CN115172277A (en)*2021-04-072022-10-11长鑫存储技术有限公司Memory manufacturing method and memory
CN113539972A (en)*2021-07-132021-10-22长鑫存储技术有限公司 Memory and method of making the same
CN113539972B (en)*2021-07-132023-10-27长鑫存储技术有限公司Memory and manufacturing method thereof

Similar Documents

PublicationPublication DateTitle
JP4635333B2 (en) Manufacturing method of semiconductor device
JP4540142B2 (en) Manufacturing method of semiconductor device
US6235574B1 (en)High performance DRAM and method of manufacture
US6545360B1 (en)Semiconductor device and manufacturing method thereof
US6555450B2 (en)Contact forming method for semiconductor device
US6690050B2 (en)Semiconductor device and its manufacture
JP2004095745A (en)Semiconductor device and method for manufacturing the same
JP2003158201A (en)Semiconductor device and its manufacturing method
JP4759819B2 (en) Manufacturing method of semiconductor device
JP4639524B2 (en) Manufacturing method of semiconductor device
JPWO2003069675A1 (en) Manufacturing method of semiconductor device
JP4759821B2 (en) Manufacturing method of semiconductor device
JP4946870B2 (en) Semiconductor device and manufacturing method thereof
US6864546B2 (en)Semiconductor device having memory cell portion and manufacturing method thereof
JP4715065B2 (en) Semiconductor device and manufacturing method thereof
JP5023415B2 (en) Manufacturing method of semiconductor device
JP3588566B2 (en) Method for manufacturing semiconductor device
JP3116889B2 (en) Method for manufacturing semiconductor device
KR100995329B1 (en) Manufacturing Method of Semiconductor Device
US6313006B1 (en)Method of field implantation
JP2003037185A (en)Method for manufacturing semiconductor device
JP4031777B2 (en) Semiconductor device
JP2002261258A (en)Semiconductor device and manufacturing method
JP2012099530A (en)Semiconductor device and method of manufacturing the same
JP2003037184A (en)Semiconductor device and its manufacturing method

[8]ページ先頭

©2009-2025 Movatter.jp