





【0001】
【発明の属する技術分野】
本発明は、ガスメータ等の検針値を送出したり、ガスメータ等に取り付ける警報器と連動して警報を送出する無線通信システム等に関わり、特に、定期的に無線区間の電波環境の確認を行う無線通信システム等に関するものである。
【0002】
【従来の技術】
従来、ガスメータ等の検針値をセンタへ送信したり、ガスメータ等の周辺においてガス漏れ等を検知するとセンタへ通報しガスメータ等を自動的に遮断するシステムとして、図6に示すような無線通信システムがある。図6に示す無線通信システム601は、センタ602、通信制御装置603、電話回線605、無線親機606、無線子機607−1、607−2、メータ608、検知器609等からなる。
【0003】
センタ602は、通信制御装置603、電話回線605を介して無線親機606と接続され、通信を行う。無線親機606と無線子機607との間は、小電力無線規格等の無線波を使用して無線接続されている。無線親機606、無線子機607いずれも電池または商用AC電源を供給電源として駆動されている。無線子機607−1はガスメータ等のメータ608と接続され、無線子機607−2はガス漏れ等を検知する検知器609と接続されている。
【0004】
メータ608がガス使用量等を検針すると、無線子機607−1へ検針信号を送信し、無線子機607−1は、検針信号を受信すると、無線親機606に検針信号を送信する。無線親機606は、受信した情報を解析しセンタ602に電話回線605を介して送信する。センタ602は、無線親機606から送信された情報に基づいて、メータ608に係るガス使用量等を把握する。
【0005】
また、検知器609がガス漏れ等を検知すると、無線子機607−2へ警報信号を送信し、無線子機607−2は、警報信号を受信すると、無線親機606に警報信号を送信する。無線親機606は、受信した情報を解析しセンタ602に電話回線605を介して通報する。センタ602は、無線親機606を介してメータ608に接続されている無線子機607−1へガスメータ遮断等の命令を送信する。
【0006】
【発明が解決しようとする課題】
しかしながら、無線親機606、無線子機607周辺には、ノイズを発生する様々な機器等が存在している可能性がある。また、無線親機606および無線子機607を実環境に設置した後、各無線機周辺、無線区間に、金属等の電波遮蔽物が置かれる可能性がある。従って、設置時に通信試験を行うことにより電波環境の確認を行った場合であっても、無線通信システム601が、後発的な事由、例えば、ノイズ、遮蔽等が原因で通信不能に陥り、メータ608からの検針信号をセンタ602に送信できない、あるいは、検知器609からの警報信号をセンタ602に送信できないことがある。
【0007】
上記の電波環境の悪化を引き起こす後発的な事由には、大きく分けて一時的な事由及び定常的な事由がある。一時的な事由は、例えば、違法電波を送出する車輌の通行、車輌のアイドリング等であり、定常的な事由は、例えば、金属等の電波遮蔽物の設置、妨害電波発生源の設置等である。特に定常的な事由の場合は、電波環境を根本的に改善するための処置を講ずる必要があるという問題点があった。
【0008】
本発明は、このような問題を鑑みてなされたもので、その目的とするところは、電波環境の状況を把握することができ、早期に通信状況の改善を行うことができる無線通信システム等を提供することにある。
【0009】
【課題を解決するための手段】
前述した目的を達成するために第1の発明は、センタに接続された無線親機と、メータまたは検知器に接続された無線子機と、からなり、前記無線親機と前記無線子機との間で通信を行うことにより、前記センタと前記メータまたは前記検知器との間で通信が行われる無線通信システムであって、前記無線親機は、所定時間内に所定回数の妨害電波を受信した場合、前記センタに対して異常発生を示す信号を送信する異常発生通知手段を具備することを特徴とする無線通信システムである。
【0010】
第1の発明では、無線親機は、間欠的または継続的にキャリアセンスを行い、妨害電波を検知した回数を計数し、所定時間内に所定回数の妨害電波を受信した場合、センタに異常発生信号を送信する。
無線親機は、通信環境の監視、例えば、電波環境が良好であるかどうか、妨害電波が存在しているかどうか等を監視、判断、診断する。無線親機は、妨害電波を検知した回数を計数し、所定の時間内に所定の回数以上の妨害電波を検知すると、センタに対して異常発生電文等を送信するので、センタは、常時、無線通信における電波環境の状況を把握することができる。尚、無線親機は、上記の処理を行うコンピュータを具備するようにしてもよい。
【0011】
第2の発明は、センタに接続された無線親機と、メータまたは検知器に接続された無線子機と、からなり、前記無線親機と前記無線子機との間で通信を行うことにより、前記センタと前記メータまたは前記検知器との間で通信が行われる無線通信システムであって、前記無線子機は、所定時間内に所定回数の妨害電波を受信した場合、前記無線親機を介して前記センタに対して異常発生を示す信号を送信する異常発生通知手段を具備することを特徴とする無線通信システムである。
【0012】
第2の発明では、無線子機は、間欠的または継続的にキャリアセンスを行い、妨害電波を検知した回数を計数し、所定時間内に所定回数の妨害電波を受信した場合、無線親機を介してセンタに異常発生信号を送信する。
無線子機は、通信環境の監視、例えば、電波環境が良好であるかどうか、妨害電波が存在しているかどうか等を監視、判断、診断する。無線子機は、妨害電波を検知した回数を計数し、所定の時間内に所定の回数以上の妨害電波を検知すると、センタに対して異常発生電文等を送信するので、センタは、常時、無線通信における電波環境の状況を把握することができる。尚、無線子機は、上記の処理を行うコンピュータを具備するようにしてもよい。
【0013】
第3の発明は、センタに接続された無線親機と、メータまたは検知器に接続された無線子機と、からなり、前記無線親機と前記無線子機との間で通信を行うことにより、前記センタと前記メータまたは前記検知器との間で通信が行われる無線通信システムであって、前記無線親機は、所定時間内に所定回数の不正アクセスがあった場合、前記センタに対して異常発生を示す信号を送信する異常発生通知手段を具備することを特徴とする無線通信システムである。
【0014】
第3の発明では、無線親機は、間欠的または継続的に不正アクセスの監視を行い、不正アクセスを検知した回数を計数し、所定時間内に所定回数の不正アクセスがあった場合、センタに異常発生信号を送信する。
無線親機は、不正アクセスの監視、例えば、不正アクセスの有無等を監視、判断、診断する。無線親機は、不正アクセスを検知した回数を計数し、所定の時間内に所定の回数以上の不正アクセスを検知すると、センタに対して異常発生電文等を送信するので、センタは、常時、無線通信システムに対する不正アクセスの状況を把握することができる。尚、無線親機は、上記の処理を行うコンピュータを具備するようにしてもよい。
【0015】
尚、第1の発明〜第3の発明において、無線親機及び無線子機は、異常発生の旨を無線親機及び無線子機に設けられた表示部(表示手段)に示すことができる。表示部は、異常発生、通信異常等を表示するものであり、例えば、点灯表示、点滅可能なLED(Light Emitting Diode)等である。
この場合、無線親機、無線子機がセンタに異常発生電文を送信する際、無線親機、無線子機に設けられたLEDを点灯、点滅させるので、センタのみならず、無線親機、無線子機が設置されている現場においても異常発生、通信異常を確認することが可能である。
【0016】
また、第1の発明〜第3の発明において、上記の所定の時間、所定の回数は、任意に設定することが可能である。従って、電波環境の悪化状況、不正アクセス状況を程度に応じて把握、監視することができるので、異常発生、通信異常、不正アクセスに対する処置、対策等を効率的に講ずることができる。
【0017】
第4の発明は、センタに接続され、メータまたは検知器に接続された無線子機と通信を行うことにより、前記センタと前記メータまたは前記検知器との通信を媒介する無線親機であって、所定時間内に所定回数の妨害電波を受信した場合、前記センタに対して異常発生を示す信号を送信する異常発生通知手段を具備することを特徴とする無線親機である。
【0018】
第4の発明は、第1の発明の無線通信システムにおける無線親機に関する発明である。
【0019】
第5の発明は、メータまたは検知器に接続され、センタに接続された無線親機と通信を行うことにより、前記センタと前記メータまたは前記検知器との通信を媒介する無線子機であって、所定時間内に所定回数の妨害電波を受信した場合、前記無線親機を介して前記センタに対して異常発生を示す信号を送信する異常発生通知手段を具備することを特徴とする無線子機である。
【0020】
第5の発明は、第2の発明の無線通信システムにおける無線子機に関する発明である。
【0021】
第6の発明は、センタに接続され、メータまたは検知器に接続された無線子機と通信を行うことにより、前記センタと前記メータまたは前記検知器との通信を媒介する無線親機であって、所定時間内に所定回数の不正アクセスがあった場合、前記センタに対して異常発生を示す信号を送信する異常発生通知手段を具備することを特徴とする無線親機である。
【0022】
第6の発明は、第3の発明の無線通信システムにおける無線親機に関する発明である。
【0023】
第7の発明は、センタに接続され、メータまたは検知器に接続された無線子機と通信を行うことにより、前記センタと前記メータまたは前記検知器との通信を媒介する無線親機が行う通信環境監視方法であって、所定時間内に所定回数の妨害電波を受信した場合、前記センタに対して異常発生を示す信号を送信する異常発生通知ステップを有することを特徴とする通信環境監視方法である。
【0024】
第7の発明は、第4の発明の無線親機が行う通信環境監視方法についての発明である。
【0025】
第8の発明は、メータまたは検知器に接続され、センタに接続された無線親機と通信を行うことにより、前記センタと前記メータまたは前記検知器との通信を媒介する無線子機が行う通信環境監視方法であって、所定時間内に所定回数の妨害電波を受信した場合、前記無線親機を介して前記センタに対して異常発生を示す信号を送信する異常発生通知ステップを有することを特徴とする通信環境監視方法である。
【0026】
第8の発明は、第5の発明の無線子機が行う通信環境監視方法についての発明である。
【0027】
第9の発明は、センタに接続され、メータまたは検知器に接続された無線子機と通信を行うことにより、前記センタと前記メータまたは前記検知器との通信を媒介する無線親機が行う不正アクセス監視方法であって、所定時間内に所定回数の不正アクセスがあった場合、前記センタに対して異常発生を示す信号を送信する異常発生通知ステップを有することを特徴とする不正アクセス監視方法である。
【0028】
第9の発明は、第6の発明の無線親機が行う不正アクセス監視方法についての発明である。
【0029】
【発明の実施の形態】
以下に、添付図面を参照しながら、本発明にかかる無線通信システムの好適な実施形態について詳細に説明する。なお、以下の説明および添付図面において、略同一の機能構成を有する構成要素については、同一の符号を付することにより重複説明を省略することにする。
【0030】
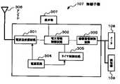
以下に、図面に基づいて本発明の実施の形態を詳細に説明する。図1は、本発明の実施の形態に係る無線通信システム1の概略構成図である。図1に示すように、この無線通信システム101は、センタ102、通信制御装置103、電話回線105、無線親機106、無線子機107−1、107−2、メータ108、検知器109等から構成される。
【0031】
センタ102側と無線親機106との間は電話回線105を介して接続され、無線親機106と無線子機107−1、107−2との間は、小電力無線規格等の無線波を使用して無線接続されている。無線子機107−1はガスメータ等のメータ108と接続され、無線子機107−2はガス漏れ等を検知する検知器109と接続されている。無線親機106、無線子機107−1、107−2いずれも電池または商用AC電源を供給電源として駆動されている。電話回線105は、電話回線等の電気通信回線であり、インターネット等の有線や無線のネットワークでもよい。メータ108は、ガスメータであるが、電気メータや水道メータでもよい。
【0032】
メータ108がガス使用量等を検針すると、無線子機107−1へ検針信号を送信し、無線子機107−1は、検針信号を受信すると、無線親機106に検針信号を送信する。無線親機106は、受信した情報を解析しセンタ102に電話回線105を介して送信する。センタ102は、無線親機106から送信された情報に基づいて、メータ108に係るガス使用量等を把握する。
【0033】
検知器109がガス漏れ等を検知すると、無線子機107−2へ警報信号を送信し、無線子機107−2は、警報信号を受信すると、無線親機106に警報信号を送信する。無線親機106は、受信した情報を解析しセンタ102に電話回線105を介して通報する。センタ102は、無線親機106を介してメータ108に接続されている無線子機107−1へガスメータ遮断等の命令を送信する。
【0034】
図2は、無線親機106の構成を示すブロック図である。無線親機106は、網通信制御回路201、電文情報制御回路202、電波送受信回路203、電源回路204、タイマ制御回路205、アンテナ206、表示部207等からなる。電源回路204は各部に電源を供給する。タイマ制御回路205は、定期的に時間信号を電文情報制御回路202に送る。
【0035】
電文情報制御回路202は、メータまたは検知器に対する操作指示を伝える電文を作成したり、アンテナ206及び電話回線105からの受信電文、受信電波、アクセス等の解析、異常発生電文の生成、受信回数、アクセス回数、受信時間、アクセス時間の記録等を行う。尚、電文情報制御回路202は、メモリを備えたCPU(Central Processing Unit)等を有するようにしてもよい。
【0036】
アンテナ206は電波送受信回路203に接続されており、無線子機107等からの受信電波を電波送受信回路203に送ったり、無線子機107等への送信電波を送出したりする。電波送受信回路203は、変復調回路、変調送出回路等を有し、受信信号を復調したり、変調により送信信号を生成したりする。
【0037】
網通信(電話回線)制御回路201は、電文情報制御回路202において解析された受信電文を電話回線105を介してセンタ102に送信したり、電話回線105からの電文情報等を電文情報制御回路202に送る。網通信(電話回線)制御回路201は、無線親機106に内蔵してもよいし、別筐体としてもよい。表示部207は、異常発生、通信異常等を表示するものであり、例えば、点灯表示、点滅可能なLED(Light Emitting Diode)等である。
【0038】
図3は、無線子機107の構成を示すブロック図である。無線子機107は、電波送受信回路301、電文情報制御回路302、機器通信制御回路303、電源回路304、タイマ制御回路305、アンテナ306、表示部307等からなる。電源回路304は各部に電源を供給する。タイマ制御回路305は、定期的に時間信号を電文情報制御回路302に送る。
【0039】
電文情報制御回路302は、検針値、ガス漏れ等の情報を伝える電文を作成したり、アンテナ306からの受信電文、受信電波等の解析、異常発生電文の生成、受信回数、受信時間の記録等を行う。尚、電文情報制御回路302は、メモリを備えたCPU(Central Processing Unit)等を有するようにしてもよい。
【0040】
アンテナ306は電波送受信回路301に接続されており、無線親機106等からの受信電波を電波送受信回路301に送ったり、無線親機106等への送信電波を送出したりする。電波送受信回路301は、変復調回路、変調送出回路等を有し、受信信号を復調したり、変調により送信信号を生成したりする。
【0041】
機器通信制御回路303は、電文情報制御回路302において解析された受信電文をメータ108または検知器109に送信したり、メータ108から送られてくる検針信号、検知器109から送られてくる警報信号を検出し、電文情報制御回路302に送る。
表示部307は、異常発生、通信異常等を表示するものであり、例えば、点灯表示、点滅表示可能なLED(Light Emitting Diode)等である。
【0042】
本実施の形態では、無線親機106、無線子機107は、間欠的あるいは連続的に、キャリアセンス(電波の検知)を行い、妨害電波の検知回数をカウント(計数)する。無線親機106は、一定時間に一定回数以上の妨害電波を検知した場合、端末発呼によりセンタ102に対して電話回線105を介して異常発生電文を送信する。無線子機107は、一定時間に一定回数以上の妨害電波を検知した場合、無線親機106に異常発生電文の送信を試みる。無線親機106は、無線子機107からの異常発生電文を受信することができた場合、端末発呼によりセンタ102に対して電話回線105を介して異常発生電文を送信する。
【0043】
尚、妨害電波のキャリアセンスにおいて、妨害電波の判別は、例えば、無線親機106と無線子機107との間で送受信される信号に同期信号を挿入し、所定の時間内にこの同期信号を検出できたか否かを判定することにより行うことができる。
【0044】
次に、本実施の形態における、電波環境の悪化をセンタに通知する際の無線通信システム101の動作手順を詳しく説明する。
図4は、妨害電波に係る異常発生をセンタ102に通知する際の無線親機106の動作を示すフローチャートである。
【0045】
無線親機106は、回数カウンタ、計時タイマを初期化する(ステップ401)。回数カウンタは、妨害電波の検知回数を計数するものである。計時カウンタは、所定の時点からの経過時間を計時するものである。
無線親機106は、キャリアセンスを行う(ステップ402)。キャリアセンスは、間欠的(20秒毎等)に行ってもよいし、継続的に行うようにしてもよい。
【0046】
無線機106は、キャリアを検出した場合(ステップ403のYES)、当該キャリアが妨害電波によるものであるかどうかを判定する(ステップ404)。当該キャリアが妨害電波によるものでない場合(ステップ404のNO)、すなわち、メータ108または検知器109からの信号等である場合、無線親機106は、受信動作を行う(ステップ405)。
【0047】
当該キャリアが妨害電波によるものである場合(ステップ404のYES)、無線親機106は、回数カウンタを1増加し(ステップ406)、回数カウンタが所定の回数に達した場合(ステップ407)、電話回線105を介してセンタ102に電波環境の悪化を示す異常発生電文を送信する(ステップ408)。
【0048】
無線親機106は、計時タイマが所定の時間に達した場合(ステップ409のYES)、回数カウンタ及び計時タイマを初期化し(ステップ401)、計時タイマが所定の時間に達していない場合(ステップ409のNO)、ステップ402からの処理を繰り返す。
【0049】
尚、無線子機107は、無線親機106と同様に、ステップ401〜ステップ409の動作を行う。この場合、ステップ408において、無線子機107は、無線親機106に対して異常発生電文の送信を試みる。無線親機106は、無線子機107からの異常発生電文を受信することができた場合、電話回線105を介してセンタ102に電波環境の悪化を示す異常発生電文を送信する。
【0050】
また、ステップ408において異常発生電文を送信する際、無線親機106、無線子機107に設けられた表示部にその旨を表示したり、無線親機106、無線子機107に設けられたLEDを点灯あるいは点滅させることもできる。
【0051】
このように本実施の形態によると、無線親機106、無線子機107は、妨害電波を検知した回数を計数し、所定の時間内に所定の回数以上の妨害電波を検知すると、センタ102に対して異常発生電文等を送信するので、センタ102は、常時、無線親機106及び無線子機107間の無線通信における電波環境の状況を把握することができる。
【0052】
また、無線親機106、無線子機107がセンタ102に異常発生電文を送信する際、無線親機106、無線子機107に設けられたLEDを点灯、点滅させるので、センタのみならず、無線親機、無線子機が設置されている現場においても異常発生、通信異常を確認することが可能である。
【0053】
上記の所定の時間、所定の回数は、無線親機106、無線子機107の内部設定として、任意に設定可能である。また、この内部設定は、センタ102、設定器(図示せず)から変更可能である。従って、上記の所定の時間、所定の回数を設定することにより、一時的・偶発的な事由(違法電波を送出する車輌の通行、車輌のアイドリング等)と、定常的な事由(金属等の電波遮蔽物の設置、妨害電波発生源の設置等)による電波環境の悪化とを区別することが可能となるので、異常発生、通信異常に対する処置、対策等を効率的に講ずることができる。
【0054】
次に、他の実施の形態における無線通信システム101の動作について説明する。
図5は、不正アクセスに係る異常発生をセンタ102に通知する際の無線親機106の動作を示すフローチャートである。
【0055】
無線親機106は、回数カウンタ、計時タイマを初期化する(ステップ501)。回数カウンタは、不正アクセスの回数を計数するものである。計時カウンタは、所定の時点からの経過時間を計時するものである。
無線親機106は、電話回線105等からのアクセスの有無の確認する(ステップ502)。アクセスの有無の確認は、間欠的に行ってもよいし、継続的に行うようにしてもよい。
【0056】
無線機106は、アクセスを検出した場合(ステップ503のYES)、当該アクセスが不正なものであるかどうかを判定する(ステップ504)。
当該アクセスが不正なものでない場合(ステップ504のNO)、すなわち、センタからの指示信号等である場合、無線親機106は、当該アクセスに対する応答、動作等を行う(ステップ505)。
【0057】
尚、不正アクセスの判別は、例えば、無線親機106にアクセスする際に送信される信号等に識別信号を挿入し、所定の時間内にこの識別信号を検出できたか否かを判定することにより行うことができる。
【0058】
当該アクセスが不正なものである場合(ステップ504のYES)、無線親機106は、回数カウンタを1増加し(ステップ506)、回数カウンタが所定の回数に達した場合(ステップ507)、電話回線105を介してセンタ102に不正アクセスを示す異常発生電文を送信する(ステップ508)。
【0059】
無線親機106は、計時タイマが所定の時間に達した場合(ステップ509のYES)、回数カウンタ及び計時タイマを初期化し(ステップ501)、計時タイマが所定の時間に達していない場合(ステップ509のNO)、ステップ502からの処理を繰り返す。
【0060】
また、ステップ508において異常発生電文を送信する際、無線親機106に設けられた表示部にその旨を表示したり、無線親機106に設けられたLEDを点灯あるいは点滅させることもできる。
【0061】
このように本実施の形態によると、無線親機106は、不正アクセスを検知した回数を計数し、所定の時間内に所定の回数以上の不正アクセスを検知すると、センタ102に対して異常発生電文等を送信するので、センタ102は、常時、無線親機106に対する不正アクセスの状況を把握することができる。
【0062】
また、無線親機106がセンタ102に異常発生電文を送信する際、無線親機106に設けられたLEDを点灯、点滅させるので、センタのみならず、無線親機が設置されている現場においても不正アクセスを確認することが可能である。
【0063】
上記の所定の時間、所定の回数は、無線親機106の内部設定として、任意に設定可能である。また、この内部設定は、センタ102、設定器(図示せず)から変更可能である。従って、上記の所定の時間、所定の回数を設定することにより、一時的・偶発的な不正アクセスと、恒常的・集中的な不正アクセスとを区別することが可能となるので、不正アクセスに対する処置、対策等を効率的に講ずることができる。
【0064】
以上、添付図面を参照しながら、本発明にかかる無線通信システム等の好適な実施形態について説明したが、本発明はかかる例に限定されない。当業者であれば、本願で開示した技術的思想の範疇内において、各種の変更例または修正例に想到し得ることは明らかであり、それらについても当然に本発明の技術的範囲に属するものと了解される。
【0065】
【発明の効果】
以上、詳細に説明したように本発明では、電波環境の状況を把握することができ、早期に通信状況の改善を行うことができる無線通信システム等を提供することができる。
【図面の簡単な説明】
【図1】本発明の実施の形態に係る無線通信システム1の概略構成図
【図2】無線親機106の構成を示すブロック図
【図3】無線子機107の構成を示すブロック図
【図4】妨害電波に係る異常発生をセンタ102に通知する際の無線親機106の動作を示すフローチャート
【図5】不正アクセスに係る異常発生をセンタ102に通知する際の無線親機106の動作を示すフローチャート
【図6】従来の無線通信システム601の概略構成図
【符号の説明】
101………無線通信システム
102………センタ
103………通信制御装置
105………電話回線
106………無線親機
107………無線子機
108………メータ
109………検知器
201………網通信制御回路
202、302………電文情報制御回路
203、301………電波送受信回路
204、304………電源回路
205、305………タイマ制御回路
206、306………アンテナ
207、307………表示器
303………機器通信制御回路[0001]
TECHNICAL FIELD OF THE INVENTION
The present invention relates to a wireless communication system or the like that sends a meter reading value of a gas meter or the like and sends an alarm in conjunction with an alarm device attached to the gas meter or the like, and in particular, a wireless communication system that periodically checks a radio wave environment in a wireless section. The present invention relates to a communication system and the like.
[0002]
[Prior art]
Conventionally, a wireless communication system as shown in FIG. 6 has been known as a system for transmitting a meter reading value of a gas meter or the like to a center or detecting a gas leak or the like in the vicinity of the gas meter or the like and notifying the center to automatically shut off the gas meter or the like. is there. The wireless communication system 601 shown in FIG. 6 includes a
[0003]
The
[0004]
When the
[0005]
Further, when the
[0006]
[Problems to be solved by the invention]
However, there is a possibility that various devices or the like that generate noise exist around the
[0007]
The subsequent events that cause the deterioration of the radio wave environment are roughly classified into temporary events and stationary events. Temporary reasons are, for example, the passage of vehicles transmitting illegal radio waves, idling of vehicles, etc., and stationary reasons are, for example, installation of radio wave shields such as metals, installation of sources of interference radio waves, etc. . In particular, in the case of a regular reason, there is a problem that it is necessary to take measures to fundamentally improve the radio wave environment.
[0008]
The present invention has been made in view of such a problem, and an object of the present invention is to provide a wireless communication system and the like that can grasp the state of the radio wave environment and can improve the communication state at an early stage. To provide.
[0009]
[Means for Solving the Problems]
In order to achieve the above-mentioned object, a first invention comprises a wireless master unit connected to a center and a wireless slave unit connected to a meter or a detector, wherein the wireless master unit and the wireless slave unit A wireless communication system in which communication is performed between the center and the meter or the detector by performing communication between the wireless master device, wherein the wireless master device receives a predetermined number of jamming radio waves within a predetermined time. In this case, the wireless communication system includes an abnormality occurrence notifying unit that transmits a signal indicating the occurrence of an abnormality to the center.
[0010]
According to the first aspect, the wireless master device performs carrier sense intermittently or continuously, counts the number of times that jamming radio waves are detected, and when a predetermined number of jamming radio waves are received within a predetermined time period, an abnormality occurs in the center. Send a signal.
The wireless master device monitors the communication environment, for example, monitors, determines, and diagnoses whether the radio wave environment is good, whether or not jamming radio waves are present, and the like. The wireless master unit counts the number of times of detection of jamming radio waves, and transmits an abnormal occurrence message or the like to the center if it detects the jamming waves of a predetermined number or more within a predetermined time. It is possible to grasp the state of the radio wave environment in communication. Note that the wireless master device may include a computer that performs the above processing.
[0011]
A second invention comprises a wireless master unit connected to a center and a wireless slave unit connected to a meter or a detector, and performs communication between the wireless master unit and the wireless slave unit. A wireless communication system in which communication is performed between the center and the meter or the detector, wherein the wireless slave device receives the jamming radio wave a predetermined number of times within a predetermined time, A wireless communication system that includes an abnormality occurrence notifying unit that transmits a signal indicating the occurrence of an abnormality to the center via the communication unit.
[0012]
In the second invention, the wireless handset performs carrier sense intermittently or continuously, counts the number of times that jamming radio waves are detected, and, when a predetermined number of jamming radio waves are received within a predetermined time period, sets the wireless master device to An abnormality occurrence signal is transmitted to the center via the terminal.
The wireless slave monitors the communication environment, for example, monitors, judges, and diagnoses whether the radio wave environment is good, whether or not jamming radio waves are present, and the like. The wireless handset counts the number of times jamming radio waves are detected, and if it detects more than a predetermined number of jamming radio waves within a predetermined time, it sends an error message to the center. It is possible to grasp the state of the radio wave environment in communication. Note that the wireless slave device may include a computer that performs the above processing.
[0013]
A third invention comprises a wireless master unit connected to a center and a wireless slave unit connected to a meter or a detector, and performs communication between the wireless master unit and the wireless slave unit. A wireless communication system in which communication is performed between the center and the meter or the detector, wherein the wireless master device is configured to contact the center when a predetermined number of unauthorized accesses are performed within a predetermined time. The wireless communication system includes an abnormality notification unit that transmits a signal indicating that an abnormality has occurred.
[0014]
In the third invention, the wireless master device monitors the unauthorized access intermittently or continuously, counts the number of times the unauthorized access is detected, and, when the unauthorized access is performed a predetermined number of times within a predetermined time, the wireless base station communicates with the center. Send an error occurrence signal.
The wireless master device monitors unauthorized access, for example, monitors, determines, and diagnoses the presence or absence of unauthorized access. The wireless master device counts the number of times an unauthorized access is detected, and if an unauthorized access is detected a predetermined number of times or more within a predetermined time, an abnormal occurrence message or the like is transmitted to the center. The status of unauthorized access to the communication system can be grasped. Note that the wireless master device may include a computer that performs the above processing.
[0015]
In the first to third inventions, the wireless master device and the wireless slave device can indicate that an abnormality has occurred on a display unit (display means) provided in the wireless master device and the wireless slave device. The display unit displays an abnormality occurrence, a communication abnormality, and the like, and is, for example, a light-emitting display, a blinkable LED (Light Emitting Diode) or the like.
In this case, when the wireless master device and the wireless slave device transmit an error occurrence message to the center, the LEDs provided on the wireless master device and the wireless slave device are turned on and blinked. It is possible to confirm the occurrence of an abnormality and the communication abnormality even at the site where the slave unit is installed.
[0016]
In the first to third inventions, the predetermined time and the predetermined number of times can be arbitrarily set. Therefore, it is possible to grasp and monitor the state of deterioration of the radio wave environment and the state of unauthorized access according to the degree, so that it is possible to efficiently take measures, countermeasures, and the like for occurrence of abnormality, communication abnormality, and unauthorized access.
[0017]
A fourth invention is a wireless master unit that is connected to a center and communicates with a wireless slave unit connected to a meter or a detector to mediate communication between the center and the meter or the detector. The radio base station further comprises an abnormality occurrence notifying means for transmitting a signal indicating occurrence of an abnormality to the center when a predetermined number of jamming radio waves are received within a predetermined time.
[0018]
A fourth invention is an invention relating to a wireless master device in the wireless communication system of the first invention.
[0019]
A fifth invention is a wireless slave unit that is connected to a meter or a detector and communicates with a wireless master unit connected to a center to mediate communication between the center and the meter or the detector. An abnormal occurrence notifying means for transmitting a signal indicating an abnormal occurrence to the center via the wireless master device when a predetermined number of jamming radio waves are received within a predetermined time. It is.
[0020]
A fifth invention is an invention relating to a wireless handset in the wireless communication system of the second invention.
[0021]
A sixth invention is a wireless master device which is connected to a center and communicates with a wireless slave device connected to a meter or a detector to mediate communication between the center and the meter or the detector. A radio base station characterized by comprising an abnormality occurrence notifying means for transmitting a signal indicating the occurrence of an abnormality to the center when a predetermined number of unauthorized accesses are made within a predetermined time.
[0022]
The sixth invention is an invention relating to a wireless master device in the wireless communication system of the third invention.
[0023]
A seventh invention is a communication that is performed by a wireless master device that mediates communication between the center and the meter or the detector by communicating with a wireless slave device connected to a center and connected to a meter or a detector. An environment monitoring method, comprising: when a predetermined number of jamming radio waves are received within a predetermined time, transmitting a signal indicating the occurrence of an abnormality to the center. is there.
[0024]
A seventh invention is an invention relating to a communication environment monitoring method performed by the wireless master device of the fourth invention.
[0025]
An eighth invention is a communication that is performed by a wireless slave unit connected to a meter or a detector and communicating with the wireless master unit connected to the center to mediate communication between the center and the meter or the detector. An environment monitoring method, comprising: a failure occurrence notification step of transmitting a signal indicating the occurrence of a failure to the center via the wireless master device when a predetermined number of jamming radio waves are received within a predetermined time. Is a communication environment monitoring method.
[0026]
An eighth invention is an invention relating to a communication environment monitoring method performed by the wireless slave device of the fifth invention.
[0027]
According to a ninth aspect of the present invention, by communicating with a wireless slave unit connected to a center and connected to a meter or a detector, unauthorized communication performed by a wireless master unit that mediates communication between the center and the meter or the detector is performed. An access monitoring method, comprising: a failure occurrence notification step of transmitting a signal indicating the occurrence of a failure to the center when a predetermined number of unauthorized accesses are made within a predetermined time. is there.
[0028]
A ninth invention is an invention relating to an unauthorized access monitoring method performed by the wireless master device of the sixth invention.
[0029]
BEST MODE FOR CARRYING OUT THE INVENTION
Hereinafter, preferred embodiments of a wireless communication system according to the present invention will be described in detail with reference to the accompanying drawings. Note that, in the following description and the accompanying drawings, components having substantially the same functional configuration are denoted by the same reference numerals, and redundant description will be omitted.
[0030]
Hereinafter, embodiments of the present invention will be described in detail with reference to the drawings. FIG. 1 is a schematic configuration diagram of a wireless communication system 1 according to an embodiment of the present invention. As shown in FIG. 1, the wireless communication system 101 includes a
[0031]
The
[0032]
When the
[0033]
When the
[0034]
FIG. 2 is a block diagram illustrating a configuration of the
[0035]
The message
[0036]
The
[0037]
The network communication (telephone line)
[0038]
FIG. 3 is a block diagram illustrating a configuration of the wireless client device 107. The wireless slave device 107 includes a radio wave transmitting / receiving
[0039]
The telegram
[0040]
The antenna 306 is connected to the radio transmission /
[0041]
The device
The
[0042]
In the present embodiment,
[0043]
In the carrier sense of the jamming radio wave, for example, the judgment of the jamming wave is made by inserting a synchronization signal into a signal transmitted and received between the
[0044]
Next, the operation procedure of the wireless communication system 101 when notifying the center of the deterioration of the radio wave environment in the present embodiment will be described in detail.
FIG. 4 is a flowchart illustrating the operation of the
[0045]
The
[0046]
When detecting a carrier (YES in step 403), the
[0047]
If the carrier is caused by jamming radio waves (YES in step 404),
[0048]
When the timer has reached the predetermined time (YES in step 409),
[0049]
Note that the wireless slave device 107 performs the operations of
[0050]
Further, when transmitting the error occurrence message in
[0051]
As described above, according to the present embodiment,
[0052]
In addition, when the
[0053]
The predetermined time and the predetermined number of times can be arbitrarily set as internal settings of the
[0054]
Next, an operation of the wireless communication system 101 according to another embodiment will be described.
FIG. 5 is a flowchart showing the operation of the
[0055]
The
[0056]
When detecting the access (YES in step 503), the
If the access is not unauthorized (NO in step 504), that is, if the access signal is an instruction signal from the center, the
[0057]
The determination of unauthorized access is made by, for example, inserting an identification signal into a signal or the like transmitted when accessing the
[0058]
If the access is unauthorized (YES in step 504),
[0059]
If the timekeeping timer has reached the predetermined time (YES in step 509),
[0060]
Further, when transmitting the error occurrence message in
[0061]
As described above, according to the present embodiment,
[0062]
Also, when the
[0063]
The predetermined time and the predetermined number of times can be arbitrarily set as internal settings of the
[0064]
As described above, the preferred embodiments of the wireless communication system and the like according to the present invention have been described with reference to the accompanying drawings, but the present invention is not limited to such examples. It is obvious to those skilled in the art that various changes or modifications can be made within the scope of the technical idea disclosed in the present application, and these naturally belong to the technical scope of the present invention. I understand.
[0065]
【The invention's effect】
As described above in detail, according to the present invention, it is possible to provide a wireless communication system and the like that can grasp the state of the radio wave environment and can quickly improve the communication state.
[Brief description of the drawings]
FIG. 1 is a schematic configuration diagram of a wireless communication system 1 according to an embodiment of the present invention.
FIG. 2 is a block diagram showing a configuration of a
FIG. 3 is a block diagram showing a configuration of a wireless client device 107;
FIG. 4 is a flowchart showing the operation of the
FIG. 5 is a flowchart showing the operation of the
FIG. 6 is a schematic configuration diagram of a conventional wireless communication system 601.
[Explanation of symbols]
101 Wireless communication system
102 ... Center
103 communication control device
105 ……… Telephone line
106 ... Wireless master
107 ... Wireless handset
108 meter
109 Detector
201: Network communication control circuit
202, 302... Telegram information control circuit
203, 301: Radio wave transmission / reception circuit
204, 304 Power supply circuit
205, 305 Timer control circuit
206, 306 ... antenna
207, 307 ... Display
303: Device communication control circuit
| Application Number | Priority Date | Filing Date | Title |
|---|---|---|---|
| JP2002165275AJP2004015368A (en) | 2002-06-06 | 2002-06-06 | Wireless communication system, wireless master device, wireless slave device, communication environment monitoring method, unauthorized access monitoring method |
| Application Number | Priority Date | Filing Date | Title |
|---|---|---|---|
| JP2002165275AJP2004015368A (en) | 2002-06-06 | 2002-06-06 | Wireless communication system, wireless master device, wireless slave device, communication environment monitoring method, unauthorized access monitoring method |
| Publication Number | Publication Date |
|---|---|
| JP2004015368Atrue JP2004015368A (en) | 2004-01-15 |
| Application Number | Title | Priority Date | Filing Date |
|---|---|---|---|
| JP2002165275APendingJP2004015368A (en) | 2002-06-06 | 2002-06-06 | Wireless communication system, wireless master device, wireless slave device, communication environment monitoring method, unauthorized access monitoring method |
| Country | Link |
|---|---|
| JP (1) | JP2004015368A (en) |
| Publication number | Priority date | Publication date | Assignee | Title |
|---|---|---|---|---|
| JP2007529957A (en)* | 2004-03-15 | 2007-10-25 | シンボル テクノロジーズ インコーポレイテッド | Client-server based wireless intrusion detection system and method |
| JP2008098822A (en)* | 2006-10-10 | 2008-04-24 | Sharp Corp | Wireless telemeter system |
| JP2010118832A (en)* | 2008-11-12 | 2010-05-27 | Sumitomo Electric Ind Ltd | Radio wave monitoring device |
| JP2011139152A (en)* | 2009-12-25 | 2011-07-14 | Toshiba Corp | Method for coping with packet error distribution, server apparatus, and terminal apparatus |
| JP2012129585A (en)* | 2010-12-13 | 2012-07-05 | Panasonic Corp | Radio communication device |
| WO2013021620A1 (en)* | 2011-08-09 | 2013-02-14 | パナソニック株式会社 | Wireless communication device |
| JP2015076656A (en)* | 2013-10-07 | 2015-04-20 | シャープ株式会社 | Wireless telemeter system |
| Publication number | Priority date | Publication date | Assignee | Title |
|---|---|---|---|---|
| JP2007529957A (en)* | 2004-03-15 | 2007-10-25 | シンボル テクノロジーズ インコーポレイテッド | Client-server based wireless intrusion detection system and method |
| JP2008098822A (en)* | 2006-10-10 | 2008-04-24 | Sharp Corp | Wireless telemeter system |
| JP2010118832A (en)* | 2008-11-12 | 2010-05-27 | Sumitomo Electric Ind Ltd | Radio wave monitoring device |
| JP2011139152A (en)* | 2009-12-25 | 2011-07-14 | Toshiba Corp | Method for coping with packet error distribution, server apparatus, and terminal apparatus |
| JP2012129585A (en)* | 2010-12-13 | 2012-07-05 | Panasonic Corp | Radio communication device |
| WO2013021620A1 (en)* | 2011-08-09 | 2013-02-14 | パナソニック株式会社 | Wireless communication device |
| JP2013038618A (en)* | 2011-08-09 | 2013-02-21 | Panasonic Corp | Radio communication device |
| CN103733526A (en)* | 2011-08-09 | 2014-04-16 | 松下电器产业株式会社 | Wireless communication device |
| CN103733526B (en)* | 2011-08-09 | 2015-09-30 | 松下电器产业株式会社 | wireless communication device |
| JP2015076656A (en)* | 2013-10-07 | 2015-04-20 | シャープ株式会社 | Wireless telemeter system |
| Publication | Publication Date | Title |
|---|---|---|
| US7053765B1 (en) | Active security system | |
| US9297150B2 (en) | Water use monitoring apparatus and water damage prevention system | |
| US8054188B2 (en) | Carbon monoxide detector, system and method for signaling a carbon monoxide sensor end-of-life condition | |
| US20130157571A1 (en) | System for wireless remote monitoring of alarm events of a medical device and corresponding patient | |
| AU2006285327A1 (en) | Method and apparatus for detecting severity of water leaks | |
| EP1002268A1 (en) | Remote monitoring system | |
| CA2675069A1 (en) | Methods and system for utility network outage detection | |
| EP2159765A1 (en) | Position and operation signalling apparatus for fire extinguishers and fire extinguishing system comprising such an apparatus | |
| CN102547005B (en) | For equipment and the method for the failure safe Signal transmissions of wireless sensor network | |
| JP2004015368A (en) | Wireless communication system, wireless master device, wireless slave device, communication environment monitoring method, unauthorized access monitoring method | |
| JP2014186417A (en) | Alarm system | |
| JP2002109656A (en) | Gas leak detection system | |
| CN109581948B (en) | Environment-friendly equipment monitoring device and environment-friendly equipment monitoring method | |
| JP6001870B2 (en) | Alarm system | |
| JP2005045948A (en) | Power consumption monitoring system and power consumption monitoring method | |
| JP2013069067A (en) | Operation monitor system for medical equipment | |
| JP2005322122A (en) | Controller of security system | |
| JP5062126B2 (en) | Communication terminal, wireless communication system, control method, and program | |
| JP2004127576A (en) | Intensive maintenance management system of battery pack | |
| JP4728272B2 (en) | Cold and remote monitoring system | |
| CN111024173A (en) | Gas meter with automatic valve closing function and pairing method thereof | |
| JP2002171226A (en) | Wireless communication system | |
| JP4546205B2 (en) | Alarm output detector | |
| GB2513733B (en) | Emergency system | |
| JP2008107267A (en) | Gas shut-off device |
| Date | Code | Title | Description |
|---|---|---|---|
| A621 | Written request for application examination | Free format text:JAPANESE INTERMEDIATE CODE: A621 Effective date:20040624 | |
| A977 | Report on retrieval | Free format text:JAPANESE INTERMEDIATE CODE: A971007 Effective date:20060116 | |
| A131 | Notification of reasons for refusal | Free format text:JAPANESE INTERMEDIATE CODE: A131 Effective date:20060124 | |
| A02 | Decision of refusal | Free format text:JAPANESE INTERMEDIATE CODE: A02 Effective date:20060530 |