

















本発明は面光源装置に関する。具体的にいうと、本発明は液晶表示装置や照明装置などに用いられる面光源装置に関する。The present invention relates to a surface light source device. Specifically, the present invention relates to a surface light source device used for a liquid crystal display device, a lighting device, and the like.
(第1の従来例)
従来例の面光源装置1を図1の分解斜視図及び図2の断面図により示す。面光源装置1は、光を閉じ込めるための導光板2と発光部3と反射板4とから構成されている。導光板2はポリカーボネイト樹脂やメタクリル樹脂等の透明で屈折率の大きな樹脂により成形されており、導光板2の下面には凹凸加工や拡散反射インクのドット印刷等によって拡散パターン5が形成されている。発光部3は、回路基板6上に複数の発光ダイオード(LED)等のいわゆる点光源7を実装したものであって、導光板2の側面(光入射面8)に対向している。反射板4は、反射率の高い例えば白色樹脂シートによって形成されており、両面テープ9によって両側部を導光板2の下面に貼り付けられている。(First conventional example)
A conventional surface
また、面光源装置1において導光板2の光出射面10の4方周縁を除いた矩形領域が、液晶等の照明に実際に使用される有効領域である。{Circle around (4)} In the surface
しかして、図2に示すように、発光部3から出射されて光入射面8から導光板2の内部に導かれた光fは、導光板2内部で全反射することによって導光板2内部に閉じ込められる。導光板2内部の光fは拡散パターン5に入射すると拡散反射され、光出射面10へ向けて全反射の臨界角よりも小さな角度で反射された光fが光出射面10から外部へ取り出される。また、導光板2下面の拡散パターン5の存在しない箇所を透過した光fは、反射板4によって反射されて再び導光板2内部へ戻るので、導光板2下面からの光量損失が防止される。Thus, as shown in FIG. 2, the light f emitted from the light emitting unit 3 and guided from the
点光源を用いた上記のような面光源装置1は、低消費電力化のため、点光源7で疑似的に線状光源化を図ったものであった。すなわち、点光源7を一列に配列することによって冷陰極線管のような線状光源を模したものである。従って、より低消費電力化を図るためには、点光源7の数を減らして、好ましくは1つの点光源7により高輝度で輝度ばらつきの少ない面光源装置1を得ることが望まれる。面 In the surface
しかしながら、1つの点光源7で面光源装置1を光らせようとすると、図3に示すように、点光源7からの光fが導光板2の光入射面8で全反射するため、導光板2との結合効率が悪く、面光源装置1の輝度が低かった。さらに、導光板2の隅部分11(図3で斜線を施した領域)が有効領域Rの隅部にまでわたって暗くなり、面光源装置1に大きな輝度ばらつきが発生していた。However, when trying to illuminate the surface
なお、面光源装置の従来例としては、下記特許文献1、特許文献2が知られている。
本発明は上記のような従来例の問題点に鑑みてなされたものであり、その目的とするところは、面光源装置の輝度分布を均一化し、また輝度を向上させることにある。The present invention has been made in view of the above-described problems of the conventional example, and has as its object to make the luminance distribution of the surface light source device uniform and improve the luminance.
本発明にかかる面光源装置は、光入射面より導入された光を閉じ込めて光出射面から外部へ取り出すための導光板と、導光板の光入射面側に配置された、導光板の幅と比較して小さな光源とを備え、光源から出射された光を光入射面から導光板内部に導いて導光板内部に閉じ込め、導光板の光出射面から外部へ取り出す面光源装置において、前記光源の前方において、導光板内を伝搬する光を拡散させて広げるための空所を導光板に形成したことを特徴としている。The surface light source device according to the present invention is a light guide plate for confining light introduced from the light incident surface and extracting the light from the light exit surface to the outside, and disposed on the light incident surface side of the light guide plate, the width of the light guide plate. A light source that is smaller than the light source, guides light emitted from the light source from the light incident surface to the inside of the light guide plate, confine the light guide plate inside, and takes out the light from the light exit surface of the light guide plate to the outside; The light guide plate is characterized in that a space for diffusing and expanding the light propagating in the light guide plate is formed in the front of the light guide plate.
本発明にかかる別な面光源装置は、光入射面より導入された光を閉じ込めて光出射面から外部へ取り出すための導光板と、導光板の光入射面側に配置された、導光板の幅と比較して小さな光源とを備え、光源から出射された光を光入射面から導光板内部に導いて導光板内部に閉じ込め、導光板の光出射面から外部へ取り出す面光源装置において、前記光源の前方において、導光板内を伝搬する光を導光板の有効領域の隅部へ向けて反射させるための空所を導光板に形成したことを特徴としている。Another surface light source device according to the present invention is a light guide plate for confining light introduced from the light incident surface and extracting the light from the light exit surface to the outside, and a light guide plate disposed on the light incident surface side of the light guide plate. A light source having a smaller width than the light source, the light emitted from the light source is guided from the light incident surface into the light guide plate and confined inside the light guide plate, and the surface light source device is extracted from the light exit surface of the light guide plate to the outside, A cavity is formed in the light guide plate in front of the light source to reflect light propagating in the light guide plate toward the corner of the effective area of the light guide plate.
本発明の面光源装置における前記空所は、導光板を表裏に貫通していてもよく、あるいは、空所の一端が導光板の表裏のうち一方で開口し、空所の他端が導光板の表裏のうち他方と近接していてもよい。また、導光板の空所は、断面が三角形と成っていてもよい。In the surface light source device of the present invention, the space may penetrate the light guide plate from the front to the back, or one end of the space is opened on one of the front and back of the light guide plate, and the other end of the space is the light guide plate. May be close to the other of the front and back. Further, the space of the light guide plate may have a triangular cross section.
本発明にかかる面光源装置にあっては、光源の前方に空所を形成しているから、光源から空所に向けて出射された光が、導光板と空所の境界面で全反射したり屈折したりすることにより、導光板内部で拡散され、導光板の全体に広がる。特に、導光板と空所との境界面で光が後方へ全反射されるので、導光板の隅部分にも光が到達し、導光板の隅部分が暗くなるのが防止される。従って、導光板の幅に比較して小さな光源を用いる場合にも、面光源装置の輝度分布を均一化することができる。In the surface light source device according to the present invention, since the cavity is formed in front of the light source, light emitted from the light source toward the cavity is totally reflected at the boundary surface between the light guide plate and the cavity. Due to the refraction or refraction, the light is diffused inside the light guide plate and spreads over the entire light guide plate. In particular, since the light is totally reflected rearward at the boundary surface between the light guide plate and the empty space, the light reaches the corners of the light guide plate and the corners of the light guide plate are prevented from being darkened. Therefore, even when a light source smaller than the width of the light guide plate is used, the luminance distribution of the surface light source device can be made uniform.
本発明にかかる別な面光源装置にあっては、光源の前方に空所を形成しているから、光源から空所に向けて出射された光が、導光板と空所の境界面で後方へ全反射されるので、導光板の隅部分に光が到達し、導光板の隅部分が暗くなるのが防止される。In another surface light source device according to the present invention, since the cavity is formed in front of the light source, light emitted from the light source toward the cavity is rearward at the boundary surface between the light guide plate and the cavity. Since the light is totally reflected, the light reaches the corners of the light guide plate and the corners of the light guide plate are prevented from being darkened.
空所の形状は、特に限定されるものではないが、例えば、空所を導光板を貫通していない構成とすれば、空所からの導光板の厚み方向への光の漏れが低減し、輝度分布の均一性が低下しない。また、断面三角形状の空所を設ければ、その三角形の形状を変化させることにより空所で反射された光の方向を制御することができ、面光源装置の輝度分布の均一性がより向上するといった優れた効果がある。The shape of the void is not particularly limited, but, for example, if the void does not penetrate the light guide plate, light leakage from the void in the thickness direction of the light guide plate is reduced, The uniformity of the luminance distribution does not decrease. In addition, if a void having a triangular cross section is provided, the direction of light reflected by the void can be controlled by changing the shape of the triangle, and the uniformity of the luminance distribution of the surface light source device is further improved. There is an excellent effect of doing.
なお、この発明の以上説明した構成要素は、可能な限り任意に組み合わせることができる。The components of the present invention described above can be combined as arbitrarily as possible.
以下、本発明の実施例を図面に従って詳細に説明する。Hereinafter, embodiments of the present invention will be described in detail with reference to the drawings.
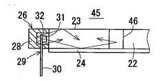
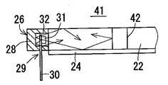
図4は本発明の実施例1による面光源装置21を示す斜視図、図5はその一部破断した縦断面図である。この面光源装置21にあっては、屈折率の大きな透明樹脂材料によって形成されている導光板22の上面が光出射面23となっており、下面には凹凸加工や拡散反射インクのドット印刷等によって拡散パターン(図示せず)が形成されている。この導光板22の下面には、表面反射率の高い材料、例えば硬質もしくは比較的軟質の白色プラスチックシートによって形成された反射板24が設けられている。また、光出射面23の中央の矩形領域が有効領域Rとなっている。この有効領域Rは例えば液晶表示装置の面光源装置(バックライト)として用いられる場合でいえば、液晶表示パネルの画素が形成されている領域と対向している領域である。さらに、導光板22の光入射面25の中央に対向する位置には、発光部26(点光源)が配置されており、発光部26の前方において、導光板22には、先端が細くなった略円錐形状ないし砲弾型の空所27が形成されており、空所27の上端は導光板22の上面(光出射面23)の近傍に達している。FIG. 4 is a perspective view showing the surface
発光部26は、導光板22の幅に比べて小さな光源であって、図5に示すように、白色樹脂等の表面反射率の高い材質からなる外装部材28によって点光源状の発光素子29を包んだものである。発光素子29においては、一方のリード端子30の先端にLED等の微小発光素子チップ31をダイボンドし、発光素子チップ31と他方のリード端子の先端とをボンディングワイヤで結線した後、発光素子チップ31及び一方のリード端子30及び他方のリード端子を透明封止樹脂32中にモールドして形成されている。この結果、発光素子29は光出射側の一面(前面)だけが外装部材28から露出している。なお、発光素子29としては、豆電球等を用いても差し支えない。The
しかして、発光素子チップ31から前面以外の方向、例えば背面方向へ出射された光は、透明封止樹脂32中を通って透明封止樹脂32と外装部材28との境界面に達し、この境界面で反射される。このようにして外装部材28との境界面で1回又は複数回反射した光は、発光素子29の前面から前方に向けて出射され、光入射面25から導光板22の内部へ導入される。このように、発光部26によって発光素子29からの光を前面に集めて出射させることができるので、発光素子29と導光板22との光結合効率を高め、面光源装置21の輝度を向上させることができる。Thus, the light emitted from the light emitting
さらに、導光板22に導入された光のうち、発光部26から空所27に向けて出射された光は、図6に示すように、発光部26の前方に形成された略円錐状の空所27の境界面によって、様々な方向に全反射したり屈折したりすることにより、導光板22内部で拡散され、導光板22の全体に広がる。特に、導光板22と空所27との境界面で光が後方へ全反射されるので、有効領域Rの隅部Qにも光が到達し、隅部Qが暗くなるのが防止される。従って、導光板22の幅に比較して小さな発光部26(点光源)を用いる場合にも、面光源装置21の輝度分布を均一化することができる。Further, of the light introduced into the
図7は本発明の実施例2による面光源装置41を示す斜視図、図8はその一部破断した縦断面図である。この面光源装置41にあっては、空所42は、導光板22を貫通する円柱形とされている。本実施例及び以下の実施例で示すように、空所42の形状は特に限定されるものではなく、形状によって輝度分布に与える影響が異なっている。FIG. 7 is a perspective view showing a surface
発光部26から出射された光は、図8に示すように、実施例1と同様にして、効率良く導光板22に結合し、空所42に達した光は導光板22のほぼ面方向に反射されて導光板22全体に拡散される。この際、導光板22と空所42との境界面で光が後方へ全反射されるので、有効領域Rの隅部Qにも光が到達し、隅部Qが暗くなるのを防止することができる。As shown in FIG. 8, the light emitted from the
図9は本発明の実施例3による面光源装置43を示す斜視図、図10は同上の一部破断した縦断面図である。この面光源装置43にあっては、空所44は、導光板22を貫通していない、すなわち、実施例2において、光出射面23に達しない円柱とされている。このように、空所44が光出射面23に達していない構成とすれば、空所44からの導光板22の厚み方向への光fの漏れ(図10において破線で示す)が低減し、輝度分布の均一性の低下を防止することができる。FIG. 9 is a perspective view showing a surface
発光部26から出射された光は、図10に示すように、実施例1と同様にして、効率良く導光板22に結合し、空所44に達した光は導光板22全体に拡散される。この際、空所44の上面が導光板22の光出射面23から露出していないので、実施例2に比べ、空所44からの導光板22の厚み方向への光fの漏れが低減する。As shown in FIG. 10, the light emitted from the
図11は本発明の実施例4による面光源装置45を示す平面図、図12はその一部破断した縦断面図である。この面光源装置45にあっては、実施例1〜3において、空所46を、断面三角形としている。そして、断面三角形状の空所46の頂点を発光部26に向け、三角形の底辺を発光部26と頂点との結線に直交させるように配置すれば、発光部26からの光が効率よく有効領域Rの光源側左右両隅部Qに集まり、面光源装置45の輝度分布の均一性がより向上するといった優れた効果がある。FIG. 11 is a plan view showing a surface
(照明装置)
図13は本発明にかかる面光源装置を利用した照明装置51を示す斜視図である。この照明装置51においては、光量を大きくして輝度を高くするため、4つの発光部52を用いている。この照明装置51は室内照明用や自動車のテールランプなどに用いられるものである。なお、実施例1と同様の部材には同符号を付してある。(Lighting device)
FIG. 13 is a perspective view showing a
(液晶表示装置)
図14は本発明にかかる面光源装置を用いた液晶表示装置61を示す分解斜視図である。この面光源装置60にあっては、導光板22に赤(R)62a、緑(G)62b、青(B)62cの3色の発光素子を備えた発光部62が装着されている。面光源装置60の光出射面23には、拡散シート63が対向配置され、その上面に液晶表示パネル64が対向配置されている。液晶表示パネル64は、透明電極やTFT、カラーフィルタ、ブラックマトリクス等を形成された2枚の液晶基板(ガラス基板、フィルム基板)65、66間に液晶材料を封止し、液晶基板65、66の両外面に偏光板67を配置したものである。(Liquid crystal display)
FIG. 14 is an exploded perspective view showing a liquid
このような液晶表示装置61によれば、表示面の輝度分布を均一にすることができ、液晶表示装置61の高品質化を図ることができる。According to such a liquid
(液晶表示装置を備えた電子手帳等)
本発明にかかる液晶表示装置は、携帯電話や弱電力無線機のような無線情報伝達装置、携帯用パソコン、電子手帳や電卓のような情報処理装置などに用いられるのに好ましい。図15は本発明にかかる例えば図14に示したような液晶表示装置61をディスプレイ用に備えた携帯電話71を示す斜視図、図16はその機能ブロック図である。携帯電話71の正面にはダイアル入力用のテンキー等のボタンスイッチ72を備え、その上方に液晶表示装置61が配置され、上面にアンテナ73が設けられている。しかして、ボタンスイッチ72からダイアル等を入力すると、入力されたダイアル情報等が送信回路74を通じてアンテナ73から電話会社の基地局へ送信される。一方、入力されたダイアル情報等は液晶駆動回路75へ送られ、液晶表示装置61が液晶駆動回路75により駆動されてダイアル情報等が液晶表示装置61に表示される。(Electronic organizer with liquid crystal display, etc.)
The liquid crystal display device according to the present invention is preferably used for a wireless information transmission device such as a mobile phone or a low power wireless device, a portable personal computer, and an information processing device such as an electronic organizer or a calculator. FIG. 15 is a perspective view showing a
また、図17は本発明にかかる例えば図14に示したような液晶表示装置61をディスプレイ用に備えた電子手帳81を示す斜視図、図18はその機能プロックである。電子手帳81は、カバー82を開くと、キー入力部83と液晶表示装置61を備えており、内部には液晶駆動回路84や演算処理回路85等が設けられている。しかして、例えばキー入力部83からテンキーやカナキー等を入力すると、入力情報が液晶駆動回路84に送られて液晶表示装置61に表示される。ついで、演算キー等の制御キーを押すと、演算処理回路85で所定の処理や演算が実行され、その結果が液晶駆動回路84に送られて液晶表示装置61に表示される。FIG. 17 is a perspective view showing an
なお、本発明は上記実施例に限定されるものではなく、本発明の範囲内で変更できることはいうまでもない。例えば、光学的境界面としては、溝に代えて孔を設けてもよいし、溝の表面、もしくは光入射面の点光源(発光部)両側に、印刷等によって透明屈折層(光散乱層)を形成してもよい。あるいは、溝は光入射面以外の面に設けても良い。これによって、有効領域外の導光板周縁に侵入した光をより効率良く有効領域内に集めることができるので、さらなる均一性の向上及び高輝度化が実現できる。It should be noted that the present invention is not limited to the above-described embodiment, and can be modified within the scope of the present invention. For example, as the optical boundary surface, a hole may be provided instead of the groove, or a transparent refraction layer (light scattering layer) by printing or the like on the surface of the groove or on both sides of the point light source (light emitting portion) on the light incident surface. May be formed. Alternatively, the groove may be provided on a surface other than the light incident surface. Accordingly, light that has entered the periphery of the light guide plate outside the effective area can be more efficiently collected in the effective area, so that further improvement in uniformity and higher brightness can be realized.
本発明は面光源装置であって、照明装置として用いることもでき、液晶表示装置等のバックライトなどにも使用することができる。The present invention is a surface light source device, which can be used as a lighting device, and can also be used for a backlight of a liquid crystal display device or the like.
22 導光板
23 光出射面
25 光入射面
26 発光部(光源)
27、42、44、46 空所
29 発光素子
R 有効領域
Q 隅部
27, 42, 44, 46
| Application Number | Priority Date | Filing Date | Title |
|---|---|---|---|
| JP2003316107AJP2004014527A (en) | 2003-09-08 | 2003-09-08 | Surface light source device |
| CNA2004100564797ACN1595251A (en) | 2003-09-08 | 2004-08-11 | Surface light source device |
| KR1020040070263AKR20050025905A (en) | 2003-09-08 | 2004-09-03 | Device of surface light source |
| TW093126942ATW200515019A (en) | 2003-09-08 | 2004-09-07 | Surface light source device |
| Application Number | Priority Date | Filing Date | Title |
|---|---|---|---|
| JP2003316107AJP2004014527A (en) | 2003-09-08 | 2003-09-08 | Surface light source device |
| Application Number | Title | Priority Date | Filing Date |
|---|---|---|---|
| JP01983097ADivisionJP3516005B2 (en) | 1997-01-17 | 1997-01-17 | Surface light source device |
| Publication Number | Publication Date |
|---|---|
| JP2004014527Atrue JP2004014527A (en) | 2004-01-15 |
| Application Number | Title | Priority Date | Filing Date |
|---|---|---|---|
| JP2003316107APendingJP2004014527A (en) | 2003-09-08 | 2003-09-08 | Surface light source device |
| Country | Link |
|---|---|
| JP (1) | JP2004014527A (en) |
| KR (1) | KR20050025905A (en) |
| CN (1) | CN1595251A (en) |
| TW (1) | TW200515019A (en) |
| Publication number | Priority date | Publication date | Assignee | Title |
|---|---|---|---|---|
| JP2005026222A (en)* | 2003-07-01 | 2005-01-27 | Samsung Electronics Co Ltd | Backlight assembly and liquid crystal display device having the same |
| JP2006310049A (en)* | 2005-04-27 | 2006-11-09 | Dueller Corp | Planar emitter |
| WO2007123173A1 (en)* | 2006-04-19 | 2007-11-01 | Omron Corporation | Diffuser plate and surface light source apparatus |
| US7708444B2 (en) | 2004-02-05 | 2010-05-04 | Mitsubishi Denki Kabushiki Kaisha | Surface light source device |
| JP2018182541A (en)* | 2017-04-13 | 2018-11-15 | 日本電信電話株式会社 | Wireless device installation method and container |
| Publication number | Priority date | Publication date | Assignee | Title |
|---|---|---|---|---|
| KR100796793B1 (en)* | 2001-09-08 | 2008-01-22 | 삼성전자주식회사 | Organic thin film EL display panel and organic thin film EL display device using the same |
| JP4741866B2 (en)* | 2005-03-28 | 2011-08-10 | Nec液晶テクノロジー株式会社 | Light source device, display device using the same, and terminal device |
| JP4311366B2 (en)* | 2005-03-28 | 2009-08-12 | 日本電気株式会社 | Light source device, display device, terminal device, and optical member |
| JP2007005309A (en) | 2005-06-23 | 2007-01-11 | Samsung Electronics Co Ltd | Light guide plate, backlight assembly, and liquid crystal display device having the same |
| CN1818460A (en)* | 2006-03-14 | 2006-08-16 | 吴明番 | Face light source with high brightness |
| RU2009128624A (en)* | 2006-12-29 | 2011-02-10 | Ой Модинес Лтд (Fi) | INPUT LIGHT STRUCTURE FOR LIGHT CONDUCTOR DEVICES |
| KR101030116B1 (en)* | 2010-12-02 | 2011-04-20 | 주식회사 에이앤피 테크 | LGP, its manufacturing method and manufacturing equipment |
| TWI837121B (en) | 2018-03-22 | 2024-04-01 | 日商日東電工股份有限公司 | Optical device |
| DE102018211527A1 (en)* | 2018-07-11 | 2020-01-16 | Robert Bosch Gmbh | light guide |
| TWI682222B (en)* | 2018-09-27 | 2020-01-11 | 緯創資通股份有限公司 | Light guiding device and indication apparatus with lighting function |
| Publication number | Priority date | Publication date | Assignee | Title |
|---|---|---|---|---|
| JP2005026222A (en)* | 2003-07-01 | 2005-01-27 | Samsung Electronics Co Ltd | Backlight assembly and liquid crystal display device having the same |
| US7708444B2 (en) | 2004-02-05 | 2010-05-04 | Mitsubishi Denki Kabushiki Kaisha | Surface light source device |
| JP2006310049A (en)* | 2005-04-27 | 2006-11-09 | Dueller Corp | Planar emitter |
| WO2007123173A1 (en)* | 2006-04-19 | 2007-11-01 | Omron Corporation | Diffuser plate and surface light source apparatus |
| JP2018182541A (en)* | 2017-04-13 | 2018-11-15 | 日本電信電話株式会社 | Wireless device installation method and container |
| Publication number | Publication date |
|---|---|
| KR20050025905A (en) | 2005-03-14 |
| CN1595251A (en) | 2005-03-16 |
| TW200515019A (en) | 2005-05-01 |
| Publication | Publication Date | Title |
|---|---|---|
| KR100308433B1 (en) | Surface light source device, and liquid crystal display device, portable telephone and information terminal using surface light source device | |
| JP3684737B2 (en) | Surface light source device | |
| JP4153776B2 (en) | Planar light source device and liquid crystal display device using the same | |
| JP4185721B2 (en) | Illumination device and liquid crystal display device | |
| KR100788105B1 (en) | Planar light source and image display | |
| JP4413186B2 (en) | Planar light source device and display device using the same | |
| US5883684A (en) | Diffusively reflecting shield optically, coupled to backlit lightguide, containing LED's completely surrounded by the shield | |
| CN1952704B (en) | Light guide unit for point light source, backlight assembly having the light guide unit and display device having the same | |
| JP3516005B2 (en) | Surface light source device | |
| JP2004014527A (en) | Surface light source device | |
| JPH10247412A (en) | Surface light source device | |
| JP2004070189A (en) | Liquid crystal display | |
| JP2006054088A (en) | Surface light-emitting device and liquid crystal display device | |
| KR20140072635A (en) | Liquid crystal display device | |
| US7334930B2 (en) | Light guide element and backlight module using the same | |
| JP2006073223A (en) | Surface light emitting device and liquid crystal display device | |
| JPH10199317A (en) | Surface light source device | |
| JP2001215505A (en) | Liquid crystal display device and mobile information terminal device | |
| JPH10199321A (en) | Surface light source device | |
| JPH10199315A (en) | Surface light source device | |
| US20100157587A1 (en) | Light-emitting unit and electronic device using the same | |
| JP2002216526A (en) | Surface lighting device | |
| JP2006049192A (en) | Surface light source device | |
| CN201062761Y (en) | Backlight module | |
| CN100395615C (en) | Light guide plate and backlight module using the light guide plate |
| Date | Code | Title | Description |
|---|---|---|---|
| A977 | Report on retrieval | Free format text:JAPANESE INTERMEDIATE CODE: A971007 Effective date:20061018 | |
| A131 | Notification of reasons for refusal | Free format text:JAPANESE INTERMEDIATE CODE: A131 Effective date:20061024 | |
| A521 | Written amendment | Free format text:JAPANESE INTERMEDIATE CODE: A523 Effective date:20061220 | |
| A02 | Decision of refusal | Free format text:JAPANESE INTERMEDIATE CODE: A02 Effective date:20070116 |