Movatterモバイル変換


[0]ホーム

URL:


GB2558543A - Apparatus for alignment of knee arthroplasty tibial cutting block - Google Patents

Apparatus for alignment of knee arthroplasty tibial cutting block
Download PDF

Info

Publication number
GB2558543A
GB2558543AGB1620706.0AGB201620706AGB2558543AGB 2558543 AGB2558543 AGB 2558543AGB 201620706 AGB201620706 AGB 201620706AGB 2558543 AGB2558543 AGB 2558543A
Authority
GB
United Kingdom
Prior art keywords
tibial
extension arm
alignment
femoral
component
Prior art date
Legal status (The legal status is an assumption and is not a legal conclusion. Google has not performed a legal analysis and makes no representation as to the accuracy of the status listed.)
Withdrawn
Application number
GB1620706.0A
Other versions
GB201620706D0 (en
Inventor
Hamilton Murray-Brown James
Current Assignee (The listed assignees may be inaccurate. Google has not performed a legal analysis and makes no representation or warranty as to the accuracy of the list.)
James Hamilton Murray Brown
Original Assignee
James Hamilton Murray Brown
Priority date (The priority date is an assumption and is not a legal conclusion. Google has not performed a legal analysis and makes no representation as to the accuracy of the date listed.)
Filing date
Publication date
Application filed by James Hamilton Murray BrownfiledCriticalJames Hamilton Murray Brown
Priority to GB1620706.0ApriorityCriticalpatent/GB2558543A/en
Publication of GB201620706D0publicationCriticalpatent/GB201620706D0/en
Priority to PCT/GB2017/053566prioritypatent/WO2018104704A1/en
Publication of GB2558543ApublicationCriticalpatent/GB2558543A/en
Withdrawnlegal-statusCriticalCurrent

Links

Classifications

Landscapes

Abstract

The apparatus comprises a femoral trial component 1 having means (4, fig 1) to releasably attach an extension arm 5 having a distal end 6. In use, this distal end is used to locate a tibial cutting block (7, fig 3). Once the cutting block is releasably attached to the tibia the extension arm can be removed. The device may also comprise locating lugs 9 through which an alignment rod 8 may be located. The alignment rod may also releasably engage an ankle halter (10-11, fig 4), the halter being configured to allow traction to the lower leg during realignment.

Description

(54) Title of the Invention: Apparatus for alignment of knee arthroplasty tibial cutting block Abstract Title: Apparatus for aligning the tibial cut in total knee replacement (57) The apparatus comprises a femoral trial component 1 having means (4, fig 1) to releasably attach an extension arm 5 having a distal end 6. In use, this distal end is used to locate a tibial cutting block (7, fig 3). Once the cutting block is releasably attached to the tibia the extension arm can be removed. The device may also comprise locating lugs 9 through which an alignment rod 8 may be located. The alignment rod may also releasably engage an ankle halter (10-11, fig 4), the halter being configured to allow traction to the lower leg during realignment.
Figure GB2558543A_D0001
1/4
Figure GB2558543A_D0002
Figure 1
2/4
Figure GB2558543A_D0003
Figure 2
3/4
Figure GB2558543A_D0004
Figure 3
4/4
Figure GB2558543A_D0005
figure 4
Apparatus for Alignment of Knee Arthroplasty Tibial Cutting Block
Field of the invention
Total knee arthroplasty, or replacement. The positioning of a cutting block on the tibial plateau to guide a bone cut with a saw or other cutting device.
Current state of the art
There is a multiplicity of devices that allow different strategies to be used in an attempt to align the components of a total knee replacement. Conventionally, the surgeon attempts to implant the femoral and tibial components such that they lie on the mechanical axis of the lower limb (the straight line in the coronal view - or view from the front - that runs from the centre of rotation of the femoral head to the centre of the ankle), with the joint line perpendicular to this mechanical axis. There exists much controversy about the ideal alignment that the surgeon should strive for. The 'kinematic' alignment argument holds that alignment along the mechanical axis is of secondary importance, or in some cases can be counter, to the task of balancing the knee's native ligaments. Thus, some surgeons are increasingly seeking to implant total knee components such that the overall limb alignment remains in varus (or 'bow-legged'), with the joint line sloped from lateral (high) to medial (low) in order to more closely follow the native knee joint line. The primary aim for this 'kinematic' technique is to balance the knee, maintaining a physiological degree of tension in the knee ligaments throughout the range of movement from full extension to flexion. In practise, some surgeons develop a hybrid mix of techniques.
Other factors in addition to coronal plane alignment include: joint line height, size of the components, rotation of each component along the long axis of the limb, insert thickness (which is closely related to the level of the tibial cut), posterior slope of the tibial component, maintenance of patella-femoral joint mechanics (patella thickness and patella button positioning) and the correct performance of soft tissue releases. This invention relates primarily to coronal plane alignment (that is, the varus-valgus positioning of each component relative to the mechanical axes of the femur and tibia, and the overall limb alignment relative to the mechanical axis). A subsidiary claim relates to tibial component posterior slope.
Conventional instrumentation allows the distal femoral cut to be referenced off the femoral canal, and the tibial cut to be referenced either from the tibial canal or from an external jig which locates the centre of the ankle and the centre of the tibial plateau, and so creates a surrogate of the tibial mechanical axis from which to reference from. Computer guided knee replacement employs a 3D camera system to guide cuts with reference to mechanical axes determined by registering anatomical features. Patient specific instrumentation uses a plan pre-determined from scans, but this method positions cutting blocks without the need for computer-guidance in theatre. All of these methods can allow errors to occur at one or more of the following steps:
Poor surgical plan, for example a lack of appreciation of pre-existing valgus deformity in the femoral shaft, which can lead to significant overall valgus alignment incorrect insertion of intra-medullary alignment rods, leading to a mal-aligned cutting block incorrect positioning of an extra-medullary tibial guide, leading to a mal-aligned cutting block movement of the blocks on the pins, or movement of the pins in the bone, leading to mal-positioning of a cutting block skiving and bending of sawbiades leading to inaccurate cuts poor technique when cementing the implants in place
A major error is likely to be recognized and corrected by the surgeon. However, minor errors can occur at each step, and may not be recognised. If these errors are cumulative for the distal femoral cut and the tibial cut then a significant error in lower limb overall varusvalgus (coronal plane) alignment can occur, which can be detrimental to the result of the surgery.
Of relevance to this invention field, patent US 8454616 B2 should be read, although this patent relates to unicompartmental knee replacement, rather than total knee replacement. Here, the distal femoral cut and the tibial cut are linked by way of a jig that spans the knee, with the knee distracted in order to tension the collateral ligaments. This current invention shows novelty when compared to US 8454616 B2, beyond the obvious matter that the current invention is in the field of total knee replacement. Considering US 8454616 B2:
Firstly: the jig is first applied to both distal femur and proximal tibia, then cuts are made. As a result, errors that accrue during the process of cutting the distal femur can be cumulative with errors accruing from the tibial cut.
Secondly: the use of a distractor, described as being as apparatus with paddles that act on the distal femur and proximal tibia. This is using the principle of joint distraction to produce soft tissue tension: this can tension the collaterals while still retaining an unplanned varus or valgus overall limb alignment.
Thirdly: the jig is applied to the knee joint before the distal femoral cut and the femoral finishing cuts have been made. In the field of total knee replacement, osteophytes and bony impingement will very often not allow the knee joint to be aligned, either by distraction or by ligamentous traction, until sufficient bone has been resected to prevent impingement, and osteophytes that act on soft tissues to increase tension have been removed.
Explanatory note on the principles of ligamentous traction and joint distraction
Traction has been used since ancient times to reduce (align) fractures and dislocated joints. Traction makes use of the principle of ligamentotaxis, or ligamentous traction: in-line pull on a limb will cause tension in the soft tissues that will tend to align joints in such a way that they will lie along the mechanical axis of the limb. For example, in-line traction of the lower limb will tend to align the hip, knee and ankle joints along the mechanical axis, and align fractures in such a way that just such alignment along the mechanical axis is maintained.
The use of traction to set the coronal plane alignment during knee replacement surgery has not been described.
Distraction of a joint is a technique whereby joint ligaments and capsule are tensioned by a distracting force across the joint: this force is either applied by a device inside the joint such as a laminar spreader or device with paddles, or by a device applied to the bones either side of the joint such as a pin distractor. In contrast to traction, distraction will not necessarily align the limb along the mechanical axis: indeed, the distracting force may introduce deformity.
Distraction is used in some knee replacement systems, with the knee joint flexed 90 degrees, to set femoral component rotation relative to an already-performed tibial cut, and may also be used to select the most appropriate size of femoral component. Distraction has been used in uni-compartmental knee replacement to relate the femoral and tibial cuts to each other, as described in the previous section.
Introduction to the invention
The inventive step in this invention is the linking of the tibial cut to the already-prepared distal femoral cut and femoral finishing cuts, with the limb aligned by ligamentous traction. This link is achieved by an extension arm attached to a modified femoral trial component, which acts to align the tibial cutting block. The invention transposes the varus-valgus orientation of the distal femoral cut onto the tibial plateau cut, with the limb aligned by ligamentous traction. The chance of a significant cumulative error occurring in coronal plane alignment is reduced by this invention, as any error in the varus-valgus orientation of the already performed distal femoral cut is translated into an equal and compensatory adjustment on the tibial cut with the lower limb as a whole correctly aligned. Importantly, the distal femoral cut does not have to be perpendicular to the mechanical axis of either the femur or of the limb considered as a whole: it can be sloped from lateral (high) to medial (low) by a few degrees (usually up to 3 degrees) as selected by the surgeon, and the invention will transpose this slope to the tibial cut. By first carrying out the femoral distal cut, then the femoral finishing cuts, then removing any osteophytes, the limb can be easily and correctly aligned by ligamentous traction (also known as ligamentotaxis). The femoral trial component in this invention is modified such that its distal extent does not reach the joint line: this is of critical importance, as it will allow ligamentous traction to align the limb without impingement between the modified femoral trial component and the tibial plateau.
The second, subsidiary, inventive step is the apparatus that allows the overall lower limb coronal plane alignment to be set and checked: traction of the limb is applied via an ankle halter which tensions the knee collateral ligaments and aligns the limb. An alignment rod is attached to the ankle halter over the ankle centre, and removably attached to the centre of the modified femoral trial component. The alignment rod extends proximally to lie over the hip joint. The overall lower limb mechanical axis is neutrally-aligned when the alignment rod is over the centre of hip, knee and ankle.
Description
An example of the invention is now described; the description refers to the accompanying drawings; here follows the list of drawings and their key.
List of Drawings
Figure 1. Modified femoral trial component, in place on a prepared left distal femur
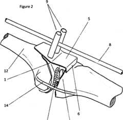
Figure 2. Left lower limb under traction. Modified femoral trial component, extension arm, alignment rod and alignment rod locating bars are illustrated
Figure 3. Further view of the left lower limb under traction. The alignment rod central section is seen: the alignment rod extends in the coronal view from the centre of the ankle joint to the centre of the femoral head. Tibial cutting block now in place on the extension arm, limb aligned, ready to pin tibial cutting block in place
Figure 4. Long alignment rod at its distal end, illustrating a method for attaching it to an ankle traction halter, with the distal end centred over the centre of the ankle joint in the coronal view
Modified femoral trial component, closely follows the distal femoral cut and femoral finishing cuts in a similar fashion to a standard femoral trial component. Of a range of sizes to match the dimensions of the range of femoral components
Distal extent of modified femoral trial component, does not extend distally as far as the usual femoral trial component, so does not reach the joint line
Holes to allow the modified femoral trial component to be removably attached to the distal femur, by threaded screws for example
Locating surface for the extension arm, on the modified femoral trial component with suitable attachment method such as threaded bolt holes
Extension arm removably attached to the modified femoral trial component, the distal extent of this arm indicates the level and orientation of the tibial cut which will result. The extension arm can be of a selection of lengths, incrementally raising or lowering the level of the tibial plateau cut
Distal extent of the extension arm, indicates the level and spatial orientation of the tibial plateau cut, can be removably attached to the tibial cutting block, for example by mating with the saw slot
Tibial cutting block removably attaches to the extension arm, and can be attached to the tibial plateau, for example by smooth or threaded pins placed through the holes visible on the front face of the block
Alignment rod of a range of lengths, to reach from the ankle to the hip joint for each patient
Alignment rod locating lugs, orientated over the anterior aspect of the modified femoral trial component such that the alignment rod passes over the centre line of the component when viewed in the coronal plane. These lugs may perform a secondary purpose, to attach the extension arm onto the modified femoral trial component by way of threaded bolts
Traction halter outer strap, inner foam
Alignment rod attachment, such as a nylon sling, allowing the distal end of the alignment rod to be positioned over the centre of the talus, or the centre of the ankle joint, when viewed in the coronal plane
Distal femur
Tibial plateau
Schematic illustration of collateral ligaments. All other soft tissues are omitted for clarity (excepting Figure 4)
Point for application of Traction
This example of the invention is now described by following through the process in which it can be employed: knee replacement surgery. The description focuses on coronal-plane alignment, and especially on particular aspects pertaining to the positioning of the tibial cutting block.
After exposure of the knee joint, the distal femur 12 is prepared by performing the distal femoral cut and the femoral finishing cuts, using any of the standard techniques, such as measured resection cutting blocks, patient-specific instrumentation, or computer-guided surgery. Peripheral osteophytes are removed from the tibial plateau 13, and any residual osteophytes from the distal femur 12. Of note, there is no requirement for the distal femoral cut to be perpendicular to the mechanical axis. The surgeon may plan the slope (lateral 'high' to medial 'low') of the distal femoral cut to match the slope of the native joint, and the aim of this invention is to allow the surgeon to accurately transpose the slope of the distal femoral cut across to the tibial cut, with the limb aligned.
See Figure 1. The modified femoral trial component 1 is positioned on the distal femur 12, and attached by screws via holes 3. This modified femoral trial component 1 has novel and inventive differences from a standard femoral trial component: firstly, its distal extent does not reach the joint line, allowing the limb to be aligned by traction without impingement between the modified femoral trial component 1 and the tibial plateau 13; secondly it has a locating surface 4 for an extension arm 5, allowing the extension arm 5, and alignment rod locating lugs 9 to be removably attached; thirdly, the screw holes 3 which allow it to be firmly and removably attached to the prepared distal femur 12.
See Figure 4. The limb is aligned by traction applied to the ankle traction halter 10. See Figure 2. The surgeon must check that there is no impingement between the modified femoral trial component 1 and the tibial plateau 13. Impingement will interfere with the ability of ligamentous traction to align the limb. If there is bony impingement, then bone can be excised until no impingement exists. An extension arm 5 is selected from a range of incremental lengths that correspond to the available thickness range of tibial inserts, and attached to the locating surface for the extension arm 4, on the modified femoral trial component 1. The distal extent of the extension arm 6 now indicates the level and spatial orientation of the tibial cut that will result: if too much or too little tibial bone resection is indicated, then a different extension arm 5 can be selected from the range described above. In this specific example, the alignment rod locating lugs 9 have a subsidiary purpose in that they act as threaded bolts attaching the extension arm 5 to the locating surface 4 on the modified femoral trial component 1.
Now, it can be seen that the distal femur 12 has been prepared, and the limb has been aligned by ligamentous traction. The distal extent of the extension arm 6 indicates the spatial plane of the tibial cut that will result. This tibial cut orientation has been referenced from the already-prepared distal femur 12 with the limb aligned. The tibial cut has not been directly referenced from the tibia mechanical axis. Therefore, any error in varus-valgus orientation of the distal femoral cut has been transposed across as an equal and compensatory adjustment in the varus-valgus orientation of the tibial cut.
See Figure 2. The distal extent of the extension arm 6 indicates the spatial plane of the tibial cut. With the limb aligned by ligamentous traction, this plane can be assessed relative to the slope of the native tibial plateau 13. This is commonly known as the 'posterior slope'of the tibial cut, and has important effects on the stability of the knee replacement. The extension arm 5 can be made available with an incremental range of values of posterior slope of its distal extent 6 which can be compared to the slope of the native tibial plateau 13, and the most appropriate value selected.
See Figure 4. The alignment rod 8 is attached distally to the traction halter 10, over the centre of the ankle. See Figures 2 and 3. The alignment rod 8 is located between the alignment rod locating lugs 9 which are positioned such that the alignment rod 8 passes over the centre line of the modified femoral trial component 1 when viewed in the coronal plane. The surgeon now assesses the proximal end of the alignment rod 8 where it lies over the hip joint. If it lies directly over the femoral head centre (as for example can be ascertained with an image intensifier) then the lower limb mechanical axis is neutral: the hip centre, prosthetic knee joint centre, and ankle centre, all lie on the coronal plane mechanical axis.
The surgeon can choose to alter the lower limb alignment that traction has created. This can be achieved by soft tissue releases at the knee. It can also be achieved by moving the proximal end of the alignment rod 8 to a desired position: for example, many surgeons aim to introduce a small amount of overall varus into the lower limb, and this can be achieved by placing the proximal end of the alignment rod 8 over the femoral neck rather than the femoral head. The centre part of the alignment rod 8 will act on the knee's coronal alignment via pressure on the alignment rod locating lugs 9, setting the alignment to the surgeon's satisfaction.
See Figure 3. The traction is temporarily released, and the knee flexed sufficiently to slip the tibial cutting block 7 over the distal extent of the extension arm 6. In this specific example, the distal extent of the extension arm 6 mates closely with the saw slot in the cutting block
7. Traction is re-applied, and alignment checked for a final time. Now, the cutting block 7 is attached to the tibial plateau 13 using smooth or threaded pins, via the drillholes visible on the anterior surface of the tibial cutting block 7. The alignment rod 8 is removed. The extension arm 5 is now removed by detaching the alignment rod locating lugs 9, and slipping the distal extent of the extension arm 6 free from the saw slot of the tibial cutting block 7. The knee can now be flexed in the usual manner, reducing tension in the posterior soft tissue structures and allowing the tibial cut to be made.

Claims (12)

Claims
1. An apparatus for setting the alignment of the tibial cut during total knee replacement with reference to the already-prepared femur, comprising of:
a component closely fitting the prepared distal femur in the manner of a femoral trial component that fits closely around the distal femoral cut and femoral finishing cuts; and an extension arm removably attaching to this component that indicates the level and orientation of the tibial cut that will result when the limb is aligned.
2. An apparatus for setting and checking the alignment of a limb prior to the tibial cut during knee replacement surgery, comprising of:
an ankle halter allowing the application of traction with a point of attachment for an alignment rod over the centre of the ankle and extending proximally to the hip joint; and means of removably locating the alignment rod over the centre of the femoral component described in Claim 1, such as parallel alignment lugs or bars.
3. An apparatus as claimed in Claim 1, where the component closely fitting the prepared distal femur is of sufficiently small dimension so as to not extend distally to the level of the joint that would be reached by a standard femoral component closely fitting these similar bone cuts, and so reducing the likelihood of impingement against the tibial plateau.
4. An apparatus as claimed in Claim 1, where a tibial cutting block can be removably attached to the extension arm in such a way that the resulting cut is indicated by the orientation of the distal extent of the extension arm.
5. An apparatus as claimed in Claims 1 and 4, where the tibial cutting block can be attached to the tibial plateau, for example by smooth or threaded pins.
6. An apparatus as claimed in Claims 1,4 and 5, where the extension arm can be unattached from the component closely fitting the prepared distal femur, and unattached from the tibial cutting block, leaving the tibial cutting block in place on the tibial plateau.
7. An apparatus as claimed in Claim 1, where the extension arm can be of a range of lengths which correspond to a range of tibial component thicknesses.
8. An apparatus as claimed in Claim 1, where the distal part of the extension arm that indicates the level and orientation of the tibial cut is of a range of value of slope, corresponding to a range of value of posterior slope of the tibial cut that will result when the limb is aligned.
9. An apparatus as claimed in Claim 1, where the component closely fitting the prepared distal femur has locating holes so that it may be removably attached to the distal femur with screws or other suitable means.
10. An apparatus as claimed in Claim 1, where the component closely fitting the prepared distal femur has an attachment surface for the extension arm, such that the extension arm may be removably attached using screws, bolts or other suitable means.
11. An apparatus as claimed in Claim 1 and Claim 2, where the component closely fitting the prepared distal femur has lugs removably attached to its anterior surface, or to the extension arm, or both, that locate the alignment rod over the centre of the component closely fitting the prepared distal femur when viewed in the coronal plane.
12. An apparatus substantially as described in the text and accompanying drawings.
ytAjg/ZW-1
Intellectual
Property
Office
Application No: GB1620706.0 Examiner: Paul Jenkins
GB1620706.0A2016-12-052016-12-05Apparatus for alignment of knee arthroplasty tibial cutting blockWithdrawnGB2558543A (en)

Priority Applications (2)

Application NumberPriority DateFiling DateTitle
GB1620706.0AGB2558543A (en)2016-12-052016-12-05Apparatus for alignment of knee arthroplasty tibial cutting block
PCT/GB2017/053566WO2018104704A1 (en)2016-12-052017-11-28Apparatus for alignment of knee arthroplasty tibial cutting block

Applications Claiming Priority (1)

Application NumberPriority DateFiling DateTitle
GB1620706.0AGB2558543A (en)2016-12-052016-12-05Apparatus for alignment of knee arthroplasty tibial cutting block

Publications (2)

Publication NumberPublication Date
GB201620706D0 GB201620706D0 (en)2017-01-18
GB2558543Atrue GB2558543A (en)2018-07-18

Family

ID=58159756

Family Applications (1)

Application NumberTitlePriority DateFiling Date
GB1620706.0AWithdrawnGB2558543A (en)2016-12-052016-12-05Apparatus for alignment of knee arthroplasty tibial cutting block

Country Status (2)

CountryLink
GB (1)GB2558543A (en)
WO (1)WO2018104704A1 (en)

Cited By (1)

* Cited by examiner, † Cited by third party
Publication numberPriority datePublication dateAssigneeTitle
DE102022207578A1 (en)2022-07-252024-01-25Aesculap Ag Surgical instrument

Families Citing this family (3)

* Cited by examiner, † Cited by third party
Publication numberPriority datePublication dateAssigneeTitle
EP4236851A1 (en)2020-10-302023-09-06MAKO Surgical Corp.Robotic surgical system with slingshot prevention
USD1044829S1 (en)2021-07-292024-10-01Mako Surgical Corp.Display screen or portion thereof with graphical user interface
WO2024051571A1 (en)*2022-09-062024-03-14北京和华瑞博医疗科技有限公司Connecting apparatus, joint surgical apparatus and surgical operation system

Citations (3)

* Cited by examiner, † Cited by third party
Publication numberPriority datePublication dateAssigneeTitle
US20100305575A1 (en)*2009-05-292010-12-02Zachary Christopher WilkinsonMethods and Apparatus for Performing Knee Arthroplasty
WO2016170306A1 (en)*2015-04-202016-10-27Oxford University Innovation LimitedArthroplasty apparatus and method
WO2017223353A1 (en)*2016-06-222017-12-28Marlowe Goble EKnee instruments and methods

Family Cites Families (4)

* Cited by examiner, † Cited by third party
Publication numberPriority datePublication dateAssigneeTitle
FR2742037B1 (en)*1995-12-071999-02-19Broutard Jean Claude DEVICE FOR THE PREPARATION OF BONE CUTS, PARTICULARLY TIBIAL FOR THE APPLICATION OF A KNEE PROSTHESIS
US7094241B2 (en)2002-11-272006-08-22Zimmer Technology, Inc.Method and apparatus for achieving correct limb alignment in unicondylar knee arthroplasty
US7780671B2 (en)*2006-01-232010-08-24Zimmer Technology, Inc.Bone resection apparatus and method for knee surgery
US8974459B1 (en)*2010-05-212015-03-10Howmedica Osteonics Corp.Natural alignment knee instruments

Patent Citations (3)

* Cited by examiner, † Cited by third party
Publication numberPriority datePublication dateAssigneeTitle
US20100305575A1 (en)*2009-05-292010-12-02Zachary Christopher WilkinsonMethods and Apparatus for Performing Knee Arthroplasty
WO2016170306A1 (en)*2015-04-202016-10-27Oxford University Innovation LimitedArthroplasty apparatus and method
WO2017223353A1 (en)*2016-06-222017-12-28Marlowe Goble EKnee instruments and methods

Cited By (3)

* Cited by examiner, † Cited by third party
Publication numberPriority datePublication dateAssigneeTitle
DE102022207578A1 (en)2022-07-252024-01-25Aesculap Ag Surgical instrument
EP4311507A1 (en)2022-07-252024-01-31Aesculap AGSurgical instrument
US12383281B2 (en)2022-07-252025-08-12Aesculap AgSurgical instrument

Also Published As

Publication numberPublication date
WO2018104704A1 (en)2018-06-14
GB201620706D0 (en)2017-01-18

Similar Documents

PublicationPublication DateTitle
US7842039B2 (en)Method and apparatus for achieving correct limb alignment in unicondylar knee arthroplasty
US6575980B1 (en)Method and apparatus for femoral resection
US6558391B2 (en)Methods and tools for femoral resection in primary knee surgery
US4646729A (en)Prosthetic knee implantation
US10912658B2 (en)Arthroplasty apparatus and method
US12161346B2 (en)Knee resection and gap balancing instruments and techniques for kinematic alignment
US20130211411A1 (en)Tool For Use In Knee Surgery
US10631885B2 (en)Patient-matched total knee arthroscopy
US12004959B2 (en)Hinge knee preparation instrumentation and associated methods
US9005208B2 (en)Ligament balancing femoral trial
US20210100568A1 (en)Cutting and drilling template for unicondylar knee arthroplasty
WO2018104704A1 (en)Apparatus for alignment of knee arthroplasty tibial cutting block
Cooke et al.Universal bone cutting device for precision knee replacement arthroplasty and osteotomy
Malavolta et al.Calipered kinematically aligned medial unicompartmental knee arthroplasty: a surgical technique
US20240099858A1 (en)Gap balancing assembly for knee revision surgery
CA1229771A (en)Transverse tibial cutting jig
Hibono et al.Total Knee Arthroplasty in Patients with Distal Femoral Malunion: A Case Report
Tria JrInstrumentation in total knee arthroplasty
Alan et al.Quadriceps sparing total knee arthroplasty in association with electromagnetic navigation
Shah et al.Total Knee Arthroplasty in Post High Tibial Osteotomy
RitschlComputer-Assisted and Minimally-Invasive Total Knee Arthroplasty
HK1222108A1 (en)Total knee arthroplasty methods, systems, and instruments

Legal Events

DateCodeTitleDescription
WAPApplication withdrawn, taken to be withdrawn or refused ** after publication under section 16(1)

[8]ページ先頭

©2009-2025 Movatter.jp