
L'invention relève du domaine des appareils électroniques, et notamment des organes permettant de commander des fonctions d'un appareil électronique.The invention relates to the field of electronic devices, and in particular organs making it possible to control functions of an electronic device.
Plus particulièrement, l'invention concerne un module de commande d'un appareil électronique adapté à résister aux chocs.More particularly, the invention relates to a control module of an electronic device adapted to resist shocks.
Avantageusement, la présente invention est particulièrement adaptée aux appareils électroniques portatifs, par exemple aux montres électroniques.Advantageously, the present invention is particularly suitable for portable electronic devices, for example electronic watches.
Les organes de commande des appareils électroniques sont généralement constitués par des interrupteurs adaptés à autoriser ou à interdire le passage d'un courant permettant par exemple de transmettre une consigne pour la réalisation d'une fonction.The control elements of electronic devices are generally made up of switches adapted to authorize or prohibit the passage of a current making it possible, for example, to transmit a setpoint for carrying out a function.
En particulier, afin d'autoriser ou d'interdire le passage d'un courant, les interrupteurs sont conçus de manière à occuper une position de repos et une position de connexion dans au moins une desquelles ils sont entrainés sous l'action d'un utilisateur.In particular, in order to authorize or prohibit the passage of a current, the switches are designed so as to occupy a rest position and a connection position in at least one of which they are driven under the action of a user.
On connait en particulier les interrupteurs comprenant une membrane souple recouvrant une lame élastique adaptée à connecter des bornes de connexion entre elles lorsqu'elle est sollicitée par un utilisateur, c'est-à-dire lorsqu'elle est contrainte, et à interdire toute connexion entre les bornes lorsqu'elle est au repos.We know in particular switches comprising a flexible membrane covering an elastic blade adapted to connect connection terminals together when requested by a user, that is to say when it is constrained, and to prohibit any connection between the terminals when it is at rest.
Les appareils électroniques comportent souvent un poussoir adapté à être manipulé par l'utilisateur de sorte à entrer en contact avec la membrane souple de l'interrupteur, par le biais d'un percuteur, afin de déformer la lame élastique dans sa position de connexion.Electronic devices often include a pusher adapted to be manipulated by the user so as to come into contact with the flexible membrane of the switch, by means of a striker, in order to deform the elastic blade in its connection position.
Lorsque l'appareil électronique subit un choc au niveau du poussoir, la lame élastique est susceptible de se déformer plastiquement sous l'effet des efforts qui lui sont appliqués, et par conséquent, elle risque de présenter des dommages irréversibles.When the electronic device suffers an impact at the level of the pusher, the elastic blade is likely to deform plastically under the effect of the forces applied to it, and consequently, it risks presenting irreversible damage.
Une solution pour éviter ce problème consiste à augmenter les dimensions de la surface de contact du percuteur de sorte qu'elle répartisse au maximum les efforts transmis de sorte à diminuer la pression à laquelle est soumise la lame élastique.A solution to avoid this problem consists of increasing the dimensions of the contact surface of the striker so that it distributes the transmitted forces as much as possible so as to reduce the pressure to which the elastic blade is subjected.
Toutefois, cette solution peut ne pas être envisageable pour des applications dans lesquelles les dimensions constituent des contraintes de conception critiques, par exemple dans des domaines microélectroniques ou micromécaniques, tel que le domaine de l'horlogerie.However, this solution may not be possible for applications in which dimensions constitute critical design constraints, for example in microelectronic or micromechanical fields, such as the field of watchmaking.
En outre, cette solution peut ne pas pouvoir être mise en oeuvre, par exemple pour des contraintes de fabrications.Furthermore, this solution may not be able to be implemented, for example due to manufacturing constraints.
Une autre solution consiste à ménager une surépaisseur dans le film souple Ce film étant généralement réalisé en silicone, cette surépaisseur est prévue pour se déformer élastiquement lors d'un choc afin d'absorber les efforts.Another solution consists of providing an extra thickness in the flexible film. This film is generally made of silicone, this extra thickness is designed to deform elastically during an impact in order to absorb the forces.
Cependant, une telle surépaisseur est inadaptée pour absorber des efforts importants, par exemple ceux générés par un choc correspondant à une décélération de 5000G, tel que spécifiée dans la norme NIHS 91-30. En effet, le film souple se déforme alors tellement sous l'effet des efforts reçus et les transmet à la lame élastique et à la borne qui se déforment plastiquement.However, such extra thickness is unsuitable for absorbing significant forces, for example those generated by an impact corresponding to a deceleration of 5000G, as specified in standard NIHS 91-30. In fact, the flexible film then deforms so much under the effect of the forces received and transmits them to the elastic blade and to the terminal which deform plastically.
Afin de résoudre les inconvénients précités, la présente invention concerne un module de commande d'un appareil électronique comprenant :
Il y a lieu de noter que, dans la présente invention, l'organe de butée est distinct de l'interrupteur. L'interrupteur peut donc avantageusement être un composant standard disponible dans le commerce.It should be noted that, in the present invention, the stop member is distinct from the switch. The switch can therefore advantageously be a standard component available commercially.
L'organe de butée permet avantageusement de bloquer la progression du poussoir mobile en cas d'effort excessif appliqué sur l'interrupteur. Ainsi, l'intensité de l'effort maximal applicable sur l'interrupteur est maitrisée et l'interrupteur est protégé contre les efforts excessifs, par exemple les efforts dus aux chocs.The stop member advantageously makes it possible to block the progression of the movable pusher in the event of excessive force applied to the switch. Thus, the intensity of the maximum force applicable to the switch is controlled and the switch is protected against excessive forces, for example forces due to shocks.
Dans des modes particuliers de réalisation, l'invention peut comporter en outre l'une ou plusieurs des caractéristiques suivantes, prises isolément ou selon toutes les combinaisons techniquement possibles.In particular embodiments, the invention may also include one or more of the following characteristics, taken individually or in all technically possible combinations.
Dans des modes particuliers de réalisation, l'élément percuteur est doté d'une excroissance axiale s'étendant depuis une surface d'appui avec laquelle il forme un épaulement. L'élément percuteur est configuré de sorte que, lorsqu'il entraîne l'interrupteur dans l'état connecté ou dans l'état de repos, l'excroissance axiale applique une pression sur l'interrupteur et la surface d'appui repose en appui contre l'organe de butée.In particular embodiments, the striker element is provided with an axial projection extending from a bearing surface with which it forms a shoulder. The striker element is configured such that, when it drives the switch in the connected state or in the rest state, the axial projection applies pressure to the switch and the bearing surface rests in support against the stop member.
Dans des modes particuliers de réalisation, l'organe de butée présente la forme d'une paroi fixée contre l'interrupteur et comporte une ouverture traversante destinée à recevoir l'excroissance axiale du poussoir lorsque l'élément percuteur entraîne l'interrupteur dans l'état connecté ou l'état de repos. Autrement dit, l'excroissance axiale du poussoir est destinée à s'engager à travers l'ouverture afin d'entraîner l'interrupteur dans l'état connecté ou dans l'état de repos.In particular embodiments, the stop member has the shape of a wall fixed against the switch and has a through opening intended to receive the axial protrusion of the pusher when the striker element drives the switch in the connected state or idle state. In other words, the axial projection of the pusher is intended to engage through the opening in order to drive the switch in the connected state or in the rest state.
Dans des modes particuliers de réalisation, l'interrupteur comporte un bâti, l'organe de butée présentant une concavité agencée en regard de l'interrupteur de sorte qu'il porte sur ledit bâti par une zone périphérique s'étendant au niveau de la périphérie de l'organe de butée.In particular embodiments, the switch comprises a frame, the stop member having a concavity arranged opposite the switch so that it bears on said frame by a peripheral zone extending at the level of the periphery of the stop member.
Dans des modes particuliers de réalisation, le module de commande comporte un amortisseur configuré pour absorber une partie des efforts en jeu en se déformant lorsque l'élément percuteur entraîne l'interrupteur dans l'état connecté ou dans l'état de repos, au moins lorsque lesdits efforts sont supérieurs à un seuil prédéterminé.In particular embodiments, the control module comprises a shock absorber configured to absorb part of the forces involved by deforming when the striker element drives the switch in the connected state or in the rest state, at least when said forces are greater than a predetermined threshold.
Dans des modes particuliers de réalisation, l'amortisseur est agencé sur la surface d'appui de sorte à être sollicité en compression lorsque l'élément percuteur entraîne l'interrupteur dans l'état connecté ou l'état de repos.In particular embodiments, the shock absorber is arranged on the support surface so as to be stressed in compression when the striker element drives the switch in the connected state or the rest state.
Dans des modes particuliers de réalisation, l'amortisseur est de la forme d'une rondelle en matériau élastiquement déformable agencée autour de l'excroissance axiale.In particular embodiments, the shock absorber is in the form of a washer made of elastically deformable material arranged around the axial protrusion.
Dans des modes particuliers de réalisation, l'amortisseur est destiné à être agencé entre une structure du mouvement horloger et l'interrupteur, dans le prolongement de la direction de la course du poussoir.In particular embodiments, the shock absorber is intended to be arranged between a structure of the watch movement and the switch, in the extension of the direction of travel of the pusher.
Dans des modes particuliers de réalisation, l'interrupteur comprend un bâti auquel sont fixées une lame élastique, et des bornes de connexion. La lame élastique est déplacée dans une position de connexion dans laquelle elle génère un contact entre les bornes de connexion, lorsque l'interrupteur est dans l'état de connexion, et est déplacée dans un état de repos dans laquelle elle interdit le contact entre les bornes de connexion, lorsque l'interrupteur est dans l'état de repos. L'organe de butée est agencé dans le prolongement de la direction de la course du poussoir contre l'une des bornes de connexion de sorte que cette dernière est interposée entre l'organe de butée et l'élément percuteur.In particular embodiments, the switch comprises a frame to which are fixed an elastic blade, and connection terminals. The elastic blade is moved to a connection position in which it generates contact between the connection terminals, when the switch is in the connection state, and is moved to a rest state in which it prohibits contact between the connection terminals, when the switch is in the state of rest. The stop member is arranged in the extension of the direction of travel of the pusher against one of the connection terminals so that the latter is interposed between the stop member and the striker element.
Dans des modes particuliers de réalisation, le poussoir comprend une tête de poussoir à laquelle est reliée une tige de poussoir engagée en coulissement dans un tube de guidage et comprenant une extrémité libre à laquelle est fixé l'élément percuteur. Le poussoir comprend un ressort interposé entre la tête de poussoir et le tube de guidage de sorte à contraindre ledit poussoir à se déplacer vers sa position de repos.In particular embodiments, the pusher comprises a pusher head to which is connected a pusher rod slidably engaged in a guide tube and comprising a free end to which the striker element is fixed. The pusher comprises a spring interposed between the pusher head and the guide tube so as to force said pusher to move towards its rest position.
Dans des modes particuliers de réalisation, l'élément percuteur comporte un corps de forme sensiblement cylindrique comprenant une dimension radiale s'étendant selon une direction orthogonale à la direction de déplacement du poussoir, ladite dimension radiale étant inférieure au diamètre extérieur d'une extrémité du tube de guidage au niveau de laquelle il est agencée.In particular embodiments, the striker element comprises a body of substantially cylindrical shape comprising a radial dimension extending in a direction orthogonal to the direction of movement of the pusher, said radial dimension being less than the external diameter of one end of the guide tube at which it is arranged.
Selon un autre aspect, la présente invention concerne une montre comprenant une boite dans laquelle est logé un mouvement horloger électronique. Ce dernier comporte un module de commande tel que décrit précédemment, le poussoir étant engagé à travers une carrure dont est dotée la boite, l'interrupteur et l'organe de butée étant fixés à une structure du mouvement horloger.According to another aspect, the present invention relates to a watch comprising a case in which an electronic watch movement is housed. The latter comprises a control module as described above, the pusher being engaged through a middle part with which the case is fitted, the switch and the stop member being fixed to a structure of the watch movement.
D'autres caractéristiques et avantages de l'invention apparaîtront à la lecture de la description détaillée suivante donnée à titre d'exemple nullement limitatif, en référence aux dessins annexés dans lesquels :
On note que les figures ne sont pas nécessairement dessinées à l'échelle pour des raisons de clarté.Note that the figures are not necessarily drawn to scale for reasons of clarity.
Dans les exemples de réalisation de l'invention représentés sur les
Tel que visible sur les
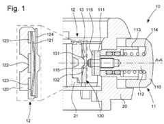
Le module de commande 10 comporte en outre un interrupteur 12 destiné à être actionné par un utilisateur sur sollicitation du poussoir 11 et un organe de butée 13 contre lequel est destiné à reposer, c'est-à-dire venir en appui, le poussoir 11 lorsque l'interrupteur 12 est actionné.The
En particulier, l'interrupteur 12 est adapté à occuper un état connecté et un état de repos, le poussoir 11 étant configuré pour, lorsqu'il actionne ledit interrupteur 12, l'entraîner dans l'un ou l'autre de ces états.In particular, the
Comme le montre schématiquement la vue de détail de la
En particulier, lorsque l'utilisateur sollicite le poussoir 11, ce dernier applique une pression sur la lame élastique 121, de sorte à la déformer dans une position plane instable dans laquelle elle est au contact de l'ensemble des bornes centrale 122 et périphériques 123. La lame élastique 121 est également configurée pour occuper, lorsque le poussoir 11 n'est pas sollicité par l'utilisateur, une position de repos, stable, dans laquelle elle interdit le contact entre les bornes centrale 122 et périphériques 123. Comme visible sur la vue de détail de la
L'interrupteur 12 peut également comporter une membrane souple 124 recouvrant la lame élastique 121, sur laquelle le poussoir 11 est destiné à appuyer lorsqu'il est sollicité. Toutefois, cette membrane souple 124 n'est pas essentielle à l'invention.The
Dans l'exemple préféré de réalisation de l'invention représenté sur la
Comme visible sur les
Le poussoir 11 comprend une tête de poussoir 110 s'étendant à l'extérieur de la carrure 20 et destinée à être manipulée par l'utilisateur. Le poussoir 11 comporte également un élément percuteur 111 relié à la tête de poussoir 110 par l'intermédiaire d'une tige de poussoir 112 engagée en coulissement dans un tube de guidage 113 fixé dans une ouverture traversante de la carrure 20. Par exemple, l'élément percuteur 111 est vissé dans la tige de poussoir 112, ou est fixé par tout moyen approprié à la portée de l'homme du métier.The
Le tube de guidage 113 comporte, au niveau d'une première extrémité, une première portion par laquelle il est engagé dans l'ouverture traversante de la carrure 20, et comporte, au niveau d'une seconde extrémité, une seconde portion présentant un diamètre extérieur plus important que celui de la première portion de sorte à former un épaulement avec cette dernière. Comme le montre la
Comme le montre la
L'élément percuteur 111 comporte un corps de forme sensiblement cylindrique comprenant une dimension radiale s'étendant selon une direction orthogonale à la direction A-A, ladite dimension radiale étant avantageusement inférieure au diamètre extérieur de la première portion du tube de guidage 113. Cette caractéristique permet de faciliter l'assemblage de l'élément percuteur 111 sur la tige de poussoir 112, dans la mesure où il peut être réalisé avant la fixation du poussoir 11 à la carrure 20 de la montre, c'est-à-dire avant son engagement dans l'ouverture traversante de ladite carrure 20.The
Dans l'exemple préféré de réalisation représenté sur la
En résumé, l'invention permet d'éviter l'application de contraintes excessives sur l'interrupteur 12 dans la mesure où l'organe de butée 13 constitue un arrêt en translation du poussoir 11 et transfert les efforts reçus sur le bâti ou éventuellement sur la structure 21 du mouvement horloger. L'invention permet également, par conséquent, de contrôler l'intensité de l'effort maximal applicable sur l'interrupteur 12, celle-ci étant notamment définie par la longueur de l'excroissance axiale 115.In summary, the invention makes it possible to avoid the application of excessive stresses on the
Avantageusement, le module de commande 10 peut comporter un amortisseur 116 configuré pour absorber une partie des efforts en jeu, en se déformant, au moins lorsque lesdits efforts sont supérieurs à un seuil prédéterminé, lorsque le poussoir 11 actionne l'interrupteur 12. Préférentiellement, il est constitué en matériau élastiquement déformable, telle qu'en élastomère, ou présente une structure élastiquement déformable, tel qu'un ressort de compression.Advantageously, the
Dans une forme de réalisation de l'invention, l'amortisseur 116 est agencé sur la surface d'appui de sorte à être contraint en compression lorsque la lame élastique 121 est entraînée en position de connexion tel que visible sur les
Dans une autre forme de réalisation de l'invention non représentée sur les figures, l'amortisseur 116 peut être agencé entre la structure 21 du mouvement horloger et l'interrupteur 12, dans le prolongement de la direction A-A. Ainsi, si l'interrupteur 12 était soumis à des efforts trop importants, celui-ci serait apte à transmettre une partie de ces efforts en ce se déplaçant ou se déformant localement légèrement dans l'amortisseur 116 qui absorberait la partie des efforts transmise par l'interrupteur 12.In another embodiment of the invention not shown in the figures, the
Dans l'exemple de réalisation représenté sur la
Avantageusement, l'organe de butée 13 présente, dans l'exemple préféré de réalisation de l'invention, une concavité 132 en vis-à-vis de l'interrupteur 12, agencée de sorte que l'organe de butée 13 porte sur le bâti 120 de l'interrupteur 12 par une zone périphérique s'étendant au niveau de la périphérie dudit l'organe de butée 13. Cette caractéristique permet, d'une part, d'augmenter la résistance aux contraintes mécaniques de l'organe de butée 13, lesdites contraintes étant dirigées vers sa périphérie, et d'autre part, de transmettre les contraintes générées par la sollicitation du poussoir 11 au bâti 120 de l'interrupteur 12. En d'autres termes, les efforts générés par un choc éventuel ne sont pas transférés à la lame élastique 121 et aux bornes centrale 122 et périphériques 123.Advantageously, the
Dans l'exemple de réalisation représenté sur la
Il y a lieu de noter que, dans cet exemple de réalisation, comme le montre la
Plus précisément, l'organe de butée 13 comporte une semelle 133 agencée en appui contre la structure 21 du mouvement horloger et depuis laquelle s'étend une excroissance 134 reposant en appui, par une extrémité libre, contre la borne centrale 122.More precisely, the
Dans cet exemple de réalisation, le corps de l'élément percuteur 111 ne présente pas d'excroissance axiale 115. En effet, comme le montre la
Cet exemple de réalisation est compatible avec la forme de réalisation de l'amortisseur 116 dans laquelle il est interposé entre la structure 21 du mouvement horloger et l'interrupteur 12, dans le prolongement de la direction A-A. Dans ce cas, la semelle 133 est agencée en appui contre l'amortisseur 116. La description de l'invention est réalisée dans le cadre d'une application de l'invention à un appareil électronique formé par une montre. Toutefois, il va de soi que l'invention n'est pas limitée à cette application et qu'elle pourrait être avantageusement utilisée avec tout autre appareil électronique portatif ou non.This exemplary embodiment is compatible with the embodiment of the
De manière plus générale, il est à noter que les modes de mise en oeuvre et de réalisation considérés ci-dessus ont été décrits à titre d'exemples non limitatifs, et que d'autres variantes sont par conséquent envisageables.More generally, it should be noted that the modes of implementation and embodiment considered above have been described by way of non-limiting examples, and that other variants are therefore possible.
| Application Number | Priority Date | Filing Date | Title |
|---|---|---|---|
| EP22212590.8AEP4383303A1 (en) | 2022-12-09 | 2022-12-09 | Control module of an electronic apparatus adapted to resist shocks |
| JP2023182969AJP7649360B2 (en) | 2022-12-09 | 2023-10-25 | CONTROL MODULE FOR ELECTRONIC DEVICE CONFIGURING TO WITHstand shock - Patent application |
| US18/503,484US20240194431A1 (en) | 2022-12-09 | 2023-11-07 | Control module for an electronic device adapted to withstand shocks |
| KR1020230172441AKR20240086560A (en) | 2022-12-09 | 2023-12-01 | Control module for an electronic device adapted to withstand shocks |
| CN202311685988.5ACN118169993A (en) | 2022-12-09 | 2023-12-08 | Control module for electronic device suitable for resisting vibration |
| CN202323353128.XUCN221993775U (en) | 2022-12-09 | 2023-12-08 | Control module for electronic device and meter having the control module |
| Application Number | Priority Date | Filing Date | Title |
|---|---|---|---|
| EP22212590.8AEP4383303A1 (en) | 2022-12-09 | 2022-12-09 | Control module of an electronic apparatus adapted to resist shocks |
| Publication Number | Publication Date |
|---|---|
| EP4383303A1true EP4383303A1 (en) | 2024-06-12 |
| Application Number | Title | Priority Date | Filing Date |
|---|---|---|---|
| EP22212590.8APendingEP4383303A1 (en) | 2022-12-09 | 2022-12-09 | Control module of an electronic apparatus adapted to resist shocks |
| Country | Link |
|---|---|
| US (1) | US20240194431A1 (en) |
| EP (1) | EP4383303A1 (en) |
| JP (1) | JP7649360B2 (en) |
| KR (1) | KR20240086560A (en) |
| CN (2) | CN221993775U (en) |
| Publication number | Priority date | Publication date | Assignee | Title |
|---|---|---|---|---|
| US4007347A (en)* | 1975-07-28 | 1977-02-08 | Haber Terry M | Simplified actuating switch for electronic timepieces |
| EP2607972A1 (en)* | 2011-12-22 | 2013-06-26 | The Swatch Group Research and Development Ltd. | Watertight push button for watch |
| US20170148588A1 (en)* | 2015-11-20 | 2017-05-25 | Lite-On Electronics (Guangzhou) Limited | Button module and electronic device having the same |
| US20200110365A1 (en)* | 2018-10-03 | 2020-04-09 | Casio Computer Co., Ltd. | Push button and timepiece |
| EP4092490A1 (en)* | 2021-05-19 | 2022-11-23 | Meco S.A. | Device for controlling a timepiece movement with touch return and timepiece, in particular a watch, including such a device |
| Publication number | Priority date | Publication date | Assignee | Title |
|---|---|---|---|---|
| US4007347A (en)* | 1975-07-28 | 1977-02-08 | Haber Terry M | Simplified actuating switch for electronic timepieces |
| EP2607972A1 (en)* | 2011-12-22 | 2013-06-26 | The Swatch Group Research and Development Ltd. | Watertight push button for watch |
| US20170148588A1 (en)* | 2015-11-20 | 2017-05-25 | Lite-On Electronics (Guangzhou) Limited | Button module and electronic device having the same |
| US20200110365A1 (en)* | 2018-10-03 | 2020-04-09 | Casio Computer Co., Ltd. | Push button and timepiece |
| EP4092490A1 (en)* | 2021-05-19 | 2022-11-23 | Meco S.A. | Device for controlling a timepiece movement with touch return and timepiece, in particular a watch, including such a device |
| Publication number | Publication date |
|---|---|
| CN221993775U (en) | 2024-11-12 |
| JP7649360B2 (en) | 2025-03-19 |
| CN118169993A (en) | 2024-06-11 |
| US20240194431A1 (en) | 2024-06-13 |
| JP2024083243A (en) | 2024-06-20 |
| KR20240086560A (en) | 2024-06-18 |
| Publication | Publication Date | Title |
|---|---|---|
| EP4383303A1 (en) | Control module of an electronic apparatus adapted to resist shocks | |
| CH720314A2 (en) | Control module of an electronic device adapted to resist shocks. | |
| FR3108884A1 (en) | VEHICLE STEERING | |
| EP4383018A1 (en) | Control module of an electronic apparatus adapted to resist shocks | |
| EP3652028A1 (en) | Decoupled electronic braking system having a movement transmission device with compensation of radial effects | |
| CH720310A2 (en) | Control module of an electronic device adapted to resist shocks | |
| FR3066628A1 (en) | ACCELERATOR PEDAL, ESPECIALLY FOR A MOTOR VEHICLE, EQUIPPED WITH A DEVICE FOR MAKING HYSTERESIS MECHANICAL | |
| EP4231100B1 (en) | Timepiece control device | |
| EP2141554A2 (en) | Push-button | |
| FR2717303A1 (en) | Inertial circuit breaker for electric accumulators of self-propelled machinery. | |
| FR3077607A1 (en) | DAMPING A BRAKE GUIDING COLUMN BY DAMAGING MATERIAL IN A BRAKE ACTUATOR HOUSING | |
| EP1600653A1 (en) | Guiding spring for friction elements and disc brake comprising the same | |
| FR3068941B1 (en) | DECOUPLE ELECTRONIC BRAKE SYSTEM | |
| FR2950121A1 (en) | Mobile part's i.e. piston, slip controlling device for single piston hydraulic braking device in rotor brake of wind turbine, has fixed stoppers limiting relative displacement of support part with respect to fixed part | |
| EP2816314B1 (en) | Sequencer for secured firing device | |
| FR3071286B1 (en) | ACTUATOR FOR AN AIRCRAFT | |
| EP4567525A1 (en) | Locking device for a push-button of a watch case | |
| EP1845546A2 (en) | Bistable manoeuvring device of a mobile shaft and battery cutout comprising such a device | |
| WO2006136740A1 (en) | Disk brake | |
| WO2024052616A1 (en) | Actuator comprising a coupling/uncoupling device, and vehicle, in particular aircraft, provided with the actuator | |
| CH721310A2 (en) | Device for locking a winding stem | |
| EP4560412A1 (en) | Locking device for a winding stem | |
| CH721369A2 (en) | Locking device for a watch case pusher | |
| EP4575657A1 (en) | Device for setting a clock movement to time | |
| WO2020187659A1 (en) | Pyrotechnic nut releasing device |
| Date | Code | Title | Description |
|---|---|---|---|
| PUAI | Public reference made under article 153(3) epc to a published international application that has entered the european phase | Free format text:ORIGINAL CODE: 0009012 | |
| STAA | Information on the status of an ep patent application or granted ep patent | Free format text:STATUS: THE APPLICATION HAS BEEN PUBLISHED | |
| AK | Designated contracting states | Kind code of ref document:A1 Designated state(s):AL AT BE BG CH CY CZ DE DK EE ES FI FR GB GR HR HU IE IS IT LI LT LU LV MC ME MK MT NL NO PL PT RO RS SE SI SK SM TR | |
| P01 | Opt-out of the competence of the unified patent court (upc) registered | Free format text:CASE NUMBER: APP_50339/2024 Effective date:20240905 | |
| STAA | Information on the status of an ep patent application or granted ep patent | Free format text:STATUS: REQUEST FOR EXAMINATION WAS MADE | |
| 17P | Request for examination filed | Effective date:20241210 | |
| STAA | Information on the status of an ep patent application or granted ep patent | Free format text:STATUS: EXAMINATION IS IN PROGRESS | |
| 17Q | First examination report despatched | Effective date:20250403 |