Movatterモバイル変換


[0]ホーム

URL:


EP2777883A1 - Socket retention device - Google Patents

Socket retention device
Download PDF

Info

Publication number
EP2777883A1
EP2777883A1EP14158587.7AEP14158587AEP2777883A1EP 2777883 A1EP2777883 A1EP 2777883A1EP 14158587 AEP14158587 AEP 14158587AEP 2777883 A1EP2777883 A1EP 2777883A1
Authority
EP
European Patent Office
Prior art keywords
actuator
socket
power tool
tool according
rotating shaft
Prior art date
Legal status (The legal status is an assumption and is not a legal conclusion. Google has not performed a legal analysis and makes no representation as to the accuracy of the status listed.)
Withdrawn
Application number
EP14158587.7A
Other languages
German (de)
French (fr)
Inventor
Daniel Puzio
Robert S. Gehret
John Cox
Robert J. Opsitos Jr
Robert G Kusmierski
Craig Alan Schell
Michael Haupt
Joseph P. Kelleher
Current Assignee (The listed assignees may be inaccurate. Google has not performed a legal analysis and makes no representation or warranty as to the accuracy of the list.)
Black and Decker Inc
Original Assignee
Black and Decker Inc
Priority date (The priority date is an assumption and is not a legal conclusion. Google has not performed a legal analysis and makes no representation as to the accuracy of the date listed.)
Filing date
Publication date
Priority claimed from US13/799,177external-prioritypatent/US20130192860A1/en
Application filed by Black and Decker IncfiledCriticalBlack and Decker Inc
Priority to EP16160612.4ApriorityCriticalpatent/EP3056314B1/en
Publication of EP2777883A1publicationCriticalpatent/EP2777883A1/en
Withdrawnlegal-statusCriticalCurrent

Links

Images

Classifications

Definitions

Landscapes

Abstract

A power tool comprising: a housing including a handle; a rotating shaft supported by said housing; a socket retention device coupled to said rotating shaft for securing a socket to said rotating shaft and a socket release mechanism including an actuator mounted to said housing and operable to disengage said socket retention device from said socket to allow said socket to be removed from said rotating shaft

Description

  • This application claims priority under 35 U.S.C. § 120 as a continuation-in-part ofU.S. Patent Application No. 13/494,325, filed June 12, 2012 (published asU.S. Patent App. Pub. No. 2012/0325509), which claims priority under 35 U.S.C. § 119(e) toU.S. Provisional Patent Application No. 61/500,872, filed June 24, 2011. Each of the aforementioned patent applications is hereby incorporated by reference.
  • This application relates to an electromagnetic mode change mechanism for changing the mode of operation of a power tool.
  • This section provides background information related to the present disclosure which is not necessarily prior art. There are various examples of power tools that include a mode change mechanism that is selectively movable to change a mode of operation of the power tool. Many such power tools include a user actuated mechanical button or switch positioned on the housing to selectively move the mode change mechanism. In other of these power tools, the mode change mechanism may be selectively moveable by another mechanical device in response to a tool condition, e.g., a spring that moves an actuator in response to an output torque.
    U.S. Patent No. 7,452,304, which is incorporated by reference, discloses a power tool with a multi-speed transmission that includes a plurality of planetary gear stages. One or more of the ring gears of the planetary gear transmission are selectively moveable by actuation of a mechanical switch on the housing to selectively engage different sets of planet gears and change the overall speed reduction ratio of the transmission.
  • U.S. Patent No. 7,717,192, which is incorporated by reference, discloses a power tool with a selectively moveable collar that changes the mode of operation of the tool between a low speed mode, a high speed mode, and a hammer mode. Rotation of the collar causes movement of a shift pin to change the mode of operation.
  • U.S. Patent App. Pub. No. 2011/0152029, which is incorporated by reference, discloses a hybrid impact driver and drill with a selector that is selectively moveable to change between an impact mode and a drilling mode, as well as to change a speed setting of the transmission.
  • U.S. Patent App. Pub. No. 2012/0074658, which is incorporated by reference, discloses a power tool with a tool bit holder integrated into the power tool housing. The housing includes a button or rotational switch that is moveable to move a shifter between a first position that locks a tool bit in the holder, and a second position that enables release of the tool bit from the holder.
  • U.S. Patent App. Pub. No. 2012/0325509 (to which this application claims priority), which is incorporated by reference, discloses an impact wrench with a socket drive for receiving a socket wrench accessory. The socket drive includes a moveable retaining pin for selectively retaining and releasing the socket wrench accessory from the socket drive. The power tool includes a button or switch for selectively moving the retaining pin to retain the socket wrench accessory on the socket drive or to release the socket wrench accessory from the socket drive.
  • U.S. Patent No. 8,347,750, which is incorporated by reference, discloses a power tool with a transmission that includes a radially expanding clutch assembly. The clutch assembly includes a shaft member that can receive an input torque and a gear member that can provide an output torque. The radially expanding clutch assembly also includes a clutch spring that selectively contains rolling members within longitudinal grooves in the shaft member. In the drive condition the rolling members are held in the grooves by the spring, and torque is transmitted from the shaft member to the gear member. In the clutch out condition, the spring expands, allowing the rolling members to move out of the grooves, which interrupts torque transmission from the shaft member to the gear member.
  • U.S. Patent No. 7,452,304, which is incorporated by reference, discloses a power tool with a torque clutch having a clutch member that presses a spring against a pin that engages ramps on a face of one of the ring gears. When the output torque overcomes the spring force, the pin rides over the ramps, enabling the ring gear to rotate, which interrupts torque transmission from the transmission to the output shaft.
  • In an aspect, a power tool includes a housing coupleble to a source of electric power, a motor disposed in the housing, an output shaft received at least partially in the housing,, and a transmission in the housing and coupled to the motor and the output shaft for transmitting torque from the motor to the output shaft. A mode change mechanism has an actuator, a positioning member, and an electromagnet. The actuator includes a permanent magnet and is moveable between a first position for a first mode of operation of the power tool, and a second position a second, different mode of operation of the power tool. The positioning member and the electromagnet are configured to (i) retain the actuator in the first position when the electromagnet assembly is not energized and the actuator is in the first position, (ii) retain the actuator in the second position when the electromagnet assembly is not energized and the actuator is in the second position, and (iii) move the actuator from one of the first position and the second position to the other of the first position and the second position when the electromagnetic assembly is momentarily energized.
  • Implementations of this aspect may include one or more of the following features. The positioning member may include a second permanent magnet adjacent to the first position, and stationary relative to the actuator, wherein the actuator permanent magnet and the second permanent magnet are configured to attract when the actuator is in the first position and repel when the actuator is in the second position. The actuator permanent magnet and the second permanent magnet may each include an array of permanent magnets, with a portion of each array arranged to exert an attractive force between actuator permanent magnet and the second permanent magnet, and a remaining portion of each array of the permanent magnets arranged to exert a repulsive force between actuator permanent magnet and the second permanent magnet. The electromagnet may be momentarily energized by current flowing in a first direction to move the actuator from the first position to the second position, and can be momentarily energized by current flowing in a second opposite direction to move the actuator from the second position to the first position. A stop may prevent contact between the actuator and the positioning member when the actuator is in the first position.
  • The positioning member may include a first positioning member adjacent the first position and composed of a ferromagnetic material to attract the permanent magnet when the actuator is in the first position, and a second positioning member adjacent the second position and composed of a ferromagnetic material to attract the permanent magnet when the actuator is in the second position. The electromagnet may include a first electromagnet adjacent to the first position and a second electromagnet adjacent to the second position, such that when one of the first electromagnet and the second electromagnet is energized, the actuator moves from the first position to the second position, and when the other of the first electromagnet and the second electromagnet is energized, the actuator moves from the second position to the first position. A control circuit may be configured to control energization of the first and second electromagnets in response to an input condition, the input condition comprising one of a user selection of a desired power tool operating condition and a sensed power tool operating condition.
  • The actuator, the positioning member, and the electromagnet may comprise a portion of a clutch. The clutch may have an input member coupled to the transmission, an output member coupled to the output shaft, and a coupling device movable between a driving position in which torque is transmitted from the input member to the output member and a clutching position in which torque transmission from the input member to the output member is interrupted, and wherein when the actuator is in the first position. The actuator may retain the coupling member in the driving position, and when then actuator is in the second position, the actuator may allow the coupling member to move to the clutching position. The input member may have an input sleeve defining a radial bores, the output member may have an output cylinder received in the input sleeve defining a groove, the coupling member may have a drive ball received in the bore. The actuator may include a actuation sleeve received over the input sleeve, wherein when the actuation sleeve is in the first position, the ball is retained in the groove to transmit torque from the input sleeve to the output cylinder, and when the actuation sleeve is in the second position, the ball is permitted to escape the groove to interrupt torque transmission from the input sleeve to the output cylinder. The input member may include a ring gear of the transmission having a recess, the output member may have a portion of the output shaft, the actuator may have a sleeve, and the coupling member may have a leg extending from the sleeve. When the sleeve is in the first position, the leg may engage the recess to inhibit rotation of the ring gear, which enables torque transmission to the output member, and when the sleeve is in the second position, the leg does not engage the recess to allow rotation of the ring gear, which interrupts torque transmission to the output member.
  • The actuator, the positioning member and the electromagnet comprise a portion of a tool holder. The tool holder may be coupled to the output shaft for releasably retaining a power tool accessory. When the actuator is in the first position, the accessory is retained by the tool holder. When the actuator is in the second position the accessory is releasable from the tool holder. The tool holder may include a socket drive having a retractable retention pin and a linkage coupled to the retention pin for selectively retracting the retention pin. The actuator may include a ring configured to move the linkage and the retention pin between a retention position and a release position when the actuator is in the first position and the second position, respectively.
  • In another aspect, a mode change mechanism for a power tool includes an actuator that includes a permanent magnet and that is moveable between a first position for a first mode of operation of the power tool, and a second position a second, different mode of operation of the power tool. A first positioning member adjacent the first position is composed of a ferromagnetic material to attract the permanent magnet when the actuator is in the first position. A second positioning member adjacent the second position is composed of a ferromagnetic material to attract the permanent magnet when the actuator is in the second position. An electromagnet is configured to be energized to move the actuator between the first position and the second position, wherein (i) when the electromagnet is not energized and the actuator is in the first position. the actuator is retained in the first position, (ii) when the electromagnet is not energized and the actuator is in the second position, the actuator is retained in the second position, and (iii) when the electromagnet is energized, the actuator moves from one of the first and second positions to the other of the first and second positions.
  • Implementations of this aspect may include one or more of the following features. The electromagnet may include a first electromagnetic coil adjacent the first position, and a second electromagnetic coil adjacent the second position. The first electromagnetic coil may be energized to create a magnetic force to move the permanent magnet and the actuator away from the first positioning member to the second position, and the second electromagnetic coil may be energized to create a magnetic force to move the permanent magnet and the actuator away from second positioning member and to the first position. The electromagnet may be energized to cause current to flow in a first direction creating a magnetic force to move the permanent magnet and the actuator away from the first positioning member and to the second position, and the electromagnet may be energized to cause current to flow in a second opposite direction creating a magnetic force to move the permanent magnet and the actuator away from the second positioning member and to the first position. A first stop may prevent contact between the actuator and the first positioning member when in the first position, and a second stop may prevent contact between the actuator and the second positioning member when in the second position.
  • In another aspect, a method of operating a mode change mechanism of a power tool includes the following. It is determined whether the power tool should be operating in a first mode of operation or a second mode of operation. It is determined whether an actuator that includes a permanent magnet is in a first position that causes the power tool to operate in the first mode of operation or a second position that causes the power tool to operation in the second mode of operation. An electromagnet is energized to cause the actuator and the permanent magnet to move between the first position and the second position if the actuator is in the first position and the power tool should be operating in the second mode of operation, or if the actuator is in the second position and the power tool should be operating in the first mode of operation. The actuator is retained, without energizing the electromagnet, in the first position if the actuator is in the first position and the power tool should be operating in the first mode of operation, or in the second position if the actuator is in the second position and the power tool should be operating in the second mode of operation.
  • Implementations of this aspect may include one or more of the following features. Retaining the actuator may include providing a first ferromagnetic positioning member adjacent the first position to attract the permanent magnet when the actuator is in the first position, and providing a second ferromagnetic positioning member adjacent the second position to attract the permanent magnet when the actuator is in the second position. Energizing the electromagnet may include energizing a first electromagnetic coil adjacent the first position to create a magnetic force that moves the permanent magnet and the actuator away from the first position to the second position when the actuator is in the first position and should be in the second position, and energizing a second electromagnetic coil adjacent the second position to create a magnetic force that moves the permanent magnet and the actuator away from the second position to the first position when the actuator is in the second position and should be in the first position. Energizing the electromagnet may include causing current to flow through the electromagnet in a first direction to create a magnetic force that moves the permanent magnet and the actuator away from the first position to the second position when the actuator is in the first position and should be in the second position, and causing current to flow through the electromagnet in a second opposite direction to create a magnetic force that moves the permanent magnet and the actuator away from the second position to the first position when the actuator is in the second position and should be in the first position.
  • Advantages may include one or more of the following. The mode change mechanism can be moved by applying a brief impulse of electrical energy. In this way, the user actuated switch or button may be replaced with an electronic switch and may be positioned on the tool housing at virtually any location. Alternatively, the user actuated switch could be replaced with an automated circuit for determining when to move the actuator based on one or more input conditions (e.g., proximity to workpiece, output torque, current delivered to motor, etc.). Also, heavy mechanical switches can be eliminated which may reduce the overall size, weight, and complexity of the power tool. These and other advantages and features will be apparent from the description, the drawings, and the claims.
    • FIG. 1 is an exploded perspective view of a first embodiment of a power tool mode change mechanism.
    • FIG. 2 is a partial cross-sectional view of the mode change mechanism ofFIG. 1 in a first mode of operation.
    • FIG. 3 is a partial cross-sectional view of the mode change mechanism ofFIG. 1 in a second mode of operation.
    • FIG. 4 is a graphical representation of the magnetic forces of components of the mode change mechanism ofFIG. 1.
    • FIG. 5 is a schematic representation of an electronics module of the mode change mechanism ofFIG. 1.
    • FIG. 6 is a flow chart illustrating the operation of the mode change mechanism ofFIG. 1.
    • FIG. 7 is a perspective view, partially in section, of a second embodiment of a power tool mode change mechanism.
    • FIG. 8 is a partial cross-sectional view of the mode change mechanism ofFIG. 7 in a first mode of operation.
    • FIG. 9 is a partial cross-sectional view of the mode change mechanism ofFIG. 7 in a second mode of operation.
    • FIG. 10 is a perspective view of some of the components of a third embodiment of a mode change mechanism of a power tool.
    • FIG. 11 is a perspective view of a power tool having a fourth embodiment of a mode change mechanism.
    • FIG. 12 is an exploded perspective view of the fourth embodiment of the mode change mechanism for the power tool ofFIG. 11.
    • FIG. 13 is a partial cross-sectional view of the power tool and mode change mechanism ofFIGS. 12 and13 in a first mode of operation.
    • FIG. 14 is a partial cross-sectional view of the power tool and mode change mechanism ofFIGS. 12 and13 in a second mode of operation.
    • FIG. 15 is a schematic representation of an electronics module of the mode change mechanism ofFIGS. 12 and13.
    • FIGS. 16A and16B are flow charts illustrating the operation of the mode change mechanism ofFIGS. 12 and13.
    • FIG. 17 is a perspective view of another embodiment of a power tool having a fifth embodiment of a mode change mechanism.
    • FIG. 18A is a cross-sectional view of the mode change mechanism of the tool ofFIG. 17 in a first mode of operation.
    • FIG. 18B is a cross-sectional view of the mode change mechanism of the tool ofFIG. 17 in a second mode of operation.
    • FIGS. 19 and 20 are partially exploded views of the mode change mechanism of the tool ofFIG. 17.
  • Example embodiments will now be described more fully with reference to the accompanying drawings. Example embodiments are provided so that this disclosure will be thorough, and will fully convey the scope to those who are skilled in the art. Numerous specific details are set forth such as examples of specific components, devices, and methods, to provide a thorough understanding of embodiments of the present disclosure. It will be apparent to those skilled in the art that specific details need not be employed, that example embodiments may be embodied in many different forms and that neither should be construed to limit the scope of the disclosure. In some example embodiments, well-known processes, well-known device structures, and well-known technologies are not described in detail.
  • The terminology used herein is for the purpose of describing particular example embodiments only and is not intended to be limiting. As used herein, the singular forms "a," "an," and "the" may be intended to include the plural forms as well, unless the context clearly indicates otherwise. The terms "comprises," "comprising," "including," and "having," are inclusive and therefore specify the presence of stated features, integers, steps, operations, elements, and/or components, but do not preclude the presence or addition of one or more other features, integers, steps, operations, elements, components, and/or groups thereof. The method steps, processes, and operations described herein are not to be construed as necessarily requiring their performance in the particular order discussed or illustrated, unless specifically identified as an order of performance. It is also to be understood that additional or alternative steps may be employed.
  • When an element or layer is referred to as being "on," "engaged to," "connected to," or "coupled to" another element or layer, it may be directly on, engaged, connected or coupled to the other element or layer, or intervening elements or layers may be present. In contrast, when an element is referred to as being "directly on," "directly engaged to," "directly connected to," or "directly coupled to" another element or layer, there may be no intervening elements or layers present. Other words used to describe the relationship between elements should be interpreted in a like fashion (e.g., "between" versus "directly between," "adjacent" versus "directly adjacent," etc.). As used herein, the term "and/or" includes any and all combinations of one or more of the associated listed items.
  • Although the terms first, second, third, etc. may be used herein to describe various elements, components, regions, layers and/or sections, these elements, components, regions, layers and/or sections should not be limited by these terms. These terms may be only used to distinguish one element, component, region, layer or section from another region, layer or section. Terms such as "first," "second," and other numerical terms when used herein do not imply a sequence or order unless clearly indicated by the context. Thus, a first element, component, region, layer or section discussed below could be termed a second element, component, region, layer or section without departing from the teachings of the example embodiments. Spatially relative terms, such as "inner," "outer," "beneath," "below," "lower," "above," "upper," and the like, may be used herein for ease of description to describe one element or feature's relationship to another element(s) or feature(s) as illustrated in the figures. Spatially relative terms may be intended to encompass different orientations of the device in use or operation in addition to the orientation depicted in the figures. For example, if the device in the figures is turned over, elements described as "below" or "beneath" other elements or features would then be oriented "above" the other elements or features. Thus, the example term "below" can encompass both an orientation of above and below. The device may be otherwise oriented (rotated 90 degrees or at other orientations) and the spatially relative descriptors used herein interpreted accordingly.
  • Referring toFIGS. 1-3, in an embodiment, a mode change mechanism in the form of an electromagneticclutch assembly 100 may replace the radially expanding clutch assembly in the power tool disclosed in the above-referencedU.S. Patent No. 8,347,750. Theclutch assembly 100 includes aninput shaft 102 and anoutput shaft 104. Theinput shaft 102 is fixedly attached to a positioning member in the form of ahollow input sleeve 106. Theoutput shaft 104 is fixedly attached to anoutput cylinder 108 that is received inside theinput sleeve 106. The input sleeve includes a plurality ofradial bores 110 that receive a plurality ofdrive balls 112. Theoutput cylinder 108 has a plurality oflongitudinal grooves 113 that receive thedrive balls 114. Theinput sleeve 106 has a reduced diameter portion 111 with arear shoulder 103 and afront shoulder 105. Received over the reduced diameter portion 111 of theinput shaft 102 and over theinput sleeve 106 is an actuator in the form of anactuation sleeve 114. Theactuation sleeve 114 has abase wall 119 and acylindrical wall 115 with an internal surface having a first substantiallyflat portion 116 and a second rampedportion 118.
  • Theactuation sleeve 114 is selectively moveable between a first position for a first mode of operation (FIG. 2) where thebase wall 119 abuts thefront shoulder 105 and theflat portion 116 engages theballs 112 to retain the balls in thegrooves 113 of theoutput cylinder 108, and a second position for a second mode of operation (FIG. 3) where thebase wall 119 abuts therear shoulder 103 and the rampedportion 118 engages theballs 112 to allow the balls to escape thegrooves 113 of theoutput cylinder 108. In the first mode of operation, when theballs 112 are retained in thegrooves 113, torque is transmitted from theinput shaft 102 to theoutput shaft 104. In the second mode of operation, when theballs 112 escape thegrooves 113, torque transmission from theinput shaft 102 to theoutput shaft 104 is interrupted.
  • To facilitate moving theactuation sleeve 114 between the first position and the second position, theactuation sleeve 114 has abase wall 119 that includes a first plurality ofmagnets 120 arranged in afirst array 126. Theinput sleeve 106 also has abase wall 122 with a second plurality ofmagnets 124 arranged in asecond array 128. Some opposing pairs of magnets from thefirst array 126 and thesecond array 128 are arranged with opposite poles facing one another (i.e., north facing south or south facing north) so that they are configured to attract one another. Other opposing pairs of magnets from thefirst array 126 and thesecond array 128 are arranged with the same poles facing one another (i.e., north facing north or south facing south) so that they are configured to repel one another. Such magnet arrays enable the magnet arrays to have varying attractive and repulsive properties depending on the relative distance and positions of the magnet arrays. Similar magnet arrays may also be known as coded patterns of magnetic elements or correlated magnets. Similar magnet arrays are described, e.g., inU.S. Patent No. 7,750,778, which is incorporated by reference, and are sold by Correlated Magnetics Research, located in New Hope, Alabama.
  • Referring also toFIG. 4, thefirst magnet array 126 and thesecond magnet array 128 are configured so that the sum of the attractive force of the magnets arranged to attract one another and the repulsive force of the magnets arranged to repel one another varies according to the separation distance between thefirst array 126 and thesecond array 128.FIG. 4 illustrates the attractive force vs. separation distance for the magnets arranged to attract (curve A), the repulsive force vs. separation distance for the magnets arranged to repel (curve R), and the net attractive or repulsive force of all of the magnets vs. distance (curve T). The net force is strongly positive (attractive) when the separation distance is less than a predetermined threshold (e.g., 1 mm), and the net force is weakly negative (repulsive) when the separation distance is greater than the predetermined threshold. Theclutch assembly 100 also has anelectromagnet 130 in the form of a coil ofwire 132 wrapped around a portion of theinput shaft 102 adjacent to theactuation sleeve 114. When the actuation sleeve is in the second position (FIG. 3), theelectromagnet 130 can be energized by driving current in a first direction, which generates a magnetic field that repels thefirst array 126 of magnets with a force greater than the repulsive force between thefirst array 126 andsecond array 128 of magnets. This tends to push theactuation sleeve 114 to the first position (FIG. 2). When the actuation sleeve is in the first position (FIG. 2), theelectromagnet 130 can be energized by driving current in a second opposite direction, which generates a magnetic field that attracts the first array ofmagnets 126 with a force greater than the attractive force between thefirst array 126 and thesecond array 128. This tends to pull the actuation sleeve to the second position (FIG. 3).
  • Referring also toFIG. 5, theelectromagnet 130 may be coupled to anelectronics module 138 that includes a driver circuit 140 (e.g., an H-bridge circuit) configured to drive theelectromagnet 130. Thedriver circuit 140 may be connected to the output of a control circuit 142 (e.g., a microprocessor or controller). Thecontrol circuit 142 may receive an input from a torque setting circuit 144 (e.g., from a user input and/or from a pre-programmed memory device)) that generates a signal corresponding to a desired torque setting. Thecontrol circuit 142 may also receive an input from atorque sensing circuit 146 that generates a signal that corresponds to the amount of output torque on the tool. The torque sensing circuit may include one or more of a current sensor, a position sensor, a torque transducer, a force sensor, etc. In one possible embodiment, the torque sensing circuit is similar to the electronic clutch circuit described in commonly ownedU.S. Patent Application No. 13/798,210, filed March 13, 2013, which is incorporated by reference. In addition, the control circuit may receive an input signal from aposition sensing circuit 148, which corresponds the current position of the actuation sleeve 118 (e.g., via a Hall effect sensor or a membrane potentiometer). The controller processes the torque setting input signal, the torque sensing input signal, and the position sensing input signal to determine when and in which direction to cause the drive circuit to energize the electromagnet to change the position of theactuation sleeve 118.
  • Referring also toFIG. 6, in use, first, atstep 150, the control circuit receives an input signal from the torque setting circuit that corresponds to the desired torque setting. Atstep 152, the control circuit receives an input signal from the torque sensing circuit that indicates the output torque. Atstep 154, the control circuit receives an input signal from the position sensing circuit that indicates whether theactuation sleeve 118 is in the first position or the second position. Atstep 156, the control circuit determines whether the sensed torque has exceeded the desired threshold torque, which indicates that torque transmission should be interrupted. If YES, then atstep 158, the control circuit determines whether the actuator is already in the second position (FIG. 3), in which torque transmission is interrupted. If YES, then control circuit returns to step 150. If NO, then the control circuit causes the drive circuit to momentarily drive the electromagnet to attract the actuator from the first position to the second position to interrupt torque transmission. Once the actuator is in the second position, current need not be delivered to the electromagnetic coil to keep the actuator in the second position, as the repulsive force between the first and second magnet arrays will keep the actuator in the second position. By requiring only a momentary burst of current, this saves energy and drain on a battery (if a cordless tool).
  • If atstep 156, the control circuit determines that the sensed torque does not exceed the torque setting, this indicates that torque transmission should be permitted. Next, atstep 158, the control circuit determines whether the actuator is already in the first position (FIG. 2), in which torque transmission is permitted. If YES, then control circuit returns to step 150. If NO, then the control circuit causes the drive circuit to momentarily drive the electromagnet to repel the actuator away from the second position to the first position to allow torque transmission. Once the actuator is in the first position, current need not be delivered to the electromagnetic coil to keep the in the second position, as the attractive force between the first and second magnet arrays will keep the actuatorin the second position. By requiring only a momentary burst of current, this saves energy and drain on a battery (if a cordless tool).
  • Referring toFIGS. 7-9, in another embodiment, a mode change mechanism in the form of an electromagneticclutch assembly 700 may replace the torque clutch assembly in the power tool disclosed in the above-referencedU.S. Patent No. 7,452,304. Theclutch assembly 700 includes aring gear 702 of the planetary transmission, and a positioning member in the form of a generallycylindrical transmission housing 704. Thetransmission housing 704 receives thering gear 702 and other gears of the planetary gear transmission (not shown), and is fixedly received in atool housing 706. Thetransmission housing 704 includes a plurality ofradial bores 710 that receive a plurality ofdrive balls 712. Thering gear 702 has a plurality oflongitudinal grooves 713 that receive thedrive balls 712. Received at least partially over thering gear 702 is an actuator in the form of anactuation sleeve 714. Theactuation sleeve 714 has abase wall 719 and acylindrical wall 715 with an internal surface having a first substantiallyflat portion 716 and a second rampedportion 718. Thetool housing 706 has a rearinternal shoulder 703. Thetransmission housing 704 has a frontinternal shoulder 705.
  • Theactuation sleeve 714 is selectively moveable between a first position (FIG. 8) where thebase wall 719 abuts thefront shoulder 705 and theflat portion 716 engages theballs 712 to retain the balls in thegrooves 714 of thering gear 702, and a second position (FIG. 9) where thebase wall 719 abuts therear shoulder 703 and the rampedportion 718 engages theballs 712 to allow the balls to escape thegrooves 714 of thering gear 702. In the first position (FIG. 8), when theballs 712 are retained in thegrooves 714, thering gear 702 is not permitted to rotate relative to thetransmission housing 704, which allows torque to be transmitted from the transmission to an output shaft (not shown), as will be understood to those of ordinary skill in the art. In the second position (FIG. 9), when theballs 712 escape thegrooves 714, and thering gear 702 is permitted to rotate freely relative to thetransmission housing 704, which interrupts torque transmission from the transmission to the output shaft, as will be understood to those of ordinary skill in the art.
  • To facilitate moving theactuation sleeve 714 between the first position and the second position, theactuation sleeve 714 has abase wall 719 that includes a first array ofmagnets 726, and thetransmission housing 704 has a second array ofmagnets 728 that are arranged similarly to the first array ofmagnets 126 and the second array ofmagnets 128 described above with respect toFIGS. 1-4. Therefore, thefirst magnet array 726 and thesecond magnet array 728 are configured so that the net magnetic force is strongly positive (attractive) when the separation distance is less than a predetermined threshold (e.g., 1 mm), and the net magnetic force is weakly negative (repulsive) when the separation distance is greater than the predetermined threshold.
  • Theclutch assembly 700 also has anelectromagnet 730 in the form of a coil ofwire 732 adjacent to theactuation sleeve 714, similar to theelectromagnet 130 described above with respect toFIGS. 1-4. Thus, when the actuation sleeve is in the second position (FIG. 9), theelectromagnet 730 can be momentarily energized by driving current in a first direction, to push theactuation sleeve 714 to the first position (FIG. 8). When the actuation sleeve is in the first position (FIG. 8), theelectromagnet 730 can be momentarily energized by driving current in a second opposite direction, to pull theactuation sleeve 714 to the second position (FIG. 9). Theelectromagnet 730 may be coupled to a similar electronics module as theelectronics module 138 illustrated inFIG. 5 and described above. Theclutch assembly 700 may be operated according to the method illustrated inFIG. 6 and described above.
  • Alternatively, it is known, e.g. from the aforementionedU.S. Patent No. 7,452,304 and related art, that the speed reduction ratio of a multi-speed planetary transmission may be changed by selectively preventing rotation of one or more of the ring gears (which results in a greater speed reduction) or allowing rotation of one or more of the ring gears (which results in a lesser speed reduction). Therefore, theclutch assembly 700 could instead be connected to a controller that receives an input of a speed setting signal that corresponds to a desired speed setting of the tool. When the speed setting signal changes, indicating that the desired speed reduction ratio has changed, theelectromagnet 730 can be driven to move theactuation sleeve 714 to either the first or second position to change the speed reduction ratio of the transmission accordingly.
  • Referring toFIG. 10, in the abovemode change mechanisms 100, 700, or in any other power tool mode change mechanisms, an actuator 1020 may be moveable between first and second positions and a positioning member 1022 may remain stationary relative to the actuation 1020. The actuator 1020 may have a first magnet array 1026 (which is a substitute for the above-describedmagnet arrays 126, 726) and the positioning member 1022 may have a second magnet array 1028 (which is a substitute for the above-describedmagnet arrays 128, 728). Thefirst magnet array 1026 includes a firstinner ring magnet 1032 and a firstouter ring magnet 1030 concentrically mounted on a firstnon-magnetic backer plate 1034. Both the first inner and firstouter ring magnets 1032, 1030 are arranged with their north poles facing toward thesecond magnet array 1028. Thesecond magnet array 1028 includes a secondinner ring magnet 1038 and a secondouter ring magnet 1036 concentrically mounted on a second non-magnetic backer plate 1040. The secondouter ring magnet 1036 is arranged with its south pole facing the north pole of the firstouter ring magnet 1030 so as to provide an attractive force. The secondinner ring magnet 1038 is arranged with its north pole facing the north pole of the firstinner ring magnet 1032 so as to provide a repulsive force. The first and secondring magnet arrays 1026, 1028 together provide a net force vs. separation distance profile as the profile shown inFIG. 4. Thus, the actuator 1020 and the positioning member 1022 may be used in conjunction with an electromagnet (not shown) in the manner discussed above with respect toFIGS. 1-9 to enable movement of the actuator between the first and second positions for first and second modes of operation when the electromagnet is energized, and allows the actuator to be retained in one of the first and second positions when the electromagnet is not energized.
  • Referring toFIGS. 11-14, in another embodiment, a power tool such as a drill/driver 1180 includes a mode change mechanism in the form of an electromagneticclutch assembly 1100. Thepower tool 1180 includes ahousing 1182 having amotor housing 1181, ahandle 1182 extending downward from themotor housing 1181, and atransmission housing 1184 coupled to a front end of themotor housing 1181. Thehandle 1182 is coupleable to aremovable battery pack 1186, although it should be understood that the battery could be integral, or the housing could be coupled to an alternative source of electrical power such as an AC power source. Disposed in themotor housing 1181 is amotor 1186 and acontrol circuit 1188, which in turn is coupled to thebattery pack 1186 and to atrigger switch 1190 disposed on thehousing 1182. Themotor 1186 is coupled to atransmission 1192, which transmits torque from themotor 1186 to a spindle 1194. The spindle 1194 is coupled to atool bit holder 1196 extending from the housing for removably retaining a tool bit such as a screwdriver bit. In use, actuation of thetrigger switch 1190 causes the controller to deliver electrical power to themotor 1186, which in turn drives thetransmission 1192, thespindle 1104, and thetool bit holder 1196.
  • Referring toFIGS. 12-14, the electromagneticclutch assembly 1100 includes an outputstage ring gear 1102 of thetransmission 1192, theoutput spindle 1104, and an axially moveable actuator in the form of anactuator sleeve 1106. The ring gear meshes with a plurality of planet gears (not shown) which are carried by an outputstage planet carrier 1108. Thecarrier 1108 is non-rotationally coupled with theoutput spindle 1104. The planet gears also mesh with an input sun gear (not shown) that extends from the motor or from a previous stage of the transmission. When thering gear 1102 is held stationary or grounded relative to thetransmission housing 1184, rotation of the sun gear causes the planet gears to orbit the sun gear, which causes theplanet carrier 1108 to rotate and drive theoutput spindle 1104 in rotation. When thering gear 1102 is not grounded or allowed to rotate relative to the housing, rotation of the sun gear causes the planet gears to spin on their axis but not to orbit the sun gear, so that thecarrier 1108, and thus, thespindle 1104 do not rotate. Therefore, selectively grounding thering gear 1102 acts as a clutch which prevents torque transmission when thering gear 1102 is not grounded, and allows torque transmission when thering gear 1102 is grounded.
  • Thering gear 1102 includes a plurality ofaxial slots 1110 facing theactuator sleeve 1106. Theactuator sleeve 1106 has aring portion 1112, and a plurality oflegs 1114 extending axially from theactuator sleeve 1106 toward thering gear 1102. Eachleg 1114 terminates in atooth 1116 configured to engage one of theslots 1110 in thering gear 1102. The actuator sleeve is rotationally fixed relative to the housing, and is moveable axially between a first position for a first mode of operation (FIG. 13) and a second position for a second mode of operation (FIG. 14). In the first mode of operation (FIG. 13), theteeth 1116 of theactuator 1106 engage theslots 1110 in thering gear 1102, preventing rotation of the ring gear, which allows torque to be transmitted from the transmission to theoutput spindle 1104. In the second mode of operation (FIG. 14), theteeth 1116 of theactuator 1106 do not engage theslots 1110 in thering gear 1102, which allows thering gear 1102 to rotate, thus interrupting torque transmission to theoutput spindle 1104.
  • To facilitate moving the actuation sleeve1106 between the first position and the second position, theactuation sleeve 1106 includes a ring-shapedpermanent magnet 1118 coupled to thering portion 1112 of theactuation sleeve 1106. In addition, received in arear portion 1124 of thetransmission housing 1184 is afirst positioning member 1125 having a firstferromagnetic ring 1126 and a first ring-shapedelectromagnet 1128. Received in thefront portion 1120 of thetransmission housing 1184 is asecond positioning member 1127 having a secondferromagnetic ring 1120 and a second ring-shapedelectromagnet 1122. When theactuation sleeve 1106 is in the first position (FIG. 13) and neitherelectromagnet 1122, 1128 is actuated, theactuation sleeve 1106 tends to stay in the first position due to the attractive force between thering magnet 1118 and the firstferromagnetic ring 1126 being greater than the attractive force between thering magnet 1118 and the second ferromagnetic ring 1120 (due to the closer proximity to the first ferromagnetic ring 1120).
  • To move theactuation sleeve 1106 to the second position (FIG. 14), thefirst electromagnet 1128 can be momentarily energized to create a repulsive force against thering magnet 1118 and/or thesecond electromagnet 1120 can be momentarily energized to generate an attractive force with thering magnet 1118, with the sum of these forces being greater than the attractive force between thering magnet 1118 and the firstferromagnetic ring 1126. Once these forces cause theactuator sleeve 1106 to move to the second position (FIG. 14), theelectromagnets 1122, 1128 can be de-energized, and theactuator sleeve 1106 will remain in the second position due to the attractive force between thering magnet 1118 with the secondferromagnetic ring 1120 being greater than the attractive force between thering magnet 1118 and the first ferromagnetic ring (due to closer proximity to the second ferromagnetic ring 1120).
  • To return theactuation sleeve 1106 to the first position (FIG. 13), thefirst electromagnet 1128 can be momentarily energized to create an attractive force with thering magnet 1118 and/or thesecond electromagnet 1120 can be momentarily energized to generate a repulsive force against thering magnet 1118, with the sum of these forces being greater than the attractive force between thering magnet 1118 and the secondferromagnetic ring 1120. Once these forces cause theactuator sleeve 1106 to move to the first position (FIG. 13), theelectromagnets 1122, 1128 can be de-energized, and theactuator sleeve 1106 will remain in the first position, as discussed above. The transmission housing may also includemechanical stops 1130 and 1132 in front of each of theferromagnetic rings 1120, 1126 to prevent complete contact between thering magnet 1118 and theferromagnetic rings 1120, 1126, in order to require less force to move theactuator sleeve 1106 between the first and second positions.
  • Referring also toFIG. 15, theelectromagnets 1122, 1128 each may be coupled to anelectronics module 1150 that includes a driver circuit 1152 (e.g., an H-bridge circuit) configured to drive theelectromagnets 1122, 1128. Thedriver circuit 1158 may be connected to the output of the control circuit 1188 (e.g., a microprocessor or controller). Thecontrol circuit 1188 may receive an input from atorque setting circuit 1154 that generates a signal corresponding to a desired torque setting. The desired torque setting may be input from a user interface 1148 (e.g., buttons or electronic controls) coupled to the housing. Thecontrol circuit 1188 may also receive an input from atorque sensing circuit 1156 that generates a signal that corresponds to the amount of output torque on the tool. Thetorque sensing circuit 1156 may include one or more of a current sensor, a position sensor, a torque transducer, a force sensor, etc. In one possible embodiment, the torque sensing circuit is similar to the electronic clutch circuit described in the aforementioned commonly ownedU.S. Patent Application No. 13/798,210, filed March 13, 2013, which is incorporated by reference.
  • Thecontrol circuit 1188 may also receive an input from adistance setting circuit 1160. Thedistance setting circuit 1160 that generates a signal corresponding to a desired distance from the workpiece at which the electromagnetic clutch should interrupt torque transmission. The desired distance setting may be input from theuser interface 1148. Thecontrol circuit 1188 also receives an input from adistance sensing circuit 1146 that generates a signal that corresponds to a sensed distance between the tool and the workpiece. The distance sensing circuit is coupled to aproximity sensor system 1140 that includes a optical generator (e.g., an LED, light or laser generator) 1142 and anoptical detector 1144. Based on input from theoptical detector 1144 corresponding to the intensity of light reflected from the workpiece, thedistance sensing circuit 1146 generates a signal that corresponds to the sensed distance from the workpiece. Other optical and non-contact devices may be used to sense distance from a workpiece.
  • The user interface may also enable the user to select between a distance sensing mode of operation and a torque sensing mode of operation. In addition, the control circuit may receive an input signal from aposition sensing circuit 1158, which corresponds the current position of the actuation sleeve 1106 (e.g., via a Hall effect sensor or a membrane potentiometer). The controller processes the torque setting input signal, the torque sensing input signal, the distance setting input signal, the distance sensing input signal, and the position sensing input signal to determine when and in which direction to cause the drive circuit to energize the electromagnets to change the position of theactuation sleeve 1106.
  • Referring toFIG. 16A, in use, atstep 1200, the control circuit first receives a user input of whether to use the distance sensing mode or the torque sensing mode. If the distance sensing mode is selected, the control circuit performs the steps illustrated inFIG. 16B, as described below. If the torque sensing mode is selected, then atstep 1201, the control circuit receives the input signal from the torque setting circuit that corresponds to the desired torque setting. Atstep 1202, the control circuit receives the input signal from the torque sensing circuit that indicates the output torque. Atstep 1204, the control circuit receives the input signal from the position sensing circuit that indicates whether the actuator is in the first position or the second position. Atstep 1206, the control circuit determines whether the sensed torque has exceeded the desired threshold torque, which indicates that torque transmission should be interrupted. If YES, then atstep 1208, the control circuit determines whether the actuator is already in the second position (FIG. 14), in which torque transmission is interrupted. If YES, then control circuit returns to step 1201. If NO, then atstep 1210, the control circuit causes the drive circuit to momentarily drive the electromagnets to move the actuator sleeve from the first position to the second position to interrupt torque transmission. Once the actuator sleeve is in the second position, current need not be delivered to the electromagnets to keep the actuator sleeve in the second position, as the attractive force between the permanent magnet ring and the second ferromagnetic ring will do this. By requiring only a momentary burst of current, this saves energy and drain on a battery (if a cordless tool).
  • If, atstep 1206, the control circuit determines that the sensed torque does not exceed the torque setting, this indicates that torque transmission should be permitted. Next, atstep 1212, the control circuit determines whether the actuator is already in the first position (FIG. 13), in which torque transmission is permitted. If YES, then control circuit returns to step 1201. If NO, then, atstep 1214, the control circuit causes the drive circuit to momentarily drive the electromagnets to move the actuator sleeve away from the second position to the first position to allow torque transmission. Once the actuator sleeve is in the first position, current need not be delivered to the electromagnets to keep the sleeve in the first position, as the attractive force between the permanent ring magnet and the first ferromagnetic ring will keep the sleeve in the first position. By requiring only a momentary burst of current, this saves energy and drain on a battery (if a cordless tool).
  • Referring toFIG. 16B, if, atstep 1200 inFIG. 16A, the distance sensing mode is selected, then atstep 1301, the control circuit receives the input signal from the distance setting circuit that corresponds to the desired distance setting for when to interrupt torque transmission. Atstep 1302, the control circuit receives the input signal from the distance sensing circuit that indicates the sensed distance of the tool holder from the workpiece. Atstep 1304, the control circuit receives the input signal from the position sensing circuit that indicates whether the actuator sleeve is in the first position or the second position. Atstep 1306, the control circuit determines whether the sensed distance is less than the desired threshold distance, which indicates that torque transmission should be interrupted. If YES, then atstep 1308, the control circuit determines whether the actuator is already in the second position (FIG. 14), in which torque transmission is interrupted. If YES, then control circuit returns to step 1301. If NO, then atstep 1310, the control circuit causes the drive circuit to momentarily drive the electromagnets to move the actuator sleeve from the first position to the second position to interrupt torque transmission. Once the actuator sleeve is in the second position, current need not be delivered to the electromagnets to keep the actuator sleeve in the second position, as the attractive force permanent magnet ring and the second ferromagnetic ring will do this. By requiring only a momentary burst of current, this saves energy and drain on a battery (if a cordless tool).
  • If, atstep 1306, the control circuit determines that the sensed distance is not less than the distance setting, this indicates that torque transmission should be permitted. Next, atstep 1312, the control circuit determines whether the actuator is already in the first position (FIG. 13), in which torque transmission is permitted. If YES, then control circuit returns to step 1301. If NO, then, atstep 1314, the control circuit causes the drive circuit to momentarily drive the electromagnets to move the actuator sleeve away from the second position to the first position to allow torque transmission. Once the actuator sleeve is in the first position, current need not be delivered to the electromagnets to keep the sleeve in the first position, as the attractive force between the permanent ring magnet and the first ferromagnetic ring will keep the sleeve in the first position. By requiring only a momentary burst of current, this saves energy and drain on a battery (if a cordless tool).
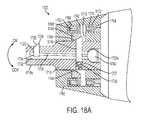
  • Referring toFIGS. 17-20, in another embodiment, a power tool such as animpact wrench 1710 includes an electromagnetic mode change mechanism in the form of an electromagneticallyactuatable socket holder 1720. Theimpact wrench 1710 includes ahousing 1712 having ahandle 1714, atrigger mechanism 1716 for activating theimpact wrench 1710, and acover 1760 at a front of thehousing 1712. Abase 1715 of thehandle 1714 is adapted to receive a battery pack (not shown) for use as a cordless impact wrench. It should be understood that the present disclosure can also be applied to pneumatic, hydraulic and corded electrical impact wrench devices. The impact wrench includes amotor 1711 disposed within thehousing 1712 that drives a transmission andimpact mechanism 1713, which in turn drives ananvil 1718 extending from the front end of thehousing 1712, as is generally known in the art, and as described in the aforementionedU.S. Patent Application No. 13/494,325. Theanvil 1718 includes asquare socket drive 1718a that is designed to drive a socket wrench (not shown).
  • The mode change mechanism in the form of the electromagnetically actuatablesocket holder 1720 is configured to selectively retain a socket wrench on thesquare drive 1718a. Thesocket holder 1720 includes a radially extending andretractable retainer pin 1724 configured to engage the socket wrench when it is coupled to thesquare socket drive 1718a. Theretainer pin 1724 is received in aradial aperture 1723 in a distal end of thesquare socket drive 1718a. Alever pin 1730 is received in anaxially extending bore 1732 provided in theanvil 1718. Thelever pin 1730 has a rear end portion with a partiallyspherical pivot end 1750 received in a concave partiallyconical bore portion 1732a of thebore 1732. Thelever pin 1730 also has a front end portion that engages atransverse aperture 1734 provided in theretention pin 1724. In addition, thelever pin 1730 has a mid portion that engages a transverse aperture in anactuator pin 1748. Theactuator pin 1748 is received in atransverse bore 1727 in a proximal portion of theanvil 1718. Theactuator pin 1748 is biased to a radially outward direction by aspring 1726 that is received in thetransverse bore 1727.
  • Disposed inside of thecover 1760 is an actuator in the form of an axiallymoveable cam ring 1740, a first positioning member in the form of an axiallystationary forward ring 1762, and a second positioning member in the form of an axially stationaryrearward ring 1764. Thecam ring 1740 has aninner cam surface 1746 disposed against anouter cam surface 1744 of theactuator pin 1748. The cam ring is moveable between a forward position for a first mode of operation (FIG. 18A) and a rearward position for a second mode of operation (FIG. 18B). Theforward ring 1762 includes a forwardelectromagnetic coil 1766 disposed in a first annular ferromagnetic (e.g., steel)cup 1768. Therearward ring 1764 includes a rearwardelectromagnetic coil 1770 disposed in a second annular ferromagnetic (e.g., steel)cup 1772. Thecam ring 1740 is disposed between the forward andrearward rings 1762, 1764 and includes an integralpermanent magnet ring 1742.
  • The forward and rearwardelectromagnetic coils 1766, 1770 may be selectively energized to move thecam ring 1740 between its forward or rearward position. To move thecam ring 1740 to its rearward position (FIG. 18B), thefront electromagnet 1766 can be momentarily energized to create a repulsive force against thering magnet 1742 and/or therear electromagnet 1770 can be momentarily energized to generate an attractive force with thering magnet 1742, with the sum of these forces being greater than the attractive force between thering magnet 1742 and the firstferromagnetic cup 1768. Once these forces cause thecam ring 1742 to move to the rearward position (FIG. 18B), theelectromagnets 1766, 1770 can be de-energized, and thecam ring 1742 will remain in the rearward position due to the attractive force between thering magnet 1742 with the secondferromagnetic cup 1772 being greater than the attractive force between thering magnet 1742 and the first ferromagnetic cup 1768 (due to closer proximity to the second ferromagnetic cup 1772).
  • To return thecam ring 1740 to the first position (FIG. 18A), theforward electromagnet 1766 can be momentarily energized to create an attractive force with thering magnet 1742 and/or therearward electromagnet 1770 can be momentarily energized to generate a repulsive force against thering magnet 1742, with the sum of these forces being greater than the attractive force between thering magnet 1742 and the rearwardferromagnetic cup 1772. Once these forces cause thecam ring 1742 to move to the first position (FIG. 18A), theelectromagnets 1766, 1770 can be de-energized, and thecam ring 1740 will remain in the forward position due to the attractive force between thering magnet 1742 and the firstferromagnetic cup 1768 being greater than the attractive force between thering magnet 1742 and the second ferromagnetic cup 1772 (due to the closer proximity to the first ferromagnetic cup 1768).
  • Once in the forward or rearward positions thepermanent magnet 1742 is attracted to the firstannular cup 1768 if in the forward position, or the secondannular cup 1772 if in the second position. Thus only a pulse of energy is required to change the position of thecam ring 1740 and thus the mode of operation. Continuous power is not required to hold the cam ring in either the forward or rearward position and this is advantageous for energy conservation on a cordless tool. Further, it should be understood that the electromagneticallyactuatable socket holder 1720 can be operated using a single coil and a spring for biasing the cam ring away from the coil during a non-activated state. Thecover 1760 may also include mechanical stops (not shown) between each of theferromagnetic cups 1768, 1772 and thering magnet 1742 to prevent complete contact between thering magnet 1742 and theferromagnetic cups 1768, 1768, in order to require less force to move thecam ring 1740 between the forward and rearward positions.
  • When the electromagnets cause thecam ring 1746 to move to its rearward position in the second mode of operation (FIG. 18B), thecam surface 1746 of thecam ring 1724 engages thecam surface 1744 of theactuator pin 1748, causing theactuator pin 1748 to move downward in thebore 1727 in theanvil 1718 against the biasing force of thespring 1726. As theactuator pin 1748 is moved downward, thelever pin 1732 pivots in a counter clockwise direction CCW aboutpivot end 1750, causing theretainer pin 1724 to be moved radially inward to a retracted or release position. Once theretainer pin 1724 is in the release position, the socket wrench can be removed from thesquare socket drive 1718a. Whencam ring 1724 moves to its forward axial position in the first mode of operation (FIG. 18A), thespring 1726 causes theactuator pin 1748 to move upward. causing thelever pin 1730 to rotate in a clockwise direction CW so that theretainer pin 1724 extends in an engaged position.
  • The first and secondelectromagnetic coils 1766, 1770 can be electrically connected to the tool battery or an alternative power source such as an A/C power source by a control circuit, such as one of the control circuits described above. A user-actuatable switch for controlling movement of thecam ring 1740 by the electromagnets can be placed at one or more of multiple different locations on thepower tool 1710, as indicated by the X's inFIG. 17. Thus, the socket release mechanism can be controlled from virtually any location on the tool. It should be understood that this type of electromechanical socket release mechanism can be used with any of the other disclosed embodiments for a socket release mechanism described inU.S. Patent Application No. 13/494,325.
  • Numerous other modifications may be made to the exemplary implementations described above. For example, any of the above-described combinations of permanent magnet and electromagnetic assemblies may be exchanged from any of the other combinations. The above-described electromagnetic assemblies for moving actuators can be used for any other applications or designs of power tools that require movement of actuators among two or more positions. These and other implementations are within the scope of the following claims.

Claims (15)

  1. A power tool, comprising:
    a housing including a handle;
    a rotating shaft supported by said housing;
    a socket retention device coupled to said rotating shaft for securing a socket to said rotating shaft; and
    a socket release mechanism including an actuator mounted to said housing and operable to disengage said socket retention device from said socket to allow said socket to be removed from said rotating shaft.
  2. The power tool according to claim 1, wherein said socket retention device includes a movable retainer projection disposed in a head of said rotating shaft transverse to an axis of the rotating shaft, and said socket release mechanism includes a lever engaging said retainer projection and operable by said actuator to move said retainer projection out of engagement with said socket.
  3. The power tool according to claim 2, wherein said lever comprises a flexible portion.
  4. The power tool according to one of claims 2 and 3, wherein said socket release mechanism includes an actuator pin engaging said lever and movable by activation of said actuator.
  5. The power tool according to claim 4, wherein said socket release mechanism includes a cam actuator operable for engaging said actuator pin.
  6. The power tool according to claim 1, wherein said socket release mechanism comprises a force transmission assembly that transfers force from the actuator to the socket retention device, the socket retention device and the force transmission assembly being disposed substantially inside of the rotating shaft, and the actuator being disposed substantially outside of the rotating shaft.
  7. The power tool according to one of claims 1-6, wherein said actuator includes a movable switch mounted to said housing.
  8. The power tool according to claim 7, wherein said movable switch is movable in a direction parallel to, radial to, or circumferential to an axis of rotation of said rotatable shaft by a user to engage said socket release mechanism to disengage said socket retention device from said socket.
  9. The power tool according to claim 7, wherein said movable switch comprises one of a movable lever, a push button, a sliding switch, and a movable collar.
  10. The power tool according to claim 2, wherein said lever includes a semi spherical pivot received in a semi spherical cavity in said rotating shaft.
  11. The power tool according to claim 2, wherein said lever includes an actuating pin received thereon and extending through a transverse bore in said rotating shaft.
  12. The power tool according to claim 1, wherein said socket release mechanism includes a cam pin axially slidable in an axially extending opening in said rotating shaft.
  13. The power tool according to claim 16, wherein said cam pin is biased in an axial direction by a spring, and said anvil includes an elongated slot in communication with said axially extending opening and a cross pin is received in said slot and engages said cam pin wherein movement of said cross pin in said slot causes said cam pin to allow said socket retention device to move from an engaged position to a disengaged position.
  14. The power tool according to claim 1, wherein said socket retention device includes a pin or a ball extending through a window opening in a side of said polygonal head.
  15. The power tool according to any of the foregoing claims, wherein the power tool comprises an impact wrench.
EP14158587.7A2013-03-132014-03-10Socket retention deviceWithdrawnEP2777883A1 (en)

Priority Applications (1)

Application NumberPriority DateFiling DateTitle
EP16160612.4AEP3056314B1 (en)2013-03-132014-03-10Electromagnetic mode change mechanism for power tool

Applications Claiming Priority (1)

Application NumberPriority DateFiling DateTitle
US13/799,177US20130192860A1 (en)2011-06-242013-03-13Electromagnetic mode change mechanism for power tool

Related Child Applications (1)

Application NumberTitlePriority DateFiling Date
EP16160612.4ADivisionEP3056314B1 (en)2013-03-132014-03-10Electromagnetic mode change mechanism for power tool

Publications (1)

Publication NumberPublication Date
EP2777883A1true EP2777883A1 (en)2014-09-17

Family

ID=50239464

Family Applications (2)

Application NumberTitlePriority DateFiling Date
EP14158587.7AWithdrawnEP2777883A1 (en)2013-03-132014-03-10Socket retention device
EP16160612.4AActiveEP3056314B1 (en)2013-03-132014-03-10Electromagnetic mode change mechanism for power tool

Family Applications After (1)

Application NumberTitlePriority DateFiling Date
EP16160612.4AActiveEP3056314B1 (en)2013-03-132014-03-10Electromagnetic mode change mechanism for power tool

Country Status (1)

CountryLink
EP (2)EP2777883A1 (en)

Cited By (3)

* Cited by examiner, † Cited by third party
Publication numberPriority datePublication dateAssigneeTitle
WO2019137578A1 (en)*2018-01-122019-07-18STAHLWILLE Eduard Wille GmbH & Co. KGTorque tool
CN112220575A (en)*2020-11-112021-01-15慈溪赛嘉电子有限公司Electric toothbrush and driving mechanism thereof
US11618138B2 (en)2018-01-122023-04-04STAHLWILLE Eduard Wille GmbH & Co. KGRelease mechanism for a torque tool

Families Citing this family (2)

* Cited by examiner, † Cited by third party
Publication numberPriority datePublication dateAssigneeTitle
US11097404B2 (en)2016-11-112021-08-24Zimmer Biomet Spine, Inc.Tool torque limiter
DE102022002785A1 (en)*2022-07-282024-02-08Hochschule für Angewandte Wissenschaften Hamburg Körperschaft des Öffentlichen Rechts Screw assembly tool with magnetic sensor array for torsion measurement

Citations (7)

* Cited by examiner, † Cited by third party
Publication numberPriority datePublication dateAssigneeTitle
US7452304B2 (en)2001-01-232008-11-18Black & Decker Inc.Multispeed power tool transmission
US7717192B2 (en)2007-11-212010-05-18Black & Decker Inc.Multi-mode drill with mode collar
US7750778B2 (en)2008-04-042010-07-06Cedar Ridge Research, LlcSystem and method for attachment of objects
US20110152029A1 (en)2009-12-232011-06-23Scott RudolphHybrid impact tool with two-speed transmission
US20120074658A1 (en)2009-05-052012-03-29Black & Decker Inc.Power Tool with Integrated Bit Retention Device
EP2537639A1 (en)*2011-06-242012-12-26Black & Decker Inc.Quick release socket attachment for impact wrench
US8347750B2 (en)2007-09-112013-01-08Black & Decker Inc.Transmission and variable radially expanding spring clutch assembly

Family Cites Families (3)

* Cited by examiner, † Cited by third party
Publication numberPriority datePublication dateAssigneeTitle
GB332379A (en)*1929-06-281930-07-24Edwin Lewis ConnellScrew-stud setting machines
GB701630A (en)*1951-07-171953-12-30Dillon StevensGang apparatus for tightening a plurality of threaded fastening elements
DE3202420C2 (en)*1982-01-261990-03-29Deutsche Gardner-Denver GmbH, 7084 Westhausen Screwdriver

Patent Citations (8)

* Cited by examiner, † Cited by third party
Publication numberPriority datePublication dateAssigneeTitle
US7452304B2 (en)2001-01-232008-11-18Black & Decker Inc.Multispeed power tool transmission
US8347750B2 (en)2007-09-112013-01-08Black & Decker Inc.Transmission and variable radially expanding spring clutch assembly
US7717192B2 (en)2007-11-212010-05-18Black & Decker Inc.Multi-mode drill with mode collar
US7750778B2 (en)2008-04-042010-07-06Cedar Ridge Research, LlcSystem and method for attachment of objects
US20120074658A1 (en)2009-05-052012-03-29Black & Decker Inc.Power Tool with Integrated Bit Retention Device
US20110152029A1 (en)2009-12-232011-06-23Scott RudolphHybrid impact tool with two-speed transmission
EP2537639A1 (en)*2011-06-242012-12-26Black & Decker Inc.Quick release socket attachment for impact wrench
US20120325509A1 (en)2011-06-242012-12-27Black & Decker Inc.Quick Release Socket Attachment For Impact Wrench

Cited By (6)

* Cited by examiner, † Cited by third party
Publication numberPriority datePublication dateAssigneeTitle
WO2019137578A1 (en)*2018-01-122019-07-18STAHLWILLE Eduard Wille GmbH & Co. KGTorque tool
JP2021510124A (en)*2018-01-122021-04-15シュタールヴィレ エドゥアルド ヴィレ ゲゼルシャフト ミット ベシュレンクテル ハフツング ウント コンパニー コマンディートゲゼルシャフトSTAHLWILLE Eduard Wille GmbH & Co. KG Torque tool
US11518010B2 (en)2018-01-122022-12-06STAHLWILLE Eduard Wille GmbH & Co. KGTorque tool
TWI791702B (en)*2018-01-122023-02-11德商達威力愛德威利有限兩合公司Torque tool
US11618138B2 (en)2018-01-122023-04-04STAHLWILLE Eduard Wille GmbH & Co. KGRelease mechanism for a torque tool
CN112220575A (en)*2020-11-112021-01-15慈溪赛嘉电子有限公司Electric toothbrush and driving mechanism thereof

Also Published As

Publication numberPublication date
EP3056314B1 (en)2021-05-05
EP3056314A1 (en)2016-08-17

Similar Documents

PublicationPublication DateTitle
US12365076B2 (en)Electromagnetic actuator for power tool
EP3056314B1 (en)Electromagnetic mode change mechanism for power tool
CN210307664U (en)Rotary power tool
EP2248633B1 (en)Power Tool with Integrated Bit Retention Device
US9364942B2 (en)Quick release socket attachment for impact wrench
US5711739A (en)Planetary gear transmission system
US8763722B2 (en)Power tool having clutch device
CN101189094B (en) Power drives and electronic clutches for power drives
EP1762343A2 (en)Impact rotary tool with drill mode
JP2004291138A (en)Magnetic impact tool
CN109070725A (en)Utilize the transmission system actuator of the mobile actuator output link of the energy of storage
CA2619977A1 (en)Power tool
WO2013089795A1 (en)Rotary hammer
JP4897998B2 (en) Power nutrunner
CN109695637A (en)Electric tool including electromagnetic clutch
US20240208024A1 (en)Power tool
EP3034243B1 (en)Rotary hammer
CN103659748B (en) electrical tools
JP2011047465A (en)Automatic gear shifting device for rotary power tool
CN102126034B (en)Electric tool
CN201664773U (en)Electric tool
JP5379606B2 (en) Automatic transmission for rotary electric tools
CA3061692A1 (en)Electromechanical gear selection device comprising a stepping motor
EP2883661B1 (en)Rotary hammer
US20250319582A1 (en)Quick release socket attachment for power tool

Legal Events

DateCodeTitleDescription
17PRequest for examination filed

Effective date:20140310

AKDesignated contracting states

Kind code of ref document:A1

Designated state(s):AL AT BE BG CH CY CZ DE DK EE ES FI FR GB GR HR HU IE IS IT LI LT LU LV MC MK MT NL NO PL PT RO RS SE SI SK SM TR

AXRequest for extension of the european patent

Extension state:BA ME

PUAIPublic reference made under article 153(3) epc to a published international application that has entered the european phase

Free format text:ORIGINAL CODE: 0009012

R17PRequest for examination filed (corrected)

Effective date:20150204

RBVDesignated contracting states (corrected)

Designated state(s):AL AT BE BG CH CY CZ DE DK EE ES FI FR GB GR HR HU IE IS IT LI LT LU LV MC MK MT NL NO PL PT RO RS SE SI SK SM TR

17QFirst examination report despatched

Effective date:20151216

STAAInformation on the status of an ep patent application or granted ep patent

Free format text:STATUS: THE APPLICATION IS DEEMED TO BE WITHDRAWN

18DApplication deemed to be withdrawn

Effective date:20160628


[8]ページ先頭

©2009-2025 Movatter.jp