Movatterモバイル変換


[0]ホーム

URL:


EP2562462A3 - Holding device for a mobile multimedia terminal - Google Patents

Holding device for a mobile multimedia terminal
Download PDF

Info

Publication number
EP2562462A3
EP2562462A3EP12192433AEP12192433AEP2562462A3EP 2562462 A3EP2562462 A3EP 2562462A3EP 12192433 AEP12192433 AEP 12192433AEP 12192433 AEP12192433 AEP 12192433AEP 2562462 A3EP2562462 A3EP 2562462A3
Authority
EP
European Patent Office
Prior art keywords
multimedia terminal
holding
support arm
arm
headgear
Prior art date
Legal status (The legal status is an assumption and is not a legal conclusion. Google has not performed a legal analysis and makes no representation as to the accuracy of the status listed.)
Withdrawn
Application number
EP12192433A
Other languages
German (de)
French (fr)
Other versions
EP2562462A2 (en
Inventor
Dirk Keune
Current Assignee (The listed assignees may be inaccurate. Google has not performed a legal analysis and makes no representation or warranty as to the accuracy of the list.)
Headflat GmbH
Original Assignee
Headflat GmbH
Priority date (The priority date is an assumption and is not a legal conclusion. Google has not performed a legal analysis and makes no representation as to the accuracy of the date listed.)
Filing date
Publication date
Application filed by Headflat GmbHfiledCriticalHeadflat GmbH
Publication of EP2562462A2publicationCriticalpatent/EP2562462A2/en
Publication of EP2562462A3publicationCriticalpatent/EP2562462A3/en
Withdrawnlegal-statusCriticalCurrent

Links

Classifications

Landscapes

Abstract

Translated fromGerman

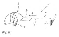
Vorgeschlagen wird eine Haltevorrichtung (1) für ein mobiles Multimedia-Endgerät (2), wie Pocket-PC, Smartphone oder dergleichen, aufweisend:
- wenigstens einen Haltearm (4);
- an einem ersten Ende des Haltearms angeordnete Befestigungsmittel (5), die zum Befestigen des Haltearms an einer Kopfbedeckung (3), vorzugsweise einer handelsüblichen Schirmmütze oder einem handelsüblichen Stirnband mit Sonnenschufz-Schild (3a), ausgebildet sind, so dass sich der Haltearm von der Kopfbedeckung aus in Blickrichtung eines Benutzers nach vorne erstreckt;
- an dem anderen, zweiten Ende des Haltearms angeordnete Aufnahme- und Haltemittel (6) für das Multimedia-Endgerät;
bei der die Aufnahme- und Haltemittel für das Multimedia-Endgerät derart relativ zu dem Haltearm angeordnet oder einstellbar sind, dass sich zumindest die graphische Anzeigeeinrichtung (2a) eines darin aufgenommenen Multimedia-Endgeräts nach Befestigung des Haltearms an der Kopfbedeckung im Wesentlichen mittig im Gesichtsfeld eines Benutzers befindet.

Figure imgaf001
Proposed is a holding device (1) for a mobile multimedia terminal (2), such as pocket PC, smartphone or the like, comprising:
- At least one holding arm (4);
- Attachment means (5) arranged at a first end of the support arm, which are designed for attaching the support arm to a headgear (3), preferably a commercial visor cap or a commercial headband with Sonnenschufz shield (3a), so that the support arm of the headgear extends forward in the direction of a user;
- At the other, second end of the support arm arranged receiving and holding means (6) for the multimedia terminal;
in which the receiving and holding means for the multimedia terminal are arranged or adjustable relative to the holding arm such that at least the graphic display device (2a) of a multimedia terminal accommodated therein after attachment of the holding arm to the headgear substantially centrally in the field of view of a User is located.
Figure imgaf001

EP12192433A2009-07-062009-07-07Holding device for a mobile multimedia terminalWithdrawnEP2562462A3 (en)

Applications Claiming Priority (2)

Application NumberPriority DateFiling DateTitle
US22311509P2009-07-062009-07-06
EP09008836AEP2103862B1 (en)2009-07-062009-07-07Holding device for a mobile multimedia terminal

Related Parent Applications (1)

Application NumberTitlePriority DateFiling Date
EP09008836.0Division2009-07-07

Publications (2)

Publication NumberPublication Date
EP2562462A2 EP2562462A2 (en)2013-02-27
EP2562462A3true EP2562462A3 (en)2013-03-06

Family

ID=40902682

Family Applications (2)

Application NumberTitlePriority DateFiling Date
EP09008836ANot-in-forceEP2103862B1 (en)2009-07-062009-07-07Holding device for a mobile multimedia terminal
EP12192433AWithdrawnEP2562462A3 (en)2009-07-062009-07-07Holding device for a mobile multimedia terminal

Family Applications Before (1)

Application NumberTitlePriority DateFiling Date
EP09008836ANot-in-forceEP2103862B1 (en)2009-07-062009-07-07Holding device for a mobile multimedia terminal

Country Status (4)

CountryLink
US (1)US20120175394A1 (en)
EP (2)EP2103862B1 (en)
DE (2)DE202009009326U1 (en)
WO (1)WO2011003562A1 (en)

Families Citing this family (20)

* Cited by examiner, † Cited by third party
Publication numberPriority datePublication dateAssigneeTitle
ITMI20111525A1 (en)*2011-08-102013-02-11Marco Orbassano DEVICE AND METHOD FOR THE VIDEO RECOVERY OF A SUBJECT
DE202013000740U1 (en)2013-01-252013-02-18Headflat Gmbh Universal holding device for a mobile multimedia terminal
WO2014140125A2 (en)2013-03-122014-09-18Dirk KeuneNew uses of smartphones and comparable mobile digital terminal devices
CN103345064B (en)*2013-07-162015-08-26深圳市智帽科技开发有限公司The 3D recognition methods of the cap that a kind of integrated 3D identifies and cap
CN103490334A (en)*2013-08-302014-01-01国网河南省电力公司信阳供电公司Auxiliary tool for single-person night electric power operation
US9362971B2 (en)*2013-09-152016-06-07Ramak RadmardMethod and apparatus for protection, mounting, and accessorizing of digital devices
DE202014106178U1 (en)2014-12-192016-03-27Headflat Gmbh Three-part holding arm
USD765646S1 (en)2015-02-042016-09-06E. Mishan & Sons, Inc.Smart phone holder for air vent
US10350484B2 (en)2015-04-172019-07-16Lucille A. LucyLearning game platform, system and method for an electronic device
US10143254B2 (en)2015-05-132018-12-04Under Armour, Inc.Headwear with pass-through slots
DE102015225566B4 (en)*2015-12-172023-11-23Volkswagen Aktiengesellschaft Signaling device for indicating the status of a vehicle
CN105791490A (en)*2016-03-162016-07-20北京小米移动软件有限公司 Mobile phone headband live broadcast bracket
DE102016208095A1 (en)2016-05-112017-11-16Bayerische Motoren Werke Aktiengesellschaft Means of transport, arrangement and method for the entertainment of a user of a means of transportation
CN107436621A (en)*2016-05-262017-12-05富泰华工业(深圳)有限公司A kind of support platform
DE202017101642U1 (en)2017-03-212017-08-22Readio Gmbh Application software for a mobile, digital terminal
USD868783S1 (en)2018-02-052019-12-03Steven D. HoffartHands-free device for viewing a smart phone
CA3116219A1 (en)2018-10-152020-04-23North Rim Investment Group Ltd.Supports and securements for cameras, lighting and other equipment, and novel couplers and accessories for same
US11036290B1 (en)*2018-11-132021-06-15Facebook Technologies, LlcPupil steering: flexure guidance systems
US10946809B1 (en)*2019-07-232021-03-16Charles HambySupport for electronic devices with an attachment to child seats
US11899345B1 (en)2023-07-212024-02-13Robert SabinAnti-glare apparatus and protector against inclement weather, wearable camera for action cameras and other photographic devices

Citations (5)

* Cited by examiner, † Cited by third party
Publication numberPriority datePublication dateAssigneeTitle
US6247205B1 (en)*1999-02-172001-06-19Jevan A. DamadianApparatus to enable hands-free use of a long-distance magnifying device
US6392798B1 (en)*2000-03-222002-05-21Hevec, L.L.C.Apparatus for holding viewing devices at eye level
US20020120979A1 (en)*2001-01-052002-09-05Prendergast Jonathan R.Helmet mount for night vision device
US20040008157A1 (en)*2002-06-262004-01-15Brubaker Curtis M.Cap-mounted monocular video/audio display
US20090060473A1 (en)*2007-09-052009-03-05Kohte Hans HPortable Video Media Device Holder

Family Cites Families (10)

* Cited by examiner, † Cited by third party
Publication numberPriority datePublication dateAssigneeTitle
US1024506A (en)*1911-06-241912-04-30William J PayneCombination of reflecting means for enabling one to see the back of the head or neck.
DE4305240A1 (en)*1993-02-201994-08-25Martin MitzelMounting device for cameras
US5979724A (en)*1998-09-011999-11-09Command Audio CorporationAutomobile universal dashboard mounting apparatus
US6595635B2 (en)*2001-10-122003-07-22Mageyes, Inc.Apparatus for positioning a magnifying lens
US7369174B2 (en)*2001-12-272008-05-06Sage Technologies Ltd.Helmet-mounted thermal imaging system
US6634031B1 (en)*2002-06-172003-10-21Thomas P. SchlapkohlCap mounted light
US20040078870A1 (en)*2002-10-292004-04-29Jones Herbert R.Cap-attachable peripheral-viewing mirrors assembly
US20090072106A1 (en)*2007-09-042009-03-19Edward ZhengUniversal mount
US20090120980A1 (en)*2007-11-092009-05-14Mitchell Vicera CalayoAccessory Case for Handheld Electronic Device
US8882281B2 (en)*2008-11-172014-11-11Neuwaukum Industries Inc.Peripheral vision safety system and device

Patent Citations (5)

* Cited by examiner, † Cited by third party
Publication numberPriority datePublication dateAssigneeTitle
US6247205B1 (en)*1999-02-172001-06-19Jevan A. DamadianApparatus to enable hands-free use of a long-distance magnifying device
US6392798B1 (en)*2000-03-222002-05-21Hevec, L.L.C.Apparatus for holding viewing devices at eye level
US20020120979A1 (en)*2001-01-052002-09-05Prendergast Jonathan R.Helmet mount for night vision device
US20040008157A1 (en)*2002-06-262004-01-15Brubaker Curtis M.Cap-mounted monocular video/audio display
US20090060473A1 (en)*2007-09-052009-03-05Kohte Hans HPortable Video Media Device Holder

Also Published As

Publication numberPublication date
EP2103862A3 (en)2010-08-04
WO2011003562A1 (en)2011-01-13
DE202010009960U1 (en)2010-10-14
US20120175394A1 (en)2012-07-12
DE202009009326U1 (en)2009-11-12
EP2562462A2 (en)2013-02-27
EP2103862A2 (en)2009-09-23
EP2103862B1 (en)2012-11-14

Similar Documents

PublicationPublication DateTitle
EP2562462A3 (en)Holding device for a mobile multimedia terminal
DE102013013703B4 (en) Equipment carrier console for hand-held bicycle-mounted cell phones and similar devices
EP1967119A3 (en)Cleaning tool
EP2216485A3 (en)Cord tensioning device and curtain assembly with same
EP2075889A3 (en)Electric installation device
EP2439779A3 (en)Transparent Electrode Comprising Doped Graphene, Process of Preparing the Same, and Display Device and Solar Cell Comprising the Electrode
EP2911030A3 (en)Portable terminal
EP2112419A3 (en)Display screen turning apparatus
EP2854341A3 (en)Techniques for providing visualization and analysis of performance data
FR2994144B1 (en) CONNECTION DEVICE BETWEEN A WIPER ARM AND A WIPER, COMPRISING A OVERMOLD TUBE
EP3098478A3 (en)Axle assembly having a dam module
EP3068200A3 (en)Slide rail assembly
EP2422616A3 (en)Broccoli type having curds with detached florets
EP2623920A3 (en)Mounting assembly
EP2028018A2 (en)Device with a data storage device and a carrier
EP3189995A3 (en)Slide-on-rod assembly for a vehicle sun visor
EP2735294A8 (en)Medical device and medical device system
CN105634389B (en)photovoltaic module unit and photovoltaic ecological greenhouse
EP2854244A3 (en)Cable stripper
CN204790712U (en)Novel computer display
EP2284455A3 (en)Tracking device
CN204123356U (en)A kind of wiper arm extracting tool
EP2336450A3 (en)Sun protection and use of a sun protection
CN202498475U (en)Adjustable clamp
CN203026087U (en)Scroll suspension fixing device

Legal Events

DateCodeTitleDescription
PUALSearch report despatched

Free format text:ORIGINAL CODE: 0009013

PUAIPublic reference made under article 153(3) epc to a published international application that has entered the european phase

Free format text:ORIGINAL CODE: 0009012

ACDivisional application: reference to earlier application

Ref document number:2103862

Country of ref document:EP

Kind code of ref document:P

AKDesignated contracting states

Kind code of ref document:A2

Designated state(s):AT BE BG CH CY CZ DE DK EE ES FI FR GB GR HR HU IE IS IT LI LT LU LV MC MK MT NL NO PL PT RO SE SI SK SM TR

AKDesignated contracting states

Kind code of ref document:A3

Designated state(s):AT BE BG CH CY CZ DE DK EE ES FI FR GB GR HR HU IE IS IT LI LT LU LV MC MK MT NL NO PL PT RO SE SI SK SM TR

RIC1Information provided on ipc code assigned before grant

Ipc:F16M 11/14 20060101ALI20130131BHEP

Ipc:F16M 11/04 20060101ALI20130131BHEP

Ipc:F16M 13/04 20060101AFI20130131BHEP

Ipc:G02B 27/01 20060101ALI20130131BHEP

STAAInformation on the status of an ep patent application or granted ep patent

Free format text:STATUS: THE APPLICATION IS DEEMED TO BE WITHDRAWN

18DApplication deemed to be withdrawn

Effective date:20130907


[8]ページ先頭

©2009-2025 Movatter.jp