Movatterモバイル変換


[0]ホーム

URL:


EP2523578B1 - Powered rocker and glider recliner linkage mechanisms - Google Patents

Powered rocker and glider recliner linkage mechanisms
Download PDF

Info

Publication number
EP2523578B1
EP2523578B1EP11733214.8AEP11733214AEP2523578B1EP 2523578 B1EP2523578 B1EP 2523578B1EP 11733214 AEP11733214 AEP 11733214AEP 2523578 B1EP2523578 B1EP 2523578B1
Authority
EP
European Patent Office
Prior art keywords
link
seat
motor
rocker
pivot
Prior art date
Legal status (The legal status is an assumption and is not a legal conclusion. Google has not performed a legal analysis and makes no representation as to the accuracy of the status listed.)
Not-in-force
Application number
EP11733214.8A
Other languages
German (de)
French (fr)
Other versions
EP2523578A1 (en
EP2523578A4 (en
Inventor
Gregory Mark Lawson
Current Assignee (The listed assignees may be inaccurate. Google has not performed a legal analysis and makes no representation or warranty as to the accuracy of the list.)
L&P Property Management Co
Original Assignee
L&P Property Management Co
Priority date (The priority date is an assumption and is not a legal conclusion. Google has not performed a legal analysis and makes no representation as to the accuracy of the date listed.)
Filing date
Publication date
Family has litigation
First worldwide family litigation filedlitigationCriticalhttps://patents.darts-ip.com/?family=44293052&utm_source=google_patent&utm_medium=platform_link&utm_campaign=public_patent_search&patent=EP2523578(B1)"Global patent litigation dataset” by Darts-ip is licensed under a Creative Commons Attribution 4.0 International License.
Priority claimed from US12/870,498external-prioritypatent/US8398168B2/en
Priority claimed from US12/981,176external-prioritypatent/US8398165B2/en
Application filed by L&P Property Management CofiledCriticalL&P Property Management Co
Priority to EP14197648.0ApriorityCriticalpatent/EP2878229B1/en
Publication of EP2523578A1publicationCriticalpatent/EP2523578A1/en
Publication of EP2523578A4publicationCriticalpatent/EP2523578A4/en
Application grantedgrantedCritical
Publication of EP2523578B1publicationCriticalpatent/EP2523578B1/en
Not-in-forcelegal-statusCriticalCurrent
Anticipated expirationlegal-statusCritical

Links

Images

Classifications

Definitions

Landscapes

Description

    BACKGROUND OF THE INVENTION
  • The present invention relates broadly to motion upholstery furniture designed to support a user's body in an essentially seated disposition. Motion upholstery furniture includes recliners, incliners, sofas, love seats, sectionals, theater seating, traditional chairs, and chairs with a moveable seat portion, such furniture pieces being referred to herein generally as "seating units." More particularly, the present invention relates to seating units having a chassis, a seat, a backrest and at least one foot-support ottoman.
  • Reclining seating units exist that allow a user to forwardly extend a footrest or ottoman and to recline a backrest relative to a seat. These existing seating units typically provide three basic positions: a standard, non-reclined closed position; an extended position; and a reclined position. In the closed position, the seat resides in a generally horizontal orientation and the backrest is disposed substantially upright. Additionally, if the seating unit includes an ottoman attached with a mechanical arrangement, the mechanical arrangement is collapsed such that the ottoman is not extended. In the extended position, often referred to as a television ("TV") position, the ottoman is extended forward of the seat, and the backrest remains sufficiently upright to permit comfortable television viewing by an occupant of the seating unit. In the reclined position the backrest is positioned rearward from the extended position into an obtuse relationship with the seat for lounging or sleeping.
  • Several modern rocker and glider recliners presently in the industry are adapted to provide the adjustment capability described above. However, these recliners require relatively complex linkage mechanisms to afford this capability. The complex linkage assemblies limit certain design aspects utilized by furniture manufacturers, such as incorporation of a motor to provide powered adjustment. In particular, these present recliner linkage assemblies impose constraints on attaching a motor that can achieve full adjustment between the three positions above without interfering with internal crossbeams or limiting movement of the rocker mechanism or the glider assembly. Accordingly, the present invention introduces a novel linkage mechanism that allows a rocker-recliner-style or a glider-style-recliner seating unit to provide the features of full powered adjustment between the three positions above without interfering with crossbeams or the operation of the rocker mechanism or the glider assembly.
  • A reclining seating unit is known fromUS 2003/0047973 A1.
  • SUMMARY OF THE INVENTION
  • Embodiments of the present invention seek to provide a simplified, compact, linkage mechanism which can fully adjust a rocker-recliner-type seating unit (hereinafter "rocker recliner") or a glider-recliner-type seating unit (hereinafter "glider recliner") between three positions (closed, extended, and reclined) without limiting movement of a rocker mechanism or a glide assembly, respectively. Typically, the rocker mechanism allows a seat of the rocker recliner to sway forward and backward with respect to the base, while the glide assembly allows a seat of the glider recliner to oscillate forward and backward with respect to the base.
  • Generally, the rocker/glider recliner is powered by a linear actuator that assists adjustment of a linkage mechanism. Movement of the linear actuator is sequenced into a first phase and a second phase, where the second phase occurs once the first phase is substantially complete. In other words, a stroke of the first phase is carried out substantially independently of a stroke of the second phase. In an exemplary embodiment, the first phase acts to adjust the linkage mechanism between the closed and extended positions, while the second phase acts to adjust the linkage mechanism between the extended and reclined positions. Accordingly, in operation, the sequencing ensures that a footrest is substantially extended before a backrest begins reclining.
  • In embodiments of the present invention, the simplified linkage mechanism discussed above can be assembled to a linear actuator reassembling a compact motor and that is adaptable to essentially any type of seating unit. In an exemplary embodiment, the compact motor in concert with the linkage mechanism can achieve full, sequenced, and automated adjustment of the rocker/glider recliner between each of the closed, extended, and reclined positions. Typically, the compact motor may be employed in a proficient and cost-effective manner to adjust the linkage mechanism without creating interference or other disadvantages appearing in the conventional designs that are inherent with automation.
  • BRIEF DESCRIPTION OF THE DRAWING
  • In the accompanying drawings which form a part of the specification and which are to be read in conjunction therewith, and in which like reference numerals are used to indicate like parts in the various views:
    • FIG. 1 is a diagrammatic lateral view of a seating unit in a closed position, in accordance with an embodiment of the present invention;
    • FIG. 2 is a view similar toFIG. 1, but in an extended position, in accordance with an embodiment of the present invention;
    • FIG. 3 is a view similar toFIG. 1, but in a reclined position, in accordance with an embodiment of the present invention;
    • FIG. 4 is a perspective view of a linear actuator mounted to a linkage mechanism that is adjusted to a reclined position, in accordance with an embodiment of the present invention;
    • FIG. 5 is a diagrammatic lateral view, from an internal perspective, of the linkage mechanism in the reclined position, in accordance with an embodiment of the present invention;
    • FIG. 6 is a view similar toFIG. 5, but in an extended position, in accordance with an embodiment of the present invention; and
    • FIG. 7 is a view similar toFIG. 5, but in a closed position, in accordance with an embodiment of the present invention;
    • FIG. 8 is a diagrammatic lateral view, from an external perspective, of the linkage mechanism in the reclined position, in accordance with an embodiment of the present invention;
    • FIG. 9 is a partial side-elevation view of the linkage mechanism in the closed position highlighting a sequence link, in accordance with an embodiment of the present invention;
    • FIG. 10 is a view similar toFIG. 9, but in the extended position, in accordance with an embodiment of the present invention;
    • FIG. 11 is a view similar toFIG. 9, but in the reclined position, in accordance with an embodiment of the present invention;
    • FIG. 12 is a perspective view of a linear actuator mounted to a linkage mechanism that is adjusted to a reclined position, in accordance with an embodiment of the present invention;
    • FIG. 13 is a diagrammatic lateral view, from an internal perspective, of the linkage mechanism in the reclined position, in accordance with an embodiment of the present invention;
    • FIG. 14 is a view similar toFIG. 13, but in an extended position, in accordance with an embodiment of the present invention;
    • FIG. 15 is a view similar toFIG. 13, but in a closed position, in accordance with an embodiment of the present invention; and
    • FIG. 16 is a diagrammatic lateral view, from an external perspective, of the linkage mechanism in the reclined position, in accordance with an embodiment of the present invention.
    DETAILED DESCRIPTION OF THE INVENTION
  • FIGS. 1-3 illustrate aseating unit 10.Seating unit 10 has aseat 15, abackrest 25, legs 26 (e.g., support bushings), alinkage mechanism 100 or 1000, a first foot-support ottoman 45, a second foot-support ottoman 47, astationary base 35, and a pair ofopposed arms 55.Stationary base 35 has aforward section 52, arearward section 54, and is supported by thelegs 26, where the legs 26 (e.g., bushings) support thestationary base 35 and raise it above an underlying surface (not shown). In addition, thestationary base 35 is interconnected to theseat 15 via thelinkage mechanism 100 or 1000 that is generally disposed between the pair ofopposed arms 55, and therearward section 54.Seat 15 is moveable over thestationary base 35 during adjustment of theseating unit 10, when swaying a rocker mechanism of thelinkage mechanism 100, or when oscillating a glide assembly of thelinkage mechanism 1000. In embodiments, theseat 15 or thebackrest 25 is moveable according to the arrangement of thelinkage mechanism 100 or 1000 such that no portion of theseat 15 interferes with theopposed arms 55 throughout adjustment.
  • Opposedarms 55 are laterally spaced and have an arm-support surface 57 that is typically substantially horizontal. In one embodiment, the pair ofopposed arms 55 are attached to thestationary base 35 via intervening members. Thebackrest 25 extends from therearward section 54 of thestationary base 35 and is rotatably coupled to thelinkage mechanism 100 or 1000, typically proximate to the arm-support surface 57. First foot-support ottoman 45 and the second foot-support ottoman 47 are moveably supported by thelinkage mechanism 100 or 1000. Eachlinkage mechanism 100 and 1000 is arranged to articulably actuate and control movement of theseat 15, theback 25, and theottomans 45 and 47 between the positions shown inFIGS. 1-3, as more fully described below.
  • As shown inFIGS. 1-3, theseating unit 10 is adjustable to three basic positions: a closedposition 20, an extended position 30 (i.e., TV position), and thereclined position 40.FIG. 1 depicts theseating unit 10 adjusted to the closedposition 20, which is a normal non-reclined sitting position with theseat 15 in a generally horizontal position and thebackrest 25 generally upright and generally perpendicular to theseat 15. In particular, theseat 15 is disposed in a slightly inclined orientation relative to thestationary base 35. In this embodiment, the inclined orientation may be maintained throughout adjustment of theseating unit 10. In addition, when adjusted to the closedposition 20, theottomans 45 and 47 are positioned below theseat 15.
  • Turning toFIG. 2, the extendedposition 30, or TV position, will now be described. When theseating unit 10 is adjusted to the extendedposition 30, the first foot-support ottoman 45 and the second foot-support ottoman 47 are extended forward of theforward section 52 of thestationary base 35 and disposed generally horizontal. However, thebackrest 25 remains substantially perpendicular to theseat 15 and will not encroach an adjacent wall. Also, theseat 15 is maintained in the inclined orientation relative to thestationary base 35. Typically, theseat 15 is translated slightly forward and upward relative to thestationary base 35. Thus, the configuration of theseating unit 10 in theextended position 30 provides an occupant an inclined TV position while providing space-saving utility. This independent movement of theseat 15 allows for a variety of styling to be incorporated into theseat 15, such as T-cushion styling.
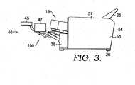
  • FIG. 3 depicts the reclinedposition 40, in which theseating unit 10 is fully reclined. Typically, theopposed arms 55 are attached to thestationary base 35 and thelegs 26 extend from thestationary base 35. Thebackrest 25 is rotated rearward by thelinkage mechanism 100 or 1000 and biased in a rearward inclination angle. The rearward inclination angle is typically an obtuse angle in relation to theseat 15. However, the rearward inclination angle of thebackrest 25 is offset by a forward and upward translation of theseat 15 as controlled by thelinkage mechanism 100 or 1000. This is in contrast to other reclining chairs with 3-position mechanisms, which cause their backrest to move rearward during adjustment, thereby requiring that the reclining chair be positioned a considerable distance from an adjacent rear wall or other proximate fixed objects. Thus, the forward and upward translation of theseat 15 in embodiments of the present invention allow for zero-wall clearance. Generally, the "zero-wall clearance" is utilized herein to refer to space-saving utility that permits positioning theseating unit 10 in close proximity to an adjacent rear wall and other fixed objects. In embodiments of the reclinedposition 40, theottomans 45 and 47 may be moved farther forward and upward from their position in theextended position 30.
  • FIGS. 4-7 illustrate the exemplary configurations of thelinkage mechanism 100 for a rocker-recliner-type seating unit (hereinafter "rocker recliner) that is powered by a linear actuator included within amotor assembly 300. As discussed above, thelinkage mechanism 100 is arranged to articulably actuate and control movement of a seat, a backrest, and ottoman(s) of the rocker recliner when thelinkage mechanism 100 is adjusted between the positions shown inFIGS. 5-7. That is, thelinkage mechanism 100 is adjustable to three basic positions: reclined position (FIGS. 5 and8), an extended (TV) position (FIG. 6), and a closed position (FIG. 7). In the reclined position, as shown inFIGS. 5 and8, the backrest is rotated rearwardly by thelinkage mechanism 100 and biased in a rearward inclination angle, which is an obtuse angle in relation to the seat. When the rocker recliner is adjusted to the extended position, as shown inFIG. 6, the ottomans are extended forward and disposed generally horizontal, while the backrest remains substantially perpendicular to the seat. The closed position ofFIG. 7 is a normal non-reclined sitting position with the seat in a generally horizontal position and the back generally upright and in a substantial, perpendicular-biased relation to the seat.
  • Further, thelinkage mechanism 100 comprises a plurality of linkages that are arranged to actuate and control movement of the rocker recliner during adjustment between the closed, the extended, and the reclined position. These linkages may be pivotably interconnected. It is understood and appreciated that the pivotable couplings (illustrated as pivot points in the figures) between these linkages can take a variety of configurations, such as pivot pins, bearings, traditional mounting hardware, rivets, bolt and nut combinations, or any other suitable fasteners which are well-known in the furniture-manufacturing industry. Further, the shapes of the linkages and the brackets may vary as desired, as may the locations of certain pivot points. It will be understood that when a linkage is referred to as being pivotably "coupled" to, "interconnected" with, "attached" on, etc., another element (e.g., linkage, bracket, frame, and the like), it is contemplated that the linkage and elements may be in direct contact with each other, or other elements (such as intervening elements) may also be present.
  • Generally, thelinkage mechanism 100 guides the rotational movement of the backrest, the translation of the seat, and the extension of the ottoman(s). In an exemplary configuration, these movements are controlled by a pair of essentially mirror-image linkage mechanisms (one of which is shown herein and indicated by reference numeral 100), which comprise an arrangement of pivotably interconnected linkages. The linkage mechanisms are typically disposed in opposing-facing relation about a longitudinally-extending plane that bisects the rocker recliner between the pair of opposed arms. As such, the ensuing discussion will focus on only one of thelinkage mechanisms 100, with the content being equally applied to the other, complimentary, linkage assembly.
  • With reference toFIG. 4, a perspective view of thelinkage mechanism 100 in the reclined position is shown, in accordance with an embodiment of the present invention. In embodiments, thelinkage mechanism 100 includes afootrest assembly 200, a seat-mountingplate 400, a seat-adjustment assembly 500, a base plate, and arocker mechanism 410. Thefootrest assembly 200 is comprised of a plurality of links arranged to extend and collapse the ottomans during adjustment of the rocker recliner between the extended position and the closed position. The seat-mountingplate 400 is configured to fixedly mount to the seat of the rocker recliner, and, in conjunction with an opposed seat-mounting plate, defines a seat support surface (not shown). Generally, the seat-adjustment assembly 500 is adapted to recline and incline the backrest of the rocker recliner, which is coupled to the back-mountinglink 510. Further, the seat-adjustment assembly 500 includes links (e.g., the motor bellcrank 430) that indirectly couple anactivator bar 350 of amotor assembly 300 to the seat-mountingplate 400, thereby facilitating movement of the rocker-recliner seat in response to actuation of a linear actuator within themotor assembly 300.
  • As mentioned previously, with reference toFIG. 4, thelinkage mechanism 100 is coupled to themotor assembly 300, which provides powered adjustment of thelinkage mechanism 100 between the reclined, the extended, and the closed positions. Themotor assembly 300 includes afront motor tube 310, afront motor bracket 315, amotor mechanism 320, a frontmotor tube bracket 325, atrack 330, amotor activator block 340, and anactivator bar 350. Themotor mechanism 320 and themotor activator block 340 are slidably connected via thetrack 330. This "linear actuator" comprised of themotor mechanism 320, thetrack 330, and themotor activator block 340 is held in position and coupled to thelinkage mechanism 100 by way of thefront motor tube 310 and theactivator bar 350. Generally, thefront motor tube 310 and theactivator bar 350 span between and couple together thelinkage mechanism 100 shown inFIG. 1 and its counterpart, mirror-image linkage mechanism (not shown). In embodiments, thefront motor tube 310 and theactivator bar 350 function as a set of crossbeams and may be formed from square metal tubing. Alternatively, the seat-mountingplate 400 and the plurality of links that comprise thelinkage mechanism 100 are typically formed from metal stock, such as stamped, formed steel. However, it should be understood and appreciated that any suitable rigid or sturdy material known in the furniture-manufacturing industry may be used in place of the materials described above. For instance, a rocker element 412 of therocker mechanism 410 may be molded plastic, fiberglass, or another resilient material.
  • Thefront motor tube 310 is attached to thelinkage mechanism 100 via the frontmotor tube bracket 325, which is fixedly coupled to a front ottoman link 110 of thefootrest assembly 200. Theactivator bar 350 includes a pair of opposed ends and is rotatably coupled to themotor bellcrank 430 of the seat-adjustment assembly 500 via amotor pivot bracket 470. Themotor mechanism 320 is protected by a housing that is pivotably coupled to thefront motor tube 310 via thefront motor bracket 315. Themotor activator block 340 is attached to theactivator bar 350 between the opposed ends by way of fasteners.
  • In operation, themotor mechanism 320 and themotor activator block 340 cause themotor activator block 340 to longitudinally traverse, or slide, along thetrack 330. This sliding action produces a lateral force or thrust on thefront motor tube 310 and theactivator bar 350, which, in turn, generates movement of thelinkage mechanism 100. As more fully discussed below, the sliding action of themotor activator block 340, or stroke of the linear actuator, is sequenced into a first phase and a second phase. In an exemplary embodiment, the first phase and second phase are mutually exclusive in stroke. In other words, the linear-actuator stroke of the first phase fully completes before the linear-actuator stroke of the second phase commences, and vice versa.
  • Initially, thetrack 330 is operably coupled to themotor mechanism 320 and includes a first travel section 331 and a second travel section 332. Themotor activator block 340 translates longitudinally along thetrack 330 under automated control of themotor mechanism 320 such that themotor activator block 340 translates within the first travel section 331 during the first phase and the second travel section 332 during the second phase. As illustrated inFIG. 4, the dashed line separating the first travel section 331 and the second travel section 332 indicates that the travel sections 331 and 332 abut, however, they do not overlap. It should be realized that the precise length of the travel sections 331 and 332 is provided for demonstrative purposes only, and that the length of the travel sections 331 and 332, or ratio of the linear-actuator stroke allocated to each of the first phase and second phase, may vary from the length or ratio depicted.
  • Generally, the first phase involves longitudinal translation of themotor activator block 340 along the first travel section 331 of thetrack 330 that creates a lateral thrust at thefront motor tube 310. The lateral thrust invokes movement of thefront ottoman link 110. The movement of thefront ottoman link 110 invokes and controls adjustment of thefootrest assembly 200 between the closed position and the extended position. Further, during the first phase, themotor mechanism 320 moves forward and upward with respect to therocker mechanism 410 while themotor activator block 340 remains generally fixed in space, thereby extending thefootrest assembly 200 from the closed position to the extended position. Once a stroke of the first phase is substantially complete, the second phase occurs.
  • Generally, the second phase involves longitudinal translation of themotor activator block 340 along the second travel section 332 of thetrack 330 that creates a lateral thrust at theactivator bar 350. The lateral thrust invokes movement of themotor bellcrank 430. The movement of themotor bellcrank 430 invokes and controls adjustment of the seat-adjustment assembly 500 between the extended position and the reclined position. Further, during the second phase, themotor activator block 340 moves rearward with respect to therocker mechanism 410 while themotor mechanism 320 remains generally fixed in space, thereby adjusting the seat-adjustment assembly 500 from the extended position to the reclined position. In embodiments, a weight of an occupant seated in the rocker recliner and/or springs interconnecting links of the seat-adjustment assembly 500 may assist in creating the sequence. Accordingly, the sequence ensures that adjustment of the footrest between the closed and extended positions is not interrupted by an adjustment of the backrest, and vice versa. In other embodiments, as depicted inFIGS. 9-11, a sequencing assembly integrated within thelinkage mechanism 100 is provided to control the adjustment of the rocker recliner.
  • In one instance, the combination of themotor mechanism 320, thetrack 330, and themotor activator block 340 is embodied as an electrically powered linear actuator. In this instance, the linear actuator is controlled by a hand-operated controller that provides instructions to the linear actuator. These instructions may be provided upon detecting a user-initiated actuation of the hand-operated controller. Further, these instructions may cause the linear actuator to carry out a complete first phase and/or second phase of movement. Or, the instructions may cause the linear actuator to partially complete the first phase or the second phase of movement. As such, the linear actuator may be capable of being moved to and maintained at various positions within a stroke of the first phase or the second phase, in an independent manner.
  • Although a particular configuration of the combination of themotor mechanism 320, thetrack 330, and themotor activator block 340 has been described, it should be understood and appreciated that other types of suitable devices that provide sequenced adjustment may be used, and that embodiments of the present invention are not limited to a linear actuator as described herein. For instance, the combination of themotor mechanism 320, thetrack 330, and themotor activator block 340 may be embodied as a telescoping apparatus that extends and retracts in a sequenced manner.
  • Turning now toFIG. 5, the components of thelinkage mechanism 100 will now be discussed in detail. As discussed above, thelinkage mechanism 100 includes thefootrest assembly 200, the seat-mountingplate 400, the seat-adjustment assembly 500, and therocker mechanism 410. Thefootrest assembly 200 includes thefront ottoman link 110, arear ottoman link 120, anouter ottoman link 130, amid-ottoman bracket 140, aninner ottoman link 150, and afootrest bracket 170.Front ottoman link 110 is rotatably coupled to aforward portion 401 of the seat-mountingplate 400 atpivot 115. Thefront ottoman link 110 is also pivotably coupled to theouter ottoman link 130 atpivot 113 and theinner ottoman link 150 atpivot 117. Further, thefront ottoman link 110 is attached to thefront motor tube 310 via the frontmotor tube bracket 325 mounted at locations 111. Therear ottoman link 120 is rotatably coupled to theforward portion 401 of the seat-mountingplate 400 atpivot 121 and pivotably coupled to theouter ottoman link 130 atpivot 133. Further, as shown inFIG. 8, therear ottoman link 120 is pivotably coupled to aforward portion 591 of thefootrest drive link 590, of the seat-adjustment assembly 500, atpivot 275. During adjustment in the first phase (i.e., adjustment between the closed and extended positions), directional force transferred by the linear actuator to thefront ottoman link 110 causes thefootrest assembly 200 to push out to the extended position or to collapse to the closed position. This movement of thefootrest assembly 200, and specifically of therear ottoman link 120, within the first phase invokes translation of thefootrest drive link 590. The translation of thefootrest drive link 590, in turn, shifts asequence element 526 within aguide slot 551 of asequence link 550 between afirst region 555 and asecond region 556, as described more fully below, with reference toFIGS. 9-11.
  • Theouter ottoman link 130 is pivotably coupled on one end to therear ottoman link 120 at thepivot 133 and thefront ottoman link 110 at thepivot 113. At an opposite end, theouter ottoman link 130 is pivotably coupled to thefootrest bracket 170 atpivot 172. Between the ends of theouter ottoman link 130, themid-ottoman bracket 140 is pivotably coupled thereto atpivot 135. Themid-ottoman bracket 140 is also pivotably coupled to theinner ottoman link 150 atpivot 141. Theinner ottoman link 150 is further pivotably coupled to thefront ottoman link 110 at thepivot 117 and to thefootrest bracket 170 atpivot 175. In embodiments, thefootrest bracket 170 and themid-ottoman bracket 140 are designed to attach to ottomans, such as the first foot-support ottoman 45 and the second foot-support ottoman 47, respectively. In a specific instance, as shown inFIGS. 2 and5, thefootrest bracket 170 and themid-ottoman bracket 140 support respective ottomans in a substantially horizontal disposition when thefootrest assembly 200 is fully extended upon completion of the first phase of adjustment.
  • With reference toFIG. 4, the pair ofrocker mechanisms 410 that moveably support thelinkage mechanism 100 will now be described. Typically, eachrocker mechanism 410 serves to provide vertical support for arespective linkage mechanism 100 above the underlying surface while allowing an occupant of the rocker recliner to easily tilt, sway, or rock thelinkage mechanism 100 forward and/or rearward. Each of therocker mechanisms 410 include a rocker base 411, a rocker element 412, and at least one spring 425. The rocker base 411 includes a front end, a rear end, and a mid section 416. Typically, the front end and the rear end attach to respective legs that stabilize the rocker base 411 above the underlying surface. Further, the rocker base 411 includes a rearward portion 417 that intermittently contacts with awheel 530, as more fully discussed below.
  • In embodiments, the rocker element 412 is formed with a convex curvature 413, or bevel, that rollably engages to or physically rides upon the mid section 416 of the rocker base 411. Typically, each rocker element 412 is attached to arespective base plate 580. In a particular instance, the rocker element 412 is fixedly coupled to thebase plate 580 at aforward location 581 and at a mid location 582 (seeFIGS. 5 and8). The spring(s) 425 serve to interconnect the rocker base 411 and the rocker element 412. As illustrated inFIG. 4, the spring(s) 425 are embodied as a pair of vertically disposed compression springs that extend between an upper bracket 418 and a lower bracket 419. The upper bracket 418 is mounted to the rocker element 412 while the lower bracket 419 is mounted to a pair of lower crossbeams 415 that span between the rocker elements 412. These lower crossbeams 415, in cooperation with upper crossbeams 414, interconnect the rocker elements 412 and provide lateral support thereto.
  • In operation, the interconnection of the spring(s) 425 between the rocker base 411 and the rocker element 412 facilitates a controlled sway of the rocker element 412, as the rocker element's 412 convex curvature 413 rollably rides over an upper flattened surface of the rocker base 411. This controlled sway of the rocker element 412, with respect to the underlying surface, is translated to thebase plate 580 that couples to thelinkage mechanism 100. Accordingly, the controlled sway enabled by therocker mechanism 410 allows an occupant sitting in the rocker recliner to easily tilt or rock thelinkage mechanism 100 back and forth in a rocking motion with minimal effort. Although the controlled sway is described herein as being facilitated by the spring(s) 425, it should be appreciated and understood that various other devices (e.g., air cylinders or dampeners) or components (e.g., compressible members) may be employed to restrain, enhance, and/or control the sway furnished by therocker mechanisms 410.
  • Turning now toFIGS. 5 and8, the interconnecting links of the seat-adjustment assembly 500 will now be discussed. Initially, in embodiments, the seat-adjustment assembly 500 includes amotor bellcrank 430, afront lift link 440, afront pivot link 450, alifter link 460, the motor pivot bracket 470 (seeFIG. 5), the back-mountinglink 510, arear pivot link 520, awheel 530, awheel link 540, asequence link 550, awheel control link 565, and thefootrest drive link 590.
  • As discussed above, thefootrest drive link 590 is pivotably coupled at theforward portion 591 to therear ottoman link 120, of thefootrest assembly 200, at thepivot 275. In addition, thefootrest drive link 590 is pivotably coupled at aback end 593 to therear pivot link 520 atpivot 525. In an exemplary embodiment, thepivot 525 is coupled to a generally cylindrical sequence element 526 (e.g., bushing, disc, wheel, and the like) that extends, at least partially within a longitudinal guide slot (seereference numeral 551 ofFIG. 8) formed (e.g., laser cut or stamped) within alower portion 554 of thesequence link 550. In one embodiment, thesequence element 526 is rollably or slidably engaged within theguide slot 551 and laterally captured between thefootrest drive link 590 and therear pivot link 520. Although various configurations of the assembly and interplay between theguide slot 551 and thesequence element 526 have been described, it should be understood and appreciated that other types of suitable mechanisms that allow longitudinal shifting of a pivot location between links may be used, and that embodiments of the present invention are not limited to the slot-and-element configuration described herein. For instance, thesequence element 526 and theguide slot 551 may be replaced by a track that guides a roller in a predefined trajectory in order to achieve sequencing of adjustment.
  • In instances of the present invention, theguide slot 551 represents a pill-shaped aperture formed within thelower portion 554 of thesequence link 550. Further, a central, longitudinal axis of theguide slot 551 may be substantially aligned with a central, longitudinal axis of thesequence link 550. In an exemplary embodiment, thesequence element 526 fully extends through theguide slot 551 such that thesequence element 526 substantially spans between thefootrest drive link 590 and therear pivot link 520, which laterally retain thesequence link 550 onto thesequence element 526. In operation, theguide slot 551 acts to guide in a predetermined trajectory and retain the sequence element 526 (seeFIGS. 9-11). Further, theguide slot 551 of thesequence link 550 assists in ensuring the first phase and second phase of the linear-actuator stroke do not interfere with or overlap each other.
  • Beyond being rollably or slidably engaged within theguide slot 551 of thesequence link 550 at thepivot 525, therear pivot link 520 is rotatably coupled to the back-mountinglink 510 atpivot 521. Similarly, anupper portion 553 of thesequence link 550 is rotatably coupled to the back-mountinglink 510 atpivot 552. In an exemplary embodiment, thepivot 521 is rearward of thepivot 552, with respect to the rocker recliner. Further, thepivot 552 is rearward ofpivot 511, which rotatably couples arearward portion 402 of the seat-mountingplate 400 to the back-mountinglink 510. Further yet, thepivot 511 is rearward ofpivot 515, which pivotably couples the back-mountinglink 510 to a back end 442 of thefront lift link 440, as discussed more fully below.
  • Turning now toFIGS. 5 - 8, a remainder of the seat-adjustment assembly 500 will now be described. As discussed above, therear pivot link 520 is rotatably coupled to the back-mountinglink 510 atpivot 521 and to thefootrest drive link 590 atpivot 525. Additionally, therear pivot link 520 is pivotably coupled to arearward portion 583 of thebase plate 580 atpivot 522. Thebase plate 580 is further pivotably coupled to afront end 461 of thelifter link 460 at pivot 466, which is located forward of themid location 582 of thebase plate 580. Aback end 462 of thelifter link 460 is pivotably coupled to a second end 434 of themotor bellcrank 430 atpivot 465.
  • In an exemplary embodiment, themotor bellcrank 430 is an L-shaped link that includes a mid portion 433 located between afirst end 432 and the second end 434. As mentioned above, theactivator bar 350 is rotatably coupled to thefirst end 432 of themotor bellcrank 430 via themotor pivot bracket 470 of themotor assembly 300 atpivot 431. Thefront lift link 440 includes a front end 441 and a back end 442. In embodiments, the back end 442 of thefront lift link 440 is pivotably coupled to the back-mountinglink 510 atpivot 515. The front end 441 of thefront lift link 440 is pivotably coupled to thefront pivot link 450 atpivot 445. The mid portion 433 of themotor bellcrank 430 is rotatably coupled to a section between the front end 441 and the back end 442 of thefront lift link 440. Thefront pivot link 450 is also coupled to thebase plate 580 atpivot 446. Thepivot 446 is positioned forward of the pivot 466 on thebase plate 580, which is positioned forward of theforward location 581 that attaches the rocker element 412 to thebase plate 580.
  • The back-mountinglink 510 serves to support the backrest and is angled rearwardly to a reclined orientation when thelinkage mechanism 100 is moved from the extended position to the reclined position. The back-mountinglink 510 is pivotably coupled to the back end 442 of the front lift link 440 at thepivot 515, theupper portion 553 of thesequence link 550 atpivot 552, and therear pivot link 520 at thepivot 521. Also, the back-mountinglink 510 is rotatably coupled to therearward portion 402 of the seat-mountingplate 400 atpivot 511.
  • The seat-mountingplate 400 serves to support the seat of the rocker recliner. The seat-mountingplate 400 is situated in a substantially horizontal orientation when thelinkage mechanism 100 resides in the closed position and the extended position. But, when thelinkage mechanism 100 is adjusted to the reclined position, with the assistance of the linear actuator, the seat-mountingplate 400 is shifted upward and rotated slightly rearward, thereby orientating the seat in a slightly angled position. The seat-mountingplate 400 is pivotably coupled to thefront ottoman link 110 and the rear ottoman link 120 of thefootrest assembly 200 at thepivots 115 and 121, respectively. Also, the seat-mountingplate 400 is pivotably coupled to the back-mountinglink 510 of the seat-adjustment assembly 500 at thepivot 511. As illustrated in theFIGS. 5 - 8, the locations of the pivots that interconnect thelinkage mechanism 100 and the seat-mountingplate 400 are configured to translate the seat-mountingplate 400 at a substantially consistent inclination angle, with respect to thebase plate 580, throughout the adjustment of the rocker recliner between the closed position, the extended position, and the reclined position.
  • Therear pivot link 520 is pivotably coupled to thewheel link 540 atpivot 527. Thewheel link 540 is pivotably coupled to thewheel control link 565 atpivot 567 and is rotatably coupled to therear pivot link 520 at thepivot 527. At a lower end, awheel 530 is rotatably coupled to thewheel link 540 atpivot 541. Thewheel link 540 is substantially vertically orientated when thelinkage mechanism 100 is adjusted to the extended and reclined positions. This configuration of thewheel link 540 brings thewheel 530 within close proximity of an upper surface of the rearward portion 417 of the rocker base 411. Further, thewheel 530 and the upper portion of the rocker base 411 are aligned to induce contact upon the occurrence of excessive rocking, thereby reducing exaggerated rearward tilt of therocker mechanism 410 upon thewheel 530 contacting the upper portion of the rocker base 411.
  • Thewheel control link 565 is pivotably coupled to thewheel link 540 at thepivot 567 and to thebase plate 580 atpivot 566. Generally, the wheel control link 565 functions to retract thewheel 530 from the close proximity to the upper portion of the rocker base 411 when thelinkage mechanism 100 is adjusted from the extended position to the closed position. As discussed above, thebase plate 580 is fixedly attached to the upper portion of the rocker element 412 at thelocations 581 and 582. Further, thebase plate 580 is pivotably coupled to a variety of linkages: therear pivot link 520 at thepivot 522, thewheel control link 565 at thepivot 566, thelifter link 460 at pivot 466, and thefront pivot link 450 atpivot 446.
  • The operation of the seat-adjustment assembly 500 will now be discussed with reference toFIGS. 5-11. Initially, an occupant of the rocker recliner may invoke an adjustment from the reclined position (FIGS. 3,4,5,8, and11) to the extended position (FIGS. 2,6, and10) in an effort to sit upright for viewing television. In an exemplary embodiment, the occupant may invoke an actuation at a hand-operated controller that sends a control signal with instructions to the linear actuator. As discussed above, the linear actuator moves in a sequenced manner, which is enforced by a weight of the occupant, a placement of springs within the seat-adjustment assembly 500, and/or a configuration of thesequence link 550 andsequence element 526. Typically, the movement of the linear actuator is sequenced into two substantially independent strokes: the first phase (adjusting between the closed and extended positions), and the second phase (adjusting between the extended and reclined positions).
  • Upon receiving the control signal from the hand-operated controller when thelinkage mechanism 100 resides in the reclined position, the linear actuator carries out a stroke in the second phase. That is, with reference toFIG. 4, the linear actuator slides themotor activator block 340 forward with respect to therocker mechanism 410 while holding themotor mechanism 320 relatively fixed in space. This sliding action of themotor activator block 340 pulls theactivator bar 350 and the attachedmotor pivot bracket 470 forward. The forward force on themotor pivot bracket 470 creates a clockwise moment 705 (seeFIG. 6) on themotor bellcrank 430 about thepivot 435 that pulls the front lift link 440 downward. This pulling action is caused, in part, by the rotation of themotor bellcrank 430 at thepivot 465, which pivotably couples themotor bellcrank 430 to thelifter link 460. Thelifter link 460 is restrained from translational movement by its pivotable coupling to thebase plate 580 at the pivot 466.
  • Further, the downward pulling action on thefront lift link 440 creates a counter-clockwise moment 701 (seeFIG. 6) of the back-mountinglink 510 about thepivot 511, which rotatably couples the back-mountinglink 510 to the seat-mountingplate 400. Thismoment 701 of the back-mountinglink 510 inclines the attached seat and causes thesequence element 526, which is coupled to therear pivot link 520 at thepivot 525, to slide in an upward trajectory within thelongitudinal guide slot 551 of thesequence link 550. In an exemplary embodiment, thesequence element 526 slides from the second region 556 (seeFIG. 11) to the first region 555 (seeFIG. 10) of theguide slot 551. As discussed above, if thesequence element 526 resides within the second region 556 (when the rocker recliner is adjusted to the reclined position), the interaction of thesequence element 526 and thesequence link 550 resists adjustment of the rocker recliner directly from the reclined position to the closed position. Then, upon the back-mountinglink 510 rotating to a position that causes contact between arear stop 420 and thefront lift link 440, thelinkage mechanism 100 has achieved the extended position and the linear actuator has completed the stroke of the second phase.
  • The operation of thefootrest assembly 200 will now be discussed with reference toFIGS. 6 and7. As discussed above, when desiring to move from the extended position (FIG. 6) to the closed position (FIG. 7), the occupant may invoke an actuation at the hand-operated controller that sends the control signal with instructions to the linear actuator to carry out a stroke in the first phase. Upon receiving the control signal from the hand-operated controller, the linear actuator slides themotor mechanism 320 rearward with respect to therocker mechanism 410 while holding themotor activator block 340 relatively fixed in space. This sliding action of themotor mechanism 320 pulls thefront motor tube 310 and the attachedfront ottoman link 110 rearward. In an exemplary embodiment, the rearward force on thefront ottoman link 110 removes the front ottoman link 110 from contact with afront stop 422, which serves to limit the extension of thefootrest assembly 200.
  • Further, the rearward force on the front ottoman link 110 indirectly causes a rearward translation of thefootrest drive link 590. This rearward translation of thefootrest drive link 590 directly creates amovement 711 of therear pivot link 520 about thepivot 521, which rotatably couples therear pivot link 520 to the back-mountinglink 510. This movement 711 (seeFIG. 7) functions to slide the sequence element 526 (coupled to therear pivot link 520 at the pivot 525) in an downward trajectory within thelongitudinal guide slot 551 of thesequence link 550.
  • In an exemplary embodiment of the first phase, thesequence element 526 slides from the first region 555 (seeFIG. 10) to the second region 556 (seeFIG. 9) of theguide slot 551. As discussed above, if thesequence element 526 resides within the first region 555 (when the rocker recliner is adjusted to the extended position), the interaction of thesequence element 526 and thesequence link 550 allows adjustment of the rocker recliner to either the reclined position or to the closed position. However, upon adjusting the rocker recliner to the closed position, thesequence element 526 resides within the second region 556 (seeFIG. 9) and the interaction of thesequence element 526 and thesequence link 550 resists adjustment of the rocker reclined directly from the closed position to the reclined position. Further, themovement 711 functions to slightly lift upward and tilt forward the back-mountinglink 510. This forward tilt of the back-mountinglink 510 pulls the front lift link 440 downward at thepivot 515 about thepivot 445. Once thefront lift link 440 is pulled downward to a position where it makes contact with amid stop 421 attached to the seat-mounting plate 400 (seeFIG. 7), thelinkage mechanism 100 has achieved the closed position.
  • In a manner that is reverse to the steps discussed above, with reference to adjustment of thefootrest assembly 200 from the closed position to the extended position, the automated force of themotor mechanism 320 on thefront motor tube 310 in the first phase of the linear-actuator stroke rotates thefront ottoman link 110 about thepivot 115. This rotation acts to extend the footrest assembly 200'and causes thelinks 110, 120, 130, and 150 to move upwardly and/or rotate in a clockwise direction. Also, thebrackets 140 and 170 are raised and rotated in a clockwise fashion such that theottomans 45 and 47 (seeFIGS. 1-3) are adjusted from a collapsed, generally vertical orientation to an extended, generally horizontal orientation. Extension of the footrest assembly is restrained upon thefront ottoman link 110 coming into contact with thefront stop 422.
  • In addition, upon completion of the first phase, continued actuation of the linear actuator causes the adjustment of thelinkage mechanism 100 within the second phase of the linear-actuator stroke. Within the second phase, the automated force of themotor activator block 340 on theactivator bar 350 rotates themotor bellcrank 430 in a counter-clockwise direction about the pivot 435 (with respect toFIGS. 5 - 7), which acts to raise thefront lift link 440 and, in turn, bias rearward the back-mountinglink 510 via thepivot 515. The rearward bias of the back-mountinglink 510, as well as continued adjustment within the second phase, is restrained upon the completion of the stroke within the second phase.
  • With reference toFIGS. 12-16, the exemplary configurations of alinkage mechanism 1000 for a glider-recliner-type seating unit (hereinafter "glider recliner) are shown and will now be discussed. Thelinkage mechanism 1000 is arranged to articulably actuate and control movement of a seat, a backrest, and ottoman(s) of the glider recliner when thelinkage mechanism 1000 is adjusted between the positions shown inFIGS. 13-15. That is, thelinkage mechanism 1000 is adjustable to three basic positions: the reclined position (FIG. 13), the extended (TV) position (FIG. 14), and the closed position (FIG. 15). In the reclined position, as shown inFIG. 13, the backrest is rotated rearwardly by thelinkage mechanism 1000 and biased in a rearward inclination angle, which is an obtuse angle in relation to the seat. When the glider recliner is adjusted to the extended position, as shown inFIG. 14, the ottomans are extended forward and disposed generally horizontal, while the backrest remains substantially perpendicular to the seat. The closed position ofFIG. 15 is a normal non-reclined sitting position with the seat in a generally horizontal position and the back generally upright and in a substantial, perpendicular-biased relation to the seat.
  • Further, thelinkage mechanism 1000 comprises a plurality of linkages that are arranged to actuate and control movement of the glider recliner during adjustment between the closed, the extended, and the reclined position. As with thelinkage mechanism 100 of the rocker recliner, these linkages may be pivotably interconnected via a variety of configurations, such as pivot pins, bearings, traditional mounting hardware, rivets, bolt and nut combinations, or any other suitable fasteners which are well-known in the furniture-manufacturing industry.
  • Generally, thelinkage mechanism 1000 guides the rotational movement of the backrest, the translation of the seat, and the extension of the ottoman(s). In an exemplary configuration, these movements are controlled by a pair of essentially mirror-image linkage mechanisms (one of which is shown herein and indicated by reference numeral 1000), which comprise an arrangement of pivotably interconnected linkages. The linkage mechanisms are typically disposed in opposing-facing relation about a longitudinally-extending plane that bisects the glider recliner between the pair of opposed arms. As such, the ensuing discussion will focus on only one of thelinkage mechanisms 1000, with the content being equally applied to the other, complimentary, linkage assembly.
  • With reference toFIG. 12, a perspective view of thelinkage mechanism 1000 in the reclined position is shown, in accordance with an embodiment of the present invention. In embodiments, thelinkage mechanism 1000 includes thefootrest assembly 200, the seat-mountingplate 400, a seat-adjustment assembly 700, and aglide assembly 600. Thefootrest assembly 200 is comprised of a plurality of links arranged to extend and collapse the ottomans during adjustment of the glider recliner between the extended position and the closed position. The seat-mountingplate 400 is configured to fixedly mount to the seat of the glider recliner, and, in conjunction with an opposed seat-mounting plate, defines the seat support surface. Generally, the seat-adjustment assembly 700 is adapted to recline and incline the backrest of the glider recliner, which is coupled to the back-mountinglink 510. Further, the seat-adjustment assembly 700 includes links that indirectly couple anactivator bar 350 of themotor assembly 300 to the seat-mountingplate 400, thereby facilitating movement of the glider-recliner seat in response to actuation of the linear actuator within themotor assembly 300. As mentioned previously, with reference toFIG. 4, themotor assembly 300 provides powered adjustment between the reclined, the extended, and the closed positions. Because the incorporation of themotor mechanism 300 to thelinkage mechanism 100 of the rocker recliner is substantially similar to the incorporation of themotor mechanism 300 to thelinkage mechanism 1000 of the glider recliner, the components, configuration, and functionality of themotor mechanism 300 will not be reiterated.
  • Turning now toFIG. 13, the components of thelinkage mechanism 1000 will now be discussed in detail. As discussed above, thelinkage mechanism 1000 includes thefootrest assembly 200, the seat-mountingplate 400, the seat-adjustment assembly 700, and theglide assembly 600. The configuration of thefootrest assembly 200 is substantially similar to that of the rocker recliner, as discussed above, and will not be reiterated. Theglide assembly 600 serves to provide vertical support for a remainder of thelinkage mechanism 1000. Theglide assembly 600 includes aglide bracket 740 that is fixedly mounted to a chassis that raises thelinkage mechanism 1000 above an underlying surface (not shown). Theglide assembly 600 also includes acarrier link 750 that is coupled to thefootrest assembly 200 and the seat-adjustment assembly 700.
  • Generally, thecarrier link 750 is configured to swing, oscillate, or glide both forward and backward with respect to thestationary glide bracket 740. Typically, theglide bracket 740 and thecarrier link 750 are moveably coupled by a plurality of intermediate glide links that allow forward and rearward translation of thelinkage mechanism 1000 with respect to the underlying surface. In an exemplary embodiment, the pair of glide links include arear glide link 560 and afront glide link 570. An upper end of therear glide link 560 is pivotably coupled to theglide bracket 740 atpivot 586, while a lower end of therear glide link 560 is pivotably coupled to thecarrier link 750 atpivot 585. An upper end of thefront glide link 570 is pivotably coupled to theglide bracket 740 atpivot 576, while a lower end of thefront glide link 570 is pivotably coupled to thecarrier link 750 atpivot 575. In operation, therear glide link 560 and thefront glide link 570 swing in concert to translate thecarrier link 750 with respect to theglide bracket 740. Specifically, thepivots 575, 576, 585, and 586 are arranged to allow therear glide link 560 and the front glide link 570 to sway in substantially parallel-spaced relation to each other; thus, facilitating the glide action of thelinkage mechanism 1000.
  • Turning now toFIGS. 13 and16, the interconnecting links of the seat-adjustment assembly 700 will now be discussed. Initially, in embodiments, the seat-adjustment assembly 700 includes themotor bellcrank 430, thefront lift link 440, acarrier link 750, thelifter link 460, the motor pivot bracket 470 (seeFIG. 13), the back-mountinglink 510, therear pivot link 520, arear link 710, ablocker control link 720, thesequence link 550, ahook link 730, and thefootrest drive link 590. As discussed above, thefootrest drive link 590 is pivotably coupled at theforward portion 591 to therear ottoman link 120, of thefootrest assembly 200, at thepivot 275. Further, thefootrest drive link 590 is indirectly coupled to theglide assembly 600 via theblocker control link 720 and thehook link 730. That is, arearward portion 592 of thefootrest drive link 590 is pivotably coupled to anupper end 543 of theblocker control link 720 atpivot 545, while a lower end 542 of theblocker control link 720 is pivotably coupled to a back end of thehook link 730 at pivot 569 (seeFIG. 14). A front end of thehook link 730 is rotatably coupled to a mid portion 451 of thecarrier link 750 of the glide assembly atpivot 586.
  • In addition, thefootrest drive link 590 is pivotably coupled at theback end 593 to therear pivot link 520 at thepivot 525. In an exemplary embodiment, thepivot 525 is coupled to a generallycylindrical sequence element 526 that extends, at least partially within a longitudinal guide slot (seereference numeral 551 ofFIG. 16) formed within alower portion 554 of thesequence link 550. Beyond being engaged within theguide slot 551 of thesequence link 550 at thepivot 525, therear pivot link 520 is rotatably coupled to the back-mountinglink 510 atpivot 521. Similarly, anupper portion 553 of thesequence link 550 is rotatably coupled to the back-mountinglink 510 at thepivot 552. In an exemplary embodiment, thepivot 521 is rearward of thepivot 552, with respect to the glider recliner. Further, thepivot 552 is rearward ofpivot 511, which rotatably couples arearward portion 402 of the seat-mountingplate 400 to the back-mountinglink 510. Further yet, thepivot 511 is rearward ofpivot 515, which pivotably couples the back-mountinglink 510 to the back end 442 of thefront lift link 440, as discussed more fully above.
  • Turning now toFIGS. 13-16, a remainder of the seat-adjustment assembly 700 will now be described. As discussed above, therear pivot link 520 is rotatably coupled to the back-mountinglink 510 at thepivot 521 and to thefootrest drive link 590 at thepivot 525. Additionally, therear pivot link 520 is pivotably coupled to an upper end of therear link 710 at thepivot 522. A lower end of therear link 710 is pivotably coupled to thecarrier link 750 at thepivot 535. In an exemplary embodiment, thepivot 535 is located rearward of the mid portion 451 of thecarrier link 750. Thecarrier link 750 is further pivotably coupled to thefront end 461 of thelifter link 460 at the pivot 466, which is located forward of the mid portion 451. Theback end 462 of thelifter link 460 is pivotably coupled to the second end 434 of themotor bellcrank 430 atpivot 465.
  • As mentioned above, theactivator bar 350 is rotatably coupled to thefirst end 432 of themotor bellcrank 430 via themotor pivot bracket 470 of themotor assembly 300 atpivot 431. In embodiments, the back end 442 of thefront lift link 440 is pivotably coupled to the back-mountinglink 510 at pivot the 515. The front end 441 of thefront lift link 440 is pivotably coupled to thecarrier link 750 at thepivot 445. The mid portion 433 of themotor bellcrank 430 is rotatably coupled to the section between the front end 441 and the back end 442 of thefront lift link 440.
  • In embodiments, the back-mountinglink 510 of thelinkage mechanism 1000 is pivotably coupled to the back end 442 of the front lift link 440 at thepivot 515, theupper portion 553 of thesequence link 550 at thepivot 552, and therear pivot link 520 at thepivot 521. Also, the back-mountinglink 510 is rotatably coupled to therearward portion 402 of the seat-mountingplate 400 atpivot 511. Further, thesequence link 550 is rotatably coupled to the back-mountinglink 510 at thepivot 552 and, as discussed more fully above, includes a longitudinal slot (seereference numeral 551 ofFIG. 16).
  • The seat-mountingplate 400 serves to support the seat of the glider recliner. In embodiments, the seat-mountingplate 400 is pivotably coupled to thefront ottoman link 110 and the rear ottoman link 120 of thefootrest assembly 200 at thepivots 115 and 121, respectively. Also, the seat-mountingplate 400 is pivotably coupled to the back-mountinglink 510 of the seat-adjustment assembly 700 at thepivot 511. As illustrated in theFIGS. 13-16, the locations of the pivots that interconnect thelinkage mechanism 1000 and the seat-mountingplate 400 are configured to translate the seat-mountingplate 400 at a substantially consistent inclination angle, with respect to theglide bracket 740, throughout the adjustment of the glider recliner between the closed position, the extended position, and the reclined position.
  • The operation of the seat-adjustment assembly 700 will now be discussed with reference toFIGS. 9-16. Initially, an occupant of the glider recliner may invoke an adjustment from the reclined position (FIGS. 3,11, and13) to the extended position (FIGS. 2,10, and14) in an effort to sit upright for viewing television. In an exemplary embodiment, the occupant may invoke an actuation at a hand-operated controller that sends a control signal with instructions to the linear actuator. As discussed above, the linear actuator moves in a sequenced manner, which is enforced by a weight of the occupant, a placement of springs within the seat-adjustment assembly 700, and/or a configuration of thesequence link 550 andsequence element 526. Typically, the movement of the linear actuator is sequenced into two substantially independent strokes: the first phase (adjusting between the closed and extended positions), and the second phase (adjusting between the extended and reclined positions).
  • Upon receiving the control signal from the hand-operated controller when thelinkage mechanism 1000 resides in the reclined position, the linear actuator carries out a stroke in the second phase. That is, with reference toFIG. 12, the linear actuator slides themotor activator block 340 forward with respect to theglide assembly 600 while holding themotor mechanism 320 relatively fixed in space. This sliding action of themotor activator block 340 pulls theactivator bar 350 and the attachedmotor pivot bracket 470 forward. The forward force on themotor pivot bracket 470 creates the clockwise moment 705 (seeFIG. 14) on themotor bellcrank 430 about thepivot 435 that pulls the front lift link 440 downward. This pulling action is caused, in part, by the rotation of themotor bellcrank 430 at thepivot 465, which pivotably couples themotor bellcrank 430 to thelifter link 460. Thelifter link 460 is restrained from translational movement by its pivotable coupling to thecarrier link 750 at the pivot 466.
  • Further, the downward pulling action on thefront lift link 440 creates the counter-clockwise moment 701 (seeFIG. 14) of the back-mountinglink 510 about thepivot 511, which rotatably couples the back-mountinglink 510 to the seat-mountingplate 400. Thismoment 701 of the back-mountinglink 510 inclines the attached seat and causes thesequence element 526, which is coupled to therear pivot link 520 at thepivot 525, to slide in an upward trajectory within thelongitudinal guide slot 551 of thesequence link 550. In an exemplary embodiment, thesequence element 526 slides from the second region 556 (seeFIG. 11) to the first region 555 (seeFIG. 10) of theguide slot 551. As discussed above, if thesequence element 526 resides within the second region 556 (when the glider recliner is adjusted to the reclined position), the interaction of thesequence element 526 and thesequence link 550 resists adjustment of the glider recliner directly from the reclined position to the closed position. Then, upon the back-mountinglink 510 rotating to a position that causes contact between arear stop 420 and thefront lift link 440, thelinkage mechanism 1000 has achieved the extended position and the linear actuator has completed the stroke of the second phase.
  • The operation of thefootrest assembly 200 will now be discussed with reference toFIGS. 14 and15. As discussed above, when desiring to move from the extended position (FIG. 14) to the closed position (FIG. 15), the occupant may invoke an actuation at the hand-operated controller that sends the control signal with instructions to the linear actuator to carry out a stroke in the first phase. Upon receiving the control signal from the hand-operated controller, the linear actuator slides themotor mechanism 320 rearward with respect to theglide assembly 600 while holding themotor activator block 340 relatively fixed in space. This sliding action of themotor mechanism 320 pulls thefront motor tube 310 and the attachedfront ottoman link 110 rearward. In an exemplary embodiment, the rearward force on thefront ottoman link 110 removes the front ottoman link 110 from contact with afront stop 422, which serves to limit the extension of thefootrest assembly 200.
  • Further, the rearward force on the front ottoman link 110 indirectly causes a rearward translation of thefootrest drive link 590. This rearward translation of thefootrest drive link 590 directly creates amovement 711 of therear pivot link 520 about thepivot 521, which rotatably couples therear pivot link 520 to the back-mountinglink 510. This movement 711 (seeFIG. 15) functions to slide the sequence element 526 (coupled to therear pivot link 520 at the pivot 525) in an downward trajectory within thelongitudinal guide slot 551 of thesequence link 550.
  • In an exemplary embodiment of the first phase, thesequence element 526 slides from the first region 555 (seeFIG. 10) to the second region 556 (seeFIG. 9) of theguide slot 551. As discussed above, if thesequence element 526 resides within the first region 555 (when the glider recliner is adjusted to the extended position), the interaction of thesequence element 526 and thesequence link 550 allows adjustment of the glider recliner to either the reclined position or to the closed position. However, upon adjusting the glider recliner to the closed position, thesequence element 526 resides within the second region 556 (seeFIG. 9) and the interaction of thesequence element 526 and thesequence link 550 resists adjustment of the glider reclined directly from the closed position to the reclined position. Further, themovement 711 functions to slightly lift upward and tilt forward the back-mountinglink 510. This forward tilt of the back-mountinglink 510 pulls the front lift link 440 downward at thepivot 515. Once thefront lift link 440 is pulled downward to a position where it makes contact with amid stop 421, thelinkage mechanism 1000 has achieved the closed position.
  • In a manner that is reverse to the steps discussed above, with reference to operation of thefootrest assembly 200 from the closed position to the extended position, the automated force of themotor mechanism 320 on thefront motor tube 310 in the first phase of the linear-actuator stroke rotates thefront ottoman link 110 about thepivot 115. This rotation acts to extend thefootrest assembly 200 and causes thelinks 110, 120, 130, and 150 to move upwardly and/or rotate in a clockwise direction. Also, thebrackets 140 and 170 are raised and rotated in a clockwise fashion such that theottomans 45 and 47 (seeFIGS. 1-3) are adjusted from a collapsed, generally vertical orientation to an extended, generally horizontal orientation. Extension of the footrest assembly is restrained upon thefront ottoman link 110 coming into contact with thefront stop 422.
  • In addition, upon completion of the first phase, continued actuation of the linear actuator causes the adjustment of thelinkage mechanism 1000 within the second phase of the linear-actuator stroke. Within the second phase, the automated force of themotor activator block 340 on theactivator bar 350 rotates themotor bellcrank 430 in a counter-clockwise direction about the pivot 435 (with respect toFIGS. 13-16), which acts to raise thefront lift link 440 and, in turn, bias rearward the back-mountinglink 510 via thepivot 515. The rearward bias of the back-mountinglink 510, as well as continued adjustment within the second phase, is restrained upon the completion of the stroke within the second phase.
  • It should be understood that the construction of thelinkage mechanisms 100 and 1000 lend themselves to enable the various links and brackets to be easily assembled and disassembled from the remaining components of the rocker/glider recliner. Specifically the nature of the pivots and/or mounting locations, allows for use of quick-disconnect hardware, such as a knock-down fastener. Accordingly, rapid disconnection of components prior to shipping, or rapid connection in receipt, is facilitated.
  • The present invention has been described in relation to particular embodiments, which are intended in all respects to be illustrative rather than restrictive. Alternative embodiments will become apparent to those skilled in the art to which the present invention pertains without departing from its scope.
  • It will be seen from the foregoing that this invention is one well adapted to attain the ends and objects set forth above, and to attain other advantages, which are obvious and inherent in the device. It will be understood that certain features and subcombinations are of utility and may be employed without reference to other features and subcombinations. This is contemplated by and within the scope of the claims.

Claims (9)

  1. A seating unit (10) having a chassis, a seat (15), a backrest (25), and at least one foot-support ottoman (45, 47), the seating unit (10) being adapted to move between a closed, an extended and a reclined position, the seating unit (10) comprising:
    a pair of seat-mounting plates (400) in substantially parallel-spaced relation, wherein the seat-mounting plates (400) translatably carry the seat (15) over an underlying surface; and
    a pair of generally mirror-image linkage mechanisms (100) each moveably interconnecting the backrest (25) and the at least one foot-support ottoman (45, 47) to a respective seat-mounting plate (400), wherein each of the linkage mechanisms (100) comprises:
    (a) a footrest assembly (200) that extends and retracts the at least one foot-support ottoman (45, 47), wherein the footrest assembly (200) includes a front ottoman link (110) that is rotatably coupled to a forward portion of one of the seat-mounting plates (400); and
    (b) a seat-adjustment assembly (500) that reclines and inclines the backrest (25); and
    a front motor tube (310) that spans and couples to the pair of linkage mechanisms (100), wherein the front motor tube (310) has a pair of ends, wherein one of the ends of the front motor tube (310) is fixedly coupled to the front ottoman link (110);
    a linear actuator (320, 330, 340) that provides automated adjustment of the seating unit (10) between a closed position, an extended position, and a reclined position, wherein the linear actuator (320, 330, 340) is pivotably coupled to the front motor tube (310),
    characterized in that
    the linear-actuator adjustment is sequenced into a first phase and a second phase that are mutually exclusive in stroke,
    wherein the first phase moves the footrest assembly (200) between the closed position and the extended position upon the linear actuator (320, 330, 340) exerting lateral thrust onto the front motor tube (310) that, in turn, invokes movement of the front ottoman link (110),
    wherein the movement of the front ottoman link (110) controls adjustment of the footrest assembly (200) between the closed position and the extended position, and
    wherein the second phase moves the seat-adjustment assembly (500) between the extended position and the reclined position, and
    the seating unit (10) further comprises a pair of rocker mechanisms (410) that are each attached to a respective base plate (580) to moveably support the respective base plate (580) above an underlying surface, wherein each of the rocker mechanisms (410) comprises:
    a rocker base (411) that includes a front end, a rear end, and a mid section, wherein the front end and the rear end attach to respective legs that support the rocker base (411) above the underlying surface;
    a rocker element (412) that is formed with a convex curvature (413) that rollably rides upon the mid section of the rocker base (411), wherein the rocker element (412) is attached to the respective base plate (580); and
    at least one spring (425) that interconnects the rocker base (411) and the rocker element (412), wherein the interconnection of the at least one spring (425) facilitates a controlled sway of the rocker element (412) with respect to the rocker base (411).
  2. The seating unit (10) of claim 1, further comprising:
    an activator bar (350) that spans and couples to the pair of linkage mechanisms (100);
    a motor mechanism (320);
    a track (330) operably coupled to the motor mechanism (320), wherein the track (330) includes a first travel section (331) and a second travel section (332); and
    a motor activator block (340) that translates longitudinally along the track (330) under automated control.
  3. The seating unit (10) of claim 1, wherein a housing of the motor mechanism (320) is pivotably coupled to a section between the pair of ends of the front motor tube (310).
  4. The seating unit (10) of claim 2, wherein the first phase involves longitudinal translation of the motor activator block (340) along the first travel section (331) that creates a lateral thrust at the front motor tube (310), and wherein, during the stroke of the linear actuator (320, 330, 340) within the first phase, the motor mechanism (320) moves forward and upward with respect to the pair of rocker mechanisms (410) while the motor activator block (340) remains generally fixed in space.
  5. The seating unit (10) of claim 2, wherein the activator bar (350) has a pair of ends, wherein one of the ends of the activator bar (350) is rotatably coupled to a motor bellcrank (430) within the seat-adjustment assembly (500) via a motor pivot bracket (470), wherein the motor activator block (340) is fixedly coupled to a section between the pair of ends of the activator bar (350), and wherein the seat-adjustment assembly (500) comprises:
    the motor bellcrank (430) that includes a mid portion located between a first end and a second end, wherein the motor pivot bracket (470) is rotatably coupled to the first end of the motor bellcrank (430);
    a back-mounting link (510) rotatably coupled to a respective seat-mounting plate (400), wherein the back-mounting link (510) is configured to support the backrest (25); and
    a front lift link (440) having a front end and a back end, wherein the back end of the front lift link (440) is pivotably coupled to the back-mounting link (510), and wherein the mid portion of the motor bellcrank (430) is rotatably coupled to a section between the front end and the back end of the front lift link (440).
  6. The seating unit (10) of claim 5, wherein the second phase involves longitudinal translation of the motor activator block (340) along the second travel section (332) that creates a lateral thrust at the activator bar (350), thereby invoking movement of the motor bellcrank (430), the movement of the motor bellcrank (430) controls adjustment of the seat-adjustment assembly (500) between the extended position and the reclined position, and wherein, during the stroke of the linear actuator (320, 330, 340) within the second phase, the motor activator block (340) moves rearward with respect to the pair of rocker mechanisms (410) while the motor mechanism (320) remains generally fixed in space.
  7. The seating unit of claim 1, wherein the pair of linkage mechanisms (100) are configured to translate the seat-mounting plates (400) at a substantially consistent inclination angle, with respect to the underlying surface, throughout the adjustment of the seating unit (10) between the closed position, the extended position, and the reclined position.
  8. The seating unit of claim 5, wherein the seat-adjustment assembly (500) further comprises a lifter link (460) that pivotably connects to the second end of the motor bellcrank (430).
  9. A seating unit (10) having a chassis, a seat (15), a backrest (25), and at least one foot-support ottoman (45, 47), the seating unit (10) being adapted to move between a closed, an extended and a reclined position, the seating unit (10) comprising:
    a pair of seat-mounting plates (400) in substantially parallel-spaced relation, wherein the seat-mounting plates (400) translatably carry the seat (15) over an underlying surface; and
    a pair of generally mirror-image linkage mechanisms (1000) each moveably interconnecting the backrest (25) and the at least one foot-support ottoman (45, 47) to a respective seat-mounting plate (400), wherein each of the linkage mechanisms (1000) comprises:
    (a) a footrest assembly (200) that extends and retracts the at least one foot-support ottoman (45, 47), wherein the footrest assembly (200) includes a front ottoman link (110) that is rotatably coupled to a forward portion of one of the seat-mounting plates (400); and
    (b) a seat-adjustment assembly (700) that reclines and inclines the backrest (25); and
    a front motor tube (310) that spans and couples to the pair of linkage mechanisms (1000), wherein the front motor tube (310) has a pair of ends, wherein one of the ends of the front motor tube (310) is fixedly coupled to the front ottoman link (110);
    a linear actuator (320, 330, 340) that provides automated adjustment of the seating unit (10) between a closed position, an extended position, and a reclined position, wherein the linear actuator (320, 330, 340) is pivotably coupled to the front motor tube (310),
    characterized in that
    the linear-actuator adjustment is sequenced into a first phase and a second phase that are mutually exclusive in stroke,
    wherein the first phase moves the footrest assembly (200) between the closed position and the extended position upon the linear actuator (320, 330, 340) exerting lateral thrust onto the front motor tube (310) that, in turn, invokes movement of the front ottoman link (110),
    wherein the movement of the front ottoman link (110) controls adjustment of the footrest assembly (200) between the closed position and the extended position, and
    wherein the second phase moves the seat-adjustment assembly (700) between the extended position and the reclined position, and
    the seating unit (10) further comprises a pair of glide brackets (740) in substantially parallel-spaced relation that are each mounted to the chassis and that are each vertically raised above an underlying surface by a plurality of supports; and
    a glide assembly (600) is provided in each of the linkage mechanisms (1000), wherein the glide assembly (600) includes a pair of glide links (560, 570) that swing in concert to translate a carrier link (750) of the seat-adjustment assembly (700) forward and backward with respect to one of the pair of glide brackets (740).
EP11733214.8A2010-01-152011-01-06Powered rocker and glider recliner linkage mechanismsNot-in-forceEP2523578B1 (en)

Priority Applications (1)

Application NumberPriority DateFiling DateTitle
EP14197648.0AEP2878229B1 (en)2010-01-152011-01-06Powered rocker and glider recliner linkage mechanisms

Applications Claiming Priority (5)

Application NumberPriority DateFiling DateTitle
US29555410P2010-01-152010-01-15
US29554610P2010-01-152010-01-15
US12/870,498US8398168B2 (en)2010-01-152010-08-27Powered glider recliner linkage mechanism
US12/981,176US8398165B2 (en)2010-01-152010-12-29Powered rocker recliner linkage mechanism
PCT/US2011/020387WO2011087955A1 (en)2010-01-152011-01-06Powered rocker and glider recliner linkage mechanisms

Related Child Applications (2)

Application NumberTitlePriority DateFiling Date
EP14197648.0ADivisionEP2878229B1 (en)2010-01-152011-01-06Powered rocker and glider recliner linkage mechanisms
EP14197648.0ADivision-IntoEP2878229B1 (en)2010-01-152011-01-06Powered rocker and glider recliner linkage mechanisms

Publications (3)

Publication NumberPublication Date
EP2523578A1 EP2523578A1 (en)2012-11-21
EP2523578A4 EP2523578A4 (en)2013-12-25
EP2523578B1true EP2523578B1 (en)2015-06-17

Family

ID=44293052

Family Applications (2)

Application NumberTitlePriority DateFiling Date
EP11733214.8ANot-in-forceEP2523578B1 (en)2010-01-152011-01-06Powered rocker and glider recliner linkage mechanisms
EP14197648.0ANot-in-forceEP2878229B1 (en)2010-01-152011-01-06Powered rocker and glider recliner linkage mechanisms

Family Applications After (1)

Application NumberTitlePriority DateFiling Date
EP14197648.0ANot-in-forceEP2878229B1 (en)2010-01-152011-01-06Powered rocker and glider recliner linkage mechanisms

Country Status (7)

CountryLink
EP (2)EP2523578B1 (en)
CN (1)CN102133005B (en)
AU (2)AU2011205500B2 (en)
CA (1)CA2781057C (en)
ES (2)ES2544286T3 (en)
MX (1)MX337829B (en)
WO (1)WO2011087955A1 (en)

Families Citing this family (28)

* Cited by examiner, † Cited by third party
Publication numberPriority datePublication dateAssigneeTitle
MY173296A (en)*2012-10-022020-01-14Ashley Furniture Ind IncPower mechanism for recliners
GB2506665A (en)*2012-10-052014-04-09Careflex LtdA leg rest with a moving axis of rotation
CN104622084A (en)*2013-11-112015-05-20江苏舒意达机械有限公司Rotatable multiple-link stretching mechanism for electric movable sofa and working method thereof
CN103783856B (en)*2014-01-152017-01-25永艺家具股份有限公司Sofa retractor device
CN103720225B (en)*2014-01-152017-02-01永艺家具股份有限公司Simple sofa expansion device
US9468295B2 (en)*2014-04-042016-10-18L & P Property Management CompanyZero-wall clearance linkage mechanism for a dual motor lifting recliner
CN103932521B (en)*2014-05-142017-01-11锐迈机械科技(吴江)有限公司Electric mechanical extension device for movable sofa
CN204158028U (en)2014-09-092015-02-18黄小卫A kind of Disassembling sofa electromechanical extension device
US9433295B2 (en)*2014-10-152016-09-06Michael A. CrumZerowall motorized multi-position recliner chair mechanism
US9962004B2 (en)*2014-10-162018-05-08L&P Property Management CompanyProfile ottoman linkage
CN104523059B (en)*2014-12-162017-02-01东莞市捷科五金有限公司Multifunctional supporting device for seat
CN108601453B (en)*2016-02-052021-11-05佛姆维家具有限公司 chairs and parts
CN105996517A (en)*2016-06-252016-10-12杭州广鑫进出口有限公司Flexing frame applied to seat unit and seat unit
US10653243B2 (en)*2016-07-292020-05-19Leggett & Platt, Inc.Rocker/glider recline linkage with projected back pivot point
US11266245B2 (en)2016-07-292022-03-08Leggett & Platt, Inc.Rocker/glider recliner linkage with projected back pivot point
US10383442B2 (en)*2017-02-282019-08-20L&P Property Management CompanyStop mechanism for recliner chair
DE202017105693U1 (en)*2017-09-202017-09-27Ciar S.P.A. Sitting and / or lying furniture
CN107594963B (en)*2017-10-242024-08-02浙江昂宇家居用品有限公司 A chair with stable support
CN111297113A (en)*2020-03-312020-06-19礼恩派(嘉兴)有限公司Full-link mechanical stretching device of seat unit
CN111839052B (en)*2020-06-112023-07-25永艺家具股份有限公司Electromechanical stretching device
US11528993B2 (en)*2020-06-152022-12-20L&P Property Management CompanyRocker reclining mechanism for a rocker recliner rocking between the arms
US11229290B1 (en)*2020-07-202022-01-25Leggett & Platt, Inc.Pedestal glider and recliner chair and mechanism
CN112293997B (en)*2020-09-112023-07-25永艺家具股份有限公司Power stretching device
US11178970B1 (en)*2020-09-292021-11-23L&P Property Management CompanyHigh-leg hidden ottoman recliner seating mechanism
CN112869442A (en)*2021-04-062021-06-01程美容Rocking chair with seat frame capable of being adjusted substantially
CN113142861B (en)*2021-05-172023-10-27锐迈机械科技(吴江)有限公司Mechanical stretching device for a movable seat unit and seat unit
EP4340679A4 (en)*2021-05-172025-07-16Remacro Mach & Tech Wujiang Co Ltd MECHANICAL EXTENSION DEVICE FOR EXTENDABLE SEAT AND EXTENDABLE SEAT
CN113509017B (en)*2021-06-102023-11-07锐迈机械科技(吴江)有限公司Mechanical stretching device for a movable seat unit and seat unit

Family Cites Families (22)

* Cited by examiner, † Cited by third party
Publication numberPriority datePublication dateAssigneeTitle
US3300243A (en)*1964-11-131967-01-24Ned W MizelleReclining chair fixture
US4244620A (en)*1978-03-221981-01-13Mohasco CorporationWall-proximity reclining chair
US4291913A (en)*1979-10-091981-09-29Mohasco, Corp.Manually-operated reclining chairs
US4707025A (en)*1986-06-261987-11-17Parma CorporationRocker recliner
US5072988A (en)*1987-06-091991-12-17Super Sagless CorporationWall proximity chair
US5088473A (en)*1990-03-281992-02-18Jing-Qi ChenChair having aligned movement with curvilinear-circular, swivel-rock, and vertical motions
CN2168480Y (en)*1993-07-311994-06-15张其翼Multifunctional sofa chair
CN2183706Y (en)*1994-02-031994-11-30辽宁省凤城汽车增压器总厂Linkage mechanism of multifunctional sofa
GB9425078D0 (en)*1994-12-131995-02-08British Airways PlcA seating unit
WO1997014336A1 (en)*1995-10-181997-04-24La-Z-Boy IncorporatedGlider chair
US6120095A (en)*1998-08-112000-09-19Rogers; W. ClarkGliding seating unit with hinged gliding members
CN2489652Y (en)*2001-06-292002-05-08信豪健康器材股份有限公司 Chair structure that can recline and move
US7261367B2 (en)*2001-09-052007-08-28Robert Barron DuncanMethod and apparatus for a three position wall-avoiding reclining chair
GB0121732D0 (en)*2001-09-102001-10-31Pellerin ReneTilt adjustment assembly for reclining chair
GB0325358D0 (en)*2003-10-302003-12-03Peter Cook Internat PlcPowered furniture
US7147278B2 (en)*2004-08-262006-12-12L&P Property Management CompanyLinkage mechanism for use in motion furniture
US7021711B1 (en)*2004-11-042006-04-04Ultra-Mek, Inc.Rocking-reclining seating unit with motion lock
US7497512B2 (en)*2005-05-232009-03-03L & P Property Management CompanyRecliner drive mechanism for a rocker chair
CN101224066A (en)*2007-01-152008-07-23名跃国际健康科技股份有限公司 seat adjustment mechanism
US7641277B2 (en)*2008-01-022010-01-05L & P Property Management Co.Zero-wall clearance linkage mechanism for a high-leg seating unit
CN101507555B (en)*2009-02-232011-01-12礼恩派(嘉兴)有限公司Head rest device and active seat with the head rest device
CN201360763Y (en)*2009-02-232009-12-16礼恩派(嘉兴)有限公司Headrest device and mobile seat with same

Also Published As

Publication numberPublication date
CN102133005B (en)2016-02-17
EP2878229B1 (en)2016-09-28
CN102133005A (en)2011-07-27
ES2609252T3 (en)2017-04-19
MX337829B (en)2016-03-22
ES2544286T3 (en)2015-08-28
MX2012008208A (en)2012-08-08
EP2523578A1 (en)2012-11-21
CA2781057A1 (en)2011-07-21
AU2011205500B2 (en)2015-05-28
CA2781057C (en)2018-09-18
AU2011205500A1 (en)2012-06-07
AU2015218473B2 (en)2017-01-19
WO2011087955A1 (en)2011-07-21
AU2015218473A1 (en)2015-09-17
EP2523578A4 (en)2013-12-25
EP2878229A1 (en)2015-06-03

Similar Documents

PublicationPublication DateTitle
EP2523578B1 (en)Powered rocker and glider recliner linkage mechanisms
US8398165B2 (en)Powered rocker recliner linkage mechanism
US8398168B2 (en)Powered glider recliner linkage mechanism
EP2528474B1 (en)Zero-wall clearance linkage mechanism for high-leg seating unit
US7641277B2 (en)Zero-wall clearance linkage mechanism for a high-leg seating unit
EP2533669B1 (en)Zero-wall clearance linkage mechanism for a lifting recliner
US9386857B2 (en)Zero-wall clearance linkage mechanism for providing additional layout
EP2685868B1 (en)Seating unit with a linkage mechanism
US10021980B2 (en)Zero-wall clearance linkage mechanism with power seat drive
US20140049079A1 (en)Zero-wall clearance linkage mechanism for providing additional layout
US20150289655A1 (en)Zero-wall clearance linkage mechanism including a single drive link
CA2927593A1 (en)Zero-wall clearance linkage mechanism for providing additional layout

Legal Events

DateCodeTitleDescription
PUAIPublic reference made under article 153(3) epc to a published international application that has entered the european phase

Free format text:ORIGINAL CODE: 0009012

17PRequest for examination filed

Effective date:20120705

AKDesignated contracting states

Kind code of ref document:A1

Designated state(s):AL AT BE BG CH CY CZ DE DK EE ES FI FR GB GR HR HU IE IS IT LI LT LU LV MC MK MT NL NO PL PT RO RS SE SI SK SM TR

DAXRequest for extension of the european patent (deleted)
A4Supplementary search report drawn up and despatched

Effective date:20131125

RIC1Information provided on ipc code assigned before grant

Ipc:A47C 1/0355 20130101ALI20131119BHEP

Ipc:A47C 1/031 20060101AFI20131119BHEP

Ipc:A47C 3/027 20060101ALI20131119BHEP

GRAPDespatch of communication of intention to grant a patent

Free format text:ORIGINAL CODE: EPIDOSNIGR1

INTGIntention to grant announced

Effective date:20140805

GRAPDespatch of communication of intention to grant a patent

Free format text:ORIGINAL CODE: EPIDOSNIGR1

INTGIntention to grant announced

Effective date:20150106

GRASGrant fee paid

Free format text:ORIGINAL CODE: EPIDOSNIGR3

GRAA(expected) grant

Free format text:ORIGINAL CODE: 0009210

AKDesignated contracting states

Kind code of ref document:B1

Designated state(s):AL AT BE BG CH CY CZ DE DK EE ES FI FR GB GR HR HU IE IS IT LI LT LU LV MC MK MT NL NO PL PT RO RS SE SI SK SM TR

REGReference to a national code

Ref country code:GB

Ref legal event code:FG4D

REGReference to a national code

Ref country code:CH

Ref legal event code:EP

REGReference to a national code

Ref country code:AT

Ref legal event code:REF

Ref document number:731404

Country of ref document:AT

Kind code of ref document:T

Effective date:20150715

REGReference to a national code

Ref country code:IE

Ref legal event code:FG4D

REGReference to a national code

Ref country code:DE

Ref legal event code:R096

Ref document number:602011017202

Country of ref document:DE

REGReference to a national code

Ref country code:ES

Ref legal event code:FG2A

Ref document number:2544286

Country of ref document:ES

Kind code of ref document:T3

Effective date:20150828

PG25Lapsed in a contracting state [announced via postgrant information from national office to epo]

Ref country code:NO

Free format text:LAPSE BECAUSE OF FAILURE TO SUBMIT A TRANSLATION OF THE DESCRIPTION OR TO PAY THE FEE WITHIN THE PRESCRIBED TIME-LIMIT

Effective date:20150917

Ref country code:LT

Free format text:LAPSE BECAUSE OF FAILURE TO SUBMIT A TRANSLATION OF THE DESCRIPTION OR TO PAY THE FEE WITHIN THE PRESCRIBED TIME-LIMIT

Effective date:20150617

Ref country code:HR

Free format text:LAPSE BECAUSE OF FAILURE TO SUBMIT A TRANSLATION OF THE DESCRIPTION OR TO PAY THE FEE WITHIN THE PRESCRIBED TIME-LIMIT

Effective date:20150617

Ref country code:FI

Free format text:LAPSE BECAUSE OF FAILURE TO SUBMIT A TRANSLATION OF THE DESCRIPTION OR TO PAY THE FEE WITHIN THE PRESCRIBED TIME-LIMIT

Effective date:20150617

REGReference to a national code

Ref country code:AT

Ref legal event code:MK05

Ref document number:731404

Country of ref document:AT

Kind code of ref document:T

Effective date:20150617

REGReference to a national code

Ref country code:LT

Ref legal event code:MG4D

Ref country code:NL

Ref legal event code:MP

Effective date:20150617

PG25Lapsed in a contracting state [announced via postgrant information from national office to epo]

Ref country code:LV

Free format text:LAPSE BECAUSE OF FAILURE TO SUBMIT A TRANSLATION OF THE DESCRIPTION OR TO PAY THE FEE WITHIN THE PRESCRIBED TIME-LIMIT

Effective date:20150617

Ref country code:RS

Free format text:LAPSE BECAUSE OF FAILURE TO SUBMIT A TRANSLATION OF THE DESCRIPTION OR TO PAY THE FEE WITHIN THE PRESCRIBED TIME-LIMIT

Effective date:20150617

Ref country code:GR

Free format text:LAPSE BECAUSE OF FAILURE TO SUBMIT A TRANSLATION OF THE DESCRIPTION OR TO PAY THE FEE WITHIN THE PRESCRIBED TIME-LIMIT

Effective date:20150918

Ref country code:BG

Free format text:LAPSE BECAUSE OF FAILURE TO SUBMIT A TRANSLATION OF THE DESCRIPTION OR TO PAY THE FEE WITHIN THE PRESCRIBED TIME-LIMIT

Effective date:20150917

REGReference to a national code

Ref country code:FR

Ref legal event code:PLFP

Year of fee payment:6

PG25Lapsed in a contracting state [announced via postgrant information from national office to epo]

Ref country code:EE

Free format text:LAPSE BECAUSE OF FAILURE TO SUBMIT A TRANSLATION OF THE DESCRIPTION OR TO PAY THE FEE WITHIN THE PRESCRIBED TIME-LIMIT

Effective date:20150617

PG25Lapsed in a contracting state [announced via postgrant information from national office to epo]

Ref country code:PT

Free format text:LAPSE BECAUSE OF FAILURE TO SUBMIT A TRANSLATION OF THE DESCRIPTION OR TO PAY THE FEE WITHIN THE PRESCRIBED TIME-LIMIT

Effective date:20151019

Ref country code:SK

Free format text:LAPSE BECAUSE OF FAILURE TO SUBMIT A TRANSLATION OF THE DESCRIPTION OR TO PAY THE FEE WITHIN THE PRESCRIBED TIME-LIMIT

Effective date:20150617

Ref country code:IS

Free format text:LAPSE BECAUSE OF FAILURE TO SUBMIT A TRANSLATION OF THE DESCRIPTION OR TO PAY THE FEE WITHIN THE PRESCRIBED TIME-LIMIT

Effective date:20151017

Ref country code:AT

Free format text:LAPSE BECAUSE OF FAILURE TO SUBMIT A TRANSLATION OF THE DESCRIPTION OR TO PAY THE FEE WITHIN THE PRESCRIBED TIME-LIMIT

Effective date:20150617

Ref country code:CZ

Free format text:LAPSE BECAUSE OF FAILURE TO SUBMIT A TRANSLATION OF THE DESCRIPTION OR TO PAY THE FEE WITHIN THE PRESCRIBED TIME-LIMIT

Effective date:20150617

Ref country code:PL

Free format text:LAPSE BECAUSE OF FAILURE TO SUBMIT A TRANSLATION OF THE DESCRIPTION OR TO PAY THE FEE WITHIN THE PRESCRIBED TIME-LIMIT

Effective date:20150617

Ref country code:RO

Free format text:LAPSE BECAUSE OF NON-PAYMENT OF DUE FEES

Effective date:20150617

PGFPAnnual fee paid to national office [announced via postgrant information from national office to epo]

Ref country code:ES

Payment date:20151214

Year of fee payment:6

Ref country code:FR

Payment date:20151208

Year of fee payment:6

REGReference to a national code

Ref country code:DE

Ref legal event code:R097

Ref document number:602011017202

Country of ref document:DE

PLBENo opposition filed within time limit

Free format text:ORIGINAL CODE: 0009261

STAAInformation on the status of an ep patent application or granted ep patent

Free format text:STATUS: NO OPPOSITION FILED WITHIN TIME LIMIT

PG25Lapsed in a contracting state [announced via postgrant information from national office to epo]

Ref country code:DK

Free format text:LAPSE BECAUSE OF FAILURE TO SUBMIT A TRANSLATION OF THE DESCRIPTION OR TO PAY THE FEE WITHIN THE PRESCRIBED TIME-LIMIT

Effective date:20150617

PGFPAnnual fee paid to national office [announced via postgrant information from national office to epo]

Ref country code:DE

Payment date:20151229

Year of fee payment:6

Ref country code:IT

Payment date:20160127

Year of fee payment:6

26NNo opposition filed

Effective date:20160318

PG25Lapsed in a contracting state [announced via postgrant information from national office to epo]

Ref country code:BE

Free format text:LAPSE BECAUSE OF NON-PAYMENT OF DUE FEES

Effective date:20160131

PGFPAnnual fee paid to national office [announced via postgrant information from national office to epo]

Ref country code:GB

Payment date:20160106

Year of fee payment:6

PG25Lapsed in a contracting state [announced via postgrant information from national office to epo]

Ref country code:SI

Free format text:LAPSE BECAUSE OF FAILURE TO SUBMIT A TRANSLATION OF THE DESCRIPTION OR TO PAY THE FEE WITHIN THE PRESCRIBED TIME-LIMIT

Effective date:20150617

Ref country code:LU

Free format text:LAPSE BECAUSE OF FAILURE TO SUBMIT A TRANSLATION OF THE DESCRIPTION OR TO PAY THE FEE WITHIN THE PRESCRIBED TIME-LIMIT

Effective date:20160106

REGReference to a national code

Ref country code:CH

Ref legal event code:PL

PG25Lapsed in a contracting state [announced via postgrant information from national office to epo]

Ref country code:MC

Free format text:LAPSE BECAUSE OF FAILURE TO SUBMIT A TRANSLATION OF THE DESCRIPTION OR TO PAY THE FEE WITHIN THE PRESCRIBED TIME-LIMIT

Effective date:20150617

PG25Lapsed in a contracting state [announced via postgrant information from national office to epo]

Ref country code:CH

Free format text:LAPSE BECAUSE OF NON-PAYMENT OF DUE FEES

Effective date:20160131

Ref country code:LI

Free format text:LAPSE BECAUSE OF NON-PAYMENT OF DUE FEES

Effective date:20160131

REGReference to a national code

Ref country code:IE

Ref legal event code:MM4A

PG25Lapsed in a contracting state [announced via postgrant information from national office to epo]

Ref country code:BE

Free format text:LAPSE BECAUSE OF FAILURE TO SUBMIT A TRANSLATION OF THE DESCRIPTION OR TO PAY THE FEE WITHIN THE PRESCRIBED TIME-LIMIT

Effective date:20150617

PG25Lapsed in a contracting state [announced via postgrant information from national office to epo]

Ref country code:IE

Free format text:LAPSE BECAUSE OF NON-PAYMENT OF DUE FEES

Effective date:20160106

PG25Lapsed in a contracting state [announced via postgrant information from national office to epo]

Ref country code:SE

Free format text:LAPSE BECAUSE OF FAILURE TO SUBMIT A TRANSLATION OF THE DESCRIPTION OR TO PAY THE FEE WITHIN THE PRESCRIBED TIME-LIMIT

Effective date:20150617

Ref country code:NL

Free format text:LAPSE BECAUSE OF FAILURE TO SUBMIT A TRANSLATION OF THE DESCRIPTION OR TO PAY THE FEE WITHIN THE PRESCRIBED TIME-LIMIT

Effective date:20150617

REGReference to a national code

Ref country code:DE

Ref legal event code:R119

Ref document number:602011017202

Country of ref document:DE

PG25Lapsed in a contracting state [announced via postgrant information from national office to epo]

Ref country code:MT

Free format text:LAPSE BECAUSE OF FAILURE TO SUBMIT A TRANSLATION OF THE DESCRIPTION OR TO PAY THE FEE WITHIN THE PRESCRIBED TIME-LIMIT

Effective date:20150617

GBPCGb: european patent ceased through non-payment of renewal fee

Effective date:20170106

REGReference to a national code

Ref country code:FR

Ref legal event code:ST

Effective date:20170929

PG25Lapsed in a contracting state [announced via postgrant information from national office to epo]

Ref country code:FR

Free format text:LAPSE BECAUSE OF NON-PAYMENT OF DUE FEES

Effective date:20170131

PG25Lapsed in a contracting state [announced via postgrant information from national office to epo]

Ref country code:DE

Free format text:LAPSE BECAUSE OF NON-PAYMENT OF DUE FEES

Effective date:20170801

Ref country code:GB

Free format text:LAPSE BECAUSE OF NON-PAYMENT OF DUE FEES

Effective date:20170106

PG25Lapsed in a contracting state [announced via postgrant information from national office to epo]

Ref country code:IT

Free format text:LAPSE BECAUSE OF NON-PAYMENT OF DUE FEES

Effective date:20170106

PG25Lapsed in a contracting state [announced via postgrant information from national office to epo]

Ref country code:CY

Free format text:LAPSE BECAUSE OF FAILURE TO SUBMIT A TRANSLATION OF THE DESCRIPTION OR TO PAY THE FEE WITHIN THE PRESCRIBED TIME-LIMIT

Effective date:20150617

Ref country code:SM

Free format text:LAPSE BECAUSE OF FAILURE TO SUBMIT A TRANSLATION OF THE DESCRIPTION OR TO PAY THE FEE WITHIN THE PRESCRIBED TIME-LIMIT

Effective date:20150617

Ref country code:ES

Free format text:LAPSE BECAUSE OF NON-PAYMENT OF DUE FEES

Effective date:20170107

Ref country code:HU

Free format text:LAPSE BECAUSE OF FAILURE TO SUBMIT A TRANSLATION OF THE DESCRIPTION OR TO PAY THE FEE WITHIN THE PRESCRIBED TIME-LIMIT; INVALID AB INITIO

Effective date:20110106

PG25Lapsed in a contracting state [announced via postgrant information from national office to epo]

Ref country code:TR

Free format text:LAPSE BECAUSE OF FAILURE TO SUBMIT A TRANSLATION OF THE DESCRIPTION OR TO PAY THE FEE WITHIN THE PRESCRIBED TIME-LIMIT

Effective date:20150617

Ref country code:MT

Free format text:LAPSE BECAUSE OF FAILURE TO SUBMIT A TRANSLATION OF THE DESCRIPTION OR TO PAY THE FEE WITHIN THE PRESCRIBED TIME-LIMIT

Effective date:20160131

Ref country code:MK

Free format text:LAPSE BECAUSE OF FAILURE TO SUBMIT A TRANSLATION OF THE DESCRIPTION OR TO PAY THE FEE WITHIN THE PRESCRIBED TIME-LIMIT

Effective date:20150617

PG25Lapsed in a contracting state [announced via postgrant information from national office to epo]

Ref country code:AL

Free format text:LAPSE BECAUSE OF FAILURE TO SUBMIT A TRANSLATION OF THE DESCRIPTION OR TO PAY THE FEE WITHIN THE PRESCRIBED TIME-LIMIT

Effective date:20150617

REGReference to a national code

Ref country code:ES

Ref legal event code:FD2A

Effective date:20181106


[8]ページ先頭

©2009-2025 Movatter.jp