Movatterモバイル変換


[0]ホーム

URL:


EP2436933A3 - Support frame for fan - Google Patents

Support frame for fan
Download PDF

Info

Publication number
EP2436933A3
EP2436933A3EP11009570.0AEP11009570AEP2436933A3EP 2436933 A3EP2436933 A3EP 2436933A3EP 11009570 AEP11009570 AEP 11009570AEP 2436933 A3EP2436933 A3EP 2436933A3
Authority
EP
European Patent Office
Prior art keywords
fan
support frame
circuit board
printed circuit
platform
Prior art date
Legal status (The legal status is an assumption and is not a legal conclusion. Google has not performed a legal analysis and makes no representation as to the accuracy of the status listed.)
Granted
Application number
EP11009570.0A
Other languages
German (de)
French (fr)
Other versions
EP2436933A2 (en
EP2436933B1 (en
EP2436933A8 (en
Inventor
Wolfgang Arno Winkler
Current Assignee (The listed assignees may be inaccurate. Google has not performed a legal analysis and makes no representation or warranty as to the accuracy of the list.)
Ebm Papst St Georgen GmbH and Co KG
Original Assignee
Ebm Papst St Georgen GmbH and Co KG
Priority date (The priority date is an assumption and is not a legal conclusion. Google has not performed a legal analysis and makes no representation as to the accuracy of the date listed.)
Filing date
Publication date
Application filed by Ebm Papst St Georgen GmbH and Co KGfiledCriticalEbm Papst St Georgen GmbH and Co KG
Publication of EP2436933A2publicationCriticalpatent/EP2436933A2/en
Publication of EP2436933A8publicationCriticalpatent/EP2436933A8/en
Publication of EP2436933A3publicationCriticalpatent/EP2436933A3/en
Application grantedgrantedCritical
Publication of EP2436933B1publicationCriticalpatent/EP2436933B1/en
Anticipated expirationlegal-statusCritical
Expired - Lifetimelegal-statusCriticalCurrent

Links

Classifications

Landscapes

Abstract

Translated fromGerman

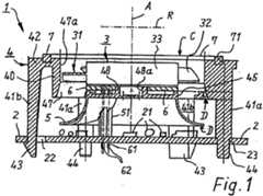
Ein Tragegestell (104) - zur Montage an einer Leiterplatte (2) - ist nach Art einer Bohrinsel ausgebildet und hat eine Plattform (117), die mit Stützbeinen (105, 106, 107, 108) zur Befestigung an der Leiterplatte (2) versehen ist. Das Tragegestell (104) hat im Zentrum seiner Plattform (42) eine Vertiefung (121, 123), die zur Montage eines Lüfters (3) im Abstand von der Leiterplatte (2) ausgebildet ist, wobei die Außenwand (123) der Vertiefung (121, 123) einen Teil des Lüfters bildet.

Figure imgaf001
A support frame (104) - for mounting on a printed circuit board (2) - is formed like an oil rig and has a platform (117) provided with support legs (105, 106, 107, 108) for attachment to the printed circuit board (2) is. The support frame (104) has in the center of its platform (42) a recess (121, 123), which is designed for mounting a fan (3) at a distance from the printed circuit board (2), wherein the outer wall (123) of the recess (121 , 123) forms part of the fan.
Figure imgaf001

EP11009570.0A2004-10-192005-10-04Support frame for axial fanExpired - LifetimeEP2436933B1 (en)

Applications Claiming Priority (4)

Application NumberPriority DateFiling DateTitle
DE2020040197472004-10-19
DE2020050150792005-09-19
PCT/EP2005/010652WO2006042635A1 (en)2004-10-192005-10-04Assembly used for cooling a circuit board or similar
EP05791377.4AEP1702165B1 (en)2004-10-192005-10-04Assembly used for cooling a circuit board or similar

Related Parent Applications (3)

Application NumberTitlePriority DateFiling Date
EP05791377.4ADivisionEP1702165B1 (en)2004-10-192005-10-04Assembly used for cooling a circuit board or similar
EP05791377.4ADivision-IntoEP1702165B1 (en)2004-10-192005-10-04Assembly used for cooling a circuit board or similar
EP05791377.4Division2005-10-04

Publications (4)

Publication NumberPublication Date
EP2436933A2 EP2436933A2 (en)2012-04-04
EP2436933A8 EP2436933A8 (en)2012-05-16
EP2436933A3true EP2436933A3 (en)2018-01-24
EP2436933B1 EP2436933B1 (en)2020-06-03

Family

ID=35482279

Family Applications (2)

Application NumberTitlePriority DateFiling Date
EP11009570.0AExpired - LifetimeEP2436933B1 (en)2004-10-192005-10-04Support frame for axial fan
EP05791377.4AExpired - LifetimeEP1702165B1 (en)2004-10-192005-10-04Assembly used for cooling a circuit board or similar

Family Applications After (1)

Application NumberTitlePriority DateFiling Date
EP05791377.4AExpired - LifetimeEP1702165B1 (en)2004-10-192005-10-04Assembly used for cooling a circuit board or similar

Country Status (3)

CountryLink
US (1)US7390172B2 (en)
EP (2)EP2436933B1 (en)
WO (1)WO2006042635A1 (en)

Families Citing this family (43)

* Cited by examiner, † Cited by third party
Publication numberPriority datePublication dateAssigneeTitle
JP4823694B2 (en)*2006-01-132011-11-24日本電産コパル株式会社 Small fan motor
TWI317863B (en)*2006-05-292009-12-01Asustek Comp IncElectrical device and heat dissipation module thereof
TWI306384B (en)*2006-10-042009-02-11Delta Electronics IncHeat dissipating module and fan thereof
WO2010052074A1 (en)*2008-11-072010-05-14Ebm-Papst Mulfingen Gmbh & Co. KgDiagonal fan
DE202008002356U1 (en)2008-02-192009-06-25Ebm-Papst Mulfingen Gmbh & Co. Kg compact fans
US8403651B2 (en)*2008-04-252013-03-26Delta Electronics, Inc.Fan and airflow guiding structure thereof
US8408884B2 (en)*2008-04-252013-04-02Delta Electronics, Inc.Fan and airflow guiding structure thereof
CN101667057B (en)*2008-09-012012-09-19鸿富锦精密工业(深圳)有限公司 Fan Fixture
US8104559B2 (en)*2008-09-222012-01-31Clark Equipment CompanyMultiple air flow paths using single axial fan
JP5363138B2 (en)*2009-02-252013-12-11ミネベア株式会社 Fan device
TW201037495A (en)*2009-04-022010-10-16Pegatron CorpMotherboard with fan
US8696332B2 (en)*2009-06-152014-04-15Sunonwealth Electric Machine Industry Co., LtdHeat-dissipating fan
US20110274556A1 (en)*2010-05-042011-11-10Adda CorporationPositioning structure for stator assembly of cooling fan
GB2484698B (en)*2010-10-202016-12-14Greenwood Air Man LtdFan cover locating mechanism
CN102480906A (en)*2010-11-262012-05-30英业达股份有限公司Circuit module and electronic device using same
US9835265B2 (en)2011-12-152017-12-05Honeywell International Inc.Valve with actuator diagnostics
US8947242B2 (en)2011-12-152015-02-03Honeywell International Inc.Gas valve with valve leakage test
US8839815B2 (en)2011-12-152014-09-23Honeywell International Inc.Gas valve with electronic cycle counter
US8905063B2 (en)2011-12-152014-12-09Honeywell International Inc.Gas valve with fuel rate monitor
US9995486B2 (en)2011-12-152018-06-12Honeywell International Inc.Gas valve with high/low gas pressure detection
US9557059B2 (en)2011-12-152017-01-31Honeywell International IncGas valve with communication link
US8899264B2 (en)2011-12-152014-12-02Honeywell International Inc.Gas valve with electronic proof of closure system
US9851103B2 (en)2011-12-152017-12-26Honeywell International Inc.Gas valve with overpressure diagnostics
US9074770B2 (en)2011-12-152015-07-07Honeywell International Inc.Gas valve with electronic valve proving system
US9846440B2 (en)2011-12-152017-12-19Honeywell International Inc.Valve controller configured to estimate fuel comsumption
CN103677168A (en)*2012-08-312014-03-26富瑞精密组件(昆山)有限公司Electronic device with fan
US9234661B2 (en)2012-09-152016-01-12Honeywell International Inc.Burner control system
US10422531B2 (en)2012-09-152019-09-24Honeywell International Inc.System and approach for controlling a combustion chamber
EP2868970B1 (en)2013-10-292020-04-22Honeywell Technologies SarlRegulating device
US10024439B2 (en)2013-12-162018-07-17Honeywell International Inc.Valve over-travel mechanism
DE102014112821A1 (en)*2014-09-052016-03-10Ebm-Papst Mulfingen Gmbh & Co. Kg Fan with PCB cooling circuit
US9841122B2 (en)2014-09-092017-12-12Honeywell International Inc.Gas valve with electronic valve proving system
US9645584B2 (en)2014-09-172017-05-09Honeywell International Inc.Gas valve with electronic health monitoring
US10503181B2 (en)2016-01-132019-12-10Honeywell International Inc.Pressure regulator
US10564062B2 (en)2016-10-192020-02-18Honeywell International Inc.Human-machine interface for gas valve
US11073281B2 (en)2017-12-292021-07-27Honeywell International Inc.Closed-loop programming and control of a combustion appliance
DE102018110822B4 (en)*2018-05-042021-07-29Dongguan Protechnic Electric Co., Ltd. Highly efficient, waterproof and heat dissipating fan
US10697815B2 (en)2018-06-092020-06-30Honeywell International Inc.System and methods for mitigating condensation in a sensor module
DE102019214087A1 (en)*2019-09-162021-03-18Ebm-Papst Mulfingen Gmbh & Co. Kg Connection of at least two components of a fan and method for connecting the two components of the fan to one another
US12388332B2 (en)*2021-03-302025-08-12Nidec Tosok CorporationElectric pump
CN114962328B (en)*2022-07-252023-01-06沈阳鼓风机集团股份有限公司Axial-flow type main driving compressor for continuous wind tunnel device
DE102022124201A1 (en)*2022-09-212024-03-21Ebm-Papst Mulfingen Gmbh & Co. Kg Centrifugal fan with retrofittable air guide segments
DE102022134377A1 (en)*2022-12-212024-06-27Ebm-Papst Mulfingen Gmbh & Co. Kg Flow guide device and fan unit with the flow guide device

Citations (3)

* Cited by examiner, † Cited by third party
Publication numberPriority datePublication dateAssigneeTitle
US5478221A (en)*1994-01-311995-12-26Lzr Electronics, Inc.Miniature fan for printed circuit board
US5990582A (en)*1997-05-131999-11-23Micron Electronics, Inc.Computer fan speed control device
US6130820A (en)*1999-05-042000-10-10Intel CorporationMemory card cooling device

Family Cites Families (12)

* Cited by examiner, † Cited by third party
Publication numberPriority datePublication dateAssigneeTitle
US4885488A (en)*1988-05-231989-12-05Texas Instruments IncorporatedMiniaturized fan for printed circuit boards
DE4344054C2 (en)1993-12-231996-05-02Preh Elektro Feinmechanik Control unit for a motor vehicle air conditioning system
ATE159326T1 (en)1994-02-051997-11-15Papst Motoren Gmbh & Co Kg FAN WITH ONE FAN WHEEL
US5785116A (en)*1996-02-011998-07-28Hewlett-Packard CompanyFan assisted heat sink device
IT1294293B1 (en)1997-07-311999-03-24Maurizio Checchetti HEATSINK
DE29718082U1 (en)*1997-10-111999-02-11Papst Motoren Gmbh & Co Kg Small fan unit, especially for use as a circuit board fan
DE19804255A1 (en)*1998-02-041999-08-05Deutz AgVehicle or machinery cooling system with heat exchanger
US6174232B1 (en)1999-09-072001-01-16International Business Machines CorporationHelically conforming axial fan check valve
DE60203858T2 (en)2001-03-032006-02-23Zalman Tech Co., Ltd. REFRIGERATOR AND EQUIPMENT THAT USES THIS
US6498724B1 (en)2001-07-272002-12-24Sen Long ChienHeat dissipation device for a computer
US6726455B2 (en)*2002-09-272004-04-27Sunonwealth Electric Machine Industry Co., Ltd.Fan having a heat sensor device
TW582582U (en)*2002-11-222004-04-01Hon Hai Prec Ind Co LtdVentilation device for computer system

Patent Citations (3)

* Cited by examiner, † Cited by third party
Publication numberPriority datePublication dateAssigneeTitle
US5478221A (en)*1994-01-311995-12-26Lzr Electronics, Inc.Miniature fan for printed circuit board
US5990582A (en)*1997-05-131999-11-23Micron Electronics, Inc.Computer fan speed control device
US6130820A (en)*1999-05-042000-10-10Intel CorporationMemory card cooling device

Also Published As

Publication numberPublication date
EP2436933A2 (en)2012-04-04
EP2436933B1 (en)2020-06-03
EP2436933A8 (en)2012-05-16
EP1702165B1 (en)2015-12-30
US7390172B2 (en)2008-06-24
US20060228237A1 (en)2006-10-12
EP1702165A1 (en)2006-09-20
WO2006042635A1 (en)2006-04-27

Similar Documents

PublicationPublication DateTitle
EP2436933A8 (en)Support frame for fan
EP2289624A3 (en)Microtiter plate
EP1571354A3 (en)Device for attaching a panel to a support
EP1077180A3 (en)Pallet with platform and metal feet
EP1798140A3 (en)Seat attachment device
EP1792786A3 (en)Crash box
EP2091105A3 (en)Directly mounted electronics housing
EP1736149A3 (en)Astaxanthin-containing agent for lowering neutral fat concentration in blood
EP1612643A3 (en)Call signs
EP1604857A3 (en)Vehicle and one piece shroud
JP2003321523A5 (en)
EP1840288A3 (en)Assembly for storing objects with installation elements in a dry wall and attaching method therefor
DE202013010112U1 (en) Blowing toy with sound module
EP1890119A3 (en)Device for detecting impact sound
EP1524892A3 (en)Operating circuit with heat sink for lamp
EP1130341A3 (en)Connecting device for a heating pump
EP1588654A3 (en)Accessory for grill
EP1621700A3 (en)Construction scaffold element
EP1803890A3 (en)Particularly shaped package of ladders and carriage thereof
EP1528220A3 (en)Belt winder with integrated belt disk
EP4613340A3 (en)Stand board
FR2863639B1 (en) PROVISIONAL FUNERAL MONUMENT, WHOSE QUADRANGULAR FRAMEWORK COOPERABLY REMOVES WITH THE TOP OF A FALL
TH88009S (en) Automatic hoist
HK1113801A (en)Cardiovascular disease therapies
EP1365102A3 (en)Stepstool

Legal Events

DateCodeTitleDescription
PUAIPublic reference made under article 153(3) epc to a published international application that has entered the european phase

Free format text:ORIGINAL CODE: 0009012

ACDivisional application: reference to earlier application

Ref document number:1702165

Country of ref document:EP

Kind code of ref document:P

AKDesignated contracting states

Kind code of ref document:A2

Designated state(s):AT BE BG CH CY CZ DE DK EE ES FI FR GB GR HU IE IS IT LI LT LU LV MC NL PL PT RO SE SI SK TR

RTI1Title (correction)

Free format text:SUPPORT FRAME FOR FAN

PUALSearch report despatched

Free format text:ORIGINAL CODE: 0009013

AKDesignated contracting states

Kind code of ref document:A3

Designated state(s):AT BE BG CH CY CZ DE DK EE ES FI FR GB GR HU IE IS IT LI LT LU LV MC NL PL PT RO SE SI SK TR

RIC1Information provided on ipc code assigned before grant

Ipc:F04D 29/60 20060101ALI20171220BHEP

Ipc:F04D 25/06 20060101ALI20171220BHEP

Ipc:F04D 19/00 20060101ALI20171220BHEP

Ipc:F04D 29/54 20060101AFI20171220BHEP

STAAInformation on the status of an ep patent application or granted ep patent

Free format text:STATUS: THE APPLICATION HAS BEEN PUBLISHED

STAAInformation on the status of an ep patent application or granted ep patent

Free format text:STATUS: REQUEST FOR EXAMINATION WAS MADE

17PRequest for examination filed

Effective date:20181029

GRAPDespatch of communication of intention to grant a patent

Free format text:ORIGINAL CODE: EPIDOSNIGR1

STAAInformation on the status of an ep patent application or granted ep patent

Free format text:STATUS: GRANT OF PATENT IS INTENDED

GRASGrant fee paid

Free format text:ORIGINAL CODE: EPIDOSNIGR3

INTGIntention to grant announced

Effective date:20200327

GRAA(expected) grant

Free format text:ORIGINAL CODE: 0009210

STAAInformation on the status of an ep patent application or granted ep patent

Free format text:STATUS: THE PATENT HAS BEEN GRANTED

ACDivisional application: reference to earlier application

Ref document number:1702165

Country of ref document:EP

Kind code of ref document:P

AKDesignated contracting states

Kind code of ref document:B1

Designated state(s):AT BE BG CH CY CZ DE DK EE ES FI FR GB GR HU IE IS IT LI LT LU LV MC NL PL PT RO SE SI SK TR

REGReference to a national code

Ref country code:GB

Ref legal event code:FG4D

Free format text:NOT ENGLISH

REGReference to a national code

Ref country code:CH

Ref legal event code:EP

Ref country code:AT

Ref legal event code:REF

Ref document number:1277292

Country of ref document:AT

Kind code of ref document:T

Effective date:20200615

REGReference to a national code

Ref country code:DE

Ref legal event code:R096

Ref document number:502005016144

Country of ref document:DE

REGReference to a national code

Ref country code:LT

Ref legal event code:MG4D

PG25Lapsed in a contracting state [announced via postgrant information from national office to epo]

Ref country code:LT

Free format text:LAPSE BECAUSE OF FAILURE TO SUBMIT A TRANSLATION OF THE DESCRIPTION OR TO PAY THE FEE WITHIN THE PRESCRIBED TIME-LIMIT

Effective date:20200603

Ref country code:SE

Free format text:LAPSE BECAUSE OF FAILURE TO SUBMIT A TRANSLATION OF THE DESCRIPTION OR TO PAY THE FEE WITHIN THE PRESCRIBED TIME-LIMIT

Effective date:20200603

Ref country code:GR

Free format text:LAPSE BECAUSE OF FAILURE TO SUBMIT A TRANSLATION OF THE DESCRIPTION OR TO PAY THE FEE WITHIN THE PRESCRIBED TIME-LIMIT

Effective date:20200904

Ref country code:FI

Free format text:LAPSE BECAUSE OF FAILURE TO SUBMIT A TRANSLATION OF THE DESCRIPTION OR TO PAY THE FEE WITHIN THE PRESCRIBED TIME-LIMIT

Effective date:20200603

REGReference to a national code

Ref country code:NL

Ref legal event code:MP

Effective date:20200603

PG25Lapsed in a contracting state [announced via postgrant information from national office to epo]

Ref country code:LV

Free format text:LAPSE BECAUSE OF FAILURE TO SUBMIT A TRANSLATION OF THE DESCRIPTION OR TO PAY THE FEE WITHIN THE PRESCRIBED TIME-LIMIT

Effective date:20200603

Ref country code:BG

Free format text:LAPSE BECAUSE OF FAILURE TO SUBMIT A TRANSLATION OF THE DESCRIPTION OR TO PAY THE FEE WITHIN THE PRESCRIBED TIME-LIMIT

Effective date:20200903

PG25Lapsed in a contracting state [announced via postgrant information from national office to epo]

Ref country code:NL

Free format text:LAPSE BECAUSE OF FAILURE TO SUBMIT A TRANSLATION OF THE DESCRIPTION OR TO PAY THE FEE WITHIN THE PRESCRIBED TIME-LIMIT

Effective date:20200603

PG25Lapsed in a contracting state [announced via postgrant information from national office to epo]

Ref country code:CZ

Free format text:LAPSE BECAUSE OF FAILURE TO SUBMIT A TRANSLATION OF THE DESCRIPTION OR TO PAY THE FEE WITHIN THE PRESCRIBED TIME-LIMIT

Effective date:20200603

Ref country code:ES

Free format text:LAPSE BECAUSE OF FAILURE TO SUBMIT A TRANSLATION OF THE DESCRIPTION OR TO PAY THE FEE WITHIN THE PRESCRIBED TIME-LIMIT

Effective date:20200603

Ref country code:PT

Free format text:LAPSE BECAUSE OF FAILURE TO SUBMIT A TRANSLATION OF THE DESCRIPTION OR TO PAY THE FEE WITHIN THE PRESCRIBED TIME-LIMIT

Effective date:20201006

Ref country code:EE

Free format text:LAPSE BECAUSE OF FAILURE TO SUBMIT A TRANSLATION OF THE DESCRIPTION OR TO PAY THE FEE WITHIN THE PRESCRIBED TIME-LIMIT

Effective date:20200603

Ref country code:IT

Free format text:LAPSE BECAUSE OF FAILURE TO SUBMIT A TRANSLATION OF THE DESCRIPTION OR TO PAY THE FEE WITHIN THE PRESCRIBED TIME-LIMIT

Effective date:20200603

Ref country code:RO

Free format text:LAPSE BECAUSE OF FAILURE TO SUBMIT A TRANSLATION OF THE DESCRIPTION OR TO PAY THE FEE WITHIN THE PRESCRIBED TIME-LIMIT

Effective date:20200603

PG25Lapsed in a contracting state [announced via postgrant information from national office to epo]

Ref country code:PL

Free format text:LAPSE BECAUSE OF FAILURE TO SUBMIT A TRANSLATION OF THE DESCRIPTION OR TO PAY THE FEE WITHIN THE PRESCRIBED TIME-LIMIT

Effective date:20200603

Ref country code:SK

Free format text:LAPSE BECAUSE OF FAILURE TO SUBMIT A TRANSLATION OF THE DESCRIPTION OR TO PAY THE FEE WITHIN THE PRESCRIBED TIME-LIMIT

Effective date:20200603

Ref country code:IS

Free format text:LAPSE BECAUSE OF FAILURE TO SUBMIT A TRANSLATION OF THE DESCRIPTION OR TO PAY THE FEE WITHIN THE PRESCRIBED TIME-LIMIT

Effective date:20201003

REGReference to a national code

Ref country code:DE

Ref legal event code:R097

Ref document number:502005016144

Country of ref document:DE

PLBENo opposition filed within time limit

Free format text:ORIGINAL CODE: 0009261

STAAInformation on the status of an ep patent application or granted ep patent

Free format text:STATUS: NO OPPOSITION FILED WITHIN TIME LIMIT

PG25Lapsed in a contracting state [announced via postgrant information from national office to epo]

Ref country code:DK

Free format text:LAPSE BECAUSE OF FAILURE TO SUBMIT A TRANSLATION OF THE DESCRIPTION OR TO PAY THE FEE WITHIN THE PRESCRIBED TIME-LIMIT

Effective date:20200603

26NNo opposition filed

Effective date:20210304

PG25Lapsed in a contracting state [announced via postgrant information from national office to epo]

Ref country code:SI

Free format text:LAPSE BECAUSE OF FAILURE TO SUBMIT A TRANSLATION OF THE DESCRIPTION OR TO PAY THE FEE WITHIN THE PRESCRIBED TIME-LIMIT

Effective date:20200603

REGReference to a national code

Ref country code:CH

Ref legal event code:PL

GBPCGb: european patent ceased through non-payment of renewal fee

Effective date:20201004

PG25Lapsed in a contracting state [announced via postgrant information from national office to epo]

Ref country code:MC

Free format text:LAPSE BECAUSE OF FAILURE TO SUBMIT A TRANSLATION OF THE DESCRIPTION OR TO PAY THE FEE WITHIN THE PRESCRIBED TIME-LIMIT

Effective date:20200603

Ref country code:LU

Free format text:LAPSE BECAUSE OF NON-PAYMENT OF DUE FEES

Effective date:20201004

REGReference to a national code

Ref country code:BE

Ref legal event code:MM

Effective date:20201031

PG25Lapsed in a contracting state [announced via postgrant information from national office to epo]

Ref country code:FR

Free format text:LAPSE BECAUSE OF NON-PAYMENT OF DUE FEES

Effective date:20201031

PG25Lapsed in a contracting state [announced via postgrant information from national office to epo]

Ref country code:GB

Free format text:LAPSE BECAUSE OF NON-PAYMENT OF DUE FEES

Effective date:20201004

Ref country code:LI

Free format text:LAPSE BECAUSE OF NON-PAYMENT OF DUE FEES

Effective date:20201031

Ref country code:BE

Free format text:LAPSE BECAUSE OF NON-PAYMENT OF DUE FEES

Effective date:20201031

Ref country code:CH

Free format text:LAPSE BECAUSE OF NON-PAYMENT OF DUE FEES

Effective date:20201031

PG25Lapsed in a contracting state [announced via postgrant information from national office to epo]

Ref country code:IE

Free format text:LAPSE BECAUSE OF NON-PAYMENT OF DUE FEES

Effective date:20201004

REGReference to a national code

Ref country code:AT

Ref legal event code:MM01

Ref document number:1277292

Country of ref document:AT

Kind code of ref document:T

Effective date:20201004

PG25Lapsed in a contracting state [announced via postgrant information from national office to epo]

Ref country code:AT

Free format text:LAPSE BECAUSE OF NON-PAYMENT OF DUE FEES

Effective date:20201004

PGFPAnnual fee paid to national office [announced via postgrant information from national office to epo]

Ref country code:DE

Payment date:20211020

Year of fee payment:17

PG25Lapsed in a contracting state [announced via postgrant information from national office to epo]

Ref country code:TR

Free format text:LAPSE BECAUSE OF FAILURE TO SUBMIT A TRANSLATION OF THE DESCRIPTION OR TO PAY THE FEE WITHIN THE PRESCRIBED TIME-LIMIT

Effective date:20200603

Ref country code:CY

Free format text:LAPSE BECAUSE OF FAILURE TO SUBMIT A TRANSLATION OF THE DESCRIPTION OR TO PAY THE FEE WITHIN THE PRESCRIBED TIME-LIMIT

Effective date:20200603

REGReference to a national code

Ref country code:DE

Ref legal event code:R119

Ref document number:502005016144

Country of ref document:DE

P01Opt-out of the competence of the unified patent court (upc) registered

Effective date:20230521

PG25Lapsed in a contracting state [announced via postgrant information from national office to epo]

Ref country code:DE

Free format text:LAPSE BECAUSE OF NON-PAYMENT OF DUE FEES

Effective date:20230503


[8]ページ先頭

©2009-2025 Movatter.jp