



L'invention concerne, de façon générale, le domaine de la connectique, et en particulier des accessoires de connexion destinés aux applications informatiques. Plus précisément, l'invention concerne un dispositif de raccordement entre des première et deuxième fiches équipant des câbles multiconducteurs et insérables dans ce dispositif suivant des première et deuxième directions respectives de sens opposés.The invention relates generally to the field of connectors, and in particular connection accessories for computer applications. More specifically, the invention relates to a connection device between first and second plugs fitted to multicore cables and insertable in this device according to first and second respective directions in opposite directions.
Les dispositifs de ce type sont bien connus de l'homme du métier sous l'appellation de "traversées", cette appellation faisant référence au fait que ces dispositifs permettent le raccordement entre des fiches par exemple disposées de part et d'autre d'une paroi.Devices of this type are well known to those skilled in the art under the name of "traverses", this term referring to the fact that these devices allow the connection between cards for example arranged on either side of a wall.
Ces dispositifs doivent satisfaire de nombreuses attentes de la part de leurs utilisateurs, et notamment répondre à des exigences a priori difficilement conciliables de robustesse, de simplicité structurelle, de compacité, et de facilité d'emploi.These devices must meet many expectations from their users, and in particular meet requirements that are difficult to reconcile with respect to robustness, structural simplicity, compactness, and ease of use.
A cette fin, le dispositif dé l'invention, par ailleurs conforme à la définition générique qu'en donne le préambule ci-dessus, où il comprend des première et deuxième prises, une liaison multiconductrice interne, et un boîtier, en ce que les première et deuxième prises présentent des faces de connexion respectives portant chacune une pluralité de contacts et adaptées à recevoir respectivement les première et deuxième fiches engagées dans des fenêtres respectives du boîtier, en ce que les première et deuxième prises sont maintenues en position tête-bêche dans le boîtier, caracterisé ce que la liaison multiconductrice interne prend la forme d'une nappe multiconductrice pliée en baïonnette assurant au moins une continuité galvanique entre chaque contact de chaque prise et un contact correspondant de l'autre prise, cette liaison interne présentant des première et deuxième portions terminales physiquement branchées sur des faces internes respectives des première et deuxième prises, et une portion intermédiaire s'étendant entre les première et deuxième portions terminales.To this end, the device of the invention, moreover, conforms to the generic definition given in the preamble above, where it comprises first and second sockets, an internal multiconductor link, and a housing, in that the first and second sockets have faces respective connectors each carrying a plurality of contacts and adapted to respectively receive the first and second plugs engaged in respective windows of the housing, in that the first and second jacks are held in the head-to-tail position in the housing, characterized by the fact that the internal multi-conductor connection takes the form of a multi-conductor folded bayonet ply ensuring at least one galvanic continuity between each contact of each plug and a corresponding contact of the other socket, this internal link having first and second terminal portions physically connected to respective inner faces of the first and second taps, and an intermediate portion extending between the first and second end portions.
De préférence, la face interne de chaque prise porte une pluralité de broches dont chacune est reliée à un contact de cette prise et sur lesquelles se branche l'une des portions terminales de la liaison interne.Preferably, the inner face of each socket carries a plurality of pins each of which is connected to a contact of this socket and on which is connected one of the end portions of the internal connection.
Chaque portion terminale de la liaison interne est avantageusement rigide et percée d'orifices enfilés sur les broches respectives, la portion intermédiaire de la liaison interne pouvant en revanche être souple.Each end portion of the internal connection is advantageously rigid and pierced with orifices threaded onto the respective pins, the intermediate portion of the internal connection being flexible on the other hand.
Il peut par ailleurs être judicieux de prévoir que le boîtier soit essentiellement formé de deux coques assemblées l'une à l'autre et dont chacune porte des organes de fixation coopérant avec les organes de fixation de l'autre.It may also be wise to provide that the housing is essentially formed of two shells assembled to each other and each of which carries fasteners cooperating with the fasteners of the other.
Idéalement, les coques sont identiques et assemblées l'une à l'autre tête-bêche, chaque coque étant dotée d'organes de fixation mâles et femelles coopérant respectivement avec les organes de fixation femelles et mâles de l'autre coque.Ideally, the hulls are identical and assembled to each other head to tail, each hull being provided with cooperating male and female fasteners respectively with the female and male fasteners of the other hull.
Dans un mode de réalisation particulier de l'invention, les première et deuxième prises sont identiques l'une à l'autre et peuvent être enfoncées à force dans des logements respectifs des première et deuxième coques.In a particular embodiment of the invention, the first and second taps are identical to each other and can be forced into respective housings of the first and second shells.
Le dispositif de l'invention peut en outre comprendre des premier et deuxième écrans métalliques de mise à la masse engagés dans les portions terminales respectives de la liaison interne et reliés l'un à l'autre à travers un conducteur de cette liaison.The device of the invention may further comprise first and second grounding metal screens engaged in the respective end portions of the internal link and connected to each other through a conductor of this link.
Ce dispositif de raccordement est particulièrement bien adapté au cas où lesdites prises sont conformes à la norme CEI 11 801.This connection device is particularly well suited to the case where said plugs comply with the IEC 11 801 standard.
D'autres caractéristiques et avantages de l'invention ressortiront clairement de la description qui en est faite ci-après, à titre indicatif et nullement limitatif, en référence aux dessins annexés, dans lesquels :
Comme indiqué précédemment, l'invention concerne un dispositif de raccordement DR permettant de raccorder entre elles (
Ces fiches équipent des câbles multiconducteurs respectifs C1 et C2, et sont susceptibles d'être insérées dans le dispositif DR suivant des directions respectives, D1 et D2, de sens opposés.These plugs equip respective multicore cables C1 and C2, and may be inserted into the device DR along respective directions, D1 and D2, in opposite directions.
Le dispositif de raccordement de l'invention comprend essentiellement deux prises 1 et 2, une liaison multiconductrice interne 3, et un boîtier 4.The connection device of the invention essentially comprises two
Le boîtier 4 maintient les prises 1 et 2 en position tête-bêche et présente des fenêtres 41 et 42 dans lesquelles les fiches F1 et F2 peuvent être respectivement engagées pour se brancher respectivement sur des faces de connexion respectives 11 et 21 des prises 1 et 2.
Chacune de ces faces de connexion 11 et 21 porte une pluralité de contacts électriques 5 dont chacun est mis en contact galvanique avec un conducteur de la fiche F1 ou F2 lors de l'introduction de cette fiche dans la fenêtre 41 ou 42 correspondante.The
 Each of these connection faces 11 and 21 carries a plurality of
La liaison multiconductrice interne 3 prend la forme d'une nappe multiconductrice pliée en baïonnette et propre à assurer au moins une continuité galvanique entre chaque contact 5 de chacune des prises 1 et 2 et un contact correspondant 5 de l'autre prise.The internal
Cette liaison interne 3 présente deux portions terminales 31 et 32, et une portion intermédiaire 33.This
Les portions terminales 31 et 32 sont physiquement branchées sur des faces internes respectives 12 et 22 des prises 1 et 2, et la portion intermédiaire 33 s'étend entre les portions terminales 31 et 32 et les relie entre elles.The
Comme le montre la
De préférence, les portions terminales 31 et 32 de la liaison interne 3 sont rigides alors que la portion intermédiaire 33 de cette liaison interne est souple pour pouvoir être facilement positionnée entre les prises 1 et 2.Preferably, the
En outre, chacune des portions terminales 31 et 32 de la liaison interne 3 est percée d'orifices 30 dont chacun est en contact électrique avec l'un des conducteurs de cette liaison interne, de sorte que la connexion électrique entre la liaison interne 3 et chacune des prises 1 et 2 peut être réalisée de manière aisée en enfilant ces orifices 30 sur les broches 6 correspondantes de cette prise.In addition, each of the
Les prises 1 et 2 sont donc superposées l'une à l'autre suivant une direction perpendiculaire à chacune des directions D1 et D2, et disposées tête-bêche de part et d'autre de la portion intermédiaire 33 de la liaison interne 3.The
Comme le montre encore la
Dans un mode de réalisation préféré, les coques 4a et 4b sont identiques et sont assemblées l'une à l'autre tête-bêche.In a preferred embodiment, the
Chacune des coques 4a et 4b est dotée d'organes de fixation mâles respectifs, 43a et 43b, ainsi que d'organes de fixation femelles respectifs, 44a et 44b, les organes mâles et femelles de chaque coque coopérant respectivement avec les organes fixation femelles et mâles de l'autre coque pour maintenir les coques 4a et 4b assemblées l'une à l'autre.Each of the
Les prises 1 et 2, qui peuvent typiquement être identiques l'une à l'autre, sont par exemple enfoncées à force dans des logements respectifs 40 des coques 4a et 4b.The
Dans un mode de réalisation particulier illustré à la
Ces écrans 71 et 72 présentent des broches respectives 71a et 72a qui sont respectivement engagées dans des orifices dédiés 30a des portions terminales respectives 31 et 32 de la liaison interne 3, ces écrans étant ainsi électriquement reliés l'un à l'autre à travers un conducteur de cette liaison 3.These
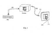
La
Comme le montre cette figure, ce dispositif DR permet de raccorder une fiche F1 à un point de consolidation CONSO par l'intermédiaire d'un cordon KD équipé d'une fiche F2, ce point de consolidation CONSO pouvant lui-même être raccordé à un panneau de brassage PB par l'intermédiaire d'un câble multiconducteur KB éventuellement installé à demeure.As shown in this figure, this device DR allows to connect a record F1 to a CONSO consolidation point via a cord KD equipped with a plug F2, this CONSO consolidation point can itself be connected to a PB patch panel via a multicore cable KB possibly installed permanently.
| Application Number | Priority Date | Filing Date | Title | 
|---|---|---|---|
| FR0609253AFR2907603B1 (en) | 2006-10-20 | 2006-10-20 | DEVICE FOR CONNECTION BETWEEN TWO PLUGS OF COMPACT AND SIMPLIFIED STRUCTURE | 
| PCT/FR2007/001720WO2008047005A1 (en) | 2006-10-20 | 2007-10-17 | Device for connection between two plugs having a compact and simplified structure | 
| Publication Number | Publication Date | 
|---|---|
| EP2076944A1 EP2076944A1 (en) | 2009-07-08 | 
| EP2076944B1true EP2076944B1 (en) | 2015-07-15 | 
| Application Number | Title | Priority Date | Filing Date | 
|---|---|---|---|
| EP07858477.8AActiveEP2076944B1 (en) | 2006-10-20 | 2007-10-17 | Device for connection between two plugs having a compact and simplified structure | 
| Country | Link | 
|---|---|
| US (1) | US7914334B2 (en) | 
| EP (1) | EP2076944B1 (en) | 
| CN (1) | CN101548442B (en) | 
| FR (1) | FR2907603B1 (en) | 
| RU (1) | RU2444822C2 (en) | 
| WO (1) | WO2008047005A1 (en) | 
| Publication number | Priority date | Publication date | Assignee | Title | 
|---|---|---|---|---|
| TWM370852U (en)* | 2009-07-14 | 2009-12-11 | Dragonstate Technology Co Ltd | Adapter module for combined electrical connector and electrical connector | 
| FR2964802B1 (en)* | 2010-09-10 | 2013-07-05 | Legrand France | DEVICE FOR CONNECTING MULTICONDUCTIVE CABLES WITH ADAPTABLE CONFIGURATION | 
| US9322614B2 (en) | 2013-04-12 | 2016-04-26 | The DW Battlesight, LLC | Front iron sight for a firearm providing a tubular aperture through a housing with top opening for light and methods of use | 
| JP5794715B2 (en)* | 2014-03-07 | 2015-10-14 | 日本航空電子工業株式会社 | connector | 
| US9705258B2 (en)* | 2015-08-06 | 2017-07-11 | Te Connectivity Corporation | Feed-through adapter assembly for an electrical connector system | 
| US12401163B2 (en)* | 2021-10-28 | 2025-08-26 | Panduit Corp. | Single pair connector module | 
| Publication number | Priority date | Publication date | Assignee | Title | 
|---|---|---|---|---|
| US4290664A (en)* | 1979-09-28 | 1981-09-22 | Communications Systems, Inc. | Multiple outlet telephone line adapter | 
| US4367908A (en)* | 1980-06-05 | 1983-01-11 | Akzona Incorporated | Electrical connector coupling | 
| US4806117A (en)* | 1987-08-21 | 1989-02-21 | Amp Incorporated | Modular plug coupler | 
| US4904209A (en)* | 1987-12-04 | 1990-02-27 | Amp Incorporated | Modular plug coupler | 
| US5265322A (en)* | 1990-02-05 | 1993-11-30 | Motorola, Inc. | Electronic module assembly and method of forming same | 
| US5044981A (en)* | 1990-04-18 | 1991-09-03 | Reliance Comm/Tec Corporation | Snap-on stacking telephone jack | 
| US5080609A (en)* | 1990-07-31 | 1992-01-14 | Amp Incorporated | Stacked electrical assembly | 
| US5267876A (en)* | 1993-06-16 | 1993-12-07 | The Whitaker Corporation | Board saving stacked electrical connector assembly | 
| US5391095A (en)* | 1993-08-31 | 1995-02-21 | At&T Corp. | Enhancement of 10 base T networks | 
| US5651701A (en)* | 1996-04-17 | 1997-07-29 | Chen; Michael | Electrical computer connector for connection between computer I/O port and telecommunication cable | 
| US6031909A (en)* | 1998-03-19 | 2000-02-29 | Lucent Technologies Inc. | Modular jack housing | 
| JP3540164B2 (en)* | 1998-07-06 | 2004-07-07 | 矢崎総業株式会社 | Waterproof connector | 
| TW537531U (en)* | 2001-04-13 | 2003-06-11 | Sheng-Shing Liau | Signal connector for decreasing attenuation | 
| TW529810U (en)* | 2001-12-26 | 2003-04-21 | Hon Hai Prec Ind Co Ltd | Electric connector having inner placed circuit board | 
| US20030199200A1 (en)* | 2002-04-19 | 2003-10-23 | Chan Lawrence Chi-Yuen | Back-to-back modular plug coupler | 
| US6988914B2 (en)* | 2003-03-14 | 2006-01-24 | Tyco Electronics Corporation | Electrical coupler with splitting receptacle jack interfaces | 
| US6976885B2 (en)* | 2004-03-02 | 2005-12-20 | Mobility Electronics, Inc. | Keyed universal power tip and power source connectors | 
| Publication number | Publication date | 
|---|---|
| FR2907603A1 (en) | 2008-04-25 | 
| CN101548442A (en) | 2009-09-30 | 
| WO2008047005A1 (en) | 2008-04-24 | 
| US20100151739A1 (en) | 2010-06-17 | 
| US7914334B2 (en) | 2011-03-29 | 
| RU2009118937A (en) | 2010-11-27 | 
| EP2076944A1 (en) | 2009-07-08 | 
| RU2444822C2 (en) | 2012-03-10 | 
| CN101548442B (en) | 2011-01-26 | 
| FR2907603B1 (en) | 2009-01-30 | 
| Publication | Publication Date | Title | 
|---|---|---|
| CN108475889B (en) | High-power electric connector | |
| JP6551187B2 (en) | Shielded connector and shielded cable with connector | |
| US10741976B1 (en) | Shield connector and male shield terminal | |
| JP4976738B2 (en) | Ground structure and electrical connector used with the ground structure | |
| CN102714377B (en) | For the insulation system of L shape terminal | |
| EP2076944B1 (en) | Device for connection between two plugs having a compact and simplified structure | |
| EP1528637B1 (en) | Cable connector having a retainer for retaining the contact and clamping the cable | |
| EP2202852A2 (en) | Ground structure and electrical connector using the same | |
| CN113273037B (en) | Connector and outer conductor | |
| WO2015049691A1 (en) | Electrical connector with sealing structure | |
| JP2022000836A (en) | Cable assembly | |
| US6129565A (en) | Cable connector having a grounding device | |
| CN108370121A (en) | Shielded connector and shielded cable with connector | |
| CN115693294A (en) | Connector with a locking member | |
| US20100087091A1 (en) | Electrical connector | |
| WO2008099093A2 (en) | Connector with simplified mounting for a multiple conductor cable | |
| US7775825B2 (en) | Cable connector assembly having strain relief member for cable | |
| US6280250B1 (en) | Electrical connector with terminal retaining means | |
| JP7393393B2 (en) | Connector connection structure | |
| US20100330841A1 (en) | Cable connector for terminating different types of cables | |
| JPH08250219A (en) | Braided connection structure of shield connector | |
| WO2014163025A1 (en) | Connector | |
| JP4804249B2 (en) | Shield connector | |
| JP6853965B2 (en) | Shielded connector and shielded cable with connector | |
| EP0643444A1 (en) | Electric contact with elastic return | 
| Date | Code | Title | Description | 
|---|---|---|---|
| PUAI | Public reference made under article 153(3) epc to a published international application that has entered the european phase | Free format text:ORIGINAL CODE: 0009012 | |
| 17P | Request for examination filed | Effective date:20090421 | |
| AK | Designated contracting states | Kind code of ref document:A1 Designated state(s):AT BE BG CH CY CZ DE DK EE ES FI FR GB GR HU IE IS IT LI LT LU LV MC MT NL PL PT RO SE SI SK TR | |
| 17Q | First examination report despatched | Effective date:20090918 | |
| DAX | Request for extension of the european patent (deleted) | ||
| GRAP | Despatch of communication of intention to grant a patent | Free format text:ORIGINAL CODE: EPIDOSNIGR1 | |
| RIC1 | Information provided on ipc code assigned before grant | Ipc:H01R 31/06 20060101AFI20150310BHEP Ipc:H01R 24/62 20110101ALN20150310BHEP Ipc:H01R 13/659 20110101ALN20150310BHEP | |
| RIC1 | Information provided on ipc code assigned before grant | Ipc:H01R 31/06 20060101AFI20150331BHEP Ipc:H01R 24/62 20110101ALN20150331BHEP Ipc:H01R 13/659 20110101ALN20150331BHEP | |
| INTG | Intention to grant announced | Effective date:20150415 | |
| GRAS | Grant fee paid | Free format text:ORIGINAL CODE: EPIDOSNIGR3 | |
| GRAA | (expected) grant | Free format text:ORIGINAL CODE: 0009210 | |
| AK | Designated contracting states | Kind code of ref document:B1 Designated state(s):AT BE BG CH CY CZ DE DK EE ES FI FR GB GR HU IE IS IT LI LT LU LV MC MT NL PL PT RO SE SI SK TR | |
| REG | Reference to a national code | Ref country code:CH Ref legal event code:EP Ref country code:GB Ref legal event code:FG4D Free format text:NOT ENGLISH | |
| REG | Reference to a national code | Ref country code:IE Ref legal event code:FG4D Free format text:LANGUAGE OF EP DOCUMENT: FRENCH | |
| REG | Reference to a national code | Ref country code:AT Ref legal event code:REF Ref document number:737202 Country of ref document:AT Kind code of ref document:T Effective date:20150815 | |
| REG | Reference to a national code | Ref country code:DE Ref legal event code:R096 Ref document number:602007042198 Country of ref document:DE | |
| REG | Reference to a national code | Ref country code:AT Ref legal event code:MK05 Ref document number:737202 Country of ref document:AT Kind code of ref document:T Effective date:20150715 | |
| REG | Reference to a national code | Ref country code:NL Ref legal event code:MP Effective date:20150715 | |
| REG | Reference to a national code | Ref country code:LT Ref legal event code:MG4D | |
| PG25 | Lapsed in a contracting state [announced via postgrant information from national office to epo] | Ref country code:LV Free format text:LAPSE BECAUSE OF FAILURE TO SUBMIT A TRANSLATION OF THE DESCRIPTION OR TO PAY THE FEE WITHIN THE PRESCRIBED TIME-LIMIT Effective date:20150715 Ref country code:LT Free format text:LAPSE BECAUSE OF FAILURE TO SUBMIT A TRANSLATION OF THE DESCRIPTION OR TO PAY THE FEE WITHIN THE PRESCRIBED TIME-LIMIT Effective date:20150715 Ref country code:GR Free format text:LAPSE BECAUSE OF FAILURE TO SUBMIT A TRANSLATION OF THE DESCRIPTION OR TO PAY THE FEE WITHIN THE PRESCRIBED TIME-LIMIT Effective date:20151016 Ref country code:FI Free format text:LAPSE BECAUSE OF FAILURE TO SUBMIT A TRANSLATION OF THE DESCRIPTION OR TO PAY THE FEE WITHIN THE PRESCRIBED TIME-LIMIT Effective date:20150715 | |
| PG25 | Lapsed in a contracting state [announced via postgrant information from national office to epo] | Ref country code:PL Free format text:LAPSE BECAUSE OF FAILURE TO SUBMIT A TRANSLATION OF THE DESCRIPTION OR TO PAY THE FEE WITHIN THE PRESCRIBED TIME-LIMIT Effective date:20150715 Ref country code:AT Free format text:LAPSE BECAUSE OF FAILURE TO SUBMIT A TRANSLATION OF THE DESCRIPTION OR TO PAY THE FEE WITHIN THE PRESCRIBED TIME-LIMIT Effective date:20150715 Ref country code:PT Free format text:LAPSE BECAUSE OF FAILURE TO SUBMIT A TRANSLATION OF THE DESCRIPTION OR TO PAY THE FEE WITHIN THE PRESCRIBED TIME-LIMIT Effective date:20151116 Ref country code:SE Free format text:LAPSE BECAUSE OF FAILURE TO SUBMIT A TRANSLATION OF THE DESCRIPTION OR TO PAY THE FEE WITHIN THE PRESCRIBED TIME-LIMIT Effective date:20150715 Ref country code:ES Free format text:LAPSE BECAUSE OF FAILURE TO SUBMIT A TRANSLATION OF THE DESCRIPTION OR TO PAY THE FEE WITHIN THE PRESCRIBED TIME-LIMIT Effective date:20150715 | |
| REG | Reference to a national code | Ref country code:DE Ref legal event code:R097 Ref document number:602007042198 Country of ref document:DE | |
| PG25 | Lapsed in a contracting state [announced via postgrant information from national office to epo] | Ref country code:DK Free format text:LAPSE BECAUSE OF FAILURE TO SUBMIT A TRANSLATION OF THE DESCRIPTION OR TO PAY THE FEE WITHIN THE PRESCRIBED TIME-LIMIT Effective date:20150715 Ref country code:CZ Free format text:LAPSE BECAUSE OF FAILURE TO SUBMIT A TRANSLATION OF THE DESCRIPTION OR TO PAY THE FEE WITHIN THE PRESCRIBED TIME-LIMIT Effective date:20150715 Ref country code:SK Free format text:LAPSE BECAUSE OF FAILURE TO SUBMIT A TRANSLATION OF THE DESCRIPTION OR TO PAY THE FEE WITHIN THE PRESCRIBED TIME-LIMIT Effective date:20150715 Ref country code:EE Free format text:LAPSE BECAUSE OF FAILURE TO SUBMIT A TRANSLATION OF THE DESCRIPTION OR TO PAY THE FEE WITHIN THE PRESCRIBED TIME-LIMIT Effective date:20150715 | |
| REG | Reference to a national code | Ref country code:DE Ref legal event code:R119 Ref document number:602007042198 Country of ref document:DE | |
| PLBE | No opposition filed within time limit | Free format text:ORIGINAL CODE: 0009261 | |
| STAA | Information on the status of an ep patent application or granted ep patent | Free format text:STATUS: NO OPPOSITION FILED WITHIN TIME LIMIT | |
| PG25 | Lapsed in a contracting state [announced via postgrant information from national office to epo] | Ref country code:LU Free format text:LAPSE BECAUSE OF FAILURE TO SUBMIT A TRANSLATION OF THE DESCRIPTION OR TO PAY THE FEE WITHIN THE PRESCRIBED TIME-LIMIT Effective date:20151017 Ref country code:RO Free format text:LAPSE BECAUSE OF FAILURE TO SUBMIT A TRANSLATION OF THE DESCRIPTION OR TO PAY THE FEE WITHIN THE PRESCRIBED TIME-LIMIT Effective date:20150715 | |
| REG | Reference to a national code | Ref country code:CH Ref legal event code:PL | |
| 26N | No opposition filed | Effective date:20160418 | |
| GBPC | Gb: european patent ceased through non-payment of renewal fee | Effective date:20151017 | |
| PG25 | Lapsed in a contracting state [announced via postgrant information from national office to epo] | Ref country code:MC Free format text:LAPSE BECAUSE OF FAILURE TO SUBMIT A TRANSLATION OF THE DESCRIPTION OR TO PAY THE FEE WITHIN THE PRESCRIBED TIME-LIMIT Effective date:20150715 Ref country code:IS Free format text:LAPSE BECAUSE OF FAILURE TO SUBMIT A TRANSLATION OF THE DESCRIPTION OR TO PAY THE FEE WITHIN THE PRESCRIBED TIME-LIMIT Effective date:20150715 | |
| REG | Reference to a national code | Ref country code:IE Ref legal event code:MM4A | |
| PG25 | Lapsed in a contracting state [announced via postgrant information from national office to epo] | Ref country code:DE Free format text:LAPSE BECAUSE OF NON-PAYMENT OF DUE FEES Effective date:20160503 Ref country code:GB Free format text:LAPSE BECAUSE OF NON-PAYMENT OF DUE FEES Effective date:20151017 Ref country code:LI Free format text:LAPSE BECAUSE OF NON-PAYMENT OF DUE FEES Effective date:20151031 Ref country code:CH Free format text:LAPSE BECAUSE OF NON-PAYMENT OF DUE FEES Effective date:20151031 | |
| REG | Reference to a national code | Ref country code:FR Ref legal event code:PLFP Year of fee payment:10 | |
| PG25 | Lapsed in a contracting state [announced via postgrant information from national office to epo] | Ref country code:SI Free format text:LAPSE BECAUSE OF FAILURE TO SUBMIT A TRANSLATION OF THE DESCRIPTION OR TO PAY THE FEE WITHIN THE PRESCRIBED TIME-LIMIT Effective date:20150715 | |
| PG25 | Lapsed in a contracting state [announced via postgrant information from national office to epo] | Ref country code:IE Free format text:LAPSE BECAUSE OF NON-PAYMENT OF DUE FEES Effective date:20151017 | |
| PG25 | Lapsed in a contracting state [announced via postgrant information from national office to epo] | Ref country code:BG Free format text:LAPSE BECAUSE OF FAILURE TO SUBMIT A TRANSLATION OF THE DESCRIPTION OR TO PAY THE FEE WITHIN THE PRESCRIBED TIME-LIMIT Effective date:20150715 Ref country code:HU Free format text:LAPSE BECAUSE OF FAILURE TO SUBMIT A TRANSLATION OF THE DESCRIPTION OR TO PAY THE FEE WITHIN THE PRESCRIBED TIME-LIMIT; INVALID AB INITIO Effective date:20071017 | |
| PG25 | Lapsed in a contracting state [announced via postgrant information from national office to epo] | Ref country code:NL Free format text:LAPSE BECAUSE OF FAILURE TO SUBMIT A TRANSLATION OF THE DESCRIPTION OR TO PAY THE FEE WITHIN THE PRESCRIBED TIME-LIMIT Effective date:20150715 Ref country code:CY Free format text:LAPSE BECAUSE OF FAILURE TO SUBMIT A TRANSLATION OF THE DESCRIPTION OR TO PAY THE FEE WITHIN THE PRESCRIBED TIME-LIMIT Effective date:20150715 | |
| PG25 | Lapsed in a contracting state [announced via postgrant information from national office to epo] | Ref country code:BE Free format text:LAPSE BECAUSE OF NON-PAYMENT OF DUE FEES Effective date:20151031 | |
| REG | Reference to a national code | Ref country code:FR Ref legal event code:PLFP Year of fee payment:11 | |
| PG25 | Lapsed in a contracting state [announced via postgrant information from national office to epo] | Ref country code:MT Free format text:LAPSE BECAUSE OF FAILURE TO SUBMIT A TRANSLATION OF THE DESCRIPTION OR TO PAY THE FEE WITHIN THE PRESCRIBED TIME-LIMIT Effective date:20150715 Ref country code:TR Free format text:LAPSE BECAUSE OF FAILURE TO SUBMIT A TRANSLATION OF THE DESCRIPTION OR TO PAY THE FEE WITHIN THE PRESCRIBED TIME-LIMIT Effective date:20150715 | |
| REG | Reference to a national code | Ref country code:FR Ref legal event code:PLFP Year of fee payment:12 | |
| PGFP | Annual fee paid to national office [announced via postgrant information from national office to epo] | Ref country code:IT Payment date:20201030 Year of fee payment:14 | |
| PG25 | Lapsed in a contracting state [announced via postgrant information from national office to epo] | Ref country code:IT Free format text:LAPSE BECAUSE OF NON-PAYMENT OF DUE FEES Effective date:20211017 | |
| PGFP | Annual fee paid to national office [announced via postgrant information from national office to epo] | Ref country code:FR Payment date:20240919 Year of fee payment:18 |