

Die Erfindung betrifft einen Volumenstromregler, insbesondere für Heizungsbrenner.The invention relates to a volumetric flow controller, in particular for heating burners.
Brenner von Heizungsanlagen müssen mit definierten Gasströmen oder auch Gas/Luft-Gemischen definierter Zusammensetzung versorgt werden. Dazu dient bspw. gemäß der
Insbesondere bei Brennern mit geringen Druckverlusten und bei klein dimensionierten Armaturen wird der Gasdurchsatz bei Volllast zunehmend unabhängig von dem an dem Druckregler ausgangsseitig eingestellten Gasdruck. Als Folge bleibt der eingestellte Gasdurchfluss gelegentlich nicht konstant oder neigt zu Schwingungserscheinungen. Größer dimensionierte Armaturen sind teuer. Höhere Druckabfälle an dem Brenner erfordern einen höheren Gaseingangsdruck, der wiederum die kleinen Armaturen überfordert.Especially with burners with low pressure drops and in small-sized fittings, the gas flow at full load is increasingly independent of the pressure set on the output side gas pressure. As a result, the set gas flow is occasionally not constant or tends to vibrate. Larger sized fittings are expensive. Higher pressure drops on the burner require a higher gas inlet pressure, which in turn overwhelms the small valves.
Davon ausgehend ist es Aufgabe der Erfindung, einen verbesserten Volumenstromregler anzugeben. Insbesondere soll dieser verbesserte Regeleigenschaften aufweisen.On this basis, it is an object of the invention to provide an improved volume flow regulator. In particular, this should have improved control properties.
Diese Aufgabe wird mit dem erfindungsgemäßen Volumenstromregler gelöst, der sich insbesondere für Heizungsbrenner, aber auch für andere Anwendungen eignet. Der erfindungsgemäße Volumenstromregler weist ein gesteuertes Ventil auf, das mit einem Fluidantrieb bspw. in Form eines Membranantriebs versehen ist. Stromabwärts zu dem gesteuerten Ventil ist eine Stelldrossel angeordnet, an der ein Differenzdruckabgriff versehen ist. Dieser umfasst einen ersten Druckabgriff stromaufwärts zu der Stelldrossel und einen zweiten Druckabgriff stromabwärts zu dieser. Über den Differenzdruckabgriff wird ein Differenzdrucksignal zu dem Fluidantrieb geleitet, der entsprechend dem Differenzdrucksignal eine Stellbewegung ausführt. Die Regelung erfolgt dabei in dem Sinne, dass das gesteuerte Ventil Differenzdruckänderungen gegensteuert. Wird der Differenzdruck zu groß, wird das Ventil tendenziell geschlossen, während es tendenziell geöffnet wird, wenn der Differenzdruck an der Stelldrossel zu gering wird.This object is achieved with the volume flow regulator according to the invention, which is particularly suitable for heating burners, but also for other applications. The volume flow regulator according to the invention has a controlled valve, which is provided with a fluid drive, for example, in the form of a diaphragm drive. Downstream of the controlled valve, a control throttle is arranged, on which a differential pressure tap is provided. This includes a first pressure tap upstream of the control throttle and a second pressure tap downstream thereof. About the Differenzdruckabgriff a differential pressure signal is passed to the fluid drive, which performs an adjusting movement according to the differential pressure signal. The regulation takes place in the sense that the controlled valve counteracts differential pressure changes. If the differential pressure becomes too great, the valve tends to close while it tends to open when the differential pressure at the variable throttle becomes too low.
Durch diese Maßnahme wird der geregelte Volumenstrom von dem Gegendruck des Brenners vollkommen unabhängig. Die Festlegung der Größe des Gasvolumenstroms erfolgt durch eine Gasdruckregelung anhand des Differenzdrucks an der Stelldrossel. Der Regler hält dabei die Druckdifferenz an der Stelldrossel konstant. Dadurch ist der Gasvolumenstrom im Idealfall nur noch von der Einstellposition der Stelldrossel abhängig. Die Gasmenge ist dann von dem feien Drosselquerschnitt linear abhängig. Sie lässt sich an der Stelldrossel robust und hervorragend reproduzierbar einstellen. Schwankungen des Gaseingangsdrucks und Brennraumrückwirkungen haben praktisch keinen Einfluss auf den Gasvolumenstrom. Durch das konstant niedrige Druckgefälle an der Stelldrossel können auf einfache Weise Messstellen aufgefunden werden, die über den ganzen Arbeitsbereich passende Druckwerte liefern.By this measure, the controlled volume flow of the back pressure of the burner is completely independent. The determination of the size of the gas volume flow is effected by a gas pressure control based on the differential pressure at the control throttle. The controller keeps the pressure difference at the control throttle constant. As a result, the gas volume flow in the ideal case only depends on the setting position of the actuating choke. The amount of gas is then linearly dependent on the fine throttle cross-section. It can be set robustly and excellently reproducibly on the control choke. Fluctuations in the gas inlet pressure and combustion chamber repercussions have practically no influence on the gas volume flow. Due to the constantly low pressure gradient at the variable throttle, measuring points can be found in a simple way that deliver suitable pressure values over the entire working range.
Der erfindungsgemäße Volumenstromregler eignet sich auch zur Korrektur des Gas/Luft-Verhältnisses, wobei im günstigsten Fall die Stelldrossel in Abhängigkeit von der Gasart oder anhand eines λ-Signals eingestellt wird.The volumetric flow controller according to the invention is also suitable for the correction of the gas / air ratio, wherein in the most favorable case the control choke is set as a function of the gas type or on the basis of a λ signal.
Die Stelldrossel kann durch einen verstellbar angeordneten Schieber eine Drosselklappe eine Jalousie auswechselbarer Blenden oder ähnliche Drosselanordnungen gebildet sein. Sie kann außerdem mit dem gesteuerten Ventil in einem gemeinsamen Gehäuse vereinigt sein, so dass der volumenstromregler durch eine einzeln handhabbare und verkaufsfähige Baugruppe gebildet wird.The control choke can be formed by an adjustably arranged slide a throttle a shutter interchangeable diaphragms or similar throttle arrangements. It can also be combined with the controlled valve in a common housing, so that the volume flow controller is formed by an individually manageable and salable assembly.
Der Differenzdruckabgriff umfasst vorzugsweise einen ersten Abgriffkanal stromaufwärts und einen zweiten Abgriffkanal stromabwärts zu der Drosselstelle der Stelldrossel. Diese Abgriffskanäle können durch gesonderte Leitungen, Gehäusebohrungen, Rohre Schläuche oder sonstige nach außen fluiddichte Mittel gebildet sein. Sie sind vorzugsweise unverzweigt und verbinden den Differenzdruckabgriff unmittelbar mit dem Fluidantrieb.The differential pressure tap preferably includes a first tap channel upstream and a second tap channel downstream of the throttle of the actuating throttle. This tap channels can be formed by separate lines, housing bores, tubes tubes or other outwardly fluid-tight means. They are preferably unbranched and connect the differential pressure tap directly to the fluid drive.
Der Fluidantrieb ist vorzugsweise ein Membranstellantrieb mit einer Membran, die in einem Antriebsgehäuse zwei Arbeitskammern voneinander trennt. Keine der beiden Arbeitskammern hat eine Verbindung zur Atmosphäre. Vielmehr ist eine der beiden Arbeitskammer mit dem stromaufwärtigen Abgriffkanal verbunden, während die andere Arbeitskammer mit dem stromabwärtigen Abgriffkanal verbunden ist. Damit wird das Ventil ausschließlich anhand der Druckdifferenz an der Stelldrossel betätigt. Als Mittel zur Vorgabe eines Druckwerts dient bspw. Ein Federmittel, dass eine Kraft erzeugt, die der Stellkraft des Fluidantriebs entgegengerichtet ist. Dieses Federmittel kann innerhalb des Fluidstellantriebs oder anderweitig, bspw. in oder an dem Ventil, angeordnet sein. Es kann bedarfsweise verstellbar oder einstellbar ausgebildet oder angeordnet sein. Beispielsweise kann es sich mit einem Ende an der Membran des Stellantriebs und mit seinem anderen Ende an einem über eine Schraube verstellbaren Widerlager abstützen. In der bevorzugten Ausführungsform ist das Widerlager jedoch fest, d.h. unverstellbar ausgebildet.The fluid drive is preferably a diaphragm actuator with a diaphragm which separates two working chambers from each other in a drive housing. Neither of the two working chambers has any connection to the atmosphere. Rather, one of the two working chambers is connected to the upstream tap channel, while the other working chamber is connected to the downstream tap channel. Thus, the valve is operated solely on the basis of the pressure difference at the control throttle. As a means for setting a pressure value is used, for example. A spring means that generates a force which is opposite to the actuating force of the fluid drive. This spring means can be arranged within the fluid actuator or otherwise, for example in or on the valve. It can be configured or arranged as required adjustable or adjustable. For example, it can be supported with one end on the diaphragm of the actuator and with its other end to a screw adjustable via an abutment. However, in the preferred embodiment, the abutment is fixed, i. immovable trained.
Die Stelldrossel ist vorzugsweise verstellbar ausgebildet, wobei zur Verstellung im einfachsten Fall eine manuelle Verstellmöglichkeit vorgesehen sein kann. Diese kann bspw. dazu dienen, eine Anpassung an unterschiedliche Gasqualitäten vorzunehmen oder einen angeschlossenen Brenner anderweitig einzustellen.The control throttle is preferably designed to be adjustable, wherein for adjustment in the simplest case, a manual adjustment can be provided. This can, for example, serve to adapt to different gas qualities or to otherwise set a connected burner.
Alternativ kann ein Stellantrieb, wie bspw. ein elektrischer Antrieb vorgesehen sein, mit dem die Stelldrossel, bspw. zum Einregulieren von λ-Werten wie gewünscht verstellt wird.Alternatively, an actuator, such as. An electric drive may be provided, with which the control choke, for example. For regulating λ values is adjusted as desired.
Weitere Einzelheiten vorteilhafter Ausführungsformen Erfindung ergeben sich aus der Zeichnung, der Beschreibung oder Ansprüchen.Further details of advantageous embodiments of the invention will become apparent from the drawings, the description or claims.
In der Zeichnung sind Ausführungsbeispiele der Erfindung veranschaulicht. Es zeigen:
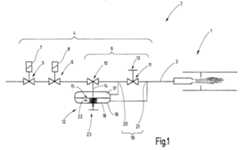
In Figur 1 ist ein Gasbrenner 1 mit zugehöriger Gasversorgung 2 veranschaulicht, zu der ein Gaszuführungskanal 3, z.B. in Form einer Leitung gehört. In diesem ist eine Gasarmatur 4 angeordnet, die in einem oder in mehreren einzelnen Gehäusen mehrere Ventile bzw. Ventil- oder Drosseleinrichtungen umfasst. Zu der Gasarmatur gehören bspw. ein oder zwei Gassicherheitsventile 5, 6, nebst Stellantrieb 7, 8, der bspw. als Zugmagnet ausgebildet sein kann. Außerdem gehört zu der Gasarmatur 4 ein Volumenstromregler 9, der dazu dient, dem Brenner 1 einen definierten Gasstrom zu liefern und zwar unabhängig von dem Gegendruck des Brenners 1. Der Volumenstromregler 9 enthält ein gesteuertes Ventil 10 und eine Stelldrossel 11, die seriell hintereinander angeordnet sind. Diese Stelldrossel 11 ist stromabwärts zu dem Ventil 10, d.h. zwischen diesem und dem Brenner 1 angeordnet. Während das Ventil 10 mit einem Fluidstellantrieb 12 versehen ist, dient zur Einstellung des freien Durchflussquerschnitts der Stelldrossel 11 bspw. eine Handstelleinrichtung 13, z.B. in Form einer Stellschraube. Mit dieser kann die Position eines Schiebers oder eine Drosselklappe verstellt werden. Andere verstellbare Drosseleinrichtungen sind zum Ersatz der Stelldrossel 11 geeignet.Figure 1 illustrates a
Der Fluidantrieb 12 dient zum Antrieb des Ventilverschlussglieds des Ventils 10, bspw. in Form eines Stellkegels, der gegen eine Öffnung verstellt wird. Die Verstellung erfolgt über eine Stellstange 14, die mit einer Membran 15 verbunden ist. Die Membran 15 teilt in einem Gehäuse 16 zwei Arbeitskammern 17, 18 ab, die nach außen hin abgedichtet sind. Die Arbeitskammern 17, 18 sind an einem Differenzdruckabgriff 19 angeschlossen, mit dem der an der Stelldrossel 11 anstehende Druckabfall erfasst wird. Zu dem Differenzdruckabgriff 19 gehören ein erster Abgriffkanal 120 und ein zweiter Abgriffkanal 21. Der Abgriffkanal 20 leitet den zwischen dem Ventil 10 und der Stelldrossel 11 anstehenden Druck in die Arbeitskammer 17. Der Abgriffkanal 21 leitet den zwischen der Stelldrossel 11 und dem Brenner 1 anstehenden Druck zu der Arbeitskammer 18. Beide Abgriffkanäle 20, 21 können in unmittelbarer Nähe zu der Stelldrossel 11 angeordnet sein. Die Druckbeaufschlagung der Arbeitskammer 17 führt tendenziell zum Schließen des Ventils 10. Die Druckbeaufschlagung der Arbeitskammer 18 führt tendenziell zum Öffnen des Ventils 10.The
Dem Ventil 10 ist ein Federmittel 22 zugeordnet, das einen Sollwert für den Differenzdruck an der Stelldrossel 11 vorgibt. Den Federmittel 22 ist eine Einstelleinrichtung 23 bspw. in Form einer Stellschraube zugeordnet. Die Druckreglung wird bewirkt, weil die zwischen den Arbeitskammern 17, 18 herrschende Druckdifferenz und die daraus an der Membran 15 erzeugte Kraft mit der Kraft des Federmittels 22 in Übereinstimmung bleibt. Die Federkennlinie des Federmittels 20 ist vorzugsweise flach, so dass geringe Druckänderungen eine große Stellbewegung hervorrufen.The
Der insoweit beschriebene Volumenstromregler 9 arbeitet wie folgt:The
In Betrieb steht an dem Eingang der Gasarmatur Gas mit einem gegebenen möglicherweise schwankenden Druck an. Öffnen die Gassicherheitsventile 5, 6 strömt Gas durch das Ventil 10 und die Stelldrossel 11 zu dem Brenner 1. Dabei entsteht an der Stelldrossel 11 ein Druckabfall, der über den Differenzdruckabgriff 19 zu dem Fluidantrieb 12 geleitet wird. Dies bewirkt, dass das Ventil 10 nun einem solchen Druck am Eingang der Stelldrossel 11 einreguliert, dass der Druckabfall über der Stelldrossel 11 einen konstanten gewünschten Wert annimmt. Dies gilt unabhängig von dem Gegendruck den der Brenner 1 verursacht sowie auch unabhängig von dem Gasdruck der an dem Eingang der Gasarmatur 4 anliegt. Ebenso gilt dies unabhängig von dem umgebenden Atmosphärendruck.In operation, at the inlet of the gas fitting, gas is at a given possibly fluctuating pressure. Open the
Somit ist an der Stelldrossel 11 der gewünschte Gasvolumenstrom präzise vorgegeben und einstellbar.Thus, at the
Eine abgewandelte Ausführungsform des Volumenstromreglers geht aus Figur 2 hervor. Die vorstehende Beschreibung gilt entsprechend. Jedoch ist anstelle der Handstelleinrichtung 13 eine Motorstelleinrichtung 24 vorgesehen, mit der die Stelldrossel 11 betätigt werden kann. Die Betätigung erfolgt bspw. mittels einer Steuereinrichtung 25, die über eine λ-Sonde 26 z.B. die Zusammensetzung des von dem Brenner 1 gelieferten Abgases erfassen kann. Bedarfsweise kann der Stellantrieb 24 auch anhand anderer Werte gesteuert oder geregelt betrieben werden.A modified embodiment of the volumetric flow controller is shown in FIG. The above description applies accordingly. However, instead of the
Der erfindungsgemäße Volumenstromregler 1 besteht aus einem Fluidantrieb 12 zur Betätigung eines Druckregelventils 10 und einer nachgeschalteten Stelldrossel 11, an der der anstehende Druckabfall abgegriffen und unmittelbar durch unverzweigte Druckabgriffkanäle 20, 21 zu dem Fluidstellantrieb 12 geleitet wird. Dieser weist eine Membran au, deren eine Seite von dem Druck vor der Stelldrossel 11 und deren andere Seite von dem Druck hinter der Stelldrossel 11 beaufschlagt ist. Ihre Auslenkung wird somit von der Druckdifferenz an der Stelldrossel 11 bestimmt, sind somit konstant gehalten wird. Dadurch kann ein nachgeschalteter Gasverbraucher unabhängig von sonstigen Einflüssen mit konstantem Gasvolumenstrom betrieben werden.The
| Application Number | Priority Date | Filing Date | Title | 
|---|---|---|---|
| DE102006034917ADE102006034917B4 (en) | 2006-07-28 | 2006-07-28 | Volume flow controller | 
| Publication Number | Publication Date | 
|---|---|
| EP1882882A2true EP1882882A2 (en) | 2008-01-30 | 
| Application Number | Title | Priority Date | Filing Date | 
|---|---|---|---|
| EP07005099AWithdrawnEP1882882A2 (en) | 2006-07-28 | 2007-03-13 | Flowrate regulating device | 
| Country | Link | 
|---|---|
| EP (1) | EP1882882A2 (en) | 
| DE (1) | DE102006034917B4 (en) | 
| Publication number | Priority date | Publication date | Assignee | Title | 
|---|---|---|---|---|
| CN102692020A (en)* | 2012-04-27 | 2012-09-26 | 成都炭素有限责任公司 | Adjustable gas flow combustion apparatus | 
| US8839815B2 (en) | 2011-12-15 | 2014-09-23 | Honeywell International Inc. | Gas valve with electronic cycle counter | 
| US8899264B2 (en) | 2011-12-15 | 2014-12-02 | Honeywell International Inc. | Gas valve with electronic proof of closure system | 
| US8905063B2 (en) | 2011-12-15 | 2014-12-09 | Honeywell International Inc. | Gas valve with fuel rate monitor | 
| US8947242B2 (en) | 2011-12-15 | 2015-02-03 | Honeywell International Inc. | Gas valve with valve leakage test | 
| US9074770B2 (en) | 2011-12-15 | 2015-07-07 | Honeywell International Inc. | Gas valve with electronic valve proving system | 
| US9234661B2 (en) | 2012-09-15 | 2016-01-12 | Honeywell International Inc. | Burner control system | 
| US9557059B2 (en) | 2011-12-15 | 2017-01-31 | Honeywell International Inc | Gas valve with communication link | 
| US9645584B2 (en) | 2014-09-17 | 2017-05-09 | Honeywell International Inc. | Gas valve with electronic health monitoring | 
| US9683674B2 (en) | 2013-10-29 | 2017-06-20 | Honeywell Technologies Sarl | Regulating device | 
| US9835265B2 (en) | 2011-12-15 | 2017-12-05 | Honeywell International Inc. | Valve with actuator diagnostics | 
| US9841122B2 (en) | 2014-09-09 | 2017-12-12 | Honeywell International Inc. | Gas valve with electronic valve proving system | 
| US9846440B2 (en) | 2011-12-15 | 2017-12-19 | Honeywell International Inc. | Valve controller configured to estimate fuel comsumption | 
| US9851103B2 (en) | 2011-12-15 | 2017-12-26 | Honeywell International Inc. | Gas valve with overpressure diagnostics | 
| US20180058689A1 (en)* | 2016-08-31 | 2018-03-01 | Honeywell International Inc. | Air/gas admittance device for a combustion appliance | 
| US9995486B2 (en) | 2011-12-15 | 2018-06-12 | Honeywell International Inc. | Gas valve with high/low gas pressure detection | 
| US10024439B2 (en) | 2013-12-16 | 2018-07-17 | Honeywell International Inc. | Valve over-travel mechanism | 
| US10422531B2 (en) | 2012-09-15 | 2019-09-24 | Honeywell International Inc. | System and approach for controlling a combustion chamber | 
| US10503181B2 (en) | 2016-01-13 | 2019-12-10 | Honeywell International Inc. | Pressure regulator | 
| US10564062B2 (en) | 2016-10-19 | 2020-02-18 | Honeywell International Inc. | Human-machine interface for gas valve | 
| US10697815B2 (en) | 2018-06-09 | 2020-06-30 | Honeywell International Inc. | System and methods for mitigating condensation in a sensor module | 
| US11073281B2 (en) | 2017-12-29 | 2021-07-27 | Honeywell International Inc. | Closed-loop programming and control of a combustion appliance | 
| Publication number | Priority date | Publication date | Assignee | Title | 
|---|---|---|---|---|
| DE3405835A1 (en)* | 1984-02-17 | 1985-08-22 | Heinz Buchs Lampert | Volume flow regulator | 
| DE10340045A1 (en)* | 2003-08-28 | 2005-03-24 | Karl Dungs Gmbh & Co. Kg | Ratio controller with dynamic ratio formation | 
| Publication number | Priority date | Publication date | Assignee | Title | 
|---|---|---|---|---|
| US9851103B2 (en) | 2011-12-15 | 2017-12-26 | Honeywell International Inc. | Gas valve with overpressure diagnostics | 
| US9846440B2 (en) | 2011-12-15 | 2017-12-19 | Honeywell International Inc. | Valve controller configured to estimate fuel comsumption | 
| US8899264B2 (en) | 2011-12-15 | 2014-12-02 | Honeywell International Inc. | Gas valve with electronic proof of closure system | 
| US8905063B2 (en) | 2011-12-15 | 2014-12-09 | Honeywell International Inc. | Gas valve with fuel rate monitor | 
| US8947242B2 (en) | 2011-12-15 | 2015-02-03 | Honeywell International Inc. | Gas valve with valve leakage test | 
| US9074770B2 (en) | 2011-12-15 | 2015-07-07 | Honeywell International Inc. | Gas valve with electronic valve proving system | 
| US10697632B2 (en) | 2011-12-15 | 2020-06-30 | Honeywell International Inc. | Gas valve with communication link | 
| US9557059B2 (en) | 2011-12-15 | 2017-01-31 | Honeywell International Inc | Gas valve with communication link | 
| US9995486B2 (en) | 2011-12-15 | 2018-06-12 | Honeywell International Inc. | Gas valve with high/low gas pressure detection | 
| US10851993B2 (en) | 2011-12-15 | 2020-12-01 | Honeywell International Inc. | Gas valve with overpressure diagnostics | 
| US8839815B2 (en) | 2011-12-15 | 2014-09-23 | Honeywell International Inc. | Gas valve with electronic cycle counter | 
| US9835265B2 (en) | 2011-12-15 | 2017-12-05 | Honeywell International Inc. | Valve with actuator diagnostics | 
| CN102692020A (en)* | 2012-04-27 | 2012-09-26 | 成都炭素有限责任公司 | Adjustable gas flow combustion apparatus | 
| US10422531B2 (en) | 2012-09-15 | 2019-09-24 | Honeywell International Inc. | System and approach for controlling a combustion chamber | 
| US11421875B2 (en) | 2012-09-15 | 2022-08-23 | Honeywell International Inc. | Burner control system | 
| US9657946B2 (en) | 2012-09-15 | 2017-05-23 | Honeywell International Inc. | Burner control system | 
| US9234661B2 (en) | 2012-09-15 | 2016-01-12 | Honeywell International Inc. | Burner control system | 
| US9683674B2 (en) | 2013-10-29 | 2017-06-20 | Honeywell Technologies Sarl | Regulating device | 
| US10215291B2 (en) | 2013-10-29 | 2019-02-26 | Honeywell International Inc. | Regulating device | 
| US10024439B2 (en) | 2013-12-16 | 2018-07-17 | Honeywell International Inc. | Valve over-travel mechanism | 
| US9841122B2 (en) | 2014-09-09 | 2017-12-12 | Honeywell International Inc. | Gas valve with electronic valve proving system | 
| US9645584B2 (en) | 2014-09-17 | 2017-05-09 | Honeywell International Inc. | Gas valve with electronic health monitoring | 
| US10203049B2 (en) | 2014-09-17 | 2019-02-12 | Honeywell International Inc. | Gas valve with electronic health monitoring | 
| US10503181B2 (en) | 2016-01-13 | 2019-12-10 | Honeywell International Inc. | Pressure regulator | 
| US10274195B2 (en)* | 2016-08-31 | 2019-04-30 | Honeywell International Inc. | Air/gas admittance device for a combustion appliance | 
| US20180058689A1 (en)* | 2016-08-31 | 2018-03-01 | Honeywell International Inc. | Air/gas admittance device for a combustion appliance | 
| US10564062B2 (en) | 2016-10-19 | 2020-02-18 | Honeywell International Inc. | Human-machine interface for gas valve | 
| US11073281B2 (en) | 2017-12-29 | 2021-07-27 | Honeywell International Inc. | Closed-loop programming and control of a combustion appliance | 
| US10697815B2 (en) | 2018-06-09 | 2020-06-30 | Honeywell International Inc. | System and methods for mitigating condensation in a sensor module | 
| Publication number | Publication date | 
|---|---|
| DE102006034917A1 (en) | 2008-01-31 | 
| DE102006034917B4 (en) | 2010-07-29 | 
| Publication | Publication Date | Title | 
|---|---|---|
| DE102006034917B4 (en) | Volume flow controller | |
| DE19740666C1 (en) | Pressure regulator for maintaining an air fuel ratio for a gas burner | |
| DE69927932T2 (en) | FLEXIBLE FLOW REGULATOR | |
| DE69615933T2 (en) | Flow Pressure Regulator | |
| DE2427230C3 (en) | System for mixing gases | |
| DE10340045A1 (en) | Ratio controller with dynamic ratio formation | |
| DE60317321T2 (en) | SIMPLIFIED FUEL CONTROL USED WITH A DISPLACEMENT PUMP | |
| EP1275039B1 (en) | Gas pressure regulator | |
| DE2642337A1 (en) | CONTROL DEVICE FOR A HYDRAULIC MOTOR | |
| EP1626321A1 (en) | Pressure regulator and method of controlling the same | |
| DE1915841A1 (en) | Ventilation system | |
| EP3660620A1 (en) | Pressure reducing valve | |
| EP0450173A1 (en) | Mixture control device for a pre-mixed gas burner | |
| WO2021217195A1 (en) | Measuring system for measuring a flow | |
| DE2436891A1 (en) | LOGICAL FLUID CONTROL DEVICE | |
| EP0707863A1 (en) | Gas proportions control device for anesthetic apparatus | |
| DE2539097A1 (en) | METHOD AND DEVICE FOR CONTROLLING THE FUEL-AIR MIXTURE IN A COMBUSTION ENGINE BY SUPPLYING ADDITIONAL AIR | |
| DE3702959A1 (en) | PRESSURE REGULATOR WITH ADJUSTABLE OUTLET PRESSURE | |
| EP1486727B1 (en) | Gas mixing apparatus for a gas burner | |
| DE2323632C2 (en) | Device for anti-surge in a compressor | |
| DE2253457C3 (en) | Fluidic signal processing circuit | |
| DE102010012435B4 (en) | Actuator for a gas valve | |
| DE10204746A1 (en) | Gas pressure regulator for regulating a pressure of a gas | |
| DE2206452A1 (en) | Suction unit for a flow rate with constant volume | |
| DE102009057029B4 (en) | Pressure control device | 
| Date | Code | Title | Description | 
|---|---|---|---|
| PUAI | Public reference made under article 153(3) epc to a published international application that has entered the european phase | Free format text:ORIGINAL CODE: 0009012 | |
| AK | Designated contracting states | Kind code of ref document:A2 Designated state(s):AT BE BG CH CY CZ DE DK EE ES FI FR GB GR HU IE IS IT LI LT LU LV MC MT NL PL PT RO SE SI SK TR | |
| AX | Request for extension of the european patent | Extension state:AL BA HR MK YU | |
| STAA | Information on the status of an ep patent application or granted ep patent | Free format text:STATUS: THE APPLICATION IS DEEMED TO BE WITHDRAWN | |
| 18D | Application deemed to be withdrawn | Effective date:20151001 |