Movatterモバイル変換


[0]ホーム

URL:


EP1844192B1 - Apparatus and method for controlling the consistency of a flow of stock solution in a papermaking machine - Google Patents

Apparatus and method for controlling the consistency of a flow of stock solution in a papermaking machine
Download PDF

Info

Publication number
EP1844192B1
EP1844192B1EP05709199AEP05709199AEP1844192B1EP 1844192 B1EP1844192 B1EP 1844192B1EP 05709199 AEP05709199 AEP 05709199AEP 05709199 AEP05709199 AEP 05709199AEP 1844192 B1EP1844192 B1EP 1844192B1
Authority
EP
European Patent Office
Prior art keywords
stock solution
flow
channel
consistency
primary channel
Prior art date
Legal status (The legal status is an assumption and is not a legal conclusion. Google has not performed a legal analysis and makes no representation as to the accuracy of the status listed.)
Expired - Lifetime
Application number
EP05709199A
Other languages
German (de)
French (fr)
Other versions
EP1844192A1 (en
Inventor
Fabrizio c/o Pmt Italia S.p.A. TORNELLO
Current Assignee (The listed assignees may be inaccurate. Google has not performed a legal analysis and makes no representation or warranty as to the accuracy of the list.)
PMT Italia SpA
Original Assignee
PMT Italia SpA
Priority date (The priority date is an assumption and is not a legal conclusion. Google has not performed a legal analysis and makes no representation as to the accuracy of the date listed.)
Filing date
Publication date
Application filed by PMT Italia SpAfiledCriticalPMT Italia SpA
Priority to PL05709199TpriorityCriticalpatent/PL1844192T3/en
Publication of EP1844192A1publicationCriticalpatent/EP1844192A1/en
Application grantedgrantedCritical
Publication of EP1844192B1publicationCriticalpatent/EP1844192B1/en
Anticipated expirationlegal-statusCritical
Expired - Lifetimelegal-statusCriticalCurrent

Links

Images

Classifications

Definitions

Landscapes

Abstract

An apparatus is disclosed for controlling the consistency of a flow of stock solution flowing from a header to a slice lip of a headbox of a papermaking machine so that the cross machine direction consistency profile of a resultant web is controlled. The apparatus includes a flow channel which is disposed within the headbox between the header and the slice lip. The flow channel has an upstream and a downstream end such that the flow of the stock solution is in a flow direction from the upstream end towards the downstream end of the flow channel. The flow channel includes a primary channel having a first and a second extremity such that the flow of the stock solution is through the primary channel from the first extremity to the second extremity of the primary channel. A supply channel has a first and a second end and is disposed downstream relative to the primary channel for the flow therethrough of a supply portion of the flow of the stock solution. The second end of the supply channel is connected to the slice lip so that the supply portion of the flow of the stock solution flows to the slice lip. A recirculation channel has a first and a second termination, the recirculation channel being disposed downstream relative to the primary channel for the flow therethrough of a recirculation portion of the flow of the stock solution. The second termination of the recirculation channel is connected to the header so that the recirculation portion of the flow of the stock solution flows to the header. A generator is disposed adjacent to the primary channel for generating ultrasonic waves within the flow of the stock solution flowing through the primary channel. The ultrasonic waves move fiber particles suspended within the stock solution for controlling the consistency of the stock solution flowing through the primary channel. Also, an ultrasound absorber is disposed adjacent to the primary channel such that the flow of the stock solution flows in the flow direction within a region disposed between the generator and the absorber so that in operation of the apparatus, when the stock solution is flowing within the region, the fiber particles suspended within the stock solution are deviated from the flow direction. The arrangement is such that the consistency of the stock solution flowing from the primary channel through the supply channel is different from the consistency of the stock solution flowing from the primary channel through the recirculation channel so that the consistency of the supply portion of the stock solution flowing through the slice lip is controlled thereby controlling the cross machine direction consistency profile of the resultant web.

Description

    Background of the invention.Field of the invention.
  • The present invention relates to an apparatus for controlling the consistency of a flow of stock solution flowing from a header to a slice lip of a headbox of a papermaking machine. More specifically, the present invention relates to an apparatus and a method for controlling the consistency of a flow of stock solution flowing from a header to a slice lip of a headbox of a papermaking machine so that the cross machine direction profile of a resultant web is controlled.
  • Background information.
  • In the papermaking industry, a solution of paper stock is supplied to a headbox of a papermaking machine. The pressurized stock is guided through a plurality of headbox flow channels into a slice chamber of the headbox. The stock is then ejected as a thin ribbon through a slice lip defined by the downstream end of the headbox. The ejected stock is received onto a moving Fourdrinier screen where water drains from the stock solution to provide a formed web.
  • One of the more important quality parameters in the paper making process is the evenness of the cross machine direction basis weight profile. Even if the cross machine profile of the concentration of the stock ejected from the headbox slice is fairly even, the final basis weight profile is normally altered due to several defects produced along the process in the machine. These defects include an uneven flow profile of the stock ejected from the headbox, uneven retention of the fibers on the fourdrinier, uneven pick up of solids in the size press or in the coating station. The usual way to control the aforementioned defects is to compensate for them by controlling the consistency profile of the stock before it is ejected from the headbox.
  • The headbox is divided into several discrete cross machine sections of a certain width and in each of these sections the consistency of the stock is individually controlled according to the measure of the basis weight of the final sheet in the corresponding cross machine section.
  • The present invention provides an apparatus and method for controlling the consistency profile in a headbox and for providing a web having a more uniform cross machine direction basis weight profile.
  • Many prior art arrangements have been devised in an attempt to provide a relatively uniform grammage or basis weight in a cross machine direction of the web. Early attempts at controlling the aforementioned characteristic of the web included the provision of a plurality of slice lip screw jacks spaced a few inches from each other in a cross machine direction. Such jacks were connected to a movable slice lip of the slice opening. Controlled movement of the jacks would warp the slice lip in such a way that a relatively uniform ribbon of stock would be ejected through the slice opening. Nevertheless, such arrangements were complex. Also, the adjustment of one of the jacks had the tendency to alter the basis weight of stock flowing past an adjacent jack.
  • A further development included the provision of uniformly spaced slice lips while controlling the consistency or dilution of the stock in a cross machine direction upstream relative to the slice lips. More particularly, immediately upstream from the tube bank, a flow of diluting white water or the like was selectively introduced into one or more of the headbox tubes of the tube bank so that the consistency of the stock flowing through that particular tube would be changed or diluted relative to the consistency of stock flowing through an adjacent tube.
  • More particularly, in the prior art dilution arrangement, by controlling the injected suspension flow in the vicinity of the tube bank, it was possible to a large extent to control the concentration of the resultant suspension downstream from the injection point. Such an injection arrangement has the disadvantage that the correction of suspension concentration requires the adding of an extraneous means to the suspension itself which can generate technological problems into the paper making process. Such an arrangement also necessitates the provision of additional circuitry for the dilution water and the provision of additional pumping apparatus. The need of the addition of a secondary suspension to control the concentration of the main suspension makes it almost impossible to selectively change the suspended particles without interacting with the hosting liquid phase.
  • German patent No.DE4234940 by Steiner describes a process to control a density of slurry at a headbox of a paper machine, by removing that part thereof, which is not average. The higher or lower density material is separated at early stages and reintroduced gradually in the headbox. The separation and re-use of different concentrations is initiated by sound waves in the headbox. The separation and redirection may be attained by centrifugal action, for example by rotation or by turbulence.
  • U. S. patent No.US 5803270 to Brodeur discloses an apparatus and a method for acoustic fiber fractionation using a plane ultrasonic wave field interacting with water suspended fibers circulating in a channel flow using acoustic radiation forces to separate fibers into two or more fractions based on fiber radius, with applications of the separation concept in the pulp and paper industry. The continuous process relies on the use of a wall-mounted, rectangular cross-section piezoelectric ceramic transducer to selectively deflect flowing fibers as they penetrate the ultrasonic field. Depending upon the amount of dissolved gas in water, separation is obtained using a standing or a travelling wave field.
  • U. S. patent No.US 6432275 by Huovila et al. relates to a headbox for a paper/board machine by whose means the basis weight of the web can be regulated. The headbox comprises a stock inlet header, which becomes narrower towards its end. Tubes in a tube bank open in the stock inlet header across the machine width and are connected with thickening elements across the machine width, in which connection a first flow is removed from the thickening element into the duct and the first flow to be removed is regulated by means of a valve. From the thickening element a tube for a second flow of higher consistency is provided, which flow is passed further in the headbox.
  • The present invention provides a unique means for achieving a uniform basis weight or grammage in a cross machine direction by the application of ultrasonic waves for controlling in a cross machine direction, the grammage of the resultant web.
  • According to the present invention, when ultrasonic waves are applied to a liquid suspension, such ultrasonic waves have the capability of moving the suspended particles. In particular, particles suspended in a stationary suspension and contained within a reservoir are located in between an ultrasound generator and a ultrasound absorber device. When ultrasonic waves are applied to the particles, such particles are moved by the ultrasound waves in a direction extending from the generator to the absorber.
  • Similarly, the same effect occurs when ultrasonic waves are applied to a moving suspension of particles. For example, when a flow of the suspension is moving in a generic direction at a generic speed and the suspension flow crosses a region between the ultrasound generator and the absorber, then the suspended particles will be deviated from the flow direction by a motion component which is parallel to the line going from the generator to the absorber.
  • The result is that downstream from the ultrasonic device, the suspension will not have the same homogeneity as the homogeneity of the suspension upstream relative to the ultrasonic device. This is so because the suspended particles will tend to migrate toward the absorber. As a consequence of such migration downstream from the ultrasonic device, the suspension flow will have been concentrated on the absorber side and diluted on the generator side.
  • The object of the present invention is the application of the aforementioned physical principle to control the concentration of a paper making fibrous material suspension or stock solution through a head box.
  • In a paper machine head box, according to the present invention, the control of fiber suspension concentration or consistency in any specific cross machine section of the headbox is used to control the final paper sheet cross machine grammage profile.
  • Applying the above-mentioned effect of ultrasonic waves on fluid suspensions in a specific cross machine section of the headbox by the use of an ultrasonic device dedicated that specific headbox cross machine section, it is possible to exert a force on any single solid particle suspended in the region corresponding to the same specific cross machine section of the headbox and move it inside the liquid hosting phase. As a consequence, it is possible to locally concentrate or dilute the suspension. More specifically, by applying energy in the form of ultrasound waves, it is possible to create a degree of dis-homogeneity into the suspension. By controlling the amount of energy supplied to the generator, or the capacity of the absorber, it is possible to control the state of dis-homogeneity of the suspension in the specific section and as a consequence, to control local concentration of the suspension.
  • As an example, in the system of the present invention, the effect is applied to a suspension such as paper stock flowing into a channel from left to right.
  • Ultrasound waves cross the channel from the top to the bottom. Such waves push suspended particles or fibers toward the bottom side of the channel. Downstream from the ultrasonic device, the channel is split into secondary channels, that is a supply channel and a recirculation channel. It is evident that the average concentration of the suspension received by the supply channel is in this case lower than the average concentration of the suspension received by the recirculation channel. The difference between the two concentrations is in some way related to the power delivered by the ultrasonic device. In particular, the higher the power, of the generator or the capacity of the absorber, the bigger is the difference in concentration between the supply channel and the recirculation channel. By controlling the ultrasonic device, it is possible to control the concentration in at least one of the two secondary channels.
  • By controlling the power delivered by the ultrasonic device, it is possible to control the concentration in at least one of the two secondary channels.
  • In a paper machine headbox according to the present invention, the fiber suspension of the stock solution enters the headbox from a supply header and is transferred to a tube bank through a bank of flow channels. The adjacent channels forming the flow channels can be either physically separated one from the other by sidewalls or not. The principle of two secondary channels is applied to each single flow channel. Each flow channel is equipped with its own ultrasonic device. Also, each ultrasonic device includes an independent control. Each flow channel is split into two secondary channels, one top channel and one bottom channel. One of the two secondary channels is a supply channel of a corresponding cross machine direction section of the headbox tube bank. The other secondary channel or recirculation channel of each flow channel permits recirculation to the supply system of the headbox. A recirculation header collects the flow from each of the recirculation channels of all the flow channels. The stock collected by the recirculation header is simply recirculated into the stock approach system with no need for any extra equipment.
  • Applying the principle of the present invention, it is evident that it is possible to individually control the concentration of the suspension in any secondary supply channel covering a specific respective headbox cross machine section by controlling its respective ultrasonic generator. From previous knowledge of paper machine technology, it is known that if one is able to control independently the stock concentration into each specific cross machine section of a headbox, then it is possible to control the cross machine grammage profile of the finished paper.
  • Therefore, it is a primary feature of the present invention to provide an apparatus and method for controlling the cross machine consistency profile of a stock solution within a headbox of a papermaking machine that overcomes the problems associated with the prior art arrangements.
  • Another feature of the present invention is the provision of an apparatus for controlling the cross machine consistency profile of a stock solution within a headbox of a papermaking machine so that the grammage profile of the resultant web can be controlled.
  • Other features and advantages of the present invention will be readily apparent to those skilled in the art by a consideration of the detailed description of a preferred embodiment of the present invention contained herein.
  • Summary of the invention.
  • The present invention relates to an apparatus for controlling the cross machine consistency profile of a flow of stock solution flowing from a header to a slice lip of a headbox of a papermaking machine so that the cross machine direction consistency profile of a resultant web is controlled. The apparatus includes a flow channel which is disposed within the headbox between the header and the slice lip. The flow channel has an upstream and a downstream end such that the flow of the stock solution is in a flow direction from the upstream end towards the downstream end of the flow channel. The flow channel includes a primary channel having a first and a second extremity such that the flow of the stock solution is through the primary channel from the first extremity to the second extremity of the primary channel. A supply channel has a first and a second end and is disposed downstream relative to the primary channel for the flow therethrough of a supply portion of the flow of the stock solution. The second end of the supply channel is connected to the slice lip so that the supply portion of the flow of the stock solution flows to the slice lip. A recirculation channel has a first and a second termination, the recirculation channel being disposed downstream relative to the primary channel for the flow therethrough of a recirculation portion of the flow of the stock solution. The second termination of the recirculation channel is connected to the header so that the recirculation portion of the flow of the stock solution flows to the header. A generator is disposed adjacent to the primary channel for generating ultrasonic waves within the flow of the stock solution flowing through the primary channel. The ultrasonic waves move fiber particles suspended within the stock solution for controlling the consistency of the stock solution flowing through the primary channel. Also, an ultrasound absorber is disposed adjacent to the primary channel such that the flow of the stock solution flows in the flow direction within a region disposed between the generator and the absorber so that in operation of the apparatus, when the stock solution is flowing within the region, the fiber particles suspended within the stock solution are deviated from the flow direction. The arrangement is such that the consistency of the stock solution flowing from the primary channel through the supply channel is different from the greater consistency of the stock solution flowing from the primary channel through the recirculation channel so that the consistency of the supply portion of the stock solution flowing through the slice lip is controlled thereby controlling the cross machine direction profile of the resultant web.
  • In a more specific embodiment of the present invention, the apparatus includes a further generator which is disposed adjacent to the primary channel and laterally relative to the generator for generating ultrasonic waves within the flow of the stock solution flowing through the primary channel. The ultrasonic waves move fiber particles suspended within the stock solution for controlling the consistency of the stock solution flowing through the primary channel.
  • Furthermore, a further ultrasound absorber is disposed adjacent to the primary channel and laterally relative o the absorber such that the flow of the stock solution flows in the flow direction within a further region disposed between the further generator and the further absorber such that in operation of the apparatus, when the stock solution is flowing within the further region, the fiber particles suspended within the stock solution are deviated from the flow direction so that the consistency of the stock solution flowing from the primary channel downstream from the further region through the supply channel is different from the greater consistency of the stock solution flowing from the primary channel downstream from the further region through the recirculation channel. The arrangement is such that the consistency of a further supply portion of the stock solution flowing through the slice lip downstream from the further region is controlled relative to the supply portion of the stock solution flowing downstream from the region through the slice lip thereby controlling the cross machine direction consistency profile of the resultant web.
  • In a preferred embodiment of the present invention, the flow direction is approximately parallel to a direction from the header to the slice lip.
  • Also, the primary channel defines a primary conduit of rectangular cross sectional configuration, the primary conduit extending from the first extremity to the second extremity of the primary channel.
  • More particularly, the first end of the supply channel extends from the second extremity of the primary channel and the supply channel is disposed above the recirculation channel.
  • However, in another embodiment of the present invention, the supply channel is disposed below the recirculation channel.
  • Additionally, the first termination of the recirculation channel extends from the second extremity of the primary channel such that the flow of the stock solution flowing through the primary channel is split into the supply portion and the recirculation portion adjacent to the second extremity of the primary channel.
  • In one embodiment of the present invention, the apparatus further includes a control device which is electrically connected to the generator for controllably altering the generation of the ultrasonic waves by the generator.
  • However, in an alternative embodiment of the present invention, a device is mechanically connected to the generator for controllably altering a location of the generator relative to the primary channel so that generation of the ultrasonic waves within the region by the generator is altered.
  • In another embodiment of the present invention, a controller is electrically connected to the ultrasound absorber for controllably altering absorption of the ultrasonic waves by the absorber.
  • Alternatively, a control device is mechanically connected to the absorber for controllably altering a disposition of the absorber relative to the primary channel so that absorption of the ultrasonic waves by the absorber is altered.
  • In each of the alternative embodiments of the present invention, the flow direction within the region is disposed non parallel to a direction from the generator to the absorber.
  • However, more specifically, the flow direction within the region is disposed substantially normal to a direction from the generator to the absorber.
  • Moreover, the direction from the generator to the absorber is substantially normal to the flow direction within the region such that in use of the apparatus, the ultrasonic waves deviate movement of the fiber particles in a component direction which is disposed angularly between the flow direction and the direction from the generator to the absorber.
  • The present invention also includes a method for controlling the consistency of a flow of stock solution flowing from a header to a slice lip of a headbox of a papermaking machine so that the cross machine direction consistency profile of a resultant web is controlled. The method includes the steps of guiding the flow of the stock solution through a flow channel which is disposed within the headbox between the header and the slice lip. The flow channel includes a primary channel which has a first and a second extremity. A supply channel has a first and a second end, the supply channel being disposed downstream relative to the primary channel for the flow therethrough of a supply portion of the flow of the stock solution. The second end of the supply channel is connected to the slice lip so that the supply portion of the flow of the stock solution flows to the slice lip. A recirculation channel has a first and a second termination, the recirculation channel being disposed downstream relative to the primary channel for the flow therethrough of a recirculation portion of the flow of the stock solution. The second termination of the recirculation channel is connected to the header so that the recirculation portion of the flow of the stock solution flows to the header.
  • The method also includes the steps of generating ultrasonic waves within the flow of the stock solution flowing through the primary channel by an ultrasonic generator. The ultrasonic waves move fiber particles suspended within the stock solution for controlling the consistency of the stock solution flowing through the primary channel.
  • Additionally, the method includes absorbing the ultrasonic waves by an ultrasound absorber disposed adjacent to the primary channel such that the flow of the stock solution flows in the flow direction within a region which is disposed between the generator and the absorber. The arrangement is such that when the stock solution is flowing within the region, the fiber particles suspended within the stock solution are deviated from the flow direction so that the consistency of the stock solution flowing from the primary channel through the supply channel is different from the greater consistency of the stock solution flowing from the primary channel through the recirculation channel. The method is such that that the consistency of the supply portion of the stock solution flowing through the slice lip is controlled thereby controlling the cross machine direction consistency profile of the resultant web.
  • Many modifications and variations of the present invention will be readily apparent to those skilled in the art by a consideration of the detailed description contained hereinafter taken in conjunction with the annexed drawings which show a preferred embodiment of the present invention.
  • The scope of the present invention is defined by the appended claims.
  • Brief description of the drawings.
    • Fig. 1 is a schematic to demonstrate the effect of the application of ultrasonic waves on a stock solution according to the present invention;
    • Fig. 2 is a similar view to that shown inFig. 1 but shows the generator energized;
    • Fig. 3 is a similar view to that shown inFig. 2 but shows the fiber suspension or stock solution in motion;
    • Fig. 4 is a diagrammatic representation of an apparatus according to the present invention for controlling the consistency of stock solution within a headbox of a papermaking machine;
    • Fig. 5 a side elevational view of an apparatus for controlling the consistency of a flow of stock solution flowing from a header to a slice lip of a headbox of a papermaking machine;
    • Fig. 6 is a sectional view taken on the line 6-6 ofFig. 5;
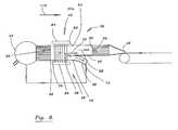
    • Fig 7 is a similar view to that shown inFig. 6 but shows another embodiment of the present invention;
    • Fig. 8 is a sectional view taken on the line 8-8 ofFig. 7;
    • Fig. 9 is a side elevational view of another embodiment of the present invention;
    • Fig. 10 is a similar view to that shown inFig. 6 but shows a further embodiment of the present invention;
    • Fig. 11 is a similar view to that shown inFig. 10 but shows a further embodiment of the present invention;
    • Fog. 12 is a similar view to that shown inFig. 10 but shows another embodiment of the present invention; and
    • Fig. 13 is a similar view to that shown inFig. 11 but shows a further embodiment of the present invention.
  • Similar reference characters refer to similar parts throughout the various views and embodiments of the drawings.
  • Detailed description of the drawings.
  • Fig. 1 is a schematic to demonstrate the effect of the application of ultrasonic waves on a stock solution according to the present invention. As shown inFig. 1, agenerator 10 is disposed adjacent to a first side of acontainer 16 and anabsorber 24 is disposed on the opposite side of thecontainer 16. Thecontainer 16 is filled with a suspension offiber particles 18, 19 and 20 randomly dispersed throughout the host liquid such as water.
  • Fig. 2 is a similar view to that shown inFig. 1. However, as shown inFig. 2, thegenerator 10 is energized so that thegenerator 10 emitsultrasonic waves 12, 13 and 14 through thecontainer 16 containing thefiber particles 18, 19 and 20 suspended in water. Accordingly, the ultrasonic waves 12-14 cause the particles 18-20 to move through the water in a direction as indicated by thearrow 22 from thegenerator 10 towards theabsorber 24.
  • Fig. 3 is a similar view to that shown inFig. 2 but shows the fiber suspension or stock solution in motion. As shown inFig. 3, the stock solution which includes the fibers 18-20 is moving through thecontainer 16 in a flow direction as indicated by thearrow 26. As shown inFig. 3, theflow direction 26 is normal to thedirection 22. In this case, the fiber particles 18-20 will move in a component direction which is indicated by thearrow 28. Thecomponent direction 28 is disposed angularly between thedirections 22 and 26. Consequently, in a downstream location relative to thegenerator 10, the suspension or stock solution will be more concentrated or will have a higher consistency on theside 30 of thecontainer 16 nearest to theabsorber 24. Similarly, the stock solution will be diluted or will be of a lower consistency on afurther side 32 of thecontainer 16 nearest to thegenerator 10 as shown inFig. 3.
  • Fig. 4 is a diagrammatic representation of an apparatus according to the present invention for controlling the consistency of thestock solution 34 which includes the fibers 18-20, within a headbox generally designated 36 of a papermaking machine. As shown inFig. 4, when thegenerator 10 is activated, ultrasonic waves 12-14 are emitted through thestock solution 34 flowing in theflow direction 26 through theheadbox 36. The ultrasonic waves 12-14 move in thedirection 22 from thegenerator 10 across theflow direction 26 of thestock solution 34 towards theabsorber 24. Consequently, the consistency or concentration of the fibers within thestock solution 34 is greater on theside 30 of theheadbox 36 which is nearest to theabsorber 24. Such concentrated stock is diverted through adownstream recirculation channel 38. However, on thefurther side 32 of theheadbox 36 nearest to thegenerator 10, thestock solution 34 is diluted because many of the fibers 18-20 have migrated towards theside 30 under the influence of the applied ultrasonic waves 12-14. Such diluted stock is guided through adownstream supply channel 40.
  • Fig. 5 a side elevational view of an apparatus generally designated 42 according to the present invention for controlling the consistency of a flow of stock solution flowing from aheader 44 to aslice lip 46 of a headbox generally designated 36 of a papermaking machine so that the cross machine direction consistency profile of a resultant web is controlled. Theapparatus 42 includes a flow channel generally designated 48 which is disposed within theheadbox 36 between theheader 44 and theslice lip 46. Theflow channel 48 has an upstream and adownstream end 50 and 52 respectively such that the flow of the stock solution is in aflow direction 26 from theupstream end 50 towards thedownstream end 52 of theflow channel 48. Theflow channel 48 includes aprimary channel 56 having a first and asecond extremity 58 and 60 respectively such that the flow of the stock solution is through theprimary channel 56 from thefirst extremity 58 to thesecond extremity 60 of theprimary channel 56. Asupply channel 40 has a first and asecond end 64 and 66 respectively and is disposed downstream relative to theprimary channel 56 for the flow therethrough of a supply portion as indicated by thearrow 68 of the flow of the stock solution. Thesecond end 66 of thesupply channel 40 is connected to theslice lip 46 so that thesupply portion 68 of the flow of the stock solution flows to theslice lip 46. Arecirculation channel 38 has a first and asecond termination 72 and 74 respectively, therecirculation channel 38 being disposed downstream relative to theprimary channel 56 for the flow therethrough of a recirculation portion as indicated by thearrow 76 of the flow of the stock solution. Thesecond termination 74 of therecirculation channel 38 is connected to theheader 44 so that therecirculation portion 76 of the flow of the stock solution flows to theheader 44. Agenerator 10 is disposed adjacent to theprimary channel 56 for generating ultrasonic waves 12-14 within the flow of the stock solution flowing through theprimary channel 56. The ultrasonic waves 12-14 move fiber particles 18-20 suspended within the stock solution for controlling the consistency of the stock solution flowing through theprimary channel 56. Also, anultrasound absorber 24 is disposed adjacent to theprimary channel 56 such that the flow of the stock solution flows in theflow direction 26 within a region R disposed between thegenerator 10 and theabsorber 24 so that in operation of theapparatus 42, when the stock solution is flowing within the region R, the fiber particles 18-20 suspended within the stock solution are deviated as indicated by thearrow 28 from theflow direction 26. The arrangement is such that the consistency of the stock solution flowing from theprimary channel 56 through thesupply channel 40 is different from the consistency of the stock solution flowing from theprimary channel 56 through therecirculation channel 38 so that the consistency of thesupply portion 68 of the stock solution flowing through theslice lip 46 is controlled thereby controlling the cross machine direction consistency profile of the resultant web.
  • Fig. 6 is a sectional view taken on the line 6-6 ofFig. 5. As shown inFig. 6, theflow channel 48 extends across most of the cross machine width of theheadbox 36. Also, thesupply channel 40 is shown leading to the slice lip. Furthermore, therecirculation channel 38 is shown for returning concentrated stock solution to the header.
  • Fig 7 is a similar view to that shown inFig. 6 but shows another embodiment of the present invention. As shown inFig. 7, anapparatus 42a includes afurther generator 84 disposed adjacent to theprimary channel 56 for generating ultrasonic waves within the flow of the stock solution flowing through theprimary channel 56. The ultrasonic waves move fiber particles suspended within the stock solution for controlling the consistency of the stock solution flowing through theprimary channel 56.
  • Fig. 8 is a sectional view taken on the line 8-8 ofFig. 7. As shown inFigs. 7 and8, afurther ultrasound absorber 86 is disposed adjacent to theprimary channel 56 such that the flow of the stock solution flows in theflow direction 26 within a further region r disposed between thefurther generator 84 and thefurther absorber 86. The arrangements is structured such that in operation of theapparatus 42a, when the stock solution is flowing within the further region r, the fiber particles suspended within the stock solution are deviated from theflow direction 26 so that the consistency of the stock solution flowing from theprimary channel 56 through the supply channel 62 downstream from the region r is different from the consistency of the stock solution flowing from theprimary channel 56 downstream from the region r through therecirculation channel 38. The arrangement is such that the consistency of afurther supply portion 88 of the stock solution flowing downstream from the region r through theslice lip 46 is controlled relative to thesupply portion 68 of the stock solution as shown inFig. 5, flowing downstream from the region R through theslice lip 46 thereby controlling the cross machine direction consistency profile of the resultant web.
  • In a preferred embodiment of the present invention, theflow direction 26 is approximately parallel to a direction as indicated by thearrow 116 from theheader 44 to theslice lip 46.
  • Also, as shown inFig. 5, theprimary channel 56 defines aprimary conduit 118 of rectangular cross sectional configuration. As shown inFig. 6, theprimary conduit 118 extends from thefirst extremity 58 to thesecond extremity 60 of theprimary channel 56.
  • More particularly, as shown inFig. 5, the first end of thesupply channel 40 extends from thesecond extremity 60 of theprimary channel 56 and thesupply channel 40 is disposed above therecirculation channel 38.
  • Fig. 9 is a side elevational view of another embodiment of the present invention. As shown inFig. 9, thesupply channel 40b is disposed below the recirculation channel 38b.
  • Additionally, as shown inFig. 5, thefirst termination 72 of therecirculation channel 38 extends from thesecond extremity 60 of theprimary channel 56 such that the flow of the stock solution flowing through theprimary channel 56 is split into thesupply portion 68 and therecirculation portion 76 adjacent to thesecond extremity 60 of theprimary channel 56.
  • Fig. 10 is a similar view to that shown inFig. 6 but shows a further embodiment of the present invention. As shown inFig. 10, the apparatus further includes acontrol device 120 which is electrically connected to thegenerator 10c for controllably altering the generation of the ultrasonic waves by thegenerator 10c.
  • Fig. 11 is a similar view to that shown inFig. 10 but shows a further embodiment of the present invention. As shown inFig. 11, adevice 122 such as a hydraulic or a pneumatic ram is mechanically connected to thegenerator 10d for controllably altering a location of thegenerator 10d relative to theprimary channel 56 as indicated by thearrow 123 so that generation of the ultrasonic waves within the region R by thegenerator 10d is altered.
  • Fig. 12 is a similar view to that shown inFig. 10 but shows a further embodiment of the present invention. As shown inFig. 12, acontroller 124 is electrically connected to theultrasound absorber 24e for controllably altering absorption of the ultrasonic waves by theabsorber 24e.
  • Fig. 13 is a similar view to that shown inFig. 11 but shows a further embodiment of the present invention. As shown inFig. 13, acontrol device 126 such as a hydraulic or pneumatic ram is mechanically connected to theabsorber 24f for controllably altering a disposition of theabsorber 24f relative to theprimary channel 56 as indicated by thearrow 127 so that absorption of the ultrasonic waves by theabsorber 24f is altered.
  • In each of the alternative embodiments of the present invention, theflow direction 26 within the region R and r is disposed non parallel to adirection 22 from thegenerator 10 to theabsorber 24.
  • However, more specifically, theflow direction 26 within the region R is disposed substantially normal to thedirection 22 from thegenerator 10 to theabsorber 24.
  • Moreover, thedirection 22 from thegenerator 10 to theabsorber 24 is substantially normal to theflow direction 26 within the region R such that in use of the apparatus, the ultrasonic waves deviate movement of the fiber particles in acomponent direction 28 shown inFig. 5 which is disposed angularly between theflow direction 26 and thedirection 22 from thegenerator 10 to theabsorber 24.
  • The present invention also includes a method for controlling the cross machine consistency profile of a flow of stock solution flowing from aheader 44 to aslice lip 46 of aheadbox 36 of a papermaking machine so that the cross machine direction profile of a resultant web is controlled. The method includes the steps of guiding the flow of the stock solution through aflow channel 48 which is disposed within theheadbox 36 between theheader 44 and theslice lip 46. Theflow channel 48 includes aprimary channel 56 which has a first and asecond extremity 58 and 60. Asupply channel 40 has a first and asecond end 64 and 66, thesupply channel 40 being disposed downstream relative to theprimary channel 56 for the flow therethrough of asupply portion 68 of the flow of the stock solution. Thesecond end 66 of thesupply channel 40 is connected to theslice lip 46 so that thesupply portion 68 of the flow of the stock solution flows to theslice lip 46. Arecirculation channel 38 has a first and asecond termination 72 and 74, therecirculation channel 38 being disposed downstream relative to theprimary channel 56 for the flow therethrough of arecirculation portion 76 of the flow of the stock solution. Thesecond termination 74 of therecirculation channel 38 is connected to theheader 44 so that therecirculation portion 76 of the flow of the stock solution flows to theheader 44.
  • The method also includes the steps of generating ultrasonic waves within the flow of the stock solution flowing through theprimary channel 56 by anultrasonic generator 10. The ultrasonic waves move fiber particles suspended within the stock solution for controlling the consistency of the stock solution flowing through theprimary channel 56.
  • Additionally, the method includes absorbing the ultrasonic waves by anultrasound absorber 24 disposed adjacent to theprimary channel 56 such that the flow of the stock solution flows in theflow direction 26 within a region R which is disposed between thegenerator 10 and theabsorber 24. The arrangement is such that when the stock solution is flowing within the region R, the fiber particles suspended within the stock solution are deviated from theflow direction 26 so that the consistency of the stock solution flowing from theprimary channel 56 through thesupply channel 40 is different from the consistency of the stock solution flowing from theprimary channel 56 through therecirculation channel 38. The method is such that that the consistency of thesupply portion 68 of the stock solution flowing through theslice lip 46 is controlled thereby controlling the cross machine direction consistency profile of the resultant web.
  • In operation of the apparatus according to the present invention, a stock solution is supplied to the header under pressure. The stock flows through theflow channel 48 so that when the generator andabsorber 10 and 24 respectively are activated, diluted stock flows from the region R through thedownstream supply channel 40 to theslice lip 46. However, in a lateral disposition in a cross machine direction as shown inFig. 8, the further generator andfurther absorber 84 and 86 respectively act upon the region r which is disposed laterally relative to the region R as shown inFig. 7. Consequently, the dilution of the stock flowing downstream from the region r through thesupply channel 40 can be controlled or altered relative to the dilution of the laterally disposed flow of stock flowing downstream from the region R. In this manner, by the provision a number of generators and corresponding absorbers, the cross machine directional consistency profile of the resultant web can be controlled. Such control can be achieved as shown inFigs. 10-13 by either controlling the electrical supply to the generator or to the absorber or by mechanically moving the disposition of the generator or the absorber or both the generator and the absorber relative to theprimary channels 56.
  • According to the present invention, the generation capacity of the generator can be changed by increasing or decreasing the electrical input or by moving the generator towards or away from the primary channel.
  • Similarly, the absorption factor of the absorber can be changed by increasing or decreasing the electrical input to the absorber or by moving the absorber towards or away from the primary channel. Any combination of the above can be used for controlling the ultrasonic waves within the primary channel.
  • By altering the power to all of the generators such as 10 and 84 and/or the correspondingabsorbers 24 and 86 to the same power level would have a similar effect to altering the grammage valve on a conventional headbox. Typically, in a conventional headbox, when the grammage valve is altered, there would be a delay of two minutes before such change would take effect downstream on the grammage of the resultant web.
  • One of the advantages of the arrangement according to the present invention when using an electrical control for the generator and/or absorber is that the consistency control is accomplished by entirely an electrical device rather than a mechanical device in the case of slice lip control.
  • Although the present invention describes the recirculation portion of the stock as returning to the header, it will be apparent to those skilled in the art that in fact, the recirculation portion will usually be returned to the header via the stock supply silo.
  • The present invention provides a unique apparatus and method for controlling the cross machine direction profile of a web.

Claims (17)

  1. An apparatus(42, 42a) for controlling the consistency of a flow of stock solution(34) flowing from a header(44) to a slice lip(46) of a headbox(36) of a papermaking machine so that the cross machine direction consistency profile of a resultant web is controlled, said apparatus comprising:
    a flow channel(48) disposed within the headbox(36) between the header(44) and the slice lip(46), said flow channel(48) having an upstream and a downstream end (50,52) such that the flow of the stock solution(34) is in a flow direction(26) from said upstream end(50) towards said downstream end(52) of said flow channel(48);
    said flow channel(48) including:
    a primary channel(56) having a first and a second extremity(58, 60) such that the flow of the stock solution(34) is through said primary channel(56) from said first extremity(58) to said second extremity(60) of said primary channel(56);
    a supply channel(40, 40b) having a first and a second end(64, 66), said supply channel(40, 40b) being disposed downstream relative to said primary channel(56) for the flow therethrough of a supply portion(68) of the flow of the stock solution(34);
    said second end(66) of said supply channel(40, 40b) being connected to the slice lip(46) so that said supply portion(68) of the flow of the stock solution(34) flows to the slice lip(46);
    a recirculation channel(38, 38b) having a first and a second termination(72, 74), said recirculation channel(38, 38b) being disposed downstream relative to said primary channel(56) for the flow therethrough of a recirculation portion(76) of the flow of the stock solution(34);
    said second termination(74) of said recirculation channel(38, 38b) being connected to the header(44) so that said recirculation portion(76) of the flow of the stock solution(34) flows to the header(44);
    a generator(10, 10c, 10d) disposed adjacent to said primary channel(56) for generating ultrasonic waves(12 - 14) within the flow of the stock solution(34) flowing through said primary channel(56), said ultrasonic waves(12 - 14) moving fiber particles(18 - 20) suspended within the stock solution(34) for controlling the consistency of the stock solution(34) flowing through said primary channel(56); and
    an ultrasound absorber(24, 24e, 24f) disposed adjacent to said primary channel(56) such that the flow of the stock solution(34) flows in said flow direction(26) within a region(R) disposed between said generator(10, 10c, 10d) and said absorber(24, 24e, 24f) so that in operation of said apparatus(42, 42a), when the stock solution(34) is flowing within said region(R), said fiber particles(18 - 20) suspended within the stock solution(34) are deviated from said flow direction(26) so that the consistency of the stock solution(34) flowing from said primary channel(56) through said supply channel(40, 40b) is different from the greater consistency of the stock solution(34) flowing from said primary channel(56) through said recirculation channel(38, 38b) so that the consistency of said supply portion(68) of the stock solution(34) flowing through the slice lip(46) is controlled thereby controlling the cross machine direction consistency profile of the resultant web.
  2. An apparatus for controlling the consistency of a flow of stock solution as set forth in claim 1 including:
    a further generator(84) disposed adjacent to said primary channel(56) and laterally relative to said generator(10, 10c, 10d) for generating ultrasonic waves(12 - 14) within the flow of the stock solution(34) flowing through said primary channel(56), said ultrasonic, waves(12 - 14) moving fiber particles(18 - 20) suspended within the stock solution(34) for controlling the cross machine direction consistency profile of the stock solution(34) flowing through said primary channel(56);
    a further ultrasound absorber(86) disposed adjacent to said primary channel(56) such that the flow of the stock solution(34) flows in said flow direction(26) within a further region(r) disposed between said further generator(84) and said further absorber(86) such that in operation of said apparatus(42, 42a), when the stock solution(34) is flowing within said further region(r), said fiber particles(18 - 20) suspended within the stock solution(34) are deviated from said flow direction(26) so that the consistency of the stock solution(34) flowing from said primary channel(56) downstream from said further region(r) through said supply channel(40, 40b) is different from the greater consistency of the stock solution(34) flowing from said primary channel(56) downstream from said further region(r) through said recirculation channel(38, 38b) so that the consistency of a further supply portion(88) of the stock solution(34) flowing through the slice lip(46) downstream from said further region(r) is controlled relative to said supply portion(68) of the stock solution(34) flowing downstream from said region through the slice lip(46) thereby controlling the cross machine direction profile of the resultant web.
  3. An apparatus for controlling the consistency of a flow of stock solution as set forth in claim 1 wherein
    said flow direction(26) is approximately parallel to a direction(116) from the header(44) to the slice lip(46).
  4. An apparatus for controlling the consistency of a flow of stock solution as set forth in claim 1 wherein
    said primary channel(56) defines a primary conduit(118) of rectangular cross sectional configuration, said primary conduit(118) extending from said first extremity(58) to said second extremity(60) of said primary channel(56).
  5. An apparatus for controlling the consistency of a flow of stock solution as set forth in claim 1 wherein
    said first end(64) of said supply channel(40, 40b) extends from said second extremity(60) of said primary channel(56).
  6. An apparatus for controlling the consistency of a flow of stock solution as set forth in claim 1 wherein
    said supply channel(40) is disposed above said recirculation channel(38).
  7. An apparatus for controlling the consistency of a flow of stock solution as set forth in claim 1 wherein
    said supply channel(40b) is disposed below said recirculation channel(38b).
  8. An apparatus for controlling the consistency of a flow of stock solution as set forth in claim 1 wherein
    said first termination(72) of said recirculation channel(38, 38b) extends from said second extremity(60) of said primary channel(56) such that the flow of the stock solution(34) flowing through said primary channel(56) is split into said supply portion(68) and said recirculation portion(76) adjacent to said second extremity(60) of said primary channel(56).
  9. An apparatus for controlling the consistency of a flow of stock solution as set forth in claim 1 further including:
    a control device(120) electrically connected to said generator(10c) for controllably altering generation of said ultrasonic waves(12 - 14) by said generator(10c).
  10. An apparatus for controlling the consistency of a flow of stock solution as set forth in claim 1 further including:
    a device(122) mechanically connected to said generator(10d) for controllably altering a location of said generator(10d) relative to said primary channel (56) so that generation of said ultrasonic waves(12 - 14) within said region(R) by said generator(10d) is altered.
  11. An apparatus for controlling the consistency of a flow of stock solution as set forth in claim 1 further including:
    a controller(124) electrically connected to said ultrasound absorber(24e) for controllably altering absorption of said ultrasonic waves(12 - 14) by said absorber(24e).
  12. An apparatus for controlling the consistency of a flow of stock solution as set forth in claim 1 further including:
    a control device(126) mechanically connected to said absorber(24f) for controllably altering a disposition of said absorber(24f) relative to said primary channel(56) so that absorption of said ultrasonic waves(12 - 14) by said absorber(24f) is altered.
  13. An apparatus for controlling the consistency of a flow of stock solution as set forth in claim 1 wherein
    said flow direction(26) within said region(R) is disposed non parallel to a direction(22) from said generator(10, 10c, 10d) to said absorber(24, 24e, 24f).
  14. An apparatus for controlling the consistency of a flow of stock solution as set forth in claim 1 wherein
    said flow direction(26) within said region(R) is disposed substantially normal to a direction(22) from said generator(10, 10c, 10d) to said absorber(24, 24e, 24f).
  15. An apparatus for controlling the consistency of a flow of stock solution as set forth in claim 14 wherein
    said direction(22) from said generator(10, 10c, 10d) to said absorber(24, 24e, 24f) is substantially normal to said flow direction(26) within said region(R) such that in use of said apparatus(42, 42a), said ultrasonic waves(12 - 14) deviate movement of said fiber particles(18 - 20) in a component direction(28) which is disposed angularly between said flow direction(26) and said direction(22) from said generator(10, 10c, 10d) to said absorber(24, 24e, 24f).
  16. An apparatus for controlling the consistency of a flow of stock solution as set forth in claim 1 including:
    a further generator(84) disposed adjacent to said primary channel(56) and laterally relative to said generator(10, 10c, 10d) for generating ultrasonic waves(12 - 14) within the flow of the stock solution(34) flowing through said primary channel(56), said ultrasonic waves(12 - 14) moving fiber particles(18 - 20) suspended within the stock solution(34) for controlling the consistency of the stock solution(34) flowing through said primary channel(56);
    a further ultrasound absorber(86) disposed adjacent to said primary channel(56) and laterally relative to said absorber(24, 24e, 24f) such that the flow of the stock solution(34) flows in said flow direction(26) within a further region(r) disposed between said further generator(84) and said further absorber(86) such that in operation of said apparatus(42a), when the stock solution(34) is flowing within said further region(r), said fiber particles(18 - 20) suspended within the stock solution(34) are deviated from said flow direction(26) so that the consistency of the stock solution(34) flowing from said primary channel(56) downstream from said further region(r) through said supply channel(40) is different from the greater consistency of the stock solution(34) flowing from said primary channel(56) downstream from said further region(r) through said recirculation channel(38) so that the consistency of a further supply portion(88) of the stock solution(34) flowing through the slice lip(46) downstream from said further region(r) is controlled relative to said supply portion(68) of the stock solution(34) flowing downstream from said region through the slice lip(46) thereby controlling the cross machine direction consistency profile of the resultant web;
    said flow direction(26) being approximately parallel to a direction(116) from the header(44) to the slice lip(46);
    said primary channel(56) defining a primary conduit(118) of rectangular cross sectional configuration, said primary conduit(118) extending from said first extremity(58) to said second extremity(60) of said primary channel(56);
    said first end(64) of said supply channel(40) extending from said second extremity(60) of said primary channel(56);
    said supply channel(40) being disposed above said recirculation channel(38);
    said first termination(72) of said recirculation channel(38) extending from said second extremity(60) of said primary channel(56) such that the flow of the stock solution(34) flowing through said primary channel(56) is split into said supply portion(68) and said recirculation portion(76) adjacent to said second extremity(60) of said primary channel(56); and
    said direction(22) from said generator(10, 10c, 10d) to said absorber(24, 24e, 24f) being substantially normal to said flow direction(26) within said region(R) and said further region(r) such that in use of said apparatus(42a), said ultrasonic waves(12 - 14) deviate movement of said fiber particles(18 - 20) in a component direction(28) which is disposed angularly between said flow direction(26) and said direction(22) from said generator(10, 10c, 10d) to said absorber(24, 24e, 24f).
  17. A method for controlling the consistency of a flow of stock solution(34) flowing from a header(44) to a slice lip(46) of a headbox(36) of a papermaking machine so that the cross machine direction consistency profile of a resultant web is controlled, said method comprising the steps of:
    guiding the flow of the stock solution(34) through a flow channel(48) which is disposed within the headbox(36) between the header(44) and the slice lip(46), the flow channel(48) including:
    a primary channel(56) having a first and a second extremity(58, 60);
    a supply channel(40, 40b) having a first and a second end(64, 66), the supply channel(40, 40b) being disposed downstream relative to the primary channel(56) for the flow therethrough of a supply portion(68) of the flow of the stock solution(34), the second end(66) of the supply channel(40, 40b) being connected to the slice lip(46) so that the supply portion(68) of the flow of the stock solution(34) flows to the slice lip(46);
    a recirculation channel(38, 38b) having a first and a second termination(72, 74), the recirculation channel(38, 38b) being disposed downstream relative to the primary channel(56) for the flow therethrough of a recirculation portion(76) of the flow of the stock solution(34), the second termination(74) of the recirculation channel(38, 38b) being connected to the header(44) so that the recirculation portion(76) of the flow of the stock solution(34) flows to the header(44);
    generating ultrasonic waves(12 - 14) within the flow of the stock solution(34) flowing through the primary channel(56) by an ultrasonic generator(10, 10c, 10d), the ultrasonic waves(12 - 14) moving fiber particles(18 - 20) suspended within the stock solution(34) for controlling the consistency of the stock solution(34) flowing through the primary channel(56); and
    absorbing the ultrasonic waves(12 - 14) by an ultrasound absorber(24, 24e, 24f) disposed adjacent to the primary channel(56) such that the flow of the stock solution(34) flows in the flow direction(26) within a region(R) disposed between the generator(10, 10c, 10d) and the absorber(24, 24e, 24f) such that when the stock solution(34) is flowing within the region(R), the fiber particles(18 - 20) suspended within the stock solution(34) are deviated from the flow direction(26) so that the consistency of the stock solution(34) flowing from the primary channel(56) through the supply channel(40, 40b) is different from the greater consistency of the stock solution(34) flowing from the primary channel(56) through the recirculation channel(38, 38b) so that the consistency of the supply portion(68) of the stock solution(34) flowing through the slice lip(46) is controlled thereby controlling the cross machine direction consistency profile of the resultant web.
EP05709199A2005-02-032005-02-03Apparatus and method for controlling the consistency of a flow of stock solution in a papermaking machineExpired - LifetimeEP1844192B1 (en)

Priority Applications (1)

Application NumberPriority DateFiling DateTitle
PL05709199TPL1844192T3 (en)2005-02-032005-02-03Apparatus and method for controlling the consistency of a flow of stock solution in a papermaking machine

Applications Claiming Priority (1)

Application NumberPriority DateFiling DateTitle
PCT/IT2005/000049WO2006082600A1 (en)2005-02-032005-02-03Apparatus and method for controlling the consistency of a flow of stock solution in a papermaking machine

Publications (2)

Publication NumberPublication Date
EP1844192A1 EP1844192A1 (en)2007-10-17
EP1844192B1true EP1844192B1 (en)2011-04-06

Family

ID=34960444

Family Applications (1)

Application NumberTitlePriority DateFiling Date
EP05709199AExpired - LifetimeEP1844192B1 (en)2005-02-032005-02-03Apparatus and method for controlling the consistency of a flow of stock solution in a papermaking machine

Country Status (13)

CountryLink
US (1)US20080135198A1 (en)
EP (1)EP1844192B1 (en)
CN (1)CN101087917B (en)
AT (1)ATE504693T1 (en)
AU (1)AU2005326567B2 (en)
BR (1)BRPI0519932A2 (en)
CA (1)CA2581228C (en)
CZ (1)CZ2007514A3 (en)
DE (1)DE602005027403D1 (en)
ES (1)ES2364485T3 (en)
HU (1)HUP0700557A2 (en)
PL (1)PL1844192T3 (en)
WO (1)WO2006082600A1 (en)

Families Citing this family (2)

* Cited by examiner, † Cited by third party
Publication numberPriority datePublication dateAssigneeTitle
CN102154914B (en)*2011-02-242013-03-20钟洲Method for preparing aramid paper and aramid paper prepared by method
CN114457609B (en)*2022-01-182024-02-27中国科学院山西煤炭化学研究所Head box for special fiber and fiber dispersing method using head box

Family Cites Families (6)

* Cited by examiner, † Cited by third party
Publication numberPriority datePublication dateAssigneeTitle
DE4234940C2 (en)*1992-10-161994-04-07Voith Gmbh J M Headbox with basis weight cross profile control by local concentration change
US5803270A (en)*1995-10-311998-09-08Institute Of Paper Science & Technology, Inc.Methods and apparatus for acoustic fiber fractionation
DE19634993A1 (en)*1996-08-301998-03-05Voith Sulzer Papiermasch Gmbh Method and device for adjusting the stock density and fiber orientation profile in a headbox
DE19634996C2 (en)*1996-08-302000-05-25Voith Sulzer Papiermasch Gmbh Material density-controlled headbox with pulp consistency control
FI113284B (en)*1998-02-132004-03-31Metso Paper Inc Inlet box for a paper machine / board machine with which the surface weight of the web can be adjusted
EP1556544A2 (en)*2002-11-012005-07-27International Paper CompanyMethod of making a stratified paper

Also Published As

Publication numberPublication date
AU2005326567A1 (en)2006-08-10
CA2581228C (en)2010-04-27
AU2005326567B2 (en)2010-12-09
WO2006082600A1 (en)2006-08-10
BRPI0519932A2 (en)2009-04-07
DE602005027403D1 (en)2011-05-19
CA2581228A1 (en)2006-08-10
HUP0700557A2 (en)2008-02-28
ATE504693T1 (en)2011-04-15
CZ2007514A3 (en)2008-02-27
CN101087917A (en)2007-12-12
ES2364485T3 (en)2011-09-05
PL1844192T3 (en)2011-09-30
EP1844192A1 (en)2007-10-17
CN101087917B (en)2011-12-14
US20080135198A1 (en)2008-06-12

Similar Documents

PublicationPublication DateTitle
US6902650B2 (en)Method of making a stratified paper
TWI481766B (en)Drainage device and method of maintaining and coordinating 0ne or more hydrodynamic processes in a fiber mat forming apparatus involved in paper manufacture
WO1997030213A1 (en)Vacuum isolated dewatering method and unit
US20130042987A1 (en)Energy saving papermaking forming apparatus, system, and method for lowering consistency of fiber suspension
US6126786A (en)Apparatus and method of generating stock turbulence in a fourdrinier forming section
US20110303382A1 (en)Sheet forming system for a machine for producing a multilayer fibrous web
HK1206081A1 (en)Energy saving paper forming device and method of reducing the consistency of fiber suspension
US6551459B1 (en)Regulation system for the short circulation and headbox of a paper machine or equivalent
US20070158042A1 (en)Multi-layer web formation section
EP1844192B1 (en)Apparatus and method for controlling the consistency of a flow of stock solution in a papermaking machine
JPS62162096A (en)Method and apparatus in papermaking machine and paper web produced by said method
NZ555028A (en)Apparatus and method for controlling the consistency of a flow of stock solution in a papermaking machine
JPH01162891A (en) Method of forming a fibrous web on a paper machine
US20020121354A1 (en)System and method of using acoustic foil for enhanced dewatering and formation
US20080135197A1 (en)Method for producing a firous web and twin mesh former for performing said method
RU2224062C2 (en)Apparatus and method for creating paper pulp turbulence in molding section of elongate reticulate web-type papermaking machine
EP1807567A1 (en)Method and apparatus of a twin-wire press
HK1136015B (en)Fiber mat forming apparatus and method of preserving the hydrodynamic processes needed to form a paper sheet

Legal Events

DateCodeTitleDescription
PUAIPublic reference made under article 153(3) epc to a published international application that has entered the european phase

Free format text:ORIGINAL CODE: 0009012

17PRequest for examination filed

Effective date:20070803

AKDesignated contracting states

Kind code of ref document:A1

Designated state(s):AT BE BG CH CY CZ DE DK EE ES FI FR GB GR HU IE IS IT LI LT LU MC NL PL PT RO SE SI SK TR

DAXRequest for extension of the european patent (deleted)
17QFirst examination report despatched

Effective date:20081121

GRAPDespatch of communication of intention to grant a patent

Free format text:ORIGINAL CODE: EPIDOSNIGR1

RAP1Party data changed (applicant data changed or rights of an application transferred)

Owner name:PMT ITALIA S.P.A.

GRASGrant fee paid

Free format text:ORIGINAL CODE: EPIDOSNIGR3

GRAA(expected) grant

Free format text:ORIGINAL CODE: 0009210

AKDesignated contracting states

Kind code of ref document:B1

Designated state(s):AT BE BG CH CY CZ DE DK EE ES FI FR GB GR HU IE IS IT LI LT LU MC NL PL PT RO SE SI SK TR

REGReference to a national code

Ref country code:GB

Ref legal event code:FG4D

REGReference to a national code

Ref country code:CH

Ref legal event code:EP

REGReference to a national code

Ref country code:IE

Ref legal event code:FG4D

REFCorresponds to:

Ref document number:602005027403

Country of ref document:DE

Date of ref document:20110519

Kind code of ref document:P

REGReference to a national code

Ref country code:DE

Ref legal event code:R096

Ref document number:602005027403

Country of ref document:DE

Effective date:20110519

REGReference to a national code

Ref country code:SE

Ref legal event code:TRGR

REGReference to a national code

Ref country code:NL

Ref legal event code:VDEP

Effective date:20110406

PG25Lapsed in a contracting state [announced via postgrant information from national office to epo]

Ref country code:SI

Free format text:LAPSE BECAUSE OF FAILURE TO SUBMIT A TRANSLATION OF THE DESCRIPTION OR TO PAY THE FEE WITHIN THE PRESCRIBED TIME-LIMIT

Effective date:20110406

REGReference to a national code

Ref country code:ES

Ref legal event code:FG2A

Ref document number:2364485

Country of ref document:ES

Kind code of ref document:T3

Effective date:20110905

LTIELt: invalidation of european patent or patent extension

Effective date:20110406

REGReference to a national code

Ref country code:PL

Ref legal event code:T3

PG25Lapsed in a contracting state [announced via postgrant information from national office to epo]

Ref country code:LT

Free format text:LAPSE BECAUSE OF FAILURE TO SUBMIT A TRANSLATION OF THE DESCRIPTION OR TO PAY THE FEE WITHIN THE PRESCRIBED TIME-LIMIT

Effective date:20110406

Ref country code:PT

Free format text:LAPSE BECAUSE OF FAILURE TO SUBMIT A TRANSLATION OF THE DESCRIPTION OR TO PAY THE FEE WITHIN THE PRESCRIBED TIME-LIMIT

Effective date:20110808

PG25Lapsed in a contracting state [announced via postgrant information from national office to epo]

Ref country code:IS

Free format text:LAPSE BECAUSE OF FAILURE TO SUBMIT A TRANSLATION OF THE DESCRIPTION OR TO PAY THE FEE WITHIN THE PRESCRIBED TIME-LIMIT

Effective date:20110806

Ref country code:CY

Free format text:LAPSE BECAUSE OF FAILURE TO SUBMIT A TRANSLATION OF THE DESCRIPTION OR TO PAY THE FEE WITHIN THE PRESCRIBED TIME-LIMIT

Effective date:20110406

Ref country code:GR

Free format text:LAPSE BECAUSE OF FAILURE TO SUBMIT A TRANSLATION OF THE DESCRIPTION OR TO PAY THE FEE WITHIN THE PRESCRIBED TIME-LIMIT

Effective date:20110707

Ref country code:BE

Free format text:LAPSE BECAUSE OF FAILURE TO SUBMIT A TRANSLATION OF THE DESCRIPTION OR TO PAY THE FEE WITHIN THE PRESCRIBED TIME-LIMIT

Effective date:20110406

PG25Lapsed in a contracting state [announced via postgrant information from national office to epo]

Ref country code:NL

Free format text:LAPSE BECAUSE OF FAILURE TO SUBMIT A TRANSLATION OF THE DESCRIPTION OR TO PAY THE FEE WITHIN THE PRESCRIBED TIME-LIMIT

Effective date:20110406

PG25Lapsed in a contracting state [announced via postgrant information from national office to epo]

Ref country code:CZ

Free format text:LAPSE BECAUSE OF FAILURE TO SUBMIT A TRANSLATION OF THE DESCRIPTION OR TO PAY THE FEE WITHIN THE PRESCRIBED TIME-LIMIT

Effective date:20110406

Ref country code:EE

Free format text:LAPSE BECAUSE OF FAILURE TO SUBMIT A TRANSLATION OF THE DESCRIPTION OR TO PAY THE FEE WITHIN THE PRESCRIBED TIME-LIMIT

Effective date:20110406

PLBENo opposition filed within time limit

Free format text:ORIGINAL CODE: 0009261

STAAInformation on the status of an ep patent application or granted ep patent

Free format text:STATUS: NO OPPOSITION FILED WITHIN TIME LIMIT

PG25Lapsed in a contracting state [announced via postgrant information from national office to epo]

Ref country code:SK

Free format text:LAPSE BECAUSE OF FAILURE TO SUBMIT A TRANSLATION OF THE DESCRIPTION OR TO PAY THE FEE WITHIN THE PRESCRIBED TIME-LIMIT

Effective date:20110406

Ref country code:RO

Free format text:LAPSE BECAUSE OF FAILURE TO SUBMIT A TRANSLATION OF THE DESCRIPTION OR TO PAY THE FEE WITHIN THE PRESCRIBED TIME-LIMIT

Effective date:20110406

Ref country code:DK

Free format text:LAPSE BECAUSE OF FAILURE TO SUBMIT A TRANSLATION OF THE DESCRIPTION OR TO PAY THE FEE WITHIN THE PRESCRIBED TIME-LIMIT

Effective date:20110406

26NNo opposition filed

Effective date:20120110

PGFPAnnual fee paid to national office [announced via postgrant information from national office to epo]

Ref country code:FR

Payment date:20120307

Year of fee payment:8

REGReference to a national code

Ref country code:DE

Ref legal event code:R097

Ref document number:602005027403

Country of ref document:DE

Effective date:20120110

PGFPAnnual fee paid to national office [announced via postgrant information from national office to epo]

Ref country code:GB

Payment date:20120213

Year of fee payment:8

REGReference to a national code

Ref country code:DE

Ref legal event code:R082

Ref document number:602005027403

Country of ref document:DE

PG25Lapsed in a contracting state [announced via postgrant information from national office to epo]

Ref country code:MC

Free format text:LAPSE BECAUSE OF NON-PAYMENT OF DUE FEES

Effective date:20120229

REGReference to a national code

Ref country code:CH

Ref legal event code:PL

PG25Lapsed in a contracting state [announced via postgrant information from national office to epo]

Ref country code:LI

Free format text:LAPSE BECAUSE OF NON-PAYMENT OF DUE FEES

Effective date:20120229

Ref country code:CH

Free format text:LAPSE BECAUSE OF NON-PAYMENT OF DUE FEES

Effective date:20120229

REGReference to a national code

Ref country code:IE

Ref legal event code:MM4A

PG25Lapsed in a contracting state [announced via postgrant information from national office to epo]

Ref country code:IE

Free format text:LAPSE BECAUSE OF NON-PAYMENT OF DUE FEES

Effective date:20120203

PGFPAnnual fee paid to national office [announced via postgrant information from national office to epo]

Ref country code:AT

Payment date:20120228

Year of fee payment:8

PG25Lapsed in a contracting state [announced via postgrant information from national office to epo]

Ref country code:BG

Free format text:LAPSE BECAUSE OF FAILURE TO SUBMIT A TRANSLATION OF THE DESCRIPTION OR TO PAY THE FEE WITHIN THE PRESCRIBED TIME-LIMIT

Effective date:20110706

PGFPAnnual fee paid to national office [announced via postgrant information from national office to epo]

Ref country code:ES

Payment date:20120314

Year of fee payment:8

REGReference to a national code

Ref country code:AT

Ref legal event code:MM01

Ref document number:504693

Country of ref document:AT

Kind code of ref document:T

Effective date:20130228

GBPCGb: european patent ceased through non-payment of renewal fee

Effective date:20130203

PG25Lapsed in a contracting state [announced via postgrant information from national office to epo]

Ref country code:AT

Free format text:LAPSE BECAUSE OF NON-PAYMENT OF DUE FEES

Effective date:20130228

REGReference to a national code

Ref country code:FR

Ref legal event code:ST

Effective date:20131031

PG25Lapsed in a contracting state [announced via postgrant information from national office to epo]

Ref country code:GB

Free format text:LAPSE BECAUSE OF NON-PAYMENT OF DUE FEES

Effective date:20130203

Ref country code:FR

Free format text:LAPSE BECAUSE OF NON-PAYMENT OF DUE FEES

Effective date:20130228

REGReference to a national code

Ref country code:ES

Ref legal event code:FD2A

Effective date:20140409

PG25Lapsed in a contracting state [announced via postgrant information from national office to epo]

Ref country code:TR

Free format text:LAPSE BECAUSE OF FAILURE TO SUBMIT A TRANSLATION OF THE DESCRIPTION OR TO PAY THE FEE WITHIN THE PRESCRIBED TIME-LIMIT

Effective date:20110406

PG25Lapsed in a contracting state [announced via postgrant information from national office to epo]

Ref country code:LU

Free format text:LAPSE BECAUSE OF NON-PAYMENT OF DUE FEES

Effective date:20120203

PGFPAnnual fee paid to national office [announced via postgrant information from national office to epo]

Ref country code:PL

Payment date:20140203

Year of fee payment:10

PG25Lapsed in a contracting state [announced via postgrant information from national office to epo]

Ref country code:HU

Free format text:LAPSE BECAUSE OF FAILURE TO SUBMIT A TRANSLATION OF THE DESCRIPTION OR TO PAY THE FEE WITHIN THE PRESCRIBED TIME-LIMIT

Effective date:20050203

PG25Lapsed in a contracting state [announced via postgrant information from national office to epo]

Ref country code:ES

Free format text:LAPSE BECAUSE OF NON-PAYMENT OF DUE FEES

Effective date:20130204

PGFPAnnual fee paid to national office [announced via postgrant information from national office to epo]

Ref country code:DE

Payment date:20160301

Year of fee payment:12

Ref country code:IT

Payment date:20160226

Year of fee payment:12

PG25Lapsed in a contracting state [announced via postgrant information from national office to epo]

Ref country code:PL

Free format text:LAPSE BECAUSE OF NON-PAYMENT OF DUE FEES

Effective date:20150203

PGFPAnnual fee paid to national office [announced via postgrant information from national office to epo]

Ref country code:FI

Payment date:20160824

Year of fee payment:12

PGFPAnnual fee paid to national office [announced via postgrant information from national office to epo]

Ref country code:SE

Payment date:20170412

Year of fee payment:13

REGReference to a national code

Ref country code:DE

Ref legal event code:R119

Ref document number:602005027403

Country of ref document:DE

PG25Lapsed in a contracting state [announced via postgrant information from national office to epo]

Ref country code:FI

Free format text:LAPSE BECAUSE OF NON-PAYMENT OF DUE FEES

Effective date:20170203

PG25Lapsed in a contracting state [announced via postgrant information from national office to epo]

Ref country code:DE

Free format text:LAPSE BECAUSE OF NON-PAYMENT OF DUE FEES

Effective date:20170901

PG25Lapsed in a contracting state [announced via postgrant information from national office to epo]

Ref country code:IT

Free format text:LAPSE BECAUSE OF NON-PAYMENT OF DUE FEES

Effective date:20170203

REGReference to a national code

Ref country code:SE

Ref legal event code:EUG

PG25Lapsed in a contracting state [announced via postgrant information from national office to epo]

Ref country code:SE

Free format text:LAPSE BECAUSE OF NON-PAYMENT OF DUE FEES

Effective date:20180204


[8]ページ先頭

©2009-2025 Movatter.jp