Movatterモバイル変換


[0]ホーム

URL:


EP1688568A3 - Door, in particular for a motor vehicle - Google Patents

Door, in particular for a motor vehicle
Download PDF

Info

Publication number
EP1688568A3
EP1688568A3EP06001950AEP06001950AEP1688568A3EP 1688568 A3EP1688568 A3EP 1688568A3EP 06001950 AEP06001950 AEP 06001950AEP 06001950 AEP06001950 AEP 06001950AEP 1688568 A3EP1688568 A3EP 1688568A3
Authority
EP
European Patent Office
Prior art keywords
door
motor vehicle
support arm
vehicle
rotary
Prior art date
Legal status (The legal status is an assumption and is not a legal conclusion. Google has not performed a legal analysis and makes no representation as to the accuracy of the status listed.)
Granted
Application number
EP06001950A
Other languages
German (de)
French (fr)
Other versions
EP1688568A2 (en
EP1688568B1 (en
Inventor
Gerd Heuel
Ralf Rottmann
Dirk Rau
Current Assignee (The listed assignees may be inaccurate. Google has not performed a legal analysis and makes no representation or warranty as to the accuracy of the list.)
Dura Automotive Body and Glass Systems GmbH
Original Assignee
Dura Automotive Plettenberg Entwicklungs und Vertreibs GmbH
Priority date (The priority date is an assumption and is not a legal conclusion. Google has not performed a legal analysis and makes no representation as to the accuracy of the date listed.)
Filing date
Publication date
Application filed by Dura Automotive Plettenberg Entwicklungs und Vertreibs GmbHfiledCriticalDura Automotive Plettenberg Entwicklungs und Vertreibs GmbH
Publication of EP1688568A2publicationCriticalpatent/EP1688568A2/en
Publication of EP1688568A3publicationCriticalpatent/EP1688568A3/en
Application grantedgrantedCritical
Publication of EP1688568B1publicationCriticalpatent/EP1688568B1/en
Not-in-forcelegal-statusCriticalCurrent
Anticipated expirationlegal-statusCritical

Links

Classifications

Landscapes

Abstract

Translated fromGerman

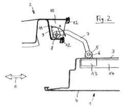
Eine Türe für ein Fahrzeug umfaßt ein Drehgelenk (5), an dem ein Tragarm (7) schwenkbar gelagert ist. Der Tragarm (7) ist mit dem Fahrzeug (2) gelenkig (9) verbindbar. Damit die Türe sowohl durch eine Drehbewegung als auch durch eine Schiebebewegung geöffnet werden kann, ist das Drehgelenk (5) arretierbar (Fig. 2).

Figure imgaf001
A door for a vehicle comprises a pivot (5) on which a support arm (7) is pivotally mounted. The support arm (7) is articulated to the vehicle (2) (9) connectable. So that the door can be opened both by a rotary movement and by a sliding movement, the rotary joint (5) can be locked (FIG. 2).
Figure imgaf001

EP06001950A2005-02-042006-01-31Door, in particular for a motor vehicleNot-in-forceEP1688568B1 (en)

Applications Claiming Priority (3)

Application NumberPriority DateFiling DateTitle
DE1020050053292005-02-04
DE1020050103952005-03-07
DE102005048786ADE102005048786A1 (en)2005-02-042005-10-12 Door, in particular for a motor vehicle

Publications (3)

Publication NumberPublication Date
EP1688568A2 EP1688568A2 (en)2006-08-09
EP1688568A3true EP1688568A3 (en)2009-11-04
EP1688568B1 EP1688568B1 (en)2011-10-05

Family

ID=36282773

Family Applications (1)

Application NumberTitlePriority DateFiling Date
EP06001950ANot-in-forceEP1688568B1 (en)2005-02-042006-01-31Door, in particular for a motor vehicle

Country Status (5)

CountryLink
US (1)US8234816B2 (en)
EP (1)EP1688568B1 (en)
JP (1)JP4936733B2 (en)
DE (1)DE102005048786A1 (en)
ES (1)ES2372298T3 (en)

Cited By (1)

* Cited by examiner, † Cited by third party
Publication numberPriority datePublication dateAssigneeTitle
CN106014046A (en)*2016-08-032016-10-12安徽安凯汽车股份有限公司Waterproof box for door hinge and assembly method of waterproof box

Families Citing this family (30)

* Cited by examiner, † Cited by third party
Publication numberPriority datePublication dateAssigneeTitle
JP5129490B2 (en)*2007-02-162013-01-30本田技研工業株式会社 Vehicle door hinge device
EP2162308A1 (en)2007-05-222010-03-17Ford-Werke GmbHSliding door for a vehicle
DE102007028571A1 (en)2007-06-192008-12-24Thyssenkrupp Drauz Nothelfer GmbhActuating device for sliding door of vehicle, particularly motor vehicle, has linear guides connected with supporting structure of sliding door, where guide bodies are connected with hinge arms in articulated manner
US7717493B2 (en)*2008-01-292010-05-18Nissan Design America, Inc.Sliding door system
DE102008026137B4 (en)*2008-05-302013-01-03Dura Automotive Body & Glass Systems Gmbh Sliding door for a vehicle
DE102011102616A1 (en)*2011-05-272012-11-29GM Global Technology Operations LLC (n. d. Gesetzen des Staates Delaware)Sliding door system for vehicle, comprises sliding door and connecting part that is assigned to sliding door, where connecting part comes into active operating position against counter element of vehicle body at end of closure movement
US8919860B2 (en)2011-08-222014-12-30Honda Motor Co., Ltd.Slide door movement system without center rail
US8794688B2 (en)*2012-01-242014-08-05Chrysler Group LlcDoor assembly for a vehicle
DE202013000449U1 (en)*2012-03-022013-06-04Belu Verwaltungsgesellschaft Mbh Folding door with two or more self-contained Faltladenelementen with alternating non-buckling and buckling element edges and actuator for this purpose
KR101886445B1 (en)*2012-10-192018-08-07현대자동차주식회사Liner type center rail link structure of sliding door for vehicle
KR101382759B1 (en)*2013-02-272014-04-17현대자동차주식회사Liner type center rail link structure of sliding door for vehicle
KR101558371B1 (en)2014-04-092015-10-07현대자동차 주식회사Sliding door supporting device of vehicle and sliding door device using the same
KR101601106B1 (en)*2014-04-092016-03-21현대자동차주식회사Sliding door locking device of vehicle
KR101673339B1 (en)*2014-11-032016-11-07현대자동차 주식회사Swing locking device for vehicle sliding door
FR3031937A1 (en)*2015-01-272016-07-29Peugeot Citroen Automobiles Sa DEVICE FOR FASTENING AND JOINING A CONNECTING ARM BETWEEN A SLIDING SIDE DOOR (IN PLC ABRUP) AND A VEHICLE.
US11118387B2 (en)2015-10-212021-09-14Faraday & Future Inc.Door hinge mechanism for a vehicle
JP6583211B2 (en)*2016-10-282019-10-02トヨタ自動車株式会社 Sliding door structure
US10633908B1 (en)2017-08-212020-04-28Zoox, Inc.Vehicle door actuator assembly
JP6820877B2 (en)*2018-03-282021-01-27三井金属アクト株式会社 Switchgear
KR20200037476A (en)*2018-10-012020-04-09현대자동차주식회사Opposed type sliding door device of vehicle using planetary gear reducer
TR201814531A2 (en)*2018-10-032018-10-22Celikform Gestamp Otomotiv Anonim Sirketi A RAIL MECHANISM FOR SLIDING DOOR
US10787845B2 (en)*2018-11-262020-09-29Ford Global Technologies LlcDual pivot hinge assemblies
KR102644310B1 (en)*2019-01-242024-03-07현대자동차주식회사The weather strip structure of vehicle doors
KR20210057616A (en)*2019-11-122021-05-21현대자동차주식회사Vehicle door opening and closing apparatus
KR102681712B1 (en)*2019-11-122024-07-05현대자동차주식회사Link mechanism for vehicle door and vehicle door opening and closing apparatus having the same
KR102739183B1 (en)*2019-12-102024-12-06현대자동차주식회사Vehicle door opening and closing apparatus
KR102741713B1 (en)*2020-10-072024-12-12현대자동차주식회사Four linkage type apparatus for prventing shaking use for the sliding door of a car
US12263726B2 (en)*2021-03-022025-04-01Morgan Olson CorporationVehicle with sliding door
KR20230072168A (en)*2021-11-172023-05-24현대자동차주식회사Door Connection Structure
KR20230099045A (en)*2021-12-272023-07-04현대자동차주식회사Door hinge device for vehicles

Citations (3)

* Cited by examiner, † Cited by third party
Publication numberPriority datePublication dateAssigneeTitle
DE29819076U1 (en)*1997-10-171999-02-25Lunke & Sohn AG, 58455 Witten Sliding door for vehicles
WO2000077333A1 (en)*1999-06-102000-12-21Friedman, Mark, M.Hinged and sliding door assembly for vehicles
EP1467051A2 (en)*2003-04-112004-10-13ISE Innomotive Systems Europe GmbHOpening and closing system for back doors of light commercial vehicles and vans

Family Cites Families (24)

* Cited by examiner, † Cited by third party
Publication numberPriority datePublication dateAssigneeTitle
US4068407A (en)*1976-10-011978-01-17General Motors CorporationSliding vehicle door
DE3026037C2 (en)*1977-11-181987-08-20Karel 8060 Dachau Hegr Vehicle door with pivoting and sliding movement
US4110934A (en)*1977-11-281978-09-05General Motors CorporationHinge mechanism for a sliding door
IT1118681B (en)*1979-05-161986-03-03Fiat Auto Spa SLIDING DOOR FOR VEHICLES
SE448701B (en)*1983-12-171987-03-16Webasto Werk Baier Kg W DEVICE FOR CONTROL OF THE SHOOTING MOVEMENT AND DISTRIBUTION MOVEMENT OF THE SHUTTER WITH ROOF-CLOVED VEHICLES
DE3711170C1 (en)*1987-04-021988-06-30Siegenia Frank Kg Display device for the wing of a window, a door or the like.
US4862640A (en)*1987-12-181989-09-05Masco Industries, Inc.Powered sliding door opener/closer for vehicles
GB2271384B (en)*1992-10-061996-06-19Soley Antonio CodinaImprovements in and relating to sliding doors
JP3042973B2 (en)*1995-04-182000-05-22株式会社立松製作所 Mode switching type vehicle door system
AU3088797A (en)*1996-05-231997-12-09Apprich Secur 2000 GmbhDevice for opening and closing a sliding door, in particular for vehicles
US5896704A (en)*1996-08-191999-04-27Daimlerchrysler CorporationTrack arrangement for vehicle sliding door
DE19634369C1 (en)*1996-08-261997-09-18Daimler Benz AgGuide for parallel-sliding door on vehicle bodywork with support element
US5992097A (en)*1997-05-161999-11-30Aisin Seiki Kabushiki KaishaSliding door structure
US6036257A (en)*1999-06-022000-03-14General Motors CorporationArticulating lower roller assembly for sliding vehicle door
DE19930328C1 (en)*1999-07-022000-10-26Edscha AgDoor hinge for automobile passenger door has carrier arm provided in 2 parts respectively pivoted to door column and door and relatively adjustable for compensating misalignment of door and door opening
US6328374B1 (en)*2000-06-212001-12-11Ford Global Technologies, Inc.Fully-openable slidable vehicle door assembly
US6477807B1 (en)*2000-11-072002-11-12Westmill Industries LimitedArticulating door hinge system and door assembly
US6386621B1 (en)*2001-08-082002-05-14Ford Global Technologies, Inc.Reverse opening vehicle door
US6860543B2 (en)*2002-05-012005-03-01Toto Tech, Inc.Mechanism for moving a door
FR2840345B1 (en)*2002-05-302005-05-06Plastic Omnium Cie GUIDE MECHANISM OF A SLIDING DOOR, SLIDING DOOR AND MOTOR VEHICLE PROVIDED WITH SUCH A MECHANISM
JP3742036B2 (en)*2002-07-112006-02-01理研化機工業株式会社 Automotive door checker
AT500017B8 (en)*2003-01-212007-02-15Knorr Bremse Gmbh SWIVEL SLIDING DOOR FOR VEHICLES
US6793268B1 (en)*2003-05-122004-09-21Daimlerchrysler CorporationGliding door assembly for a motor vehicle
ATE374714T1 (en)*2004-04-102007-10-15Fahrzeugtechnik Dessau Ag Rail SWING SLIDING DOOR FOR RAIL VEHICLES

Patent Citations (3)

* Cited by examiner, † Cited by third party
Publication numberPriority datePublication dateAssigneeTitle
DE29819076U1 (en)*1997-10-171999-02-25Lunke & Sohn AG, 58455 Witten Sliding door for vehicles
WO2000077333A1 (en)*1999-06-102000-12-21Friedman, Mark, M.Hinged and sliding door assembly for vehicles
EP1467051A2 (en)*2003-04-112004-10-13ISE Innomotive Systems Europe GmbHOpening and closing system for back doors of light commercial vehicles and vans

Cited By (2)

* Cited by examiner, † Cited by third party
Publication numberPriority datePublication dateAssigneeTitle
CN106014046A (en)*2016-08-032016-10-12安徽安凯汽车股份有限公司Waterproof box for door hinge and assembly method of waterproof box
CN106014046B (en)*2016-08-032017-05-31安徽安凯汽车股份有限公司One kind is used for body hinge compartment and its assembly method

Also Published As

Publication numberPublication date
EP1688568A2 (en)2006-08-09
EP1688568B1 (en)2011-10-05
JP4936733B2 (en)2012-05-23
JP2006213315A (en)2006-08-17
US20060175867A1 (en)2006-08-10
DE102005048786A1 (en)2006-08-10
ES2372298T3 (en)2012-01-18
US8234816B2 (en)2012-08-07

Similar Documents

PublicationPublication DateTitle
EP1688568A3 (en)Door, in particular for a motor vehicle
EP2008846A3 (en)Sliding door for a vehicle
EP1782984A3 (en)Vehicle sliding door
EP1780357A3 (en)Door hinge for hidden assembly for rotatable connection of a door wing to a door frame
EP1795684A3 (en)Compact pivot drive for the lid of a vehicle
EP2436553A3 (en)Vehicle seat with a pivoting device
EP1255004A3 (en)Door handle unit
EP1612354A3 (en)Upper articulation assembly for turn and tilt window or door.
EP1643064A3 (en)Sliding window, in particular for a motor vehicle
EP1688289A3 (en)Device for the rotation of a part of a vehicle roof
EP2127928A3 (en)Sliding door for a vehicle
EP1767389A3 (en)Pivotable sliding vehicle door, especially for public transport
EP1348830A3 (en)Drive for a wing
EP1726760A3 (en)Hinge
EP1564139A3 (en)Aircraft passenger seat
ATE369472T1 (en) MOTOR VEHICLE LOCK
ATE445758T1 (en) EXHIBITING DEVICE FOR A TILTING SINGLE, IN PARTICULAR A TILTING SINGLE SINGLE
EP1072747A3 (en)Actuator for the motorized swinging of a front door or a tailgate of a vehicle
EP1083083A3 (en)Hinge for a vehicle seat
EP1193358A3 (en)Locking device, in particular for motor vehicle doors, tailgates, or similar
EP2039860A3 (en)Door hinge with lifting function for the door
CN207436745U (en)A kind of automobile door lock mechanism and automobile
CN2350501Y (en)Sliding brace metal hinge for door or window
ATE375430T1 (en) RETURNING AND SUPPORTING DEVICE FOR A TAILGATE OF A MOTOR VEHICLE WITH TWO LEGS
EP1614844A3 (en)Pivot device

Legal Events

DateCodeTitleDescription
PUAIPublic reference made under article 153(3) epc to a published international application that has entered the european phase

Free format text:ORIGINAL CODE: 0009012

AKDesignated contracting states

Kind code of ref document:A2

Designated state(s):AT BE BG CH CY CZ DE DK EE ES FI FR GB GR HU IE IS IT LI LT LU LV MC NL PL PT RO SE SI SK TR

AXRequest for extension of the european patent

Extension state:AL BA HR MK YU

PUALSearch report despatched

Free format text:ORIGINAL CODE: 0009013

AKDesignated contracting states

Kind code of ref document:A3

Designated state(s):AT BE BG CH CY CZ DE DK EE ES FI FR GB GR HU IE IS IT LI LT LU LV MC NL PL PT RO SE SI SK TR

AXRequest for extension of the european patent

Extension state:AL BA HR MK YU

17PRequest for examination filed

Effective date:20091118

17QFirst examination report despatched

Effective date:20100113

AKXDesignation fees paid

Designated state(s):DE ES FR GB

GRAPDespatch of communication of intention to grant a patent

Free format text:ORIGINAL CODE: EPIDOSNIGR1

GRACInformation related to communication of intention to grant a patent modified

Free format text:ORIGINAL CODE: EPIDOSCIGR1

GRASGrant fee paid

Free format text:ORIGINAL CODE: EPIDOSNIGR3

GRAA(expected) grant

Free format text:ORIGINAL CODE: 0009210

RAP1Party data changed (applicant data changed or rights of an application transferred)

Owner name:DURA AUTOMOTIVE BODY AND GLASS SYSTEMS GMBH

AKDesignated contracting states

Kind code of ref document:B1

Designated state(s):DE ES FR GB

REGReference to a national code

Ref country code:GB

Ref legal event code:FG4D

Free format text:NOT ENGLISH

REGReference to a national code

Ref country code:DE

Ref legal event code:R081

Ref document number:502006010288

Country of ref document:DE

Owner name:DURA AUTOMOTIVE HOLDINGS U.K., LTD., CASTLE VA, GB

Free format text:FORMER OWNER: DURA AUTOMOTIVE PLETTENBERG ENTWICKLUNGS- UND VERTRIEBS GMBH, 58840 PLETTENBERG, DE

REGReference to a national code

Ref country code:DE

Ref legal event code:R096

Ref document number:502006010288

Country of ref document:DE

Effective date:20111208

REGReference to a national code

Ref country code:ES

Ref legal event code:FG2A

Ref document number:2372298

Country of ref document:ES

Kind code of ref document:T3

Effective date:20120118

PLBENo opposition filed within time limit

Free format text:ORIGINAL CODE: 0009261

STAAInformation on the status of an ep patent application or granted ep patent

Free format text:STATUS: NO OPPOSITION FILED WITHIN TIME LIMIT

26NNo opposition filed

Effective date:20120706

REGReference to a national code

Ref country code:DE

Ref legal event code:R097

Ref document number:502006010288

Country of ref document:DE

Effective date:20120706

PGFPAnnual fee paid to national office [announced via postgrant information from national office to epo]

Ref country code:ES

Payment date:20150126

Year of fee payment:10

REGReference to a national code

Ref country code:FR

Ref legal event code:PLFP

Year of fee payment:11

REGReference to a national code

Ref country code:DE

Ref legal event code:R082

Ref document number:502006010288

Country of ref document:DE

Representative=s name:LORENZ SEIDLER GOSSEL RECHTSANWAELTE PATENTANW, DE

Ref country code:DE

Ref legal event code:R081

Ref document number:502006010288

Country of ref document:DE

Owner name:DURA AUTOMOTIVE HOLDINGS U.K., LTD., CASTLE VA, GB

Free format text:FORMER OWNER: DURA AUTOMOTIVE BODY AND GLASS SYSTEMS GMBH, 58840 PLETTENBERG, DE

REGReference to a national code

Ref country code:FR

Ref legal event code:PLFP

Year of fee payment:12

REGReference to a national code

Ref country code:FR

Ref legal event code:TP

Owner name:DURA AUTOMOTIVE BODY AND GLASS SYSTEMS GMBH, DE

Effective date:20170629

REGReference to a national code

Ref country code:GB

Ref legal event code:732E

Free format text:REGISTERED BETWEEN 20170727 AND 20170802

REGReference to a national code

Ref country code:FR

Ref legal event code:PLFP

Year of fee payment:13

PG25Lapsed in a contracting state [announced via postgrant information from national office to epo]

Ref country code:ES

Free format text:LAPSE BECAUSE OF NON-PAYMENT OF DUE FEES

Effective date:20160131

REGReference to a national code

Ref country code:ES

Ref legal event code:FD2A

Effective date:20181207

PG25Lapsed in a contracting state [announced via postgrant information from national office to epo]

Ref country code:ES

Free format text:LAPSE BECAUSE OF NON-PAYMENT OF DUE FEES

Effective date:20160201

PGFPAnnual fee paid to national office [announced via postgrant information from national office to epo]

Ref country code:GB

Payment date:20190227

Year of fee payment:14

Ref country code:DE

Payment date:20190227

Year of fee payment:14

PGFPAnnual fee paid to national office [announced via postgrant information from national office to epo]

Ref country code:FR

Payment date:20190225

Year of fee payment:14

REGReference to a national code

Ref country code:DE

Ref legal event code:R119

Ref document number:502006010288

Country of ref document:DE

GBPCGb: european patent ceased through non-payment of renewal fee

Effective date:20200131

PG25Lapsed in a contracting state [announced via postgrant information from national office to epo]

Ref country code:FR

Free format text:LAPSE BECAUSE OF NON-PAYMENT OF DUE FEES

Effective date:20200131

Ref country code:GB

Free format text:LAPSE BECAUSE OF NON-PAYMENT OF DUE FEES

Effective date:20200131

Ref country code:DE

Free format text:LAPSE BECAUSE OF NON-PAYMENT OF DUE FEES

Effective date:20200801


[8]ページ先頭

©2009-2025 Movatter.jp