Movatterモバイル変換


[0]ホーム

URL:


EP1489475A2 - System and method for proactive motor wellness diagnosis - Google Patents

System and method for proactive motor wellness diagnosis
Download PDF

Info

Publication number
EP1489475A2
EP1489475A2EP04014029AEP04014029AEP1489475A2EP 1489475 A2EP1489475 A2EP 1489475A2EP 04014029 AEP04014029 AEP 04014029AEP 04014029 AEP04014029 AEP 04014029AEP 1489475 A2EP1489475 A2EP 1489475A2
Authority
EP
European Patent Office
Prior art keywords
motor
relay
data
load
operational
Prior art date
Legal status (The legal status is an assumption and is not a legal conclusion. Google has not performed a legal analysis and makes no representation as to the accuracy of the status listed.)
Withdrawn
Application number
EP04014029A
Other languages
German (de)
French (fr)
Other versions
EP1489475A3 (en
Inventor
David B. Durocher
Gerry R. Feldmeier
Yanzhen Liu
Current Assignee (The listed assignees may be inaccurate. Google has not performed a legal analysis and makes no representation or warranty as to the accuracy of the list.)
Eaton Corp
Original Assignee
Eaton Corp
Priority date (The priority date is an assumption and is not a legal conclusion. Google has not performed a legal analysis and makes no representation as to the accuracy of the date listed.)
Filing date
Publication date
Application filed by Eaton CorpfiledCriticalEaton Corp
Publication of EP1489475A2publicationCriticalpatent/EP1489475A2/en
Publication of EP1489475A3publicationCriticalpatent/EP1489475A3/en
Withdrawnlegal-statusCriticalCurrent

Links

Images

Classifications

Definitions

Landscapes

Abstract

The present invention is directed to a power meter or overload relay (16) including a housing (42) and a plurality of sensors (20, 22) configured to monitor operation of a motor (12). A processor (18) is disposed within the housing (42) and is configured to receive operational feedback from the plurality of sensor (20, 22) and proactively determine an operational wellness of the motor (12) from the operational feedback. <IMAGE>

Description

CROSS-REFERENCE TO RELATED APPLICATION
This application claims the benefit of prior U.S. Provisional Application SerialNo. 60/479,318 filed June 18, 2003 and entitled METHOD AND SYSTEM FORIMPLEMENTING MOTOR DIAGNOSTICS AND SYSTEM WELLNESS.
BACKGROUND OF THE INVENTION
The present invention relates generally to motors and, more particularly, to asystem and method for proactive detection of conditions indicative of potential motorfaults. Baseline data is generated by a wellness relay operating in a "learning" mode bymonitoring a given motor known to be operating under "healthy" conditions. After the"learning" mode is complete, the wellness relay monitors the given motor and performsat least one of current signature analysis (CSA) and power signature analysis (PSA) todetermine a motor fault index of the given motor. Specifically, frequency spectrumcomponents within carefully selected sidebands are summed and mapped to one of aplurality of load bins. By comparing the motor fault index to the baseline data associatedwith the mapped load bin, the wellness relay detects conditions indicative of potentialmotor faults and communicates wellness alerts prior to an occurrence of a potential motorfault.
In North America, three-phase induction motors consume a large percentage of allgenerated electrical capacity. Many applications for this "workhorse" of industry are fanand pump industrial applications. For example, in a typical integrated paper mill, lowvoltage and medium voltage motors may comprise nearly 70% of all driven electricalloads. Due to the prevalence of these motors in industry, it is paramount that the three-phasemotor be reliable. Industry reliability surveys suggest that motor failures typically fall into one of four major categories. Specifically, motor faults typically result frombearing failure, stator turn faults, rotor bar failure, or other faults/failures. Within thesefour categories: bearing, stator, and rotor failure account for approximately 85% of allmotor failures.
This percentage could be significantly reduced if the driven equipment wasproperly aligned when installed, and remained aligned regardless of changes in operatingconditions. However, motors are often coupled to misaligned pump loads or loads withrotational unbalance and fail prematurely due to stresses imparted upon the motorbearings. Furthermore, manually detecting such fault causing conditions is difficult atbest because doing so requires the motor to be running. As such, an operator is usuallyrequired to remove the motor from operation to perform a maintenance review anddiagnosis. However, removing the motor from service is unsuitable in many industriesbecause motor down-time is extremely costly and undesirable in many applications.
As such, some detection devices have been designed that generate feedbackregarding an operating motor. The feedback is then reviewed by an operator to determinethe operating conditions of the motor. However, most systems that monitor operatingmotors merely provide feedback of faults that have already damaged the motor. As such,though operational feedback is sent to the operator, it is usually too late for preventiveaction to be taken.
Some systems have attempted to provide an operator with early fault warningfeedback. For example, vibration monitoring has been utilized to provide some earlymisalignment or unbalance based faults. However, when a mechanical resonance occurs,machine vibrations are amplified. Due to this amplification, false positives indicatingsevere mechanical asymmetry are possible. Furthermore, vibration based monitoringsystems typically require highly invasive and specialized monitoring systems to bedeployed within the motor system
As such, other systems perform some signature analysis on feedback from themotor and attempt to detect deviations indicative of a fault. While these systems may aidthe operator in maintenance reviews of an operating motor, they are typically invasiveand require highly specialized sensors to monitor a specific motor application. That is,the detection devices are generally an autonomous unit with sensors that must bedeployed around or within the motor. Therefore, the detection devices constitute anothersystem that must be invasively deployed within the motor system and which issusceptible to faults and deterioration. Additionally, connecting these specialized sensorsusually requires specialized tools, protective devices and/or clothing and highly skilledtechnicians because these sensors are intended to be deployed to energized parts.Accordingly, while traditional monitoring devices allow the operator to safely receivefeedback regarding an operating motor, the devices present additional autonomoussystems associated with the motor which must be set-up, monitored, and maintained.Therefore, traditional motor monitoring devices compound the cost of operating themotors.
Furthermore, such,early fault warning feedback systems typically require multiplelevels of configuration and tailoring to properly monitor a particular motor and that motorwithin a particular application. That is, such systems must be individually configured toa specific motor, load, and application. For example, applications such as motor drivenfans and pumps are typically constant load applications. On the other hand, applicationssuch as conveyers or material handling applications are typically varying loadapplications. Generally, traditional early fault warning feedback systems must bemanually calibrated not only for the individual motor but also for the specific applicationwithin which the motor is operating. Therefore, traditional early fault warning feedbacksystems require considerable investments in time and engineering to deploy the system.
Additionally, these systems must be regularly recalibrated to reconfigure thesystem for normal operational changes to the motor, load, and/or application, else riskfalse positives or negatives arising from normal changes to the motor signature used forreview. Such recalibrations must adjust for new load variances, changes to the motorloadconfiguration, changes in operational frequency, and new application variances, toname but a few. Therefore, while these early fault warning feedback systems may becapable of alerting an operator of required maintenance, the systems alone may requiremaintenance and corresponding downtime exceeding that of the monitored motor.
It would therefore be desirable to design a system and method to non-invasivelyperform diagnostics on an operating motor that is specific to that motor. Additionally, itwould be desirable for the system and method to be implementable utilizing traditionalmotor systems in order to avoid introducing additional autonomous sub-systems.Furthermore, it would be desirable that the system and method be capable of proactivelydiagnosing conditions indicative of a wide range of potential faults including mechanicalfaults and cavitation faults and be able to alert an operator of an impending fault prior toan actual fault occurrence. Also, it would be advantageous that the system and methodbe capable of adjusting to a wide variety of motors, loads, motor signatures, andapplications and be capable of dynamically adjusting to normal changes in the systemover time.
BRIEF DESCRIPTION OF THE INVENTION
The present invention is directed to a system and method that overcomes theaforementioned drawbacks. Raw data is acquired from a plurality of sensors of a relaymonitoring an operating motor. A baseline is dynamically generated to model the motorunder known "healthy" conditions. Once the baseline is generated, the raw data withindynamically selected sidebands is processed and mapped to one of a plurality of loadbins. Baseline data associated with the mapped bin is then compared to the processeddata to generate a fault index indicative of potential faults for that particular operatingmotor. A proactive alert is then sent to an operator warning of a potential fault beforeany damage occurs.
In accordance with one aspect of the present invention, a power meter is disclosedincluding a housing and a plurality of sensors configured to monitor operation of a motor.A processor is disposed within the housing and configured to receive operationalfeedback from the plurality of sensor and proactively determine an operational wellnessof the motor from the operational feedback.
In accordance with another aspect of the present invention, an overload relay isdisclosed that includes a relay housing and a power meter disposed within the relayhousing and configured to receive data from a motor and perform motor fault protection.A wellness system is disposed within the housing and configured to review the data andproactively determine a wellness of the motor to generate condition based maintenancealerts.
In accordance with yet another aspect of the present invention, a kit is disclosedthat is configured to retrofit a relay. The kit includes a housing having dimensionssubstantially similar to an overload relay and an interface configured to receive feedbackfrom a plurality of sensors monitoring a motor. A wellness system is disposed within the housing and configured to receive the feedback from the interface and determine whetherpreventative maintenance is required on the motor.
Various other features, objects and advantages of the present invention will bemade apparent from the following detailed description and the drawings.
BRIEF DESCRIPTION OF THE DRAWINGS
The drawings illustrate one preferred embodiment presently contemplated forcarrying out the invention.
In the drawings:
  • Fig. 1 is a schematic representation of a motor assembly in accordance with thepresent invention.
  • Fig. 2 is block diagram of a relay system in accordance with the present invention.
  • Fig. 3 is a graph illustrating a per unit motor current versus frequency of a motorunder normal operation.
  • Fig. 4 is a graph illustrating a per unit motor current versus frequency of a motoroperating in cavitation as identified in accordance with the present invention.
  • Fig. 5 is a graph illustrating linear averaging current values for a lower sidebandrange of a motor under normal operation.
  • Fig. 6 is a graph illustrating linear averaging current values for an upper sidebandrange of a motor under normal operation.
  • Fig. 7 is a graph illustrating linear averaging current values for a lower sidebandrange of a motor in cavitation as identified in accordance with the present invention.
  • Fig. 8 is a graph illustrating linear averaging current values for an upper sidebandrange of a motor in cavitation as identified in accordance with the present invention.
  • Fig. 9 is a graph illustrating instantaneous power values of a motor under normaloperation.
  • Fig. 10 is a graph illustrating noise within instantaneous power values of a motorindicating cavitation as identified in accordance with the present invention.
  • Fig. 11 is a graph of a per unit motor current versus frequency of a motorillustrating a current spectrum of motor shaft speed components.
  • Fig. 12 is a graph illustrating an example of the influence of energy leakagewithin a current spectrum of a motor.
  • Fig. 13 is a graph of current spectra of multiple motors with varying levels ofmisalignment operating without cavitation.
  • Fig. 14 is a graph of current spectra of multiple motors with varying levels ofmisalignment operating under cavitation.
  • Fig. 15 is a graph of power spectra of multiple motors with varying levels ofmisalignment operating without cavitation.
  • Fig. 16 is a graph of power spectra of multiple motors with varying levels ofmisalignment operating under cavitation.
  • Fig. 17 is a block diagram illustrating an overview of a technique for predictivefault detection in accordance with the present invention.
  • Fig. 18 is a detailed flow chart illustrating the steps of a technique for predictivefault detection in accordance with the present invention.
  • Fig. 19 is a flow chart illustrating the steps of a technique for predictive cavitationfault detection in accordance with the present invention.
  • Fig. 20 is a flow chart illustrating the steps of a technique for predictivemechanical fault detection in accordance with the present invention.
  • Fig. 21 is a more detailed flow chart illustrating the steps of a technique forpredictive fault detection in accordance with the present invention.
  • Fig. 22 is a continuation of the flow chart of Fig. 21 illustrating the steps of atechnique for predictive fault detection in accordance with the present invention.
  • Fig. 23 is a continuation of the flow chart of Fig. 22 illustrating the steps of atechnique for predictive fault detection in accordance with the present invention.
  • Fig. 24 is a continuation of the flow chart of Fig. 23 illustrating the steps of atechnique for predictive fault detection in accordance with the present invention.
  • Fig. 25 is a block diagram of a communications system for communicatingproactive alerts in accordance with the present invention.
  • Fig. 26 is a representation of a graphical user interface in accordance with thepresent invention.
  • DETAILED DESCRIPTION OF THE PREFERRED EMBODIMENT
    The present invention is related to the detection of abnormal conditions topredictively determine potential motor faults. Current signature analysis (CSA) or powersignature analysis (PSA) is utilized to review raw data received from a plurality ofsensors of a relay monitoring an operating motor. The system, which is disposed withinthe relay, maps raw data within dynamically selected sidebands to a bin and generates afault signature index from a comparison of the raw data to baseline data associated withthe mapped bin. An operator of the monitored motor system is then proactively alerted ofa potential fault prior to a fault occurrence.
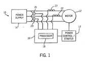
    Referring now to Fig. 1, a motor assembly such as an induction motor configuredto drive a pump is shown. The motor assembly 10 includes a motor 12 that receivespower from a power supply 14. The motor assembly 10 also includes a relay assembly16 used to monitor as well as control operation of the motor in response to operatorinputs or motor fault conditions. The motor 12 and the relay assembly 16 typically arecoupled to electronic devices such as a power control/start 17 in series with the motorsupply to control power to the motor 12. The relay assembly 16 includes a processor 18that, as will be described in greater detail with respect to Fig. 2, implements an algorithmto determine the presence of unwanted mechanical conditions and predictively alert anoperator of a potential fault before a fault occurs. The relay assembly 16 further includesat least a pair of voltage sensors 20 and a pair of current sensors 22. As is generallyknown, voltage and current data may be acquired from only two of the phases of a three-phasemotor as voltage and current data for the third phase may be extrapolated from thevoltage and current data of the monitored two phases. While the present invention willbe described with respect to a three-phase motor, the present invention is equivalentlyapplicable to a two-phase and a single-phase motor.
    Referring now to Fig. 2, a more detailed block diagram of the relay assembly 16of Fig. 1 is shown. As stated with respect to Fig. 1, the relay assembly 16 includes aprocessor 18 and sensors 20, 22. Furthermore, the relay assembly 16 includes a raw datastorage 24, a notch filter 26, and a gain adjuster 28. As will be described in detail withrespect to Figs. 17, 19, and 20, these systems 24, 26, 28, operate to receive the raw datagenerated by the sensors 22, 24 and prepare the raw data for processing by the processor18. However, as will be described, some raw data may also be passed to the processor 18for functions such as traditional overload protection and metering. That is, it should berecognized that the relay assembly 16 includes a system capable of performing bothtraditional relay functions as well as wellness functions. As a further example, relay maybe configured to perform motor start or stop functions, perform trip and reset functions,or monitor motor phase current and thermal capacity.
    Specifically, the processor 18 is configured to control at least two distinctfunctionalities including traditional overload and metering functions 30 and currentsignature analysis (CSA)/power signature analysis (PSA) functions 32 for wellness basedmonitoring based on pump cavitation 34 and misalignment unbalance 36. Currentsignature analysis and PSA involve analysis via a fast Fourier transform (FFT) of motorcurrents or instantaneous power to identify equipment or system abnormalities. As willbe described in detail, this approach involves comparison of a known "good" current orpower signatures recorded during normal operation to the actual running current or powersignature. The known "good" current or power signature is stored as a model 32. Themodel is then compared during at least one of a pump cavitation analysis 32 ormisalignment/unbalance analysis 36 performed by the processor 18. Cavitation of apump, such as a centrifugal pump, occurs when the pump's inlet static pressure dropsbelow the liquid vapor pressure, which substantially increases the probability of motorfailure.
    The relay assembly 16 also includes a communications interface 38 forconnection to a communications bus 40 of a traditional communications systemassociated with the motor being monitored. Therefore, as will be described in greaterdetail with respect to Fig. 26, the communications interface 38 is designed to integrate therelay assembly 16 with existing communications systems such that the relay assemblyincorporates seamlessly into the existing communications system and no additional orproprietary communications system is necessary. That is, should the processor 18 detectoperation of the motor deviating from the current signature or power signature model 32,within a user prescribed tolerance, a proactive alert is sent via the communicationsinterface 38 onto the communications bus 40. Therefore, the communications interface38 is designed to allow the communication of the proactive alerts to an operator withoutthe need for any additional communications infrastructure.
    Therefore, the relay assembly 16 operates as a motor wellness relay that performscondition based monitoring (CBM) that is non-invasive in nature and also operates as atraditional overload/metering relay. The motor operation is not disturbed while raw datacollection and processing occurs. Additionally, all systems and components necessaryfor the predictive fault detection technique, as will be described in detail below, areintegrated within a relay housing 42. The relay assembly 16 is only marginally largerthan traditional relays that are incapable of sophisticated predictive fault detection. Dueto the size of the relay assemblyl6, the relay assembly is immediately retrofittable intoexisting systems utilizing traditional solid-state relays without predictive fault detection.For example, critical process applications such as boiler feed pumps, may benefit fromadditional diagnostic capabilities of the relay assembly 16, enabling operators to schedulemaintenance based on the sensed condition of the equipment before an impending failureoccurs. Since the relay assembly 16 is approximately the size of traditional relay, therelay assembly 16 may be configured as a kit that is able to readily replace any existingrelay that may be configured to monitor such a boiler feed pump. It is contemplated that the relay assembly 16 may be useable with a wide variety of motors having varioushorsepowers (HP) and a variety of poles.
    Referring now to Fig. 3, a graph illustrating a sensed per-unit motor currentversus frequency of a motor under normal operation, such as could be determined by therelay assembly 16 of Fig. 2, is shown. Multiple consecutive FFT processings, preferablyfour, of the raw data are performed and averaged to produce a relatively stable currentsignature 50. For example, a motor driving a centrifugal pump may have been monitoredduring normal operation to produce a current signature such as shown in Fig. 3.Accordingly, a trace for the same motor and centrifugal pump, this time with the pumpoperating in a cavitation state, could produce a current signature such as shown in Fig. 4.Figure 4 shows that there is a measurable difference in motor current spectrum 51compared to the current signature 50 of the pump operating in a normal state, as shown inFig. 3. Specifically, the cavitation, as well as other mechanical faults, can producecertain noise patterns and specific frequency components in the motor current spectrum,which are used for fault indication or signature. However, the specific noise patternsdiffer greatly from motor to motor or from one operating environment to another.Additionally, mechanical forces resulting from potential fault conditions are typicallyhighly dependent on the rotational speed of the motor. Therefore, accurate detection of anoise pattern indicative of a potential fault can be difficult while avoiding false positivesand negatives. As will be described, false positives and negatives are avoided by usingCSA and/or PSA and tailoring the analysis to an individual motor through the use ofdynamically adjusted sidebands and load bins.
    Referring again to Figs. 3 and 4, the noise levels around the system frequency,designatedfbase, are considerably higher for the cavitation mode illustrated in Fig. 4 asopposed to Fig. 3. As will be described, by reviewing the noise pattern in the currentspectrum of the motor being monitored with respect to the system frequency in a definedrange can aid in the determination of a predictive fault indicator signature. Two sidebands of the system frequency are defined to aid in detection, designated as the lowersideband (LSB) and the upper sideband (USB).
    By integrating all noise energy in a frequency sideband extending from off1throughf2 for the LSB andf3 throughf4 for the USB around the system frequency andcomparing data between Fig. 3 and Fig. 4, a potential or impending motor fault can bedetected, as will be described. However, to avoid false positives and/or negatives due tovariations in motors, a learning process is utilized to generate baseline data associatedwith a plurality of load bins for the comparisons that are specifically tailored to aparticular motor. As will be described, the magnitudes of the frequency sidebands are notconsistent for all load levels. For example, when detecting mechanical fault conditions,when there is mechanical resonance, the value of the summed frequency componentswithin the sidebands will typically be higher than associated levels when resonance is notpresent. As will be described, the plurality of load bins compensates for load relatedabnormalities and resonance by classifying load levels into bins and calculating a specificbaseline for each load bin.
    Integration of the noise energy within the LSB and USB can be an arithmetic sumfor all frequency components in each respective sideband. It is also contemplated that anaveraged value can be used, which can be obtained by dividing the integration result bythe number of noise components in the frequency sideband.
    In a simplified manner and according to one embodiment, linear averaging aroundsystem frequency is achieved for pump cavitation detection according to:
    Figure 00130001
    Figure 00140001
    Whole energy integration:E =EL +EL.wherei(f) represents the noise components at defined frequencies within the frequencybins.
    Figures 5 and. 6 show the results of the linear averaging values of the LSB andUSB of Fig. 3, respectively, around a system frequency of 60Hz. Four traces 52, 54, 56,and 58 indicate different misalignment conditions at the various load points. From thetraces 52-58, a baseline for known acceptable pump operation is generated. With theoutlet valve of a pump being driven by the monitored motor closed across the nine (9)different load steps, there is no condition where an indication of cavitation exists.Accordingly, the four traces 52-58, represent different levels of parallel misalignmentranging from no misalignment in trace 52 to 30 millimeters (mm) of misalignment intrace 58. As can be discerned from the traces 52-58, all of the curves are relatively flatwith respect to different loads and misalignment conditions. However, it should be notedthat the current deviation for each trace 52-58 varies according to each load step, whichcould lead to false positive or negative fault indications. Therefore, as will be described,a plurality of load bins is utilized to alleviate the potential of false positives andnegatives.
    Referring now to Fig. 7 and Fig. 8, the same load points are shown as in Figs. 5and Fig. 6, except that now the monitored motor is operating under cavitation. As can beseen in both Fig. 7 and Fig. 8, across the different levels of parallel misalignment in thetraces 52-58, the noise integration values are significantly higher when compared to thebaseline shown in Figs. 5 and 6.
    While Figs. 5-8 illustrate the determination of cavitation within the currentspectrum of a motor, Figs. 9 and 10 illustrate the determination of cavitation within theinstantaneous power of a motor. Fig. 9 shows a graph of integrated power spectra for amotor operating under normal conditions. On the other hand, Fig. 10 shows theintegrated power spectra for the same motor operating under cavitation. As in the motorcurrent, three-phase instantaneous motor power also contains spectra signatureinformation relating to cavitation phenomena. As can be seen in Figs. 9 and 10, similarresults may be obtained for cavitation detection through instantaneous power as throughcurrent analysis, as in Figs. 3-8.
    It should be noted that the major part of the instantaneous power is real motorpower, which is a DC component, and all the other frequencies are left or right shiftedwithin the spectra for the positive or negative components in terms of three-phasequantities. The cavitation noise sideband must be selected above DC frequency.Therefore, the noise band integration for cavitation detection may be accuratelyperformed at a lower sideband frequency range compared to the current signature model.It should be noted that in motor voltage and current measurements, there are always someDC components in sampled data due to signal conditioning circuit errors. Therefore, aspecially designed high pass filter is used to remove the unwanted DC components andits neighboring frequencies to assure the accuracy of the data.
    Additional analysis may also be performed to predicatively detect motor faultsresulting from misalignment or imbalance. Referring now to Fig. 11, a graph of per-unitmotor current versus frequency of a motor illustrating a current spectrum of motor shaftspeed components is shown. As will be shown, mechanical faults may be identified frommotor shaft speed components. Mechanical faults are defined as unbalanced load ormisalignment, including radial and angular misalignment. These faults can be detectedby monitoring amplitude variances of specific shaft running speed components in themotor current spectrum. There are many shaft speed related components in the current spectrum. Figure 11 shows a current spectrum of shaft speed related components aroundthe base frequency (fbase) for a two-pole motor.
    Specifically, sidebands, labeled LSB and USB are selected surrounding therunning frequency of the motor within which the desired shaft running speed componentamplitudes are reviewed. In a simplified manner and according to another embodiment,the frequency components are summed for mechanical fault detection according to:
    Figure 00160001
    Figure 00160002
    wherei(f) is all the frequency components within the selected sideband. For mechanicalfault detectionEL andEU are then linearly averaged. It should be noted that the sidebandsselected for cavitation fault detection and mechanical fault detection differ significantly.For example, it is not uncommon that a cavitation fault detection sideband may spanapproximately 15 Hz while a mechanical fault detection sideband may spanapproximately 2 Hz. Simply, as will be described, the sideband selection criteria fordetermining each fault type differs.
    While Fig. 11 shows a current spectrum of shaft speed related components,accurately measuring the amplitude of a specific frequency component in the currentspectrum may be hampered by energy leakage. That is, since an FFT resolution must belimited to maintain manageable data ranges, accurate representation of the acquired datamay be difficult because not all frequency components accurately represent realamplitudes in the spectrum due to energy leakage. Accordingly, for those componentswith frequencies not at FFT resolution steps, amplitudes are smaller than their actual values. Figure 12 illustrates an example of the influence of energy leakage in the currentspectrum with 0.1 Hz resolution for signals with amplitude of unity (1) and frequenciesincludingf1 Hz, enumerated 60;f1 + .03 Hz, enumerated 62;f1 + .05 Hz, enumerated 64;f1 + .07 Hz , enumerated 66; andf1 + 0.1 Hz, enumerated 68. The amplitudes of signalswith frequencies not at FFT resolution steps, for example, the signal atf1 + .05Hz 64, areless than unity (1) in the FFT spectrum.
    In the motor current spectrum, frequencies of the interested shaft speedcomponents could be any value around a harmonic of system frequency. In most cases,these components are not necessarily at FFT resolution steps and the amplitudes of thesecomponents are relatively small. Since mechanical fault detection is based on monitoringamplitude variances of specific shaft speed components, accurate amplitude estimationfor these components is required.
    Therefore, two techniques are contemplated to estimate the amplitude of shaftspeed related components in the current spectrum. According to one embodiment of theinvention, a square root of accumulated squared values for all points in the above-describednarrow spectral sideband around the shaft speed component is calculated.According to this embodiment, a root sum square (RSS) value is calculated for allfrequency components in a selected frequency band around the shaft speed frequency asan estimated value. A start and end frequency of the selected sideband in the currentspectrum are used that cover the desired shaft speed component. To achieve improvedestimation performance, a sideband is selected in a way that the interested shaft speedfrequency is centered about this defined frequency band. Accuracy of this estimationdepends on the size of the selected bin, such that the wider the selected bin, the moreaccurate the estimation. However, wider bin selection can result in errors in estimation ifa major neighboring frequency component is close to or falls within the selected binbecause the energy of this component will be accumulated in the summed value.
    To overcome these inherent limitations in the RSS technique and in accordancewith a preferred embodiment, the amplitude may be estimated by utilizing threeconsecutive points around the shaft speed component. In this case, polynomialestimation is used to estimate the shaft speed amplitude. For example, assumingik is theinterested shaft speed component andik + 1 andik - 1 are the next upper and lowerneighboring components, then the estimated amplitude of shaft speed is given by:Ampl =ik +C ×ik+1 -ik-1where C is a constant selected based on the specific FFT resolution applied. Utilizingthis technique renders improved estimation over the aforementioned RSS technique andonly uses three consecutive frequency values. Therefore, the major neighboringfrequency components close to the shaft speed frequency have little effect on estimatedvalues.
    Table I compares the performance of both amplitude estimation techniques toFFT results. Table I clearly shows that the FFT analysis yields the amplitude error due toenergy leakage. Simply, the FFT amplitudes for each signal frequency are below unity(1). For example, the middle of the FFT steps (f1 +.05Hz) includes an error of 36.31%.On the other hand, the RSS estimation technique includes a significantly improvedlargest error of 3.41% atf1 +.05Hz. However, over the entire frequency spectrum, thepolynomial estimation yields a largest error of only 0.279% atf1 +.03Hz. Therefore, thepolynomial estimation technique achieves superior accuracy.
    AMPLITUDE ESTIMATION SIMULATION RESULTS
    Signal Frequencies (Hz)FFT AmplitudesRSS EstimationsPolynomial Estimations
    f10.9999410.9999410.999941
    f1+.010.983660.9972891.00042
    f1+.020.9355560.9897011.00169
    f1+.030.858390.97951.00279
    f1+.040.7566770.9703641.0022
    f1+.050.6368170.9658920.997572
    f1+.060.7570350.9692361.00195
    f1+.070.85850.9777821.00272
    f1+.080.935640.9882171.00175
    f1+.090.9835350.9966481.00051
    f1+.10.9999410.9999410.999941
    Thus, unbalanced motor loads or misalignments, including radial and angularmisalignment, can be detected by monitoring amplitude variances of specific shaftrunning speed components in the motor current spectrum within carefully selectedsidebands. The above-described polynomial estimation technique is preferred tocompensate for energy leakage. Figure 13 and Fig. 14 show results using the polynomialestimation technique for multiple motors including various levels of misalignment withand without cavitation, respectively, using the current spectra. Specifically, the fourtraces 60-66 indicate different misalignment conditions including no misalignment attrace 60, 10 mm of misalignment at trace 62, 20 mm of misalignment at trace 64, and 30mm of misalignment at trace 66 at various load steps. Similarly, Fig. 15 and Fig. 16illustrate the derivation of similar results for the identification of radial misalignmentwith and without cavitation, respectively, using the power spectrum.
    As is apparent from Figs. 15 and 16, the motor power analysis yields faultindicators for all corresponding load levels and fault conditions that are comparable to thenotched current analysis illustrated in Figs. 13 and 14. It should be noted that as the loadvaries from load step 0 to load step 9, the current range of the motor varies significantly.For example, trace 64 of Fig. 13 begins at a summed sideband current of greater than 20at load step 0 and drops to a summed sideband current of less than 10 at load step 9. Accordingly, as will be described, a plurality of load bins is used such that the summedsideband data at a given load is compared to baseline data at a corresponding load. Theload bins allow detection even though the spectral components associated with conditionsindicative of potential mechanical faults do not always linearly change as the load varies.For example, mechanical resonance in the coupled systems may affect the spectralcomponents to increase drastically; however, the plurality of load bins and dynamicallyselected sidebands alleviate the potential for false positives arising from these conditions.
    It should be recognized that obtaining accurate results using the instantaneouspower spectra requires the removal of the DC component inherent in the system voltageand current of the motor. If the DC component in voltage and current measurement is notremoved, there will be a large fundamental component in the power spectrum.Accordingly, if the system frequency varies and deviates from FFT steps, there will be asignificant FFT energy leakage, which will raise all the neighboring frequencycomponent levels. In some cases, this energy leakage may be so significant that it buriesthe useful shaft speed component. In this case, detection of the shaft speed componentbecomes difficult or impossible. Therefore, as will be described, a filter is used toremove this DC component.
    Figure 17 is a block diagram of a system 100 utilized to implement a techniquefor predictive fault detection in accordance with the present invention. Before describingthe system 100, it should be recognized that while the blocks of the system 100 will bedescribed as modules, all processing is performed by the relay processor 18 of Fig. 2.Therefore, though described as independent modules, the steps performed by the modulesare accomplished by the relay processor 18 of Fig. 2.
    Referring now to Fig. 17, a plurality of relay sensors 101 is configured to monitorthe operation of a motor and generate voltage data 102 and current data 104. Inaccordance with a preferred embodiment, at least one phase 106 of the current data 104 is adaptively filtered by a notch filter 108 to derive desired current data. All data 102-106is passed to a data acquisition unit 110 to derive the necessary power sensing module dataincluding voltage and current measurements, as well as instantaneous powercomputations. The data acquisition unit 110 passes the three-phased power data 112 andnotched current data 114 to a low pass filter module 116. The low pass filter module 116serves to cut off frequencies below 120 Hz as well as anti-alias and decimate the notchedcurrent data 114. After filtering, the data 112, 114 is passed to a data processing module118 that computes a mean power from the three-phase power data 112 to check loadconditions and transients within the mean power. If the load and the transients are abovea threshold, the processing module 118 performs an FFT on the notched current data 114and calculates a running average for the current spectrum and power.
    After data processing by the processing module 118, the processed data 120 ispassed to a fault signature analysis module 122 to generate a motor fault signature. Aswill be described in greater detail with respect to Figs. 19 and 20, a cavitation faultsignature (CFS) and/or mechanical fault signature (MFS) are calculated to determine theoverall wellness of the motor.
    To generate the CFS, the fault signature analysis module 122 calculates a medianfiltered frequency spectrum and then accumulates all spectrum components in sidebandswithin the frequency spectrum based on motor parameters, specifically, a systemfrequency (fs). The sidebands are defined with respect to thefs. For example, the lowersideband may range fromfs - 25 Hz tofs - 5 Hz and the upper sideband may range fromfs+ 25 tofs + 5. The components with the sidebands are then summed as previouslydescribed. The fault signature analysis module 122 then saves this value as the CFS.
    To generate the MFS, the fault signature analysis module 122 determinessideband ranges within the frequency spectrum based on motor parameters. Inaccordance with a preferred embodiment, the sidebands are selected such that:fsideband =k*fe ± m *frwherefr is the rotating frequency of the motor, andk andm are integers selected duringconfiguration based on the motor parameters.
    Once the sidebands are selected, all spectrum components are summed within thesidebands to form the MFS. Specifically, the MFS is summed across all spectrumcomponents (ik) such that:MFS =Σik2Once calculated, the fault signature analysis module 122 then saves this value as theMFS.
    The MFS and CFS are then prepared by a diagnosis preparation module 124.Specifically, the averaged power is mapped into one of a plurality of bins to determine amonitoring state of the system. In a preferred embodiment, there are seven load bins toallow for a wide data range. Additionally, each load bin may correspond to one of twostates. The states correspond to whether the system is in a learning mode or a monitoringmode.
    If the currently mapped bin state corresponds to the learning mode, the data ispassed to a baseline module 126 to perform linear averaging on the CFS and MFS withpreviously stored baseline data for the selected load bin. Once the linear averaging iscomplete, the data is stored as a CFS baseline and an MFS baseline that is associated withthe currently mapped load bin. The baseline module 126 then determines whethersufficient baseline data has been generated for the current load bin. Specifically, as willbe described, if the baseline module 126 determines sufficient iterations have occurred to generate robust baseline data for the currently mapped load bin, the state of the associatedload bin is switched to the monitoring mode, else, the load bin remains in the learningmode. In either case, raw data is again acquired 110 and the system reiterates.
    On the other hand, if the currently mapped load bin corresponds to the monitoringstate, the CFS and MFS are sent to a diagnostic evaluation module 128. The diagnosticevaluation module 128 compares the CFS and MFS to the baseline data corresponding tothe currently mapped load bin. If either the CFS or MFS differs from the baseline data bygreater than a threshold, a potential fault has been identified and a fault flag iscommunicated through a fault communication interface 130. However, as long as theCFS or MFS does not exceed the baseline data by greater than the threshold, the dataacquisition unit 110 continues to gather data and the processing routine reiterates.
    An overview of this process is illustrated in Fig. 18. Specifically, three-phasecurrent and voltage data are received from relay sensors 140. One phase of the currentdata is selected and the fundamental frequency is dynamically removed 142. Thetechnique continues by performing traditional motor metering functions 144 and overloadrelay operations 146 based on the data received 140. That is, it is contemplated thatwellness monitoring and traditional relay functions, such as metering 144 and overloadoperation 146, may be performed on the same data. Therefore, the system acquirestraditional relay-type data 140 to perform both traditional relay functions 144, 146 andthe following wellness functions.
    The data is then used to perform at least one of CSA and PSA to generate a CFSand/or MFS 148. The CFS is compared to a CFS baseline to detect step changes infrequency decibel (dB) levels within system frequency sidebands to identify motoroperation under cavitation 150. The detailed steps of the process to identify motoroperation under cavitation 150 will be described with respect to Fig. 19. Additionally,the MFS is compared to an MPS baseline to detect step changes in frequency dB levels in running frequency sidebands to identify mechanical faults 152. The detailed steps of theprocess to identify mechanical faults 152 will be described with respect to Fig. 20.
    The results of the comparisons 150, 152 are then stored in registers for operatoraccess 154. The stored data is then compared to an acceptable tolerance range 156 todetermine whether the motor is operating outside the acceptable range, which isindicative of impending faults. If the data is not outside the acceptable range 158, thesystem reiterates and data acquisition from the relay sensors continues 140. However, ifthe data is outside the acceptable range 160, the relay sends a proactive alert 162 toindicate to an operator that the motor is operating under conditions of an impendingmechanical fault or a cavitation fault and data acquisition from the relay sensorscontinues 140.
    Referring now to Fig. 19, the steps of a technique 163 for identifying pumpcavitation are shown. This technique provides a pump/machine operator with anindication that the pump is operating in a reduced flow mode and/or is cavitating. Thetechnique 163 begins by receiving raw data from the relay sensors 164. The inputs to thecavitation detection technique 163 are a "notched' current signal, the system frequency,and a real power measured in watts expressed as a percentage of full load. The cavitationidentification 163 can conceptually be identified as having two major components. Thefirst component is the data acquisition component. To implement the first component,the data is notch filtered 166 to maximize the fidelity of the data and subsequentlydigitized 168 for processing. The digitized data 168 is then decimated to acquire thecorrect resolution 170.
    Specifically, the acquisition component is responsible for notch filtering andapplying a decimation filter to the "notched" current signal. Decimation is required sothat a high-resolution frequency spectrum of input signal over the bandwidth of interestcan be computed with a reasonable length FFT. Since the effects that cavitation produces in the motor current can be quite small (less than 1% of the magnitude of the fundamentalfrequency component), false positive detections of cavitation could result from smallincreases to the signal noise floor. The signal noise floor may vary over time due to anynumber of environmental factors and/or normal aging of a motor (e.g. bearing wear). Inattempt to avoid false positive detections, the acquisition component will filter the"notched" current signal with an adaptive digital comb filter 171 that adjusts nulls basedon the system frequency to further remove the fundamental and any harmonics present inthe signal. As will be described, if in a learning mode, it is contemplated that an RMS ofthe output of the adaptive filter may be computed as an estimate or averaged withbaseline for use by the upcoming monitoring component of the cavitation technique 163.
    However, if not in the learning mode, the monitoring component of the cavitationtechnique 163 is then initiated. The monitoring component takes the output of theacquisition component and attempts to determine if the data that was acquired is ofsufficient quality to make an estimate of the cavitation fault index. As a basic conditionsthat must be satisfied by the input data to the cavitation detection algorithm, the data mustbe relatively stable during the entire FFT analysis period 172. To determine whether thesignal is sufficiently stable 172, the decimated notch samples are applied to a module thatcomputes statistics on the samples. The statistics are compared to predeterminedthreshold(s) to detect significant jumps in the signal statistics and identify the existenceof outliers. If statistical abnormalities are detected 173, the data is not used for furtherprocessing by the cavitation detection technique, the technique reiterates, and new data isacquired 164. However, if no jumps or outliers are identified the data frame will be used174 to compute a cavitation fault index measurement through an FFT 175.
    Specifically, once stable data has been approved 174, the monitoring componentcomputes the magnitude spectrum of the decimated notch current using an FFT algorithm175. In accordance with a preferred embodiment, a plurality of FFTs, preferably at leastfour, is then performed on the data 175. The cumulative magnitude spectrum is then updated with the new data through a power estimate computed by summing thecumulative magnitude spectrum over the frequency range of interest and averaging 176.The average FFT results 176 are then used to produce a sum of noise energy withinsidebands of the system frequency of the motor being monitored. For example, for amotor with a system frequency of 60 Hz, sidebands are selected on either side of the 60Hz frequency range and the frequency components within the side bands are summed toform a cavitation fault signature which is compared to the baseline data 177. From thiscomparison, a cavitation fault index is computed as the ratio of the energy in thefrequency sidebands of the new spectrum divided by the energy in the frequencysidebands of interest previously accumulated during a learning period (baseline) 177.
    The radio of summed noise energy to baseline data (cavitation fault index) is thencompared to a threshold to determine whether it deviates from the threshold 178. Thethreshold is particular to the motor and may be input by the operator, dynamicallygenerated simultaneously with the baseline data, or predetermined such as from a lookuptable. If the cavitation fault index is not greater than the threshold 180, no conditionindicative of future motor faults due to pump cavitation has been detected, and the systemcontinues to receive raw data from the relay sensors 164. However, if the cavitation faultindex is greater than the threshold 182, the system automatically sends a proactive pumpcavitation alert 184 to alert the operator that a condition has been detected that indicatesan impending fault due to pump cavitation.
    The above-described cavitation detection technique is applicable to three-phaseinduction motor driven pumps. The diagnostic function is accomplished via spectralanalysis of the notched motor current signal acquired from the motor terminal currents bytraditional relay sensors. No other or additional instrumentation beyond that which isfound is a relay is required.
    Referring now to Fig. 20, the steps of a technique 186 for determining conditionsindicative of impending mechanical faults are shown. Before describing the technique, itshould be noted that the amplitude of the spectral sidebands when detecting mechanicalfaults are more dependent on the loading of the motor. With no-load, the spectralsidebands are quite high even on a well-aligned motor. These peaks are due to theinherent machine and instrumentation asymmetries unique to each installation of a motorsystem. As the load increases, these spectral peaks are dampened. When loaded, as thedegree of misalignment increases, the amplitude of the sidebands also increases.Therefore, it is noted that that the motor should be loaded above 50% and that themonitoring of the spectral sidebands is done on a per load basis.
    As in the cavitation detection technique described with respect to Fig. 19, themisalignment identification technique 186 can conceptually be identified as having twomajor components. The first component is the data acquisition component. The inputs tothe misalignment detection technique 186 are the same "notched' current signal, systemfrequency, and real power 188 used for cavitation detection. The data acquisitioncomponent is responsible for notch filtering and applying a decimation filter to the"notched" current signal 190. Digitizing 192 and decimation 194 are required so that ahigh-resolution frequency spectrum of input signal over the bandwidth of interest can becomputed with a reasonable length FFT. Since the effects that misalignment produces inthe motor current can be quite small with respect to the fundamental frequency of themotor, false positive detections of impending mechanical faults could result from smallincreases to the signal noise floor. The noise floor may vary over time due to any numberof environmental factors and/or normal aging of a motor due to the learning capabilitiesof the wellness model. In an attempt to avoid false positive detections, the acquisitioncomponent will filter the "notched" current signal with an adaptive digital comb filter195 that adjusts nulls based on the system frequency to further remove the fundamentaland any harmonics present in the signal.
    As previously described, energy leakage correction 196 is performed such that thereal portions of the necessary components of the frequency spectrum of the data areproperly discernable. Then, following correction for energy leakage 196, the technique186 attempts to determine if the data that was acquired is of sufficient quality to make anestimate of the misalignment fault index. One of the basic conditions that must besatisfied by the input data to the misalignment detection algorithm is that the data isrelatively stable during the entire FFT analysis period 197. To determine whether thesignal is sufficiently stable 197, the decimated notch samples are applied to a module thatcomputes statistics on the samples. The statistics are compared to predeterminedthreshold(s) to detect significant jumps in the signal statistics and identify the existenceof outliers. If statistical abnormalities are detected 198, the data is not used for furtherprocessing by the misalignment detection technique, the technique reiterates, and data isreacquired 188. However, if no jumps or outliers are identified the data frame will beused 199 to compute a misalignment fault index measurement through a FFT 200.
    It is contemplated that an RMS of the output of the adaptive comb filter may becomputed as an estimate of or averaged with the baseline for use by the upcomingmonitoring component of the misalignment technique 186. If the system is not in alearning mode, once stable data has been approved 199, the monitoring componentcomputes the magnitude spectrum of the decimated notch current using an FFT algorithm200. In accordance with a preferred embodiment, a plurality of FFTs, preferably at leastfour, is performed on the data 200. The cumulative magnitude spectrum within thedesired sidebands is then updated with the new data through an estimate computed bysumming the cumulative magnitude spectrum over the frequency sideband ranges ofinterest and averaging 202. That is, the average FFT results 202 are then used to producea sum of noise energy within sidebands of the system frequency of the motor beingmonitored, called a mechanical fault signature. This mechanical fault signature is thencompared to the baseline to determine a deviation therefrom 203. As will be described indetail below, this number is referred to as the mechanical fault index 203.
    The mechanical fault index is then compared to a threshold to determine if themechanical fault signature deviates significantly from the baseline data by greater thanthe threshold 204. If not 206, the system continues to receive and process raw data 198.However, if the variances do significantly deviate from the baseline data by greater thenthe threshold 208, the system sends a proactive mechanical fault alert 210 to indicate thatthe system has detected conditions indicative of impending mechanical faults such asmotor unbalance or misalignment.
    Therefore, above-described impending mechanical fault detection techniqueprovides a pump/machine operator with an indication that the pump and motor shaft aremisaligned. The technique is applicable to three-phase induction motor driven pumps.The diagnostic function is accomplished via spectral analysis of the notched motorcurrent signal acquired from the motor terminals by relay sensors. No other or additionalinstrumentation beyond the relay is required.
    Referring now to Figs. 21-24, the technique described with respect to Figs. 18-20is shown in greater detail. The technique begins in an initialization state 212 where allflags, counters, and memory are first cleared 214. Specifically, flags are cleared,counters are set to zero, and any previous CFS and MFS baseline buffers are cleared 214.Then, any previously stored FFT averaging and Pload averaging are cleared 216. Thesystem then reads the rated horsepower (HP), rated motor speed (RPM), and systemfrequency (fs) 218. Using this data 218, the system calculates the rated motor power(Prated), the shaft frequency (fr), and the number of poles of the motor (p) 220.Specifically, Pm is set equal to the HP * 746,fr is set equal to the RPMs / 60, and p is setequal to twice the whole quotient offs/fr. The system then determines the frequencyboundaries for motor misalignment and unbalanced load signatures 222. That is, thefrequency boundaries are set as follows:Fupper = (1-0.4/p) *fs + 1.2 *fr - 0.1Flower = (1+0.4/p) *fs- 1.2 *fr + 1
    The system then selects the FFT parameters 224, including a number of points foreach FFT iteration (NFFT) and decimation factors as well as the specific FFT resolutiondesired. In accordance with a preferred embodiment of the invention, the FFT resolutionis selected to be equal to the quotient offs/NFFT. The system then sets the motor loadrange and the number of load bins to be divided over the monitored load range 226.Specifically, the system identifies the motor load range to be monitored and divides themonitored load range into an even number of load bins. The system then sets the numberof iterations for FFT averaging and the number of iterations for CFS and MFS averagingin learning mode 228. As the final step of initialization, the system sets thresholds forCFS and MFS fault diagnoses 230. It is contemplated that these thresholds may be eitheruser defined, motor parameter selected, or predefined within the relay programming suchas through a lookup table. Once the initialization is complete the system continues to themonitoring algorithm which will be described with respect to Figs. 22-24.
    Referring to Fig. 22, a portion of a monitoring algorithm 232 in accordance withthe present invention is shown. The monitoring algorithm 232 begins by reading thenotch-filtered motor current and decimating the current data in preparation for FFT 234.Substantially simultaneously, the system monitors motor power, low pass filters themotor power data, and sets a maximum power (Pmax) and a minimum power (Pmin) 236.That is, traditional relay-type power metering is performed and the data received duringthe metering is subjected to a low pass filter that removes frequencies below 20 Hz.Also, for each FFT frame, a Pmax and Pmin are set. Following these initial steps of powermetering 236, power characteristic calculations, including a mean power calculation(Pmean), a load power calculation (Pload), and a transient power calculation (Pt), are allperformed 238. That is, Pmean, Pload, and Pt are calculated as follows:
    Figure 00310001
    Pload = Pmean /PratedPt =Pmax -PminPrated
    Following the power characteristics calculations 238, Pt is checked to determinewhether it is greater than 0.1. Then Pload is checked to determine whether it is greaterthan 1.15. Additionally, Pload is checked to determine whether it is less than 0.45. Allthree checks are performed at step 240. If any of these conditions are true 242, FFTaveraging and Pload averaging are reset 244 and the monitoring algorithm restarts.However, if the determinations are all negative 246, then an FFT is performed on thenotched current data, which is scaled to a real value (approximately a 0.1 Hz resolution,rectangular window), and Pload is compared to the first data point within the power data(P1load) 248. A comparison is then made to determine whether P1load is equal to zero orwhether the absolute value of P1load less Pload is greater than 0.1 at step 250. If eithercondition is true 252, FFT averaging and Pload averaging are reset and Pload is saved asP1load at step 254. However, if both conditions are negative 256, the system bypasses thereset of the FFT averaging and Pload averaging and performs linear averages on the FFTdata and Pload data 258. A determination is then made as to whether such a linear averagehas been completed a sufficient number of times 260 and, if not, 262 the monitoringalgorithm 232 reiterates. Specifically, a count of linear averaging iterations is comparedto a threshold value. In a preferred embodiment, the threshold value is at least 6 so thatrobust averaging is completed. If the linear averaging has been completed the minimumnumber of times 264, the monitoring algorithm continues as will be described withrespect to Fig. 23.
    Referring now to Fig. 23, the monitoring algorithm 232 continues with adetermination of whether the motor being monitored has more than 8 poles 266. If themotor does have more than 8 poles 268, the monitoring algorithm 232 simply reiterates.That is, in accordance with a preferred embodiment, motors with more than 8 poles arenot monitored. While in a preferred embodiment, this threshold is set at 8 poles, it iscontemplated that any number of poles may be selected as its threshold for comparison266. However, if the motor has less than 8 poles 270, a second comparison is made todetermine whether the motor is a 2 pole motor 272. If the motor has two poles 274, theupper sideband range for comparison and monitoring (Fupper) is set to twice the systemfrequency less 0.2 Hz at step 276. Then for all spectrum components within the definedsideband range, the MFS is calculated 278 according to Equation 8.
    However, if the motor is not a two pole motor 280, the upper sideband ranges areset 282 according to:Fupper = (1+2/p)fsFlower = (1-2/p)fs
    Once the upper and lower sideband ranges are defined 282, the MFS is calculated284 for all spectrum components within each sideband according to Equation 8. Theresults from each sum within the sidebands are then subjected to a linear average 286 andthe MFS is stored 288. Regarding the frequency spectrum of the notch current data,median filtering is performed 290 at a window length of 7. Then all spectrumcomponents within the frequency spectrum of the notch current data within the upper andlower sidebands defined fromfs-25 tofs-5 Hz and fromfs+5 tofs+25 Hz, respectively, aresummed and stored as a CFS 292. The monitoring algorithm then continues as will bedescribed with respect to Fig. 24.
    Referring now to Fig. 24, the monitoring algorithm 232 continues by determiningtwo adjacent load bin index numbers (index1 and index2), within the average Pload basedon load bin size and load range, respectively 294. That is, index 1 is selected based on theload bin size and index2 is selected based on the load range. The system then reviewsindex1 to determine whether index1 indicates that the system is in learning mode 296. Ifthe system is in learning mode as indicated by index 1 at step 298, the currently calculatedMFS and CFS are averaged with previously stored CFS and MFS baseline data 300. Thesystem then determines whether the baseline data has been averaged with new data fromMFS and CFS calculations a minimum number of times at step 302. In accordance withone embodiment, the system determines whether the data has been averaged at least 50times. To set and place the number of load bins across the various load ranges, it iscontemplated that the RMS value of the frequency spectrum components may beaveraged with the stored data and repeated at increments of 5% until the highest level ofthe load bins is reached. If sufficient averaging has not yet occurred 304, the monitoringalgorithm 232 reiterates. However, if the baseline data has been averaged the minimumnumber of times 306, the system changes a flag with respect to index1 from learningmode to monitoring mode 308 and then the monitoring algorithm restarts.
    However, if index 1 indicates that the system is not in learning mode 310, a checkis made to determine whether index2 indicates that the system is in learning mode 312. Ifindex2 indicates that the system is in learning mode 314, the CFS and MFS baselineassociated with index1 is loaded 316. However, if index2 indicates that the system is notin learning mode 318, the CFS and MFS associated with both index1 and index2 and theCFS and MFS baseline for Pload is interpolated therefrom 320. The system then sets acavitation fault index (CFI) variable equal to the newly read CFS 316 or the interpolatedCFS 318 and divides it by the CFS baseline associated with index1 or the interpolatedindex1 and index2 at step 322. A comparison of the fault index is then made to athreshold 324. Again, it is contemplated that the threshold may be user defined,parameter determined, or preset and associated with the system. If the CFI is not greater than the threshold 325, the system clears the cavitation flag 326. However, if the CFI isgreater than the threshold 327 the system sets a cavitation flag 328.
    The system then determines whether the current motor is greater than 4 poles atstep 330 and, if so 332, reiterates the monitoring algorithm. Should the motor beingmonitored not have greater than 4 poles 334, a mechanical fault index (MFI) is reset tothe recently calculated or interpolated MFS and divided by the MFS baseline 336. TheMFI is then compared to a threshold 340, and if greater than the threshold 342, amechanical fault flag is set 344. On the other hand, if the MFI is not greater than thethreshold 346, then the mechanical fault flag is cleared 348. In either case, themonitoring algorithm 232 then reiterates.
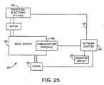
    Referring now to Fig. 25, a block diagram of the above-described wellness relaysystem 350 is shown within a motor system 352. The motor system 352 includes aknown communications system traditionally used with such motor systems 352 to enablemonitoring and traditional feedback systems 354 to communicate to an operator display356 over a communications bus 358. The wellness relay system 350 includes a highspeed, low-cost interconnect or interface 360, capable of allowing the wellness relaysystem 350 to communicate alerts and notices onto the communications bus 358. Theinterface 360 is not part of an additional network, but instead allows the wellness relaysystem 350 to have access to a common back-plane used to communicate informationfrom the wellness relay system 350. It is contemplated that the communications bus 358may be a control bus or other communications system of the motor system 352. It isfurther contemplated that the communications bus 358 may be similar to a commoncommunications bus used to connect a keyboard to a personal computer. Thecommunications interface 360 may be adapted to a specific protocol of thecommunications bus 358 so that the information from the wellness relay system 350 isavailable to the operator display 356.
    It is contemplated that the wellness relay system 350 may operate similarly totraditional low voltage motor control centers (LVMCC). However, as previouslydescribed, the wellness relay system 350 includes many additional wellness detectionfeatures which distinguish it from traditional LVMCCs. Table II shows the availablesystem information from the traditional LVMCC starter unit, typically communicated viaprogrammable logic controller (PLC) input/output modules, as well as the information ,available from the wellness relay system 350. Accordingly, the wellness relay mayprovide feedback regarding trip times and dates and trip causes including at least motoroverload, phase unbalance, and ground fault as well as impending fault condition alerts.
    SYSTEM INFORMATION AVAILABILITY
    Control/Diagnostic FunctionTraditional RelayWellness Relay System
    Motor Start/StopXX
    Trip/ResetXX
    Cause of TripX
    - Motor Overload
    - Phase UnbalanceX
    - Ground FaultX
    Motor Phase Currents (Ia,Ib, Ic)X
    Thermal CapacityX
    Time/Date of TripX
    CBM Wellness Fault Detection
    - CavitationX
    - MechanicalX
    Referring again to Fig. 25, the communications interface 360 enables the wellnessrelay system 350 to connect through one network adapter 362, which, in turn, allows allmonitoring devices 354, 350 in one vertical structure to be connected to only one adapter362. The wellness relay system 350 receives power from a power source 364. Thepower source 364 may also be used to power a contactor coil (not shown) and thenetwork adapter 362 as well as the wellness relay system 350. In accordance with apreferred embodiment, a traditional 120 VAC control power transformer might be eliminated utilizing such an architecture. Although a general network adapter 362 andcommunications interface 360 are shown, many network adapters are contemplated.
    Referring now to Fig. 26, an operator interface 366 in accordance with the presentinvention is shown. The configuration of the operator interface 366 is designed to alertoperators to specific conditions as communicated from the relay system. Diagnosticinformation 368 is available so that plant operators are able to quickly identify themotor's location 370, a time line 372, and any impending problem 374, such as pumpcavitation or misalignment. The information communicated 370-374 allows the operatorto schedule required maintenance to correct an identified problem 374. Unlike traditionalmotor control and protective devices, like a traditional overload relay, the above-describedrelay system can be designed to annunciate an impending fault without trippingthe control circuit. Figure 26 shows but one possible approach for an operator interfaceindicating high vibration, which could lead to an impending bearing failure.
    Therefore, the present invention includes a power meter including a housing and aplurality of sensors configured to monitor operation of a motor. A processor is disposedwithin the housing and configured to receive operational feedback from the plurality ofsensor and proactively determine an operational wellness of the motor from theoperational feedback.
    In another embodiment of the present invention, an overload relay includes arelay housing and a power meter disposed within the relay housing and configured toreceive data from a motor and perform motor fault protection. A wellness system isdisposed within the housing and configured to review the data and proactively determinea wellness of the motor to generate condition based maintenance alerts.
    An alternate embodiment of the present invention has a kit that is configured toretrofit a relay. The kit includes a housing having dimensions substantially similar to an overload relay and an interface configured to receive feedback from a plurality of sensorsmonitoring a motor. A wellness system is disposed within the housing and configured toreceive the feedback from the interface and determine whether preventative maintenanceis required on the motor.
    Another embodiment of the present invention includes a controller configured todetect indicia of motor faults. The controller has a processor configured to determinemotor parameters of a given motor, generate a set of baseline data for the given motor,and acquire current data from the given motor during operation. The processor is alsoconfigured to isolate sidebands within the current data, map the current data within thesidebands to one of a plurality of bins, and compare the current data within the sidebandsto baseline data from the set of baseline data associated with the bin. The processor isthen configured to determine a predictive fault index of the given motor prior to an actualfault occurrence.
    A further embodiment of the present invention has a method of monitoring amotor for potential faults. The method includes receiving current data from an operatingmotor, performing at least one FFT on the current data to generate frequency spectrumdata, and isolating sidebands within the frequency spectrum data based on a systemfrequency of the operating motor. The method also includes accumulating spectrumcomponents of the frequency spectrum data within sidebands and generating baselinedata from the accumulated spectrum components for a predetermined period. Then, afterthe predetermined period, the method includes comparing the spectrum components tothe baseline and determining a noise pattern indicative of potential faults due to pumpcavitation within the spectrum components.
    Another embodiment of the present invention includes a computer readablestorage medium having stored thereon a computer program. The computer programincludes instructions which, when executed by at least one processor, cause the at least one processor to determine a load on a motor and receive operational current data fromthe motor. The at least one processor is also caused to perform at least two FFTs on theoperational current data to generate frequency spectrum data, average the frequencyspectrum data, and define sidebands of the system frequency of the motor. The at leastone processor is also caused to sum the frequency spectrum data within sidebands togenerate a cavitation fault index, map the cavitation fault index to a load bin from aplurality of load bins based on the load on the motor, and average the cavitation faultindex with baseline data associated with the load bin if in a learning mode. However, ifnot in the learning mode, the at least one processor is caused to compare the cavitationfault index to the baseline data associated with the load bin to determine an impendingcavitation fault before a fault occurrence.
    An additional embodiment of the present invention includes a controllerconfigured to detect indicia of impending mechanical motor faults. The controllerincludes a processor configured to determine motor parameters of a given motorincluding a load, generate a set of baseline data for the given motor, and acquire currentspectrum data from the given motor during operation. The processor is also caused tomap at least one from a plurality of load bins based on the load and generate amechanical fault signature from the current spectrum. The processor is caused tocompare the mechanical fault signature to baseline data from the set of baseline datacorresponding to the mapped bin and determine amplitude variances within themechanical fault signature indicative of an impending mechanical fault prior to an actualmechanical fault occurrence.
    In another embodiment of the present invention, a method of detecting impendingmechanical faults includes generating baseline data for the operating motor and receivingcurrent data from an operating motor. The method also includes performing at least oneFFT on the current data to generate frequency spectrum data, selecting system frequencysidebands within the frequency spectrum data, and summing the frequency spectrum data within the system frequency sidebands. The method includes comparing the summedfrequency spectrum data to a portion of the baseline data and determining amplitudevariances within a component of a running shaft speed of the motor indicative ofprospective faults due to at least one of motor misalignment and unbalance.
    An alternate embodiment of the present invention has a computer readable storagemedium having stored thereon a computer program comprising instructions which, whenexecuted by at least one processor, cause the at least one processor to receive operationalcurrent data from a motor. The at least one processor is also caused to perform at leasttwo FFTs on the operational current data to generate frequency spectrum data, averagethe frequency spectrum data, and generate a mechanical fault signature from frequencyspectrum data. If in a learning mode, the at least one processor is caused to compile abaseline from the mechanical fault index. However, if not in the learning mode, the atleast one processor is caused to determine a load of the motor and map the average powerof the motor to a load bin based on the load of the operating motor. The processor is alsocaused to compare a portion of the baseline corresponding to the mapped load bin to themechanical fault signature and determine an impending mechanical fault before a faultoccurrence.
    The present invention has been described in terms of the preferred embodiment,and it is recognized that equivalents, alternatives, and modifications, aside from thoseexpressly stated, are possible and within the scope of the appending claims.

    Claims (13)

    1. A relay (16) comprising:
      a housing (42);
      a plurality of sensors (20, 22) configured to monitor operation of a motor(12); and
      a processor (18) disposed within the housing (42) and configured toreceive operational feedback from the plurality of sensor (20, 22) and proactivelydetermine an operational wellness of the motor (21) from the operational feedback.
    2. The relay of claim 1 wherein the processor (18) is further configured tooutput proactive operational wellness alerts to a display (356).
    3. The relay of claim 2 wherein the proactive operational alerts include pumpcavitation alerts (184), motor alignment alerts, and motor rotational unbalance alerts(210).
    4. The relay of claim 2 wherein the processor (18) is further configured tocommunicate the condition based maintenance alerts without tripping the motor.
    5. The relay of claim 2 further comprising a communications interface (38,360) configured to be connected to a communications bus (40, 358) to communicate theproactive operational alerts to the display (356).
    6. The relay of claim 1 wherein the plurality of sensors (20, 22) is configuredto non-invasively monitor operation of the motor (12).
    7. The relay of claim 1 wherein the plurality of sensors (20, 22) includes asensor configured to monitor a three-phase current (22) and voltage (20) of the motor(12).
    8. The relay of claim 1 further comprising a notch filter (26) configured toremove a fundamental frequency of the motor (12) from the operational feedback. ,
    9. The relay of claim 8 wherein the notch filter (26) is configured to beadaptive to track the fundamental frequency of the motor (12) and an accompanyinginverter.
    10. The relay of claim 1 wherein the processor (18) is further configured togenerate baseline data from the operational feedback during known healthy operation ofthe motor (12).
    11. The relay of claim 10 wherein the processor (18) is further configured toperform a fast Fourier Transform (FFT) on the operational feedback to compare afrequency spectrum of the operational data to the baseline data to determine theoperational wellness of the motor (12).
    12. The relay of claim 1 wherein the operational feedback includes at least oneof current data, voltage data, and power data.
    13. The relay of claim 1 further comprising a circuit configured to performmotor start/stop functions and motor trip/reset functions (17).
    EP04014029A2003-06-182004-06-15System and method for proactive motor wellness diagnosisWithdrawnEP1489475A3 (en)

    Applications Claiming Priority (2)

    Application NumberPriority DateFiling DateTitle
    US47931803P2003-06-182003-06-18
    US479318P2003-06-18

    Publications (2)

    Publication NumberPublication Date
    EP1489475A2true EP1489475A2 (en)2004-12-22
    EP1489475A3 EP1489475A3 (en)2005-04-27

    Family

    ID=33418480

    Family Applications (3)

    Application NumberTitlePriority DateFiling Date
    EP04014029AWithdrawnEP1489475A3 (en)2003-06-182004-06-15System and method for proactive motor wellness diagnosis
    EP04014027AWithdrawnEP1489474A3 (en)2003-06-182004-06-15System and method for proactive motor wellness diagnosis based on potential mechanical faults
    EP04014028AWithdrawnEP1491977A3 (en)2003-06-182004-06-15System and method for proactive motor wellness diagnosis based on potential cavitation faults

    Family Applications After (2)

    Application NumberTitlePriority DateFiling Date
    EP04014027AWithdrawnEP1489474A3 (en)2003-06-182004-06-15System and method for proactive motor wellness diagnosis based on potential mechanical faults
    EP04014028AWithdrawnEP1491977A3 (en)2003-06-182004-06-15System and method for proactive motor wellness diagnosis based on potential cavitation faults

    Country Status (2)

    CountryLink
    US (5)US7075327B2 (en)
    EP (3)EP1489475A3 (en)

    Cited By (8)

    * Cited by examiner, † Cited by third party
    Publication numberPriority datePublication dateAssigneeTitle
    EP2156159A4 (en)*2007-06-042010-08-18Eaton Corp SYSTEM AND METHOD FOR CARRYING OUT DEFECT DETECTION USING STATOR CURRENT NOISE CANCELLATION
    KR20180121985A (en)*2016-06-212018-11-09미쓰비시덴키 가부시키가이샤 Load abnormality detection device
    EP3256865A4 (en)*2015-02-112018-11-14Yehudah FriedlanderSystem for analyzing electricity consumption
    EP3419162A1 (en)*2017-06-202018-12-26General Electric Technology GmbHElectrical signature analysis of electrical rotating machines
    KR20190020757A (en)*2016-07-262019-03-04미쓰비시덴키 가부시키가이샤 Diagnostic equipment of motors
    EP3716469A4 (en)*2017-11-222020-12-02Mitsubishi Electric Corporation DIAGNOSTIC DEVICE FOR DEVICE WEAR
    WO2022035423A1 (en)*2020-08-112022-02-17General Electric CompanySystems and methods for improved anomaly detection for rotating machines
    EP3816604A4 (en)*2018-10-152022-04-06Zhuzhou CRRC Times Electric Co., Ltd. MOTOR BEARING FAILURE DIAGNOSTIC DEVICE

    Families Citing this family (108)

    * Cited by examiner, † Cited by third party
    Publication numberPriority datePublication dateAssigneeTitle
    GB0221638D0 (en)*2002-09-172002-10-30IbmDevice system and method for predictive failure analysis
    US7075327B2 (en)*2003-06-182006-07-11Eaton CorporationSystem and method for proactive motor wellness diagnosis
    JP2005033559A (en)*2003-07-142005-02-03Fuji Xerox Co LtdFailure diagnostic device
    US20050197834A1 (en)*2004-03-032005-09-08General Electric CompanySystems, methods, and an article of manufacture for determining frequency values associated with forces applied to a device
    US7412842B2 (en)2004-04-272008-08-19Emerson Climate Technologies, Inc.Compressor diagnostic and protection system
    US7884715B2 (en)*2004-08-042011-02-08Nexteer (Beijing) Technology Co., Ltd.Method and system for program execution integrity for communication-based angle sensor
    US7275377B2 (en)2004-08-112007-10-02Lawrence KatesMethod and apparatus for monitoring refrigerant-cycle systems
    KR100645808B1 (en)*2004-12-082006-11-23엘지전자 주식회사 Motor control method
    US7239103B2 (en)*2005-02-252007-07-03International Rectifier CorporationSynchronous motor startup lock detection circuit and method
    AT502326B1 (en)*2005-09-092009-07-15Fronius Int Gmbh REMOTE ACCESS UNIT AND COMMUNICATION METHOD FOR MANAGING WELDING DEVICES
    US20070194772A1 (en)*2006-02-202007-08-23Fix Joshua MAssessing soundness of motor-driven devices
    US7571063B2 (en)*2006-04-282009-08-04Admmicro Properties LlcLighting performance power monitoring system and method with optional integrated light control
    DE102006024018A1 (en)*2006-05-232007-11-29Dr. Johannes Heidenhain GmbhProtective circuit for e.g. frequency converter, has transducer circuit whose outputs are applied to maximum creator for forming maximum of outputs, where maximum is connected to comparator, in which maximum is compared with reference value
    US8590325B2 (en)2006-07-192013-11-26Emerson Climate Technologies, Inc.Protection and diagnostic module for a refrigeration system
    US20080216494A1 (en)2006-09-072008-09-11Pham Hung MCompressor data module
    US8461849B1 (en)*2006-11-302013-06-11Electro Scientific Industries, Inc.Multivariate predictive insulation resistance measurement
    US7717826B2 (en)*2007-03-212010-05-18Ut-Battelle, LlcElectrical signature analysis to quantify human and animal performance on fitness and therapy equipment such as a treadmill
    US7847580B2 (en)*2007-06-042010-12-07Eaton CorporationSystem and method for motor fault detection using stator current noise cancellation
    WO2008157505A1 (en)2007-06-152008-12-24Shell Oil CompanyRemote monitoring systems and methods
    US20090037142A1 (en)2007-07-302009-02-05Lawrence KatesPortable method and apparatus for monitoring refrigerant-cycle systems
    DE102007050662A1 (en)*2007-10-242009-04-30Continental Teves Ag & Co. Ohg Method and device for calibrating or diagnosing a motor vehicle brake system with a clocked pump
    US9140728B2 (en)2007-11-022015-09-22Emerson Climate Technologies, Inc.Compressor sensor module
    US8255200B2 (en)*2008-05-292012-08-28Siemens AktiengesellschaftCircuit protection and control device simulator
    GB0809976D0 (en)*2008-06-022008-07-09Edwards LtdVacuum pumping systems
    US8682612B2 (en)*2008-12-182014-03-25Abb Research LtdTrend analysis methods and system for incipient fault prediction
    EP2234236B1 (en)*2009-03-232018-05-23Abb AgThermal overload relay with motor diagnostics
    US9071188B2 (en)*2009-09-042015-06-30Black & Decker Inc.Protective redundant subsystem for power tools
    DE102010005050A1 (en)*2010-01-202011-07-21Howaldtswerke-Deutsche Werft GmbH, 24143 Method for detecting cavitation
    JP4877397B2 (en)*2010-01-222012-02-15株式会社デンソー Current sensor abnormality diagnosis device and sensor abnormality diagnosis device
    US9777748B2 (en)*2010-04-052017-10-03Eaton CorporationSystem and method of detecting cavitation in pumps
    US8401822B2 (en)2010-04-202013-03-19Eaton CorporationSystem, wellness circuit and method of determining wellness of a rotating electrical apparatus
    US8554500B2 (en)2010-06-112013-10-08Deere & CompanySystem and method for ground isolation detection in a vehicle
    US20110316691A1 (en)*2010-06-242011-12-29Brian PepinFlat-hierarchy system for condition-based monitoring of distributed equipment
    US8277571B2 (en)2010-08-242012-10-02General Electric CompanyMethods and apparatus for detecting pump cavitation in a dishwasher using frequency analysis
    WO2012079635A1 (en)*2010-12-162012-06-21Siemens AktiengesellschaftDevice and method for suppressing harmonic interference
    DE102011079398A1 (en)*2010-12-212012-06-21Siemens Aktiengesellschaft Monitoring and fault diagnosis of an electrical machine
    CA2934860C (en)2011-02-282018-07-31Emerson Electric Co.Residential solutions hvac monitoring and diagnosis
    US9151802B2 (en)2011-04-152015-10-06Schweitzer Engineering Laboratories, Inc.Detection of broken rotor bar conditions in a motor using maximum current magnitude and average current magnitude
    US8463462B2 (en)*2011-09-022013-06-11Goodrich CorporationSystems and methods for braking system testing
    US8981697B2 (en)*2011-10-072015-03-17Schweitzer Engineering Laboratories, Inc.Asset condition monitoring in an electric motor
    CN104170244B (en)2011-12-132018-01-09沙特阿拉伯石油公司Submersible electric pump monitors and failure predication
    US8964338B2 (en)2012-01-112015-02-24Emerson Climate Technologies, Inc.System and method for compressor motor protection
    US9477936B2 (en)2012-02-092016-10-25Rockwell Automation Technologies, Inc.Cloud-based operator interface for industrial automation
    JP5641008B2 (en)*2012-04-042014-12-17日本精工株式会社 Motor control device and electric power steering device equipped with the same
    US9310439B2 (en)*2012-09-252016-04-12Emerson Climate Technologies, Inc.Compressor having a control and diagnostic module
    US9018881B2 (en)*2013-01-102015-04-28GM Global Technology Operations LLCStator winding diagnostic systems and methods
    US9551504B2 (en)2013-03-152017-01-24Emerson Electric Co.HVAC system remote monitoring and diagnosis
    EP2971989A4 (en)2013-03-152016-11-30Emerson Electric Co DIAGNOSTICS AND SYSTEM FOR HEATING, VENTILATION AND AIR CONDITIONING REMOTE MONITORING
    US9803902B2 (en)2013-03-152017-10-31Emerson Climate Technologies, Inc.System for refrigerant charge verification using two condenser coil temperatures
    WO2014165731A1 (en)2013-04-052014-10-09Emerson Electric Co.Heat-pump system with refrigerant charge diagnostics
    US9318991B2 (en)2013-04-112016-04-19The Boeing CompanyElectric motor frequency modulation system
    US9989958B2 (en)2013-05-092018-06-05Rockwell Automation Technologies, Inc.Using cloud-based data for virtualization of an industrial automation environment
    US20140337277A1 (en)*2013-05-092014-11-13Rockwell Automation Technologies, Inc.Industrial device and system attestation in a cloud platform
    US9703902B2 (en)2013-05-092017-07-11Rockwell Automation Technologies, Inc.Using cloud-based data for industrial simulation
    US9786197B2 (en)2013-05-092017-10-10Rockwell Automation Technologies, Inc.Using cloud-based data to facilitate enhancing performance in connection with an industrial automation system
    US9438648B2 (en)2013-05-092016-09-06Rockwell Automation Technologies, Inc.Industrial data analytics in a cloud platform
    KR101343403B1 (en)*2013-08-142013-12-20(주)한국툴모니터링Detecting method of abnormality of machine tool operation
    US10054641B2 (en)2013-09-202018-08-21Schweitzer Engineering Laboratories, Inc.Monitoring synchronization of a motor using stator current measurements
    US9933487B2 (en)*2014-03-312018-04-03Eaton CorporationSystem and method for detecting, localizing, and quantifying stator winding faults in AC motors
    US10077810B2 (en)2014-04-142018-09-18Dynapar CorporationSensor hub comprising a rotation encoder
    US20170202334A1 (en)*2014-07-252017-07-20Jahn PowerDevice, System, Method and Kit for Preparing Skin
    US9798306B2 (en)*2014-11-252017-10-24Rockwell Automation Technologies, Inc.Energy usage auto-baseline for diagnostics and prognostics
    US9618583B2 (en)*2015-03-102017-04-11Mitsubishi Electric Research Laboratories, IncFault detection in induction motors based on current signature analysis
    US11243505B2 (en)2015-03-162022-02-08Rockwell Automation Technologies, Inc.Cloud-based analytics for industrial automation
    US11042131B2 (en)2015-03-162021-06-22Rockwell Automation Technologies, Inc.Backup of an industrial automation plant in the cloud
    US10496061B2 (en)2015-03-162019-12-03Rockwell Automation Technologies, Inc.Modeling of an industrial automation environment in the cloud
    US11513477B2 (en)2015-03-162022-11-29Rockwell Automation Technologies, Inc.Cloud-based industrial controller
    US20160294188A1 (en)*2015-03-302016-10-06Sonnenbatterie GmbhEnergy supply system and conductor loop enclosure
    US10063124B2 (en)2015-12-102018-08-28Schweitzer Engineering Laboratories, Inc.Shaft mounted monitor for rotating machinery
    US9944267B2 (en)*2016-04-142018-04-17GM Global Technology Operations LLCSystems and methods for fault isolation for an electric motor assisted brake system
    GB2566189B (en)2016-05-032020-09-02D Wave Systems IncSystems and methods for superconducting devices used in superconducting circuits and scalable computing
    KR20180005312A (en)*2016-07-052018-01-16삼성디스플레이 주식회사Display device
    US10298168B2 (en)2016-07-072019-05-21Schweitzer Engineering Laboratories, Inc.Slip-dependent motor model
    US10523150B2 (en)2016-09-152019-12-31Schweitzer Engineering Laboratories, Inc.Systems and methods for motor slip calculation using shaft-mounted sensors
    US10928814B2 (en)2017-02-242021-02-23General Electric Technology GmbhAutonomous procedure for monitoring and diagnostics of machine based on electrical signature analysis
    US10353005B2 (en)2017-07-132019-07-16Itt Manufacturing Enterprises LlcTechnique for self learning motor load profile
    US10514428B2 (en)2017-07-132019-12-24Itt Manufacturing Enterprises LlcTechnique to detect motor leakage flux anomalies
    EP3444585B1 (en)*2017-08-172020-05-27ALSTOM Transport TechnologiesMethod for determining a state of a bearing, module for determining a state of a bearing, railway vehicle and system
    DE112017007953T5 (en)*2017-10-242020-07-30Mitsubishi Electric Corporation ANOMALY DIAGNOSTIC DEVICE, ANOMALY DIAGNOSTIC PROCEDURE, AND ANOMALY DIAGNOSTIC SYSTEM
    US11588432B2 (en)2017-11-172023-02-21Schweitzer Engineering Laboratories, Inc.Motor monitoring and protection using residual voltage
    CA2991725A1 (en)*2018-01-102019-07-10Psi Technologies Inc.Method and apparatus to predict failure and control vibrations in a subsurface artificial lift system
    US10698031B2 (en)2018-02-022020-06-30R. Gene SmileySystems and methods for obtaining and validating performance data on motors
    CN108341072B (en)*2018-02-112021-06-04深圳禾苗通信科技有限公司Method and device for detecting faults of power system of unmanned aerial vehicle and unmanned aerial vehicle
    US10921777B2 (en)*2018-02-152021-02-16Online Development, Inc.Automated machine analysis
    KR102103143B1 (en)*2018-03-142020-04-22(주)아이티공간Predictive maintenance method of driving device
    CN112514158B (en)2018-05-162022-04-15D-波系统公司Superconducting integrated circuit, control circuit and method for loading magnetic flux quanta
    US11105866B2 (en)2018-06-052021-08-31D-Wave Systems Inc.Dynamical isolation of a cryogenic processor
    WO2019223882A1 (en)2018-05-252019-11-28Harmonic Drive AgElectrical drive device with condition monitoring
    JP7059161B2 (en)*2018-10-222022-04-25株式会社日立製作所 Rotating machine diagnostic system
    FR3092401B1 (en)2019-02-042022-11-11Eaton Intelligent Power Ltd SYSTEM AND METHOD FOR MONITORING AND CONTROLLING ELECTRICAL LOADS
    US11839164B2 (en)2019-08-192023-12-05D-Wave Systems Inc.Systems and methods for addressing devices in a superconducting circuit
    US11218103B2 (en)2019-10-122022-01-04Schweitzer Engineering Laboratories, Inc.Induction motor slip calculation
    US11169211B2 (en)2019-10-142021-11-09Schweitzer Engineering Laboratories, Inc.Systems, methods and apparatuses for frequency tracking
    US12373167B2 (en)*2020-01-272025-07-291372934 B.C. Ltd.Systems and methods for variable bandwidth annealing
    US20210341901A1 (en)*2020-05-012021-11-04Rockwell Automation Technologies, Inc.Induction motor condition monitoring using machine learning
    DE112020007851T5 (en)*2020-12-182023-09-28Mitsubishi Electric Corporation INFORMATION PROCESSING APPARATUS AND INFORMATION PROCESSING METHOD
    US11639966B2 (en)2021-03-152023-05-02General Electric Technology GmbhEnhanced electrical signature analysis for fault detection
    JP6968323B1 (en)*2021-04-222021-11-17三菱電機株式会社 Abnormality diagnosis device and abnormality diagnosis method
    US11733301B2 (en)*2021-05-132023-08-22General Electric Technology GmbhSystems and methods for providing voltage-less electrical signature analysis for fault protection
    US11736051B2 (en)2021-08-052023-08-22Schweitzer Engineering Laboratories, Inc.Synchronous motor startup configuration to synchronous mode at a field zero-crossing
    US12388452B2 (en)2021-11-032025-08-121372934 B.C. Ltd.Systems and methods for duty cycle compensation of a digital to analog converter (DAC)
    JP7518105B2 (en)*2022-01-122024-07-17株式会社日立製作所 Predictive diagnosis process generation device, predictive diagnosis system, and program
    US11942830B2 (en)*2022-08-102024-03-26Charles Douglas EidschunElectric motor monitor
    US12341450B2 (en)*2022-11-302025-06-24Mitsubishi Electric CorporationAbnormality diagnosis device and abnormality diagnosis method
    CN116990583B (en)*2023-07-282024-08-06上海大速科技有限公司Three-phase asynchronous motor with actual output power detection feedback function
    EP4513208A1 (en)*2023-08-242025-02-26GE Energy Power Conversion Technology LimitedMethod and system of evaluating and controlling a rotating electrical machine
    DE102023209670A1 (en)*2023-10-022025-04-03Robert Bosch Gesellschaft mit beschränkter Haftung Method for detecting an imbalance during operation of a drive unit
    DE102024202458B3 (en)*2024-03-152025-07-17Siemens Aktiengesellschaft Procedure for data diagnosis of an engine

    Family Cites Families (29)

    * Cited by examiner, † Cited by third party
    Publication numberPriority datePublication dateAssigneeTitle
    US4525763A (en)*1983-11-301985-06-25General Electric CompanyApparatus and method to protect motors and to protect motor life
    US4761703A (en)*1987-08-311988-08-02Electric Power Research Institute, Inc.Rotor fault detector for induction motors
    US5168200A (en)*1989-12-181992-12-01Payne Kenneth RAutomatic powered flowmeter valves and control thereof
    US5049815A (en)*1990-04-201991-09-17General Electric CompanySpectral analysis of induction motor current to detect rotor faults with reduced false alarms
    US5519337A (en)1993-11-041996-05-21Martin Marietta Energy Systems, Inc.Motor monitoring method and apparatus using high frequency current components
    US5566092A (en)1993-12-301996-10-15Caterpillar Inc.Machine fault diagnostics system and method
    US5570256A (en)1994-03-151996-10-29Siemens Energy & Automation, Inc.Induction machine protection device
    US5629870A (en)*1994-05-311997-05-13Siemens Energy & Automation, Inc.Method and apparatus for predicting electric induction machine failure during operation
    US5574387A (en)*1994-06-301996-11-12Siemens Corporate Research, Inc.Radial basis function neural network autoassociator and method for induction motor monitoring
    US5726905A (en)*1995-09-271998-03-10General Electric CompanyAdaptive, on line, statistical method and apparatus for motor bearing fault detection by passive motor current monitoring
    US6144924A (en)*1996-05-202000-11-07Crane Nuclear, Inc.Motor condition and performance analyzer
    US6601005B1 (en)1996-11-072003-07-29Rosemount Inc.Process device diagnostics using process variable sensor signal
    US6035265A (en)*1997-10-082000-03-07Reliance Electric Industrial CompanySystem to provide low cost excitation to stator winding to generate impedance spectrum for use in stator diagnostics
    US6260004B1 (en)*1997-12-312001-07-10Innovation Management Group, Inc.Method and apparatus for diagnosing a pump system
    US6053047A (en)*1998-09-292000-04-25Allen-Bradley Company, LlcDetermining faults in multiple bearings using one vibration sensor
    US6240751B1 (en)*1999-04-162001-06-05Tri/Mark CorporationOperator for a latch system
    US6204751B1 (en)*1999-09-292001-03-20Rockwell Technologies, LlcCurrent inrush limiting circuit with fast reset
    US6529135B1 (en)1999-10-122003-03-04Csi Technology, Inc.Integrated electric motor monitor
    US6285947B1 (en)1999-10-282001-09-04Brunswick CorporationPrognostication of future failure of an engine indicator parameter
    US6459557B1 (en)*2000-05-312002-10-01Rockwell Automation Technologies, Inc.Configurable single/multi-phase overload relay
    US6507789B1 (en)*2000-07-182003-01-14General Electric CompanyGear transmission condition monitoring method and apparatus
    US6577088B2 (en)*2001-02-092003-06-10Seagate Technology LlcClosed loop spindle motor acceleration control in a disc drive
    US6663349B1 (en)*2001-03-022003-12-16Reliance Electric Technologies, LlcSystem and method for controlling pump cavitation and blockage
    US6727725B2 (en)2001-05-012004-04-27Square D CompanyMotor bearing damage detection via wavelet analysis of the starting current transient
    US6940235B2 (en)2001-05-102005-09-06Analog Devices, Inc.Method and apparatus for driving a brushless DC motor
    KR100941558B1 (en)*2001-05-292010-02-10웨스팅하우스 일렉트릭 컴퍼니 엘엘씨Health monitoring display system for a complex plant
    US6640196B1 (en)*2001-08-162003-10-28Reliance Electric Technologies, LlcSystem and method for motor fault detection by space vector angular fluctuation
    EP1298511B2 (en)2001-09-272009-11-18Reliance Electric Technologies, LLCMotorized system integrated control and diagnostics using vibration, pressure, temperature, speed, and/or current analysis
    US7075327B2 (en)2003-06-182006-07-11Eaton CorporationSystem and method for proactive motor wellness diagnosis

    Cited By (17)

    * Cited by examiner, † Cited by third party
    Publication numberPriority datePublication dateAssigneeTitle
    EP2156159A4 (en)*2007-06-042010-08-18Eaton Corp SYSTEM AND METHOD FOR CARRYING OUT DEFECT DETECTION USING STATOR CURRENT NOISE CANCELLATION
    EP3256865A4 (en)*2015-02-112018-11-14Yehudah FriedlanderSystem for analyzing electricity consumption
    EP3474029A4 (en)*2016-06-212019-06-05Mitsubishi Electric Corporation CHARGE ANOMALY DETECTION DEVICE
    KR20180121985A (en)*2016-06-212018-11-09미쓰비시덴키 가부시키가이샤 Load abnormality detection device
    KR102097510B1 (en)2016-06-212020-04-06미쓰비시덴키 가부시키가이샤 Load abnormality detection device
    CN109313233A (en)*2016-06-212019-02-05三菱电机株式会社Load abnormal detection device
    EP3492938A4 (en)*2016-07-262019-06-05Mitsubishi Electric Corporation DIAGNOSTIC DEVICE FOR ELECTRIC MOTOR
    CN109478832A (en)*2016-07-262019-03-15三菱电机株式会社 Diagnostic device for electric motors
    KR20190020757A (en)*2016-07-262019-03-04미쓰비시덴키 가부시키가이샤 Diagnostic equipment of motors
    CN109478832B (en)*2016-07-262021-06-18三菱电机株式会社 Diagnostic device for electric motors
    EP3419162A1 (en)*2017-06-202018-12-26General Electric Technology GmbHElectrical signature analysis of electrical rotating machines
    EP3716469A4 (en)*2017-11-222020-12-02Mitsubishi Electric Corporation DIAGNOSTIC DEVICE FOR DEVICE WEAR
    EP3816604A4 (en)*2018-10-152022-04-06Zhuzhou CRRC Times Electric Co., Ltd. MOTOR BEARING FAILURE DIAGNOSTIC DEVICE
    US11898932B2 (en)2018-10-152024-02-13ZhuZhou CRRC Times Electric Co., Ltd.Motor bearing failure diagnosis device
    WO2022035423A1 (en)*2020-08-112022-02-17General Electric CompanySystems and methods for improved anomaly detection for rotating machines
    CN114982125A (en)*2020-08-112022-08-30通用电气公司System and method for improved anomaly detection for rotating machines
    US12181526B2 (en)2020-08-112024-12-31Ge Infrastructure Technology LlcAnomaly detection for rotating machines

    Also Published As

    Publication numberPublication date
    US7231319B2 (en)2007-06-12
    US20050007096A1 (en)2005-01-13
    EP1489475A3 (en)2005-04-27
    US7117125B2 (en)2006-10-03
    US20070005291A1 (en)2007-01-04
    EP1489474A3 (en)2005-04-27
    EP1491977A2 (en)2004-12-29
    US20060196265A1 (en)2006-09-07
    US20050021301A1 (en)2005-01-27
    EP1489474A2 (en)2004-12-22
    US7075327B2 (en)2006-07-11
    EP1491977A3 (en)2005-05-11
    US20050021302A1 (en)2005-01-27
    US7346475B2 (en)2008-03-18
    US7336455B2 (en)2008-02-26

    Similar Documents

    PublicationPublication DateTitle
    US7075327B2 (en)System and method for proactive motor wellness diagnosis
    US6529135B1 (en)Integrated electric motor monitor
    US5521482A (en)Method and apparatus for determining mechanical performance of polyphase electrical motor systems
    Durocher et al.Predictive Versus Preventive Maintenance: Future Control Technologies in Motor Diagnosis and System Wellness
    CN100504337C (en) Method and device for detecting faults in a centrifugal pump
    US11953555B2 (en)Abnormality diagnosis device, abnormality diagnosis method, and abnormality diagnosis system
    JP4381612B2 (en) Axis voltage and current monitoring system
    US8401822B2 (en)System, wellness circuit and method of determining wellness of a rotating electrical apparatus
    US7042229B2 (en)System and method for on line monitoring of insulation condition for DC machines
    KR102699545B1 (en) Diagnostic device for electric motor
    US5767780A (en)Detector for flow abnormalities in gaseous diffusion plant compressors
    JP7198089B2 (en) POWER CONVERTER, ROTATING MACHINE SYSTEM, AND DIAGNOSTIC METHOD
    CN110800207A (en)Motor diagnostic device
    JP2020527018A (en) Self-learning motor load profile technology
    Perovic et al.Fuzzy logic system to detect pump faults from motor current spectra
    CN115668749A (en) Motor diagnostics
    EP3648336B1 (en)Motor parallel winding differential current protection and associated method
    US20120109546A1 (en)Identification of rotor broken bar in presence of load pulsation
    CN116490760A (en)Diagnostic device for motor
    CN108151795B (en)Method and system for configuring a condition monitoring device
    O'KaneIntelligent motors moving to the forefront of predictive maintenance
    Durocher et al.Future control technologies in motor diagnostics and system wellness
    Orman et al.A novel non-invasive method for detecting missing wedges in an induction machine
    Bradley et al.Model-based diagnosis of induction motor failure modes

    Legal Events

    DateCodeTitleDescription
    PUAIPublic reference made under article 153(3) epc to a published international application that has entered the european phase

    Free format text:ORIGINAL CODE: 0009012

    AKDesignated contracting states

    Kind code of ref document:A2

    Designated state(s):AT BE BG CH CY CZ DE DK EE ES FI FR GB GR HU IE IT LI LU MC NL PL PT RO SE SI SK TR

    AXRequest for extension of the european patent

    Extension state:AL HR LT LV MK

    RIN1Information on inventor provided before grant (corrected)

    Inventor name:LIU, YANZHENC/O EATON CORPORATION

    Inventor name:FELDMEIER, GERRY R.

    Inventor name:DUROCHER, DAVID B.

    PUALSearch report despatched

    Free format text:ORIGINAL CODE: 0009013

    AKDesignated contracting states

    Kind code of ref document:A3

    Designated state(s):AT BE BG CH CY CZ DE DK EE ES FI FR GB GR HU IE IT LI LU MC NL PL PT RO SE SI SK TR

    AXRequest for extension of the european patent

    Extension state:AL HR LT LV MK

    AKXDesignation fees paid
    STAAInformation on the status of an ep patent application or granted ep patent

    Free format text:STATUS: THE APPLICATION IS DEEMED TO BE WITHDRAWN

    18DApplication deemed to be withdrawn

    Effective date:20051028

    REGReference to a national code

    Ref country code:DE

    Ref legal event code:8566


    [8]ページ先頭

    ©2009-2025 Movatter.jp