Movatterモバイル変換


[0]ホーム

URL:


EP1293448A3 - Cosmetics container and dispenser - Google Patents

Cosmetics container and dispenser
Download PDF

Info

Publication number
EP1293448A3
EP1293448A3EP02291890AEP02291890AEP1293448A3EP 1293448 A3EP1293448 A3EP 1293448A3EP 02291890 AEP02291890 AEP 02291890AEP 02291890 AEP02291890 AEP 02291890AEP 1293448 A3EP1293448 A3EP 1293448A3
Authority
EP
European Patent Office
Prior art keywords
compartment
dispenser
volume
assembly
cosmetics container
Prior art date
Legal status (The legal status is an assumption and is not a legal conclusion. Google has not performed a legal analysis and makes no representation as to the accuracy of the status listed.)
Granted
Application number
EP02291890A
Other languages
German (de)
French (fr)
Other versions
EP1293448A2 (en
EP1293448B1 (en
Inventor
Jean-Louis H. Gueret
Current Assignee (The listed assignees may be inaccurate. Google has not performed a legal analysis and makes no representation or warranty as to the accuracy of the list.)
LOreal SA
Original Assignee
LOreal SA
Priority date (The priority date is an assumption and is not a legal conclusion. Google has not performed a legal analysis and makes no representation as to the accuracy of the date listed.)
Filing date
Publication date
Application filed by LOreal SAfiledCriticalLOreal SA
Publication of EP1293448A2publicationCriticalpatent/EP1293448A2/en
Publication of EP1293448A3publicationCriticalpatent/EP1293448A3/en
Application grantedgrantedCritical
Publication of EP1293448B1publicationCriticalpatent/EP1293448B1/en
Anticipated expirationlegal-statusCritical
Expired - Lifetimelegal-statusCriticalCurrent

Links

Classifications

Landscapes

Abstract

Translated fromFrench

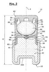
La présente invention concerne un ensemble (10) d'axe X, pour leconditionnement et l'application d'un produit (P) cosmétique, comprenant unpremier compartiment (20) formant un réservoir contenant ledit produitcosmétique, et un second compartiment (30), en communication sélective oupermanente, avec le premier via au moins un orifice (40), et destiné à recevoirun organe d'application (50) dudit produit, un élément de fermeture (60) étantapte à obturer une ouverture (31) délimitée par un bord (32) dudit secondcompartiment (30), le premier compartiment (20) étant de volume variable, lesecond compartiment (30) étant de volume fixe, la hauteur axiale H del'ensemble (10) étant apte à diminuer avec le volume du premier compartiment(20).

Figure 00000001
The present invention relates to an assembly (10) of axis X, for the packaging and the application of a cosmetic product (P), comprising a first compartment (20) forming a reservoir containing said cosmetic product, and a second compartment ( 30), in selective or permanent communication, with the first via at least one orifice (40), and intended to receive an application member (50) of said product, a closing element (60) being able to close an opening ( 31) delimited by an edge (32) of said second compartment (30), the first compartment (20) being of variable volume, the second compartment (30) being of fixed volume, the axial height H of the assembly (10) being able to decrease with the volume of the first compartment (20).
Figure 00000001

EP02291890A2001-08-292002-07-25Cosmetics container and dispenserExpired - LifetimeEP1293448B1 (en)

Applications Claiming Priority (2)

Application NumberPriority DateFiling DateTitle
FR0111217AFR2829115B1 (en)2001-08-292001-08-29 PACKAGE FOR THE PACKAGING AND APPLICATION OF A PRODUCT, ESPECIALLY COSMETIC
FR01112172001-08-29

Publications (3)

Publication NumberPublication Date
EP1293448A2 EP1293448A2 (en)2003-03-19
EP1293448A3true EP1293448A3 (en)2003-09-24
EP1293448B1 EP1293448B1 (en)2009-09-30

Family

ID=8866802

Family Applications (1)

Application NumberTitlePriority DateFiling Date
EP02291890AExpired - LifetimeEP1293448B1 (en)2001-08-292002-07-25Cosmetics container and dispenser

Country Status (8)

CountryLink
US (1)US6776549B2 (en)
EP (1)EP1293448B1 (en)
JP (2)JP3907553B2 (en)
AT (1)ATE444247T1 (en)
CA (1)CA2398621C (en)
DE (1)DE60233847D1 (en)
ES (1)ES2332403T3 (en)
FR (1)FR2829115B1 (en)

Families Citing this family (45)

* Cited by examiner, † Cited by third party
Publication numberPriority datePublication dateAssigneeTitle
JP4808372B2 (en)*2003-10-242011-11-02株式会社吉野工業所 Viscous material application container
FR2868669B1 (en)*2004-04-092007-07-20Oreal DEVICE FOR PACKAGING AND APPLYING A PRODUCT.
DE202004014687U1 (en)*2004-09-212006-02-09Schwan-Stabilo Cosmetics Gmbh & Co. Kg applicator
US7144174B2 (en)*2004-12-302006-12-05Unilever Home & Personal Care Usa Division Of Conopco, Inc.Applicator for liquid cosmetic compositions
AR056792A1 (en)*2005-11-122007-10-24Unilever Nv HAIR DISPENSER
FR2894460A1 (en)*2005-12-092007-06-15Oreal COSMETIC OR DERMATOLOGICAL TREATMENT PROCESS AND DEVICES FOR IMPLEMENTING SUCH A METHOD
FR2894941B1 (en)*2005-12-162008-02-01Cebal Sas Soc Par Actions Simp DISTRIBUTOR APPLICATOR OF LOW VISCOUS PRODUCTS
US7883287B2 (en)2007-05-102011-02-08HCT Asia, LtdDispenser with thermal storage tip
DE102007039177B4 (en)*2007-08-202013-05-23Sulzer Mixpac Ag applicator
US7955014B2 (en)*2008-11-132011-06-07Hct Asia LtdDispenser with moving assembly with encased valve
WO2010141159A2 (en)*2009-06-042010-12-09Elc Management LlcMetal clad ceramic cosmetic applicator
US20110103878A1 (en)*2009-06-042011-05-05Neuner Charles PCeramic Cosmetic Applicator
FR2952512B1 (en)2009-11-172019-08-02Seb Sa APPLICATOR HEAD COMPRISING AN APPLICATION ELEMENT AND A CLAPPET.
USD662260S1 (en)*2010-04-302012-06-19Zen Design Solutions LimitedCosmetic container
USD805308S1 (en)2011-11-292017-12-19FC Brands LimitedCombined foaming brush and housing
FR2989600B1 (en)*2012-04-202017-01-13Valois Sas HEAD OF DISTRIBUTION AND APPLICATION.
GB2508862A (en)*2012-12-132014-06-18Tlc Design LtdPiston incorporating valve controlling flow of fluid from storage cylinder
FR3003448B1 (en)*2013-03-252015-03-06Oreal DIPOSITIVE COMPRISING A LIQUID LIQUID RED COMPOSITION IN THE FORM OF A REVERSE EMULSION AND A POROUS APPLICATION MEMBER
FR3009208B1 (en)*2013-07-312018-04-27Aptar France Sas HEAD OF DISTRIBUTION AND APPLICATION
CN110419846B (en)*2014-02-032022-05-10株式会社Lg生活健康 cosmetic container
FR3023269B1 (en)*2014-07-042017-08-25Aptar France Sas FLUID PRODUCT DISPENSER.
EP2977112A1 (en)*2014-07-252016-01-27Sika Technology AGApplication pen
WO2016044737A1 (en)2014-09-182016-03-24HCT Group Holdings LimitedContainer with quick release base and lid assembly
JP2016087298A (en)*2014-11-102016-05-23ロレアルCap with applicator and packaging equipped with such cap
KR101703703B1 (en)*2015-03-062017-02-08(주)아모레퍼시픽Capsule cosmetic container having a moving exhaust pliate with check valve
USD786088S1 (en)2015-07-102017-05-09HCT Group Holdings LimitedAngled pump with depression
US9993059B2 (en)2015-07-102018-06-12HCT Group Holdings LimitedRoller applicator
USD784162S1 (en)2015-10-082017-04-18HCT Group Holdings LimitedTottle
WO2017100353A1 (en)2015-12-072017-06-15Thermal Lock LLCFluid insulation assembly
FR3048339B1 (en)2016-03-072020-03-20L'oreal PACKAGING AND APPLICATION DEVICE
USD818641S1 (en)2016-03-162018-05-22HCT Group Holdings LimitedCosmetics applicator with cap
FR3049440B1 (en)*2016-03-312019-04-12L'oreal DEVICE FOR CONDITIONING AND APPLYING AN EMULSION COMPRISING A FILMOGENE AND NON-VOLATILE OILS
JP6779114B2 (en)*2016-11-302020-11-04株式会社吉野工業所 Powder coating container
FR3070582B1 (en)*2017-09-052021-09-17Oreal PACKAGING AND APPLICATION DEVICE FOR A PRODUCT, ESPECIALLY A LIQUID COSMETIC PRODUCT
USD846408S1 (en)*2017-09-072019-04-23Nicholas Steven RossettiModular jar
KR102102456B1 (en)*2017-10-172020-04-20이재혁An imprgnation sponge
FR3075022B1 (en)*2017-12-182021-08-06Oreal PACKAGING AND APPLICATION DEVICE FOR A COSMETIC PRODUCT ON KERATINIC MATERIALS
FR3082708B1 (en)*2018-06-212021-12-03Lvmh Rech DEFORMABLE ABSORBENT SUPPORT FOR COSMETIC PACKAGING AND / OR APPLICATION KIT
WO2020050524A1 (en)*2018-09-032020-03-12주식회사 엘지생활건강Cosmetic
EP3760075A1 (en)*2019-07-012021-01-06Anna KrummelFlask
CN110775431B (en)*2019-10-152021-04-09丁珊珊Can lid for vacuum package
US20210259393A1 (en)*2020-02-252021-08-26Madluvv LLCEyebrow Shaping System
KR102471472B1 (en)*2021-01-142022-11-29주식회사 에프에스코리아Refillable cosmetic container
WO2025121561A1 (en)*2023-12-072025-06-12주식회사 월드스폰지Liquefied cosmetic container provided with both temporary reception part and application member
FR3160093A1 (en)*2024-03-132025-09-19L'oreal Cosmetic product dispensing head, packaging and dispensing device and associated method

Citations (2)

* Cited by examiner, † Cited by third party
Publication numberPriority datePublication dateAssigneeTitle
US5945076A (en)*1997-11-071999-08-31S. C. Johnson & Son, Inc.Combined brush and storage container/disinfecting system
EP1020135A1 (en)*1999-01-152000-07-19L'orealDispenser comprising an automatically supplied applicator

Family Cites Families (35)

* Cited by examiner, † Cited by third party
Publication numberPriority datePublication dateAssigneeTitle
DE406544C (en)1924-11-26Ernst Borrmann Maschinenfabrik Clamping device for the chip from Zuendholzaussennelachtelmaschinen with continuously revolving form shaft
US876090A (en)*1907-07-111908-01-07Albert J PrescottLather-brush.
US1021709A (en)1910-03-301912-03-26Herbert W SnowCollapsible tube.
US1056457A (en)1910-12-271913-03-18Meyer W SchlossDispensing appliance.
US1063484A (en)1911-10-141913-06-03Meyer W SchlossPowder-box.
US1172293A (en)1915-03-041916-02-22Rudolf KohlheppContainer for toilet powder.
US1450386A (en)1920-12-181923-04-03Thomas J ReganToilet-powder container
US1497442A (en)*1921-06-141924-06-10Hess Henry LawrenceShaving brush
US2069048A (en)1935-06-031937-01-26August W RehbergerLather bowl
US2554489A (en)1950-04-171951-05-29Max Factor & CoPowder box and dispenser
US2691184A (en)1951-08-061954-10-12MillerCosmetic kit for the application and removal of lipstick
DE938658C (en)1952-09-181956-02-02Paul Fr Schmidt Closure, especially for tubes
FR1461630A (en)1965-10-271966-02-25Etablissements F Pfirter & Cie Stopper with spreader pad, for wax tubes or other pasty products
US3456650A (en)1966-11-291969-07-22Gilbert SchwartzmanBlowback eliminator for collapsible tube
US3456851A (en)1968-04-241969-07-22Kimberly Clark CoDevice for applying lubricant to tampons
US3592365A (en)1969-04-211971-07-13Gilbert SchwartzmanPump-type dispensing apparatus
US3682558A (en)1970-03-181972-08-08United States Banknote CorpScreen filter
US4693623A (en)1984-03-021987-09-15Dab-O-Matic Corp.Pressure-responsive valve for an applicator
IT8421877V0 (en)1984-05-211984-05-21Save Srl RECHARGEABLE TUBE STRUCTURE IN PARTICULAR FOR TOOTHPASTE AND SIMILAR PRODUCTS.
US4925327A (en)1985-11-181990-05-15Minnesota Mining And Manufacturing CompanyLiquid applicator with metering insert
US4780017A (en)1987-03-271988-10-25Bradford Jennifer AResilient container with vent and dispensing assembly
US4832060A (en)1987-04-131989-05-23Plough, Inc.Loose make-up powder container
JPS6439879U (en)1987-09-021989-03-09
US4974981A (en)1988-01-131990-12-04Cosmetic Essence, Inc.Cosmetic powder brush with metered powder dispenser
US4880326A (en)1988-05-241989-11-14Spiveco, Inc.Lipstick dispenser
FR2633167B1 (en)1988-06-271990-09-21Oreal APPLICATOR ASSEMBLY OF A POWDER OR PASTY PRODUCT, IN PARTICULAR OF A COSMETIC PRODUCT
JPH0298306U (en)1989-01-201990-08-06
JPH0750235Y2 (en)1989-10-111995-11-15エヌオーケー株式会社 Pen
JPH063473U (en)1991-10-311994-01-18エルメック株式会社 Liquid applicator
FR2701818B1 (en)1993-02-221995-06-16Oreal APPLICATOR.
FR2720238B1 (en)1994-05-241996-08-30Oreal Device for applying a perforated piston to a product, in particular makeup and / or care.
CA2226996C (en)1997-01-242006-08-15Kose CorporationWhitening cosmetic composition comprising polyhydric alcohol
FR2773959B1 (en)1998-01-262000-04-07Oreal PACKAGING AND APPLICATION ASSEMBLY OF A POWDERY, LIQUID OR PASTY PRODUCT COMPRISING A PISTON
FR2789660B1 (en)1999-02-162001-05-04Oreal SELF-SUPPLIED PACKAGING AND APPLICATION ASSEMBLY
FR2798646B1 (en)1999-09-212001-12-28Oreal PACKAGING AND APPLICATION DEVICE

Patent Citations (2)

* Cited by examiner, † Cited by third party
Publication numberPriority datePublication dateAssigneeTitle
US5945076A (en)*1997-11-071999-08-31S. C. Johnson & Son, Inc.Combined brush and storage container/disinfecting system
EP1020135A1 (en)*1999-01-152000-07-19L'orealDispenser comprising an automatically supplied applicator

Also Published As

Publication numberPublication date
FR2829115B1 (en)2004-11-05
EP1293448A2 (en)2003-03-19
DE60233847D1 (en)2009-11-12
JP2006312083A (en)2006-11-16
ES2332403T3 (en)2010-02-04
US6776549B2 (en)2004-08-17
CA2398621A1 (en)2003-02-28
CA2398621C (en)2006-10-24
FR2829115A1 (en)2003-03-07
US20030063945A1 (en)2003-04-03
JP2003144223A (en)2003-05-20
JP3907553B2 (en)2007-04-18
ATE444247T1 (en)2009-10-15
EP1293448B1 (en)2009-09-30

Similar Documents

PublicationPublication DateTitle
EP1293448A3 (en)Cosmetics container and dispenser
CA2380675A1 (en)Set for the packaging and application of a product, in particular a cosmetic or care product
CA2233402A1 (en)Assembly for packaging and application of a fluid product
CA2268387A1 (en)Dosing dispenser nozzle
USD453892S1 (en)Container
CA2361616A1 (en)Container equipped with a tube plunger and an application component
CA2405032A1 (en)Device for separate packaging and joint distribution of two products
CA2348105A1 (en)Dispenser nozzle and distribution equipped with such a nozzle
CA2353365A1 (en)Product package and applicator, notably for cosmetics
CA2357199A1 (en)Device for the bidirectional mounting of a container on a support, and container having such a device
CA2360884A1 (en)Product (cosmetics) packaging and application kit
WO2003002416A3 (en)Dispenser for wipes
NO996463D0 (en) Aerosol tank valve
EP2614748A3 (en)Packaging and application device
CA2342090A1 (en)Dispensing cap and container fitted with such a cap
USD407273S (en)Liquid flask with easy pouring spout
CA2378695A1 (en)Packaging and application set, in particular for a cosmetic product
CA2353344A1 (en)Cosmetic or care product application device
IT1292958B1 (en) IMPROVEMENT BY DOSING PUMP FOR THE DISPENSING OF LIQUID OR DENSE SUBSTANCES FROM CONTAINERS.
USD404950S (en)Container for dispensing fluid
USD403112S (en)Shaving cream dispensing razor
CA2416160A1 (en)Packaging and application set for a product, namely a makeup product
CA2542543A1 (en)Dispenser container
EP1470867A3 (en)Spraying device with a removable product container
USD508549S1 (en)Device for dispensing a liquid active substance

Legal Events

DateCodeTitleDescription
PUAIPublic reference made under article 153(3) epc to a published international application that has entered the european phase

Free format text:ORIGINAL CODE: 0009012

AKDesignated contracting states

Kind code of ref document:A2

Designated state(s):AT BE BG CH CY CZ DE DK EE ES FI FR GB GR IE IT LI LU MC NL PT SE SK TR

AXRequest for extension of the european patent

Extension state:AL LT LV MK RO SI

PUALSearch report despatched

Free format text:ORIGINAL CODE: 0009013

AKDesignated contracting states

Kind code of ref document:A3

Designated state(s):AT BE BG CH CY CZ DE DK EE ES FI FR GB GR IE IT LI LU MC NL PT SE SK TR

AXRequest for extension of the european patent

Extension state:AL LT LV MK RO SI

17PRequest for examination filed

Effective date:20040324

AKXDesignation fees paid

Designated state(s):AT BE BG CH CY CZ DE DK EE ES FI FR GB GR IE IT LI LU MC NL PT SE SK TR

17QFirst examination report despatched

Effective date:20060327

GRAPDespatch of communication of intention to grant a patent

Free format text:ORIGINAL CODE: EPIDOSNIGR1

GRASGrant fee paid

Free format text:ORIGINAL CODE: EPIDOSNIGR3

GRAA(expected) grant

Free format text:ORIGINAL CODE: 0009210

AKDesignated contracting states

Kind code of ref document:B1

Designated state(s):AT BE BG CH CY CZ DE DK EE ES FI FR GB GR IE IT LI LU MC NL PT SE SK TR

REGReference to a national code

Ref country code:GB

Ref legal event code:FG4D

Free format text:NOT ENGLISH

Ref country code:CH

Ref legal event code:EP

REGReference to a national code

Ref country code:IE

Ref legal event code:FG4D

REFCorresponds to:

Ref document number:60233847

Country of ref document:DE

Date of ref document:20091112

Kind code of ref document:P

PG25Lapsed in a contracting state [announced via postgrant information from national office to epo]

Ref country code:FI

Free format text:LAPSE BECAUSE OF FAILURE TO SUBMIT A TRANSLATION OF THE DESCRIPTION OR TO PAY THE FEE WITHIN THE PRESCRIBED TIME-LIMIT

Effective date:20090930

Ref country code:SE

Free format text:LAPSE BECAUSE OF FAILURE TO SUBMIT A TRANSLATION OF THE DESCRIPTION OR TO PAY THE FEE WITHIN THE PRESCRIBED TIME-LIMIT

Effective date:20090930

REGReference to a national code

Ref country code:ES

Ref legal event code:FG2A

Ref document number:2332403

Country of ref document:ES

Kind code of ref document:T3

NLV1Nl: lapsed or annulled due to failure to fulfill the requirements of art. 29p and 29m of the patents act
PG25Lapsed in a contracting state [announced via postgrant information from national office to epo]

Ref country code:PT

Free format text:LAPSE BECAUSE OF FAILURE TO SUBMIT A TRANSLATION OF THE DESCRIPTION OR TO PAY THE FEE WITHIN THE PRESCRIBED TIME-LIMIT

Effective date:20100201

Ref country code:CZ

Free format text:LAPSE BECAUSE OF FAILURE TO SUBMIT A TRANSLATION OF THE DESCRIPTION OR TO PAY THE FEE WITHIN THE PRESCRIBED TIME-LIMIT

Effective date:20090930

Ref country code:EE

Free format text:LAPSE BECAUSE OF FAILURE TO SUBMIT A TRANSLATION OF THE DESCRIPTION OR TO PAY THE FEE WITHIN THE PRESCRIBED TIME-LIMIT

Effective date:20090930

REGReference to a national code

Ref country code:IE

Ref legal event code:FD4D

PG25Lapsed in a contracting state [announced via postgrant information from national office to epo]

Ref country code:SK

Free format text:LAPSE BECAUSE OF FAILURE TO SUBMIT A TRANSLATION OF THE DESCRIPTION OR TO PAY THE FEE WITHIN THE PRESCRIBED TIME-LIMIT

Effective date:20090930

Ref country code:CY

Free format text:LAPSE BECAUSE OF FAILURE TO SUBMIT A TRANSLATION OF THE DESCRIPTION OR TO PAY THE FEE WITHIN THE PRESCRIBED TIME-LIMIT

Effective date:20090930

PG25Lapsed in a contracting state [announced via postgrant information from national office to epo]

Ref country code:AT

Free format text:LAPSE BECAUSE OF FAILURE TO SUBMIT A TRANSLATION OF THE DESCRIPTION OR TO PAY THE FEE WITHIN THE PRESCRIBED TIME-LIMIT

Effective date:20090930

PG25Lapsed in a contracting state [announced via postgrant information from national office to epo]

Ref country code:DK

Free format text:LAPSE BECAUSE OF FAILURE TO SUBMIT A TRANSLATION OF THE DESCRIPTION OR TO PAY THE FEE WITHIN THE PRESCRIBED TIME-LIMIT

Effective date:20090930

Ref country code:NL

Free format text:LAPSE BECAUSE OF FAILURE TO SUBMIT A TRANSLATION OF THE DESCRIPTION OR TO PAY THE FEE WITHIN THE PRESCRIBED TIME-LIMIT

Effective date:20090930

Ref country code:IE

Free format text:LAPSE BECAUSE OF FAILURE TO SUBMIT A TRANSLATION OF THE DESCRIPTION OR TO PAY THE FEE WITHIN THE PRESCRIBED TIME-LIMIT

Effective date:20090930

PLBENo opposition filed within time limit

Free format text:ORIGINAL CODE: 0009261

STAAInformation on the status of an ep patent application or granted ep patent

Free format text:STATUS: NO OPPOSITION FILED WITHIN TIME LIMIT

26NNo opposition filed

Effective date:20100701

PG25Lapsed in a contracting state [announced via postgrant information from national office to epo]

Ref country code:GR

Free format text:LAPSE BECAUSE OF FAILURE TO SUBMIT A TRANSLATION OF THE DESCRIPTION OR TO PAY THE FEE WITHIN THE PRESCRIBED TIME-LIMIT

Effective date:20091231

BEREBe: lapsed

Owner name:L'OREAL

Effective date:20100731

PG25Lapsed in a contracting state [announced via postgrant information from national office to epo]

Ref country code:MC

Free format text:LAPSE BECAUSE OF NON-PAYMENT OF DUE FEES

Effective date:20100731

REGReference to a national code

Ref country code:CH

Ref legal event code:PL

PG25Lapsed in a contracting state [announced via postgrant information from national office to epo]

Ref country code:CH

Free format text:LAPSE BECAUSE OF NON-PAYMENT OF DUE FEES

Effective date:20100731

Ref country code:LI

Free format text:LAPSE BECAUSE OF NON-PAYMENT OF DUE FEES

Effective date:20100731

PG25Lapsed in a contracting state [announced via postgrant information from national office to epo]

Ref country code:BE

Free format text:LAPSE BECAUSE OF NON-PAYMENT OF DUE FEES

Effective date:20100731

PG25Lapsed in a contracting state [announced via postgrant information from national office to epo]

Ref country code:LU

Free format text:LAPSE BECAUSE OF NON-PAYMENT OF DUE FEES

Effective date:20100725

Ref country code:BG

Free format text:LAPSE BECAUSE OF FAILURE TO SUBMIT A TRANSLATION OF THE DESCRIPTION OR TO PAY THE FEE WITHIN THE PRESCRIBED TIME-LIMIT

Effective date:20090930

PG25Lapsed in a contracting state [announced via postgrant information from national office to epo]

Ref country code:TR

Free format text:LAPSE BECAUSE OF FAILURE TO SUBMIT A TRANSLATION OF THE DESCRIPTION OR TO PAY THE FEE WITHIN THE PRESCRIBED TIME-LIMIT

Effective date:20090930

PGFPAnnual fee paid to national office [announced via postgrant information from national office to epo]

Ref country code:GB

Payment date:20120725

Year of fee payment:11

PGFPAnnual fee paid to national office [announced via postgrant information from national office to epo]

Ref country code:FR

Payment date:20120719

Year of fee payment:11

Ref country code:ES

Payment date:20120824

Year of fee payment:11

Ref country code:IT

Payment date:20120719

Year of fee payment:11

Ref country code:DE

Payment date:20120718

Year of fee payment:11

GBPCGb: european patent ceased through non-payment of renewal fee

Effective date:20130725

REGReference to a national code

Ref country code:DE

Ref legal event code:R119

Ref document number:60233847

Country of ref document:DE

Effective date:20140201

REGReference to a national code

Ref country code:FR

Ref legal event code:ST

Effective date:20140331

PG25Lapsed in a contracting state [announced via postgrant information from national office to epo]

Ref country code:GB

Free format text:LAPSE BECAUSE OF NON-PAYMENT OF DUE FEES

Effective date:20130725

Ref country code:DE

Free format text:LAPSE BECAUSE OF NON-PAYMENT OF DUE FEES

Effective date:20140201

PG25Lapsed in a contracting state [announced via postgrant information from national office to epo]

Ref country code:FR

Free format text:LAPSE BECAUSE OF NON-PAYMENT OF DUE FEES

Effective date:20130731

Ref country code:IT

Free format text:LAPSE BECAUSE OF NON-PAYMENT OF DUE FEES

Effective date:20130725

REGReference to a national code

Ref country code:ES

Ref legal event code:FD2A

Effective date:20140905

PG25Lapsed in a contracting state [announced via postgrant information from national office to epo]

Ref country code:ES

Free format text:LAPSE BECAUSE OF NON-PAYMENT OF DUE FEES

Effective date:20130726


[8]ページ先頭

©2009-2025 Movatter.jp