Movatterモバイル変換


[0]ホーム

URL:


EP1288017A3 - Holder to releasably attach an object on fabric articles - Google Patents

Holder to releasably attach an object on fabric articles
Download PDF

Info

Publication number
EP1288017A3
EP1288017A3EP02019092AEP02019092AEP1288017A3EP 1288017 A3EP1288017 A3EP 1288017A3EP 02019092 AEP02019092 AEP 02019092AEP 02019092 AEP02019092 AEP 02019092AEP 1288017 A3EP1288017 A3EP 1288017A3
Authority
EP
European Patent Office
Prior art keywords
clamping
clamping means
holder
releasably attach
fabric articles
Prior art date
Legal status (The legal status is an assumption and is not a legal conclusion. Google has not performed a legal analysis and makes no representation as to the accuracy of the status listed.)
Withdrawn
Application number
EP02019092A
Other languages
German (de)
French (fr)
Other versions
EP1288017A2 (en
Inventor
Axel Fischer
Current Assignee (The listed assignees may be inaccurate. Google has not performed a legal analysis and makes no representation or warranty as to the accuracy of the list.)
Individual
Original Assignee
Individual
Priority date (The priority date is an assumption and is not a legal conclusion. Google has not performed a legal analysis and makes no representation as to the accuracy of the date listed.)
Filing date
Publication date
Priority claimed from DE10142222Aexternal-prioritypatent/DE10142222C2/en
Application filed by IndividualfiledCriticalIndividual
Publication of EP1288017A2publicationCriticalpatent/EP1288017A2/en
Publication of EP1288017A3publicationCriticalpatent/EP1288017A3/en
Withdrawnlegal-statusCriticalCurrent

Links

Classifications

Landscapes

Abstract

Translated fromGerman

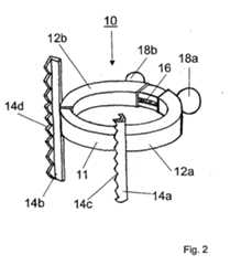
Die vorliegende Erfindung weist eine Haltevorrichtung vor, (10) zum lösbarenAnbringen eines Objektes, insbesondere eines Schreibgerätes (1), anTextilgegenständen. Diese Haltevorrichtung enthält erste und zweite Klemmmittel(14a, 14b) zum Herstellen einer lösbaren Klemmverbindung mit einemTextilgegenstand, Führungsmittel (11, 12a, 12b) zum Führen zumindest eines derKlemmmittel (14a, 14b), dem ersten und/oder dem zweiten Klemmmittel (14a, 14b),auf einer Bogenbahn, wobei die Führungsmittel (11, 12a, 12b) einen Raumdefinieren zur Aufnahme des Objektes (1) und erste und/oder zweiteBetätigungsmittel (18) zum reversiblen Betätigen wenigstens eines derKlemmmittel (14a, 14b), dem ersten und/oder dem zweiten Klemmmittel (14a, 14b),entlang der Bogenbahn, wobei die Klemmmittel (14a, 14b) im unbetätigten Zustandzur Herstellung der Klemmverbindung die Klemmstellung einnehmen.

Figure 00000001
The present invention provides a holding device (10) for releasably attaching an object, in particular a writing instrument (1), to textile objects. This holding device contains first and second clamping means (14a, 14b) for producing a releasable clamping connection with a textile object, guide means (11, 12a, 12b) for guiding at least one of the clamping means (14a, 14b), the first and / or the second clamping means ( 14a, 14b), on an arch path, the guide means (11, 12a, 12b) defining a space for receiving the object (1) and first and / or second actuating means (18) for reversibly actuating at least one of the clamping means (14a, 14b ), the first and / or the second clamping means (14a, 14b) along the curved path, the clamping means (14a, 14b) assuming the clamping position in the unactuated state for producing the clamping connection.
Figure 00000001

EP02019092A2001-08-292002-08-28Holder to releasably attach an object on fabric articlesWithdrawnEP1288017A3 (en)

Applications Claiming Priority (2)

Application NumberPriority DateFiling DateTitle
DE10142222ADE10142222C2 (en)2000-09-202001-08-29 Holding device for releasably attaching an object to textile objects
DE101422222001-08-29

Publications (2)

Publication NumberPublication Date
EP1288017A2 EP1288017A2 (en)2003-03-05
EP1288017A3true EP1288017A3 (en)2003-09-17

Family

ID=7696930

Family Applications (1)

Application NumberTitlePriority DateFiling Date
EP02019092AWithdrawnEP1288017A3 (en)2001-08-292002-08-28Holder to releasably attach an object on fabric articles

Country Status (1)

CountryLink
EP (1)EP1288017A3 (en)

Citations (3)

* Cited by examiner, † Cited by third party
Publication numberPriority datePublication dateAssigneeTitle
US2353385A (en)*1943-10-211944-07-11Gladys JolleyClip and pencil holder
US3157925A (en)*1963-12-131964-11-24Constancio R GallamosLossproof pen band
US5402558A (en)*1994-05-091995-04-04Selfix, Inc.Resilient clip

Family Cites Families (5)

* Cited by examiner, † Cited by third party
Publication numberPriority datePublication dateAssigneeTitle
US3911531A (en)1974-10-181975-10-14John ButurugaAttachable pencil holder for paper retaining clamp
DE8708482U1 (en)1987-03-271987-10-08Helfrecht, Manfred, 8598 Waldershof Pen holder
US5140723A (en)1990-10-301992-08-25Genzel Charles C JWearable pen holder
GB9307893D0 (en)1993-04-161993-06-02Shah Neill VPocket pen
TW352039U (en)1997-10-071999-02-01da-shun LinPen-clip cover

Patent Citations (3)

* Cited by examiner, † Cited by third party
Publication numberPriority datePublication dateAssigneeTitle
US2353385A (en)*1943-10-211944-07-11Gladys JolleyClip and pencil holder
US3157925A (en)*1963-12-131964-11-24Constancio R GallamosLossproof pen band
US5402558A (en)*1994-05-091995-04-04Selfix, Inc.Resilient clip

Also Published As

Publication numberPublication date
EP1288017A2 (en)2003-03-05

Similar Documents

PublicationPublication DateTitle
ATE483412T1 (en) ENDOSCOPIC DEVICE FOR POSITIONING BONE PLATES
DE102012001490A1 (en) cutting tool
DE69428958D1 (en) Device for collecting and transporting samples in vitro, in particular for diagnostic use
DE69533079D1 (en) Device for electron linear acceleration, in particular for radiation therapy during an operation
ATE165395T1 (en) TUMOR GROWTH INHIBITORS FROM TISSUES, METHODS OF THEIR PRODUCTION AND USES
DE59301453D1 (en) Body marking device for medical examinations
DE69109154D1 (en) Implant for osteosynthesis device, especially for the spine.
DE3390226T1 (en) Methods and instruments for applying surgical staples and staples and staple tape for use therein
EP2386859A3 (en)Diagnostic tumor markers
EP0456785B1 (en)Decorative insert for artificial fingernails
DE3881204D1 (en) MOLECULES WITH AT LEAST ONE PEPTIDE SEQUENCE OF ONE OR MORE EPITOPES OF A P.FALCIPARUM-PRODUCED PROTEIN IN HEPATOCYTES AND COMPOSITIONS THEREOF.
EP0881490A3 (en)Apparatus for measuring characteristics of a living cell
US1773899A (en)Scale magnifying attachment for rulers
EP1288017A3 (en)Holder to releasably attach an object on fabric articles
DE10082611D2 (en) Device for passing at least two sewing threads through a wall, in particular an artery of an individual, near the edge area of an opening therein
BR0206468A (en) Dispersing Agent
EP0884412A3 (en)Knitting machine, particularly flat bed knitting machine
ATA65289A (en) INTERFEROMETER ARRANGEMENT, ESPECIALLY FOR DISTANCE OR DETERMINATION OF A MOVING COMPONENT
US6197261B1 (en)Machine for opening blood segments
EP0305767A3 (en)Carriage clamping means for machine tools
EP1099786A3 (en)Method and device for transfering stitches on a knitting machine
FI85068C (en) UNDERLAGSSKIVA.
EP0941012A3 (en)Attachment device for the attachment of a microphone at a musical instrument
DE59009813D1 (en) Method for data acquisition by means of a detector array containing at least one detector line and device for carrying out the method.
EP1746322A3 (en)Clamp for fixing at least one conduit

Legal Events

DateCodeTitleDescription
PUAIPublic reference made under article 153(3) epc to a published international application that has entered the european phase

Free format text:ORIGINAL CODE: 0009012

AKDesignated contracting states

Kind code of ref document:A2

Designated state(s):AT BE BG CH CY CZ DE DK EE ES FI FR GB GR IE IT LI LU MC NL PT SE SK TR

Designated state(s):AT BE BG CH CY CZ DE DK EE ES FI FR GB GR IE IT LI LU MC NL PT SE SK TR

AXRequest for extension of the european patent

Extension state:AL LT LV MK RO SI

PUALSearch report despatched

Free format text:ORIGINAL CODE: 0009013

AKDesignated contracting states

Kind code of ref document:A3

Designated state(s):AT BE BG CH CY CZ DE DK EE ES FI FR GB GR IE IT LI LU MC NL PT SE SK TR

AXRequest for extension of the european patent

Extension state:AL LT LV MK RO SI

AKXDesignation fees paid
REGReference to a national code

Ref country code:DE

Ref legal event code:8566

STAAInformation on the status of an ep patent application or granted ep patent

Free format text:STATUS: THE APPLICATION IS DEEMED TO BE WITHDRAWN

18DApplication deemed to be withdrawn

Effective date:20040318


[8]ページ先頭

©2009-2025 Movatter.jp