The present invention relates to an urban remote-surveillancesystem for street lamps and more generallyto a system for monitoring events which do not requireimmediate action.
It is known that the operation of urban lightingsystems poses not insignificant problems with regard tothe logistics and management thereof and that, in anattempt to remedy them, various solutions have beenproposed.
For example the document US 5,479,159 describes asystem in which a monitoring device (microprocessor)powered by the same network supplying power for thelighting system is associated with each lamp and detectsand stores the state of each associated lamp.
The power supply network acts as a communicationsline by means of which the various monitoring devicesare periodically interrogated and provide responsesindicating the state of the associated lamp.
The conveyed-wave communications system hasconsiderable drawbacks (possible electricaldisturbances, problems of isolation, attenuation of thesignal along the lines, need for receivers and repeatersfor the electrical transformer cabins).
It has therefore been proposed, as an alternativedescribed for example in the document US 6,035,266, toassociate with each monitoring device a radio-transmittingstation (or also radio-receiving station)which, in the event of identification of a possiblemalfunction, sends, of its own initiative, a message toa base station.
For greater reliability the message may be repeatedseveral times.
In order to reduce to a minimum the risk ofinterference between several monitoring devicestransmitting simultaneously, the transmission frequencyis chosen randomly from a frequency spectrum.
This system also has certain limitations: the useof a frequency spectrum results in the wastage oflimited and precious resources. Moreover, unlesssystems which are confined within extremely smallgeographical areas are provided, each system beingassociated with a base station, it is necessary to usetransmission devices having a certain power level, incontrast to the need to keep the electromagneticpollution within permissible limits and the intensity ofthe irradiated field, at any point in space, andtherefore also at the source, below a predeterminedsafety threshold.
In order to overcome these drawbacks, in a similarmanner to wired local networks and as described in thedocument US 4,638,453, radio communication systems havebeen proposed, wherein, in order to ensure the coverageof a suitably wide area with low-power transmitters, thevarious units which form the system are all organized soas to form a communications loop (or line) in which eachunit forwards, during a subsequent time period, amessage previously received from a unit arranged inorder before it to a unit arranged in order after it,until a destination unit is reached.
If the number of units which form the loop issmall, i.e. in the region of ten to a hundred, thesystem is effective, but it cannot be used in systemswhere the intercommunicating units are in the region ofthousands or more, as in the case of street lightingsystems.
The present invention solves these problems andoffers an urban remote-surveillance system for streetlamps which ensures an adequate territorial coverageusing remote-control modules of the microprocessor type,with associated memory, each being associated with astreet lamp, said modules being provided with very lowpower transceivers operating at the same frequency andcommunicating in half-duplex mode with a concentrator module, directly or by means of other modules which actas repeaters organized as nodes in a hierarchical treestructure managed by the concentrator module whichinterrogates the various units by means of pollingprocedure.
In the system, only one unit at a time is activelytransmitting so that any possible risk of interferenceis avoided.
According to one aspect of the present invention,addressing of the interrogations to the variousdestination units is performed using a message structurewhich defines the route to be followed via nodes, onlyone of which at a time is authorized, in an orderedsequence, to transmit.
The same structure may be used for routing of theresponse.
According to another aspect of present invention,the modules which have the function of repeater nodes inthe tree structure comprise a memory portion in whichthe identification code of the node/module which isimmediately higher in the hierarchical order and theidentification codes of the nodes/modules which are atleast immediately dependent in the hierarchical orderare stored so as to reduce the amount of routinginformation which is transmitted.
According to a further feature of the presentinvention, the remote-control modules are provided withfixing means for installation at the top of the street-lampsupport structures in a predetermined orientedposition with respect to the horizontal plane.
Advantageously the control modules, in addition tohandling and monitoring the operation of the lamps withwhich they are associated, operate as centres for theacquisition of other information sent via radio waves orby means of digital inputs, such as for example theconditions of the nearest road display panels, theatmospheric, electromagnetic or acoustic pollutionconditions, gas meter and/or electric meter readings andalso images detected by digital photocameras.
The characteristic features and advantages of theinvention will emerge more clearly from the descriptionwhich follows, of a preferred embodiment provided withreference to the accompanying drawings in which:
- Figure 1 is a schematic overall view of a remote-surveillancesystem in accordance with the presentinvention;
- Figure 2 shows the hierarchical tree structureused for radio-wave communications in the systemaccording to Figure 1;
- Figure 3 shows a preferred format for the messages exchanged in the system according to Figure 1having the structure shown in Figure 2;
- Figure 4 is an example of a time diagram whichillustrates the transfer of messages between aconcentrator module and a generic module C in thestructure according to Figure 2;
- Figure 5 is a block diagram of a remote-surveillancemodule forming part of the system accordingto Figure 1;
- Figure 6 is a block diagram of concentratormodule used in the system according to Figure 1.
With reference to Figure 1, the remote-surveillancesystem according to the present invention comprises aconcentrator module 1 - communicating, by means ofconventional communication means, such as a cellularphone and switched telephone network, with a controlcentre 50 - preferably but not necessarily housed in anelectrical transformer cabin 2 which supplies the powerfor an electrical street-lighting system (or section)represented, by way of example, by fourlight sources 3,4, 5 and 6 mounted on a post (or alternatively alsosuspended therefrom).
A remote-control module 7, 8, 9, 10 is respectivelyinstalled, as a component of the system, on each of thelight sources.
Both the concentrator module and the remote-controlmodules are provided with a transceiver operating inhalf-duplex mode, i.e. alternately transmitting orreceiving, in a mutually exclusive manner, at apredetermined frequency, preferably but not necessarilyin the band ranging from 868 to 870 MHz, namely on awavelength of about 0.34 m.
More generally it is possible to use any frequencyassigned by national norms and international agreementsto LPD (Low Power Device) transmission systems and todata transmission systems.
The various modules are therefore equipped with ashort, vertical-style, quarter-wave antenna, no morethan 84 mm long (in practice also less if loaded), whichtherefore has particularly intense and uniformcharacteristics in the horizontal plane and is much moreattenuated in the other directions and even zero in thevertical direction.
The antenna may be integrated in the printedcircuit supporting the logic storage and transceiverdevices which form the module, or may also be external,omnidirectional or directional (also only for the radio-transmittingsection).
The transceiver of the various modules preferablyhas a minimum power, with an irradiated power on the antenna of less than 5 mW, for which the current normsdo not envisage operating licences and periodic checks,or in any case a power which is permitted for LPDequipment.
This results in a maximum - open-field - rangewhich is extremely low, i.e. in the region of hundredsof metres, and a minimum - again open-field - range ofabout 100 m.
In these conditions it is obvious that theconcentrator module 1 is able to communicate directlyonly with the modules, such as 8, 10, arranged in aradius not greater than 100 m. In the case of themodules such as 7, 9, arranged at a greater distance,direct communication is impossible or at leastuncertain, at least for the modules arranged at adistance less than the maximum range, but greater thanthe minimum range.
In order to overcome this drawback it is possible,as is well-known, to use the modules in directcommunication with the concentrator module, asrepeaters. Thus, for example, as illustrated in Figure1, if themodule 9 is within the radius of communicationof themodules 8 and 10, these two modules may be usedequally well as repeaters for transferring messages fromtheconcentrator module 1 to themodule 9 and vice versa.
On the other hand, again by way of example, themodule 7 is in communication with theconcentratormodule 1, by means of the module 8 alone operating as arepeater.
It is obvious that, with several repeater stages,it is possible to achieve the desired territorialcoverage for urban districts or for an entire urbanarea.
This, apparently simple, solution of the problem isin fact complicated by the fact that the various modulesmay interfere with each other during transmission andcause scrambling of the messages transferred.
For example, if theconcentrator module 1 transmitsa message intended for themodule 9, both themodules 8and 10 could recognize the message and forward it,interfering with each other.
The situation could also be more complicated, ifthemodule 9, in marginal receiving conditions, shouldrecognize directly the message transmitted by theconcentrator module 1 and transmit a response messagewhich is superimposed on and interferes with themessages transmitted by themodules 8 and 10.
Differently from the known solutions in which, inorder to prevent interference, the various modules operate at different frequencies and/or are organized ina loop-type, sequential, ordered structure, according tothe present invention, the various modules operate atthe same receiving/transmitting frequency, in half-duplexmode, i.e. alternately transmitting or receiving,and are organized in a hierarchical tree structure inwhich the initiative for sending a message and receivinga message is always exclusively taken by the unit whichis higher ranking in the hierarchical structure(concentrator module) using a polling procedure whichperiodically interrogates one-by-one the other units,identifying them with a destination code and, ifnecessary, with further routing codes which identify inorder the various units which must intervene in themessage transfer process. Temporally speaking only oneunit at a time is actively transmitting so as to excludeany possibility of interference, even though the variousunits all operate at the same transmitting and receivingfrequency.
The configuration of the hierarchical structure maybe defined during installation, taking into account thedistances between the various modules, but preferably isdefined upon initial operation of the system using anautomatic procedure, as will be described in greaterdetail below, stored in theconcentrator module 1 equipped, like the other modules, with a microprocessorand a memory of suitable capacity.
Figure 2 shows an example of a hierarchical treestructure for the system according to the presentinvention.
Each module, such as 11, 12 etc., is assigned, atthe factory or upon installation, an identification codewith N bits (for example 10 bits, allowing 1024 modulesto be distinguished) which is permanently stored in themodule or set with a DIP switch.
The memory of theconcentrator module 1 contains adescriptive configuration table which, for each moduleidentification code, determines in order, by means ofthe respective code, whether and which of the modulesare to intervene in the communications process.
Thus, for example, if the concentrator modulewishes to send a message to one of the modules such as12, with which it is in direct radio communication, itis sufficient for it to transmit, together with themessage, the identification code of themodule 12.
Themodule 12 receives the message, recognizesitself as the destination and consequently operates, forexample switching to transmission and returning, withoutthe need for an identification code of the concentratormodule, a response message indicating for example the state of the associated light source.
Other modules such as 11, 13 in directcommunication with the concentrator module 1 (in thatsituated at a distance less than the minimumcommunication range) and in the receiving condition,certainly receive the message, but not recognizingthemselves as the destination do not modify their state.
The same is applicable to more distant modules suchas 21, 22, 23 ... 29, in the case where they should liewithin the maximum transmission range of theconcentrator module.
Let us consider, on the other hand, the extremecase of communication between theconcentrator module 1and the mostremote module 41.
In this case, theconcentrator module 1 transmits amessage which contains, in an ordered sequence, theidentification code of themodules 12, 25, 32 and 41which recognize themselves in sequence as carriers ofthe communication and forward the message in cascade asfar as thedestination module 41.
The same process is repeated, in the reversedirection, for return of the response message.
In all cases, only the modules which are strictlydefined by the routing path are involved in thecommunication process.
There is, however, a not secondary problem whichmust be dealt with. Generally thevarious levels 1, II,... V of the hierarchical structure are defined so thatthe modules of each level are able to communicate in acertain and reliable manner with the modules of thehierarchical level which is immediately higher andlower, but this does not exclude the possibility ofcommunication, in marginal conditions, with the modulesbelonging to a hierarchical level which is further awayfrom the immediately higher or lower level.
Therefore, with reference to the preceding example,if the identification codes of themodules 12, 25, 32,41 are contained in sequence in the message transmittedby the concentrator module, the transmitted message maybe simultaneously recognized by themodules 12, 25 andit is necessary to prevent themodule 25 from takingtransmission initiatives at the same time as themodule12.
In order to achieve this result, differentsolutions are possible:
- I) A first solution consists in assigning to themodules 12, 25, 32, 41, which form the equivalent of arelay, a "token" which the various modules must pass onwhilst performing their function.Thus, for example, theconcentrator module 1 when transmitting the message with the identification codesof themodules 12, 25, 32, 41 may associate with thecode of the module 12 a marker code or "token" whichassigns or gives authorization for repetition, in theabsence of which it is not possible for a module totransmit.It is thus obvious that if any one or some of themodules 25, 32, 41 should receive directly the messagetransmitted by theconcentrator module 1, they are notenabled to operate in transmission mode, but must waittheir turn.Themodule 12 which receives the message and thetoken, when repeating the message, displaces the markerin sequence and associates it with the code of themodule 25 which thus receives the authorization forrepetition of the message and so on.The same procedure may be followed for routing of aresponse message from theunit 41 to the concentratormodule.
- II) A second solution which has significantadvantages compared to the preceding solution consistsin storing in each module of the hierarchical structure,during the system configuration step, the codeidentifying the node or module belonging to animmediately higher hierarchical level (the concentrator module may be identified by default).
Thus, again with reference to Figure 2, the modules(nodes) 24,25,26 store the identifying code of themodule/node 12 as their master, themodule 32 stores thecode of themodule 25 as its master, and themodule 41stores the code of themodule 32 as its master.
With this approach, the return and routing of amessage towards the root of the structure, namely to theconcentrator node 1, may be achieved automatically fromany point in the structure, with the designation, duringeach message repetition step, of the destination moduleupstream.
Thus if, for example, themodule 41, upon requestof theconcentrator module 1, must send a responsemessage, it is sufficient for it to indicate, as thedestination of its response message, themodule 32,associating the corresponding code read in its memorywith the message.
In turn themodule 32, when forwarding the messagereceived, indicates as its destination themodule 25,and so on, as far as the concentrator module.
If we regard the routing information as serviceinformation, compared to the significant informationwhich forms the rest of the message, it is obvious thatwith this solution the amount of necessary service information and the time spent for transfer thereof isreduced considerably, resulting in more rapid transferof the useful information.
This applies not only for return of messages fromany module to the concentrator module, but also forsending of messages from the concentrator module to theother modules.
If, in fact, the routing information for the returnmessages is no longer necessary as starting information,because it is acquired automatically by the structure,it is also true that the initial routing information,once used, becomes superfluous and may be removed fromthe following messages.
The token also becomes superfluous.
Thus, for example, if theconcentrator module 1sends a message to themodule 41, it defines the routingpath with the ordered codes relating to themodules 12,25, 32, 41.
If the modules, such as 25, 32, 41, must alsoreceive the message, they do not intervene because theyrecognize themselves in the ordered sequence as beingsuccessive to themodule 12.
It is only themodule 12 which, recognizing itself,repeats the message, in which, however, it omitsrepetition of its own identification code.
In the message thus repeated themodule 25recognizes itself as the first destination and proceedswith a further repetition, in accordance with theprocedure already described.
In this way, from one repetition to the next, theamount of service information which must be transferredis reduced, with obvious advantages in terms of speed oftransmission of the useful information.
- III) A third solution which has further advantagescombines the concept of an assigned token according tothe first solution with the concept of local storage ofthe hierarchical structure.
According to this solution, each module of thestructure has, stored in it, during the systemconfiguration step, both the identification code of thenode or module with an immediately higher hierarchicallevel (in this case also the concentration module may beidentified by default) and the identification code ofthe nodes or modules with an immediately lowerhierarchical level, belonging to the same branch.
Thus, for example, still with reference to Figure2, the module/node 12 stores the codes of themodules24,25,26 as subordinates; themodule 25 stores the codeof themodule 12 as a higher-ranking module or as itsmaster and the code of the module 32 (and other possible modules) as subordinate modules; themodule 32 storesthe code of themodule 25 as its master and the codes ofthemodules 41, 42 as subordinates, and so on, until theend of the structure is reached.
With this approach, if for example theconcentratormodule 1 intends to send a message to themodule 41, itis sufficient for it to transmit, as serviceinformation, the code corresponding to themodule 41 andthe code of the intermediate modules of the branch,which are separated by a hierarchical level, in thiscase only themodule 25.
Themodule 12 receives the message, recognizesitself, even though not explicitly mentioned, as thesole master of themodule 25 and forwards message,tagging the token authorizing forwarding onto the codeof themodule 25.
Themodule 25 receives the message, recognizesitself as authorized for transmission and forwards themessage, omitting its identification code, namelysending as routing information only the code of themodule 41.
Themodule 32, although not explicitly named in themessage, recognizes itself as sole master of themodule41 and forwards the message, tagging onto the code ofthemodule 41 the token authorizing it to proceed in accordance with the instructions contained in themessage.
In the case where the destination of the message isa further module X subordinated to themodule 41 in thestructure, the routing mechanism is the same: it issufficient to name the module X as destination and themodules of the branch, such as 31 and 12, separated by ahierarchical level, in order to establish the desiredcommunication between the concentrator module, thegeneric module X and vice versa.
Figure 3 shows, by way of example, the preferreddigital format of a message which can be used in any oneof the solutions mentioned above.
A first "START" field, of suitable length innumbers of bits, allows, in a known manner, all theunits which receive the message to synchronizethemselves with the data transfer frequency which ismuch lower than the carrier frequency and in the regionof 110-200 KHz.
A second "FORM" field, consisting for example of 6bits, defines with the first 3 bits the number of unitcodes (from 1 to 7) which form the subsequent routinginformation ("ROUTE").
With the following 3 bits it is possible to specifywhether the routing information is without a token (bits all zero) or accompanied by a token and to which of thecodes it is assigned.
The following field, which is of variable length,contains in an ordered sequence the codes, for exampleA,B,C, which identify the modules involved in routingand the destination module.
The field "MESSAGE" contains the significantinformation (requests for command data or responseinformation such as states, alarm conditions and thelike) which are of no interest here.
The field "END" contains an end-of-message code bymeans of which transmission by the module transmittingthe message is terminated and the transmission activityof another module can start.
In the case where solution II is adopted forrouting, the field reserved for the definition andposition of the token is superfluous.
Figure 4 shows a time diagram for the process oftransmission and repetition of a message such as thatshown in Figure 3, from theconcentrator module 1 to themodule C and vice versa.
In the time interval t0-t1, the concentrator moduleMC, which is actively transmitting, as indicated by theletter T, transmits the message.
Al the other modules are active in the receive state, as indicated by the letter R.
The module A recognizes the message and stores ittemporarily.
When the message has been completely received, themodule A assumes the transmission state and, in the timeinterval t1-t2, forwards the message, together with thenecessary modifications in the routing code.
In the same time interval the message is receivedand stored by the module B which, during the next timeinterval t2-t3, forwards it to the module C.
The destination module C transmits a responsemessage in the following time interval t3-t4.
This message, which is received by the module B, isforwarded in the time interval t4-t5, received by themodule A and forwarded by the latter in the timeinterval t5-t6, during the course of which the responsemessage is thus made available to the concentratormodule MC.
During the next time interval the concentratormodule can again be activated for transmission so as tointerrogate another generic module.
Figure 5 is a block diagram of a remote-controlmodule such as 7, 8, 9 and 10 according to Figure 1.
The module comprises a power supply unit 51 (AC/DC)which is connected to the network of the lighting system and which, in parallel with the back-up battery 52,powers the various components of the module, an outputterminal block 53, for connection to a lighting lamp, ananalog-digital converter 54 (AD) for detecting the powersupply voltage/current of the lamp, amicroprocessor 55,with a suitable number of programmable number ofinput/output (I/O)ports 56, a ROS control memory 57,for permanently storing a basic firmware, and aread/write working memory 58 for storing a modifiablefirmware (FW) and data (including the messages which aretemporarily stored during receiving), said dataincluding, explicitly indicated, a master identificationcode (MASTER ID), namely of the remote-control modulewith an immediately higher hierarchical ranking and aplurality of codes (SLAVES IDD) identifying the moduleswith an immediately lower hierarchical ranking in thetree structure.
As already mentioned, this information is notindispensable, but corresponds to a preferredembodiment.
Information which is indispensable, on the otherhand, consists of a module identification code (ID)which may be permanently written in a ROS 57, in apermanently external memory, not shown, or also may beprovided by means of theprogrammable ports 56 or by aDIP switch 59.
The module is completed by atransceiver 60 withassociated antenna 61, which is controlled duringreceiving or transmission by means of the I/O ports 56which transfer the radio signals received to themicroprocessor or modulate by means of a suitable system(PCM or the like) the transmission in isofrequency.
The module, by means of arelay 62, which isoperated by means of the I/O ports 56 and anamplifier63, switches the lamp (or also more than one lamp) onand off and controls the state thereof by means of theA/D converter 54 and the I/O ports 56, via which themicroprocessor may also exchange information with otherauxiliary equipment, such as devices for detecting thestate of atmospheric pollution, the weather conditions(temperature, pressure, humidity) or acoustic and/orelectromagnetic pollution. It is interesting to notethat the module may also receive, provided that it iscorrectly identified as the destination, by means of thetransceiver 60, information which is supplied not byother system modules, but by auxiliary peripheralremote-reading units (for example gas/water/electricitymeters, or the like, and also digital telecameras),these also being equipped with a transceiver device andidentifiable by means of a code (being preferably activated upon request of the module in order to avoidtransmission interference), said units using the systemas a communications network.
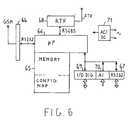
Fig. 6 shows a block diagram of theconcentratormodule 1.
The concentrator module also essentially consistsof a microprocessor 64 and amemory 65 for programs anddata.
A memory area is specifically dedicated for storinga configuration map ("CONFIG MAP"), namely a set oftables which describe the tree structure of the system(Fig. 2) and define, with the respective identificationcodes, which modules are in direct communication withthe concentration module - i.e. the modules of thesecond level, with respect to the concentrator moduleregarded as a first-level module - which modules are indirect communication with each of the first-levelmodules, and so on.
Alternatively or in combination, for the sake ofeasy access and polling, the configuration may bedescribed using a single table in which theidentification code of each module in the systemregarded as a destination module (said modules beingsuitably ordered in an ordered arrangement which may bedynamically modified and defined with different levels of priority, as will be explained below) has, associatedwith it, in an ordered sequence, the code of all theintermediate modules which must be involved in thecommunication process between the concentrator moduleand the destination module.
Information which identifies the topographicallocation of the module is also associated with eachidentification code. The microprocessor 64 communicateswith a serial port (for example of the RS232 type) via acellularphone modem card 66 so as to send messages andreceive instructions from a control centre 50 (Fig. 1)or sending messages of the SMS (Short Message Service)type to emergency stations via the cellular telephonesystem.
A secondserial port 67 allows, with the samefunctional possibilities, the switched telephone networkto be used. With a third serial port (for example ofthe RS 485 type) the microprocessor controlstransmission or reception of atransceiver RTX 68 whichhas the function of sending and receiving messages fromthe modules in direct communication with theconcentrator module. Programmable I/O ports, both ofthe digital type (I/O DIG) 69 and of the analog type(AI, with single input) 70, are also envisaged forcontrol and communication with auxiliary equipment. The concentrator module is mains-powered by means of anAC/DCpower supply unit 71, with back-up battery (notshown).
For the purposes of the present invention, morethan a description of the ancillary functions which maybe performed by the system, it is important to considerhow the system is autoconfigured in a tree structure.Preferably, but not necessarily, thecontrol module 1 isprovided (for example by the control centre) with thelist of the identification codes of all the moduleswhich form part of the system, with the correspondingtopographical location (road, post number, and thelike).
At this point, themodule 1, using a pollingprocedure, interrogates one-by-one the various modules(identifying them with the respective code), requestingthem to send a message confirming receipt.
Obviously, themodule 1 receives a response onlyfrom the modules located within thetransmission/reception range. Preferably, an"emargination" operation is carried out on this set ofmodules, namely the interrogation operation is repeatedat a lower transmission power (for example 50% less) inorder to exclude from the set thus identified thosemodules which are situated in marginal receiving conditions.
The role of second-level masters is assigned (or ifnecessary sent) to the set thus identified.
By means of a further polling procedure in which afirst of the second-level master units (followed by allthe others) is designated as the intermediatecommunication carrier, the remaining modules areinterrogated so as to identify, after emargination,which modules are in communication with the first (orwith others) of the second-level master units.
The role of third-level master is assigned (and ifnecessary sent) to the set thus identified.
The operation is repeated for decreasinghierarchical levels until all the modules have beencovered, with the possible identification of moduleswhich, because of their location, cannot be accessed bymeans of radio communication and must be excluded fromthe system or checked for possible faults ormalfunctions.
Obviously, if required by the communicationsprotocol used, the identification of the respectivemaster and the respective slaves is communicated to thevarious modules (and stored locally).
The configuration operation requires a relativelyshort amount of time which depends on the number of nodes and on the data transmission speed. In practice,a few minutes are sufficient for a thousand or so nodes(modules) and a transmission speed of about100-200 Kbits/s.
Once configured, the system is ready to operate:the interrogation of the various modules for receiving,by way of response, information relating to their stateis performed using a polling procedure, by means ofwhich the various modules are interrogated one by one.
The interrogation time of each module depends notonly on the transmission speed but also on its distance(in number of hierarchical levels of the treeconfiguration) and on the length (number of bits) of theinterrogation message and the response message.
On average, if the number of hierarchical levels isin the region of 4-5 and the length of the messages isin the region of 100 bits and the transmission speed isin the region of 100 Kbits/s, a few milliseconds (3-5)are sufficient for interrogating a module.
In a system which comprises several thousands ofmodules, the interrogation may therefore be repeated atan interval of 3-5 s.
It should be noted that in a tree structure it ispossible to interrogate several modules in cascade usinga single cumulative message, whereby the modules respond, from the one furthest away to the one closestto the concentrator module, gradually accumulating therespective messages.
This allows a further increase in the interrogationfrequency, which is already high in relation to the typeof events to be monitored.
It must also be noted that a polling procedure doesnot presuppose necessarily an interrogation frequencywhich is the same for all the modules: depending on thecircumstances, and hence dynamically, it is possible todefine several levels of priority which are assigned tothe various modules and to interrogate with greaterfrequency those modules which have a higher priority.
The same criterion is applicable for thecommunications between concentrator module and controlcentre: once the concentrator module has collected alarmsignals or indications of a fault or malfunction, thesemay be stored in the concentrator module and signalledin differed mode: only exceptionally, in particularconditions (risk of fires and the like), is theimmediate signalling to the control centre or to otheremergency stations required.
In the event of a fault or malfunction in a certainmodule adversely affecting the transfer of messages toother modules, it is obvious that the system offers many alternatives. By means of a reconfiguration operation,which may also be only partial, it is possible toidentify the faulty module and restore communicationwith the other modules.