Movatterモバイル変換


[0]ホーム

URL:


EP1108853A3 - Method of measuring a borehole - Google Patents

Method of measuring a borehole
Download PDF

Info

Publication number
EP1108853A3
EP1108853A3EP00126334AEP00126334AEP1108853A3EP 1108853 A3EP1108853 A3EP 1108853A3EP 00126334 AEP00126334 AEP 00126334AEP 00126334 AEP00126334 AEP 00126334AEP 1108853 A3EP1108853 A3EP 1108853A3
Authority
EP
European Patent Office
Prior art keywords
point
drill pipe
base point
borehole
clamping
Prior art date
Legal status (The legal status is an assumption and is not a legal conclusion. Google has not performed a legal analysis and makes no representation as to the accuracy of the status listed.)
Withdrawn
Application number
EP00126334A
Other languages
German (de)
French (fr)
Other versions
EP1108853A9 (en
EP1108853A2 (en
Inventor
Joachim Dipl.-Ing. Berg
Henry Dipl.-Ing. Knitsch
Heinz Dipl.-Ing. Priebe
Stefan Dipl.-Ing. Toth
Current Assignee (The listed assignees may be inaccurate. Google has not performed a legal analysis and makes no representation or warranty as to the accuracy of the list.)
Keller Grundbau GmbH
Original Assignee
Keller Grundbau GmbH
Priority date (The priority date is an assumption and is not a legal conclusion. Google has not performed a legal analysis and makes no representation as to the accuracy of the date listed.)
Filing date
Publication date
Application filed by Keller Grundbau GmbHfiledCriticalKeller Grundbau GmbH
Publication of EP1108853A2publicationCriticalpatent/EP1108853A2/en
Publication of EP1108853A3publicationCriticalpatent/EP1108853A3/en
Publication of EP1108853A9publicationCriticalpatent/EP1108853A9/en
Withdrawnlegal-statusCriticalCurrent

Links

Classifications

Landscapes

Abstract

Translated fromGerman

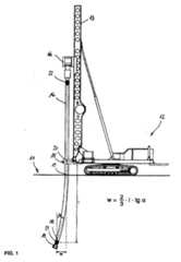
Verfahren zum Vermessen eines Bohrloches im Boden, das an derBodenoberfläche einen Eintrittspunkt und an seinem unteren Endeeinen Fußpunkt hat, und das mit einem Bohrgestäge erzeugt ist,das oberhalb des Eintrittspunkts einen Einspannpunkt hat, und anseinem vorderen Ende eine Bohrkrone trägt, mittels eines mit demBohrgestänge bis zum Fußpunkt in das Bohrloch eingeführten Inklinometers,bei welchem der Neigungswinkel a des eingeführtenBohrgestänges am Fußpunkt mittels des Inklinometers und dieLänge 1 des freikragenden Bohrgestänges ab Einspannpunkt amBohrgestänge gemessen werden und der horizontale Versatz w desFußpunktes gegenüber dem Einspannpunkt gemäß der freien Biegeliniedes als bei punktförmiger Auflast am freien Ende eingespanntangenommenen Bohrgestänges mit w = 2/3 · 1 · tg α errechnetwird.

Figure 00000001
Method for measuring a borehole in the ground, which has an entry point on the surface of the ground and a base point at its lower end, and which is produced with a drill pipe which has a clamping point above the entry point and carries a drill bit at its front end by means of a with the drill pipe up to the base point of the inclinometer, in which the inclination angle a of the inserted drill pipe at the base point is measured using the inclinometer and the length 1 of the cantilevered drill pipe from the clamping point on the drill pipe and the horizontal offset w of the base point relative to the clamping point according to the free bending line of the drill pipe assumed to be clamped at the free end at point load with w = 2/3 · 1 · tg α is calculated.
Figure 00000001

EP00126334A1999-12-132000-12-02Method of measuring a boreholeWithdrawnEP1108853A3 (en)

Applications Claiming Priority (2)

Application NumberPriority DateFiling DateTitle
DE1999160036DE19960036C1 (en)1999-12-131999-12-13 Method of measuring a borehole
DE199600361999-12-13

Publications (3)

Publication NumberPublication Date
EP1108853A2 EP1108853A2 (en)2001-06-20
EP1108853A3true EP1108853A3 (en)2003-01-15
EP1108853A9 EP1108853A9 (en)2003-05-02

Family

ID=7932459

Family Applications (1)

Application NumberTitlePriority DateFiling Date
EP00126334AWithdrawnEP1108853A3 (en)1999-12-132000-12-02Method of measuring a borehole

Country Status (2)

CountryLink
EP (1)EP1108853A3 (en)
DE (1)DE19960036C1 (en)

Families Citing this family (5)

* Cited by examiner, † Cited by third party
Publication numberPriority datePublication dateAssigneeTitle
US8011447B2 (en)*2004-01-222011-09-06Cmte Development LimitedAutomated drill string position survey
DE102010027607A1 (en)*2010-07-202012-01-26Bauer Spezialtiefbau Gmbh In-situ manufactured floor mortar slats with geometric representation
CN102134989B (en)*2011-03-012013-01-16重庆华渝电气仪表总厂Method for point measurement of well by gyroscopic inclinometer
EP2698499B1 (en)2012-08-132014-11-05Bauer Spezialtiefbau GmbHMethod and device producing and measuring a borehole
CN112780261B (en)*2021-01-182023-07-07北京三一智造科技有限公司Depth sounding method, depth sounding device and depth sounding equipment of long spiral drilling machine

Citations (4)

* Cited by examiner, † Cited by third party
Publication numberPriority datePublication dateAssigneeTitle
GB2086055A (en)*1980-10-231982-05-06Sundstrand Data ControlBorehole Survey System
US4434654A (en)*1982-08-091984-03-06Sundstrand Data Control, Inc.Borehole orientation detection system employing polarized radiation
US4614040A (en)*1982-08-091986-09-30Sunstrand Data Control, Inc.Borehole survey system and method of determining the difference in borehole azimuth at successive points
US5610818A (en)*1995-11-221997-03-11Trimble Navigation LimitedRemote operated computer assisted precise pile driving and rig drilling system

Family Cites Families (3)

* Cited by examiner, † Cited by third party
Publication numberPriority datePublication dateAssigneeTitle
DE19837546C2 (en)*1998-08-192001-07-26Bilfinger Berger Bau Measuring device for determining the alignment and the course of a drill pipe
DE19846137C2 (en)*1998-10-072002-08-29Keller Grundbau Gmbh Method and device for measuring a borehole
FI111287B (en)*1998-12-102003-06-30Tamrock Oy Method and rock drilling apparatus for controlling rock drilling

Patent Citations (4)

* Cited by examiner, † Cited by third party
Publication numberPriority datePublication dateAssigneeTitle
GB2086055A (en)*1980-10-231982-05-06Sundstrand Data ControlBorehole Survey System
US4434654A (en)*1982-08-091984-03-06Sundstrand Data Control, Inc.Borehole orientation detection system employing polarized radiation
US4614040A (en)*1982-08-091986-09-30Sunstrand Data Control, Inc.Borehole survey system and method of determining the difference in borehole azimuth at successive points
US5610818A (en)*1995-11-221997-03-11Trimble Navigation LimitedRemote operated computer assisted precise pile driving and rig drilling system

Also Published As

Publication numberPublication date
DE19960036C1 (en)2001-07-05
EP1108853A9 (en)2003-05-02
EP1108853A2 (en)2001-06-20

Similar Documents

PublicationPublication DateTitle
CN109306813B (en)Correcting device for power line pole
CN103867021A (en)Electric pole centralizer
EP1108853A3 (en)Method of measuring a borehole
CN106767703A (en)Soil-slope excavates domatic method for quick and device
CN117212607A (en)Method for solving problem of clamping tube of probe of inclinometer
CN206269796U (en)Soil-slope excavates domatic device for fast detecting
CN215005385U (en)Be applied to monitoring devices for soil and water conservation of making fields in silt region
KR100537990B1 (en)Hardning apparatus of incline for excavator
CN213933447U (en)A sample detection device for civil engineering material
CN113279621A (en)Electric pole correcting device for electric power construction
CN221297725U (en) Height-adjustable reinforced flood control equipment for water conservancy and hydropower
CN223164466U (en) A retaining wall maintenance hanging ladder
EP1143230A3 (en)Strain and force measuring device
CN208408387U (en)A kind of clamping cutter device of anchor cable cutter
CN109208601B (en)Static pile driver clamping device is used in mine
CN114045856A (en)Integrated pile-driving drilling mechanism of photovoltaic power station and construction method
CN209040174U (en)Pile body fixing device for indoor pile soil model test
CN217517615U (en)Concatenation formula gallery protector
CN111350192A (en) A foundation pit support device with adjustable support distance for foundation engineering
CN215367180U (en) A kind of building foundation pit level monitoring device
CN206887960U (en)A kind of obstacle cleaning plant in the peg hole based on impact drill
CN209961207U (en)House wall body safety inclinometer
CN213745590U (en)Triangular support frame for engineering detection
CN221221920U (en)Device for avoiding probe clamping tube of inclinometer
CN221030209U (en)Construction device for precipitation support of deep foundation pit of building

Legal Events

DateCodeTitleDescription
PUAIPublic reference made under article 153(3) epc to a published international application that has entered the european phase

Free format text:ORIGINAL CODE: 0009012

AKDesignated contracting states

Kind code of ref document:A2

Designated state(s):AT BE CH CY DE DK ES FI FR GB GR IE IT LI LU MC NL PT SE TR

AXRequest for extension of the european patent

Free format text:AL;LT;LV;MK;RO;SI

PUALSearch report despatched

Free format text:ORIGINAL CODE: 0009013

AKDesignated contracting states

Kind code of ref document:A3

Designated state(s):AT BE CH CY DE DK ES FI FR GB GR IE IT LI LU MC NL PT SE TR

AXRequest for extension of the european patent

Free format text:AL;LT;LV;MK;RO;SI

17PRequest for examination filed

Effective date:20030215

AKXDesignation fees paid

Designated state(s):AT BE CH CY DE DK ES FI FR GB GR IE IT LI LU MC NL PT SE TR

AXXExtension fees paid

Extension state:SI

Payment date:20030312

STAAInformation on the status of an ep patent application or granted ep patent

Free format text:STATUS: THE APPLICATION IS DEEMED TO BE WITHDRAWN

18DApplication deemed to be withdrawn

Effective date:20050701


[8]ページ先頭

©2009-2025 Movatter.jp