Movatterモバイル変換


[0]ホーム

URL:


EP1052660A3 - Method and device for transfer of electric energy from a stationary to a relatively movable circuit - Google Patents

Method and device for transfer of electric energy from a stationary to a relatively movable circuit
Download PDF

Info

Publication number
EP1052660A3
EP1052660A3EP00107651AEP00107651AEP1052660A3EP 1052660 A3EP1052660 A3EP 1052660A3EP 00107651 AEP00107651 AEP 00107651AEP 00107651 AEP00107651 AEP 00107651AEP 1052660 A3EP1052660 A3EP 1052660A3
Authority
EP
European Patent Office
Prior art keywords
circuit
stationary
measurement data
primary
transfer
Prior art date
Legal status (The legal status is an assumption and is not a legal conclusion. Google has not performed a legal analysis and makes no representation as to the accuracy of the status listed.)
Withdrawn
Application number
EP00107651A
Other languages
German (de)
French (fr)
Other versions
EP1052660A2 (en
Inventor
Beat Siegrist
Current Assignee (The listed assignees may be inaccurate. Google has not performed a legal analysis and makes no representation or warranty as to the accuracy of the list.)
Satisloh AG
Original Assignee
Satis Vacuum Industries Vertriebs AG
Priority date (The priority date is an assumption and is not a legal conclusion. Google has not performed a legal analysis and makes no representation as to the accuracy of the date listed.)
Filing date
Publication date
Application filed by Satis Vacuum Industries Vertriebs AGfiledCriticalSatis Vacuum Industries Vertriebs AG
Publication of EP1052660A2publicationCriticalpatent/EP1052660A2/en
Publication of EP1052660A3publicationCriticalpatent/EP1052660A3/en
Withdrawnlegal-statusCriticalCurrent

Links

Classifications

Landscapes

Abstract

Translated fromGerman

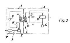
Die Einrichtung zur elektrischen Energieübertragung von einem stationären Primär-Schaltkreisauf einen relativ zu diesem bewegbaren Sekundär-Schaltkreissowie Rückübertragung von im Sekundär-Schaltkreis erzeugten Messdaten aufden Primär-Schaltkreis zeichnet sich aus, dass der Primär-Schaltkreis (1) übereinen Transformator (2) mit dem Sekundär-Schaltkreis (3) berührungsfrei gekoppeltist. Der Transformator umfasst dabei eine Primär-Spule (4) im Primär-Schaltkreisauf einem stationären Kern (5) und eine Sekundär-Spule (6) im Sekundär-Schaltkreisauf einem relativ zum stationären Kern bewegbaren Kern (7),wobei sich im Primär-Schaltkreis eine Spannungsquelle (8) sowie eine Auswerteeinrichtung(9) für die induzierten Messdaten befinden und sich im Sekundär-KreislaufMessdaten erzeugende Fühlermittel (10) sowie eine die Messdaten digitalisierendeAuswerteeinnichtung (11) befinden, deren Ausgangssignale einenKurzschlusserzeuger (12) steuern.

Figure 00000001
The device for the electrical energy transmission from a stationary primary circuit to a secondary circuit that can be moved relative to this, as well as the retransmission of measurement data generated in the secondary circuit to the primary circuit, is characterized in that the primary circuit (1) has a transformer ( 2) is coupled to the secondary circuit (3) without contact. The transformer comprises a primary coil (4) in the primary circuit on a stationary core (5) and a secondary coil (6) in the secondary circuit on a core (7) movable relative to the stationary core, with the primary Circuit, there is a voltage source (8) and an evaluation device (9) for the induced measurement data and there are sensor means (10) generating measurement data in the secondary circuit and an evaluation device (11) digitizing the measurement data, the output signals of which control a short-circuit generator (12).
Figure 00000001

EP00107651A1999-05-042000-04-10Method and device for transfer of electric energy from a stationary to a relatively movable circuitWithdrawnEP1052660A3 (en)

Applications Claiming Priority (2)

Application NumberPriority DateFiling DateTitle
CH821991999-05-04
CH00821/99ACH694352A5 (en)1999-05-041999-05-04Method and apparatus for electric power transmission from a stationary to a about this relatively movable circuit.

Publications (2)

Publication NumberPublication Date
EP1052660A2 EP1052660A2 (en)2000-11-15
EP1052660A3true EP1052660A3 (en)2001-10-04

Family

ID=4195984

Family Applications (1)

Application NumberTitlePriority DateFiling Date
EP00107651AWithdrawnEP1052660A3 (en)1999-05-042000-04-10Method and device for transfer of electric energy from a stationary to a relatively movable circuit

Country Status (5)

CountryLink
EP (1)EP1052660A3 (en)
JP (1)JP2001015364A (en)
KR (1)KR20000077132A (en)
CH (1)CH694352A5 (en)
TW (1)TW480502B (en)

Families Citing this family (1)

* Cited by examiner, † Cited by third party
Publication numberPriority datePublication dateAssigneeTitle
CH694352A5 (en)*1999-05-042004-11-30Satis Vacuum Ind Vetriebs AgMethod and apparatus for electric power transmission from a stationary to a about this relatively movable circuit.

Citations (4)

* Cited by examiner, † Cited by third party
Publication numberPriority datePublication dateAssigneeTitle
EP0530612A1 (en)*1991-09-041993-03-10MAN Roland Druckmaschinen AGSide register and overload control in a sheet printing machine
EP0539696A1 (en)*1991-09-171993-05-05Siemens AktiengesellschaftMethod for contactless energy and data transmission
US5455466A (en)*1993-07-291995-10-03Dell Usa, L.P.Inductive coupling system for power and data transfer
DE19543522A1 (en)*1995-11-221997-05-28Duerrwaechter E Dr Doduco Device for wired, unidirectional or bidirectional transmission of electrical signals to a steering wheel of a vehicle

Family Cites Families (4)

* Cited by examiner, † Cited by third party
Publication numberPriority datePublication dateAssigneeTitle
JPH0538082A (en)*1991-07-301993-02-12Mitsubishi Electric Corp Power supply device
JP3169817B2 (en)*1996-01-302001-05-28三菱電機株式会社 Magnetic coupling signal transmission device
US5781421A (en)*1996-12-161998-07-14General Electric CompanyHigh-frequency, high-efficiency converter with recirculating energy control for high-density power conversion
CH694352A5 (en)*1999-05-042004-11-30Satis Vacuum Ind Vetriebs AgMethod and apparatus for electric power transmission from a stationary to a about this relatively movable circuit.

Patent Citations (4)

* Cited by examiner, † Cited by third party
Publication numberPriority datePublication dateAssigneeTitle
EP0530612A1 (en)*1991-09-041993-03-10MAN Roland Druckmaschinen AGSide register and overload control in a sheet printing machine
EP0539696A1 (en)*1991-09-171993-05-05Siemens AktiengesellschaftMethod for contactless energy and data transmission
US5455466A (en)*1993-07-291995-10-03Dell Usa, L.P.Inductive coupling system for power and data transfer
DE19543522A1 (en)*1995-11-221997-05-28Duerrwaechter E Dr Doduco Device for wired, unidirectional or bidirectional transmission of electrical signals to a steering wheel of a vehicle

Also Published As

Publication numberPublication date
CH694352A5 (en)2004-11-30
KR20000077132A (en)2000-12-26
TW480502B (en)2002-03-21
EP1052660A2 (en)2000-11-15
JP2001015364A (en)2001-01-19

Similar Documents

PublicationPublication DateTitle
ATE373311T1 (en) CHARGE TRANSFER DEVICE AND METHOD THEREOF
DE69022188D1 (en) Method of manufacturing an electrical overhead line cable for energy transport and device for carrying out this method.
NZ505891A (en)Tongue placed tactile output device
EP1146621A3 (en)Charging apparatus
EP1014530A3 (en)Electrical power distribution installation for electrical power system
DE3877606D1 (en) DEVICE FOR CHARGING AN ELECTRICAL TERMINAL BLOCK.
AU8133298A (en)Method for erecting a structure for an emergency power line, apparatus and kit of parts therefor
PT102669B (en) METHOD OF INSPECTING ELECTRICAL EQUIPMENT, ELECTRIC JUNCTION BOX INSPECTION APPARATUS AND INSPECTION SYSTEM OF TERMINAL ELEMENTS
DE59604739D1 (en) Plug device for cable connections in the high-voltage high-current range
DE69202240D1 (en) DEBIT NOTE.
DE69003997D1 (en) Power distribution device for electrical installations.
DE68910437D1 (en) APPARATUS FOR PLUGGING CABLE END PIECES INTO THE OPENINGS OF AN ELECTRICAL CONNECTOR.
EP1052660A3 (en)Method and device for transfer of electric energy from a stationary to a relatively movable circuit
DE69112005D1 (en) Device for plugging and unplugging an electrical connector.
EP1085793A3 (en)Electrical compact device for swich mode power supply
EP0534362A3 (en)Method and apparatus for testing self-commutative electric power conversion device
ATE166200T1 (en) DEVICE FOR POWERING AN ELECTRICAL LOAD
EP1109192A3 (en)Conductor for a current transformer for a low voltage-high power fuse or load-break device
WO2002037128A3 (en)Verification system
JPS53124813A (en)Non-contact current collecting apparatus
DE59202894D1 (en) Method and device for testing an electrical conductor arrangement.
EP0930199A3 (en)Electrical system with a secure alternator cable
EP1206025A3 (en)Device for reverse battery protection of electrical components
EP1187271A3 (en)Means for electrically connecting a data connection conductor with a low voltage power supply line
EP0860936A3 (en)Transfer of electrical energy

Legal Events

DateCodeTitleDescription
PUAIPublic reference made under article 153(3) epc to a published international application that has entered the european phase

Free format text:ORIGINAL CODE: 0009012

AKDesignated contracting states

Kind code of ref document:A2

Designated state(s):AT BE CH CY DE DK ES FI FR GB GR IE IT LI LU MC NL PT SE

AXRequest for extension of the european patent

Free format text:AL;LT;LV;MK;RO;SI

PUALSearch report despatched

Free format text:ORIGINAL CODE: 0009013

AKDesignated contracting states

Kind code of ref document:A3

Designated state(s):AT BE CH CY DE DK ES FI FR GB GR IE IT LI LU MC NL PT SE

AXRequest for extension of the european patent

Free format text:AL;LT;LV;MK;RO;SI

17PRequest for examination filed

Effective date:20020404

AKXDesignation fees paid

Free format text:AT BE CH CY DE DK ES FI FR GB GR IE IT LI LU MC NL PT SE

STAAInformation on the status of an ep patent application or granted ep patent

Free format text:STATUS: THE APPLICATION IS DEEMED TO BE WITHDRAWN

18DApplication deemed to be withdrawn

Effective date:20060620


[8]ページ先頭

©2009-2025 Movatter.jp