Movatterモバイル変換


[0]ホーム

URL:


EP0944139A3 - Coaxial Connector with an insulating member for the inner conductor - Google Patents

Coaxial Connector with an insulating member for the inner conductor
Download PDF

Info

Publication number
EP0944139A3
EP0944139A3EP99104978AEP99104978AEP0944139A3EP 0944139 A3EP0944139 A3EP 0944139A3EP 99104978 AEP99104978 AEP 99104978AEP 99104978 AEP99104978 AEP 99104978AEP 0944139 A3EP0944139 A3EP 0944139A3
Authority
EP
European Patent Office
Prior art keywords
inner conductor
insulating member
coaxial connector
insulating part
clamp fit
Prior art date
Legal status (The legal status is an assumption and is not a legal conclusion. Google has not performed a legal analysis and makes no representation as to the accuracy of the status listed.)
Granted
Application number
EP99104978A
Other languages
German (de)
French (fr)
Other versions
EP0944139B1 (en
EP0944139A2 (en
Inventor
Edgard Acke
Current Assignee (The listed assignees may be inaccurate. Google has not performed a legal analysis and makes no representation or warranty as to the accuracy of the list.)
TE Connectivity Solutions GmbH
Original Assignee
Siemens AG
Siemens Corp
Priority date (The priority date is an assumption and is not a legal conclusion. Google has not performed a legal analysis and makes no representation as to the accuracy of the date listed.)
Filing date
Publication date
Application filed by Siemens AG, Siemens CorpfiledCriticalSiemens AG
Publication of EP0944139A2publicationCriticalpatent/EP0944139A2/en
Publication of EP0944139A3publicationCriticalpatent/EP0944139A3/en
Application grantedgrantedCritical
Publication of EP0944139B1publicationCriticalpatent/EP0944139B1/en
Anticipated expirationlegal-statusCritical
Expired - Lifetimelegal-statusCriticalCurrent

Links

Classifications

Landscapes

Abstract

Translated fromGerman

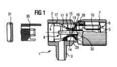
Das Isolierteil (9) zur Abstützung und Zentrierung des Innenleiters(8) in einem Außenleitergehäuse (2) hat an beiden Enden(17, 19) federnde Klemmelemente (20 - 23), so daß esselbst mittels Klemmsitz im Außenleitergehäuse (2) und derInnenleiter (8) mittels Klemmsitz im Isolierteil (8) fixiertist.

Figure 00000001
The insulating part (9) for supporting and centering the inner conductor (8) in an outer conductor housing (2) has resilient clamping elements (20 - 23) at both ends (17, 19), so that it itself by means of a clamp fit in the outer conductor housing (2) and Inner conductor (8) is fixed in the insulating part (8) by means of a clamp fit.
Figure 00000001

EP99104978A1998-03-191999-03-12Coaxial Connector with an insulating member for the inner conductorExpired - LifetimeEP0944139B1 (en)

Applications Claiming Priority (2)

Application NumberPriority DateFiling DateTitle
DE198122061998-03-19
DE198122061998-03-19

Publications (3)

Publication NumberPublication Date
EP0944139A2 EP0944139A2 (en)1999-09-22
EP0944139A3true EP0944139A3 (en)2001-12-12
EP0944139B1 EP0944139B1 (en)2003-08-20

Family

ID=7861631

Family Applications (1)

Application NumberTitlePriority DateFiling Date
EP99104978AExpired - LifetimeEP0944139B1 (en)1998-03-191999-03-12Coaxial Connector with an insulating member for the inner conductor

Country Status (2)

CountryLink
EP (1)EP0944139B1 (en)
DE (1)DE59906625D1 (en)

Families Citing this family (3)

* Cited by examiner, † Cited by third party
Publication numberPriority datePublication dateAssigneeTitle
ITMI20071433A1 (en)*2007-07-172009-01-18Compel Electronics S P A WELD-FREE COAXIAL CONNECTOR SYSTEMS AND MANUFACTURING METHODS
ITRM20080642A1 (en)*2008-12-022010-06-03Maptel S R L Materiale Per Telefon Ia "CONNECTOR WITHOUT WELDING FOR COAXIAL CABLE"
ITFI20100027A1 (en)*2010-02-262011-08-27Duratel Spa COAXIAL CORNER CONNECTOR WITHOUT WELDING

Citations (3)

* Cited by examiner, † Cited by third party
Publication numberPriority datePublication dateAssigneeTitle
DE7720087U1 (en)*1977-06-271977-11-10Spinner, Georg, Dr.-Ing., 8152 Feldkirchen-Westerham HF coaxial connector
US5417588A (en)*1993-11-151995-05-23Adc Telecommunications, Inc.Coax connector with center pin locking
EP0675566A2 (en)*1994-03-291995-10-04Siemens AktiengesellschaftCoaxial connector with support for the inner conductor

Patent Citations (3)

* Cited by examiner, † Cited by third party
Publication numberPriority datePublication dateAssigneeTitle
DE7720087U1 (en)*1977-06-271977-11-10Spinner, Georg, Dr.-Ing., 8152 Feldkirchen-Westerham HF coaxial connector
US5417588A (en)*1993-11-151995-05-23Adc Telecommunications, Inc.Coax connector with center pin locking
EP0675566A2 (en)*1994-03-291995-10-04Siemens AktiengesellschaftCoaxial connector with support for the inner conductor

Also Published As

Publication numberPublication date
EP0944139B1 (en)2003-08-20
DE59906625D1 (en)2003-09-25
EP0944139A2 (en)1999-09-22

Similar Documents

PublicationPublication DateTitle
CA2428893A1 (en)Connector for hard-line coaxial cable
HUP0000592A2 (en)Electrical connector unit, contact therefor, electrical connector and method for producing said electrical connector unit
EP0914142A4 (en)Peptides with increased binding affinity for hla molecules
EP0865762A3 (en)Electrode support for cardiology
EP1411416A3 (en)Portable computer of multifunction type
GB9402563D0 (en)Electrical connector with zif socket
JPH07505248A (en) Contact housing for connecting coaxial cables
TW404577U (en)Electrical connector having terminals with improved retention means
EP1054472A3 (en)Electrical tapping connector
EP1113534A3 (en)Electrical connector with over-molded housing member and method of over-molding
MXPA03009581A (en)Polymeric cutout assembly.
EP0944139A3 (en)Coaxial Connector with an insulating member for the inner conductor
US3955302A (en)Fishing gaff
EA199900309A3 (en)Connection accessory and terminal equipped with such an accessory
PL342384A1 (en)Overvoltage protector
DE3877295D1 (en) ELECTRICAL CONNECTING DEVICE FOR ELECTRICAL APPARATUS CONNECTION, ELECTRICAL PROTECTIVE EQUIPMENT, AND ALL THE PARTS THAT INCLUDE.
ATE255284T1 (en) INSULATION CLAMP CONNECTION DEVICE AND DEVICE FOR GUIDING CONDUCTORS TO BE CONNECTED TO THE SAME
SE9604268L (en) Electrode device intended to be attached to a body member of a patient
EP0921606A3 (en)Electrical connection box with restrained outer diameter
TW452260U (en)Powered electrical wire terminal for inserting-unplugging and the electrical connector having the terminal
EP0840400A3 (en)Socket contact
CN205765082U (en)The quick stationary fixture of bent axle
WO2001036017A3 (en)Catheter assembly having integral electrical connector disposed therein
EP1049207A3 (en)Cable connector with engagement mechanism for an electrical terminal member
IT1313283B1 (en) CLAMPING DEVICE FOR METAL TERMINALS ON ELECTRIC CABLES AND PRESSED CLAMPING PROVIDED WITH THE SAID DEVICE.

Legal Events

DateCodeTitleDescription
PUAIPublic reference made under article 153(3) epc to a published international application that has entered the european phase

Free format text:ORIGINAL CODE: 0009012

AKDesignated contracting states

Kind code of ref document:A2

Designated state(s):AT BE CH CY DE DK ES FI FR GB GR IE IT LI LU MC NL PT SE

Kind code of ref document:A2

Designated state(s):AT BE CH DE DK ES FI LI

AXRequest for extension of the european patent

Free format text:AL;LT;LV;MK;RO;SI

PUALSearch report despatched

Free format text:ORIGINAL CODE: 0009013

AKDesignated contracting states

Kind code of ref document:A3

Designated state(s):AT BE CH CY DE DK ES FI FR GB GR IE IT LI LU MC NL PT SE

AXRequest for extension of the european patent

Free format text:AL;LT;LV;MK;RO;SI

RAP1Party data changed (applicant data changed or rights of an application transferred)

Owner name:TYCO ELECTRONICS LOGISTICS AG

17PRequest for examination filed

Effective date:20020213

17QFirst examination report despatched

Effective date:20020419

GRAGDespatch of communication of intention to grant

Free format text:ORIGINAL CODE: EPIDOS AGRA

AKXDesignation fees paid

Free format text:AT BE CH DE DK ES FI LI

RBVDesignated contracting states (corrected)

Designated state(s):CH DE FR GB IT LI

GRAGDespatch of communication of intention to grant

Free format text:ORIGINAL CODE: EPIDOS AGRA

GRAHDespatch of communication of intention to grant a patent

Free format text:ORIGINAL CODE: EPIDOS IGRA

GRAHDespatch of communication of intention to grant a patent

Free format text:ORIGINAL CODE: EPIDOS IGRA

RIN1Information on inventor provided before grant (corrected)

Inventor name:ACKE, EDGARD

GRAA(expected) grant

Free format text:ORIGINAL CODE: 0009210

AKDesignated contracting states

Designated state(s):CH DE FR GB IT LI

REGReference to a national code

Ref country code:GB

Ref legal event code:FG4D

Free format text:NOT ENGLISH

RIC1Information provided on ipc code assigned before grant

Ipc:7H 01R 13/646 A

REGReference to a national code

Ref country code:CH

Ref legal event code:EP

REGReference to a national code

Ref country code:CH

Ref legal event code:NV

Representative=s name:RIEDERER HASLER & PARTNER PATENTANWAELTE AG

REGReference to a national code

Ref country code:IE

Ref legal event code:FG4D

Free format text:GERMAN

REFCorresponds to:

Ref document number:59906625

Country of ref document:DE

Date of ref document:20030925

Kind code of ref document:P

GBTGb: translation of ep patent filed (gb section 77(6)(a)/1977)

Effective date:20031217

REGReference to a national code

Ref country code:IE

Ref legal event code:FD4D

ETFr: translation filed
PLBENo opposition filed within time limit

Free format text:ORIGINAL CODE: 0009261

STAAInformation on the status of an ep patent application or granted ep patent

Free format text:STATUS: NO OPPOSITION FILED WITHIN TIME LIMIT

26NNo opposition filed

Effective date:20040524

PGFPAnnual fee paid to national office [announced via postgrant information from national office to epo]

Ref country code:CH

Payment date:20050321

Year of fee payment:7

PG25Lapsed in a contracting state [announced via postgrant information from national office to epo]

Ref country code:LI

Free format text:LAPSE BECAUSE OF NON-PAYMENT OF DUE FEES

Effective date:20060331

Ref country code:CH

Free format text:LAPSE BECAUSE OF NON-PAYMENT OF DUE FEES

Effective date:20060331

REGReference to a national code

Ref country code:CH

Ref legal event code:PL

REGReference to a national code

Ref country code:FR

Ref legal event code:PLFP

Year of fee payment:18

REGReference to a national code

Ref country code:FR

Ref legal event code:PLFP

Year of fee payment:19

REGReference to a national code

Ref country code:FR

Ref legal event code:PLFP

Year of fee payment:20

PGFPAnnual fee paid to national office [announced via postgrant information from national office to epo]

Ref country code:DE

Payment date:20180227

Year of fee payment:20

Ref country code:GB

Payment date:20180307

Year of fee payment:20

PGFPAnnual fee paid to national office [announced via postgrant information from national office to epo]

Ref country code:IT

Payment date:20180321

Year of fee payment:20

Ref country code:FR

Payment date:20180223

Year of fee payment:20

REGReference to a national code

Ref country code:DE

Ref legal event code:R071

Ref document number:59906625

Country of ref document:DE

REGReference to a national code

Ref country code:GB

Ref legal event code:PE20

Expiry date:20190311

PG25Lapsed in a contracting state [announced via postgrant information from national office to epo]

Ref country code:GB

Free format text:LAPSE BECAUSE OF EXPIRATION OF PROTECTION

Effective date:20190311


[8]ページ先頭

©2009-2025 Movatter.jp