Movatterモバイル変換


[0]ホーム

URL:


EP0915439A3 - Method and device for identfying and deactivating a security tag - Google Patents

Method and device for identfying and deactivating a security tag
Download PDF

Info

Publication number
EP0915439A3
EP0915439A3EP98115228AEP98115228AEP0915439A3EP 0915439 A3EP0915439 A3EP 0915439A3EP 98115228 AEP98115228 AEP 98115228AEP 98115228 AEP98115228 AEP 98115228AEP 0915439 A3EP0915439 A3EP 0915439A3
Authority
EP
European Patent Office
Prior art keywords
article
code
security
identfying
deactivating
Prior art date
Legal status (The legal status is an assumption and is not a legal conclusion. Google has not performed a legal analysis and makes no representation as to the accuracy of the status listed.)
Granted
Application number
EP98115228A
Other languages
German (de)
French (fr)
Other versions
EP0915439A2 (en
EP0915439B1 (en
Inventor
Terence Clancy
Current Assignee (The listed assignees may be inaccurate. Google has not performed a legal analysis and makes no representation or warranty as to the accuracy of the list.)
Meto International GmbH
Original Assignee
Meto International GmbH
Priority date (The priority date is an assumption and is not a legal conclusion. Google has not performed a legal analysis and makes no representation as to the accuracy of the date listed.)
Filing date
Publication date
Application filed by Meto International GmbHfiledCriticalMeto International GmbH
Publication of EP0915439A2publicationCriticalpatent/EP0915439A2/en
Publication of EP0915439A3publicationCriticalpatent/EP0915439A3/en
Application grantedgrantedCritical
Publication of EP0915439B1publicationCriticalpatent/EP0915439B1/en
Anticipated expirationlegal-statusCritical
Expired - Lifetimelegal-statusCriticalCurrent

Links

Classifications

Landscapes

Abstract

Translated fromGerman

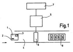
Die Erfindung betrifft ein Verfahren und eine Vorrichtungzur Erkennung und Deaktivierung eines deaktivierbarenSicherungselements (3) für die elektronischeArtikelsicherung, das in oder an einem Artikel (1)angebracht ist.The invention relates to a method and a deviceto detect and deactivate a deactivableSecuring element (3) for the electronicArticle security, which is in or on an article (1)is appropriate.

Der Erfindung liegt die Aufgabe zugrunde, ein Verfahren undeine Vorrichtung vorzuschlagen, die die Deaktivierungsratevon deaktivierbaren Sicherungsgelementen (3) erheblichsteigern.The invention has for its object a method andpropose a device that the deactivation rateof deactivatable security elements (3) considerablyincrease.

Bezüglich des Verfahrens wird die Aufgabe dadurch gelöst,daß daß jedem Artikel (1) ein Code (2) zugeordnet wird,daß der Code (2) an einer Eingabestelle (6)eingelesen/eingegeben wird, daß dem Code (2) eine Artikelinformationzugeordnet wird, wobei diese Artikelinformation eine Angabedarüber enthält, ob der Artikel (1) mit einem elektronischenSicherungselement (3) gegen Diebstahl gesichertist, und daß eine Deaktivierungseinheit (8) eingeschaltetwird, wenn eine entsprechende Angabe vorliegt.

Figure 00000001
With regard to the method, the object is achieved in that a code (2) is assigned to each article (1), the code (2) is read / entered at an input point (6), and article information is assigned to the code (2) This article information contains an indication of whether the article (1) is secured against theft with an electronic security element (3) and that a deactivation unit (8) is switched on if there is a corresponding statement.
Figure 00000001

EP98115228A1997-09-161998-08-13Method and device for identfying and deactivating a security tagExpired - LifetimeEP0915439B1 (en)

Applications Claiming Priority (2)

Application NumberPriority DateFiling DateTitle
DE197408711997-09-16
DE19740871ADE19740871A1 (en)1997-09-161997-09-16 Method and device for recognizing and deactivating a deactivatable security element

Publications (3)

Publication NumberPublication Date
EP0915439A2 EP0915439A2 (en)1999-05-12
EP0915439A3true EP0915439A3 (en)1999-12-08
EP0915439B1 EP0915439B1 (en)2003-06-18

Family

ID=7842632

Family Applications (1)

Application NumberTitlePriority DateFiling Date
EP98115228AExpired - LifetimeEP0915439B1 (en)1997-09-161998-08-13Method and device for identfying and deactivating a security tag

Country Status (6)

CountryLink
US (1)US6592037B1 (en)
EP (1)EP0915439B1 (en)
AT (1)ATE243353T1 (en)
DE (2)DE19740871A1 (en)
DK (1)DK0915439T3 (en)
ES (1)ES2201380T3 (en)

Families Citing this family (8)

* Cited by examiner, † Cited by third party
Publication numberPriority datePublication dateAssigneeTitle
US6371370B2 (en)*1999-05-242002-04-16Agilent Technologies, Inc.Apparatus and method for scanning a surface
JP2001306843A (en)*2000-04-192001-11-02Nec CorpSelling method and selling network
CA2508118C (en)*2002-02-012013-11-26Psc Scanning, Inc.Systems and methods for data reading and eas tag sensing and deactivating at retail checkout
US6854647B2 (en)*2002-02-012005-02-15Ncr CorporationCheckout device including integrated barcode reader, scale, and EAS system
US6783072B2 (en)*2002-02-012004-08-31Psc Scanning, Inc.Combined data reader and electronic article surveillance (EAS) system
US7527198B2 (en)*2002-03-182009-05-05Datalogic Scanning, Inc.Operation monitoring and enhanced host communications in systems employing electronic article surveillance and RFID tags
CA2480600C (en)*2002-04-112015-04-07Sensormatic Electronics CorporationSystem and method for managing assets using a portable combined electronic article surveillance system and barcode scanner
US7619527B2 (en)2005-02-082009-11-17Datalogic Scanning, Inc.Integrated data reader and electronic article surveillance (EAS) system

Citations (7)

* Cited by examiner, † Cited by third party
Publication numberPriority datePublication dateAssigneeTitle
WO1987004282A1 (en)*1986-01-031987-07-16Advanced Systems Research Pty. Ltd.Inventory control system
WO1990000785A1 (en)*1988-07-131990-01-25Actron S.A.Automatic cash register
WO1990005968A1 (en)*1988-11-141990-05-31Checkpoint Systems, Inc.Method and apparatus for integrated data capture and electronic article surveillance
US5151684A (en)*1991-04-121992-09-29Johnsen Edward LElectronic inventory label and security apparatus
US5418354A (en)*1993-08-201995-05-23Halling; Leonard W.Self service cart system
GB2286275A (en)*1994-01-111995-08-09Robert Benjamin FranksRetail goods check-out apparatus
US5594228A (en)*1988-08-251997-01-14Symbol Technologies, Inc.Self-checkout, point-of-transaction system including deactivatable electro-optically coded surveillance tags

Family Cites Families (18)

* Cited by examiner, † Cited by third party
Publication numberPriority datePublication dateAssigneeTitle
US3624631A (en)*1970-04-271971-11-30Sanders Associates IncPilferage control system
DE3244431A1 (en)*1982-12-011984-06-07Rheinmetall GmbH, 4000 Düsseldorf DEVICE FOR DEACTIVATING A SECURING STRIP CONTAINING MAGNETIZABLE LAYERS
DE68912450T2 (en)*1988-08-251994-08-25Symbol Technologies Inc Portable scanning system that includes a surveillance label puller.
US5170045A (en)*1990-03-201992-12-08Esselte Meto Eas Int. AbPrice tag deactivator
FR2669756A1 (en)*1990-11-231992-05-29Cga HbsSystem for recording and invalidating the identification of a product
CH682265A5 (en)*1991-02-121993-08-13Actron Entwicklungs Ag
US5245317A (en)*1991-12-181993-09-14Duncan ChidleyArticle theft detection apparatus
CH684661A5 (en)*1992-12-111994-11-15Kobe Properties LtdMethod and device for protection against theft of articles.
US5587703A (en)*1994-10-251996-12-24Dumont; CharlesUniversal merchandise tag
US5534836A (en)*1994-11-281996-07-09Sensormatic Electronics CorporationDeactivator for theft-deterrent markers
US5477219A (en)*1995-03-301995-12-19Minnesota Mining And Manufacturing CompanyComposite electronic article surveillance, identification, and security marker assembly and system
US5640002A (en)*1995-08-151997-06-17Ruppert; Jonathan PaulPortable RF ID tag and barcode reader
US5574431A (en)*1995-08-291996-11-12Checkpoint Systems, Inc.Deactivateable security tag
US5777884A (en)*1995-10-161998-07-07Minnesota Mining And Manufacturing CompanyArticle inventory tracking and control system
DE29611156U1 (en)*1996-06-261996-09-05Herm. Weck Sohn Verpackungs- und Werbedruck GmbH, 42655 Solingen Packaging of goods
US5705986A (en)*1996-09-261998-01-06Sensormatic Electronic CorporationMethod of and apparatus for automatic deactivation of electronic article surveillance tags
US5990794A (en)*1996-09-261999-11-23Sensormatic Electronics CorporationApparatus for data communication and deactivation of electronic article surveillance tags
US5781111A (en)*1996-09-261998-07-14Sensormatic Electronics CorporationApparatus for deactivation of electronic article surveillance tags

Patent Citations (7)

* Cited by examiner, † Cited by third party
Publication numberPriority datePublication dateAssigneeTitle
WO1987004282A1 (en)*1986-01-031987-07-16Advanced Systems Research Pty. Ltd.Inventory control system
WO1990000785A1 (en)*1988-07-131990-01-25Actron S.A.Automatic cash register
US5594228A (en)*1988-08-251997-01-14Symbol Technologies, Inc.Self-checkout, point-of-transaction system including deactivatable electro-optically coded surveillance tags
WO1990005968A1 (en)*1988-11-141990-05-31Checkpoint Systems, Inc.Method and apparatus for integrated data capture and electronic article surveillance
US5151684A (en)*1991-04-121992-09-29Johnsen Edward LElectronic inventory label and security apparatus
US5418354A (en)*1993-08-201995-05-23Halling; Leonard W.Self service cart system
GB2286275A (en)*1994-01-111995-08-09Robert Benjamin FranksRetail goods check-out apparatus

Also Published As

Publication numberPublication date
DE19740871A1 (en)1999-06-17
DE59808749D1 (en)2003-07-24
ATE243353T1 (en)2003-07-15
EP0915439A2 (en)1999-05-12
EP0915439B1 (en)2003-06-18
ES2201380T3 (en)2004-03-16
US6592037B1 (en)2003-07-15
DK0915439T3 (en)2003-10-06

Similar Documents

PublicationPublication DateTitle
EP1665199B1 (en)Product authentication method
DE69108109D1 (en) Method and device for the permanent display of one or more impacts that have acted on a substrate.
DE69423474D1 (en) Responder, interrogators, systems and methods to exclude interrogator synchronization requirements
DE69626052D1 (en) System and method for distributing the load on a file server
DE69202682D1 (en) System and method for detecting the unauthorized use of identifiers for computer access.
DE69509200D1 (en) Method and device for generating information, an alarm or a warning for an aircraft near the ground
EP0568088A3 (en) Method and device for printing sales information.
DE69428621D1 (en) System and method for increasing the character recognition accuracy through adaptable probability weighting
ATE117445T1 (en) METHOD AND DEVICE FOR SIMPLIFYING THE USE OF A VARIETY OF CREDIT CARDS AND THE LIKE.
DE69528558D1 (en) Device and method for identifying multiple transponders
DE59008879D1 (en) Method for extracting movement errors of a coherent imaging radar system with leading carriers from raw radar data and device for carrying out the method.
DE68922531D1 (en) Card transaction processing device, programming card for its use and method of using such a device or programming card.
EP0567291A3 (en) Integrated system for processing transaction information.
DE69422885D1 (en) Device for segmenting fingerprint images for ten-finger cards
EP1081639A3 (en)Data carrier and method of fabrication thereof
EP0915439A3 (en)Method and device for identfying and deactivating a security tag
DE69320493D1 (en) DEVICE FOR EASIER TO PUT ON SOCKS OR THE LIKE FOR DISABLED PERSONS
DE69521399D1 (en) Device for securing information systems that are organized on the basis of microprocessors
DE59301269D1 (en) QUICK WOVEN THREADS BASED ON POLYCAPROLACTAM AND METHOD FOR THEIR PRODUCTION
DE69429562D1 (en) A single pass detection system for image areas enclosed by a marker and method for a photocopier
DE69101062D1 (en) METHOD AND DEVICE FOR MONITORING CORROSION AND REPORTING THE SAME INDUSTRIAL STANDARDS ACCEPTED.
DE50214430D1 (en) VIDEO SMOKE DETECTION SYSTEM AND METHOD FOR VERIFYING IT
DE69312661D1 (en) Method and device for characterizing a medium which contains at least one conductive portion
EP0844029A3 (en)Method and device for identifying mail
EP0809121A3 (en)Device for carrying out a security measure

Legal Events

DateCodeTitleDescription
PUAIPublic reference made under article 153(3) epc to a published international application that has entered the european phase

Free format text:ORIGINAL CODE: 0009012

AKDesignated contracting states

Kind code of ref document:A2

Designated state(s):AT BE CH DE DK ES FI FR GB IE IT LI LU NL PT SE

AXRequest for extension of the european patent

Free format text:AL;LT;LV;MK;RO;SI

PUALSearch report despatched

Free format text:ORIGINAL CODE: 0009013

AKDesignated contracting states

Kind code of ref document:A3

Designated state(s):AT BE CH CY DE DK ES FI FR GB GR IE IT LI LU MC NL PT SE

AXRequest for extension of the european patent

Free format text:AL;LT;LV;MK;RO;SI

17PRequest for examination filed

Effective date:20000114

AKXDesignation fees paid

Free format text:AT BE CH DE DK ES FI FR GB IE IT LI LU NL PT SE

17QFirst examination report despatched

Effective date:20020425

GRAHDespatch of communication of intention to grant a patent

Free format text:ORIGINAL CODE: EPIDOS IGRA

GRAHDespatch of communication of intention to grant a patent

Free format text:ORIGINAL CODE: EPIDOS IGRA

GRAA(expected) grant

Free format text:ORIGINAL CODE: 0009210

AKDesignated contracting states

Designated state(s):AT BE CH DE DK ES FI FR GB IE IT LI LU NL PT SE

PG25Lapsed in a contracting state [announced via postgrant information from national office to epo]

Ref country code:IE

Free format text:LAPSE BECAUSE OF FAILURE TO SUBMIT A TRANSLATION OF THE DESCRIPTION OR TO PAY THE FEE WITHIN THE PRESCRIBED TIME-LIMIT

Effective date:20030618

REGReference to a national code

Ref country code:GB

Ref legal event code:FG4D

Free format text:NOT ENGLISH

REGReference to a national code

Ref country code:CH

Ref legal event code:EP

REGReference to a national code

Ref country code:IE

Ref legal event code:FG4D

Free format text:GERMAN

REFCorresponds to:

Ref document number:59808749

Country of ref document:DE

Date of ref document:20030724

Kind code of ref document:P

PG25Lapsed in a contracting state [announced via postgrant information from national office to epo]

Ref country code:LU

Free format text:LAPSE BECAUSE OF NON-PAYMENT OF DUE FEES

Effective date:20030813

REGReference to a national code

Ref country code:CH

Ref legal event code:NV

Representative=s name:NOVARTIS AG

PG25Lapsed in a contracting state [announced via postgrant information from national office to epo]

Ref country code:SE

Free format text:LAPSE BECAUSE OF FAILURE TO SUBMIT A TRANSLATION OF THE DESCRIPTION OR TO PAY THE FEE WITHIN THE PRESCRIBED TIME-LIMIT

Effective date:20030918

Ref country code:PT

Free format text:LAPSE BECAUSE OF FAILURE TO SUBMIT A TRANSLATION OF THE DESCRIPTION OR TO PAY THE FEE WITHIN THE PRESCRIBED TIME-LIMIT

Effective date:20030918

REGReference to a national code

Ref country code:DK

Ref legal event code:T3

GBTGb: translation of ep patent filed (gb section 77(6)(a)/1977)
REGReference to a national code

Ref country code:IE

Ref legal event code:FD4D

REGReference to a national code

Ref country code:ES

Ref legal event code:FG2A

Ref document number:2201380

Country of ref document:ES

Kind code of ref document:T3

ETFr: translation filed
PLBENo opposition filed within time limit

Free format text:ORIGINAL CODE: 0009261

STAAInformation on the status of an ep patent application or granted ep patent

Free format text:STATUS: NO OPPOSITION FILED WITHIN TIME LIMIT

26NNo opposition filed

Effective date:20040319

PGFPAnnual fee paid to national office [announced via postgrant information from national office to epo]

Ref country code:AT

Payment date:20040721

Year of fee payment:7

PGFPAnnual fee paid to national office [announced via postgrant information from national office to epo]

Ref country code:FI

Payment date:20040820

Year of fee payment:7

PGFPAnnual fee paid to national office [announced via postgrant information from national office to epo]

Ref country code:DK

Payment date:20040824

Year of fee payment:7

REGReference to a national code

Ref country code:CH

Ref legal event code:PL

REGReference to a national code

Ref country code:CH

Ref legal event code:AEN

Free format text:DAS PATENT IST AUFGRUND DES WEITERBEHANDLUNGSANTRAGS VOM 19.04.2005 REAKTIVIERT WORDEN.

PGFPAnnual fee paid to national office [announced via postgrant information from national office to epo]

Ref country code:NL

Payment date:20050729

Year of fee payment:8

PGFPAnnual fee paid to national office [announced via postgrant information from national office to epo]

Ref country code:GB

Payment date:20050810

Year of fee payment:8

PG25Lapsed in a contracting state [announced via postgrant information from national office to epo]

Ref country code:FI

Free format text:LAPSE BECAUSE OF NON-PAYMENT OF DUE FEES

Effective date:20050813

Ref country code:AT

Free format text:LAPSE BECAUSE OF NON-PAYMENT OF DUE FEES

Effective date:20050813

PGFPAnnual fee paid to national office [announced via postgrant information from national office to epo]

Ref country code:FR

Payment date:20050817

Year of fee payment:8

PGFPAnnual fee paid to national office [announced via postgrant information from national office to epo]

Ref country code:ES

Payment date:20050826

Year of fee payment:8

PG25Lapsed in a contracting state [announced via postgrant information from national office to epo]

Ref country code:DK

Free format text:LAPSE BECAUSE OF NON-PAYMENT OF DUE FEES

Effective date:20050831

PGFPAnnual fee paid to national office [announced via postgrant information from national office to epo]

Ref country code:BE

Payment date:20050902

Year of fee payment:8

PGFPAnnual fee paid to national office [announced via postgrant information from national office to epo]

Ref country code:DE

Payment date:20050930

Year of fee payment:8

PGFPAnnual fee paid to national office [announced via postgrant information from national office to epo]

Ref country code:CH

Payment date:20051227

Year of fee payment:8

REGReference to a national code

Ref country code:DK

Ref legal event code:EBP

PG25Lapsed in a contracting state [announced via postgrant information from national office to epo]

Ref country code:LI

Free format text:LAPSE BECAUSE OF NON-PAYMENT OF DUE FEES

Effective date:20060831

Ref country code:CH

Free format text:LAPSE BECAUSE OF NON-PAYMENT OF DUE FEES

Effective date:20060831

Ref country code:BE

Free format text:LAPSE BECAUSE OF NON-PAYMENT OF DUE FEES

Effective date:20060831

PGFPAnnual fee paid to national office [announced via postgrant information from national office to epo]

Ref country code:IT

Payment date:20060831

Year of fee payment:9

PG25Lapsed in a contracting state [announced via postgrant information from national office to epo]

Ref country code:NL

Free format text:LAPSE BECAUSE OF NON-PAYMENT OF DUE FEES

Effective date:20070301

Ref country code:DE

Free format text:LAPSE BECAUSE OF NON-PAYMENT OF DUE FEES

Effective date:20070301

REGReference to a national code

Ref country code:CH

Ref legal event code:PL

GBPCGb: european patent ceased through non-payment of renewal fee

Effective date:20060813

NLV4Nl: lapsed or anulled due to non-payment of the annual fee

Effective date:20070301

REGReference to a national code

Ref country code:FR

Ref legal event code:ST

Effective date:20070430

REGReference to a national code

Ref country code:ES

Ref legal event code:FD2A

Effective date:20060814

PG25Lapsed in a contracting state [announced via postgrant information from national office to epo]

Ref country code:GB

Free format text:LAPSE BECAUSE OF NON-PAYMENT OF DUE FEES

Effective date:20060813

BEREBe: lapsed

Owner name:*METO INTERNATIONAL G.M.B.H.

Effective date:20060831

PG25Lapsed in a contracting state [announced via postgrant information from national office to epo]

Ref country code:ES

Free format text:LAPSE BECAUSE OF NON-PAYMENT OF DUE FEES

Effective date:20060814

PG25Lapsed in a contracting state [announced via postgrant information from national office to epo]

Ref country code:FR

Free format text:LAPSE BECAUSE OF NON-PAYMENT OF DUE FEES

Effective date:20060831

PG25Lapsed in a contracting state [announced via postgrant information from national office to epo]

Ref country code:IT

Free format text:LAPSE BECAUSE OF NON-PAYMENT OF DUE FEES

Effective date:20070813


[8]ページ先頭

©2009-2025 Movatter.jp