







Behältnisse bzw. Gefäße zum Aufbewahren von Gegenständen aller Art sind bekannt. Zur Gattungsbildung wird beispielsweise auf die GM 91 03 868, DE 33 12 176 A1 oder die US 3,565,146 verwiesen.Containers or vessels for storing objects of all kinds are known. For genre formation, reference is made, for example, to GM 91 03 868, DE 33 12 176 A1 or US Pat. No. 3,565,146.
Die vorliegende Neuerung bezieht sich auf ein Behältnis oder Gefäß wie es beispielsweise in den Fig. 1 - 6 auf Anlagenblatt 1 gezeigt ist. Die Anlagenblätter 2 - 4 zeigen Einzelheiten dieser Gefäße.The present innovation relates to a container or vessel as shown, for example, in FIGS. 1-6 on
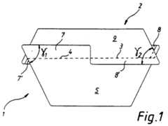
Wie aus den Fig. 1 - 3, 5 und 6 ersichtlich handelt es sich dabei um ein Gefäß, welches grundsätzlich aus einem unteren Gefäß 1 (Unterteil) und einem oberen Gefäß 2 bzw. Deckel oder Aufsatz 2 besteht. Übereinstimmend bei allen verschiedenen Ausführungsformen der Neuerung ist die Anpassung des Unterteils 1 mit dem Oberteil 2, wobei eine mittelbare formschlüssige Verbindung, d. h. eine gewisse Verzahnung durch jeweils aneinander angepaßte Einschnitte 3 bzw. 4 erfolgt.As can be seen from FIGS. 1-3, 5 and 6, this is a vessel which basically consists of a lower vessel 1 (lower part) and an
Im Gegensatz zum genannten Stand der Technik stellt die vorgeschlagene "Verzahnung" keinen direkten Formschluß dar. Die Außenwand des oberen Gefäßes liegt zur Hälfte linear an der Innenwand des unteren Gefäßes an. Umgekehrt liegt die Innenwand des oberen Gefäßes zur Hälfte linear an der Außenwand des unteren Gefäßes an.In contrast to the prior art mentioned, the proposed "toothing" does not represent a direct positive fit. Half of the outer wall of the upper vessel lies linearly against the inner wall of the lower vessel. Conversely, half of the inner wall of the upper vessel lies linearly against the outer wall of the lower vessel.
Damit wird eine Art mittelbarer Formschluß erzeugt. Die Konizität der Gefäße, zumindest im Bereich der Zahnung ist damit eine notwendige Bedingung und orginäres Merkmal der Gefäße. Die Konizität zweier Gefäße muß aber nicht die gleiche sein.This creates a kind of indirect form fit. The conicity of the vessels, at least in the area of the teeth, is therefore a necessary condition and original feature of the vessels. The conicity of two vessels does not have to be the same.
Der wichtigste Vorteil dieser Art von Verzahnung gegenüber einem Formschluß, wie er im genannten Stand der Technik gezeigt wird, liegt in der erheblich größeren maßlichen Toleranzen, die zuglassen werden.The most important advantage of this type of toothing over a form fit, as it is shown in the prior art mentioned, lies in the considerably larger dimensional tolerances that are allowed.
Als Konsequenz des oben beschriebenen "Überbisses" bilden die beiden (oder mehr) Zähne der Gefäße Griffe (beispielsweise beim Trennen der geschlossenen Gefäße).As a consequence of the "overbite" described above, the two (or more) teeth of the vessels form handles (for example when separating the closed vessels).
Das in Fig. 1 dargestellte Unterteil 1, 5 ist beispielsweise in Fig. 7a im Längsschnitt, in Fig. 7b in Seitenansicht sowie in Fig. 7c in Draufsicht dargestellt. Der Einschnitt 3 erstreckt sich etwa über einen Winkelbereich α₁ ≈ 90° mit einer Höhe h₁. Gleichermaßen erstreckt sich der diametral gegenüberliegende Einschnitt 4 über den Winkel α₂ ≈ 90° mit einer Höhe
Auf ein solches Unterteil 5 wird das in Fig. 1 gezeigte deckelartige Gebilde 2, 9 aufgesetzt, wie es beispielsweise in den Fig. 8a - 8c dargestellt ist. Auch das deckelartige Gebilde 9 besteht aus einem konischen Gefäß mit entsprechenden Einschnitten 3', 4' und Stegen 7', 8', die prinzipiell den gleichen Aufbau haben, wie dies zu Fig. 7a - 7c beschrieben ist. Auf die entsprechende Beschreibung wird verwiesen.The lid-
Setzt man nun den Deckel 9 auf das Unterteil 5 derart auf, daß die jeweiligen Stege 7, 8 des Unterteils bzw. 7', 8' des Oberteils in die jeweiligen zugehörigen Ausnehmungen 3', 4' des Oberteils bzw. 3, 4 des Unterteils eingreifen, ergibt sich die in der Fig. 1 dargestellte formschlüssige Anordnung. Die jeweiligen Stege ragen demnach in die jeweiligen Ausschnitte hinein und bilden eine Art klauenartige Verzahnung. Dabei ist sowohl das Unterteil als auch das Oberteil in seinem Querschnitt jeweils konisch ausgebildet, so daß das Oberteil dachförmig auf dem ebenfalls konischen Unterteil aufsitzt. Die konische Ausbildung des Unterteils bzw. des Oberteils soll wenigstens im Bereich der gegenseitigen Überlappungen erfolgen.Now place the
In den Fig. 2 - 6 sind alternative Ausführungsformen gezeigt.2-6, alternative embodiments are shown.
Der in Fig. 1 dargestellte Deckel 2, 9 kann gegebenenfalls auch als Unterteil mit einem gleich ausgebildeten Oberteil ausgebildet sein. In Fig. 2 ist das Unterteil 10 dementsprechend gleich ausgebildet wie das Oberteil 11, wobei der Außenquerschnitt nicht kegelförmig wie Fig. 1, sondern eher kugelförmig ausgebildet ist. Die Verbindung zwischen Oberteil und Unterteil ist sinngemäß gleich ausgebildet wie zu Fig. 1 beschrieben.The
Die in Fig. 3 dargestellte Ausführungsform besteht aus einem jeweils gleich ausgebildeten Unterteil 12 und Oberteil 13, die eine noch kugelförmigere Außenstruktur aufweisen.The embodiment shown in FIG. 3 consists of a
Das in Fig. 5 dargestellte Unterteil 14 ist in Fig. 4 in Alleindarstellung gezeigt. In seinem oberen Bereich 15 ist es konisch, in seinem unteren Bereich 16 zylindrisch dargestellt. Der zugehörige Deckel 17 in Fig. 5 ist sinngemäß gleich ausgebildet, wie der Deckel 9 in Fig. 1 .The
Fig. 6 zeigt ein Unterteil 5, wie es dem Unterteil 5 in Fig. 1 entspricht. Dieses Unterteil ist insgesamt konisch bzw. kegelstumpfförmig mit sich nach oben öffnenden Winkeln ausgebildet. Der zugehörige Deckel 18 ist als Kugelsegment ausgebildet und im Anlagenblatt 4 unter Fig. 9a - 9c nochmals näher dargestellt. Gleichermaßen weist der Deckel wiederum Ausnehmungen 3', 4' und Stege 7', 8' auf wie sie zum Ausführungsbeispiel nach Fig. 8a - 8c beschrieben sind.FIG. 6 shows a
Das Grundprinzip des in seiner Gestaltung vielfältigen Gefäßes liegt in der Anpassung des Unterteils 1 mit dem Oberteil 2 mit den entsprechenden Wandungseinschnitten 3, 4' bzw. 3', 4', die ineinander verzahnend eingreifen.The basic principle of the vessel, which is diverse in its design, is the adaptation of the
Dabei sind Gefäßunterteil und Deckel zumindest in ihrem Randbereich oder vollständig identische Teile. Das als Deckel dienende Teil wird umgestülpt (Drehung um eine horizontale Achse) und formschlüssig auf das Unterteil aufgesetzt. Dadurch entsteht eine geschlossene Außenseite und ein vergrößertes eingeschlossenes Volumen.The lower part of the vessel and the lid are at least in their edge area or completely identical parts. The part that serves as the lid is turned inside out (rotation around a horizontal axis) and positively placed on the lower part. This creates a closed outside and an enlarged enclosed volume.
| Application Number | Priority Date | Filing Date | Title |
|---|---|---|---|
| EP93107662AEP0624523A1 (en) | 1993-05-11 | 1993-05-11 | Two-parts container |
| Application Number | Priority Date | Filing Date | Title |
|---|---|---|---|
| EP93107662AEP0624523A1 (en) | 1993-05-11 | 1993-05-11 | Two-parts container |
| Publication Number | Publication Date |
|---|---|
| EP0624523A1true EP0624523A1 (en) | 1994-11-17 |
| Application Number | Title | Priority Date | Filing Date |
|---|---|---|---|
| EP93107662AWithdrawnEP0624523A1 (en) | 1993-05-11 | 1993-05-11 | Two-parts container |
| Country | Link |
|---|---|
| EP (1) | EP0624523A1 (en) |
| Publication number | Priority date | Publication date | Assignee | Title |
|---|---|---|---|---|
| WO2023012715A1 (en)* | 2021-08-05 | 2023-02-09 | Fortuna Beheer B.V. | Packaging |
| Publication number | Priority date | Publication date | Assignee | Title |
|---|---|---|---|---|
| CA952449A (en)* | 1970-02-23 | 1974-08-06 | George C. Wong | Container |
| DE3312176A1 (en)* | 1983-04-02 | 1984-10-04 | Heinrich C. 4300 Essen Kosmeier | Two-part container |
| US5060851A (en)* | 1988-09-26 | 1991-10-29 | Macmillan Bloedel Containers | Interlocking container for carry-out food products |
| Publication number | Priority date | Publication date | Assignee | Title |
|---|---|---|---|---|
| CA952449A (en)* | 1970-02-23 | 1974-08-06 | George C. Wong | Container |
| DE3312176A1 (en)* | 1983-04-02 | 1984-10-04 | Heinrich C. 4300 Essen Kosmeier | Two-part container |
| US5060851A (en)* | 1988-09-26 | 1991-10-29 | Macmillan Bloedel Containers | Interlocking container for carry-out food products |
| Publication number | Priority date | Publication date | Assignee | Title |
|---|---|---|---|---|
| WO2023012715A1 (en)* | 2021-08-05 | 2023-02-09 | Fortuna Beheer B.V. | Packaging |
| NL2028929B1 (en)* | 2021-08-05 | 2023-02-17 | Fortuna Beheer B V | Packaging |
| Publication | Publication Date | Title |
|---|---|---|
| DE2545411A1 (en) | TROUGH-LIKE, PREFERRED FOR EDIBLE FATS AND THE SAME PACKAGING | |
| EP0590442A1 (en) | Container for cosmetic products | |
| WO1994016973A1 (en) | Stable container, in particular garbage container | |
| DE8208599U1 (en) | Packaging container made of sheet metal sealed with a push-in lid | |
| EP0624523A1 (en) | Two-parts container | |
| DE2165676A1 (en) | CLOSED, STACKABLE TRANSPORT CONTAINER | |
| EP0292787A1 (en) | Stackable conical container with a strengthened wall | |
| DE3025751C2 (en) | ||
| DE2512014C3 (en) | Transport container made of pliable material | |
| DE4213697A1 (en) | Two part storage container with engaging edges - has upper and lower parts of opposing conicity fitting over each other halfway round each other | |
| EP1140644B1 (en) | Packing | |
| DE1145091B (en) | Packaging for objects made of glass with a circular cross-section | |
| DE69204750T2 (en) | Stackable bottle crate. | |
| DE19613040A1 (en) | Garbage container with a shelf | |
| DE29600285U1 (en) | Attachment part for rubbish bins, in particular for rubbish bins used in the household | |
| DE2531649B2 (en) | Floor tower for displaying goods | |
| DE2227311C3 (en) | Container made from flexible sheet material | |
| DE9313088U1 (en) | Jar with lid | |
| DE1962275C3 (en) | Plastic transport boxes | |
| DE2714036C3 (en) | Cup-shaped transport and storage container | |
| CH588239A5 (en) | Flat plastic holder with dividing ridge - has ridge joining edge by sharp curved portion fiared on outside | |
| DE1172184B (en) | Securing clip for a press-in lid of a container in the locked position | |
| EP0698566B1 (en) | Refuse receptacle with partition | |
| EP0247531A2 (en) | Plastic drinks crate | |
| EP3623685A1 (en) | Collapsible container |
| Date | Code | Title | Description |
|---|---|---|---|
| PUAI | Public reference made under article 153(3) epc to a published international application that has entered the european phase | Free format text:ORIGINAL CODE: 0009012 | |
| AK | Designated contracting states | Kind code of ref document:A1 Designated state(s):DE FR GB | |
| 18D | Application deemed to be withdrawn | Effective date:19950518 |