


Die Erfindung betrifft eine Patientenlagerungseinrichtung, aufweisend eine beweglich gegenüber einer Trägereinrichtung gelagerte Patientenliege und einen durch eine Steuereinrichtung ansteuerbaren Motor zum motorischen Verfahren der Patientenliege.The invention relates to a patient support device, comprising a patient couch which is movably mounted relative to a support device and a motor which can be controlled by a control device for the motorized movement of the patient couch.
Patientenlagerungseinrichtungen werden im medizinischen Bereich insbesondere für die medizinische Bildgebung und/oder für Untersuchungs- und/oder Behandlungsvorgänge, beispielsweise chirurgische Eingriffe, verwendet. Beispielsweise kann eine Patientenlagerungseinrichtung also einer Bildgebungseinrichtung zugeordnet sein, beispielsweise einer Computertomographieeinrichtung. Insbesondere bei einer Kopplung mit einer Bildgebungseinrichtung weisen Patientenlagerungseinrichtungen bekannter Art häufig wenigstens einen Motor zur motorischen Verstellung bzw. Verschiebung der Patientenliege gegenüber der Trägereinrichtung auf. So kann beispielsweise bei Betätigung geeigneter Bedienelemente einer Bedieneinrichtung ein automatisches Verfahren der Patientenliege und somit des darauf platzierten Patienten erfolgen, beispielsweise, um einen gewünschten Untersuchungsbereich im Isozentrum einer Bildgebungseinrichtung zu platzieren. Dem wenigstens einen Motor ist hierbei üblicherweise auch eine Bremseinrichtung bzw. ein sonstiges Arretierungsmittel zugeordnet, um eine angefahrene Position der Patientenliege auch bei äußeren Einwirkungen möglichst genau halten zu können.Patient storage devices are used in the medical field in particular for medical imaging and / or for examination and / or treatment procedures, for example surgical procedures. For example, a patient storage device can thus be assigned to an imaging device, for example a computed tomography device. In particular, in the case of a coupling with an imaging device, patient support devices of known type frequently have at least one motor for the motorized adjustment or displacement of the patient couch relative to the support device. Thus, for example, upon actuation of suitable operating elements of an operating device, an automatic movement of the patient bed and thus of the patient placed thereon can take place, for example in order to place a desired examination area in the isocenter of an imaging device. The at least one motor is hereby also usually associated with a braking device or other locking means in order to be able to hold a position of the patient couch as accurately as possible even with external influences.
In verschiedenen Situationen ist es gewünscht und zweckmäßig, auch manuell eine Verschiebung der Patientenliege bewirken zu können. Hierbei kann beispielsweise die Bremseinrichtung bzw. das sonstige Arretierungsmittel geöffnet werden, um einen ausgekoppelten Zustand einzunehmen, wobei eine manuelle Bewegung durch eine von einem Bediener ausgeübte manuelle Bedienkraft bei Belastung der Patientenliege durch einen Patienten nahezu unmöglich ist. Beispielsweise bei Untersuchungs- und/oder Behandlungsvorgängen, insbesondere Interventionen, ist eine leichtgängige, händische Bewegbarkeit der Patientenliege jedoch wünschenswert. Alle anderen bisherigen Bedienelemente, die beispielsweise zu einem Betrieb des wenigstens einen Motors führen, sind für derartige Anwendungen zu indirekt.In various situations, it is desirable and expedient to be able to manually shift the patient bed. In this case, for example, the braking device or the other locking means can be opened to take a decoupled state, wherein a manual movement by an operator exerted manual operating force when loading the patient bed by a patient is almost impossible. For example, in examination and / or treatment procedures, especially interventions, a smooth, maneuverability of the patient couch is desirable. All other previous control elements that lead, for example, to operation of the at least one motor are too indirect for such applications.
Der Erfindung liegt daher die Aufgabe zugrunde, eine demgegenüber verbesserte, insbesondere lastunabhängige und geringe Nachlaufwege zur Folge habende Möglichkeit zur motorischen Unterstützung eines Bedieners beim manuellen Positionieren einer Patientenliege anzugeben.The invention is therefore based on the object, on the other hand, an improved, in particular load-independent and low tracking paths entailing possibility for motor assistance of an operator when manually positioning a patient bed specified.
Zur Lösung dieser Aufgabe ist bei einer Patientenlagerungseinrichtung der eingangs genannten Art erfindungsgemäß vorgesehen, dass die Patientenlage ein durch die Bedienperson greifbares Bedienelement aufweist, welches wenigstens einen eine Bedienkraft und eine Bedienrichtung vermessenden Kraftsensor umfasst, und die Steuereinrichtung zur Ansteuerung des Motors in Abhängigkeit von von dem Kraftsensor gelieferten Kraftmesswerten ausgebildet ist.To solve this problem is provided according to the invention in a patient support device of the type mentioned that the patient position has a tangible by the operator control, which comprises at least one an operating force and an operating direction measuring force sensor, and the control device for controlling the motor in response to the Force sensor delivered force values is formed.
Erfindungsgemäß wird also vorgeschlagen, über ein externes, starres, durch eine Bedienperson greifbares, an der Patientenliege montiertes und/oder montierbares Bedienelement, beispielsweise einen Griff, unmittelbar eine Bedienkraft zu erfassen, welche zu einer entsprechenden Ansteuerung des wenigstens einen Motors führt, insbesondere, worauf noch näher eingegangen werden wird, durch eine Erzeugung eines modifizierten Fahrbefehls in der Steuereinrichtung. Der Steuerungsbetrieb, insbesondere der Fahrbefehl, passt sich dem Kraftaufwand und der Bewegung des Bedieners an. Dabei kann zweckmäßigerweise eine Mindestbedienkraft, beispielsweise von ca. 10 N, definiert werden, ab der ein Bedienwille erkannt wird. Die Steuereinrichtung, also der Motorcontroller, kann durch Hardware und/oder Software die Kraftmesswerte des Kraftsensors auswerten und weiter verarbeiten. Je nach Druck in die eine oder andere Richtung wird durch eine motorische Unterstützung die Patientenliege, welche auch als Tischplatte bezeichnet werden kann, bewegt.According to the invention, it is therefore proposed, via an external, rigid, by an operator tangible, mounted on the patient bed and / or mountable control element, such as a handle to detect directly an operator, which leads to a corresponding control of at least one motor, in particular, what will be discussed in more detail by generating a modified movement command in the control device. The control operation, in particular the drive command, adapts to the effort and movement of the operator. In this case, a minimum operating force, for example of approximately 10 N, can be expediently defined, from which an operating will is detected. The control device, that is to say the motor controller, can evaluate and further process the force measured values of the force sensor by hardware and / or software. Depending on the pressure in one direction or the other, the patient bed, which can also be referred to as a table top, is moved by motor support.
Aufgrund der motorisierten Bewegung sind so das Eigengewicht und das Patientengewicht kaum mehr spürbar. Sowohl eine Grobpositionierung als auch eine Feinpositionierung, insbesondere im Millimeterbereich, ist damit möglich. Dem Bediener wird das Gefühl einer „schwimmenden“ Tischplatte bereitgestellt, nachdem die motorische Anwendung kaum spürbar ist. Im Gegensatz zum in der
Selbstverständlich kann die vom Bediener über das Bedienelement ausgeübte Bedienkraft selbst auch zur Bewegung der Patientenliege beitragen, so dass in einem solchen Fall mithin die Steuereinrichtung zur Ansteuerung des Motors zur Unterstützung einer bedienerseitig aufgebrachten manuellen Bedienkraft ausgebildet ist. Auch im Allgemeinen entspricht das vom Motor erzeugte Ist-Drehmoment zweckmäßig in Stärke und Richtung der Bedienkraft.Of course, the force exerted by the operator on the control operator even contribute to the movement of the patient bed, so that in such a case, therefore, the control device is designed to control the motor to support a user-side applied manual operating force. In general, the actual torque generated by the engine is appropriate in terms of strength and direction of the operating force.
Das Bedienelement kann beispielsweise einen Griff, der für einen Bediener leicht zu greifen ist, aufweisen, in den der Kraftsensor integriert ist. Es sind jedoch auch Ausgestaltungen denkbar, in denen der Kraftsensor beispielsweise seitens der Patientenliege fest installiert ist, so dass letztlich der Griff des Bedienelements im Nutzungszustand den Kraftsensor zumindest kraftschlüssig kontaktiert. In einer solchen, weniger bevorzugten Ausgestaltung ist der Griff mithin beispielsweise auf den Kraftsensor aufsteckbar.The operating element may, for example, have a handle that is easy for an operator to grasp, in which the force sensor is integrated. However, embodiments are also conceivable in which the force sensor is permanently installed, for example, on the patient couch, so that ultimately the grip of the control element in the use state contacts the force sensor at least in a force-locking manner. In such a less preferred embodiment, the handle can therefore be plugged onto the force sensor, for example.
Mit besonderem Vorteil kann die Steuereinrichtung zur Berücksichtigung einer aktuellen Last auf der Patientenliege bei der Ansteuerung des Motors derart ausgebildet sein, dass gleiche Bedienkräfte zu gleichen Bewegungsgeschwindigkeiten führen. Ein durch den Motor erzeugtes Ist-Drehmoment wirkt entgegen von Reibungseffekten, beispielsweise der Eigenreibung der Patientenliege und des Patientengewichtes. Lässt sich, beispielsweise durch eine weitere Sensoreinrichtung, die aktuelle Last auf der Patientenliege abschätzen, welche einen Einfluss auf Reibungseffekte hat, kann beispielsweise eine Korrektur in der Steuereinrichtung umgesetzt werden, welche den üblichen Zusammenhang zwischen Bedienkraft und Drehmomentsollwert für den Motor zur Kompensation von Lastunterschieden modifiziert, so dass durch die vorliegende Erfindung eine tatsächlich lastunabhängige Bedienung mittels des Bedienelements umgesetzt werden kann. Das bedeutet, unabhängig von der Größe der Last auf der Patientenliege erfährt der Bediener eine gleiche Reaktion bei gleicher Krafteinwirkung.With particular advantage, the control device for taking into account a current load on the patient bed in the control of the motor may be designed such that the same operating forces lead to the same movement speeds. An actual torque generated by the engine counteracts frictional effects, such as the self-propulsion of the patient bed and the patient's weight. If it is possible, for example by means of a further sensor device, to estimate the current load on the patient couch, which has an influence on friction effects, a correction can be implemented in the control unit, for example, which modifies the usual relationship between operating force and torque setpoint for the motor for compensating load differentials so that an actual load-independent operation by means of the operating element can be implemented by the present invention. This means that regardless of the size of the load on the patient bed, the operator experiences the same reaction with the same force.
Geeignete, als Kraftsensor einsetzbare Kraftaufnehmer wurden im Stand der Technik bereits in vielfältiger Weise vorgeschlagen. Beispielsweise kann der Kraftsensor als ein Force-Touch-Sensor und/oder als Drucksensor und/oder als ein Piezosensor ausgebildet sein. Force-Touch-Sensoren wurden bereits für andersartige Bedieneinrichtungen vorgeschlagen und liefern nicht nur eine Information über eine Berührung (und gegebenenfalls deren Position), sondern zudem auch über die Berührkraft, hier die Bedienkraft. Force-Touch-Sensoren können beispielsweise folienartig verfügbar sein und so insbesondere um eine Oberfläche des Bedienelements, beispielsweise einen Griff des Bedienelements, gelegt werden. Neben Force-Touch-Sensoren können selbstverständlich zusätzlich oder alternativ auch andere Arten von Kraftsensoren eingesetzt werden, insbesondere Drucksensoren und/oder Piezosensoren.Suitable force sensors which can be used as force sensors have already been proposed in many ways in the prior art. For example, the force sensor can be designed as a force-touch sensor and / or as a pressure sensor and / or as a piezoelectric sensor. Force touch sensors have already been proposed for other types of control devices and not only provide information about a touch (and, where appropriate, their position), but also about the contact force, here the operator. For example, force-touch sensors can be available in the form of a foil and, in particular, can be placed around a surface of the operating element, for example a handle of the operating element. In addition to force-touch sensors, it is of course additionally or alternatively also possible to use other types of force sensors, in particular pressure sensors and / or piezosensors.
Dabei sei an dieser Stelle noch angemerkt, dass auch Ausgestaltungen denkbar sind, in denen beispielsweise unterschiedlichen Bewegungsrichtungen der Patientenliege unterschiedliche Motoren (Antriebe) zugeordnet sind, beispielsweise eine Längsverstellung und eine Höhen- und/oder Querverstellung, wobei das Bedienelement und seine Kraftsensorik ausgestaltet sein kann, unterschiedlichen Bewegungsrichtungen und somit Motoren zugeordnete Bedienrichtungen zu erkennen und zu unterscheiden, so dass aufgrund der entsprechend ermittelten Bedienrichtungsinformation die Steuereinrichtung einen anzusteuernden Motor anwählen kann. Bevorzugt wird das hier beschriebene manuelle Bedienkonzept jedoch für Verschiebungen der Patientenliege in der Längsrichtung angewendet.It should also be noted at this point that embodiments are conceivable in which, for example, different directions of movement of the patient bed different motors (drives) are assigned, for example, a longitudinal adjustment and a height and / or transverse adjustment, wherein the control element and its force sensor can be configured to recognize and differentiate directions of operation assigned to different directions of movement and thus motors, so that on the basis of the appropriately determined operating direction information the control device can select a motor to be controlled. However, the manual operating concept described here is preferably used for displacements of the patient bed in the longitudinal direction.
In einer besonders bevorzugten Ausgestaltung der vorliegenden Erfindung kann vorgesehen sein, dass das Bedienelement über Befestigungsmittel abnehmbar an der Patientenliege befestigbar ist. Dies ist insbesondere dann zweckmäßig, wenn beim üblichen Betrieb der Patientenlagerungseinrichtung andere Bedieneinrichtungen zur rein automatischen Verschiebung der Patientenliege eingesetzt werden, wie es beispielsweise bei Patientenlagerungseinrichtungen, die einer Bildgebungseinrichtung zugeordnet sind, üblich ist. In einem solchen Fall kann das Bedienelement problemlos von der Patientenliege abgenommen werden und beeinträchtigt so den Normalbetrieb nicht. In diesem Fall ist das Bedienelement mithin als eine Art „Addon“ für die Patientenlagerungseinrichtung zu verstehen. Die Befestigungsmittel können dabei unterschiedlich realisiert sein, beispielsweise eine Steckverbindung bereitstellen und/oder eine Schraubverbindung umfassen. Dabei hat sich gezeigt, dass in vielen Fällen ein Aufstecken in eine entsprechende Einstecköffnung bereits ausreichend sein kann und auch hinreichend einfach durch einen Bediener durchzuführen ist, nachdem die mittels des Kraftsensors zu vermessenden Bedienrichtungen üblicherweise senkrecht zu der entsprechenden Aufsteckrichtung liegen.In a particularly preferred embodiment of the present invention can be provided that the operating element via fasteners detachably attached to the patient bed. This is particularly expedient if, during normal operation of the patient positioning device, other operating devices are used for purely automatic displacement of the patient couch, as is customary, for example, in patient positioning devices which are assigned to an imaging device. In such a case, the control can be easily removed from the patient bed and so does not interfere with normal operation. In this case, the operating element is therefore to be understood as a kind of "addon" for the patient support device. The fastening means can be realized differently, for example, provide a plug connection and / or comprise a screw connection. It has been found that in many cases, plugging into a corresponding insertion opening can already be sufficient and is also sufficiently simple to perform by an operator after the operating directions to be measured by means of the force sensor are usually perpendicular to the corresponding slip-on direction.
Die Befestigungsmittel können ferner zur Herstellung einer elektrischen Verbindung und/oder einer Datenverbindung zwischen einer bedienelementseitigen Anschlusseinrichtung und einer patientenliegenseitigen Anschlusseinrichtung beim Befestigen des Bedienelements ausgebildet sein. Das bedeutet, eine elektrische Energieversorgung und/oder eine Datenverbindung zu der Steuereinrichtung kann in einer ersten Ausgestaltung über die Patientenliege erfolgen, wozu sowohl die Patientenliege als auch das Bedienelement eine entsprechende Anschlusseinrichtung aufweisen, wobei die Verbindung, insbesondere also ein elektrischer Kontakt zwischen entsprechenden Anschlusskontakten der einzelnen Anschlusseinrichtungen, bevorzugt beim Montieren des Bedienelements automatisch hergestellt wird. Entsprechende Konzepte sind im Stand der Technik bereits bekannt. Eine entsprechende elektrische Verbindung und/oder Datenverbindung von der Patientenliege zu der Trägereinrichtung kann beispielsweise über wenigstens einen Schleifkontakt und/oder ein entsprechend innerhalb der Patientenlagerungseinrichtung geführtes, gegebenenfalls verlängerbares Kabel gegeben sein.The fastening means may also be designed to produce an electrical connection and / or a data connection between a control-element-side connection device and a patient-connection-side connection device when fastening the operating element. This means that an electrical power supply and / or a data connection to the control device can in a first embodiment via the Patient couch carried out, including both the patient bed and the control element have a corresponding connection device, wherein the connection, in particular an electrical contact between corresponding terminal contacts of the individual connection devices, is preferably made automatically when mounting the control element. Corresponding concepts are already known in the prior art. A corresponding electrical connection and / or data connection from the patient bed to the support device can be provided, for example, via at least one sliding contact and / or a cable which may be extended accordingly within the patient support device.
In einer alternativen zweiten Ausgestaltung kann vorgesehen sein, dass das Bedienelement, insbesondere ein Griff des Bedienelements, ein Anschlussmittel oder einen Steckanschluss für ein Anschlussmittel aufweist, wobei das Anschlussmittel zur Herstellung einer elektrischen und/oder Daten-Verbindung mit einem entsprechenden Steckanschluss der Trägereinrichtung verbindbar ist. Beispielsweise kann das Anschlussmittel ein Spiralkabel aufweisen, um entsprechende Unterschiede im Abstand zwischen dem bedienelementseitigen Steckanschluss und dem trägereinrichtungsseitigen Steckanschluss zu kompensieren. Das Anschlussmittel kann also insbesondere in entsprechenden Steckanschlüssen einsteckbare Anschlussstecker und ein diese verbindendes Kabel aufweisen.In an alternative second embodiment it can be provided that the operating element, in particular a handle of the operating element, has a connection means or a plug connection for a connection means, wherein the connection means can be connected to a corresponding plug connection of the carrier device in order to produce an electrical and / or data connection , For example, the connection means may comprise a spiral cable in order to compensate for corresponding differences in the distance between the user-side plug-in connection and the carrier-side plug-in connection. The connection means may therefore have plug-in connection plugs and a cable connecting them, in particular in corresponding plug connections.
In vorteilhafter Weiterbildung der Erfindung kann vorgesehen sein, dass die Befestigungsmittel eine eine vollständige, korrekte Befestigung detektierende Detektionseinrichtung aufweisen, wobei eine Ansteuerung des Motors aufgrund des Kraftmesswertes nur bei einem eine vollständige, korrekte Befestigung des Bedienelements anzeigenden Signal der Detektionseinrichtung erfolgt. Mit besonderem Vorteil kann die Detektionseinrichtung dabei Teil der bedienelementseitigen Anschlusseinrichtung und/oder patientenliegenseitigen Anschlusseinrichtung, so vorgesehen, sein. Beispielsweise kann ein korrektes Befestigen beim Herstellen der entsprechenden elektrischen und/oder Daten-Kontakte festgestellt werden. Auch andere Umsetzungen solcher Detektionseinrichtungen, insbesondere unabhängig vom Vorhandensein von Anschlusseinrichtungen, sind selbstverständlich denkbar, beispielsweise die Detektion eines einrastenden Elements bei vollständig eingestecktem oder angeschraubtem Bedienelement, die Herstellung eines sonstigen elektrisch leitenden Kontaktes nur bei korrekt befestigtem Bedienelement und dergleichen. Zweckmäßig kann es im Übrigen auch sein, wenn das Bedienelement ein Anzeigemittel zur Anzeige einer vollständigen, korrekten, Befestigung aufgrund des Signals der Detektionseinrichtung aufweist. Beispielsweise kann eine LED oder dergleichen verwendet werden. Somit kann einem Bediener unmittelbar vermittelt werden, dass eine korrekte, vollständige Befestigung des Bedienelements erfolgt ist.In an advantageous embodiment of the invention can be provided that the fastening means have a complete, correct attachment detecting detection device, wherein a control of the motor due to the force value only at a full, correct attachment of the control element indicating signal of the detection device. In this case, the detection device may be part of the operator-control-device-side connection device and / or patient-connection device, thus provided. For example, a correct fastening can be determined when producing the corresponding electrical and / or data contacts. Other implementations of such detection devices, in particular independent of the presence of connection devices, are of course conceivable, for example, the detection of a latching element with fully inserted or screwed control, the production of other electrically conductive contact only with correctly attached control element and the like. By the way, it can also be expedient if the operating element has a display means for indicating a complete, correct fastening on the basis of the signal of the detection device. For example, an LED or the like may be used. Thus, an operator can be instantly conveyed that a correct, complete attachment of the operating element has taken place.
In bevorzugter Ausgestaltung der vorliegenden Erfindung kann vorgesehen sein, dass mehrere Befestigungsmittel aufweisende Befestigungspositionen an der Patientenliege vorgesehen sind. Auf diese Weise besteht für einen Bediener die Möglichkeit, eine für ihn in der aktuellen Konfiguration geeignete Befestigungsposition auszuwählen und das Bedienelement dort anzubringen. Eine derartige Ausgestaltung ist insbesondere bei auch als Operationstisch zu nutzenden Patientenlagerungseinrichtungen zweckmäßig, da im Umfeld eines chirurgischen Eingriffs, gegebenenfalls auch bereits bei einer komplizierteren Untersuchung, Raum um die Patientenlagerungseinrichtung von anderen Geräten und/oder Personen belegt sein kann, so dass sich je nach Konfiguration unterschiedliche Befestigungspositionen anbieten. In einer beispielhaften Ausgestaltung mit Bedienelementen für die Längsverschiebung der Patientenliege kann vorgesehen sein, dass auf jeder sich in Längsrichtung erstreckenden seitlichen Oberfläche der Patientenliege drei Befestigungspositionen mit Befestigungsmitteln vorgesehen sind, beispielsweise je Seite je eine zu den Enden der Patientenliege hin und eine mittig.In a preferred embodiment of the present invention can be provided that a plurality of fastening means having mounting positions are provided on the patient bed. In this way, it is possible for an operator to select a suitable mounting position for him in the current configuration and to attach the operating element there. Such a configuration is particularly useful in patients also to be used as an operating table storage facilities, as may be occupied in the environment of a surgical procedure, possibly even in a more complicated investigation, space around the patient support device of other devices and / or people, so depending on the configuration offer different mounting positions. In an exemplary embodiment with controls for the longitudinal displacement of the patient bed can be provided that are provided on each longitudinally extending side surface of the patient bed three mounting positions with fastening means, for example, each side to the ends of the patient bed down and a center.
Das im Fall der Abmontierbarkeit Zusatzzubehör darstellende Bedienelement ist gegebenenfalls auf eine bestimmte Art und Weise gestaltet, so dass insbesondere Bedienrichtungen (im Fall der Längsverschiebung beispielsweise nach vorne/nach hinten) bei Montage an einer Seite der Patientenliege eine bestimmte Bedeutung haben, die sich jedoch bei Montage am gleich ausgebildeten Befestigungsmittel auf der gegenüberliegenden Seite gerade „umdrehen“ kann. Im Hinblick auf diese Problematik sind im Rahmen der vorliegenden Erfindung drei verschiedene Lösungen denkbar. In einer besonders einfach umsetzbaren Variante, in der zusätzlicher Aufwand bezüglich der Befestigungsmittel und/oder der Steuereinrichtung vermieden wird, kann vorgesehen sein, dass die Patientenlagerungseinrichtung für unterschiedlichen Tischseiten zugeordnete Befestigungspositionen unterschiedliche Bedienelemente aufweist. Das bedeutet, es sind beispielsweise Bedienelemente für die rechte und für die linke Seite der Patientenliege vorgesehen und entsprechend markiert, so dass das korrekte Bedienelement zur manuellen Verschiebung der Patientenliege ausgewählt werden kann.The in the case of demountability additional accessories performing control is optionally designed in a certain way, so that in particular operating directions (in the case of longitudinal displacement, for example, forward / backward) when mounted on one side of the patient bed have a specific meaning, however, at Mounting on the same fastener on the opposite side just "turn around" can. With regard to this problem, three different solutions are conceivable within the scope of the present invention. In a particularly simple variant, in which additional effort is avoided with respect to the fastening means and / or the control device, it can be provided that the patient positioning device has different operating elements for fastening positions assigned to different table sides. This means, for example, controls for the right and for the left side of the patient bed are provided and marked accordingly, so that the correct operating element can be selected for the manual displacement of the patient bed.
In einer anderen Ausgestaltung können die Bedienelemente für verschiedene Seiten der Patientenliege auch gleich ausgebildet sein, wobei allerdings die Steuereinrichtung gegebenenfalls in der Lage ist, die verwendete Anschlussmöglichkeit zu erkennen, beispielsweise welche liegenseitige Anschlusseinrichtung verwendet wurde, so dass die Kraftmesswerte korrekt interpretiert werden können, beispielsweise je nachdem, über welche Leitung die Kraftmesswerte entgegengenommen wurden.In another embodiment, the controls for different sides of the patient bed can also be designed the same, although the control device is possibly in a position to the connection option used recognize, for example, which side-side connection device was used, so that the force measurements can be interpreted correctly, for example, depending on which line the force measurements were received.
Denkbar ist es ferner auch, Unterschiede an den Befestigungsmitteln vorzusehen, die beispielsweise eine Befestigung des für beide Liegenseiten verwendbaren Bedienelements so erzwingen, dass für jede Liegenseite eine unterschiedliche, insbesondere entgegengesetzte, Orientierung resultiert, so dass mithin Bedienrichtungen immer direkt erkannt werden. Beispielsweise können unterschiedliche Endpositionen einer Schraubbewegung/unterschiedliche Schraubrichtungen der Befestigungsmittel vorhanden sein und/oder beim Einstecken Formen, beispielsweise nach dem Poka-Yoke-Prinzip, umgekehrt orientiert sein.Furthermore, it is also conceivable to provide differences in the fastening means which force, for example, an attachment of the control element which can be used for both side surfaces so that a different, in particular opposite, orientation results for each side of the couch, so that operating directions are always recognized directly. For example, different end positions of a screwing / different screwing directions of the fastening means may be present and / or shapes may be reversely oriented during insertion, for example according to the poka-yoke principle.
In konkreter Ausgestaltung der vorliegenden Erfindung kann, wie bereits angedeutet, vorgesehen sein, dass die Steuereinrichtung zur Ermittlung eines Drehmomentsollwerts für den Motor aus dem Kraftmesswert und zur insbesondere stufenweisen Anpassung der Drehmomentistwerts auf den Drehmomentsollwert ausgebildet ist. Beispielsweise kann vorgesehen sein, dass der Kraftmesswert, beispielsweise als eingelesener Analogwert des Kraftsensors, proportional zum ausgegebenen Drehmomentsollwert für den Patientenliegenantrieb, also den Motor, ist, wobei in die hier beschriebene Proportionalität gegebenenfalls noch ein Korrekturfaktor oder dergleichen eingehen kann, wenn beispielsweise eine aktuelle Last auf der Patientenliege berücksichtigt werden soll. Bevorzugt wird der Drehmomentistwert stufenweise erhöht bzw. reduziert, bis dieser den berechneten Drehmomentsollwert erreicht hat. Denkbar ist es jedoch auch, anderweitig die Geschwindigkeit, mit der der Drehmomentsollwert erreicht wird, einzuschränken. Hierdurch wird erreicht, dass keine ruckartigen Bewegungsänderungen auftreten, sondern immer eine beim Umgang mit Patienten ohnehin nützliche langsame Bewegungsänderung erfolgt, so dass durch entsprechende Anpassungen der Bedienkraft seitens des Bedieners gut reagiert werden kann und gegebenenfalls angepasst werden kann, so dass es im Rahmen der vorliegenden Erfindung auch besonders vorteilhaft ist, wenn die Steuereinrichtung zur Aktualisierung des Drehmomentsollwerts bei jeder Aktualisierung des Kraftmesswerts ausgebildet ist. In derartigen Ausgestaltungen, also der ständigen Nachführung des Drehmomentsollwerts und bei begrenzter Geschwindigkeit der Änderung des Drehmomentistwerts ergibt sich eine hochgenaue Positionierungsmöglichkeit für die Patientenliege.In a concrete embodiment of the present invention can, as already indicated, be provided that the control device is designed to determine a torque setpoint for the engine from the force measurement and, in particular stepwise adjustment of the torque actual value to the torque setpoint. For example, it may be provided that the force measurement value, for example as a read analog value of the force sensor, is proportional to the output torque setpoint for the patient table drive, ie the motor, whereby a correction factor or the like may possibly enter into the proportionality described here, if, for example, a current load should be considered on the patient bed. The torque actual value is preferably increased or reduced stepwise until it has reached the calculated torque setpoint. However, it is also conceivable otherwise to limit the speed at which the torque setpoint is reached. This ensures that no jerky movement changes occur, but always a useful when handling patients slow motion change is done so that can be well responded by appropriate adjustments of the operator by the operator and can be adjusted if necessary, so that it is within the present Invention is also particularly advantageous if the control device is designed to update the torque setpoint each time the force measurement value is updated. In such embodiments, ie the constant tracking of the torque setpoint and limited speed of the change of the actual torque value results in a highly accurate positioning option for the patient bed.
In diesem Kontext ist es auch allgemein äußerst vorteilhaft, wenn die Steuereinrichtung zur Umsetzung eines Abbremsens der Patientenliege durch Ansetzen eines nicht zur Überwindung einer Reibungskraft ausreichenden Drehmomentsollwerts ausgebildet ist. Auf diese Weise sind feine Bewegungen und ein selbstständiges Abbremsen der Patientenliege möglich, da die Eigenreibung der Patientenliege nach kurzer Zeit überwiegt und die Patientenliege zum Stillstand kommt.In this context, it is also generally extremely advantageous if the control device is designed to implement a deceleration of the patient couch by applying a torque setpoint not sufficient to overcome a frictional force. In this way, fine movements and an independent braking of the patient bed are possible, since the friction of the patient bed outweighs after a short time and the patient bed comes to a standstill.
Eine besonders zweckmäßige Weiterbildung der vorliegenden Erfindung sieht vor, dass die auch automatisierte Fahrbefehle umsetzende Steuereinrichtung zur Interpretation einer aufgebrachten manuellen Bedienkraft als ein Fahrbefehl in die Bedienrichtung der Bedienkraft ausgebildet ist, wobei bei einem durch die Kraftmesswerte angezeigten Bedienrichtungswechsel ein Zurücksetzen der Steuereinrichtung zumindest bezüglich des Fahrbefehls erfolgt. Mit anderen Worten wird durch den Kraftsensor auch die Bedienrichtung, mithin Fahrtrichtung der Patientenliege, detektiert und insbesondere in der Steuereinrichtung gespeichert. Bei einer Richtungsumkehr wird die bestehende Regelabweichung des Drehmomentsollwerts durch ein kurzes Abschalten der Regelung zurückgesetzt, um auch schnelle Richtungsänderungen zu ermöglichen. Das bedeutet mit anderen Worten im Allgemeinen, dass bei der oben beschriebenen eingeschränkten Änderungsgeschwindigkeit des Drehmomentistwerts im Hinblick auf den Drehmomentsollwert bei einer Umkehrung der Bedienrichtung eine verbliebene Abweichung des Drehmomentistwerts vom Drehmomentsollwert verworfen wird, wobei gegebenenfalls auch ein Setzen des ausgegebenen Drehmoments des Motors auf Null erfolgen kann, um einen besonders schnellen Wechsel der Bewegungsrichtung zu ermöglichen.A particularly expedient development of the present invention provides that the also automated driving commands implementing control device for interpreting an applied manual operating force is designed as a movement command in the operating direction of the operating force, wherein at a displayed by the force measurement values operating direction change a reset of the control device at least with respect to the movement command he follows. In other words, the operating direction, thus the direction of travel of the patient bed, is detected by the force sensor and in particular stored in the control device. In the case of a reversal of direction, the existing control deviation of the torque setpoint is reset by briefly switching off the control, in order to enable rapid changes of direction as well. In other words, in general terms, in the above-described limited rate of change of the torque actual value with respect to the torque setpoint upon reversal of the operating direction, a remaining deviation of the torque actual value from the torque setpoint is discarded, possibly also setting the output torque of the motor to zero can to allow a particularly fast change of direction of movement.
Gerade im Kontext mit Fahrbefehlen wird durch die hier beschriebene Ausgestaltung auch ein Schleppfehler vermieden, nachdem Fahrbefehle insbesondere als „fahre bis zum Ende, also in eine Endposition, durch“ interpretiert werden.Especially in the context of movement commands, a following error is avoided by the embodiment described here after driving commands are interpreted in particular as "drive to the end, ie into an end position, through".
Dabei sei an dieser Stelle noch angemerkt, dass zur konkreten Umsetzung von Drehmomentsollwerten und Drehmomentistwerten innerhalb der Steuereinrichtung auch mit Prozentwerten gearbeitet werden kann. Beispielsweise kann der Motor ein (maximales) Nennmoment aufweisen, wobei der Drehmomentsollwert, der Drehmomentistwert sowie eine Drehmomentänderung als prozentuelle Angabe des Nennmoments verwendet werden können. Zur stufenweisen Erhöhung bzw. Erniedrigung des Drehmomentistwerts kann dabei eine Stufenhöhe von 1 % pro Zyklus angesetzt werden. Beträgt also beispielsweise der Drehmomentistwert 40 %, kann in einer Ausgestaltung der vorliegenden Erfindung bei einem aus dem aktuellen Kraftmesswert abgeleiteten Drehmomentsollwert von 70 % in jedem Zyklus eine Erhöhung von 1 % bis hin zu 70 % erfolgen, es sei denn, der Kraftmesswert ändert sich und ein neuer, unmittelbar anzuwendender Drehmomentsollwert wird ermittelt.It should also be noted at this point that it is also possible to work with percentage values for the concrete implementation of torque setpoints and torque actual values within the control device. For example, the engine may have a (maximum) rated torque, wherein the torque setpoint, the torque actual value and a torque change can be used as a percentage of the rated torque. For stepwise increase or decrease of the actual torque value, a step height of 1% per cycle can be used. Thus, for example, if the torque actual value is 40%, in one embodiment of the present invention, an increase of 1% to as much as 70% may be made in each cycle at a torque command of 70% derived from the current force reading, unless the force reading changes and a new, directly applicable torque setpoint is determined.
In einer zweckmäßigen Weiterbildung der vorliegenden Erfindung kann vorgesehen sein, dass das Bedienelement ferner ein Auslöse-Bedienmittel, insbesondere einen Auslöseknopf, zum Aktivieren und Deaktivieren der manuellen Bedienbarkeit über den Kraftsensor aufweist. Über einen derartigen Auslöseknopf kann beispielsweise eine dem Motor zugeordnete Arretiereinrichtung bzw. Bremseinrichtung gelöst werden und die Steuereinrichtung kann in einen manuellen Bedienmodus versetzt werden. Nur dann ist eine manuelle Bedienung über das Bedienelement mit dem Kraftsensor möglich.In an expedient development of the present invention, it can be provided that the operating element further has a triggering operating means, in particular a trigger button, for activating and deactivating the manual operability via the force sensor. About such a trigger button, for example, a motor associated locking or braking device can be solved and the controller can be placed in a manual operating mode. Only then is manual operation possible via the operating element with the force sensor.
Im Rahmen der vorliegenden Erfindung ist auch ein Verfahren zur Unterstützung der manuellen Bedienung einer Patientenliege einer Patientenlagerungseinrichtung der erfindungsgemäßen Art denkbar, wobei der Motor in Abhängigkeit der von dem Kraftsensor gelieferten Kraftmesswerte angesteuert wird. Auch für ein solches Verfahren würden die beschriebenen Ausgestaltungen selbstverständlich weiter gelten.In the context of the present invention, a method for supporting the manual operation of a patient couch of a patient support device of the type according to the invention is also conceivable, the motor being actuated as a function of the force measured values supplied by the force sensor. Of course, the described embodiments would also continue to apply to such a method.
Wie bereits erwähnt, ist auch die Zugehörigkeit der Patientenlagerungseinrichtung zu einer medizinischen Bildgebungseinrichtung möglich. Es ist somit eine medizinische Bildgebungseinrichtung denkbar, die eine Patientenlagerungseinrichtung der erfindungsgemäßen Art aufweist. Bei einer solchen Bildgebungseinrichtung kann es sich insbesondere um eine Computertomographieeinrichtung handeln.As already mentioned, the affiliation of the patient positioning device to a medical imaging device is also possible. Thus, a medical imaging device is conceivable which has a patient support device of the type according to the invention. Such an imaging device may in particular be a computed tomography device.
Weitere Vorteile und Einzelheiten der vorliegenden Erfindung ergeben sich aus den im Folgenden beschriebenen Ausführungsbeispielen sowie anhand der Zeichnungen. Dabei zeigen:
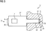
Konkret kann das Bedienelement
Vorliegend, wie in
Es sei angemerkt, dass die Patientenliege
Es sei an dieser Stelle ferner noch angemerkt, dass an den Befestigungsmitteln
Anhand der Kraftmesswerte des Kraftsensors
Es sei an dieser Stelle noch angemerkt, dass durch eine weitere Sensoreinrichtung
Im Ausführungsbeispiel gemäß den
Ein Beispiel zeigt die Prinzipskizze der
Obwohl die Erfindung im Detail durch das bevorzugte Ausführungsbeispiel näher illustriert und beschrieben wurde, so ist die Erfindung nicht durch die offenbarten Beispiele eingeschränkt und andere Variationen können vom Fachmann hieraus abgeleitet werden, ohne den Schutzumfang der Erfindung zu verlassen.Although the invention has been further illustrated and described in detail by the preferred embodiment, the invention is not limited by the disclosed examples, and other variations can be derived therefrom by those skilled in the art without departing from the scope of the invention.
ZITATE ENTHALTEN IN DER BESCHREIBUNG QUOTES INCLUDE IN THE DESCRIPTION
Diese Liste der vom Anmelder aufgeführten Dokumente wurde automatisiert erzeugt und ist ausschließlich zur besseren Information des Lesers aufgenommen. Die Liste ist nicht Bestandteil der deutschen Patent- bzw. Gebrauchsmusteranmeldung. Das DPMA übernimmt keinerlei Haftung für etwaige Fehler oder Auslassungen.This list of the documents listed by the applicant has been generated automatically and is included solely for the better information of the reader. The list is not part of the German patent or utility model application. The DPMA assumes no liability for any errors or omissions.
Zitierte PatentliteraturCited patent literature
| Application Number | Priority Date | Filing Date | Title | 
|---|---|---|---|
| DE202018005507.7UDE202018005507U1 (en) | 2018-11-28 | 2018-11-28 | Patient positioning device | 
| CN201922076275.4UCN212382631U (en) | 2018-11-28 | 2019-11-27 | Patient support device | 
| Application Number | Priority Date | Filing Date | Title | 
|---|---|---|---|
| DE202018005507.7UDE202018005507U1 (en) | 2018-11-28 | 2018-11-28 | Patient positioning device | 
| Publication Number | Publication Date | 
|---|---|
| DE202018005507U1true DE202018005507U1 (en) | 2019-01-17 | 
| Application Number | Title | Priority Date | Filing Date | 
|---|---|---|---|
| DE202018005507.7UActiveDE202018005507U1 (en) | 2018-11-28 | 2018-11-28 | Patient positioning device | 
| Country | Link | 
|---|---|
| CN (1) | CN212382631U (en) | 
| DE (1) | DE202018005507U1 (en) | 
| Publication number | Priority date | Publication date | Assignee | Title | 
|---|---|---|---|---|
| DE102021210847A1 (en) | 2021-09-28 | 2023-03-30 | Siemens Healthcare Gmbh | Controlling a patient table movement | 
| DE102023211690A1 (en)* | 2023-11-23 | 2025-05-28 | Siemens Healthineers Ag | User-guided semi-automatic navigation of a mobile medical device | 
| Publication number | Priority date | Publication date | Assignee | Title | 
|---|---|---|---|---|
| CN113274227B (en)* | 2021-04-07 | 2023-02-24 | 上海联影医疗科技股份有限公司 | Examination bed power-assisted system and control method thereof | 
| DE102021210092A1 (en)* | 2021-09-13 | 2023-03-16 | Siemens Healthcare Gmbh | Dynamic correction of traversing direction dependent offsets | 
| DE102021210095A1 (en)* | 2021-09-13 | 2023-03-16 | Siemens Healthcare Gmbh | State-dependent support of a movement caused by muscle power | 
| Publication number | Priority date | Publication date | Assignee | Title | 
|---|---|---|---|---|
| DE102006051881A1 (en) | 2006-10-31 | 2008-05-08 | Siemens Ag | patient positioning | 
| Publication number | Priority date | Publication date | Assignee | Title | 
|---|---|---|---|---|
| DE102006051881A1 (en) | 2006-10-31 | 2008-05-08 | Siemens Ag | patient positioning | 
| Publication number | Priority date | Publication date | Assignee | Title | 
|---|---|---|---|---|
| DE102021210847A1 (en) | 2021-09-28 | 2023-03-30 | Siemens Healthcare Gmbh | Controlling a patient table movement | 
| DE102023211690A1 (en)* | 2023-11-23 | 2025-05-28 | Siemens Healthineers Ag | User-guided semi-automatic navigation of a mobile medical device | 
| DE102023211690B4 (en)* | 2023-11-23 | 2025-06-12 | Siemens Healthineers Ag | User-guided semi-automatic navigation of a mobile medical device | 
| Publication number | Publication date | 
|---|---|
| CN212382631U (en) | 2021-01-22 | 
| Publication | Publication Date | Title | 
|---|---|---|
| DE202018005507U1 (en) | Patient positioning device | |
| DE102018202582A1 (en) | dare | |
| EP3217909A1 (en) | Intelligent holding arm for head surgery with touch-sensitive operation | |
| AT503998A1 (en) | METHOD FOR DRIVING A MOVABLE FURNITURE PART | |
| DE19732467A1 (en) | Hospital trolley and table system for patients | |
| DE102014207020A1 (en) | Method for positioning at least one local coil for recording magnetic resonance data with a magnetic resonance device and magnetic resonance system | |
| DE202016007430U1 (en) | Patient transport device for a magnetic resonance device and magnetic resonance system | |
| EP2923640A1 (en) | Medical inspection device | |
| DE2746016A1 (en) | SERVO-CONTROLLED DRIVE WITH A DEVICE RESPONDING TO THE VOLTAGE LOAD | |
| DE102008023573A1 (en) | Leg movement splint for repetitive movement of the knee and hip joint with assistance function during active use | |
| DE102012106755A1 (en) | endoscope | |
| DE102009054367A1 (en) | Endoscope with flexible endoscope shaft | |
| DE112021000010T5 (en) | Control device and control method for the tension of the guide wire of a robot for interventional surgery | |
| DE102012220667A1 (en) | Operating unit for a medical device | |
| EP1694162A1 (en) | Displaceable piece of furniture | |
| DE102014016824A1 (en) | Intelligent holding arm for head surgery with touch-sensitive operation | |
| EP2764817B1 (en) | Endoscopic instrument | |
| DE112021000009T5 (en) | Force feedback device and method for a robotic guidewire for interventional surgery | |
| DE69003399T2 (en) | X-ray examination device. | |
| EP1139871A1 (en) | Device and method for measuring the periphery of a body | |
| DE102011013913B3 (en) | Electrical connector combination for charging electric vehicle, actuates manual insertion and manual release of plug into and from receptacle, such that plug which drives motor is inserted into receptacle | |
| DE102004050385B4 (en) | patient table | |
| AT507805B1 (en) | TRIP DETECTION SENSOR FOR A FURNITURE DRIVE | |
| DE102013210537B4 (en) | Mobile patient bed | |
| DE10347733B4 (en) | Motorized X-ray device | 
| Date | Code | Title | Description | 
|---|---|---|---|
| R207 | Utility model specification | ||
| R150 | Utility model maintained after payment of first maintenance fee after three years | ||
| R081 | Change of applicant/patentee | Owner name:SIEMENS HEALTHINEERS AG, DE Free format text:FORMER OWNER: SIEMENS HEALTHCARE GMBH, MUENCHEN, DE | |
| R151 | Utility model maintained after payment of second maintenance fee after six years |