



Gebiet der ErfindungField of invention
Die Erfindung betrifft eine medizinische Vorrichtung zum Nachweis mindestens eines Analyten in einer Körperflüssigkeit. Die Vorrichtung gemäß der vorliegenden Erfindung kann hauptsächlich zur Langzeitüberwachung einer Analytkonzentration in einer Körperflüssigkeit verwendet werden, etwa zur Langzeitüberwachung eines Blutzuckerspiegels oder der Konzentration von ein oder mehreren anderen Arten von Analyten in einer Körperflüssigkeit. Die Erfindung kann sowohl auf dem Gebiet der häuslichen Pflege als auch auf dem Gebiet der professionellen Pflege verwendet werden, etwa in Krankenhäusern. Andere Anwendungen sind möglich.The invention relates to a medical device for detecting at least one analyte in a body fluid. The device according to the present invention can be used primarily for long-term monitoring of an analyte concentration in a body fluid, such as long-term monitoring of a blood sugar level or the concentration of one or more other types of analytes in a body fluid. The invention can be used in the field of home care as well as in the field of professional care, such as in hospitals. Other applications are possible.
Einschlägiger Stand der TechnikRelevant state of the art
Die Überwachung bestimmter Körperfunktionen, insbesondere die Überwachung einer oder mehrerer Konzentrationen bestimmter Analyten, spielt bei der Prävention und Behandlung verschiedener Krankheiten eine wichtige Rolle. Ohne weitere mögliche Anwendungen einzuschränken wird die Erfindung im folgenden Text mit Bezug auf Blutzuckerüberwachung beschrieben. Zusätzlich oder alternativ kann die Erfindung aber auch auf andere Arten von Analyten angewendet werden.Monitoring certain body functions, particularly monitoring one or more concentrations of certain analytes, plays an important role in the prevention and treatment of various diseases. Without limiting further possible applications, the invention is described in the following text with reference to blood sugar monitoring. Additionally or alternatively, the invention can also be applied to other types of analytes.
Neben der Verwendung optischer Messungen kann die Blutzuckerüberwachung insbesondere unter Verwendung elektrochemischer Biosensoren durchgeführt werden. Beispiele elektrochemischer Biosensoren für die Glukosemessung, insbesondere in Blut oder anderen Körperflüssigkeiten, sind aus
Zusätzlich zu den sogenannten Punktmessungen, bei denen eine Probe einer Körperflüssigkeit auf gezielte Weise einem Benutzer entnommen und im Hinblick auf die Analytkonzentration untersucht wird, setzen sich immer mehr kontinuierliche Messungen durch. In der jüngsten Vergangenheit wurde folglich beispielsweise die kontinuierliche Glukosemessung in interstitiellem Gewebe (auch als kontinuierliche Überwachung, CM, bezeichnet) als anderes wichtiges Verfahren für das Management, die Überwachung und die Kontrolle eines Diabeteszustands etabliert.In addition to so-called point measurements, in which a sample of body fluid is specifically taken from a user and examined with regard to the analyte concentration, continuous measurements are becoming increasingly common. Consequently, in the recent past, for example, continuous glucose measurement in interstitial tissue (also referred to as continuous monitoring, CM) has been established as another important method for the management, monitoring and control of a diabetic condition.
In dem Verfahren wird die aktive Sensorregion direkt an die Messstelle angelegt, die sich im Allgemeinen im interstitiellen Gewebe befindet, und sie wandelt beispielsweise Glukose unter Verwendung eines Enzyms (z. B. Glukoseoxidase, GOD) in elektrische Ladung um, wobei die Ladung mit der Glukosekonzentration in Zusammenhang steht und als eine Messvariable verwendet werden kann. Beispiele solcher transkutaner Messsysteme sind in
Die aktuellen kontinuierlichen Überwachungssysteme sind folglich typischerweise transkutane Systeme oder subkutane Systeme, wobei beide Begriffe im folgenden Text äquivalent verwendet werden. Dies bedeutet, dass der tatsächliche Sensor oder mindestens ein Messabschnitt des Sensors unter der Haut des Benutzers angeordnet ist. Ein Evaluierungs- und Steuerteil des Systems (auch als Pflaster bezeichnet) befindet sich jedoch im Allgemeinen außerhalb des Körpers des Benutzers, außerhalb des menschlichen oder tierischen Körpers. Im Verfahren wird der Sensor im Allgemeinen mittels eines Einführinstruments angebracht, das ebenfalls beispielhaft in
Der Sensor umfasst typischerweise ein Substrat, wie etwa ein flaches Substrat, auf das ein elektrisch leitendes Muster von Elektroden, leitfähigen Bahnen und Kontaktpads angebracht werden kann. Bei der Benutzung werden die leitfähigen Bahnen typischerweise unter Verwendung von ein oder mehr elektrisch isolierenden Materialien isoliert. Das elektrisch isolierende Material dient typischerweise ferner auch als ein Schutz vor Feuchtigkeit und anderen schädlichen Substanzen, und es kann beispielsweise ein oder mehr Abdeckschichten, wie Fotolacke umfassen.The sensor typically includes a substrate, such as a flat substrate, onto which an electrically conductive pattern of electrodes, conductive tracks and contact pads can be attached. In use, the conductive traces are typically insulated using one or more electrically insulating materials. The electrically insulating material typically also serves as a protection against moisture and other harmful substances, and may, for example, include one or more covering layers such as photoresists.
Wie oben erläutert wird in transkutanen Systemen typischerweise ein Steuerteil benötigt, das außerhalb des Körpergewebes angeordnet sein kann und mit dem Sensor in Verbindung stehen muss. Typischerweise wird diese Kommunikation durch Bereitstellung mindestens eines elektrischen Kontakts zwischen dem Sensor und dem Steuerteil hergestellt, wobei es sich um einen permanenten elektrischen Kontakt oder einen lösbaren elektrischen Kontakt handeln kann. Beispiele elektrischer Kontakte für den Kontakt mit einer dreieckigen Anordnung von Kontaktpads sind z. B. in
Zur Vermeidung schädlicher Wirkungen der aggressiven Umgebung auf die leitfähigen Eigenschaften des elektrischen Kontakts wird der Bereich des elektrischen Kontakts typischerweise eingekapselt und vor Feuchtigkeit geschützt. Im Allgemeinen sind Verkapselungen elektrischer Sperren und Kontakte durch Verwendung angemessener Dichtungen z. B. aus
Die am 6. August 2014 eingereichte europäische Patentanmeldung Nummer
Trotz der Vorteile und dem mit den oben erwähnten Entwicklungen erzielten Fortschritt, insbesondere auf dem Gebiet der kontinuierlichen Überwachungstechnologie, bleiben einige bedeutende technische Herausforderungen bestehen. So sind im Allgemeinen bekannte Techniken zum Schutz eines elektrischen Kontakts zwischen einem Sensor und einem Steuerteil im Allgemeinen ziemlich komplex. Eine Anordnung einer Vielzahl von Komponenten wird im Allgemeinen benötigt, was typischerweise ein komplexes und teures Herstellungsverfahren bedeutet. Ferner erfordern bekannte Techniken im Allgemeinen voluminöse Komponenten, was ein Problem darstellt, insbesondere angesichts der Tatsache, dass Miniaturisierung der Sensorsysteme ein Faktor ist, der zur bequemen Anwendung beiträgt. Insbesondere wenn komplexe Verkapselungsteile, die durch Kunststoff-Formungstechniken hergestellt werden, zum Schutz der elektrischen Kontakte benötigt werden, muss typischerweise ein Anstieg der Kosten und des Sensorvolumens berücksichtigt werden. Ferner erweist sich die Reinigung komplexer Schutzabdeckungen, wie etwa Schutzvorrichtungen mit O-Ringen oder anderen Dichtungen, als schwierig.Despite the advantages and progress achieved with the above-mentioned developments, particularly in the area of continuous monitoring technology, some significant technical challenges remain. Thus, generally known techniques for protecting an electrical contact between a sensor and a control part are generally quite complex. An assembly of multiple components is generally required, which typically means a complex and expensive manufacturing process. Furthermore, known techniques generally require bulky components, which is a problem, especially given that miniaturization of sensor systems is a factor contributing to ease of use. Particularly when complex encapsulation parts manufactured using plastic molding techniques are needed to protect electrical contacts, typi an increase in costs and sensor volume must be taken into account. Furthermore, cleaning complex protective covers, such as protective devices with O-rings or other seals, proves to be difficult.
Zu lösendes ProblemProblem to be solved
Deshalb ist eine Aufgabe der vorliegenden Erfindung, eine medizinische Vorrichtung zum Nachweis mindestens eines Analyten in einer Körperflüssigkeit bereitzustellen, welches zumindest teilweise die Nachteile bekannter Vorrichtungen dieser Art vermeidet und sich zumindest teilweise mit den oben erwähnten Herausforderungen befasst. Insbesondere wird eine Vorrichtung offenbart, die eine einfache Herstellung und eine einfache Handhabungsprozesse durch einen Benutzer ermöglicht.Therefore, an object of the present invention is to provide a medical device for detecting at least one analyte in a body fluid, which at least partially avoids the disadvantages of known devices of this type and at least partially addresses the challenges mentioned above. In particular, a device is disclosed that enables simple manufacturing and simple handling processes by a user.
Zusammenfassung der ErfindungSummary of the invention
Dieses Problem wird durch eine medizinische Vorrichtung zum Nachweis mindestens eines Analyten in einer Körperflüssigkeit mit den Merkmalen des unabhängigen Anspruchs gelöst. Bevorzugte Ausführungsformen der Erfindung, die isoliert oder in beliebiger beliebiger Kombination realisiert werden können, werden in den abhängigen Ansprüchen offenbart.This problem is solved by a medical device for detecting at least one analyte in a body fluid with the features of the independent claim. Preferred embodiments of the invention, which may be implemented in isolation or in any combination, are disclosed in the dependent claims.
Wie nachfolgend verwendet werden die Begriffe „haben“, „umfassen“ oder „aufweisen“ oder beliebige beliebige grammatikalische Abwandlungen davon auf nicht-ausschließende Weise verwendet. Folglich können sich diese Begriffe sowohl auf eine Situation beziehen, in der neben dem durch diese Begriffe eingeführten Merkmal keine weiteren Merkmale in der in diesem Zusammenhang beschriebenen Einheit vorhanden sind, als auch auf eine Situation, in der ein oder mehrere weitere Merkmale vorhanden sind. Beispielsweise können sich die Ausdrücke „A hat B“, „A umfasst B“ und „A weist B auf sowohl auf eine Situation beziehen, in der neben B kein anderes Element in A vorhanden ist (d. h. eine Situation, in der A allein und ausschließlich aus B besteht), als auch auf eine Situation, in der neben B ein oder mehrere weitere Elemente in der Einheit A vorhanden sind, etwa Element C, Elemente C und D oder sogar weitere Elemente.As used herein, the terms “have,” “comprise,” or “comprise,” or any grammatical variations thereof, are used in a non-exclusive manner. Consequently, these terms can refer both to a situation in which, in addition to the feature introduced by these terms, there are no other features present in the unit described in this context, or to a situation in which one or more other features are present. For example, the expressions “A has B,” “A includes B,” and “A has B” can both refer to a situation in which there is no other element in A besides B (i.e., a situation in which A alone and exclusively consists of B), as well as a situation in which, in addition to B, one or more other elements are present in the unit A, such as element C, elements C and D or even other elements.
Ferner sei angemerkt, dass die Begriffe „mindestens ein“, „ein oder mehrere“ oder ähnliche Ausdrücke, die darauf hinweisen, dass ein Merkmal oder Element einmal oder mehr als einmal vorhanden sein kann, typischerweise nur einmal bei der Einführung des jeweiligen Merkmals oder Elements verwendet werden. Wenn nachfolgend auf das jeweilige Merkmal oder Element verwiesen wird, werden in den meisten Fällen die Ausdrücke „mindestens ein“ oder „ein oder mehrere“ nicht wiederholt, ungeachtet der Tatsache, dass das jeweilige Merkmal oder Element einmal oder mehr als einmal vorhanden sein kann.Furthermore, it should be noted that the terms "at least one", "one or more" or similar expressions, which indicate that a feature or element may be present once or more than once, typically only once when the respective feature or element is introduced be used. In most cases, when reference is made to the relevant feature or element hereinafter, the expressions “at least one” or “one or more” will not be repeated, notwithstanding the fact that the relevant feature or element may be present once or more than once.
Wie nachfolgend verwendet, werden ferner die Begriffe „vorzugsweise“, „bevorzugter“, „besonders“, „insbesondere“, „spezifisch“, „spezifischer“ oder ähnliche Begriffe in Verbindung mit optionalen Merkmalen verwendet, ohne alternative Möglichkeiten einzuschränken. Durch diese Begriffe eingeführte Merkmale sind folglich optionale Merkmale, die den Umfang der Ansprüche auf keinerlei Weise einschränken sollen. Wie Fachleute erkennen werden, kann die Erfindung unter Verwendung alternativer Merkmale durchgeführt werden. Analog sollen Merkmale, die durch „in einer Ausführungsform der Erfindung“ oder ähnliche Ausdrücke eingeführt werden, optionale Merkmale sein, ohne jegliche Einschränkung bezüglich alternativer Ausführungsformen der Erfindung, ohne Einschränkungen bezüglich des Umfangs der Erfindung und ohne jegliche Einschränkung bezüglich der Möglichkeit einer Kombination der so eingeführten Merkmale mit anderen optionalen oder nicht optionalen Merkmalen der Erfindung.Furthermore, as used below, the terms “preferred,” “more preferred,” “particular,” “particular,” “specific,” “more specific,” or similar terms are used in connection with optional features without limiting alternative possibilities. Features introduced by these terms are therefore optional features which are not intended to limit the scope of the claims in any way. As those skilled in the art will recognize, the invention may be practiced using alternative features. Similarly, features introduced by "in one embodiment of the invention" or similar expressions are intended to be optional features, without any limitation as to alternative embodiments of the invention, without any limitation as to the scope of the invention, and without any limitation as to the possibility of combining the same introduced features with other optional or non-optional features of the invention.
In einem ersten Aspekt der vorliegenden Erfindung wird eine medizinische Vorrichtung zum Nachweis mindestens eines Analyten in einer Körperflüssigkeit offenbart. Die medizinische Vorrichtung umfasst mindestens einen Analytsensor mit einem einführbaren Teil, der dazu eingerichtet ist, zumindest teilweise in ein Körpergewebe eines Benutzers eingeführt zu werden. Die medizinische Vorrichtung umfasst ferner mindestens eine Einführkanüle. Der Analytsensor ist zumindest teilweise in der Einführkanüle angeordnet. Ferner umfasst die medizinische Vorrichtung mindestens ein Gehäuse. Das Gehäuse umfasst mindestens eine Sensorkammer. Die Sensorkammer bildet eine abgedichtete Kammer, die mindestens den einführbaren Teil des Analytsensors aufnimmt. Die abgedichtete Kammer umfasst mindestens eine abnehmbare obere Kappe und mindestens eine abnehmbare untere Kappe. Die abnehmbare untere Kappe ist zur Abnahme vor dem Einführen eingerichtet, um dadurch dem einführbaren Teil das Einführen zu eröffnen. Die Einführkanüle ist an der abnehmbaren oberen Kappe angebracht. Die abnehmbare obere Kappe ist zur Abnahme nach dem Einführen eingerichtet, um dadurch die Einführkanüle zu entfernen. Ferner umfasst die medizinische Vorrichtung mindestens eine Elektronikeinheit. Der Analytsensor ist mit der Elektronikeinheit wirkverbunden. Die Elektronikeinheit umfasst mindestens eine Verbindungsvorrichtung mit mindestens einer daran angebrachten Elektronikkomponente. Die Verbindungsvorrichtung umgibt das Gehäuse vollständig oder teilweise, d. h. zumindest teilweise.In a first aspect of the present invention, a medical device for detecting at least one analyte in a body fluid is disclosed. The medical device includes at least one analyte sensor with an insertable part that is configured to be at least partially inserted into a user's body tissue. The medical device further comprises at least one insertion cannula. The analyte sensor is at least partially arranged in the insertion cannula. The medical device further comprises at least one housing. The housing includes at least one sensor chamber. The sensor chamber forms a sealed chamber that accommodates at least the insertable part of the analyte sensor. The sealed chamber includes at least one removable top cap and at least one removable bottom cap. The removable lower cap is adapted to be removed prior to insertion, thereby allowing insertion of the insertable part. The introducer cannula is attached to the removable top cap. The removable top cap is adapted to be removed after insertion to thereby remove the introducer cannula. Furthermore, the medical device comprises at least one electronic unit. The analyte sensor is operatively connected to the electronic unit. The electronic unit comprises at least one connection device with at least one electronic component attached thereto. The connecting device surrounds the housing completely or partially, i.e. H. at least partially.
Wie es in der vorliegenden Erfindung allgemein verwendet wird, kann sich der Begriff „medizinische Vorrichtung“ auf eine beliebige Vorrichtung beziehen, die zur Durchführung mindestens einer medizinischen Analyse und/oder mindestens eines medizinischen Verfahrens eingerichtet ist. Die medizinische Vorrichtung kann daher im Allgemeinen eine beliebige Vorrichtung sein, die zur Erfüllung mindestens eines diagnostischen Zwecks und/oder mindestens eines therapeutischen Zwecks eingerichtet ist. Ohne weitere Ausführungsformen einzuschränken wird die vorliegende Erfindung nachfolgend im Hinblick auf eine medizinische Vorrichtung beschrieben, die zur Erfüllung mindestens eines diagnostischen Zwecks eingerichtet ist, und insbesondere eine medizinische Vorrichtung, die mindestens einen Analytsensor zur Durchführung mindestens einer Analyse umfasst. Die medizinische Vorrichtung kann insbesondere eine Anordnung von zwei oder mehr Komponenten umfassen, die zusammenwirken können, etwa zur Erfüllung ein oder mehrerer diagnostischer und/oder therapeutischer Zwecke, etwa zur Durchführung der medizinischen Analyse und/oder des medizinischen Verfahrens. Insbesondere können die zwei oder mehr Komponenten zur Durchführung mindestens einer Erfassung des mindestens einen Analyten in der Körperflüssigkeit und/oder zum Beitragen zu der mindestens einen Erfassung des mindestens einen Analyten in der Körperflüssigkeit befähigt sein. Die medizinische Vorrichtung kann im Allgemeinen auch mindestens eine Sensoranordnung, ein Sensorsystem, ein Sensorkit oder eine Sensorvorrichtung sein oder umfassen.As generally used in the present invention, the term “medical” may mean: “technical device” refers to any device that is designed to carry out at least one medical analysis and/or at least one medical procedure. The medical device can therefore generally be any device that is designed to fulfill at least one diagnostic purpose and/or at least one therapeutic purpose. Without limiting further embodiments, the present invention is described below with regard to a medical device that is designed to fulfill at least one diagnostic purpose, and in particular a medical device that includes at least one analyte sensor for carrying out at least one analysis. The medical device can in particular comprise an arrangement of two or more components that can work together, for example to fulfill one or more diagnostic and/or therapeutic purposes, for example to carry out the medical analysis and/or the medical procedure. In particular, the two or more components may be capable of performing at least one detection of the at least one analyte in the body fluid and/or contributing to the at least one detection of the at least one analyte in the body fluid. The medical device can generally also be or include at least one sensor arrangement, a sensor system, a sensor kit or a sensor device.
Die medizinische Vorrichtung kann eine medizinische Einwegvorrichtung sein. Der Begriff „medizinische Einwegvorrichtung“ kann sich im Allgemeinen auf eine beliebige medizinische Vorrichtung beziehen, die eingerichtet ist, nach der Benutzung entsorgt zu werden. Folglich können ein oder mehr Materialien insbesondere preiswert und/oder einfach recycelbar sein. Insbesondere kann die Elektronikeinheit eine Einweg-Elektronikeinheit sein. Der Begriff „Einweg“ kann sich im Allgemeinen auf eine Eigenschaft eines beliebigen Elements beziehen, das zur einmaligen Anwendung eingerichtet ist. Nach dem Nachweis des mindestens einen Analyten in der Körperflüssigkeit kann der Benutzer folglich die Elektronikeinheiten aus den Körpergewebe entfernen, die Elektronikeinheit entsorgen und eine weitere neue medizinische Vorrichtung, die eine weitere neue Elektronik umfasst, für eine andere Erfassung des Analyten in der Körperflüssigkeit verwenden.The medical device may be a disposable medical device. The term “disposable medical device” may generally refer to any medical device that is designed to be discarded after use. Consequently, one or more materials can be particularly inexpensive and/or easily recyclable. In particular, the electronics unit can be a disposable electronics unit. The term “disposable” can generally refer to a property of any element that is designed to be used once. Accordingly, upon detection of the at least one analyte in the body fluid, the user may remove the electronics units from the body tissues, discard the electronics unit, and use another new medical device comprising further new electronics for another detection of the analyte in the body fluid.
Wie sie im Allgemeinen in der vorliegenden Erfindung verwendet werden, können sich die Begriffe „Patient“ und „Benutzer“ auf einen Menschen oder ein Tier beziehen, unabhängig von der Tatsache, dass der Mensch oder das Tier sich in einem gesunden Zustand befinden kann oder eine oder mehrere Krankheiten aufweisen kann. Beispielsweise kann der Mensch oder der Benutzer ein Mensch oder ein Tier sein, der bzw. das an Diabetes leidet. Zusätzlich oder alternativ kann die Erfindung aber auch auf andere Arten von Benutzern oder Patienten oder Krankheiten angewendet werden.As generally used in the present invention, the terms "patient" and "user" may refer to a human or an animal, regardless of the fact that the human or animal may or may not be in a healthy state or may have multiple diseases. For example, the human or user may be a human or animal suffering from diabetes. Additionally or alternatively, the invention can also be applied to other types of users or patients or diseases.
Wie weiter hierin verwendet, kann sich der Begriff „Körperflüssigkeit“ im Allgemeinen auf eine Flüssigkeit beziehen, die typischerweise in einem Körper oder Körpergewebe des Benutzers oder des Patienten vorhanden ist und/oder die vom Körper des Benutzer oder des Patienten produziert werden kann. Als Beispiel für ein Körpergewebe kann interstitielles Gewebe erwähnt werden. Folglich kann die Körperflüssigkeit beispielsweise aus der aus Blut und interstitieller Flüssigkeit bestehenden Gruppe ausgewählt werden. Zusätzlich oder alternativ können jedoch ein oder mehr andere Arten von Körperflüssigkeiten verwendet werden, wie etwa Speichel, Tränenflüssigkeit, Urin oder andere Körperflüssigkeiten. Während des Nachweises des mindestens einen Analyten kann die Körperflüssigkeit im Körper oder Körpergewebe vorhanden sein. Wie unten noch ausführlicher erläutert werden wird, kann der Sensor folglich insbesondere zum Nachweis mindestens eines Analyten in einem Körpergewebe eingerichtet sein.As further used herein, the term “body fluid” may generally refer to a fluid that is typically present in a body or body tissue of the user or patient and/or that may be produced by the body of the user or patient. Interstitial tissue can be mentioned as an example of a body tissue. Consequently, the body fluid can be selected, for example, from the group consisting of blood and interstitial fluid. Additionally or alternatively, however, one or more other types of body fluids may be used, such as saliva, tears, urine, or other body fluids. During the detection of the at least one analyte, the body fluid may be present in the body or body tissue. As will be explained in more detail below, the sensor can therefore be set up in particular to detect at least one analyte in a body tissue.
Wie weiter hierin verwendet, kann sich der Begriff „Analyt“ auf ein beliebiges Element, eine beliebige Komponente oder Verbindung beziehen, das bzw. die in der Körperflüssigkeit vorhanden sein kann und deren Anwesenheit und/oder Konzentration für den Benutzer, den Patienten oder medizinisches Personal, wie einen Arzt, von Interesse sein kann. Insbesondere kann der Analyt eine beliebige chemische Substanz oder chemische Verbindung sein oder umfassen, die am Stoffwechsel des Benutzers oder des Patienten beteiligt sein kann, wie etwa mindestens ein Metabolit. Beispielsweise kann der mindestens eine Analyt aus der aus Glukose, Cholesterin, Triglyzeride, Laktat bestehenden Gruppe ausgewählt sein. Zusätzlich oder alternativ können jedoch andere Arten von Analyten verwendet werden und/oder eine beliebige Kombination von Analyten kann bestimmt werden. Die Erfassung des mindestens einen Analyten kann insbesondere ein analytenspezifischer Nachweis sein.As further used herein, the term “analyte” may refer to any element, component or compound that may be present in the body fluid and its presence and/or concentration to the user, patient or healthcare professional , such as a doctor, may be of interest. In particular, the analyte may be or include any chemical substance or chemical compound that may be involved in the metabolism of the user or patient, such as at least one metabolite. For example, the at least one analyte can be selected from the group consisting of glucose, cholesterol, triglycerides, lactate. Additionally or alternatively, however, other types of analytes may be used and/or any combination of analytes may be determined. The detection of the at least one analyte can in particular be an analyte-specific detection.
Wie weiter hierin verwendet, bezieht sich der Begriff „nachweisen“ im Allgemeinen auf das Verfahren der Bestimmung des Vorhandenseins und/oder der Menge und/oder der Konzentration des mindestens einen Analyten. Der Nachweis kann folglich ein qualitativer Nachweis sein oder umfassen, bei dem einfach das Vorhandensein des mindestens einen Analyten oder das Fehlen des mindestens einen Analyten bestimmt wird, und/oder er kann ein quantitativer Nachweis sein oder umfassen, bei dem die Menge und/oder die Konzentration des mindestens einen Analyten bestimmt wird. Infolge des Nachweises kann mindestens ein Signal erzeugt werden, das ein Nachweisresultat charakterisiert, wie etwa mindestens ein Messsignal. Das mindestens eine Signal kann insbesondere mindestens ein elektronisches Signal sein oder umfassen, wie etwa mindestens eine Spannung und/oder ein Strom. Das mindestens eine Signal kann mindestens ein Analogsignal sein oder umfassen und/oder es kann mindestens ein Digitalsignal sein oder umfassen. Wie weiter hierin verwendet kann sich der Begriff „Bestimmung einer Konzentration“ im Allgemeinen auf ein Verfahren zur Erzeugung mindestens eines repräsentativen Ergebnisses oder einer Vielzahl von repräsentativen Ergebnissen, das bzw. die auf die Konzentration des Analyten in der Körperflüssigkeit hinweist bzw. hinweisen, beziehen.As further used herein, the term “detect” generally refers to the method of determining the presence and/or amount and/or concentration of the at least one analyte. The detection can therefore be or include a qualitative detection in which the presence of the at least one analyte or the absence of the at least one analyte is determined, and / or it can be or include a quantitative detection in which the amount and / or the Concentration of the minimum an analyte is determined. As a result of the detection, at least one signal can be generated that characterizes a detection result, such as at least one measurement signal. The at least one signal can in particular be or include at least one electronic signal, such as at least one voltage and/or one current. The at least one signal can be or include at least one analog signal and/or it can be or include at least one digital signal. As further used herein, the term “determination of a concentration” may generally refer to a method for producing at least one representative result or a plurality of representative results indicative of the concentration of the analyte in the body fluid.
Wie weiter hierin verwendet, kann sich der Begriff „Analytsensor“ im Allgemeinen auf ein beliebiges Element beziehen, das zur Durchführung des oben erwähnten Verfahrens des Nachweises angepasst ist und/oder das zur Verwendung im oben erwähnten Nachweisverfahren angepasst ist. Der Sensor kann folglich insbesondere zur Bestimmung der Konzentration des Analyten und/oder eines Vorhandenseins des Analyten angepasst sein.As further used herein, the term “analyte sensor” may generally refer to any element adapted to perform the above-mentioned method of detection and/or that is adapted for use in the above-mentioned method of detection. The sensor can therefore be adapted in particular to determine the concentration of the analyte and/or the presence of the analyte.
Der Analytsensor kann insbesondere ein elektrochemischer Sensor sein. Wie hierin verwendet ist ein „elektrochemischer Sensor“ im Allgemeinen ein Sensor, der zur Durchführung einer elektrochemischen Messung zum Erfassen des in der Körperflüssigkeit enthaltenen, mindestens einen Analyten eingerichtet ist. Der Begriff „elektrochemische Messung“ bezieht sich auf eine Erfassung einer elektrochemisch nachweisbaren Eigenschaft des Analyten, etwa einer elektrochemischen Nachweisreaktion. Die elektrochemische Nachweisreaktion kann folglich beispielsweise durch Vergleich ein oder mehrerer Elektrodenpotentiale erfasst werden. Der elektrochemische Sensor kann insbesondere zum Erzeugen mindestens eines elektrischen Sensorsignals, das direkt oder indirekt auf das Vorhandensein und/oder das Ausmaß der elektrochemischen Nachweisreaktion hinweist, wie etwa mindestens ein Strom und/oder mindestens eine Spannung, angepasst und/oder verwendbar sein. Der Nachweis kann analytenspezifisch sein. Die Messung kann eine qualitative und/oder eine quantitative Messung sein. Auch andere Ausführungsformen sind möglich.The analyte sensor can in particular be an electrochemical sensor. As used herein, an “electrochemical sensor” is generally a sensor configured to perform an electrochemical measurement to detect at least one analyte contained in the body fluid. The term “electrochemical measurement” refers to a detection of an electrochemically detectable property of the analyte, such as an electrochemical detection reaction. The electrochemical detection reaction can therefore be detected, for example, by comparing one or more electrode potentials. The electrochemical sensor can in particular be adapted and/or usable for generating at least one electrical sensor signal that directly or indirectly indicates the presence and/or the extent of the electrochemical detection reaction, such as at least one current and/or at least one voltage. The detection can be analyte-specific. The measurement can be a qualitative and/or a quantitative measurement. Other embodiments are also possible.
Der Analytsensor kann insbesondere ein transkutaner Sensor sein. Wie hierin verwendet bezieht sich der Begriff „transkutaner Sensor“ im Allgemeinen auf einen beliebigen Sensor beziehen, der zur vollständigen oder zumindest teilweisen Anordnung im Körpergewebe des Patienten oder Benutzers angepasst ist. Zu diesem Zweck umfasst der Analytsensor den einführbaren Teil. Der Begriff „einführbarer Teil“ kann sich im Allgemeinen auf einen Teil oder eine Komponente eines Elements beziehen, das zur Einführung in ein beliebiges Körpergewebe eingerichtet ist. Damit der Analytsensor weiter als ein transkutaner Sensor verwendbar ist, kann der Analytsensor vollständig oder teilweise eine biokompatible Oberfläche bereitstellen, d. h. eine Oberfläche, die mindestens während Benutzungsdauern keine schädlichen Auswirkungen auf den Benutzer, den Patienten oder das Körpergewebe hat. Insbesondere kann der einführbare Teil des Analytsensor eine biokompatible Oberfläche aufweisen. Beispielsweise kann der transkutane Sensor, insbesondere der einführbare Teil, vollständig oder teilweise mit mindestens einer biokompatiblem Membran abgedeckt sein, wie etwa mindestens einer Polymermembran oder Gelmembran, die für den mindestens einen Analyten und/oder die mindestens eine Körperflüssigkeit durchlässig ist und die andererseits Sensorsubstanzen, wie etwa ein oder mehrere Testchemikalien, im Sensor zurückhält und eine Abwanderung dieser Substanzen in das Körpergewebe verhindert. Andere Teile oder Komponenten des Analytsensor können außerhalb des Körpergewebes bleiben. Die anderen Teile können mit einer Evaluierungsvorrichtung verbindbar sein, etwa mit der Elektronikeinheit, wie unten noch weiter beschrieben wird.The analyte sensor can in particular be a transcutaneous sensor. As used herein, the term “transcutaneous sensor” generally refers to any sensor adapted for complete or at least partial placement within the body tissue of the patient or user. For this purpose, the analyte sensor includes the insertable part. The term “insertable part” may generally refer to a part or component of an element adapted to be inserted into any body tissue. In order for the analyte sensor to continue to be usable as a transcutaneous sensor, the analyte sensor can completely or partially provide a biocompatible surface, i.e. H. a surface that does not have any harmful effects on the user, the patient or the body tissue, at least during periods of use. In particular, the insertable part of the analyte sensor can have a biocompatible surface. For example, the transcutaneous sensor, in particular the insertable part, can be completely or partially covered with at least one biocompatible membrane, such as at least one polymer membrane or gel membrane, which is permeable to the at least one analyte and/or the at least one body fluid and which, on the other hand, contains sensor substances, such as one or more test chemicals, is retained in the sensor and prevents these substances from migrating into the body tissue. Other parts or components of the analyte sensor may remain outside of body tissue. The other parts may be connectable to an evaluation device, such as the electronics unit, as will be further described below.
Der transkutane Sensor kann im Allgemeinen eine solche Größe aufweisen, dass eine transkutane Einführung möglich ist, beispielsweise durch Bereitstellen einer Breite in einer Richtung senkrecht zu einer Einführungsrichtung von höchstens 5 mm, vorzugsweise höchstens 2 mm, bevorzugter höchstens 1,5 mm. Der Sensor kann eine Länge von weniger als 50 mm aufweisen, etwa eine Länge von 30 mm oder weniger, z. B. eine Länge von 5 mm bis 30 mm. Wie hierin verwendet kann sich der Begriff „Länge“ auf eine Richtung parallel zur Einführungsrichtung beziehen. Es sei jedoch angemerkt, dass andere Abmessungen möglich sind.The transcutaneous sensor may generally have a size such that transcutaneous insertion is possible, for example by providing a width in a direction perpendicular to an insertion direction of at most 5 mm, preferably at most 2 mm, more preferably at most 1.5 mm. The sensor may have a length of less than 50 mm, such as a length of 30 mm or less, e.g. B. a length of 5 mm to 30 mm. As used herein, the term “length” may refer to a direction parallel to the insertion direction. However, it should be noted that other dimensions are possible.
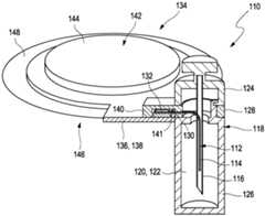
Der Begriff „Einführkanüle“ kann sich im Allgemeinen auf ein beliebiges Element beziehen, das in das Körpergewebe des Benutzers eingeführt werden kann, besonders zur Abgabe oder Überführung eines weiteren Elements. Deshalb kann die Einführkanüle insbesondere eine hohle Röhre oder eine hohle Nadel sein oder umfassen. Die Einführkanüle kann z. B. mindestens einen Querschnitt umfassen, der aus der aus rund, ellipsenförmig, U-förmig, V-förmig bestehenden Gruppe ausgewählt ist. Auch andere Ausführungsformen sind möglich. Insbesondere kann die Einführkanüle eine geschlitzte Kanüle sein. Die Einführkanüle kann eingerichtet sein, vertikal oder in einem Winkel von 90° bis 30° zum Körpergewebe des Benutzers eingeführt zu werden.The term “introducer cannula” may generally refer to any element that can be inserted into the user's body tissue, particularly for delivery or delivery of another element. Therefore, the insertion cannula can in particular be or comprise a hollow tube or a hollow needle. The insertion cannula can e.g. B. include at least one cross section selected from the group consisting of round, elliptical, U-shaped, V-shaped. Other embodiments are also possible. In particular, the insertion cannula can be a slotted cannula. The insertion cannula may be configured to be inserted vertically or at an angle of 90° to 30° to the user's body tissue.
Die medizinische Vorrichtung kann ferner mindestens ein Septum umfassen, das in der Sensorkammer aufgenommen ist. Wie hierin allgemein verwendet kann sich der Begriff „Septum“ im Allgemeinen auf ein beliebiges Dichtelement beziehen, das zur Abdichtung eines Volumens oder Raums eingerichtet ist und einen Umgebungsschutz gegen Feuchtigkeit und/oder eine Umgebungsatmosphäre oder dergleichen bereitstellt. Das Septum kann beispielsweise mindestens eine durchstechbare Folie, Scheibe, Ausgleichsscheibe, Stopfen oder Platte aus einem Material sein oder umfassen, das von der Einführkanüle durchstochen werden kann und das ein von der Einführkanüle erzeugtes Einstichloch nach dem Zurückziehen der Einführkanüle wieder abdichten kann. Insbesondere kann das Septum aus einem elastischen Material, etwa einem Elastomer, gefertigt sein. Das Septum kann durch Spritzgießen hergestellt sein, insbesondere durch Zweikomponenten-Spritzgießen. Das Septum kann von einem länglichen Objekt mit einem kleinem Durchmesser, etwa von einer Einführkanüle, durchdrungen werden. Nach einer Penetration durch das längliche Objekt kann eine durch das längliche Objekt verursachte Öffnung des Septums von selbst geschlossen werden und das Septum kann ferner zum Bereitstellen eines dichten Verschlusses gegenüber der Umgebung des Volumens oder des Raums eingerichtet sein. Insbesondere kann das Septum zum dichten Verschließen eines Rests der Sensorkammer nach Entfernung der abnehmbaren oberen Kappe eingerichtet sein. Die Einführkanüle kann eingerichtet sein, durch das Septum gezogen zu werden, wenn die abnehmbare obere Kappe vom Gehäuse entfernt wird.The medical device may further include at least one septum received in the sensor chamber. As generally used herein, the term “septum” may generally refer to any sealing element designed to seal a volume or space and provide environmental protection from moisture and/or an ambient atmosphere or the like. The septum can, for example, be or comprise at least one pierceable film, disk, shim, plug or plate made of a material that can be pierced by the insertion cannula and that can seal a puncture hole created by the insertion cannula after the insertion cannula has been retracted. In particular, the septum can be made of an elastic material, such as an elastomer. The septum can be manufactured by injection molding, in particular by two-component injection molding. The septum can be penetrated by an elongated object with a small diameter, such as an insertion cannula. After penetration by the elongated object, an opening of the septum caused by the elongated object may be closed by itself and the septum may further be configured to provide a tight seal to the environment of the volume or space. In particular, the septum can be designed to seal a remainder of the sensor chamber after removal of the removable top cap. The introducer cannula may be adapted to be pulled through the septum when the removable top cap is removed from the housing.
Ferner kann die Einführkanüle mindestens einen mit Widerhaken versehenen Haken umfassen, der zur Verhinderung einer weiteren Bewegung der Einführkanüle nach der Benutzung eingerichtet ist. Wie hierin weiter verwendet kann sich der Begriff „ mit Widerhaken versehener Haken" auf ein beliebiges Werkzeug beziehen, das einen Abschnitt umfassen kann, der gebogen oder eingekerbt ist, so dass der Abschnitt zum Halten eines anderen Objekts angewendet werden kann. Ferner kann der mit Widerhaken versehene Haken auf spezielle Weise geformt sein, so dass Durchleiten des anderen Objekts durch den mit Widerhaken versehenen Haken nur in einer Richtung möglich sein kann, wobei eine Bewegung in der entgegengesetzten Richtung vollständig unterdrückt oder mindestens zu einem großen Ausmaß verringert werden kann. Insbesondere kann diese Eigenschaft mit kleinen weiteren Haken realisiert werden, die so angeordnet sind, dass Enden der Haken in eine Richtung zeigen, die einer Richtung, in die das andere Objekt bewegbar ist, entgegengesetzt ist.Furthermore, the insertion cannula may comprise at least one barbed hook which is designed to prevent further movement of the insertion cannula after use. As further used herein, the term "barbed hook" may refer to any tool that may include a portion that is curved or notched so that the portion can be used to hold another object. Further, the barbed hook provided hooks may be shaped in a special way so that passage of the other object through the barbed hook may only be possible in one direction, with movement in the opposite direction being able to be completely suppressed or at least reduced to a large extent. In particular, this can Property can be realized with small additional hooks, which are arranged so that ends of the hooks point in a direction that is opposite to a direction in which the other object is movable.
Die medizinische Vorrichtung kann ferner mindestens einen Rückzugsmechanismus zum Zurückziehen der Einführkanüle nach der Einführung des einführbaren Teils des Analytsensors in das Körpergewebe umfassen. Der Begriff „Rückzugsmechanismus“ kann sich im Allgemeinen auf eine beliebige Konstruktion beziehen, die eingerichtet ist, ein Objekt in eine Richtung zu bewegen, die zu einer Richtung entgegengesetzt ist, in der das Objekt vor Anwendung des Rückzugsmechanismus bewegt worden sein kann. Deshalb kann der Rückzugsmechanismus mindestens ein Rückzugsfederelement umfassen, bevorzugter mindestens ein Rückzugsfederelement, das zwischen dem Gehäuse und der Einführkanüle angeordnet ist und zum Zurückziehen der Einführkanüle aus dem Körpergewebe vorgespannt ist. Der Rückzugsmechanismus kann zumindest teilweise in der abnehmbaren oberen Kappe enthalten sein.The medical device may further include at least one retraction mechanism for retracting the introducer cannula after insertion of the insertable portion of the analyte sensor into the body tissue. The term "retraction mechanism" may generally refer to any structure designed to move an object in a direction opposite to a direction in which the object may have been moved prior to application of the retraction mechanism. Therefore, the retraction mechanism may include at least one retraction spring element, more preferably at least one retraction spring element, disposed between the housing and the introducer cannula and biased to retract the introducer cannula from the body tissue. The retraction mechanism may be at least partially contained in the removable top cap.
Wie hierin verwendet, bezieht sich der Begriff „Elektronikeinheit“ im Allgemeinen auf eine beliebige Vorrichtung, die mindestens eine Elektronikkomponente aufweist. Insbesondere kann die Elektronikeinheit mindestens eine Elektronikkomponente für eines oder mehrere der Durchführung einer Messung mit dem Analytsensor, der Durchführung einer Spannungsmessung, der Durchführung einer Strommessung, der Aufzeichnung von Sensorsignalen, der Speicherung von Messsignalen oder Messdaten, der Übertragung von Sensorsignalen oder Messdaten an eine andere Vorrichtung umfassen. Die Elektronikeinheit kann insbesondere als ein Sender ausgebildet sein oder sie kann einen Sender zum Übertragen von Daten umfassen. Andere Ausführungsformen der Elektronikkomponenten sind möglich.As used herein, the term “electronic device” generally refers to any device that includes at least one electronic component. In particular, the electronic unit can have at least one electronic component for one or more of carrying out a measurement with the analyte sensor, carrying out a voltage measurement, carrying out a current measurement, recording sensor signals, storing measurement signals or measurement data, transmitting sensor signals or measurement data to another Include device. The electronic unit can in particular be designed as a transmitter or it can include a transmitter for transmitting data. Other embodiments of the electronic components are possible.
Die Elektronikeinheit umfasst mindestens eine Verbindungsvorrichtung, vorzugsweise eine gedruckte Leiterplatte, bevorzugter eine flexible gedruckte Leiterplatte. Wie hierin verwendet bezieht sich eine Verbindungsvorrichtung im Allgemeinen auf ein Element oder eine Kombination von Elementen, die eine oder mehrere Elektronikkomponenten tragen können und diese ein oder mehreren Elektronikkomponenten miteinander verbinden können, etwa die ein oder mehreren Elektronikkomponenten elektrisch oder elektronisch miteinander und/oder mit ein oder mehreren Kontaktpads verbinden können. Beispielsweise kann die Verbindungsvorrichtung eine Basis und eine oder mehrere elektrische Bahnen und/oder ein oder mehrere elektrische Kontaktpads, die darauf und/oder darin angeordnet sind, umfassen. Beispielsweise kann die Verbindungsvorrichtung eine Leiterplatte umfassen, die entweder starr sein kann oder vollständig oder teilweise als eine flexible gedruckte Leiterplatte ausgebildet sein kann. Die Basis kann beispielsweise ein flaches Element mit einer seitlichen Verlängerung sein, die seine Breite mindestens um einen Faktor 10 überschreitet, bevorzugter mindestens um einen Faktor 100 oder sogar einen Faktor 1000. Andere Ausführungsformen sind möglich. Starre Materialien, die für die Basis verwendet werden können, sind faserverstärkte Kunststoffmaterialien, wie faserverstärkte Epoxidmaterialien, etwa glasfaserverstärkte Epoxidmaterialien wie FR-4. Andere Materialien können verwendet werden. Wie oben aufgeführt kann die Basis insbesondere eine flexible Basis sein, so dass die Verbindungsvorrichtung vollständig oder teilweise als flexible gedruckte Leiterplatte ausgebildet sein kann. In diesem Fall kann die flexible Basis beispielsweise vollständig oder teilweise aus einem oder mehreren flexiblen Kunststoffmaterialien gefertigt sein, wie etwa ein oder mehreren Kunststofffolien oder Laminat, etwa Polyimide.The electronic unit comprises at least one connection device, preferably a printed circuit board, more preferably a flexible printed circuit board. As used herein, a connector device generally refers to an element or combination of elements capable of supporting one or more electronic components and interconnecting one or more electronic components, such as electrically or electronically interconnecting and/or connecting the one or more electronic components or connect multiple contact pads. For example, the connection device may include a base and one or more electrical traces and/or one or more electrical contact pads disposed thereon and/or therein. For example, the connection device may comprise a circuit board, which may either be rigid or may be fully or partially formed as a flexible printed circuit board. The base can, for example, be a flat element with a side extension exceeds its width by at least a factor of 10, more preferably by at least a factor of 100 or even a factor of 1000. Other embodiments are possible. Rigid materials that can be used for the base are fiber-reinforced plastic materials, such as fiber-reinforced epoxy materials, such as glass fiber-reinforced epoxy materials such as FR-4. Other materials can be used. As stated above, the base can in particular be a flexible base, so that the connecting device can be designed completely or partially as a flexible printed circuit board. In this case, the flexible base can, for example, be made entirely or partially from one or more flexible plastic materials, such as one or more plastic films or laminates, such as polyimides.
Wie oben aufgeführt, umfasst die Elektronikeinheit mindestens eine Elektronikkomponente, die an der Verbindungsvorrichtung angebracht ist. Darin kann die mindestens eine Elektronikkomponente direkt oder indirekt an der Verbindungsvorrichtung angebracht sein. Beispielsweise kann die Elektronikkomponente durch eines oder mehrere von Löten, Verbinden oder elektrisch leitfähigen Klebstoff direkt an der Verbindungsvorrichtung angebracht sein. Die Verbindungsvorrichtung kann folglich ein oder mehrere Kontaktpads umfassen, wobei entsprechende Kontakte der Elektronikkomponente elektrisch mit dem einen oder den mehreren Kontaktpads verbunden sind. Zusätzlich oder alternativ kann die mindestens eine Elektronikkomponente jedoch indirekt an der Verbindungsvorrichtung angebracht sein, etwa über mindestens ein Elektronikgehäuse. Das mindestens eine Elektronikgehäuse kann folglich an der Verbindungsvorrichtung anbgebracht sein. Ein elektrischer Kontakt zwischen der mindestens einen Elektronikkomponente und der Verbindungsvorrichtung kann dennoch hergestellt sein, etwa über mindestens einen Kontakt, der durch das Elektronikgehäuse verläuft. Das Elektronikgehäuse kann die mindestens eine Elektronikkomponente vollständig oder teilweise umgeben. Das Elektronikgehäuse kann beispielsweise mindestens eine untere Elektronikgehäusekomponente umfassen, die an der Verbindungsvorrichtung angebracht ist, wobei die mindestens eine Elektronikvorrichtung auf einer der Verbindungsvorrichtung gegenüberliegenden Seite in die untere Elektronikgehäusekomponente eingeführt ist. Das mindestens eine Elektronikgehäuse kann ferner mindestens eine weitere Elektronikgehäusekomponente umfassen, wie etwa mindestens eine obere Elektronikgehäusekomponente, die in Verbindung mit der unteren Elektronikgehäusekomponente eine Verkapselung bilden kann, die die Elektronikkomponente vollständig oder teilweise umgibt. Zusätzlich oder alternativ können jedoch andere Arten von Verkapselung der mindestens einen Elektronikkomponente verwendet werden, etwa Verkapselung unter Verwendung von ein oder mehr Verguss- und/oder Einbettmassen. Die untere Elektronikgehäusekomponente kann folglich beispielsweise zur Aufnahme der mindestens einen Elektronikkomponente verwendet werden, wobei die obere Schale oder der Schutz über der Elektronikkomponente durch Gießen und/oder Umgießen erzeugt wird, etwa unter Verwendung von ein oder mehreren von Epoxid, einem thermoplastischen Polymer, einem Rather, einem Silikon und Epoxiden oder dergleichen. Zusätzlich oder alternativ kann überhaupt keine Elektronikgehäusekomponente verwendet werden, etwa durch direkte Platzierung der mindestens einen Elektronikkomponente auf der Verbindungsvorrichtung.As listed above, the electronics unit includes at least one electronic component attached to the connection device. The at least one electronic component can be attached directly or indirectly to the connecting device. For example, the electronic component may be attached directly to the connection device by one or more of soldering, bonding, or electrically conductive adhesive. The connecting device can therefore comprise one or more contact pads, with corresponding contacts of the electronic component being electrically connected to the one or more contact pads. Additionally or alternatively, however, the at least one electronic component can be attached indirectly to the connecting device, for example via at least one electronics housing. The at least one electronics housing can therefore be attached to the connecting device. An electrical contact between the at least one electronic component and the connecting device can still be established, for example via at least one contact that runs through the electronics housing. The electronics housing can completely or partially surround the at least one electronic component. The electronics housing can, for example, comprise at least one lower electronics housing component that is attached to the connecting device, wherein the at least one electronics device is inserted into the lower electronics housing component on a side opposite the connecting device. The at least one electronics housing may further comprise at least one further electronics housing component, such as at least one upper electronics housing component, which, in conjunction with the lower electronics housing component, may form an encapsulation that completely or partially surrounds the electronics component. Additionally or alternatively, however, other types of encapsulation of the at least one electronic component can be used, such as encapsulation using one or more potting and/or investment compounds. The lower electronics housing component can therefore be used, for example, to accommodate the at least one electronics component, with the upper shell or protection over the electronics component being created by casting and/or overmolding, for example using one or more of epoxy, a thermoplastic polymer, a rather , a silicone and epoxies or the like. Additionally or alternatively, no electronic housing component at all can be used, for example by placing the at least one electronic component directly on the connection device.
Analog kann der mindestens eine optionale Energiespeicher, wie die mindestens eine Batterie, direkt oder indirekt an der mindestens einen Verbindungsvorrichtung angebracht sein. Der mindestens eine Energiespeicher kann folglich wiederum vollständig oder teilweise von mindestens einem Energiespeichergehäuse eingekapselt sein. Wiederum kann das mindestens eine Energiespeichergehäuse ein oder mehr Komponenten umfassen, wie eine untere Elektronikgehäusekomponente, die auf der Verbindungsvorrichtung platziert ist und zur Aufnahme des mindestens einen Energiespeichers eingerichtet ist. Als oberer Schutz kann entweder ein oberes Energiespeichergehäuse, wie eine obere Abdeckung, oder zusätzlich oder alternativ Vergießen oder Umgießen verwendet werden. In beiden Fällen kann der Energiespeicher über die mindestens eine Verbindungsvorrichtung elektrisch mit der mindestens einen Elektronikkomponente verbunden sein. Folglich kann im Allgemeinen in dieser Ausführungsform oder in anderen Ausführungsformen die mindestens eine Verbindungsvorrichtung eine oder mehrere elektrische Bahnen zur direkten oder indirekten elektrischen Verbindung des optionalen Energiespeichers mit der mindestens einen Elektronikkomponente umfassen.Analogously, the at least one optional energy storage device, such as the at least one battery, can be attached directly or indirectly to the at least one connection device. The at least one energy storage can therefore in turn be completely or partially encapsulated by at least one energy storage housing. In turn, the at least one energy storage housing may include one or more components, such as a lower electronics housing component, which is placed on the connection device and is configured to receive the at least one energy storage device. Either an upper energy storage housing, such as a top cover, or additionally or alternatively potting or remolding can be used as upper protection. In both cases, the energy storage can be electrically connected to the at least one electronic component via the at least one connection device. Consequently, in general, in this embodiment or in other embodiments, the at least one connection device may comprise one or more electrical paths for directly or indirectly electrically connecting the optional energy storage device to the at least one electronic component.
Wie weiter hierin verwendet, bezieht sich der Begriff „Elektronikkomponente“ im Allgemeinen auf ein beliebiges Element oder auf eine Kombination von Elementen, die mindestens einen elektrischen oder elektronischen Zweck erfüllen. Insbesondere kann die mindestens eine Elektronikkomponente mindestens eine Komponente sein oder umfassen, die aus der aus einem integrierten Schaltkreis, einem Verstärker, einem Widerstand, einem Transistor, einem Kondensator, einer Diode oder einer beliebigen Kombination davon bestehenden Gruppe ausgewählt ist. Die mindestens eine Elektronikkomponente kann insbesondere mindestens eine Vorrichtung sein oder umfassen, die den Analytsensor steuern kann, um mindestens eine analytische Messung mit dem Analytsensor durchzuführen. Insbesondere kann die mindestens eine Vorrichtung mindestens eine Spannungsmessvorrichtung und/oder mindestens eine Strommessvorrichtung umfassen. Andere Aufbauten oder Ausführungsformen sind möglich. Die mindestens eine Elektronikkomponente kann beispielsweise mindestens einen anwendungsspezifischen integrierten Schaltkreis (ASIC) umfassen.As further used herein, the term “electronic component” generally refers to any element or combination of elements that serves at least one electrical or electronic purpose. In particular, the at least one electronic component may be or include at least one component selected from the group consisting of an integrated circuit, an amplifier, a resistor, a transistor, a capacitor, a diode or any combination thereof. The at least one electronic component can in particular be or include at least one device that can control the analyte sensor in order to carry out at least one analytical measurement with the analyte sensor. In particular, the at least one front Direction include at least one voltage measuring device and / or at least one current measuring device. Other structures or embodiments are possible. The at least one electronic component can, for example, include at least one application-specific integrated circuit (ASIC).
Wie oben beschrieben, ist der Analytsensor mit der Elektronikeinheit wirkverbunden. Der Begriff „wirkverbunden“ kann sich insbesondere auf einen Zustand beziehen, in dem zwei oder mehr Objekte miteinander verbunden sind, damit sie zusammenwirken können. Insbesondere kann der Analytsensor mit der Elektronikeinheit wirkverbunden sein, so dass Sensorsignale des Analytsensors an die Elektronikeinheit übertragen werden können. Der Begriff „wirkverbunden“ kann sich folglich auch auf eine elektrisch leitfähige Verbindung beziehen. Der Analytsensor kann elektrisch mit der Verbindungsvorrichtung verbunden sein, vorzugsweise über mindestens eines von einer Lötverbindung, einer Schweißverbindung, einer elektrischen Verbindung, einem leitfähigen Haftmaterial oder einer Steckerverbindung. Die Verbindungsvorrichtung kann fest in der Elektronikkammer des Gehäuses angeordnet sein.As described above, the analyte sensor is operatively connected to the electronic unit. The term “interconnected” can specifically refer to a state in which two or more objects are connected to each other so that they can work together. In particular, the analyte sensor can be operatively connected to the electronic unit, so that sensor signals from the analyte sensor can be transmitted to the electronic unit. The term “actively connected” can therefore also refer to an electrically conductive connection. The analyte sensor may be electrically connected to the connection device, preferably via at least one of a solder connection, a weld connection, an electrical connection, a conductive adhesive material, or a plug connection. The connection device can be permanently arranged in the electronics chamber of the housing.
Wie hierin allgemein verwendet, kann sich der Begriff „Gehäuse“ im Allgemeinen auf ein beliebiges Element beziehen, das eingerichtet ist, ein oder mehr Elemente vollständig oder teilweise zu umgeben und/oder aufzunehmen, um ein oder mehrere eines mechanischen Schutzes, einer mechanischen Stabilität, eines Umgebungsschutzes vor Feuchtigkeit und/oder Umgebungsatmosphäre, einer Abschirmung gegen elektromagnetische Einflüsse oder dergleichen bereitzustellen. Das Gehäuse kann folglich einfach eine Basis zur Anbringung und/oder zum Halten ein oder mehrerer weiterer Komponenten oder Elemente bereitstellen. Zusätzlich oder alternativ kann das Gehäuse ein oder mehr Innenräume zur Aufnahme ein oder mehrerer weiterer Komponenten oder Elemente bereitstellen. Das Gehäuse kann insbesondere durch Spritzgießen hergestellt sein. Andere Ausführungsformen sind jedoch möglich.As used generally herein, the term "enclosure" may generally refer to any element designed to completely or partially surround and/or contain one or more elements to provide one or more of mechanical protection, mechanical stability, to provide environmental protection from moisture and/or ambient atmosphere, shielding against electromagnetic influences or the like. The housing can therefore easily provide a base for mounting and/or holding one or more further components or elements. Additionally or alternatively, the housing may provide one or more interior spaces for receiving one or more additional components or elements. The housing can in particular be manufactured by injection molding. However, other embodiments are possible.
Wie hierin verwendet, kann sich der Begriff „Kammer“ im Allgemeinen auf ein beliebiges Unterteil eines überlegenen Elements beziehen, das einen teilweise oder vollständigen umschlossenen Raum erzeugt, der zum Enthalten und/oder Lagern von Objekten verwendet werden kann. Das Unterteil kann insbesondere vollständig oder zumindest zu einem großen Teil geschlossen sein, so dass ein Innenraum der Kammer von der Umgebung isoliert sein kann. Beispielsweise kann die Kammer von anderen Teilen des überlegenen Elements durch ein oder mehrere Wände getrennt sein. Folglich können innerhalb des Gehäuses zwei oder mehr Kammern enthalten sein, die durch eine oder mehrere Wände des Gehäuses vollständig oder teilweise voneinander getrennt sein können. Jede Kammer kann einen kontinuierlichen Raum oder ein Lumen umfassen, der bzw. das zur Aufnahme von ein oder mehreren Objekten eingerichtet ist. Das Gehäuse kann jedoch auch vollständig oder teilweise durch Verwendung eines oder mehrerer verformbarer Materialien in einem verformbaren Zustand und/oder in einem gehärteten oder ausgehärteten Zustand ausgebildet sein.As used herein, the term “chamber” may generally refer to any subpart of a superior element that creates a partially or completely enclosed space that can be used to contain and/or store objects. The lower part can in particular be completely or at least largely closed, so that an interior of the chamber can be isolated from the environment. For example, the chamber may be separated from other parts of the superior element by one or more walls. Consequently, two or more chambers may be contained within the housing, which may be completely or partially separated from one another by one or more walls of the housing. Each chamber may include a continuous space or lumen configured to accommodate one or more objects. However, the housing may also be formed entirely or partially in a deformable state and/or in a hardened or hardened state by using one or more deformable materials.
Wie oben beschrieben, bildet die Sensorkammer eine abgedichtete Kammer. Der Begriff „abgedichtete Kammer“ kann sich auf eine Eigenschaft einer Kammer beziehen, die gegenüber einer Umgebung isoliert ist, so dass eine Übertragung von Gas, Flüssigkeiten und/oder festen Elementen vollständig oder zumindest zu einem großen Teil verringert wird. Insbesondere kann die Sensorkammer zur Bereitstellung einer sterilen Verpackung für den einführbaren Teil des Analytsensors eingerichtet sein. Beispielsweise kann die abnehmbare untere Kappe eine sterile Kappe sein, die zur Bereitstellung einer sterilen Verpackung für den einführbaren Teil des Analytsensors eingerichtet ist, so dass der einführbare Teil gegenüber einer Umgebung abgedichtet ist. Der Begriff „steril“ kann sich allgemein auf eine Eigenschaft eines beliebigen Objekts beziehen, das mindestens zu einem großen Teil frei von allen Lebensformen und/oder anderen biologischen Mitteln, wie Prionen, Viren, Pilzen, Bakterien oder Sporenformen ist. Das sterile Objekt kann folglich mit mindestens einem Sterilisationsverfahren behandelt werden, das die Lebensformen und/oder die anderen biologischen Mittel beseitigt und/oder deaktiviert. Das Sterilisationsverfahren kann ein oder mehr der folgenden Techniken umfassen: Erhitzen, chemische Behandlung, Bestrahlung, Hochdruck, Filtration. Andere Techniken sind jedoch möglich. Das Sterilisationsverfahren kann innerhalb einer bestimmten Region oder eines bestimmten Bereichs des Objekts, wie etwa einer Oberfläche des Objekts durchgeführt werden.As described above, the sensor chamber forms a sealed chamber. The term “sealed chamber” may refer to a characteristic of a chamber that is isolated from an environment so that transfer of gas, liquids and/or solid elements is completely or at least largely reduced. In particular, the sensor chamber can be set up to provide sterile packaging for the insertable part of the analyte sensor. For example, the removable bottom cap may be a sterile cap configured to provide sterile packaging for the insertable portion of the analyte sensor such that the insertable portion is sealed from an environment. The term “sterile” can generally refer to a property of any object that is at least largely free of all life forms and/or other biological agents, such as prions, viruses, fungi, bacteria or spore forms. The sterile object can thus be treated with at least one sterilization process that eliminates and/or deactivates the life forms and/or the other biological agents. The sterilization process may include one or more of the following techniques: heating, chemical treatment, irradiation, high pressure, filtration. However, other techniques are possible. The sterilization process may be performed within a specific region or area of the object, such as a surface of the object.
Wie unten weiter erläutert werden wird, kann die Sensorkammer mindestens eine Zwischenkomponente umfassen. Der Begriff „Zwischenkomponente“ kann sich auf eine beliebige Kammer zwischen mindestens zwei anderen Kammern und/oder die in mindestens einer anderen Kammer angeordnet sein kann, beziehen. Die Zwischenkomponente kann folglich in der Sensorkammer angeordnet sein. Die obere Kappe und die untere Kappe können an der Zwischenkomponente angebracht sein und/oder sie können miteinander verbunden sein, auf einer abnehmbaren Weise. Die Zwischenkomponente kann zwischen der oberen Kappe und der unteren Kappe angeordnet sein. Wie unten noch ausführlicher erläutert werden wird, kann die Verbindungsvorrichtung an der Zwischenkomponente angebracht sein oder umgekehrt.As will be further explained below, the sensor chamber may include at least one intermediate component. The term “intermediate component” may refer to any chamber between at least two other chambers and/or which may be located in at least one other chamber. The intermediate component can therefore be arranged in the sensor chamber. The top cap and the bottom cap may be attached to the intermediate component and/or they may be connected to each other in a removable manner. The intermediate component may be disposed between the top cap and the bottom cap. As will be explained in more detail below, the Connecting device may be attached to the intermediate component or vice versa.
Der Begriff „Kappe“ kann sich auf ein beliebiges Element beziehen, das zum Verschließen oder Abdichten eines Volumens eingerichtet ist. Insbesondere kann die Kappe eine Öffnung eines beliebigen Behälters verschließen oder abdichten. Die Begriffe „obere Kappe“ und „untere Kappe“ können als Beschreibung angesehen werden, ohne eine Reihenfolge anzugeben und ohne eine Möglichkeit auszuschließen, dass mehrere Arten von oberen Kappen und unteren Kappen angebracht werden können. Der Begriff „abnehmbar“ kann sich auf eine Eigenschaft eines Elements beziehen, das von einem beliebigen Objekt abnehmbar ist. Dadurch kann eine enge Verbindung oder ein Kontakt zwischen dem Element und dem Objekt gelöst werden. Im Allgemeinen kann das Element auf reversible Weise abnehmbar sein, wobei das Element am Objekt anbringbar oder von diesem abnehmbar sein kann, oder auf irreversible Weise, wobei das Element nach dem Abnehmen nicht am Objekt anbringbar sein kann. Wie unten noch ausführlicher erläutert wird, können die abnehmbare obere Kappe und/oder die abnehmbare untere Kappe insbesondere miteinander und/oder mit der Zwischenkomponente über mindestens eine vorbestimmte Sollbruchstelle verbunden sein, etwa über mindestens eine vorbestimmte Sollbruchstelle mit einer Schwächung in der Wand des Gehäuses, um einfaches und gut definiertes Abnehmen der Kappe von Hand zu ermöglichen, wie etwa mindestens eine vorbestimmte Sollbruchstelle, die ein oder mehr Rillen, Einkerbungen oder Schlitze in der Wand umfasst. Alternativ können statt der Verwendung einer vorbestimmten Sollbruchstelle andere Arten von abnehmbaren Verbindungen verwendet werden, wie etwa eine Schraubverbindung.The term “cap” can refer to any element designed to close or seal a volume. In particular, the cap can close or seal an opening of any container. The terms “top cap” and “bottom cap” may be considered descriptive without specifying any order and without excluding any possibility that multiple types of top caps and bottom caps may be applied. The term “detachable” can refer to a property of an element that is removable from any object. This can break a tight connection or contact between the element and the object. In general, the element may be removable in a reversible manner, in which the element can be attachable to or detachable from the object, or in an irreversible manner, in which the element cannot be attachable to the object once detached. As will be explained in more detail below, the removable upper cap and/or the removable lower cap can in particular be connected to one another and/or to the intermediate component via at least one predetermined breaking point, for example via at least one predetermined breaking point with a weakening in the wall of the housing, to allow easy and well-defined removal of the cap by hand, such as at least one predetermined breaking point comprising one or more grooves, notches or slots in the wall. Alternatively, instead of using a predetermined breaking point, other types of removable connections can be used, such as a screw connection.
Die abnehmbare obere Kappe und/oder die abnehmbare unter Kappe können beispielsweise eine längliche Form aufweisen und ein Innenvolumen bereitstellen. Die abnehmbare obere Kappe und/oder die abnehmbare untere Kappe können ein oder mehrere Griffe aufweisen, damit ein Benutzer die jeweilige Kappe abnehmen kann. Die abnehmbare obere Kappe und die abnehmbare untere Kappe können abnehmbar mit der Zwischenkomponente verbunden sein. Insbesondere können die abnehmbare obere Kappe und die abnehmbare untere Kappe auf der Zwischenkomponente gegenüberliegenden Seiten abnehmbar mit der Zwischenkomponente verbunden sein. Alternativ können die abnehmbare obere Kappe und die abnehmbare untere Kappe abnehmbar miteinander verbunden sein, wobei die Zwischenkomponente dazwischen liegt. Insbesondere kann die abnehmbare obere Kappe die Einführkanüle teilweise umgeben. Die Einführkanüle kann fest an der abnehmbaren oberen Kappe angebracht sein.For example, the removable top cap and/or the removable under cap may have an elongated shape and provide an internal volume. The removable top cap and/or the removable bottom cap may include one or more handles to allow a user to remove each cap. The removable top cap and the removable lower cap may be removably connected to the intermediate component. In particular, the removable top cap and the removable lower cap may be removably connected to the intermediate component on sides opposite to the intermediate component. Alternatively, the removable top cap and the removable lower cap may be removably connected to each other with the intermediate component therebetween. In particular, the removable top cap can partially surround the insertion cannula. The introducer cannula may be securely attached to the removable top cap.
Wie oben aufgeführt, kann die abnehmbare obere Kappe abnehmbar mit der Zwischenkomponenten verbunden sein, beispielsweise an mindestens einer oberen vorbestimmten Sollbruchstelle. Zusätzlich oder alternativ kann die abnehmbare untere Kappe an mindestens einer unteren vorbestimmten Sollbruchstelle abnehmbar mit der Zwischenkomponente verbunden sein. Wie weiter hierin verwendet kann sich der Begriff „vorbestimmte Sollbruchstelle“ auf einen beliebigen Teil eines Elements beziehen, das eingerichtet ist während einer mechanischen Belastung zu zerbrechen, während andere Teile des Elements unbeschädigt bleiben. Insbesondere kann die vorbestimmte Sollbruchstelle mindestens eine Einkerbung umfassen, wobei eine Dicke des Elements im Vergleich zu anderen Teilen des Elements kleiner sein kann. Die obere vorbestimmte Sollbruchstelle und die untere vorbestimmte Sollbruchstelle können insbesondere ringförmige Sollruchstellen sein. Die Begriffe „obere Sollruchstelle“ und „untere Sollruchstelle“ können als Beschreibung angesehen werden, ohne eine Reihenfolge anzugeben und ohne eine Möglichkeit auszuschließen, dass mehrere Arten von oberen Sollruchstellen und unteren Sollruchstellen verwendet werden können. Zusätzlich oder alternativ können statt der Verwendung einer oder mehrerer vorbestimmter Sollbruchstellen andere Arten von abnehmbaren Verbindungen verwendet werden, wie etwa eine oder mehrere Schraubverbindungen.As noted above, the removable top cap may be removably connected to the intermediate components, for example at at least one upper predetermined breaking point. Additionally or alternatively, the removable lower cap can be removably connected to the intermediate component at at least one lower predetermined breaking point. As further used herein, the term "predetermined breaking point" may refer to any part of an element that is designed to break during mechanical loading while other parts of the element remain undamaged. In particular, the predetermined breaking point can comprise at least one notch, wherein a thickness of the element can be smaller compared to other parts of the element. The upper predetermined predetermined breaking point and the lower predetermined predetermined breaking point can in particular be annular predetermined breaking points. The terms “upper debit point” and “lower debit point” may be considered descriptive without specifying any order and without excluding any possibility that multiple types of upper debit points and lower debit points may be used. Additionally or alternatively, instead of using one or more predetermined breaking points, other types of removable connections may be used, such as one or more screw connections.
Die Sensorkammer kann mindestens eine abgedichtete Öffnung umfassen, beispielsweise zum Durchführen eines Teils des Analytsensors aus der Sensorkammer zur funktionsfähigen Verbindung mit der Elektronikeinheit, etwa mit der Verbindungsvorrichtung und/oder der daran angebrachten mindestens einen Elektronikkomponente. Der Begriff „abgedichtet“ kann sich allgemein auf eine Eigenschaft eines beliebigen Elements beziehen, das vollständig oder zumindest zu einem großen Teil gegenüber der Umgebung isoliert ist. Die abgedichtete Öffnung kann mindestens ein Dichtelement umfassen. Der Begriff „Dichtelement“ kann sich im Allgemeinen auf ein beliebiges Element beziehen, das zum Abdecken von einem oder mehreren Elementen eingerichtet ist, damit diese vor Umgebungseinflüssen wie Feuchtigkeit abgedichtet werden. Das Dichtelement kann die Sensorkammer abdichten. Beispielsweise kann das Dichtelement mindestens eine Dichtlippe umfassen. Wie hierin verwendet kann sich der Begriff „Dichtlippe“ auf ein Maximum in einem Querschnittsprofil des Dichtelements beziehen, das der erste Teil des Dichtelements ist, das die andere Oberfläche berührt, wenn das Dichtelement darauf auf eine andere Oberfläche gedrückt wird. Das Profil selbst kann eine symmetrische oder asymmetrische Form aufweisen, wobei ein asymmetrisches Profil vorteilhaft ist. Das Dichtelement kann mindestens ein Dichtungsmaterial umfassen, insbesondere ein verformbares Dichtungsmaterial, bevorzugter ein Haftmaterial. Der Analytsensor kann durch die abgedichtete Öffnung verlaufen. Der Analytsensor kann teilweise in der Sensorkammer aufgenommen sein. Insbesondere kann der einführbare Teil zumindest teilweise in der Sensorkammer aufgenommen sein. Die mindestens eine abgedichtete Öffnung kann insbesondere vollständig oder teilweise Teil der Zwischenkomponente sein oder vollständig oder teilweise darin integriert sein. Die Zwischenkomponente kann folglich beispielsweise vollständig oder teilweise aus einem verformbaren oder flexiblen Material gefertigt sein, etwa aus mindestens einem elastomeren Material.The sensor chamber can comprise at least one sealed opening, for example for passing a part of the analyte sensor out of the sensor chamber for functional connection to the electronic unit, for example to the connection device and/or the at least one electronic component attached thereto. The term “sealed” can generally refer to a property of any element that is completely or at least largely isolated from the environment. The sealed opening can include at least one sealing element. The term “sealing element” can generally refer to any element designed to cover one or more elements in order to seal them from environmental influences such as moisture. The sealing element can seal the sensor chamber. For example, the sealing element can comprise at least one sealing lip. As used herein, the term "seal lip" may refer to a maximum in a cross-sectional profile of the sealing element that is the first portion of the sealing element that contacts the other surface when the sealing element is pressed onto another surface thereon. The profile itself can be symmetrical or asymmetrical Have metric shape, with an asymmetrical profile being advantageous. The sealing element can comprise at least one sealing material, in particular a deformable sealing material, more preferably an adhesive material. The analyte sensor can pass through the sealed opening. The analyte sensor can be partially accommodated in the sensor chamber. In particular, the insertable part can be at least partially accommodated in the sensor chamber. The at least one sealed opening can in particular be completely or partially part of the intermediate component or be completely or partially integrated therein. The intermediate component can therefore, for example, be made entirely or partially from a deformable or flexible material, such as at least one elastomeric material.
Die Verbindungsvorrichtung kann im Allgemeinen eine beliebige Form aufweisen. Wie oben aufgeführt kann die Verbindungsvorrichtung folglich insbesondere eine flache Vorrichtung mit einer flachen Basis sein. Die flache Basis kann direkt oder indirekt an der Haut des Benutzers angebracht werden. Die Verbindungsvorrichtung kann folglich beispielsweise eine Oberseite und eine Unterseite umfassen, insbesondere eine flache Unterseite, wobei die Unterseite mindestens ein Haftelement zur Anbringung der Verbindungsvorrichtung an der Haut des Benutzers umfasst. Folglich kann beispielsweise mindestens ein Klebstoff direkt oder indirekt auf der Unterseite aufgebracht sein. Zusätzlich oder alternativ kann mindestens ein Pflaster oder Klebestreifen direkt oder indirekt an der Unterseite angebracht sein, wobei eine Haftfläche der Haut des Benutzers zugewandt ist. Die Unterseite kann insbesondere eine Seite sein, von der der Analytsensor aus der medizinischen Vorrichtung vorragt.The connection device can generally have any shape. As stated above, the connecting device can therefore in particular be a flat device with a flat base. The flat base can be attached directly or indirectly to the user's skin. The connecting device can therefore, for example, comprise a top and a bottom, in particular a flat bottom, the bottom comprising at least one adhesive element for attaching the connecting device to the user's skin. Consequently, for example, at least one adhesive can be applied directly or indirectly to the underside. Additionally or alternatively, at least one plaster or adhesive strip can be attached directly or indirectly to the underside, with an adhesive surface facing the user's skin. The underside can in particular be a side from which the analyte sensor protrudes from the medical device.
Der Querschnitt der Verbindungsvorrichtung, etwa der Querschnitt der flachen Basis, kann jedoch an die Handhabungsschritte für die Einführung angepasst werden. Insbesondere kann die Verbindungsvorrichtung, etwa die flexible Verbindungsvorrichtung und insbesondere die flexible Leiterplatte, eine nicht-kreisförmige Gestalt mit einem oder mehreren Teilen aufweisen. Insbesondere kann eine asymmetrische Gestalt verwendet werden. Beispielsweise kann die Verbindungsvorrichtung einen ersten Teil, vorzugsweise eine erste Klappe aufweisen, an dem/der die Elektronikkomponente angebracht ist, und einen zweiten Teil, vorzugsweise eine zweite Klappe, mit einem daran angebrachten elektrischen Energiespeicher, vorzugsweise einer Batterie. Der erste Teil oder der zweite Teil kann beispielsweise jeweils eine im Wesentlichen kreisförmige Gestalt aufweisen, wobei die kreisförmige Gestalt beispielsweise nur in einer Region unterbrochen sein kann, in der der erste oder zweite Teil mit einem mittleren Teil der Verbindungsvorrichtung verbunden ist, der mit dem Gehäuse verbunden werden kann. Die Verbindungsvorrichtung kann folglich beispielsweise einen mittleren Teil umfassen, der mit dem Gehäuse verbunden ist, und ein, zwei oder mehr als zwei Teile, die mit dem mittleren Teil verbunden sind. Der mittlere Teil kann beispielsweise eine Öffnung umfassen, durch die das Gehäuse die Verbindungsvorrichtung durchdringen kann.However, the cross section of the connecting device, such as the cross section of the flat base, can be adapted to the handling steps for the insertion. In particular, the connection device, such as the flexible connection device and in particular the flexible circuit board, can have a non-circular shape with one or more parts. In particular, an asymmetrical shape can be used. For example, the connecting device can have a first part, preferably a first flap, to which the electronic component is attached, and a second part, preferably a second flap, with an electrical energy storage device, preferably a battery, attached thereto. The first part or the second part can, for example, each have a substantially circular shape, wherein the circular shape can, for example, be interrupted only in a region in which the first or second part is connected to a central part of the connecting device, which is connected to the housing can be connected. The connecting device may therefore comprise, for example, a central part connected to the housing and one, two or more than two parts connected to the central part. The middle part can, for example, comprise an opening through which the housing can penetrate the connecting device.
Die Verbindungsvorrichtung kann folglich beispielsweise insbesondere eine, zwei oder mehr als zwei Klappen oder Flügel umfassen, die vom Gehäuse vorragen. Beispielsweise kann die Verbindungsvorrichtung eine Form der Flügel einer Motte oder eines Schmetterlings aufweisen, vorzugsweise mit faltbaren Flügeln, die nach oben oder unten geklappt werden können. Folglich können beispielsweise der erste Teil und der zweite Teil faltbar sein, vorzugsweise nach oben oder unten zur einer Achse des Gehäuses. Das Umklappen kann insbesondere während der Einführung genutzt werden, um die medizinische Vorrichtung stabiler greifen zu können, wenn die Einführkanüle in das Körpergewebe des Benutzers geschoben wird. Folglich können beispielsweise die ersten und zweiten Teile während der Einführung nach oben geklappt werden und anschließend wieder in die flache Konfiguration gefaltet werden, um flach an die Haut des Benutzers angelegt zu werden und vorzugsweise um an der Haut des Benutzers mit mindestens einem Klebstoff angeklebt zu werden.The connecting device can therefore include, for example, in particular one, two or more than two flaps or wings that protrude from the housing. For example, the connecting device may have a shape of the wings of a moth or butterfly, preferably with foldable wings that can be folded up or down. Consequently, for example, the first part and the second part may be foldable, preferably up or down towards an axis of the housing. The folding can be used in particular during insertion in order to be able to grip the medical device more stably when the insertion cannula is pushed into the user's body tissue. Thus, for example, the first and second portions may be folded upward during insertion and subsequently folded back into the flat configuration to lay flat against the user's skin and preferably to be adhered to the user's skin with at least one adhesive .
Wie oben erläutert, kann die Verbindungsvorrichtung eine Öffnung aufweisen, wobei das Gehäuse der Verbindungsvorrichtung vollständig oder teilweise die Öffnung durchdringen kann. Folglich kann beispielsweise das Gehäuse teilweise auf einer Oberseite der Verbindungsvorrichtung angeordnet sein und teilweise auf einer Unterseite der Verbindungsvorrichtung angeordnet sein, beispielsweise indem es teilweise von der Verbindungsvorrichtung nach oben ragt und teilweise vom der Verbindungsvorrichtung nach unten ragt. Eine Aufwärtsrichtung kann dabei eine Richtung sein, die von der Haut des Benutzers abgewandt ist, und eine Abwärtsrichtung kann eine Richtung sein, die der Haut des Benutzers zugewandt ist. Wie oben erwähnt kann die Einführkanüle in die Abwärtsrichtung zeigen.As explained above, the connecting device can have an opening, wherein the housing of the connecting device can completely or partially penetrate the opening. Consequently, for example, the housing may be partially arranged on an upper side of the connecting device and partially arranged on a lower side of the connecting device, for example by partially protruding upward from the connecting device and partially projecting downward from the connecting device. An upward direction can be a direction that faces away from the user's skin, and a downward direction can be a direction that faces the user's skin. As mentioned above, the introducer cannula can point in the downward direction.
Wie oben weiter erwähnt, kann das Gehäuse vollständig oder teilweise an der Verbindungsvorrichtung angebracht sein. Insbesondere kann das Gehäuse an einem Rand der Öffnung der Verbindungsvorrichtung angebracht sein. Beispielsweise kann das Gehäuse eine Zwischenkomponente wie oben erwähnt umfassen, wobei die Verbindungsvorrichtung vollständig oder teilweise an der Zwischenkomponente angebracht sein kann. Die Zwischenkomponente kann folglich den oben erwähnten Rand umfassen, wobei die Verbindungsvorrichtung daran angebracht ist.As further mentioned above, the housing may be fully or partially attached to the connecting device. In particular, the housing can be attached to an edge of the opening of the connecting device. For example, the housing may comprise an intermediate component as mentioned above, wherein the connecting device may be fully or partially attached to the intermediate component. The intermediate component can therefore be the one mentioned above Include edge, with the connecting device attached thereto.
Die abnehmbare obere Kappe und die abnehmbare untere Kappe können insbesondere auf gegenüberliegenden Seiten der Verbindungsvorrichtung angeordnet sein. Wie oben weiter erläutert, kann das Gehäuse mindestens eine Zwischenkomponente aufweisen, die zwischen der abnehmbaren oberen Kappe und der abnehmbaren unteren Kappe angeordnet ist. Die Zwischenkomponente kann insbesondere einen Dichtungsring umfassen, insbesondere einen Dichtungsring, der eine Verbindung zwischen der oberen Kappe und der unteren Kappe abdichtet. Die abnehmbare obere Kappe und die abnehmbare untere Kappe können aneinander angebrachtsein, vorzugsweise durch einen Schraubmechanismus, wobei die Zwischenkomponente zwischen der abnehmbaren oberen Kappe und der abnehmbaren unteren Kappe angeordnet ist.The removable upper cap and the removable lower cap can in particular be arranged on opposite sides of the connecting device. As further discussed above, the housing may include at least one intermediate component disposed between the removable top cap and the removable lower cap. The intermediate component can in particular comprise a sealing ring, in particular a sealing ring that seals a connection between the upper cap and the lower cap. The removable top cap and the removable bottom cap may be attached to each other, preferably by a screw mechanism, with the intermediate component disposed between the removable top cap and the removable bottom cap.
Wie oben erläutert, kann der Analytsensor, beispielsweise mit dem einführbaren Teil, innerhalb der Sensorkammer angeordnet sein, und er kann mit mindestens einem anderen Teil, beispielsweise mit einem Verbindungsteil, außerhalb der Sensorkammer angeordnet sein, um mit der Elektronikeinheit wirkverbunden zu sein, etwa mit der Verbindungsvorrichtung und/oder der mindestens einen Elektronikkomponente. Um den Analytsensor auf abgedichtete Weise aus der Sensorkammer zu führen und um Eindringen von Feuchtigkeit, Schmutz oder Mikrobenverunreinigung zu vermeiden, kann die Zwischenkomponente mindestens eine abgedichtete Öffnung umfassen, wobei der Analytsensor durch die abgedichtete Öffnung verläuft. Der einführbare Teil des Analytsensors kann zumindest teilweise in der Sensorkammer aufgenommen sein, wobei ein gegenüberliegendes Ende des Analytsensors, beispielsweise ein Verbindungsabschnitt des Analytsensors, an der Elektronikeinheit angebracht sein kann.As explained above, the analyte sensor can be arranged, for example with the insertable part, within the sensor chamber, and it can be arranged with at least one other part, for example with a connecting part, outside the sensor chamber in order to be operatively connected to the electronic unit, for example with the connection device and/or the at least one electronic component. To guide the analyte sensor out of the sensor chamber in a sealed manner and to avoid ingress of moisture, dirt or microbial contamination, the intermediate component may include at least one sealed opening, with the analyte sensor passing through the sealed opening. The insertable part of the analyte sensor can be at least partially accommodated in the sensor chamber, wherein an opposite end of the analyte sensor, for example a connecting section of the analyte sensor, can be attached to the electronic unit.
Die Zwischenkomponente kann beispielsweise aus einem starren Material gefertigt sein. Alternativ kann jedoch die Zwischenkomponente vollständig oder teilweise aus einem verformbaren Material gefertigt sein, beispielsweise aus einem vollständig oder teilweise flexiblen oder elastischen Material. Die mindestens eine Zwischenkomponente kann folglich beispielsweise aus einem elastomeren Material gefertigt sein.The intermediate component can, for example, be made of a rigid material. Alternatively, however, the intermediate component can be made completely or partially from a deformable material, for example from a completely or partially flexible or elastic material. The at least one intermediate component can therefore be made, for example, from an elastomeric material.
Die Verbindungsvorrichtung kann, wie oben erläutert, mechanisch mit der Zwischenkomponente verbunden sein. Beispielsweise kann die Verbindungsvorrichtung die Zwischenkomponente vollständig oder teilweise umgeben. Die Zwischenkomponente kann einen vorragenden Rand umfassen, wobei die Verbindungsvorrichtung vollständig oder teilweise, insbesondere mechanisch, mit dem vorragenden Rand verbunden sein kann. Zur mechanischen Verbindung der Verbindungsvorrichtung mit dem Gehäuse, beispielsweise mit der Zwischenkomponente, kann im Allgemeinen jede Art von Verbindungsmechanismus verwendet werden. Insbesondere kann die Verbindungsvorrichtung jedoch unter Verwendung einer Klebe- oder Schweißverbindung mit dem Gehäuse verbunden sein. Andere Verbindungen sind jedoch möglich, etwa form- oder kraftschlüssige Verbindungen.The connecting device can, as explained above, be mechanically connected to the intermediate component. For example, the connecting device can completely or partially surround the intermediate component. The intermediate component can comprise a projecting edge, wherein the connecting device can be connected completely or partially, in particular mechanically, to the projecting edge. In general, any type of connecting mechanism can be used to mechanically connect the connecting device to the housing, for example to the intermediate component. In particular, however, the connecting device can be connected to the housing using an adhesive or welded connection. However, other connections are possible, such as positive or non-positive connections.
Die Einführkanüle kann insbesondere fest an der abnehmbaren oberen Kappe angebracht sein. Die medizinische Vorrichtung kann ferner mindestens ein Septum umfassen, das in der Sensorkammer aufgenommen wird, wobei die Einführkanüle durch das Septum verläuft, wobei das Septum zum Abdichten eines Rests der Sensorkammer nach Abnehmen der abnehmbaren oberen Kappe eingerichtet ist.The insertion cannula can in particular be firmly attached to the removable top cap. The medical device may further include at least one septum received within the sensor chamber, the introducer cannula extending through the septum, the septum adapted to seal a remainder of the sensor chamber upon removal of the removable top cap.
Die Elektronikeinheit kann ein oder mehrere Elektronikkomponenten enthalten, die an der Verbindungsvorrichtung angebracht sind. Die Elektronikkomponente kann insbesondere zur Steuerung einer mit dem Analytsensor durchgeführten Messung eingerichtet sein. Die medizinische Elektronikkomponente kann insbesondere einen anwendungsspezifischen integrierten Schaltkreis (ASIC) enthalten. Die Elektronikkomponente kann insbesondere mindestens eine einer Messvorrichtung, die zur Durchführung einer elektrochemischen Messung mit dem Analytsensor eingerichtet ist, enthalten, etwa mindestens eine Strommessvorrichtung und/oder mindestens eine Spannungsmessvorrichtung. Ferner kann ein oder mehrere einer Stromquelle und/oder einer Spannungsquelle umfasst sein.The electronics unit may contain one or more electronic components attached to the connection device. The electronic component can in particular be set up to control a measurement carried out with the analyte sensor. The medical electronic component can in particular contain an application-specific integrated circuit (ASIC). The electronic component can in particular contain at least one measuring device that is set up to carry out an electrochemical measurement with the analyte sensor, for example at least one current measuring device and/or at least one voltage measuring device. Furthermore, one or more of a current source and/or a voltage source may be included.
Die abnehmbare obere Kappe und/oder die abnehmbare untere Kappe kann mindestens einen Griff umfassen. Wie ferner hierin verwendet, kann sich der Begriff „Griff“ auf ein beliebiges Element beziehen, das Teil eines Objekts sein kann, das von Hand bewegt oder verwendet werden kann. Insbesondere kann die abnehmbare untere Kappe den Griff umfassen, der dazu eingerichtet ist, es dem Benutzer zu ermöglichen, die abnehmbare untere Kappe von der medizinischen Vorrichtung zu entfernen. Der Griff kann mindestens ein hygroskopisches Material umfassen, vorzugsweise mindestens ein Trockenmittel, bevorzugter Aktivkohle.The removable top cap and/or the removable bottom cap may include at least one handle. As further used herein, the term “handle” may refer to any element that may be part of an object that can be moved or used by hand. In particular, the removable bottom cap may include the handle configured to allow the user to remove the removable bottom cap from the medical device. The handle may comprise at least one hygroscopic material, preferably at least one desiccant, more preferably activated carbon.
Die medizinische Vorrichtung kann ferner mindestens eine Einführhilfe umfassen, die dazu eingerichtet ist, es einem Benutzer zu ermöglichen, die Einführkanüle in das Körpergewebe zu treiben und den einführbaren Teil des Analytsensors einzuführen. Wie weiter hierin verwendet, kann sich der Begriff „Einführhilfe“ auf eine beliebige technische Konstruktion beziehen, die zum Einführen eines Objekts in ein anderes Objekt eingerichtet ist. Die Einführhilfe kann daher mindestens einen Einführmechanismus umfassen. Wie weiter hierin verwendet kann sich der Begriff „Mechanismus“ auf einen beliebigen Mechanismus beziehen, der zum Umwandeln von Eingangskräften und Bewegung in einen gewünschten Satz von Ausgangskräften und Bewegung eingerichtet ist. Insbesondere kann der Einführmechanismus derart eingerichtet sein, dass der Benutzer eine Kraft in einer Einführrichtung auf die Einführkanüle ausüben kann. Folglich kann die Einführhilfe zur Erleichterung einer Handhabung der medizinischen Vorrichtung durch den Benutzer und/oder zur Reduzierung von Anwendungsfehlern eingerichtet sein. Die Einführhilfe kann das Gehäuse zumindest teilweise umgeben. Ferner kann die Einführhilfe zumindest teilweise mit dem Gehäuse gekoppelt sein.The medical device may further include at least one insertion aid configured to allow a user to drive the insertion cannula into the body tissue and insert the insertable portion of the analyte sensor. As used herein, the term “introducer” may refer to any technical term Refer to construction that is designed to insert one object into another object. The insertion aid can therefore comprise at least one insertion mechanism. As further used herein, the term “mechanism” may refer to any mechanism configured to convert input forces and motion into a desired set of output forces and motion. In particular, the insertion mechanism can be set up in such a way that the user can exert a force on the insertion cannula in an insertion direction. Consequently, the insertion aid can be designed to facilitate handling of the medical device by the user and/or to reduce application errors. The insertion aid can at least partially surround the housing. Furthermore, the insertion aid can be at least partially coupled to the housing.
Die Einführhilfe kann eine abnehmbare untere Abdeckung umfassen, die mechanisch mit der abnehmbaren unteren Kappe gekoppelt ist. Wie weiter hierin verwendet kann sich der Begriff „Abdeckung“ auf ein beliebiges Element beziehen, das ein Objekt vollständig oder mindestens zu einem großen Teil verschließt. Insbesondere kann die Abdeckung eine Schale, insbesondere eine Halbschale, die die medizinische Vorrichtung umgibt, sein oder umfassen. Die abnehmbare untere Abdeckung kann derart eingerichtet sein, dass eine Entfernung der abnehmbaren unteren Abdeckung die abnehmbare untere Kappe entfernt. Die Einführhilfe kann ferner mindestens eine obere Abdeckung umfassen. Die obere Abdeckung kann direkt oder indirekt mit der Einführkanüle und/oder der abnehmbaren oberen Kappe gekoppelt sein, so dass eine Verschiebung der oberen Abdeckung gegen den Rahmen die Einführkanüle treibt. Die Begriffe „untere Abdeckung“ und „obere Abdeckung“ können als Beschreibung angesehen werden, ohne eine Reihenfolge anzugeben und ohne eine Möglichkeit auszuschließen, dass mehrere Arten von unteren Abdeckungen und oberen Abdeckungen verwendet werden können. Die Einführhilfe kann ferner mindestens einen Rahmen umfassen. Der Begriff „Rahmen“ kann sich auf ein beliebiges Element beziehen, das zum Unterstützen anderer Komponenten einer physikalischen Konstruktion eingerichtet ist. Der Rahmen kann auf der Haut des Benutzers verschiebbar sein und das Gehäuse zumindest teilweise umgeben. Die obere Abdeckung kann gegen den Rahmen verschiebbar sein.The introducer may include a removable bottom cover mechanically coupled to the removable bottom cap. As used herein, the term "cover" may refer to any element that completely or at least largely occupies an object. In particular, the cover can be or comprise a shell, in particular a half-shell, which surrounds the medical device. The removable bottom cover may be configured such that removal of the removable bottom cover removes the removable bottom cap. The insertion aid can further comprise at least one top cover. The top cover may be coupled directly or indirectly to the introducer cannula and/or the removable top cap such that displacement of the top cover against the frame drives the introducer cannula. The terms “bottom cover” and “top cover” may be viewed as descriptive without specifying any order and without excluding any possibility that multiple types of bottom covers and top covers may be used. The insertion aid can further comprise at least one frame. The term “frame” can refer to any element designed to support other components of a physical structure. The frame can be displaceable on the user's skin and at least partially surround the housing. The top cover can be slidable against the frame.
In einem weiteren Aspekt wird ein Verfahren zum Zusammenbauen einer medizinischen Vorrichtung nach einer beliebigen Ausführungsform wie oben beschrieben oder wie unten noch weiter beschrieben offenbart. Die Verfahren umfassen die Verfahrensschritte, die nachstehend aufgeführt werden. Die Verfahrensschritte können in der angegebenen Reihenfolge durchgeführt werden. Andere Reihenfolgen der Verfahrensschritte sind jedoch möglich. Ferner können ein oder mehrere der Verfahrensschritte parallel und/oder zeitlich überlappend durchgeführt werden. Ferner können ein oder mehrere der Verfahrensschritte wiederholt durchgeführt werden. Ferner können zusätzliche Verfahrensschritte vorliegen, die nicht aufgeführt sind.In a further aspect, a method of assembling a medical device according to any embodiment as described above or as further described below is disclosed. The procedures include the process steps listed below. The process steps can be carried out in the order given. However, other sequences of the process steps are possible. Furthermore, one or more of the method steps can be carried out in parallel and/or overlapping in time. Furthermore, one or more of the process steps can be carried out repeatedly. There may also be additional process steps that are not listed.
Das Verfahren zum Zusammenbauen der medizinischen Vorrichtung umfasst:
Das Gehäuse kann durch Spritzgießen hergestellt werden. In Schritt b) kann mindestens ein weiteres Element zumindest teilweise in der Sensorkammer platziert werden. Das mindestens eine weitere Element kann aus der folgenden Gruppe ausgewählt werden: eine Einführkanüle, ein Dichtelement, insbesondere ein Septum. Das Verfahren kann ferner die funktionsfähige Verbindung, insbesondere die elektronische Verbindung, des Analytsensors mit der Elektronikeinheit umfassen.The housing can be manufactured by injection molding. In step b), at least one further element can be placed at least partially in the sensor chamber. The at least one further element can be selected from the following group: an insertion cannula, a sealing element, in particular a septum. The method can further include the functional connection, in particular the electronic connection, of the analyte sensor with the electronic unit.
Schritt c) kann mit mindestens einem Sterilisationsverfahren durchgeführt werden, das auf Strahlung basiert, insbesondere Elektronenstrahl-(E-Beam)-Sterilisation. Das Verfahren kann ferner mindestens einen Schritt der Sterilisation der Elektronikeinheit, insbesondere durch Gassterilisation umfassen.Step c) can be carried out with at least one sterilization method that is based on radiation, in particular electron beam (e-beam) sterilization. The method can further comprise at least one step of sterilizing the electronic unit, in particular by gas sterilization.
Insbesondere kann das Verfahren so durchgeführt werden, dass Schritt c) vor Schritt d) durchgeführt wird, um zu vermeiden, dass die Elektronikeinheit der Strahlung ausgesetzt wird. Analog kann die Sterilisation der Elektronikeinheit nach der Platzierung der Elektronikeinheit in der Elektronikkammer oder in mindestens einem Teil davon in einem Zustand durchgeführt werden, in dem die Sensorkammer dicht verschlossen ist, etwa durch die abnehmbare obere Kappe und die abnehmbare untere Kappe. Zur Sterilisation der Elektronikeinheit kann folglich eine Gassterilisation verwendet werden, etwa unter Verwendung von Ethylenoxid. Da die Sensorkammer durch die obere Kappe und die untere Kappe dicht verschlossen ist, kann Eindringen des Gases, das zur Sterilisation der Elektronikeinheit verwendet wird, in die Sensorkammer verhindert werden, so dass eine Beeinträchtigung des Analytsensors oder mindestens des einführbaren Teils des darin angeordneten Analytsensors verhindert werden kann.In particular, the method can be carried out in such a way that step c) is carried out before step d) in order to avoid that the electronic unit is exposed to radiation. Analogously, the sterilization of the electronics unit can be carried out after placement of the electronics unit in the electronics chamber or in at least a part thereof in a state in which the sensor chamber is tightly closed, for example by the removable upper cap and the removable lower cap. Gas sterilization can therefore be used to sterilize the electronic unit, for example using ethylene oxide. There the sensor chamber is tightly closed by the upper cap and the lower cap, penetration of the gas used to sterilize the electronic unit into the sensor chamber can be prevented, so that impairment of the analyte sensor or at least the insertable part of the analyte sensor arranged therein can be prevented can.
Durch Verwendung dieser Zweistufen-Sterilisation können die spezifischen Anforderungen und Empfindlichkeiten der verschiedenen Komponenten berücksichtigt werden. So ist im Allgemeinen die Elektronikeinheit gegen hohe Energiestrahlung, wie etwa Gammastrahlen oder Elektronenstrahlen, empfindlich und kann dadurch beschädigt werden. Folglich kann die Strahlungssterilisation am Zwischenprodukt durchgeführt werden, ohne dass die Elektronikeinheit mit dem Analytsensor verbunden ist, um den Analytsensor oder mindestens den einführbaren Teil des Analytsensors zu sterilisieren. Im Gegensatz dazu ist/sind der Analytsensor oder typische darin verwendete Sensorchemikalien in den meisten Fällen gegenüber Sterilisationsgasen wie Ethylenoxid empfindlich und kann/können durch diese beschädigt werden. Folglich kann die Sterilisation der mit dem Analytsensor verbundenen Elektronikeinheit so durchgeführt werden, dass eine Interaktion des Sterilisationsgases, wie etwa Ethylenoxid, mit dem einführbaren Teil des Analytsensors verhindert wird. Folglich können die Sterilisationsverfahren unabhängig optimiert werden, ohne das Risiko, dass die Elektronikeinheit durch Strahlung beschädigt wird und ohne das Risiko, dass der Analytsensor durch Sterilisationsgas beschädigt wird.By using this two-stage sterilization, the specific requirements and sensitivities of the different components can be taken into account. In general, the electronic unit is sensitive to high energy radiation, such as gamma rays or electron beams, and can be damaged as a result. Consequently, the radiation sterilization can be carried out on the intermediate product without the electronic unit being connected to the analyte sensor in order to sterilize the analyte sensor or at least the insertable part of the analyte sensor. In contrast, in most cases, the analyte sensor or typical sensor chemicals used therein is/are sensitive to and can be damaged by sterilizing gases such as ethylene oxide. Consequently, the sterilization of the electronic unit connected to the analyte sensor can be carried out in such a way that interaction of the sterilization gas, such as ethylene oxide, with the insertable part of the analyte sensor is prevented. Consequently, the sterilization procedures can be optimized independently without the risk of the electronics unit being damaged by radiation and without the risk of the analyte sensor being damaged by sterilizing gas.
In einem weiteren Aspekt wird ein Verfahren zum Verwenden der medizinischen Vorrichtung nach einer beliebigen Ausführungsform wie oben beschrieben oder wie unten noch weiter beschrieben offenbart. Die Verfahren umfassen die Verfahrensschritte, die nachstehend aufgeführt werden. Die Verfahrensschritte können in der angegebenen Reihenfolge durchgeführt werden. Andere Reihenfolgen der Verfahrensschritte sind jedoch möglich. Ferner können ein oder mehrere der Verfahrensschritte parallel und/oder zeitlich überlappend durchgeführt werden. Ferner können ein oder mehrere der Verfahrensschritte wiederholt durchgeführt werden. Ferner können zusätzliche Verfahrensschritte vorliegen, die nicht aufgeführt sind.In another aspect, a method of using the medical device according to any embodiment as described above or as further described below is disclosed. The procedures include the process steps listed below. The process steps can be carried out in the order given. However, other sequences of the process steps are possible. Furthermore, one or more of the method steps can be carried out in parallel and/or overlapping in time. Furthermore, one or more of the process steps can be carried out repeatedly. There may also be additional process steps that are not listed.
Das Verfahren zum Verwenden einer medizinischen Vorrichtung umfasst:
Die medizinische Vorrichtung kann ferner die mindestens eine Einführhilfe umfassen, die die mindestens eine obere Abdeckung und die abnehmbare untere Abdeckung wie oben beschrieben umfasst. Dadurch kann das Verfahren zum Verwenden einer medizinischen Vorrichtung ferner umfassen:
Das Gehäuse und/oder die Verbindungsvorrichtung können die mindestens eine Haftfläche umfassen, beispielsweise eine Haftfläche, die optional mit mindestens einer Schutzfolie bedeckt sein kann, wobei, beispielsweise in Schritt i. und/oder in Schritt ii., die Schutzfolie entfernt werden kann. Insbesondere kann die abnehmbare untere Abdeckung durch eine Drehbewegung entfernt werden. Andere Ausführungsformen sind jedoch möglich. Die obere Abdeckung kann mindestens einen Federantrieb umfassen und vor Durchführung von Schritt i. kann der Federantrieb festgezogen werden, wodurch Teile des Einführmechanismus gesichert werden, wobei nach Durchführung von Schritt ii. die Einführkanüle von mindestens einer Feder zurückgezogen wird.The housing and/or the connecting device can comprise the at least one adhesive surface, for example an adhesive surface, which can optionally be covered with at least one protective film, for example in step i. and/or in step ii., the protective film can be removed. In particular, the removable bottom cover can be removed by a rotational movement. However, other embodiments are possible. The top cover may include at least one spring drive and before performing step i. The spring drive can be tightened, thereby securing parts of the insertion mechanism, after completing step ii. the insertion cannula is retracted by at least one spring.
Die vorgeschlagene medizinische Vorrichtung, das Verfahren zum Zusammenbauen einer medizinischen Vorrichtung und das Verfahren zum Verwenden einer medizinischen Vorrichtung stellen viele Vorteile gegenüber bekannten Vorrichtungen und Verfahren bereit.The proposed medical device, the method of assembling a medical device, and the method of using a medical device provide many advantages over known devices and methods.
Üblicherweise können übliche medizinische Vorrichtungen anfänglich zwei Komponenten umfassen. Die zwei Komponenten können nach Anlegen der medizinischen Vorrichtung an das Körpergewebe des Benutzers ein Endprodukt bilden. Der Analytsensor muss üblicherweise vom Benutzer gegebenenfalls mit der Elektronikeinheit verbunden werden. Dies kann insbesondere zu Fehlern während der Anwendung und somit zu schwerwiegenden Folgen wie etwa Messfehlern führen. In üblichen medizinischen Vorrichtungen müssen daher gegebenenfalls im Allgemeinen aufwendige Konstruktionen realisiert werden, um Fehlerquellen zu umgehen. Die aufwendigen Konstruktionen können beispielsweise Dichtungen, elektrische Kontakte oder Sperrkräfte umfassen.Typically, common medical devices may initially include two components. The two components can form a final product after the medical device is applied to the user's body tissue. The analyte sensor usually has to be connected to the electronic unit by the user if necessary. This can lead in particular to errors during use and thus to serious consequences such as measurement errors. In common medical devices, complex constructions may therefore generally have to be implemented in order to avoid sources of error. The complex constructions can include, for example, seals, electrical contacts or blocking forces.
Insbesondere im Fall von Analytsensoren, die elektrochemische Sensoren sind, sind Elektronikkomponenten gegebenenfalls im Allgemeinen nicht mittels Strahl-Sterilisation behandelbar. Elektrochemische Sensoren selbst können jedoch gegebenenfalls im Allgemeinen nur durch Strahl-Sterilisation behandelbar sein, so dass eine Funktionsfähigkeit des elektrochemischen Sensors gewährleistet werden kann.Particularly in the case of analyte sensors, which are electrochemical sensors, electronic components may generally not be treatable using beam sterilization. However, electrochemical sensors themselves may generally only be treatable by beam sterilization, so that the functionality of the electrochemical sensor can be guaranteed.
Deshalb kann die medizinische Vorrichtung gemäß der vorliegenden Erfindung eine Kombination aus einer sterilen Kammer mit dem Analytsensor und der Elektronikeinheit umfassen, die insbesondere eine Elektronikeinheit zur einmaligen Verwendung sein kann. Die sterile Kammer kann in der Elektronikeinheit integriert oder daran angebracht sein.Therefore, the medical device according to the present invention may comprise a combination of a sterile chamber with the analyte sensor and the electronic unit, which may in particular be a single-use electronic unit. The sterile chamber can be integrated into the electronics unit or attached to it.
Der Benutzer kann eine medizinische Komplettvorrichtung ohne Notwendigkeit zum Zusammenbauen der medizinischen Vorrichtung erhalten. Die medizinische Vorrichtung kann ferner robust und preisgünstig sein. Ein Anlegen der medizinischen Vorrichtung an Körpergewebe des Benutzers kann auf einfache und intuitive Weise durchführbar sein.The user can obtain a complete medical device without the need to assemble the medical device. The medical device can also be robust and inexpensive. Applying the medical device to the user's body tissue can be carried out in a simple and intuitive manner.
Teile der medizinischen Vorrichtung können am Körpergewebe des Benutzers nach der Benutzung der medizinischen Vorrichtung verbleiben. Diese Teile können während eines vorgegebenen Anwendungszeitraums am Körpergewebe verbleiben. Eine Sterilisation des Analytsensors und ein anschließendes Zusammenbauen der Elektronikeinheit während des Zusammenbauens der medizinischen Vorrichtung können ohne Öffnen der abgedichteten Kammer realisiert werden. Ferner können eine kompakte und kleine Konstruktion sowie eine einfache Montage möglich sein.Parts of the medical device may remain on the user's body tissue after use of the medical device. These parts can remain on the body tissue for a given period of use. Sterilization of the analyte sensor and subsequent assembly of the electronics unit during assembly of the medical device can be realized without opening the sealed chamber. Furthermore, a compact and small design as well as easy assembly can be possible.
Während der Benutzung der medizinischen Vorrichtung kann das Gehäuse vom Benutzer geöffnet werden. Eine Schutzfolie des Haftelements kann entfernt werden und die abnehmbare untere Kappe kann abgenommen werden. Die medizinische Vorrichtung kann am Körpergewebe des Benutzers angebracht werden und der Analytsensor kann in das Körpergewebe eingeführt werden. Die Einführkanüle kann aus dem Körpergewebe entfernt werden. Anschließend kann die abnehmbare obere Kappe von der medizinischen Vorrichtung abgenommen werden.While using the medical device, the housing can be opened by the user. A protective film of the adhesive element can be removed and the removable bottom cap can be removed. The medical device can be attached to the user's body tissue and the analyte sensor can be inserted into the body tissue. The introducer cannula can be removed from the body tissue. The removable top cap can then be removed from the medical device.
Das Septum kann eine individuelle Komponente sein oder durch Spritzgießen hergestellt werden. Der mit Widerhaken versehene Haken kann zur Verhinderung einer zweiten Benutzung der Einführkanüle eingerichtet sein. Der mit Widerhaken versehene Haken kann eine zusätzliche Komponente sein oder als eine Komponente integriert sein. Die Einführkanüle kann eine Röhre oder ein Stanzbiegeteil sein. Die Einführkanüle kann vom Septum abgedichtet werden. Daher kann die Einführkanüle insbesondere einen runden Querschnitt aufweisen. Andere Ausführungsformen, wie ein flaches Design, sind jedoch möglich.The septum can be a custom component or manufactured by injection molding. The barbed hook can be designed to prevent a second use of the insertion cannula. The barbed hook may be an additional component or integrated as a component. The insertion cannula can be a tube or a stamped and bent part. The introducer cannula can be sealed by the septum. Therefore, the insertion cannula can in particular have a round cross section. However, other embodiments, such as a flat design, are possible.
Die Einführhilfe kann die obere Abdeckung umfassen. Die obere Abdeckung kann Teil der Primärverpackung sein. Ferner kann der Benutzer die obere Abdeckung zur Benutzung der medizinischen Vorrichtung verwenden. Die obere Abdeckung kann fest mit der abnehmbaren oberen Kappe verbunden sein. Die Einführhilfe kann den Rückzugsmechanismus aufweisen, der zum automatischen Zurückziehen der Einführkanüle nach dem Einführen der Einführkanüle in das Körpergewebe eingerichtet ist. Die abnehmbare untere Abdeckung der Einführhilfe kann Teil der Primärverpackung sein. Ferner kann die abnehmbare untere Abdeckung fest mit der abnehmbaren unteren Kappe verbunden sein. Während der Öffnung der abnehmbaren unteren Abdeckung kann die abnehmbare untere Kappe gleichzeitig geöffnet werden und die Haftfläche kann freigelegt werden. Der Rahmen kann die Einführkanüle schützen, insbesondere vor Benutzung der medizinischen Vorrichtung. Der Benutzer kann die medizinische Vorrichtung auf dem Körpergewebe halten. Der Rahmen kann eine anfängliche Kraft erfordern, so dass der Benutzer während der manuellen Einführung der Einführkanüle eine Kraft aufbauen kann und schnell einführen kann. Der Rahmen kann einen Mechanismus auslösen, so dass die Einführkanüle automatisch zurückgezogen werden kann, sobald der Rahmen zusammengedrückt wird. Insbesondere kann der Mechanismus ein mit einer Feder vorgespannter Mechanismus sein. Die Einführhilfe kann eine einfache Handhabung für den Benutzer bereitstellen.The insertion aid may include the top cover. The top cover can be part of the primary packaging. Furthermore, the user can use the top cover to use the medical device. The top cover can be firmly connected to the removable top cap. The insertion aid can have the retraction mechanism, which is set up to automatically retract the insertion cannula after the insertion cannula has been inserted into the body tissue. The introducer's removable bottom cover may be part of the primary packaging. Further, the removable bottom cover may be securely connected to the removable bottom cap. During the opening of the removable bottom cover, the removable bottom cap can be simultaneously opened and the adhesive surface can be exposed. The frame can protect the insertion cannula, especially before use of the medical device. The user can hold the medical device on the body tissue. The frame may require initial force so that the user can build up force during manual insertion of the introducer cannula and insert quickly. The frame can trigger a mechanism so that the introducer cannula can be automatically retracted as soon as the frame is compressed. In particular, the mechanism can be a spring-biased mechanism. The insertion aid can provide easy handling for the user.
Die abnehmbare untere Abdeckung kann eine Basis umfassen, die fest mit einem unteren Teil der abnehmbaren unteren Kappe verbunden ist, beispielsweise über eine Schnappverbindung, eine Klebeverbindung und/oder eine Längsführung oder Übertragungskraft. Die Basis kann Griffflächen zum Abnehmen der abnehmbaren unteren Abdeckung umfassen. Die Basis kann gleichzeitig eine Abdeckung für die Haftfläche sein. Dies kann zu verlängerter Haltbarkeit der Haftfläche führen. Durch Abnehmen der abnehmbaren unteren Abdeckung kann die abnehmbare untere Kappe geöffnet werden, die Einführkanüle und der Analytsensor können freigelegt werden und die Haftfläche kann gleichzeitig freigelegt werden.The removable bottom cover may include a base fixedly connected to a lower portion of the removable bottom cap, for example via a snap connection, an adhesive connection, and/or a longitudinal guide or transfer force. The base may include gripping surfaces for removing the removable bottom cover. The base can also be a cover for the adhesive surface. This can lead to extended durability of the adhesive surface. By removing the removable bottom cover, the removable bottom cap can be opened, the introducer cannula and analyte sensor can be exposed, and the adhesive surface can be exposed at the same time.
Die obere Abdeckung der Einführhilfe kann den Federantrieb umfassen. Der Federantrieb kann zum Auslösen der Einführung der Einführkanüle eingerichtet sein. Der Federantrieb kann gespannt werden, während die Elektronikeinheit in die Einführhülse gedrückt wird. Die Einführhülse kann in ein Element einrasten, das ein Zurückziehen der Einführkanüle nach der Einführung auslösen kann.The top cover of the insertion aid can include the spring drive. The spring drive can be set up to trigger the insertion of the insertion cannula. The spring drive can be tensioned while the electronics unit is pressed into the insertion sleeve. The insertion sleeve can snap into an element that can trigger the insertion cannula to be retracted after insertion.
Die obere Abdeckung kann Führungselemente umfassen, so dass eine Zirkulation der Elektronikeinheit in der Einführhilfe mindestens zu einem großen Teil unterdrückt wird. Beispielsweise kann die Elektronikeinheit eine nicht runde Gestalt aufweisen, es können Führungsschienen in einer äußeren Form der Elektronikeinheit vorhanden sein und/oder es können spezielle Strukturen wie Muttern in der Elektronikeinheit vorhanden sein.The upper cover can include guide elements so that circulation of the electronic unit in the insertion aid is at least largely suppressed. For example, the electronics unit can have a non-round shape, guide rails can be present in an external shape of the electronics unit and/or special structures such as nuts can be present in the electronics unit.
Die Einführhilfe kann durch einen Freigabeknopf ausgelöst werden. Die medizinische Vorrichtung kann auf das Körpergewebe gefeuert werden. An einem unteren Totpunkt kann der Federantrieb zum Zurückziehen der Einführkanüle freigegeben werden. Die Einführhilfe kann aus dem Körpergewebe entfernt werden. Der Benutzer kann optional die abnehmbare obere Kappe mit der Einführkanüle von Hand abnehmen. Optional kann der Benutzer die Einführhilfe kippen, wodurch die abnehmbare obere Kappe abgenommen wird.The insertion aid can be triggered by a release button. The medical device can be fired at body tissue. At a bottom dead center, the spring drive can be released to retract the insertion cannula. The insertion aid can be removed from the body tissue. The user can optionally remove the removable top cap containing the introducer cannula by hand. Optionally, the user can tilt the introducer, thereby removing the removable top cap.
Anspannen der medizinischen Vorrichtung kann durch eine Drehbewegung realisiert werden. Dadurch kann das Gehäuse aufgeschraubt werden und von unten gehalten werden. Dies kann beispielsweise durch eine geeignet geformte Primärverpackung realisiert werden. Dadurch kann die Primärverpackung mit der abnehmbaren unteren Kappe verbunden werden. Beispielsweise kann die Einführhilfe zur Durchführung der Drehbewegung zum Abnehmen der abnehmbare unteren Kappe selbst eingerichtet sein. Dies kann wie folgt realisiert werden: Während des Anspannens der medizinischen Vorrichtung können zwei Mechanismen gespannt werden. Ein erster Mechanismus kann sich auf ein Federsystem zur Einführung des Analytsensors in das Körpergewebe wie oben beschrieben beziehen. Ein zweiter Mechanismus kann sich auf die oben beschriebene Drehbewegung beziehen. Die Elektronikeinheit kann an einem oberen Totpunkt innerhalb der Einführhilfe befestigt werden. Sobald die Elektronikeinheit befestigt werden kann, kann eine Drehbewegung in einer entgegengesetzten Richtung erfolgen.Tensioning of the medical device can be achieved by a rotational movement. This allows the housing to be screwed on and held from below. This can be achieved, for example, through appropriately shaped primary packaging. This allows the primary packaging to be connected to the removable bottom cap. For example, the insertion aid itself can be set up to carry out the rotary movement to remove the removable lower cap. This can be realized as follows: Two mechanisms can be tensioned while the medical device is being tensioned. A first mechanism may relate to a spring system for introducing the analyte sensor into the body tissue as described above. A second mechanism may refer to the rotational movement described above. The electronic unit can be attached to a top dead center within the insertion aid. As soon as the electronic unit can be attached, a rotational movement can take place in an opposite direction.
Alternativ können andere Mechanismen zum Entfernen der abnehmbaren oberen Kappe von der Elektronikkammer verwendet werden, etwa ein gekoppelter Mechanismus, der auf einfache Weise zurückziehbar sein kann, Durchschneiden einer Sollruchstelle mit einem Messer oder Abschrauben der abnehmbaren oberen Kappe. Die abnehmbare obere Kappe muss nicht fest mit der Elektronikkammer verbunden sein. Zur Erleichterung des Zusammenbauens der medizinischen Vorrichtung und/oder zur Erleichterung des Entfernens der abnehmbaren oberen Kappe durch den Benutzer kann der Kupplungsmechanismus verwendet werden. Beispielsweise kann ein Röhre-in-Röhre-System verwendet werden, das eine Dichtung mit einer elastischen Masse wie Gummi, thermoplastische Polymeren, ein Epoxid oder Silikon umfasst.Alternatively, other mechanisms may be used to remove the removable top cap from the electronics chamber, such as a coupled mechanism that may be easily retractable, cutting a break with a knife, or unscrewing the removable top cap. The removable top cap does not need to be firmly attached to the electronics chamber. To facilitate assembly of the medical device and/or to facilitate removal of the removable top cap by the user, the clutch mechanism may be used. For example, a tube-in-tube system may be used that includes a seal with an elastic mass such as rubber, thermoplastic polymers, an epoxy or silicone.
Durch Verwendung einer flexiblen Verbindungsvorrichtung, etwa einer flexiblen gedruckten Leiterplatte, kann die mindestens eine Elektronikkomponente an ein flexibles biegbares Teil angelegt werden und sich folglich in einem weniger raumfordernden Zustand befinden als die Elektronikeinheit, bei der der Analytsensor in das Körpergewebe eingeführt wird und die Elektronikeinheit flach auf der Haut des Benutzers liegt.By using a flexible connection device, such as a flexible printed circuit board, the at least one electronic component can be applied to a flexible bendable part and thus be in a less bulky state than the electronic unit, in which the analyte sensor is inserted into the body tissue and the electronic unit is flat lies on the user's skin.
Während des Einführungsverfahrens, wenn die gesamte medizinische Vorrichtung auf die Haut gedrückt wird und wenn der Sensor in das Körpergewebe eingeführt wird, kann die Haut an der Einführungsstelle verzerrt werden und sich nach innen wölben. Wenn die Haut nicht von einer steifen Vorrichtung festgehalten wird, beispielsweise einer Körperhalterung mit einem Pflaster, kann die Einführtiefe folglich je nach Wölbung der Haut variieren. Durch Verformung der Elektronikeinheit während der Einführung, etwa durch Umklappen der Klappen nach oben, kann eine konstantere Einführtiefe erzielt werden.During the insertion procedure, when the entire medical device is pressed against the skin and when the sensor is inserted into the body tissue, the skin at the insertion site may become distorted and bulge inward. Consequently, unless the skin is held in place by a rigid device, such as a body restraint with a plaster, the depth of insertion may vary depending on the curvature of the skin. By deforming the electronic unit during insertion, for example by folding the flaps upwards, a more constant insertion depth can be achieved.
Ferner kann die Verwendung einer flexiblen Verbindungsvorrichtung, wie einer flexiblen gedruckten Leiterplatte, den Tragekomfort der medizinischen Vorrichtung und des in das Körpergewebe eingeführten Analytsensors bedeutend erhöhen. Zusätzlich neigt eine steife Körperhalterung eher dazu, den Kontakt mit der Haut des Benutzers zu verlieren und sich von dieser zu lösen. Im Gegensatz dazu kann sich ein flexibles System mit der Bewegung der Haut bewegen und stellt eine geringere Oberfläche für mechanische Einflüsse bereit. Folglich wird die Stabilität der Vorrichtung im Vergleich zu herkömmlichen Vorrichtungen erhöht.Furthermore, the use of a flexible connection device, such as a flexible printed circuit board, can significantly increase the comfort of wearing the medical device and the analyte sensor inserted into the body tissue. Additionally, a stiff body mount is more likely to lose contact with and separate from the user's skin. In contrast, a flexible system can move with the movement of the skin and provides less surface area for mechanical influences. Consequently, the stability of the device is increased compared to conventional devices.
In Schritt VII. des Verfahrens zur Verwendung der medizinischen Vorrichtung können folglich im Allgemeinen die mindestens zwei Abschnitte der Verbindungsvorrichtung, etwa die mindestens zwei Klappen, nach oben geklappt oder gebogen werden. Nach der Einführung können die mindestens zwei Abschnitte zurückgeklappt werden, damit sie flach an der Haut des Benutzers anliegen. Die klappbare medizinische Vorrichtung kann im Allgemeinen zu einer kompakten medizinischen Vorrichtung führen, die einfach hergestellt werden kann. Der Benutzer kann ein vollständig hergestelltes kontinuierliches Überwachungssystem ohne Notwendigkeit für weitere Montage erhalten, im Vergleich z. B. zu einem System, das die Herstellung elektrischer Verbindungen durch den Benutzer erfordert, etwa mittels einem oder mehrerer Stecker. Das Versagensrisiko während der Anwendung des Analytsensors wird dadurch stark verkleinert. Ferner kann die medizinische Vorrichtung als ein kompaktes System zur Einführung eingerichtet sein. Ferner kann die Robustheit erhöht werden und die Kosten der medizinischen Vorrichtung können aufgrund einer Verringerung der Anzahl von für die medizinische Vorrichtung benötigten Teilen gesenkt werden.In step VII of the method for using the medical device, the at least two sections of the connecting device, such as the at least two flaps, can therefore generally be folded or bent upwards. Once inserted, the minimum two sections can be folded back to lie flat against the user's skin. The foldable medical device can generally result in a compact medical device that can be easily manufactured. The user can have a fully manufactured continuous monitoring system without the need for white ter assembly received, compared to e.g. B. to a system that requires the user to make electrical connections, for example using one or more plugs. This greatly reduces the risk of failure during use of the analyte sensor. Furthermore, the medical device can be set up as a compact system for insertion. Furthermore, the robustness can be increased and the cost of the medical device can be reduced due to a reduction in the number of parts required for the medical device.
Ferner kann ein Teil des Gehäuses nach der Einführung am Körper des Benutzers verbleiben. Wie oben erläutert kann eine Zwischenkomponente folglich nach Abnehmen der abnehmbaren unteren und oberen Kappe und nach Einführen des Analytsensors auf der Haut des Benutzers verbleiben.Furthermore, part of the housing can remain on the user's body after insertion. Thus, as explained above, an intermediate component may remain on the user's skin after removal of the removable bottom and top caps and insertion of the analyte sensor.
Die mindestens eine Elektronikkomponente kann vollständig oder teilweise eingekapselt sein. Wie oben erläutert kann folglich eine Verkapselung sogar auf weiche Weise bereitgestellt werden, mittels weicher Materialien zur Verkapselung der mindestens einen Elektronikkomponente. Das mindestens eine Elektronikgehäuse kann folglich vollständig oder teilweise aus mindestens einem flexiblen oder verformbaren oder weichen Material gefertigt sein. Beispielsweise können Gummi, Silikon, ein thermoplastisches Polymer oder andere weiche Materialien verwendet werden, was den Tragekomfort der medizinischen Vorrichtung weiter erhöht.The at least one electronic component can be completely or partially encapsulated. As explained above, encapsulation can therefore even be provided in a soft manner, using soft materials for encapsulating the at least one electronic component. The at least one electronics housing can therefore be made completely or partially from at least one flexible or deformable or soft material. For example, rubber, silicone, a thermoplastic polymer, or other soft materials may be used, further increasing the comfort of the medical device.
Durch Verwendung einer Einführhilfe, etwa einer Einführhilfe, die das mindestens eine Gehäuse und/oder die mindestens eine obere Kappe und/oder die Einführkanüle umfasst, kann die Elektronikeinheit während der Einführung klein konzipiert sein, wobei anschließend durch Umklappen der Abschnitt der Verbindungsvorrichtung nach unten die Elektronikeinheit an der Haut des Benutzers angebracht werden kann, z. B. ohne einen sterilen Bereich zu öffnen. Folglich können ein kompaktes System und eine einfache Montage und Einführung realisiert werden.By using an insertion aid, such as an insertion aid that includes the at least one housing and/or the at least one upper cap and/or the insertion cannula, the electronics unit can be designed to be small during insertion, with the section of the connecting device then being folded down Electronic unit can be attached to the user's skin, e.g. B. without opening a sterile area. Consequently, a compact system and easy assembly and introduction can be realized.
Zusammenfassend sind die folgenden Ausführungsformen potenzielle Ausführungsformen der vorliegenden Erfindung und der vorliegenden Offenbarung. Andere Ausführungsformen sind jedoch möglich.In summary, the following embodiments are potential embodiments of the present invention and the present disclosure. However, other embodiments are possible.
Ausführungsform 1: Eine medizinische Vorrichtung zum Nachweis mindestens eines Analyten in einer Körperflüssigkeit, wobei die medizinische Vorrichtung umfasst:
Ausführungsform 2: Die medizinische Vorrichtung nach der vorhergehenden Ausführungsform, wobei die Verbindungsvorrichtung eine gedruckte Leiterplatte umfasst.Embodiment 2: The medical device according to the foregoing embodiment, wherein the connection device comprises a printed circuit board.
Ausführungsform 3: Die medizinische Vorrichtung nach einer der vorhergehenden Ausführungsformen, wobei die Verbindungsvorrichtung eine flexible gedruckte Leiterplatte umfasst.Embodiment 3: The medical device according to any one of the preceding embodiments, wherein the connection device comprises a flexible printed circuit board.
Ausführungsform 4: Die medizinische Vorrichtung nach der vorhergehenden Ausführungsform, wobei die flexible gedruckte Leiterplatte vollständig oder teilweise aus Polyimid gefertigt ist.Embodiment 4: The medical device according to the foregoing embodiment, wherein the flexible printed circuit board is made entirely or partially of polyimide.
Ausführungsform 5: Die medizinische Vorrichtung nach einer der vorhergehenden Ausführungsformen, wobei die Verbindungsvorrichtung eine obere Seite und eine untere Seite umfasst, wobei die untere Seite mindestens ein Haftelement zur Anbringung der Verbindungsvorrichtung an der Haut des Benutzers umfasst.Embodiment 5: The medical device according to any one of the preceding embodiments, wherein the connecting device comprises an upper side and a lower side, the lower side comprising at least one adhesive member for attaching the connecting device to the user's skin.
Ausführungsform 6: Die medizinische Vorrichtung nach einer der vorhergehenden Ausführungsformen, wobei die Verbindungsvorrichtung einen ersten Teil, vorzugsweise eine erste Klappe, umfasst, an dem/der die Elektronikkomponente angebracht ist, und einen zweiten Teil, vorzugsweise eine zweite Klappe, mit einem daran angebrachten elektrischen Energiespeicher, vorzugsweise einer Batterie.Embodiment 6: The medical device according to one of the preceding embodiments, wherein the connecting device comprises a first part, preferably a first flap, to which the electronic component is attached, and a second part, preferably a second flap, with an attached thereto electrical energy storage, preferably a battery.
Ausführungsform 7: Die medizinische Vorrichtung nach der vorhergehenden Ausführungsform, wobei der erste Teil und der zweite Teil jeweils eine im Wesentlichen kreisförmige Gestalt aufweisen.Embodiment 7: The medical device according to the foregoing embodiment, wherein the first part and the second part each have a substantially circular shape.
Ausführungsform 8: Die medizinische Vorrichtung nach einer der zwei vorhergehenden Ausführungsformen, wobei die Verbindungsvorrichtung die Form von Flügeln einer Motte oder eines Schmetterlings aufweist.Embodiment 8: The medical device according to one of the two preceding embodiments, wherein the connecting device has the shape of wings of a moth or a butterfly.
Ausführungsform 9: Die medizinische Vorrichtung nach einer der drei vorhergehenden Ausführungsformen, wobei der erste Teil und der zweite Teil faltbar sind, vorzugsweise nach oben oder unten zu einer Achse des Gehäuses.Embodiment 9: The medical device according to one of the three preceding embodiments, wherein the first part and the second part are foldable, preferably up or down to an axis of the housing.
Ausführungsform 10: Die medizinische Vorrichtung nach einer der vorhergehenden Ausführungsformen, wobei die Verbindungsvorrichtung eine Öffnung aufweist, wobei das Gehäuse die Verbindungsvorrichtung vollständig oder teilweise durch die Öffnung durchdringt.Embodiment 10: The medical device according to any one of the preceding embodiments, wherein the connecting device has an opening, the housing penetrating the connecting device completely or partially through the opening.
Ausführungsform 11: Die medizinische Vorrichtung nach der vorhergehenden Ausführungsform, wobei das Gehäuse an einem Rand der Öffnung der Verbindungsvorrichtung angebracht ist.Embodiment 11: The medical device according to the foregoing embodiment, wherein the housing is attached to an edge of the opening of the connecting device.
Ausführungsform 12: Die medizinische Vorrichtung nach einer der vorhergehenden Ausführungsformen, wobei die abnehmbare obere Kappe und die abnehmbare untere Kappe auf gegenüberliegenden Seiten der Verbindungsvorrichtung angeordnet sind.Embodiment 12: The medical device according to any one of the preceding embodiments, wherein the removable top cap and the removable lower cap are disposed on opposite sides of the connecting device.
Ausführungsform 13: Die medizinische Vorrichtung nach einer der vorhergehenden Ausführungsformen, wobei die Sensorkammer mindestens eine Zwischenkomponente umfasst, die zwischen der abnehmbaren oberen Kappe und der abnehmbaren unteren Kappe angeordnet ist.Embodiment 13: The medical device according to any one of the preceding embodiments, wherein the sensor chamber includes at least one intermediate component disposed between the removable top cap and the removable lower cap.
Ausführungsform 14: Die medizinische Vorrichtung nach der vorhergehenden Ausführungsform, wobei die Zwischenkomponente einen Dichtungsring umfasst.Embodiment 14: The medical device according to the preceding embodiment, wherein the intermediate component comprises a sealing ring.
Ausführungsform 15: Die medizinische Vorrichtung nach einer der zwei vorhergehenden Ausführungsformen, wobei die abnehmbare obere Kappe und die abnehmbare untere Kappe aneinander angebracht sind, vorzugsweise durch einen Schraubmechanismus, wobei die Zwischenkomponente zwischen der abnehmbaren oberen Kappe und der abnehmbaren unteren Kappe angeordnet ist.Embodiment 15: The medical device according to one of the two preceding embodiments, wherein the removable upper cap and the removable lower cap are attached to each other, preferably by a screw mechanism, with the intermediate component being arranged between the removable upper cap and the removable lower cap.
Ausführungsform 16: Die medizinische Vorrichtung nach einer der drei vorhergehenden Ausführungsformen, wobei die Zwischenkomponente mindestens eine abgedichtete Öffnung umfasst, wobei der Analytsensor durch die abgedichtete Öffnung verläuft.Embodiment 16: The medical device according to any one of the three preceding embodiments, wherein the intermediate component comprises at least one sealed opening, the analyte sensor passing through the sealed opening.
Ausführungsform 17: Die medizinische Vorrichtung nach der vorhergehenden Ausführungsform, wobei der einführbare Teil des Analytsensors zumindest teilweise in der Sensorkammer aufgenommen ist, wobei ein gegenüberliegendes Ende des Analytsensors an der Elektronikeinheit angebracht ist.Embodiment 17: The medical device according to the preceding embodiment, wherein the insertable part of the analyte sensor is at least partially accommodated in the sensor chamber, with an opposite end of the analyte sensor attached to the electronic unit.
Ausführungsform 18: Die medizinische Vorrichtung nach einer der vier vorhergehenden Ausführungsformen, wobei die Zwischenkomponente vollständig oder teilweise aus einem verformbaren Material gefertigt ist, vorzugsweise aus einem flexiblen oder einem elastischen Material.Embodiment 18: The medical device according to one of the four preceding embodiments, wherein the intermediate component is made entirely or partially from a deformable material, preferably from a flexible or an elastic material.
Ausführungsform 19: Die medizinische Vorrichtung nach einer der fünf vorhergehenden Ausführungsformen, wobei die Verbindungsvorrichtung mit der Zwischenkomponente verbunden ist.Embodiment 19: The medical device according to any one of the five preceding embodiments, wherein the connecting device is connected to the intermediate component.
Ausführungsform 20: Die medizinische Vorrichtung nach der vorhergehenden Ausführungsform, wobei die Verbindungsvorrichtung die Zwischenkomponente zumindest teilweise umgibt.Embodiment 20: The medical device according to the preceding embodiment, wherein the connecting device at least partially surrounds the intermediate component.
Ausführungsform 21: Die medizinische Vorrichtung nach einer der zwei vorhergehenden Ausführungsformen, wobei die Zwischenkomponente einen vorragenden Rand umfasst, wobei die Verbindungsvorrichtung mit dem vorragenden Rand verbunden ist.Embodiment 21: The medical device according to one of the two preceding embodiments, wherein the intermediate component comprises a protruding edge, the connecting device being connected to the protruding edge.
Ausführungsform 22: Die medizinische Vorrichtung nach einer der vorhergehenden Ausführungsformen, wobei die Einführkanüle fest mit der abnehmbaren oberen Kappe verbunden ist.Embodiment 22: The medical device according to any one of the preceding embodiments, wherein the introducer cannula is securely connected to the removable top cap.
Ausführungsform 23: Die medizinische Vorrichtung nach einem der vorhergehenden Ausführungsformen, wobei die medizinische Vorrichtung ferner mindestens ein Septum umfasst, das in der Sensorkammer aufgenommen ist, wobei die Einführkanüle durch das Septum verläuft, wobei das Septum zum Abdichten eines Rests der Sensorkammer nach dem Abnehmen der abnehmbaren oberen Kappe eingerichtet ist.Embodiment 23: The medical device according to any one of the preceding embodiments, wherein the medical device further comprises at least one septum received in the sensor chamber, the insertion cannula extending through the septum, the septum for sealing a remainder of the sensor chamber after removal of the removable top cap.
Ausführungsform 24: Die medizinische Vorrichtung nach einer der vorhergehenden Ausführungsformen, wobei die Elektronikeinheit eine einzelne Elektronikkomponente enthält, die an der Verbindungsvorrichtung angebracht ist, wobei die Elektronikkomponente zum Steuern einer mit dem Analytsensor durchgeführten Messung eingerichtet ist.Embodiment 24: The medical device according to one of the preceding embodiments, wherein the electronic unit is a contains an individual electronic component that is attached to the connecting device, the electronic component being set up to control a measurement carried out with the analyte sensor.
Ausführungsform 25: Die medizinische Vorrichtung nach der vorhergehenden Ausführungsform, wobei die Elektronikkomponente einen anwendungsspezifischen integrierten Schaltkreis umfasst.Embodiment 25: The medical device according to the preceding embodiment, wherein the electronic component comprises an application-specific integrated circuit.
Ausführungsform 26: Die medizinische Vorrichtung nach einer der zwei vorhergehenden Ausführungsformen, wobei die Elektronikkomponente mindestens eine einer Messvorrichtung enthält, die zur Durchführung einer elektrochemischen Messung mit dem Analytsensor eingerichtet ist.Embodiment 26: The medical device according to one of the two previous embodiments, wherein the electronic component contains at least one of a measuring device that is set up to carry out an electrochemical measurement with the analyte sensor.
Ausführungsform 27: Verfahren zum Zusammenbauen einer medizinischen Vorrichtung nach einer der vorhergehenden Ausführungsformen, wobei das Verfahren umfasst:
Ausführungsform 28: Verfahren nach der vorhergehenden Ausführungsform, wobei Schritt c) eine Strahlensterilisation umfasst.Embodiment 28: Method according to the previous embodiment, wherein step c) comprises radiation sterilization.
Ausführungsform 29: Verfahren nach einer der zwei vorhergehenden Ausführungsformen, wobei das Verfahren ferner mindestens einen Schritt der Sterilisation der Elektronikeinheit umfasst.Embodiment 29: Method according to one of the two previous embodiments, wherein the method further comprises at least one step of sterilizing the electronic unit.
Ausführungsform 30: Verfahren nach der vorhergehenden Ausführungsform, wobei der Schritt der Sterilisation der Elektronikeinheit eine Gassterilisation umfasst.Embodiment 30: Method according to the previous embodiment, wherein the step of sterilizing the electronic unit comprises gas sterilization.
Ausführungsform 31: Verfahren zum Verwenden der medizinischen Vorrichtung nach einer der vorhergehenden Ausführungsformen, die sich auf eine medizinische Vorrichtung beziehen, wobei das Verfahren umfasst:
Kurze Beschreibung der FigurenShort description of the characters
Weitere Einzelheiten der Erfindung können aus der folgenden Offenbarung der bevorzugten Ausführungsformen abgeleitet werden. Die Merkmale der Ausführungsformen können isoliert oder in beliebiger Kombination realisiert werden. Die Erfindung ist nicht auf die Ausführungsformen beschränkt. Die Ausführungsformen sind in den Figuren schematisch dargestellt. Identische Bezugsnummern in den Figuren beziehen sich auf identische Elemente oder funktional identische Elemente oder auf Elemente, die einander im Hinblick auf ihre Funktionen entsprechen.Further details of the invention can be derived from the following disclosure of the preferred embodiments. The features of the embodiments can be implemented in isolation or in any combination. The invention is not limited to the embodiments. The embodiments are shown schematically in the figures. Identical reference numbers in the figures refer to identical elements or functionally identical elements or to elements which correspond to each other in terms of their functions.
In den Figuren zeigen:
Detaillierte Beschreibung der AusführungsformenDetailed description of the embodiments
In
Die medizinische Vorrichtung 110 umfasst ferner eine Einführkanüle 116, die beispielsweise als eine geschlitzte Einführkanüle 116 ausgebildet sein kann. Andere Arten von Einführkanülen sind ebenfalls möglich. Der einführbare Teil 114 des Analytsensors 112 ist im Inneren der Einführkanüle 116 angeordnet.The
Die medizinische Vorrichtung 110 umfasst ferner ein Gehäuse 118, das eine Sensorkammer 120 umgibt. Die Sensorkammer 120 bildet eine abgedichtete Kammer 122, die gegen eine Umgebung der medizinischen Vorrichtung 110 abgedichtet ist. Die abgedichtete Kammer 122 nimmt den einführbaren Teil 114 des Analytsensors 112 auf und kann ferner die Einführkanüle 116 aufnehmen.The
Das Gehäuse 118, etwa die abgedichtete Kammer 122, umfasst eine abnehmbare obere Kappe 124 und eine abnehmbare untere Kappe 126. Die abnehmbare obere Kappe 124 und die abnehmbare untere Kappe 126 können miteinander verbunden sein, etwa durch einen Schraubmechanismus. Alternativ kann können die abnehmbaren oberen und unteren Kappen 124, 126 jedoch lösbar mit anderen Komponenten des Gehäuses 118 verbunden sein.The
Das Gehäuse 118 kann ferner eine Zwischenkomponente 128 umfassen, die vorzugsweise die Form eines Rings aufweisen kann und/oder die die Einführkanüle 116 ringförmig umgeben kann. Die Zwischenkomponente 128 kann eine abgedichtete Öffnung 130 umfassen, durch die der Analytsensor 112 aus der abgedichteten Kammer 122 geführt wird, so dass ein Verbindungsteil 132 des Analytsensors 112 außerhalb der abgedichteten Kammer 122 angeordnet ist. Die Zwischenkomponente 128 kann beispielsweise vollständig oder teilweise aus einem verformbaren oder flexiblen Material gefertigt sein, das eine Dichtung zwischen der oberen Kappe 124 und der unteren Kappe 126 bildet. Beispielsweise kann die Zwischenkomponente 128 vollständig oder teilweise aus einem elastomeren Material gefertigt sein, wie etwa Gummi und/oder ein Silikon.The
Die medizinische Vorrichtung 110 umfasst ferner mindestens eine Elektronikeinheit 134. Die Elektronikeinheit 134 umfasst eine Verbindungsvorrichtung 136, die vorzugsweise vollständig oder teilweise als eine flexible gedruckte Leiterplatte 138 ausgebildet ist. Die Verbindungsvorrichtung 136 kann ein oder mehrere leitfähige Bahnen und/oder ein oder mehrere Kontaktpunkte, wie Kontaktpads umfassen, was in den Figuren nicht gezeigt ist. Beispielsweise kann der Verbindungsabschnitt oder Kontaktabschnitt 132 des Analytsensors 112 elektrisch mit einer oder mehreren der elektrischen Bahnen und/oder Kontaktpads der Verbindungsvorrichtung 136 verbunden sein, um den Analytsensor 112 elektrisch zu kontaktieren. Beispielsweise kann die Zwischenkomponente 128 folglich ein oder mehr Vorsprünge 140 umfassen, die einfach den Verbindungsabschnitt oder Kontaktabschnitt 132 des Analytsensors 112 unterstützen können und/oder die z. B. den Verbindungsabschnitt oder Kontaktabschnitt 132 des Analytsensors 112 auf die Verbindungsvorrichtung 136 drücken können, beispielsweise auf ein oder mehrere Kontaktpads der Verbindungsvorrichtung 136 und/oder auf eine oder mehrere leitfähige Bahnen. Der Vorsprung 140 kann einen Rand 141 umfassen, der eine Region, in der der Analytsensor 112 elektrisch mit der Verbindungsvorrichtung 136 verbunden ist, vollständig oder teilweise umgibt. Ferner kann eine Lötverbindung und/oder ein leitfähiger Klebstoff für die elektrische Verbindung des Analytsensors 112 mit der Verbindungsvorrichtung 136 verwendet werden.The
Die Elektronikeinheit 134 umfasst ferner mindestens eine Elektronikkomponente 142, die direkt oder indirekt auf der Verbindungsvorrichtung 136 angebracht sein kann. Wie unten noch ausführlicher beschrieben wird, kann die mindestens eine Elektronikkomponente 142 vollständig oder teilweise eingekapselt sein, beispielsweise von einem oder mehreren Elektronikgehäusen 144.The
Die Verbindungsvorrichtung 136 kann mindestens eine Haftfläche umfassen. Folglich kann die medizinische Vorrichtung 110 auf einer Seite der Verbindungsvorrichtung 136, die dem Benutzer zugewandt ist, die auch als eine untere Seite 146 bezeichnet wird, mindestens ein Haftelement 148 und/oder mindestens eine Haftfläche, wie ein Pflaster umfassen. Auf der unteren Seite 146 kann das Pflaster mindestens eine entfernbare Deckschicht umfassen, die vor dem Anhaften auf der Haut des Benutzers entfernt werden kann.The connecting device 136 may include at least one adhesive surface. Accordingly, the
Zur Herstellung der medizinischen Vorrichtung 110 wie in
In den
Folglich entspricht die medizinische Vorrichtung 110 weitgehend dem in
Im Gegensatz zu dem in
Die in den
Wie oben erläutert können die mindestens eine Elektronikkomponente 142 und/oder der mindestens eine elektrische Energiespeicher 158 direkt oder indirekt mit der Verbindungsvorrichtung 136 verbunden werden. Wie es in der Ausführungsform der
Analog kann der elektrische Energiespeicher 158 vollständig oder teilweise eingekapselt sein. Wie es z. B. in
Wie oben erläutert, besteht die Verbindungsvorrichtung 136 vorzugsweise vollständig oder teilweise aus einem flexiblen oder verformbaren Material. Folglich kann beispielsweise eine flexible gedruckte Leiterplatte 138 verwendet werden. Dies ermöglicht eine Handhabung, bei der die Verbindungsvorrichtung 136 während der Einführung im Vergleich zur späteren Konfiguration, wenn der Analytsensor 112 eingeführt ist, eine andere Konfiguration aufweist. Die faltbaren Klappen 150, 152 können beispielsweise nach oben geklappt werden, wie es z. B. in den
Liste der BezugsnummernList of reference numbers
ZITATE ENTHALTEN IN DER BESCHREIBUNGQUOTES INCLUDED IN THE DESCRIPTION
Diese Liste der vom Anmelder aufgeführten Dokumente wurde automatisiert erzeugt und ist ausschließlich zur besseren Information des Lesers aufgenommen. Die Liste ist nicht Bestandteil der deutschen Patent- bzw. Gebrauchsmusteranmeldung. Das DPMA übernimmt keinerlei Haftung für etwaige Fehler oder Auslassungen.This list of documents listed by the applicant was generated automatically and is included solely for the better information of the reader. The list is not part of the German patent or utility model application. The DPMA assumes no liability for any errors or omissions.
Zitierte PatentliteraturCited patent literature
| Application Number | Priority Date | Filing Date | Title | 
|---|---|---|---|
| DE202016009189.2UDE202016009189U1 (en) | 2016-02-05 | 2016-02-05 | Medical device for detecting at least one analyte in a body fluid | 
| Application Number | Priority Date | Filing Date | Title | 
|---|---|---|---|
| DE202016009189.2UDE202016009189U1 (en) | 2016-02-05 | 2016-02-05 | Medical device for detecting at least one analyte in a body fluid | 
| Publication Number | Publication Date | 
|---|---|
| DE202016009189U1true DE202016009189U1 (en) | 2023-08-25 | 
| Application Number | Title | Priority Date | Filing Date | 
|---|---|---|---|
| DE202016009189.2UActiveDE202016009189U1 (en) | 2016-02-05 | 2016-02-05 | Medical device for detecting at least one analyte in a body fluid | 
| Country | Link | 
|---|---|
| DE (1) | DE202016009189U1 (en) | 
| Publication number | Priority date | Publication date | Assignee | Title | 
|---|---|---|---|---|
| US12064245B2 (en) | 2017-12-21 | 2024-08-20 | Roche Diabetes Care, Inc. | Medical system and method of manufacturing thereof | 
| Publication number | Priority date | Publication date | Assignee | Title | 
|---|---|---|---|---|
| DE954712C (en) | 1953-03-22 | 1956-12-20 | Licentia Gmbh | Switching element for actuating several contacts | 
| US5413690A (en) | 1993-07-23 | 1995-05-09 | Boehringer Mannheim Corporation | Potentiometric biosensor and the method of its use | 
| US5762770A (en) | 1994-02-21 | 1998-06-09 | Boehringer Mannheim Corporation | Electrochemical biosensor test strip | 
| US5798031A (en) | 1997-05-12 | 1998-08-25 | Bayer Corporation | Electrochemical biosensor | 
| US6129823A (en) | 1997-09-05 | 2000-10-10 | Abbott Laboratories | Low volume electrochemical sensor | 
| DE20020566U1 (en) | 2000-12-04 | 2002-01-24 | Filtec Filtertechnologie für die Elektronikindustrie GmbH, 59557 Lippstadt | Multipole connector | 
| US6360888B1 (en) | 1999-02-25 | 2002-03-26 | Minimed Inc. | Glucose sensor package system | 
| US20050013731A1 (en) | 2003-06-20 | 2005-01-20 | Burke David W. | Test strip with slot vent opening | 
| US20080242962A1 (en) | 2007-03-20 | 2008-10-02 | Bernd Roesicke | System for in-vitro measurement of an analyte concentration | 
| WO2010091028A1 (en) | 2009-02-03 | 2010-08-12 | Abbott Diabetes Care Inc. | Compact on-body physiological monitoring devices and methods thereof | 
| US20120197222A1 (en) | 2010-03-24 | 2012-08-02 | Abbott Diabetes Care Inc. | Medical Device Inserters and Processes of Inserting and Using Medical Devices | 
| WO2014018928A1 (en) | 2012-07-27 | 2014-01-30 | Abbott Diabetes Care Inc. | Medical device applicators | 
| Publication number | Priority date | Publication date | Assignee | Title | 
|---|---|---|---|---|
| DE954712C (en) | 1953-03-22 | 1956-12-20 | Licentia Gmbh | Switching element for actuating several contacts | 
| US5413690A (en) | 1993-07-23 | 1995-05-09 | Boehringer Mannheim Corporation | Potentiometric biosensor and the method of its use | 
| US5762770A (en) | 1994-02-21 | 1998-06-09 | Boehringer Mannheim Corporation | Electrochemical biosensor test strip | 
| US5798031A (en) | 1997-05-12 | 1998-08-25 | Bayer Corporation | Electrochemical biosensor | 
| US6129823A (en) | 1997-09-05 | 2000-10-10 | Abbott Laboratories | Low volume electrochemical sensor | 
| US6360888B1 (en) | 1999-02-25 | 2002-03-26 | Minimed Inc. | Glucose sensor package system | 
| DE20020566U1 (en) | 2000-12-04 | 2002-01-24 | Filtec Filtertechnologie für die Elektronikindustrie GmbH, 59557 Lippstadt | Multipole connector | 
| US20050013731A1 (en) | 2003-06-20 | 2005-01-20 | Burke David W. | Test strip with slot vent opening | 
| US20080242962A1 (en) | 2007-03-20 | 2008-10-02 | Bernd Roesicke | System for in-vitro measurement of an analyte concentration | 
| WO2010091028A1 (en) | 2009-02-03 | 2010-08-12 | Abbott Diabetes Care Inc. | Compact on-body physiological monitoring devices and methods thereof | 
| US20120197222A1 (en) | 2010-03-24 | 2012-08-02 | Abbott Diabetes Care Inc. | Medical Device Inserters and Processes of Inserting and Using Medical Devices | 
| WO2014018928A1 (en) | 2012-07-27 | 2014-01-30 | Abbott Diabetes Care Inc. | Medical device applicators | 
| Publication number | Priority date | Publication date | Assignee | Title | 
|---|---|---|---|---|
| US12064245B2 (en) | 2017-12-21 | 2024-08-20 | Roche Diabetes Care, Inc. | Medical system and method of manufacturing thereof | 
| US12064244B2 (en) | 2017-12-21 | 2024-08-20 | Roche Diabetes Care, Inc. | Medical system and method of manufacturing thereof | 
| US12082928B2 (en) | 2017-12-21 | 2024-09-10 | Roche Diabetes Care, Inc. | Medical system and method of manufacturing thereof | 
| Publication | Publication Date | Title | 
|---|---|---|
| US11903706B2 (en) | Detecting an analyte in a body fluid | |
| US12011267B2 (en) | Detecting an analyte in a body fluid | |
| EP2599505B1 (en) | Method and sterilisation device for sterilising an implantable sensor | |
| DE202018006851U1 (en) | Medical system | |
| WO2006100265A1 (en) | Analytical aid with a lancet and a testing element | |
| DE202021004267U1 (en) | Analyte monitoring system, apparatus and facilities | |
| DE202022003209U1 (en) | Systems and devices for analyte monitoring | |
| DE202016009189U1 (en) | Medical device for detecting at least one analyte in a body fluid | |
| DE202016009190U1 (en) | Medical device for detecting at least one analyte in a body fluid | |
| DE202016009188U1 (en) | Medical device for detecting at least one analyte in a body fluid | 
| Date | Code | Title | Description | 
|---|---|---|---|
| R079 | Amendment of ipc main class | Free format text:PREVIOUS MAIN CLASS: A61B0005000000 Ipc:A61B0005145000 | |
| R151 | Utility model maintained after payment of second maintenance fee after six years | ||
| R207 | Utility model specification | ||
| R152 | Utility model maintained after payment of third maintenance fee after eight years | ||
| R163 | Identified publications notified |