Movatterモバイル変換


[0]ホーム

URL:


DE202006009799U1 - Inductive treatment device - Google Patents

Inductive treatment device
Download PDF

Info

Publication number
DE202006009799U1
DE202006009799U1DE200620009799DE202006009799UDE202006009799U1DE 202006009799 U1DE202006009799 U1DE 202006009799U1DE 200620009799DE200620009799DE 200620009799DE 202006009799 UDE202006009799 UDE 202006009799UDE 202006009799 U1DE202006009799 U1DE 202006009799U1
Authority
DE
Germany
Prior art keywords
treatment device
cooling
coil
housing
fluid
Prior art date
Legal status (The legal status is an assumption and is not a legal conclusion. Google has not performed a legal analysis and makes no representation as to the accuracy of the status listed.)
Expired - Lifetime
Application number
DE200620009799
Other languages
German (de)
Current Assignee (The listed assignees may be inaccurate. Google has not performed a legal analysis and makes no representation or warranty as to the accuracy of the list.)
FAVILAB DATENSYSTEME GMBH, DE
Original Assignee
LUPOTRON GmbH
Priority date (The priority date is an assumption and is not a legal conclusion. Google has not performed a legal analysis and makes no representation as to the accuracy of the date listed.)
Filing date
Publication date
Application filed by LUPOTRON GmbHfiledCriticalLUPOTRON GmbH
Priority to DE200620009799priorityCriticalpatent/DE202006009799U1/en
Publication of DE202006009799U1publicationCriticalpatent/DE202006009799U1/en
Anticipated expirationlegal-statusCritical
Expired - Lifetimelegal-statusCriticalCurrent

Links

Classifications

Landscapes

Abstract

Translated fromGerman

InduktiveBehandlungseinrichtung, insbesondere induktive Spanneinrichtungfür Werkzeuge (4),wobei die Behandlungseinrichtung (1) mindestens eine elektromagnetischeSpule (5) und eine Kühleinrichtung(2) fürdie Spule (5) aufweist, dadurch gekennzeichnet, dass die Spule (5)mehrere mit gegenseitigem Abstand (7) angeordnete Wicklungen (6)aufweist, wobei die Kühleinrichtung (2)eine Umwälzeinrichtung(17) aufweist, die ein Kühlfluid (15)durch die beabstandeten Wicklungen (6) mit direktem Wicklungskontaktbewegt.inductiveTreatment device, in particular inductive tensioning devicefor tools (4),wherein the treatment device (1) at least one electromagneticCoil (5) and a cooling device(2) forthe coil (5), characterized in that the coil (5)a plurality of windings (6) arranged at a mutual distance (7)wherein the cooling device (2)a circulation device(17) comprising a cooling fluid (15)by the spaced windings (6) with direct winding contactemotional.

Figure 00000001
Figure 00000001

Description

Translated fromGerman

DieErfindung betrifft eine induktive Behandlungseinrichtung, insbesondereeine induktive Spanneinrichtung für Werkzeuge, mit den Merkmalenim Oberbegriff des Hauptanspruchs.TheThe invention relates to an inductive treatment device, in particularan inductive clamping device for tools, with the featuresin the preamble of the main claim.

Einesolche induktive Werkzeugeinspannvorrichtung ist aus derDE 20 2005 012 366U1 bekannt. Die induktive Spanneinrichtung besitzt eine elektromagnetischeSpule, die einen Aufnahmekegel mit elektromagnetischen Wechselfeldernunter Erzeugung von Wirbelströmenerwärmtund auf weitet, so dass ein Werkzeug, z.B. ein Fräserschaft,in die Kegelöffnungeingesteckt und nach dem Abkühlen undSchrumpfen des Kegels im Spannschluss festgehalten werden kann.Für dieSpule ist eine Kühleinrichtungvorgesehen, die mehrere Kühlelementeaufweist, welche mit der Spule in Berührungskontakt gebracht werdenkönnen.Die Kühlelementesind als Wärmetauscherin Platten- oder Kanalform ausgebildet, die ggf. von einem flüssigen Kühlmitteldurchströmtwerden. Die Spule hat dicht gepackte Wicklungen, die ggf. stellenweiseAussparungen fürdie Einbringung eines Kühlelementsaufweisen.Such inductive tool clamping device is known from DE 20 2005 012 366 U1 known. The inductive tensioning device has an electromagnetic coil which heats and expands a receiving cone with electromagnetic alternating fields to generate eddy currents, so that a tool, for example a cutter shaft, can be inserted into the cone opening and retained in the clamping connection after cooling and shrinking of the cone. For the coil, a cooling device is provided, which has a plurality of cooling elements, which can be brought into contact with the coil. The cooling elements are designed as heat exchangers in plate or channel form, which are optionally traversed by a liquid coolant. The coil has tightly packed windings which optionally have recesses in places for the introduction of a cooling element.

Esist Aufgabe der vorliegenden Erfindung, eine bessere Kühltechnikfür elektromagnetische Spulenaufzuzeigen.ItObject of the present invention, a better cooling technologyfor electromagnetic coilsshow.

DieErfindung löstdiese Aufgabe mit den Merkmalen im Hauptanspruch.TheInvention solvesthis task with the features in the main claim.

Diebeanspruchte Kühltechnikhat den Vorteil, dass die beabstandeten Wicklungen der Spule direktvon einem umgewälztenKühlfluidumflossen und kontaktiert werden können. Der Wärmeübergang von der aufgeheiztenWicklung auf das Kühlfluidist dadurch direkter und intensiver als bei den vorbekannten Wärmetauschern,bei denen sich die Wände desKühlelementszwischen den Wicklungen und dem Kühlmedium befinden. Die direkteDurchströmungder Spule ermöglichtaußerdemeine gleichmäßigere Kühlung, weildie Fluidströmungalle Spulenbereiche oder zumindest einen sehr großen Teildavon erreichen kann.Theclaimed cooling technologyhas the advantage that the spaced coils of the coil directlyfrom a circulatedcooling fluidcan be flown around and contacted. The heat transfer from the heatedWinding on the cooling fluidis thus more direct and intensive than in the previously known heat exchangers,where the walls of thecooling elementbetween the windings and the cooling medium. The directflowallows the coilFurthermorea more even cooling becausethe fluid flowall coil areas or at least a very large partcan achieve this.

Dieerfindungsgemäße Kühltechnikhat außerdemden Vorteil, dass als Kühlfluidnicht nur Flüssigkeiten,sondern auch Gase, insbesondere die Umgebungsluft, eingesetzt werdenkönnen.Letzteres ist besonders kostengünstigund ermöglichteine sehr einfache und effektive Kühleinrichtung.TheCooling technology according to the inventionhas as wellthe advantage that as a cooling fluidnot just liquids,but also gases, in particular the ambient air, are usedcan.The latter is particularly cost-effectiveand allowsa very simple and effective cooling device.

Diebeanspruchte Kühleinrichtunghat ferner den Vorteil eines einfachen Aufbaus und einer einfachenHandhabung. Auch der Platzbedarf ist sehr gering. Besonders beieiner LuftkühlungkönnenaufwändigeZusatzaggregate entfallen. Es genügen einfache Gebläse oderandere Luftumwälzeinrichtungen.Die beanspruchte Kühleinrichtungist außerdem besonderswirtschaftlich und kostengünstig.Dies gilt nicht nur fürdie Anschaffung, sondern auch fürden Betrieb der Kühleinrichtungund die Unterhaltskosten.Theclaimed cooling devicehas the further advantage of a simple structure and a simpleHandling. The space requirement is very low. Especially atan air coolingcancomplexAdditional aggregates omitted. It suffice simple blowers orother air circulation devices.The claimed cooling deviceis special as welleconomical and cost-effective.This is not only true forthe purchase, but also forthe operation of the cooling deviceand the maintenance costs.

DieKühleinrichtungarbeitet durch die gleichmäßige undintensive Kühlwirkungbesonders schnell und effektiv. Hierbei ist es außerdem möglich, zusätzlich zurSpule und deren Wicklungen auch den Spannkegel oder eine anderevon der induktiven Behandlungseinrichtung beaufschlagte Aufnahmeoder dergl. mit zu kühlen.Die hohe Kühlwirkungermöglichtkurze Taktzeiten. Die Spulenkühlungkann währenddes Spulenbetriebs und/oder in den Betriebspausen statt finden.Thecooling deviceworks through the even andintensive cooling effectespecially fast and effective. It is also possible, in addition toCoil and its windings also the clamping cone or anotherabsorbed by the inductive treatment device recordingor the like with to cool.The high cooling effectallowsshort cycle times. The coil coolingcan whilethe coil operation and / or take place during breaks.

DieKühleinrichtungkann mit unterschiedlichen Kühlfluiden,insbesondere Luft, alternativ aber auch mit Flüssigkeiten, z.B. elektrischisolierenden Ölenoder dergl. arbeiten. In den Unteransprüchen sind hierzu verschiedeneAusgestaltungsmöglichkeitenfür dieKühleinrichtungangegeben. Die Kühleinrichtungist fürbeliebige Spulenformen und Spulenkonstruktionen geeignet. Insbesonderekönnendie nach ein oder mehreren Richtungen beabstandeten Wicklungen inbeliebig geeigneter Weise ausgebildet sein, z.B. in Platinenformoder in Gestalt von Drahtpaketen oder dergl..Thecooling devicecan with different cooling fluids,in particular air, but alternatively also with liquids, e.g. electricalinsulating oilsor the like work. In the dependent claims are variousdesign optionsfor thecooling devicespecified. The cooling deviceis forany coil shapes and coil designs suitable. Especiallycanin one or more directions spaced windings inbe formed in any suitable manner, e.g. in circuit board formor in the form of wire packages or the like ..

Inden Unteransprüchensind weitere vorteilhafte Ausgestaltungen der Erfindung angegeben.Inthe dependent claimsare further advantageous embodiments of the invention indicated.

DieErfindung ist in den Zeichnungen beispielsweise und schematischdargestellt. Im einzelnen zeigen:TheThe invention is for example and schematically in the drawingsshown. In detail show:

1:eine induktive Spanneinrichtung für Werkzeuge mit einer elektromagnetischenSpule und einer Kühleinrichtungmit Luftkühlung, 1 : an inductive clamping device for tools with an electromagnetic coil and a cooling device with air cooling,

2:eine Variante zur1 mit einer anderen Kühleinrichtung, 2 : a variant to 1 with another cooling device,

3 bis5:verschiedene Varianten für Ausgestaltungenvon Kühleinrichtungenund Kühlfluidströmungen und 3 to 5 : different variants for embodiments of cooling devices and cooling fluid flows and

6:eine Behandlungseinrichtung mit einer Kühleinrichtung für eine Flüssigkeitskühlung. 6 a treatment device with a cooling device for a liquid cooling.

DieErfindung betrifft eine induktive Behandlungseinrichtung (1)mit einer Kühleinrichtung(2). Sie betrifft außerdemein Verfahren zum Kühlenvon elektromagnetischen Spulen und eine Kühleinrichtung an sich.The invention relates to an inductive treatment device ( 1 ) with a cooling device ( 2 ). It also relates to a method for cooling electromagnetic coils and a cooling device per se.

Dieinduktive Behandlungseinrichtung (1) kann in beliebigerWeise ausgebildet sein und besitzt mindestens eine elektromagnetischeSpule (5) und eine Kühleinrichtung(2) fürdiese Spule(n) (5). Die induktive Behandlungseinrichtung(1) kann in beliebig geeigneter weise ausgebildet seinund zu beliebigen Zwecken dienen. In den gezeigten Ausführungsbeispielenist die induktive Behandlungseinrichtung (1) als induktiveSpanneinrichtung fürWerkzeuge (4) ausgebildet. Alternativ kann die induktiveBehandlungseinrichtung (1) eine Heizeinrichtung zum Erwärmen vonWerkstückenoder dergl. sein. Mit der gezeigten Spanneinrichtung (1)wird eine Aufnahme (3), z.B. ein metallischer Spannkegelmit einer Aufnahmeöffnungfür denSchaft eines Werkzeugs (4) durch die von der Spule (5)erzeugten elektromagnetischen Wechselfelder und dadurch induzierteWechselströmeerwärmt.Durch die Erwärmungweitet sich der Spannkegel (3) und ermöglicht das Einstecken des Werkzeugschaftes(4). Nach Abschalten und ggf. Entfernen der Spule (5)kühlt derSpannkegel (3) wieder ab, wobei er schrumpft und den eingesteckten Werkzeugschaft(4) im Schrumpf- und Spannsitz festhält. Der Spannkegel (3)kann dann entnommen und an einer Werkzeugmaschine oder dergl. eingesetztwerden. Analog lässtsich durch Erwärmung undWeitung des Spannkegels (3) ein Werkzeug (4) auchwieder entnehmen und gegen ein anderes Werkzeug (4) tauschen.Die induktive Behandlungseinrichtung (1) kann eine Zustellvorrichtungfür die ein-oder mehrfach vorhandene elektromagnetische Spule (5) aufweisen.Die Kühleinrichtung(2) kann mit der Spule (5) mitbewegt werden.The inductive treatment device ( 1 ) may be formed in any desired manner and has at least one electromagnetic coil ( 5 ) and a cooling device ( 2 ) for this coil (s) ( 5 ). The inductive treatment device ( 1 ) may be formed in any suitable manner and serve for any purpose. In the exemplary embodiments shown, the inductive treatment device ( 1 ) as an inductive clamping device for tools ( 4 ) educated. Alternatively, the inductive treatment device ( 1 ) be a heater for heating workpieces or the like. With the clamping device shown ( 1 ), a recording ( 3 ), eg a metallic clamping cone with a receiving opening for the shank of a tool ( 4 ) through the coil ( 5 ) generated electromagnetic alternating fields and thus induced alternating currents. Due to the heating, the clamping cone widens ( 3 ) and allows the insertion of the tool shank ( 4 ). After switching off and if necessary removing the coil ( 5 ) the clamping cone ( 3 ), where it shrinks and the inserted tool shank ( 4 ) holds in the shrink and tension fit. The clamping cone ( 3 ) can then be removed and used on a machine tool or the like. Similarly, heating and widening of the clamping cone ( 3 ) a tool ( 4 ) and against another tool ( 4 ) To deceive. The inductive treatment device ( 1 ) can be a delivery device for the single or multiple existing electromagnetic coil ( 5 ) exhibit. The cooling device ( 2 ) can with the coil ( 5 ) are moved.

Dieelektromagnetische Spule (5) kann von beliebiger Bauartsein. In den gezeigten Ausführungsbeispielenhat sie im wesentlichen eine Ringform und umgibt den im Spuleninnenraumangeordneten Spannkegel (3). Die Spule (5) istmit einer geeigneten Energieversorgung und einer Steuerung versehenund kann ferner an einer Halterung verstellbar angeordnet sein,so dass ihre überden ortsfest gehaltenen Spannkegel (3) gestülpt werdenkann. Die genannten Zusatzeinrichtungen für die Spule (5) sindaus Übersichtsgründen nichtdargestellt.The electromagnetic coil ( 5 ) can be of any type. In the embodiments shown, it has a substantially annular shape and surrounds the clamping cone arranged in the coil interior ( 3 ). The sink ( 5 ) is provided with a suitable power supply and a controller and may further be arranged to be adjustable on a holder, so that their held on the stationary clamping cone ( 3 ) can be put over. The said additional devices for the coil ( 5 ) are not shown for reasons of clarity.

DieSpule (5) besitzt mehrere Wicklungen (6), diein beliebig geeigneter Weise ausgebildet sein können. Beispielsweise kann essich um Wicklungsplatinen handeln. Alternativ sind Drahtpakete oder Wicklungspaketemöglich.Die Wicklungen (6) sind mit einem gegenseitigen Abstand (7)zur Bildung von Freiräumenzwischen den Wicklungen (6) angeordnet. Die Abstände oderFreiräume(7) könnennach ein oder mehreren Richtungen bestehen. Z.B. können scheibenförmige Wicklungslagenmit Abstand übereinanderangeordnet sein, wodurch sich ebenfalls scheibenförmige Freiräume ergeben.Alternativ oder zusätzlichkönnendie Wicklungen (6) der Ringspule radial beabstandet sein.Die Anordnung und Ausbildung der Freiräume (7) kann beliebigund insbesondere mehrachsig sein. Die Wicklungen (6) sind hierbeiin geeigneter Weise untereinander elektrisch leitend verbunden.The sink ( 5 ) has several windings ( 6 ), which may be formed in any suitable manner. For example, it may be winding boards. Alternatively, wire packages or winding packages are possible. The windings ( 6 ) are at a mutual distance ( 7 ) to form free spaces between the windings ( 6 ) arranged. The distances or free spaces ( 7 ) can consist of one or more directions. For example, disk-shaped winding layers can be arranged at a distance one above the other, which also results in disk-shaped free spaces. Alternatively or additionally, the windings ( 6 ) of the toroid be radially spaced. The arrangement and formation of open spaces ( 7 ) can be arbitrary and especially multiaxial. The windings ( 6 ) are suitably connected to each other in an electrically conductive manner.

DieKühleinrichtung(2) weist eine Umwälzeinrichtung(17) fürein Kühlfluid(15) auf, welches von der Umwälzeinrichtung (17)durch die Freiräume (7)in geeigneter Weise bewegt wird und mit den Wicklungen (6)in einen direkten Berührungskontakt tritt.Hierdurch findet ein direkter Wärmeübergang vondenen im Spulenbetrieb sich erwärmenden Wicklungen(6) auf das Kühlfluid(15) statt. Durch die Erzeugung einer Fluidströmung (16)ist der Wärmeübergangbesonders intensiv und die Kühlwirkungentsprechend effektiv.The cooling device ( 2 ) has a circulation device ( 17 ) for a cooling fluid ( 15 ), which of the circulation device ( 17 ) through the open spaces ( 7 ) is moved in a suitable manner and with the windings ( 6 ) enters into direct physical contact. This results in a direct heat transfer from those in coil operation, heating windings ( 6 ) on the cooling fluid ( 15 ) instead of. By generating a fluid flow ( 16 ), the heat transfer is particularly intense and the cooling effect correspondingly effective.

DieKühleinrichtung(2), die Umwälzeinrichtung(17) und das eingesetzte Kühlfluid (15) können unterschiedlichausgebildet sein. In den Ausführungsbeispielensind hierfürverschiedene Varianten angegeben.The cooling device ( 2 ), the circulation device ( 17 ) and the cooling fluid used ( 15 ) can be designed differently. In the embodiments, various variants are given for this purpose.

Inden Ausführungsformenvon1 bis6 wird als Kühlfluid (15) ein Gas,insbesondere die Umgebungsluft der Behandlungseinrichtung (1) eingesetzt.In der Variante von6 kommt ein flüssiges Kühlfluid(15) zum Einsatz. Die Kühlfluide(15), insbesondere die Kühlflüssigkeit können elektrisch isolierendeEigenschaften haben. Dies ist günstig, wenndie stromführendenWicklungen (6) offen liegen.In the embodiments of 1 to 6 is used as cooling fluid ( 15 ) a gas, in particular the ambient air of the treatment device ( 1 ) used. In the variant of 6 comes a liquid cooling fluid ( 15 ) for use. The cooling fluids ( 15 ), in particular the cooling liquid can have electrically insulating properties. This is favorable if the current-carrying windings ( 6 ) are open.

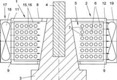
1 zeigteine Variante, in der die Spule (5) von einem Gehäuse (8)zumindest bereichsweise umgeben ist. Das Gehäuse (8) kann eineim wesentlichen zylindrische Form haben und an den Stirnwänden (10) Öffnungenfür denDurchlass des Spannkegels (3) und des Werkzeugs (4)aufweisen. Bei der gezeigten Ausführungsform ist die Spule (5)in Radialrichtung gegenüberdem Spannkegel (3) distanziert. Ein elektrischer Kontaktwird durch den Abstand vermieden. Alternativ kann das Gehäuse (8)an der Innenseite eine zylindrische oder kegelförmige Innenwand (nicht dargestellt)aufweisen, welche die Spule (5) vom Spannkegel (3)trennt. Hierdurch erhältdas Gehäuse(8) eine Ringkanalform. Die besagte Innenwand kann für das Kühlfluid(15) durchlässig oderundurchlässigsein. Eine ähnlicheVariante in der Gehäusegestaltungist auch bei2 möglich. 1 shows a variant in which the coil ( 5 ) of a housing ( 8th ) is surrounded at least in certain areas. The housing ( 8th ) may have a substantially cylindrical shape and at the end walls ( 10 ) Openings for the passage of the clamping cone ( 3 ) and the tool ( 4 ) exhibit. In the embodiment shown, the coil is ( 5 ) in the radial direction relative to the clamping cone ( 3 ) distant. An electrical contact is avoided by the distance. Alternatively, the housing ( 8th ) on the inside a cylindrical or conical inner wall (not shown), which the coil ( 5 ) of the clamping cone ( 3 ) separates. This gives the housing ( 8th ) a ring channel shape. The said inner wall can be used for the cooling fluid ( 15 ) be permeable or impermeable. A similar variant in the housing design is also at 2 possible.

Inder Variante von1 besteht die Umwälzeinrichtung(17) aus zwei oder mehr Gebläsen (18,19),die in Umfangsrichtung versetzt zueinander angeordnet sind und z.B.bezüglichder Kegel- und Spulenachse einander diametral gegenüberliegen.Die Gebläse(18,19) könnenin beliebig geeigneter Weise ausgebildet und außenseitig an der Seitenwandung(9) des Gehäuses(8) angeordnet sein. Das eine Gebläse (18) saugt Umgebungsluftan und drücktdiese durch ein oder mehrere Gehäuseöffnungen(11) in der Seitenwand (9) in den Gehäuseinnenraumund durch die beabstandeten Wicklungen (6). Das z.B. diametralgegenüberliegendezweite Gebläse(19) unterstütztdie im Gehäuseinnenraumerzeugte und durch die Freiräume(7) gerichtete Fluidströmung(16), in dem es die Kühlluft(15) aus dem Gehäuse(8) absaugt und in die Umgebung ausbläst. In der Variante von1 wirdeine im wesentlichen quer zur Kegel- und Spulenachse gerichteteFluidströmung(16) erzeugt. Die Fluidströmung (16) kann jenach Wicklungsausbildung mehrlagig sein. In1 sind dieWicklungen (6) lagenweise in Spulenachsrichtung mit Abstand übereinanderangeordnet, wodurch quer zur Spulenachse gerichtete Freiräume (7)gebildet werden.In the variant of 1 if the circulation device ( 17 ) from two or more blowers ( 18 . 19 ), which are arranged offset in the circumferential direction to each other and, for example, diametrically opposite each other with respect to the cone and coil axis. The blowers ( 18 . 19 ) can be formed in any suitable manner and on the outside of the side wall ( 9 ) of the housing ( 8th ) can be arranged. The one blower ( 18 ) sucks in ambient air and pushes it through one or more housing openings ( 11 ) in the side wall ( 9 ) in the housing interior and by the spaced windings ( 6 ). The diametrically opposite second blower ( 19 ) supports the space generated in the housing interior and through the free spaces ( 7 ) directed fluid flow ( 16 ), in which the cooling air ( 15 ) out of the housing ( 8th ) sucks and blows out into the environment. In the variant of 1 is a substantially transverse to the cone and coil axis directed fluid flow ( 16 ) generated. The fluid flow ( 16 ) can be multi-layer depending on the winding training. In 1 are the windings ( 6 ) are arranged one above the other in the coil axis direction at a spacing, whereby free spaces directed transversely to the coil axis ( 7 ) are formed.

2 zeigteine Variante mit einer um 90° umgelenktenFluidströmung(16) und einer anderen Umwälzeinrichtung (17).In diesem Fall wird ebenfalls mit Umgebungsluft als Kühlfluid(15) gearbeitet, wobei die Kühlluft durch Blaskästen (20)an einer der Stirnwände(10) des Gehäuses(8) zugeführtund überGehäuseöffnungen(11) eingespeist sowie an der gegenüberliegenden Stirnwand (10) über Gehäuseöffnungen(12) wieder ausgelassen und ggf. in die Umgebung ausgeblasenwird. Hierbei wird eine im wesentlichen längs der Spulenachse gerichteteFluidströmung(16) erzeugt, wobei die Wicklungen (6) in Radialrichtungbeabstandet sind. Die Fluidströmung (16)kann in beliebig geeigneter Weise in die Blaskästen (20) eingespeistwerden, was z.B. durch externe Gebläse oder durch Anschluss aneine Druckluftversorgung mit Kompressor und Drucktank oder dergl.geschehen kann. Die Blaskästen(20) können amGehäuse(8) angebaut und ggf. mit dem Gehäuse (8) mitbewegtwerden. Sie könnenalternativ stationär angeordnetsein und sich bei abgesenktem Gehäuse (8) dicht anschließen. Diez.B. ringförmigenoder segmentartig ausgebildeten Blaskästen (20) können wahlweisean der unteren oder oberen Stirnwand (10) angeordnet oderzugeordnet sein. In Abwandlung der gezeigten Ausführungsformkönnenan der gegenüberliegendenStirnwand außerdemSaugkästenangeordnet sein.2 zeigt außerdem beispielsweise die Ausbildungund Anordnung von Gehäuseöffnungen(12) an einer Gehäusewand(10). In den anderen Ausführungsbeispielen sind die Gehäuseöffnungenim einzelnen nicht dargestellt und nur die Bezugsziffer angegeben.Die Gehäuseöffnungen (11,12)könnenz.B. gleichmäßig in einemRaster oder in anderer beliebiger Weise verteilte kreisförmige oderprismatische Wanddurchlässesein. Vorzugsweise korrespondieren die Gehäuseöffnungen (11,12)mit den Freiräumen(7) und ermöglicheneine direkte Anströmungbzw. Abströmung. 2 shows a variant with a 90 ° deflected fluid flow ( 16 ) and another circulating device ( 17 ). In this case, also with ambient air as the cooling fluid ( 15 ), whereby the cooling air through blow boxes ( 20 ) on one of the end walls ( 10 ) of the housing ( 8th ) and via housing openings ( 11 ) and at the opposite end wall ( 10 ) via housing openings ( 12 ) is discharged again and possibly blown into the environment. Here, a substantially along the coil axis directed fluid flow ( 16 ), wherein the windings ( 6 ) are spaced in the radial direction. The fluid flow ( 16 ) can be inserted into the blow boxes in any suitable way ( 20 ), which can be done, for example, by external blowers or by connection to a compressed air supply with compressor and pressure tank or the like. The blow boxes ( 20 ) can on the housing ( 8th ) and possibly with the housing ( 8th ) are moved. Alternatively, they can be arranged stationary and, when the housing is lowered, ( 8th ) connect tightly. The eg annular or segment-like blow boxes ( 20 ) can be attached to the lower or upper end wall ( 10 ) or assigned. In a modification of the embodiment shown suction boxes can also be arranged on the opposite end wall. 2 also shows, for example, the design and arrangement of housing openings ( 12 ) on a housing wall ( 10 ). In the other embodiments, the housing openings are not shown in detail and only the reference number. The housing openings ( 11 . 12 ) can be, for example, evenly distributed in a grid or in any other way distributed circular or prismatic wall passages. Preferably, the housing openings ( 11 . 12 ) with the free spaces ( 7 ) and allow a direct flow or outflow.

3 bis5 zeigenin einer schematischen Draufsicht auf eine induktive Behandlungseinrichtung(1) verschiedene Gestaltungsmöglichkeiten für die Fluidströmung (16).Das Kühlfluid(5) ist in diesen Fällenebenfalls Umgebungsluft, kann alternativ aber auch ein anderes externzugeführtesGas sein, welches ggf. nach Durchströmung der Spule (5)wieder aufgefangen ggf. aufbereitet und wiederverwendet wird. 3 to 5 show in a schematic plan view of an inductive treatment device ( 1 ) various design options for the fluid flow ( 16 ). The cooling fluid ( 5 ) is in these cases also ambient air, but may alternatively be another externally supplied gas, which possibly after flowing through the coil ( 5 ) collected again if necessary prepared and reused.

Inder Variante von3 ist an einer Gehäuseseiteeine Umwälzeinrichtung(17) angeordnet, die z.B. aus einem sich über diegesamte Breite und Höhedes in diesem Beispiel kubischen Gehäuses (8) und seinerSeitenwand erstreckt. Alternativ kann die Umwälzeinrichtung (17)auch einen Blaskasten, einen Gasanschluss oder dergl. aufweisen.In der gezeigten Ausführungsformsaugt das Gebläse(18) Umgebungsluft an und drückt sie auf breiter Front durchdie Spule (5) und deren beabstandete Wicklungen (6).An der gegenüberliegendenGehäuseseite trittdie Fluidströmung(16) ebenfalls auf breiter Front wieder aus. Die Fluidströmung (16)umfließtden Kegelbereich und eine evtl. vorhandene innenseitige Ringwanddes Gehäuses(8). Die Strömungsrichtung (23)ist in diesem Fall gleichgerichtet und im wesentlichen einachsig.Alternativ kann an der gegenüberliegendenGehäuseseiteein weiteres Gebläsezum Absaugen der Fluidströmung(16) angeordnet sein. Die Ausbildung kann ähnlich wiein1 sein.In the variant of 3 is on a housing side a circulating device ( 17 ) arranged, for example, over the entire width and height of the cubic in this example housing ( 8th ) and its side wall. Alternatively, the circulation device ( 17 ) also have a blow box, a gas connection or the like. In the embodiment shown, the blower sucks ( 18 Ambient air and pushes it across the coil ( 5 ) and their spaced windings ( 6 ). On the opposite side of the housing enters the fluid flow ( 16 ) also on a broad front again. The fluid flow ( 16 ) flows around the conical area and a possibly existing inside ring wall of the housing ( 8th ). The flow direction ( 23 ) is rectified in this case and essentially uniaxial. Alternatively, on the opposite side of the housing another blower for sucking off the fluid flow ( 16 ) can be arranged. The training can be similar to in 1 be.

Inder Variante von4 wird mit zwei Fluidströmungen (16)gearbeitet, die entgegengesetzte Strömungsrichtungen (23)haben. Hierzu ist an den gegenüberliegendenGehäuseseitenjeweils an einer Seitenwandhälfteein Gebläse(18,19) angeordnet, welches Außenluftansaugt und in den Gehäuseinnenraumdrückt.Die Durchströmungder Spule (5) kann verstärkt werden, wenn an der jeweils gegenüberliegendenGehäusewandSauggebläseangeordnet sind.In the variant of 4 is with two fluid flows ( 16 ), the opposite directions of flow ( 23 ) to have. For this purpose, on the opposite sides of the housing in each case on a side wall half a blower ( 18 . 19 ), which sucks in outside air and presses into the housing interior. The flow through the coil ( 5 ) can be amplified when suction fans are arranged on the respective opposite housing wall.

InAbwandlung der gezeigten Ausführungsformkann zum Trennen der beiden entgegengesetzt gerichteten Fluidströmungen (16)im Gehäuse(8) eine im wesentlichen längslaufende Innenwand beidseitsdes Spannkegels (3) bzw. im Anschluss an eine ringförmige Gehäuseinnenwandvorgesehen sein.In a modification of the embodiment shown, for separating the two oppositely directed fluid flows ( 16 ) in the housing ( 8th ) a substantially longitudinal inner wall on both sides of the clamping cone ( 3 ) or be provided following an annular housing inner wall.

Inder Variante von5 sind die Gehäuseöffnungen(11,12) fürden Einlass und Auslass des Kühlfluids(15) auf der gleichen Gehäuseseite angeordnet. Hierdurchwird eine ringförmigeund durch die Spule (5) umlaufende Fluidströmung (16)erzeugt. Zur Führungder Luftströmungkann im Gehäuse(8) ein um ca. 180° gebogenerStrömungskanal(13) durch eingezogene Innenwände gebildet werden. Die äußere undim wesentlichen U-förmigeKanalwand umschließtggf. mit einem radialen Abstand die Spule (5) und derenWicklungen (6). Die innere Kanalwand wird von zwei Verbindungswänden gebildet, diesich zwischen der Gehäuseseitenwandund dem Spannkegel (3) erstrecken. Die Fluidströmung (16) wirdim Strömungskanal(13) um 180° umgelenkt.Für dieZufuhr und Abfuhr der Kühlluft(15) sorgen z.B. Blas- und Saugkästen (20), die andie Gehäuseöffnungen(11,12) anschließen.In the variant of 5 are the housing openings ( 11 . 12 ) for the inlet and outlet of the cooling fluid ( 15 ) are arranged on the same side of the housing. This creates an annular and through the coil ( 5 ) circulating fluid flow ( 16 ) generated. To guide the air flow can in the housing ( 8th ) a bent by approximately 180 ° flow channel ( 13 ) are formed by retracted inner walls. The outer and substantially U-shaped channel wall encloses possibly with a radial distance the coil ( 5 ) and their windings ( 6 ). The inner channel wall is formed by two connecting walls which extend between the housing side wall and the clamping cone (FIG. 3 ). The fluid flow ( 16 ) is in the flow channel ( 13 ) is deflected by 180 °. For the supply and removal of cooling air ( 15 ) provide, for example, blowing and suction boxes ( 20 ), which are attached to the housing tions ( 11 . 12 ) connect.

Inden in1 bis5 gezeigten Varianten muss dasGehäuse(8) nicht geschlossen sein. Streuverluste der Kühlluft (15)könnenin Kauf genommen werden.In the in 1 to 5 variants shown, the housing ( 8th ) not be closed. Scatter losses of the cooling air ( 15 ) can be accepted.

Inder Variante von6 kommt ein flüssiges Kühlfluid(15) zum Einsatz, welches z.B. aus einem elektrisch isolierenden Öl oder dergl.besteht. Bei flüssigenKühlmitteln(15) empfiehlt sich die Bildung mindestens einer geschlossenenFluidkammer (14) im Gehäuse(8), in der die nach ein oder mehreren Richtungen beabstandeten Wicklungen(6) und die Kühlflüssigkeitleckagefrei aufgenommen sind. Die Fluidkammer (14) kannz.B. ringförmigausgebildet sein und den Spannkegel (3) umfangsseitig umgeben.Durch eine geeignete Umwälzeinrichtung (17)kann in der Fluidkammer (14) eine umfangsseitig umlaufendeFluidströmungerzeugt werden. Die Umwälzeinrichtung(17) weist in diesem Fall zwei oder mehr Fluidanschlüsse (21,22)für eineZufuhr und Abfuhr der Kühlflüssigkeit(15) auf. An die z.B. stutzenartig ausgebildeten Fluidanschlüsse (21,22) kanneine geeignete Ringleitung mit einer Pumpe für die Erzeugung der Umwälzströmung angeschlossen sein.Die Fluidanschlüsse(21,22) könneneinander diametral gegenüberliegen.In Abwandlung der gezeigten Ausführungsformkönnenmehrere Fluidkammern (14) angeordnet sein und getrenntvon einander übereine entsprechende Umwälzeinrichtung(17) mit Kühlflüssigkeit(15) versorgt werden. Ferner ist es möglich, mehrere segmentartigeFluidkammern (14) im Ring rund um die Spulenachse anzuordnenund jeweils einzeln mittels Fluidanschlüssen (21,22)zu beaufschlagen. Die Fluidanschlüsse (21,22)können z.B.an der oberen und unteren Stirnseite des Gehäuses (8) angeordnetsein, um eine im wesentlichen längsder Spulenachse gerichtete Fluidströmung zu erzeugen. Die Fluidanschlüsse (21,22)könnenuntereinander durch Ringleitungen verbunden und an eine gemeinsamePumpe oder ein anderes Umwälzgerät angeschlossensein.In the variant of 6 comes a liquid cooling fluid ( 15 ), which consists for example of an electrically insulating oil or the like. For liquid coolants ( 15 ) it is recommended to form at least one closed fluid chamber ( 14 ) in the housing ( 8th ), in which the windings spaced apart in one or more directions ( 6 ) and the coolant are absorbed leak-free. The fluid chamber ( 14 ) may for example be annular and the clamping cone ( 3 ) surrounded circumferentially. By a suitable circulation device ( 17 ) can in the fluid chamber ( 14 ) a circumferentially circulating fluid flow are generated. The circulation device ( 17 ) in this case has two or more fluid ports ( 21 . 22 ) for a supply and removal of the cooling liquid ( 15 ) on. At the example neck-like fluid connections ( 21 . 22 ) may be connected to a suitable ring line with a pump for generating the recirculation flow. The fluid connections ( 21 . 22 ) can be diametrically opposed to each other. In a modification of the embodiment shown, a plurality of fluid chambers ( 14 ) and separated from each other via a corresponding circulation device ( 17 ) with cooling liquid ( 15 ) are supplied. Furthermore, it is possible to use a plurality of segment-like fluid chambers ( 14 ) in the ring around the coil axis and in each case individually by means of fluid connections ( 21 . 22 ). The fluid connections ( 21 . 22 ) can, for example, on the upper and lower end of the housing ( 8th ) to produce a fluid flow directed substantially along the spool axis. The fluid connections ( 21 . 22 ) can be interconnected by ring lines and connected to a common pump or other circulating device.

Diein6 gezeigte Ausführungsform eignet sich auchfür beliebigeandere Kühlfluide(15), insbesondere Kühlgase.Diese Ausführungsformerlaubt eine leckagefreie Führungdes Kühlfluids(15) in einem Kreislauf und ggf. eine Aufbereitung undWiederverwendung des Kühlfluids(15).In the 6 embodiment shown is also suitable for any other cooling fluids ( 15 ), in particular cooling gases. This embodiment allows a leak-free guidance of the cooling fluid ( 15 ) in a circuit and possibly a treatment and reuse of the cooling fluid ( 15 ).

Inden gezeigten Ausführungsbeispielenbehältdas Kühlfluid(15) seinen Aggregatzustand bei der Kühlung der Spule (5)und der Wärmeaufnahme bei.Die Wärmeabgabekann in beliebig geeigneter Weise erfolgen. Kühlluft wird in die Umgebungausgeblasen und kühltdort von selbst ab. Andere im Kreislauf geführte Kühlmittel (15) können über eine separateund externe Kühleinrichtung,z.B. einen Plattenkühleroder dergl. geführtwerden und geben dort die von der Spule (5) aufgenommeneWärme ab. Fernerist es möglich,Kühlmittel(15) einzusetzen, die bei der Wärmeaufnahme an der Spule (5)ihren Aggregatzustand ändern.Dies könnenz.B. Kühlmittelsein, wie sie z.B. bei Wärmepumpen,Kühlschränken oderdergl. eingesetzt werden. In diesem Kühlmittelkreislauf können einKompressor und weitere Aggregate angeordnet sein.In the embodiments shown, the cooling fluid ( 15 ) its state of aggregation when cooling the coil ( 5 ) and the heat absorption at. The heat can be done in any suitable manner. Cooling air is blown into the environment and cools down there by itself. Other recirculating coolants ( 15 ) can be passed through a separate and external cooling device, such as a plate cooler or the like. There, from the coil ( 5 ) absorbed heat. It is also possible to use coolant ( 15 ), which in the heat absorption at the coil ( 5 ) change their state of aggregation. These may be, for example, coolants such as those used in heat pumps, refrigerators or the like. In this coolant circuit, a compressor and other units can be arranged.

Inweiterer Abwandlung der gezeigten und beschriebenen Ausführungsformenist die Luftkühlungder Spule (5) auch ohne Gehäuse (8) möglich. Indiesem Fall könnennach außenelektrisch isolierte Wicklungen (6) zum Einsatz kommen,die mit stegartigen Haltern verbunden sind, um der Spule (5)eine ausreichende Eigenstabilitätzu verleihen. Die Spule (5) kann ggf. von ein oder mehrerenschmalen Bügelnumschlossen sein, an denen ein oder mehrere Gebläse (18,19)angeordnet und befestigt sind. Die Kühlluftströmung kann dabei an verschiedenenumfangsseitigen Stellen der Spule (5) austreten.In a further modification of the illustrated and described embodiments, the air cooling of the coil ( 5 ) without housing ( 8th ) possible. In this case, electrically insulated windings ( 6 ) are used, which are connected to web-like holders to the coil ( 5 ) to give sufficient intrinsic stability. The sink ( 5 ) may optionally be enclosed by one or more narrow brackets, on which one or more fans ( 18 . 19 ) are arranged and fixed. The cooling air flow can be at different peripheral locations of the coil ( 5 ) exit.

Darüber hinaussind weitere Abwandlungen der gezeigten und beschriebenen Ausführungsformenmöglich.Die Abwandlungen betreffen z.B. die Spule (5), die einekegelartige Formgebung haben kann. Die Spule (5) kann außerdem mehrteiligsein und aus mehreren einzelnen und ggf. einzeln steuerbaren Spulenteilenbestehen. Ferner ist es möglich, dieSpule (5) und das ggf. vorhandene Gehäuse (9) verstellbarauszubilden, wobei sich z.B. der Innendurchmesser und die Öffnungsweitefür dieAufnahme unterschiedlicher Spannkegel (3) oder dergl. verstellenlässt.Die Kühleinrichtung(2) passt sich diesen Formänderungen entsprechend an.Das Gehäuse(8) ist ebenfalls variationsfähig. In den gezeigten Ausführungsformenbesteht es aus einem elektrisch isolierenden und magnetisch leitendenMaterial. Das Gehäuse(8) kann außerdemmit einem Polschuh an der Gehäuseseiteergänztwerden, die dem vorderen Kegelende und der Mündung der Aufnahmeöffnung für das Werkzeug(4) benachbart ist.In addition, further modifications of the embodiments shown and described are possible. The modifications concern eg the coil ( 5 ), which may have a conical shape. The sink ( 5 ) may also be multi-part and consist of several individual and possibly individually controllable coil parts. Furthermore, it is possible to use the coil ( 5 ) and possibly existing housing ( 9 ) adjustable, wherein, for example, the inner diameter and the opening width for receiving different clamping cone ( 3 ) or the like can be adjusted. The cooling device ( 2 ) adapts to these changes in shape accordingly. The housing ( 8th ) is also capable of variation. In the embodiments shown it consists of an electrically insulating and magnetically conductive material. The housing ( 8th ) can also be supplemented with a pole piece on the side of the housing, which is the front cone end and the mouth of the tool ( 4 ) is adjacent.

Variabelist auch die Ausgestaltung der Kühleinrichtung(2) und insbesondere deren Umwälzeinrichtung (17).Grundsätzlichkann die Umwälzeinrichtung(17) in beliebig geeigneter Weise ausgestaltet sein, umim Bereich der beabstandeten Wicklungen (6) eine Fluidströmung (16)zu erzeugen.Variable is also the design of the cooling device ( 2 ) and in particular their circulation device ( 17 ). Basically, the circulation device ( 17 ) can be configured in any suitable manner in order in the region of the spaced windings ( 6 ) a fluid flow ( 16 ) to create.

11
induktiveBehandlungseinrichtung, SpanneinrichtunginductiveTreatment device, clamping device
22
Kühleinrichtungcooling device
33
Aufnahme,SpannkegelAdmission,clamping cone
44
WerkzeugTool
55
SpuleKitchen sink
66
Wicklungwinding
77
Freiraum,AbstandFree space,distance
88th
Gehäusecasing
99
SeitenwandSide wall
1010
Stirnwandbulkhead
1111
Gehäuseöffnung,EinlassHousing opening,inlet
1212
Gehäuseöffnung,AuslassHousing opening,outlet
1313
Strömungskanalflow channel
1414
geschlosseneFluidkammerclosedfluid chamber
1515
Kühlfluid,Luft, FlüssigkeitCooling fluid,Air, liquid
1616
Fluidströmungfluid flow
1717
Umwälzeinrichtungcirculation
1818
Gebläsefan
1919
Gebläsefan
2020
Blaskastenblow box
2121
Fluidanschlussfluid port
2222
Fluidanschlussfluid port
2323
Strömungsrichtungflow direction

Claims (13)

Translated fromGerman
Induktive Behandlungseinrichtung, insbesondereinduktive Spanneinrichtung fürWerkzeuge (4), wobei die Behandlungseinrichtung (1)mindestens eine elektromagnetische Spule (5) und eine Kühleinrichtung(2) fürdie Spule (5) aufweist,dadurch gekennzeichnet,dass die Spule (5) mehrere mit gegenseitigem Abstand (7)angeordnete Wicklungen (6) aufweist, wobei die Kühleinrichtung(2) eine Umwälzeinrichtung(17) aufweist, die ein Kühlfluid (15) durchdie beabstandeten Wicklungen (6) mit direktem Wicklungskontaktbewegt.Inductive treatment device, in particular inductive clamping device for tools ( 4 ), the treatment device ( 1 ) at least one electromagnetic coil ( 5 ) and a cooling device ( 2 ) for the coil ( 5 ),characterized in that the coil ( 5 ) several at a distance ( 7 ) arranged windings ( 6 ), wherein the cooling device ( 2 ) a circulation device ( 17 ) comprising a cooling fluid ( 15 ) through the spaced windings ( 6 ) moved with direct winding contact.Behandlungseinrichtung nach Anspruch 1, dadurch gekennzeichnet,dass die Umwälzeinrichtung (17)ein oder mehrere Gebläse(18,19) oder Blaskästen (20) zur Erzeugungeiner durch die Wicklungen (6) fließenden Luftströmung aufweistTreatment device according to claim 1, characterized in that the circulation device ( 17 ) one or more fans ( 18 . 19 ) or blow boxes ( 20 ) for generating a through the windings ( 6 ) has flowing air flowBehandlungseinrichtung nach Anspruch 1 oder 2, dadurchgekennzeichnet, dass die Gebläse (18,19)oder Blaskästen(20) gleich oder entgegengesetzt gerichtete Fluidströmungen (16)erzeugen.Treatment device according to claim 1 or 2, characterized in that the blowers ( 18 . 19 ) or blow boxes ( 20 ) equal or opposite directed fluid flows ( 16 ) produce.Behandlungseinrichtung nach Anspruch 1 oder 2, dadurchgekennzeichnet, dass die Gebläse (18,19)oder Blaskästen(20) eine umlaufende Fluidströmung (16) erzeugen.Treatment device according to claim 1 or 2, characterized in that the blowers ( 18 . 19 ) or blow boxes ( 20 ) a circulating fluid flow ( 16 ) produce.Behandlungseinrichtung nach Anspruch 1, dadurch gekennzeichnet,dass die Umwälzeinrichtung (17)ein oder mehrere Fluidanschlüsse(21,22) für eineKühlflüssigkeit aufweist.Treatment device according to claim 1, characterized in that the circulation device ( 17 ) one or more fluid ports ( 21 . 22 ) for a cooling liquid.Behandlungseinrichtung nach einem der vorhergehendenAnsprüche,dadurch gekennzeichnet, dass die Spule (5) eine Ringformaufweist und eine Aufnahme (3) für das Werkzeug (4)umgibt.Treatment device according to one of the preceding claims, characterized in that the coil ( 5 ) has a ring shape and a receptacle ( 3 ) for the tool ( 4 ) surrounds.Behandlungseinrichtung nach einem der vorhergehendenAnsprüche,dadurch gekennzeichnet, dass die Spule (5) von einem Gehäuse (8)zumindest teilweise umgeben ist.Treatment device according to one of the preceding claims, characterized in that the coil ( 5 ) of a housing ( 8th ) is at least partially surrounded.Behandlungseinrichtung nach einem der vorhergehendenAnsprüche,dadurch gekennzeichnet, dass das Gehäuse (8) ein oder mehrereGehäuseöffnungen(11,12) fürdas Kühlfluid(15) aufweist.Treatment device according to one of the preceding claims, characterized in that the housing ( 8th ) one or more housing openings ( 11 . 12 ) for the cooling fluid ( 15 ) having.Behandlungseinrichtung nach einem der vorhergehendenAnsprüche,dadurch gekennzeichnet, dass im Gehäuse (8) ein oder mehrereStrömungskanäle (13)für dasKühlfluid(15) gebildet sind.Treatment device according to one of the preceding claims, characterized in that in the housing ( 8th ) one or more flow channels ( 13 ) for the cooling fluid ( 15 ) are formed.Behandlungseinrichtung nach einem der vorhergehendenAnsprüche,dadurch gekennzeichnet, dass der Strömungskanal (13) für eine Umlaufströmung imwesentlichen ringförmigausgebildet ist.Treatment device according to one of the preceding claims, characterized in that the flow channel ( 13 ) is designed to be substantially annular for a circulating flow.Behandlungseinrichtung nach einem der Ansprüche 1 bis7, dadurch gekennzeichnet, dass das Gehäuse (8) mindestenseine geschlossene und die Wicklungen (6) umgebende Fluidkammer(14) aufweist.Treatment device according to one of claims 1 to 7, characterized in that the housing ( 8th ) at least one closed and the windings ( 6 ) surrounding fluid chamber ( 14 ) having.Behandlungseinrichtung nach Anspruch 11, dadurchgekennzeichnet, dass die Fluidkammer (14) mehrere Fluidanschlüsse (21,22)für eineKühlflüssigkeitaufweist.Treatment device according to claim 11, characterized in that the fluid chamber ( 14 ) several fluid connections ( 21 . 22 ) for a cooling liquid.Behandlungseinrichtung nach einem der Ansprüche 1 bis6, dadurch gekennzeichnet, dass die Spule (5) zumindestaußenseitigweitgehend offen angeordnet ist.Treatment device according to one of claims 1 to 6, characterized in that the coil ( 5 ) is arranged largely open at least on the outside.
DE2006200097992006-06-212006-06-21 Inductive treatment deviceExpired - LifetimeDE202006009799U1 (en)

Priority Applications (1)

Application NumberPriority DateFiling DateTitle
DE200620009799DE202006009799U1 (en)2006-06-212006-06-21 Inductive treatment device

Applications Claiming Priority (1)

Application NumberPriority DateFiling DateTitle
DE200620009799DE202006009799U1 (en)2006-06-212006-06-21 Inductive treatment device

Publications (1)

Publication NumberPublication Date
DE202006009799U1true DE202006009799U1 (en)2007-10-25

Family

ID=38622616

Family Applications (1)

Application NumberTitlePriority DateFiling Date
DE200620009799Expired - LifetimeDE202006009799U1 (en)2006-06-212006-06-21 Inductive treatment device

Country Status (1)

CountryLink
DE (1)DE202006009799U1 (en)

Cited By (6)

* Cited by examiner, † Cited by third party
Publication numberPriority datePublication dateAssigneeTitle
CN101913053A (en)*2010-08-202010-12-15常州宝隆冶金设备制造有限公司Method and device for quickly and simply disassembling bearing inner ring
DE102009046410A1 (en)*2009-11-042011-05-05Bauer, Helmut K., Dipl.-Ing. (FH) Device for inductive heating of workpieces with cooling
CN102069344A (en)*2011-01-142011-05-25吉林大学Variable-diameter bearing inner ring induction replacer
CN104136164A (en)*2012-02-132014-11-05弗兰茨海莫机械制造两合公司Apparatus for cooling a shrink-fit chuck
US12311170B2 (en)2020-05-042025-05-27Btl Healthcare Technologies A.S.Device and method for unattended treatment of a patient
US12427307B2 (en)2020-05-042025-09-30Btl Healthcare Technologies A.S.Device and method for unattended treatment of a patient

Citations (5)

* Cited by examiner, † Cited by third party
Publication numberPriority datePublication dateAssigneeTitle
DE1139224B (en)*1961-05-121962-11-08Siemens Ag Device for heating workpieces u. The like. With the help of a cooled induction coil surrounded by a ring-shaped container
DE2140657C (en)*1971-08-131973-02-01Fa Carl Canzler, 5160 Duren Induction heating device for heating apparatus for the chemical and related industry
GB1533570A (en)*1976-03-291978-11-29Electricity CouncilFluid-cooled multi-layer coils
DE10253106A1 (en)*2002-11-132004-06-03E. Zoller GmbH & Co. KG Einstell- und Messgeräte shrinker
DE202005012366U1 (en)*2005-01-282005-10-27E. Zoller GmbH & Co. KG Einstell- und MessgeräteTool tensioning device for thermally tensioning tools has a cooling element arranged outside of an electrical conductor for cooling an induction coil

Patent Citations (5)

* Cited by examiner, † Cited by third party
Publication numberPriority datePublication dateAssigneeTitle
DE1139224B (en)*1961-05-121962-11-08Siemens Ag Device for heating workpieces u. The like. With the help of a cooled induction coil surrounded by a ring-shaped container
DE2140657C (en)*1971-08-131973-02-01Fa Carl Canzler, 5160 Duren Induction heating device for heating apparatus for the chemical and related industry
GB1533570A (en)*1976-03-291978-11-29Electricity CouncilFluid-cooled multi-layer coils
DE10253106A1 (en)*2002-11-132004-06-03E. Zoller GmbH & Co. KG Einstell- und Messgeräte shrinker
DE202005012366U1 (en)*2005-01-282005-10-27E. Zoller GmbH & Co. KG Einstell- und MessgeräteTool tensioning device for thermally tensioning tools has a cooling element arranged outside of an electrical conductor for cooling an induction coil

Cited By (7)

* Cited by examiner, † Cited by third party
Publication numberPriority datePublication dateAssigneeTitle
DE102009046410A1 (en)*2009-11-042011-05-05Bauer, Helmut K., Dipl.-Ing. (FH) Device for inductive heating of workpieces with cooling
CN101913053A (en)*2010-08-202010-12-15常州宝隆冶金设备制造有限公司Method and device for quickly and simply disassembling bearing inner ring
CN101913053B (en)*2010-08-202012-05-30常州宝隆冶金设备制造有限公司Method and device for quickly and simply disassembling bearing inner ring
CN102069344A (en)*2011-01-142011-05-25吉林大学Variable-diameter bearing inner ring induction replacer
CN104136164A (en)*2012-02-132014-11-05弗兰茨海莫机械制造两合公司Apparatus for cooling a shrink-fit chuck
US12311170B2 (en)2020-05-042025-05-27Btl Healthcare Technologies A.S.Device and method for unattended treatment of a patient
US12427307B2 (en)2020-05-042025-09-30Btl Healthcare Technologies A.S.Device and method for unattended treatment of a patient

Similar Documents

PublicationPublication DateTitle
DE102008022105B4 (en) Liquid-cooled electrical machine and method for cooling such an electrical machine
DE202006009799U1 (en) Inductive treatment device
AT502354B1 (en) ELECTROMAGNETIC GENERATOR
DE60033934T2 (en) DEVICE AND METHOD OF A CLOSED AIR / AIR COOLER FOR ELECTRICAL GENERATORS
DE102011086786B3 (en)Cooling housing useful for accommodating electronic components, comprises heat pipes for cooling the electronic components, and are integrated with the cooling housing, and contain a liquid fluid that evaporates under heat absorption
WO2016058870A1 (en)Drive device for the drive train of a motor vehicle
DE102018129230B4 (en) Electrical machine with several rigid winding sections designed as waveguides - hydraulic connection concept II
DE102006014596B4 (en) Device for cooling air using the magnetocaloric effect
DE4332304A1 (en) Gas-cooled electrical machine
EP3397782B1 (en)Device for treating metal workpieces with cooling gas
EP2930827A1 (en)Electric machine with flow cooling
DE102016114841A1 (en) Batch furnace for annealing stock and heat treatment method
DE102006025487A1 (en)Dynamo-electric machine e.g. generator, has brushless exciter cooled through gaseous cooling medium e.g. air, by using cooling circuit, and one separate fan for circulation of cooling medium in cooling circuit of exciter
DE102012007707A1 (en) Cooling unit for cabinet cooling
DE102017126599A1 (en) inductance
EP1633962A1 (en)Fluid cooling device
WO2017190720A1 (en)Electric machine having water and air cooling
DE102011105623B4 (en) Device for heating a ferromagnetic extrusion cylinder
DE10228431A1 (en) Laboratory sample temperature control device with recordings
EP3059528B1 (en)Cold storage room and method for operating the same
DE19912280C1 (en) Transformer and method for cooling a transformer
WO2003003544A1 (en)Electric motor comprising thermally conductive pipes
DE202004010834U1 (en)Controlled temperature treatment vessel comprises cylindrical work chamber ringed by annular chamber fitted with tube to heat or cool incoming compressed air and direct air into main chamber in selected direction.
DE202006016164U1 (en) Arrangement for cooling medium guidance for slip ring space ventilation for slip ring machines
EP2192366A2 (en)Device for radiating a substrate

Legal Events

DateCodeTitleDescription
R163Identified publications notified
R207Utility model specification

Effective date:20071129

R081Change of applicant/patentee

Owner name:FAVILAB DATENSYSTEME GMBH, DE

Free format text:FORMER OWNER: LUPOTRON GMBH, 86316 FRIEDBERG, DE

Effective date:20090617

R156Lapse of ip right after 3 years

Effective date:20100101


[8]ページ先頭

©2009-2025 Movatter.jp