Movatterモバイル変換


[0]ホーム

URL:


DE202006007613U1 - Photovoltaic system for production of electrical energy, has thermal fuse provided in connecting lines between photovoltaic unit and hand-over point, where fuse has preset marginal temperature corresponding to fire temperature - Google Patents

Photovoltaic system for production of electrical energy, has thermal fuse provided in connecting lines between photovoltaic unit and hand-over point, where fuse has preset marginal temperature corresponding to fire temperature
Download PDF

Info

Publication number
DE202006007613U1
DE202006007613U1DE202006007613UDE202006007613UDE202006007613U1DE 202006007613 U1DE202006007613 U1DE 202006007613U1DE 202006007613 UDE202006007613 UDE 202006007613UDE 202006007613 UDE202006007613 UDE 202006007613UDE 202006007613 U1DE202006007613 U1DE 202006007613U1
Authority
DE
Germany
Prior art keywords
thermal fuse
photovoltaic
photovoltaic system
fuse
electrical
Prior art date
Legal status (The legal status is an assumption and is not a legal conclusion. Google has not performed a legal analysis and makes no representation as to the accuracy of the status listed.)
Expired - Lifetime
Application number
DE202006007613U
Other languages
German (de)
Current Assignee (The listed assignees may be inaccurate. Google has not performed a legal analysis and makes no representation or warranty as to the accuracy of the list.)
Individual
Original Assignee
Individual
Priority date (The priority date is an assumption and is not a legal conclusion. Google has not performed a legal analysis and makes no representation as to the accuracy of the date listed.)
Filing date
Publication date
Application filed by IndividualfiledCriticalIndividual
Priority to DE202006007613UpriorityCriticalpatent/DE202006007613U1/en
Publication of DE202006007613U1publicationCriticalpatent/DE202006007613U1/en
Anticipated expirationlegal-statusCritical
Expired - Lifetimelegal-statusCriticalCurrent

Links

Classifications

Landscapes

Abstract

Translated fromGerman

Fotovoltaikanlage(10) mit wenigstens einem Fotovoltaikelement (12) zur Dach- oder Freiflächenmontageund mit elektrischen Verbindungsleitungen (16) zur Übertragungvon Gleichspannung zu einer elektrischen Übergabestelle (18) bzw. zueinem Wechselrichter (19), gekennzeichnet durch eine thermischeSicherung in der elektrischen Verbindungsleitung (16) zwischen demwenigstens einen Fotovoltaikelement (12) und der elektrischen Übergabestelle(18).Fotovoltaikanlage(10) with at least one photovoltaic element (12) for roof or open space installationand with electrical connection lines (16) for transmissionfrom DC voltage to an electrical transfer point (18) or toan inverter (19), characterized by a thermalFuse in the electrical connection line (16) between theat least one photovoltaic element (12) and the electrical transfer point(18).

Figure 00000001
Figure 00000001

Description

Translated fromGerman

Dievorliegende Erfindung betrifft eine Fotovoltaikanlage mit den Merkmalendes Oberbegriffs des unabhängigenAnspruchs 1 sowie eine Brandschutzsicherung für eine Fotovoltaikanlage.TheThe present invention relates to a photovoltaic system having the featuresthe generic term of the independentClaim 1 and a fire protection for a photovoltaic system.

Fotovoltaikanlagenwerden zur Erzeugung von elektrischer Energie durch Umwandlung vonsolarer Strahlungsenergie in vielfältigen Varianten eingesetzt.Bekannte Anordnungen sehen eine Vielzahl von einzelnen Fotovoltaikelementenvor, die bspw. auf Gebäudedächern oderauf Freiflächenaufgestellt und gruppiert sein können.Die einzelnen Elemente sind in der Regel in Gruppen in Serie geschaltet,so dass die bereitgestellte elektrische Gleichspannung zu einemWechselrichter geleitet und in ein öffentliches Stromnetz eingespeistoder zu eigenen Verwendung bereitgestellt werden kann.photovoltaic panelsare used to generate electrical energy by convertingsolar radiation energy used in many variants.Known arrangements see a plurality of individual photovoltaic elementsin front, for example, on building roofs orin open spacescan be set up and grouped.The individual elements are usually connected in groups in series,so that the provided DC electrical voltage to aInverters are fed and fed into a public gridor may be provided for its own use.

ImSchadens- oder Störfall,insbesondere bei Bränden,könnendie von der Anlage bereitgestellten elektrischen Spannungswertejedoch zu Problemen führen,da bei den typischerweise auftretenden Brandtemperaturen die Leitungsisolierungen raschverschmoren, so dass Kurzschlüsseentstehen können.Auftreffendes Löschwasserkann zusätzlicheProbleme verursachen, da nicht isolierte Leitungsabschnitte in Verbindungmit dem Löschwasser zuFunkenüberschlägen führen können. DieBrandbekämpfungist deshalb schwierig und fürdie Feuerwehrleute gefährlich.Zudem ist fürdie Brandbekämpfernicht erkennbar, ob eine potenzielle Gefährdung durch stromführende offeneLeitungen vorliegt oder nicht.in theDamage or accident,especially in fires,canthe electrical voltage levels provided by the systembut cause problemsbecause at the typically occurring fire temperatures, the line insulation quicklyspotted, leaving shortscan arise.Impinging extinguishing watercan be extraCause problems as uninsulated pipe sections connectwith the extinguishing water tooSparking flashovers. TheFirefightingis therefore difficult and forthe firefighters dangerous.In addition, is forthe firefightersnot detectable, whether a potential hazard from live openLines present or not.

EinZiel der vorliegenden Erfindung besteht darin, eine Sicherung für Fotovoltaikanlagenzur Verfügungzu stellen, die im Störfall,insbesondere bei auftretenden Bränden,eine Gefährdungder Brandbekämpferzuverlässigverhindern kann.OneThe aim of the present invention is a fuse for photovoltaic systemsto disposalin the event of a fault,especially when fires occur,a dangerthe fire-fighterreliablecan prevent.

DiesesZiel der Erfindung wird mit dem Gegenstand des unabhängigen Anspruchserreicht. Merkmale vorteilhafter Weiterbildungen der Erfindung ergebensich aus den abhängigenAnsprüchen.ThisThe aim of the invention is the subject of the independent claimreached. Features of advantageous developments of the invention resultfrom the dependent onesClaims.

Eineerfindungsgemäße Fotovoltaikanlage umfasstwenigstens ein Fotovoltaikelement zur Dach- oder Freiflächenmontageund eine elektrische Verbindungsleitung zur Übertragung von Gleichspannungzu einer elektrischen Übergabestelle.Die Erfindung sieht eine thermische Sicherung in der elektrischenVerbindungsleitung zwischen dem wenigsten einen Fotovoltaikelementund der elektrischen Übergabestellevor. Die thermische Sicherung sorgt für eine Unterbrechung der Leitungsverbindungund damit der elektrischen Leitung bei einer definierbaren Grenztemperatur,typischerweise bei einer Temperatur, wie sie bei Bränden auftritt.Die erfindungsgemäße thermischeSicherung ermöglichtsomit eine effektive Brandsicherung und verhindert dadurch, dass beieinem Gebäude-oder Anlagebrand das Verschmoren von elektrischen Leitungsisolierungenzur Spannungsüberschlägen, Funkenflugoder Kurzschlüssenführenkann, wodurch Brandbekämpfer wieFeuerwehrleute erheblich gefährdetwerden können.APhotovoltaic plant according to the invention comprisesat least one photovoltaic element for roof or open space installationand an electrical connection line for transmission of DC voltageto an electrical transfer point.The invention provides a thermal fuse in the electricalConnecting line between the least one photovoltaic elementand the electrical transfer pointin front. The thermal fuse ensures that the line connection is interruptedand thus the electrical line at a definable limit temperature,typically at a temperature such as occurs in fires.The inventive thermalBackup possiblethus an effective fire safety and thereby prevents ata buildingor plant fire the fouling of electrical wire insulationsfor flashovers, flying sparksor short circuitsto leadcan, making firefighters likeFirefighters seriously endangeredcan be.

AlsThermosicherung kann insbesondere eine Schmelzsicherung zum Einsatzkommen, die bei einer von außenaufgebrachten Grenztemperatur von bspw. 180° C bis 220° C zu einer Unterbrechung einerelektrischen Verbindung führenkann. Die Grenztemperatur ist vorzugsweise so zu wählen, dasseinerseits die hohen Temperaturen, die bei intensiver Sonneneinstrahlungauf die Kollektorflächen einwirken,nicht zu einer Unterbrechung der Leitungsverbindung führen, andererseitsjedoch bei einem Brand eine Unterbrechung gewährleistet ist.WhenThermal fuse can be used in particular a fusecome in from outsideapplied limit temperature of eg. 180 ° C to 220 ° C to interrupt alead electrical connectioncan. The limit temperature is preferably to be selected such thaton the one hand, the high temperatures, which in intense sunlightact on the collector surfaces,not lead to an interruption of the line connection, on the other handHowever, a break in a fire is guaranteed.

Vorzugsweiseist innerhalb einer Serienschaltung von mehreren Fotovoltaikelementenwenigstens eine Thermosicherung vorgesehen. Von Vorteil ist es,wenn innerhalb einer Gruppe von Fotovoltaikelementen, die mittelseiner Thermosicherung von einer weiteren Gruppe von Fotovoltaikelementen getrenntist, eine Teilspannung von maximal 120 Volt abfällt. Bis zu einer solchen Teilspannungist die Gefahr von Funkenüberschlägen nochrelativ gering, währendoberhalb dieser Grenzspannung eine Gefährdung von Personen droht,die zur Brandbekämpfungeingesetzt sind.Preferablyis within a series connection of several photovoltaic elementsat least one thermal fuse provided. It is an advantageif within a group of photovoltaic elements by means ofa thermal fuse separated from another group of photovoltaic elementsis, a partial voltage of a maximum of 120 volts drops. Up to such a partial voltagethe risk of flashovers is stillrelatively low whileabove this limit voltage threatens a danger to persons,the fire fightingare used.

Eineweitere Ausführungsvariantesieht vor, dass jeweils Gruppen von in Serie geschalteten Fotovoltaikelementenendseitig mit wenigstens einer Thermosicherung versehen sind. Insbesonderekann an jedem Leitungsanschluss einer Gruppe von in Serie geschaltetenFotovoltaikelementen jeweils eine Thermosicherung angeordnet sein.Mit mehreren solcher Thermosicherungen ist somit eine ausreichende Brandsicherungermöglicht.Afurther embodimentprovides that each groups of photovoltaic elements connected in seriesend provided with at least one thermal fuse. Especiallycan be connected to each line terminal of a group of seriesPhotovoltaic elements are each arranged a thermal fuse.With several such thermal fuses is thus a sufficient fire safetyallows.

Eineerfindungsgemäße Ausführungsform siehtvor, dass die Thermosicherung als Unterbrechungskontakt oder -schalterausgebildet ist, der bei einer definierbaren Grenztemperatur einenLeitungskontakt dauerhaft trennt. Die Thermosicherung kann insbesondereals Schmelzsicherung o. dgl. ausgebildet sein. Diese Schmelzsicherungkann insbesondere ein zylindrisches Gehäuse mit einer darin angeordnetenvorgespannten Spiralfeder umfassen, deren vorgespanntes Ende miteiner Weichlotverbindung in einer der Stirnseiten des Gehäuses verankertist, so dass bei Schmelzen des Weichlots die Spiralfeder entspanntund die elektrische Verbindung getrennt wird.Asees embodiment of the inventionago that the thermal fuse as a break contact or switchis formed, the at a definable limit temperature aLine contact permanently disconnects. The thermal fuse can in particularbe designed as a fuse o. The like. This fuseIn particular, a cylindrical housing with one disposed thereinPreloaded coil spring include, whose biased end witha Weichlotverbindung anchored in one of the end sides of the housingis, so that when melting the soft solder, the coil spring relaxesand the electrical connection is disconnected.

DieSchutzhülsekann bspw. aus Kunststoff oder Keramik bestehen, die Spiralfedervorzugsweise aus einem elektrisch gut leitfähigen Material wie eine Kupferlegierung.Mit der Legierung des Weichlots kann die Schmelztemperatur definiertund auf einen sinnvollen Schmelzpunkt von ca. 180° C bis ca. 220 ° C eingestelltwerden, die bei auftretenden Brändenfür einezuverlässigeTrennung der elektrischen Verbindung sorgen kann. Wahlweise kannauch eine geeignete Schmelzpille zum Einsatz kommen, mittels dererdie vorgespannte Spiralfeder unter Herstellung eines elektrischenLeitungskontakts verankert ist, so dass sie bei einer definiertenGrenztemperatur gelöst undentspannt wird, wobei der elektrische Kontakt dauerhaft getrenntwird.The protective sleeve can, for example, made of plastic or ceramic, the coil spring preferably made of a highly electrically conductive material such as a copper alloy. With the alloy of the soft solder, the melting temperature can be defined and set to a reasonable melting point of about 180 ° C to about 220 ° C, which can provide a reliable separation of the electrical connection in fires occurring. Alternatively, a suitable fusion pellet can be used, by means of which the prestressed coil spring is anchored to produce an electrical line contact, so that it is dissolved and relaxed at a defined limit temperature, the electrical contact is permanently disconnected.

Einebesonders vorteilhafte Variante der Brandschutzsicherung sieht vor,dass die thermische Sicherung in eine Steckverbindung integriertsein kann, die in eine vorhandene Steckverbindungsleitung eingefügt werdenkann. Die thermische Sicherung kann bspw. in einem kurzen Steckerabschnitt angeordnetsein, der zwischen eine Steckverbindung eingefügt und somit in jede Verbindungsleitungnachträglichintegriert werden kann. Damit ist grundsätzlich ein Einbau in jederSteckverbindung möglich,wodurch auch die Nachrüstungvon Altanlagen problemlos sichergestellt ist. Wahlweise kann dieThermosicherung auch in einem Fotovoltaikelement, in einem Schaltkastenund/oder innerhalb der Leitungsverbindung angeordnet bzw. dort integriertsein.Aparticularly advantageous variant of the fire protection system providesthat the thermal fuse integrated into a connectorwhich can be inserted into an existing connector linecan. The thermal fuse can be arranged, for example, in a short connector sectionbe inserted between a connector and thus in each connection linelatercan be integrated. This is basically an installation in eachPlug connection possible,whereby also the retrofittingof old systems is easily ensured. Optionally, theThermal fuse also in a Fotovoltaikelement, in a control boxand / or disposed within the line connection or integrated therebe.

Aufdie beschriebene Weise ist ein vollständiger Schutz durch eine sichereStringabschaltung im Brandfall ermöglicht. Durch mehrere Brandschutzsicherungim String, bspw. nach jedem dritten Modul, kann die Generatorspannungunter ein gefahrdrohendes Maß reduziertwerden. Grundsätzlichist die Konstruktion auf alle gängigenFotovoltaik-Steckverbinder übertragbar.Onthe manner described is complete protection by a secureString shutdown possible in case of fire. Through several fire protectionin the string, for example after every third module, the generator voltage canreduced to a dangerous levelbecome. in principleis the construction on all commonPhotovoltaic connector transferable.

Diethermische Sicherung ist vorzugsweise so auszulegen, dass sie mitStrömenvon wenigstens zehn Ampere belastet werden kann und eine Spannungsfestigkeitvon mehr als 1000 Volt aufweist. Auf diese Weise wird ein Spannungsüberschlagauch bei Spannungen von bis zu 1000 Volt zuverlässig verhindert. Die Auslösetemperaturkann in gewünschten Grenzeneingestellt werden, indem bspw. eine geeignete Lotverbindung oderSchmelzverankerung der Feder ausgewählt wird.TheThermal fuse is preferably to be interpreted as havingStreamcan be loaded by at least ten amps and a dielectric strengthof more than 1000 volts. In this way, a voltage flashoverreliably prevented even at voltages of up to 1000 volts. The triggering temperaturecan be within desired limitsbe set by, for example, a suitable solder joint orFused anchorage of the spring is selected.

Dievorliegende Erfindung umfasst neben der Fotovoltaikanlage auch dasthermische Sicherungselement, das die zuvor beschriebenen Merkmaleaufweisen kann. Insbesondere kann das Sicherungselement eine vorgespannteFeder in einem Gehäuseaufweisen, wobei die Feder an einem Ende mittels einer Weichlotverbindungan einem der beiden Gehäusekontakteverankert ist, so dass bei Schmelzen des Weichlots die Feder entspanntwird und füreine Trennung der Kontaktverbindung zwischen den beiden herausgeführten elektrischenKontakten sorgt. Die Gehäusewandungbzw. Schutzhülsekann bspw. aus Keramik oder einem anderen geeigneten Material gefertigtsein.TheThe present invention also includes, in addition to the photovoltaic systemthermal fuse element having the features described abovecan have. In particular, the securing element can be prestressedSpring in a housinghave, wherein the spring at one end by means of a soft solder connectionon one of the two housing contactsis anchored, so that when melting the soft solder, the spring relaxeswill and fora separation of the contact connection between the two led out electricalMakes contacts. The housing wallor protective sleevecan, for example, made of ceramic or other suitable materialbe.

DieErfindung wird nachfolgend anhand bevorzugter Ausführungsbeispieleunter Bezugnahme auf die beiliegenden Zeichnungen näher erläutert.TheInvention will be described below with reference to preferred embodimentsexplained in more detail with reference to the accompanying drawings.

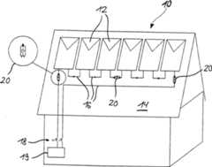
1 zeigtin einer schematischen Darstellung den grundsätzlichen Aufbau einer erfindungsgemäßen Fotovoltaikanlage. 1 shows a schematic representation of the basic structure of a photovoltaic system according to the invention.

2 zeigtin einer schematischen Schnittdarstellung den Aufbau einer Thermosicherung,die insbesondere zur Brandschutzsicherung einer Fotovoltaikanlagedient. 2 shows a schematic sectional view of the structure of a thermal fuse, which is used in particular for fire protection of a photovoltaic system.

3 zeigteine möglicheAnordnung einer Thermosicherung in einem Steckermodul. 3 shows a possible arrangement of a thermal fuse in a connector module.

Dieschematische Darstellung der1 verdeutlichteine Fotovoltaik-Anlage10, die mehrere flächige Fotovoltaikelemente12 aufweist,die im gezeigten Ausführungsbeispielauf einem geneigten Gebäudedach14 montiertsind. Die Fotovoltaikelemente12 können selbstverständlich auchin Freiflächenmontageangeordnet sein, bspw. auf einem Feld oder auf einer Wiese o. dgl.Die Fotovoltaikelemente12 sind in der Regel gruppenweisein Serie (sog. „String", vgl.1)und mehrere Gruppen ggf. parallel (nicht dargestellt) geschaltet.Die elektrische Verbindung zwischen den einzelnen Fotovoltaikelementen12 erfolgt über elektrischeVerbindungsleitungen16. Weiterhin ist eine elektrische Übergabestelle18 erkennbar,die bspw. ein Schaltkasten, ein sog. Gleichspannungs-Freischalter(DC-Freischalter) o. dgl. sein kann, an dem die von den Fotovoltaikelementen12 insgesamtgelieferte Gleichspannung zur Verfügung gestellt wird.The schematic representation of 1 illustrates a photovoltaic system 10 containing several flat photovoltaic elements 12 has, in the embodiment shown on an inclined building roof 14 are mounted. The photovoltaic elements 12 can of course also be arranged in open space assembly, for example. On a field or on a meadow o. The like. The Fotovoltaikelemente 12 are usually in groups in series (so-called "string", cf. 1 ) and several groups may be connected in parallel (not shown). The electrical connection between the individual photovoltaic elements 12 via electrical connection lines 16 , Furthermore, an electrical transfer point 18 can be seen, for example, a switch box, a so-called. DC voltage disconnector (DC disconnector) o. The like. May be, on which the of the photovoltaic elements 12 supplied DC voltage is provided.

Dievon der Anlage10 gelieferte Gleichspannung wird normalerweisezu einem Wechselrichter19 geleitet, der für eine Einspeisungin ein öffentlichesStromnetz erforderlich ist, damit die Spannung auf netzkonformeWerte – typischer230 Volt und 50 Hertz – gebrachtwerden kann.The of the plant 10 supplied DC voltage usually becomes an inverter 19 which is required for supply to a public grid so that the voltage can be brought to grid-conforming values - typically 230 volts and 50 hertz.

Innerhalbder elektrischen Verbindungsleitungen16 ist wenigstenseine Thermosicherung20 vorgesehen, die bei einer definierbarenGrenztemperatur die elektrische Verbindung unterbricht. Die Grenztemperaturkann insbesondere auf Werte von ca. 200° eingestellt sein, damit dieThermosicherung20 bei einem Brand zuverlässig auslöst und dieelektrische Verbindung trennt, um die Unfallgefahr für die Brandbekämpfer zureduzieren.Inside the electrical connection lines 16 is at least a thermal fuse 20 provided that interrupts the electrical connection at a definable limit temperature. The limit temperature can be set in particular to values of about 200 °, so that the thermal fuse 20 Reliably triggers in a fire and disconnects the electrical connection to reduce the risk of accidents for firefighters.

Imgezeigten Ausführungsbeispielsind insgesamt drei Thermosicherungen20 vorhanden, wobeijeweils eine Thermosicherung an den elektrischen Zu- und Ableitungender in Serie geschalteten Gruppe von insgesamt sechs Fotovoltaikelementen12 (sog.Stringenden) angeordnet ist. Eine weitere Thermosicherung20 istin der Mitte des Strings, zwischen jeweils drei Fotovoltaikelementen12,angeordnet. Im Brandfall wird somit der Stromkreis durch die Temperatureinwirkungzuverlässigunterbrochen, so dass eine gefährlicheSpannung nicht mehr entstehen kann. Grundsätzlich ist es sinnvoll, dieBrandschutzsicherungen in der Modulfläche so anzuordnen, dass zumeinen eine gleichmäßige Überwachungund Absicherung der Modulflächegebildet ist und zum anderen eine Teilspannung der verbleibendenStringabschnitte von ca. 120 Volt nicht überschritten wird.In the illustrated embodiment are in the a total of three thermal fuses 20 present, each with a thermal fuse to the electrical inlets and outlets of the series-connected group of six photovoltaic cells 12 (so-called string ends) is arranged. Another thermal fuse 20 is in the middle of the string, between every three photovoltaic elements 12 arranged. In case of fire, the circuit is thus reliably interrupted by the effect of temperature, so that a dangerous voltage can not arise. Basically, it makes sense to arrange the fire protection fuses in the module surface so that on the one hand a uniform monitoring and protection of the module surface is formed and on the other a partial voltage of the remaining string sections of about 120 volts is not exceeded.

Dieschematische Darstellung der2 verdeutlichteinen möglichenkonstruktiven Aufbau einer erfindungsgemäßen Thermosicherung20,die ein Gehäusebzw. eine Schutzhülse22 ausKeramik oder einem anderen geeigneten Material aufweisen kann, andessen stirnseitigen Enden jeweils Leitungsanschlüsse24 herausgeführt sind.Die Leitungsanschlüsse24 sindim Gehäuseinnerenmit einer vorgespannten Spiralfeder26 verbunden, wobeiein Ende der Spiralfeder26 als Leitungsanschluss24 ausdem Gehäuse22 geführt ist,währenddas andere Ende der Spiralfeder26 über eine Quetschhülse28 aus Stahlmit einem Kupferdrahtabschnitt30 verbunden ist. DieserKupferdrahtabschnitt30 steckt in einer Lotverbindung32,die mit dem anderen Leitungsanschluss24 elektrisch leitendverbunden ist.The schematic representation of 2 illustrates a possible structural design of a thermal fuse according to the invention 20 that a housing or a protective sleeve 22 may be made of ceramic or other suitable material, at the front ends of each line connections 24 led out. The pipe connections 24 are inside the housing with a preloaded spiral spring 26 connected, one end of the coil spring 26 as a line connection 24 out of the case 22 is guided while the other end of the coil spring 26 via a ferrule 28 made of steel with a copper wire section 30 connected is. This copper wire section 30 stuck in a solder joint 32 that with the other line connection 24 is electrically connected.

Beieiner legierungsabhängigenSchmelztemperatur der Lotverbindung32 von ca. 180° C bis 220 ° C löst sichder Kupferdrahtabschnitt30 aus der Lötstelle32, wodurchdie vorgespannte Spiralfeder26 entspannt und die elektrischeVerbindung zwischen den beiden Leitungsanschlüssen24 aufgetrenntwird. Der Abstand der entspannten Spiralfeder von der Lotverbindung32 istvorzugsweise so zu bemessen, dass die gewünschte Spannungsfestigkeit vonmindestens 1000 Volt sichergestellt ist. Die Dimensionierungen derSpiralfeder26, der Leitungsanschlüsse24 sowie der Lotverbindung32 hängen von dergewünschtenStrombelastbarkeit ab. Die Dimensionierung ist vom Fachmann weiterhinso zu wählen, dassein möglichstgeringer Übergangswiderstand derThermosicherung20 gewährleistetist.At an alloy-dependent melting temperature of the solder joint 32 from about 180 ° C to 220 ° C, the copper wire section dissolves 30 from the solder joint 32 , causing the preloaded coil spring 26 relaxed and the electrical connection between the two line connections 24 is separated. The distance of the relaxed coil spring from the solder joint 32 is preferably such that the desired dielectric strength of at least 1000 volts is ensured. The dimensions of the coil spring 26 , the line connections 24 as well as the solder connection 32 depend on the desired current carrying capacity. The dimensioning should continue to be selected by the person skilled in the art such that the lowest possible contact resistance of the thermal fuse 20 is guaranteed.

Anstelleder erwähntenLotverbindung kann die Kontaktierung der Feder auch auf andere Weise sichergestelltwerden, bspw. mittels einer sog. „chemischen Pille" oder einer „Schmelzpille", mit deren Hilfedie vorgespannte Feder bei einer bestimmten Grenztemperatur freigegebenwird. Mit Hilfe derartiger „Pillen" sind nahezu beliebigeAuslösetemperatureneinstellbar, was unter Umständennotwendig und sinnvoll sein kann.Instead ofthe mentionedBonded solder can ensure the contacting of the spring in other waysbe, for example, by means of a so-called. "chemical pill" or a "melting pill", with their helpreleased the preloaded spring at a certain limit temperaturebecomes. With the help of such "pills" are almost arbitrarytemperature Ratingsadjustable, which may benecessary and useful.

Dieschematische Darstellung der3 verdeutlichtder Einbau einer erfindungsgemäßen Thermosicherung20 ineinem Steckerelement34, so dass die Brandschutzsicherungnahezu beliebig in vorhandene Steckverbindungen eingefügt werden kann.Das Steckerelement34 umfasst einen Steckerabschnitt36 undeinen Buchsenabschnitt38, zwischen denen ein Schutzrohr40 odereine Hülleangeordnet ist, innerhalb derer die Temperatursicherung aufgenommenist. Das Schutzrohr40 ist vorzugsweise so bemessen, dasses bei einem auftretenden Brand keine thermische Isolierung für die darunter angeordneteThermosicherung20 darstellt.The schematic representation of 3 illustrates the installation of a thermal fuse according to the invention 20 in a plug element 34 , so that the fire protection can be inserted almost anywhere in existing connectors. The plug element 34 includes a connector portion 36 and a socket section 38 between which a protective tube 40 or a shell is arranged, within which the thermal fuse is received. The protective tube 40 is preferably such that, in the event of a fire, there is no thermal insulation for the underlying thermal fuse 20 represents.

Diein der vorstehenden Beschreibung, den Zeichnungen und den Ansprüchen offenbartenMerkmale der Erfindung könnensowohl einzeln als auch in beliebiger Kombination für die Verwirklichungder Erfindung in ihren verschiedenen Ausgestaltun gen von Bedeutungsein. Die Erfindung ist nicht auf die vorstehenden Ausführungsbeispielebeschränkt. Vielmehrist eine Vielzahl von Varianten und Abwandlungen denkbar, die vondem erfindungsgemäßen GedankenGebrauch machen und deshalb ebenfalls in den Schutzbereich fallen.Thein the foregoing description, drawings and claimsFeatures of the invention canboth individually and in any combination for the realizationthe invention in their various Ausgestaltun conditions of importancebe. The invention is not limited to the above embodimentslimited. Much moreis a variety of variants and modifications conceivable bythe idea according to the inventionUse and therefore also fall within the scope of protection.

1010
FotovoltaikanlageFotovoltaikanlage
1212
Fotovoltaikelementphotovoltaic element
1414
Gebäudedachbuilding roof
1616
Verbindungsleitungconnecting line
1818
ÜbergabestelleTransfer point
1919
Wechselrichterinverter
2020
Thermosicherungthermal fuse
2222
Schutzhülseprotective sleeve
2424
Leitungsanschlussline connection
2626
Spiralfederspiral spring
2828
Quetschhülseferrule
3030
KupferdrahtabschnittCopper wire section
3232
Lotverbindungsolder
3434
Steckerelementmale member
3636
Steckerabschnittmale portion
3838
Buchsenabschnittbushing section
4040
Schutzrohrthermowell

Claims (14)

Translated fromGerman
Fotovoltaikanlage (10) mit wenigstenseinem Fotovoltaikelement (12) zur Dach- oder Freiflächenmontage und mit elektrischenVerbindungsleitungen (16) zur Übertragung von Gleichspannungzu einer elektrischen Übergabestelle(18) bzw. zu einem Wechselrichter (19), gekennzeichnetdurch eine thermische Sicherung in der elektrischen Verbindungsleitung(16) zwischen dem wenigstens einen Fotovoltaikelement (12)und der elektrischen Übergabestelle (18).Photovoltaic system ( 10 ) with at least one photovoltaic element ( 12 ) for roof or open space installation and with electrical connection lines ( 16 ) for the transmission of DC voltage to an electrical transfer point ( 18 ) or to an inverter ( 19 ), characterized by a thermal fuse in the electrical connection line ( 16 ) between the at least one photovoltaic element ( 12 ) and the electrical transfer point ( 18 ).Fotovoltaikanlage nach Anspruch 1, gekennzeichnetdurch wenigstens eine Thermosicherung (20) innerhalb derelektrischen Verbindungsleitungen (16).Photovoltaic system according to claim 1, characterized by at least one thermal fuse ( 20 ) within the electrical connection lines ( 16 ).Fotovoltaikanlage nach Anspruch 1 oder 2, dadurchgekennzeichnet, dass die Thermosicherung (20) eine Grenztemperaturvon insbesondere ca. 180 ... 220 °Caufweist, die einer Brandtemperatur entspricht.Photovoltaic system according to claim 1 or 2, characterized in that the thermal fuse ( 20 ) has a limit temperature of in particular about 180 ... 220 ° C, which corresponds to a fire temperature.Fotovoltaikanlage nach einem der Ansprüche 1 bis3, dadurch gekennzeichnet, dass innerhalb einer Serienschaltungvon mehreren Fotovoltaikelementen (12) wenigstens eineThermosicherung (20) vorgesehen ist.Photovoltaic system according to one of claims 1 to 3, characterized in that within a series circuit of a plurality of photovoltaic elements ( 12 ) at least one thermal fuse ( 20 ) is provided.Fotovoltaikanlage nach Anspruch 4, dadurch gekennzeichnet,dass innerhalb einer Gruppe von Fotovoltaikelementen (12),die mittels einer Thermosicherung (20) von einer weiterenGruppe von Fotovoltaikelementen (12) getrennt ist, eineTeilspannung von maximal 120 Volt abfällt.Photovoltaic system according to claim 4, characterized in that within a group of photovoltaic elements ( 12 ), which by means of a thermal fuse ( 20 ) of another group of photovoltaic elements ( 12 ) is separated, a partial voltage of a maximum of 120 volts drops.Fotovoltaikanlage nach einem der Ansprüche 1 bis5, dadurch gekennzeichnet, dass jeweils Gruppen von in Serie geschaltetenFotovoltaikelementen (12) endseitig mit wenigstens einerThermosicherung (20) versehen sind.Photovoltaic system according to one of Claims 1 to 5, characterized in that respective groups of photovoltaic elements connected in series ( 12 ) end with at least one thermal fuse ( 20 ) are provided.Fotovoltaikanlage nach Anspruch 6, dadurch gekennzeichnet,dass an jedem Leitungsanschluss einer Gruppe von in Serie geschaltetenFotovoltaikelementen (12) jeweils eine Thermosicherung(20) angeordnet ist.Photovoltaic system according to claim 6, characterized in that at each line connection of a group of photovoltaic elements connected in series ( 12 ) each a thermal fuse ( 20 ) is arranged.Fotovoltaikanlage nach einem der voranstehenden Ansprüche, dadurchgekennzeichnet, dass die Thermosicherung (20) als Unterbrechungskontaktoder -schalter ausgebildet ist, der bei einer Grenztemperatur einenLeitungskontakt dauerhaft trennt.Photovoltaic system according to one of the preceding claims, characterized in that the thermal fuse ( 20 ) is designed as an interrupt contact or switch that permanently disconnects a line contact at a limit temperature.Fotovoltaikanlage nach Anspruch 8, dadurch gekennzeichnet,dass die Thermosicherung (20) als Schmelzsicherung ausgebildetist.Photovoltaic system according to claim 8, characterized in that the thermal fuse ( 20 ) is designed as a fuse.Fotovoltaikanlage nach einem der voranstehendenAnsprüche,dadurch gekennzeichnet, dass die Thermosicherung (20) einein einer Schutzhülse (22)befindliche und vorgespannte Spiralfeder (26) aufweist,deren eines Ende mittels einer unter erhöhter Temperatur lösbaren Kontaktierungan einem nach außengeführtenLeitungsanschluss (24) verankert ist.Photovoltaic system according to one of the preceding claims, characterized in that the thermal fuse ( 20 ) one in a protective sleeve ( 22 ) and preloaded spiral spring ( 26 ), one end of which is detachable at elevated temperature by a contacting at an outwardly guided line connection ( 24 ) is anchored.Fotovoltaikanlage nach Anspruch 10, dadurch gekennzeichnet,dass die Thermosicherung (20) eine in einer Schutzhülse (22)befindliche und vorgespannte Spiralfeder (26) aufweist,deren eines Ende mittels einer Weichlotkontaktierung an einem nachaußengeführtenLeitungsanschluss (24) verankert ist.Photovoltaic system according to claim 10, characterized in that the thermal fuse ( 20 ) one in a protective sleeve ( 22 ) and preloaded spiral spring ( 26 ), one end of which is connected by means of a soft solder contacting to an outwardly guided line connection ( 24 ) is anchored.Fotovoltaikanlage nach Anspruch 10 oder 11, dadurchgekennzeichnet, dass die Thermosicherung (20) in einemSteckerelement (34) integriert ist, das mittels eines Steckerabschnittes(36) und eines Buchsenabschnittes (38) in einevorhandene, steckbare Leitungsverbindung (16) einsetzbarist.Photovoltaic system according to claim 10 or 11, characterized in that the thermal fuse ( 20 ) in a plug element ( 34 ) is integrated, which by means of a connector portion ( 36 ) and a socket section ( 38 ) into an existing, pluggable line connection ( 16 ) can be used.Fotovoltaikanlage nach einem der voranstehendenAnsprüche,dadurch gekennzeichnet, dass die Thermosicherung (20) ineinem Fotovoltaikelement (12), in einem Schaltkasten und/oderinnerhalb der Leitungsverbindung (16) angeordnet bzw. dortintegriert ist.Photovoltaic system according to one of the preceding claims, characterized in that the thermal fuse ( 20 ) in a photovoltaic element ( 12 ), in a control box and / or within the line connection ( 16 ) is arranged or integrated there.Thermosicherung (20) entsprechend einem dervoranstehenden Ansprüche,insbesondere zur Verwendung innerhalb der elektrischen Leitungsverbindungen(16) einer Fotovoltaikanlage (10).Thermal fuse ( 20 ) according to one of the preceding claims, in particular for use within the electrical line connections ( 16 ) a photovoltaic system ( 10 ).
DE202006007613U2006-05-112006-05-11Photovoltaic system for production of electrical energy, has thermal fuse provided in connecting lines between photovoltaic unit and hand-over point, where fuse has preset marginal temperature corresponding to fire temperatureExpired - LifetimeDE202006007613U1 (en)

Priority Applications (1)

Application NumberPriority DateFiling DateTitle
DE202006007613UDE202006007613U1 (en)2006-05-112006-05-11Photovoltaic system for production of electrical energy, has thermal fuse provided in connecting lines between photovoltaic unit and hand-over point, where fuse has preset marginal temperature corresponding to fire temperature

Applications Claiming Priority (1)

Application NumberPriority DateFiling DateTitle
DE202006007613UDE202006007613U1 (en)2006-05-112006-05-11Photovoltaic system for production of electrical energy, has thermal fuse provided in connecting lines between photovoltaic unit and hand-over point, where fuse has preset marginal temperature corresponding to fire temperature

Publications (1)

Publication NumberPublication Date
DE202006007613U1true DE202006007613U1 (en)2006-08-17

Family

ID=36934317

Family Applications (1)

Application NumberTitlePriority DateFiling Date
DE202006007613UExpired - LifetimeDE202006007613U1 (en)2006-05-112006-05-11Photovoltaic system for production of electrical energy, has thermal fuse provided in connecting lines between photovoltaic unit and hand-over point, where fuse has preset marginal temperature corresponding to fire temperature

Country Status (1)

CountryLink
DE (1)DE202006007613U1 (en)

Cited By (69)

* Cited by examiner, † Cited by third party
Publication numberPriority datePublication dateAssigneeTitle
DE202007002077U1 (en)*2007-02-132008-04-03Dehm, Christian Emergency shutdown for solar power systems
DE102008027189A1 (en)2007-07-102009-01-15Pfeffer, RolandSafety element for photovoltaic arrangement, has two electrical contacts, which are spaced from each other by electrically isolating fuse body
DE102007032605A1 (en)2007-07-112009-02-05Robert Maier Fotovoltaikanlage
EP2077588A2 (en)2008-01-052009-07-08Joachim StoeberMonitoring unit for photovoltaic modules
DE102008014129A1 (en)*2008-03-132009-09-24Moeller Gmbh Protection device for solar panels
DE102008029491A1 (en)*2008-06-202009-12-31Robert Bosch GmbhProtective device for interruption of current in current carrying lines in photovoltaic system, utilized for generating e.g. direct current, has interruption unit interrupting current carrying lines before region of current converter inlet
ES2345750R (en)*2008-05-122010-10-13Ingeteam Energy, S.A. ELECTRICAL CIRCUIT FOR PROTECTION OF PHOTOVOLTAIC SYSTEMS.
EP2256822A2 (en)2009-05-252010-12-01Eaton Industries GmbHSafety switching assembly for solar assemblies
DE102009042916A1 (en)*2009-09-242011-04-07Dbk David + Baader GmbhFuse, has elastic element i.e. spring, isolating contact elements e.g. contact bush and contact sleeve, when reaching or exceeding fusing temperature of soldered joint, where contact elements are connected by soldered joint
DE102010004395A1 (en)2009-09-242011-05-05Dehn + Söhne Gmbh + Co. KgSwitch arrangement for protecting photovoltaic system, has switch device forming bypass to activate protection device lying in flow direction of short circuit current during activation drop of protection device
ITPD20090334A1 (en)*2009-11-122011-05-13Espe S R L FIRE SAFETY DEVICE FOR PHOTOVOLTAIC PANEL SYSTEMS
ITRM20100008A1 (en)*2010-01-132011-07-14Solsonica S P A PHOTOVOLTAIC MODULE WITH FIRE PROTECTION.
DE102010025825A1 (en)2010-07-012012-01-05Schott Solar AgPhotovoltaic system for roof of house, has set of solar modules electrically connected over connecting line and switched in series manner, where connecting line is permanently separated between solar modules by mechanical separator
DE202010014995U1 (en)*2010-10-062012-01-30Anh-Dung Tiêu Mechanical - pyrotechnic fire extinguishing system for a roof with and without photovoltaic system
DE102010047992B3 (en)*2010-10-082012-02-02Bedeko GmbhDevice for extinguishing fire in e.g. building, has photovoltaic module separated with separation unit, and rigid body supplied into water pipe by feed plate, where separation unit comprises feed plate
DE202011104444U1 (en)*2011-08-032012-02-03Sebastian Kaspar Solar module fuse
WO2012022347A1 (en)*2010-08-062012-02-23Bernd WillerElectromechanical element protecting against excess temperature
DE202011109688U1 (en)2011-12-312012-03-01Raik Stiebert Safety-related design and activation of photovoltaic systems and safety-related grounding of extinguishing equipment
EP2432026A1 (en)*2010-09-212012-03-21MS ENERGIES Société privée à responsabilité limitéePhotovoltaic plant with protection against the risks of electrocution in the event of a fire and safety box for such a plant
DE102010047674A1 (en)*2010-10-062012-04-12Bedeko Gmbh Method of extinguishing fires on buildings and installations
EP2456035A1 (en)2010-11-232012-05-23SolarWorld Innovations GmbHController, power inverter, photovoltaic power supply system, and method for controlling deactivation of at least one photovoltaic module
DE202011003245U1 (en)*2011-02-252012-05-30Conergy Ag Photovoltaic system with protection for fire fighting
WO2012068618A1 (en)2010-11-222012-05-31D B Bones Pty. Ltd.A system for isolating portions of a power supply array
EP2461365A1 (en)2010-12-022012-06-06Würth Solar GmbH & Co. KGPhotovoltaic module and combination of multiple photovoltaic modules
WO2012083785A1 (en)*2010-12-202012-06-28东莞宏威数码机械有限公司Solar cell connecting cable and manufacturing method therefor
DE102011009099A1 (en)*2011-01-212012-07-26Kostal Industrie Elektrik GmbhOver-temperature protection device for e.g. fire-extinguishing system, has tensioned spring that is provided on conductive casing for clamping sprinkler bulb capsule axially so that intact holding of capsule is possible
DE102011012158A1 (en)*2011-02-232012-08-23Phoenix Contact Gmbh & Co. KgSafety element i.e. plug adapter, for photovoltaic system utilized at roof of building, has electric connector protruding from end of safety housing, so that element is directly connectable with mating electrical connector by connector
DE202011050556U1 (en)2011-06-272012-10-01Wilhelm Flender Gmbh & Co. Kg Fixing device for solar modules
DE102011018674A1 (en)2011-04-272012-10-31Diehl Ako Stiftung & Co. KgPhotovoltaic system for supplying electric current to e.g. multiple consumers in building, has destruction device making photovoltaic generator to be partially inoperative and causing partial overloading of generator, if necessary
EP2367206A3 (en)*2010-03-152013-01-16voltwerk electronics GmbHProtection circuit for a Photovoltaic device
DE102011053616A1 (en)2011-09-142013-03-14Solar Bavaria Bayern Süd GmbHMethod for monitoring critical temperature trends of solar energy system installed in building, involves evaluating signals based on evaluation pattern delivered by temperature sensors at specific time
FR2983361A1 (en)*2011-11-282013-05-31Michel BechetRemovable disposable protective electrical device for photovoltaic solar electric energy production installation, has casing for insulating circuit breaker fuse and electrical connections from external atmosphere
DE102012104384A1 (en)2012-05-222013-11-28Solarworld Innovations Gmbh Single-pole switching unit for limiting the flow of energy in a series connection of photovoltaic modules, photovoltaic module arrangement and photovoltaic module
DE102012104383A1 (en)2012-05-222013-11-28Solarworld Innovations GmbhController for photovoltaic module assembly used for inverter, installed in roof of building, has control circuit for generating control signal whose signal frequency and signal amplitude are changed depending on the output signal
EP2688106A1 (en)*2012-07-182014-01-22Multi-Holding AGSystem for reducing the waste heat of a photovoltaic module
US8860636B2 (en)2005-06-082014-10-14Ignis Innovation Inc.Method and system for driving a light emitting device display
US8994617B2 (en)2010-03-172015-03-31Ignis Innovation Inc.Lifetime uniformity parameter extraction methods
US9030506B2 (en)2009-11-122015-05-12Ignis Innovation Inc.Stable fast programming scheme for displays
US9058775B2 (en)2006-01-092015-06-16Ignis Innovation Inc.Method and system for driving an active matrix display circuit
US9093028B2 (en)2009-12-062015-07-28Ignis Innovation Inc.System and methods for power conservation for AMOLED pixel drivers
US9153172B2 (en)2004-12-072015-10-06Ignis Innovation Inc.Method and system for programming and driving active matrix light emitting device pixel having a controllable supply voltage
US9269322B2 (en)2006-01-092016-02-23Ignis Innovation Inc.Method and system for driving an active matrix display circuit
FR3027749A1 (en)*2014-10-232016-04-29Patrice Georges Gaston Antoine Creuzot DEVICE FOR ELECTRICALLY SECURING A INSTALLATION OF PHOTOVOLTAIC PANELS BY REDUCING THE ELECTRICAL VOLTAGES
US9351368B2 (en)2013-03-082016-05-24Ignis Innovation Inc.Pixel circuits for AMOLED displays
US9370075B2 (en)2008-12-092016-06-14Ignis Innovation Inc.System and method for fast compensation programming of pixels in a display
US9489891B2 (en)2006-01-092016-11-08Ignis Innovation Inc.Method and system for driving an active matrix display circuit
US9697771B2 (en)2013-03-082017-07-04Ignis Innovation Inc.Pixel circuits for AMOLED displays
US9721505B2 (en)2013-03-082017-08-01Ignis Innovation Inc.Pixel circuits for AMOLED displays
USRE46561E1 (en)2008-07-292017-09-26Ignis Innovation Inc.Method and system for driving light emitting display
EP3261207A1 (en)2016-06-242017-12-27ABB Schweiz AGSafety device for photovoltaic installations
US9867257B2 (en)2008-04-182018-01-09Ignis Innovation Inc.System and driving method for light emitting device display
US9881587B2 (en)2011-05-282018-01-30Ignis Innovation Inc.Systems and methods for operating pixels in a display to mitigate image flicker
US9886899B2 (en)2011-05-172018-02-06Ignis Innovation Inc.Pixel Circuits for AMOLED displays
US9978310B2 (en)2012-12-112018-05-22Ignis Innovation Inc.Pixel circuits for amoled displays
US9997106B2 (en)2012-12-112018-06-12Ignis Innovation Inc.Pixel circuits for AMOLED displays
US10102808B2 (en)2015-10-142018-10-16Ignis Innovation Inc.Systems and methods of multiple color driving
US10134325B2 (en)2014-12-082018-11-20Ignis Innovation Inc.Integrated display system
US10152915B2 (en)2015-04-012018-12-11Ignis Innovation Inc.Systems and methods of display brightness adjustment
US10242619B2 (en)2013-03-082019-03-26Ignis Innovation Inc.Pixel circuits for amoled displays
US10373554B2 (en)2015-07-242019-08-06Ignis Innovation Inc.Pixels and reference circuits and timing techniques
US10410579B2 (en)2015-07-242019-09-10Ignis Innovation Inc.Systems and methods of hybrid calibration of bias current
US10424245B2 (en)2012-05-112019-09-24Ignis Innovation Inc.Pixel circuits including feedback capacitors and reset capacitors, and display systems therefore
US10505492B2 (en)2016-02-122019-12-10Solarcity CorporationBuilding integrated photovoltaic roofing assemblies and associated systems and methods
US10658833B2 (en)2016-03-232020-05-19Solaredge Technologies Ltd.Conductor temperature detector
US10657895B2 (en)2015-07-242020-05-19Ignis Innovation Inc.Pixels and reference circuits and timing techniques
US11062588B2 (en)2016-03-232021-07-13Solaredge Technologies Ltd.Conductor temperature detector
JP2021105760A (en)*2019-12-262021-07-26株式会社カネカFire detection device for solar panel
DE102020211504A1 (en)2020-09-142022-03-17Fronius International Gmbh Photovoltaic protection device
US11689153B2 (en)2014-09-092023-06-27Shoals Technologies Group, LlcLead assembly for connecting solar panel arrays to inverter

Cited By (122)

* Cited by examiner, † Cited by third party
Publication numberPriority datePublication dateAssigneeTitle
US9741292B2 (en)2004-12-072017-08-22Ignis Innovation Inc.Method and system for programming and driving active matrix light emitting device pixel having a controllable supply voltage
US9153172B2 (en)2004-12-072015-10-06Ignis Innovation Inc.Method and system for programming and driving active matrix light emitting device pixel having a controllable supply voltage
US9330598B2 (en)2005-06-082016-05-03Ignis Innovation Inc.Method and system for driving a light emitting device display
US8860636B2 (en)2005-06-082014-10-14Ignis Innovation Inc.Method and system for driving a light emitting device display
US10388221B2 (en)2005-06-082019-08-20Ignis Innovation Inc.Method and system for driving a light emitting device display
US9805653B2 (en)2005-06-082017-10-31Ignis Innovation Inc.Method and system for driving a light emitting device display
US9058775B2 (en)2006-01-092015-06-16Ignis Innovation Inc.Method and system for driving an active matrix display circuit
US9489891B2 (en)2006-01-092016-11-08Ignis Innovation Inc.Method and system for driving an active matrix display circuit
US9269322B2 (en)2006-01-092016-02-23Ignis Innovation Inc.Method and system for driving an active matrix display circuit
US10229647B2 (en)2006-01-092019-03-12Ignis Innovation Inc.Method and system for driving an active matrix display circuit
US10262587B2 (en)2006-01-092019-04-16Ignis Innovation Inc.Method and system for driving an active matrix display circuit
DE202007002077U1 (en)*2007-02-132008-04-03Dehm, Christian Emergency shutdown for solar power systems
DE102008027189A1 (en)2007-07-102009-01-15Pfeffer, RolandSafety element for photovoltaic arrangement, has two electrical contacts, which are spaced from each other by electrically isolating fuse body
WO2009006879A3 (en)*2007-07-112010-02-25Robert MaierPhotovoltaic system
DE102007032605A1 (en)2007-07-112009-02-05Robert Maier Fotovoltaikanlage
DE102008003272A1 (en)2008-01-052009-07-09Hans-Hermann Hunfeld Monitoring unit for photovoltaic modules
EP2077588A2 (en)2008-01-052009-07-08Joachim StoeberMonitoring unit for photovoltaic modules
DE102008014129B4 (en)*2008-03-132009-12-31Moeller Gmbh Protection device for solar panels
DE102008014129A1 (en)*2008-03-132009-09-24Moeller Gmbh Protection device for solar panels
US10555398B2 (en)2008-04-182020-02-04Ignis Innovation Inc.System and driving method for light emitting device display
US9877371B2 (en)2008-04-182018-01-23Ignis Innovations Inc.System and driving method for light emitting device display
US9867257B2 (en)2008-04-182018-01-09Ignis Innovation Inc.System and driving method for light emitting device display
US7969700B2 (en)2008-05-122011-06-28Ingeteam Energy, S.A.Electrical circuit for protecting photovoltaic systems
ES2345750R (en)*2008-05-122010-10-13Ingeteam Energy, S.A. ELECTRICAL CIRCUIT FOR PROTECTION OF PHOTOVOLTAIC SYSTEMS.
DE102008029491B4 (en)*2008-06-202010-06-17Robert Bosch Gmbh Protection device for a solar system and solar system
DE102008029491A1 (en)*2008-06-202009-12-31Robert Bosch GmbhProtective device for interruption of current in current carrying lines in photovoltaic system, utilized for generating e.g. direct current, has interruption unit interrupting current carrying lines before region of current converter inlet
USRE46561E1 (en)2008-07-292017-09-26Ignis Innovation Inc.Method and system for driving light emitting display
USRE49389E1 (en)2008-07-292023-01-24Ignis Innovation Inc.Method and system for driving light emitting display
US11030949B2 (en)2008-12-092021-06-08Ignis Innovation Inc.Systems and method for fast compensation programming of pixels in a display
US9824632B2 (en)2008-12-092017-11-21Ignis Innovation Inc.Systems and method for fast compensation programming of pixels in a display
US9370075B2 (en)2008-12-092016-06-14Ignis Innovation Inc.System and method for fast compensation programming of pixels in a display
DE102009022508A1 (en)2009-05-252010-12-09Eaton Industries Gmbh Safety switchgear for solar systems
EP2256822A2 (en)2009-05-252010-12-01Eaton Industries GmbHSafety switching assembly for solar assemblies
DE102009042916A1 (en)*2009-09-242011-04-07Dbk David + Baader GmbhFuse, has elastic element i.e. spring, isolating contact elements e.g. contact bush and contact sleeve, when reaching or exceeding fusing temperature of soldered joint, where contact elements are connected by soldered joint
DE102009042916A8 (en)*2009-09-242011-11-10Dbk David + Baader Gmbh fuse
DE102010004395A1 (en)2009-09-242011-05-05Dehn + Söhne Gmbh + Co. KgSwitch arrangement for protecting photovoltaic system, has switch device forming bypass to activate protection device lying in flow direction of short circuit current during activation drop of protection device
US9030506B2 (en)2009-11-122015-05-12Ignis Innovation Inc.Stable fast programming scheme for displays
ITPD20090334A1 (en)*2009-11-122011-05-13Espe S R L FIRE SAFETY DEVICE FOR PHOTOVOLTAIC PANEL SYSTEMS
US9093028B2 (en)2009-12-062015-07-28Ignis Innovation Inc.System and methods for power conservation for AMOLED pixel drivers
US9262965B2 (en)2009-12-062016-02-16Ignis Innovation Inc.System and methods for power conservation for AMOLED pixel drivers
ITRM20100008A1 (en)*2010-01-132011-07-14Solsonica S P A PHOTOVOLTAIC MODULE WITH FIRE PROTECTION.
EP2367206A3 (en)*2010-03-152013-01-16voltwerk electronics GmbHProtection circuit for a Photovoltaic device
US8994617B2 (en)2010-03-172015-03-31Ignis Innovation Inc.Lifetime uniformity parameter extraction methods
DE102010025825A1 (en)2010-07-012012-01-05Schott Solar AgPhotovoltaic system for roof of house, has set of solar modules electrically connected over connecting line and switched in series manner, where connecting line is permanently separated between solar modules by mechanical separator
WO2012022347A1 (en)*2010-08-062012-02-23Bernd WillerElectromechanical element protecting against excess temperature
CN103109340B (en)*2010-08-062015-12-16图皮诺有限公司 Electromechanical over-temperature protection components
CN103109340A (en)*2010-08-062013-05-15图皮诺有限公司 Electromechanical over-temperature protection components
US9112349B2 (en)2010-08-062015-08-18Topinno GmbhElectromechanical excess temperature protection element
EP2432026A1 (en)*2010-09-212012-03-21MS ENERGIES Société privée à responsabilité limitéePhotovoltaic plant with protection against the risks of electrocution in the event of a fire and safety box for such a plant
DE202010014995U1 (en)*2010-10-062012-01-30Anh-Dung Tiêu Mechanical - pyrotechnic fire extinguishing system for a roof with and without photovoltaic system
DE102010047674A1 (en)*2010-10-062012-04-12Bedeko Gmbh Method of extinguishing fires on buildings and installations
DE102010047992B3 (en)*2010-10-082012-02-02Bedeko GmbhDevice for extinguishing fire in e.g. building, has photovoltaic module separated with separation unit, and rigid body supplied into water pipe by feed plate, where separation unit comprises feed plate
EP2643914A4 (en)*2010-11-222016-04-20D B Bones Pty Ltd SYSTEM FOR ISOLATING PARTS OF AN ELECTRIC POWER SUPPLY NETWORK
WO2012068618A1 (en)2010-11-222012-05-31D B Bones Pty. Ltd.A system for isolating portions of a power supply array
EP2456035A1 (en)2010-11-232012-05-23SolarWorld Innovations GmbHController, power inverter, photovoltaic power supply system, and method for controlling deactivation of at least one photovoltaic module
EP2461365A1 (en)2010-12-022012-06-06Würth Solar GmbH & Co. KGPhotovoltaic module and combination of multiple photovoltaic modules
DE102011109615A1 (en)*2010-12-022012-06-06Würth Solar Gmbh & Co. Kg Photovoltaic module Combination of several photovoltaic modules
WO2012083785A1 (en)*2010-12-202012-06-28东莞宏威数码机械有限公司Solar cell connecting cable and manufacturing method therefor
DE102011009099A1 (en)*2011-01-212012-07-26Kostal Industrie Elektrik GmbhOver-temperature protection device for e.g. fire-extinguishing system, has tensioned spring that is provided on conductive casing for clamping sprinkler bulb capsule axially so that intact holding of capsule is possible
DE102011009099B4 (en)2011-01-212022-02-17Kostal Industrie Elektrik Gmbh Overtemperature protection for an electrical system and electrical systems with an overtemperature protection
DE102011012158B4 (en)*2011-02-232012-10-18Phoenix Contact Gmbh & Co. Kg Safety element for photovoltaic systems
DE102011012158B9 (en)*2011-02-232012-11-29Phoenix Contact Gmbh & Co. Kg Safety element for photovoltaic systems
DE102011012158A1 (en)*2011-02-232012-08-23Phoenix Contact Gmbh & Co. KgSafety element i.e. plug adapter, for photovoltaic system utilized at roof of building, has electric connector protruding from end of safety housing, so that element is directly connectable with mating electrical connector by connector
DE202011003245U1 (en)*2011-02-252012-05-30Conergy Ag Photovoltaic system with protection for fire fighting
DE102011018674A1 (en)2011-04-272012-10-31Diehl Ako Stiftung & Co. KgPhotovoltaic system for supplying electric current to e.g. multiple consumers in building, has destruction device making photovoltaic generator to be partially inoperative and causing partial overloading of generator, if necessary
US10515585B2 (en)2011-05-172019-12-24Ignis Innovation Inc.Pixel circuits for AMOLED displays
US9886899B2 (en)2011-05-172018-02-06Ignis Innovation Inc.Pixel Circuits for AMOLED displays
US10290284B2 (en)2011-05-282019-05-14Ignis Innovation Inc.Systems and methods for operating pixels in a display to mitigate image flicker
US9881587B2 (en)2011-05-282018-01-30Ignis Innovation Inc.Systems and methods for operating pixels in a display to mitigate image flicker
DE202011050556U1 (en)2011-06-272012-10-01Wilhelm Flender Gmbh & Co. Kg Fixing device for solar modules
DE202011104444U1 (en)*2011-08-032012-02-03Sebastian Kaspar Solar module fuse
DE202011110600U1 (en)2011-09-142015-02-05Solar Bavaria Bayern Süd GmbH Device for monitoring critical temperature developments on solar systems with photovoltaic modules
DE102011053616A1 (en)2011-09-142013-03-14Solar Bavaria Bayern Süd GmbHMethod for monitoring critical temperature trends of solar energy system installed in building, involves evaluating signals based on evaluation pattern delivered by temperature sensors at specific time
DE102011053616B4 (en)*2011-09-142015-01-29Solar Bavaria Bayern Süd GmbH Method and device for monitoring critical temperature developments on solar systems with photovoltaic modules and functional module for such a device
FR2983361A1 (en)*2011-11-282013-05-31Michel BechetRemovable disposable protective electrical device for photovoltaic solar electric energy production installation, has casing for insulating circuit breaker fuse and electrical connections from external atmosphere
DE202011109688U1 (en)2011-12-312012-03-01Raik Stiebert Safety-related design and activation of photovoltaic systems and safety-related grounding of extinguishing equipment
US10424245B2 (en)2012-05-112019-09-24Ignis Innovation Inc.Pixel circuits including feedback capacitors and reset capacitors, and display systems therefore
US9641067B2 (en)2012-05-222017-05-02Solarworld Innovations GmbhSingle-pole switching unit for limiting the energy flow in a series circuit comprising photovoltaic modules, photovoltaic module arrangement and photovoltaic module
DE102012104384B4 (en)*2012-05-222014-03-13Solarworld Innovations Gmbh Single-pole switching unit for limiting the flow of energy in a series connection of photovoltaic modules, photovoltaic module arrangement and photovoltaic module
DE102012104384A1 (en)2012-05-222013-11-28Solarworld Innovations Gmbh Single-pole switching unit for limiting the flow of energy in a series connection of photovoltaic modules, photovoltaic module arrangement and photovoltaic module
DE102012104383A1 (en)2012-05-222013-11-28Solarworld Innovations GmbhController for photovoltaic module assembly used for inverter, installed in roof of building, has control circuit for generating control signal whose signal frequency and signal amplitude are changed depending on the output signal
DE102012104383B4 (en)*2012-05-222014-03-13Solarworld Innovations Gmbh Control for a photovoltaic module arrangement, photovoltaic module arrangement and inverter for a photovoltaic module arrangement
EP2688106A1 (en)*2012-07-182014-01-22Multi-Holding AGSystem for reducing the waste heat of a photovoltaic module
US11030955B2 (en)2012-12-112021-06-08Ignis Innovation Inc.Pixel circuits for AMOLED displays
US9978310B2 (en)2012-12-112018-05-22Ignis Innovation Inc.Pixel circuits for amoled displays
US9997106B2 (en)2012-12-112018-06-12Ignis Innovation Inc.Pixel circuits for AMOLED displays
US9922596B2 (en)2013-03-082018-03-20Ignis Innovation Inc.Pixel circuits for AMOLED displays
US10242619B2 (en)2013-03-082019-03-26Ignis Innovation Inc.Pixel circuits for amoled displays
US10013915B2 (en)2013-03-082018-07-03Ignis Innovation Inc.Pixel circuits for AMOLED displays
US9934725B2 (en)2013-03-082018-04-03Ignis Innovation Inc.Pixel circuits for AMOLED displays
US9721505B2 (en)2013-03-082017-08-01Ignis Innovation Inc.Pixel circuits for AMOLED displays
US9697771B2 (en)2013-03-082017-07-04Ignis Innovation Inc.Pixel circuits for AMOLED displays
US9659527B2 (en)2013-03-082017-05-23Ignis Innovation Inc.Pixel circuits for AMOLED displays
US9351368B2 (en)2013-03-082016-05-24Ignis Innovation Inc.Pixel circuits for AMOLED displays
US10593263B2 (en)2013-03-082020-03-17Ignis Innovation Inc.Pixel circuits for AMOLED displays
US12015376B2 (en)2014-09-092024-06-18Shoals Technologies Group, LlcLead assembly for connecting solar panel arrays to inverter
US12015375B2 (en)2014-09-092024-06-18Shoals Technologies Group, LlcLead assembly for connecting solar panel arrays to inverter
US11689153B2 (en)2014-09-092023-06-27Shoals Technologies Group, LlcLead assembly for connecting solar panel arrays to inverter
US12407295B2 (en)2014-09-092025-09-02Shoals Technologies Group, LlcLead assembly for connecting solar panel arrays to inverter
FR3027749A1 (en)*2014-10-232016-04-29Patrice Georges Gaston Antoine Creuzot DEVICE FOR ELECTRICALLY SECURING A INSTALLATION OF PHOTOVOLTAIC PANELS BY REDUCING THE ELECTRICAL VOLTAGES
US10726761B2 (en)2014-12-082020-07-28Ignis Innovation Inc.Integrated display system
US10134325B2 (en)2014-12-082018-11-20Ignis Innovation Inc.Integrated display system
US10152915B2 (en)2015-04-012018-12-11Ignis Innovation Inc.Systems and methods of display brightness adjustment
US10410579B2 (en)2015-07-242019-09-10Ignis Innovation Inc.Systems and methods of hybrid calibration of bias current
US10657895B2 (en)2015-07-242020-05-19Ignis Innovation Inc.Pixels and reference circuits and timing techniques
US10373554B2 (en)2015-07-242019-08-06Ignis Innovation Inc.Pixels and reference circuits and timing techniques
US10102808B2 (en)2015-10-142018-10-16Ignis Innovation Inc.Systems and methods of multiple color driving
US10446086B2 (en)2015-10-142019-10-15Ignis Innovation Inc.Systems and methods of multiple color driving
US10505492B2 (en)2016-02-122019-12-10Solarcity CorporationBuilding integrated photovoltaic roofing assemblies and associated systems and methods
US11721981B2 (en)2016-03-232023-08-08Solaredge Technologies Ltd.Conductor temperature detector
US11165241B2 (en)2016-03-232021-11-02Solaredge Technologies Ltd.Conductor temperature detector
US11652351B2 (en)2016-03-232023-05-16Solaredge Technologies Ltd.Conductor temperature detector
US11062588B2 (en)2016-03-232021-07-13Solaredge Technologies Ltd.Conductor temperature detector
US10658833B2 (en)2016-03-232020-05-19Solaredge Technologies Ltd.Conductor temperature detector
US12034309B2 (en)2016-03-232024-07-09Solaredge Technologies Ltd.Conductor temperature detector
US12328007B2 (en)2016-03-232025-06-10Solaredge Technologies Ltd.Conductor temperature detector
US10523012B2 (en)2016-06-242019-12-31Abb Schweiz AgSafety device for photovoltaic installations
EP3261207A1 (en)2016-06-242017-12-27ABB Schweiz AGSafety device for photovoltaic installations
JP2021105760A (en)*2019-12-262021-07-26株式会社カネカFire detection device for solar panel
JP7426232B2 (en)2019-12-262024-02-01株式会社カネカ Fire detection device for solar panels
DE102020211504A1 (en)2020-09-142022-03-17Fronius International Gmbh Photovoltaic protection device
DE102020211504B4 (en)2020-09-142022-07-07Fronius International Gmbh Photovoltaic protection device

Similar Documents

PublicationPublication DateTitle
DE202006007613U1 (en)Photovoltaic system for production of electrical energy, has thermal fuse provided in connecting lines between photovoltaic unit and hand-over point, where fuse has preset marginal temperature corresponding to fire temperature
DE102020125882B4 (en) COVER ARRANGEMENT FOR ELECTRICAL BUSBAR CONNECTION
EP2600378B1 (en)Connection device for connecting an electric component into a current path
DE202007002077U1 (en) Emergency shutdown for solar power systems
DE102010037014B3 (en) Electromechanical overtemperature protection element
DE102008027189A1 (en)Safety element for photovoltaic arrangement, has two electrical contacts, which are spaced from each other by electrically isolating fuse body
EP2568542B1 (en)Branching device and installation kit for electrically connecting a branch line with a through circuit
EP2928025B1 (en)Connection device, installation kit and electric installation
DE102007020997B4 (en) Circuit breaker and device with such a circuit breaker
DE112014006067T5 (en) Busbar and busbar module
DE102010049293B3 (en)Arrangement for safe shutdown of photovoltaic system attached to building, charges voltage-limiting diode, voltage divider and freewheeling diode connected to string poles by terminal
DE19916327A1 (en) Short circuiter
EP2418743A1 (en)Plug
DE102012012025B4 (en) Bridge device for electrical devices
DE69507499T2 (en) SURGE ARRESTERS
DE102011121990B4 (en) Photovoltaic system and connecting cable for connecting a photovoltaic module
CH689029A5 (en)Safety connector with a safety plug and a safety socket with continuous insulation.
DE102011110467A1 (en)Photovoltaic system for use on roof of building, has cross connection produced between connection lines and/or wires so that voltage is reduced to zero when sensitive element is activated during exceeding limit temperature
DE102011089688B4 (en) Pantograph system with electrical conduction device
EP3297108B1 (en)Fuse assembly for protecting outer conductors of an electrical fuse unit for forming a building connection
DE102021109348A1 (en) Charging cable with predetermined breaking point
EP4250462B1 (en)Battery module with fuse element
DE3131630C2 (en) Circuit arrangement for the protection of electronic devices connected via connecting lines
DE202014103923U1 (en) Overvoltage protection order
DE102011053522B4 (en) Photovoltaic system and safety device for a photovoltaic system

Legal Events

DateCodeTitleDescription
R207Utility model specification

Effective date:20060921

R150Utility model maintained after payment of first maintenance fee after three years

Effective date:20090630

R151Utility model maintained after payment of second maintenance fee after six years

Effective date:20120530

R158Lapse of ip right after 8 years
R079Amendment of ipc main class

Free format text:PREVIOUS MAIN CLASS: H02N0006000000

Ipc:H02S0050000000

R079Amendment of ipc main class

Free format text:PREVIOUS MAIN CLASS: H02N0006000000

Ipc:H02S0050000000

Effective date:20150212

R158Lapse of ip right after 8 years

Effective date:20141202

R082Change of representative

Representative=s name:BENNINGER, JOHANNES, DIPL.-ING., DE


[8]ページ先頭

©2009-2025 Movatter.jp