Movatterモバイル変換


[0]ホーム

URL:


DE202005020487U1 - Device for permanently measuring parameters of the interior of the body, in particular the body temperature, and for the telemetric transmission of data - Google Patents

Device for permanently measuring parameters of the interior of the body, in particular the body temperature, and for the telemetric transmission of data
Download PDF

Info

Publication number
DE202005020487U1
DE202005020487U1DE202005020487UDE202005020487UDE202005020487U1DE 202005020487 U1DE202005020487 U1DE 202005020487U1DE 202005020487 UDE202005020487 UDE 202005020487UDE 202005020487 UDE202005020487 UDE 202005020487UDE 202005020487 U1DE202005020487 U1DE 202005020487U1
Authority
DE
Germany
Prior art keywords
pat
sensor
skin
interior
transmitting
Prior art date
Legal status (The legal status is an assumption and is not a legal conclusion. Google has not performed a legal analysis and makes no representation as to the accuracy of the status listed.)
Expired - Lifetime
Application number
DE202005020487U
Other languages
German (de)
Current Assignee (The listed assignees may be inaccurate. Google has not performed a legal analysis and makes no representation or warranty as to the accuracy of the list.)
SCHERLING LILO
Scherling Lilo Dr
Original Assignee
SCHERLING LILO
Scherling Lilo Dr
Priority date (The priority date is an assumption and is not a legal conclusion. Google has not performed a legal analysis and makes no representation as to the accuracy of the date listed.)
Filing date
Publication date
Application filed by SCHERLING LILO, Scherling Lilo DrfiledCriticalSCHERLING LILO
Priority to DE202005020487UpriorityCriticalpatent/DE202005020487U1/en
Publication of DE202005020487U1publicationCriticalpatent/DE202005020487U1/en
Priority to PCT/EP2006/008454prioritypatent/WO2007079790A1/en
Priority to EP06791716Aprioritypatent/EP1966575A1/en
Anticipated expirationlegal-statusCritical
Expired - Lifetimelegal-statusCriticalCurrent

Links

Classifications

Landscapes

Abstract

Translated fromGerman

Vorrichtungzur Messung und Weiterleitung physiologisch relevanter Parameter,insbesondere auch aus dem Körperinneren,insbesondere der Körperinnentemperatur,von Lebewesen, insbesondere Nutztieren
dadurch gekennzeichnet,
dassdie Vorrichtung als biokompatibles Semiimplantat, d.h. teilweiseunter der Hautoberflächeliegend, ausgebildet ist,
dadurch gekennzeichnet,
dassdie Vorrichtung übermindestens einen Sensor verfügt,der dauerhaften Kontakt zum Körperinnerenhat.
dadurch gekennzeichnet,
dass mindestens ein Sensoreine direkte/materielle Verbindung zu einem Mikrokontroller nebsteiner Sende- oder vorzugsweise Sende-/Empfangseinheit nebst Energieversorgunghat.
Device for measuring and forwarding physiologically relevant parameters, in particular also from the inside of the body, in particular the internal body temperature, of living beings, in particular livestock
characterized,
that the device is designed as a biocompatible semi-implant, ie lying partially below the surface of the skin,
characterized,
the device has at least one sensor which has permanent contact with the interior of the body.
characterized,
that at least one sensor has a direct / material connection to a microcontroller together with a transmitting or preferably transmitting / receiving unit plus power supply.

Figure 00000001
Figure 00000001

Description

Translated fromGerman

Hintergrundbackground

PhysiologischeParameter sind wichtig zur Beurteilung des Gesundheitszustandeseines Individuums. Eine stressfreie, kontinuierliche oder häufige (mindestensstündliche)Erhebung verschiedener Parameter ermöglicht die Bewertung und Erforschungphysiologischer Abläufeund Rhythmen wie z.B. des Geschlechtszyklus bei Säugetierenals auch beim Menschen, sowie die Früherkennung und den Verlaufvon Erkrankungen. Im Gegensatz zur Oberflächentemperatur ist insbesonderedie Körperinnentemperaturdazu bestens geeignet. Bislang wird jedoch selbst in Krankheitsfällen kaumbzw. zu selten davon Gebrauch gemacht, da die konventionelle rektaleoder vaginale Messung mit Aufwand (ggf. Fangen, Fixieren, Messen,Säubern)verbunden und bei bestimmten Tieren (z.B. aggressive oder scheue Wild-und Zootiere) oder Haltungsformen auch mit Risiko behaftet ist.Zudem sind in der Literatur stressbedingte Messschwankungen beschrieben.Deshalb bleibt die Erhebung der Körperinnentemperatur häufig aufNotfällebeschränkt.physiologicalParameters are important for assessing the health statusof an individual. A stress-free, continuous or frequent (at leasthourly)Collection of various parameters allows evaluation and explorationphysiological processesand rhythms such as of the sex cycle in mammalsas well as in humans, as well as the early detection and the courseof diseases. In contrast to the surface temperature is particularthe body temperaturesuitable for this purpose. So far, however, even in illness cases hardlyor rarely used, as the conventional rectalor vaginal measurement with effort (possibly catching, fixing, measuring,Clean)and in certain animals (such as aggressive or shy wild animals).and zoo animals) or husbandry forms is also risky.In addition, stress-related measurement fluctuations are described in the literature.Therefore, the elevation of the body's internal temperature frequently remainsemergencieslimited.

Diezunehmende Tierhaltung in Großbeständen verstärkt dieBestrebungen zur automatisierten Messung und Verarbeitung dieserWerte, um das Herdenmanagement zu erleichtern und Verluste zu verringern(beschrieben, zum Beispiel, in US Pat. 3,534,728 und US Pat 3,297,020).In der weiteren Entwicklung der Technologie machen sich diese BestrebungenErfindungen aus anderen Bereichen zu Nutze, so zum Beispiel RFID(US Pat 5,526,772) und RFID-ähnliche(US Pat. 5,682,149) Transponder zu eigen, um bei allumfassenden ‚Universalansprüchen' (zum Beispiel USPat Appl 2003/0137431 A1) zu enden.TheIncreasing animal husbandry in large stocks reinforces theAspirations for the automated measurement and processing of theseValues to facilitate herd management and reduce losses(described, for example, in US Pat. 3,534,728 and US Pat 3,297,020).In the further development of technology, these efforts are madeUse inventions from other areas, such as RFID(US Pat 5,526,772) and RFID-like(US Pat. 5,682,149) owns transponders in order to meet all-encompassing 'universal claims' (for example US PatPat Appl 2003/0137431 A1).

Problemstellungproblem

Dasbislang größte nichtwirtschaftlich gelösteProblem hierzu sind die Ausgestaltung/Einbringung des Sensors (USPat. 5,105,763). Die bisherigen Lösungen beziehen sich auf:

  • 1. die Ohrmuschel oder den Gehörgang, zumBeispiel US Pat. 4,854,328,, US Pat. 4,510,495, US Pat 3.781.837,US 4,651,750 sowie einemsubfaszialen Hohlraum hinter dem Ohr US Pat. 4,083,364 Nachteilesind: – Messungenan oder in der Ohrmuschel sind stark von der Umgebungstemperaturabhängig (beschriebenin US Pat. 4,387,742) und spiegeln nicht die Körperinnentemperatur wider – Sensorenwerden im Gehörgangper Reflex schlecht geduldet und sie können das Trommelfell beschädigen; – die Verlustrateist in der Praxis hoch – dersubfasziale Hohlraum mit Zugang an der höchsten Stelle ist prädestiniertfür Infektionen unddamit ungeeignet
  • 2. die Vagina (zum Beispiel US Pat. 4,387,724). Die reflektorischeAusstoßungdes Sensors bzw. Transmitters soll mittels eines speziellen Ankers, dersich in die Schleimhaut vor dem Muttermund einkrallt, verhindertwerden. Nachteile sind: – die Methode ist naturgemäß nichtbei männlichenund sehr jungen Individuen einsetzbar – das Gerät stört bei einer Besamung/Behandlung undmuss zur Geburt entfernt werden – es treten Schleimhautreizungenauf. Möglicherweiseempfiehlt der Autor deshalb nur einen Einsatz über maximal 50 Tage – die vorhandenendicken Muskelschichten bedingen bei gleichem Sendeaufkommen stärkere Sendeleistungenmit erhöhtemEnergieverbrauch oder, bei passiven Transpondern, größere Feldstärken, wasentweder die Sendedauer oder die Reichweite – zum Teil entscheidend – verringert
  • 3. einen Bolus im Pansen (zum Beispiel 6,012,415, US Pat. 5,697,384,US Pat. 5,634,432, US Pat Appl 2004/0155782 A1. US Pat. Appl 2005/0228223A1 weitet dies auf den Menschen aus). Nachteile sind: – der Einsatzist auf ruminierende Wiederkäuer beschränkt, alsoselbst fürKälberungeeignet, da hier der Pansen noch nicht entwickelt ist – die Temperaturdes Panseninhaltes wird von der jeweiligen Pansenflora (Bakterienund Infusorien) mitbestimmt und sinkt naturgemäß bei jeder Futter- und Wasseraufnahme – auch hiersind großeSchichtdicken zu überbrücken mitdem oben erwähntenProblem hohen Energieaufwandes fürSendeleistung bzw. hohen Feldstärken.
  • 4. die komplett subkutane Implantation einer aktiven Sensor/Transmitter-Einheit(ähnlicheinem Herzschrittmacher), die relativ aufwändig ist und sich deshalb imGroßenund Ganzen auf den Menschen beschränkt. Unter Praxisverhältnissen imStall ist mit Infektionen zu rechnen. Zudem stellt die Operationeinen Eingriff gemäß Tierschutzgesetzdar.
  • 5. die subkutane Injektion von passiven Transpondern, die vorallem zur Identifizierung von Tieren weit verbreitet ist. DerartigeTransponder können auchmit Sensoren ausgerüstetwerden Nachteile sind: – der nötige geringe Abstand zum Lesegerät, das heißt die Datenkönnennur ausgelesen werden, wenn ein Lesegerät direkt über den Transponder gehaltenwird oder das Individuum zum Beispiel durch ein schmales Antennenportalgeht. Da dies nur in größeren und/oderunregelmäßigen zeitlichenAbständenerfolgt, ist vor allem eine Erkennung des Östrus bei weiblichen Tierennicht möglich – es istbekannt, dass ein nicht unbeträchtlicher Anteilder injizierten Transponder „wandert" wobei unter Umständen wenigeZentimeter es unmöglichmachen, Daten zu lesen. In der Praxis sind viele Transponder nichtmehr auffindbar ist, was insbesondere bei Fleisch liefernden TierenProbleme mit sich bringt.
The largest uneconomically solved problem to date is the design / incorporation of the sensor (US Pat. 5,105,763). The previous solutions relate to:
  • 1. the pinna or the ear canal, for example US Pat. 4,854,328, US Pat. 4,510,495, US Pat. 3,781,837, US Pat. US 4,651,750 and a subfascial cavity behind the ear US Pat. 4,083,364 Disadvantages are: - Measurements on or in the pinna are highly dependent on the ambient temperature (described in US Pat. 4,387,742) and do not reflect the body temperature - sensors are poorly tolerated in the ear canal by reflex and they can damage the eardrum; - The loss rate is high in practice - The subfascial cavity with access at the highest point is predestined for infections and thus unsuitable
  • 2. the vagina (for example US Pat. 4,387,724). The reflective ejection of the sensor or transmitter should be prevented by means of a special anchor, which claws into the mucous membrane in front of the cervix. Disadvantages are: - the method is naturally not used in males and very young individuals - the device interferes with an insemination / treatment and must be removed for childbirth - there are mucous membrane irritation. The author may therefore only recommend a use for a maximum of 50 days - the existing thick muscle layers require the same transmission power stronger transmission power with increased energy consumption or, in passive transponders, larger field strengths, which either the transmission duration or the range - sometimes crucial - reduced
  • 3. a bolus in the rumen (e.g., 6,012,415, US Pat. 5,697,384, US Pat. 5,634,432, US Pat Appl. 2004/0155782 A1, US Pat. Appl 2005/0228223 A1) extends this to humans. Disadvantages are: - The use is limited to ruminating ruminants, so even for calves unsuitable because the rumen is not developed here - the temperature of the rumen content is determined by the respective rumen flora (bacteria and infusoria) and naturally decreases in each feed and Water absorption - here too, large layer thicknesses are to be bridged with the above-mentioned problem of high expenditure of energy for transmission power or high field strengths.
  • 4. The complete subcutaneous implantation of an active sensor / transmitter unit (similar to a pacemaker), which is relatively complex and therefore largely limited to humans. Under conditions in the stable, infections can be expected. In addition, the operation constitutes an intervention in accordance with the Animal Protection Act.
  • 5. the subcutaneous injection of passive transponders, which is widely used for the identification of animals. Such transponders can also be equipped with sensors Disadvantages are: - the necessary small distance to the reader, that is, the data can only be read when a reader is held directly over the transponder or the individual goes through a narrow antenna portal, for example. Since this takes place only in larger and / or irregular time intervals, above all, a recognition of oestrus in female animals is not possible It is known that a not inconsiderable proportion of the transponders injected "migrate", with a few centimeters possibly making it impossible to read data In practice, many transponders can no longer be found, which is particularly problematic for meat-supplying animals brings.

Weiterenicht hinreichend gelösteProbleme, wie das genügendhäufigeAuslesen der Daten über relevanteStrecken sowie deren schnelle Verfügbarkeit, die Energieversorgungetc. ergeben sich größtenteilsaus diesen unbefriedigenden Applikationsmethoden.Furthernot sufficiently solvedProblems like that enoughfrequentReading the data about relevantRoutes as well as their fast availability, the power supplyetc. arise largelyfrom these unsatisfactory application methods.

Nebenden oben aufgeführtenspezifischen Nachteilen bietet keine der oben zitierten Patente, beziehungsweisePatentanmeldungen, eine Basis für eineautomatische telemetrische Weitersendung der Messwerte unter Praxisbedingenim Stall (mindestens 100 m). Sie erreichen eine Reichweite von maximal1 Meter (US Pat 5,526,772), müssenmit Kabeln weitergeleitet werden (US Pat Appl 2004/0155782 A1; USPat. 5,322,034), müssenam Tier herunter geladen werden (US Pat Appl 2003/0137431 A1), oderbrauchen ein männliches Tierzur Erkennung des weiblichen Östrus(US Pat. 4,503,808; US Pat Appl 2003/0137431 A1).Nextthe abovenone of the above cited patents, respectivelyPatent applications, a basis for aautomatic telemetric transmission of measured values under practical conditionsin the stable (at least 100 m). They reach a maximum range1 meter (US Pat 5,526,772)with cables (US Pat. Appl. 2004/0155782 A1, US PatPat. 5,322,034)downloaded to the animal (US Pat Appl 2003/0137431 A1), orneed a male animalto detect the female estrus(US Pat. Appl. 2003/0137431 A1).

Aufgabe der Erfindung:Object of the invention:

Kernproblemist die praxisgerechte, dauerhafte Einbringung von Sensor/en indas Körperinnere,bei gleichzeitiger Datenweiterleitung vorzugsweise von der Körperoberfläche aus.core problemis the practical, permanent introduction of sensor / s inthe inside of the body,with simultaneous data transmission preferably from the body surface.

ImMittelpunkt steht deshalb die Anbringung/Befestigung einer Vorrichtungzur (Verlaufs-) Messung von zuverlässigen physiologischen Daten ausdem Körperinnerenvon Individuen – insbesondereNutztieren- und deren Weiterleitung. Hierbei handelt es sich insbesondereum die Körperinnentemperatur,je nach Bedarf aber auch um andere Parameter- auch außen zu messende – wie z.B.Puls, Bewegung, Umgebungstemperatur, Luftfeuchtigkeit etc..in theCenter is therefore the attachment / attachment of a devicefor (historical) measurement of reliable physiological datathe inside of the bodyof individuals - in particularLivestock and their forwarding. These are in particulararound the body temperature,as required, but also to other parameters - even outside to be measured - such.Pulse, movement, ambient temperature, humidity etc.

Die(sterilisierbare) Vorrichtung soll möglichst ohne größeren Aufwandund Infektionsgefahr, auch in nicht steriler Umgebung komplikationslos dauerhaftanzubringen, körperverträglich seinund nicht wandern.The(Sterilizable) device should possible without much effortand risk of infection, even in non-sterile environment uncomplicated permanentto be attached, to be compatible with the bodyand do not hike.

DieVorrichtung muss eine unverwechselbare individuelle Kennung ermöglichen,Entfernung oder Beschädigunglöst gegebenenfallseinen (Remote-)Alarm aus.TheDevice must allow a distinctive individual identifierRemoval or damagesolves if necessarya (remote) alarm.

DieDatenübertragungsoll vorzugsweise automatisch und mindestens stündlich, vorzugsweise (zusätzlich)auch auf Anforderung, in Echtzeit und aus praxisrelevanter Distanz(min. 100m) erfolgen können,um zeitnahe Verlaufsmessungen zu ermöglichen.Thedata transfershould preferably automatically and at least hourly, preferably (in addition)also on request, in real time and from practice-relevant distance(at least 100m),to allow timely progress measurements.

Diebeim Datentransfer abgegebene/aufgewandte Energie soll ebenso wieDatenverluste bzw. -kollisionen minimal sein.Theenergy given off / transferred during the data transfer should as well asData losses or collisions should be minimal.

DieVorrichtung soll robust sein, eine geringe Verlustrate aufweisenund möglichst über 6 bis8 Jahre wartungsfrei funktionstüchtigbleiben.TheDevice should be robust, have a low loss rateand possibly over 6 to8 years maintenance-freestay.

DieseAufgaben werden durch eine Vorrichtung des Anspruchs 1 erfüllt.TheseTasks are accomplished by an apparatus of claim 1.

Beschreibung der Lösung:Description of the solution:

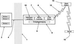
Dieneu entwickelte Vorrichtung ist als biokompatibles Semiimplantat(d.h. ein Teil ist im Gewebe versenkt, der andere bleibt sichtbar,vorzugsweise auf der Außenhaut)zum dauerhaften/permanenten Verbleib ausgestaltet -vergleichbareinem Piercing beim Menschen oder z.B. einem Nasenring beim Tier-d.h. die Anbringung setzt Perforationen) der Außen- und/oder Schleimhaut (1)voraus.The newly developed device is designed as a biocompatible semi-implant (ie one part is sunk in the tissue, the other remains visible, preferably on the outer skin) for permanent / permanent whereabouts -comparably a piercing in humans or eg a nose ring in animals - ie the attachment sets Perforations) of the outer and / or mucosa ( 1 ) ahead.

DieVorrichtung enthälteinen oder mehrere Messfühler(2) zur Ermittlung physiologisch relevanter Informationeneines Individuums aus dem Inneren seines Körpers, insbesondere der Körperinnentemperaturund/oder auch von der Körperoberfläche (3). Durchdie Art der Implantation steht der oder die Messfühler imInneren des Körpersin Kontakt mit dem nötigenGewebe z.B. zum Unterhautbinde- oder Muskelgewebein einer Variation aber auch z.B. in der Mund- oder Nasenhöhle.The device contains one or more sensors ( 2 ) for determining physiologically relevant information of an individual from the inside of his body, in particular the body temperature and / or also from the body surface ( 3 ). Due to the nature of the implantation, the sensor (s) inside the body are in contact with the necessary tissue, for example for subcutaneous tissue or muscle tissue in a variation but also, for example, in the oral or nasal cavity.

Wievom Piercing bekannt, heilen – beiEinhaltung gewisser Hygienestandards – doppelte Perforationen angeeigneten Stellen relativ schnell ab, da ein einfacher Sekretabflussmöglichist. Das mit Wunden in Berührungkommende Material ist biokompatibel: entweder glatt und inert oderauch rau und zum Einwachsen anregend.Asknown from piercing, healing - atCompliance with certain hygiene standards - double perforationssuitable sites relatively quickly, as a simple secretion drainpossibleis. That in contact with woundsupcoming material is biocompatible: either smooth and inert oralso rough and stimulating to wax.

Deroder die Sensoren besitzen vorzugsweise eine direkte Verbindung(4,5) mit der Funkeinheit (6), bestehendaus einem Microcontroller (7), einer Sende- oder bessereiner Sende/Empfangseinheit (8) nebst Energieversorgung(9) und, wenn nötig, Messwertumwandler(10) (1). Der entscheidende Vorteilhierbei ist, dass auf diese Weise kein Lesegerät benötigt wird, damit verbundenerhoher Energieverbrauch bzw. hohe Feldstärken können vermieden werden und einewartungsfreie Lebensdauer von 6–10Jahren realistisch ist.The sensor or sensors preferably have a direct connection ( 4 . 5 ) with the radio unit ( 6 ), consisting of a microcontroller ( 7 ), a transmitting or rather a transmitting / receiving unit ( 8th ) and energy supply ( 9 ) and, if necessary, transducers ( 10 ) ( 1 ). The key advantage here is that in this way no reader is needed, associated high energy consumption and high field strengths can be avoided and a maintenance-free life of 6-10 years is realistic.

DieFunkeinheit befindet sich vorzugsweise im extrakorporalen Gehäuseteil(11), dadurch ist mit minimaler Energie Sendung bzw. Empfang(12) über mindestens100m zu einem Receiver (Basisstation,13) möglich, bei Übermittlungvia GPRS überall.The radio unit is preferably located in the extracorporeal housing part ( 11 ), this is with minimal energy transmission or reception ( 12 ) over at least 100m to a receiver (base station, 13 ) possible, with transmission via GPRS everywhere.

Schnittstellenfür weitereAnwendungen sind vorhanden.interfacesfor furtherApplications are available.

Ineiner Variation ist die Vorrichtung bei Bedarf (auch) mit einemintegrierten Lesegerätzur Auslesung eines in der Näheimplantierten, mit Sensoren bestücktenTransponders versehen.InIn a variation, the device is (also) one if necessaryintegrated readerfor reading a nearbyimplanted, equipped with sensorsProvided transponders.

DieVorrichtung bietet die technische Grundlage einer wirtschaftlichentelemetrischen Weiterleitung von Messwerten aus dem Körperinneren.TheDevice provides the technical basis of an economictelemetric forwarding of measured values from the inside of the body.

DieVorrichtung verfügt über eineeinmalige individuelle Kennung, ein entsprechend gestalteter Verschluss(14) ist gleichzeitig Fixierung und Schutz vor Ausreißen derVorrichtung. Bei Verlust oder Entfernung der Vorrichtung sistiertdie Datenübertragung undzieht einen Alarm auf der Basisstation (13) oder dem Server(15) automatisch nach sich.The device has a unique individual identifier, a correspondingly shaped closure ( 14 ) is at the same time fixation and protection against tearing of the device. If the device is lost or removed, the data transmission stops and an alarm sounds on the base station ( 13 ) or the server ( 15 ) automatically.

DieseKombination ist technische Grundlage für die weit gehend betrugssichereKennzeichnung und Überwachungvon Lebewesen.TheseCombination is the technical basis for the largely fraud-proofLabeling and monitoringof living things.

DieZeichnungen sind nur beispielhaft für mögliche Ausführungen.TheDrawings are only examples of possible designs.

Eineweitere möglicheAusbildung fürden dauerhaft/vorübergehenden(Stunden bis Tage) Einsatz: Die Vorrichtung quasi als Mandrin einerhandelsüblichenVenenverweilkanüleund mit entsprechendem Verschluss (vorzugsweise Luer-Lock) befestigt,die angeschlossene Funkeinheit kommt außen zu liegen.Amore possibleTraining forthe permanent / temporary(Hours to days) Use: The device quasi as a mandrin onecommercialIV catheterand fastened with appropriate closure (preferably Luer-Lock),the connected radio unit comes to lie outside.

Claims (8)

Translated fromGerman
Vorrichtung zur Messung und Weiterleitung physiologischrelevanter Parameter, insbesondere auch aus dem Körperinneren,insbesondere der Körperinnentemperatur,von Lebewesen, insbesondere Nutztierendadurch gekennzeichnet, dassdie Vorrichtung als biokompatibles Semiimplantat, d.h. teilweiseunter der Hautoberflächeliegend, ausgebildet ist, dadurch gekennzeichnet, dassdie Vorrichtung übermindestens einen Sensor verfügt,der dauerhaften Kontakt zum Körperinneren hat. dadurchgekennzeichnet, dass mindestens ein Sensor eine direkte/materielle Verbindungzu einem Mikrokontroller nebst einer Sende- oder vorzugsweise Sende-/Empfangseinheit nebstEnergieversorgung hat.Apparatus for measuring and forwarding physiologically relevant parameters, in particular also from the inside of the body, in particular the body temperature, of living beings, in particular livestock,characterized in that the device as a biocompatible semi-implant, that is partially below the skin surface, formed, characterized in that the device has at least one sensor that has permanent contact with the interior of the body. characterized in that at least one sensor has a direct / material connection to a microcontroller together with a transmitting or preferably transmitting / receiving unit together with power supply.Vorrichtung nach Anspruch 1 dadurch gekennzeichnet, dassmindestens eine stündlicheMessung und Übertragungin Echtzeit möglichist, dadurch gekennzeichnet, dass die Messintervalle nachBedarf veränderbar sind, dadurchgekennzeichnet, dass die Datenübertragung über mindestens 100m zu einemReceiver möglichist dadurch gekennzeichnet, dass die Vorrichtung mit einerunverwechselbaren Kennung versehen werden kannApparatus according to claim 1characterized,thatat least one hourlyMeasurement and transmissionpossible in real timeischaracterized,that the measurement intervals afterNeeds are changeable,therebyinthat the data transfer over at least 100m to aReceiver possibleischaracterized,that the device with adistinctive identifier can be providedVorrichtung nach Anspruch 1 oder 2 dadurch gekennzeichnet,dass der Verschluss als justierbarer Einmalverschluss (Plombe) ausgebildetistDevice according to claim 1 or 2, characterizedthat the closure is designed as an adjustable single closure (seal)isVorrichtung nach einem der vorherigen Ansprüche gekennzeichnetdadurch, dass weitere Schnittstellen vorhanden sindDevice according to one of the preceding claimsin that there are more interfacesVorrichtung nach Anspruch 1 oder 2 dadurch gekennzeichnet,dass ein oder mehrere Sensoren für Messungenauf der Haut und/oder der Umgebung (z.B. Feuchtigkeit, Umgebungstemperatur,Bewegung, Leitfähigkeitetc.) integriert sindDevice according to claim 1 or 2, characterizedthat one or more sensors for measurementson the skin and / or the environment (e.g., humidity, ambient temperature,Movement, conductivityetc.) are integratedVorrichtung nach einem der vorherigen Ansprüche dadurchgekennzeichnet, dass die Energieversorgung per Batterie, Solarzelle, „energy-harvesting" (z.B. Bewegung,Temperaturgradienten) erfolgtDevice according to one of the preceding claimscharacterized in that the energy supply by battery, solar cell, "energy-harvesting" (e.g.Temperature gradient)Vorrichtung nach Anspruch 1, 2 oder 3 dadurch gekennzeichnet,dass am Gehäuseeine vorzugsweise visuelle Alarmeinrichtung integriert istDevice according to claim 1, 2 or 3, characterizedthat on the casea preferably visual alarm device is integratedVorrichtung nach Anspruch 1 dadurch gekennzeichnet,dass das Material, das die Haut perforiert, entweder biokompatibel-inertist oder zum Einwachsen anregtDevice according to claim 1, characterizedthat the material that perforates the skin is either biocompatible-inertis or encourages growth
DE202005020487U2005-12-302005-12-30 Device for permanently measuring parameters of the interior of the body, in particular the body temperature, and for the telemetric transmission of dataExpired - LifetimeDE202005020487U1 (en)

Priority Applications (3)

Application NumberPriority DateFiling DateTitle
DE202005020487UDE202005020487U1 (en)2005-12-302005-12-30 Device for permanently measuring parameters of the interior of the body, in particular the body temperature, and for the telemetric transmission of data
PCT/EP2006/008454WO2007079790A1 (en)2005-12-302006-08-29Device for measuring parameters of the interior of a body and for telemetrically transferring data
EP06791716AEP1966575A1 (en)2005-12-302006-08-29Device for measuring parameters of the interior of a body and for telemetrically transferring data

Applications Claiming Priority (1)

Application NumberPriority DateFiling DateTitle
DE202005020487UDE202005020487U1 (en)2005-12-302005-12-30 Device for permanently measuring parameters of the interior of the body, in particular the body temperature, and for the telemetric transmission of data

Publications (1)

Publication NumberPublication Date
DE202005020487U1true DE202005020487U1 (en)2006-05-04

Family

ID=36442160

Family Applications (1)

Application NumberTitlePriority DateFiling Date
DE202005020487UExpired - LifetimeDE202005020487U1 (en)2005-12-302005-12-30 Device for permanently measuring parameters of the interior of the body, in particular the body temperature, and for the telemetric transmission of data

Country Status (3)

CountryLink
EP (1)EP1966575A1 (en)
DE (1)DE202005020487U1 (en)
WO (1)WO2007079790A1 (en)

Cited By (2)

* Cited by examiner, † Cited by third party
Publication numberPriority datePublication dateAssigneeTitle
DE102008053216A1 (en)2008-10-252010-05-06IHP GmbH - Innovations for High Performance Institut für innovative MikroelektronikTransdermal sensor for e.g. measurement of physiological data of patient, has actuator, adhesive body and covering membrane forming sterile closed area, which completely provides distal section of needle outside of tissue
DE202012010171U1 (en)*2012-10-242014-01-30Big Dutchman Pig Equipment Gmbh Animal Monitoring System

Families Citing this family (1)

* Cited by examiner, † Cited by third party
Publication numberPriority datePublication dateAssigneeTitle
CN117562520B (en)*2024-01-022024-04-19广州市碳码科技有限责任公司Monitoring system for human physiological parameters and monitoring report generation method

Family Cites Families (6)

* Cited by examiner, † Cited by third party
Publication numberPriority datePublication dateAssigneeTitle
US3781837A (en)*1971-07-081973-12-25Jac IncAmbient compensated temperature responsive device
DK152830C (en)*1984-07-271988-10-10Electronic Identification Syst ELECTROMEDIC SYSTEM
US4854328A (en)*1987-03-231989-08-08Philip PollackAnimal monitoring telltale and information system
DE3828007A1 (en)*1988-08-181990-02-22Franz KaesbergerElectrical/electronic temperature monitoring with a remote alarm
FR2801491B1 (en)*1999-11-302002-11-29Foulquier Jean Marie METHOD AND SYSTEM FOR MEASUREMENT / PROCESSING / EXPLOITATION OF PHYSIOLOGICAL PARAMETERS OF LIVING SUBJECTS
CN1329719C (en)*2000-12-122007-08-01迷你米特公司 Digital Sensors and Body Temperature Monitors for Tiny Medical Thermometers

Cited By (2)

* Cited by examiner, † Cited by third party
Publication numberPriority datePublication dateAssigneeTitle
DE102008053216A1 (en)2008-10-252010-05-06IHP GmbH - Innovations for High Performance Institut für innovative MikroelektronikTransdermal sensor for e.g. measurement of physiological data of patient, has actuator, adhesive body and covering membrane forming sterile closed area, which completely provides distal section of needle outside of tissue
DE202012010171U1 (en)*2012-10-242014-01-30Big Dutchman Pig Equipment Gmbh Animal Monitoring System

Also Published As

Publication numberPublication date
WO2007079790A1 (en)2007-07-19
EP1966575A1 (en)2008-09-10

Similar Documents

PublicationPublication DateTitle
AU2007238398B2 (en)Method and system for monitoring the condition of livestock
US10045511B1 (en)Cattle and other veterinary monitoring
ES2951065T3 (en) Surveillance and supervision of animal discomfort by mobile phone
DE69210832T2 (en) ELECTRONIC IDENTIFICATION SYSTEM FOR ANIMALS
EP3389489B1 (en)Device for measuring the gastric pressure and the gastric motility of a livestock animal
US4387724A (en)Method for remotely monitoring the long term deep body temperature in female mammals
WO2011135381A1 (en)Apparatus and method for detecting disease in dairy animals
US20050209526A1 (en)Animal monitoring device
KR20190125882A (en)Animal thermometer
DE60303017T2 (en) THERMOMETER
WO2013020825A1 (en)Device having a sensor for measuring a vital value in an animal
DE102013221591A1 (en)Monitoring device for monitoring uterus of female farm animal i.e. domestic cattle, to detect pregnancy of farm animal, has range transmitters utilized for transmitting first value to body of animal and spaced apart from receiving station
EP3662747B1 (en)Device for detecting animal parameters, system for detecting and evaluating animal parameters, and a computer program product for managing an animal herd
DE202005020487U1 (en) Device for permanently measuring parameters of the interior of the body, in particular the body temperature, and for the telemetric transmission of data
US5203345A (en)Method of using a support anchor for the vagina of a mammalian female
DE19901124A1 (en)Assembly for controlled care and/or tending for domestic animals in agricultural operational units with large cattle stock
CN216567690U (en)Wearable animal monitoring earplug and animal monitoring system
KR20190124573A (en)Animal disease management system using Internet of Things and its operation method
KourExploring the maternal behaviour of north Australian beef cattle using Precision Livestock Management technologies
WO2008138076A2 (en)Device for animals and mode of operation of the detection methodology of the device to monitor, to report and to alarm changes of the intra - abdominal pressure by using communication technology
DE10259987B3 (en)Lifeform location, identification and health determination method using genetic sample in air-tight container combined with transponder coupled to health sensors
DE102013019894A1 (en) Apparatus and method for determining the body temperature in the oral cavity of mammals, especially livestock, sucking on a drinking teat
DE102014017435A1 (en) Method for the qualitative prediction of birth dates in farm animals
DE2214221A1 (en) DEVICE AND METHOD FOR REPORTING A BIRTH
DE102008029089A1 (en)Device for determining body temperature of farm animal, particularly cattle, comprises temperature sensor for measuring upper surface temperature of body of farm animal at location

Legal Events

DateCodeTitleDescription
R207Utility model specification

Effective date:20060608

R156Lapse of ip right after 3 years

Effective date:20090701


[8]ページ先頭

©2009-2025 Movatter.jp