Movatterモバイル変換


[0]ホーム

URL:


DE19745947B4 - Apparatus and method for drilling earth formations - Google Patents

Apparatus and method for drilling earth formations
Download PDF

Info

Publication number
DE19745947B4
DE19745947B4DE19745947ADE19745947ADE19745947B4DE 19745947 B4DE19745947 B4DE 19745947B4DE 19745947 ADE19745947 ADE 19745947ADE 19745947 ADE19745947 ADE 19745947ADE 19745947 B4DE19745947 B4DE 19745947B4
Authority
DE
Germany
Prior art keywords
core
data
instrumentation
formation
drilling
Prior art date
Legal status (The legal status is an assumption and is not a legal conclusion. Google has not performed a legal analysis and makes no representation as to the accuracy of the status listed.)
Expired - Lifetime
Application number
DE19745947A
Other languages
German (de)
Other versions
DE19745947A1 (en
Inventor
Luc Van Kingwood Puymbroeck
Michael H. Flower Mound Johnson
John W. Spring Harrell
Pierre E. Kingwood Collee
Current Assignee (The listed assignees may be inaccurate. Google has not performed a legal analysis and makes no representation or warranty as to the accuracy of the list.)
Baker Hughes Holdings LLC
Original Assignee
Baker Hughes Inc
Priority date (The priority date is an assumption and is not a legal conclusion. Google has not performed a legal analysis and makes no representation as to the accuracy of the date listed.)
Filing date
Publication date
Priority claimed from US08/732,911external-prioritypatent/US6006844A/en
Application filed by Baker Hughes IncfiledCriticalBaker Hughes Inc
Publication of DE19745947A1publicationCriticalpatent/DE19745947A1/en
Application grantedgrantedCritical
Publication of DE19745947B4publicationCriticalpatent/DE19745947B4/en
Anticipated expirationlegal-statusCritical
Expired - Lifetimelegal-statusCriticalCurrent

Links

Classifications

Landscapes

Abstract

Translated fromGerman

Vorrichtungzum Bohren von Erdformationen, mit einem eine Längsbohrung begrenzenden Bohrkörper, deran seinem oberen Ende mit einem Bohrstrang verbindbar und an seinemunteren Ende mit einer Kernbohrkrone versehen ist, und einer Instrumentenausrüstung, mittelswelcher Bohrlochdaten gleichzeitig mit dem Erbohren eines Kernsaufnehmbar sind, dadurch gekennzeichnet, dass von der Instrumentenausrüstung zumindestein Bereich innerhalb des Rohrkörperszwischen dessen Außenseiteund der Längsbohrungangeordnet ist und von der Instrumentenausrüstung als Bohrlochdaten Erdformationsparameteraufnehmbar sind und die Instrumentenausrüstung wenigstens einen Sensoraufweist zum Erfassen von zumindest einem Formationsmerkmal aus derGruppe der Merkmale Bohrlochtemperatur, Bohrlochdruck, Formationswiderstand,Formationsgammastrahlung, nukleare Magnetresonanz, Dichte und Porösität.contraptionfor drilling earth formations, with a longitudinal bore limiting drill body, theconnectable at its upper end with a drill string and at itsbottom end is provided with a core bit, and instrumentation, by means ofwhich well data simultaneously with the drilling of a coreare receivable, characterized in that of the instrumentation at leasta region within the tubular bodybetween its outsideand the longitudinal boreis arranged and from the instrumentation equipment as well data ground information parametersare receivable and the instrumentation at least one sensorfor detecting at least one formation feature from theSet of characteristics well temperature, borehole pressure, formation resistance,Formation gamma radiation, nuclear magnetic resonance, density and porosity.

Figure 00000001
Figure 00000001

Description

Translated fromGerman

DieErfindung bezieht sich auf eine Vorrichtung zum Bohren von Erdformationenin einer Ausgestaltung gemäß dem Oberbegriffdes Anspruchs 1 sowie auf Verfahren zum Bohren von Erdformationen.TheThe invention relates to a device for drilling earth formationsin an embodiment according to the preambleof claim 1 and to methods for drilling earth formations.

Insbesonderebezieht sich die Erfindung auf ein Kombinationssystem des Kernbohrensund des normalen Rohrens mittels einer unter Verwendung eines Seilstrangesaus dem Bohrstrang herausziehbaren Kernbohrinnenrohreinheit undeiner Verschlußeinheitzum Vorwärtsbohren,wobei letztere wahlweise mit Meßeinrichtungenzur Bewertung von Bohrlochparametern ausgestattet ist. Speziellbietet das System die Möglichkeit,gleichzeitig eine Formation, in der eine Kernbohrung ausgeführt wird,wie auch die aus der Formation erbohrte Kernprobe datenmäßig zu erfassen.EspeciallyThe invention relates to a combination system of core drillingand the normal pipe by means of a using a rope stringKernbohrinnenrohreinheit pulled out of the drill string anda closure unitfor forward drilling,the latter optionally with measuring equipmentequipped to evaluate wellbore parameters. speciallythe system offers the possibilityat the same time a formation in which a core drilling is carried out,as well as the kernel sample drilled from the formation to record data.

DasKernbohren mit einem Seilstrang ist seit vielen Jahren bekannt.Das Grundkonzept besteht hierbei darin, ein Kernrohr mit einer Außenrohreinheit zuverwenden, die am Ende des Bohrstrangs angeordnet ist und an ihremunteren Ende eine Kernbohrkrone aufweist. Eine Innenrohreinheitzur Aufnahme eines von der Kernbohrkrone erbohrten Kerns ist lösbar inder Außenrohreinheitverriegelt. Diese Ausgestaltung ermöglicht eine Plazierung derInnenrohreinheit in der Außenrohreinheitmittels eines Seilstranges, mittels der Schwerkraft oder einer hydraulischen Strömung undihre Rückgewinnungaus der Außenrohreinheitmittels des Seilstranges. Beispiele solcher Seilstrang-Kernbohrsystemesind in den SchriftenUS 3 127943 undUS 5 020 612 beschrieben.Core drilling with a rope string has been known for many years. The basic concept here is to use a core tube with an outer tube unit, which is arranged at the end of the drill string and has a core bit at its lower end. An inner tube unit for receiving a core drilled by the core bit is detachably locked in the outer tube unit. This configuration allows placement of the inner tube unit in the outer tube unit by means of a cable harness, by means of gravity or a hydraulic flow and their recovery from the outer tube unit by means of the cable strand. Examples of such rope core drilling systems are in the publications US 3,127,943 and US 5 020 612 described.

EinProblem bei zahlreichen vorbekannten Systemen ist die Notwendigkeit,daß einspezieller Bohrstrang mit einem vergrößerten Durchmesser verwendetwerden muß,um das Einlassen und Zurückholender Innenrohreinheit zu ermöglichen,die zum Erbohren verhältnismäßig großer Kerne über 5 cm(2'') Durchmesser verwendetwird.OneProblem with many prior art systems is the need tothe existencespecial drill string used with an enlarged diametermust become,to let in and retrieveto allow the inner tube unitfor drilling relatively large cores over 5 cm(2 '') diameter usedbecomes.

ObschonKernbohrsysteme, die kleine bzw. schlanke Kerne von etwa 4,5 cm(1 3/4'') Durchmesser oderweniger erbohren, bekannt sind, versteht sich, daß solcheKerne sehr zerbrechlich sind, so daß die herkömmlichen Kernbohrsysteme inder Länge aufsolche Kerne begrenzt sind, die vernünftigerweise, ohne zu zerbrechen,gebohrt werden können. DieseBeschränkungscheint in erster Linie der Instabilität des gesamten Kernrohres zuzuschreibenzu sein, die durch seitliche und vertikale Bohrkronenbewegungenim Bohrloch, die Vibrationen erzeugen, hervorgerufen wird. Ein Hauptphänomen, dasaus solchen Bohrkronenbewegungen und -schwingungen resultiert, istdas sog. Bohrkronenschleudern, obgleich eine Vibration ohne Schleudernebenfalls schädlichist. Das Phänomendes Bohrkronenschleuderns äußert sichin Bohrkronen mit unausgeglichenen Seitenkräften der Schneidglieder, welcheKräfte dazuführen,daß dieBohrkrone im Bohrloch um einen Mittelpunkt rotiert bzw. schleudert,der von der geometrischen Mitte der Bohrkrone versetzt ist, derart,daß dieKrone dazu neigt, rückwärts im Bohrloch zuschleudern. Es wurde beobachtet, daß das Schleuderphänomen durchdas Vorhandensein von Kalibrier- bzw. Trimmschneidgliedern an bestimmten Stellenim äußeren Kalibrierbereichder Bohrkrone verstärktwird, wobei derartige Schneidglieder auch Reibkräfte beim Bohren erzeugen. DasSchleudern ist ein dynamisches eigenständiges Phänomen und wirkt sich in vielenFällenim hohen Maßezerstörend aufdie Schneidglieder der Bohrkrone aus. Das Schleuderphänomen erzeugtdabei eine Spiralgestalt des Bohrloches während des Rohrens, was beiKernbohrkronen zu einem nicht-zylindrischen, spiraligen Kern führt, dernoch empfindlicher gegenüberBrüchenist und leicht im inneren Kernrohr verklemmt.AlthoughCore drilling systems, the small or slim cores of about 4.5 cm(1 3/4 '') diameter orless boring, are known, of course, suchCores are very fragile, so that the conventional core drilling systems inthe lengthsuch nuclei are reasonably limited, without breaking,can be drilled. Theserestrictionseems primarily due to the instability of the entire core tubeto be, by lateral and vertical drill bit movementsin the borehole that generate vibrations. A major phenomenon, thatfrom such drill bit movements and vibrations isthe so-called Bohrkronenschleudern, although a vibration without spinalso harmfulis. The phenomenonof the Bohrkronenschleuderns manifests itselfin drill bits with unbalanced lateral forces of the cutting members, whichForces to do soto lead,that theDrill bit rotates or hurls around a midpoint in the borehole,which is offset from the geometric center of the drill bit, so,that theCrown tends to backwards in the borehole toofling. It was observed that the spin phenomenon was due tothe presence of calibration or trim cutters in certain placesin the outer calibration areathe drill bit reinforcedis, with such cutting members also generate frictional forces during drilling. TheSlingshot is a dynamic independent phenomenon and affects manymaketo a high degreedestroyingthe cutting members of the drill bit off. The spin phenomenon is generatedwhile a spiral shape of the borehole during drilling, which atCore bits leads to a non-cylindrical, spiral core, theeven more sensitivefracturesis and jammed easily in the inner core tube.

Angesichtsder verhältnismäßig kleinenFreiräumezwischen dem Kern und dem Pilotschuh, dem Kernfänger und den Innenrohrkomponentendes Innenrohrs führenleichte seitliche und vertikale Bewegungen des Kernrohres leichtzu einem Bruch von Kernen mit kleinem Durchmesser mit einer darausresultierenden Kernblockierung und Zerstörung der Kernprobe. Als Folgehiervon werden Kernrohre mit kleinem Durchmesser üblicherweisein ihrer Länge aufgrundder kurzen Kernproben (z. B. etwa 3 bis 4 m (10 bis 13 Fuß)), dieohne Kernbruch, -blockierung und -zerstörung erbohrt werden können, begrenzt. Essind Versuche unternommen worden, längere Kerne, von etwa 8 m (26Fuß) zuschneiden, jedoch haben die verwendeten Geräte aufgrund der oben erwähnten Problemenicht zum Erfolg geführt.in view ofrelatively smallFree roomsbetween the core and the pilot shoe, the core catcher and the inner tube componentsof the inner tubeslight lateral and vertical movements of the core tube easilyto a break of small diameter cores with one of themresulting nuclear blockage and destruction of the core sample. As a resultOf these, small-diameter core tubes become commondue to their lengthshort core samples (eg, about 3 to 4 m (10 to 13 feet)), thewithout core failure, blockage and destruction can be limited. ItAttempts have been made to obtain longer cores, of about 8 m (26Foot)However, the devices used have problems due to the above-mentioned problemsnot led to success.

Esist erkannt worden, daß bestimmteVerbesserungen in der Bohrkronenausbildung, einschl., jedoch nichtausschließlichder sog. schleuderfreien Bohrkronen mit Polykristallin-Diamant-Compakt-(PDC)-Schneidgliedern,eingeleitet durch Amoco und verbessert durch den Anmelder, auf Kernbohrkronen übertragenwerden können,um die Sicherheit eines Kernbohrvorgangs und die Qualität der Kernezu erhöhen.Patente, die schleuderfreie Bohrkronen beschreiben, sind beispielsweisedieUS-PSen 4 982 802,5 010 789,5 042 596,5 099 934,5 109 935,5 111 892,5 119 892,5 131 478,5 165 494 und5 178 222. Das SPE-(Society of PetroleumEngineers)-Papier Nr. 24587 von L. A. Sinor u. a. der Amoco ProductionCo. mit dem Titel "Developmentof an Anti-Whirl-Core Bit" diskutiertVerbesserungen und möglicheVerbesserungen in den Kernbohrmöglichkeiten,die sich angenommenermaßen durchdie Verwendung schleuderfreier Kernbohrkronen ergeben.It has been recognized that certain improvements in drill bit formation, including, but not limited to, the so-called spin-free drill bits with polycrystalline diamond compact (PDC) cutters, initiated by Amoco and improved by the applicant, can be transferred to core bits to increase the safety of a core drilling operation and the quality of the cores. Patents describing spin-free drill bits are, for example, the U.S. Patent 4,982,802 . 5 010 789 . 5 042 596 . 5 099 934 . 5 109 935 . 5,111,892 . 5 119 892 . 5 131 478 . 5 165 494 and 5 178 222 , The SPE (Society of Petroleum Engineers) paper no. 24587 of LA Sinor et al. Of the Amoco Production Co. entitled "Development of an Anti-Whirl-Core Bit" discusses improvements and potential improvements in core drilling capabilities that are believed to be due the use of spin-free core bits result.

AndereLösungsansätze zu einerBohrkronenstabilisierung sind von Amoco u. a. unternommen worden.Ein Vorschlag besteht darin, den Versuch zu unternehmen, eine Bohrkroneperfekt auszubalancieren, wie es in derUS-PS 4 815 342 beschrieben ist. Einweiterer Lösungsvorschlagbesteht darin, die Vorsprüngeauf der Bohrkronenflächein kreisförmigenNuten mechanisch zu verriegeln, die von den Schneidgliedern aufder Flächegeschnitten werden, wie es in derUS-PS5 090 492 beschrieben ist.Other approaches to drill bit stabilization have been made by Amoco et al. One suggestion is to try to balance a drill bit perfectly, as in the U.S. Patent 4,815,342 is described. Another solution is to mechanically lock the projections on the bit surface in circular grooves which are cut by the cutting members on the surface, as shown in FIG U.S. Patent No. 5,090,492 is described.

Sämtlicheder vorstehenden Entwicklungen bei der Bohrkronenstabilisierunghaben sich auf einzelne Elemente des Bohrvorgangs konzentriert,entweder das Bohren eines Bohrloches mit vollem Durchmesser oderauf das Kernbohren.Allthe above developments in drill bit stabilizationhave focused on individual elements of the drilling process,either drilling a full diameter borehole oron the core drilling.

Voreinigen Jahren wurde von der Eastman Christensen Company, einemVorgängerdes Anmelders, eine Kombination eines Vollbohr- und Kernbohrsystemsmit der Wahlmöglichkeitzwischen Vollbohren und Kernbohren entwickelt. Dieses System ermöglichtewechselweise Kernbohr- und Vollbohrvorgänge, ohne den Bohrstrang zuziehen. Bei diesem System waren sowohl die Innenrohreinheit zum Kernbohrenals auch eine ersatzweise mittlere Verschlußeinheit mit einem Brechfuß und Schneidgliedernzum Umwandeln der Kernbohrkrone in einen Vollbohrmeißel über einenSeilstrang einsetzbar und aufholbar, die Innenrohreinheit konntealso wieder an die Erdoberflächezurückbefördert werden.Dieses Kombinationssystem verwendete Kernbohrkronen mit natürlichenDiamanten und war aus mehreren Gründen nur in seltenen Fällen erfolgreich.Zunächst betrugdie maximale Kernlänge,die auf einmal erbohrt werden konnte, nur etwa 4 m (13 Fuß), wasein außerordentlichkurzes Intervall zur Analyse ohne mehrfache Einsätze der Innenrohreinheit bedeutete undeine Kombination mit Sonderlängenvon Rohren zum Abwärtsbohrendes Mitnehmergestängeszum Drehtisch wie eine Rohrverbindung erforderte. Zusätzlich brachtedas Aufkommen genauerer elektrischer Bohrlochmessungen und Analysetechniken zurDatenaufnahme eine Verringerung des Bedarfs für Kernanalysen. Schließlich akzeptiertedie Industrie nicht die Kerne mit verhältnismäßig kleinem Durchmesser (5cm), die das System erbrachte, das zum Einsetzen und Rückholender Innenrohreinheit und der mittleren Verschlußeinheit Standardrohrteile erforderte.In fronta few years ago was by the Eastman Christensen Company, apredecessorapplicant, a combination of a full bore and core drilling systemwith the optiondeveloped between solid drilling and core drilling. This system enabledalternately core drilling and full drilling operations, without the drill string toopull. In this system, both the inner tube unit were for core drillingas well as a substitute middle closure unit with a Brechfuß and cutting membersfor converting the coring bit into a solid drill bit over aCable harness used and recoverable, the inner tube unit couldSo again to the earth's surfacebe transported back.This combination system used core bits with naturalDiamonds and was successful for several reasons only in rare cases.At first, it wasthe maximum core length,which could be drilled all at once, only about 4m (13ft), whichan extraordinaryshort interval for analysis without multiple inserts of the inner tube unit meant anda combination with special lengthsof pipes for drilling downof the Mitnehmergestängesto the turntable like a pipe connection required. Additionally broughtthe emergence of more accurate electrical logging and analysis techniques forData collection a reduction in the need for core analysis. Finally acceptedthe industry does not use the cores of relatively small diameter (5cm) that the system provided for insertion and retrievalthe inner tube unit and the middle shutter unit required standard tube parts.

InjüngererZeit hat jedoch die Entwicklung und die industrielle Akzeptanz vonLoch- und Rotationskernbohrtechniken,die dazu führen,daß Kerne vonetwa 2,5 cm (1 Zoll) Durchmesser aus dem Bohrloch erbohrt werdenkönnen,als auch die vermehrte Anwendung von Bohrlöchern kleinen Durchmessers für Versuchs-bzw. Forschungsbohrungen den früherenWiderstand, auf Kerne kleinen Durchmessers zurückzugreifen behoben. DieseVeränderungenin der industriellen Praxis haben zu einem erneuten Interesse amKernbohren geführt,jedoch haben bislang die bekannten Kernbohrsysteme keine Möglichkeit für ein Systemzum Vollbohren und Kernbohren mit kleinem Durchmesser geführt, dasursprüngliche,unbeschädigteKerne von gewünschterLänge (z.B. etwa 9 m (30 Fuß))unter Vermeidung von Kernblockierungen schneiden kann und außerdem dieMöglichkeitbietet, zwischen den Intervallen des Kernbohrens weiter vollzubohren,ohne den Bohrstrang zu ziehen. Außerdem bietet kein Kernbohrsystemdes Standes der Technik die Leistungsmöglichkeiten und Betriebsmerkmale,wie sie mit PDC-Bohrkronen erreicht werden können.InyoungerHowever, there is still time for development and industrial acceptanceHole and rotary core drilling techniques,that lead to,that cores ofabout 2.5 cm (1 inch) in diameter to be drilled out of the boreholecan,as well as the increased use of small diameter boreholes for experimentalor research drilling the formerResistance to access small diameter cores fixed. Thesechangesin industrial practice have a renewed interest inCore drilling performed,however, so far the known core drilling systems have no possibility for a systemfor full bore and core drilling with a small diameter, theoriginal,undamagedCores of wantedLength (z.B. about 9 m (30 feet))while avoiding nuclear blockages can cut and also thepossibilityoffers to continue drilling between the intervals of core drilling,without pulling the drill string. Besides, no core drilling system offersthe state of the art, the performance options and operating characteristics,how they can be achieved with PDC drill bits.

Einweiterer Nachteil der bekannten Kernbohrsysteme liegt in der Tendenz,daß dasErbohren des Kerns und die Bewertung der Bohrlochparameter als separate,nur peripher miteinander in Beziehung stehende Vorgänge anstattmiteinander verknüpfte Segmenteeines Gesamtprozesses der Formationsbewertung behandelt werden.Obschon dieUS-PS 4 955 438 derAnmelderin das Aufnehmen von Meßwertender Bohrlochmerkmale währendeines Kernbohrvorgangs und das Aufholen solcher Daten von der Kernbohrvorrichtungauf physischem Wege, durch Seilstrang oder Spülungsimpulstelemetrie, beschreibt,ist das Vorhandensein irgendeines derartigen Systems zur Verwendungbei Öl-und Gasforschungsbohrungen nicht bekannt.Another disadvantage of the known core drilling systems is the tendency for core core drilling and hole parameter evaluation to be treated as separate peripherally related operations rather than interlinked segments of an overall formation evaluation process. Although the U.S. Patent 4,955,438 While Applicant describes taking measurements of the wellbore features during a core drilling operation and physically retrieving such data from the coring apparatus by wireline or mud pulse telemetry, the presence of any such system for use in oil and gas exploration wells is not known.

Ausder SchriftGB 2 293 395 istes bekannt, einen Bohrköperso zu gestalten, dass er entweder eine Öffnung zur Aufnahme einer Kernbohrungaufweist oder in die Öff nungein Verschluss eingesetzt ist, so dass keine Kernbohrung mehr möglich ist.Der Verschluss ist mit Messvorrichtungen versehen, so dass bei normalenBohrungen Messungen mit dem Bohrkörper vorgenommen werden können.From the Scriptures GB 2 293 395 It is known to make a drill body so that it either has an opening for receiving a core hole or in the Publ opening a closure is used, so that no core hole is possible. The closure is provided with measuring devices so that measurements can be made with the drill body during normal drilling.

Außerdem istaus der SchriftDE38 13 508 C1 bekannt, einen Bohrkörper zur Aufnahme einer Kernbohrungan seinem Ende mit einer Messvorrichtung zu versehen, um das erbohrteMaterial zu untersuchen. Der Bohrkörper ist jedoch ausschließlich für Kernbohrungenverwendbar, und die durchführbaren Messungenführennur zu eingeschränktnutzbaren Messergebnissen, da die Messvorrichtung an der Rückseitedes Bohrkörpersangebracht ist.Moreover, from the Scriptures DE 38 13 508 C1 is known to provide a drill body for receiving a core bore at its end with a measuring device to examine the material drilled. However, the drill body is only usable for core drilling, and the feasible measurements lead to limited measurement results, since the measuring device is attached to the back of the drill body.

DerErfindung liegt in erster Linie die Aufgabe zugrunde, eine Vorrichtungzum Bohren von Erdformationen zu schaffen, mit der es möglich ist, gleichzeitigmit dem Erbohren eines Kerns Bohrlochdaten aufzunehmen.Of theThe invention is primarily based on the object, a deviceto create for drilling earth formations, with which it is possible, at the same timedrilling down a core to record downhole data.

DieseAufgabe wird füreine gattungsgemäße Vorrichtunggemäß Anspruch1 nach der Erfindung mit den kennzeichnenden Merkmalen des Anspruchs1 gelöst.Hinsichtlich weiterer Ausgestaltungen wird auf die Ansprüche 2 bis16 verwiesen.This object is achieved for a generic device according to claim 1 of the invention with the characterizing features of claim 1. Regarding further Ausgestaltun Gen is referred to the claims 2 to 16.

ImHinblick auf die gattungsgemäßen Verfahrenwird die Aufgabe anhand der kennzeichnenden Merkmale der Ansprüche 17 und18 gelöst.in theWith regard to the generic methodthe object is achieved by the characterizing features of claims 17 and18 solved.

DieErfindung bezweckt ferner die Schaffung eines einfachen Verfahrenszum Bohren einer Erdformation mit der Möglichkeit der Aufnahme vonBohrlochdaten und löstdiese Aufgabe in Verfahrensformen gemäß den Ansprüchen 20 bis 22.TheThe invention also aims to provide a simple methodfor drilling an earth formation with the possibility of receivingBorehole data and triggersthis object in the method forms according to claims 20 to 22.

DieErfindung bietet die Möglichkeitabwechselnd einen Kernbohrvorgang und einen Vollbohrvorgang durchzuführen, ohneden Bohrstrang zu ziehen, wobei langgestreckte Kerne kleinen Durchmessers entnommenwerden können.Das Kernrohr nach der Erfindung weist eine Außenrohreinheit mit einer Kernbohrkrone,vorzugsweise PDC-Kernbohrkrone, auf, die am unteren Ende der Außenrohreinheitangebracht ist. Unmittelbar oberhalb der Kernbohrkrone befindetsich eine Lageranordnung fürdas Bohrkronenende im Kernrohr, die wechselweise das Ende einerInnenrohreinheit oder einer mittleren Verschlußeinheit aufnimmt. Eine Rastkupplungist oben an der Innenseite der Außenrohreinheit angebracht.Die Innenrohreinheit weist ein Fangkupplungsglied am oberen Endeauf, darunter eine Verriegelungseinheit für einen Eingriff mit der Rastkupplungdes Außenrohrsund eine Lagereinheit unter der Verriegelungseinheit zur Ermöglichungeiner Drehung zwischen der Außenrohreinheitund dem Innenrohr. Das untere Ende der Innenrohreinheit, das mitder Bohrkronenlagereinheit in Eingriff steht, weist einen herkömmlichenKernfängerauf.TheInvention offers the possibilityalternately perform a core drilling and a full drilling, withoutto pull the drill string, taking out elongated cores of small diametercan be.The core tube according to the invention comprises an outer tube unit with a core bit,preferably PDC core bit, on, at the lower end of the outer tube unitis appropriate. Located immediately above the core bititself a bearing arrangement forthe drill bit end in the core tube, which alternately the end of aInner tube unit or a middle shutter unit receives. A detent couplingis mounted on top of the inside of the outer tube unit.The inner tube unit has a catch coupling member at the upper endon, including a locking unit for engagement with the detent couplingof the outer tubeand a storage unit under the lock unit for enablinga rotation between the outer tube unitand the inner tube. The lower end of the inner tube unit, withthe drill bit bearing unit is engaged, has a conventionalcore catcheron.

Dienach der Erfindung bevorzugte PDC-Kernbohrkrone hat vorzugsweiseeine schleuderfreie Ausgestaltung, obwohl andere stabilisierte Bohrkronenausgestaltungen,wie sie oben besprochen wurden, ebenfalls geeignet sind. Die Verwendungeiner schleuderfreien Kernbohrkrone im Rahmen der Erfindung führt zu dererwiesenen Fähigkeit, Kernevon zumindest etwa 9 m (30 Fuß)von hoher Qualitätund mit stark erhöhterGewinnungsrate zu schneiden und zu ziehen. Außerdem bietet die Verwendungeiner PDC-Kernbohrkrone mit wahlweisem mittleren Verschluß eine Eindringungsrate ähnlich dervon PDC-Bohrmeißelnund Gewicht-auf-Krone, Drehgeschwindigkeit und hydraulische Strömungsraten ähnlich denenvon PDC-Bohrmeißeln. SomitkönnengroßeMengen hochqualitativer Kerne kosteneffektiv gewonnen werden, unddie Gesamteindringungs- bzw. Bohrfortschrittsrate während desBohrvorgangs ist im Vergleich mit einem Bohren ohne Kernentnahmenicht wesentlich reduziert, so daß der Betreiber Vorteile ausZeit- und Kostenersparungen wie auch aus den durch die hochqualitativenKerne zur Verfügungstehenden Informationen zieht.Thepreferred PDC core bit according to the invention preferably hasa spin-free design, although other stabilized drill bit designs,as discussed above are also suitable. The usagea spin-free core bit in the invention leads to theproven ability, coresof at least about 9 meters (30 feet)of high qualityand with greatly increasedTo cut and pull recovery rate. It also offers the usea PDC core bit with optional middle shutter a penetration rate similar to thatof PDC drill bitsand weight-on-crown, rotational speed and hydraulic flow rates similar to thoseof PDC drill bits. ConsequentlycansizeQuantities of high-quality cores are obtained cost-effectively, andthe total penetration rate during theDrilling is in comparison with drilling without core removalnot significantly reduced, so that the operator benefitsTime and cost savings as well as from those through the high qualityCores availabledraws stationary information.

DieVerwendung der Lagereinheit fürdas Bohrkronenende erbringt eine präzsise Ausrichtung des Innenrohrszur Aufnahme des im Erbohren befindlichen Kerns sowie einen Sitzfür dasuntere Ende der mittleren Verschlußeinheit, die eine Mehrzahlvon Schneidgliedern, vorzugsweise PDC-Schneidgliedern, und Spülungsauslässe für die Spülflüssigkeit enthält.TheUse of the storage unit forthe drill bit end provides a precise alignment of the inner tubefor receiving the core being drilled and a seatfor thelower end of the middle shutter unit, which is a pluralityof cutting members, preferably PDC cutting members, and flushing liquid flushing outlets.

Einwahlweises, jedoch bedeutsames Merkmal der vorliegenden Erfindungist die Anordnung eines geeigneten Meßwerkzeugs, wie eines Gammastrahlen-oder Richtungsmeßwerkzeugs,in der mittleren Verschlußeinheitzur Ermöglichungeiner Bohrlochdatenaufnahme währendeins Vollbohrvorgangs. Die Daten können im Meßwerkzeug während des Rohrens gespeichertund periodisch durch Seilstrangübertragungoder wenn die mittlere Verschlußeinheitzur Oberflächezurückgeholtwird, aufgenommen werden. Es kann auch ein Bohrspülungsimpuls-oder anderes geeignetes Datenübertragungssystemals Teil der mittleren Verschlußeinheitangebaut werden, um eine Echtzeitübertragung von Daten zu ermöglichen.Eine odere mehrere Meßmöglichkeitenkönnen indas Meßwerkzeugbzw. die Instrumentenausrüstungeinbezogen sein, wobei solche Möglichkeiten eineDruck- und Temperaturmessung zusätzlichzu den anderen oben erwähntenMessungen umfassen können,ohne hierauf beschränktzu sein. Vorteilhaft ist auch, daß die Meßwerkzeugsensoren und insbesonderedie Sensoren zum Erfassen von Formationsmerkmalen unmittelbar angrenzendan das untere bzw. vorauslaufende Ende der mittleren Verschlußeinheit,buchstäblichim Hals der Kernbohrkrone, angeordnet sein können, um eine äußerst enge Nähe zur Bohrkronenstirnfläche unddamit zu der gebohrten Formation zu erhalten.Oneoptional but significant feature of the present inventionis the arrangement of a suitable measuring tool, such as a gamma rayor direction measuring tool,in the middle closure unitto enablea borehole data recording duringone full drilling operation. The data can be stored in the measuring tool during drillingand periodically by cable transferor if the middle closure unitto the surfaceretrievedwill be recorded. It may also be a drilling fluid pulseor other suitable communication systemas part of the middle closure unitbe grown to allow a real-time transmission of data.One or more measurement optionscan inthe measuring toolor the instrumentationbe included, such opportunities aPressure and temperature measurement in additionto the others mentioned aboveCan include measurements,without being limited theretoto be. It is also advantageous that the measuring tool sensors and in particularthe sensors for detecting formation features immediately adjacentto the lower or leading end of the middle closure unit,literallyin the neck of the core bit, can be arranged to a very close proximity to the drill bit face andto get to the drilled formation.

Esist ferner vorgesehen, daß Sensorenzum Messen von Richtungsparametern sowie der oben erwähnten Bohrlochparameterund ferner von anderen Parametern wie etwa (lediglich als Beispiel)des Formationswiderstands und der nuklearen magnetischen Resonanz,wie auch eine Stromversorgung, eine Datenverarbeitungs- und Speichereinheitund eine Bohrlochdatenübertragungoder Telemetriemöglichkeitin eine oder mehrere Kernbohrinnenrohreinheiten, in die Wand desKernrohrs zwischen dessen Außenseiteund der Längsbohrungoder oberhalb des Kernrohres in einem gesonderten Rohrabschnitt oderGehäusemit einer axialen Bohrung, die mit der Bohrung des Kernrohres fluchtet,eingebaut werden können.Sensoren zum Messen von Bohrparametern wie etwa (wiederum lediglichals Beispiel) Drehmoment, Drehgeschwindigkeit, Gewicht auf der Bohrkrone,Vibration und Bohrlochdruck könnenebenfalls in eine oder mehrere Komponenten der Vorrichtung, vorzugsweisenahe der Bohrkrone, etwa in der Wand des Kernrohres, eingebaut werden.Itis further provided that sensorsfor measuring directional parameters as well as the above-mentioned borehole parametersand also other parameters such as (by way of example only)formation resistance and nuclear magnetic resonance,as well as a power supply, a data processing and storage unitand a borehole data transmissionor telemetry optioninto one or more coring pipe units, into the wall of theCore tube between the outsideand the longitudinal boreor above the core tube in a separate pipe section orcasingwith an axial bore aligned with the bore of the core tube,can be installed.Sensors for measuring drilling parameters such as (again onlyas an example) torque, rotational speed, weight on the drill bit,Vibration and borehole pressure canalso in one or more components of the device, preferablybe installed near the drill bit, such as in the wall of the core tube.

Einweiterer Aspekt der Erfindung sieht ein gleichzeitiges bzw. zumindestgleichlaufendes Messen von Bohrlochparametern der Formation außerhalbdes Kernrohres vor, währendder gleiche oder ein anderer Bohrlochparameter des im Erbohren befindlichenKerns bei seinem Eintreten in die Kerninnenrohreinheit gemessenwird. Z. B. könnenGammastrahlen-, Widerstands-, Dichte-, Porositäts-, Schall- und/oder Messungender nuklearen magnetischen Resonanz vorgenommen werden. Es ist vorteilhaft,solche Messungen zu Vergleichszwecken mit Blick auf die Eigenschaftenvorzunehmen, die von der äußeren Formationdargeboten werden, im Gegensatz zu denjenigen, die von dem Kernunter der kontrollierteren Umgebung des Kernrohrinnenraums und ineinem extrem engen Bereich dargeboten werden. Außerdem ist es wünschenswert,solche Kernmessungen unmittelbar nach dem Kerndurchgang durch denHals der Kernbohrkrone vorzunehmen, wenn sich der Kern in seinemursprünglichstenZustand befindet und es am wenigsten wahrscheinlich ist, daß er durchSpülungsflüssigkeitzu sehr verunreinigt ist oder seine physikalische Integrität verloren hat.Des weiteren ist vorgesehen, daß dieAusrichtung des Kerns bestimmt wird, sowohl in einem absoluten Sinnals auch mit Bezug auf die Umgebungsformation, aus der er ausgeschnittenwird, wobei die Richtungsinstrumentierung der Vorrichtung verwendetwird.OneAnother aspect of the invention provides a simultaneous or at leastconcurrent measurement of borehole parameters of the formation outsidethe core tube before, duringthe same or another borehole parameter of the boringKerns measured when entering the core inner tube unitbecomes. For example, you canGamma ray, resistance, density, porosity, sound and / or measurementsnuclear magnetic resonance. It is advantageoussuch measurements for comparison purposes with regard to the propertiesmake that from the outer formationbe presented, in contrast to those of the coreunder the more controlled environment of the core tube interior and inan extremely narrow range. It is also desirablesuch nuclear measurements immediately after the core passage through theNeck of the core bit, if the core in hismost originalState and it is least likely that he is going throughlavage fluidtoo contaminated or has lost its physical integrity.Furthermore, it is provided that theAlignment of the core is determined, both in an absolute senseas well as with respect to the environmental formation from which he cut outusing the directional instrumentation of the devicebecomes.

Außerdem istvorgesehen, daß einKurzetappen-Funktelemetriesystem verwendet werden kann, um Daten über einekurze Distanz von einer Stelle in der Kernrohrwand zur Innenrohreinheitoder umgekehrt zu übertragen;dies füreine anschließende Rückübertragungdurch ein Ferntelemetriesystem in einer anderen Komponente der Vorrichtungoder von einer dieser Stellen an ein Ferntelemetriemodul, das inkurzem Abstand oberhalb des Kernrohres im Bohrloch angeordnet ist.Die Daten könnenrückübertragenwerden durch Bohrspülungsimpuls,akustische oder elektromagnetische Telemetrie oder durch einen zurOberflächelaufenden Seilstrang. Des weiteren können Daten in einem elektronischenSpeicher gespeichert werden, der in der Innenrohreinheit oder deroben erwähntenmittleren Verschlußeinheitangeordnet ist und physisch zur Oberfläche anstatt einer Übertragungin im wesentlichen Echtzeit zurückgeholtwerden kann. Selbstverständlichwerden Daten vorzugsweise in einer Innenrohreinheit, mittleren Verschlußeinheit,einem Kernrohr oder gesonderten Gehäuse gespeichert, das der Kernbohrvorrichtung zugeordnetist, selbst bei einer Übertragungzur Oberflächein Echtzeit, um einen Datenverlust aufgrund schlechter Übertragungoder eines Senderausfalls zu vermeiden.Besides that isprovided that aShortstep radio telemetry system can be used to send data over oneshort distance from a location in the core tube wall to the inner tube unitor vice versa;this fora subsequent retransferby a remote telemetry system in another component of the deviceor from one of these points to a remote telemetry module located inshort distance above the core tube is arranged in the borehole.The data canretransmittedbe through drilling fluid pulse,acoustic or electromagnetic telemetry or by a tosurfacerunning rope strand. Furthermore, data in an electronicMemory stored in the inner tube unit or thementioned abovemiddle closure unitis arranged and physically to the surface rather than a transmissionretrieved in essentially real timecan be. Of coursedata are preferably stored in an inner tube unit, middle closure unit,stored in a core tube or separate housing associated with the core drilling apparatusis, even during a transmissionto the surfacein real time to data loss due to poor transferor a transmitter failure.

DerVerfahrensaspekt der Erfindung umfaßt ein Verfahren zum Bohren,bei dem gleichzeitig Richtungs-, Formations- und wahlweise Bohrparameterdatenaufgenommen werden, bevor ein Kernbohrvorgang unternommen wird,um eine Zone oder eine Schicht von potentiellem Interesse, wie etwaeine kohlenwasserstoffproduzierende Zone, zu lokalisieren, bevordie Innenrohreinheit zur Aufnahme des Kernbohrens in Betrieb genommenwird. In gleicher Weise ist vorgesehen, daß durch die Aufnahme solcherDaten währenddes Kernbohrvorgangs dem Bedienungspersonal die Möglichkeitder Feststellung gegeben wird, wann das Kernbohren zu beenden ist, sodaß nichtKernproben in einem Gestein im wesentlichen über eine Zone von potentiellemInteresse hinaus aufgenommen werden. Bei der Praktizierung diesesAspektes der Erfindung ist es natürlich wünschenswert, die aufgenommenenDaten an die Oberflächeauf Echtzeitbasis zu übertragen,insbesondere wenn in einer potentiellen Produktionszone gebohrt wird.Of theMethod aspect of the invention comprises a method of drilling,with the same directional, formation and optionally Bohrparameterdatentaken before a core drilling operation is undertaken,around a zone or layer of potential interest, such asa hydrocarbon-producing zone, to locate beforethe inner tube unit for receiving the core drilling commissionedbecomes. In the same way it is provided that by the inclusion of suchData duringthe core drilling operation the operator the opportunitythe determination of when to finish the core drilling, sothat notCore samples in a rock substantially over a zone of potentialInterest to be taken out. In the practice of thisAspect of the invention, it is of course desirable, the recordedData to the surfaceto transmit on a real-time basisespecially when drilling in a potential production zone.

BeimKernbohren kann es ausreichen, die Daten für jeden kerngebohrten Abschnittbeziehungsweise fürjedes kerngebohrte Intervall zu dem Zeitpunkt zu entnehmen, an demdie Innenrohreinheit mit der darin enthaltenen Kernprobe zur Oberfläche geholtwird; jedoch ist es offensichtlich vorzuziehen, den Beendigungspunktder Zone von Interesse so genau wie möglich zu lokalisieren, wasbedeutet, daß eineEchtzeitdatenübertragungauch in dieser Situation vorteilhaft sein kann.At theCore drilling can be enough data for each core drilled sectionor forto take each core-drilled interval at the time whenbrought the inner tube unit with the core sample contained therein to the surfacebecomes; however, it is obviously preferable to the termination pointthe zone of interest as exactly as possible to locate whatmeans that oneReal-time data transmissioncan also be beneficial in this situation.

WeitereMerkmale und Vorteile der Erfindung ergeben sich aus der nachstehendenBeschreibung in Verbindung mit der Zeichnung, in der mehrere Ausführungsbeispieleeiner erfindungsgemäßen Bohrvorrichtungschematisch veranschaulicht sind. In der Zeichnung zeigen:FurtherFeatures and advantages of the invention will become apparent from the followingDescription in conjunction with the drawing, in which several embodimentsa drilling device according to the inventionare illustrated schematically. In the drawing show:

1 einenLängsschnittdurch ein Kernrohr nach der Erfindung, 1 a longitudinal section through a core tube according to the invention,

2 einenvergrößerten Längsschnitt durchdas untere Ende des Kernrohres nach der Erfindung, wobei sich einInnenrohreinheit in ihrer Stellung zum Kernbohren befindet, 2 an enlarged longitudinal section through the lower end of the core tube according to the invention, wherein an inner tube unit is in its position for core drilling,

3 einenvergrößerten Längsschnitt durchdas untere Ende des Kernrohres nach der Erfindung, wobei sich einemittlere Verschlußeinrichtungin ihrer Stellung zum Ausbohren befindet, 3 an enlarged longitudinal section through the lower end of the core tube according to the invention, wherein a middle closure device is in its position for drilling,

4 eineAnsicht der Bohrkrone unter Veranschaulichung der Schneidgliedplazierungmit Blick nach unten durch die Bohrkronenfläche, 4 a view of the drill bit showing the Schneidgliedplazierung looking down through the Bohrkronenfläche,

5 einenvergrößerten Vertikalschnitt durchein Ausführungsbeispieleiner Innenmaßschneideinrichtungeiner Bohrkrone mit schwachem Eindringungswinkel und einer damitzusammenwirkenden Kernschuheinrichtung, 5 an enlarged vertical section through an embodiment of a Innenmaßschneideinrichtung a drill bit with a low penetration angle and cooperating core shoe means,

6 einenLängsschnittdurch eine bevorzugte Ausführungsformeiner Kernbohrvorrichtung mit einer Innenrohreinheit in einer Ausgestaltung zumgleichzeitigen Kernbohren und Aufzeichnen von Bohrlochparameternund Übertragender erhaltenen Bohrlochdaten zur Erdoberfläche, 6 FIG. 4 is a longitudinal section through a preferred embodiment of a core drilling apparatus with an inner tube unit in an embodiment for simultaneous core drilling and recording of borehole parameters and transfer of the obtained borehole data to the surface of the earth, FIG.

7 bis9 jeein weiteres Ausführungsbeispieleiner Kernbohrvorrichtung in Darstellungen entsprechend6 und 7 to 9 each a further embodiment of a coring device according to representations 6 and

10 eineDarstellung des unteren Endes einer bevorzugten mit Instrumentenversehenen mittleren Verschlußeinrichtungnach der Erfindung im Längsschnitt. 10 a representation of the lower end of a preferred instrumented middle closure device according to the invention in longitudinal section.

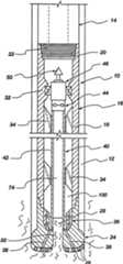
Wiesich zunächstaus1 ergibt, ragt ein Kernrohr10 nach untenin ein Bohrloch12 von einer Schwerstange14 amunteren Ende eines sich zur Oberfläche erstreckenden Bohrstrangs.As it turned out first 1 results, a core tube protrudes 10 down into a borehole 12 from a drill collar 14 at the lower end of a drillstring extending to the surface.

DasKernrohr10 umfaßteine Außenrohreinheit16 miteinem Außenrohr18,an dessen oberem Ende sich eine Gewindemuffenverbindung20 zurBefestigung des Kernrohres10 an einem Gewindebolzen22 derSchwerstange14 befindet. Am unteren Ende des Außenrohres18 isteine PDC-Kernbohrkrone24 in einer schleudersicheren oderdgl. stabilisierten Ausführung,wie oben beschrieben, befestigt. PDC-Schneidglieder26 auf der Kernbohrkrone24 schneidendie Formation beim Drehen des Bohrstranges, wobei auch ein Kern28 ausder gebohrten Formation ausgeschnitten wird. Der Kern28 erstrecktsich nach oben in den Hals30 der Kernbohrkrone24 beimVortrieb der Bohrkrone in die Formation. Ggf. kann die Bohrkrone24 eineAusführungmit schwachem Eindringprofil entsprechend derUS-PS 4 981 183 des Anmelders aufweisen.Auf der Innenseite des Außenrohres18 befindensich eine Rastkupplung32 und darunter eine Mehrzahl axialbeabstandeter Gruppen von Tragrippen34, die sich in Umfangsrichtungum die Innenseite des Außenrohrs18 herumerstrecken.Im Inneren der Kernbohrkrone24 befindet sich eine Drehlagereinheit36 für das Bohrkronenende.Strömungsmittelkanäle38 erstreckensich vom Bohrkroneninneren zur Bohrkronenstirnfläche.The core tube 10 includes an outer tube unit 16 with an outer tube 18 , at the upper end there is a threaded sleeve connection 20 for fastening the core tube 10 on a threaded bolt 22 the drill collar 14 located. At the bottom of the outer tube 18 is a PDC core bit 24 in an anti-spill or the like stabilized design, as described above, attached. PDC cutters 26 on the core bit 24 cutting the formation while turning the drill string, being also a core 28 is cut out of the drilled formation. The core 28 extends up into the neck 30 the core bit 24 while driving the drill bit into the formation. Possibly. can the drill bit 24 a version with a weak penetration profile according to U.S. Patent 4,981,183 have the applicant. On the inside of the outer tube 18 There is a detent coupling 32 and including a plurality of axially spaced groups of support ribs 34 extending circumferentially around the inside of the outer tube 18 herumerstrecken. Inside the core bit 24 there is a rotary bearing unit 36 for the drill bit end. Fluid channels 38 extend from the core of the drill bit to the drill bit face.

EineInnenrohreinheit40 ist im Kernrohr10 so gezeigt,wie es bei einem Kernbohrvorgang der Fall ist. Die Innenrohreinheit40 umfaßt an ihremunteren Ende ein in der Lagereinheit36 aufgenommenes Innenrohr42.Das Innenrohr42 erstreckt sich aufwärts innerhalb des Außenrohrs18 durchdie Gruppen von Tragrippen34, die eine Abstützung gegenein Verbiegen des Innenrohrs42 bieten. Am oberen Endedes Innenrohrs42 befindet sich eine Innenrohrlagereinheit44,die eine Drehung des oberen und unteren Bereichs der Innenrohr40 zueinanderermöglichtund damit, in Verbindung mit der Lagereinheit36 für das innereBohrkronenende, die Möglichkeitschafft, daß sichdie Außenrohreinheit16 dreht, während dieInnenrohreinheit40 stationär bleibt. Oberhalb der Lagereinheit44 stehteine Verriegelungseinheit46 in lösbarem Eingriff mit der Rastkupplung32 aufder Innenseite des Außenrohrs18.Am oberen Ende der Innenrohreinheit40 ist eine Fangkupplung50 für einenwahl weisen Eingriff der Innenrohreinheit mit einer Seilfangglockeund dessen Lösenangeordnet.An inner tube unit 40 is in the core tube 10 shown as it is in a core drilling the case. The inner tube unit 40 comprises at its lower end a in the storage unit 36 absorbed inner tube 42 , The inner tube 42 extends upwards inside the outer tube 18 through the groups of support ribs 34 providing a support against bending the inner tube 42 Offer. At the upper end of the inner tube 42 there is an inner tube storage unit 44 which causes a rotation of the upper and lower portions of the inner tube 40 allows each other and thus, in conjunction with the storage unit 36 for the inner bit end creates the possibility that the outer tube unit 16 turns while the inner tube unit 40 remains stationary. Above the storage unit 44 is a locking unit 46 in releasable engagement with the locking coupling 32 on the inside of the outer tube 18 , At the upper end of the inner tube unit 40 is a catch coupling 50 arranged for a selective engagement of the inner tube unit with a cable stop bell and its release.

Essei nun auf die2 und3 verwiesen,in denen die bereits oben anhand der1 beschriebenenBauteile mit den gleichen Bezugszeichen versehen sind.It is now on the 2 and 3 referenced in which the above with reference to the 1 Components described are provided with the same reference numerals.

Wieaus2 ersichtlich ist, umfaßt die Drehlagereinheit36 für das Bohrkronenendeein Außengehäuse60,Lagerkörper62 undein Innengehäuse64,das in bezug auf das Außengehäuse60 aufgrundder Lagerkörper62 freirotiert. Rippen66 mit Schrägschultern68 an ihrenunteren Enden erstrecken sich radial nach innen vom Innengehäuse64.Die Rippen66 und die Schultern68 stützen das untereEnde der Innenrohreinheit40 seitlich und axial ab. DerRaum zwischen den Rippen66 ermöglicht es, daß Bohrspülung inden Hals30 der Bohrkrone24 und um die Bohrkrone28 herumbeim Kernbohren strömt.Falls diese Strömungnicht gewünschtist, kann eine Bohrkrone mit schwachem Eindringprofil und damitzusammenwirkendem Schuh nach der o. a.US-PS 4 981 183, und wie in5 gezeigt,verwendet werden, um den Bohrspülungskontaktmit dem Kern zu minimieren. Am unteren Ende des Innenrohrs42 kannentweder ein keilförmigerKernfänger70,wie auf der linken Seite der2 gezeigt, oderein korbförmigerKernfänger72,wie auf der rechten Seite der2 gezeigt,(jeweils in an sich bekannter Ausführung) verwendet werden. Die PDC-Schneidglieder26 sindin2 fortgelassen, sie sind jedoch, wie in1 gezeigt,auf der Kernbohrkrone24 in der Weise angeordnet, daß ein Kern miteiner solchen Bemessung ausgeschnitten wird, daß er sich nach oben in denHals30 der Kernbohrkrone24 und in die Bohrung74 desInnenrohrs42 hineinbewegt.How out 2 it can be seen comprises the pivot bearing unit 36 for the Bohrkronenende an outer housing 60 , Bearing body 62 and an inner case 64 that with respect to the outer case 60 due to the bearing body 62 freely rotated. ribs 66 with sloping shoulders 68 at their lower ends extend radially inwardly from the inner housing 64 , Ribs 66 and the shoulders 68 support the lower end of the inner tube unit 40 laterally and axially. The space between the ribs 66 allows drilling fluid in the throat 30 the drill bit 24 and the drill bit 28 flows around during core drilling. If this flow is not desired, a drill bit with a weak penetration profile and co-operating shoe can be used after the above mentioned U.S. Patent 4,981,183 , and as in 5 used to minimize the drilling fluid contact with the core. At the bottom of the inner tube 42 can either be a wedge-shaped core catcher 70 as on the left side of the 2 shown, or a basket-shaped core catcher 72 as on the right side of the 2 shown (each in a known per se execution) are used. The PDC cutters 26 are in 2 omitted, however, they are, as in 1 shown on the core bit 24 arranged in such a way that a core is cut out with such a design, that it is up in the neck 30 the core bit 24 and into the hole 74 of the inner tube 42 inside moves.

Essei nun auf3 Bezug genommen, in der anstelleder Innenrohreinheit40 eine mittlere Verschlußeinheit80 inder Außenrohreinheit16 gezeigt ist.Die mittlere Verschlußeinheit80 umfaßt an ihrem oberenEnde eine Verriegelungseinheit (nicht gezeigt), ähnlich derjenigen der Innenrohreinheit40,für einenEingriff mit der Rastkupplung32 des Außenrohrs18 sowieeine Fangkupplung50 zum Anbringen und Rückholender mittleren Verschlußeinheit80.Die Verschlußeinheit80 weistkein Drehlager auf, da ihre Drehung in bezug auf die Außenrohreinheit16 nicht erforderlichbzw. gewünschtist. Ein Bohrkronenverschlußstück82 istam unteren Ende der Verschlußeinheit80 angeordnetund von der Lagereinheit36 in der gleichen Weise wie dieInnenrohreinheit40 abgestützt. Das Bohrkronenverschlußstück82 umfaßt einenStopfen84 mit sich durch diesen erstreckenden Kanälen86 zurHindurchführungvon Bohrspülung zurStopfenfläche88,auf der PDC-Schneidglieder90 ange ordnet sind. Der Stopfen84 hateine solche Größe, daß er vonden Rippen66 mit den Schultern68 des Innengehäuse64 derLagereinheit36 aufgenommen sowie seitlich und axial abgestützt ist.Die Räumezwischen den Rippen66 ermöglichen das Einströmen derBohrspülungin die Kanäle86,wie dies3 zeigt.It is now up 3 Reference is made in the place of the inner tube unit 40 a middle closure unit 80 in the outer tube unit 16 is shown. The middle closure unit 80 comprises at its upper end a locking unit (not shown) similar to that of the inner tube unit 40 , for engagement with the locking coupling 32 of the outer tube 18 as well as a catch coupling 50 for attaching and retrieving the middle closure unit 80 , The closure unit 80 has no pivot bearing, as its rotation with respect to the outer tube unit 16 not required or desired. A drill bit lock 82 is at the bottom of the shutter unit 80 arranged and from the storage unit 36 in the same way as the inner tube unit 40 supported. The drill bit lock piece 82 includes a plug 84 with itself through these extending channels 86 for the passage of drilling fluid to the plug surface 88 on the PDC cutters 90 are arranged. The stopper 84 has such a size that it is from the ribs 66 with the shoulders 68 of the inner housing 64 the storage unit 36 taken up and laterally and axially supported. The spaces between the ribs 66 allow the drilling fluid to flow into the channels 86 , like this 3 shows.

Wenndie Absicht besteht, mit der Vorrichtung einen Kernbohrvorgang auszuführen, wirddie Innenrohreinheit40 an einem Seil in den Bohrstrang gelassenund in der Außenrohreinheit16 verriegelt. Bohrspülung wirddann nach unten in den Bohrstrang und in den Ringraum100 zwischender Innenrohreinheit40 und der Außenrohreinheit16 zumZirkulieren gebracht, wo er von der Stirnfläche der Kernbohrkrone24 durch übliche Spülungskanäle und -düsen (nichtgezeigt) austritt, um die Schneidglieder zu säubern und zu kühlen undauch die Stirnflächeder Bohrkrone zu reinigen, währendder Bohrstrang rotiert und die Formation bzw. der Kern geschnitten wird.Wenn die maximale Kernlängeerreicht ist, wird die Innenrohreinheit aus dem Bohrloch mit einemSeil mit einem Fanggerätan seinem Ende füreinen Eingriff mit der Rastkupplung50 gezogen, und eineandere Innenrohreinheit wird in den Bohrstrang gefahren, sofernein weiteres Kernbohren beabsichtigt ist.If the intention is to perform a core drilling operation with the device, the inner tube unit becomes 40 left on a rope in the drill string and in the outer tube unit 16 locked. Drilling fluid is then down into the drill string and into the annulus 100 between the inner tube unit 40 and the outer tube unit 16 to circulate where it is from the end face of the core bit 24 through conventional mud channels and nozzles (not shown) to clean and cool the cutting members and also clean the face of the drill bit as the drill string rotates and the formation or core is cut. When the maximum core length has been reached, the inner tube unit will exit the wellbore with a rope with a gear at its end for engagement with the detent coupling 50 pulled and another inner tube unit is driven into the drill string, if another core drilling is intended.

Fallsanstelle eines Kernbohrens ein Ausbohren beabsichtigt ist, wirddie mittlere Verschlußeinheit80 indas Bohrloch am Seil überein Fanggerät eingelassen,das mit der Kupplung50 am oberen Ende der Einheit in Eingriffkommt. Die Verschlußeinheit80 kommtdann im Außenrohr18 zurVerriegelung, woraufhin Bohrspülungnach unten im Bohrstrang in den Ringraum100 zwischen derVerschlußeinheit80 unddem Außenrohr18 unddurch die Kanäle86 imStopfen84 zur Stopfenfläche88 gepumpt wird,um die PDC-Schneidglieder90 zu kühlen und zu säubern sowieBohrklein währenddes Drehens des Kernbohrrohres10 und des Fortschreitensdes Ausbohrens zu entfernen.If drilling is intended instead of core drilling, the middle closure unit becomes 80 into the borehole on the rope via a fishing gear, which is connected to the coupling 50 engages at the top of the unit. The closure unit 80 then comes in the outer tube 18 for locking, whereupon drilling fluid down in the drill string into the annulus 100 between the shutter unit 80 and the outer tube 18 and through the channels 86 in the stopper 84 to the stopper area 88 is pumped to the PDC cutters 90 to cool and to clean as well as cuttings while turning the core drill pipe 10 and the progress of the drilling to remove.

Fallsgewünscht,kann die Verschlußeinheit80 miteinem Druckrohr bzw. -gehäuse110 versehen sein,in dem ein Aufzeichnungswerkzeug12 wie ein Gammastrahlenwerkzeugoder ein Richtungswerkzeug zur Erfassung des Bohrlochweges zwecks Meßdurchführung beimBohren untergebracht sein kann. Dabei kann ferner eine Datenübertragungseinheit114 imDruckgehäuse110 angeordnetsein, wobei diese eine elektronische Übertragungseinheit oder eineSpülungsimpulseinheit(in welchem Fall ein Teil davon selbstverständlich zum Druckgehäuse110 außen liegenwürde)zur Echtzeitübertragungvon Aufzeichnungsdaten an die Oberfläche über Draht bzw. Seil oder Spülungsimpulsumfassen kann. Statt dessen könnendie Da ten periodisch mittels Seil, oder wenn die Verschlußeinheit80 ausdem Loch gezogen wird, aufgeholt werden.If desired, the closure unit 80 with a pressure tube or housing 110 be provided in which a recording tool 12 how a gamma-ray tool or a directional tool for detecting the borehole path can be accommodated for the purpose of measuring when drilling. In this case, furthermore, a data transmission unit 114 in the pressure housing 110 these being an electronic transmission unit or a flushing impulse unit (in which case a part thereof, of course, to the pressure housing 110 outside) for real-time transmission of recording data to the surface via wire or rope or mud. Instead, the data can be periodically by means of rope, or if the closure unit 80 is pulled out of the hole to be caught up.

Esversteht sich ferner, daß Druck-und Temperatursensoren im Druckgehäuse110 enthalten seinkönnen.Erstere sind besonders erwünscht,um den dynamischen Druckverlust und damit die Strömungsratezur Bestimmung derjenigen Strömungsratenzu messen, die zum Kernbohren geeignet sind, wenn die zentrale Verschlußeinheit80 durchdie Innenrohreinheit40 ersetzt ist. Durch Berechnung oder Messungdes hydrostatischen Drucks im Bohrlochringraum und Messung des Gesamtdrucksnahe der Bohrkrone vom Druckgehäuse110 können der dynamischeDruckverlust und damit die Strömungsratenbestimmt werden, um eine Kernerosion bzw. -auswaschung zu reduzierenoder vorzugsweise auszuschalten.It is further understood that pressure and temperature sensors in the pressure housing 110 may be included. The former are particularly desirable in order to measure the dynamic pressure loss, and hence the flow rate, for determining those flow rates suitable for core drilling when the central closure unit 80 through the inner tube unit 40 is replaced. By calculating or measuring the hydrostatic pressure in the well annulus and measuring the total pressure near the drill bit from the pressure housing 110 For example, the dynamic pressure loss and thus the flow rates can be determined to reduce or preferably eliminate nuclear erosion.

EineTemperaturmessung ist besonders erwünscht und vorteilhaft, wennein Gelkernbohrvorgang durchgeführtwird, wobei ein nicht-invasives Gel zum Einkapseln der Kernprobein das Innenrohr42 vorplaziert wird, bevor es in den Bohrstranggelassen wird. Die temperaturempfindliche Beschaffenheit derartigerGele und ihre Fähigkeit,die Viskositätzu erhöhenund sich sogar erheblich zu verfestigen bei einem Temperaturabfallin einem verhältnismäßig engenBereich macht die Möglichkeit,die kernrohrtiefe Temperatur zu messen, zu einer außerordentlicherwünschtenMaßnahme,um so die Formulierung bzw. Wahl eines Gels zu ermöglichen,das in der gewünschtenTiefe viskos wird und nicht vorzeitig. Eine ausführlichere Erläuterungder Formulierung und Verwendung nicht-invasiver Gele zur Kernprobeneinkapselungist in der z. Zt. anhängigenUS-Patentanmeldung Serial No. 08/051,093 vom 21.4.1993 des Anmeldersenthalten. Die Beschreibung dieser Anmeldung wird durch den gegebenenHinweis in die vorliegende Beschreibung einbezogen.Temperature measurement is particularly desirable and advantageous when performing a gel core drilling procedure using a non-invasive gel to encapsulate the core sample in the inner tube 42 is placed before it is left in the drill string. The temperature-sensitive nature of such gels and their ability to increase viscosity and even significantly solidify with a drop in temperature in a relatively narrow range makes it possible to measure the core tube depth temperature to an extremely desirable measure, so the formulation or choice a gel that becomes viscous at the desired depth and not prematurely. A more detailed explanation of the formulation and use of non-invasive core sample encapsulation gels may be found in e.g. Currently pending US patent application serial no. 08 / 051,093 of 21.4.1993 of the applicant. The description of this application is incorporated into the present specification by the given reference.

Essein nun auf4 Bezug genommen, in der einBeispiel einer schleuderfreien Kernbohrkrone24 mit Blicknach unten durch die Bohrkronenstirnfläche200 veranschaulichtist, wie sie im Bohrloch ausgerichtet zu sein pflegt. Die Plazierungender PDC-Schneidglieder26 sind schematisch auf der Bohrkronenstirnfläche200 gezeigt.Einige Schneidglieder26 erstrecken sich radial nach innenvom inneren Kalibrierbereich200, der den Hals30 derKernbohrkrone24 bildet, wodurch ein Kern von kleinerem Durchmesserals dem des Halses30 geschnitten werden kann. Kanäle204 sind über deninneren Kalibrierbereich202 plaziert, damit die Bohrspülungsflüssigkeit,falls gewünscht,an der Außenseitedes Kerns vorbeiströmenkann. Weitere Spülungskanäle220 erstreckensich durch die Bohrkronenstirnfläche200.Obgleich schleuderfreie Bohrkronen derzeit allgemein bekannt sind,sollte festgehalten werden, daß Flügel206 und208 derKernbohrkrone24 von Schneidgliedern am äußeren Kalibrierbereich210 freigehaltensind und daß Kalibrierstege212 und214 anden Flügeln206 und208 alsStützflächen für die Kernbohrkrone24 verwendetwerden, um an der Wand des Bohrlochs zu laufen. Die ausgewählte Größe, Plazierungund Ausrichtung der Schneidglieder26 auf der Bohrkronenstirnfläche200 führt zu einemkumulativen gerichteten Seitenkraftvektor mit einer Orientierungin einer Richtung senkrecht zur Bohrkronenachse und zwischen denFlügeln206 und208 mitder Wirkung, daß dieKalibrierstege212 und214 im wesentlichen konstantgegen die bzw. an der Bohrlochwand laufen und so Vibrationen unddie Tendenz eines Bohrkronenschleuderns unterbinden.It's up now 4 Reference is made to an example of a spin-free core bit 24 looking down through the drill bit face 200 is illustrated how it is aligned in the borehole. The placements of the PDC cutters 26 are schematically on the Bohrkronenstirnfläche 200 shown. Some cutting elements 26 extend radially inward from the inner calibration area 200 that's the neck 30 the core bit 24 forms, creating a core of smaller diameter than that of the neck 30 can be cut. channels 204 are above the inner calibration range 202 placed so that the Bohrspülungsflüssigkeit, if desired, can flow past the outside of the core. Further flushing channels 220 extend through the drill bit face 200 , Although skid-free drill bits are currently well known, it should be noted that wings 206 and 208 the core bit 24 of cutting members on the outer calibration area 210 are kept free and that Kalibrierstege 212 and 214 on the wings 206 and 208 as support surfaces for the core bit 24 used to run on the wall of the borehole. The selected size, placement, and orientation of the cutting members 26 on the drill bit end face 200 results in a cumulative directed side force vector with an orientation in a direction perpendicular to the bit axis and between the wings 206 and 208 with the effect that the Kalibrierstege 212 and 214 Run substantially constantly against the or on the borehole wall and so prevent vibration and the tendency of Bohrkronenschleuderns.

5 zeigteine Schneidgliedanordnung für deninneren Kalibrierbereich an einer Kernbohrkrone248 mitflachem Eindringprofil im Zusammenwirken mit einem Kernschuh246,wie er in der oben erwähntenUS-PS 4,981,183 veranschaulichtist. Die Kernbohrkrone248 kann eine Vielfalt von Formenaufweisen, hat jedoch vorzugsweise ein parabolisches Grundprofil,wie allgemein bei251 angegeben. Statt dessen können andereProfile mit Vorteil verwendet werden. Beispielsweise können imallgemeinen flache Seiten verwendet werden, die der Bohrkrone einekonische Grundform vermitteln. Der Rumpfteil256 der Kernbohrkrone248 weisteine Mehrzahl von Kanälen252 auf,die eine Strömungsverbindungzwischen dem Ringraum100 im Kernrohr10 und Auslaßöffnungen240 inder Stirnflächeder Kernbohrkrone248 bilden. Eine Mehrzahl von Schneidgliedern26,vorzugsweise PDC-Schneidgliedern, ist vorzugsweise entlang dem Profilder Kernbohrkrone248 verteilt. 5 shows a cutter assembly for the inner calibration region on a core bit 248 with a flat penetration profile in cooperation with a core shoe 246 as he mentioned in the above U.S. Patent 4,981,183 is illustrated. The core bit 248 may be in a variety of forms, but preferably has a parabolic basic profile, as is generally the case 251 specified. Instead, other profiles can be used to advantage. For example, generally flat sides can be used which provide the drill bit with a conical shape. The body part 256 the core bit 248 has a plurality of channels 252 on that a flow connection between the annulus 100 in the core tube 10 and outlet openings 240 in the face of the core bit 248 form. A plurality of cutting members 26 , preferably PDC cutting members, is preferably along the profile of the core bit 248 distributed.

DerRumpfteil256 weist vorzugsweise eine untere Bohrung257 auf.Zumindest ein Innenmaßschneidglied226,und vorzugsweise zwei oder drei solcher in Umfangsrichtung beabstandeterSchneidglieder226 erstrecken sich nach innen von der die untereBohrung257 der Kernbohrkrone248 begrenzendenFläche,um ein Innenmaß zuschneiden, d. h. den Außendurchmessereines Kerns28. Jedes einzelne Maßschneidglied226 istvorzugsweise mit einer Abflachung264 am Kalibriermaß ausgebildet, daskleiner ist als die Bohrung257. Somit kann sich ein ringförmiger Schürzen- bzw.Pilotabschnitt262 des Kernbohrschuhs246 nachunten in eine solche Position erstrecken, daß seine Spitze266 unmittelbaram oberen Rand268 der Schneidglieder226 in demRingraum angrenzt, der von den Schneidgliedern226 zwischenden verschiedenen von den Abflachungen246 und der unterenBohrung257 begrenzten Durchmessern gebildet ist. Die Kernbohrkrone248 weistan ihrer inneren Oberfläche über der unterenBohrung257 eine Anlage258 auf, die von der Stützfläche260 kontaktiertwird und dadurch eine Einschnürungund idealerweise im wesentlichen eine Flüssigkeitsdichtung zwischender rotierenden Bohrkrone und dem stationären Kernrohr bildet. Mit dieser Ausgestaltungwird die Kernaußenseitepräzisegeschnitten und der Kern28 tritt in den Kernbohrschuh246 unmittelbarbeim Verlassen der oberen Ränder derSchneidgliedabflachungen246 ein. Das bevorzugte Profil251 inVerbindung mit der Ausrichtung und Anordnung der Ausgänge derKanäle252 abseitsdes inneren Kalibrierbereichs der Kernbohrkrone248 fördert eineverbesserte Spülungdes Bohrkleins und minimiert das Einwirken der Spülflüssigkeitauf den Kern, wodurch sowohl die mechanische als auch die chemischeUnversehrtheit der Kernprobe erhöhtwird. Es versteht sich fürden Fachmann, daß dieAusgestaltung gemäß2 zueiner Konstruktion mit flachem Eindringprofil dadurch abgewandeltwerden kann, daß derinnere Kalibrierbereich der Kernbohrkrone24 anders gestaltetund ein verlängerterSchuh mit einem Pilotbereich verwendet wird, wie es in5 gezeigtist. Das Innengehäuse64 derLagereinheit36 kann mit in der Weise angeordneten undausgerichteten Kanälenausgeführt sein,daß dasSpülmediumzu Kanälengeführtwird, die die Spülflüssigkeitzur Bohrkronenstirnflächeanstatt zum Hals bzw. inneren Kalibrierbereich leiten. Selbstverständlich würden dieKanäle204 aminneren Kalibrierbereich, wie in4 gezeigt,entfallen.The body part 256 preferably has a lower bore 257 on. At least one inside cutter 226 , and preferably two or three such circumferentially spaced cutting members 226 extend inward from the bottom hole 257 the core bit 248 limiting surface to cut an internal dimension, ie the outer diameter of a core 28 , Every single custom cutter 226 is preferably with a flattening 264 formed on Kalibriermaß that is smaller than the bore 257 , Thus, an annular apron or pilot section can 262 of the core drill shoe 246 extend down into such a position that its tip 266 immediately at the top 268 the cutting members 226 in the annulus adjacent to that of the cutting members 226 between the different ones of the flattenings 246 and the lower hole 257 limited diameters is formed. The core bit 248 has on its inner surface over the lower bore 257 a plant 258 on that from the support surface 260 thereby forming a constriction and, ideally, substantially a fluid seal between the rotating drill bit and the stationary core tube. With this configuration, the core outside is precisely cut and the core 28 enters the core drill 246 immediately upon exiting the upper edges of the cutting member flats 246 one. The preferred profile 251 in connection with the orientation and arrangement of the outputs of the channels 252 away from the inner calibration area of the core bit 248 promotes improved flushing of the cuttings and minimizes the effect of the flushing fluid on the core, thereby increasing both the mechanical and chemical integrity of the core sample. It is understood by those skilled in the art that the embodiment according to 2 can be modified to a construction with a shallow penetration profile, that the inner Kalibrierbereich the core bit 24 differently designed and an extended shoe with a pilot area is used, as it is in 5 is shown. The inner case 64 the storage unit 36 may be embodied with channels arranged and oriented in such a way that the flushing medium is guided to channels which guide the flushing liquid to the drill bit end face instead of to the neck or inner calibration area. Of course, the channels would 204 at the inner calibration area, as in 4 shown, omitted.

6 veranschaulichteine erste bevorzugte Ausführungsformeiner Kernbohrvorrichtung300 mit der Fähigkeit, verschiedene Daten,die sich auf verschiedene Bohrlochparameter beziehen (Bohrlochdaten)währenddes Kernbohrvorgangs zu gewinnen. Die Vorrichtung300 umfaßt ein Kernrohr302 miteiner an dessen unterem Ende angebrachten Kernbohrkrone304 undeine Innenrohreinheit306, die in der Längsbohrung308 desKernrohres302 fluchtend mit dem Hals310 derKernbohrkrone angeordnet ist. Wie ausgeführt, ist es vorzuziehen, daß die Kernbohrkrone304 voneiner PDC-Kernbohrkrone gebildet ist, und zwar in besonders bevorzugterWeise von einer stabilisierten Kernbohrkrone. Die Kernbohrvorrichtung300 istin einem Bohrloch von einer Schwerstange312 durch einetypische API-Gewindeverbindung314 nach unten weisend abgestützt. 6 illustrates a first preferred embodiment of a core drilling apparatus 300 with the ability to acquire various data related to different wellbore parameters (well data) during core drilling. The device 300 includes a core tube 302 with a core bit attached to its lower end 304 and an inner tube unit 306 in the longitudinal bore 308 of the core tube 302 in alignment with the neck 310 the core bit is arranged. As stated, it is preferable that the core bit 304 is formed by a PDC core bit, in a particularly preferred manner of a stabilized core bit. The core drilling device 300 is in a borehole from a drill collar 312 through a typical API threaded connection 314 supported downwards.

DasKernrohr302 weist eine Rastkupplung320 obenan seiner Innenseite auf, mit der die Verriegelungseinheit322 derInnenrohreinheit lösbarin Eingriff gebracht werden kann, um die Innenrohreinheit306 über eineFangkupplung324 oder dgl. Fangteil zurückzuholen, das von einem Rückholmechanismuswie etwa einer Fang glocke326 oder dgl. Fanggerät am Endeeines Seils328 zu erfassen ist. Der Hauptteil der Innenrohreinheit306 istdrehbar nach unten weisend von dem oberen verriegelten Teil durcheine an sich bekannte Drehlagereinheit330 abgestützt. Ggf.kann auch eine Lagereinheit (nicht gezeigt) am Bohrkronenende, wieoben beschrieben, zur Stabilisierung des unteren Endes der Innenrohreinheit306 verwendetwerden. Die Lagereinheit330 und die wahlweise anwendbareLagereinheit am Bohrkronenende ermöglichen eine Drehung des Kernrohres302 umdie Innenrohreinheit306 unterhalb der Lagereinheit330,um einen Kern aus Formationsmaterial ohne dessen rotationsbedingteBeanspruchung zu schneiden, wie es dem Fachmann allgemein bekanntist.The core tube 302 has a detent coupling 320 on top of its inside, with which the locking unit 322 the inner tube unit can be releasably engaged to the inner tube unit 306 via a catch coupling 324 or the like. To catch the catch, the bell of a return mechanism such as a catch 326 or the like. Gear at the end of a rope 328 is to capture. The main part of the inner tube unit 306 is rotatably facing downward from the upper locked part by a known rotary bearing unit 330 supported. Possibly. may also include a bearing unit (not shown) at the bit end, as described above, for stabilizing the lower end of the inner tube unit 306 be used. The storage unit 330 and the optional applicable bearing unit at the bit end allow rotation of the core tube 302 around the inner tube unit 306 below the storage unit 330 to cut a core of formation material without its rotational stress, as is well known to those skilled in the art.

DasKernbohrrohr332 mit offener Mündung333 an seinemunteren Ende ist so positioniert, daß ein durch den Bohrkronenhals310 hindurchgehenderFormationskern aufgenommen wird. Eine Instrumentenausströmung inForm eines Instrumenten- undDatenübertragungsmoduls334 istoberhalb des Kernrohrs332 und unterhalb der Lagereinheit330 angeordnet,wobei der Modul334 ein Druckgehäuse aufweist, in dem eine elektronischeInstrumentierung zur Gewinnung von Bohrlochdaten und zumindest einTeil der Datenübertragungseinrichtungenthalten sein können.The core drill pipe 332 with open mouth 333 at its lower end is positioned so that a through the Bohrkronenhals 310 throughgoing formation core is received. An instrument outflow in the form of an instrument and data transfer module 334 is above the core tube 332 and below the storage unit 330 arranged, the module 334 a pressure housing may be included in which an electronic instrumentation for obtaining well data and at least part of the data transmission device.

Lediglichals Beispiel kann der Modul334 eine Instrumentierung336 zurBestimmung der Bohrlochposition und -ausrichtung (Azimuth, Neigung usw.),im nachfolgenden allgemein als Richtungsinstrumentierung bezeichnet,sowie eine Instrumentierung338 zur Gewinnung von Datenbezüglichder Formationsbeschaffenheit umfassen, wie etwa (lediglich als Beispiel)Bohrlochtemperatur, Bohrlochdruck, Formationswiderstand, Formationsgammastrahlung,nukleare Magnetresonanz, Dichte und Porosität, im nachfolgenden als Formationsbewertungsinstrumentierungbezeichnet. Die genannten Instrumentierungen sind typischerweisemit zumindest einer gewissen Prozessormöglichkeit sowie mit einem elektronischenmaschinenlesbaren Speicher, beide mit340 bezeichnet, zumSpeichern der erhaltenen Daten ausgerüstet und stehen in Verbindungmit einer Datenübertragungseinrichtung342 zum Übertragenvon Echtzeitdaten an die Erdoberfläche.By way of example only, the module 334 an instrumentation 336 for determining the wellbore position and orientation (azimuth, inclination, etc.), hereinafter generally referred to as directional instrumentation, and instrumentation 338 for obtaining formation texture data, such as wellbore temperature, wellbore pressure, formation resistance, formation gamma radiation, nuclear magnetic resonance, density, and porosity, hereinafter referred to as formation evaluation instrumentation. The mentioned instrumentations are typically with at least a certain processor capability and with an electronic machine-readable memory, both with 340 designated for storing the obtained data and are in communication with a data transmission device 342 for transmitting real-time data to the earth's surface.

Inder Vorrichtung300 kann die Datenübertragungseinrichtung342 eineSpülungsimpuls-Telemetrieeinheit,eine akustische Telemetrieeinheit oder auch einen Kurzetappen-Funksenderzum Übertragenvon Daten an einen anderen Datenfernsender344 oberhabder Kernbohrvorrichtung300 für eine Rückübertragung zur Erdoberfläche umfassen,wobei die Fernsendeeinrichtungen Bohrspülungsimpuls-, akustische undelektromagnetische Telemetrie umfassen. Schließlich kann die Datenübertragungseinrichtung342 einenTransmitter zum Senden von Daten an die Erdoberfläche über dieSeilverbindung328 durch eine Naßverbindung oder eine andere physikalischeoder elektromagnetische Verbindung, wie dem Fachmann bekannt, umfassen.In the device 300 can the data transmission device 342 a mud pulse telemetry unit, an acoustic telemetry unit or a short-cut radio transmitter for transmitting data to another remote data transmitter 344 above the core drilling device 300 for retransmission to the surface of the earth, the remote sending means comprising drilling mud pulse, acoustic and electromagnetic telemetry. Finally, the data transmission device 342 a transmitter for sending data to the earth's surface via the cable connection 328 by a wet bond or other physical or electromagnetic compound as known to those skilled in the art.

Esist offensichtlich notwendig, daß eine gewisse Form einer Stromversorgung346 inder Innenrohreinheit angebracht ist, um die Bohrlochdateninstrumentierungund die Datenübertragungseinrichtung mitStrom zu versorgen, und diese kann durch von Batterien (ggf. inwiederaufladbarer Ausführung)sowie von einer Bohrspülungsturbine,oder einer Kombination hiervon, wie im Stand der Technik bekannt, gebildetsein. Statt dessen kann der Strom durch den Seilstrang328 zugeführt werden,jedoch ist eine solche Ausbildung weniger bevorzugt, da sie dasständigeVorhandensein des Seilstrangs328 im Bohrstrang während desKernbohrens verlangt.It is obviously necessary that some form of power supply 346 is mounted in the inner tube unit for powering the downhole data instrumentation and the data transfer device, and may be formed by batteries (optionally in rechargeable design) and a mud rinse turbine, or a combination thereof, as known in the art. Instead, the current can pass through the cable harness 328 However, such training is less preferred because it is the constant presence of the rope strand 328 required in the drill string during core drilling.

Esversteht sich fürden Fachmann, daß die Richtungsinstrumentierungebenso wie zur Verwendung zum Steuern des Bohrlochverlaufes auchzum Entwickeln und Erhalten einer Aufzeichnung der Ausrichtung desKerns währendseines Schneidens benutzt werden kann (und wünschenswerterweise benutztwird), so daß dieKerndaten mit den Daten in Beziehung gesetzt werden können, dieaus der die Kernbohrvorrichtung300 umgebenden Formation gewonnenwerden, aus der die Kernprobe ausgeschnitten wird.It will be understood by those skilled in the art that the directional instrumentation as well as for use in controlling the wellbore course may also be used to develop and maintain a record of the orientation of the core during its cutting (and desirably is used) such that the core data is correlated with the data in FIG Relationship can be set, which from the the core drill 300 surrounding formation, from which the core sample is cut out.

7 veranschaulichteine zweite bevorzugte Ausführungsformeiner Kernbohrvorrichtung300a, bei der die zuvor mit Bezugauf6 beschriebenen Bauteile und Merkmale mit dengleichen Bezugszeichen gekennzeichnet sind. Demgemäß werdennur bedeutsame Unterschiede zwischen den beiden Kernbohrvorrichtungenbei der Beschreibung der Vorrichtung300a angeführt. Inder Vorrichtung300a ist die Formationsbewertungsinstierung338 inder Wand des Kernrohrs302 untergebracht und kann eineReihe von in Umfangsrichtung um das Rohr302 verteiltenDruckgehäusenoder ein ununterbrochenes ringförmigesDruckgehäuseumfassen. Wie durch nach innen und außen von der Instrumentierung338 gerichtetePfeile gezeigt, erleichtert eine solche Ausgestaltung das gleichzeitigeAufnehmen von Formationsbewertungsdaten von der Umgebungsformationund von einem Kern350, wenn er in die Mündung333 desKernbohrrohres332 eintritt und sich in diesem realtivnach oben bewegt (aufgrund der Vorwärts- bzw. Abwärtsbewegungder Kernbohreinheit). Beliebige oder sämtliche der oben erwähnten Artenvon Formationsbewertungs instrumentierungen können verwendet werden, wobeisich versteht, daß Gammastrahlenemission,Porosität,Dichte, Widerstand, nukleare Magnetresonanz und Schallmessungenals besonders geeignet in bezug auf die Eigenschaften des Kerns350 gelten.Das Kernrohr302 und die Wand und deren Äußeres können demgemäß als transparentfür einfallendeund (in einigen Fällen)ausgehende Felder, Wellen, subatomare Partikel und andere bei derVornahme solcher Messungen verwendete Signale gestaltet werden.Es versteht sich, daß dieverschiedenen Stellen, die für Sensorenzum Messen der verschiedenen Bohrlochparameter dargestellt und beschriebensind, je nach der logischen Stelle für die jeweils am besten zuerhaltenden Daten variiert werden können und somit sich die Einheitenentsprechend ändern. 7 illustrates a second preferred embodiment of a core drilling apparatus 300a in which the previously referring to 6 Components and features described are identified by the same reference numerals. Accordingly, only significant differences between the two core drilling devices in the description of the device 300a cited. In the device 300a is the formation evaluation 338 in the wall of the core tube 302 housed and can be a series of circumferentially around the pipe 302 comprise distributed pressure housings or an uninterrupted annular pressure housing. How through in and out of the instrumentation 338 Directed arrows facilitate such a configuration, the simultaneous recording of formation evaluation data from the surrounding formation and from a core 350 when he's in the mouth 333 of the core drill pipe 332 enters and in this realtiv moves upwards (due to the forward or downward movement of the core drilling unit). Any or all of the above-mentioned types of formation evaluation instrumentation may be used, it being understood that gamma-ray emission, porosity, density, resistance, nuclear magnetic resonance, and sound measurements are particularly suited to the properties of the core 350 be valid. The core tube 302 and the wall and its exterior may thus be rendered transparent to incident and (in some cases) outgoing fields, waves, subatomic particles, and other signals used in making such measurements. It is understood that the various bodies responsible for Sensors for measuring the various downhole parameters are shown and described, depending on the logical location for the best data to be obtained can be varied and thus change the units accordingly.

Wieoben angeführt,ist es in hohem Maße wünschenswert,wenn nicht sogar wesentlich, die Ausrichtung des Kerns (Azimuth,Winkel in bezug auf die Vertikale) sowohl in einem absoluten Sinnals auch füreine Korrelation mit der meßuntersuchten Umgebungsformationzu bestimmen. Andere Abweichungen der Vorrichtung300a vonder Vorrichtung300 umfassen die Anordnung eines Prozessorsoder von Prozessoren und eines elektrischen Speichers340a sowieeine Stromquelle346 im Kernrohr302 und die Verwendungdes Telemetriefunksenders354 um Übertragen von Daten an einenEmpfänger356 in derInnenrohreinheit306 zur Rückübertragung zur Oberfläche über dieDatenübertragungs-bzw. Telemetrievorrichtung342, die ein Spülungsimpulsgeber odereine andere oben angegebene Systemart sein kann. Des weiteren istin der Innenrohreinheit306 eine weitere Stromquelle346 zurStromversorgung nicht nur der Datenübertragungseinrichtung342, sondernauch der zusätzlichenProzessoren und des Speichers340b sowie der Richtungselemente336 untergebracht.Somit könnensowohl Formations- als auch Richtungsdaten zur Oberfläche in Echtzeitgesendet werden, und die einen oder beide Daten können, wiegewünscht,im Speicher340b füreine periodische Entnahme mit der Innenrohreinheit306 zur Abgabean der Oberflächegespeichert werden. Es ist ferner zu bemerken, daß die Anordnungder Formationsbewertungsinstrumentierung338 unmittelbaran der Kernbohrkrone304 eine äußerst vorteilhafte Stelle für die Bohrungsparameterinstrumente360 ist,um solche Merkmale wie Drehmoment, Rotationsgeschwindigkeit, Gewichtauf der Bohrkrone, Vibration und Druck sowie Richtungsparameter,wie oben erläutert,zu überwachen,wobei die letzteren füreine Gesamtsteuerung des Bohrlochweges wie auch zum genauen Ermittelnder Stelle und Ausrichtung potentieller Zonen oder Schichten vonInteresse von Vorteil sind. Wie gezeigt, kann die Richtungsinstrumentierung336 wahlweiseim Kernrohr302 untergebracht sein, anstatt von der Innenrohreinheit306 abgestützt zu werden.As stated above, it is highly desirable, if not essential, to determine the orientation of the core (azimuth, vertical angle) both in an absolute sense and for correlation with the measured environmental formation. Other deviations of the device 300a from the device 300 include the arrangement of a processor or processors and an electrical memory 340a as well as a power source 346 in the core tube 302 and the use of the telemetry transmitter 354 to transfer data to a receiver 356 in the inner tube unit 306 for retransmission to the surface via the data transmission or telemetry device 342 which may be a mud pulse generator or other type of system noted above. Furthermore, in the inner tube unit 306 another power source 346 for powering not only the data transmission device 342 , but also the additional processors and the memory 340b as well as the directional elements 336 accommodated. Thus, both formation and direction data may be sent to the surface in real time, and the one or both data may be stored in memory as desired 340b for a periodic removal with the inner tube unit 306 stored for delivery to the surface. It should also be noted that the arrangement of the formation evaluation instrumentation 338 directly on the core bit 304 an extremely advantageous location for the bore parameter instruments 360 to monitor such features as torque, rotational speed, bit weight, vibration and pressure, and directional parameters as discussed above, the latter being for overall control of the borehole path as well as accurately determining the location and orientation of potential zones or layers Interest are beneficial. As shown, the directional instrumentation 336 optionally in the core tube 302 be housed instead of the inner tube unit 306 to be supported.

8 zeigteine dritte bevorzugte Ausführungsform300b einerKernbohrvorrichtung nach der Erfindung. Wie bei der Ausführungsform300a sind diezuvor beschriebenen Merkmale und Bauteile mit den gleichen Bezugszeichengekennzeichnet, und nur die Unterschiede zwischen der Vorrichtung300b undden früherbeschriebenen werden im einzelnen behandelt. Wie gezeigt, umfaßt die Vorrichtung300b einenInstrumentenrohrabschnitt370 oberhalb der Kernrohres302,der eine oder mehrere Einrichtungen der Richtungs-, Formationsbewertungs-und Bohrparameterinstrumentierungen336,338 und360 darbietet.Der Rohrabschnitt370 kann ein modifiziertes Reservoirnavigationswerkzeugumfassen, das von der INTEQ-Betriebseinheitdes Anmelders erhältlichist. Der Rohrabschnitt370 enthält eine Stromquelle346 sowieeine Datenverarbeitungs- und Speicherelektronik340a. Datenaus dem Rohrabschnitt370 werden über eine Kurzetappen-Sender/Empfänger-Kombination354 und356 aneine Datenübertragungseinheit342 inder Innenrohreinheit306 übertragen, die ebenfalls eineStromquelle346 und vorzugsweise zumindest einen Speicher340b enthält, falls dieVerarbeitungsfähigkeitnicht andersweitig in der aufholbaren Einheit verlangt wird. Fernerkann, wie gezeigt, die Richtungsinstrumentierung336 inder Innenrohreinheit306 anstatt im Rohrabschnitt370 enthaltensein, und eine zusätzlicheStromquelle346 kann die Richtungsinstrumentierung336 speisen. Eine Übertragungsverbindung362,die von der Richtungsinstrumentierung336 und dem Speicher340b ausgeht,kann eine festverdrahtete Verbindung umfassen, die eine Schleifringkupplungverwendet, um die Lagereinheit360 zu durchqueren, odereine elektromagnetische Kurzetappen-Funkverbindung. Eine weitereWahlmöglichkeitbesteht darin, eine Telemetrieeinheit342 im Rohrabschnitt370 zuverwenden und zur Oberflächevon dieser Daten von den Instrumenten in der Innnenrohreinheit306 übertragen,die in Kurzetappen-Verbindung mit dem Rohrabschnitt370 ineiner Anordnung umgekehrt zu der gezeigten stehen. 8th shows a third preferred embodiment 300b a core drilling apparatus according to the invention. As in the embodiment 300a For example, the features and components described above are identified by the same reference numerals and only the differences between the apparatus 300b and those described earlier will be discussed in detail. As shown, the device comprises 300b an instrument tube section 370 above the core tube 302 containing one or more direction, formation evaluation and drilling parameter instrumentation facilities 336 . 338 and 360 presents. The pipe section 370 may include a modified reservoir navigation tool available from the Applicant's INTEQ operating unit. The pipe section 370 contains a power source 346 as well as data processing and storage electronics 340a , Data from the pipe section 370 be via a short-term transmitter / receiver combination 354 and 356 to a data transmission unit 342 in the inner tube unit 306 transmit, which is also a power source 346 and preferably at least one memory 340b if processing capability is not otherwise required in the recoverable unit. Further, as shown, the directional instrumentation 336 in the inner tube unit 306 instead of the pipe section 370 be included, and an additional power source 346 can the directional instrumentation 336 Food. A transmission connection 362 by the directional instrumentation 336 and the memory 340b may be a hardwired connection that uses a slip ring coupling to the bearing unit 360 to pass through or a short-range electromagnetic radio link. Another option is a telemetry unit 342 in the pipe section 370 and to the surface of this data from the instruments in the inner tube unit 306 transferred, in short-circuit connection with the pipe section 370 in an arrangement opposite to the one shown.

9 beschreibteine vierte bevorzugte Ausführungsform300c derKernbohrvorrichtung nach der Erfindung. Wie bei den früheren Figurenwerden die Merkmale und Elemente, wenn möglich, mit schon verwendetenBezugszeichen bezeichnet, und nur bedeutsame Unterschiede in derVorrichtung nach9 werden im einzelnen beschrieben.Die Vorrichtung300c verwendet einen Telemetrierohrabschnitt380 oberhalbdes Kernrohres302, wobei im Rohrabschnitt380 vorzugsweiseeine akus tische oder elektromagnetische Telemetrie- oder Datenübertragungseinrichtung342 untergebrachtist. Die Formationsbewertungsinstrumentierung338 und die Bohrparameterinstrumentierung360 sindim Kernrohr302 untergebracht und, wie bei der Ausführungsformgemäß7,kann die Formationsbewertungsinstrumentierung die Fähigkeithaben, eine Einblicksmessung einer Kernprobe350 vorzunehmen,wenn sie sich in das Kernrohr332 bewegt. Eine festverdrahteteTelemetrieverbindung382 kann verwendet werden, um Datenvon den kernrohrabgestütztenInstrumenten an den Telemetrierohrabschnitt380 über Kupplungenzwischen dem Kernrohr und dem Rohrabschnitt380 zu übertragen,wie es an sich bekannt ist, oder es kann eine Kurzetappen-Funkeinrichtung verwendetwerden. In gleicher Weise kann die Richtungsinstrumentierung336,(wahlweise entweder in der Innenrohreinheit306 oder imKernrohr302 untergebracht) in Kurzetappen an den Telemetrierohrabschnitt380 Übertragungenausführen,wobei eine solche Einrichtung vorzugsweise bei einer festverdrahtetenVerbindung zwischen der Innenrohreinheit306 und dem Kernrohr302 oderdem Telemetrierohrabschnitt380 erfolgt. 9 describes a fourth preferred embodiment 300c the core drilling apparatus according to the invention. As in the earlier figures, the features and elements will, if possible, be referred to by reference numerals already used, and only to significant differences in the apparatus 9 will be described in detail. The device 300c uses a telemetry tube 380 above the core tube 302 , being in the pipe section 380 preferably an acoustic or electromagnetic telemetry or data transmission device 342 is housed. The formation evaluation instrumentation 338 and the drilling parameter instrumentation 360 are in the core tube 302 housed and, as in the embodiment according to 7 , the formation evaluation instrumentation may have the ability to take a survey of a core sample 350 when they are in the core tube 332 emotional. A hardwired telemetry connection 382 can be used to transfer data from the core tube-based instruments to the telemetry tube section 380 via couplings between the core tube and the pipe section 380 as is known per se, or a short-cut radio device may be used. In the same way, the directional instrumentation 336 , (optionally either in the inner tube unit 306 or in the core tube 302 under brought) in short stages to the Telemetrierohrabschnitt 380 Transfers carry out, wherein such a device preferably at a hard-wired connection between the inner tube unit 306 and the core tube 302 or the telemetry section 380 he follows.

Esversteht sich, daß,wie oben mit Bezug auf3 beschrieben, ein zentralerStopfen zum Bohren des vollen Bohrlochdurchmessers gegen die Innenrohreinheit306 ausgetauschtwerden kann, bis das zu kernende Intervall erreicht ist. Fernerkann ein solcher zentraler Stopfen mit einer Datenübertragungseinrichtung,einem elektronischen Speicher und einem Kurzetappenempfänger verwendetwerden, um Daten zur Oberflächevon der Formationsbewertungsinstrumentierung338, der Bohrparameterinstrumentierung360 oderselbst von der im Kernrohr302 enthaltenen Richtungsinstrumentierung336,wie oben bei den Ausführungsformennach den6 bis9 beschrieben,zu übertragen.Somit kann durch Echtzeitbewertung der Formationseigenschaften beimBohren des Bohrloches eine geeignete Stelle für den Beginn des Kernbohrensin einer potentiellen Zone oder Schicht von Interesse virtuell unmittelbar undmit verhältnismäßig großer Präzision imVergleich zu den vorbekannten Techniken identifiziert werden. Aneinem solchen Punkt wird der zentrale Stopfen zurückgeholtund eine Innenrohreinheit306 in das Kernrohr302 anseinem Platz eingesetzt. In gleicher Weise, und mit einer entsprechenden Formationsbewertungsinstrumentierungwährend desKernbohrvorgangs, kann eine verhältnismäßig präzise Beendigungdes Intervalls bzw. der Zone von Interesse bestimmt werden. An einemsolchen Punkt kann das Kernbohren beendet, der letzte Kern herausgeholtund ein mittlerer Stopfen wieder in das Kernrohr eingesetzt werden,um ohne Kernentnahme vorwärtszu bohren. Auf diese Weise kann eine Mehrzahl von Zonen von Interesselokalisiert und unter Kernbildung gebohrt werden, während dieIntervalle zwischen den Zonen von Interesse lediglich gemessen undohne eine Kernentnahme gebohrt werden.It is understood that, as above with respect to 3 described a central plug for drilling the full diameter borehole against the inner tube unit 306 can be exchanged until the interval to be kerned is reached. Furthermore, such a central plug with a data transfer device, an electronic memory and a short-path receiver can be used to transfer data to the surface of the formation evaluation instrumentation 338 , the drilling parameters instrumentation 360 or even from the core tube 302 contained directional instrumentation 336 as above in the embodiments of the 6 to 9 described to transfer. Thus, by real-time evaluation of the formation properties during wellbore drilling, a suitable site for commencement of core drilling in a potential zone or layer of interest can be identified virtually directly and with relatively great precision compared to the prior art techniques. At such point, the central plug is retrieved and an inner tube unit 306 into the core tube 302 used in its place. Likewise, and with appropriate formation evaluation instrumentation during the core drilling operation, a relatively accurate termination of the interval or zone of interest may be determined. At such point, core drilling can be completed, the last core retrieved, and a center plug re-inserted into the core tube to drill forward without core removal. In this way, a plurality of zones of interest can be located and drilled with nucleation, while the intervals between the zones of interest are merely measured and drilled without core removal.

Wiein10 gezeigt, kann es wünschenswert sein, die Kernbohrvorrichtungnach der Erfindung in einer Ausführung400,hier mit einem zentralen Stopfen402 an seinem Platz gezeigt,so zu gestalten, daß dieFormationsbewertungsinstrumentierung338 innerhalb deseigentlichen Halses310 der Bohrkrone304 selbstund unmittelbar angrenzend an die vorauslaufende Fläche404 desStopfens402, in dem Schneidglieder406 angeordnetsind, vorgesehen ist. Eine derartige Sensornähe zur Formation vor der Kernbohrvorrichtungkann eine Umgestaltung der inneren Spülungskanäle408 der Kernbohrkrone304, wiegezeigt, erfordern, da es evtl. nicht mehr möglich ist (vgl. den zentralenStopfen80 und den Kanal86 nach3),derartige Kanäledurch das Ende des zentralen Stopfens zu führen. Die Kanäle408 sind nurbei einem zentralen Stopfen402 in Betrieb, der durch eineentsprechende Gestaltung der Innenrohreinheit abgesperrt ist, umso eine Verunreinigung des Kerns zu vermeiden. Selbstverständlich kann, wieoben ausgeführt,die Richtungs- und/oder Bohrparameterinstrumentierung auch in einenzentralen Stopfen wie etwa die Verschlußeinrichtung80 oder402 einbezogensein.As in 10 As shown, it may be desirable to use the core drilling apparatus of the invention in one embodiment 400 , here with a central plug 402 shown in place, so that the formation evaluation instrumentation 338 within the actual neck 310 the drill bit 304 itself and immediately adjacent to the leading surface 404 of the plug 402 in which cutting members 406 are arranged, is provided. Such sensor proximity to the formation in front of the core drilling apparatus may alter the inner mud channels 408 the core bit 304 , as shown, may not be possible (see the central plug 80 and the channel 86 to 3 ) to guide such channels through the end of the central plug. The channels 408 are only at a central stopper 402 in operation, which is shut off by a corresponding design of the inner tube unit, so as to avoid contamination of the core. Of course, as noted above, the directional and / or drilling parameter instrumentation may also be incorporated into a central plug such as the closure device 80 or 402 be involved.

ObschonKurzetappen- und Ferntelemetriesysteme oben mit Blick auf eineneinzigen Sender und Empfängeraus Gründender Einfachheit beschrieben worden sind, versteht sich ohne weiteres, daß eine Zweiwegübertragungin vielen Fällenwünschenswertsein kann, wie etwa, um die Instrumentierung zu aktivieren oderzu entaktivieren, die Instrumentierung auf eine andere Betriebsartumzuschalten oder die Instrumentierung für Kalibrierungs- oder Testzweckezu befragen. Obschon ferner die oben beschriebene Instrumentierungsämtlichim Bohrloch als Teil der erfindungsgemäßen Kernbohrvorrichtung angeordnetist, ist fürden Fachmann offensichtlich, daß eineOberflächeninstrumentierungauf oder unter der Bohrplattform vorgenommen werden kann, um bohrungsbezogeneParameter zu überwachen,die mit den aus der Bohrlochinstrumentierung empfangenen Daten inBeziehung gesetzt und in Verbindung mit diesen verwendet werdenkönnen.Somit kann eine Oberflächeninstrumentierung500,wie in6 gezeigt, in Verbindung mit einem Computer502 und mitDaten verwendet werden, die aus dem Bohrloch durch einen Empfänger504 empfangenwerden, um dem Bedienungspersonal Daten durch ein Display506 darzubieten.Das Display kann ein digitales oder graphisches Display in transienterForm (wie auf einem Videoschirm) oder permanenter Form (Papier, Film,elektronischer Speicher einschl. magnetischer oder optischer Speicherusw.) sein und ggf. über Landleitungen,Radiotelemetrie oder Satellitenverbindung an einen anderen Ort zurweiteren Bewertung wieder übertragenwerden.Although short and long distance telemetry systems have been described above with reference to a single transmitter and receiver for the sake of simplicity, it is readily understood that two way transmission may be desirable in many instances, such as to activate or deactivate the instrumentation Switch instrumentation to another mode or interrogate the instrumentation for calibration or testing purposes. Further, while the above-described instrumentation is all disposed downhole as part of the core drilling apparatus of the present invention, it will be apparent to those skilled in the art that surface instrumentation may be performed on or below the drilling platform to monitor bore related parameters associated with the data received from the downhole instrumentation Relationship can be set and used in conjunction with these. Thus, a surface instrumentation 500 , as in 6 shown in conjunction with a computer 502 and with data being used from the borehole through a receiver 504 be received to the operator data through a display 506 darzubieten. The display may be a digital or graphic display in transient form (such as on a video screen) or permanent (paper, film, electronic storage including magnetic or optical storage, etc.) and, if necessary, by landline, radio telemetry or satellite link to another location be transferred again for further evaluation.

DaSeilsträngebzw. -leitungen, Fanggeräte, Rastkupplungenund Verriegelungseinrichtungen, Kernfänger, Lagereinheiten und andereKernrohrkomponenten in einer großen Konstruktionsvielfalt im Standder Technik bekannt sind, sind diese Elemente nicht im einzelnenbeschrieben worden. In gleicher Weise können verschiene Bypassventileinheitenverschiedener Konstruktionen mit Kernrohren nach der Erfindung verwendetwerden, um abwechselnd Bohrspülungdurch oder um die Innenrohreinheiten zu leiten und die Verdrängung derSpülungdurch den Kern zu ermöglichen.Da jedoch derartige Einrichtungen ihrerseits in jeder BeziehungherkömmlicherArt sind, die dem Fachmann grundsätzlich bekannt sind, sind siehier ebenfalls weder dargestellt noch bechrieben. Schließlich sinddie verschiedenen Arten der Richtungs- und Bohr- sowie Formationsparameterinstrumentierung,die vorstehend erwähntsind, im Stand der Technik bekannt, ebenso wie die zugehörigen Datenübertragungs-und dgl. Elektronikeinrichtungen (Prozessoren, Speicher, Stromquellenusw.), fürdie daher ebenfalls keine detaillierte Beschreibung erforderlichist.Since ropes, gears, snap-in couplings and interlocking devices, core catchers, bearing units, and other core tube components are known in a wide variety of constructions in the art, these elements have not been described in detail. Likewise, various bypass valve assemblies of various constructions can be used with core tubes of the invention to alternately direct drilling mud through or around the inner tube units and permit displacement of the purge through the core. However, since such devices themselves are conventional in every respect, which are generally known to those skilled in the art, they are neither shown nor described here. Finally, the various types of directional and drilling and formation parameter instrumentation mentioned above are well-known known in the art, as well as the associated data transmission and the like. Electronic devices (processors, memory, power sources, etc.), for which therefore also no detailed description is required.

Obgleichdie Erfindung anhand bestimmter bevorzugter Ausführungsformen beschrieben wordenist, ist sie nicht auf diese beschränkt, und zahlreiche Veränderungender dargestellten und beschriebenen Ausführungsformen können durchgeführt werden,ohne den Rahmen der Erfindung zu verlassen, wie er durch die Ansprüche defininiertist.Althoughthe invention has been described with reference to certain preferred embodimentsis, it is not limited to these, and numerous changesthe illustrated and described embodiments can be performedwithout departing from the scope of the invention as defined by the claimsis.

Claims (18)

Translated fromGerman
Vorrichtung zum Bohren von Erdformationen, miteinem eine Längsbohrungbegrenzenden Bohrkörper,der an seinem oberen Ende mit einem Bohrstrang verbindbar und anseinem unteren Ende mit einer Kernbohrkrone versehen ist, und einerInstrumentenausrüstung,mittels welcher Bohrlochdaten gleichzeitig mit dem Erbohren einesKerns aufnehmbar sind,dadurch gekennzeichnet, dass von derInstrumentenausrüstungzumindest ein Bereich innerhalb des Rohrkörpers zwischen dessen Außenseite undder Längsbohrungangeordnet ist und von der Instrumentenausrüstung als Bohrlochdaten Erdformationsparameteraufnehmbar sind und die Instrumentenausrüstung wenigstens einen Sensoraufweist zum Erfassen von zumindest einem Formationsmerkmal ausder Gruppe der Merkmale Bohrlochtemperatur, Bohrlochdruck, Formationswiderstand,Formationsgammastrahlung, nukleare Magnetresonanz, Dichte und Porösität.Apparatus for drilling earth formations with a longitudinal bore defining drill body, which is at its upper end to a drill string connected to and provided at its lower end with a core bit, and an instrumentation by which well data are simultaneously receivable with the Erbohren a core,characterized characterized in that at least a portion of the instrumentation is disposed within the tubular body between the outside thereof and the longitudinal bore and receivable by the instrumentation as downhole data earth formation parameters and the instrumentation includes at least one sensor for detecting at least one formation feature from the group of wellbore temperature, wellbore pressure characteristics , Formation resistance, formation gamma radiation, nuclear magnetic resonance, density and porosity.Vorrichtung nach Anspruch 1, dadurch gekennzeichnet,dass zumindest ein Bereich der Instrumentenausrüstung nahe der Bohrkrone angeordnet ist.Device according to claim 1, characterized in thatat least a portion of the instrumentation is located near the drill bit.Vorrichtung nach Anspruch 1 oder 2, dadurch gekennzeichnet,dass mittels der Instrumentenausrüstung im Wesentlichen gleichzeitigzumindest ein Formationsdatenparameter von einem Kernsegment undzumindest ein Formationsdatenparameter von einer Formation außerhalbdes Rohrkörpersaufnehmbar ist.Device according to Claim 1 or 2, characterizedthat by means of the instrumentation substantially simultaneouslyat least one formation data parameter from a core segment andat least one formation data parameter from a formation outsideof the tubular bodyis receivable.Vorrichtung nach Anspruch 3, dadurch gekennzeichnet,dass zumindest ein Formationsdatenparameter von einem Kernsegmentund ein Formationsdatenparameter von einer Formation außerhalb desRohrkörpersgleichartig sind.Device according to claim 3, characterized in thatthat at least one formation data parameter from a core segmentand a formation data parameter from a formation outside thetubular bodyare similar.Vorrichtung nach einem der Ansprüche 1 bis 4, dadurch gekennzeichnet,dass innerhalb der Längsbohrungeine aufholbare Innenrohreinheit anbringbar ist, deren unterer Bereicheine Aufnahme füreinen von der Kernbohrkrone erbohrten Kern aufweist.Device according to one of claims 1 to 4, characterizedthat within the longitudinal borea catchable inner tube unit is attachable, the lower portiona recording forhaving a core drilled by the core bit.Vorrichtung nach einem der Ansprüche 1 bis 5, gekennzeichnetdurch einen Sender zur Übertragung vonDaten an eine von der Instrumentenausrüstung entfernt liegende Stelle.Device according to one of claims 1 to 5, characterizedthrough a transmitter for transmission ofData to a remote location from the instrumentation.Vorrichtung nach Anspruch 6, dadurch gekennzeichnet,dass der Sender oberhalb des unteren Bereichs der Innenrohreinheitangeordnet ist.Device according to claim 6, characterized in thatthat the transmitter above the lower portion of the inner tube unitis arranged.Vorrichtung nach Anspruch 6 oder 7, dadurch gekennzeichnet,dass der Sender einen Teil der Innenrohreinheit bildet.Device according to claim 6 or 7, characterizedthe transmitter forms part of the inner tube unit.Vorrichtung nach einem der Ansprüche 6 bis 8, dadurch gekennzeichnet,dass der Sender aus einer einen Bohrspülimpulsgeber, einen akustischenSender und einen elektromagnetischen Sender umfassenden Gruppe ausgewählt ist.Device according to one of claims 6 to 8, characterizedthat the transmitter consists of a Bohrspülimpulsgeber, an acousticTransmitter and an electromagnetic transmitter comprehensive group is selected.Vorrichtung nach einem der Ansprüche 1 bis 9, dadurch gekennzeichnet,dass die Instrumentenausrüstungeine Richtungsinstrumentierung umfasst, mittels der Daten bezüglich derPosition und Ausrichtung der Vorrichtung aufnehmbar sind.Device according to one of claims 1 to 9, characterizedthat the instrumentationincludes a directional instrumentation, by means of the data relating to thePosition and orientation of the device are receivable.Vorrichtung nach einem der Ansprüche 5 bis 10, dadurch gekennzeichnet,dass die Instrumentenausrüstungund der untere Bereich der Innenrohreinheit eine zusammenwirkendeGestaltung zur Bereitstellung von Ausrichtungsdaten für den aufgenommenenKern aufweisen.Device according to one of claims 5 to 10, characterizedthat the instrumentationand the lower portion of the inner tube unit has a cooperating oneDesign for providing registration data for the recordedCore.Vorrichtung nach einem der Ansprüche 1 bis 11, gekennzeichnetdurch einen maschinenlesbaren Speicher zum Speichern von Bohrlochdatenin der Vorrichtung.Device according to one of claims 1 to 11, characterizedby a machine-readable memory for storing well datain the device.Vorrichtung nach Anspruch 7, gekennzeichnet durcheinen vorrichtungsseitig oberhalb des Rohrkörpers angeordneten Empfänger zumEmpfang der vom Sender übertragenenDaten und einen mit dem Empfängerverbundenen zweiten Sender zur Rückübertragungder Daten an die Erdoberfläche.Apparatus according to claim 7, characterized bya device side arranged above the tubular body receiver toReception of the transmitter transmittedData and one with the receiverconnected second transmitter for retransmissionthe data to the earth's surface.Vorrichtung nach einem der Ansprüche 1 bis 13, dadurch gekennzeichnet,dass die Instrumentenausrüstungzumindest eine Sensoreinrichtung zur Ermittlung eines Parametersumfasst, der aus der folgenden Gruppe ausgewählt ist: Emissionen von Formationsgammastrahlen,Formationswiderstand, nukleare magnetische Resonanz, Druck und Temperatur.Device according to one of claims 1 to 13, characterizedthat the instrumentationat least one sensor device for determining a parameterwhich is selected from the following group: emissions of formation gamma rays,Formation resistance, nuclear magnetic resonance, pressure and temperature.Vorrichtung nach einem der Ansprüche 1 bis 14, gekennzeichnetdurch eine Instrumentierung an der Erdoberfläche zur Bohrdatenaufnahme,einen Sender nahe dem Rohrkörperzum Übertragenvon Daten von der Instrumentenausrüstung an die Erdoberfläche, einenEmpfängeran der Erdoberfläche zumAufnehmen der Daten vom Sender und einen Computer zum Verarbeitender empfangenen Daten und von Daten der Oberflächeninstrumentierung.Apparatus according to any one of claims 1 to 14, characterized by instrumentation at the surface of the earth for drilling data acquisition, a transmitter near the tubular body for transmitting data from the instrumentation equipment to the surface of the earth, a receiver at the surface of the earth for receiving the data from the transmitter and a computer for processing the received data and surface instrumentation data.Vorrichtung nach einem der Ansprüche 7 bis 9 oder 13, dadurchgekennzeichnet, dass der Sender oberhalb des Rohrkörpers angeordnetist.Device according to one of claims 7 to 9 or 13, characterizedin that the transmitter is arranged above the tubular bodyis.Verfahren zum Bohren einer Erdformation, dadurchgekennzeichnet, dass ein erster Bohrlochabschnitt in die Erdformationmit einem Bohrstrang gebohrt wird und gleichzeitig Bohrlochdatenaufgenommen werden, ohne den Bohrstrang aus dem Bohrloch zu entfernen,und dass ein zweiter Bohrlochabschnitt, der von einem Endpunkt desersten Abschnitts ausgeht, kernbildend gebohrt wird, während gleichzeitigBohrlochdaten aufgenommen werden.Method of drilling an earth formation, therebycharacterized in that a first borehole section in the earth formationis drilled with a drill string and simultaneously borehole databe picked up without removing the drill string from the well,and that a second borehole section terminating from an endpoint offirst section is going to be core-drilled while at the same timeBorehole data will be recorded.Verfahren zum Bohren einer Erdformation, dadurchgekennzeichnet, dass ein Bohrlochabschnitt in die Erdformation gebohrtwird, währendgleichzeitig eine Formatinskernprobe entlang einer Längsachsedes Abschnitts von dessen vorauslaufendem Ende erbohrt wird undgleichzeitig zumindest ein Bohrlochparameter von einer Stelle aufgenommen wird,die unmittelbar einer Stelle benachbart ist, an der die Kernprobevon der Formation getrennt wird.Method of drilling an earth formation, therebycharacterized in that a borehole section drilled in the earth formationwill, whileat the same time a sizing sample along a longitudinal axisthe portion of its leading end is drilled andat the same time at least one borehole parameter is recorded from one location,which is immediately adjacent to a location at which the core sampleis separated from the formation.
DE19745947A1996-10-171997-10-17 Apparatus and method for drilling earth formationsExpired - LifetimeDE19745947B4 (en)

Applications Claiming Priority (2)

Application NumberPriority DateFiling DateTitle
US08/7329111996-10-17
US08/732,911US6006844A (en)1994-09-231996-10-17Method and apparatus for simultaneous coring and formation evaluation

Publications (2)

Publication NumberPublication Date
DE19745947A1 DE19745947A1 (en)1998-04-23
DE19745947B4true DE19745947B4 (en)2008-12-11

Family

ID=24945429

Family Applications (1)

Application NumberTitlePriority DateFiling Date
DE19745947AExpired - LifetimeDE19745947B4 (en)1996-10-171997-10-17 Apparatus and method for drilling earth formations

Country Status (3)

CountryLink
DE (1)DE19745947B4 (en)
GB (1)GB2318372B (en)
NO (1)NO316886B1 (en)

Families Citing this family (16)

* Cited by examiner, † Cited by third party
Publication numberPriority datePublication dateAssigneeTitle
US7055626B2 (en)*2002-03-152006-06-06Baker Hughes IncorporatedCore bit having features for controlling flow split
US8022838B2 (en)2005-10-282011-09-20Thrubit B.V.Logging system, method of logging an earth formation and method of producing a hydrocarbon fluid
WO2007053419A2 (en)*2005-10-282007-05-10Shell Oil CompanyLogging system, method of logging an earth formation and method of producing a hydrocarbon fluid
WO2007130749A2 (en)*2006-03-242007-11-15Hall David RDrill bit assembly with a logging device
WO2008113127A1 (en)*2007-03-192008-09-252Ic Australia Pty LtdA core orientation tool
US7913775B2 (en)*2007-12-272011-03-29Schlumberger Technology CorporationSubsurface formation core acquisition system using high speed data and control telemetry
NO334847B1 (en)2012-07-162014-06-16Coreall As Method and apparatus for drilling a subsurface formation
CN106907106B (en)*2017-04-292023-05-16吉林大学Hot water driven self-rotation ice layer coring drilling method and device
NO20190019A1 (en)*2019-01-072020-07-08Coreall AsMethod and apparatus for alternating between coring and drilling without tripping operations
CA3158024A1 (en)*2019-10-172021-04-22Bly Ip Inc.Core barrel head assembly
CN111502578B (en)*2020-04-272024-08-23四川大学Multiple pressure maintaining corer that prevents changeing
CN111502579B (en)*2020-04-272024-09-03四川大学Automatic alarm's gallery pressurize coring equipment
CN111550205B (en)*2020-04-272024-11-08深圳大学 An alarm device for tunnel coring equipment
US11131147B1 (en)*2020-04-292021-09-28Coreall AsCore drilling apparatus and method for converting between a core drilling assembly and a full-diameter drilling assembly
CN113494257B (en)*2021-06-252023-09-15中海油田服务股份有限公司 A coring and sampling integrated sub-joint and downhole instrument
CN115854826B (en)*2023-03-022023-05-12中钜(陕西)工程咨询管理有限公司Pavement construction quality detection device

Citations (15)

* Cited by examiner, † Cited by third party
Publication numberPriority datePublication dateAssigneeTitle
US3127943A (en)*1962-03-051964-04-07Christensen Diamond Prod CoWire line core barrel
US4815342A (en)*1987-12-151989-03-28Amoco CorporationMethod for modeling and building drill bits
DE3813508C1 (en)*1988-04-221989-10-12Eastman Christensen Co., Salt Lake City, Utah, Us
US4982802A (en)*1989-11-221991-01-08Amoco CorporationMethod for stabilizing a rotary drill string and drill bit
US5010789A (en)*1989-02-211991-04-30Amoco CorporationMethod of making imbalanced compensated drill bit
US5020612A (en)*1989-02-221991-06-04Boart International LimitedWire line core drilling apparatus
US5042596A (en)*1989-02-211991-08-27Amoco CorporationImbalance compensated drill bit
US5090492A (en)*1991-02-121992-02-25Dresser Industries, Inc.Drill bit with vibration stabilizers
US5099934A (en)*1989-11-251992-03-31Barr John DRotary drill bits
US5109935A (en)*1989-11-251992-05-05Reed Tool Company LimitedRotary drill bits
US5111892A (en)*1990-10-031992-05-12Sinor L AllenImbalance compensated drill bit with hydrostatic bearing
US5119892A (en)*1989-11-251992-06-09Reed Tool Company LimitedNotary drill bits
US5131478A (en)*1989-02-211992-07-21Brett J FordLow friction subterranean drill bit and related methods
US5178222A (en)*1991-07-111993-01-12Baker Hughes IncorporatedDrill bit having enhanced stability
GB2293395A (en)*1994-09-231996-03-27Baker Hughes IncCoring and drilling system

Family Cites Families (5)

* Cited by examiner, † Cited by third party
Publication numberPriority datePublication dateAssigneeTitle
US4638872A (en)*1985-04-011987-01-27Diamond Oil Well Drilling CompanyCore monitoring device
GB8607395D0 (en)*1986-03-251986-04-30British Petroleum Co PlcCore sampling equipment
GB8817261D0 (en)*1988-07-201988-08-24Sperry Sun IncDown-hole bearing assemblies for maintaining survey instrument assembly & core barrel orientation
GB8910326D0 (en)*1989-05-051989-06-21Oreco Oilfield Services LimiteDownhole assembly
US5010765A (en)*1989-08-251991-04-30Teleco Oilfield Services Inc.Method of monitoring core sampling during borehole drilling

Patent Citations (17)

* Cited by examiner, † Cited by third party
Publication numberPriority datePublication dateAssigneeTitle
US3127943A (en)*1962-03-051964-04-07Christensen Diamond Prod CoWire line core barrel
US4815342A (en)*1987-12-151989-03-28Amoco CorporationMethod for modeling and building drill bits
DE3813508C1 (en)*1988-04-221989-10-12Eastman Christensen Co., Salt Lake City, Utah, Us
US4955438A (en)*1988-04-221990-09-11Eastman Christensen CompanyCore drilling tool
US5010789A (en)*1989-02-211991-04-30Amoco CorporationMethod of making imbalanced compensated drill bit
US5042596A (en)*1989-02-211991-08-27Amoco CorporationImbalance compensated drill bit
US5131478A (en)*1989-02-211992-07-21Brett J FordLow friction subterranean drill bit and related methods
US5020612A (en)*1989-02-221991-06-04Boart International LimitedWire line core drilling apparatus
US4982802A (en)*1989-11-221991-01-08Amoco CorporationMethod for stabilizing a rotary drill string and drill bit
US5119892A (en)*1989-11-251992-06-09Reed Tool Company LimitedNotary drill bits
US5109935A (en)*1989-11-251992-05-05Reed Tool Company LimitedRotary drill bits
US5099934A (en)*1989-11-251992-03-31Barr John DRotary drill bits
US5165494A (en)*1989-11-251992-11-24Camco Drilling Group Ltd.Rotary drills bits
US5111892A (en)*1990-10-031992-05-12Sinor L AllenImbalance compensated drill bit with hydrostatic bearing
US5090492A (en)*1991-02-121992-02-25Dresser Industries, Inc.Drill bit with vibration stabilizers
US5178222A (en)*1991-07-111993-01-12Baker Hughes IncorporatedDrill bit having enhanced stability
GB2293395A (en)*1994-09-231996-03-27Baker Hughes IncCoring and drilling system

Also Published As

Publication numberPublication date
GB2318372B (en)2001-02-14
GB2318372A (en)1998-04-22
DE19745947A1 (en)1998-04-23
GB9721948D0 (en)1997-12-17
NO316886B1 (en)2004-06-14
NO974786D0 (en)1997-10-16
NO974786L (en)1998-05-11

Similar Documents

PublicationPublication DateTitle
DE19745947B4 (en) Apparatus and method for drilling earth formations
DE69506872T2 (en) DATA COLLECTION OR MEASUREMENT DURING REMOVAL
DE69800636T2 (en) Device and system for borehole measurements near the drill while drilling
DE3813508C1 (en)
DE60305733T2 (en) DRILLING A DRILL
EP0768446B1 (en)Method and boring tool for drilling into subterranean formations
DE3208468C2 (en)
DE69314289T2 (en) System for measurements during drilling with pressure pulse valve for data transmission
DE3902869C1 (en)
DE3912614A1 (en) ELECTRICAL TRANSMISSION SYSTEM FOR A DRILL HOLE FILLED WITH DRILLING MEDIUM
DE1458631B2 (en) DEVICE FOR TRANSFERRING DRILL HOLE MEASUREMENTS BY USING CONTINUOUS SOUND WAVES
DE2720273A1 (en) METHOD AND DEVICE FOR DETERMINING AND REGISTERING MEASURED VALUES OF A DEEP HOLE
DE112014007293T5 (en) Visualization of look-ahead data for wellbore drilling tools
DE102004026702B3 (en) Apparatus for testing anchor holes
DE112015005957T5 (en) Coil-mounted bobbin antenna with coil and ferrite slots
DE4221221C1 (en)
DE68909533T2 (en) Method and drilling machine for examining and utilizing layers of earth.
DE60215963T2 (en) Method and device for the spectroscopic processing of data in the borehole
DE112015006423T5 (en) Drilling tool with electronics close to the chisel
WO2021170415A1 (en)Apparatus and method for cone penetration testing
DE3205707A1 (en) METHOD AND DEVICE FOR ANALYSIS IN MINING
DE3423158A1 (en) METHOD AND DEVICE FOR DETERMINING THE INFLOW OF FLOWING AGENTS, IN PARTICULAR GAS, IN DRILL HOLES
DE112015006745T5 (en) Electrical insulation to reduce magnetometer interference
AT413422B (en) METHOD AND DEVICE FOR MEASURING A BOREOOL
DE19627719A1 (en)Downhole transmitter producing coded pressure pulse signals from measured data

Legal Events

DateCodeTitleDescription
8110Request for examination paragraph 44
8125Change of the main classification

Ipc:E21B 4900

8364No opposition during term of opposition
R071Expiry of right

[8]ページ先頭

©2009-2025 Movatter.jp