






Technisches GebietTechnical area
Die vorliegende Erfindung bezieht sich auf einen Durchflussregler.The present invention relates to a flow regulator.
Technischer HintergrundTechnical background
In vielen technischen Gebieten kommen Durchflussregler zum Einsatz. Ein Anwendungsbeispiel, auf das die vorliegende Erfindung jedoch nicht beschränkt ist, sind Vorrichtungen zum Einführen oder Aufbringen von Substanzen in oder auf den Körper.Flow regulators are used in many technical fields. One application example, to which the present invention is not limited, is devices for introducing or applying substances into or onto the body.
Bei den vorgenannten Vorrichtungen handelt es sich um passive Vorrichtungen ohne Elektronik und insbesondere ohne elektrisch betriebene Aktorik. Somit sind sie händisch zu bedienen und damit potentiell fehleranfällig bzw. ermöglichen keine elektronisch gesteuerte Patientenversorgung.The aforementioned devices are passive devices without electronics and, in particular, without electrically operated actuators. Thus, they are manually operated and therefore potentially error-prone or do not allow for electronically controlled patient care.
Aufgabe der ErfindungObject of the invention
Es wäre daher wünschenswert, einen Durchflussregler bereitzustellen, welcher die Nachteile bekannter Durchflussregler zumindest weitgehend vermeidet. Insbesondere soll ein kompaktes und energiesparendes Gerät bereitgestellt werden, das es erlaubt, einen Durchfluss in diskreten Schritten zu regulieren. Ein solches Gerät kann ein medizinisches Gerät, wie beispielsweise für die Infusion oder Medikamentendosierung, sein.It would therefore be desirable to provide a flow controller that at least largely avoids the disadvantages of known flow controllers. In particular, a compact and energy-saving device should be provided that allows flow to be regulated in discrete steps. Such a device could be a medical device, for example, for infusion or drug dosing.
Allgemeine Beschreibung der ErfindungGeneral description of the invention
Diese Aufgabe wird adressiert durch einen Durchflussregler mit den Merkmalen des unabhängigen Patentanspruchs. Vorteilhafte Weiterbildungen, welche einzeln oder in beliebiger Kombination realisierbar sind, sind in den abhängigen Ansprüchen dargestellt.This problem is addressed by a flow controller having the features of the independent patent claim. Advantageous further developments, which can be implemented individually or in any combination, are presented in the dependent claims.
Im Folgenden werden die Begriffe „haben“ „aufweisen“, „umfassen“ oder „einschließen“ oder beliebige grammatikalische Abweichungen davon in nicht-ausschließlicher Weise verwendet. Dementsprechend können sich diese Begriffe sowohl auf Situationen beziehen, in welchen, neben den durch diese Begriffe eingeführten Merkmalen, keine weiteren Merkmale vorhanden sind, oder auf Situationen, in welchen ein oder mehrere weitere Merkmale vorhanden sind. Beispielsweise kann sich der Ausdruck „A hat B“, „A weist B auf“, „A umfasst B“ oder „A schließt B ein“ sowohl auf die Situation beziehen, in welcher, abgesehen von B, kein weiteres Element in A vorhanden ist (d.h. auf eine Situation, in welcher A ausschließlich aus B besteht), als auch auf die Situation, in welcher, zusätzlich zu B, ein oder mehrere weitere Elemente in A vorhanden sind, beispielsweise Element C, Elemente C und D oder sogar weitere Elemente.In the following, the terms "have", "have", "comprise", or "include", or any grammatical variations thereof, are used non-exclusively. Accordingly, these terms can refer both to situations in which, apart from the features introduced by these terms, no further features are present, or to situations in which one or more further features are present. For example, the expression "A has B", "A has B", "A comprises B", or "A includes B" can refer both to the situation in which, apart from B, no further element is present in A (i.e., to a situation in which A consists exclusively of B), and to the situation in which, in addition to B, one or more further elements are present in A, for example, element C, elements C and D, or even further elements.
Weiterhin wird darauf hingewiesen, dass die Begriffe „mindestens ein“ und „ein oder mehrere“ sowie grammatikalische Abwandlungen dieser Begriffe, wenn diese in Zusammenhang mit einem oder mehreren Elementen oder Merkmalen verwendet werden und ausdrücken sollen, dass das Element oder Merkmal einfach oder mehrfach vorgesehen sein kann, in der Regel lediglich einmalig verwendet werden, beispielsweise bei der erstmaligen Einführung des Merkmals oder Elementes. Bei einer nachfolgenden erneuten Erwähnung des Merkmals oder Elementes wird der entsprechende Begriff „mindestens ein“ oder „ein oder mehrere“ in der Regel nicht mehr verwendet, ohne Einschränkung der Möglichkeit, dass das Merkmal oder Element einfach oder mehrfach vorgesehen sein kann.It should also be noted that the terms "at least one" and "one or more," as well as grammatical variations of these terms, when used in connection with one or more elements or features and intended to express that the element or feature may be provided singly or multiple times, are generally used only once, for example when the feature or element is first introduced. When the feature or element is subsequently mentioned again, the corresponding term "at least one" or "one or more" is generally no longer used, without limiting the possibility that the feature or element may be provided singly or multiple times.
Weiterhin werden im Folgenden die Begriffe „vorzugsweise“, „insbesondere“, „beispielsweise“ oder ähnliche Begriffe in Verbindung mit optionalen Merkmalen verwendet, ohne dass alternative Ausführungsformen hierdurch beschränkt werden. So sind Merkmale, welche durch diese Begriffe eingeleitet werden, optionale Merkmale, und es ist nicht beabsichtigt, durch diese Merkmale den Schutzumfang der Ansprüche und insbesondere der unabhängigen Ansprüche einzuschränken. So kann die Erfindung, wie der Fachmann erkennen wird, auch unter Verwendung anderer Ausgestaltungen durchgeführt werden. In ähnlicher Weise werden Merkmale, welche durch „in einer Ausführungsform der Erfindung“ oder durch „in einem Ausführungsbeispiel der Erfindung“ eingeleitet werden, als optionale Merkmale verstanden, ohne dass hierdurch alternative Ausgestaltungen oder der Schutzumfang der unabhängigen Ansprüche eingeschränkt werden soll. Weiterhin sollen durch diese einleitenden Ausdrücke sämtliche Möglichkeiten, die hierdurch eingeleiteten Merkmale mit anderen Merkmalen zu kombinieren, seien es optionale oder nicht-optionale Merkmale, unangetastet bleiben.Furthermore, the terms “preferably”, “in particular”, “for example” or similar terms are used in connection with optional features, without limiting alternative embodiments. Thus, features introduced by these terms are optional features, and these features are not intended to limit the scope of the claims and in particular the independent claims. Thus, as those skilled in the art will recognize, the invention can also be carried out using other embodiments. Similarly, features introduced by “in an embodiment of the invention” or by “in an embodiment of the invention” are understood to be optional features, without limiting alternative embodiments or the scope of the independent claims. Furthermore, these introductory expressions are intended to leave untouched all possibilities of combining the features introduced thereby with other features, be they optional or non-optional.
Gemäß einem ersten Aspekt der vorliegenden Offenbarung wird ein Durchflussregler vorgeschlagen. Der Durchflussregler umfasst eine Fluideinheit. Die Fluideinheit ist mit einer Fluidquelle verbindbar. Die Fluideinheit weist mindestens einen Fluidkanal und mehrere Ventile auf. Der Durchflussregler umfasst weiterhin eine Betätigungseinheit. Die Betätigungseinheit ist mit der Fluideinheit verbindbar. Die Betätigungseinheit weist ein Gehäuse und mindestens ein Aktormodul auf. Das mindestens eine Aktormodul ist in dem Gehäuse aufgenommen. Das Aktormodul kann dabei lösbar in dem Gehäuse aufgenommen oder fest in dem Gehäuse verbaut sein. Das Aktormodul weist mindestens einen Aktor auf, der zumindest teilweise aus einem intelligenten Werkstoff hergestellt ist. Jedes Ventil weist mindestens ein Ventilbetätigungselement auf. Der Aktor ist ausgebildet, mindestens ein Ventilbetätigungselement derart zu bewegen, dass mindestens eines der Ventile wahlweise den Fluidkanal zumindest teilweise blockiert oder freigibt.According to a first aspect of the present disclosure, a flow regulator is proposed. The flow regulator comprises a fluid unit. The fluid unit is connectable to a fluid source. The fluid unit has at least one fluid channel and a plurality of valves. The flow regulator further comprises an actuating unit. The actuating unit is connectable to the fluid unit. The actuating unit has a housing and at least one actuator module. The at least one actuator module is received in the housing. The actuator module can be detachably received in the housing or permanently installed in the housing. The actuator module has at least one actuator that is at least partially made of an intelligent material. Each valve has at least one valve actuating element. The actuator is designed to move at least one valve actuating element such that at least one of the valves selectively at least partially blocks or releases the fluid channel.
Die genannten Materialien des Aktors haben den Vorteil, dass der Aktor seine Eigenschaften bzw. seinen Zustand variieren kann, da intelligente Materialien eine oder mehrere Eigenschaften haben, die sich durch äußere Reize schnell und kontrolliert verändern lassen. Intelligente Materialien besitzen insbesondere sensorische und aktorische Eigenschaften. Dabei liegen zwei verschiedene Phasen vor, die unterschiedliche Formen bzw. Strukturen aufweisen. Da diese Phasen unterschiedliche Geometrien, Formen oder Strukturen aufweisen, kann der Aktor seine Form und Abmessungen bis zu einem gewissen Grad kontrolliert verändern, um eine Bewegung eines weiteren Bauteils zu bewirken. Diese Bewegung kann zur Betätigung eines weiteren Bauteils verwendet werden, um eine Aktion wie das Umschalten zwischen mindestens zwei verschiedenen Positionen oder eine allmähliche und/oder vollständige lineare und gekrümmte Bewegung zu bewirken. Es wird ausdrücklich darauf hingewiesen, dass eine solche durch das intelligente Material des Aktuators hervorgerufene allmähliche Bewegung zur Realisierung einer Aktoranordnung verwendet werden kann, die durch eine Steuerung oder Regelung betrieben werden kann, z.B. ein Proportionalventil (z.B. zur Dosierung) oder ein Mischventil. Insbesondere wird die durch das Stellglied verursachte Bewegung zur Steuerung der Position des Ventilbetätigungselements verwendet, das wiederum zur Steuerung des Zustands eines oder mehrerer Ventile der Fluideinheit verwendet werden kann. Ferner kann der Aktor durch die Verwendung eines Flachformmaterials zur Miniaturisierung des Stellglieds verwendet werden.The aforementioned actuator materials have the advantage that the actuator can vary its properties or state, as smart materials have one or more properties that can be changed quickly and in a controlled manner by external stimuli. Smart materials, in particular, possess sensory and actuator properties. These phases consist of two distinct phases with different shapes or structures. Since these phases have different geometries, shapes, or structures, the actuator can change its shape and dimensions in a controlled manner to a certain extent in order to cause the movement of another component. This movement can be used to actuate another component to effect an action such as switching between at least two different positions or a gradual and/or complete linear and curved movement. It is expressly noted that such a gradual movement induced by the smart actuator material can be used to realize an actuator arrangement that can be operated by a control or regulation system, e.g., a proportional valve (e.g., for dosing) or a mixing valve. In particular, the movement caused by the actuator is used to control the position of the valve actuating element, which in turn can be used to control the state of one or more valves of the fluid unit. Furthermore, the actuator can be used to miniaturize the actuator by using a flat molding material.
In Abhängigkeit von der jeweiligen Anwendung kann die Betätigungseinheit mehrere Aktormodule aufweisen. Die Aktormodule können dabei als separate Aktormodule ausgebildet sein oder zu einer Aktormoduleinheit integriert oder verbunden sein.Depending on the specific application, the actuation unit can comprise multiple actuator modules. The actuator modules can be designed as separate actuator modules or integrated or connected to form an actuator module unit.
Der mindestens eine Aktor kann zumindest teilweise aus einem Formgedächtnismaterial hergestellt sein. Solche Materialien haben den Vorteil, dass der Aktor in zwei verschiedenen Phasen vorliegen kann, die unterschiedliche Formen bzw. Strukturen ermöglichen. Da diese Phasen unterschiedliche Geometrien, Formen oder Strukturen aufweisen, kann der Aktor eine Bewegung eines weiteren Bauteils bis zu einer bestimmten Ausdehnung bewirken. Diese Bewegung des weiteren Bauteils kann dazu verwendet werden, eine Aktion wie das Umschalten zwischen mindestens zwei verschiedenen Positionen oder eine allmähliche und/oder vollständig lineare und gekrümmte Bewegung zu bewirken. Es wird ausdrücklich darauf hingewiesen, dass eine solche durch den Formgedächtnisaktuator hervorgerufene allmähliche Bewegung zur Realisierung einer Aktorbaugruppe verwendet werden kann, die durch eine Steuerung oder Regelung betrieben werden kann, z.B. ein Proportionalventil (z.B. zur Dosierung) oder ein Mischventil. Insbesondere wird die Bewegung des Aktors zur Steuerung der Position des Ventilbetätigungselements verwendet, das wiederum zur Steuerung des Zustands eines oder mehrerer Ventile der Fluideinheit verwendet werden kann. Durch die Verwendung eines Formgedächtnismaterials kann der Aktor zudem miniaturisiert werden. Darüber hinaus ist die Betätigungseinheit mit der Fluideinheit verbindbar, so dass beide Teile leicht zu einer integrierten Einheit verbunden werden können und dadurch zusammenwirken.The at least one actuator can be at least partially made of a shape memory material. Such materials have the advantage that the actuator can exist in two different phases, allowing for different shapes or structures. Since these phases have different geometries, shapes, or structures, the actuator can cause a movement of another component up to a certain extent. This movement of the other component can be used to effect an action such as switching between at least two different positions or a gradual and/or completely linear and curved movement. It is expressly noted that such a gradual movement caused by the shape memory actuator can be used to realize an actuator assembly that can be operated by a control or regulation system, e.g., a proportional valve (e.g., for dosing) or a mixing valve. In particular, the movement of the actuator is used to control the position of the valve actuating element, which in turn can be used to control the state of one or more valves of the fluid unit. The use of a shape-memory material also allows for miniaturization of the actuator. Furthermore, the actuation unit can be connected to the fluid unit, allowing both parts to be easily combined into an integrated unit and thus interact with each other.
Der mindestens eine Aktor kann zumindest teilweise aus einer Formgedächtnislegierung hergestellt sein, insbesondere eine NiTi oder eine NiTi-basierte ternäre, insbesondere TiNiCu, TiNiHf, TiNiFe, TiNiCr, oder quaternäre Legierung. Solche Materialien sind besonders gut für die Anwendung der vorliegenden Erfindung geeignet und können gut verarbeitet werden.The at least one actuator can be made at least partially from a shape memory alloy in particular a NiTi or a NiTi-based ternary alloy, in particular TiNiCu, TiNiHf, TiNiFe, TiNiCr, or quaternary alloy. Such materials are particularly well suited for the application of the present invention and can be easily processed.
Der mindestens eine Aktor kann im Wesentlichen planar und insbesondere flach ausgebildet sein. Dadurch weist dieser eine geringe Höhe oder Dicke auf. Entsprechend lässt sich das Ventil kompakter bzw. niedriger herstellen. Durch planare Geometrien, die in einer Raumrichtung deutlich kleiner sind als in den beiden anderen Raumrichtungen, können insbesondere Aktoren mit einem großen Oberfläche-zu-Volumen-Verhältnis realisiert werden, die Wärme effizient abgeben und dadurch kürzere Schaltzeiten erreichen.The at least one actuator can be essentially planar and, in particular, flat. This results in a low height or thickness. Accordingly, the valve can be manufactured more compactly or lower. Planar geometries that are significantly smaller in one spatial direction than in the other two spatial directions make it possible to realize actuators with a large surface-to-volume ratio, which efficiently dissipate heat and thus achieve shorter switching times.
Die Ventilbetätigungselemente können im Wesentlichen zylindrisch, sphärisch oder keilförmig ausgebildet sein. Auch Kombinationen dieser Formen sind grundsätzlich denkbar. So kann die Form des Ventilbetätigungselements je nach Anwendungsfall entsprechend gewählt werden.The valve actuating elements can be essentially cylindrical, spherical, or wedge-shaped. Combinations of these shapes are also conceivable. Thus, the shape of the valve actuating element can be selected accordingly depending on the application.
Die Fluideinheit kann einen gemeinsamen Einlass in den Fluidkanal und einen gemeinsamen Auslass aus dem Fluidkanal aufweisen. Alle Ventile können mit dem gemeinsamen Einlass und dem gemeinsamen Auslass fluidverbunden sein. Dadurch lässt sich der Öffnungsgrad oder Öffnungsquerschnitt des Fluidkanals mittels mehrerer Ventile variieren. Insbesondere ist der Öffnungsquerschnitt des Fluidkanals und somit die Durchflussmenge durch eine endliche Anzahl von Schaltzuständen der Ventile einstellbar.The fluid unit can have a common inlet into the fluid channel and a common outlet from the fluid channel. All valves can be fluidically connected to the common inlet and the common outlet. This allows the degree of opening or the opening cross-section of the fluid channel to be varied using multiple valves. In particular, the opening cross-section of the fluid channel, and thus the flow rate, can be adjusted by a finite number of switching states of the valves.
Die Ventile können Öffnungen mit identischen Öffnungsflächen aufweisen. Dadurch können gleichmäßige Strömungsdimensionen realisiert werden.The valves can have openings with identical opening areas. This allows for uniform flow dimensions.
Alternativ können die Ventile Öffnungen mit unterschiedlichen Öffnungsflächen aufweisen. Dadurch können Strömungsdimensionen variiert werden.Alternatively, the valves can have openings with different opening areas. This allows flow dimensions to be varied.
Die Öffnungen der Ventile können Öffnungsflächen in einer absteigenden Reihenfolge aufweisen. Dadurch können Strömungsdimensionen gezielt in vorbestimmten Stufen variiert werden.The valve openings can have opening areas arranged in descending order. This allows flow dimensions to be varied in predetermined steps.
Die Öffnungsflächen der Öffnungen können derart ausgebildet sein, dass ein Durchfluss durch eine der Öffnungen der Ventile bei gleichem Differenzdruck halb so groß wie der Durchfluss durch die vorherige Öffnung ist. Da bei kleineren Öffnungen die Verlangsamung des Fluidstromes durch Reibung und Haftbedingung an der Kanalwand überproportional abnimmt im Vergleich zu größeren Öffnungen, ist es sinnvoll, die Geometrie so zu wählen, dass jeweils der Durchfluss zweier benachbarter Öffnungen sich um den Faktor 2 unterscheidet. Statt „Durchfluss bei gleichem Differenzdruck“ kann man auch vom Kv-Wert sprechen, d.h. der Kv-Werte einer Öffnung soll halb so groß sein, wie der Kv-Wert der vorherigen Öffnung.The opening areas of the openings can be designed such that the flow through one of the valve openings is half the flow through the previous opening at the same differential pressure. Since the slowing of the fluid flow due to friction and adhesion on the channel wall decreases disproportionately with smaller openings compared to larger openings, it is advisable to select the geometry so that the flow through two adjacent openings differs by a factor of 2. Instead of "flow at the same differential pressure," one can also speak of the Kv value, i.e., the Kv value of an opening should be half the Kv value of the previous opening.
Eine Öffnungsfläche einer der Öffnungen der Ventile kann halb so groß wie eine Öffnungsfläche der vorherigen Öffnung sein. Dadurch können Strömungsdimensionen gezielt in vorbestimmten Stufen bzw. diskret variiert werden.The opening area of one of the valve openings can be half the size of the previous opening. This allows flow dimensions to be varied in predetermined steps or discretely.
Die Fluideinheit kann eine Kapillarplatte mit Kapillaren aufweisen. Die Ventile können in den Kapillaren angeordnet sein. Entsprechend können die Ventile miniaturisiert sein.The fluid unit can comprise a capillary plate with capillaries. The valves can be arranged in the capillaries. Accordingly, the valves can be miniaturized.
Die Kapillaren können Öffnungen der Ventile bilden. Entsprechend können die Öffnungen der Ventile durch Freigeben oder Blockieren der Kapillaren teilweise bis vollständig geöffnet oder teilweise bis vollständig geschlossen werden.The capillaries can form openings of the valves. Accordingly, the openings of the valves can be partially or completely opened or partially or completely closed by releasing or blocking the capillaries.
Der Durchflussregler kann weiterhin ein Dichtelement umfassen. Das Dichtelement kann zum Abdichten mindestens eines Ventilsitzes eingerichtet sein. So kann jedes Ventil durch ein eigenes Dichtelement abgedeckt werden, oder alle Ventile können durch ein einziges Dichtelement abgedeckt werden, was eine flüssigkeitsdichte Anordnung ergibt.The flow regulator may further comprise a sealing element. The sealing element may be configured to seal at least one valve seat. Thus, each valve may be covered by its own sealing element, or all valves may be covered by a single sealing element, resulting in a fluid-tight arrangement.
Das Dichtelement kann aus einem Elastomer hergestellt sein. Somit kann das Dichtelement flexibel ausgebildet sein.The sealing element can be made of an elastomer. Thus, the sealing element can be designed to be flexible.
Das Dichtelement kann als Dichtmembran ausgebildet sein. Somit kann das Dichtelement vergleichsweise dünn ausgebildet sein.The sealing element can be designed as a sealing membrane. Thus, the sealing element can be comparatively thin.
Der Durchflussregler kann weiterhin eine Elektronikleiterplatte umfassen. Somit können Elektronikkomponenten vorgesehen werden.The flow controller may further include an electronic circuit board. This allows electronic components to be provided.
Die Elektronikleiterplatte kann mindestens eine Energiequelle aufweisen. Alternativ oder zusätzlich kann die Energiequelle eine externe Energiequelle sein, die mittels Kabel, einer integrierten Batterie oder einer induktiven Ladeschnittstelle verbunden ist.The electronic circuit board may have at least one power source. Alternatively or additionally, the power source may be an external power source connected via a cable, an integrated battery, or an inductive charging interface.
Die Elektronikleiterplatte kann mindestens eine Schnittstelle aufweisen, wobei die Schnittstelle zum Kommunizieren mit einer externen Elektronikvorrichtung eingerichtet ist. Beispielsweise weist die Elektronikleiterplatte einen Microcontroller, ASIC oder dergleichen auf, der die digitale Kommunikation übernimmt. Dieser kann auch Aufgaben wie effizientes Energie-Management, Überwachung des Ventilzustands und der Umgebungsbedingungen, Predictive Maintenance, Steuerung und Regelung des Ventils übernehmen.The electronic circuit board may have at least one interface, wherein the interface is configured to communicate with an external electronic device. For example, the electronic circuit board has a microcontroller, ASIC, or the like that enables digital communication. This can also perform tasks such as efficient energy management, monitoring of the valve status and environmental conditions, predictive maintenance, and control and regulation of the valve.
Die Schnittstelle kann eingerichtet sein, mit der externen Elektronikvorrichtung auf digitale Weise, kabelgebundene Weise und/oder in kabelloser Weise zu kommunizieren.The interface may be configured to communicate with the external electronic device in a digital manner, a wired manner and/or a wireless manner.
Die Elektronikleiterplatte kann einen Anschluss zum Verbinden mit einer externen Energiequelle aufweisen. Somit kann eine externe Energieversorgung angeschlossen werden.The electronic circuit board may have a connector for connecting to an external power source. This allows an external power supply to be connected.
Der Durchflussregler kann weiterhin eine Leiterplatte mit mindestens einer Leiterbahn umfassen. Der Aktor kann mit der Leiterplatte und der Leiterbahn mittels eines Befestigungselements befestigt ein. Somit kann der Aktor befestigt und mit Strom versorgt werden. Bevorzugt ist der Aktor an zwei äußeren Enden elektrisch leitfähig an Leiterbahnen angeschlossen, so dass über diese ein Heizstrom an den Aktor angelegt werden kann und das Formgedächtnismaterial des Aktors so von der Martensit- in die Austenitphase überführen kann. Dadurch strebt der Aktor in eine voreingeprägte Form, die hier bevorzugt eine planare Ausgangsform ist, und kann dabei Kraft und Stellweg aufbringen, um das Ventil bzw. die Ventilbetätigungselemente zu betätigen.The flow controller can further comprise a circuit board with at least one conductor track. The actuator can be attached to the circuit board and the conductor track by means of a fastening element. This allows the actuator to be secured and supplied with power. The actuator is preferably connected to conductor tracks at two outer ends in an electrically conductive manner, so that a heating current can be applied to the actuator via these, thus transforming the shape memory material of the actuator from the martensite to the austenite phase. As a result, the actuator strives for a pre-impressed shape, which here is preferably a planar initial shape, and can apply force and travel to actuate the valve or the valve actuating elements.
Der Aktor kann mit der Leiterplatte und der Leiterbahn mittels des Befestigungselements permanent befestigt sein. Das Befestigungselement kann ein Niet sein. Auf diese Weise kann eine Befestigung realisiert werden, die nur bei der Zerstörung derselben gelöst werden kann.The actuator can be permanently attached to the circuit board and the conductor track using a fastener. The fastener can be a rivet. This allows for a fastening that can only be removed if the board is damaged.
Die Leiterbahn kann eingerichtet sein, den Aktor mit Strom zu versorgen. Somit kann der zum Bewirken der Formveränderung, durch beispielsweise Erwärmen, im Fall von Formgedächtnislegierungen, des Aktors erforderliche Strom zugeführt werden.The conductor track can be configured to supply the actuator with power. Thus, the current required to cause the actuator to change shape, for example, by heating it in the case of shape memory alloys.
Der Durchflussregler kann weiterhin mindestens einen Positionssensor umfassen, wobei der Positionssensor zum Erfassen einer Position der Ventilbetätigungselemente eingerichtet ist. Somit kann die Stellung des Aktors beobachtet und überprüft werden.The flow controller may further comprise at least one position sensor, wherein the position sensor is configured to detect a position of the valve actuating elements. Thus, the position of the actuator can be observed and checked.
Der Aktor kann als Positionssensor ausgebildet sein oder der Positionssensor kann ein Hall-Sensor, ein kapazitiver Sensor, ein induktiver Sensor, eine resistiver Sensor, eine Photodiode oder ein Laser sein. Somit können verschiedene Arten von Positionssensoren vorgesehen werden. Der Aktor kann auch eine Selbsterfassung (sogenanntes „Self-Sensing“) des Ventilbetätigungselements ermöglichen, indem dieser selbst als Positionssensor ausgebildet ist. Beispielsweise kann die Position durch Messung des elektrischen Widerstands des Formgedächtnismaterials bestimmt werden.The actuator can be designed as a position sensor, or the position sensor can be a Hall sensor, a capacitive sensor, an inductive sensor, a resistive sensor, a photodiode, or a laser. Thus, various types of position sensors can be provided. The actuator can also enable self-sensing of the valve actuating element by being designed as a position sensor itself. For example, the position can be determined by measuring the electrical resistance of the shape memory material.
Die Ventile können als Sitz- oder Membranventil ausgebildet sein. Somit können verschiedene Arten von Ventilen realisiert werden.The valves can be designed as seat or diaphragm valves. Thus, various types of valves can be realized.
Der mindestens eine Aktor kann eingerichtet sein, mittels Variierens eines Ansteuerstroms die Ventilbetätigungselemente jeweils zwischen zwei unterschiedlichen Endstellungen zu bewegen. So kann der Aktor die Ventilbetätigungselemente zwischen einer ersten Endstellung, in der dieses das zugehörige Ventil geöffnet hat, und einer zweiten Endstellung in der dieses das zugehörige Ventil geschlossen hat, bewegen. Auch ist eine Ausbildung möglich, bei der der mindestens eine Aktor so ausgelegt ist, durch Variation eines Ansteuerstroms die Ventilbetätigungselemente stufenlos zu bewegen.The at least one actuator can be configured to move the valve actuating elements between two different end positions by varying a control current. Thus, the actuator can move the valve actuating elements between a first end position, in which it has opened the associated valve, and a second end position, in which it has closed the associated valve. A design is also possible in which the at least one actuator is configured to move the valve actuating elements continuously by varying a control current.
Die Fluideinheit kann zumindest teilweise und bevorzugt vollständig aus einem biokompatiblen und chemisch beständigen Material hergestellt sein. In jedem Fall weist das Material eine Eignung für Medizinprodukte, Medikamente und dergleichen auf. Optional kann das Material transparent sein. Optisch transparente Materialien erlauben eine Überwachung des Betriebs der Fluideinheit.The fluid unit can be made at least partially, and preferably entirely, of a biocompatible and chemically resistant material. In any case, the material is suitable for medical devices, medications, and the like. Optionally, the material can be transparent. Optically transparent materials allow monitoring of the fluid unit's operation.
Das biokompatible und chemisch beständige Material kann ein Polymer, insbesondere Polycarbonat (PC), Polymethylmethacrylat (PMMA), Polystyrol (PS), zyklisches Olefincopolymer (COC) oder Glas sein.The biocompatible and chemically resistant material can be a polymer, in particular polycarbonate (PC), polymethyl methacrylate (PMMA), polystyrene (PS), cyclic olefin copolymer (COC) or glass.
Der Durchflussregler kann weiterhin eine Pumpe, ein Fluidreservoir und/oder eine Fluidleitung umfassen, die zum Zuführen eines Fluids von der Fluidquelle zu der Fluideinheit ausgebildet sind. Dadurch kann zuverlässig ein Fluid gefördert oder transportiert werden.The flow regulator may further comprise a pump, a fluid reservoir, and/or a fluid line configured to supply a fluid from the fluid source to the fluid unit. This allows a fluid to be reliably delivered or transported.
Die Fluideinheit kann ein Wegwerfartikel sein. Beispielsweise kann es aus hygienischen Gründen erforderlich sein, dass die Fluideinheit nur einmal zu gebrauchen ist. Dahingegen kann die Betätigungseinheit wiederverwendbar sein. Somit kann die Steuerungselektronik mehrfach verwendet werden.The fluid unit can be disposable. For example, hygiene reasons may require that the fluid unit be used only once. The actuation unit, on the other hand, can be reusable. This allows the control electronics to be used multiple times.
Der Durchflussregler kann weiterhin mindestens einen Durchflusssensor und/oder Drucksensor und/oder Temperatursensor umfassen. Damit lassen sich verschiedene für die Ansteuerung der Ventile relevanten Parameter erfassen. Die Integration eines Durchflusssensors kann als direkte Steuer-/Regelgröße dienen für die integrierte Elektronik dienen, um einen gewünschten Durchfluss einzustellen. Alternativ kann ein Durchfluss (bei bekanntem Medium) auch auf Basis einer Messung des Eingangsdrucks eingestellt/geregelt werden. Da sich die Viskosität vieler Medien mit der Temperatur ändert, kann ein zusätzlicher Temperatursensor eine präzisere Einstellung des Durchflusses ermöglichen.The flow controller can further comprise at least one flow sensor and/or pressure sensor and/or temperature sensor. This allows various parameters relevant for the control of the valves to be recorded. The integration of a flow sensor can serve as a direct control variable for the integrated electronics. to set a desired flow rate. Alternatively, a flow rate (for a known medium) can also be set/controlled based on a measurement of the inlet pressure. Since the viscosity of many media changes with temperature, an additional temperature sensor can enable more precise flow adjustment.
Der Durchflusssensor und/oder Drucksensor und/oder Temperatursensor kann in dem ersten Kanalabschnitt und/oder zweiten Kanalabschnitt angeordnet sein. Insbesondere vorteilhaft ist eine Anordnung eines Drucksensors im ersten Kanalabschnitt.The flow sensor and/or pressure sensor and/or temperature sensor can be arranged in the first channel section and/or second channel section. It is particularly advantageous to arrange a pressure sensor in the first channel section.
Der Durchflussregler kann eine tragbare Vorrichtung oder eine stationäre Vorrichtung sein. Entsprechend eignet sich der Durchflussregler für eine Vielzahl von Anwendungen. Als tragbare Vorrichtung kann der Durchflussregler beispielsweise leicht und kompakt sein. Als stationäre Vorrichtung eignet sich der Durchflussregler für einen Dauerbetrieb.The flow controller can be a portable or stationary device. Accordingly, the flow controller is suitable for a wide variety of applications. As a portable device, the flow controller can be lightweight and compact, for example. As a stationary device, the flow controller is suitable for continuous operation.
Der Durchflussregler kann weiterhin mindestens eine Feder umfassen. Die Feder kann eingerichtet sein, mindestens ein Ventilbetätigungselement in Richtung zu einer vorbestimmten Position vorzuspannen. Dadurch kann das Ventilbetätigungselement in eine stabile Position gezwungen werden.The flow regulator may further comprise at least one spring. The spring may be configured to bias at least one valve actuating element toward a predetermined position. This may force the valve actuating element into a stable position.
In der vorbestimmten Position des Ventilbetätigungselements kann das Ventil den Fluidkanal blockieren oder freigeben. Entsprechend kann für das Ventil eine normalgeschlossene Funktionalität oder normal-geöffnete Funktionalität vorgesehen werden.In the predetermined position of the valve actuator, the valve can block or open the fluid channel. Accordingly, the valve can be configured for either a normally closed or normally open function.
Der Durchflussregler kann weiterhin mindestens ein Magnetelement, insbesondere ein Permanentmagnetelement, umfassen. Das Magnetelement kann eingerichtet sein, das Ventilbetätigungselements in einer vorbestimmten Position zu halten. Dadurch kann das Ventilbetätigungselement in einer stabilen Position gehalten werden.The flow regulator may further comprise at least one magnetic element, in particular a permanent magnet element. The magnetic element may be configured to hold the valve actuating element in a predetermined position. This allows the valve actuating element to be held in a stable position.
Die vorbestimmte Position kann eine von zwei stabilen Positionen des Ventilbetätigungselements sein. Dadurch kann das Ventilbetätigungselement in einer stabilen Position gehalten werden.The predetermined position may be one of two stable positions of the valve actuating element. This allows the valve actuating element to be held in a stable position.
Der Durchflussregler kann weiterhin mindestens ein Knickelement umfassen. Das mindestens eine Knickelement kann mit dem Ventilbetätigungselement verbunden sein, insbesondere das Ventilbetätigungselement berühren. Das Knickelement kann zum Bewegen des Ventilbetätigungselements in mindestens eine stabile Endposition eingerichtet sein. Derartige Knickelemente nutzen eine mechanische Vorspannung aus, um bei Krafteinwirkung in eine andere Form überzugehen. Nach Verformung verbleiben sie in der anderen Form, bis sie erneut durch Kraftaufwand verformt werden.The flow regulator can further comprise at least one bending element. The at least one bending element can be connected to the valve actuating element, in particular, contact the valve actuating element. The bending element can be configured to move the valve actuating element into at least one stable end position. Such bending elements utilize mechanical preload to transform into a different shape upon application of force. After deformation, they remain in the other shape until deformed again by applying force.
Das Knickelement kann eingerichtet sein, das Ventilbetätigungselement in der stabilen Endposition zu halten. Entsprechend wird nur Energie zum Verformen des Knickelements benötigt und ansonsten kann das Knickelement das Ventilbetätigungselement in einer stabilen Position halten.The buckling element can be configured to hold the valve actuating element in the stable end position. Accordingly, energy is only required to deform the buckling element, and otherwise the buckling element can hold the valve actuating element in a stable position.
Der Begriff „Durchflussregler“, wie er hier verwendet wird, ist ein weiter Begriff, dem seine gewöhnliche und gängige Bedeutung beigemessen werden soll, wie der Fachmann sie versteht. Der Begriff ist nicht beschränkt auf eine spezielle oder angepasste Bedeutung. Der Begriff kann, ohne Beschränkung, sich insbesondere auf jede Vorrichtung beziehen, die eingerichtet ist, einen Durchfluss eines Fluids in seiner Menge und/oder Geschwindigkeit zu steuern und insbesondere zu regeln.The term "flow controller," as used herein, is a broad term to which its ordinary and common meaning should be given, as understood by those skilled in the art. The term is not limited to any specific or adapted meaning. The term may, without limitation, refer in particular to any device designed to control, and in particular, to regulate, a flow of a fluid in terms of its quantity and/or rate.
Der Begriff „Aktor oder Aktuator“, wie er hier verwendet wird, ist ein weiter Begriff, dem seine gewöhnliche und gängige Bedeutung beigemessen werden soll, wie der Fachmann sie versteht. Der Begriff ist nicht beschränkt auf eine spezielle oder angepasste Bedeutung. Der Begriff kann, ohne Beschränkung, sich insbesondere auf ein beliebiges Element oder Bauteil beziehen, das so gestaltet ist, dass es einen Mechanismus oder ein System bewegt oder steuert. Der Aktor kann durch eine Energiequelle, typischerweise elektrischen Strom oder Wärme, betrieben werden.The term "actuator" as used herein is a broad term to be given its ordinary and common meaning as understood by those skilled in the art. The term is not limited to any specific or adapted meaning. The term may refer, without limitation, to any element or component designed to move or control a mechanism or system. The actuator may be powered by an energy source, typically electrical current or heat.
Der Begriff „intelligenter Werkstoff“, wie er hier verwendet wird, ist ein weiter Begriff, dem seine gewöhnliche und gängige Bedeutung beigemessen werden soll, wie der Fachmann sie versteht. Der Begriff ist nicht beschränkt auf eine spezielle oder angepasste Bedeutung. Der Begriff kann, ohne Beschränkung, sich insbesondere auf ein Material beziehen, das speziell entwickelt wurde, um in bestimmter Weise selbstständig auf sich verändernde Umgebungsbedingungen zu reagieren (z.B. Temperaturerhöhungen, mechanische Belastung, pH-Wert). Im weiteren Sinne können alle Werkstoffe dazu gehören, deren Eigenschaften durch aktive Steuerung (z.B. über eine elektrische Spannung) auf eine Weise beeinflusst werden können, wie es mit gewöhnlichen Materialien nicht möglich ist. Der Begriff kann sich ohne Einschränkung auf jedes Material beziehen, das eine oder mehrere Eigenschaften aufweist, die sich durch äußere Reize, wie Stress, Feuchtigkeit, elektrische oder magnetische Felder, Licht, Temperatur, pH-Wert oder chemische Verbindungen, in kontrollierter Weise erheblich verändern lassen. Intelligente Materialien bilden die Grundlage für viele Anwendungen, darunter Sensoren und Aktoren oder künstliche Muskeln, insbesondere als elektroaktive Polymere. Zu den Begriffen, die zur Beschreibung von intelligenten Materialien verwendet werden, gehören Formgedächtnismaterialien (SMM - shape memory materials), insbesondere Formgedächtnislegierungen (FGL), und Formgedächtnistechnologie. Es gibt eine Reihe von Arten von intelligenten Materialien, von denen einige bereits weit verbreitet sind. Einige nicht erschöpfende Beispiele sind piezoelektrische Materialien, Formgedächtnislegierungen, Formgedächtnispolymere, photovoltaische oder optoelektronische Materialien, elektroaktive Polymere, magnetostriktive Materialien, magnetische Formgedächtnismaterialien und temperaturabhängige Polymere.The term "smart material," as used herein, is a broad term to which its ordinary and common meaning should be given, as understood by a person skilled in the art. The term is not limited to a special or adapted meaning. The term can, without limitation, refer in particular to a material that has been specially developed to respond autonomously in a certain way to changing environmental conditions (e.g., temperature increases, mechanical stress, pH value). In a broader sense, it can include all materials whose properties can be influenced by active control (e.g., via an electrical voltage) in a way that is not possible with ordinary materials. The term can, without limitation, refer to any material that has one or more properties that can be significantly changed in a controlled manner by external stimuli, such as stress, humidity, electric or magnetic fields, light, temperature, pH value, or chemical compounds. Smart materials form the basis for many applications, including sensors and actuators or artificial muscles. cles, particularly as electroactive polymers. Terms used to describe smart materials include shape memory materials (SMMs), particularly shape memory alloys (SMAs), and shape memory technology. There are several types of smart materials, some of which are already in widespread use. Some non-exhaustive examples are piezoelectric materials, shape memory alloys, shape memory polymers, photovoltaic or optoelectronic materials, electroactive polymers, magnetostrictive materials, magnetic shape memory materials, and temperature-dependent polymers.
Der Begriff „Formgedächtnismaterial“, wie er hier verwendet wird, ist ein weiter Begriff, dem seine gewöhnliche und gängige Bedeutung beigemessen werden soll, wie der Fachmann sie versteht. Der Begriff ist nicht beschränkt auf eine spezielle oder angepasste Bedeutung. Der Begriff kann, ohne Beschränkung, sich insbesondere auf jedes Material beziehen, das die Fähigkeit hat, von einem verformten Zustand (vorübergehende Form) in seine ursprüngliche (dauerhafte) Form zurückzukehren, die durch einen externen Stimulus (Auslöser), z. B. eine Temperaturänderung, hervorgerufen wird. Solche Formgedächtnismaterialien können Formgedächtnispolymere (FGP) oder Formgedächtnislegierungen (FGL) sein. Bei einer Formgedächtnislegierung (Einweg-Effekt) handelt es sich beispielsweise um eine Legierung, die in kaltem Zustand mechanisch verformt werden kann, aber bei Erwärmung in ihre vorverformte („erinnerte“) Form zurückkehrt. Formgedächtnispolymere unterscheiden sich von Formgedächtnislegierungen durch einen Glasübergangstemperaturbereich, bei dem das Material von einer mechanisch harten in eine weiche Phase wechselt, die für den Formgedächtniseffekt verantwortlich ist. Bei Legierungen mit Formgedächtnis sind martensitische/austenitische Übergänge für den Formgedächtniseffekt verantwortlich.The term "shape memory material," as used herein, is a broad term to which its ordinary and common meaning should be given, as understood by one skilled in the art. The term is not limited to any specific or adapted meaning. The term may, without limitation, refer in particular to any material that has the ability to return from a deformed state (temporary shape) to its original (permanent) shape induced by an external stimulus (trigger), such as a change in temperature. Such shape memory materials may be shape memory polymers (SMAs) or shape memory alloys (SMAs). For example, a shape memory alloy (one-way effect) is an alloy that can be mechanically deformed when cold but returns to its pre-deformed ("remembered") shape when heated. Shape memory polymers differ from shape memory alloys in that they have a glass transition temperature range at which the material changes from a mechanically hard to a soft phase, which is responsible for the shape memory effect. In shape memory alloys, martensitic/austenitic transitions are responsible for the shape memory effect.
Der Begriff „Ventil“, wie er hier verwendet wird, ist ein weiter Begriff, dem seine gewöhnliche und gängige Bedeutung beigemessen werden soll, wie der Fachmann sie versteht. Der Begriff ist nicht beschränkt auf eine spezielle oder angepasste Bedeutung. Der Begriff kann, ohne Beschränkung, sich insbesondere auf eine Vorrichtung oder ein Objekt beziehen, das den Fluss eines Fluids (Gase oder Flüssigkeiten) durch Öffnen, Schließen oder teilweises Verschließen verschiedener Durchgänge oder Kanäle reguliert, lenkt oder steuert. Bei einem offenen Ventil fließt das Fluid in einer Richtung von höherem Druck zu niedrigerem Druck. Die Hauptbestandteile des gebräuchlichsten Ventiltyps sind der Ventilkörper, der Fluidteil und der Deckel. Die beiden letztgenannten Teile bilden das Gehäuse, das die durch das Ventil fließende Fluid (Flüssigkeit oder Gas) aufnimmt.The term "valve," as used herein, is a broad term to which its ordinary and current meaning is to be given, as understood by those skilled in the art. The term is not limited to any specific or adapted meaning. The term may, without limitation, refer in particular to a device or object that regulates, directs, or controls the flow of a fluid (gases or liquids) by opening, closing, or partially occluding various passages or channels. In an open valve, the fluid flows in a direction from higher pressure to lower pressure. The main components of the most common type of valve are the valve body, the fluid portion, and the cover. The latter two portions form the housing, which contains the fluid (liquid or gas) flowing through the valve.
Der Begriff „Ventilbetätigungselement“, wie er hier verwendet wird, ist ein weiter Begriff, dem seine gewöhnliche und gängige Bedeutung beigemessen werden soll, wie der Fachmann sie versteht. Der Begriff ist nicht beschränkt auf eine spezielle oder angepasste Bedeutung. Der Begriff kann, ohne Beschränkung, sich insbesondere auf eine Vorrichtung beziehen, die eingerichtet ist, um bei Betätigung oder Bewegung den Durchfluss eines Fluides durch Öffnen, Schließen oder teilweises Verschließen eines Durchgangs oder Kanals zu regulieren, zu lenken oder zu steuern. Ein solches Ventilbetätigungselement kann auch als Ventilkörper bezeichnet werden.The term "valve actuator," as used herein, is a broad term to be given its ordinary and customary meaning as understood by those skilled in the art. The term is not limited to any specific or adapted meaning. The term may refer, without limitation, to a device adapted, upon actuation or movement, to regulate, direct, or control the flow of a fluid by opening, closing, or partially occluding a passage or channel. Such a valve actuator may also be referred to as a valve body.
Der Begriff „vorgespannt“, wie er hier verwendet wird, ist ein weiter Begriff, dem seine gewöhnliche und gängige Bedeutung beigemessen werden soll, wie der Fachmann sie versteht. Der Begriff ist nicht beschränkt auf eine spezielle oder angepasste Bedeutung. Der Begriff kann, ohne Beschränkung, sich insbesondere auf einen vorgespannten Zustand einer Form beziehen. Mit anderen Worten, eine vorgespannte Struktur oder ein vorgespanntes Element wird in Bezug auf seine ursprüngliche Form durch äußere Stimuli in diesem Zustand gehalten. Bei Wegnahme der äußeren Stimuli kehrt die Struktur oder das Element in seine Ursprungsform zurück (ohne äußere Kräfte) und im Falle eines Formgedächtnismaterials wird die Gedächtnisform verformt.The term "prestressed," as used herein, is a broad term to which its ordinary and customary meaning should be given, as understood by one skilled in the art. The term is not limited to any specific or adapted meaning. The term may, without limitation, refer specifically to a prestressed state of a shape. In other words, a prestressed structure or element is held in that state with respect to its original shape by external stimuli. Upon removal of the external stimuli, the structure or element returns to its original shape (without external forces), and in the case of a shape-memory material, the memory shape is deformed.
Der Begriff „Kapillarplatte“, wie er hier verwendet wird, ist ein weiter Begriff, dem seine gewöhnliche und gängige Bedeutung beigemessen werden soll, wie der Fachmann sie versteht. Der Begriff ist nicht beschränkt auf eine spezielle oder angepasste Bedeutung. Der Begriff kann, ohne Beschränkung, sich insbesondere auf ein plattenförmiges Bauteil beziehen, in dem Kapillaren ausgebildet sind. Eine Platte kann ein flaches, ebenes Bauteil sein. Eine Kapillare kann ein Röhrchen oder ein langgestreckter Hohlraum mit sehr kleinem Innendurchmesser sein.The term "capillary plate," as used herein, is a broad term to be given its ordinary and common meaning as understood by one skilled in the art. The term is not limited to any specific or adapted meaning. The term may refer, without limitation, in particular to a plate-shaped component in which capillaries are formed. A plate may be a flat, planar component. A capillary may be a tube or an elongated cavity with a very small internal diameter.
Der Begriff „Leiterplatte“, wie er hier verwendet wird, ist ein weiter Begriff, dem seine gewöhnliche und gängige Bedeutung beigemessen werden soll, wie der Fachmann sie versteht. Der Begriff ist nicht beschränkt auf eine spezielle oder angepasste Bedeutung. Der Begriff kann, ohne Beschränkung, sich insbesondere auf jede Vorrichtung beziehen, die geeignet ist, eine oder mehrere Leiterbahnen zu tragen oder zu halten. Eine solche Leiterplatte kann eine gewöhnliche Leiterplatte aus einem starren Material, eine Leiterplatte aus einem flexiblen Material wie Kapton oder ein dreidimensionales Gehäuse mit darauf angebrachten Leiterbahnen sein. Der Begriff kann sich insbesondere, ohne Einschränkung, auf eine laminierte Sandwichstruktur aus leitenden und isolierenden Schichten beziehen. Bei der Leiterplatte handelt es sich vorzugsweise um eine gedruckte Schaltung (PCB) oder eine gedruckte Verdrahtungsplatte (PWB). Leiterplatten haben zwei sich ergänzende Funktionen. Die erste besteht darin, elektronische Bauteile durch Löten an den dafür vorgesehenen Stellen auf den Außenschichten anzubringen. Die zweite besteht darin, zuverlässige elektrische Verbindungen (und auch zuverlässige offene Stromkreise) zwischen den Bauteilanschlüssen in einer kontrollierten Art und Weise herzustellen, die oft als PCB-Design bezeichnet wird. Jede der leitenden Schichten ist mit einem Muster von Leitern versehen (ähnlich wie Drähte auf einer flachen Oberfläche), die die elektrischen Verbindungen auf dieser leitenden Schicht herstellen. In einem anderen Fertigungsverfahren werden Durchgangslöcher (Vias) hinzugefügt, die die Verbindungen zwischen den Lagen ermöglichen. Leiterplatten tragen elektronische Bauteile mechanisch mit Hilfe von leitenden Pads, die so geformt sind, dass sie die Anschlüsse des Bauteils aufnehmen können, und verbinden sie auch elektrisch mit Hilfe von Leiterbahnen, Ebenen und anderen Merkmalen, die aus einer oder mehreren Kupferblechschichten geätzt werden, die auf und/oder zwischen Blechschichten eines nicht leitenden Substrats laminiert sind. Die Bauteile werden im Allgemeinen auf die Leiterplatte gelötet, um sie sowohl elektrisch zu verbinden als auch mechanisch zu befestigen. Gedruckte Leiterplatten werden in fast allen elektronischen Produkten und in einigen elektrischen Produkten wie passiven Schaltkästen verwendet.The term "printed circuit board" as used herein is a broad term which should be given its ordinary and customary meaning as understood by those skilled in the art. The term is not limited to any specific or adapted meaning. The term may, without limitation, refer in particular to any device suitable for carrying or holding one or more printed circuit tracks. Such a printed circuit board may be an ordinary printed circuit board made of a rigid material, a printed circuit board made of a flexible material material such as Kapton or a three-dimensional package with conductive traces applied to it. The term can refer in particular, but not limited to, a laminated sandwich structure of conductive and insulating layers. The printed circuit board is preferably a printed circuit board (PCB) or a printed wiring board (PWB). Printed circuit boards have two complementary functions. The first is to attach electronic components by soldering them to the designated locations on the outer layers. The second is to create reliable electrical connections (and also reliable open circuits) between the component leads in a controlled manner, often referred to as PCB design. Each of the conductive layers is provided with a pattern of conductors (similar to wires on a flat surface) that establish the electrical connections on that conductive layer. In another manufacturing process, through holes (vias) are added to enable the connections between the layers. Printed circuit boards mechanically support electronic components using conductive pads shaped to accommodate the component's leads, and also electrically connect them using traces, planes, and other features etched from one or more layers of copper sheet laminated on and/or between layers of sheet metal of a non-conductive substrate. Components are generally soldered to the board for both electrical connection and mechanical attachment. Printed circuit boards are used in almost all electronic products and some electrical products such as passive control boxes.
Der Begriff „Leiterbahn“, wie er hier verwendet wird, ist ein weiter Begriff, dem seine gewöhnliche und gängige Bedeutung beigemessen werden soll, wie der Fachmann sie versteht. Der Begriff ist nicht beschränkt auf eine spezielle oder angepasste Bedeutung. Der Begriff kann, ohne Beschränkung, sich insbesondere auf eine Bahn aus einem elektrisch leitenden Material wie Kupfer oder Gold beziehen, die so gestaltet ist, dass sie eine elektrische Verbindung zwischen mindestens zwei Bauteilen herstellt.The term "conducting track," as used herein, is a broad term that should be given its ordinary and common meaning as understood by one skilled in the art. The term is not limited to any specific or adapted meaning. The term may refer, without limitation, to a track made of an electrically conductive material such as copper or gold, designed to provide an electrical connection between at least two components.
Der Begriff „permanent befestigt“, wie er hier verwendet wird, ist ein weiter Begriff, dem seine gewöhnliche und gängige Bedeutung beigemessen werden soll, wie der Fachmann sie versteht. Der Begriff ist nicht beschränkt auf eine spezielle oder angepasste Bedeutung. Der Begriff kann, ohne Beschränkung, sich insbesondere auf eine Befestigung beziehen, die nicht oder nicht ohne Zerstörung der Verbindungselemente wieder gelöst werden kann. Eine solche dauerhafte Fixierung oder Befestigung ist vorzugsweise ein Formschluss oder eine formschlüssige Befestigung. Ein nicht einschränkendes Beispiel für eine dauerhafte Befestigung ist die Befestigung von zwei Verbindungselementen durch einen Niet.The term "permanently fastened," as used herein, is a broad term to which its ordinary and customary meaning is to be given, as understood by one skilled in the art. The term is not limited to any specific or adapted meaning. The term may, without limitation, refer in particular to a fastening that cannot be released or cannot be released without destroying the connecting elements. Such a permanent fixation or fastening is preferably a positive fit or a positive-locking fastening. A non-limiting example of a permanent fastening is the fastening of two connecting elements by a rivet.
Der Begriff „Niet“, wie er hier verwendet wird, ist ein weiter Begriff, dem seine gewöhnliche und gängige Bedeutung beigemessen werden soll, wie der Fachmann sie versteht. Der Begriff ist nicht beschränkt auf eine spezielle oder angepasste Bedeutung. Der Begriff kann, ohne Beschränkung, sich insbesondere auf ein dauerhaftes mechanisches Befestigungsmittel beziehen. Vor dem Einbau besteht ein Niet aus einem glatten zylindrischen Schaft mit einem Kopf an einem Ende. Das dem Kopf gegenüberliegende Ende wird als Schwanz bezeichnet. Bei der Montage wird der Niet in ein gestanztes oder gebohrtes Loch gesetzt, und das Ende wird gestaucht oder gebogen (d. h. verformt), so dass es sich auf etwa das 1,5-fache des ursprünglichen Schaftdurchmessers ausdehnt und den Niet an seinem Platz hält. Mit anderen Worten: Durch das Schlagen oder Ziehen entsteht ein neuer „Kopf“ am Ende des Schwanzes, indem das „Schwanz“-Material abgeflacht wird, was zu einer Niete führt, die ungefähr die Form einer Hantel hat. Zur Unterscheidung der beiden Nietenenden wird der ursprüngliche Kopf als Werkskopf und das verformte Ende als Werkstattkopf oder Buck-Tail bezeichnet. Diese Art der Verbindung ermöglicht es, gleichzeitig eine formschlüssige und eine kraftschlüssige Verbindung herzustellen.The term "rivet," as used herein, is a broad term to which its ordinary and customary meaning is to be given, as understood by one skilled in the art. The term is not limited to any specific or adapted meaning. The term may, without limitation, refer specifically to a permanent mechanical fastener. Before installation, a rivet consists of a smooth cylindrical shank with a head at one end. The end opposite the head is called the tail. During installation, the rivet is placed into a punched or drilled hole, and the tail is swaged or bent (i.e., deformed) so that it expands to approximately 1.5 times the original shank diameter, holding the rivet in place. In other words, the striking or pulling process creates a new "head" at the end of the tail by flattening the "tail" material, resulting in a rivet that is roughly dumbbell-shaped. To distinguish between the two rivet ends, the original head is called the factory head, and the deformed end is called the workshop head or bucktail. This type of connection allows for both a positive and a force-fitting connection.
Der Begriff „Elektronikleiterplatte“, wie er hier verwendet wird, ist ein weiter Begriff, dem seine gewöhnliche und gängige Bedeutung beigemessen werden soll, wie der Fachmann sie versteht. Der Begriff ist nicht beschränkt auf eine spezielle oder angepasste Bedeutung. Der Begriff kann, ohne Beschränkung, sich insbesondere auf jede Vorrichtung beziehen, die geeignet ist, Leiterbahnen und elektronische Bauelemente wie eine Spannungsquelle, einen Mikrocontroller, einen Chip und dergleichen zu tragen. Eine solche Leiterplatte kann eine gewöhnliche Leiterplatte aus einem starren Material, eine Leiterplatte aus einem flexiblen Material wie Kapton oder ein dreidimensionales Gehäuse mit darauf angebrachten Leiterbahnen und elektronischen Bauteilen sein.The term "electronic circuit board," as used herein, is a broad term to which its ordinary and customary meaning should be given, as understood by one skilled in the art. The term is not limited to any specific or adapted meaning. The term may refer, without limitation, to any device capable of supporting conductive traces and electronic components such as a power source, a microcontroller, a chip, and the like. Such a circuit board may be an ordinary printed circuit board made of a rigid material, a printed circuit board made of a flexible material such as Kapton, or a three-dimensional housing with conductive traces and electronic components mounted thereon.
Der Begriff „Knickelement“, wie er hier verwendet wird, ist ein weiter Begriff, dem seine gewöhnliche und gängige Bedeutung beigemessen werden soll, wie der Fachmann sie versteht. Der Begriff ist nicht beschränkt auf eine spezielle oder angepasste Bedeutung. Der Begriff kann, ohne Beschränkung, sich insbesondere auf eine Feder beziehen, die aus einem Federstahl besteht. Der Federstahl kann dabei die Form eines Streifens oder eine andere beliebige geeignete Form aufweisen. Der Stahl ist so geprägt, dass er einen stabilen und einen metastabilen Zustand aufweist. Durch Krafteinwirkung wird er verbogen, bis er plötzlich durch Beulen den metastabilen Zustand durchläuft. Es erfolgt also ein plötzliches Umspringen an diesem Punkt. Lässt die Kraft wieder nach, erfolgt das Zurückspringen. Bekannt sind solche Knickelemente als Knackfrosch. Mechanismen, die auf vergleichbaren Prinzipien basieren, werden in vielen technischen Anwendungen benutzt. Schließ- und Haltemechanismen sind allerdings meistens bistabil, also in beiden Zuständen stabil, ausgeführt. Ein Beispiel hierfür sind Klemmen zum Verschluss von Teebeuteln. Das Prinzip wird außerdem häufig bei Haarspangen aus Blech angewandt. Hier führt jedoch nicht eine Einprägung, sondern eine Verbiegung zweier Arme und deren Vernietung zu den beiden gespannten Zuständen (bistabiles Verhalten). Eine analoge Anwendung sind Tastschalter, z. B. im Bedienteil vieler Elektronikgeräte, wie Computermäusen, die einen spürbaren Druckpunkt aufweisen sollen. Hier wird der Effekt jedoch hauptsächlich taktil wahrgenommen. Die Knackfeder ist hier auch zumeist das kontaktgebende Bauteil und wird Schnappscheibe genannt.The term "buckling element" as used herein is a broad term to which its ordinary and customary meaning should be given, as understood by those skilled in the art. The term is not limited to any specific or adapted meaning. The term may, without limitation, refer in particular to a spring consisting of spring steel. The spring steel may be in the form of a strip or any other suitable shape. The steel is stamped so that it has a stable and a metastable state. When force is applied, it is bent until it suddenly passes through the metastable state by buckling. This means that there is a sudden reversal at this point. When the force is released, it springs back. Such buckling elements are known as click-action elements. Mechanisms based on similar principles are used in many technical applications. However, closing and holding mechanisms are usually bistable, i.e. stable in both states. One example of this is clips for closing tea bags. The principle is also frequently used in sheet metal hair clips. Here, however, it is not stamping but the bending of two arms and their riveting that leads to the two tensioned states (bistable behavior). A similar application is push buttons, e.g. in the control panel of many electronic devices, such as computer mice, which are intended to have a noticeable pressure point. Here, however, the effect is mainly perceived tactilely. The click spring is usually the contact-making component and is called a snap disc.
Der Begriff „Kv-Wert“, wie er hier verwendet wird, ist ein weiter Begriff, dem seine gewöhnliche und gängige Bedeutung beigemessen werden soll, wie der Fachmann sie versteht. Der Begriff ist nicht beschränkt auf eine spezielle oder angepasste Bedeutung. Der Begriff kann, ohne Beschränkung, sich insbesondere auf ein Maß für den erzielbaren Durchsatz einer Flüssigkeit oder eines Gases durch ein Ventil beziehen und dient zur Auswahl und Dimensionierung von Ventilen. Der Wert wird in der Einheit m3/h angegeben und ist als effektiver Querschnitt interpretierbar. Der Kv-Wert wird auch als Durchflussfaktor oder als Durchflusskoeffizient bezeichnet. Der Kv-Wert entspricht dem Wasserdurchfluss durch ein Ventil (in m3/h) bei einer Druckdifferenz von etwa einem Bar (genau 0,98 bar) und einer Wassertemperatur von 5 °C - 30 °C. Je nach Ventilgröße wird er häufig auch in l/min angegeben. Ein Kv-Wert gilt nur für den zugehörigen Hub (Öffnungsgrad) eines Ventils. Der Kv-Wert eines Ventils bei Nennhub (100 % Öffnungsgrad) wird als Kvs-Wert bezeichnet. Anhand des Kvs-Wertes kann bei einem Ventil der maximal mögliche Durchsatz ermittelt werden.The term "Kv value", as used here, is a broad term which should be given its usual and common meaning as understood by a person skilled in the art. The term is not restricted to any specific or adapted meaning. The term can, without limitation, refer in particular to a measure of the achievable flow rate of a liquid or gas through a valve and is used for the selection and sizing of valves. The value is given inm³ /h and can be interpreted as an effective cross-section. The Kv value is also referred to as the flow factor or flow coefficient. The Kv value corresponds to the water flow through a valve (inm³ /h) at a pressure difference of approximately one bar (precisely 0.98 bar) and a water temperature of 5°C - 30°C. Depending on the valve size, it is often also given in l/min. A Kv value only applies to the corresponding stroke (degree of opening) of a valve. The Kv value of a valve at its nominal stroke (100% opening) is called the Kvs value. The Kvs value can be used to determine the maximum possible flow rate of a valve.
Zusammenfassend werden, ohne Beschränkung weiterer möglicher Ausgestaltungen, folgende Ausführungsformen vorgeschlagen:
Kurze Beschreibung der FigurenShort description of the characters
Weitere Einzelheiten und Merkmale ergeben sich aus der nachfolgenden Beschreibung von Ausführungsbeispielen, insbesondere in Verbindung mit den Unteransprüchen. Hierbei können die jeweiligen Merkmale für sich allein oder zu mehreren in Kombination miteinander verwirklicht sein. Die Erfindung ist nicht auf die Ausführungsbeispiele beschränkt. Die Ausführungsbeispiele sind in den Figuren schematisch dargestellt. Gleiche Bezugsziffern in den einzelnen Figuren bezeichnen dabei gleiche oder funktionsgleiche bzw. hinsichtlich ihrer Funktionen einander entsprechende Elemente.Further details and features will become apparent from the following description of exemplary embodiments, particularly in conjunction with the subclaims. The respective features can be implemented individually or in combination with one another. The invention is not limited to the exemplary embodiments. The exemplary embodiments are illustrated schematically in the figures. Identical reference numerals in the individual figures designate identical or functionally identical elements, or elements that correspond to one another in terms of their functions.
Im Einzelnen zeigen:
Beschreibung der AusführungsbeispieleDescription of the embodiments
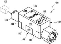
Die Fluideinheit 104 ist mit einer Fluidquelle 106 verbindbar. Die Fluideinheit 104 weist ein Fluidgehäuse 108 mit einem Anschluss 110 auf. Die Fluideinheit 104 ist mittels des Anschlusses 110 mit der Fluidquelle 106 verbindbar. Der Durchflussregler 100 kann weiterhin eine Pumpe, ein Fluidreservoir und/oder eine Fluidleitung aufweisen, die zum Zuführen eines Fluids von der Fluidquelle 106 zu der Fluideinheit 104 ausgebildet sind. Grundsätzlich kann eine Zuführung des Fluids von der Fluidquelle 106 zu der Fluideinheit 104 aber auch alternativ oder zusätzlich schwerkraftgetrieben erfolgen.The
Die Fluideinheit die Fluideinheit 104 weist mindestens einen Fluidkanal 112 auf. Die Fluideinheit 104 weist weiterhin einen gemeinsamen Einlass 114 in den Fluidkanal 112 und einen gemeinsamen Auslass 116 aus dem Fluidkanal 112 auf. Die Fluideinheit 104 weist weiterhin eine Kapillarplatte 118 mit Kapillaren 120 auf. Die Kapillarplatte 118 kann aus Glas oder Keramik hergestellt sein. Dies hat den Vorteil, dass Ventilöffnungen (/kapillaren) besonders fein und präzise gefertigt werden können, und eine besonders geringe thermische Ausdehnung bzw. generelle Abhängigkeit von den Umgebungsbedingungen zeigen. Die Kapillarplatte 118 unterteilt den Fluidkanal 112 in einen ersten Kanalabschnitt 122 und einen zweiten Kanalabschnitt 124. Dabei befindet sich der erste Kanalabschnitt 122 an eine Unterseite 126 der Kapillarplatte 118 angrenzend und der zweite Kanalabschnitt 124 befindet sich an eine Oberseite 128 der Kapillarplatte 118 angrenzend. Die Kapillaren 120 erstrecken sich von der Oberseite 128 zu der Unterseite 126 der Kapillarplatte 118 und durchdringen diese vollständig. Die Kapillaren 120 bilden somit Öffnungen 130 in der Kapillarplatte 118. Lediglich beispielhaft weist die Kapillarplatte 118 acht Kapillaren 120 bzw. Öffnungen 1301 bis 1308 auf. Es versteht sich jedoch, dass in Abhängigkeit von der jeweiligen Anwendung mehr oder weniger Kapillaren 120 bzw. Öffnungen 130 vorgesehen sein können. Die Öffnungen 1301 bis 1308 weisen unterschiedliche Öffnungsflächen auf. So weisen die Öffnungen 1301 bis 1308 Öffnungsflächen in einer absteigenden Reihenfolge auf. Die Reihenfolge ist dabei in einer Strömungsrichtung für ein Fluid von dem gemeinsamen Einlass 114 zu dem gemeinsamen Auslass 116 gesehen. Eine Öffnungsfläche einer der Öffnungen 1302 ist halb so groß wie eine Öffnungsfläche der vorherigen Öffnung 1301 in der Reihenfolge der Anordnung gesehen.The
Der Durchflussregler 100 weist weiterhin mindestens ein Dichtelement 132 auf. Der zweite Kanalabschnitt 124 ist von dem Dichtelement 132 begrenzt. Entsprechend befindet sich der zweite Kanalabschnitt 124 zwischen dem Dichtelement 132 und der Kapillarplatte 118. Das Dichtelement 132 ist aus einem Elastomer hergestellt sein. Somit ist das Dichtelement 132 flexibel ausgebildet. Das Dichtelement ist insbesondere als Dichtmembran 134 ausgebildet. Somit ist das Dichtelement 132 vergleichsweise dünn ausgebildet.The
Die Fluideinheit 104 ist zumindest teilweise und bevorzugt vollständig aus einem biokompatiblen und chemisch beständigen Material hergestellt. Das biokompatible und chemisch beständige Material ist ein Polymer, wie beispielsweise Polycarbonat (PC), Polymethylmethacrylat (PMMA), Polystyrol (PS) oder zyklisches Olefincopolymer (COC), oder Glas.The
Die Fluideinheit 104 weist mehrere Ventile 136 auf. Das Dichtelement 132 ist zum Abdichten mindestens eines Ventilsitzes 138 eingerichtet. Der Ventilsitz 138 ist beispielsweise ein Rand der Kapillarplatte 118 um die Öffnungen 130. So kann das Dichtelement 132 auf mindestens einen Ventilsitz 138 gedrückt oder von diesem entfernt werden, um den Öffnungsbereich des Fluidkanals 112 und genauer des zweiten Kanalabschnitts 124 zu steuern bzw. freizugeben oder zu blockieren, wie nachstehend ausführlicher beschrieben wird. Die Ventile 136 können entsprechend ein Sitz- oder Membranventil sein. Dabei kann jedes Ventil 136 bzw. jede Öffnung 130 durch ein eigenes Dichtelement 132 abgedeckt werden, oder alle Ventile 136 bzw. Öffnungen 130 können durch ein einziges Dichtelement 132 abgedeckt werden, wie in den
Mit anderen Worten kann das Dichtungselement 132 lokal nach unten gedrückt werden, um einzelne Ventile 136 zu schließen. Der zweite Kanalabschnitt 124 dient als eine Art Ventilkammer und ist mit dem einzigen gemeinsamen Auslass 116 verbunden. Somit sind alle Ventile 136 mit demselben Einlass 114 sowie demselben Auslass 116 verbunden und die einzelnen Öffnungsquerschnitte aller Ventile 100 im geöffneten Zustand addieren sich zu einem effektiven Gesamtquerschnitt, der für die Strömung zwischen dem gemeinsamen Einlass 114 und dem gemeinsamen Auslass 116 zur Verfügung steht. Der Durchmesser bzw. die Öffnungsflächen der Öffnungen 130, die als Kapillaren 120 ausgebildet sind, können für alle Ventile 136 gleich oder unterschiedlich sein. Vorzugsweise sind die Öffnungsdurchmesser bzw. die Öffnungsflächen unterschiedlich und so gewählt, dass die Öffnungsfläche eines jeden Ventils 136 der Hälfte der Öffnungsfläche eines anderen Ventils 136 entspricht. Im vorliegenden Beispiel eines diskreten Durchflussreglers mit 8 Ventilen 136 hat beispielsweise das Ventil 136 mit der größten Öffnung 130 einen Durchmesser von D, die anderen Ventile 136 in der Reihenfolge haben Durchmesser von 0,707*D, 0,5*D, 0,354*D, 0,25*D, 0,177*D, 0,125*D und 0,088*D, entsprechend den Querschnitten A, A/2, A/4, A/8, A/16, A/32, A/64 und A/128. Der Durchflussregler 100 ermöglicht die Einstellung des Gesamtquerschnitts zwischen 2*A und 0 in 28 = 256 Schritten, d.h. mit einer digitalen Auflösung von 8 Bit.In other words, the sealing element 132 can be pressed downward locally to close individual valves 136. The second channel section 124 serves as a type of valve chamber and is connected to the single
Die Betätigungseinheit 102 ist mit der Fluideinheit 104 verbindbar. Beispielsweise ist die Betätigungseinheit 102 mittels Schnapphaken 140 an der Fluideinheit 104 lösbar befestigbar. Es versteht sich, dass auch andere Arten von lösbaren Verbindungen zwischen der Betätigungseinheit 102 und der Fluideinheit 104 denkbar sind, wie beispielsweise Schrauben. Alternativ kann die Betätigungseinheit 102 fest bzw. unlösbar mit der Fluideinheit 104 verbunden sein. Die Betätigungseinheit 102 weist ein Gehäuse 142 auf. An dem Gehäuse 142 sind die Schnapphaken 140 angeordnet. Die Betätigungseinheit 102 und die Fluideinheit 104 sind derart miteinander verbunden, dass sie in einer gemeinsamen Schnittstellenebene 144 miteinander interagieren.The
Die Betätigungseinheit 102 kann über einen Bildschirm 146 und eine oder mehrere Tasten 148 verfügen, wie beispielsweise zwei Tasten 148. Es versteht sich, dass mehr oder weniger als ein Bildschirm 146 und zwei Tasten 148 vorgesehen sein können. Der diskrete Durchflussregler kann für die Dosierung von Medikamenten, Schmerzmitteln, Kochsalzlösung, Nährstoffen, Getränken usw. verwendet werden. Er kann zur Patientenbehandlung in der Medizin eingesetzt werden, z. B. in Kombination mit Infusionsbeuteln und/oder Pumpen.The
Die Betätigungseinheit 102 weist mindestens ein Aktormodul 150 auf. Das Gehäuse 140 ist zum Aufnehmen mehrerer Aktormodule 150 ausgebildet. Das mindestens eine Aktormodul 150 ist in dem Gehäuse 142 aufgenommen. Die Betätigungseinheit 102 kann mehrere Aktormodule 150 aufweisen. Die Aktormodule 150 können separat ausgebildet sein oder zu einer Einheit integriert bzw. verbunden sein. Nachstehend werden einige Beispiele für Aktormodule 150 beschrieben, die bei der Betätigungseinheit 102 verwendet werden können.The
Das Aktormodul 150 umfasst mindestens einen Aktor 152, der zumindest teilweise aus einem intelligenten Material besteht. Das intelligente Material ist vorzugsweise ein Formgedächtnismaterial wie eine Formgedächtnislegierung, insbesondere NiTi oder eine ternäre, insbesondere TiNiCu, TiNiHf, TiNiFe, TiNiCr, oder quaternäre Legierung auf NiTi-Basis. Der Aktor 152 ist im Wesentlichen flach geformt. Der Aktor 152 hat eine Dicke von 10 µm bis 200 µm, vorzugsweise 15 µm bis 180 µm und noch bevorzugter 20 µm bis 50 µm, wie z. B. 25 µm. Die Verwendung von dünnen, strukturierten Formgedächtnislegierungen ermöglicht eine hohe Packungsdichte sowie Platz- und Gewichtseinsparungen. Derartige Aktoren 152 benötigen weniger elektrische Antriebsleistung als herkömmliche Aktoren, wie z. B. Solenoide, und begrenzen daher die Wärmezufuhr zum Fluidsystem, was insbesondere bei der Handhabung von biologischem Probenmaterial wichtig ist. Die Aktoren 152 ermöglichen ein schnelleres Schalten als drahtförmige Aktoren aus einem Formgedächtnismaterial, da sie die Wärme effizienter an die Umgebung ableiten.The
Das Aktormodul 150 umfasst ferner mindestens ein Ventilbetätigungselement 154. Das Ventilbetätigungselement 154 weist lediglich beispielhaft eine zylindrische Form auf. Insbesondere ist das Ventilbetätigungselement 154 in der vorliegenden Ausführungsform als Stößel ausgebildet. Der Aktor 152 ist so ausgebildet, dass er das mindestens eine Ventilbetätigungselement 154 so bewegt, dass mindestens eines der Ventile 136 den Fluidkanal 104 selektiv sperrt oder öffnet, wie im Folgenden noch näher beschrieben wird. Das Aktormodul 150 umfasst ein Rahmenteil 156. Das Rahmenteil 156 kann mehrteilig wie beispielweise zweiteilig ausgebildet sein und ein Oberteil 158 und ein Unterteil 160 aufweisen. Das Rahmenteil 156 umfasst eine Stirn- oder Vorderfläche 162. Die Vorderfläche 162 befindet sich an dem Unterteil 160. Das Ventilbetätigungselement 154 ist in Bezug auf die Vorderfläche 162 zumindest zwischen einer inneren Position, in der das Ventilbetätigungselement 154 zumindest teilweise in das Innere des Rahmenteils 156 zurückgezogen ist, und einer äußeren Position, in der das Ventilbetätigungselement 154 zumindest teilweise von der Vorderfläche 162 und vom Rahmenteil 156 weg vorsteht, linear und axial beweglich. Das Rahmenteil 156 definiert mindestens eine Führung 164, die so gestaltet ist, dass sie das Ventilbetätigungselement 154 linear führt.The
Die Betätigungseinheit 102 hat die Funktion, eine aktive Steuerung der Ventile 136 innerhalb der Fluideinheit 104 bereitzustellen. Zu diesem Zweck umfasst die Betätigungseinheit 102 eine Vielzahl von Aktormodulen 150, die dafür ausgelegt sind, die Ventilbetätigungselemente zu verschieben und dadurch den Öffnungsgrad jedes Ventils 136 zu steuern. Die Betätigungseinheit 102 bietet die Möglichkeit, jeden der Aktoren 152 einzeln zu aktivieren. Wie bereits erwähnt, sind die Aktoren 152 elektrisch leitfähig und ihr Formgedächtnis wird durch Anlegen eines Heizstroms durch den Aktor 152 aktiviert. Alternativ kann die Beheizung der Aktoren 152 auch durch einen Laser, eine Infrarotlichtquelle, eine externe Widerstandsheizung, eine Induktionsspule oder ein Peltier-Element erfolgen. Jedes Aktormodul 150 implementiert einen bestimmten Ventilschaltmodus, z. B. Schließer (normalerweise geöffnet), Öffner (normalerweise geschlossen), Proportionalsteuerung, bistabil oder multistabil.The
Jedes Ventilbetätigungselement 154 ist in dem Unterteil 160 des Aktormoduls 150 in der Führung 164 geführt, um eine stabile lineare Bewegung mit geringer Reibung zu gewährleisten. Das Ventilbetätigungselement 154 und die Ventilbetätigungselementführung 164 sind geometrisch so gestaltet, dass sich das Ventilbetätigungselement 154 zwischen einer in den
Das Aktormodul 150 umfasst bei der gezeigten Ausführungsform insbesondere zwei Aktoren 152, 152' aus einem Formgedächtnismaterial. Die mindestens zwei Aktoren 152, 152' sind in entgegengesetzte Richtungen vorgespannt. Insbesondere ist ein erster Aktor 152 oberhalb des Ventilbetätigungselements 154 so angeordnet, dass er aus seiner Gedächtnisform in Richtung des Ventilbetätigungselements 154 bzw. einer Schnittstellenebene 144 zwischen der Betätigungseinheit 102 und der Fluideinheit 104 vorausgelenkt wird. Oberhalb des ersten Aktors 152 befindet sich ein Permanentmagnet 166 in einer Linearführung 168, z.B. einer Durchgangsbohrung, und oberhalb des Permanentmagneten 166 ist ein zweiter Aktor 152' so angeordnet, dass er aus seiner Gedächtnisform heraus vom Ventilbetätigungselement 154 bzw. der Schnittstellenebene 144 weg vorausgelenkt wird. Die Länge des Permanentmagneten 166 und der Abstand zwischen dem ersten Aktor 152 und dem zweiten Aktor 152' sind so gewählt, dass die Aktoren 152, 152' ein antagonistisches Paar bilden und dass, wenn ein Aktor 152, 152' in seine Gedächtnisform überführt wird, z.B. durch elektrische Erwärmung, der andere Aktor 152, 152' gezwungen wird, sich in eine ausgelenkte Form zu verformen. Die Aktoren 152', 152' können auf Leiterplatten 170, 170', wie z. B. gedruckte Leiterplatten, montiert sein. In der vorliegenden Ausführungsform sind die Aktoren 152, 152' mittels Nieten 172 dauerhaft auf den Leiterplatten 170, 170' befestigt. So ist der erste Aktor 152 auf einer ersten Leiterplatte 170 mittels Nieten 172 befestigt und der zweite Aktor 152' ist auf einer zweiten Leiterplatte 170' mittels Nieten 172 befestigt. Zwei weichmagnetische Endanschläge 174, 174', nämlich ein erster weichmagnetischer Endanschlag 174 und ein zweiter weichmagnetischer Endanschlag 174', sind oberhalb und unterhalb des Permanentmagneten 166 so angeordnet, dass sie den linearen Bewegungshub des Permanentmagneten 166 begrenzen und ihn entweder am unteren Endanschlag 174 oder am oberen Endanschlag 174' in einer stabilen Position halten. Der untere weichmagnetische Endanschlag 174 befindet sich unterhalb des unteren Aktors 152 und der obere weichmagnetische Endanschlag 174' befindet sich oberhalb des oberen Aktors 152'. Die Aktoren 152, 152' und ihre Vorauslenkung sind so positioniert und dimensioniert, dass jeder Aktor 152, 152', wenn er z. B. durch einen kurzen Heizimpuls in seine Gedächtnisform gebracht wird, die Magnetkraft zwischen dem Permanentmagneten 166 und dem weichmagnetischen Endanschlag 174', der dem Aktor 152, 152' am nächsten liegt, überwinden, den Permanentmagneten 166 zum gegenüberliegenden weichmagnetischen Endanschlag 174 bewegen und dadurch den gegenüberliegenden Aktor 152, 152' in eine ausgelenkte Form auslenken kann. Dieser Mechanismus erfordert nur Strom für das Umschalten zwischen den beiden stabilen Positionen des Permanentmagneten 166. Der untere weichmagnetische Endanschlag 174 hat eine Öffnung, die einen physischen Kontakt zwischen dem Ventilbetätigungselement 154 und dem Permanentmagneten 166 ermöglicht. Der untere Aktor 152 kann eine entsprechende Öffnung haben, muss aber nicht. Der Permanentmagnet 166 bzw. das Ventilbetätigungselement 154 sind so geformt, dass der Permanentmagnet 166 in seiner unteren stabilen Position am Endanschlag 174 das Ventilbetätigungselement 154 in seiner inneren Endposition hält, d. h. im Zustand des geschlossenen Ventils, wie in den
Der mindestens eine Aktor 152 ist ausgebildet, mindestens ein Ventilbetätigungselement 154 derart zu bewegen, dass mindestens eines der Ventile 136 wahlweise den Fluidkanal 112 zumindest teilweise blockiert oder freigibt. Die Ventilbetätigungselemente 154 sind insbesondere eingerichtet, das Dichtelement 132 zu berühren, um den mindestens einen Einlass in den Fluidkanal 112 und/oder den Auslass 116 aus dem Fluidkanal 112 wahlweise zumindest teilweise zu blockieren oder freizugeben. So wird bei einer Betätigung des Ventilbetätigungselements 154 das Dichtelement 132 auf den Ventilsitz 138 gedrückt und so die entsprechende Öffnung 130 blockiert.The at least one
Neben dem Aktormodul 150 können eine Leiterplatte zur Ansteuerung der Aktormodule 46, ein Mikrocontroller, eine Batterie, eine Ladeschnittstelle für die Batterie, z.B. Kabelstecker wie USB oder kabellose Ladespule, eine Schnittstelle für kabelgebundene Kommunikation, z.B. USB, und/oder eine Schnittstelle für kabellose Kommunikation, z.B. Wifi, Bluetooth, Infrarot und dergleichen, vorgesehen sein. Die Aktormodule 150 sind vorzugsweise als einkanalige Aktormodule mit bistabiler Funktionalität ausgeführt, um Energie zu sparen und eine lange Batterielebensdauer zu ermöglichen. Für bestimmte Anwendungen kann es jedoch auch vorteilhaft sein, normal geschlossene Aktormodule 150 zu verwenden, um sicherzustellen, dass ein Durchfluss bei einem Stromausfall vollständig gestoppt wird, oder normal offene Aktormodule 150, um einen bestimmten Mindestdurchfluss oder eine Druckentlastung bei einem Stromausfall zu gewährleisten. Die Betätigungseinheit 102, insbesondere das Öffnen und Schließen jedes der Aktormodule 150, der Ventile 136 und der Öffnungen 130 kann entweder von außen über die Kommunikationsschnittstelle oder durch Drücken der Tasten 148 gesteuert werden. Auf dem Bildschirm 146 können Informationen über den aktuellen Öffnungszustand des Durchflussreglers, z.B. als Prozentsatz der maximal möglichen Öffnung, Informationen über den Batteriezustand und die externe Kommunikation angezeigt werden.In addition to the
Das in den
Der Vorteil eines einkanaligen Aktormoduls 150 mit Schließfunktion ist, dass es ein Ventil 136 für beliebige Zeitintervalle offen halten kann, ohne Strom zu verbrauchen. Dies ist vor allem dann von Vorteil, wenn ein Ventil 136 die meiste Zeit offen sein muss, oder wenn ein Ventil 136 bei einem Ausfall der Stromversorgung, z.B. aus Sicherheitsgründen, offen sein muss.The advantage of a single-
Das in den
Der Vorteil eines einkanaligen Aktormoduls 150 mit stromlos geschlossener Funktion ist, dass es ein Ventil 136 über beliebige Zeitintervalle geschlossen halten kann, ohne Strom zu verbrauchen. Dies ist insbesondere dann von Vorteil, wenn ein Ventil 136 die meiste Zeit geschlossen sein muss oder wenn ein Ventil 136 bei einem Ausfall der Stromversorgung, z.B. aus Sicherheitsgründen, geschlossen sein muss.The advantage of a single-
Das Einkanal-Aktormodul 150 kann derart modifiziert werden, dass es eine normal-geöffnete Funktion bzw. Funktionalität aufweist. In diesem Fall wird die Feder 178 so angeordnet, dass sie das Ventilbetätigungselement 154 in Richtung geöffneter Stellung vorspannt. Zum Schließen des Ventils 136 muss der Aktor 152 bestromt werden und die Vorspannungskraft der Feder 178 überwinden. Alternativ kann die Membran 134 derart in Richtung der Ventilsitze vorgespannt montiert sein, dass sie selbst die Kraft zum Öffnen des Ventils 136 bei unbestromtem Aktor 152 aufbringt, so dass in diesem Fall auf eine zusätzliche Feder verzichtet werden kann.The single-
Das Aktormodul 150 umfasst mehrere erste Aktoren 152 und mehrere Ventilelemente 154. Genauer weist das Aktormodul 150 acht erste Aktoren 152 auf, die gemeinsam und nebeneinander auf einer ersten Leiterplatte 170 befestigt sind. Weiterhin weist das Aktormodul 150 acht Ventilelemente 154 auf, die jeweils in dem Unterteil 160 des Aktormoduls 150 geführt sind, um eine stabile lineare Bewegung mit geringer Reibung zu gewährleisten. Dabei ist jeweils ein erster Aktor 152 einem Ventilelement 154 zugeordnet.The
Das Aktormodul 150 umfasst bei der gezeigten Ausführungsform weiterhin mehrere zweite Aktoren 152' aus einem Formgedächtnismaterial. Genauer weist das Aktormodul 150 acht zweite Aktoren 152' auf, die gemeinsam und nebeneinander auf einer zweiten Leiterplatte 170' befestigt sind. Die ersten und zweiten Aktoren 152, 152' sind in entgegengesetzte Richtungen vorgespannt. Aus Gründen der Übersichtlichkeit sind in den
Zwischen den ersten Aktoren 152 und den zweiten Aktoren 152' sind mehrere Knickelemente 182 angeordnet. Genauer sind zwischen den ersten Aktoren 152 und den zweiten Aktoren 152' acht Knickelemente 182 angeordnet. Die Knickelemente 182 sind nebeneinander an einer gemeinsamen Trägerplatte 184 angeordnet. Jeweils ein erster Aktor 152 und ein zweiter Aktor 152' ist einem der Knickelemente 182 zugeordnet. Dabei berühren Jeweils ein erster Aktor 152 und ein zweiter Aktor 152' dass zugeordnete Knickelement 182 auf gegenüberliegenden Seiten, d.h. Oberseite und Unterseite. Jedes Knickelement 182 ist zum Bewegen des zugeordneten Ventilbetätigungselements 154 in mindestens eine stabile Endposition eingerichtet. Insbesondere ist das Knickelement 182 eingerichtet, das zugeordnete Ventilbetätigungselement 154 in der stabilen Endposition zu halten. Das Knickelement 182 wirkt als Federelement und hält das Ventilbetätigungselement 154 jeweils auch ohne die Kraft eines bestromten Aktors 152, 152' stabil in einer Halteposition fest, nachdem es ein Aktor 152, 152' dorthin bewegt hat. Für das Überführen des Knickelements 182 von einer in die jeweils andere Endstellung wird eine Kraft benötigt. Dies wird durch zwei antagonistisch zueinander wirkende Aktoren 152, 152' realisiert bzw. bewirkt. Mit anderen Worten muss jeweils immer einer des ersten oder zweiten Aktors 152, 152' aktiviert bzw. bestromt werden, um die zum Verformen des Knickelements 182 erforderliche Kraft aufzubringen. Ist das Knickelement 182 einmal von einem des ersten oder zweiten Aktors 152, 152' verformt, wie beispielsweise der in
BezugszeichenlisteList of reference symbols
ZITATE ENTHALTEN IN DER BESCHREIBUNGQUOTES CONTAINED IN THE DESCRIPTION
Diese Liste der vom Anmelder aufgeführten Dokumente wurde automatisiert erzeugt und ist ausschließlich zur besseren Information des Lesers aufgenommen. Die Liste ist nicht Bestandteil der deutschen Patent- bzw. Gebrauchsmusteranmeldung. Das DPMA übernimmt keinerlei Haftung für etwaige Fehler oder Auslassungen.This list of documents submitted by the applicant was generated automatically and is included solely for the convenience of the reader. This list is not part of the German patent or utility model application. The DPMA assumes no liability for any errors or omissions.
Zitierte PatentliteraturCited patent literature
| Application Number | Priority Date | Filing Date | Title | 
|---|---|---|---|
| DE102023210274.9ADE102023210274A1 (en) | 2023-10-19 | 2023-10-19 | flow regulator | 
| Application Number | Priority Date | Filing Date | Title | 
|---|---|---|---|
| DE102023210274.9ADE102023210274A1 (en) | 2023-10-19 | 2023-10-19 | flow regulator | 
| Publication Number | Publication Date | 
|---|---|
| DE102023210274A1true DE102023210274A1 (en) | 2025-04-24 | 
| Application Number | Title | Priority Date | Filing Date | 
|---|---|---|---|
| DE102023210274.9APendingDE102023210274A1 (en) | 2023-10-19 | 2023-10-19 | flow regulator | 
| Country | Link | 
|---|---|
| DE (1) | DE102023210274A1 (en) | 
| Publication number | Priority date | Publication date | Assignee | Title | 
|---|---|---|---|---|
| EP0110685A1 (en)* | 1982-11-30 | 1984-06-13 | Beta Phase Inc. | Controlled flow rate intravenous apparatus employing shape-memory flow-control element | 
| US20090113996A1 (en)* | 2007-10-04 | 2009-05-07 | Baxter International Inc. | System and method for measuring liquid viscosity in a fluid delivery system | 
| US20130249687A1 (en)* | 2006-02-09 | 2013-09-26 | Deka Products Limited Partnership | Adhesive and Peripheral Systems and Methods for Medical Devices | 
| Publication number | Priority date | Publication date | Assignee | Title | 
|---|---|---|---|---|
| EP0110685A1 (en)* | 1982-11-30 | 1984-06-13 | Beta Phase Inc. | Controlled flow rate intravenous apparatus employing shape-memory flow-control element | 
| US20130249687A1 (en)* | 2006-02-09 | 2013-09-26 | Deka Products Limited Partnership | Adhesive and Peripheral Systems and Methods for Medical Devices | 
| US20090113996A1 (en)* | 2007-10-04 | 2009-05-07 | Baxter International Inc. | System and method for measuring liquid viscosity in a fluid delivery system | 
| Publication | Publication Date | Title | 
|---|---|---|
| DE60119970T2 (en) | THROUGH ELECTRICALLY ACTIVE POLYMERS, OR VALVES ACTUATED THROUGH MOLDED MATERIALS, AND DEVICE AND METHOD OF USE THEREOF | |
| EP0951308B1 (en) | Medicament dosing system | |
| DE60122749T2 (en) | MICROELECTROMECHANICAL ELECTROSTATIC VALVE DEVICE WITH FLEXIBLE MEMBRANES AND THEIR MANUFACTURING METHOD | |
| DE60226160T2 (en) | MEMBRANE OF MEMORY METAL WITH IMPROVED TEMPERATURE CONTROL | |
| DE102013100865B4 (en) | Valve connector | |
| DE69410487T2 (en) | MICRO PUMP | |
| EP0884511B1 (en) | Miniaturized valve device | |
| EP2531760B1 (en) | Micro-fluidic component for manipulating a fluid, and microfluidic chip | |
| DE112013007683T5 (en) | SMA valve for controlling the supply of air to an air cell in a vehicle seat | |
| DE102013201034B4 (en) | Microelectromechanical fluid control device | |
| WO2005016529A1 (en) | Flow cell consisting of layers and connection means | |
| EP1076767B1 (en) | Microvalve | |
| EP1344028A1 (en) | Pipette system and pipette array | |
| DE4138491C2 (en) | Micromechanical valve for micromechanical dosing devices | |
| WO2000070224A1 (en) | Micromechanic pump | |
| DE102018200635A1 (en) | Shape memory actuator device and valve based on this actuator device | |
| WO2013014129A1 (en) | Operating device | |
| WO2011000738A1 (en) | Valve | |
| DE102023210274A1 (en) | flow regulator | |
| DE102013013545A1 (en) | Vacuum generator device | |
| DE4223067C2 (en) | Micromechanical flow limiter in a multilayer structure | |
| DE102012005992B3 (en) | Bistable actuator, actuator assembly, method of actuation and use | |
| EP2853792B1 (en) | Device for regulating the flow of a fluid | |
| DE102011075127B4 (en) | Microvalve structure with a polymer actuator and Lab-on-a-chip module | |
| DE102022212011A1 (en) | Valve | 
| Date | Code | Title | Description | 
|---|---|---|---|
| R012 | Request for examination validly filed | ||
| R079 | Amendment of ipc main class | Free format text:PREVIOUS MAIN CLASS: A61M0005172000 Ipc:A61M0005168000 | |
| R016 | Response to examination communication |