

Stand der TechnikState of the art
Die Erfindung geht von einer Vorrichtung oder einem Verfahren nach Gattung der unabhängigen Ansprüche aus. Gegenstand der vorliegenden Erfindung ist auch ein Computerprogramm.The invention is based on a device or a method according to the class of the independent claims. The present invention also relates to a computer program.
Synthetische Fahrzeugsounds können in Fahrzeugen verwendet werden, um die auf einen Insassen einwirkenden Warnsignale und die auf einen Insassen einwirkende Geräuschkulisse zu verbessern. Dabei zielt die Geräuschkulisse eher auf den Fahrkomfort ab, und spiegelt beispielsweise einen sogenannten Marken-Sound, eine Qualität oder eine Wertigkeit. Warnsignale können beispielsweise optimiert werden, damit sie auch schnell wahrgenommen werden und gehandelt werden kann.Synthetic vehicle sounds can be used in vehicles to improve the warning signals and background noise affecting an occupant. The background noise is more aimed at driving comfort and reflects, for example, a so-called brand sound, quality or value. Warning signals can be optimized, for example, so that they can be quickly perceived and acted upon.
Offenbarung der Erfindungdisclosure of the invention
Vor diesem Hintergrund werden mit dem hier vorgestellten Ansatz ein Verfahren zum Ermitteln eines Gesamtsignals, das ein für einen Insassen eines Fahrzeugs hörbares akustisches Gesamtgeräusch simuliert, um einen Sound für das Fahrzeug zu entwickeln, weiterhin eine Vorrichtung, die dieses Verfahren verwendet, sowie schließlich ein entsprechendes Computerprogramm gemäß den Hauptansprüchen vorgestellt. Durch die in den abhängigen Ansprüchen aufgeführten Maßnahmen sind vorteilhafte Weiterbildungen und Verbesserungen der im unabhängigen Anspruch angegebenen Vorrichtung möglich.Against this background, the approach presented here presents a method for determining an overall signal that simulates an overall acoustic noise audible to an occupant of a vehicle in order to develop a sound for the vehicle, a device that uses this method, and finally a corresponding computer program according to the main claims. The measures listed in the dependent claims enable advantageous further developments and improvements of the device specified in the independent claim.
Wenn reale Fahrzeuggeräusche bereits bei der Entwicklung eines für einen Insassen des Fahrzeugs wahrnehmbaren Sound berücksichtigt werden, kann Zeit und Aufwand für eine nachträgliche Nachjustierung am Fahrzeug selbst eingespart werden. Optional kann der Sound ohne Messung am Fahrzeug selbst entwickelt werden. Beispielsweise kann dadurch eine für einen Insassen wahrnehmbare Geräuschkulisse und zusätzlich oder alternativ können auf den Insassen einwirkende Warnsignale optimiert werden.If real vehicle noises are taken into account when developing a sound that can be perceived by a vehicle occupant, time and effort for subsequent adjustments to the vehicle itself can be saved. Optionally, the sound can be developed without measuring the vehicle itself. For example, this can be used to optimize a background noise that can be perceived by an occupant and, in addition or as an alternative, warning signals that affect the occupant.
Ein Verfahren zum Ermitteln eines Gesamtsignals, das ein für einen Insassen eines Fahrzeugs hörbares akustisches Gesamtgeräusch simuliert, umfasst die folgenden Schritte:
Bei dem Fahrzeug kann es sich um ein Fahrzeug zur Personenbeförderung handeln, beispielsweise um ein Elektrofahrzeug. Der zu entwickelnde Sound kann verwendet werden, um unter Verwendung eines Audiosystems des Fahrzeugs ein für einen Insassen des Fahrzeugs wahrnehmbares Geräusch zu erzeugen. Unter einem simulierten Geräusch kann ein Geräusch verstanden werden, das der Insasse des Fahrzeugs wahrnehmen würde. Das Sounddesignsignal kann somit ein Audiosignal repräsentieren, das in das Audiosystem eingespeist werden könnte, um dem Insassen das synthetische Geräusch erleben zu lassen. Dabei kann das von dem Insassen wahrgenommene synthetische Geräusch von dem durch das Sounddesignsignal repräsentierten Geräusch abweichen, da dieses durch den Übertragungspfad des Fahrzeugs verändert werden kann. Der Übertragungspfad kann sich sowohl auf einen elektrischen Übertragungspfad des Audiosystems als auch auf einen akustischen Übertragungspfad eines Innenraums des Fahrzeugs beziehen. Das Fahrzeugeigengeräusch kann ein während des Betriebs des Fahrzeugs entstehendes Geräusch darstellen, das beispielsweise durch Antriebskomponenten des Fahrzeugs oder durch den Fahrtwind hervorgerufen sein kann. Bevorzugt ist das Eigengeräuschsignal ein während des Betriebs des Fahrzeugs, bspw. in einem vorgegebenen oder vorgebbaren Fahrzeugzustand und/oder in einer vorgegebenen oder vorgebbaren Fahrzeugsituation, erfasstes Fahrzeugeigengeräusch. Der Fahrzeugzustand ist beispielsweise durch eine Geschwindigkeit oder eine Beschleunigung des Fahrzeugs gekennzeichnet. Unterschiedliche Fahrzeugzustände können unterschiedliche Fahrzeugeigengeräusche zu Folge haben. Eine Integration der Fahrsituation kann beispielsweise im Zusammenhang mit Warnsounds relevant sein. Durch eine Umfeldbeobachtung vom Fahrzeug ist oft auch eine Information über die Fahrsituation vorhanden, was erst noch mal keine Auswirkung auf den Fahrzeugzustand haben muss. Das Gesamtsignal kann das für den Insassen des Fahrzeugs wahrnehmbare akustisches Gesamtgeräusch repräsentieren, das sich aus dem synthetischen Geräusch und dem Fahrzeugeigengeräusch zusammensetzen kann. In dem das Gesamtsignal bereits in der Entwicklungsphase des Sounds ermittelt wird, kann das zugrundeliegende synthetisch generierte Sounddesignsignal frühzeitig im Entwicklungsprozess bewertet und gegebenenfalls nachjustiert werden. Dies ist einfach durch die Verwendung eines veränderten Sounddesignsignals möglich. Eine entsprechende Bewertung kann automatisiert oder manuell durchgeführt werden. Eine automatisierte Bewertung kann beispielsweise durch einen Vergleich des Gesamtsignals mit einem vorgegebenen Sollsignal durchgeführt werden.The vehicle can be a vehicle for transporting people, for example an electric vehicle. The sound to be developed can be used to generate a noise that is perceptible to an occupant of the vehicle using an audio system of the vehicle. A simulated noise can be understood to be a noise that the occupant of the vehicle would perceive. The sound design signal can thus represent an audio signal that could be fed into the audio system to allow the occupant to experience the synthetic noise. The synthetic noise perceived by the occupant can differ from the noise represented by the sound design signal, since this can be changed by the transmission path of the vehicle. The transmission path can refer to both an electrical transmission path of the audio system and an acoustic transmission path of an interior of the vehicle. The vehicle's own noise can represent a noise that occurs during operation of the vehicle, which can be caused, for example, by the vehicle's drive components or by the wind. Preferably, the inherent noise signal is an inherent noise of the vehicle recorded during operation of the vehicle, for example in a given or definable vehicle state and/or in a given or definable vehicle situation. The vehicle state is characterized, for example, by a speed or an acceleration of the vehicle. Different vehicle states can result in different inherent noises of the vehicle. An integration of the driving situation can be relevant, for example, in connection with warning sounds. By observing the surroundings of the vehicle, information about the driving situation is often also available, which does not necessarily have an effect on the vehicle state. The overall signal can represent the overall acoustic noise perceptible to the occupants of the vehicle, which can be made up of the synthetic noise and the inherent noise of the vehicle. In the If the overall signal is determined during the development phase of the sound, the underlying synthetically generated sound design signal can be evaluated early in the development process and adjusted if necessary. This is easily possible by using a modified sound design signal. The corresponding evaluation can be carried out automatically or manually. An automated evaluation can be carried out, for example, by comparing the overall signal with a specified target signal.
Um unterschiedliche synthetischen Geräusche bewerten zu können, kann im Schritt des Einlesens ein weiteres synthetisch generiertes Sounddesignsignal eingelesen werden, das dem Fahrzeugzustand und/oder der Fahrsituation zugeordnet ist. Im Schritt des Bestimmens kann ein weiteres Soundsignal unter Verwendung des weiteren Sounddesignsignals und der Systemantwort bestimmt werden. Im Schritt des Ermittelns kann ein weiteres Gesamtsignal unter Verwendung des Eigengeräuschsignals und des weiteren Soundsignals ermittelt werden, um die Bewertung des synthetisch generierten Sounddesignsignals durch einen Vergleich des Gesamtsignals mit dem weiteren Gesamtsignal zu ermöglichen. Auf diese Weise kann das für den Insassen wahrnehmbare synthetische Geräusch einfach und schnell nachjustiert werden.In order to be able to evaluate different synthetic noises, a further synthetically generated sound design signal can be read in in the reading step, which is assigned to the vehicle state and/or the driving situation. In the determining step, a further sound signal can be determined using the further sound design signal and the system response. In the determining step, a further overall signal can be determined using the inherent noise signal and the further sound signal in order to enable the synthetically generated sound design signal to be evaluated by comparing the overall signal with the further overall signal. In this way, the synthetic noise perceptible to the occupant can be easily and quickly adjusted.
Das Verfahren kann einen Schritt des Erfassens des Eigengeräuschsignals unter Verwendung einer in dem Fahrzeug angeordneten Messeinrichtung umfassen. Beispielsweise ermöglicht die Messeinrichtung eine Akustikmessung an einer Person eines Kopfes des Insassen, während das Fahrzeug betrieben wird, beispielsweise ein Fahrmanöver ausführt. Auf diese Weise können die tatsächlich auftretenden realen Fahrzeugeigengeräusch so erfasst werden, wie sie durch den Insassen wahrgenommen werden.The method may include a step of detecting the inherent noise signal using a measuring device arranged in the vehicle. For example, the measuring device enables an acoustic measurement to be taken on a person of the occupant's head while the vehicle is being operated, for example while it is performing a driving maneuver. In this way, the actual, real inherent vehicle noise that actually occurs can be detected as it is perceived by the occupant.
Dabei kann im Schritt des Erfassens der Fahrzeugzustand und/oder die Fahrsituation des Fahrzeugs erfasst und dem Eigengeräuschsignal zugeordnet werden. Auf diese Weise kann berücksichtigt werden, dass bei unterschiedlichen Fahrzeugzuständen unterschiedliche Fahrzeugeigengeräusche auftreten.In the recording step, the vehicle state and/or the driving situation of the vehicle can be recorded and assigned to the inherent noise signal. In this way, it can be taken into account that different inherent vehicle noises occur in different vehicle states.
Zusätzlich oder alternativ kann das Verfahren einen Schritt des Generierens des Eigengeräuschsignals unter Verwendung einer Simulationsmodells zum Simulieren des dem Fahrzeugzustand und/oder der Fahrsituation zugeordneten realen Fahrzeugeigengeräuschs umfassen. Das Simulationsmodell kann akustische Eigenschaften des Fahrzeugs abbilden. Wenn das Simulationsmodell verwendet wird, kann auf Messungen verzichtet werden.Additionally or alternatively, the method can comprise a step of generating the inherent noise signal using a simulation model to simulate the real inherent vehicle noise associated with the vehicle state and/or the driving situation. The simulation model can depict acoustic properties of the vehicle. If the simulation model is used, measurements can be dispensed with.
Das Verfahren kann einen Schritt des Einspeisens eines elektrischen Anregungssignals in einen Audioeingang eines Audiosystems des Fahrzeugs umfassen. Ferner einen Schritt des Messens eines Antwortsignals an einer Ohrposition im Fahrzeug, wobei die Ohrposition eine Position eines Ohrs eines Insassen des Fahrzeugs repräsentiert, und schließlich einen Schritt des Bestimmens der Systemantwort unter Verwendung des elektrischen Anregungssignals und des Antwortsignals. Das Anregungssignal kann beispielsweise eine Sinusschwingung sein. Das Audiosystem kann zumindest einen Lautsprecher umfassen und beispielsweise Teil eines Infotainmentsystem des Fahrzeugs sein. Das Antwortsignal kann ein von dem Insassen wahrnehmbares akustisches Antwortgeräusch repräsentieren.The method may comprise a step of feeding an electrical excitation signal into an audio input of an audio system of the vehicle. Further, a step of measuring a response signal at an ear position in the vehicle, wherein the ear position represents a position of an ear of an occupant of the vehicle, and finally a step of determining the system response using the electrical excitation signal and the response signal. The excitation signal may, for example, be a sinusoidal wave. The audio system may comprise at least one loudspeaker and, for example, be part of an infotainment system of the vehicle. The response signal may represent an acoustic response sound perceptible by the occupant.
Zusätzlich oder alternativ kann das Verfahren einen Schritt des Generierens der Systemantwort unter Verwendung eines Simulationsmodells zum Simulieren des Übertragungspfads umfassen. Auf diese Weise kann auf eine Messung zum Bestimmen der Systemantwort verzichtet werden.Additionally or alternatively, the method may comprise a step of generating the system response using a simulation model to simulate the transmission path. In this way, a measurement for determining the system response can be dispensed with.
Das Verfahren kann einen Schritt des Generierens des Sounddesignsignals umfassen. Dabei kann das Sounddesignsignals ein synthetisches Fahrzeuggeräusch und zusätzlich oder alternativ ein synthetisches Signalisierungsgeräusch repräsentieren. Das synthetische Fahrzeuggeräusch kann von einem Insassen erwartete Fahrzeugeigengeräusche des Fahrzeugs nachbilden. Das Signalisierungsgeräusch kann beispielsweise einen Warnton oder eine Hinweissignal darstellen, das die Aufmerksamkeit des Insassen erregen soll.The method can include a step of generating the sound design signal. The sound design signal can represent a synthetic vehicle sound and additionally or alternatively a synthetic signaling sound. The synthetic vehicle sound can simulate the vehicle's own sounds expected by an occupant. The signaling sound can, for example, represent a warning tone or an advisory signal intended to attract the occupant's attention.
Im Schritt des Bestimmens des Soundsignals kann das Sounddesignsignal mit der Systemantwort gefaltet werden. Über die Faltung kann das Soundsignal bestimmt werden. Die Faltung ist eine einfach zu realisierende Methode, um den Einfluss des Übertragungspfads auf das Sounddesignsignal zu berücksichtigen.In the step of determining the sound signal, the sound design signal can be convolved with the system response. The sound signal can be determined via the convolution. The convolution is an easy-to-implement method to take into account the influence of the transmission path on the sound design signal.
Im Schritt des Ermittelns des Gesamtsignals kann das Eigengeräuschsignal mit dem Soundsignal überlagert werden, um das Gesamtsignal zu ermitteln. Dies entspricht der Überlagerung die auch der Insasse wahrnehmen würde.In the step of determining the overall signal, the inherent noise signal can be superimposed on the sound signal to determine the overall signal. This corresponds to the superposition that the occupant would also perceive.
Dieses Verfahren kann beispielsweise in Software oder Hardware oder in einer Mischform aus Software und Hardware beispielsweise in einem Steuergerät implementiert sein.This method can be implemented, for example, in software or hardware or in a mixed form of software and hardware, for example in a control unit.
Der hier vorgestellte Ansatz schafft ferner eine Vorrichtung, die ausgebildet ist, um die Schritte einer Variante eines hier vorgestellten Verfahrens in entsprechenden Einrichtungen durchzuführen, anzusteuern bzw. umzusetzen. Auch durch diese Ausführungsvariante der Erfindung in Form einer Vorrichtung kann die der Erfindung zugrunde liegende Aufgabe schnell und effizient gelöst werden.The approach presented here further provides a device which is designed to carry out the steps of a variant of a method presented here in corresponding devices, control or implement. This embodiment of the invention in the form of a device can also solve the problem underlying the invention quickly and efficiently.
Hierzu kann die Vorrichtung zumindest eine Recheneinheit zum Verarbeiten von Signalen oder Daten, zumindest eine Speichereinheit zum Speichern von Signalen oder Daten, zumindest eine Schnittstelle zu einem Sensor oder einem Aktor zum Einlesen von Sensorsignalen von dem Sensor oder zum Ausgeben von Daten- oder Steuersignalen an den Aktor und/oder zumindest eine Kommunikationsschnittstelle zum Einlesen oder Ausgeben von Daten aufweisen, die in ein Kommunikationsprotokoll eingebettet sind. Die Recheneinheit kann beispielsweise ein Signalprozessor, ein Mikrocontroller oder dergleichen sein, wobei die Speichereinheit ein Flash-Speicher oder eine magnetische Speichereinheit sein kann. Die Kommunikationsschnittstelle kann ausgebildet sein, um Daten drahtlos und/oder leitungsgebunden einzulesen oder auszugeben, wobei eine Kommunikationsschnittstelle, die leitungsgebundene Daten einlesen oder ausgeben kann, diese Daten beispielsweise elektrisch oder optisch aus einer entsprechenden Datenübertragungsleitung einlesen oder in eine entsprechende Datenübertragungsleitung ausgeben kann.For this purpose, the device can have at least one computing unit for processing signals or data, at least one storage unit for storing signals or data, at least one interface to a sensor or an actuator for reading in sensor signals from the sensor or for outputting data or control signals to the actuator and/or at least one communication interface for reading in or outputting data that is embedded in a communication protocol. The computing unit can be, for example, a signal processor, a microcontroller or the like, wherein the storage unit can be a flash memory or a magnetic storage unit. The communication interface can be designed to read in or output data wirelessly and/or via a wired connection, wherein a communication interface that can read in or output wired data can read this data, for example, electrically or optically from a corresponding data transmission line or output it to a corresponding data transmission line.
Unter einer Vorrichtung kann vorliegend ein elektrisches Gerät verstanden werden, das Sensorsignale verarbeitet und in Abhängigkeit davon Steuer- und/oder Datensignale ausgibt. Die Vorrichtung kann eine Schnittstelle aufweisen, die hard- und/oder softwaremäßig ausgebildet sein kann. Bei einer hardwaremäßigen Ausbildung können die Schnittstellen beispielsweise Teil eines sogenannten System-ASICs sein, der verschiedenste Funktionen der Vorrichtung beinhaltet. Es ist jedoch auch möglich, dass die Schnittstellen eigene, integrierte Schaltkreise sind oder zumindest teilweise aus diskreten Bauelementen bestehen. Bei einer softwaremäßigen Ausbildung können die Schnittstellen Softwaremodule sein, die beispielsweise auf einem Mikrocontroller neben anderen Softwaremodulen vorhanden sind.In the present case, a device can be understood as an electrical device that processes sensor signals and outputs control and/or data signals depending on them. The device can have an interface that can be designed as hardware and/or software. In a hardware design, the interfaces can, for example, be part of a so-called system ASIC, which contains a wide variety of functions of the device. However, it is also possible for the interfaces to be separate integrated circuits or to consist at least partially of discrete components. In a software design, the interfaces can be software modules that are present, for example, on a microcontroller alongside other software modules.
Von Vorteil ist auch ein Computerprogrammprodukt oder Computerprogramm mit Programmcode, der auf einem maschinenlesbaren Träger oder Speichermedium wie einem Halbleiterspeicher, einem Festplattenspeicher oder einem optischen Speicher gespeichert sein kann und zur Durchführung, Umsetzung und/oder Ansteuerung der Schritte des Verfahrens nach einer der vorstehend beschriebenen Ausführungsformen verwendet wird, insbesondere wenn das Programmprodukt oder Programm auf einem Computer oder einer Vorrichtung ausgeführt wird.Also advantageous is a computer program product or computer program with program code that can be stored on a machine-readable carrier or storage medium such as a semiconductor memory, a hard disk memory or an optical memory and is used to carry out, implement and/or control the steps of the method according to one of the embodiments described above, in particular when the program product or program is executed on a computer or device.
Ausführungsbeispiele des hier vorgestellten Ansatzes sind in den Zeichnungen dargestellt und in der nachfolgenden Beschreibung näher erläutert. Es zeigt:
In der nachfolgenden Beschreibung günstiger Ausführungsbeispiele der vorliegenden Erfindung werden für die in den verschiedenen Figuren dargestellten und ähnlich wirkenden Elemente gleiche oder ähnliche Bezugszeichen verwendet, wobei auf eine wiederholte Beschreibung dieser Elemente verzichtet wird.In the following description of advantageous embodiments of the present invention, the same or similar reference numerals are used for the elements shown in the various figures and having a similar effect, whereby a repeated description of these elements is omitted.
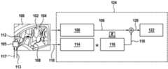
Gemäß einem Ausführungsbeispiel wird unter Verwendung des Mikrofons 104 ein Eigengeräuschsignal 106 erfasst, das ein für den Insassen 102 wahrnehmbares reales Fahrzeugeigengeräusch 108 repräsentiert. Das Fahrzeugeigengeräusch wird beispielsweise während der Fahrt des Fahrzeugs 100 von einem Antrieb des Fahrzeugs 100 erzeugt. Das Eigengeräuschsignal 106 repräsentiert somit zumindest das eine Fahrzeugeigengeräusch 108, das sich aus unterschiedlichen Fahrzeuggeräuschen, beispielsweise aus Antriebs-, Wind- und Reifengeräuschen zusammensetzen kann. Das Fahrzeugeigengeräusch 108 beziehungsweise das Eigengeräuschsignal 106 werden als eine Eingangsgröße des Verfahrens verwendet, wie es durch einen das Fahrzeugeigengeräusch 108 repräsentierenden Block dargestellt ist.According to one embodiment, an
Zusätzlich oder alternativ wird unter Verwendung des Mikrofons 104 ein Antwortsignal 110 erfasst, das ein von dem Insassen 102 wahrnehmbares Antwortgeräusch 112 darstellt. Das Antwortgeräusch 112 resultiert dabei gemäß einem Ausführungsbeispiel aus einer Anregung des Audiosystems 105 des Fahrzeugs 100 mit einem elektrischen Anregungssignal 113 und einem elektrischen und akustischen Übertragungspfad zwischen einem Ort der Anregung und der Ohrposition des Insassen 102.Additionally or alternatively, a
Gemäß einem Ausführungsbeispiel wird eine Systemantwort 114 des Übertragungspfads des Fahrzeugs 100, beispielsweise ein elektroakustischer und raumakustischer Übertragungspfad unter Verwendung des Antwortsignals 110 und des elektrischen Anregungssignals 113 bestimmt.According to one embodiment, a
Gemäß einem Ausführungsbeispiel wird durch ein Sound Design 116 ein synthetisch generiertes Sounddesignsignal 117 generiert. Das synthetisch generiertes Sounddesignsignal 117 ist beispielsweise geeignet, um während eines späteren Betriebs des Fahrzeugs 100 in das Audiosystem 105 eingespeist zu werden, um ein für den Insassen 102 wahrnehmbares synthetisches Geräusch zu erzeugen. Um das synthetisch generierte Sounddesignsignal 117 bereits in der Entwicklungsphase bewerten zu können, wird das durch das Sound Design 116 generierte Sounddesignsignal 117 mit der Systemantwort 114 gefaltet, um ein Soundsignal 118 zu bestimmen, das jenes synthetische Geräusch simuliert, das für den Insassen 102 des Fahrzeugs 100 hörbar ist. Ein solches synthetisches Geräusch wäre für den Insassen 102 dann hörbar, wenn beispielsweise das Audiosystem des Fahrzeugs 100 mit dem synthetisch generierten Sounddesignsignal 117 angeregt wird.According to one embodiment, a synthetically generated
Das Soundsignal 118 und das Eigengeräuschsignal 106 werden überlagert, um ein Gesamtsignal 120 zu ermitteln. Das Gesamtsignal 120 simuliert ein für den Insassen 102 wahrnehmbares akustisches Gesamtgeräusch 122, das auch als akustisches Gesamtergebnis bezeichnet wird.The
Vorteilhafterweise kann das Verfahren unter Verwendung einer Vorrichtung 124 zum Ermitteln eines Gesamtsignals, das ein für einen Insassen des Fahrzeugs 100 hörbares akustisches Gesamtgeräusch simuliert, ausgeführt werden, die gemäß einem Ausführungsbeispiel separat zu dem Fahrzeug 100 ausgeführt ist und optional keine Schnittstelle zu dem Fahrzeug 100 aufweist. Somit lässt sich der Sound für das Fahrzeug 100 unabhängig von einem Vorhandensein des Fahrzeugs 100 entwickeln, optional auch vor einer Fertigstellung eines Prototyps des Fahrzeugs 100 sofern auf Simulationsergebnisse für die Systemantwort 114 und die Fahrzeugeigengeräusche 108 zurückgegriffen wird.Advantageously, the method can be carried out using a
Die in
Das beschriebene Verfahren fügt vorhandene Fahrgeräusche und Fahrzeugeigenschaften mit hinzugefügten (synthetische) Geräuschen schon in der frühen Entwicklungsphase zusammen, damit bereits virtuell ein Gesamtsound bewertet werden kann, ohne einen Test im Fahrzeug 100 durchführen zu müssen. Hierdurch kann die Entwicklungszeit verkürzt werden und eine Beurteilung des Sound-Designs von vielen Personen schneller und effizienter stattfinden, ohne dass man ins reale Fahrzeug 100 einsteigen muss. Weiter ist ein Quervergleich zwischen verschiedenen Sound-Designs einfach sowie schnell zu realisieren. Die Anforderungen für System- und Fahrzeugzustandssounds für autonom fahrende Fahrzeuge werden immer wichtiger. Diese Sounds in Gefahrensituationen im realen Fahrzeug zu applizieren ist schwierig und aus Sicherheitsgründen unerwünscht. Mit dem hier beschriebenen Ansatz ist dies jedoch einfach und sicherer zu realisieren.The described method combines existing driving noises and vehicle characteristics with added (synthetic) noises in the early development phase so that an overall sound can be evaluated virtually without having to carry out a test in the
Das Verfahren basiert auf dem Einbeziehen der Fahrzeuggeräusche, hier als Fahrzeugeigengeräusch 108 bezeichnet, und der Systemantwort 114, z.B. des elektro- und innenraumakustischen Übertragungspfads des Fahrzeugs 100 mit einem künstlichen Fahrzeugsound, welcher an die akustische Situation in der Fahrerkabine angepasst werden soll, das sogenannte Sound Design 116. Dadurch, dass das Sound Design 116 von Anfang an als Teil des akustischen Gesamtergebnisses, hier des akustischen Gesamtgeräusches 122, betrachtet wird, können eine Reihe von Vorteilen erzielt werden.The method is based on the inclusion of the vehicle noise, here referred to as the vehicle's
Ziel des Verfahrens ist es, die spezifischen Fahrzeuggeräusche des Fahrzeuges 100, hier das beispielsweise aus Antriebs-, Wind- und Reifengeräuschen zusammengesetzte Fahrzeugeigengeräusch 108 und die Übertragungsstrecke von der Wiedergabequelle, z.B. dem Audiosystem 105 als Teil eines Infotainmentsystems des Fahrzeugs 100, über Elektronikbauteile, z.B. Verstärker oder Frequenzweichen, elektroakustische Wandler, beispielsweise Lautsprecher oder Shaker, und dem Innenraum des Fahrzeugs 100 bis zum Ohr des Insassen 102 schon im frühen, kreativen Sound Design Prozess als Grundlage für die Gestaltung und Entwicklung eines synthetisierten Fahrzeug-Sounds zur Verfügung zu stellen, wie es in
Die fahrzeugspezifischen Anteile, hier Fahrzeugeigengeräusch 108 und Systemantwort 114 genannt, können sowohl messtechnisch im Voraus erfasst werden oder aus einer (Akustik-)Simulation entnommen werden.The vehicle-specific components, here called
Gemäß einem Ausführungsbeispiel wird mit dem beispielhalft als Entwicklungsfahrzeug dienenden Fahrzeug 100 für einen bestimmten Fahrzeugzustand und/oder eine bestimmte Fahrsituation, beispielsweise für ein bestimmtes Fahrmanöver, eine Akustikmessung oder -simulation durchgeführt. Bei der Akustikmessung wird entweder ein Kunstkopfmikrofon auf dem Beifahrersitz oder ein binaurales Kopfbügelmikrofon am Fahrer installiert, wie es beispielhaft durch die Messeinrichtung 104 dargestellt ist. Eine Aufnahme der Messeinrichtung 104 ermöglicht die realitätsgetreue Reproduktion der Fahrzeuggeräusche bei der Wiedergabe mittels Kopfhörer. Parallel zur Akustikmessung werden gemäß einem Ausführungsbeispiel Fahrzeugdaten wie Geschwindigkeit des Fahrzeugs 100, Drehzahl eines Motors des Fahrzeugs 100 und Last vom CAN-Bus oder ähnlichen Architekturen des Fahrzeugs 100 abgegriffen und aufgezeichnet. Diese Daten können zur Definition des Fahrzeugzustands und/oder der Fahrsituation verwendet werden. Die erfassten Signale und daten werden im Sound Design Prozess als Eingangsgrößen verwendet, um den synthetischen Sound auf das Fahrmanöver abzustimmen.According to one embodiment, an acoustic measurement or simulation is carried out with the
Vom Entwicklungsfahrzeug werden gemäß einem Ausführungsbeispiel außerdem Systemantworten gemessen oder simuliert. Dafür wird beispielsweise das Infotainmentsystem, als Signalkette von Audioeingang über Verstärker an Lautsprecher, mit einem logarithmischen Sinus Sweep angeregt, beispielsweise mit dem Anregungssignal 113, und zeitgleich wird mit einem Kunstkopfmikrofon, beispielsweise der Messeinrichtung 104, die akustische Antwort des Systems, hier beispielsweise der elektroakustische Übertragungspfad und Luftschall, sowie der Übertragungspfad, beispielsweise beeinflusst durch innenraumakustische Eigenschaften, an den Ohrpositionen gemessen. Diese Systemantwort 114 beschreibt die zeitliche und frequenzmäßige Änderung eines Audiosignals, wie des synthetisch generierten Sounddesignsignals 117, welches über das Infotainmentsystem, oder hier beispielhaft das Audiosystem 117, des Entwicklungsfahrzeugs wiedergegeben wird. Die im Sound Design Prozess entstehenden Sounds werden mit dieser Impulsantwort 114 gefaltet, was die Wiedergabe vom akustischen Gesamtergebnis im Fahrzeug 100 virtuell ermöglicht.According to one embodiment, system responses are also measured or simulated by the development vehicle. For this purpose, for example, the infotainment system, as a signal chain from audio input via amplifier to loudspeaker, is excited with a logarithmic sine sweep, for example with the
Bei der Anwendung des Verfahrens wird nun gemäß einem Ausführungsbeispiel die Akustikmessung eines Fahrmanövers mit dem entwickelten synthetischen Sound zusammengeführt. Der synthetische Sound wird auf Basis der aufgezeichneten Fahrdaten erzeugt und durch eine Faltung mit der Systemantwort 114 werden die tatsächlichen Schalldrücke an den Fahrerohren berechnet. Diese können nun mit den gemessenen Schalldrucksignalen des Fahrzeugeigengeräusches 108 überlagert werden. So wird die Bewertung des Sound Designs 116 im Kontext der Innenraumakustik möglich.When applying the method, according to one embodiment, the acoustic measurement of a driving maneuver is combined with the developed synthetic sound. The synthetic sound is generated on the basis of the recorded driving data and the actual sound pressures at the driver's ears are calculated by convolution with the
Die Obengenannten Messungen können auch virtuell erzeugt werden mittels Simulationen. Somit wird es auch für ein noch nicht real existierendes Fahrzeug möglich sein dieses Verfahren anzuwenden.The above-mentioned measurements can also be generated virtually using simulations. This means that this method can also be applied to a vehicle that does not yet actually exist.
Gemäß einem Ausführungsbeispiel werden somit bei der Entwicklung des Sound Designs 116 (synthetische Fahrzeuggeräusche) die Fahrzeugeigenschaften (Fahrzeuggeräusche wie Antriebs-, Wind und Reifengeräusche und die Systemantwort 114, wie die elektro- und innenraumakustische Übertragungspfade) oder einen Teil davon benutzt werden, um das Sound Design 116 zu gestalten und/oder zu verbessern.According to one embodiment, when developing the sound design 116 (synthetic vehicle sounds), the vehicle characteristics (vehicle sounds such as drive, wind and tire noises and the
Das Verfahren kann in Tools für die Sound Design Entwicklung von synthetischen Fahrzeugsounds genutzt werden, und beispielsweise im Zusammenhang mit Infotainmentsystemen eingesetzt werden.The method can be used in tools for the sound design development of synthetic vehicle sounds and can be used, for example, in connection with infotainment systems.
Generell kann der beschriebene Ansatz in der Entwicklung von Funktionen eingesetzt werden, welche sich mit hochautomatisiertem oder autonomem Fahren beschäftigen und eine akustische Rückmeldung oder Warnung zum Fahrer oder zu den Insassen geben müssen. Zum Beispiel, können Warnsounds virtuell bewertet werden, ob sie trotz Fahrzeug- und Fahrgeräuschen in Gefahrensituationen ausreichend wahrnehmbar sind und die zur Situation passende Botschaft vermitteln, wie etwa einen Fahrer beim automatisierten Fahren dazu aufzufordern selbst wieder aktiv das Steuern zu übernehmen.In general, the approach described can be used in the development of functions that deal with highly automated or autonomous driving and must provide acoustic feedback or warning to the driver or passengers. For example, warning sounds can be virtually evaluated to determine whether they are sufficiently perceptible in dangerous situations despite vehicle and driving noises and whether they convey the message appropriate to the situation, such as asking a driver to actively take over the steering again during automated driving.
Das Verfahren kann auch allgemein in der Entwicklung von Fahrzeugsounds an Fahrsimulatoren eingesetzt werden für z.B. obengenannte Anwendungsfälle.The method can also be used generally in the development of vehicle sounds on driving simulators, for example for the above-mentioned applications.
In einem Schritt 201 wird ein synthetisch generiertes Sounddesignsignal eingelesen. Dabei ist das Sounddesignsignal einem speziellen Fahrzeugzustand und/oder einer speziellen Fahrsituation des Fahrzeugs zugeordnet. In einem Schritt 203 wird unter Verwendung des Sounddesignsignals und einer Systemantwort eines Übertragungspfads des Fahrzeugs ein Soundsignal bestimmt, das ein für einen Insassen des Fahrzeugs hörbares synthetisches Geräusch simuliert. Beispielsweise wir dazu eine Faltung zwischen dem Sounddesignsignals und der Systemantwort durchgeführt. In einem Schritt 205 wird ein Gesamtsignal ermittelt, das ein für den Insassen des Fahrzeugs hörbares Gesamtgeräusch simuliert. Dazu wird zum einen ein Eigengeräuschsignal verwendet, das ein dem Fahrzeugzustand und/oder der Fahrsituation zugeordnetes und für den Insassen des Fahrzeugs hörbares reales Fahrzeugeigengeräusch simuliert, und zum anderen das Soundsignal. Beispielsweise werden das Eigengeräuschsignal und das Soundsignal dazu überlagert. In einem optionalen Schritt 207, der automatisiert oder manuell durchgeführt werden kann, wird das Gesamtsignal verwendet, um das synthetisch generierte Sounddesignsignal zu bewerten.In a
Die Schritte 201, 203, 205 können wiederholt ausgeführt werden, um basierend auf weiteren synthetisch generierten Sounddesignsignalen weitere Gesamtsignale zu ermittelt. Beispielsweise können die Schritte 201, 203, 205 solange wiederholt ausgeführt werden, bis ein zufriedenstellendes Gesamtgeräusch gefunden ist. Dazu können die ermittelten Gesamtsignale oder daraus erzeugbare Gesamtgeräusch auf eine geeignete Weise miteinander oder mit vorgegebenen Vergleichsdaten verglichen werden.The
Zusätzlich oder alternativ werden die Schritte 201, 203, 205 wiederholt ausgeführt werden, um zumindest ein synthetisch generiertes Sounddesignsignal bewerten zu können, das einem weiteren Fahrzeugzustand und/oder einer weiteren Fahrsituation zugeordnet ist.Additionally or alternatively, steps 201, 203, 205 will be carried out repeatedly in order to be able to evaluate at least one synthetically generated sound design signal that is associated with another vehicle state and/or another driving situation.
Gemäß einem Ausführungsbeispiel wird das Eigengeräuschsignal in einem Schritt 209 unter Verwendung einer in dem Fahrzeug angeordneten Messeinrichtung erfasst. Optional wird dabei zusätzlich der zum Zeitpunkt des Erfassens vorliegende Fahrzeugzustand und/oder die zum Zeitpunkt des Erfassens vorliegende Fahrsituation des Fahrzeugs erfasst und dem Eigengeräuschsignal zugeordnet. Zusätzlich oder alternativ wird das Eigengeräuschsignal in einem Schritt 211 unter Verwendung eines Simulationsmodells zum Simulieren des dem Fahrzeugzustand und/oder der Fahrsituation zugeordneten realen Fahrzeugeigengeräuschs generiert.According to one embodiment, the inherent noise signal is recorded in a
Gemäß einem Ausführungsbeispiel wird die Systemantwort über eine Messung an dem realen Übertragungspfad bestimmt. Dazu wird beispielhaft in einem Schritt 213 ein elektrisches Anregungssignal in einen Audioeingang eines Audiosystems des Fahrzeugs eingespeist, in einem Schritt 215 ein Antwortsignal an einer Ohrposition im Fahrzeug gemessen und einem Schritt 217 die Systemantwort unter Verwendung des elektrischen Anregungssignals und des Antwortsignals bestimmt. Zusätzlich oder alternativ wird die Systemantwort in einem Schritt 219 unter Verwendung eines Simulationsmodells zum Simulieren des Übertragungspfads generiert.According to one embodiment, the system response is determined via a measurement on the real transmission path. For this purpose, for example, in a
Optional umfasst das Verfahren einen Schritt 221, in dem das Sounddesignsignal generiert wird. Je nach Anwendungsfall repräsentiert das Sounddesignsignal dabei ein synthetisches Fahrzeuggeräusch, beispielsweise ein Antriebsgeräusch, oder ein synthetisches Signalisierungsgeräusch, beispielsweise einen Warnton.Optionally, the method comprises a
| Application Number | Priority Date | Filing Date | Title | 
|---|---|---|---|
| DE102023208608.5ADE102023208608A1 (en) | 2023-09-06 | 2023-09-06 | Method and device for determining a total signal simulating an acoustic total noise audible to an occupant of a vehicle | 
| Application Number | Priority Date | Filing Date | Title | 
|---|---|---|---|
| DE102023208608.5ADE102023208608A1 (en) | 2023-09-06 | 2023-09-06 | Method and device for determining a total signal simulating an acoustic total noise audible to an occupant of a vehicle | 
| Publication Number | Publication Date | 
|---|---|
| DE102023208608A1true DE102023208608A1 (en) | 2025-03-06 | 
| Application Number | Title | Priority Date | Filing Date | 
|---|---|---|---|
| DE102023208608.5APendingDE102023208608A1 (en) | 2023-09-06 | 2023-09-06 | Method and device for determining a total signal simulating an acoustic total noise audible to an occupant of a vehicle | 
| Country | Link | 
|---|---|
| DE (1) | DE102023208608A1 (en) | 
| Publication number | Priority date | Publication date | Assignee | Title | 
|---|---|---|---|---|
| WO2013090007A1 (en) | 2011-12-16 | 2013-06-20 | Bose Corporation | Virtual audio system tuning | 
| US20200238902A1 (en) | 2019-01-25 | 2020-07-30 | Volvo Car Corporation | Acoustic vehicle alerting system and method | 
| US20220369059A1 (en) | 2021-05-04 | 2022-11-17 | Hyundai Motor Company | Active sound design (asd) tuning device of vehicle and method thereof | 
| Publication number | Priority date | Publication date | Assignee | Title | 
|---|---|---|---|---|
| WO2013090007A1 (en) | 2011-12-16 | 2013-06-20 | Bose Corporation | Virtual audio system tuning | 
| US20200238902A1 (en) | 2019-01-25 | 2020-07-30 | Volvo Car Corporation | Acoustic vehicle alerting system and method | 
| US20220369059A1 (en) | 2021-05-04 | 2022-11-17 | Hyundai Motor Company | Active sound design (asd) tuning device of vehicle and method thereof | 
| Title | 
|---|
| GENUIT, Klaus ; BRAY, Wade R.: Prediction of sound and vibration in a virtual automobile. In: Sound and vibration, 2002, No. 7, S. 1-7. ISSN 1541-0161. URL: http://www.sandv.com/downloads/0207genu.pdf [abgerufen am 23.05.2024] | 
| Publication | Publication Date | Title | 
|---|---|---|
| DE102018109937A1 (en) | Active tone sensitization for tonal noises in a vehicle | |
| EP3729833B1 (en) | Virtual test environment for active noise management systems | |
| DE102014210510B4 (en) | System for controlling vehicle interior noise using a smartphone and method therefor | |
| DE102007051261A1 (en) | Motor vehicle's acoustic behavior evaluating method, involves classifying characteristics of preprocessed acoustic signals into classes, and comparing classes of acoustic signals with reference classification | |
| DE102014110446B4 (en) | Method and system for implementing a vehicle noise disturbance masking | |
| EP3644148B1 (en) | Test terminal for tests of an infrastructure of a vehicle | |
| EP3379226B1 (en) | Method for determining a special operating condition of a motor vehicle, mobile device and computer program product | |
| DE102015103024B4 (en) | Vehicle system for functional condition monitoring of a sound reinforcement system operating behavior | |
| DE102014217500B4 (en) | Method and device for diagnosing conditions of a vehicle | |
| DE102015119555A1 (en) | System for hiding vehicle noise and method therefor | |
| DE102017220466B3 (en) | Method for checking the operability of at least one component of a motor vehicle and motor vehicle | |
| WO2014032886A1 (en) | Multi-sensory attention alert system | |
| DE102018125359A1 (en) | SYSTEMS AND METHOD FOR MINIMIZING PULSATIONS IN THE OPEN VEHICLE WINDOW | |
| DE102018100778A1 (en) | Active noise reduction device, vehicle and anomaly determination method | |
| DE102012000931A1 (en) | Method for diagnosing audio system of motor vehicle, involves emitting test signal acoustically by loud speaker of audio system of motor vehicle, where test signal is received by microphone for generating microphone signal | |
| DE112017007280T5 (en) | In-vehicle communication control device, in-vehicle communication system, and in-vehicle communication control method | |
| DE102017105647A1 (en) | SYSTEMS AND METHOD FOR VOTING ELECTRONIC SOUND ENHANCEMENT | |
| DE102015116989A1 (en) | Acoustic impulse response simulation | |
| DE102022117701A1 (en) | Method and processor circuit for reproducing an acoustic interior situation of a motor vehicle and computer-readable storage medium | |
| DE102009022685A1 (en) | Method for sounding seat occupancy condition to passenger in four seated passenger car, involves adjusting reproducing characteristics by audio system in dependent upon determined actual seating place occupancy condition | |
| DE102022205867A1 (en) | Device and method for controlling vehicle noise | |
| DE102019213329A1 (en) | Method for providing a modified acoustic signal for reproduction in an interior of a vehicle | |
| DE102023208608A1 (en) | Method and device for determining a total signal simulating an acoustic total noise audible to an occupant of a vehicle | |
| DE102014210606A1 (en) | Individual hearing curve adjustment | |
| WO2004053435A1 (en) | Device, method and headphones for registering and reproducing noises, in particular for analysing acoustic components in motor vehicles | 
| Date | Code | Title | Description | 
|---|---|---|---|
| R163 | Identified publications notified |