
Die Erfindung betrifft ein Verfahren zum Betreiben einer Mensch-Maschine-Schnittstelle eines autonomen Fahrzeugs, bei dem ein Betätigungselement einer Mensch-Maschine-Schnittstelle eines autonomen Fahrzeugs von einem Insassen des autonomen Fahrzeugs betätigt wird und ein Steuergerät der Mensch-Maschine-Schnittstelle infolge des Betätigens des Betätigungselements eine dem Betätigungselement zugeordnete Funktion des autonomen Fahrzeugs steuert. Ferner betrifft die Erfindung eine Mensch-Maschine-Schnittstelle und ein autonomes Fahrzeug.The invention relates to a method for operating a human-machine interface of an autonomous vehicle, in which an actuating element of a human-machine interface of an autonomous vehicle is actuated by an occupant of the autonomous vehicle and a control device of the human-machine interface as a result of the actuation of the actuating element controls a function of the autonomous vehicle that is assigned to the actuating element. Furthermore, the invention relates to a human-machine interface and an autonomous vehicle.
Moderne Fahrzeuge sind weit verbreitete komplexe Maschinen mit einer Vielzahl von Funktionen und umfassen ebenso komplexe Mensch-Maschine-Schnittstellen zum Steuern der vielen Funktionen, d. h. zum Bedienen des Fahrzeugs. Eine Mensch-Maschine-Schnittstelle eines Fahrzeugs umfasst in der Regel eine Mehrzahl von physischen Betätigungselementen wie beispielsweise ein Lenkrad, Pedale zum Bremsen, Beschleunigen oder Kuppeln des Fahrzeugs, einen Schaltknüppel, Schalter, Hebel, Sensoren und zunehmend einen berührungsempfindlichen Anzeigeschirm mit weiteren virtuellen Betätigungselementen.Modern vehicles are widespread complex machines with a multitude of functions and also include complex human-machine interfaces for controlling the many functions, i. H. to operate the vehicle. A human-machine interface of a vehicle typically includes a plurality of physical actuators such as a steering wheel, pedals for braking, accelerating or clutching the vehicle, a gear stick, switches, levers, sensors and increasingly a touch-sensitive display screen with other virtual actuators.
Entsprechend sind Betriebsverfahren für eine Mensch-Maschine-Schnittstelle (Human Machine Interface, HMI) in unterschiedlichen Ausgestaltungen bekannt und erlauben einem Insassen des Fahrzeugs, zumeist einem Fahrer des Fahrzeugs, das Steuern der Funktionen des Fahrzeugs. Zum Bedienen des Fahrzeugs betätigt die Person ein Betätigungselement der Mensch-Maschine-Schnittstelle. Das betätigte Betätigungselement veranlasst ein Steuergerät der Mensch-Maschine-Schnittstelle, eine Funktion oder mehrere Funktionen des Fahrzeugs entsprechend der Betätigung zu steuern. Dank dem Betriebsverfahren ermöglicht die Mensch-Maschine-Schnittstelle dem Insassen ein manuelles Steuern der Funktionen des Fahrzeugs.Accordingly, operating methods for a human-machine interface (HMI) are known in different configurations and allow an occupant of the vehicle, mostly a driver of the vehicle, to control the functions of the vehicle. To operate the vehicle, the person actuates an actuating element of the man-machine interface. The actuated actuator causes a controller of the human-machine interface to control one or more functions of the vehicle according to the actuation. Thanks to the operating method, the human-machine interface allows the occupant to manually control the functions of the vehicle.
Autonome Fahrzeuge sind darüber hinaus konfiguriert, wahlweise die Funktionen zumindest teilweise selbständig, d. h. ohne ein manuelles Eingreifen eines Insassen des Fahrzeugs, zu steuern. Es werden verschiedene Stufen der Autonomie unterschieden, zu welchen auch die höchste Stufe eines hoch-autonomen Fahrens (HAF) gehört. Während des hoch-autonomen Fahrens steuert sich das autonome Fahrzeug vollkommen selbständig.Autonomous vehicles are also configured to optionally perform the functions at least partially independently, i. H. without manual intervention by an occupant of the vehicle. Different levels of autonomy are distinguished, including the highest level of highly autonomous driving (HAF). During highly autonomous driving, the autonomous vehicle controls itself completely independently.
Ein wesentliches Erfordernis der Mensch-Maschine-Schnittstelle eines autonomen Fahrzeugs, welches auch während eines hoch-autonomen Fahrens des autonomen Fahrzeugs ununterbrochen erfüllt sein muss, ist die unmittelbare Bedienbarkeit der Mensch-Maschine-Schnittstelle. Nur auf diese Weise kann ein Insasse des Fahrzeugs das Steuern des Fahrzeugs jederzeit manuell beeinflussen.An essential requirement of the human-machine interface of an autonomous vehicle, which must be fulfilled without interruption even during highly autonomous driving of the autonomous vehicle, is the direct operability of the human-machine interface. Only in this way can an occupant of the vehicle manually influence the control of the vehicle at any time.
Allerdings kann eine von einem Insassen des autonomen Fahrzeugs, insbesondere dem Fahrer, während eines hoch-autonomen Fahrens des autonomen Fahrzeugs mittels der Mensch-Maschine-Schnittstelle insbesondere versehentlich gesteuerte Funktion des autonomen Fahrzeugs eine Gefahr eines Unfalls des autonomen Fahrzeugs erhöhen.However, a function of the autonomous vehicle controlled inadvertently by an occupant of the autonomous vehicle, in particular the driver, during highly autonomous driving of the autonomous vehicle using the human-machine interface can increase the risk of an accident of the autonomous vehicle.
Der Erfindung liegt daher die Aufgabe zugrunde, ein Verfahren zum Betreiben einer Mensch-Maschine-Schnittstelle eines autonomen Fahrzeugs vorzuschlagen, welches eine Sicherheit des autonomen Fahrzeugs erhöht.The invention is therefore based on the object of proposing a method for operating a human-machine interface of an autonomous vehicle, which increases the safety of the autonomous vehicle.
Ein Gegenstand der Erfindung ist ein Verfahren zum Betreiben einer Mensch-Maschine-Schnittstelle eines autonomen Fahrzeugs, bei dem ein Betätigungselement einer Mensch-Maschine-Schnittstelle eines autonomen Fahrzeugs von einem Insassen des autonomen Fahrzeugs betätigt wird und ein Steuergerät der Mensch-Maschine-Schnittstelle infolge des Betätigens des Betätigungselements eine dem Betätigungselement zugeordnete Funktion des autonomen Fahrzeugs steuert. Das Betriebsverfahren wird von dem Steuergerät definiert und ermöglicht es einem Insassen, insbesondere einem Fahrer, des Fahrzeugs, die zugeordnete Funktion des Fahrzeugs mittels des Betätigungselements zu steuern. Das Steuern umfasst ein Einschalten, ein veränderndes Beeinflussen der eingeschalteten Funktion oder ein Ausschalten der eingeschalteten Funktion.One subject of the invention is a method for operating a human-machine interface of an autonomous vehicle, in which an actuating element of a human-machine interface of an autonomous vehicle is actuated by an occupant of the autonomous vehicle and a control unit is actuated by the human-machine interface as a result of actuating the actuating element controls a function of the autonomous vehicle that is assigned to the actuating element. The operating method is defined by the control device and enables an occupant, in particular a driver, of the vehicle to control the assigned function of the vehicle using the actuating element. Controlling includes switching on, influencing the switched-on function in a changing manner, or switching off the switched-on function.
Erfindungsgemäß bestimmt das Steuergerät die zugeordnete Funktion bei dem Betätigen des Betätigungselements variabel. Mit anderen Worten ist die Zuordnung der Funktion zu dem Betätigungselement nicht konstant. Entsprechend kann das Steuergerät bei verschiedenen gleichartigen Betätigungen desselben Betätigungselements jeweils verschiedene Funktionen steuern. Auf diese Weise versieht das Betriebsverfahren die Mensch-Maschine-Schnittstelle mit einer Flexibilität, welche zur Erhöhung der Sicherheit des autonomen Fahrzeugs während eines insbesondere hoch-autonomen Fahrens genutzt werden kann.According to the invention, the control unit variably determines the assigned function when the actuating element is actuated. In other words, the assignment of the function to the actuating element is not constant. Correspondingly, the control unit can control different functions when the same actuation element is actuated in different ways. In this way, the operating method provides the man-machine interface with a flexibility that can be used to increase the safety of the autonomous vehicle, particularly during highly autonomous driving.
Bevorzugt bestimmt das Steuergerät die zugeordnete Funktion abhängig von einem Umgebungsmodell des autonomen Fahrzeugs, einem Zustandsmodell des autonomen Fahrzeugs und/oder einem Zustandsmodell des Insassen des autonomen Fahrzeugs. Das autonome Fahrzeug erzeugt und aktualisiert während der Fahrt fortlaufend das Umgebungsmodell, welches eine Umgebung, d .h. eine äußere Verkehrssituation, des autonomen Fahrzeugs modelliert, das Zustandsmodell des autonomen Fahrzeugs, welches einen Betriebszustand, d. h. eine Mehrzahl von Betriebsgrößen, des autonomen Fahrzeugs modelliert, und das Zustandsmodell des Insassen, welches eine Verfasstheit, insbesondere einen Aufmerksamkeitsgrad, des Insassen modelliert. Durch das Berücksichtigen des Umgebungsmodells und der beiden Zustandsmodelle kann die zugeordnete Funktion passend zu der äußeren Verkehrssituation, dem Betriebszustand und dem Aufmerksamkeitsgrad bestimmt werden.The control unit preferably determines the assigned function depending on an environment model of the autonomous vehicle, a status model of the autonomous vehicle and/or a status model of the occupant of the autonomous vehicle. The autonomous vehicle continuously generates and updates the environment model while driving. an external traffic situation, of autonomous driving vehicle, the state model of the autonomous vehicle, which models an operating state, ie a plurality of operating variables, of the autonomous vehicle, and the state model of the occupant, which models a condition, in particular a degree of attentiveness, of the occupant. By taking into account the environment model and the two state models, the assigned function can be determined to match the external traffic situation, the operating state and the level of alertness.
Vorteilhaft bestimmt das Steuergerät eine Nullfunktion als die zugeordnete Funktion, wenn das Zustandsmodell des Fahrers ein Unaufmerksamsein des Insassen anzeigt. Die Nullfunktion ist wirkungslos. Durch das Zuordnen der Nullfunktion wird ein unaufmerksames Betätigen des Betätigungselements ignoriert.Advantageously, the controller determines a null function as the associated function when the driver state model indicates occupant inattentiveness. The null function has no effect. By assigning the zero function, inattentive actuation of the actuating element is ignored.
Günstigerweise bestimmt das Steuergerät eine Nullfunktion oder eine Weckfunktion als die zugeordnete Funktion, wenn das Zustandsmodell des Insassen ein Schlafen des Insassen anzeigt. Der Schlaf ist ein Zustand maximaler Unaufmerksamkeit. Anstelle der Nullfunktion kann das Steuergerät eine Weckfunktion einschalten, beispielsweise einen Weckton ausgeben, um den Insassen aufzuwecken.Conveniently, the controller determines a null function or a wake-up function as the assigned function when the occupant state model indicates occupant sleeping. Sleep is a state of maximum inattention. Instead of the null function, the control unit can switch on a wake-up function, for example an alarm tone, to wake up the occupant.
Idealerweise bestimmt das Steuergerät aus einer dem Betätigungselement zugeordneten Gruppe von ähnlichen hinsichtlich ihrer Wirkung abgestuften Funktionen diejenige Funktion als die zugeordnete Funktion, welche eine maximale mit dem Umgebungsmodell des autonomen Fahrzeugs, dem Zustandsmodell des autonomen Fahrzeugs und/oder dem Zustandsmodell des Insassen verträgliche Wirkung aufweist. Die bestimmte zugeordnete Funktion ist die wirksamste einen Unfall des autonomen Fahrzeugs verhindernde Funktion.Ideally, from a group of similar functions, graded in terms of their effect, assigned to the actuating element, the control unit determines that function as the assigned function which has a maximum effect that is compatible with the environment model of the autonomous vehicle, the state model of the autonomous vehicle and/or the state model of the occupant. The specific assigned function is the most effective crash-preventing function of the autonomous vehicle.
In manchen Ausführungsformen bestimmt das Steuergerät eine Abfolge von Funktionen als die zugeordnete Funktion. Eine in der Abfolge früher gesteuerte Funktion kann eine in der Abfolge später gesteuerte Funktion vorbereiten. Dank der Vorbereitung ist die später gesteuerte Funktion von einer Unfallgefahr des autonomen Fahrzeugs befreit.In some embodiments, the controller determines a sequence of functions as the assigned function. A function controlled earlier in the sequence may prepare a function controlled later in the sequence. Thanks to the preparation, the function that will be controlled later is freed from the risk of an accident involving the autonomous vehicle.
Das Steuergerät kann die zugeordnete Funktion erst nach einem wiederholten Betätigen des Betätigungselements steuern. Dadurch wird ein versehentliches Bedienen des Fahrzeugs verlässlich ausgeschlossen. Das Steuergerät kann zum Steuern der zugeordneten Funktion eine vorbestimmte Anzahl von Wiederholungen der Betätigung verlangen.The control unit can only control the assigned function after repeated actuation of the actuating element. This reliably prevents accidental operation of the vehicle. The controller may require a predetermined number of repetitions of actuation to control the associated function.
Ein weiterer Gegenstand der Erfindung ist eine Mensch-Maschine-Schnittstelle für ein autonomes Fahrzeug, welche ein Betätigungselement zum Steuern einer Funktion eines autonomen Fahrzeugs und ein mit dem Betätigungselement verbundenes Steuergerät umfasst. Das Steuergerät definiert ein Betriebsverfahren für die Mensch-Maschine-Schnittstelle. Das Steuergerät kann ein Softwareprogramm umfassen, welches das Steuergerät veranlasst, das definierte Betriebsverfahren auszuführen, wenn das Softwareprogramm von einem Prozessor des Steuergeräts ausgeführt wird. Wenn das Softwareprogramm das Betriebsverfahren des Steuergeräts definiert, kann das Steuergerät einfach und kostengünstig aktualisiert werden.Another subject matter of the invention is a human-machine interface for an autonomous vehicle, which comprises an actuating element for controlling a function of an autonomous vehicle and a control device connected to the actuating element. The controller defines an operating method for the human-machine interface. The controller may include a software program that causes the controller to execute the defined operating method when the software program is executed by a processor of the controller. If the software program defines the method of operation of the controller, the controller can be easily and inexpensively updated.
Erfindungsgemäß ist die Mensch-Maschine-Schnittstelle konfiguriert, ein erfindungsgemäßes Verfahren auszuführen. Die auf diese Weise konfigurierte Mensch-Maschine-Schnittstelle erhöht eine Sicherheit des autonomen Fahrzeugs, in welchem sie verbaut ist.According to the invention, the man-machine interface is configured to carry out a method according to the invention. The human-machine interface configured in this way increases the safety of the autonomous vehicle in which it is installed.
Bevorzugt ist die Mensch-Maschine-Schnittstelle konfigurierbar und/oder parametrisierbar ausgebildet. Die Konfigurierbarkeit und/oder Parametrisierbarkeit ermöglicht ein nachträgliches Verändern einer Zuordnungslogik oder ein nachträgliches Anpassen der Mensch-Maschine-Schnittstelle an ein logisch modifiziertes Umgebungsmodell des autonomen Fahrzeugs, ein logisch modifiziertes Zustandsmodell des autonomen Fahrzeugs oder ein logisch modifiziertes Zustandsmodell des Insassen.The man-machine interface is preferably designed to be configurable and/or parameterizable. The configurability and/or the ability to parameterize allows a subsequent change of an assignment logic or a subsequent adaptation of the human-machine interface to a logically modified environment model of the autonomous vehicle, a logically modified state model of the autonomous vehicle or a logically modified state model of the occupant.
Noch ein Gegenstand der Erfindung ist ein autonomes Fahrzeug. Das autonome Fahrzeug kann für ein hoch-autonomes Fahren ausgebildet sein.Another subject of the invention is an autonomous vehicle. The autonomous vehicle can be designed for highly autonomous driving.
Das autonome Fahrzeug kann zumindest einen mit dem Steuergerät verbundenen Sensor zum Erfassen einer Umgebung des autonomen Fahrzeugs, eines Zustands des autonomen Fahrzeugs und/oder eines Zustands eines Insassen des autonomen Fahrzeugs umfassen, welcher Daten für ein Umgebungsmodell des autonomen Fahrzeugs, ein Zustandsmodell des autonomen Fahrzeugs und/oder ein Zustandsmodell des Insassen bereitstellt. Ferner kann das autonome Fahrzeug einen Rechner zum Erzeugen und Aktualisieren des Umgebungsmodells oder der beiden Zustandsmodelle umfassen.The autonomous vehicle can include at least one sensor connected to the control unit for detecting an environment of the autonomous vehicle, a state of the autonomous vehicle and/or a state of an occupant of the autonomous vehicle, which data for an environment model of the autonomous vehicle, a state model of the autonomous vehicle and/or provides a state model of the occupant. Furthermore, the autonomous vehicle can include a computer for generating and updating the environment model or the two state models.
Erfindungsgemäß umfasst das autonome Fahrzeug eine erfindungsgemäße Mensch-Maschine-Schnittstelle. Dank der Mensch-Maschine-Schnittstelle ist eine Sicherheit des autonomen Fahrzeugs erhöht.According to the invention, the autonomous vehicle includes a man-machine interface according to the invention. Thanks to the human-machine interface, the safety of the autonomous vehicle is increased.
Ein wesentlicher Vorteil des erfindungsgemäßen Verfahrens besteht darin, dass sich die betriebene Mensch-Maschine-Schnittstelle dank dem Verfahren während eines Fahrens eines autonomen Fahrzeugs flexibel an eine Umgebung des autonomen Fahrzeugs, einen Zustand des autonomen Fahrzeugs oder einen Zustand eines Insassen des autonomen Fahrzeugs adaptiert. Auf diese Weise kann eine Wirkung einer Betätigung der Mensch-Maschine-Schnittstelle situationsabhängig auf ein für das autonome Fahrzeug ungefährliches Maß reduziert werden.An essential advantage of the method according to the invention is that thanks to the method, the operated human-machine interface adapts flexibly to an environment of the autonomous vehicle, a state of the autonomous vehicle or a state of an occupant of the autonomous vehicle while driving an autonomous vehicle. In this way, an effect of an actuation of the man-machine interface can be reduced to a level that is not dangerous for the autonomous vehicle, depending on the situation.
Die Erfindung ist anhand einer Ausführungsform in der Zeichnung schematisch dargestellt und wird unter Bezugnahme auf die Zeichnung weiter beschrieben. Es zeigt:
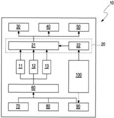
Ferner umfasst das Fahrzeug eine Mehrzahl von Sensoren 70, 80, 90, von denen beispielhaft und nicht einschränkend drei abgebildet sind. Die Sensoren 70, 80, 90 können einen Umgebungssensor 70 wie eine Kamera, einen Ultraschallsensor, einen Temperatursensor oder einen Regensensor, einen Fahrzeugsensor 80 wie einen Geschwindigkeitssensor, einen Tankfüllstandssensor oder einen Lenkwinkelsensor sowie einen Insassensensor 90 wie eine Kamera, einen Pulssensor oder einen Atemsensor umfassen.The vehicle also includes a plurality of
Zu dem autonomen Fahrzeug 10 gehört auch ein mit den Sensoren 70, 80, 90 wie üblich, beispielsweise mittels eines Fahrzeugbussystems, verbundener Rechner 60, welcher konfiguriert ist, ein Umgebungsmodell 11 des autonomen Fahrzeugs 10, ein Zustandsmodell 12 des autonomen Fahrzeugs 10 und/oder ein Zustandsmodell eines in dem autonomen Fahrzeug 10 angeordneten Insassen 100, insbesondere eines Fahrers des autonomen Fahrzeugs 10, zu erzeugen und während eines Fahrens des autonomen Fahrzeugs 10 fortlaufend zu aktualisieren.The
Die Mensch-Maschine-Schnittstelle 20 ist mit dem Rechner 60 und den die Funktionen 30, 40, 50 bereitstellenden Geräten des autonomen Fahrzeugs 10 wie üblich, beispielsweise mittels des Fahrzeugbussystems, verbunden und umfasst ein Betätigungselement 22 zum Steuern einer Funktion 30, 40, 50 des autonomen Fahrzeugs 10 und ein mit dem Betätigungselement 22 verbundenes Steuergerät 21. Die Mensch-Maschine-Schnittstelle 20, insbesondere das Steuergerät 21 kann ein Softwareprogramm umfassen und konfigurierbar und/oder parametrisierbar ausgebildet sein.The man-
Die Mensch-Maschine-Schnittstelle 20 ist konfiguriert, während eines Fahrens, insbesondere eines hoch-autonomen Fahrens, des autonomen Fahrzeugs 10 mit dem folgenden Verfahren betrieben zu werden, d. h. während eines normalen Betriebs das folgende Verfahren auszuführen.The human-
Das Betätigungselement 22 der Mensch-Maschine-Schnittstelle 20 des autonomen Fahrzeugs 10 wird von dem Insassen 100 des autonomen Fahrzeugs 10 betätigt. Das Steuergerät 21 der Mensch-Maschine-Schnittstelle 20 steuert infolge des Betätigens des Betätigungselements 22 eine dem Betätigungselement 22 zugeordnete Funktion 30, 40, 50 des autonomen Fahrzeugs 10 und bestimmt die zugeordnete Funktion 30, 40, 50 bei dem Betätigen des Betätigungselements 22 variabel.The operating
Der Rechner 60 empfängt Daten von den Sensoren 70, 80, 90, erzeugt und aktualisiert fortlaufend das Umgebungsmodell 11 des autonomen Fahrzeugs 10, das Zustandsmodell 12 des autonomen Fahrzeugs 10 und/oder das Zustandsmodell 13des Insassen 100 und übermittelt die Modelle 11, 12, 13, genauer gesagt aus den Modellen 11, 12, 13 abgeleitete und für das Bestimmen der zugeordneten Funktion 30, 40, 50 relevante Daten, an das Steuergerät 21. Das Steuergerät 21 bestimmt die dem Betätigungselement 20 zugeordnete Funktion 30, 40, 50 abhängig von dem Umgebungsmodell 11 des autonomen Fahrzeugs 10, dem Zustandsmodell 12 des autonomen Fahrzeugs 10 und/oder dem Zustandsmodell 13 des Insassen 100 des autonomen Fahrzeugs 10.
Das Steuergerät 21 kann eine Nullfunktion als die zugeordnete Funktion 30, 40, 50 bestimmen, wenn das Zustandsmodell 13 des Insassen 100 ein Unaufmerksamsein des Insassen 100 anzeigt. Das Steuergerät 21 kann eine Nullfunktion oder eine Weckfunktion als die zugeordnete Funktion 30, 40, 50 bestimmen, wenn das Zustandsmodell 13 des Insassen 100 ein Schlafen des Insassen 100 anzeigt. Beispielsweise kann ein Betätigen eines Schalters der Warnblinkanlage oder eines Hebels der Schweibenwischanlage des autonomen Fahrzeugs 10 die Weckfunktion steuern, wenn von dem Sensor 90 ein Schlafen des Insassen 100 erfasst wird.The control unit 21 can determine a null function as the assigned
Das Steuergerät 21 kann aus einer dem Betätigungselement 22 zugeordneten Gruppe von ähnlichen hinsichtlich ihrer Wirkung abgestuften Funktionen 30, 40, 50 diejenige Funktion 30, 40, 50 als die zugeordnete Funktion 30, 40, 50 bestimmen, welche eine maximale mit dem Umgebungsmodell 11 des autonomen Fahrzeugs 10, dem Zustandsmodell 12 des autonomen Fahrzeugs 10 und/oder dem Zustandsmodell 13 des Insassen 100 verträgliche Wirkung aufweist. Beispielsweise kann ein Betätigen eines Start-Stopp-Knopfs oder eines Gangwahlhebels oder eines Umschaltknopfs von Abblendlicht auf Standlicht als des Betätigungselements 22 nur dann zu einer Notabschaltung des autonomen Fahrzeugs 22 führen, wenn von dem Sensor 90 zumindest ein vorbestimmter minimaler Aufmerksamkeitsgrad des Insassen 100 erfasst wird.From a group of
Das Steuergerät 21 kann eine Abfolge von Funktionen 30, 40, 50 als die zugeordnete Funktion 30, 40, 50 bestimmen. Beispielsweise kann ein Betätigen eines Schalters einer elektrischen Feststellbremse, d. h. einer Parkbremse, des autonomen Fahrzeugs 10 ein Bremssystem des autonomen Fahrzeugs 10 zu einem Notbremsen des autonomen Fahrzeugs 10 veranlassen, wenn während eines manuell gesteuerten oder hoch-autonomen Fahrens des Elektrofahrzeugs 10 zumindest ein vorbestimmter minimaler Aufmerksamkeitsgrad des Insassen 100 erfasst wird. Das Betätigen des Schalters der elektrischen Feststellbremse kann das Bremssystem des autonomen Fahrzeugs 10 veranlassen, stark zu bremsen, eine Bremswarnung auszugeben und das autonomen Fahrzeug 10 sofort anzuhalten, wenn eine von dem Sensor 70 erfasste Verkehrssituation ein unmittelbares Halten des autonomen Fahrzeugs 10 erlaubt und der Insasse 100 seinen Blick nicht in die Umgebung richtet oder von dem Sensor 90 ein niedrigerer als der vorbestimmte minimale Aufmerksamkeitsgrad des Insassen 100 erfasst wird. Das Betätigen des Schalters der elektrischen Feststellbremse kann das Bremssystem des autonomen Fahrzeugs 10 veranlassen, moderat zu bremsen, eine Bremswarnung auszugeben und zu einer nächstmöglichen Halteposition zu fahren, wenn eine von dem Sensor 70 erfasste Verkehrssituation, beispielsweise eine enge Baustellenspur ohne Randstreifen, ein unmittelbares Halten des autonomen Fahrzeugs 10 verbietet und der Insasse 100 seinen Blick nicht in die Umgebung richtet oder von dem Sensor 90 ein niedrigerer als der vorbestimmte minimale Aufmerksamkeitsgrad des Insassen 100 erfasst wird.The control unit 21 can determine a sequence of
Das Steuergerät 21 kann ferner die zugeordnete Funktion 30, 40, 50 erst nach einem wiederholten Betätigen des Betätigungselements 22 steuern. Beispielsweise kann ein Betätigen eines Schalters zum Türöffnen oder zum zentralen Verriegeln des autonomen Fahrzeugs 10 nur dann die jeweiligen Wirkungen verursachen, wenn der Schalter von dem Insassen 100 mehrmals hintereinander betätigt wird oder von dem Sensor 90 ein zumindest ein vorbestimmter minimaler Aufmerksamkeitsgrad des Insassen 100 erfasst wird.The control unit 21 can also control the assigned
BezugszeichenlisteReference List
| Application Number | Priority Date | Filing Date | Title | 
|---|---|---|---|
| DE102020131926.6ADE102020131926A1 (en) | 2020-12-02 | 2020-12-02 | Adaptive human-machine interface for a vehicle | 
| Application Number | Priority Date | Filing Date | Title | 
|---|---|---|---|
| DE102020131926.6ADE102020131926A1 (en) | 2020-12-02 | 2020-12-02 | Adaptive human-machine interface for a vehicle | 
| Publication Number | Publication Date | 
|---|---|
| DE102020131926A1true DE102020131926A1 (en) | 2022-06-02 | 
| Application Number | Title | Priority Date | Filing Date | 
|---|---|---|---|
| DE102020131926.6AWithdrawnDE102020131926A1 (en) | 2020-12-02 | 2020-12-02 | Adaptive human-machine interface for a vehicle | 
| Country | Link | 
|---|---|
| DE (1) | DE102020131926A1 (en) | 
| Publication number | Priority date | Publication date | Assignee | Title | 
|---|---|---|---|---|
| WO2024094768A1 (en)* | 2022-11-03 | 2024-05-10 | Volkswagen Aktiengesellschaft | Method for carrying out a situation-contingent braking operation of a vehicle by means of an electronic parking brake, electronic braking system and motor vehicle | 
| Publication number | Priority date | Publication date | Assignee | Title | 
|---|---|---|---|---|
| DE102015120831A1 (en) | 2014-12-07 | 2016-06-09 | Toyota Motor Engineering & Manufacturing North America Inc. | Mixed autonomous and manual control of autonomous vehicles | 
| US20170235305A1 (en) | 2016-02-11 | 2017-08-17 | Samsung Electronics Co., Ltd. | Method and apparatus for controlling vehicle | 
| DE102016222499A1 (en) | 2016-11-16 | 2018-05-17 | Audi Ag | A method of operating a motor vehicle in response to a driver condition | 
| DE102017219065A1 (en) | 2017-10-25 | 2019-04-25 | Bayerische Motoren Werke Aktiengesellschaft | METHOD AND DEVICE FOR CONFIGURING AN AUTOMATED VEHICLE GUIDANCE | 
| DE102019105490A1 (en) | 2019-03-05 | 2020-09-10 | Bayerische Motoren Werke Aktiengesellschaft | Method, device and computer program for operating a vehicle using a mobile user device | 
| DE102019206981A1 (en) | 2019-05-14 | 2020-11-19 | Volkswagen Aktiengesellschaft | Method for detecting unintentional operation of a control device in an at least partially autonomous motor vehicle | 
| Publication number | Priority date | Publication date | Assignee | Title | 
|---|---|---|---|---|
| DE102015120831A1 (en) | 2014-12-07 | 2016-06-09 | Toyota Motor Engineering & Manufacturing North America Inc. | Mixed autonomous and manual control of autonomous vehicles | 
| US20170235305A1 (en) | 2016-02-11 | 2017-08-17 | Samsung Electronics Co., Ltd. | Method and apparatus for controlling vehicle | 
| DE102016222499A1 (en) | 2016-11-16 | 2018-05-17 | Audi Ag | A method of operating a motor vehicle in response to a driver condition | 
| DE102017219065A1 (en) | 2017-10-25 | 2019-04-25 | Bayerische Motoren Werke Aktiengesellschaft | METHOD AND DEVICE FOR CONFIGURING AN AUTOMATED VEHICLE GUIDANCE | 
| DE102019105490A1 (en) | 2019-03-05 | 2020-09-10 | Bayerische Motoren Werke Aktiengesellschaft | Method, device and computer program for operating a vehicle using a mobile user device | 
| DE102019206981A1 (en) | 2019-05-14 | 2020-11-19 | Volkswagen Aktiengesellschaft | Method for detecting unintentional operation of a control device in an at least partially autonomous motor vehicle | 
| Publication number | Priority date | Publication date | Assignee | Title | 
|---|---|---|---|---|
| WO2024094768A1 (en)* | 2022-11-03 | 2024-05-10 | Volkswagen Aktiengesellschaft | Method for carrying out a situation-contingent braking operation of a vehicle by means of an electronic parking brake, electronic braking system and motor vehicle | 
| Publication | Publication Date | Title | 
|---|---|---|
| DE102013222048B4 (en) | Method and device for activating or deactivating an automatic driving function | |
| EP3423328B1 (en) | Device for controlling longitudinal guidance of a vehicle designed to be driven in an at least partly automated manner | |
| EP3068672B1 (en) | Changing of the driving mode for a driver assistance system | |
| EP3180221B1 (en) | Driver assistance system | |
| EP2162337B1 (en) | Cruise control for motor vehicles | |
| DE102013013539A1 (en) | Driver assistance system and method for operating a driver assistance system | |
| WO2018211033A1 (en) | Driver assistance system with hands-on detection with distinction between the placement of only one hand and both hands on the steering wheel | |
| WO2008067872A1 (en) | Driver assistance system for motor vehicles | |
| DE102015224555A1 (en) | Method for operating a vehicle | |
| DE102011101541B4 (en) | Operating unit for a driver assistance system and method for operating a driver assistance system by means of such an operating unit | |
| DE102020131926A1 (en) | Adaptive human-machine interface for a vehicle | |
| WO2021204632A1 (en) | Method for operating a driver assistance system of a vehicle, comprising driver moderation for partially-automated functions, driver assistance system, and vehicle | |
| EP3740406A1 (en) | Assistance system for a vehicle | |
| EP4259467B1 (en) | Method and apparatus for involvement-dependent dynamic blocking of an operating device | |
| DE102017213205A1 (en) | Pedal system with at least one variable meaning of the operation of at least one pedal | |
| DE102015204365B4 (en) | Device and method for autonomous or semi-autonomous control of a vehicle | |
| DE102014011596B4 (en) | Motor vehicle with a driver assistance device and a control device and method for operating a control device for a driver assistance device | |
| DE102019000461B4 (en) | Method for operating a lane guidance system and lane guidance system | |
| DE102018211339B3 (en) | Assistance system for a vehicle | |
| DE10306136B4 (en) | Safety device for a motor vehicle | |
| DE102020112142B4 (en) | Vehicle system and method for interacting with a driver of a vehicle | |
| WO2018189052A1 (en) | Steering device assembly for a vehicle and method for avoiding incorrect inputs on a vehicle horn | |
| WO2021175621A1 (en) | Controller and method for controlling an operating element | |
| WO2021151671A1 (en) | Device and method for assisting a driver of an autonomous vehicle | |
| EP3747720A1 (en) | Vehicle guidance system and method for operating a vehicle with a plurality of predetermined manual steering semiautonomous modes and non-manual steering semiautonomous modes | 
| Date | Code | Title | Description | 
|---|---|---|---|
| R163 | Identified publications notified | ||
| R082 | Change of representative | Representative=s name:RDL PATENTANWAELTE PARTG MBB, DE Representative=s name:RAIBLE, DEISSLER, LEHMANN PATENTANWAELTE PARTG, DE | |
| R119 | Application deemed withdrawn, or ip right lapsed, due to non-payment of renewal fee |