Movatterモバイル変換


[0]ホーム

URL:


DE102018220279A1 - IMAGING APPARATUS AND METHOD - Google Patents

IMAGING APPARATUS AND METHOD
Download PDF

Info

Publication number
DE102018220279A1
DE102018220279A1DE102018220279.6ADE102018220279ADE102018220279A1DE 102018220279 A1DE102018220279 A1DE 102018220279A1DE 102018220279 ADE102018220279 ADE 102018220279ADE 102018220279 A1DE102018220279 A1DE 102018220279A1
Authority
DE
Germany
Prior art keywords
vehicle
parking
target position
light
image
Prior art date
Legal status (The legal status is an assumption and is not a legal conclusion. Google has not performed a legal analysis and makes no representation as to the accuracy of the status listed.)
Pending
Application number
DE102018220279.6A
Other languages
German (de)
Inventor
Jeremy Greenwood
Current Assignee (The listed assignees may be inaccurate. Google has not performed a legal analysis and makes no representation or warranty as to the accuracy of the list.)
Jaguar Land Rover Ltd
Original Assignee
Jaguar Land Rover Ltd
Priority date (The priority date is an assumption and is not a legal conclusion. Google has not performed a legal analysis and makes no representation as to the accuracy of the date listed.)
Filing date
Publication date
Application filed by Jaguar Land Rover LtdfiledCriticalJaguar Land Rover Ltd
Publication of DE102018220279A1publicationCriticalpatent/DE102018220279A1/en
Pendinglegal-statusCriticalCurrent

Links

Images

Classifications

Landscapes

Abstract

Translated fromGerman

Die vorliegende Offenbarung betrifft ein erweitertes Bildgebungssystem zum Anzeigen einer Zielposition (P) eines Fahrzeugs. Das erweiterte Bildgebungssystem umfasst einen Prozessor (34, 134, 234), der konfiguriert ist, um eine Zielposition (P) für das Fahrzeug zu bestimmen. Bilddaten werden von einem oder mehreren Bildsensoren empfangen, wobei die Bilddaten ein Bild umfassen, das die Zielposition (P) enthält. Ein Zielpositionsindikator (39, 339) wird erzeugt, der die Zielposition (P) darstellt. Der Zielpositionsindikator (39, 339) wird dem Bild (40, 340) überlagert, um ein erweitertes Bild (40, 340) (380) zu erzeugen, das die Zielposition (P) des Fahrzeugs darstellt. Die vorliegende Offenbarung bezieht sich auch auf ein Fahrzeug, das ein erweitertes Bildgebungssystem enthält; und auf ein Verfahren zum Erzeugen eines erweiterten Bildgebungssystems.The present disclosure relates to an enhanced imaging system for displaying a target position (P) of a vehicle. The enhanced imaging system includes a processor (34, 134, 234) configured to determine a target position (P) for the vehicle. Image data is received by one or more image sensors, the image data including an image containing the target position (P). A target position indicator (39, 339) is generated representing the target position (P). The target position indicator (39, 339) is superimposed on the image (40, 340) to produce an enhanced image (40, 340) (380) representing the target position (P) of the vehicle. The present disclosure also relates to a vehicle incorporating an enhanced imaging system; and to a method of creating an advanced imaging system.

Description

Translated fromGerman

TECHNISCHES GEBIETTECHNICAL AREA

Die vorliegende Ofenbarung betrifft ein Bildgebungsapparat und ein Verfahren. Insbesondere, aber nicht ausschließlich, betrifft die vorliegende Veröffentlichung ein erweitertes Bildgebungssystem zum Anzeigen einer Zielposition und/oder einer Zielroute eines Fahrzeugs; und ein Verfahren zum Erzeugen eines erweiterten Bildes zum Darstellen einer Zielposition und/oder einer Zielroute eines Fahrzeugs.The present disclosure relates to an imaging apparatus and method. In particular, but not exclusively, the present disclosure relates to an enhanced imaging system for displaying a target position and / or route of a vehicle; and a method of generating an enhanced image representing a target position and / or route of a vehicle.

STAND DER TECHNIKSTATE OF THE ART

Es ist bekannt, dass es Fahrzeug-Parksysteme zum Parken eines mit einem Fahrzeug gekoppelten Anhängers gibt. Eine Zielroute kann generiert werden, um den Anhänger zu einem ausgewählten Parkplatz zu führen. Zur Steuerung des Fahrzeugs wird ein Fahrzeugsteuersignal ausgegeben, das den Anhänger zum Parkplatz führt. Ein potenzieller Mangel an bekannten Systemen ist die Herausforderung bei der Identifizierung eines geeigneten Parkplatzes, da der Benutzer möglicherweise nur begrenzte Informationen zur Beurteilung von Faktoren wie Oberflächenbeschaffenheit oder Neigung hat.It is known that there are vehicle parking systems for parking a trailer coupled to a vehicle. A destination route can be generated to guide the trailer to a selected parking lot. To control the vehicle, a vehicle control signal is output, which leads the trailer to the parking lot. A potential shortcoming of known systems is the challenge of identifying a suitable parking space, as the user may have limited information to assess factors such as surface condition or inclination.

Zumindest in bestimmten Ausführungsformen versucht die vorliegende Erfindung, wenigstens einige der vorgenannten Probleme zu verbessern oder zu überwinden.In at least certain embodiments, the present invention seeks to improve or overcome at least some of the foregoing problems.

KURZDARSTELLUNG DER ERFINDUNGBRIEF SUMMARY OF THE INVENTION

Aspekte der vorliegenden Erfindung beziehen sich auf eine Steuerung, ein Fahrzeug, ein Verfahren und ein nicht-transitorisches computerlesbares Medium, wie in den beigefügten Ansprüchen beansprucht.Aspects of the present invention relate to a controller, a vehicle, a method, and a non-transitory computer-readable medium as claimed in the appended claims.

Gemäß einem weiteren Aspekt der vorliegenden Erfindung wird ein erweitertes Bildgebungssystem zum Anzeigen einer Zielposition eines Fahrzeugs bereitgestellt, wobei das erweiterte Bildgebungssystem einen Prozessor umfasst, der konfiguriert ist um:

  • eine Zielposition für das Fahrzeug zu bestimmen;
  • Bilddaten von einem oder mehreren Bildsensoren zu empfangen, wobei die Bilddaten ein Bild einschließlich der Zielposition umfassen;
  • einen Zielpositionsindikator zum Darstellen der Zielposition zu erzeugen; und
  • den Zielpositionsindikator auf dem Bild zu überlagern, um ein erweitertes Bild zu erzeugen, das die Zielposition des Fahrzeugs darstellt. Das erweiterte Bildgebungssystem kann eine Anzeigevorrichtung zum Anzeigen des erweiterten Bildes umfassen. Die Zielposition des Fahrzeugs wird im erweiterten Display durch den Zielpositionsindikator ergänzt. Zumindest in bestimmten Ausführungsformen kann die Position und/oder Orientierung des Zielpositionsindikators innerhalb des erweiterten Bildes modifiziert werden. Ein Benutzer kann dadurch die Zielposition leichter mit realen Eigenschaften wie etwa einem Hindernis in Beziehung setzen.
In accordance with another aspect of the present invention, there is provided an enhanced imaging system for displaying a target position of a vehicle, the enhanced imaging system comprising a processor configured to:
  • to determine a target position for the vehicle;
  • Receiving image data from one or more image sensors, the image data including an image including the target position;
  • to generate a target position indicator for representing the target position; and
  • superimpose the target position indicator on the image to generate an expanded image representing the target position of the vehicle. The extended imaging system may include a display device for displaying the enhanced image. The target position of the vehicle is supplemented in the extended display by the target position indicator. At least in certain embodiments, the position and / or orientation of the target position indicator may be modified within the extended image. A user can thereby relate the target position more easily to real characteristics such as an obstacle.

Der Prozessor kann konfiguriert sein, um eine Benutzereingabe zu empfangen, um die Position und/oder Orientierung des Zielpositionsindikators innerhalb des erweiterten Bildes einzustellen. Das erweiterte Bild kann in Abhängigkeit von der Benutzereingabe modifiziert werden.The processor may be configured to receive a user input to adjust the position and / or orientation of the target position indicator within the extended image. The extended image may be modified depending on the user input.

Der Prozessor kann konfiguriert sein zum: Bestimmen einer Zielroute für das Fahrzeug von einer aktuellen Position zu der Zielposition; und Erzeugen eines Zielroutenindikators in Abhängigkeit von der Zielroute. Der Prozessor kann so konfiguriert sein, dass er den Zielroutenindikator dem Bild überlagert. Somit kann das erweiterte Bild die Zielroute des Fahrzeugs darstellen.The processor may be configured to: determine a destination route for the vehicle from a current position to the destination position; and generating a destination route indicator in response to the destination route. The processor may be configured to overlay the target route indicator with the image. Thus, the expanded image may represent the target route of the vehicle.

Der Zielroutenindikator kann eine oder mehrere Weglinien umfassen, die die Zielroute des Fahrzeugs darstellen. Die eine oder die mehreren Weglinien können eines oder mehrere der Folgenden repräsentieren: einen ersten Weg eines ersten Rads; einen zweiten Weg eines zweiten Rades; und einen Mittelweg einer Mittellinie des Fahrzeugs.The destination route indicator may include one or more route lines that represent the destination route of the vehicle. The one or more route lines may represent one or more of: a first path of a first wheel; a second path of a second wheel; and a middle path of a centerline of the vehicle.

Der Prozessor kann konfiguriert sein, um die Zielroute in Abhängigkeit von einer Benutzereingabe zu modifizieren. Im Gebrauch kann ein Benutzer das Profil des Zielroutenindikators modifizieren. Zum Beispiel kann ein Benutzer einen oder mehrere Punkte manipulieren, die den Zielroutenindikator definieren.The processor may be configured to modify the destination route in response to user input. In use, a user may modify the profile of the destination route indicator. For example, a user may manipulate one or more points that define the destination route indicator.

Der Prozessor kann konfiguriert sein, um die aktuelle Position des Fahrzeugs zu bestimmen, indem die Bilddaten verarbeitet werden, um das Fahrzeug zu identifizieren. Zum Beispiel kann der Prozessor eine Bildverarbeitungsfunktion ausführen, um das Fahrzeug zu identifizieren.The processor may be configured to determine the current position of the vehicle by processing the image data to identify the vehicle. For example, the processor may perform an image processing function to identify the vehicle.

Der Prozessor kann konfiguriert sein, um die aktuelle Position des Fahrzeugs in Abhängigkeit von einer Benutzereingabe zu bestimmen. Zum Beispiel kann ein Benutzer die aktuelle Position des Fahrzeugs angeben.The processor may be configured to determine the current position of the vehicle in response to a user input. For example, a user may indicate the current position of the vehicle.

Das erweiterte Bildgebungssystem kann einen Empfänger zum Empfangen der Bilddaten von dem einen oder den mehreren Bildsensoren umfassen. Der eine oder die mehreren Bildsensoren können ferngesteuert bereitgestellt werden. Der Empfänger kann ein drahtloser Empfänger sein, zum Beispiel ein Radiofrequenz (RF) -Empfänger. Der eine oder die mehreren Bildsensoren können in einer Parkleuchte oder dem Fahrzeug vorgesehen sein.The enhanced imaging system may include a receiver for receiving the image data from the one or more image sensors. The one or more image sensors may be provided remotely. The The receiver may be a wireless receiver, for example a radio frequency (RF) receiver. The one or more image sensors may be provided in a parking lamp or the vehicle.

Das erweiterte Bildgebungssystem kann einen Sender zum Übertragen von erweiterten Bilddaten umfassen. Die erweiterten Bilddaten können das erzeugte erweiterte Bild darstellen. Die erweiterten Bilddaten können zu einem entfernten Gerät übertragen werden, um das erweiterte Bild anzuzeigen. Das entfernte Gerät kann einen Bildschirm umfassen. Das entfernte Gerät kann beispielsweise ein Mobiltelefon, ein Tablet-Computer oder ein PC wie etwa ein Laptop sein. Alternativ kann das entfernte Gerät in einem Host-Fahrzeug bereitgestellt sein.The extended imaging system may include a transmitter for transmitting enhanced image data. The expanded image data can represent the generated enhanced image. The extended image data can be transferred to a remote device to display the expanded image. The remote device may include a screen. The remote device may be, for example, a mobile phone, a tablet computer or a personal computer such as a laptop. Alternatively, the remote device may be provided in a host vehicle.

Die Zielposition kann eine Zielposition eines gezogenen Fahrzeugs, beispielsweise eines Anhängers, sein. Somit kann das erweiterte Bildgebungssystem konfiguriert sein, um ein erweitertes Bild zu erzeugen, das eine Zielposition eines gezogenen Fahrzeugs darstellt.The target position may be a target position of a towed vehicle, such as a trailer. Thus, the enhanced imaging system may be configured to generate an enhanced image representing a target position of a towed vehicle.

Die Zielposition kann eine Zielposition eines Zugfahrzeugs oder eines selbstfahrenden Fahrzeugs sein. Somit kann das erweiterte Bildgebungssystem konfiguriert sein, um ein erweitertes Bild zu erzeugen, das eine Zielposition eines Zugfahrzeugs oder eines selbstfahrenden Fahrzeugs darstellt.The target position may be a target position of a towing vehicle or a self-propelled vehicle. Thus, the enhanced imaging system may be configured to generate an enhanced image representing a target position of a towing vehicle or a self-propelled vehicle.

Gemäß einem weiteren Aspekt der vorliegenden Erfindung ist eine Parkleuchte vorgesehen, die ein erweitertes Bildgebungssystem umfasst, wie hierin beschrieben.In accordance with another aspect of the present invention, a parking lamp is provided that includes an enhanced imaging system as described herein.

Gemäß einem weiteren Aspekt der vorliegenden Erfindung ist ein Fahrzeug vorgesehen, das ein erweitertes Bildgebungssystem umfasst, wie hierin beschrieben.In accordance with another aspect of the present invention, a vehicle is provided that includes an enhanced imaging system as described herein.

Gemäß einem weiteren Aspekt der vorliegenden Erfindung wird ein Verfahren zum Erzeugen eines erweiterten Bildes zum Anzeigen einer Zielposition eines Fahrzeugs bereitgestellt, wobei das Verfahren umfasst:

  • Bestimmen einer Zielposition des Fahrzeugs;
  • Empfangen von Bilddaten, die ein Bild mit der Zielposition umfassen;
  • Erzeugen eines Zielpositionsindikators zum Darstellen der Zielposition; und
  • Überlagern des Zielpositionsindikators mit dem Bild, um ein erweitertes Bild zu erzeugen, das die Zielposition des Fahrzeugs darstellt. Das Verfahren kann das Anzeigen des erweiterten Bildes umfassen.
According to another aspect of the present invention, there is provided a method of generating an enhanced image for displaying a target position of a vehicle, the method comprising:
  • Determining a target position of the vehicle;
  • Receiving image data including an image with the target position;
  • Generating a target position indicator to represent the target position; and
  • Overlaying the target position indicator with the image to generate an expanded image representing the target position of the vehicle. The method may include displaying the enhanced image.

Das Verfahren kann das Empfangen einer Benutzereingabe umfassen, um die Position und/oder Orientierung des Zielpositionsindikators innerhalb des erweiterten Bildes einzustellen.The method may include receiving a user input to adjust the position and / or orientation of the target position indicator within the extended image.

Das Verfahren kann das Bestimmen einer Zielroute für das Fahrzeug von einer aktuellen Position zu der Zielposition umfassen; und das Erzeugen eines Zielroutenindikators in Abhängigkeit von der Zielroute. Das Verfahren kann das Überlagern des Zielroutenindikators auf das Bild umfassen, so dass das erweiterte Bild die Zielroute des Fahrzeugs darstellt.The method may include determining a destination route for the vehicle from a current position to the destination position; and generating a destination route indicator in response to the destination route. The method may include superimposing the target route indicator on the image such that the enhanced image represents the target route of the vehicle.

Der Zielroutenindikator kann eine oder mehrere Weglinien umfassen, die die Zielroute des Fahrzeugs darstellen. Die eine oder die mehreren Weglinien können eines oder mehrere der Folgenden repräsentieren: einen ersten Weg eines ersten Rads; einen zweiten Weg eines zweiten Rades; und einen Mittelweg einer Mittellinie des Fahrzeugs.The destination route indicator may include one or more route lines that represent the destination route of the vehicle. The one or more route lines may represent one or more of: a first path of a first wheel; a second path of a second wheel; and a middle path of a centerline of the vehicle.

Das Verfahren kann das Modifizieren der Zielroute in Abhängigkeit von einer Benutzereingabe umfassen.The method may include modifying the destination route in response to user input.

Das Verfahren kann das Bestimmen der aktuellen Position des Fahrzeugs durch Verarbeiten der Bilddaten zum Identifizieren des Fahrzeugs umfassen. Beispielsweise kann das Verfahren das Verarbeiten der Bilddaten zum Identifizieren des Fahrzeugs umfassen.The method may include determining the current position of the vehicle by processing the image data to identify the vehicle. For example, the method may include processing the image data to identify the vehicle.

Das Verfahren kann das Bestimmen der aktuellen Position des Fahrzeugs in Abhängigkeit von einer Benutzereingabe umfassen. Zum Beispiel kann ein Benutzer die aktuelle Position des Fahrzeugs angeben.The method may include determining the current position of the vehicle in response to a user input. For example, a user may indicate the current position of the vehicle.

Das Verfahren kann das Empfangen der Bilddaten von dem einen oder den mehreren Bildsensoren umfassen. Der eine oder die mehreren Bildsensoren können in einer separaten Vorrichtung vorgesehen sein.The method may include receiving the image data from the one or more image sensors. The one or more image sensors may be provided in a separate device.

Das Verfahren kann das Übertragen des erweiterten Bildes zu einer Fernanzeigevorrichtung umfassen. Das erweiterte Bild kann zu einem entfernten Gerät übertragen werden, um das erweiterte Bild anzuzeigen. Das entfernte Gerät kann einen Bildschirm umfassen. Das entfernte Gerät kann beispielsweise ein Mobiltelefon, ein Tablet-Computer oder ein PC wie etwa ein Laptop sein. Alternativ kann das entfernte Gerät in einem Host-Fahrzeug bereitgestellt sein.The method may include transmitting the enhanced image to a remote display device. The extended image can be transferred to a remote device to display the expanded image. The remote device may include a screen. The remote device may be, for example, a mobile phone, a tablet computer or a personal computer such as a laptop. Alternatively, the remote device may be provided in a host vehicle.

Die Zielposition kann eine Zielposition eines gezogenen Fahrzeugs, beispielsweise eines Anhängers, sein. Alternativ kann die Zielposition eine Zielposition eines Zugfahrzeugs oder eines selbstfahrenden Fahrzeugs sein.The target position may be a target position of a towed vehicle, such as a trailer. Alternatively, the target position can be a Target position of a towing vehicle or a self-propelled vehicle.

Gemäß einem weiteren Aspekt der vorliegenden Erfindung wird ein erweitertes Bildgebungssystem zum Darstellen mindestens eines Teils einer Zielroute eines Fahrzeugs bereitgestellt, wobei das erweiterte Bildgebungssystem einen Prozessor umfasst, der konfiguriert ist zum:

  • Bestimmen einer Zielroute für das Fahrzeug;
  • Empfangen von Bilddaten von einem oder mehreren Bildsensoren, wobei die Bilddaten ein Bild umfassen, das mindestens einen Teil der Zielroute enthält; und
  • Überlagern von mindestens einem Teil der Zielroute auf dem Bild, um ein erweitertes Bild zu erzeugen.
According to another aspect of the present invention, there is provided an enhanced imaging system for displaying at least a portion of a target route of a vehicle, the enhanced imaging system comprising a processor configured to:
  • Determining a destination route for the vehicle;
  • Receiving image data from one or more image sensors, the image data comprising an image including at least a portion of the destination route; and
  • Overlay at least part of the destination route on the image to create an expanded image.

Gemäß einem weiteren Aspekt der vorliegenden Erfindung wird ein Verfahren zum Erzeugen eines erweiterten Bildes bereitgestellt, um zumindest einen Teil einer Zielroute eines Fahrzeugs darzustellen, wobei das Verfahren umfasst:

  • Bestimmen einer Zielroute für das Fahrzeug;
  • Empfangen von Bilddaten von einem oder mehreren Bildsensoren, wobei die Bilddaten ein Bild umfassen, das mindestens einen Teil der Zielroute enthält; und
  • Überlagern von mindestens einem Teil der Zielroute auf dem Bild, um ein erweitertes Bild zu erzeugen.
According to another aspect of the present invention, there is provided a method of generating an enhanced image to represent at least a portion of a destination route of a vehicle, the method comprising:
  • Determining a destination route for the vehicle;
  • Receiving image data from one or more image sensors, the image data comprising an image including at least a portion of the destination route; and
  • Overlay at least part of the destination route on the image to create an expanded image.

Gemäß einem weiteren Aspekt der vorliegenden Erfindung ist ein nicht-transitorisches, computerlesbares Medium mit einem darin gespeicherten Befehlssatz vorgesehen, das bei Ausführung einen Prozessor veranlasst, das hierin beschriebene Verfahren durchzuführen.In accordance with another aspect of the present invention, there is provided a non-transitory computer-readable medium having an instruction set stored therein that, when executed, causes a processor to perform the method described herein.

Jede in dieser Schrift beschriebene Steuereinheit oder Steuerung kann in geeigneter Weise eine Rechenvorrichtung mit einem oder mehreren elektronischen Prozessoren umfassen. Das System kann aus einer einzelnen Steuereinheit oder einer elektronischen Steuerung bestehen, oder alternativ können verschiedene Funktionen der Steuerung in verschiedenen Steuereinheiten oder Steuerungen ausgeführt oder in diesen untergebracht sein. Wie hierin verwendet, umfasst der Begriff „Steuerung“ oder „Steuereinheit“ sowohl eine einzelne Steuereinheit oder Steuerung als auch eine Vielzahl von Steuereinheiten oder Steuerungen, die gemeinsam betrieben werden, um eine bestimmte Steuerungsfunktionalität bereitzustellen. Um eine Steuerung oder Steuereinheit zu konfigurieren, kann ein geeigneter Befehlssatz bereitgestellt werden, der, wenn er ausgeführt wird, die Steuereinheit oder die Rechenvorrichtung veranlassen kann, die hierin beschriebenen Steuertechniken zu implementieren. Der Befehlssatz kann geeignet sein, in den einen oder in mehrere elektronische Prozessoren eingebettet zu werden. Alternativ kann der Befehlssatz auch als Software bereitgestellt werden, die in einem oder mehreren Speichern gespeichert ist, die der Steuerung zugeordnet sind, um auf der Rechenvorrichtung ausgeführt zu werden. Die Steuereinheit oder Steuerung kann in einer Software implementiert werden, die auf einem oder mehreren Prozessoren läuft. Eine oder mehrere andere Steuereinheiten oder Steuerungen können in Software implementiert werden, die auf einem oder mehreren Prozessoren ausgeführt wird, optional auf denselben oder mehreren Prozessoren wie die erste Steuerung. Es können auch andere geeignete Vorkehrungen getroffen werden.Any control unit or controller described herein may suitably include a computing device having one or more electronic processors. The system may consist of a single control unit or electronic control, or alternatively, various functions of the control may be implemented in or housed in various control units or controls. As used herein, the term "controller" or "controller" includes both a single controller or controller and a plurality of controllers or controllers that are operated in concert to provide a particular controller functionality. To configure a controller, a suitable instruction set may be provided which, when executed, may cause the controller or computing device to implement the control techniques described herein. The instruction set may be adapted to be embedded in one or more electronic processors. Alternatively, the instruction set may also be provided as software stored in one or more memories associated with the controller for execution on the computing device. The controller or controller may be implemented in software running on one or more processors. One or more other controllers or controllers may be implemented in software executing on one or more processors, optionally on the same or multiple processors as the first controller. Other suitable arrangements may be made.

Im Rahmen dieser Anwendung ist ausdrücklich vorgesehen, dass die verschiedenen Aspekte, Ausführungsformen, Beispiele und Alternativen, die in den vorstehenden Absätzen, in den Ansprüchen und/oder in den folgenden Beschreibungen und Zeichnungen dargelegt sind, und insbesondere die einzelnen Merkmale davon, unabhängig oder in beliebiger Kombination übernommen werden können. Dies bedeutet, dass alle Ausführungsformen und/oder Merkmale einer beliebigen Ausführungsform auf beliebige Art und/oder in beliebiger Kombination kombiniert werden können, sofern die Merkmale nicht inkompatibel sind. Der Anmelder behält sich das Recht vor, einen ursprünglich eingereichten Patentanspruch zu ändern oder einen neuen Patentanspruch entsprechend einzureichen, einschließlich des Rechts, eine ursprünglich eingereichten Patentanspruch zu ändern, um von einem anderen Patentanspruch abhängig zu sein und/oder eine Eigenschaft eines anderen Patentanspruchs aufzunehmen, obwohl diese ursprünglich nicht auf diese Weise geltend gemacht wurde.It is expressly intended in the context of this application that the various aspects, embodiments, examples and alternatives set forth in the preceding paragraphs, in the claims and / or in the following descriptions and drawings, and in particular the individual features thereof, be made independently or in part any combination can be accepted. This means that all embodiments and / or features of any embodiment can be combined in any manner and / or in any combination, as long as the features are not incompatible. The Applicant reserves the right to change an original claim or to submit a new claim, including the right to change an original claim to be dependent on another claim and / or to incorporate a feature of another claim; although this was not initially claimed in this way.

Figurenlistelist of figures

Eine oder mehrere Ausführungsformen der Erfindung werden nun nur beispielhaft ausschließlich unter Bezugnahme auf die beiliegenden Zeichnungen beschrieben, darin gilt:

  • 1 zeigt ein Einparkassistenzsystem gemäß einer Ausführungsform der vorliegenden Erfindung;
  • 2 zeigt eine schematische Darstellung eines Fahrzeugs mit einer Einparkassistenzsteuerung zur Verwendung in dem in1 dargestellten Einparkassistenzsystem;
  • 3 zeigt eine schematische Darstellung einer Parkleuchte zur Verwendung in dem in1 dargestellten Einparkassistenzsystem;
  • 4A zeigt ein Blockdiagramm, das den Betrieb des Einparkassistenzsystems darstellt, um einen kodierten Parkortindikator zu projizieren;
  • 4B zeigt ein Blockdiagramm, das den Betrieb des Einparkassistenzsystems zum Erzeugen einer Zielroute darstellt;
  • 5 veranschaulicht eine vom Einparkassistenzsystem generierte Zielroute zur Führung eines Anhängers zu einer Zielposition;
  • 6A zeigt das Anzeigebild von einer Rückfahrkamera mit einer grafischen Überlagerung, die die Zielposition des Anhängers darstellt;
  • 6B zeigt ein Bild aus der Vogelperspektive, das die Merkmale des zu projizierenden Anhängers zusammen mit dem Parkortindikator beinhaltet;
  • 7 zeigt ein Blockdiagramm, das den Betrieb des Einparkassistenzsystems darstellt, um eine grafische Darstellung der Zielroute zu erzeugen;
  • 8 veranschaulicht die Fahrzeug- und Anhängerabmessungen und die dazugehörige Nomenklatur zur Bestimmung der Zielroute für den Anhänger;
  • 9 zeigt eine schematische Darstellung eines Fahrzeugs mit einer Einparkassistenzsteuerung gemäß einer weiteren Ausführungsform der vorliegenden Erfindung;
  • 10 veranschaulicht eine vom Einparkassistenzsystem erzeugte Zielroute zur Führung des Host-Fahrzeugs zu einer Zielposition;
  • 11 zeigt eine schematische Darstellung eines Fahrzeugs mit einer Einparkassistenzsteuerung gemäß einer weiteren Ausführungsform der vorliegenden Erfindung;
  • 12 veranschaulicht eine vom Einparkassistenzsystem erzeugte Zielroute zum Führen eines entfernten Fahrzeugs zur Zielposition;
  • 13 zeigt ein Blockdiagramm, das den Betrieb des Einparkassistenzsystems zum Übertragen einer Zielroute an das entfernte Fahrzeug darstellt;
  • 14 zeigt eine schematische Darstellung einer alternativen Parkleuchte zur Verwendung in Übereinstimmung mit der vorliegenden Erfindung;
  • 15 veranschaulicht eine Zielroute, die durch das Parkassistenzsystem unter Verwendung der in12 dargestellten Parkleuchte erzeugt wird;
  • 16A veranschaulicht den Betrieb der in12 gezeigten Parkleuchte, um ein Geländereferenzmuster auf eine ebene Fläche zu projizieren;
  • 16B veranschaulicht den Betrieb der in12 gezeigten Parkleuchte, um ein Geländereferenzmuster auf eine unebene Oberfläche zu projizieren;
  • 17 zeigt ein Blockdiagramm, das den Betrieb des Einparkassistenzsystems darstellt, um ein projiziertes Referenzmuster zu analysieren und Geländeeigenschaften zu identifizieren;
  • 18 veranschaulicht den Betrieb der in12 dargestellten Parkleuchte, um ein Geländereferenzmuster zwischen der Zielposition und der aktuellen Position des gezogenen Fahrzeugs zu projizieren;
  • 19 stellt ein Drehmomentprofil dar, das erforderlich ist, um das gezogene Fahrzeug basierend auf der Analyse des Geländereferenzmusters in die Zielposition zu bewegen,;
  • 20 zeigt ein Blockdiagramm, das den Betrieb des Einparkassistenzsystems zum Erzeugen einer Drehmomentregelstrategie darstellt;
  • 21A veranschaulicht den Betrieb der in12 gezeigten Parkleuchte, um einen für ein Fahrzeug sichtbaren Warnindikator auf eine ebene Fläche zu projizieren;
  • 21B veranschaulicht den Betrieb der in12 gezeigten Parkleuchte, um einen für ein Fahrzeug sichtbaren Warnindikator auf eine unebene Oberfläche zu projizieren;
  • 22A veranschaulicht den Betrieb der in12 dargestellten Parkleuchte, um Weglinien auf eine glatte Fläche zu projizieren;
  • 22B veranschaulicht den Betrieb der in12 dargestellten Parkleuchte, um Weglinien auf eine unebene Fläche zu projizieren;
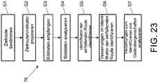
  • 23 zeigt ein Blockdiagramm, das den Betrieb des Einparkassistenzsystems darstellt, um einen projizierten Routenindikator zu analysieren und Geländeeigenschaften zu identifizieren;
  • 24 zeigt eine schematische Darstellung einer Parkleuchte mit einem Einparkassistenzsystem gemäß einer Ausführungsform der vorliegenden Erfindung;
  • 25 zeigt eine schematische Darstellung eines exemplarischen Parkszenarios unter Verwendung der in24 dargestellten Parkleuchte;
  • 26 zeigt eine schematische Darstellung eines ersten vergrößerten Bildes, das durch die in25 gezeigte Parkleuchte erzeugt wird;
  • 27 zeigt eine schematische Darstellung eines zweiten vergrößerten Bildes, das durch die in25 gezeigte Parkleuchte erzeugt wird;
  • 28 zeigt eine schematische Darstellung einer Andockstation für die in25 gezeigte Parkleuchte; und
  • 29 zeigt eine schematische Darstellung eines exemplarischen Parkszenarios unter Verwendung einer Variante der in24 dargestellten Parkleuchte.
One or more embodiments of the invention will now be described, by way of example only, with reference to the accompanying drawings, in which:
  • 1 shows a parking assist system according to an embodiment of the present invention;
  • 2 shows a schematic representation of a vehicle with a Einparkassistenzsteuerung for use in the in 1 illustrated parking assistance system;
  • 3 shows a schematic representation of a parking lamp for use in the in 1 illustrated parking assistance system;
  • 4A FIG. 12 is a block diagram illustrating the operation of the parking assist system to project a coded parking location indicator; FIG.
  • 4B FIG. 12 is a block diagram illustrating the operation of the parking assist system for generating a destination route; FIG.
  • 5 illustrates a destination route generated by the parking assistance system for guiding a trailer to a destination location;
  • 6A shows the display image from a reversing camera with a graphical overlay representing the trailer's target position;
  • 6B shows a bird's-eye view image that includes the features of the trailer to be projected along with the parking location indicator;
  • 7 shows a block diagram illustrating the operation of the parking assist system to generate a graphical representation of the target route;
  • 8th illustrates the vehicle and trailer dimensions and associated nomenclature for determining the destination route for the trailer;
  • 9 shows a schematic representation of a vehicle with a Einparkassistenzsteuerung according to another embodiment of the present invention;
  • 10 illustrates a destination route generated by the parking assistance system for guiding the host vehicle to a destination location;
  • 11 shows a schematic representation of a vehicle with a Einparkassistenzsteuerung according to another embodiment of the present invention;
  • 12 illustrates a target route generated by the parking assist system for guiding a remote vehicle to the target position;
  • 13 FIG. 12 is a block diagram illustrating the operation of the parking assist system for transmitting a destination route to the remote vehicle; FIG.
  • 14 shows a schematic representation of an alternative parking lamp for use in accordance with the present invention;
  • 15 FIG. 3 illustrates a target route taken by the parking assist system using the in-vehicle parking system shown in FIG 12 Park lamp is generated;
  • 16A illustrates the operation of in 12 shown parking lamp to project a terrain reference pattern on a flat surface;
  • 16B illustrates the operation of in 12 shown parking lamp to project a terrain reference pattern on an uneven surface;
  • 17 FIG. 12 is a block diagram illustrating the operation of the parking assist system to analyze a projected reference pattern and identify terrain features; FIG.
  • 18 illustrates the operation of in 12 displayed parking light to project a terrain reference pattern between the target position and the current position of the towed vehicle;
  • 19 represents a torque profile required to move the towed vehicle to the target position based on the analysis of the terrain reference pattern;
  • 20 shows a block diagram illustrating the operation of the parking assistance system for generating a torque control strategy;
  • 21A illustrates the operation of in 12 shown parking lamp to project a visible for a vehicle warning indicator on a flat surface;
  • 21B illustrates the operation of in 12 shown parking lamp to project a visible to a vehicle warning indicator on an uneven surface;
  • 22A illustrates the operation of in 12 Park lamp shown to project Weglinien on a smooth surface;
  • 22B illustrates the operation of in 12 Park lamp shown to project Weglinien on an uneven surface;
  • 23 10 is a block diagram illustrating the operation of the parking assist system to analyze a projected route indicator and to identify terrain characteristics;
  • 24 shows a schematic representation of a parking lamp with a parking assistance system according to an embodiment of the present invention;
  • 25 shows a schematic representation of an exemplary parking scenario using the in 24 illustrated parking light;
  • 26 shows a schematic representation of a first magnified image, which by the in 25 shown parking light is generated;
  • 27 shows a schematic representation of a second enlarged image, which by the in 25 shown parking light is generated;
  • 28 shows a schematic representation of a docking station for in 25 Park lamp shown; and
  • 29 shows a schematic representation of an exemplary parking scenario using a variant of in 24 illustrated parking light.

DETAILLIERTE BESCHREIBUNGDETAILED DESCRIPTION

Ein Parkassistenzsystem1 gemäß einem Aspekt der vorliegenden Erfindung wird nun mit Bezug auf die nebenstehenden Figuren beschrieben. Das Einparkassistenzsystem1 gemäß der vorliegenden Ausführungsform dient zur Unterstützung des Manövrierens eines Zugfahrzeugs2 und eines gezogenen Fahrzeugs3, die über eine Gelenkkupplung miteinander verbunden sind. Das Einparkassistenzsystem1 findet insbesondere Anwendung, um die Durchführung eines Rückwärtsmanövers zu unterstützen, z. B. um ein Rückwärtsparkmanöver durchzuführen, um das gezogene Fahrzeug3 (und optional auch das Zugfahrzeug2) zu parken. Das Rückwärtsparkmanöver kann beispielsweise aus Parallelparken oder Tandemparken bestehen.Aparking assistance system 1 According to one aspect of the present invention will now be described with reference to the accompanying figures. Theparking assistance system 1 according to the present embodiment serves to assist the maneuvering of a towingvehicle 2 and a towedvehicle 3 , which are connected to each other via a universal joint. Theparking assistance system 1 finds particular application to assist in performing a reverse maneuver, e.g. B. to perform a reverse parking maneuver to the towed vehicle 3 (and optionally also the towing vehicle 2 ) to park. The reverse parking maneuver may consist of parallel parking or tandem parking, for example.

Wie hierin beschrieben, umfasst das Einparkassistenzsystem1 eine Einparkassistenzsteuerung4 und eine Parkleuchte5. Die Einparkassistenzsteuerung4 in der vorliegenden Ausführungsform ist im Zugfahrzeug2 installiert. Das Zugfahrzeug2 wird hierin als Automobil, wie beispielsweise ein Nutzfahrzeug oder ein Sport Utility Vehicle (SUV), dargestellt, aber es versteht sich, dass das hierin beschriebene Einparkassistenzsystem1 in anderen Fahrzeugtypen, wie beispielsweise einem Traktor, verwendet werden kann. Das gezogene Fahrzeug3 in der vorliegenden Ausführungsform umfasst einen Anhänger, wie beispielsweise einen Wohnwagen. Die Parkleuchte5 in der vorliegenden Ausführungsform ist eine tragbare Vorrichtung, die außerhalb des gezogenen Fahrzeugs3 positioniert werden kann, um eine Zielposition zum Parken des gezogenen Fahrzeugs3 anzuzeigen.As described herein, the parking assist system includes 1 a parking assistant control 4 and aparking light 5 , The parking assistant control 4 in the present embodiment is in the towingvehicle 2 Installed. The towingvehicle 2 is illustrated herein as an automobile, such as a commercial vehicle or a sport utility vehicle (SUV), but it is understood that the parking assist system described herein 1 in other types of vehicles, such as a tractor can be used. The towedvehicle 3 in the present embodiment includes a trailer, such as a caravan. Theparking light 5 In the present embodiment, a portable device is outside the towedvehicle 3 can be positioned to a target position for parking the towedvehicle 3 display.

Einen Überblick auf das Zugfahrzeug2 und das gezogene Fahrzeug3 ist in den1 und2 dargestellt. Das Zugfahrzeug2 weist eine erste LängsachseX1 auf und das Zugfahrzeug3 weist eine zweite LängsachseX2 auf. Wie in2 gezeigt, hat das Zugfahrzeug2 zwei VorderräderW1,W2 und zwei HinterräderW3,W4. Wie in2 dargestellt, sind die VorderräderW1,W2 des Zugfahrzeugs2 auf herkömmliche Weise lenkbar, um einen Lenkwinkelθ; zu definieren. Der Lenkwinkelθ ist die Ausrichtung der VorderräderW1,W2 relativ zur LängsachseX1 des Zugfahrzeugs. Das gezogene Fahrzeug3 in der vorliegenden Ausführungsform hat zwei AnhängerräderTW1,TW2. Die AnhängerräderTW1,TW2 sind auf einer einzigen Achse montiert und nicht lenkbar. Die Einparkassistenzsteuerung4 kann in Verbindung mit einem gezogenen Fahrzeug3 mit mehr als einer Achse, beispielsweise einem zweiachsigen Anhänger, und/oder mehr als zwei Anhängerrädern verwendet werden.An overview of the towingvehicle 2 and the towedvehicle 3 is in the 1 and 2 shown. The towingvehicle 2 has a first longitudinal axis X1 on and the towingvehicle 3 has a second longitudinal axis X2 on. As in 2 shown has the towingvehicle 2 two front wheels W1 . W2 and two rear wheels W3 . W4 , As in 2 shown are the front wheels W1 . W2 of the towingvehicle 2 steerable in a conventional manner to a steering angle θ ; define. The steering angle θ is the orientation of the front wheels W1 . W2 relative to the longitudinal axis X1 of the towing vehicle. The towedvehicle 3 in the present embodiment has two trailer wheels TW1 . TW2 , The trailer wheels TW1 . TW2 are mounted on a single axle and are not steerable. The parking assistant control 4 Can in conjunction with a towedvehicle 3 be used with more than one axle, such as a biaxial trailer, and / or more than two trailer wheels.

Wie in den1 und2 dargestellt, ist das Zugfahrzeug2 mit einem Fahrzeugbildgebungssystem versehen, das eine zentrale Zugfahrzeugkamera8, eine linke Zugfahrzeugkamera9 und eine rechte Zugfahrzeugkamera10 umfasst. Die zentrale Zugfahrzeugkamera8 ist in einer zentralen Position am Heck des Zugfahrzeugs2 montiert, zum Beispiel an der hinteren Stoßstange. Die linke Zugfahrzeugkamera9 und die rechte Zugfahrzeugkamera10 sind in jeweiligen linken und rechten Außenspiegeln11,12 des Zugfahrzeugs2 montiert. Die Zugfahrzeugkameras8,9,10 sind optische Kameras, die so angeordnet sind, dass sie nach hinten gerichtet sind, d. h. zu einem Bereich, der am Heck des Zugfahrzeugs2 angeordnet ist. Die SichtfelderV1,V2,V3 der zentralen Zugfahrzeugkamera8, der linken Zugfahrzeugkamera9 und der rechten Zugfahrzeugkamera10 sind in den1 und2 durch gestrichelte Linien dargestellt. Das Zugfahrzeug2 umfasst auch ein Hinderniserfassungssystem zum Erkennen des Vorhandenseins eines Hindernisses in der hinteren Dreiviertelposition des Zugfahrzeugs2. Das Hinderniserfassungssystem in der vorliegenden Ausführungsform umfasst die linken und rechten Radarsysteme13A,13B. Die linken und rechten Radarsensoren13A,13B dienen dazu, Hindernisse in einem jeweiligen linken und rechten Erfassungsbereichen14A,14B zu erkennen.As in the 1 and 2 shown is the towingvehicle 2 provided with a vehicle imaging system, which is a central towing vehicle camera 8th , a lefttractor vehicle camera 9 and a righttowing vehicle camera 10 includes. The central towing vehicle camera 8th is in a central position at the rear of the towingvehicle 2 mounted, for example on the rear bumper. The lefttowing vehicle camera 9 and the righttowing vehicle camera 10 are in respective left and right side mirrors 11 . 12 of the towingvehicle 2 assembled. The towing vehicle cameras 8th . 9 . 10 are optical cameras which are arranged so that they are directed to the rear, ie to an area at the rear of the towingvehicle 2 is arranged. The fields of view V1 . V2 . V3 the central towing vehicle camera 8th , the lefttractor vehicle camera 9 and the righttowing vehicle camera 10 are in the 1 and 2 represented by dashed lines. The towingvehicle 2 also includes an obstacle detection system for detecting the presence of an obstacle in the rear three-quarter position of the towingvehicle 2 , The obstacle detection system in the present embodiment includes the left andright radar systems 13A . 13B , The left andright radar sensors 13A . 13B serve to obstruct obstacles in a respective left andright detection areas 14A . 14B to recognize.

Wie in1 gezeigt, ist das gezogene Fahrzeug3 mit einem Anhänger-Bildgebungssystem versehen, das eine hintere Anhängerkamera15 umfasst. Das Bildgebungssystem kann optional zusätzliche Anhängerkameras umfassen, zum Beispiel eine oder mehrere Anhängerkameras, die an den Seiten des geschleppten Fahrzeugs3 angebracht sind. Die hintere Anhängerkamera15 ist eine optische Kamera, die so angeordnet ist, dass sie ein Videobild eines Bereichs hinter dem gezogenen Fahrzeug3 bereitstellt, der ansonsten aus dem Sichtfeld des Fahrers verdeckt sein kann. Die hintere Anhängerkamera15 weist ein SichtfeldTV1 auf, das durch gestrichelte Linien dargestellt ist. Das gezogene Fahrzeug3 umfasst optional auch ein Hinderniserfassungssystem, zum Beispiel die Parksensoren16A,16B, zum Erkennen von Hindernissen in einem oder mehreren Erkennungsbereichen am Heck des gezogenen Fahrzeugs3 und/oder an den Seiten des gezogenen Fahrzeugs3. Die Bilddaten der Heckkamera15 und/oder die Hindernisdaten des Hinderniserfassungssystems werden über eine Kabelverbindung oder eine drahtlose Verbindung an das Zugfahrzeug2 übertragen.As in 1 shown is the towedvehicle 3 equipped with a trailer imaging system that has arear trailer camera 15 includes. The imaging system may optionally include additional trailer cameras, for example, one or more trailer cameras mounted on the sides of the towedvehicle 3 are attached. Therear trailer camera 15 is an optical camera arranged to form a video image of an area behind the towedvehicle 3 provides that may otherwise be obscured from the driver's field of vision. Therear trailer camera 15 has a field of view TV1 on, which is shown by dashed lines. The towedvehicle 3 Optionally includes an obstacle detection system, for example theparking sensors 16A . 16B for detecting obstacles in one or more detection areas at the rear of the towedvehicle 3 and / or on the sides of the towedvehicle 3 , The image data of therear camera 15 and / or the obstruction data of the obstacle detection system is transmitted to the towing vehicle via a cable connection or awireless connection 2 transfer.

Die Kupplung zwischen dem Zugfahrzeug2 und dem gezogenen Fahrzeug3 ist eine Gelenkkupplung. In der vorliegenden Ausführungsform ist eine Anhängerkupplung17 am Zugfahrzeug2 zum Anschluss an eine Anhängervorrichtung19 am Zugfahrzeug3 montiert. Die Anhängerkupplung17 in der vorliegenden Ausführungsform umfasst eine nach oben ragende Anhängerkugel. Die Anhängervorrichtung19 ist an einem Kupplungsrahmen21 montiert, der an der Vorderseite des gezogenen Fahrzeugs3 angeordnet ist. In der vorliegenden Ausführungsform ist der Kupplungsrahmen21 ein A-Rahmen mit einem vorderen Scheitelpunkt, an dem die Anhängervorrichtung19 montiert ist. Die Winkelausrichtung der ersten LängsachseX1 des Zugfahrzeugs2 und der zweiten LängsachseX2 des gezogenen Fahrzeugs3 wird hierin als Anhängewinkel ϕ bezeichnet. Das Zugfahrzeug2 umfasst eine Kupplungswinkel-Bestimmungseinrichtung24 zum Messen des Kupplungswinkels ϕ. Die Kupplungswinkel-Bestimmungsvorrichtung24 kann beispielsweise einen mechanischen Sensor oder einen optischen Sensor umfassen. In der vorliegenden Ausführungsform umfasst die Kupplungswinkel-Bestimmungsvorrichtung24 ein optisches System zum Bestimmen einer Winkelausrichtung eines Ziels25, das an dem gezogenen Fahrzeug3 angebracht ist. Das Ziel25 ist auf dem gezogenen Fahrzeug3 innerhalb des SichtfeldesV1 der zentralen Zugfahrzeugkamera8 montiert. Das Ziel25 ist ein sichtbares Bild mit drei Kreisen, die in einer dreieckigen Formation angeordnet sind. Es versteht sich, dass die vorliegende Erfindung mit anderen Zielen25 umgesetzt werden kann, die zum Beispiel verschiedene Symbole/Bilder oder nicht sichtbare Ziele umfassen. The coupling between the towingvehicle 2 and the towedvehicle 3 is a universal joint. In the present embodiment, atrailer hitch 17 on the towingvehicle 2 for connection to atrailer device 19 on the towingvehicle 3 assembled. Thetrailer hitch 17 in the present embodiment comprises an upwardly projecting trailer ball. Thetrailer device 19 is on acoupling frame 21 mounted on the front of the towedvehicle 3 is arranged. In the present embodiment, thecoupling frame 21 an A-frame with a front vertex to which thetrailer device 19 is mounted. The angular orientation of the first longitudinal axis X1 of the towingvehicle 2 and the second longitudinal axis X2 of the towedvehicle 3 herein referred to as trailer angle φ. The towingvehicle 2 includes a hitchangle determination device 24 for measuring the hitch angle φ. The hitchangle determination device 24 For example, it may include a mechanical sensor or an optical sensor. In the present embodiment, the hitch angle determination device includes 24 an optical system for determining an angular orientation of a target 25 on the towedvehicle 3 is appropriate. The goal 25 is on the towedvehicle 3 within the field of view V1 the central towing vehicle camera 8th assembled. The goal 25 is a visible image with three circles arranged in a triangular formation. It is understood that the present invention has other purposes 25 can be implemented, for example, include various icons / images or non-visible goals.

Die Einparkassistenzsteuerung4 ist konfiguriert, um das Zugfahrzeug2 zu steuern, um das Manövrieren des Zugfahrzeugs2 und des gezogenen Fahrzeugs3 zu unterstützen. Die Einparkassistenzsteuerung4 ist selektiv zum Steuern des Zugfahrzeugs2 zum Manövrieren der Kombination aus dem Zugfahrzeug2 und dem gezogenen Fahrzeug3 zum Positionieren des gezogenen Fahrzeugs3 (und optional auch des Zugfahrzeugs2) in einer vorgegebenen ZielpositionPTAR wirksam. Die ZielpositionPTAR definiert einen Zielort und/oder eine Zielausrichtung des gezogenen Fahrzeugs3 zum Parken. Wie hierin beschrieben, ist die Einparkassistenzsteuerung4 wirksam, um ein EinparkassistenzsignalS1 zu erzeugen, um das Zugfahrzeug2 zu steuern und das gezogene Fahrzeug3 zur ZielpositionPTAR zu führen. Das EinparkassistenzsignalS1 stellt eine automatisierte oder halb automatische Steuerung des Zugfahrzeugs2 bereit, um das gezogene Fahrzeug3 zu parken. Insbesondere wird das EinparkassistenzsignalS1 an ein elektronisches Servolenkungsmodul (EPAS-Modul)18 ausgegeben, um den Lenkwinkelθ der VorderräderW1,W2 des Zugfahrzeugs2 zu steuern. Das EinparkassistenzsignalS1 kann optional ein Drehmomentanforderungssignal steuern, das an eine drehmomenterzeugende Maschine, wie beispielsweise einen Verbrennungsmotor oder eine elektrische Maschine, ausgegeben wird, und/oder ein Bremsmoment-Anforderungssignal an eine Bremsvorrichtung. Alternativ kann das EinparkassistenzsignalS1 an eine Mensch-Maschine-Schnittstelle (HMI) ausgegeben werden, beispielsweise mit einem Bildschirm oder einer Head-up-Anzeige (HUD), um dem Fahrer des Zugfahrzeugs2 Anweisungen oder Aufforderungen zu geben.The parking assistant control 4 is configured to the towingvehicle 2 to control the maneuvering of the towingvehicle 2 and the towedvehicle 3 to support. The parking assistant control 4 is selective for controlling the towingvehicle 2 for maneuvering the combination of the towingvehicle 2 and the towedvehicle 3 for positioning the towed vehicle 3 (and optionally also the towing vehicle 2 ) in a predetermined target position PTAR effective. The target position PTAR defines a destination and / or a target orientation of the towedvehicle 3 for parking. As described herein, the parking assist control is 4 effective to a parking assist signal S1 to generate the towingvehicle 2 to steer and the towedvehicle 3 to the target position PTAR respectively. The parking assistance signal S1 Provides automated or semi-automatic control of towingvehicle 2 ready to get the towedvehicle 3 to park. In particular, the parking assist signal S1 to an electronic power steering module (EPAS module) 18 output to the steering angle θ the front wheels W1 . W2 of the towingvehicle 2 to control. The parking assistance signal S1 Optionally, it may control a torque request signal output to a torque generating machine, such as an internal combustion engine or an electric machine, and / or a brake torque request signal to a brake device. Alternatively, the parking assist signal S1 to a human-machine interface (HMI), for example with a screen or a head-up display (HUD), to the driver of the towingvehicle 2 Giving instructions or prompts.

In bekannten Anordnungen kann die ZielpositionPTAR über eine HMI vorgegeben werden, z. B. durch Positionierung einer Zielposition auf einem Bildschirm. Eine mögliche Einschränkung bekannter Anordnungen besteht darin, dass es für den Benutzer schwierig sein kann, sich den Standort des gezogenen Fahrzeugs3 vor Abschluss des Parkmanövers vorzustellen. Der Benutzer kann es schwierig finden, Bildschirmanzeigen auf einem Bildschirm mit den Gegenstücken in der realen Welt in Beziehung zu setzen. Wenn es sich bei dem gezogenen Fahrzeug3 beispielsweise um einen Wohnwagen handelt, kann es für den Benutzer schwierig sein, eine Ladestation am gezogenen Fahrzeug3 mit einer auf einem Bildschirm angezeigten Netzspannung abzugleichen. Zumindest in bestimmten Ausführungsformen kann die Einparkassistenzsteuerung4 gemäß der vorliegenden Erfindung dieses Problem überwinden oder reduzieren. Insbesondere ist die Einparkassistenzsteuerung4 konfiguriert, um die ZielpositionPTAR mit Bezug auf einen von einer Parkampel5 erzeugten Parkortindikator26 zu bestimmen. Wie hierin beschrieben, wird der Parkortindikator26 in der vorliegenden Ausführungsform durch ein oder mehrere optische Systeme, die in der Parkleuchte5 vorgesehen sind, auf den Boden projiziert.In known arrangements, the target position PTAR be specified via an HMI, z. B. by positioning a target position on a screen. One possible limitation of known arrangements is that it may be difficult for the user to assess the location of the towedvehicle 3 to be presented before the end of the parking maneuver. The user may find it difficult to relate screen displays on a screen to the counterparts in the real world. If it is the towedvehicle 3 For example, it is a caravan, it may be difficult for the user, a charging station on the towedvehicle 3 to be matched with a mains voltage displayed on a screen. At least in certain embodiments, the parking assist control may 4 overcome or reduce this problem according to the present invention. In particular, the Einparkassistenzsteuerung 4 configured to the target position PTAR with reference to one of apark lamp 5 generatedparking place indicator 26 to determine. As described herein, the parking location indicator becomes 26 in the present embodiment by one or more optical systems incorporated in theparking lamp 5 are projected, projected onto the ground.

Die Parkleuchte5 ist in3 dargestellt. Die Parkleuchte5 ist eine tragbare Vorrichtung, die freistehend sein kann, zum Beispiel auf einer Stativstruktur; oder die einen Zacken (nicht dargestellt) zum Einsetzen in den Boden umfassen kann. Die Parkleuchte5 umfasst eine Lichtsteuereinheit27 und mindestens ein erstes Projektionssystem28 zur Projektion des Parkortindikators26 auf den Boden. Das erste Projektionssystem28 in der dargestellten Anordnung umfasst eine Lichtquelle29; und eine optische Führungseinrichtung30. Die optische Führungseinrichtung30 ist konfiguriert, um einen Lichtweg für das von der Lichtquelle29 emittierte Licht zu definieren. Die optische Führungseinrichtung30 in der vorliegenden Ausführungsform ist steuerbar, um den Lichtweg des von der Lichtquelle29 emittierten Lichts anzupassen. Die optische Führungseinrichtung30 in der vorliegenden Ausführungsform umfasst einen Spiegel30. Andere Formen von optischen Lenkern können verwendet werden, beispielsweise ein reflektierendes Prisma. Die Lichtquelle29 ist konfiguriert, um mindestens einen Lichtweg31 aus sichtbarem Licht zum Projizieren des Parkortindikators26 zu emittieren. Im Gebrauch kann mindestens ein Lichtweg31 auf den Boden projiziert werden, so dass die Parkortindikator26 sichtbar ist. Die Lichtsteuergerät27 kontrolliert die Bestromung der Lichtquelle29 und die Ausrichtung des Spiegels30 zur Bildung des Parkortindikators26. Durch Ändern der Ausrichtung des Spiegels30 kann die Position und/oder Ausrichtung und/oder das Profil des Parkortindikators26 dynamisch gesteuert werden. Wovon mindestens eine Lichtweg31 eine visuelle Darstellung einer Position und/oder Ausrichtung und/oder eines Profils der ZielpositionPTAR für das gezogene Fahrzeug3 bietet. Die Lichtquelle29 wird hierin beschrieben, wie sie einen einzelnen Lichtweg31 des Lichts emittiert, aber die Parkleuchte5 kann mehrere Lichtwege31 emittieren, um beispielsweise zwei oder mehr Seiten der ZielpositionPTAR darzustellen. Das erste Projektionssystem28 kann optional eine Optik, wie beispielsweise eine oder mehrere Linsen beinhalten, um das von der Lichtquelle29 emittierte Licht zu fokussieren.Theparking light 5 is in 3 shown. Theparking light 5 is a portable device that may be freestanding, for example on a tripod structure; or which may include a point (not shown) for insertion into the ground. Theparking light 5 includes alight control unit 27 and at least afirst projection system 28 for the projection of theparking place indicator 26 on the ground. Thefirst projection system 28 in the illustrated arrangement comprises alight source 29 ; and anoptical guide device 30 , Theoptical guide device 30 is configured to provide a light path for that of thelight source 29 to define emitted light. Theoptical guide device 30 in the present embodiment is controllable to the light path of thelight source 29 to adapt to emitted light. Theoptical guide device 30 in the present embodiment comprises amirror 30 , Other forms of optical links may be used, such as a reflective prism. Thelight source 29 is configured to at least alight path 31 of visible light for projecting theparking location indicator 26 to emit. In use, at least onelight path 31 be projected onto the ground, leaving theparking place indicator 26 is visible. Thelight control device 27 controls the energization of thelight source 29 and the orientation of themirror 30 for the formation of theparking place indicator 26 , By changing the orientation of themirror 30 may be the location and / or orientation and / or the profile of theparking location indicator 26 be dynamically controlled. Of which at least one light path 31 a visual representation of a position and / or orientation and / or a profile of the target position PTAR for the towedvehicle 3 offers. Thelight source 29 is described herein as a singlelight path 31 of the light emitted, but theparking light 5 can have multiplelight paths 31 emit, for example, two or more sides of the target position PTAR display. Thefirst projection system 28 Optionally, optics, such as one or more lenses, may include that from thelight source 29 to focus emitted light.

Die Lichtquelle29 umfasst mindestens eine Laserdiode. Der Spiegel30 ist ein optischer Spiegel, der konfiguriert ist, um das von der Lichtquelle29 abgegebene Licht zu reflektieren. Der Spiegel30 kann so ausgerichtet sein, dass er den Lichtweg31 nach unten (relativ zu einer vertikalen Achse der Parkleuchte5) richtet, so dass er auf den Boden fällt. Der Spiegel30 in der vorliegenden Ausführungsform ist ein Scanspiegel und die Ausrichtung des Spiegels30 ist dynamisch einstellbar, um das emittierte Licht zu modulieren. Der Spiegel30 kann beispielsweise ein mikro-optoelektromechanisches System (MOEMS) umfassen. Der Spiegel30 schwenkt um mindestens eine Achse, um das emittierte Licht zu modulieren, wodurch die sichtbare Darstellung eines Parkortindikators26 gebildet wird. In der vorliegenden Ausführungsform ist der Spiegel30 um eine erste SchwenkachseX1 und eine zweite SchwenkachseZ1 schwenkbar, die senkrecht zueinander angeordnet sind, um eine Steuerung des Strahlenganges31 in erster und zweiter Richtung zu ermöglichen. Der Spiegel30 kann optional auch um eine dritte DrehachseY1 schwenkbar sein, die senkrecht zur ersten DrehachseX1 und zur zweiten DrehachseZ1 angeordnet ist. Das Lichtsteuergerät27 ist konfiguriert, um die Ausrichtung des Spiegels30 zu steuern, um das Profil des Parkortindikators26 zu verfolgen. Durch Steuern der Ausrichtung des Spiegels30 kann der Lichtweg31 ein sichtbares Muster scannen, das den Parkortindikator26 darstellt. Das Lichtsteuergerät27 steuert den Spiegel30, um den Lichtweg31 auf den Boden zu projizieren, so dass der Parkortindikator26 sichtbar ist. Das Lichtsteuergerät27 kann die Lichtquelle29 selektiv aktivieren und deaktivieren, um eine kontinuierliche oder unterbrochene Spur zu erzeugen. Der Parkortindikator26 in der vorliegenden Ausführungsform umfasst einen rechteckigen Rahmen, der einem äußeren Umfang der ZielpositionPTAR entspricht. Die Lichtsteuergerät27 kann optional die Lichtquelle29 modulieren, um den Lichtweg31 zu kodieren. Die Modulation der Lichtquelle29 kann beispielsweise ein selektives Aktivieren und Deaktivieren in einem vorbestimmten Muster umfassen, das durch die Einparkassistenzsteuerung4 identifizierbar ist.Thelight source 29 includes at least one laser diode. Themirror 30 is an optical mirror that is configured to be that of thelight source 29 to reflect emitted light. Themirror 30 can be oriented so that it's thelight path 31 down (relative to a vertical axis of the parking lamp 5 ) so that it falls to the ground. Themirror 30 in the present embodiment, a scanning mirror and the orientation of themirror 30 is dynamically adjustable to modulate the emitted light. Themirror 30 For example, it may comprise a micro-optoelectromechanical system (MOEMS). Themirror 30 pivots about at least one axis to modulate the emitted light, thereby providing the visual representation of aparking location indicator 26 is formed. In the present embodiment, the mirror is 30 around a first pivot axis X1 and a second pivot axis Z1 pivotable, which are arranged perpendicular to each other to control thebeam path 31 to enable in first and second direction. Themirror 30 Optionally also a third axis of rotation Y1 be pivotable, which is perpendicular to the first axis of rotation X1 and to the second axis of rotation Z1 is arranged. Thelight control unit 27 is configured to adjust the orientation of themirror 30 to control the profile of theparking place indicator 26 to pursue. By controlling the orientation of themirror 30 can thelight path 31 scan a visible pattern that is theparking place indicator 26 represents. Thelight control unit 27 controls themirror 30 to thelight path 31 to project onto the ground, making theparking place indicator 26 is visible. Thelight control unit 27 can thelight source 29 selectively activate and deactivate to create a continuous or interrupted track. Theparking place indicator 26 In the present embodiment, a rectangular frame surrounding an outer periphery of the target position PTAR equivalent. Thelight control device 27 Optionally, thelight source 29 modulate to thelight path 31 to code. The modulation of thelight source 29 For example, it may include selectively activating and deactivating in a predetermined pattern by the parking assist controller 4 is identifiable.

Die Lichtsteuergerät27 kontrolliert die Bestromung der Lichtquelle29 und die Ausrichtung des Spiegels30 zur Bildung des Parkortindikators26. Durch Ändern der Ausrichtung des Spiegels30 wird der Parkortindikator26 auf den Boden projiziert, um eine visuelle Darstellung der ZielpositionPTAR zu ermöglichen. Der von der Parkleuchte5 projizierte Lichtweg31 kann beispielsweise gesteuert werden, um eine Seite der ZielpositionPTAR zu definieren. Der Spiegel30 kann gesteuert werden, um ein oder mehrere Merkmale hervorzuheben, z. B. die Enden der ZielpositionPTAR. Wie oben ausgeführt, kann die Parkleuchte5 mehr als einen Lichtweg31 aus Licht erzeugen. So kann beispielsweise die Parkleuchte5 zwei (2) Lichtwege31 aus sichtbarem Licht senden, die geeignet sind, benachbarte oder gegenüberliegende Grenzen der ZielpositionPTAR darzustellen. Der Lichtweg31 könnten beide die gleiche Lichtfarbe (gleiche Wellenlänge) oder verschiedene Lichtfarben (unterschiedliche Wellenlängen) aufweisen, um zwischen verschiedenen Merkmalen zu unterscheiden. Alternativ oder zusätzlich könnte das hierin beschriebene Parkassistenzsystem1 eine Vielzahl von Parkleuchten5 umfassen.Thelight control device 27 controls the energization of thelight source 29 and the orientation of themirror 30 for the formation of theparking place indicator 26 , By changing the orientation of themirror 30 becomes theparking place indicator 26 projected onto the ground to give a visual representation of the target position PTAR to enable. The one from theparking light 5 projectedlight path 31 For example, it can be controlled to one side of the target position PTAR define. Themirror 30 can be controlled to highlight one or more features, e.g. B. the ends of the target position PTAR , As stated above, the parking light can 5 more than alight path 31 out of light. For example, theparking light 5 two (2)light paths 31 of visible light that are suitable, adjacent or opposite boundaries of the target position PTAR display. Thelight path 31 Both could have the same light color (same wavelength) or different light colors (different wavelengths) to distinguish between different features. Alternatively or additionally, the parking assist system described herein could be used 1 a variety ofparking lights 5 include.

Die Funktionsweise des Lichtsteuergeräts27 ist anhand eines Blockdiagramms70 in4A dargestellt. Das Lichtsteuergerät27 bestimmt die ZielpositionPTAR zum Abstellen des gezogenen Fahrzeugs3 (BLOCKA1). Das Lichtsteuergerät27 erzeugt ein Bild mit dem Parkplatzindikator26 (BLOCKA2). Das Bild ist codiert, um die Identifizierung zu erleichtern (BLOCKA3). Das Lichtsteuergerät27 steuert das erste Projektionssystem28 zum Projizieren des kodierten Bildes (BLOCKA4).The operation of thelight control unit 27 is based on a block diagram 70 in 4A shown. Thelight control unit 27 determines the target position PTAR for parking the towed vehicle 3 (BLOCK A1 ). Thelight control unit 27 creates a picture with the parking indicator 26 (BLOCK A2 ). The image is coded to facilitate identification (BLOCK A3 ). Thelight control unit 27 controls thefirst projection system 28 for projecting the coded image (BLOCK A4 ).

Die Lichtquelle29 und der Spiegel30 können optional an einer verstellbaren Montageanordnung22 montiert werden. Die Montageanordnung22 kann eine manuelle oder automatische Einstellung in einer vertikalen Ebene und/oder eine Drehung um eine vertikale Achse ermöglichen. Die einstellbare Montageanordnung22 kann optional eine Selbstnivellierungsvorrichtung, wie beispielsweise einen Kardanring, umfassen. Die Selbstnivellierungsvorrichtung kann einen Referenzpegel für die Projektion des Parkortindikators26 gewährleisten.Thelight source 29 and themirror 30 can be optional on anadjustable mounting arrangement 22 to be assembled. The mountingarrangement 22 may allow manual or automatic adjustment in a vertical plane and / or rotation about a vertical axis. Theadjustable mounting arrangement 22 may optionally include a self-leveling device, such as a gimbal. The self-leveling device may provide a reference level for the projection of theparking location indicator 26 guarantee.

Wie vorstehend beschrieben, ist der Parkortindikator26 sichtbar und ermöglicht es dem Benutzer, die Zielposition zu positionieren und/oder zu orientieren. In der hierin beschriebenen Anordnung besteht der Parkortindikator26 aus einer einzigen Linie, die durch Abtasten des Lichtweges31 verfolgt wird. Diese Linie definiert eine Grenze des Parkortindikators26 und dient zum Bestimmen der ZielpositionPTAR zum Parken des gezogenen Fahrzeugs3. Die Parkleuchte5 kann modifiziert werden, um zwei (2) oder mehr Linien zu erzeugen, die zum Beispiel orthogonal angeordnet sind, um eine Ecke des Parkortindikators26 zu definieren. Alternativ kann die Parkleuchte5 eine Box oder einen Rahmen erzeugen, der die Grenzen der Parkortindikator26 darstellen. Das Lichtsteuergerät27 kann konfiguriert werden, um die Größe der Parkortindikators26 an die tatsächliche Größe des gezogenen Fahrzeugs3 und/oder des Zugfahrzeugs2 anzupassen (z. B. durch direkte Eingabe der Abmessungen und/oder Übertragung aus dem Fahrzeug/Anhängersystem). In einer weiteren Modifikation kann das Lichtsteuergerät27 den Spiegel30 steuern, um zusätzliche Details zu verfolgen, z. B. um die Position von Merkmalen des gezogenen Fahrzeugs3 anzuzeigen, wie z. B. Räder, Drainagepunkt(e), elektrischer Anschluss, Tür, Anhängerkupplung usw. Alternativ oder zusätzlich kann der Parkortindikator26 Merkmale beinhalten, die die Position einer abgesenkten Heckklappe oder einer Seitentür darstellen (z. B. wenn das gezogene Fahrzeug3 ein Pferdeanhänger ist). In einer modifizierten Anordnung kann die Parkleuchte5 eine Vielzahl von Spots (Punktbeleuchtungen) projizieren, um den Parkortindikator26 darzustellen. Der Parkortindikator26 kann beispielsweise durch vier (4) Punkte dargestellt werden, die den Ecken der ZielpositionPTAR entsprechen. Durch die Zusammenstellung des Parkortindikator26 aus einem oder mehreren Stellplätzen kann der Parkortindikator26 in einem breiteren Spektrum von Betriebsbedingungen, z. B. bei starker Sonneneinstrahlung, erkennbar sein. Eine weniger leistungsstarke Laserdiode kann verwendet werden, um den Parkortindikator26 zu bilden.As described above, theparking location indicator 26 Visible and allows the user to position and / or to the target position orientate. In the arrangement described herein, the parking location indicator exists 26 from a single line, by scanning thelight path 31 is pursued. This line defines a boundary of theparking place indicator 26 and serves to determine the target position PTAR for parking the towedvehicle 3 , Theparking light 5 may be modified to produce two (2) or more lines, arranged orthogonally, for example, around a corner of theparking location indicator 26 define. Alternatively, theparking light 5 create a box or frame that borders theparking location indicator 26 represent. Thelight control unit 27 Can be configured to the size of theparking place indicator 26 to the actual size of the towedvehicle 3 and / or the towing vehicle 2 (eg by direct entry of the dimensions and / or transmission from the vehicle / trailer system). In a further modification, thelight control device 27 themirror 30 control to track additional details, e.g. B. to the position of features of the towedvehicle 3 to display such. As wheels, drainage point (s), electrical connection, door, trailer hitch, etc. Alternatively or additionally, theparking place indicator 26 Include features that represent the position of a lowered tailgate or side door (eg, when the towed vehicle 3 a horse trailer is). In a modified arrangement, theparking light 5 project a variety of spots (spot lights) to theparking place indicator 26 display. Theparking place indicator 26 can be represented, for example, by four (4) points that correspond to the corners of the target position PTAR correspond. Through the compilation of theparking place indicator 26 from one or more parking spaces, theparking place indicator 26 in a wider range of operating conditions, e.g. B. in strong sunlight, be recognizable. A less powerful laser diode can be used to create theparking location indicator 26 to build.

Die Parkleuchte5 umfasst eine Leuchten-Mensch-Maschine-Schnittstelle (HMI)32, um es dem Benutzer zu ermöglichen, den Betrieb der Parkleuchte5 zu steuern. Die Leuchte HMI32 kann es dem Benutzer beispielsweise ermöglichen, eine bestimmte Ausrichtung und/oder Position des auf den Boden zu projizierenden Parkortindikators26 festzulegen. Die Leuchte HMI32 könnte durch eine Softwareanwendung implementiert werden, die auf einer separaten Rechenvorrichtung, wie beispielsweise einem Mobiltelefon oder PC, betrieben wird, die mit einem drahtgebundenen oder drahtlosen Kommunikationskanal verbunden sind. Es ist vorgesehen, dass ein drahtloser Kommunikationskanal mit kurzer Reichweite eine geeignete Verbindung zur Parkleuchte5 herstellen könnte. In der vorliegenden Ausführungsform dient die Leuchtsteuereinheit27 zum Steuern der Lichtquelle29, um ein Signal in den Parkortindikator26 zu kodieren. Das kodierte Signal kann ein Identifikationssignal sein, um die Erkennung und/oder Identifikation des Parkortindikators26 zu erleichtern. Um beispielsweise die Orientierung zu erleichtern, können die projizierten Linien pulsbetrieben werden, um einen Code zu erzeugen, der zwischen einer Längs- und einer Querlinie unterscheidet. Die Pulscodes können erweitert werden, um andere Informationen wie die Anhängeridentifikation und/oder den Anhängertyp und/oder die absolute Abmessung des Anhängers zu übermitteln.Theparking light 5 includes a luminaire man-machine interface (HMI) 32 to allow the user to operate theparking light 5 to control. Theluminaire HMI 32 For example, it may allow the user to determine a particular orientation and / or location of the parking location indicator to be projected onto theground 26 set. Theluminaire HMI 32 could be implemented by a software application operating on a separate computing device such as a mobile phone or personal computer connected to a wired or wireless communication channel. It is envisaged that a short range wireless communication channel would provide a suitable connection to theparking light 5 could produce. In the present embodiment, the lighting control unit is used 27 for controlling thelight source 29 to send a signal to theparking place indicator 26 to code. The coded signal may be an identification signal for the detection and / or identification of theparking place indicator 26 to facilitate. For example, to facilitate orientation, the projected lines may be pulsed to produce a code that distinguishes between a longitudinal and a transverse line. The pulse codes may be extended to convey other information such as the trailer identification and / or the trailer type and / or the absolute dimension of the trailer.

Alternativ oder zusätzlich kann das kodierte Signal Daten über die Abmessungen und/oder die Konfiguration des gezogenen Fahrzeugs3 umfassen. Die Parkleuchte5 kann optional Methoden zum Erfassen des gezogenen Fahrzeugs3, wie beispielsweise einen Näherungssensor, umfassen, um der Einparkassistenzsteuerung4 eine Rückmeldung zu geben. Die Parkleuchte5 kann optional eine Kamera zum Übertragen von Bilddaten an die Einparkassistenzsteuerung4 umfassen, um beispielsweise eine alternative Sicht auf den Bereich hinter dem gezogenen Fahrzeug3 zu ermöglichen.Alternatively or additionally, the coded signal may include data about the dimensions and / or the configuration of the towedvehicle 3 include. Theparking light 5 can optional methods for detecting the towedvehicle 3 , such as a proximity sensor, to the parking assist control 4 to give a feedback. Theparking light 5 Optionally, a camera for transmitting image data to the Einparkassistenzsteuerung 4 For example, to provide an alternative view of the area behind the towedvehicle 3 to enable.

Die im Zugfahrzeug2 vorgesehene Einparkassistenzsteuerung4 umfasst eine elektronische Steuereinheit (ECU)33 mit einem elektronischen Prozessor34 und einem Speicher35, wie in2 schematisch dargestellt. Der elektronische Prozessor34 ist konfiguriert, um eine Reihe von Berechnungsanweisungen auszuführen, die auf dem Speicher35 gespeichert sind. Der Prozessor34 umfasst Bildverarbeitungsmittel zum Analysieren von Bilddaten, die von den Zugfahrzeugkameras8,9,10 und der/den Anhänger-Kamera(s) 15 erzeugt werden.The in the towingvehicle 2 provided Einparkassistenzsteuerung 4 includes an electronic control unit (ECU) 33 with anelectronic processor 34 and amemory 35 , as in 2 shown schematically. Theelectronic processor 34 is configured to execute a series of computation statements stored onmemory 35 are stored. Theprocessor 34 includes image processing means for analyzing image data collected by the towing vehicle cameras 8th . 9 . 10 and the trailer camera (s) 15 are generated.

Der Prozessor34 umfasst ein erstes Bildverarbeitungsmodul36A zum Empfangen der Bilddaten von der zentralen Zugfahrzeugkamera8. Das erste Bildverarbeitungsmodul36A ist konfiguriert, um die Bilddaten zu analysieren, um die Position und/oder Ausrichtung des an dem gezogenen Fahrzeug3 montierten Ziels25 zu bestimmen. Durch das Bestimmen der Position und/oder Ausrichtung des Ziels25 bestimmt das erste Bildverarbeitungsmodul36A den Anhängewinkel ϕ des gezogenen Fahrzeugs3. Das erste Bildverarbeitungsmodul36A übernimmt dabei die Funktion der Kupplungswinkel-Bestimmungsmittel24 in der vorliegenden Ausführungsform. Das erste Bildverarbeitungsmodul36A ermittelt dabei eine aktuelle PositionPCUR des gezogenen Fahrzeugs3.Theprocessor 34 includes a firstimage processing module 36A for receiving the image data from the central towing vehicle camera 8th , The firstimage processing module 36A is configured to analyze the image data to determine the position and / or orientation of the vehicle being towed 3 mounted goal 25 to determine. By determining the position and / or orientation of the target 25 determines the firstimage processing module 36A the trailer angle φ of the towedvehicle 3 , The firstimage processing module 36A takes over the function of the hitch angle determination means 24 in the present embodiment. The firstimage processing module 36A determines a current position PCUR of the towedvehicle 3 ,

Der Prozessor34 umfasst ein zweites Bildverarbeitungsmodul36B zum Empfangen von Bilddaten von den linken und rechten Zugfahrzeugkameras9,10 und der hinteren Anhängerkamera15. Das zweite Bildverarbeitungsmodul36B ist konfiguriert, um die Bilddaten zu analysieren und den von der Parkleuchte5 erzeugten Parkortindikator26 zu identifizieren. Insbesondere verarbeitet das zweite Bildverarbeitungsmodul36B die Bilddaten, um alle Elemente in den Bilddaten zu identifizieren, die sich gemäß dem von der Lichtsteuereinheit27 eingeleiteten kodierten Signal ändern. Das zweite Bildverarbeitungsmodul36B kann dadurch den Parkortindikator26 identifizieren. Der Prozessor34 ermittelt die ZielpositionPTAR zum Parken des gezogenen Fahrzeugs3 in Abhängigkeit von dem Parkortindikator26. In der dargestellten Anordnung zeigt der von der Parkleuchte5 erzeugte Lichtweg31 eine Seitenbegrenzung der ZielpositionPTAR und eine Längserstreckung der ZielpositionPTAR an. In einer Variante kann der von der Parkleuchte5 erzeugte Lichtweg31 eine Mittellinie der ZielpositionPTAR darstellen. Die Enden des Parkortindikators26 stellen die vorderen und hinteren Enden der ZielpositionPTAR dar.Theprocessor 34 includes a secondimage processing module 36B for receiving image data from the left and righttowing vehicle cameras 9 . 10 and therear trailer camera 15 , The secondimage processing module 36B is configured to analyze the image data and that of theparking light 5 generatedparking place indicator 26 to identify. In particular, the second processImage processing module 36B the image data to identify all elements in the image data that are in accordance with that of thelight control unit 27 change introduced coded signal. The secondimage processing module 36B can thereby theparking place indicator 26 identify. Theprocessor 34 determines the target position PTAR for parking the towedvehicle 3 depending on theparking place indicator 26 , In the illustrated arrangement, the one of theparking lamp 5 generated light path 31 a page boundary of the target position PTAR and a longitudinal extent of the target position PTAR on. In a variant of theparking light 5 generated light path 31 a center line of the target position PTAR represent. The ends of theparking place indicator 26 set the front and back ends of the target position PTAR represents.

Der Prozessor34 weist ferner Fahrzeug/Anhänger-Führungseinrichtungen in Form eines Leitmoduls36C auf. Das Leitmodul36C ist vorgesehen, um das Rückwärtsfahren der Kombination aus dem Zugfahrzeug2 und dem gezogenen Fahrzeug3 zu unterstützen. Insbesondere ist das Leitmodul36C konfiguriert, um ein Steuersignal zum Steuern des Lenkwinkels θ der VorderräderW1,W2 des Zugfahrzeugs2 auszugeben, um das gezogene Fahrzeug3 entlang einer Zielroute (oder Trajektorie) zu führenR. Die ZielrouteR wird vom Leitmodul36C erzeugt, um das gezogene Fahrzeug3 von einer aktuellen PositionPCUR zur ZielpositionPTAR zu führen. Die ZielrouteR ist in5 durch eine gestrichelte Linie dargestellt. Das Leitmodul36C ist konfiguriert, um die ZielrouteR zu erzeugen, um das gezogene Fahrzeug3 von der aktuellen PositionPCUR zur identifizierten ZielpositionPTAR zu führen. Die ZielrouteR definiert eine Trajektorie für das gezogene Fahrzeug3 von der aktuellen PositionPCUR zur ZielpositionPTAR. Die ZielrouteR kann geradlinige und/oder gebogenen Abschnitte umfassen. Die ZielrouteR ist zeitgleich mit einem Mittelpunkt des gezogenen Fahrzeugs3 in der aktuellen PositionPCUR angeordnet. Die aktuelle PositionPCUR des gezogenen Fahrzeugs3 wird im Vergleich zur ursprünglich berechneten ZielrouteR überwacht. Kleine Abweichungen werden innerhalb der Einparkassistenzsteuerung4 verwaltet. Größere Abweichungen können eine Neuberechnung der ZielrouteR auslösen. Wenn die ZielpositionPTAR von der aktuellen PositionPCUR aus nicht erreichbar ist, wird der Benutzer gewarnt und ein Korrekturmanöver wird vorgeschlagen (z. B. Vorfahrt auf kurzer Strecke).Theprocessor 34 further comprises vehicle / trailer guide means in the form of apilot module 36C on. The guidingmodule 36C is provided to reverse the combination of the towingvehicle 2 and the towedvehicle 3 to support. In particular, the guidingmodule 36C configured to be a control signal for controlling the steering angle θ of the front wheels W1 . W2 of the towingvehicle 2 spend to the towedvehicle 3 along a target route (or trajectory) R , The destination route R is from theguidance module 36C generated to the towedvehicle 3 from a current position PCUR to the target position PTAR respectively. The destination route R is in 5 represented by a dashed line. The guidingmodule 36C is configured to the destination route R to generate the towedvehicle 3 from the current position PCUR to the identified target position PTAR respectively. The destination route R defines a trajectory for the towedvehicle 3 from the current position PCUR to the target position PTAR , The destination route R may include straight and / or bent sections. The destination route R is coincident with a center of the towedvehicle 3 in the current position PCUR arranged. The current position PCUR of the towedvehicle 3 is compared to the originally calculated target route R supervised. Small deviations become within the Einparkassistenzsteuerung 4 managed. Larger deviations can be a recalculation of the destination route R trigger. When the target position PTAR from the current position PCUR off is not available, the user is warned and a correction maneuver is proposed (eg right of way short distance).

Der Prozessor34 umfasst ein drittes Bildverarbeitungsmodul36D, das konfiguriert ist, um Hindernisse in der Trajektorie des Zugfahrzeugs2 und des gezogenen Fahrzeugs3 zu identifizieren. Das dritte Bildverarbeitungsmodul36D kann Erfassungssignale von den linken und rechten Radarsystemen13A,13B empfangen, um das Vorhandensein/ die Abwesenheit von Hindernissen proximal zu dem Zugfahrzeugs2 und des gezogenen Fahrzeugs3 zu identifizieren. Insbesondere ist das dritte Bildverarbeitungsmodul36D konfiguriert, um Hindernisse entlang der ZielrouteR des Zugfahrzeugs2 und/oder des gezogenen Fahrzeugs3 zu identifizieren.Theprocessor 34 includes a thirdimage processing module 36D that is configured to handle obstacles in the trajectory of the towingvehicle 2 and the towedvehicle 3 to identify. The thirdimage processing module 36D can capture signals from the left andright radar systems 13A . 13B receive the presence / absence of obstacles proximal to the towingvehicle 2 and the towedvehicle 3 to identify. In particular, the thirdimage processing module 36D configured to negotiate obstacles along the destination route R of the towingvehicle 2 and / or the towedvehicle 3 to identify.

Der Betrieb des Prozessors34 ist unter Bezugnahme auf ein in4B gezeigtes Blockdiagramm71 veranschaulicht. Der Prozessor34 empfängt die Bilddaten von der zentralen Zugfahrzeugkamera8 (BLOCKB1). Das erste Bildverarbeitungsmodul36A analysiert die Bilddaten, um eine aktuelle PositionPCUR des gezogenen Fahrzeugs3 (BLOCKB2) zu bestimmen. Der Prozessor34 empfängt die Bilddaten von den linken und rechten Zugfahrzeugkameras9,10 und der hinteren Anhängerkamera15 (BLOCKB3). Das zweite Bildverarbeitungsmodul36B analysiert die Bilddaten, um den Parkortindikator26 (BLOCKB4) zu identifizieren. Der Prozessor4 verwendet den Parkortindikator26, um die ZielpositionPTAR des gezogenen Fahrzeugs3 (BLOCKB5) zu bestimmen. Das Leitmodul36C bestimmt die ZielrouteR von der aktuellen PositionPCUR zur ZielpositionPTAR (BLOCKB6). Das dritte Bildverarbeitungsmodul36D identifiziert Hindernisse entlang der ZielrouteR (BLOCKB7). Das dritte Bildverarbeitungsmodul36D kann optional zusätzliche Bilddaten von einer oder mehreren Kameras empfangen, die an dem Zugfahrzeug2 und dem gezogenen Fahrzeug3 (BLOCKB8) angebracht sind. Bei Bedarf kann das Leitmodul36C die ZielrouteR ändern, um die vom dritten Bildverarbeitungsmodul36D (BLOCKB9) identifizierten Hindernisse zu umgehen. Es versteht sich, dass etwaige Hindernisse vor der Erstellung der ZielrouteR identifiziert werden können. Das EinparkassistenzsignalS1, das die modifizierte ZielrouteR umfasst, wird ausgegeben (BLOCKB10).The operation of theprocessor 34 is referring to a in 4B shown block diagram 71 illustrated. Theprocessor 34 receives the image data from the central towing vehicle camera 8th (BLOCK B1 ). The firstimage processing module 36A analyzes the image data to a current position PCUR of the towed vehicle 3 (BLOCK B2 ). Theprocessor 34 receives the image data from the left and righttowing vehicle cameras 9 . 10 and the rear trailer camera 15 (BLOCK B3 ). The secondimage processing module 36B analyzes the image data to the parking location indicator 26 (BLOCK B4 ) to identify. The processor 4 uses theparking place indicator 26 to the target position PTAR of the towed vehicle 3 (BLOCK B5 ). The guidingmodule 36C determines the destination route R from the current position PCUR to the target position PTAR (BLOCK B6 ). The thirdimage processing module 36D identifies obstacles along the destination route R (BLOCK B7 ). The thirdimage processing module 36D Optionally, it may receive additional image data from one or more cameras attached to the towingvehicle 2 and the towed vehicle 3 (BLOCK B8 ) are mounted. If necessary, theguidance module 36C the destination route R change to the thirdimage processing module 36D (BLOCK B9 ) identified obstacles to get around. It is understood that any obstacles before the creation of the destination route R can be identified. The parking assistance signal S1 that the modified destination route R includes is output (BLOCK B10 ).

Die Einparkassistenzsteuerung4 umfasst eine Mensch-Maschine-Schnittstelle (HMI)37. Die Steuerung HMI37 in der vorliegenden Ausführungsform ist im Zugfahrzeug2 vorgesehen, kann aber auch im Zugfahrzeug3 angebracht werden. Die Steuerung HMI37 umfasst einen Anzeigebildschirm38 und ist konfiguriert, um einen Zielpositionsindikator39 anzuzeigen, die die ZielpositionPTAR darstellt. In der vorliegenden Ausführungsform überlagert der Zielpositionsindikator39 ein Bild40, das von der zentralen Zugfahrzeugkamera8 und/oder der hinteren Anhängerkamera15 empfangen wird. Wie in6A dargestellt, wird der Zielpositionsindikator39 als Rechteck dargestellt, das die Grundfläche des Zugfahrzeugs2 und des gezogenen Fahrzeugs3 in Kombination darstellt. Der Zielpositionsindikator39 ist so bemessen, dass er eine vergrößerte Darstellung des Zugfahrzeugs2 und des gezogenen Fahrzeugs3 innerhalb des Bildes40 zur Verfügung stellt. Die Abmessungen des Zugfahrzeugs2 sind in einer Datendatei definiert, die der Einparkassistenzsteuerung4 zugänglich ist. Um eine genaue Darstellung des gezogenen Fahrzeugs3 zu gewährleisten, können die Abmessungen des Anhängers vom Benutzer festgelegt und in der Datendatei gespeichert werden. Die Steuerung HMI37 kann optional eine Eingabeeinrichtung41 umfassen, die vom Benutzer bedient werden kann, um die Position des Zielpositionsindikators39 innerhalb des Bildes40 einzustellen. Die Eingabemittel41 könnten beispielsweise einen Touchscreen Bildschirm und/oder einen Drehregler umfassen. Bei Bedarf kann der Anwender die vom zweiten Bildverarbeitungsmodul36B bestimmte Position der ZielpositionPTAR anpassen oder verfeinern. Die Steuerung HMI37 kann optional auch so konfiguriert werden, dass der Benutzer die vom Leitmodul36C erzeugte Zielroute R einstellen kann.The parking assistant control 4 includes a human machine interface (HMI) 37 , Thecontrol HMI 37 in the present embodiment is in the towingvehicle 2 provided, but can also be in the towingvehicle 3 be attached. Thecontrol HMI 37 includes adisplay screen 38 and is configured to be atarget position indicator 39 display the target position PTAR represents. In the present embodiment, the target position indicator overlaps 39 apicture 40 from the central towing vehicle camera 8th and / or therear trailer camera 15 Will be received. As in 6A is shown, becomes thetarget position indicator 39 shown as a rectangle representing the footprint of the towingvehicle 2 and the towedvehicle 3 in combination. Thetarget position indicator 39 is sized to give an enlarged view of the towingvehicle 2 and the towedvehicle 3 within thepicture 40 provides. The dimensions of the towingvehicle 2 are defined in a data file, the Einparkassistenzsteuerung 4 is accessible. For an accurate representation of the towedvehicle 3 to ensure, The dimensions of the trailer can be set by the user and stored in the data file. Thecontrol HMI 37 Optionally, aninput device 41 which can be operated by the user to the position of thetarget position indicator 39 within thepicture 40 adjust. The input means 41 For example, a touchscreen screen and / or a dial could be included. If necessary, the user can use the secondimage processing module 36B certain position of the target position PTAR adjust or refine. Thecontrol HMI 37 Optionally, it can also be configured to let the user access thecontrol module 36C generated target route R can adjust.

Die Steuerung HMI37 kann es dem Benutzer optional auch ermöglichen, die Position und/oder Größe eines oder mehrerer Merkmale des gezogenen Fahrzeugs3 festzulegen.Thecontrol HMI 37 Optionally, it may also allow the user to determine the location and / or size of one or more features of the towedvehicle 3 set.

Wie in6B dargestellt, kann das von der Steuerung HMI37 ausgegebene Bild40 eine grafische Darstellung des gezogenen Fahrzeugs3 liefern. Die Darstellung des gezogenen Fahrzeugs3 kann eine oder mehrere Markierungen beinhalten, die Merkmale des gezogenen Fahrzeugs darstellt. Das Bild40 kann einen oder mehrere der folgenden Sets umfassen: eine Türmarkierung42, eine Markierung für einen elektrischen Verbinder43, eine Markierung für einen A-Rahmen44, ein Führungsrad (nicht dargestellt) und ein einziehbares (Stütz-)Element (nicht dargestellt). Das Bild40 kann die Position und/oder Größe der Merkmale zeigen, beispielsweise in einem geöffneten und/oder geschlossenen Zustand. Das Bild40 kann beispielsweise eine Vogelperspektive auf das gezogene Fahrzeug3 umfassen. Die Vogelperspektive kann eine Kombination aus mehreren Bildern sein, die von den Kameras8,9,10, die auf dem Zugfahrzeug2 und/oder der Kamera15 auf dem gezogenen Fahrzeug3 aufgenommen wurden. Die Steuerung HMI37 kann so konfiguriert werden, dass der Benutzer die verschiedenen Merkmale des gezogenen Fahrzeugs3 definieren kann. Alternativ kann auch ein Modell des gezogenen Fahrzeugs3 vordefiniert werden, z. B. gespeichert in einer Datenbank, auf die die Einparkassistenzsteuerung4 zugreift. Durch die Aufnahme der Merkmale des gezogenen Fahrzeugs3 in das Bild40 kann der Benutzer die ZielpositionPTAR leichter auswählen. So kann der Benutzer beispielsweise die ZielpositionPTAR auswählen, um die Markierung43 des elektrischen Verbinders proximal zu einem Steckverbinder zu positionieren.As in 6B This can be done by thecontrol HMI 37 output image 40 a graphic representation of the towedvehicle 3 deliver. The representation of the drawnvehicle 3 may include one or more markers representing features of the towed vehicle. Thepicture 40 may include one or more of the following sets: adoor marker 42 , a mark for anelectrical connector 43 , a mark for an A-frame 44 , a guide wheel (not shown) and a retractable (support) member (not shown). Thepicture 40 may show the position and / or size of the features, for example in an open and / or closed state. Thepicture 40 For example, a bird's-eye view of the towedvehicle 3 include. The bird's eye view can be a combination of several pictures taken by the cameras 8th . 9 . 10 on the towingvehicle 2 and / or thecamera 15 on the towedvehicle 3 were recorded. Thecontrol HMI 37 can be configured to let the user view the various features of the towedvehicle 3 can define. Alternatively, a model of the towedvehicle 3 be predefined, z. B. stored in a database to which the Einparkassistenzsteuerung 4 accesses. By recording the characteristics of the towedvehicle 3 in thepicture 40 the user can set the target position PTAR easier to select. For example, the user can set the target position PTAR select themarker 43 of the electrical connector to position proximal to a connector.

Die Funktionsweise der Steuerung HMI37 ist anhand eines Blockdiagramms72 in7 dargestellt. Die Steuerungs-HMI37 bestimmt die ZielpositionPTAR (BLOCKC1). Wie hierin beschrieben, kann die ZielpositionPTAR durch Analyse von Bilddaten bestimmt werden, um den vom ersten Projektionssystem28 (BLOCKC2) projizierten Parkortindikator26 zu identifizieren. Alternativ oder zusätzlich kann die ZielpositionPTAR durch Benutzereingabe bestimmt werden (BLOCKC3). Die Steuerung HMI37 empfängt die Bilddaten von den linken und rechten Zugfahrzeugkameras9,10 und der hinteren Anhängerkamera15 (BLOCKC4). Die Bilddaten werden auf dem Anzeigebildschirm38 angezeigt (BLOCKC5). Der Zielpositionsindikator39 wird über das Bild gelagert (BLOCKC6). Eine Benutzereingabe wird empfangen, z. B. über die Benutzerinteraktion mit dem Touchscreen, um den Zielpositionsindikator39 (BLOCKC7) einzustellen. In Abhängigkeit von den empfangenen Benutzereingaben stellt die Steuerung HMI37 die Position des Zielpositionsindikators39 im Bild ein (BLOCKC8). Der Benutzer validiert die Position des Zielpositionsindikators39 und, wie hierin beschrieben, wird die ZielrouteR generiert (BLOCKC9). Die ZielrouteR kann dann dem Bild überlagert werden, um eine grafische Darstellung zu erhalten (BLOCKC10). Die ZielrouteR kann optional geändert werden, z. B. in Abhängigkeit von Benutzereingaben (BLOCKC11).The operation of theHMI control 37 is based on a block diagram 72 in 7 shown. Thecontrol HMI 37 determines the target position PTAR (BLOCK C1 ). As described herein, the target position PTAR be determined by analysis of image data to that of the first projection system 28 (BLOCK C2 ) projectedparking place indicator 26 to identify. Alternatively or additionally, the target position PTAR be determined by user input (BLOCK C3 ). Thecontrol HMI 37 receives the image data from the left and righttowing vehicle cameras 9 . 10 and the rear trailer camera 15 (BLOCK C4 ). The image data is displayed on thedisplay screen 38 displayed (BLOCK C5 ). Thetarget position indicator 39 is stored over the image (BLOCK C6 ). A user input is received, e.g. Via the user interaction with the touch screen, to the target position indicator 39 (BLOCK C7 ). Depending on the user input received, the controller providesHMI 37 the position of thetarget position indicator 39 in the picture (BLOCK C8 ). The user validates the position of thetarget position indicator 39 and as described herein becomes the target route R generated (BLOCK C9 ). The destination route R can then be superimposed on the image to get a graphical representation (BLOCK C10 ). The destination route R can optionally be changed, eg. B. depending on user input (BLOCK C11 ).

Das erste Projektionssystem28 kann konfiguriert werden, um die Merkmale des gezogenen Fahrzeugs3 zusammen mit dem Parkortindikators26 zu projizieren. So kann beispielsweise das erste Projektionssystem28 die Merkmale auf den Boden projizieren, um die Auswahl der ZielpositionPTAR für das gezogene Fahrzeug3 zu erleichtern.Thefirst projection system 28 Can be configured to the characteristics of the towedvehicle 3 together with theparking place indicator 26 to project. For example, thefirst projection system 28 project the features on the ground to select the target position PTAR for the towedvehicle 3 to facilitate.

Im Gebrauch positioniert der Benutzer die Parkleuchte5 außerhalb des Zugfahrzeugs2 und des gezogenen Fahrzeugs3. Die Parkleuchte5 ist typischerweise auf dem Boden angeordnet. Das erste Projektionssystem28 wird aktiviert, um den Parkortindikator26 zu projizieren. Der Parkortindikator26 wird auf den Boden projiziert, um eine zumindest im Wesentlichen vollständige Darstellung (d. h. eine 1:1-Darstellung) der Zielposition (PTAR) zu erhalten. Der Benutzer konfiguriert das erste Projektionssystem28 so, dass der Parkortindikator26 einer gewünschten ZielpositionPTAR entspricht. Der Benutzer kann das erste Projektionssystem28 manuell konfigurieren oder das HMI37 verwenden, um die Position des Parkortindikators26 einzustellen. Der Parkortindikator26 wird auf den Boden projiziert und gibt so einen sichtbaren Hinweis auf die ZielpositionPTAR. In der vorliegenden Ausführungsform stellt der Parkortindikator26 eine Grenze der ZielpositionPTAR dar.In use, the user positions theparking light 5 outside thetractor 2 and the towedvehicle 3 , Theparking light 5 is typically located on the floor. Thefirst projection system 28 is activated to theparking place indicator 26 to project. Theparking place indicator 26 is projected onto the ground to provide at least substantially complete representation (ie a 1: 1 representation) of the target position (FIG. PTAR ) to obtain. The user configures thefirst projection system 28 so that the parking place indicator 26 a desired target position PTAR equivalent. The user can use thefirst projection system 28 manually configure or theHMI 37 use the location of theparking place indicator 26 adjust. Theparking place indicator 26 is projected onto the ground, giving a visible indication of the target position PTAR , In the present embodiment, the parking location indicator 26 a limit of the target position PTAR represents.

Das Leitmodul36C bestimmt eine aktuelle PositionPCUR des gezogenen Fahrzeugs3 in Abhängigkeit vom Anhängewinkel ϕ des gezogenen Fahrzeugs3, der durch das erste Bildverarbeitungsmodul36A bestimmt wird. Das Leitmodul36C dient zum Bestimmen der ZielrouteR zwischen der aktuellen Anhängerposition und der ZielpositionPTAR. Der Fahrzeuglenkwinkelθ wird so gesteuert, dass ein Drehpunkt des gezogenen Fahrzeugs3 zumindest im Wesentlichen der bestimmten ZielrouteR entspricht. Das Leitmodul36C implementiert einen geometrischen Algorithmus zum Erzeugen der ZielrouteR. Das Leitmodul36C kann beispielsweise den Winkelversatz zwischen der aktuellen Anhänger-LängsachseX2 und der Soll-LängsachseX1TAR und dem seitlichen Versatz zwischen der aktuellen Anhängerposition und dem ParkzielPTAR nutzen. Das Leitmodul36C kann optional konfiguriert werden, um einen minimalen Krümmungsradius für die erste und zweite KurveA,B zu definieren, um sicherzustellen, dass der AnhängewinkelΦ nicht gleich oder größer als der Klappmesserwinkel ist.The guidingmodule 36C determines a current position PCUR of the towedvehicle 3 depending on the trailer angle φ of the towedvehicle 3 passing through the firstimage processing module 36A is determined. The guidingmodule 36C serves to determine the destination route R between the current trailer position and the target position PTAR , The vehicle steering angle θ is controlled so that a pivot point of the towedvehicle 3 at least essentially the particular destination route R equivalent. The guidingmodule 36C implements a geometric algorithm for generating the destination route R , The guidingmodule 36C For example, the angular offset between the current trailer longitudinal axis X2 and the desired longitudinal axis X1TAR and the lateral offset between the current trailer position and the parking target PTAR use. The guidingmodule 36C can optionally be configured to have a minimum radius of curvature for the first and second curves A . B to define, to ensure that the trailer angle Φ not equal to or greater than the folding knife angle.

Die Einparkassistenzsteuerung4 versucht, das Vorhandensein von Hindernissen entlang der ZielrouteR zu identifizieren. Typische Hindernisse sind Bordsteine, Wände, Fahrzeuge usw. Die Einparkassistenzsteuerung4 kann optional auch Geländeeigenschaften bestimmen. Die Geländeeigenschaften können einen oder mehrere der folgenden Settings umfassen: eine Neigung oder Steigung der Oberfläche; Oberflächenrauigkeit, um beispielsweise zwischen einer glatten Oberfläche und einer rauen oder unebenen Oberfläche zu unterscheiden. Wie hierin beschrieben, können die Hindernisse durch das dritte Bildverarbeitungsmodul36D identifiziert werden. Das Leitmodul36C modifiziert die ZielrouteR, um Hindernisse zu vermeiden, die vom dritten Bildverarbeitungsmodul36D erkannt werden.The parking assistant control 4 tries to detect the presence of obstacles along the target route R to identify. Typical obstacles are curbs, walls, vehicles, etc. The Einparkassistenzsteuerung 4 can optionally also determine terrain properties. The terrain features may include one or more of the following settings: a slope or slope of the surface; Surface roughness, for example, to distinguish between a smooth surface and a rough or uneven surface. As described herein, the obstacles may be through the thirdimage processing module 36D be identified. The guidingmodule 36C modifies the destination route R To avoid obstacles coming from the thirdimage processing module 36D be recognized.

Der Lenkwinkelθ des Zugfahrzeugs2 wird so gesteuert, dass eine Fahrtrichtung des gezogenen Fahrzeugs3 im Wesentlichen mit einer Soll-Fahrtrichtung des Anhängers übereinstimmt, während es entlang der Soll-RouteR rückwärts gefahren wird. Das Leitmodul36C steuert den Lenkwinkelθ der VorderräderW1,W2, um das gezogene Fahrzeug3 entlang der ZielrouteR zu führen. Der Regelalgorithmus zum Erzeugen eines Steuersignals zum Führen des Zugfahrzeugs2 entlang der ZielrouteR wird nun mit Bezug auf8 beschrieben. Das Zugfahrzeug2 weist eine erste LängsachseX1 auf und das Zugfahrzeug3 weist eine zweite LängsachseX2 auf. Der Winkelversatz zwischen der ersten und der zweiten LängsachseX1,X2 wird als KupplungswinkelΦ bezeichnet. Beim Rückwärtsfahren fährt das gezogene Fahrzeug3 in eine RichtungTACT, die dem AnhängerwinkelΦ entspricht (es sei denn, der AnhängewinkelΦ überschreitet einen Klappmesserwinkel für das gezogene Fahrzeug3).The steering angle θ of the towingvehicle 2 is controlled so that a direction of travel of the towedvehicle 3 essentially coincides with a desired direction of travel of the trailer while traveling along the desired route R is driven backwards. The guidingmodule 36C controls the steering angle θ the front wheels W1 . W2 to the towedvehicle 3 along the destination route R respectively. The control algorithm for generating a control signal for guiding the towingvehicle 2 along the destination route R will now be referring to 8th described. The towingvehicle 2 has a first longitudinal axis X1 on and the towingvehicle 3 has a second longitudinal axis X2 on. The angular offset between the first and the second longitudinal axis X1 . X2 is called hitch angle Φ designated. When reversing, the towed vehicle drives 3 in one direction TACT that the trailer angle Φ corresponds (unless, the trailer angle Φ exceeds a folding knife angle for the towed vehicle 3 ).

Das erste Bildverarbeitungsmodul36A berechnet den AnhängewinkelΦ in Bezug auf das Ziel25 und gibt ein Anhängewinkelsignal an das Leitmodul36C aus. Beim Rückwärtsfahren berechnet das Leitmodul36C den erforderlichen Lenkwinkelθ basierend auf der folgenden Gleichung:θt+1=θt+min(max(k(ϕreqϕcur),α),α)

Figure DE102018220279A1_0001
The firstimage processing module 36A calculates the trailer angle Φ in relation to the goal 25 and outputs a hitch angle signal to themaster 36C out. When reversing, the master module calculates 36C the required steering angle θ based on the following equation: θ t + 1 = θ t + min ( Max ( k ( φ r e q - φ c u r ) . - α ) . α )
Figure DE102018220279A1_0001

Wobei:

  • θθt+1 undθt die Lenkwinkel des Zugfahrzeugs2 bei Rahmen t + 1 undt (automatischer Autolenkbefehl von dem Algorithmus bzw. Stromsteuerung von demCAN) sind;
  • Φreq undΦcur sind die gewünschten und aktuellen Anhängerwinkel;
  • α ist der maximale Lenkversatzwert; und
  • k ist ein konstanter Multiplikator.
In which:
  • θ θt + 1 and θt the steering angle of the towingvehicle 2 at frame t + 1 and t (Automatic Autolenkbefehl from the algorithm or Stromsteuerung of the CAN ) are;
  • Φreq and Φcur are the desired and current trailer angles;
  • α is the maximum steering offset value; and
  • k is a constant multiplier.

Der maximale Lenkversatzwert α definiert eine maximale Änderung (Versatz) der Lenkwinkel innerhalb des definierten Zeitraums (d. h. innerhalb des Zeitrahmens t bis t+1). Der maximale Lenkversatzwertα definiert dadurch eine Anstiegsgeschwindigkeitsgrenze. Der Wert der Verstärkungk kann basierend auf der Beziehung zwischenθ undΦ berechnet werden, wie in8 gezeigt. Wenn die AnhängerkupplungslängeL plus der Zugstangenversatz des Fahrzeugsh gleich dem Fahrzeug-Achsabstandd ist, dann ist die Beziehung zwischenθ undΦ für kleine Winkel eins (1) und entsprechend kann die Verstärkungk auf einen Wert von eins (1) eingestellt werden. Die Verstärkungk kann daher basierend auf der folgenden Gleichung berechnet werden:k=L+hd

Figure DE102018220279A1_0002
The maximum steering offset value α defines a maximum change (offset) of the steering angles within the defined period (ie within the time frame t to t + 1). The maximum steering offset value α defines a slew rate limit. The value of the gain k can be based on the relationship between θ and Φ be calculated as in 8th shown. When the trailer hitch length L plus the drawbar offset of the vehicle H equal to the vehicle center distance d is, then the relationship is between θ and Φ for small angles one (1) and accordingly the gain k to a value of one (1). The reinforcement k can therefore be calculated based on the following equation: k = L + H d
Figure DE102018220279A1_0002

Dabei gilt:

  • L ist die Kupplungslänge des gezogenen Fahrzeugs3;
  • h ist der Abschleppstangenversatz desZugfahrzeugs2;
  • d ist der Achsabstand desZugfahrzeugs2;
Where:
  • L is the clutch length of the towedvehicle 3 ;
  • h is the tow bar offset of the towingvehicle 2 ;
  • d is the center distance of the towingvehicle 2 ;

Die Verstärkungk kompensiert dadurch die Tatsache, dass längere Anhänger länger brauchen, um den gewünschten AnhängewinkelΦ zu erreichen.The reinforcement k This compensates for the fact that longer trailers take longer to reach the desired trailer angle Φ to reach.

Das Leitmodul36C ist konfiguriert, um einen maximal zulässigen KupplungswinkelΦMAX zu berechnen. Überschreitet der AnhängewinkelΦ den maximal zulässigen AnhängewinkelΦMAX (in der vorliegenden Ausführungsform ist dies der Klappmesserwinkel des gezogenen Fahrzeugs3), ist es nicht mehr möglich, den AnhängewinkelΦ durch weiteres Rückwärtsfahren zu reduzieren (d. h. das gezogene Fahrzeug3 hat ein Klappmesser). Wenn der erfasste AnhängewinkelΦ gleich oder größer als der berechnete Klappmesserwinkel ist, rät die Einparkassistenzsteuerung4 dem Benutzer, vorwärtszufahren, bis sie bestimmt, dass der Anhängerwinkelδ oder der AnhängewinkelΦ im nächsten Intervall unter Berücksichtigung von Raum und Hindernissen erreichbar ist. Unter Bezugnahme auf8 berechnet das Leitmodul36C den maximal zulässigen AnhängewinkelΦMAX durch Anwendung des folgenden Gleichungssatzes:R=dtan(θ)

Figure DE102018220279A1_0003
ϕ=cos1(Lh+RR2+h2L2R2+h2)
Figure DE102018220279A1_0004
für pos. θϕ=cos1(Lh+RR2+h2L2R2+h2)
Figure DE102018220279A1_0005
für neg. θThe guidingmodule 36C is configured to a maximum allowable hitch angle ΦMAX to calculate. Exceeds the trailer angle Φ the maximum permissible trailer angle ΦMAX (In the present embodiment, this is the jackknife angle of the towed vehicle 3 ), it is no longer possible, the trailer angle Φ by further reversing (ie the towedvehicle 3 has a folding knife). If the detected trailer angle Φ is equal to or greater than the calculated jackknife angle, advises the Einparkassistenzsteuerung 4 the user to drive forward until they determined that the trailer angle δ or the attachments angle Φ in the next interval, taking into account space and obstacles. With reference to 8th calculates theguidance module 36C the maximum permissible trailer angle ΦMAX by applying the following set of equations: R = d tan ( θ )
Figure DE102018220279A1_0003
φ = cos - 1 ( - L H +R R 2 + H 2 - L 2R 2 + H 2 )
Figure DE102018220279A1_0004
for pos. θ φ = - cos - 1 ( - L H +R R 2 + H 2 - L 2R 2 + H 2 )
Figure DE102018220279A1_0005
for neg. θ

Dabei gilt:

  • R ist der Wenderadius;
  • θ ist der Lenkwinkel desZugfahrzeugs2;
  • d ist der Achsabstand desZugfahrzeugs2;
  • h ist der Abschleppstangenversatz desZugfahrzeugs2;
  • L ist die Kupplungslänge des gezogenen Fahrzeugs3;
Where:
  • R is the turning radius;
  • θ is the steering angle of the towingvehicle 2 ;
  • d is the center distance of the towingvehicle 2 ;
  • H is the tow bar offset of the towingvehicle 2 ;
  • L is the clutch length of the towedvehicle 3 ;

Der Achsabstandd, der Zugstangenversatzh und der maximale LenkwinkelθMAX des Zugfahrzeugs2 sind für das Zugfahrzeug2 definiert. Die AnhängelängeL des gezogenen Fahrzeugs3 wird beim Einrichten durch den Benutzer eingegeben (oder kann während einer Kalibrierungsübung bestimmt werden). Das Leitmodul36C gibt ein maximales Anhängewinkelsignal aus, um den maximal zulässigen AnhängewinkelΦMAX für den aktuellen Lenkwinkelθ anzuzeigen. Das Leitmodul36C ist konfiguriert, um die Fahrtrichtung des Anhängers auf Werte zu sperren, die kleiner als der maximal zulässige AnhängewinkelΦMAX sind. Ein minimaler Krümmungsradius der ZielrouteR kann definiert werden, um sicherzustellen, dass die Fahrtrichtung des Anhängers kleiner oder gleich dem maximal zulässigen AnhängewinkelΦMAX ist.The center distance d , the tie rod offset H and the maximum steering angle θMAX of the towingvehicle 2 are for the towingvehicle 2 Are defined. The trailer length L of the towedvehicle 3 is entered during setup by the user (or may be determined during a calibration exercise). The guidingmodule 36C Outputs a maximum hitch angle signal to the maximum allowed hitch angle ΦMAX for the current steering angle θ display. The guidingmodule 36C is configured to lock the direction of travel of the trailer to values less than the maximum permissible trailer angle ΦMAX are. A minimum radius of curvature of the target route R can be defined to ensure that the direction of travel of the trailer is less than or equal to the maximum permissible trailer angle ΦMAX is.

Das Leitmodul36C berechnet den anfänglich erforderlichen Lenkwinkelθ, um den gewünschten AnhängewinkelΦ zu erreichen, und berechnet dann iterativ den erforderlichen Lenkwinkelθ und den AnhängewinkelΦ. Für den Gebrauch ist das Leitmodul36C konfiguriert, um ein Lenksteuersignal auszugeben, das zum Steuern des Lenkwinkelsθ der VorderräderW1,W2 zum Einstellen des AnhängewinkelsΦ dient, wodurch die tatsächliche Fahrtrichtung des Anhängers geändert wird. Insbesondere passt das Leitmodul36C den Lenkwinkelθ (der in Bezug auf einen Referenzpunkt positiv oder negativ sein kann) an, um den AnhängewinkelΦ zu erhöhen oder zu verringern. Die tatsächliche Fahrtrichtung des Anhängers kann dabei an die Soll-Fahrtrichtung des Anhängers angepasst werden, die zum Folgen der Soll-RouteR erforderlich ist. Das Anhängewinkelsignal wird zumindest weitgehend in Echtzeit aktualisiert, und das Leitmodul36C nimmt entsprechende Echtzeit-Einstellungen des Lenksteuersignals vor. Das Leitmodul36C steuert den AnhängewinkelΦ so, dass die Differenz zwischen der tatsächlichen Fahrtrichtung des Anhängers und der Soll-Fahrtrichtung des Anhängers mindestens im Wesentlichen Null ist. Eine Toleranz von +/-0,5° zwischen der tatsächlichen Fahrtrichtung des Anhängers und der Zielfahrtrichtung des Anhängers liefert ein gutes Ergebnis.The guidingmodule 36C calculates the initial required steering angle θ to the desired trailer angle Φ and iteratively calculates the required steering angle θ and the trailer angle Φ , For use is the guidingmodule 36C configured to output a steering control signal used to control the steering angle θ the front wheels W1 . W2 for adjusting the towing angle Φ serves, which changes the actual direction of travel of the trailer. In particular, the guidance module fits 36C the steering angle θ (which may be positive or negative with respect to a reference point) to the tow angle Φ increase or decrease. The actual direction of travel of the trailer can be adapted to the desired direction of travel of the trailer, to follow the target route R is required. The hitch angle signal is updated at least substantially in real time, and theguidance module 36C takes appropriate real-time settings of the steering control signal. The guidingmodule 36C controls the trailer angle Φ such that the difference between the actual direction of travel of the trailer and the desired direction of travel of the trailer is at least substantially zero. A tolerance of +/- 0.5 ° between the actual direction of travel of the trailer and the direction of travel of the trailer will give a good result.

Ein EinparksteuersignalS1 wird vom Leitmodul36C an das EPAS18 ausgegeben, um den Lenkwinkelθ einzustellen, um das Zugfahrzeug2 so zu steuern, dass es die tatsächliche Fahrtrichtung des gezogenen Fahrzeugs3 mit der Zielfahrtrichtung abgleicht. Die Steuerung HMI37 kann optional Anweisungen ausgeben, die den Benutzer auffordern, den entsprechenden Antriebsgang zu wählen und die Fahrzeugbremsen und das Gaspedal zu betätigen. Das EPAS18 steuert in Abhängigkeit vom ParksteuersignalS1, das vom Leitmodul36C ausgegeben wird, das Zugfahrzeug2, um das gezogene Fahrzeug3 entlang der ZielrouteR zu führen. Die Steuerung HMI37 kann eine Benachrichtigung ausgeben, um dem Benutzer mitzuteilen, wenn sich das Zugfahrzeug2 und das gezogene Fahrzeug3 in der ZielpositionPTAR befinden. Die Einparkassistenzsteuerung4 kann dadurch das Rückwärtsfahren des Zugfahrzeugs2 und des gezogenen Fahrzeugs3 in die ZielpositionPTAR erleichtern.A parking control signal S1 is from theguidance module 36C to theEPAS 18 output to the steering angle θ adjust to the towingvehicle 2 so that it controls the actual direction of travel of the towedvehicle 3 aligns with the destination direction. Thecontrol HMI 37 Optionally, it may issue instructions that prompt the user to select the appropriate drive gear and operate the vehicle brakes and accelerator pedal. TheEPAS 18 controls in dependence on the parking control signal S1 that of theguidance module 36C is issued, the towingvehicle 2 to the towedvehicle 3 along the destination route R respectively. Thecontrol HMI 37 can issue a notification to notify the user when the towingvehicle 2 and the towedvehicle 3 in the target position PTAR are located. The parking assistant control 4 can thereby reverse the towingvehicle 2 and the towedvehicle 3 in the target position PTAR facilitate.

Die vorliegende Erfindung ist auf eine Reihe verschiedener Typen von gezogenen Fahrzeugen3 anwendbar. So kann beispielsweise das gezogene Fahrzeug3 ein Anhänger, ein Wohnwagen, ein Güterwagen, ein Tieflader, ein Kleintransporter, ein Viehanhänger, ein Pferdeanhänger und so weiter sein. Ebenso gilt die vorliegende Erfindung für eine Reihe verschiedener Arten von Zugfahrzeugen2. So kann beispielsweise das Trägerfahrzeug2 ein Kraftfahrzeug sein, wie beispielsweise ein Nutzfahrzeug, ein Geländewagen, ein Sports Utility Vehicle (SUV); oder ein Zugmotor oder eine Zugmaschine für einen Sattelzug.The present invention is directed to a number of different types of towedvehicles 3 applicable. For example, the towedvehicle 3 be a trailer, a caravan, a freight car, a low loader, a pickup truck, a cattle trailer, a horse trailer and so on. Likewise, the present invention applies to a number of different types of towingvehicles 2 , For example, the carrier vehicle 2 a motor vehicle, such as a utility vehicle, an off-road vehicle, a sports utility vehicle (SUV); or a tractor or a tractor for a semitrailer.

Obwohl die Einparkassistenzsteuerung4 mit Bezug auf eine Reihe von Trägerfahrzeugkameras8,9,10 beschrieben wurde, ist zu beachten, dass eine oder mehrere der Kameras weggelassen werden können. Zum Beispiel könnten die linken und rechten Zugfahrzeugkameras9,10 weggelassen werden. Alternativ oder zusätzlich kann mehr als eine Kamera am gezogenen Fahrzeug3 vorgesehen werden, beispielsweise können linke und rechte Kameras am gezogenen Fahrzeug3 montiert werden. Als weitere Alternative können ausschließlich die Zugfahrzeugkameras8,9,10 oder die hintere Anhängerkamera15 verwendet werden. Ein Satz von Parksensoren, die am gezogenen Fahrzeug3 angebracht sind, kann den Fahrer über alle Hindernisse informieren. Der AnhängewinkelΦ kann direkt gemessen werden, z. B. mit einem Drehgeber.Although the parking assistant control 4 with respect to a series of host vehicle cameras 8th . 9 . 10 has been described, it should be noted that one or more of the cameras can be omitted. For example, the left and right towing vehicle cameras could 9 . 10 be omitted. Alternatively or additionally, more than one camera may be on the towedvehicle 3 provided, for example, left and right cameras on the towedvehicle 3 to be assembled. As a further alternative, only the towing vehicle cameras 8th . 9 . 10 or therear trailer camera 15 be used. A set of parking sensors attached to thevehicle 3 can inform the driver about all obstacles. The trailer angle Φ can be measured directly, eg. B. with a rotary encoder.

Die Einparkassistenzsteuerung4 kann verwendet werden, um das Einparken eines Fahrzeugs zu unterstützen, das nicht abgeschleppt wird. Die Einparkassistenzsteuerung4 kann konfiguriert werden, um das Einparken eines Host-Fahrzeugs zu erleichtern. Die Einparkassistenzsteuerung4 kann konfiguriert werden, um den von der Einparkassistenz erzeugten Parkortindikators26 zu identifizieren und die ZielpositionPTAR zum Parken des Fahrzeugs2 zu bestimmen. Die Einparkassistenzsteuerung4 kann ein Einparkassistenzsignal zum Einparken des Fahrzeugs2 in Abhängigkeit von der bestimmten ZielpositionPTAR erzeugen. Die Einparkassistenzsteuerung4 kann eine Zielroute R zum Parken des Fahrzeugs2 erzeugen. Das Einparkassistenzsignal kann eine teilweise oder vollständig autonome Steuerung des Fahrzeugs2 bereitstellen. Diese Einparkassistenzsteuerung4 könnte an einem Anhänger mit einem bordeigenen Antriebsmechanismus installiert werden, beispielsweise mit einer oder mehreren elektrischen Maschinen zum Antreiben der Räder des Anhängers.The parking assistant control 4 can be used to assist in the parking of a vehicle that is not being towed. The parking assistant control 4 can be configured to facilitate the parking of a host vehicle. The parking assistant control 4 can be configured to the parking location indicator generated by theparking assistance 26 to identify and the target position PTAR for parking thevehicle 2 to determine. The parking assistant control 4 may be a parking assist signal for parking thevehicle 2 depending on the specific target position PTAR produce. The parking assistant control 4 may be a destination route R for parking thevehicle 2 produce. The parking assist signal may be a partially or completely autonomous control of thevehicle 2 provide. This parking assistant control 4 could be installed on a trailer with an on-board drive mechanism, such as one or more electric machines for driving the wheels of the trailer.

Wie hierin beschrieben, ist die Steuerungs-HMI37 in dem Zugfahrzeug2 vorgesehen, um den Betrieb des Einparkassistenzsystems1 zu steuern. Alternativ oder zusätzlich kann die Leuchte HMI32 konfiguriert sein, um den Betrieb des Einparkassistenzsystem1 zu steuern. Die Leuchte-HMI32 kann beispielsweise einen Bildschirm und Benutzereingabevorrichtung umfassen. Zumindest in bestimmten Ausführungsformen kann die Leuchte HMI32 die Aktivierung einer Steuerungsfunktion „Jetzt parken“ ermöglichen. Wenn aktiviert, kann die Steuerungsfunktion „Jetzt parken“ eine automatisierte Parksequenz auslösen, die das Zugfahrzeug2 veranlasst, das gezogene Fahrzeug3 entlang der Zielroute R rückwärts zu fahren. Das Einparkassistenzsystem1 kann konfiguriert werden, um eine positive Aktivierung der Leuchte HMI32 durch den Benutzer zu erfordern, um die automatische Steuerung des Zugfahrzeugs2 fortzusetzen. So kann beispielsweise das Einparkassistenzsystem1 konfiguriert werden, um das Zugfahrzeug2 zum Stillstand zu bringen, wenn festgestellt wird, dass der Benutzer die Leuchte HMI32 nicht mehr aktiviert. Wenn der Benutzer beispielsweise eine Aktivierungstaste oder einen Berührungssensor in der Leuchte HMI32 loslässt, kann das Einparkassistenzsystem1 konfiguriert werden, um das Zugfahrzeug2 zu stoppen. Diese Steuerstrategie kann eine zusätzliche Sicherheitsanforderung darstellen, damit die Bewegung im Falle eines unsicheren Zustands zum Stillstand kommt. Die Leuchte HMI32 kann zusätzliche Steuerungsfunktionen bereitstellen, z. B., um einem Benutzer die Vorschau einer oder mehrerer Zielrouten R zu ermöglichen, z. B. durch Blättern oder Kreisen durch optionale Routen. Der Benutzer kann dann die Leuchte HMI32 bedienen, um eine der vorhergesehenen Zielrouten R für das nachfolgende Zugfahrzeug2 auszuwählen. Es versteht sich, dass die Steuerfunktionen der Leuchte HMI32 auch in der Steuerung HMI37 im Zugfahrzeug2 bereitgestellt werden kann.As described herein, the control HMI is 37 in the towingvehicle 2 provided to the operation of theparking assistance system 1 to control. Alternatively or additionally, thelamp HMI 32 be configured to operate theparking assistance system 1 to control. Thelight HMI 32 For example, it may include a screen and user input device. At least in certain embodiments, the luminaire may beHMI 32 enable activation of a "park now" control function. When enabled, the "Park Now" control feature can trigger an automated parking sequence that locks the towingvehicle 2 causes the towedvehicle 3 to drive backwards along the destination route R Theparking assistance system 1 Can be configured to a positive activation of theluminaire HMI 32 by the user to require the automatic control of the towingvehicle 2 continue. For example, theparking assistance system 1 be configured to the towingvehicle 2 to stall if it is determined that the user HMI theluminaire 32 not activated anymore. For example, if the user has an activation key or a touch sensor in theHMI light 32 lets go, theparking assistance system 1 be configured to the towingvehicle 2 to stop. This control strategy may be an additional security requirement to stop the movement in the event of an unsafe condition. Theluminaire HMI 32 can provide additional control functions, e.g. To allow a user to preview one or more destination routes R, e.g. By scrolling or circles through optional routes. The user can then use theHMI light 32 operate one of the intended destination routes R for thefollowing towing vehicle 2 select. It is understood that the control functions of theluminaire HMI 32 also in thecontrol HMI 37 in the towingvehicle 2 can be provided.

Ein Einparkassistenzsystem101 gemäß einer weiteren Ausführungsform der vorliegenden Erfindung, bei dem die Einparkassistenzsteuerung4 zum Steuern eines Host-Fahrzeugs102 konfiguriert ist, wird nun mit Bezug auf die9 und10 beschrieben. Ähnliche Bezugszahlen werden für ähnliche Komponenten verwendet, wenn auch um 100 erhöht, um das Verständnis zu erleichtern. Das Host-Fahrzeug102 kann beispielsweise in Form eines Kraftfahrzeugs, eines Nutzfahrzeugs oder eines Geländewagens (SUV) vorliegen.Aparking assistance system 101 according to another embodiment of the present invention, wherein the Einparkassistenzsteuerung 4 for controlling ahost vehicle 102 is now configured with respect to the 9 and 10 described. Similar numbers are used for similar components, albeit increased by 100, to facilitate understanding. Thehost vehicle 102 can be in the form of a motor vehicle, a commercial vehicle or an off-road vehicle (SUV), for example.

Die Einparkassistenzsteuerung104 ist selektiv wirksam, um das Host-Fahrzeug102 zu steuern, um das Host-Fahrzeug102 zu einer vorbestimmten ZielpositionPTAR zu manövrieren. Die ZielpositionPTAR definiert einen Zielort und/oder eine Zielorientierung des Host-Fahrzeugs102 zum Parken. Wie hierin beschrieben, ist die Einparkassistenzsteuerung104 wirksam, um ein EinparkassistenzsignalS1 zu erzeugen, um das Host-Fahrzeug102 auf die ZielpositionPTAR zu steuern. Das EinparkassistenzsignalS1 ermöglicht eine teilautonome Steuerung des Host-Fahrzeugs102. Insbesondere wird das ParkassistenzsignalS1 an ein elektronisches EPAS-Modul118 ausgegeben, um den Lenkwinkelθ der VorderräderW1,W2 des Host-Fahrzeugs102 zu steuern. Das EinparkassistenzsignalS1 kann optional ein Drehmomentanforderungssignal steuern, das an eine drehmomenterzeugende Maschine, wie beispielsweise einen Verbrennungsmotor oder eine elektrische Maschine, ausgegeben wird, und/oder ein Bremsmoment-Anforderungssignal an eine Bremsvorrichtung. Alternativ kann das EinparkassistenzsignalS1 an eine Mensch-Maschine-Schnittstelle (HMI) ausgegeben werden, beispielsweise mit einem Bildschirm oder einer Head-up-Anzeige (HUD), um dem Fahrer des Host-Fahrzeugs102 Anweisungen oder Aufforderungen zu erteilen. Die Einparkassistenzsteuerung104 ist konfiguriert, um die ZielpositionPTAR unter Bezugnahme auf einen von der Parkleuchte105 erzeugte Parkortindikator126 zu bestimmen.Theparking assistant control 104 is selectively effective to thehost vehicle 102 to control thehost vehicle 102 to a predetermined target position PTAR to maneuver. The target position PTAR defines a destination and / or a destination orientation of thehost vehicle 102 for parking. As described herein, the parking assist control is 104 effective to a parking assist signal S1 to generate thehost vehicle 102 to the target position PTAR to control. The parking assistance signal S1 enables a partially autonomous control of thehost vehicle 102 , In particular, the parking assist signal becomes S1 to anelectronic EPAS module 118 output to the steering angle θ the front wheels W1 . W2 of thehost vehicle 102 to control. The parking assistance signal S1 Optionally, it may control a torque request signal output to a torque generating machine, such as an internal combustion engine or an electric machine, and / or a brake torque request signal to a brake device. Alternatively, the parking assist signal S1 to a human-machine interface (HMI), for example with a screen or head-up display (HUD), to the driver of thehost vehicle 102 To give instructions or prompts. Theparking assistant control 104 is configured to the destination position PTAR referring to one of theparking lights 105 generatedparking place indicator 126 to determine.

Der Parkortindikator126 in der vorliegenden Ausführungsform wird von mindestens einem ersten Projektionssystem128, das in einer Parkleuchte105 vorgesehen ist, auf den Boden projiziert. Die Parkleuchte105 ist gegenüber der hierin beschriebenen Ausführungsform unverändert, wobei die1 bis7 bevorzugt werden. Insbesondere ist das erste Projektionssystem128 konfiguriert, um den Parkortindikator126 zu projizieren. Ein Lichtsteuergerät127 ist vorgesehen, um das erste Projektionssystem128 dahin gehend zu steuern, ein Signal in dem Parkortindikator126 zu kodieren. Das kodierte Signal kann ein Identifikationssignal sein, um die Erkennung und/oder Identifikation des Parkortindikators126 zu erleichtern. Die Parkleuchte105 kann optional Mittel zum Erfassen des Host-Fahrzeugs102, wie beispielsweise einen Näherungssensor, umfassen, um eine Rückmeldung an die Einparkassistenzsteuerung104 bereitzustellen. Die Parkleuchte105 kann optional eine Kamera zum Übertragen von Bilddaten an die Einparkassistenzsteuerung104 umfassen, um beispielsweise eine alternative Sicht auf den Bereich hinter dem Host-Fahrzeug102 zu ermöglichen.Theparking place indicator 126 In the present embodiment, at least one first projection system is used 128 in apark lamp 105 is projected, projected onto the ground. Theparking light 105 is unchanged from the embodiment described herein, the 1 to 7 to be favoured. In particular, thefirst projection system 128 configured to theparking location indicator 126 to project. Alight control device 127 is intended to be thefirst projection system 128 to control, a signal in theparking place indicator 126 to code. The coded signal may be an identification signal for the detection and / or identification of theparking place indicator 126 to facilitate. Theparking light 105 Optionally, means for detecting thehost vehicle 102 , such as a proximity sensor, to provide feedback to the parking assistcontrol 104 provide. Theparking light 105 Optionally, a camera for transmitting image data to theEinparkassistenzsteuerung 104 For example, to provide an alternative view of the area behind thehost vehicle 102 to enable.

Die im Host-Fahrzeug102 vorgesehene Einparkassistenzsteuerung104 umfasst eine elektronische Steuereinheit (ECU)133 mit einem elektronischen Prozessor134 und einem Speicher135, wie in9 schematisch dargestellt. Der Prozessor134 ist konfiguriert, um eine Reihe von Berechnungsanweisungen auszuführen, die auf dem Speicher135 gespeichert sind. Der Prozessor134 umfasst Bildverarbeitungsmittel zum Analysieren von Bilddaten, die von einer oder mehreren Kameras erzeugt werden, die auf dem Host-Fahrzeug102 angeordnet sind. In der vorliegenden Ausführungsform ist eine zentrale Host-Fahrzeugkamera108 in einer zentralen Position angeordnet; und die linken und rechten Host-Fahrzeugkameras109,110 sind in den jeweiligen linken und rechten Positionen am Host-Fahrzeug102 angeordnet. Der Prozessor134 ist konfiguriert, um Bilddaten von jeder der Host-Fahrzeugkameras108,109,110 zu empfangen. Der Prozessor134 kann auch dahin gehend konfiguriert werden, um Daten von anderen Sensoren zu empfangen, die auf dem Host-Fahrzeug102 angeordnet sind. Der Prozessor134 kann beispielsweise Daten von einem oder mehreren der folgenden Sensoren empfangen: Ultraschallsensoren, Radarsysteme113A,113B und Lidarsensoren.The in thehost vehicle 102 providedEinparkassistenzsteuerung 104 includes an electronic control unit (ECU) 133 with anelectronic processor 134 and amemory 135 , as in 9 shown schematically. Theprocessor 134 is configured to execute a series of computation statements stored onmemory 135 are stored. Theprocessor 134 includes image processing means for analyzing image data generated by one or more cameras mounted on thehost vehicle 102 are arranged. In the present embodiment, a host vehiclecentral camera 108 arranged in a central position; and the left and righthost vehicle cameras 109 . 110 are in the respective left and right positions on thehost vehicle 102 arranged. Theprocessor 134 is configured to receive image data from each of thehost vehicle cameras 108 . 109 . 110 to recieve. Theprocessor 134 can also be configured to receive data from other sensors on thehost vehicle 102 are arranged. Theprocessor 134 For example, it may receive data from one or more of the following sensors: ultrasonic sensors,radar systems 113A . 113B and lidar sensors.

Der Prozessor134 umfasst ein Bildverarbeitungsmodul136B zum Empfangen von Bilddaten von den Host-Fahrzeugkameras108,109,110. Das Bildverarbeitungsmodul136B ist konfiguriert, um die Bilddaten zu analysieren und den von der Parkleuchte105 erzeugte Parkortindikator126 zu identifizieren. Insbesondere verarbeitet das Bildverarbeitungsmodul136B die Bilddaten, um alle Elemente in den Bilddaten zu identifizieren, die sich gemäß dem von der Lichtsteuergerät127 eingeleiteten kodierten Signal ändern. Das Bildverarbeitungsmodul136B kann dadurch den Parkortindikator126 identifizieren. Der Prozessor134 bestimmt die ZielpositionPTAR zum Parken des Host-Fahrzeugs102 in Abhängigkeit von dem Parkortindikators126. In der dargestellten Anordnung zeigt der von der Parkleuchte105 erzeugte Lichtweg131 eine Seitenbegrenzung der ZielpositionPTAR und eine Längserstreckung der ZielpositionPTAR an. In einer Variante könnte der von der Parkleuchte105 erzeugte Lichtweg131 eine Mittellinie der ZielpositionPTAR darstellen. Die Enden des Parkortindikators126 stellen die vorderen und hinteren Enden der ZielpositionPTAR dar.Theprocessor 134 includes animage processing module 136B for receiving image data from thehost vehicle cameras 108 . 109 . 110 , Theimage processing module 136B is configured to analyze the image data and that of theparking light 105 generatedparking place indicator 126 to identify. In particular, the image processing module processes 136B the image data to identify all the elements in the image data that conform to that of thelight controller 127 change introduced coded signal. Theimage processing module 136B can thereby theparking place indicator 126 identify. Theprocessor 134 determines the target position PTAR for parking thehost vehicle 102 depending on theparking place indicator 126 , In the illustrated arrangement, the one of theparking lamp 105 generated light path 131 a page boundary of the target position PTAR and a longitudinal extent of the target position PTAR on. In a variant of theparking light 105 generated light path 131 a center line of the target position PTAR represent. The ends of theparking place indicator 126 set the front and back ends of the target position PTAR represents.

Der Prozessor134 umfasst ferner Fahrzeugführungseinrichtungen in Form eines Leitmoduls136C. Das Leitmodul136C ist vorgesehen, um das Führen des Host-Fahrzeugs102 zu unterstützen, z. B. um das Host-Fahrzeug102 von einer aktuellenPositionPCUR in eine ZielpositionPTAR umzukehren. Die ZielpositionPTAR kann beispielsweise eine Zielposition für das gezogene Fahrzeug303 (und optional auch das Zugfahrzeug302) sein. Es versteht sich, dass das Leitmodul136C auch verwendet werden kann, um das Host-Fahrzeug102 während der Fahrt in Vorwärtsrichtung in eine Zielposition zu fahren. Das Leitmodul136C ist konfiguriert, um ein Steuersignal zum Steuern des Lenkwinkelsθ der VorderräderW1,W2 des Host-Fahrzeugs102 entlang einer Zielroute (oder Trajektorie)R auszugeben. Die ZielrouteR wird vom Leitmodul36C erzeugt, um das Host-Fahrzeug102 von der aktuellen PositionPCUR zur ZielpositionPTAR zu führen. Die ZielrouteR ist in10 durch eine gestrichelte Linie dargestellt. Das Leitmodul136C ist konfiguriert, um die ZielrouteR zu erzeugen, um das Host-Fahrzeug102 von seinem aktuellen Standort zur identifizierten ZielpositionPTAR zu führen. Die ZielrouteR definiert eine Trajektorie für das Host-Fahrzeug102 von der aktuellen PositionPCUR zur ZielpositionPTAR. Die ZielrouteR kann geradlinige und/oder gebogenen Abschnitte umfassen. Die ZielrouteR ist zeitgleich mit einem Mittelpunkt des Host-Fahrzeugs102 angeordnet. Die aktuelle PositionPCUR des Host-Fahrzeugs102 wird kontinuierlich überwacht und mit der ursprünglich berechneten ZielrouteR verglichen. Kleine Abweichungen werden innerhalb der Einparkassistenzsteuerung104 verwaltet. Größere Abweichungen können eine Neuberechnung der ZielrouteR auslösen. Wenn die ZielpositionPTAR von der aktuellen PositionPCUR aus nicht erreichbar ist, wird der Benutzer gewarnt und ein Korrekturmanöver wird vorgeschlagen (z. B. Vorfahrt auf kurzer Strecke).Theprocessor 134 further comprises vehicle guidance devices in the form of apilot module 136C , The guidingmodule 136C is intended to guide thehost vehicle 102 to support, for. For example, thehost vehicle 102 from a current one PositionPCUR into a target position PTAR reverse. The target position PTAR may, for example, a target position for the towed vehicle 303 (and optionally also the towing vehicle 302 ) his. It is understood that the guidingmodule 136C also can be used to host thevehicle 102 to travel to a target position while traveling in the forward direction. The guidingmodule 136C is configured to be a control signal for controlling the steering angle θ the front wheels W1 . W2 of thehost vehicle 102 along a target route (or trajectory) R issue. The destination route R is from theguidance module 36C generated to thehost vehicle 102 from the current position PCUR to the target position PTAR respectively. The destination route R is in 10 represented by a dashed line. The guidingmodule 136C is configured to the destination route R to generate thehost vehicle 102 from its current location to the identified target location PTAR respectively. The destination route R defines a trajectory for thehost vehicle 102 from the current position PCUR to the target position PTAR , The destination route R may include straight and / or bent sections. The destination route R is coincident with a midpoint of thehost vehicle 102 arranged. The current position PCUR of thehost vehicle 102 is continuously monitored and with the originally calculated target route R compared. Small deviations become within theEinparkassistenzsteuerung 104 managed. Larger deviations can be a recalculation of the destination route R trigger. When the target position PTAR from the current position PCUR off is not available, the user is warned and a correction maneuver is proposed (eg right of way short distance).

Der Prozessor134 umfasst ein Hinderniserfassungsmodul136D, das konfiguriert ist, um Hindernisse in der Trajektorie des Host-Fahrzeugs102 zu identifizieren. Insbesondere ist das Hinderniserfassungsmodul136D konfiguriert, um Hindernisse entlang der Zielroute R des Host-Fahrzeugs102 zu identifizieren. Das Hinderniserfassungsmodul136D kann die von den Host-Fahrzeugkameras8,9,10 empfangenen Bilddaten analysieren, um das Vorhandensein/Abwesenheit von Hindernissen, insbesondere entlang oder in der Nähe der Zielroute R, zu identifizieren. Alternativ oder zusätzlich kann das Hinderniserfassungsmodul136D Erkennungssignale von den linken und rechten Radarsystemen113A,113B empfangen, um das Vorhandensein/ die Abwesenheit von Hindernissen proximal des Zugfahrzeugs2 und des gezogenen Fahrzeugs3 zu identifizieren.Theprocessor 134 includes anobstacle detection module 136D that is configured to Obstacles in the trajectory of thehost vehicle 102 to identify. In particular, theobstacle detection module 136D configured to pass obstacles along the destination route R of thehost vehicle 102 to identify. Theobstacle detection module 136D Can be used by the host vehicle cameras 8th . 9 . 10 analyze received image data to identify the presence / absence of obstacles, in particular along or in the vicinity of the target route R. Alternatively or additionally, theobstacle detection module 136D Detection signals from the left andright radar systems 113A . 113B receive the presence / absence of obstacles proximal to the towingvehicle 2 and the towedvehicle 3 to identify.

Die Steuerung HMI137 kann optional eine Eingabeeinrichtung141 umfassen, die vom Benutzer bedient werden kann, um die Position des Zielpositionsindikators139 innerhalb eines Bildausgangs auf einen Anzeigebildschirm138 einzustellen. Die Eingabemittel141 könnten beispielsweise einen Touchscreen Bildschirm und/oder einen Drehregler umfassen. Bei Bedarf kann der Benutzer die vom Bildverarbeitungsmodul136B bestimmte Position der ZielpositionPTAR anpassen oder verfeinern. Die Steuerung HMI137 kann optional auch so konfiguriert werden, dass der Benutzer die vom Leitmodul136C erzeugte ZielrouteR einstellen kann.Thecontrol HMI 137 Optionally, aninput device 141 which can be operated by the user to the position of the target position indicator 139 within a picture output on adisplay screen 138 adjust. The input means 141 For example, a touchscreen screen and / or a dial could be included. If necessary, the user can use theimage processing module 136B certain position of the target position PTAR adjust or refine. Thecontrol HMI 137 Optionally, it can also be configured to let the user access thecontrol module 136C generated target route R can adjust.

Im Gebrauch positioniert der Benutzer die Parkleuchte105 außerhalb des Host-Fahrzeugs102. Die Parkleuchte5 ist typischerweise auf dem Boden angeordnet. Das erste Projektionssystem128 wird aktiviert, um den Parkortindikator126 zu projizieren. Der Benutzer konfiguriert das erste Projektionssystem128 so, dass der Parkortindikator126 einer gewünschten ZielpositionPTAR entspricht. Der Benutzer kann das erste Projektionssystem128 manuell konfigurieren oder die Steuerung HMI137 verwenden, um die Position des Parkortindikator126 einzustellen. Der Parkortindikator126 wird auf den Boden projiziert und gibt so einen sichtbaren Hinweis auf den ZielpositionPTAR. In der vorliegenden Ausführungsform stellt der Parkortindikator126 eine Grenze der ZielpositionPTAR dar.In use, the user positions theparking light 105 outside thehost vehicle 102 , Theparking light 5 is typically located on the floor. Thefirst projection system 128 is activated to theparking place indicator 126 to project. The user configures thefirst projection system 128 so that the parking place indicator 126 a desired target position PTAR equivalent. The user can use thefirst projection system 128 manually configure or control theHMI 137 use the location of theparking place indicator 126 adjust. Theparking place indicator 126 is projected onto the ground, giving a visible indication of the target position PTAR , In the present embodiment, the parking location indicator 126 a limit of the target position PTAR represents.

Das Bildverarbeitungsmodul136B analysiert die Bilddaten der Host-Fahrzeugkameras108,109,110, um die von der Parkleuchte105 erzeugten Parkortindikator126 zu identifizieren. Insbesondere verarbeitet das Bildverarbeitungsmodul136B die Bilddaten, um den Parkortindikator26 zu identifizieren. Das zweite Bildverarbeitungsmodul36B kann optional die Bilddaten verarbeiten, um ein von dem Lichtsteuergerät127 eingeleitetes kodiertes Signal zu identifizieren. Die Identifizierung des kodierten Signals kann die Identifizierung des Parkortindikators26 innerhalb der Bilddaten erleichtern. Das Bildverarbeitungsmodul136B identifiziert dabei den Parkortindikator126 innerhalb der Bilddaten. Der Prozessor134 bestimmt dann die ZielpositionPTAR zum Parken des Host-Fahrzeugs102 basierend auf dem Parkortindikator126. Der Prozessor134 kann die ZielpositionPTAR in Bezug auf eine Ziel-LängsachseX1TAR definieren. Der Prozessor34 erzeugt dann das EinparkassistenzsignalS1.Theimage processing module 136B analyzes the image data of thehost vehicle cameras 108 . 109 . 110 to the one of theparking light 105 generatedparking place indicator 126 to identify. In particular, the image processing module processes 136B the image data to theparking place indicator 26 to identify. The secondimage processing module 36B Optionally, it can process the image data to one from thelight controller 127 to identify the injected coded signal. The identification of the coded signal may be the identification of theparking place indicator 26 within the image data. Theimage processing module 136B identifies theparking place indicator 126 within the image data. Theprocessor 134 then determines the target position PTAR for parking thehost vehicle 102 based on theparking place indicator 126 , Theprocessor 134 can the target position PTAR with respect to a target longitudinal axis X1TAR define. Theprocessor 34 then generates the parking assist signal S1 ,

Das Leitmodul136C dient zum Bestimmen der ZielrouteR zwischen der aktuellen PositionPCUR des Host-Fahrzeugs102 und der ZielpositionPTAR. Das Leitmodul136C implementiert einen geometrischen Algorithmus zum Erzeugen der ZielrouteR. Das Leitmodul136C kann beispielsweise den Winkelversatz zwischen der aktuellen FahrzeuglängsachseX1 und der Ziel-LängsachseX1TAR und den seitlichen Versatz zwischen der aktuellen PositionPCUR des Host-Fahrzeugs102 und der ZielpositionPTAR nutzen.The guidingmodule 136C serves to determine the destination route R between the current position PCUR of thehost vehicle 102 and the target position PTAR , The guidingmodule 136C implements a geometric algorithm for generating the destination route R , The guidingmodule 136C For example, the angular offset between the current vehicle longitudinal axis X1 and the target longitudinal axis X1TAR and the lateral offset between the current position PCUR of thehost vehicle 102 and the target position PTAR use.

Die Einparkassistenzsteuerung104 versucht, das Vorhandensein von Hindernissen entlang der ZielrouteR zu identifizieren. Typische Hindernisse sind Bordsteine, Wände, Fahrzeuge usw. Die Einparkassistenzsteuerung104 kann optional auch Geländeeigenschaften bestimmen. Die Geländeeigenschaften können einen oder mehrere der folgenden Settings umfassen: eine Neigung oder Steigung der Oberfläche; Oberflächenrauigkeit, um beispielsweise zwischen einer glatten Oberfläche und einer rauen oder unebenen Oberfläche zu unterscheiden. Wie hierin beschrieben, können die Hindernisse durch das Hinderniserkennungsmodul136D identifiziert werden. Das Leitmodul136C modifiziert die Zielroute R, um Hindernisse zu vermeiden, die durch das Hinderniserkennungsmodul136D identifiziert wurden.Theparking assistant control 104 tries to detect the presence of obstacles along the target route R to identify. Typical obstacles are curbs, walls, vehicles, etc. TheEinparkassistenzsteuerung 104 can optionally also determine terrain properties. The terrain features may include one or more of the following settings: a slope or slope of the surface; Surface roughness, for example, to distinguish between a smooth surface and a rough or uneven surface. As described herein, the obstacles may be obstructed by theobstacle detection module 136D be identified. The guidingmodule 136C modifies the target route R to avoid obstacles caused by theobstacle detection module 136D were identified.

Im Betrieb wird vom Leitmodul136C ein ParksteuersignalS1 an das EPAS18 ausgegeben, um den Lenkwinkelθ anzupassen, um das Host-Fahrzeug102 so zu steuern, dass es die tatsächliche Fahrtrichtung des Host-Fahrzeugs102 mit der Zielfahrtrichtung abgleicht. Die Steuerung HMI137 kann optional Anweisungen ausgeben, die den Benutzer auffordern, den entsprechenden Antriebsgang zu wählen und die Fahrzeugbremsen und das Gaspedal zu betätigen. Das EPAS118 steuert in Abhängigkeit vom ParkkontrollsignalS1, das vom Leitmodul136C ausgegeben wird, das Host-Fahrzeug102, um der ZielrouteR zu folgen. Eine Benachrichtigung kann von der Steuerung HMI137 ausgegeben werden, um den Benutzer zu benachrichtigen, wenn sich das Host-Fahrzeug102 in der ZielpositionPTAR befindet. Die Einparkassistenzsteuerung104 kann dadurch das Rückwärtsfahren des Host-Fahrzeugs102 auf die ZielpositionPTAR erleichternIn operation, thecontrol module 136C a parking control signal S1 to theEPAS 18 output to the steering angle θ adapt to thehost vehicle 102 so that it controls the actual direction of travel of thehost vehicle 102 aligns with the destination direction. Thecontrol HMI 137 Optionally, it may issue instructions that prompt the user to select the appropriate drive gear and operate the vehicle brakes and accelerator pedal. TheEPAS 118 controls depending on the parking control signal S1 that of theguidance module 136C is issued, thehost vehicle 102 to the destination route R to follow. A notification may be from theHMI controller 137 be issued to notify the user when thehost vehicle 102 in the target position PTAR located. Theparking assistant control 104 This can reverse thehost vehicle 102 to the target position PTAR facilitate

Das Einparkassistenzsystem201 gemäß einer weiteren Ausführungsform der vorliegenden Erfindung wird nun mit Bezug auf die11 und12 beschrieben. Diese Ausführungsform ist eine Weiterentwicklung der hierin beschriebenen Ausführungsform unter Bezugnahme auf die1 bis7. Ähnliche Bezugszahlen werden für ähnliche Komponenten verwendet, wenn auch um200 erhöht, um das Verständnis zu erleichtern.Theparking assistance system 201 according to another embodiment of the present Invention will now be described with reference to 11 and 12 described. This embodiment is a further development of the embodiment described herein with reference to FIGS 1 to 7 , Similar reference numbers are used for similar components, albeit um 200 increased to facilitate understanding.

Die Einparkassistenzsteuerung204 gemäß der vorliegenden Ausführungsform ist konfiguriert, um das ParksteuersignalS1 zum Steuern eines entfernten Fahrzeugs250 zu übertragen. Das entfernte Fahrzeug250 in dieser Variante ist ein selbstfahrendes Fahrzeug, beispielsweise mit einer oder mehreren drehmomenterzeugenden Maschinen zur Ausgabe einer Traktionskraft. Die Einparkassistenzsteuerung204 ist im Host-Fahrzeug202 installiert und konfiguriert, um den von der Parkleuchte205 erzeugten Parkortindikator226 zu identifizieren, um die ZielpositionPTAR zu bestimmen. Das Host-Fahrzeug202 umfasst einen ersten Sender-Empfänger245 zur Kommunikation mit dem entfernten Fahrzeug250. Insbesondere ist die Einparkassistenzsteuerung204 konfiguriert, um den ersten Sender-Empfänger245 zu aktivieren, um das ParksteuersignalS1 drahtlos an das entfernte Fahrzeug3 zu übertragen, beispielsweise unter Verwendung eines geeigneten drahtlosen Kommunikationsprotokolls. Das Host-Fahrzeug202 kann dadurch direkt oder indirekt den Betrieb des entfernten Fahrzeugs250 steuern. Zumindest in bestimmten Ausführungsformen kann das Host-Fahrzeug202 in einer „Master“-Kapazität und das separate Fahrzeug250 in einer „Slave“-Kapazität betrieben werden. Diese Ausführungsform der vorliegenden Erfindung wird nun detaillierter unter Bezugnahme auf12 beschrieben. Dieselben Bezugszahlen werden für dieselben Komponenten verwendet.Theparking assistant control 204 according to the present embodiment is configured to the parking control signal S1 for controlling aremote vehicle 250 transferred to. Theremote vehicle 250 in this variant is a self-propelled vehicle, for example, with one or more torque-generating machines for outputting a traction force. Theparking assistant control 204 is in thehost vehicle 202 installed and configured to the one of theparking light 205 generatedparking place indicator 226 to identify the target position PTAR to determine. Thehost vehicle 202 includes afirst transceiver 245 for communication with theremote vehicle 250 , In particular, theEinparkassistenzsteuerung 204 configured to thefirst transceiver 245 to activate the parking control signal S1 wirelessly to theremote vehicle 3 using, for example, a suitable wireless communication protocol. Thehost vehicle 202 can thereby directly or indirectly the operation of theremote vehicle 250 control. At least in certain embodiments, the host vehicle may 202 in a "master" capacity and theseparate vehicle 250 be operated in a "slave" capacity. This embodiment of the present invention will now be described in more detail with reference to FIG 12 described. The same reference numbers are used for the same components.

Wie in12 dargestellt, umfasst das entfernte Fahrzeug250 einen selbstfahrenden (oder aktiven) Anhänger. Das entfernte Fahrzeug250 in der vorliegenden Ausführungsform umfasst die Ersten und Zweiten Drehmomentgeneratoren251,252, die zum Antreiben der jeweiligen linken und rechten RäderTW1,TW2 angeordnet sind. Die ersten und zweiten Drehmomentgeneratoren251,252 umfassen jeweils eine elektrische Traktionsmaschine und einen Wechselrichter, der mit einer fahrzeugseitigen Traktionsbatterie (nicht dargestellt) oder anderen Energiespeichermitteln verbunden ist. Eine elektronische Steuereinheit (ECU)253 ist vorgesehen, um den Betrieb der ersten und zweiten Drehmomentgeneratoren251,252 zu steuern. Durch Steuern der Relativgeschwindigkeit der ersten und zweiten Drehmomentgeneratoren251,252 kann das ECU253 das ferngesteuerte Fahrzeug250 vorwärts und rückwärts steuern, entweder geradlinig oder in einer Drehbewegung (Nachweis des ferngesteuerten Fahrzeugs250 mit sogenannten Tanksteuerungen). Das ECU253 ist mit einem zweiten Sender-Empfänger254 verbunden, um drahtlos mit dem Host-Fahrzeug202 zu kommunizieren. Im Einsatz kann das entfernte Fahrzeug250 konfiguriert werden, um hinter dem Host-Fahrzeug202 abgeschleppt zu werden. Um jedoch das Parken des entfernten Fahrzeugs250 und/oder das Kuppeln des entfernten Fahrzeugs250 mit dem Host-Fahrzeug202 zu erleichtern, kann sich das entfernte Fahrzeug250 unabhängig vom Host-Fahrzeug202 selbst antreiben. Das Host-Fahrzeug202 und das entfernte Fahrzeug250 können miteinander kommunizieren, beispielsweise unter Verwendung eines geeigneten drahtlosen Kommunikationsprotokolls.As in 12 illustrated includes the remote vehicle 250 a self-propelled (or active) trailer. Theremote vehicle 250 In the present embodiment, the first and second torque generators include 251 . 252 used to drive the respective left and right wheels TW1 . TW2 are arranged. The first andsecond torque generators 251 . 252 Each includes an electric traction machine and an inverter connected to an onboard traction battery (not shown) or other energy storage means. An electronic control unit (ECU) 253 is provided to the operation of the first andsecond torque generators 251 . 252 to control. By controlling the relative speed of the first andsecond torque generators 251 . 252 can theECU 253 the remote-controlledvehicle 250 steer forwards and backwards, either in a straight line or in a rotary motion (detection of the remote-controlledvehicle 250 with so-called tank controls). TheECU 253 is with asecond transceiver 254 connected to wirelessly with thehost vehicle 202 to communicate. In use, theremote vehicle 250 be configured to go behind thehost vehicle 202 to be towed. However, the parking of theremote vehicle 250 and / or the coupling of theremote vehicle 250 with thehost vehicle 202 To facilitate, the remote vehicle can 250 regardless of thehost vehicle 202 drive yourself. Thehost vehicle 202 and theremote vehicle 250 can communicate with each other using, for example, a suitable wireless communication protocol.

In der vorliegenden Ausführungsform ist die Einparkassistenzsteuerung204 in das Host-Fahrzeug202 integriert. Wie in11 dargestellt, umfasst das Host-Fahrzeug202 mindestens eine Host-Fahrzeugkamera208, die konfiguriert ist, um Bilddaten an die Einparkassistenzsteuerung204 zu übertragen. Die Bilddaten, der mindestens einen Host-Fahrzeugkamera208 können durch Bilddaten einer oder mehrerer Kameras (nicht dargestellt) ergänzt werden, die am entfernten Fahrzeug250 angebracht sind. Das entfernte Fahrzeug250 kann zusätzliche Sensoren umfassen, zum Beispiel Proximity-Sensoren, die Daten an die ECU253 ausgeben. Die Einparkassistenzsteuerung204 umfasst einen Prozessor234, der konfiguriert ist, um ein Bildverarbeitungsmodul236B zu implementieren. Das Bildverarbeitungsmodul236B analysiert die Bilddaten von der Host-Fahrzeugkamera208, um den Parkortindikator226 zu identifizieren, der von der Parkleuchte205 erzeugt wird. Der Betrieb des Bildverarbeitungsmoduls236B ist der gleiche wie hierin in Bezug auf die vorherige (n) Ausführungsform (en) beschrieben. Der Prozessor234 bestimmt die ZielpositionPTAR zum Parken des entfernten Fahrzeugs250 basierend auf dem Parkortindikator126. Der Prozessor234 kann die ZielpositionPTAR in Bezug auf eine Ziel-LängsachseX1TAR definieren.In the present embodiment, the parking assist control is 204 in thehost vehicle 202 integrated. As in 11 shown includes thehost vehicle 202 at least onehost vehicle camera 208 , which is configured to send image data to the parking assistcontrol 204 transferred to. The image data, the at least onehost vehicle camera 208 may be supplemented by image data from one or more cameras (not shown) on theremote vehicle 250 are attached. Theremote vehicle 250 may include additional sensors, such as proximity sensors, which send data to theECU 253 output. Theparking assistant control 204 includes aprocessor 234 which is configured to be animage processing module 236B to implement. Theimage processing module 236B analyzes the image data from thehost vehicle camera 208 to theparking place indicator 226 to identify, by theparking light 205 is produced. The operation of theimage processing module 236B is the same as described herein with respect to the previous embodiment (s). Theprocessor 234 determines the target position PTAR for parking theremote vehicle 250 based on theparking place indicator 126 , Theprocessor 234 can the target position PTAR with respect to a target longitudinal axis X1TAR define.

Der am Host-Fahrzeug202 vorgesehene Prozessor234 umfasst ein Leitmodul236C, das die ZielrouteR zwischen der aktuellen PositionPCUR des entfernten Fahrzeugs250 und der ZielpositionPTAR bestimmt. Das Leitmodul236C implementiert einen geometrischen Algorithmus zum Erzeugen der Zielroute R. Das Leitmodul236C kann beispielsweise den Winkelversatz zwischen der LängsachseX2 des entfernten Fahrzeugs250 und der Ziel-LängsachseX1TAR und den seitlichen Versatz zwischen der aktuellen PositionPCUR des entfernten Fahrzeugs250 und der ZielpositionPTAR nutzen.The at thehost vehicle 202 providedprocessor 234 includes aguidance module 236C that the destination route R between the current position PCUR theremote vehicle 250 and the target position PTAR certainly. The guidingmodule 236C implements a geometric algorithm for generating the destination route R. Theguidance module 236C For example, the angular offset between the longitudinal axis X2 theremote vehicle 250 and the target longitudinal axis X1TAR and the lateral offset between the current position PCUR theremote vehicle 250 and the target position PTAR use.

Die Einparkassistenzsteuerung204 kann optional auch versuchen, das Vorhandensein von Hindernissen entlang der ZielrouteR zu identifizieren. Typische Hindernisse umfassen Randsteine, Wände, Fahrzeuge usw. Die Einparkassistenzsteuerung204 kann optional auch Geländeeigenschaften bestimmen. Die Geländeeigenschaften können einen oder mehrere der folgenden Settings umfassen: eine Neigung oder Steigung der Oberfläche; Oberflächenrauigkeit, um beispielsweise zwischen einer glatten Oberfläche und einer rauen oder unebenen Oberfläche zu unterscheiden. Wie hierin beschrieben, können die Hindernisse durch das Hinderniserkennungsmodul236D identifiziert werden. Das Leitmodul236C modifiziert die ZielrouteR, um die vom dritten Bildverarbeitungsmodul236D identifizierten Hindernisse zu umgehen.Theparking assistant control 204 Optionally, also try the presence of obstacles along the target route R to identify. Typical obstacles include curbs, walls, vehicles, etc. Theparking assistant control 204 can optionally also determine terrain properties. The terrain features may include one or more of the following settings: a slope or slope of the surface; Surface roughness, for example, to distinguish between a smooth surface and a rough or uneven surface. As described herein, the obstacles may be obstructed by theobstacle detection module 236D be identified. The guidingmodule 236C modifies the destination route R to the thirdimage processing module 236D identified obstacles to get around.

Im Einsatz überträgt das Leitmodul236C das ParksteuersignalS1 über den ersten Sender-Empfänger245 an das entfernte Fahrzeug250. Die ECU253 steuert die Lenkung des entfernten Fahrzeugs250 in Abhängigkeit von dem empfangenen ParksteuersignalS1. Wie in12 dargestellt, steuert die ECU253 das entfernte Fahrzeug250 so, dass es der ZielrouteR folgt. Eine Benachrichtigung kann ausgegeben werden, um den Benutzer zu benachrichtigen, wenn sich das entfernte Fahrzeug250 in der ZielpositionPTAR befindet. Die Einparkassistenzsteuerung204 kann dadurch das Rückwärtsfahren des selbstfahrenden Anhängers250 auf die ZielpositionPTAR erleichtern.In use, the control module transmits 236C the parking control signal S1 over thefirst transceiver 245 to theremote vehicle 250 , TheECU 253 controls the steering of theremote vehicle 250 in response to the received parking control signal S1 , As in 12 represented, controls theECU 253 theremote vehicle 250 so that it's the destination route R follows. A notification may be issued to notify the user when theremote vehicle 250 in the target position PTAR located. Theparking assistant control 204 can thereby reverse the self-propelledtrailer 250 to the target position PTAR facilitate.

Die Bedienung der Einparkassistenzsteuerung204 zur Steuerung des entfernten Fahrzeugs250 wird anhand eines Blockdiagramms73 in13 dargestellt. Der Prozessor234 bestimmt die aktuelle PositionPCUR des entfernten Fahrzeugs250 (BLOCKD1). Der Prozessor234 kann beispielsweise Bilddaten von der am Fahrzeug202 vorgesehenen Host-Fahrzeugkamera208 analysieren, um die aktuelle PositionPCUR des entfernten Fahrzeugs250 zu identifizieren. Alternativ oder zusätzlich kann das Fahrzeug202 die aktuelle PositionPCUR mittels Triangulationstechniken bestimmen, beispielsweise durch Messung der Laufzeit von drahtlosen Signalen, die zum oder vom entfernten Fahrzeug250 übertragen werden. Der Prozessor234 empfängt Bilddaten von der Host-Fahrzeugkamera208 (BLOCKD2); und identifiziert den Parkortindikator226 (BLOCKD3). Das Leitmodul236C bestimmt die ZielrouteR von der aktuellen PositionPCUR des entfernten Fahrzeugs250 zu der ZielpositionPTAR (BLOCKD5). Der Prozessor234 identifiziert Hindernisse entlang der ZielrouteR (BLOCKD6). Das dritte Bildverarbeitungsmodul36D kann optional zusätzliche Bilddaten von einer oder mehreren Kameras empfangen, die am Host-Fahrzeug202 und/oder am entfernten Fahrzeug250 (BLOCKD7) bereitgestellt werden. Falls erforderlich, kann das Leitmodul36C die ZielrouteR modifizieren, um irgendwelche identifizierten Hindernisse zu umgehen (BLOCKD8). Es versteht sich, dass etwaige Hindernisse vor der Erstellung der Zielroute R identifiziert werden können. Der Prozessor234 erzeugt das EinparkassistenzsignalS1 (BLOCKD9). Das EinparkassistenzsignalS1 wird zu dem entfernten Fahrzeug250 übertragen, beispielsweise als ein drahtloses Signal (BLOCKB10).The operation of theparking assistant control 204 for controlling theremote vehicle 250 is based on a block diagram 73 in 13 shown. Theprocessor 234 determines the current position PCUR the remote vehicle 250 (BLOCK D1 ). Theprocessor 234 can, for example, image data of the on thevehicle 202 providedhost vehicle camera 208 analyze to the current position PCUR theremote vehicle 250 to identify. Alternatively or additionally, thevehicle 202 the current position PCUR determine by means of triangulation techniques, for example by measuring the transit time of wireless signals to or from theremote vehicle 250 be transmitted. Theprocessor 234 receives image data from the host vehicle camera 208 (BLOCK D2 ); and identifies the parking place indicator 226 (BLOCK D3 ). The guidingmodule 236C determines the destination route R from the current position PCUR theremote vehicle 250 to the target position PTAR (BLOCK D5 ). Theprocessor 234 identifies obstacles along the destination route R (BLOCK D6 ). The thirdimage processing module 36D Optionally receive additional image data from one or more cameras attached to thehost vehicle 202 and / or at the remote vehicle 250 (BLOCK D7 ) to be provided. If necessary, the guidance module can 36C the destination route R modify to bypass any identified obstacles (BLOCK D8 ). It is understood that any obstacles may be identified prior to the creation of the destination route R. Theprocessor 234 generates the parking assist signal S1 (BLOCK D9 ). The parking assistance signal S1 becomes theremote vehicle 250 transmitted, for example as a wireless signal (BLOCK B10 ).

Ein Einparkassistenzsystem301 gemäß einer weiteren Ausführungsform von Parkleuchte305 entsprechend einem Aspekt der vorliegenden Erfindung wird nun mit Bezug auf die14 bis18 beschrieben. Die Parkleuchte ist eine Weiterentwicklung der in3 dargestellten Ausführungsform. Ähnliche Bezugszahlen werden für ähnliche Komponenten verwendet, wenn auch um300 erhöht, um das Verständnis zu erleichtern. Die Parkleuchte305 wird mit Bezug auf eine Einparkassistenzsteuerung304 beschrieben, die in einem Zugfahrzeug302 angeordnet ist, das mit einem gezogenen Fahrzeug303 gekoppelt ist, aber es versteht sich, dass die Parkleuchte305 in den anderen hierin beschriebenen Ausführungsformen verwendet werden kann.Aparking assistance system 301 according to another embodiment ofparking light 305 According to one aspect of the present invention, reference will now be made to FIGS 14 to 18 described. The parking lamp is an evolution of the in 3 illustrated embodiment. Similar reference numbers are used for similar components, albeit um 300 increased to facilitate understanding. Theparking light 305 is related to aparking assist control 304 described in a towingvehicle 302 is arranged with a towedvehicle 303 is coupled, but it is understood that theparking light 305 can be used in the other embodiments described herein.

Wie in14 dargestellt, umfasst die Parkleuchte305 ein Lichtsteuergerät327 und mindestens ein erstes Projektionssystem328 zum Projizieren eines Parkortindikators326. Das erste Projektionssystem328 in der vorliegenden Ausführungsform umfasst eine Lichtquelle329; und eine steuerbare optische Führungseinrichtung330. Die optische Führungseinrichtung330 ist konfiguriert, um einen Lichtweg331 für das von der Lichtquelle329 emittierte Licht zu definieren. Die optische Führungseinrichtung330 in der vorliegenden Ausführungsform umfasst einen Spiegel330. Die Lichtquelle329 in der vorliegenden Ausführungsform umfasst eine Laserdiode zum Emittieren eines Lasers. Die Lichtquelle329 ist konfiguriert, um einen Lichtstrahl entlang des Lichtwegs331 auszusenden, um den Parkortindikator326 zu erzeugen. Der Lichtstrahl wird auf den Boden einfallend und liefert eine visuelle Darstellung einer Position und/oder einer Ausrichtung und/oder eines Profils der ZielpositionPTAR. Die Parkleuchte305 umfasst auch eine Licht-Mensch-Maschine-Schnittstelle (HMI)332 zum Steuern des Betriebs der Parkleuchte305.As in 14 illustrated, includes the parking light 305 alight control device 327 and at least afirst projection system 328 for projecting aparking place indicator 326 , Thefirst projection system 328 In the present embodiment, a light source comprises 329 ; and a controllableoptical guide device 330 , Theoptical guide device 330 is configured to alight path 331 for that of thelight source 329 to define emitted light. Theoptical guide device 330 in the present embodiment comprises amirror 330 , Thelight source 329 In the present embodiment, a laser diode comprises for emitting a laser. Thelight source 329 is configured to move a light beam along thelight path 331 to send out theparking place indicator 326 to create. The light beam is incident on the ground and provides a visual representation of a position and / or orientation and / or profile of the target position PTAR , Theparking light 305 also includes a light-human-machine interface (HMI) 332 for controlling the operation of theparking light 305 ,

Die Lichtquelle329 umfasst eine Laserdiode. Der Spiegel330 ist ein optischer Spiegel, der konfiguriert ist, um das von der Lichtquelle329 abgegebene Licht zu reflektieren. Der Spiegel330 ist ein Scanspiegel und die Ausrichtung des Spiegels330 ist dynamisch einstellbar, um das emittierte Licht zu modulieren. Der Spiegel330 kann beispielsweise ein mikro-optoelektromechanisches System (MOEMS) umfassen. Der Spiegel330 in der vorliegenden Ausführungsform ist um eine erste DrehachseX1 und eine zweite DrehachseZ1 schwenkbar. Die erste und zweite DrehachseX1,Z1 sind im Wesentlichen senkrecht zueinander angeordnet. Der Spiegel330 ist um die erste und zweite AchseX1,Z1 schwenkbar, um die Richtung des Strahlenganges331 einzustellen. Das Lichtsteuergerät327 ist konfiguriert, um die Ausrichtung des Spiegels330 zu steuern, um das Profil des Parkortindikators326 zu verfolgen. Das Lichtsteuergerät327 steuert den Spiegel330, um das Licht auf den Boden zu projizieren, so dass der Parkortindikator326 sichtbar ist. Das Lichtsteuergerät327 kann die Lichtquelle329 selektiv ein- und ausschalten, um eine kontinuierliche oder unterbrochene Spur zu erzeugen. Der Parkortindikator326 in der vorliegenden Ausführungsform umfasst einen rechteckigen Rahmen, der einem äußeren Umfang der ZielpositionPTAR entspricht.Thelight source 329 includes a laser diode. Themirror 330 is an optical mirror that is configured to be that of thelight source 329 to reflect emitted light. Themirror 330 is a scanning mirror and the orientation of themirror 330 is dynamically adjustable to modulate the emitted light. Themirror 330 For example, it may comprise a micro-optoelectromechanical system (MOEMS). Themirror 330 in the present embodiment is about a first axis of rotation X1 and a second axis of rotation Z1 pivotable. The first and second rotation axis X1 . Z1 are arranged substantially perpendicular to each other. Themirror 330 is about the first and second axis X1 . Z1 swiveling to the direction of thebeam path 331 adjust. Thelight control unit 327 is configured to the Alignment of themirror 330 to control the profile of theparking place indicator 326 to pursue. Thelight control unit 327 controls themirror 330 to project the light to the ground, making theparking place indicator 326 is visible. Thelight control unit 327 can thelight source 329 selectively turn on and off to create a continuous or interrupted track. Theparking place indicator 326 In the present embodiment, a rectangular frame surrounding an outer periphery of the target position PTAR equivalent.

Das Lichtsteuergerät327 ist konfiguriert, um die Bestromung der Lichtquelle329 und die Ausrichtung des Spiegels330 zum Bilden des Parkortindikators326 zu steuern. Durch die Änderung der Ausrichtung des Spiegels330 wird das von der Lichtquelle329 abgegebene Licht des Parkortindikators326 auf den Boden aufgezeichnet, wie in15 dargestellt. Der resultierende Parkortindikator326 ist von der Einparkassistenzsteuerung304 erfassbar und kann auch eine transiente visuelle Darstellung der ZielpositionPTAR liefern. Die Richtung des Lichtwegs331 kann gesteuert werden, um eine oder mehrere Seiten der ZielpositionPTAR zu definieren.Thelight control unit 327 is configured to energize thelight source 329 and the orientation of themirror 330 to make theparking place indicator 326 to control. By changing the orientation of themirror 330 that gets from thelight source 329 emitted light of theparking place indicator 326 recorded on the ground, as in 15 shown. The resultingparking place indicator 326 is from theparking assistant control 304 detectable and can also be a transient visual representation of the target position PTAR deliver. The direction of thelight path 331 can be controlled to one or more pages of the target position PTAR define.

Wie in den16A und16B dargestellt, ist die Parkleuchte305 in der vorliegenden Ausführungsform auch konfiguriert, um ein Geländereferenzmuster355 auf den Boden zu projizieren, damit die Einparkassistenzsteuerung304 eine oder mehrere Geländeeigenschaften beurteilen kann. Zum Beispiel kann die Einparkassistenzsteuerung304 lokale Änderungen in einer Neigung oder einer Steigerung der ZielpositionPTAR bewerten. Das Geländereferenzmuster355 umfasst ein Netz356, das aus einer Vielzahl von Rechtecken357-n mit vorbestimmten Abmessungen besteht. Die Rechtecke357-n in der vorliegenden Ausführungsform sind alle im Wesentlichen gleich groß. In einer Variante können die Rechtecke357-n innerhalb des Geländereferenzmusters355 unterschiedliche Größen aufweisen, z. B. um die Ausrichtung des Parkortindikators326 zu bestimmen. Das Geländereferenzmuster355 könnte von der Lichtquelle329 erzeugt werden. Wie jedoch in14 dargestellt, wird das Geländereferenzmuster355 in der vorliegenden Ausführungsform durch ein zweites Projektionssystem358 erzeugt, das in der Parkleuchte305 vorgesehen ist. Das zweite Projektionssystem358 ist konfiguriert, um das Geländereferenzmuster355 auf den Boden zu projizieren. Bei der Projektion auf den Boden wird das Profil des Geländereferenzmusters355 durch Merkmale und/oder Charakteristika des Geländes verzerrt. Die Verzerrung kann beispielsweise eine Abweichung von einer erwarteten Linienform, typischerweise einer geraden Linie, umfassen und Abweichungen in eine Konturkarte umwandeln. Das Netz356 fungiert als Gradienten-(Kontur)-Netz, um die Bestimmung der Geländeform(en) und/oder der Merkmale zu ermöglichen. Es versteht sich, dass das Geländereferenzmuster355 eine andere Form annehmen kann. So kann beispielsweise das Geländereferenzmuster365 eine Vielzahl von regelmäßigen oder unregelmäßigen geometrischen Formen umfassen, wie Linien, Kurven, Polygone (Dreiecke, Quadrate, Fünfecke, Sechsecke usw.), Kreise oder Ellipsen. Die geometrischen Formen können vorgegebene Abmessungen aufweisen und in einer vorgegebenen Konfiguration, beispielsweise in einem bekannten Abstand voneinander, angeordnet sein. Die geometrischen Formen können beispielsweise in einer Anordnung mit einem vorbestimmten Abstand dazwischen angeordnet sein.As in the 16A and 16B pictured is theparking light 305 in the present embodiment also configured to be aterrain reference pattern 355 to project onto the ground, thus theEinparkassistenzsteuerung 304 Assess one or more terrain properties. For example, the parking assistcontrol 304 local changes in a slope or an increase in the target position PTAR rate. Theterrain reference pattern 355 includes anetwork 356 that consists of a variety of rectangles 357-n consists of predetermined dimensions. The rectangles 357-n in the present embodiment, all are substantially the same size. In a variant, the rectangles can 357-n within theterrain reference pattern 355 have different sizes, z. B. to the orientation of theparking place indicator 326 to determine. Theterrain reference pattern 355 could be from thelight source 329 be generated. However, as in 14 is represented, theterrain reference pattern 355 in the present embodiment by asecond projection system 358 generated in theparking light 305 is provided. Thesecond projection system 358 is configured to theterrain reference pattern 355 to project onto the ground. When projecting on the ground, the profile of the terrain reference pattern becomes 355 distorted by features and / or characteristics of the site. For example, the distortion may include a deviation from an expected line shape, typically a straight line, and convert deviations into a contour map. Thenetwork 356 acts as a gradient (contour) mesh to allow the determination of terrain shape (s) and / or features. It is understood that theterrain reference pattern 355 take another form. For example, the terrain reference pattern 365 include a variety of regular or irregular geometric shapes, such as lines, curves, polygons (triangles, squares, pentagons, hexagons, etc.), circles, or ellipses. The geometric shapes may have predetermined dimensions and be arranged in a predetermined configuration, for example, at a known distance from each other. For example, the geometric shapes may be arranged in an array with a predetermined space therebetween.

Wie in den16A und16B dargestellt, verzerren Schwankungen der Konturen und des Profils des Bodens die Form des auf den Boden projizierten Geländereferenzmusters355. Wenn das Geländereferenzmuster355 auf einen ebenen und im Wesentlichen horizontalen Bodenabschnitt projiziert wird, korrelieren die projizierten Rechtecke357-n eng mit dem bekannten vorgegebenen Muster. Das Geländereferenzmuster355 kann jedoch auf einen unebenen Bodenabschnitt projiziert werden, der beispielsweise eines oder mehrere der folgenden Merkmale umfasst: einen geneigten Abschnitt, einen Einschnitt oder eine Vertiefung, einen Buckel oder einen Hügel. Wenn das Geländereferenzmuster355 auf einen unebenen Bodenabschnitt projiziert wird, besteht eine geringere Korrelation zwischen den projizierten Rechtecken357-n und dem bekannten vorgegebenen Muster. Das Profil des auf den Boden projizierten Geländereferenzmusters355 ist abhängig vom Profil des Bodenabschnitts, wie in16B dargestellt. Der Abstand zwischen den Querlinien, aus denen sich das Geländereferenzmuster355 zusammensetzt, kann je nach örtlicher Neigung des Bodens vergrößert oder verkleinert werden. So wird beispielsweise der Abstand zwischen benachbarten Querlinien in einem Bereich zunehmen, in dem der Boden von der Parkleuchte305 nach unten abfällt; und der Abstand zwischen benachbarten Querlinien nimmt in einem Bereich ab, in dem der Boden von der Parkleuchte305 nach oben abfällt. Eine Neigung von einer Seite zur anderen (von links nach rechts oder von rechts nach links) kann sich entsprechend auf den Abstand zwischen den Längslinien des Geländeformats355 auswirken. Alternativ oder zusätzlich kann die Winkelorientierung von Linien zueinander innerhalb der Bilddaten zur Ableitung von Geländeeigenschaften verwendet werden. So können beispielsweise benachbarte Linien, die innerhalb des Geländereferenzmusters355 parallel zueinander (oder in einem bekannten Winkel zueinander) verlaufen, durch die Geländeeigenschaften verzerrt sein und innerhalb des aufgenommenen Bildes in einem Winkel zueinander geneigt erscheinen. Eine Diskontinuität oder Unterbrechung des Geländereferenzmusters355 kann auf das Vorhandensein eines Hindernisses, wie beispielsweise eines Felsen oder Felsblocks, hinweisen. Ebenso kann das Erkennen einer Vielzahl von Diskontinuitäten oder Unterbrechungen darauf hinweisen, dass die Oberfläche rau oder uneben ist.As in the 16A and 16B As shown, variations in the contours and profile of the floor distort the shape of the terrain reference pattern projected onto thefloor 355 , If theterrain reference pattern 355 is projected onto a flat and substantially horizontal floor section, the projected rectangles correlate 357-n tight with the familiar pattern. Theterrain reference pattern 355 however, may be projected onto an uneven floor section that includes, for example, one or more of the following features: a sloped section, a notch or a depression, a hump, or a hill. If theterrain reference pattern 355 is projected onto an uneven floor section, there is less correlation between the projected rectangles 357-n and the known predetermined pattern. The profile of the terrain reference pattern projected onto theground 355 depends on the profile of the ground section, as in 16B shown. The distance between the cross lines that make up theterrain reference pattern 355 can be increased or decreased depending on the local slope of the soil. For example, the distance between adjacent cross lines will increase in an area where the floor is from theparking lamp 305 falls down; and the distance between adjacent cross lines decreases in an area where the floor of theparking lamp 305 falls to the top. An inclination from one side to the other (from left to right or from right to left) may correspond to the distance between the longitudinal lines of theterrain format 355 impact. Alternatively or additionally, the angular orientation of lines to each other within the image data may be used to derive terrain properties. For example, adjacent lines within theterrain reference pattern 355 parallel to each other (or at a known angle to each other), be distorted by the terrain properties and appear inclined to each other within the recorded image at an angle. A discontinuity or interruption of theterrain reference pattern 355 can be on the presence an obstacle, such as a rock or boulder point out. Similarly, detecting a variety of discontinuities or interruptions may indicate that the surface is rough or uneven.

Die Kamera315, die an dem gezogenen Fahrzeug303 angeordnet ist, ist konfiguriert, um Bilddaten aufzunehmen, die das projizierte Geländefeldmuster355 umfassen. Die Einparkassistenzsteuerung304 analysiert die Bilddaten, um ein oder mehrere Geländeeigenschaften zu bestimmen. Insbesondere ist die Einparkassistenzsteuerung304 konfiguriert, um die Bilddaten zu analysieren und eine Neigung des Geländes innerhalb der ZielpositionPTAR zu bestimmen. Wie in15 dargestellt, umfasst die Einparkassistenzsteuerung304 in der vorliegenden Ausführungsform ein Geländemodellierungsmodul336E. Das Geländemodellierungsmodul336E ist konfiguriert, um ein gespeichertes (Referenz-)Bild des Geländereferenzmusters355 mit einem tatsächlichen Bild des projizierten Geländereferenzmusters355 zu vergleichen, wie es von der Kamera315 aufgenommen wurde. Das Geländemodellierungsmodul336E erkennt Abweichungen zwischen dem gespeicherten (Referenz-)Bild des Geländereferenzmusters355 und dem von der Kamera315 aufgenommenen Ist-Bild zur Bestimmung der örtlichen Geländeeigenschaften .Thecamera 315 attached to the towedvehicle 303 is configured to capture image data representing the projectedtile field pattern 355 include. Theparking assistant control 304 analyzes the image data to determine one or more terrain properties. In particular, theEinparkassistenzsteuerung 304 configured to analyze the image data and slope the terrain within the target position PTAR to determine. As in 15 illustrated includes theEinparkassistenzsteuerung 304 in the present embodiment, a terrain modeling module 336E , The terrain modeling module 336E is configured to provide a stored (reference) image of theterrain reference pattern 355 with an actual image of the projectedterrain reference pattern 355 compare it to thecamera 315 has been recorded. The terrain modeling module 336E detects deviations between the stored (reference) image of theterrain reference pattern 355 and from thecamera 315 recorded actual image for determining the local terrain properties.

Es versteht sich, dass das Profil der Rechtecke357-n auch von der relativen Position der Kamera315 abhängig ist. Wenn sich das gezogene Fahrzeug303 der ZielpositionPTAR nähert, kann sich die Form der Rechtecke357-n ändern. Das Geländemodellierungsmodul336E kann konfiguriert werden, um Korrekturen an den Bilddaten vorzunehmen, um solche Perspektivänderungen zu berücksichtigen. Das Geländemodellierungsmodul336E kann beispielsweise die Leuchte305 innerhalb der Bilddaten erkennen. Die Abmessungen der Leuchte305 können vordefiniert werden und können zur Kalibrierung der Bilddaten verwendet werden, z. B. durch Berechnung eines Abstands zwischen der Kamera315 und dem Geländereferenzmuster355. In der in12 dargestellten Anordnung bleibt das Host-Fahrzeug202 stationär und es ist nicht notwendig, Korrekturen vorzunehmen, um der Änderung der Perspektive Rechnung zu tragen.It is understood that the profile of the rectangles 357-n also from the relative position of thecamera 315 is dependent. When the towedvehicle 303 the target position PTAR approaching, may be the shape of the rectangles 357-n to change. The terrain modeling module 336E can be configured to make corrections to the image data to account for such perspective changes. The terrain modeling module 336E For example, thelamp 305 recognize within the image data. The dimensions of thelamp 305 can be predefined and can be used to calibrate the image data, e.g. B. by calculating a distance between thecamera 315 and theterrain reference pattern 355 , In the in 12 arrangement shown remains thehost vehicle 202 stationary and there is no need to make corrections to accommodate the change in perspective.

Anstatt eine Korrektur in dem Bild vorzunehmen, das von der Kamera315 aufgenommen wurde, die am gezogenen Fahrzeug303 angeordnet ist, kann die Parkleuchte305 mit einem oder mehreren Bildsensoren, wie beispielsweise einer Kamera (nicht dargestellt), zur Aufnahme eines Bildes ausgestattet sein. Der/die Bildsensor(en) können Licht im sichtbaren Bereich oder außerhalb des sichtbaren Bereichs einfangen, zum Beispiel Infrarot- oder Ultraviolettlicht (UV). Die an der Parkleuchte305 vorgesehene Kamera sollte von der Achse des zweiten Projektionssystems358 versetzt sein, beispielsweise in vertikaler Richtung, um das Erkennen von Verzerrungen im projizierten Bild zu erleichtern. Der/die an der Parkleuchte305 vorgesehene(n) Bildsensor(en) können konfiguriert werden, um ein Ist-Bild des projizierten Geländereferenzmusters355 aufzunehmen. Die Parkleuchte305 kann einen Sender umfassen, der konfiguriert ist, um die Bilddaten an die Einparkassistenzsteuerung304 zur Analyse durch das Geländemodellierungsmodul336E zu übertragen. Die Einparkassistenzsteuerung304 kann die erfassten Bilddaten mit dem gespeicherten (Referenz-)Geländereferenzmuster355 vergleichen, um die Geländeeigenschaften zu bestimmen. Es wird davon ausgegangen, dass sich die Perspektive des Geländereferenzmusters355 nicht ändern würde, da die Position der Bildsensoren zumindest im Wesentlichen festgelegt bleibt. In einer Variante könnte das Geländemodellierungsmodul336E in die Parkleuchte305 integriert werden. Das Geländemodellierungsmodul336E kann konfiguriert werden, um das Geländereferenzmuster355 mit einem tatsächlichen Bild des projizierten Geländereferenzmusters355 zu vergleichen, das von der Kamera (nicht dargestellt) aufgenommen wurde, die in der Parkleuchte305 vorgesehen ist. In einer weiteren Variante könnte das Geländereferenzmuster355 durch Bereitstellen des zweiten Projektionssystems358 auf dem Zugfahrzeug302 oder dem gezogenen Fahrzeug303 erzeugt werden. Eine Kamera kann optional an dem Zugfahrzeug302 oder dem gezogenen Fahrzeug303 vorgesehen sein. Das Geländemodellierungsmodul336E kann zum Bestimmen einer oder mehrerer Geländeeigenschaften in Fahrtrichtung des Zugfahrzeugs302 oder des gezogenen Fahrzeugs303 eingesetzt werden.Instead of making a correction in the image taken by thecamera 315 was recorded on the towedvehicle 303 is arranged, the parking light can 305 be equipped with one or more image sensors, such as a camera (not shown), for receiving an image. The image sensor (s) may capture light in the visible or out of the visible range, for example, infrared or ultraviolet (UV) light. The at theparking light 305 intended camera should be from the axis of thesecond projection system 358 be offset, for example in the vertical direction, to facilitate the detection of distortions in the projected image. The one at theparking light 305 provided image sensor (s) may be configured to provide an actual image of the projectedterrain reference pattern 355 take. Theparking light 305 may comprise a transmitter configured to pass the image data to the parking assistcontrol 304 for analysis by the terrain modeling module 336E transferred to. Theparking assistant control 304 can capture the captured image data with the stored (reference)terrain reference pattern 355 compare to determine the terrain properties. It is assumed that the perspective of theterrain reference pattern 355 would not change, since the position of the image sensors remains at least substantially fixed. In a variant, the terrain modeling module could 336E in theparking light 305 to get integrated. The terrain modeling module 336E can be configured to theterrain reference pattern 355 with an actual image of the projectedterrain reference pattern 355 to compare, which was taken by the camera (not shown) in theparking light 305 is provided. In another variant, the terrain reference pattern could 355 by providing thesecond projection system 358 on the towingvehicle 302 or the towedvehicle 303 be generated. A camera can be optional on the towingvehicle 302 or the towedvehicle 303 be provided. The terrain modeling module 336E may be used to determine one or more off-road characteristics in the direction of travel of the towingvehicle 302 or the towedvehicle 303 be used.

Die Bedienung der Einparkassistenzsteuerung304 und der Parkleuchte305 zur Identifizierung von Geländeeigenschaften in Abhängigkeit vom projizierten Geländereferenzmuster355 ist in einem Blockdiagramm74 in17 dargestellt. Das Geländereferenzmuster355 wird durch das zweite Projektionssystem358 auf den Boden projiziert (BLOCKE1). Die am gezogenen Fahrzeug303 vorgesehene Kamera315 erfasst Bilddaten einer Szene, die mindestens einen Teil des projizierten Geländereferenzmusters355 (BLOCKE2) beinhaltet. Das Geländemodellierungsmodul336E analysiert die erfassten Bilddaten (BLOCKE3) und identifiziert ein Einfallsmuster, das dem projizierten Geländereferenzmuster355 (BLOCKE4) entspricht. Das Geländemodellierungsmodul336E vergleicht das Einfallsmuster mit dem vordefinierten Geländereferenzmuster355 und identifiziert darin Verzerrungen (BLOCKE5). Das Geländemodellierungsmodul336E analysiert die Verzerrungen, um ein oder mehrere Geländeeigenschaften zu identifizieren (BLOCKE6). Das Geländemodellierungsmodul336E kann eine Karte der identifizierten Geländeeigenschaften erzeugen.The operation of theparking assistant control 304 and theparking light 305 for identifying terrain properties as a function of the projectedterrain reference pattern 355 is in a block diagram 74 in 17 shown. Theterrain reference pattern 355 is through thesecond projection system 358 projected onto the ground (BLOCK E1 ). The pulledvehicle 303 providedcamera 315 captures image data of a scene that includes at least a portion of the projected terrain reference pattern 355 (BLOCK E2 ) includes. The terrain modeling module 336E analyzes the acquired image data (BLOCK E3 ) and identifies an incident pattern corresponding to the projected terrain reference pattern 355 (BLOCK E4 ) corresponds. The terrain modeling module 336E compares the incidence pattern with the predefinedterrain reference pattern 355 and identifies distortions (BLOCK E5 ). The terrain modeling module 336E analyzes the distortions to identify one or more terrain features (BLOCK E6 ). The Terrain modeling module 336E can generate a map of the identified terrain properties.

Das Geländereferenzmuster355 kann zumindest im Wesentlichen den Abmessungen des Parkortindikators326 entsprechen, um beispielsweise Geländeeigenschaften in der ZielpositionPTAR zu identifizieren. Alternativ kann das Geländereferenzmuster355 kleiner sein als die Abmessungen des Parkortindikators326, z. B. um Geländeeigenschaften in einem oder mehreren Bereichen der ZielpositionPTAR zu identifizieren. Das Geländereferenzmuster355 in der vorliegenden Ausführungsform ist größer als der Parkortindikator326. Diese Anordnung ermöglicht die Bestimmung einer oder mehrerer Geländeeigenschaften auf mindestens einer Seite des Parkortindikators326. Wie in18 dargestellt, kann sich das Geländereferenzmuster355 mindestens teilweise zwischen der ZielpositionPTAR und einer aktuellen PositionPCUR des gezogenen Fahrzeugs303 (oder des Zugfahrzeugs302) erstrecken. In einer Variante der vorliegenden Ausführungsform ist das Geländemodellierungsmodul336E konfiguriert, um ein oder mehrere Geländeeigenschaften entlang mindestens eines Teils der Zielroute R zwischen der ZielpositionPTAR und der aktuellen PositionPCUR des gezogenen Fahrzeugs303 zu identifizieren. Das Geländemodellierungsmodul336E empfängt Bilddaten, die das projizierte Geländereferenzmuster355 umfassen. Das Geländemodellierungsmodul336E verarbeitet die Bilddaten, um Änderungen der Neigung entlang der ZielrouteR zu erfassen. Das Geländemodellierungsmodul336E kann einen Neigungswinkel bestimmen; und/oder eine Neigungsrichtung der Steigung.Theterrain reference pattern 355 may at least substantially the dimensions of theparking place indicator 326 for example, terrain properties in the target position PTAR to identify. Alternatively, theterrain reference pattern 355 smaller than the dimensions of theparking place indicator 326 , z. For example, terrain features in one or more areas of the target position PTAR to identify. Theterrain reference pattern 355 in the present embodiment is larger than theparking place indicator 326 , This arrangement allows the determination of one or more terrain features on at least one side of theparking location indicator 326 , As in 18 represented, the terrain reference pattern may be 355 at least partially between the target position PTAR and a current position PCUR of the towed vehicle 303 (or the towing vehicle 302 ). In a variant of the present embodiment, the terrain modeling module is 336E configured to provide one or more terrain features along at least a portion of the destination route R between the target location PTAR and the current position PCUR of the towedvehicle 303 to identify. The terrain modeling module 336E receives image data representing the projectedterrain reference pattern 355 include. The terrain modeling module 336E processes the image data to reflect changes in the slope along the destination route R capture. The terrain modeling module 336E can determine a tilt angle; and / or a slope direction of the slope.

Durch die Identifizierung von Geländeeigenschaften entlang der ZielrouteR kann eine Vorwärtsschleife eingerichtet werden, die es Fahrzeugsystemen ermöglicht, zugehörige dynamische Änderungen zu antizipieren, wenn das Zugfahrzeug302 und/oder das gezogene Fahrzeug303 entlang der Zielroute R fortfahren. So können beispielsweise die identifizierten Geländeeigenschaften verwendet werden, um Fälle vorherzusagen, in denen der Weg, den das Zugfahrzeug302 und/oder das gezogene Fahrzeug303 zurücklegt, von einem erwarteten Weg abweichen kann, z. B. durch einen Seiten abrutschen bei der Fahrt über eine Oberfläche mit niedrigem Reibungskoeffizienten, wie beispielsweise nasses Gras. Durch die präventive Identifizierung von Geländeeigenschaftenn, die diese Art von Verhalten verursachen können, kann das Leitmodul336C beim Erzeugen der ZielrouteR kompensieren. In dem Szenario, in dem das gezogene Fahrzeug303 über eine Seitenneigung umgekehrt wird, neigt das gezogene Fahrzeug303 dazu, die Neigung nach unten zu rutschen. Das Leitmodul336C kann konfiguriert werden, um das gezogene Fahrzeug303 höher über die Steigung zu richten, um diese Querbewegung zu korrigieren. Die Größe des abrutschen hängt von der Oberfläche und den Oberflächenbedingungen ab, z. B. wie nass die Oberfläche ist. Eine Variante der hierin beschriebenen Systeme kann Oberflächenmerkmale oder -eigenschaften ableiten, z. B. durch Verwendung eines Bildsystems oder Radrutschmessungen zur Unterscheidung zwischen Gras und Asphalt. Alternativ kann zunächst davon ausgegangen werden, dass die Oberfläche einen niedrigen Reibungskoeffizienten aufweist, und, wenn dies nicht der Fall ist, werden gegen Ende des Manövers Korrekturen vorgenommen. Ein weiteres verwandtes Beispiel wäre, wenn der Zielort eine Steigung höher wäre, kann die Zielroute R so modifiziert werden, dass die Trajektorie auf dem Hang direkt nach oben und nicht quer durch eine frühzeitige stärkere Drehung verläuft.By identifying terrain characteristics along the destination route R For example, a forward loop may be established that allows vehicle systems to anticipate associated dynamic changes when the towingvehicle 302 and / or the towedvehicle 303 continue along the destination route R. For example, the identified terrain characteristics can be used to predict cases where the path traveled by the towingvehicle 302 and / or the towedvehicle 303 can deviate from an expected path, z. B. slip through one side when driving over a surface with a low coefficient of friction, such as wet grass. By preemptively identifying terrain properties that can cause this type of behavior, the guidance module can 336C when creating the destination route R compensate. In the scenario where the towedvehicle 303 reversed over a side slope, the towed vehicle tends 303 to slip down the slope. The guiding module 336C can be configured to the towedvehicle 303 to aim higher over the slope to correct for this lateral movement. The size of the slip depends on the surface and the surface conditions, eg. B. how wet the surface is. A variant of the systems described herein may derive surface features or properties, e.g. Example by using an image system or Radrutschmessungen to distinguish between grass and asphalt. Alternatively, it can initially be assumed that the surface has a low coefficient of friction and, if this is not the case, corrections are made towards the end of the maneuver. Another related example would be, if the destination were a slope higher, the target route R can be modified so that the trajectory on the slope goes straight up and not across early, stronger rotation.

Wie in19 dargestellt, können erfasste Neigungsänderungen entlang der ZielrouteR verwendet werden, um das Traktionsmoment (Nm) zu schätzen, das erforderlich ist, um das Zugfahrzeug302 und das gezogene Fahrzeug303 entlang der ZielrouteR anzutreiben. Wenn beispielsweise die Zielroute eine Mulde durchquert, kann die Bahnplanung wählen, ob sie etwas mehr Momentum nutzen oder zumindest bereit sein will, bei Bedarf mehr Traktionsmoment aufzubringen. Das Geländemodellierungsmodul336E kann das erforderliche Antriebsmoment an einer oder mehreren Stellen entlang der ZielstreckeR schätzen, um beispielsweise eine konstante Geschwindigkeit aufrechtzuerhalten. Ein Traktionsmomentprofil kann für die ZielrouteR erzeugt werden, wie in19 dargestellt. Das geschätzte Drehmoment kann an eine Motorsteuereinheit (nicht dargestellt) und/oder eine Getriebesteuereinheit ausgegeben werden, um es zu ermöglichen, einen oder mehrere Fahrzeugparameter präventiv zu konfigurieren, um das geschätzte Drehmoment auszugeben, das zum Antreiben des Zugfahrzeugs302 und des gezogenen Fahrzeugs303 entlang der StreckeR erforderlich ist. Wenn die geschätzte Steigung einen vorbestimmten Schwellenwert überschreitet, kann das Geländemodellierungsmodul336E eine Rückmeldung dem Leitmodul336C zu Verfügung stellen. Durch Vorwegnahme der Traktionsmomentanforderungen können Korrekturen des Drehmoments vorbeugend vorgenommen werden, um voraussichtliche Änderungen zu ermöglichen, wenn das Zugfahrzeug302 und/oder das gezogene Fahrzeug303 das mindestens ein Geländemerkmal durchquert. Ein Getriebesteuersignal kann erzeugt werden, um den Betrieb eines im Zugfahrzeug302 vorgesehenen automatischen oder halb automatischen Getriebes zu steuern, beispielsweise um eine geeignete Übersetzung auszuwählen.As in 19 can be detected, recorded inclination changes along the target route R used to estimate the traction torque (Nm) required for the towingvehicle 302 and the towedvehicle 303 along the destination route R drive. For example, when the target route traverses a trough, the orbit planning can choose to use a little more momentum, or at least be willing to spend more traction momentum when needed. The terrain modeling module 336E can the required drive torque at one or more points along the target distance R for example, to maintain a constant speed. A traction moment profile can be used for the destination route R be generated as in 19 shown. The estimated torque may be output to an engine control unit (not shown) and / or a transmission control unit to enable one or more vehicle parameters to be preemptively configured to output the estimated torque required to drive the towingvehicle 302 and the towedvehicle 303 along the way R is required. If the estimated slope exceeds a predetermined threshold, the terrain modeling module may 336E a feedback to the guidance module 336C provide. By anticipating the traction torque requirements, torque corrections can be made to prevent anticipated changes when the towingvehicle 302 and / or the towedvehicle 303 crossing at least one terrain feature. A transmission control signal may be generated to control the operation of atractor 302 intended to control automatic or semi-automatic transmission, for example, to select a suitable translation.

Der Betrieb der Einparkassistenzsteuerung304 zur präventiven Bestimmung des Traktionsmomentbedarfs in Abhängigkeit vom projizierten Geländereferenzmuster355 ist in einem Blockdiagramm75 in20 dargestellt. Wie hierin beschrieben, bestimmt das Leitmodul36C die ZielrouteR von der aktuellen PositionPCUR zu der ZielpositionPTAR (BLOCKF1). Das Geländemodellierungsmodul336E identifiziert ein oder mehrere Geländeeigenschaften entlang der Zielroute (BLOCKF2). Das Geländemodellierungsmodul336E kann beispielsweise einen Neigungswinkel und/oder eine Neigungsrichtung auf der ZielrouteR. bestimmen In Abhängigkeit von den Geländeeigenschaften, die durch das Geländemodellierungsmodul336E identifiziert werden, wird eine Schätzung des Traktionsmoments vorgenommen, das erforderlich ist, um das Zugfahrzeug302 und das gezogene Fahrzeug303 entlang der Zielroute (BLOCKF3) zu fahren. In Abhängigkeit vom geschätzten Traktionsmoment (BLOCKF4) wird eine Drehmomentregelstrategie generiert. Die Drehmomentregelstrategie kann beispielsweise ein Traktionsmomentprofil umfassen, wie in19 dargestellt.The operation of theparking assistant control 304 for the preventive determination of the traction torque requirement as a function of the projectedterrain reference pattern 355 is in a block diagram 75 in 20 shown. As described herein, the guidance module determines 36C the destination route R from the current position PCUR to the target position PTAR (BLOCK F1 ). The terrain modeling module 336E identifies one or more terrain features along the target route (BLOCK F2 ). The terrain modeling module 336E For example, an inclination angle and / or an inclination direction on the target route R , Depending on the terrain characteristics generated by the terrain modeling module 336E are identified, an estimate of the traction torque that is required to make the towingvehicle 302 and the towedvehicle 303 along the destination route (BLOCK F3 ) to drive. Depending on the estimated traction torque (BLOCK F4 ) generates a torque control strategy. The torque control strategy may include, for example, a traction torque profile, as in FIG 19 shown.

Das Leitmodul336C kann die RouteR in Abhängigkeit von den identifizierten Geländeformen ändern. Alternativ oder zusätzlich kann das Leitmodul336C die ZielrouteR in Abhängigkeit von dem mindestens einem Geländemerkmal berechnen, dass durch das Geländemodellierungsmodul336E identifiziert wurde. Das Leitmodul336C kann beispielsweise ein oder mehrere detektierte Geländeeigenschaften oder Hindernisse umfahren. Das Leitmodul336C kann die ZielrouteR erzeugen, um eine Steigung zu vermeiden, die einen vorbestimmten Steigungswinkel überschreitet. Das Leitmodul336C kann die ZielrouteR so erzeugen, dass ein Verfahrwinkel (d. h. der Winkel, unter dem die Zielroute eine Steigung überquert) einen vorhergesagten Rollwinkel des Zugfahrzeugs302 und/oder des gezogenen Fahrzeugs303 reduziert. Der Begriff Rollwinkel wird hierin verwendet, um sich auf einen Winkel um die LängsachseX des Zugfahrzeugs302 oder des gezogenen Fahrzeugs303 zu beziehen. Alternativ oder zusätzlich kann das Leitmodul336C die ZielrouteR zum Auf- oder Absteigen einer Steigung erzeugen, um einen vorhergesagten Neigungswinkel des Zugfahrzeugs302 und/oder des gezogenen Fahrzeugs302 zu reduzieren. Der Begriff Rollwinkel wird hierin verwendet, um sich auf einen Winkel um die QuerachseY des Zugfahrzeugs302 oder des gezogenen Fahrzeugs303 zu beziehen. Das Leitmodul336C kann konfiguriert werden, um die ZielrouteR so zu erzeugen, dass ein vorhergesagter Neigungswinkel des Zugfahrzeugs302 und/oder des gezogenen Fahrzeugs303 unter einem vorbestimmten Neigungswinkelschwellenwert bleibt. Alternativ oder zusätzlich kann das Leitmodul336C konfiguriert werden, um die Zielroute R so zu erzeugen, dass ein vorhergesagter Rollwinkel des Zugfahrzeugs302 und/oder des gezogenen Fahrzeugs303 unter einem vorbestimmten Rollwinkelschwellenwert bleibt.The guiding module 336C can the route R depending on the identified terrain forms. Alternatively or additionally, the guide module 336C the destination route R depending on the at least one terrain feature calculated by the terrain modeling module 336E was identified. The guiding module 336C For example, it can bypass one or more detected terrain features or obstacles. The guiding module 336C can the destination route R to avoid a slope exceeding a predetermined pitch angle. The guiding module 336C can the destination route R so that a travel angle (ie, the angle at which the target route traverses a grade) produces a predicted roll angle of the towingvehicle 302 and / or the towedvehicle 303 reduced. The term roll angle is used herein to refer to an angle about the longitudinal axis X of the towingvehicle 302 or the towedvehicle 303 to acquire. Alternatively or additionally, the guide module 336C the destination route R for ascending or descending a slope to a predicted angle of inclination of the towingvehicle 302 and / or the towedvehicle 302 to reduce. The term roll angle is used herein to refer to an angle about the transverse axis Y of the towingvehicle 302 or the towedvehicle 303 to acquire. The guiding module 336C can be configured to the destination route R to generate a predicted angle of inclination of the towingvehicle 302 and / or the towedvehicle 303 remains below a predetermined tilt angle threshold. Alternatively or additionally, the guide module 336C configured to generate the target route R such that a predicted roll angle of the towingvehicle 302 and / or the towedvehicle 303 remains below a predetermined roll angle threshold.

Das Leitmodul336C kann ein Lenksteuersignal erzeugen, um das Zugfahrzeug302 entlang der ZielrouteR zu steuern. Das Lenksteuersignal kann beispielsweise an ein EPAS-System (Electric Power Assisted Steering) ausgegeben werden. Das Lenksteuersignal kann ein Kompensationselement beinhalten, das zumindest teilweise eine vorhergesagte Richtungsänderung korrigiert, wenn das Zugfahrzeug302 das mindestens eine durch das Leitmodul336C identifizierte Geländemerkmal durchfährt. Das Kompensationselement kann eine vorhergesagte Richtungsänderung des Zugfahrzeugs302, beispielsweise ein Seitenabrutschen oder einer Querbewegung des Zugfahrzeugs302 und/oder des gezogenen Fahrzeugs303, zumindest teilweise korrigieren. Das Kompensationselement kann daher eine erwartete Richtungsänderung korrigieren, die durch eine Drehkraft verursacht wird, die durch das Zugfahrzeug303 erzeugt wird, das mindestens eine Geländemerkmal durchfährt. Es versteht sich, dass diese Steuerstrategien zur Steuerung eines Host-Fahrzeugs implementiert werden können, unabhängig davon, ob ein gezogenes Fahrzeug angeschlossen ist. Die Steuerstrategien sind anwendbar beim Fahren in Vorwärtsrichtung oder beim Rückwärtsfahren.The guiding module 336C may generate a steering control signal to the towingvehicle 302 along the destination route R to control. The steering control signal can be output, for example, to an EPAS (Electric Power Assisted Steering) system. The steering control signal may include a compensation element that at least partially corrects a predicted direction change when the towingvehicle 302 the at least one through the guide module 336C passes through identified terrain feature. The compensation element may be a predicted change in direction of the towingvehicle 302 For example, a Seitenschlutschen or a transverse movement of the towingvehicle 302 and / or the towedvehicle 303 , at least partially correct. Therefore, the compensation element can correct an expected change in direction caused by a rotational force caused by the towingvehicle 303 is generated, which passes through at least one terrain feature. It is understood that these control strategies can be implemented to control a host vehicle, regardless of whether a towed vehicle is connected. The control strategies are applicable when driving in the forward direction or when reversing.

In einer modifizierten Anordnung könnte das Geländereferenzmuster355 auch als Parkortindikator326 fungieren. So könnte beispielsweise das Geländemodellierungsmodul336E konfiguriert werden, um eine oder mehrere Geländeeigenschaften und auch den Parkortindikator326 in Abhängigkeit vom projizierten Geländefeldmuster355 zu bestimmen.In a modified arrangement, the terrain reference pattern could 355 also asparking place indicator 326 act. For example, the terrain modeling module 336E be configured to one or more terrain properties and also theparking location indicator 326 depending on the projectedtile field pattern 355 to determine.

Wie hierin beschrieben, ist das zweite Projektionssystem358 in der Parkleuchte305 angeordnet. In einer Variante kann das zweite Projektionssystem358 im Zugfahrzeug302 oder im gezogenen Fahrzeug303 angeordnet sein. Das Geländereferenzmuster355 könnte auf den Boden vor dem Zugfahrzeug302 oder dem gezogenen Fahrzeug303 projiziert werden. Das Geländemodellierungsmodul336E könnte dadurch eine oder mehrere Geländeeigenschaften oder -merkmale vor dem Zugfahrzeug302 oder dem gezogenen Fahrzeug303 identifizieren.As described herein, the second projection system is 358 in thepark light 305 arranged. In a variant, thesecond projection system 358 in the towingvehicle 302 or in the towedvehicle 303 be arranged. Theterrain reference pattern 355 could be on the ground in front of the towingvehicle 302 or the towedvehicle 303 be projected. The terrain modeling module 336E This could create one or more off-road features or features in front of the towingvehicle 302 or the towedvehicle 303 identify.

Eine weitere Ausführungsform einer Parkleuchte305 gemäß einem Aspekt der vorliegenden Erfindung wird nun mit Bezug auf die21A und21B beschrieben. Das Parkleuchte305 ist eine Weiterentwicklung der hierin beschriebenen Ausführungsform unter Bezugnahme auf die14 bis17. Dieselben Bezugszahlen werden für dieselben Komponenten verwendet. Die Parkleuchte305 wird mit Bezug auf eine Einparkassistenzsteuerung304 beschrieben, die in einem Zugfahrzeug302 angeordnet ist, das mit einem gezogenen Fahrzeug303 gekoppelt ist, aber es versteht sich, dass die Parkleuchte305 in den anderen hierin beschriebenen Ausführungsformen verwendet werden kann.Another embodiment of aparking light 305 According to one aspect of the present invention, reference will now be made to FIGS 21A and 21B described. Theparking light 305 is a further development of the embodiment described herein with reference to the 14 to 17 , The same reference numbers are used for the same components. Theparking light 305 is related to aparking assist control 304 described in a towingvehicle 302 is arranged with a towedvehicle 303 is coupled, but it is understood that theparking lights 305 can be used in the other embodiments described herein.

Das Parkleuchte305 ist konfiguriert, um eine grafische Darstellung von mindestens einem Teil der ZielrouteR zu projizieren. Die Zielroute R wird von der im Zugfahrzeug302 angeordneten Einparkassistenzsteuerung304 übertragen. Das Lichtsteuergerät327 empfängt die ZielrouteR und steuert das in der Parkleuchte305 vorgesehene Projektionssystem, um einen Wegindikator359 zu projizieren, die mindestens einen Teil der ZielrouteR darstellt. Der Wegindikator359 wird auf den Boden projiziert und ist zumindest in bestimmten Ausführungsformen sichtbar, um einen Hinweis auf die aktuelle Trajektorie des gezogenen Fahrzeugs303 zu geben. Wie in21A dargestellt, umfasst der Wegindikator359 in der vorliegenden Ausführungsform mindestens einen Pfeil360, wobei jedoch zu verstehen ist, dass der Wegindikator359 verschiedene Formen annehmen kann.Theparking light 305 is configured to provide a graphical representation of at least a portion of the destination route R to project. The destination route R is the one in the towingvehicle 302 arrangedEinparkassistenzsteuerung 304 transfer. Thelight control unit 327 receives the destination route R and controls that in theparking light 305 provided projection system to provide aroute indicator 359 to project at least part of the destination route R represents. Theway indicator 359 is projected onto the ground and is visible, at least in certain embodiments, to provide an indication of the current trajectory of the towedvehicle 303 to give. As in 21A shown, includes theroute indicator 359 at least one arrow in thepresent embodiment 360 However, it should be understood that theroute indicator 359 can take different forms.

Die Bedienung der Einparkassistenzsteuerung304 und der Parkleuchte305 zur Identifizierung von Geländeeigenschaften in Abhängigkeit von des projizierten Wegindikators359 ist in einem Blockdiagramm76 in23 dargestellt. Wie hierin beschrieben, bestimmt das Leitmodul336C die Zielroute R von der aktuellen PositionPCUR zu der ZielpositionPTAR (BLOCKG1). Der Wegindikator359 wird vom ersten Projektionssystem328 (BLOCKG2) auf den Boden projiziert. Die am gezogenen Fahrzeug303 vorgesehene Kamera315 erfasst Bilddaten einer Szene, die mindestens einen Teil des projizierten Routenindikators359 (BLOCKG3) beinhaltet. Das Geländemodellierungsmodul336E analysiert die erfassten Bilddaten (BLOCKG4) und identifiziert ein Einfallsmuster, das dem projizierten Routenindikator359 (BLOCKG5) entspricht. Das Geländemodellierungsmodul336E vergleicht den Indikator der einfallenden Route mit einem Bild, das der projizierten ZielrouteR entspricht, und erkennt Verzerrungen in der Anzeige der einfallenden Route (BLOCKG6). Das Geländemodellierungsmodul336E analysiert die Verzerrungen, um ein oder mehrere Geländeeigenschaften zu identifizieren (BLOCKG7). Das Geländemodellierungsmodul336E kann eine Karte der identifizierten Geländeeigenschaften erzeugen.The operation of theparking assistant control 304 and theparking light 305 for identifying terrain properties as a function of the projectedpath indicator 359 is in a block diagram 76 in 23 shown. As described herein, the guidance module determines 336C the destination route R from the current position PCUR to the target position PTAR (BLOCK G1 ). Theway indicator 359 is from the first projection system 328 (BLOCK G2 ) projected onto the ground. The pulledvehicle 303 providedcamera 315 captures image data of a scene that includes at least a portion of the projected route indicator 359 (BLOCK G3 ) includes. The terrain modeling module 336E analyzes the acquired image data (BLOCK G4 ) and identifies an incident pattern corresponding to the projected route indicator 359 (BLOCK G5 ) corresponds. The terrain modeling module 336E compares the indicator of the incoming route with an image corresponding to the projected destination route R corresponds and detects distortions in the display of the incoming route (BLOCK G6 ). The terrain modeling module 336E analyzes the distortions to identify one or more terrain features (BLOCK G7 ). The terrain modeling module 336E can generate a map of the identified terrain properties.

Es wurde anerkannt, dass die Projektion eines sichtbaren Warnindikators, der eine aktuelle oder vorhergesagte Trajektorie des Zugfahrzeugs302 und/oder des gezogenen Fahrzeugs303 darstellt, sich für eine Person (oder Personen) außerhalb des Fahrzeugs als nützlich erweisen kann. Die sichtbare Warnindikator kann einen Trajektorienindikator umfassen oder aus diesem bestehen. So kann beispielsweise der sichtbare Warnindikator es einem Dritten ermöglichen, eine erwartete Route zu bestimmen, auf der das Zugfahrzeug302 und/oder das gezogene Fahrzeug303 fahren wird. Das hier beschriebene Projektionssystem wäre zum Erzeugen und Projizieren des sichtbaren Warnindikators geeignet. Das Projektionssystem könnte in der Parkleuchte305 vorgesehen sein. Alternativ oder zusätzlich kann das Projektionssystem in dem Zugfahrzeug302 und/oder dem gezogenen Fahrzeug303 installiert sein. Es versteht sich, dass das Projektionssystem unabhängig von anderen externen Beleuchtungssystemen, wie beispielsweise den Scheinwerfern, betrieben werden kann. Der sichtbare Warnindikator kann einen Richtungsindikator, wie beispielsweise einen Pfeil, oder andere Anzeigen umfassen oder aus ihnen bestehen, die zur Darstellung der Fahrzeugtrajektorie geeignet sind. Es ist vorgesehen, dass der sichtbare Warnindikator auf dem Boden in der Nähe des Fahrzeugs bereitgestellt wird. So kann beispielsweise der sichtbare Warnindikator je nach Fahrtrichtung auf den Boden vor oder hinter dem Fahrzeug projiziert werden. Der sichtbare Warnindikator kann während eines Rückwärtsgangs hinter das Fahrzeug projiziert werden. Den sichtbare Warnindikator kann in Abhängigkeit von einem Lenkwinkel und/oder einer Zielroute R erzeugt werden. Der sichtbare Warnindikator kann auch einen Fahrzeuggeschwindigkeitsindikator umfassen.It was recognized that the projection of a visible warning indicator, the current or predicted trajectory of the towingvehicle 302 and / or the towedvehicle 303 represents useful to a person (or persons) outside the vehicle. The visible warning indicator may include or consist of a trajectory indicator. For example, the visual warning indicator may allow a third party to determine an expected route on which the towingvehicle 302 and / or the towedvehicle 303 will drive. The projection system described here would be suitable for generating and projecting the visible warning indicator. The projection system could be in theparking light 305 be provided. Alternatively or additionally, the projection system in the towingvehicle 302 and / or the towedvehicle 303 be installed. It is understood that the projection system can operate independently of other external lighting systems, such as the headlamps. The visible warning indicator may include or consist of a directional indicator, such as an arrow, or other indicia suitable for representing the vehicle trajectory. It is envisaged that the visible warning indicator will be provided on the ground in the vicinity of the vehicle. For example, depending on the direction of travel, the visible warning indicator can be projected onto the ground in front of or behind the vehicle. The visible warning indicator can be projected behind the vehicle during a reverse gear. The visible warning indicator can be generated as a function of a steering angle and / or a destination route R. The visible warning indicator may also include a vehicle speed indicator.

Die Einparkassistenzsteuerung304 in dieser Ausführungsform kann ein erwartetes Profil des Wegindikators359 in Abhängigkeit von der ZielrouteR bestimmen. Das Profil des Wegindikators359 variiert jedoch je nach Bodenprofil. Als Beispiel wird der Wegindikator359 in21A als Projektion auf eine ebene, im Wesentlichen horizontale Fläche dargestellt. Wird jedoch der gleiche Wegindikator359 auf eine unebene Fläche projiziert, wird die Projektion in Abhängigkeit von den Geländeeigenschaften verzerrt. Gemäß einem Aspekt der vorliegenden Erfindung ist die Einparkassistenzsteuerung304 konfiguriert, um ein von der am gezogenen Fahrzeug303 vorgesehenen Kamera315 aufgenommenes Ist-Bild mit einem erwarteten Profil des Wegindikators359 zu vergleichen, das in Abhängigkeit von der bestimmten ZielrouteR bestimmt wird. Als Beispiel ist der Wegindikator359 in21B dargestellt, die auf eine unebene Oberfläche projiziert wird, die einen geneigten Bereich umfasst. Die Einparkassistenzsteuerung304 kann konfiguriert werden, um ein oder mehrere Geländeeigenschaften in Abhängigkeit von der Verzerrung des Wegindikators359 zu bestimmen. So kann beispielsweise die Einparkassistenzsteuerung304 eine Neigung oder Steigung der Oberfläche bestimmen oder ein oder mehrere Hindernisse entlang der ZielrouteR erkennen. Es versteht sich, dass diese Technik in Verbindung mit den anderen hierin beschriebenen Techniken verwendet werden kann, z. B. der Projektion des Geländereferenzmusters355, das mit Bezug auf die14 bis16 beschrieben wird.Theparking assistant control 304 in this embodiment, an expected profile of theroute indicator 359 depending on the destination route R determine. The profile of theroute indicator 359 varies however depending on soil profile. As an example, theroute indicator 359 in 21A represented as a projection on a flat, substantially horizontal surface. But it will be thesame way indicator 359 Projected onto an uneven surface, the projection is distorted depending on the terrain properties. According to one aspect of the present invention, the parking assist control is 304 configured to be one of the towedvehicle 303 providedcamera 315 taken actual picture with an expected profile of theroute indicator 359 compare that depending on the particular destination route R is determined. As an example, theroute indicator 359 in 21B which is projected onto an uneven surface including a sloped area. Theparking assistant control 304 can be configured to have one or more terrain features depending on the distortion of theroute indicator 359 to determine. For example, theparking assistant control 304 determine an inclination or slope of the surface or one or more obstacles along the target route R recognize. It will be understood that this technique can be used in conjunction with the other techniques described herein, e.g. B. the projection of theterrain reference pattern 355 , with respect to the 14 to 16 is described.

Eine Variante der hierin beschriebenen Parkleuchte305 mit Bezug auf die21A und21B ist in den22A und22B dargestellt. In dieser Variante umfasst der Wegindikator359 die erste und zweite Weglinie361-1,361-2, die die Zielroute R des Fahrzeugs darstellen. Die erste und zweite Weglinie361-1,361-2 in der vorliegenden Ausführungsform entsprechen einem vorhergesagten Weg der jeweiligen ersten und zweiten AnhängerräderTW1,TW2. Zumindest in bestimmten Ausführungsformen kann die Projektion der Weglinie361 die Identifizierung von Hindernissen direkt im Weg der AnhängerräderTW1,TW2 während der Fahrt entlang der Zielstrecke R erleichtern A variant of the parking lamp described herein 305 with reference to the 21A and 21B is in the 22A and 22B shown. In this variant, the route indicator includes 359 the first and second way line 361 - 1 . 361 - 2 representing the destination route R of the vehicle. The first and second way line 361 - 1 . 361 - 2 in the present embodiment correspond to a predicted path of the respective first and second trailer wheels TW1 . TW2 , At least in certain embodiments, the projection may be the wayline 361 the identification of obstacles directly in the way of the trailer wheels TW1 . TW2 while driving along the route R easier

Die Einparkassistenzsteuerung304 kann konfiguriert werden, um ein von der Kamera315 aufgenommenes Ist-Bild, das am gezogenen Fahrzeug303 bereitgestellt wird, mit einem erwarteten Profil der ersten und zweiten Weglinien361-1,361-2 zu vergleichen, die in Abhängigkeit von der bestimmten ZielrouteR bestimmt werden. Mit Bezug auf 22B werden die erste und die zweite Weglinie361-1,361-2 auf eine unebene Oberfläche projiziert, die einen geneigten Bereich umfasst. Die Einparkassistenzsteuerung304 kann konfiguriert werden, um ein oder mehrere Geländeeigenschaften in Abhängigkeit von der Verzerrung der ersten und zweiten Weglinie361-1,361-2 zu bestimmen. So kann beispielsweise die Einparkassistenzsteuerung304 eine Neigung oder Steigung der Oberfläche bestimmen oder ein oder mehrere Hindernisse entlang der ZielrouteR erkennen. Alternativ oder zusätzlich kann die Einparkassistenzsteuerung304 ein oder mehrere Geländeeigenschaften durch Vergleichen der ersten und zweiten Weglinien361-1,361-2 bestimmen. So kann beispielsweise die Trajektorie der ersten und zweiten Weglinien361-1,361-2 verglichen werden, um Gradientenänderungen zu bestimmen. Wenn die erste und zweite Weglinie361-1, 361-2 beim Aufstellen auf den Boden nicht parallel verlaufen, kann die Einparkassistenzsteuerung304 bestimmen, dass eine Neigung oder Steigung vorliegt. Es versteht sich, dass die Einparkassistenzsteuerung304 im Zugfahrzeug302 oder in der Parkleuchte305 vorgesehen sein kann.Theparking assistant control 304 Can be configured to get one from thecamera 315 taken actual picture, the drawnvehicle 303 is provided with an expected profile of the first and second route lines 361 - 1 . 361 - 2 compare, depending on the particular destination route R be determined. With reference to FIG. 22B, the first and second waylines become 361 - 1 . 361 - 2 projected onto an uneven surface that includes a sloping area. Theparking assistant control 304 may be configured to include one or more terrain features depending on the distortion of the first and second waylines 361 - 1 . 361 - 2 to determine. For example, theparking assistant control 304 determine an inclination or slope of the surface or one or more obstacles along the target route R recognize. Alternatively or additionally, theEinparkassistenzsteuerung 304 One or more terrain properties by comparing the first and second waylines 361 - 1 . 361 - 2 determine. For example, the trajectory of the first and second waylines 361 - 1 . 361 - 2 be compared to determine gradient changes. If the first and second way line 361 -1, 361-2 can not run parallel when putting on the ground, theEinparkassistenzsteuerung 304 determine that there is a slope or incline. It is understood that theparking assistant control 304 in the towingvehicle 302 or in theparking light 305 can be provided.

Das gezogene Fahrzeug303 kann je nach Geländeeigenschaften seitlichen Bewegungen, wie z. B. Seitenabrutschen, ausgesetzt sein. Diese Querbewegungen können zum Beispiel dadurch entstehen, dass das gezogene Fahrzeug303 eine unebene oder geneigte Fläche befährt. Die Einparkassistenzsteuerung304 kann konfiguriert werden, um die Zielroute R in Abhängigkeit von erfassten Geländeeigenschaftenn, wie beispielsweise einer erfassten Steigung oder Neigung, zu ändern. Die Einparkassistenzsteuerung304 kann die Zielroute R bestimmen, um das gezogene Fahrzeug303 über eine Steigung oder Gefälle zu steuern, um einem Seitensprung entgegenzuwirken. Die Einparkassistenzsteuerung304 kann die Zielroute R bestimmen, um Löcher zu vermeiden. Wenn bei der ZielrouteR ein Loch oder eine unebene Oberfläche nicht vermieden werden kann, kann die Einparkassistenzsteuerung304 konfiguriert werden, einem Drehmoment des gezogenen Fahrzeugs303 entgegenzuwirken, sobald ein AnhängerradTW1,TW2 das Loch oder die unebene Oberfläche überquert. Die Einparkassistenzsteuerung304 kann konfiguriert werden, um die ZielrouteR in Abhängigkeit von erfassten Steigungsänderungen zu ändern. So kann beispielsweise die Einparkassistenzsteuerung304 die ZielrouteR modifizieren, um sicherzustellen, dass die Steigung in Quer- und/oder Längsrichtung unter einem vorgegebenen Steigungsschwellenwert liegt. Alternativ oder zusätzlich kann die Einparkassistenzsteuerung304 das EinparkassistenzsignalS1 modifizieren, um Änderungen in der Trajektorie des gezogenen Fahrzeugs303 aufgrund der Steigungsänderungen auszugleichen. So kann beispielsweise das EinparkassistenzsignalS1 modifiziert werden, um Änderungen der Steigung unter den ersten und zweiten AnhängerrädernTW1,TW2 auszugleichen. Die ZielrouteR kann zum Ausgleich von Seitenabrutschen bestimmt werden, z. B. beim Durchfahren einer geneigten Fläche. Die Einparkassistenzsteuerung304 kann beispielsweise die ZielrouteR so bestimmen, dass sie eine Steigung hinauffährt, um einem Seitenabrutschen entgegenzuwirken.The towedvehicle 303 can depending on the terrain properties lateral movements, such. B. side slides, be exposed. These transversal movements may arise, for example, as a result of the vehicle being towed 303 an uneven or inclined surface travels. Theparking assistant control 304 can be configured to change the destination route R depending on detected terrain characteristics, such as a detected slope or incline. Theparking assistant control 304 may determine the destination route R to the towedvehicle 303 steer over an incline or slope to counteract an infidelity. Theparking assistant control 304 can determine the target route R to avoid holes. If at the destination route R a hole or an uneven surface can not be avoided, theEinparkassistenzsteuerung 304 be configured, a torque of the towedvehicle 303 counteract as soon as a trailer wheel TW1 . TW2 cross the hole or the uneven surface. Theparking assistant control 304 can be configured to the destination route R to change in response to detected slope changes. For example, theparking assistant control 304 the destination route R to ensure that the pitch in the transverse and / or longitudinal direction is below a predetermined pitch threshold. Alternatively or additionally, theEinparkassistenzsteuerung 304 the parking assist signal S1 modify to changes in the trajectory of the towedvehicle 303 due to the slope changes. For example, the parking assist signal S1 modified to change the pitch among the first and second trailer wheels TW1 . TW2 compensate. The destination route R can be determined to compensate for side slips, z. B. when driving through an inclined surface. Theparking assistant control 304 can, for example, the destination route R so that it ascends a slope to counteract a side slip.

Zumindest einige der hierin beschriebenen Ausführungsformen sehen vor, dass die Einparkassistenzsteuerung zum Erzeugen der ZielrouteR im Zugfahrzeug vorgesehen ist. Zumindest in bestimmten Ausführungsformen kann die Einparkassistenzsteuerung jedoch in der Parkleuchte vorgesehen werden. Diese Implementierung hat den Vorteil, dass das Einparkassistenzsystem leichter nachgerüstet werden kann, z. B. für den Einsatz mit jedem Fahrzeug, das selbstfahrend ist. Im Falle eines selbstfahrenden Anhängers kann eine drahtlose Kamera am Anhänger montiert werden, um eine Winkelausrichtung in Bezug auf die Leuchte zu bestimmen. Eine Fernbedienung kann in die Parkleuchte integriert werden, um den Anhänger zu steuern. Alternativ oder zusätzlich kann eine Lichtkamera vorgesehen werden, um den Anhänger zu identifizieren und seine relative Position und/oder Ausrichtung zu bestimmen. Es versteht sich, dass diese Steuerstrategien auch zum Steuern eines Zugfahrzeugs verwendet werden können.At least some of the embodiments described herein contemplate that the parking assist controller generates the destination route R is provided in the towing vehicle. However, at least in certain embodiments, the parking assist control may be provided in the parking light. This implementation has the advantage that the parking assistance system can be retrofitted more easily, eg. B. for use with any vehicle that is self-propelled. In the case of a self-propelled trailer, a wireless camera may be mounted on the trailer to determine an angular orientation with respect to the lamp. A remote control can be integrated into the parking light to control the trailer. Alternatively or additionally, a light camera may be provided to identify the tag and determine its relative position and / or orientation. It is understood that these control strategies can also be used to control a towing vehicle.

Eine schematische Darstellung der Parkleuchte305 gemäß einem weiteren Aspekt der vorliegenden Erfindung ist in24 dargestellt. Die Leuchte HMI332 umfasst einen Bildschirm366, eine Benutzereingabeeinrichtung367, eine Lichtkamera368 und einen Sender-Empfänger369. Die Benutzereingabevorrichtung367 umfasst eine oder mehrere Steuervorrichtungen, wie beispielsweise einen mechanischen Schalter, eine Taste, einen Drehknopf, einen kapazitiven Schalter oder einen Widerstandsschalter. Alternativ oder zusätzlich kann die Benutzereingabeeinrichtung367 mit dem Bildschirm366 kombiniert werden, beispielsweise in Form eines berührungsempfindlichen Displays. Das Lichtsteuergerät327 umfasst einen Bildprozessor zur Verarbeitung der von der Lichtkamera368 erfassten Bilddaten, um die relative Position und/oder Ausrichtung des gezogenen Fahrzeugs303 zu bestimmen. Das Lichtsteuergerät327 ist konfiguriert, um die von der Lichtkamera368 erfassten Bilddaten auf dem Bildschirm366 auszugeben. Das Lichtsteuergerät327 ist konfiguriert, um die Bilddaten der Lichtkamera368 mit einem Parkortindikator326 und optional auch einer grafischen Darstellung einer Zielroute R zu ergänzen. Das resultierende vergrößerte Bild kann einem Benutzer helfen, die Zielroute R und/oder den Parkortindikator326 zu visualisieren. Die Benutzereingabevorrichtung367 kann zum Einstellen der Position des Parkortindikators326 und/oder zum Einstellen der ZielrouteR verwendet werden. Somit ist die Leuchte HMI332 konfiguriert, um ein erweitertes Bild zu erzeugen, das von einem Benutzer manipuliert werden kann, um die ZielrouteR zu ändern. Alternativ oder zusätzlich kann die Position und/oder Ausrichtung des Parkortindikators326 durch den Benutzer verändert werden. Die ZielrouteR und der Parkortindikator326 können als Überlagerung des Anzeigenbildes auf dem Bildschirm366 angezeigt werden. Der Benutzer validiert die Eingaben, wenn der gewünschte Parkortindikator326 eingegeben wurde. Alternativ oder zusätzlich können die Steuerfunktionen der Leuchte HMI332 in einer Steuerung HMI im Trägerfahrzeug302 bereitgestellt werden.A schematic illustration of theparking light 305 according to another aspect of the present invention is in 24 shown. Theluminaire HMI 332 includes ascreen 366 , auser input device 367 , alight camera 368 and atransceiver 369 , Theuser input device 367 includes one or more control devices, such as a mechanical switch, a button, a knob, a capacitive switch or a resistance switch. Alternatively or additionally, theuser input device 367 with thescreen 366 be combined, for example in the form of a touch-sensitive display. Thelight control unit 327 includes an image processor for processing thelight camera 368 captured image data to the relative position and / or orientation of the towedvehicle 303 to determine. Thelight control unit 327 is configured to that of thelight camera 368 captured image data on thescreen 366 issue. Thelight control unit 327 is configured to display the image data of thelight camera 368 with aparking place indicator 326 and optionally also a graphical representation of a destination route R to complete. The resulting enlarged image may aid a user in the destination route R and / or theparking location indicator 326 to visualize. Theuser input device 367 can be used to adjust the position of theparking place indicator 326 and / or setting the destination route R be used. Thus the luminaire isHMI 332 configured to generate an enhanced image that can be manipulated by a user to the destination route R to change. Alternatively or additionally, the position and / or orientation of theparking place indicator 326 be changed by the user. The destination route R and theparking place indicator 326 can as overlay of the ad image on thescreen 366 are displayed. The user validates the inputs when the desiredparking location indicator 326 was entered. Alternatively or additionally, the control functions of theluminaire HMI 332 in a control HMI in thecarrier vehicle 302 to be provided.

Die Einparkassistenzsteuerung304 ist konfiguriert, um die ZielrouteR in Abhängigkeit von der bestimmten Position und/oder Ausrichtung des gezogenen Fahrzeugs303 zu erzeugen. Die Parkleuchte305 kann optional über den Sender-Empfänger369 mit dem Zugfahrzeug302 kommunizieren, um beispielsweise das EinparkassistenzsignalS1 auszugeben. Durch Korrelieren von Änderungen der Ausrichtung des gezogenen Fahrzeugs303 (die mit den vorgenannten Bildverarbeitungstechniken bestimmt werden können) mit einem bekannten Lenkwinkel des Zugfahrzeugs302 kann das Lichtsteuergerät327 optional die relative Ausrichtung des Zugfahrzeugs302 mittels Rückwärtskinematik bestimmen. Die Einparkassistenzsteuerung304 kann in dem Zugfahrzeug302 vorgesehen sein. Alternativ kann die Einparkassistenzsteuerung304 in der Parkleuchte305 vorgesehen werden, beispielsweise integriert in das Lichtsteuergerät327. Das Lichtsteuergerät327 ist konfiguriert, um das EinparkassistenzsignalS1 an den Sender-Empfänger369 zur drahtlosen Übertragung an das Trägerfahrzeug302 auszugeben.Theparking assistant control 304 is configured to the destination route R depending on the particular position and / or orientation of the towedvehicle 303 to create. Theparking light 305 can be optional via thetransceiver 369 with the towingvehicle 302 communicate, for example, the parking assist signal S1 issue. By correlating changes in the orientation of the towed vehicle 303 (which can be determined with the aforementioned image processing techniques) with a known steering angle of the towingvehicle 302 can thelight controller 327 optionally the relative orientation of the towingvehicle 302 determine by means of reverse kinematics. Theparking assistant control 304 can in the towingvehicle 302 be provided. Alternatively, theEinparkassistenzsteuerung 304 in thepark light 305 be provided, for example, integrated into thelight control device 327 , Thelight control unit 327 is configured to receive the parking assist signal S1 to thetransceiver 369 for wireless transmission to thehost vehicle 302 issue.

Die Bedienung des Lichtsteuergeräts327 zum Erzeugen eines erweiterten Bildes380 zur Ausgabe auf den Bildschirm366 wird nun anhand der25,26 und27 beschrieben. Ein typisches Parkszenario ist beispielhaft in einer Szene381 in 25 dargestellt. Das Zugfahrzeug302 und das gezogene Fahrzeug303 sind proximal zu einem gewünschten Parkplatz positioniert. Im dargestellten Beispiel ist das gezogene Fahrzeug303 neben einem elektrischen Netzanschluss382 zu parken, während es ein Hindernis383 umgeht. Der elektrische Netzanschluss382 und das Hindernis383 befinden sich beide an einem festen Ort. Die Parkleuchte305 wird vom Benutzer auf dem Boden proximal zum gewünschten Parkplatz positioniert. Die Parkleuchte305 ist so ausgerichtet, dass die Lichtkamera368 auf den gewünschten Parkplatz und vorzugsweise auch auf das gezogene Fahrzeug303 gerichtet ist. Die von der Lichtkamera368 erfassten Bilddaten stellen die Szene381 dar, einschließlich des gezogenen Fahrzeugs303, des elektrischen Netzanschlusses382 und des Hindernisses383. Die Bilddaten werden auf dem Bildschirm366 ausgegeben und als Bild340 angezeigt, wie in26 dargestellt. Bei Bedarf kann der Benutzer die Ausrichtung der Parkleuchte305 so einstellen, dass die Lichtkamera368 die gewünschten Szenenelemente, wie beispielsweise den gewünschten Parkplatz, erfasst.The operation of thelight control unit 327 to create anextended image 380 for output to thescreen 366 will now be based on the 25 . 26 and 27 described. A typical parking scenario is exemplary in ascene 381 shown in FIG. The towingvehicle 302 and the towedvehicle 303 are positioned proximal to a desired parking space. In the example shown is the towedvehicle 303 next to anelectrical power connection 382 to park while it is anobstacle 383 bypasses. Theelectrical power connection 382 and theobstacle 383 Both are in a fixed location. Theparking light 305 is positioned by the user on the floor proximal to the desired parking space. Theparking light 305 is aligned so that thelight camera 368 on the desired parking lot and preferably also on the towedvehicle 303 is directed. The from thelight camera 368 captured image data represent thescene 381 including the towedvehicle 303 , theelectrical mains connection 382 and theobstacle 383 , The image data will be on thescreen 366 issued and as apicture 340 displayed as in 26 shown. If necessary, the user can adjust the orientation of theparking light 305 so adjust that thelight camera 368 the desired scene elements, such as the desired parking lot detected.

Gemäß einem Aspekt der vorliegenden Erfindung ist die Einparkassistenzsteuerung304 konfiguriert, um die von der Lichtkamera368 erzeugten Bilddaten zu ergänzen. Insbesondere ist die Einparkassistenzsteuerung304 konfiguriert, um Grafiken und Informationen auf das Bild340 zu übertragen, um das erweiterte Bild380 zu erzeugen. Ein erstes erweitertes Bild380 ist in26 dargestellt, das das von der Parkleuchte305 aufgenommene Bild340 in der in25 dargestellten Szene beinhaltet. Dem Bild340 ist ein Zielpositionsindikator339 überlagert, um eine grafische Darstellung der ZielpositionPTAR bezüglich anderer Merkmale der Szene381 zu erhalten. Wie in26 dargestellt, ist der Zielpositionsindikator339 zumindest im Wesentlichen so skaliert, dass er einer Grundfläche des gezogenen Fahrzeugs303 (und optional auch des Zugfahrzeugs302) entspricht. In dem veranschaulichten Beispiel umfasst der Zielpositionsindikator339 ein Rechteck, das eine ungefähre Darstellung des Außenprofils des gezogenen Fahrzeugs303 liefert. Es ist zu beachten, dass der Zielpositionsindikator339 ein anderes Profil aufweisen kann, um beispielsweise das Ist-Profil des gezogenen Fahrzeugs303 in Planform näher darzustellen. Der Zielpositionsindikator339 in der vorliegenden Ausführungsform umfasst auch einen Türmarkierer342 und eine elektrische Verbindermarkierung343. Die Türmarkierung342 entspricht einer Tür384, die am gezogenen Fahrzeug303 vorgesehen ist; und die elektrische Verbindermarkierung343 entspricht einem elektrischen Verbinder385, der am gezogenen Fahrzeug303 vorgesehen ist.According to one aspect of the present invention, the parking assist control is 304 configured to that of thelight camera 368 to complement generated image data. In particular, theEinparkassistenzsteuerung 304 configured to display graphics and information on theimage 340 to transfer to theextended picture 380 to create. A first expandedpicture 380 is in 26 represented by theparking light 305 takenpicture 340 in the in 25 illustrated scene includes. Thepicture 340 is atarget position indicator 339 superimposed to a graphical representation of the target position PTAR concerning other features of thescene 381 to obtain. As in 26 is thetarget position indicator 339 at least substantially scaled to a base of the towed vehicle 303 (and optionally also the towing vehicle 302 ) corresponds. In the illustrated example, the target position indicator includes 339 a rectangle that gives an approximate representation of the exterior profile of the towedvehicle 303 supplies. It should be noted that thetarget position indicator 339 may have a different profile, for example, the actual profile of the towedvehicle 303 to illustrate in plan form. Thetarget position indicator 339 in the present embodiment also includes adoor marker 342 and anelectrical connector mark 343 , Thedoor marker 342 corresponds to adoor 384 on the towedvehicle 303 is provided; and theelectrical connector mark 343 corresponds to anelectrical connector 385 , the pulledvehicle 303 is provided.

Eine Anfangsposition des Zielpositionsindikators339 innerhalb des Bildes340 könnte automatisch bestimmt werden, z. B. durch Analyse der Bilddatenausgabe der Lichtkamera368. Alternativ kann der Benutzer auch die Ausgangsposition der ZielpositionPTAR angeben. Bei Bedarf kann der Benutzer die Position der ZielpositionPTAR einstellen. So kann der Benutzer beispielsweise die Benutzereingabevorrichtung367 betätigen, um die Position und/oder Ausrichtung des Zielpositionsindikators339 innerhalb des erweiterten Bildes380 zu ändern. Wenn sichergestellt ist, dass die Position und/oder Ausrichtung des Zielpositionsindikators339 der Position und/oder Ausrichtung der Zielposition P entspricht, bestätigt der Benutzer die Eingabe.An initial position of thetarget position indicator 339 within thepicture 340 could be determined automatically, e.g. B. by analyzing the image data output of thelight camera 368 , Alternatively, the user may also know the home position of the target position PTAR specify. If necessary, the user can view the position of the target position PTAR to adjust. For example, the user may select theuser input device 367 to adjust the position and / or orientation of thetarget position indicator 339 within theextended picture 380 to change. When it is certain that the position and / or orientation of thetarget position indicator 339 corresponds to the position and / or orientation of the target position P, the user confirms the input.

Wie in26 dargestellt, kann die Einparkassistenzsteuerung304 konfiguriert werden, um eine aktuelle PositionPCUR des gezogenen Fahrzeugs303 (und optional auch des Zugfahrzeugs304) zu identifizieren. Die Einparkassistenzsteuerung304 kann das Bild340 analysieren, um das gezogene Fahrzeug303 zu identifizieren, beispielsweise unter Verwendung geeigneter Bildverarbeitungstechniken. Alternativ kann der Benutzer das gezogene Fahrzeug303 innerhalb des Bildes340 identifizieren. In einem ersten Arbeitsgang kann der Benutzer den Zielpositionsindikator339 positionieren, um die aktuelle PositionPCUR (und optional auch eine aktuelle Ausrichtung) des gezogenen Fahrzeugs303 zu identifizieren. In einem zweiten Arbeitsgang kann der Benutzer den Zielpositionsindikator339 positionieren, um die ZielpositionPTAR (und optional auch eine aktuelle Ausrichtung) des gezogenen Fahrzeugs303 zu identifizieren. Andere Techniken können verwendet werden, um die aktuelle PositionPCUR und die ZielpositionPTAR des gezogenen Fahrzeugs303 zu identifizieren.As in 26 represented, theEinparkassistenzsteuerung 304 be configured to a current position PCUR of the towed vehicle 303 (and optionally also the towing vehicle 304 ) to identify. Theparking assistant control 304 can thepicture 340 analyze to the towedvehicle 303 to identify, for example, using appropriate image processing techniques. Alternatively, the user can use the towedvehicle 303 within thepicture 340 identify. In a first operation, the user can enter thetarget position indicator 339 position to the current position PCUR (and optionally also a current orientation) of the towedvehicle 303 to identify. In a second operation, the user can enter thetarget position indicator 339 position to the target position PTAR (and optionally also a current orientation) of the towedvehicle 303 to identify. Other techniques can be used to change the current position PCUR and the target position PTAR of the towedvehicle 303 to identify.

Die Einparkassistenzsteuerung304 ist konfiguriert, um die ZielrouteR zu berechnen, entlang der das gezogene Fahrzeug303 von der aktuellen PositionPCUR zur ZielpositionPTAR fahren soll. Die ZielrouteR kann zumindest im Wesentlichen in Echtzeit berechnet werden. Wie in25 dargestellt, wird dem Bild340 ein Zielroutenindikator386 überlagert, um die ZielrouteR darzustellen. Die ZielrouteR kann berechnet und zumindest im Wesentlichen in Echtzeit angezeigt werden. Diese Echtzeitanzeige des Zielroutenindikators386 kann dem Benutzer helfen, Änderungen an der ZielrouteR zu visualisieren, z. B. in Abhängigkeit von Änderungen der Position und/oder Ausrichtung der ZielpositionPTAR. Alternativ können die ZielrouteR berechnet und der Zielroutenindikator386 erst angezeigt werden, nachdem der Benutzer die ZielpositionPTAR validiert hat. Die Einparkassistenzsteuerung304 kann es dem Benutzer ermöglichen, die ZielrouteR direkt zu ändern. Der Benutzer kann einen oder mehrere Punkte auf das Zielroutenindikator386 neu positionieren. In Ausführungsformen, in denen die Benutzereingabevorrichtung367 einen Touchscreen umfasst, kann der Benutzer einen Punkt auf das Zielroutenindikator386 berühren und bewegen und/oder einen diesem Punkt zugeordneten Richtungsvektor drehen. Der Benutzer validiert die ZielrouteR, die dann an das Zugfahrzeug302 weitergeleitet wird. Das Zugfahrzeug302 wird in Abhängigkeit von der ZielrouteR gesteuert, um das gezogene Fahrzeug303 entlang der ZielrouteR rückwärts zu fahren.Theparking assistant control 304 is configured to the destination route R to calculate along the drawnvehicle 303 from the current position PCUR to the target position PTAR should drive. The destination route R can be calculated at least substantially in real time. As in 25 shown, the picture becomes 340 adestination route indicator 386 superimposed to the destination route R display. The destination route R can be calculated and displayed at least substantially in real time. This real-time display of thedestination route indicator 386 can help the user make changes to the destination route R to visualize, for. B. in response to changes in position and / or orientation of the target position PTAR , Alternatively, the destination route R calculated and thedestination route indicator 386 only appear after the user reaches the target position PTAR validated. Theparking assistant control 304 may allow the user to the destination route R to change directly. The user can add one or more points to thedestination route indicator 386 reposition. In embodiments in which theuser input device 367 includes a touch screen, the user can point to thedestination route indicator 386 touch and move and / or rotate a direction vector associated with this point. The user validates the destination route R then to the towingvehicle 302 is forwarded. The towingvehicle 302 will depend on the destination route R controlled to the towedvehicle 303 along the destination route R to drive backwards.

Es versteht sich, dass dem Bild340 weitere Merkmale zur Unterstützung des Benutzers überlagert werden können. Als Beispiel kann ein Konturnetz387 vorgesehen werden, um einen Hinweis auf die Konturen des Bodens zu geben. Die Einparkassistenzsteuerung304 kann die Bilddaten verarbeiten, um Geländeeigenschaften zu schätzen, z. B. um eine Neigung oder Steigerung zu identifizieren. Das Konturnetz387 kann beispielsweise die Geländeeigenschaften darstellen. Das Konturnetz387 kann in Abhängigkeit vom projizierten Geländeformat erzeugt werden. So könnte beispielsweise das auf den Boden projizierte Einfallsmuster von den erfassten Bilddaten isoliert und zur Erzeugung des Konturnetzes387 verwendet werden. Alternativ oder zusätzlich kann die Einparkassistenzsteuerung304 Daten von Sensoren empfangen, die am Zugfahrzeug302 oder an der Parkleuchte305 vorgesehen sind, beispielsweise von einer Trägheitsmesseinheit (IMU), die einen oder mehrere Beschleunigungssensoren und/oder Gyroskope umfasst.It is understood that thepicture 340 Other features can be superimposed to support the user. As an example, acontour network 387 be provided to give an indication of the contours of the soil. Theparking assistant control 304 can process the image data to estimate terrain properties, e.g. B. to identify a slope or increase. Thecontour network 387 can represent the terrain properties, for example. Thecontour network 387 can be generated depending on the projected terrain format. For example, the incidence pattern projected onto the ground could be isolated from the captured image data and used to create thecontour mesh 387 be used. Alternatively or additionally, theEinparkassistenzsteuerung 304 Receive data from sensors attached to the towingvehicle 302 or at theparking light 305 are provided, for example, from an inertial measurement unit (IMU), which comprises one or more acceleration sensors and / or gyroscopes.

Die Einparkassistenzsteuerung304 wurde hierin insbesondere in Bezug auf das parallele Parken des gezogenen Fahrzeugs302 beschrieben, bei dem dieLängsachseX1,X1TAR der aktuellen PositionPCUR und die ZielpositionPTAR im Allgemeinen parallel zueinander sind. Es versteht sich, dass die Einparkassistenzsteuerung304 gemäß der vorliegenden Erfindung nicht auf diese Betriebsart beschränkt ist. So kann beispielsweise die Einparkassistenzsteuerung304 verwendet werden, wenn dieLängsachseX1,X1TAR der aktuellen PositionPCUR und die ZielpositionPTAR im Allgemeinen senkrecht zueinander stehen, wie in einem zweiten vergrößerten Bild in27 dargestellt.Theparking assistant control 304 has been described herein in particular with respect to the parallel parking of the towedvehicle 302 described in which theLongitudinal axisX1 ,X1TAR the current position PCUR and the target position PTAR are generally parallel to each other. It is understood that theparking assistant control 304 according to the present invention is not limited to this mode. For example, theparking assistant control 304 used when theLongitudinal axisX1 ,X1TAR the current position PCUR and the target position PTAR generally perpendicular to each other, as in a second enlarged image in FIG 27 shown.

In der hierin beschriebenen Ausführungsform mit Bezug auf die25 bis27 ist der Bildschirm366 auf der Parkleuchte305 vorgesehen. Das erweiterte Bild380 kann vom Benutzer, der die Parkleuchte305 bedient, betrachtet werden. Es versteht sich, dass das erweiterte Bild380 auf anderen Anzeigebildschirmen angezeigt werden kann. Die Parkleuchte305 kann konfiguriert werden, um die dem erweiterten Bild380 entsprechenden Bilddaten an einen Empfänger zu übertragen. So könnte beispielsweise das erweiterte Bild380 auf einem im Zugfahrzeug302 vorgesehenen Bildschirm ausgegeben werden. Alternativ oder zusätzlich kann das erweiterte Bild380 an ein universelles Rechenvorrichtung, wie beispielsweise einen PC (zum Beispiel einen Laptop), einen Tablet-Computer oder ein Mobiltelefon, ausgegeben werden. In einer weiteren Variante kann das erweiterte Bild380 aus Bilddaten erzeugt werden, die von einer Kamera auf der Rechenvorrichtung aufgenommen wurden. In dieser Variante ist vorgesehen, dass die Parkleuchte305 eine Referenzkennung erzeugt, die von der Rechenvorrichtung erkannt werden kann. Der Referenzkennzeichner könnte eine optische Projektion, zum Beispiel ein kodiertes Signal, umfassen. Die ZielrouteR könnte durch die Rechenvorrichtung bestimmt werden. Alternativ könnte die ZielrouteR von der Einparkassistenzsteuerung304 übertragen werden. Somit können die Einparkassistenzsteuerung304 und der Anzeigebildschirm366 in separaten Vorrichtungen bereitgestellt werden.In the embodiment described herein with reference to FIGS 25 to 27 is thescreen 366 on theparking light 305 intended. Theextended picture 380 can by the user who theparking light 305 operated, to be considered. It is understood that theextended picture 380 can be displayed on other display screens. Theparking light 305 can be configured to match theextended image 380 corresponding image data to a To transfer the receiver. For example, the extended picture could be 380 on one in the towingvehicle 302 provided screen. Alternatively or additionally, the expandedimage 380 to a general-purpose computing device such as a personal computer (for example, a laptop), a tablet computer, or a mobile phone. In another variant, the expandedimage 380 from image data captured by a camera on the computing device. In this variant, it is provided that theparking light 305 generates a reference identifier that can be recognized by the computing device. The reference identifier could comprise an optical projection, for example a coded signal. The destination route R could be determined by the computing device. Alternatively, the destination route could be R from theparking assistant control 304 be transmitted. Thus, theEinparkassistenzsteuerung 304 and thedisplay screen 366 be provided in separate devices.

Die Leuchte HMI332 gemäß der vorliegenden Ausführungsform kann zusätzlich zum ersten hierin beschriebenen Projektionssystem328 verwendet werden. Dies kann beispielsweise bei starker Sonneneinstrahlung wünschenswert sein, wenn die Erkennung des projizierten Parkortindikators326 schwierig ist. Alternativ kann die Leuchte HMI332 anstelle des ersten Projektionssystems328 verwendet werden. Bei einer solchen Anordnung ist zu beachten, dass die ZielrouteR nicht auf den Boden projiziert wird. Die relative Position des gezogenen Fahrzeugs303 und der Parkleuchte305 kann beispielsweise mit Hilfe von Signaltriangulationstechniken bestimmt werden. So kann beispielsweise der Sender-Empfänger369 drahtlos mit einem oder mehreren Sender-Empfängern kommunizieren, die an dem gezogenen Fahrzeug303 und/oder dem Zugfahrzeug302 vorgesehen sind. Die Laufzeit der Kommunikation kann zur Bestimmung der relativen Position verwendet werden.Theluminaire HMI 332 According to the present embodiment, in addition to the first projection system described herein 328 be used. This may be desirable, for example, in strong sunlight when the detection of the projectedparking location indicator 326 difficult. Alternatively, thelamp HMI 332 instead of thefirst projection system 328 be used. In such an arrangement, it should be noted that the destination route R not projected onto the ground. The relative position of the towedvehicle 303 and theparking light 305 can be determined, for example, by means of signal triangulation techniques. For example, the transmitter-receiver 369 communicate wirelessly with one or more transceivers attached to the towedvehicle 303 and / or the towingvehicle 302 are provided. The duration of the communication can be used to determine the relative position.

In einer Variante kann das Lichtsteuergerät327 die von der Lichtkamera368 erfassten Bilddaten manipulieren, um ein Bild in Vogelperspektive zu erzeugen. Das Zugfahrzeug302 und/oder das gezogene Fahrzeug303 können optional auch auf dem Bild überlagert und auf dem Bildschirm366 ausgegeben werden.In a variant, thelight control device 327 the one from thelight camera 368 manipulate captured image data to create a bird's-eye view image. The towingvehicle 302 and / or the towedvehicle 303 can optionally also be overlaid on the picture and on thescreen 366 be issued.

Die hierin beschriebene Parkleuchte ist eine separate Vorrichtung zur Positionierung außerhalb des Zugfahrzeugs und des gezogenen Fahrzeugs. Ein Benutzer könnte nach Abschluss eines Parkmanövers den Abruf der Parkleuchte vergessen. Die Parkleuchte kann zurückgelassen werden, wenn das Zugfahrzeug und das gezogene Fahrzeug weggefahren werden.The parking lamp described herein is a separate device for positioning outside the towing vehicle and the towed vehicle. A user might forget to retrieve the parking light after completing a parking maneuver. The parking light may be left behind when the towing vehicle and the towed vehicle are being driven away.

Wie in28 gezeigt, kann das Einparkassistenzsystem305 eine Andockstation390 zum Andocken der Parkleuchte305 umfassen. Die Andockstation390 ist in einem Host-Fahrzeug vorgesehen, das entweder das Zugfahrzeug302 oder das gezogene Fahrzeug303 sein kann. Die Andockstation390 umfasst ein Dock391 zur Aufnahme der Parkleuchte, eine Docksteuereinheit392 und eine Ladeeinheit393 zum Laden von Energiespeichermitteln, wie beispielsweise einer Batterie (nicht dargestellt), die in der Parkleuchte305 vorgesehen sind. Das Dock391 ist konfiguriert, um die Parkampel305 in einer vorbestimmten Position in der Andockstation390 zu positionieren. Das Dock391 kann einen mechanischen Haltemechanismus oder einen Magneten zum ablösbaren Halten der Parkleuchte305 umfassen. Die Docksteuereinheit392 ist konfiguriert, um den Betrieb der Ladeeinheit393 zu steuern und mit dem Lichtsteuergerät327 zu kommunizieren, wenn die Parkleuchte305 angedockt ist. Die Ladeeinheit393 umfasst einen elektrischen Verbinder (nicht dargestellt) zum Herstellen einer elektrischen Verbindung mit entsprechenden elektrischen Verbindern, die an der Parkleuchte305 vorgesehen sind, wenn die Parkleuchte305 in der Dockingstation390 angedockt ist. Die Docksteuereinheit392 umfasst eine Schnittstelle394 zur Kommunikation mit der Lichtsteuereinheit327, wenn die Parkleuchte305 angedockt ist. Die Schnittstelle394 kommuniziert auch mit dem Host-Fahrzeug (entweder dem Zugfahrzeug302 oder dem gezogenen Fahrzeug303), beispielsweise durch Verbindung zu einem Kommunikationsbus oder Netzwerk des Host-Fahrzeugs.As in 28 The parking assistance system can be shown 305 adocking station 390 for docking theparking light 305 include. Thedocking station 390 is provided in a host vehicle that is either the towingvehicle 302 or the towedvehicle 303 can be. Thedocking station 390 includes adock 391 for receiving the parking light, adock control unit 392 and aloading unit 393 for charging energy storage means, such as a battery (not shown), in theparking light 305 are provided. Thedock 391 is configured to theparking lot 305 in a predetermined position in thedocking station 390 to position. Thedock 391 Can be a mechanical holding mechanism or a magnet for releasably holding theparking light 305 include. Thedock controller 392 is configured to operate thecharging unit 393 to control and with thelight control unit 327 to communicate when theparking light 305 docked. Theloading unit 393 includes an electrical connector (not shown) for making electrical connection with corresponding electrical connectors attached to theparking lamp 305 are provided when theparking light 305 in thedocking station 390 docked. Thedock controller 392 includes aninterface 394 for communication with thelight control unit 327 when theparking light 305 docked. theinterface 394 also communicates with the host vehicle (either the towingvehicle 302 or the towed vehicle 303 ), for example by connection to a communication bus or network of the host vehicle.

Die Docksteuereinheit392 ist konfiguriert, um zu bestimmen, wann die Parkleuchte305 angedockt ist und wann die Parkleuchte305 abgedockt ist. Die Bestimmung kann beispielsweise in Abhängigkeit vom Status einer Kommunikationsverbindung zwischen der Schnittstelle394 und der Lichtsteuereinheit327 erfolgen. Wenn die Docksteuereinheit392 keine Verbindung mit der Lichtsteuereinheit327 herstellen kann, bestimmt die Docksteuereinheit392, dass die Parkleuchte305 abgedockt ist. Wenn das Docksteuergerät392 eine Verbindung mit dem Lichtsteuergerät327 herstellen kann, bestimmt das Docksteuergerät392, dass die Parkleuchte305 angedockt ist. Alternativ oder zusätzlich kann die Docksteuereinheit392 bestimmen, wann die Parkleuchte305 an- oder abgedockt wird, indem sie den Status der Ladeeinheit393 überwacht. So kann beispielsweise die Docksteuereinheit392 eine elektrische Last über die Ladeeinheit393 messen, um zu bestimmen, wann die Parkleuchte305 an- oder abgedockt ist.Thedock controller 392 is configured to determine when theparking light 305 is docked and when theparking light 305 is undocked. The determination can be made, for example, depending on the status of a communication connection between theinterface 394 and thelight control unit 327 respectively. When thedock controller 392 no connection with thelight control unit 327 determines thedock controller 392 that theparking light 305 is undocked. If the dock controller 392 a connection to thelight control unit 327 determines thedock controller 392 that theparking light 305 docked. Alternatively or additionally, thedock control unit 392 determine when theparking light 305 is docked or undocked by checking the status of theload unit 393 supervised. For example, theDock Controller 392 an electrical load via thecharging unit 393 measure to determine when theparking light 305 attached or undocked.

Die Docksteuereinheit392 ist konfiguriert, um eine Warnung zu erzeugen, wenn die Parkleuchte305 abgedockt ist und bestimmt wird, dass sich das Trägerfahrzeug bewegt. Die Docksteuereinheit392 kann beispielsweise mit dem Host-Fahrzeug kommunizieren, um eine Fahrzeugreferenzgeschwindigkeit oder einen Status der Feststellbremse zu bestimmen.Thedock controller 392 is configured to generate a warning when theparking lamp 305 is undocked and it is determined that the host vehicle is moving. Thedock controller 392 For example, with the host vehicle communicate to determine a vehicle reference speed or a parking brake status.

Wenn die Fahrzeugbezugsgeschwindigkeit einen vorgegebenen Schwellenwert überschreitet oder die Feststellbremse gelöst wird, während die Parkleuchte305 abgedockt ist, erzeugt die Docksteuereinheit392 einen Alarm. Alternativ oder zusätzlich kann die drahtlose Kommunikation zwischen der Docksteuereinheit392 und der Parkleuchte305 einen Trennungsabstand bestimmen. Wenn der Trennungsabstand einen vorgegebenen Schwellenwert überschreitet, kann die Docksteuereinheit392 einen Alarm auslösen. Die Warnung kann beispielsweise von der Docksteuereinheit392 an das Host-Fahrzeug ausgegeben und vom Fahrzeug-HMI ausgegeben werden. Somit kann einem Benutzer mitgeteilt werden, dass sich die Parkleuchte305 nicht im Trägerfahrzeug befindet.When the vehicle reference speed exceeds a predetermined threshold or the parking brake is released while theparking lamp 305 is undocked, generates theDock Controller 392 an alarm. Alternatively or additionally, the wireless communication between thedock controller 392 and theparking light 305 determine a separation distance. If the separation distance exceeds a predetermined threshold, the dock controller may 392 to trigger an alarm. For example, the warning may be from thedock controller 392 output to the host vehicle and output from the vehicle HMI. Thus, a user can be informed that theparking light 305 not located in the carrier vehicle.

In einer weiteren Variante kann die Dockingstation390 einen Verriegelungsmechanismus395 zum Einrasten der Parkleuchte305 aufweisen. Der Verriegelungsmechanismus395 kann ein Verriegelungselement zum Eingriff in eine zusammenwirkende Fläche an der Parkleuchte305 umfassen. Der Verriegelungsmechanismus395 kann betätigt werden, um das Entfernen der Parkleuchte305 zu verhindern. Der Verriegelungsmechanismus395 kann mit einem mechanischen Schlüssel entriegelt werden. Alternativ kann der Verriegelungsmechanismus395 mit einem digitalen Schlüssel gelöst werden, z. B. um eine elektromagnetische Verriegelung zu deaktivieren.In another variant, the docking station 390 alocking mechanism 395 for locking theparking light 305 respectively. Thelocking mechanism 395 may be a locking element for engagement in a cooperating surface on theparking lamp 305 include. Thelocking mechanism 395 Can be operated to remove theparking light 305 to prevent. Thelocking mechanism 395 can be unlocked with a mechanical key. Alternatively, thelocking mechanism 395 be solved with a digital key, eg. B. to disable an electromagnetic lock.

Es versteht sich, dass die Dockingstation390 während der Herstellung in das Host-Fahrzeug integriert werden kann. Alternativ kann die Dockingstation390 am Host-Fahrzeug nachgerüstet werden, z. B. durch Anschluss an eine Bordnetzspannung und optional auch an das Kommunikationsnetz oder den Bus.It is understood that thedocking station 390 can be integrated into the host vehicle during manufacture. Alternatively, thedocking station 390 be retrofitted to the host vehicle, z. B. by connection to a vehicle electrical system voltage and optionally also to the communication network or the bus.

Eine hierin beschriebene Variante des Einparkassistenzsystem301 mit Bezug auf die14 bis28 wird nun mit Bezug auf die29 beschrieben. Dieselben Bezugszahlen werden für dieselben Komponenten verwendet.A variant of the parking assistance system described herein 301 with reference to the 14 to 28 will now be related to the 29 described. The same reference numbers are used for the same components.

Das Einparkassistenzsystem301 verwendet Bildverarbeitungstechniken, um das gezogene Fahrzeug303 in den von der Lichtkamera368 erfassten Bilddaten zu identifizieren. Um eine robuste Identifizierung des gezogenen Fahrzeugs303 zu ermöglichen, kann mindestens ein Ziel388 am gezogenen Fahrzeug303 vorgesehen werden. Zumindest in bestimmten Ausführungsformen ist das mindestens ein Ziel388 mittels Bildverarbeitungstechniken identifizierbar. Das mindestens eine Ziel388 ist konfiguriert, um ein eindeutiges Muster zu erzeugen, das durch Analyse der von der Lichtkamera368 erfassten Bilddaten identifizierbar ist (zur Unterscheidung von möglichen Spiegelreflexionen), um die Bestimmung der Polar-Position des gezogenen Fahrzeugs303 in Bezug auf die Parkleuchte305 zu ermöglichen.Theparking assistance system 301 uses image processing techniques to the towedvehicle 303 in thelight camera 368 to identify captured image data. To get a robust identification of the towedvehicle 303 to allow at least onegoal 388 on the towedvehicle 303 be provided. At least in certain embodiments, this is at least onegoal 388 identifiable by means of image processing techniques. The at least onegoal 388 is configured to generate a unique pattern by analyzing thelight camera 368 captured image data is identifiable (to distinguish possible specular reflections) to the determination of the polar position of the towedvehicle 303 in relation to theparking light 305 to enable.

Mindestens ein Ziel388 kann beispielsweise auf einer nach hinten gerichteten (hinteren) Fläche des gezogenen Fahrzeugs303 vorgesehen sein. Alternativ oder zusätzlich kann ein Ziel auf einer oder beiden gegenüberliegenden Seiten des gezogenen Fahrzeugs303 vorgesehen sein. Die Konfiguration des mindestens einen Ziels388 kann auf verschiedenen Oberflächen des gezogenen Fahrzeugs303 unterschiedlich sein. So können beispielsweise die auf jeder Oberfläche des gezogenen Fahrzeugs303 vorgesehenen Ziele388 ein einzigartiges Muster aufweisen, um die Unterscheidung zwischen den Oberflächen zu erleichtern. Jedes Ziel388 kann beispielsweise ein reflektierendes Element umfassen. Mindestens ein Ziel388 kann jeweils eine reflektierende Linse oder ein reflektierendes Material umfassen, das geeignet ist, Licht in die Durchlassrichtung zurückzugeben. Eine Vielzahl von Zielen388 kann auf einem Substrat oder einer Rückseite angeordnet sein. Die Ziele388 können eine definierte räumliche Trennung und/oder einen Winkelabstand aufweisen, um die Identifizierung zu erleichtern. Die Ziele388 können optional farbig gestaltet werden, z. B. mit einer farbigen reflektierenden Linse.At least onegoal 388 For example, on a rearward (rear) surface of the towedvehicle 303 be provided. Alternatively or additionally, a destination may be on one or both opposite sides of the towedvehicle 303 be provided. The configuration of the at least onedestination 388 can on different surfaces of the towedvehicle 303 be different. For example, those on any surface of the towedvehicle 303 intendedobjectives 388 have a unique pattern to facilitate the distinction between the surfaces. Everygoal 388 may for example comprise a reflective element. At least onegoal 388 may each comprise a reflective lens or a reflective material capable of returning light in the forward direction. A variety ofgoals 388 can be arranged on a substrate or a back side. Thegoals 388 may have a defined spatial separation and / or an angular distance to facilitate identification. Thegoals 388 can be optionally colored, z. B. with a colored reflective lens.

In der in29 dargestellten Anordnung ist ein (1) Ziel388 auf einer hinteren Fläche des gezogenen Fahrzeugs303 vorgesehen. Das Ziel388 umfasst ein reflektierendes Element, das konfiguriert ist, um das von einer Lichtquelle emittierte Licht zu reflektieren, das in der Parkleuchte305 vorgesehen ist. Die Lichtquelle kann konfiguriert werden, um ein codiertes Lichtmuster zu übertragen, um die Identifizierung des Ziels388 zu erleichtern. Das kodierte Lichtmuster kann beispielsweise ein vorgegebenes Muster oder Signal umfassen, das in dem vom Ziel388 reflektierten Licht identifizierbar ist. Das von der Lichtkamera368 aufgenommene Bild kann analysiert werden, um ein Bildelement (oder eine Vielzahl von Bildelementen) zu identifizieren, das sich gemäß dem vorbestimmten kodierten Muster ändert. Das kodierte Muster kann Abtastzeiten umfassen, die einer bestimmten optischen Führungseinrichtung330 zugeordnet sind, und die Bildanalyse kann konfiguriert werden, um dieses Muster zu identifizieren. Eine Vielzahl von Zielen388 kann in einer bekannten Konfiguration (z. B. in einer bekannten geometrischen Konfiguration) bereitgestellt werden, um die Filterung der Bilddaten zu erleichtern, z. B. um Bildrauschen, das durch Lichtreflexion von anderen Oberflächen verursacht wird, zu reduzieren oder zu entfernen.In the in 29 The arrangement shown is one (1)target 388 on a rear surface of the towedvehicle 303 intended. Thegoal 388 comprises a reflective element configured to reflect the light emitted by a light source in theparking light 305 is provided. The light source can be configured to transmit a coded light pattern to identify thetarget 388 to facilitate. For example, the encoded light pattern may include a predetermined pattern or signal that is from thetarget 388 reflected light is identifiable. Thelight camera 368 The captured image may be analyzed to identify a picture element (or a plurality of picture elements) that changes in accordance with the predetermined coded pattern. The encoded pattern may include sampling times corresponding to a particularoptical guide device 330 and image analysis can be configured to identify this pattern. A variety ofgoals 388 can be provided in a known configuration (eg, in a known geometric configuration) to facilitate filtering of the image data, e.g. To reduce or remove image noise caused by light reflection from other surfaces.

Die Parkleuchte305 könnte mit einer speziellen Lichtquelle zur Übertragung von Licht zur Reflexion des/der Zielobjekte(s) 388 ausgestattet werden. In der vorliegenden Ausführungsform ist jedoch vorgesehen, dass das erste Projektionssystem328 konfiguriert ist, um einen Bereich zu scannen, in dem sich das gezogene Fahrzeug303 wahrscheinlich oder voraussichtlich befindet. Wie hierin beschrieben, kann das erste Projektionssystem328 eine Lichtquelle in Form eines Lasers umfassen. Das erste Projektionssystem328 kann beispielsweise konfiguriert werden, um das optische Leitmittel330 um die QuerachseY1 zu drehen, um den Lichtstrahl in einer vertikalen Ebene abzutasten, wie in29 dargestellt. Der vom ersten Projektionssystem328 ausgestrahlte Lichtstrahl kann als vertikaler Fächer quer abgetastet oder in einem Rastermuster abgetastet werden, um das Ziel388 zu lokalisieren. Mindestens ein Teil des Lichts, das vom ersten Projektionssystem328 ausgestrahlt wird, das auf das Ziel388 trifft, wird zurück zur Parkleuchte305 reflektiert. Das reflektierte Licht wird durch die Verarbeitung der von der Lichtkamera368 erzeugten Bilddaten erfasst und ermöglicht so die Identifizierung des Ziels388. Mit geeigneten Bildverarbeitungstechniken kann die Position und Ausrichtung des Ziels388 bestimmt werden. Sobald das Ziel388 lokalisiert ist, kann das optische Leitmittel330 gesteuert werden, um das Licht über einen reduzierten oder begrenzten Bereich im Bereich einer zuletzt bekannten Position abzutasten. Alternativ oder zusätzlich kann die ungefähre Position des Ziels388 mit der Lichtkamera368 bestimmt werden. Die ungefähre Position kann verwendet werden, um die Abtastung durch die optischen Leitmittel330 zu optimieren. Durch die Identifizierung des Ziels388 können die Bilddaten verarbeitet werden, um den Standort des gezogenen Fahrzeugs303 zu identifizieren. Die Ausrichtung des gezogenen Fahrzeugs303 kann durch Verfolgen seiner Bewegung bestimmt werden.Theparking light 305 could use a special light source for transmitting light to the Reflection of the / the target object (s) 388 be equipped. In the present embodiment, however, it is provided that thefirst projection system 328 is configured to scan an area in which the towedvehicle 303 likely or likely to be located. As described herein, thefirst projection system 328 comprise a light source in the form of a laser. Thefirst projection system 328 For example, it can be configured to use theoptical guide 330 around the transverse axis Y1 to turn to scan the light beam in a vertical plane, as in 29 shown. Thefirst projection system 328 emitted light beam can be scanned across as a vertical fan or scanned in a raster pattern to thetarget 388 to locate. At least part of the light coming from thefirst projection system 328 aired on thetarget 388 meets, gets back to theparking light 305 reflected. The reflected light is processed by thelight camera 368 generated image data and thus allows the identification of thetarget 388 , With appropriate image processing techniques, the position and orientation of thetarget 388 be determined. Once thegoal 388 is localized, the optical guide can 330 be controlled to scan the light over a reduced or limited area in the range of a last known position. Alternatively or additionally, the approximate position of thetarget 388 with thelight camera 368 be determined. The approximate position can be used to scan through theoptical guide 330 to optimize. By identifying thetarget 388 The image data can be processed to the location of the towedvehicle 303 to identify. The orientation of the towedvehicle 303 can be determined by following his movement.

Eine Vielzahl der Ziele388 kann in einem vordefinierten Muster angeordnet sein, beispielsweise mit einem vordefinierten Winkelabstand zwischen den Zielen388 und/oder einem vordefinierten räumlichen Abstand zwischen den Zielen388. Das vordefinierte Muster kann ein geometrisches Muster sein. Wenn die Ziele388 abgetastet werden, z. B. durch Abtasten des vom ersten Projektionssystem328 ausgesendeten Lasers, weisen die zurückgegebenen Impulse eine Zeittrennung auf, die von der Winkel- und/oder Raumtrennung der Ziele388 abhängig ist. Der Winkelabstand der Ziele388 und der Abstand zu den Zielen388 können mit Bezug auf die Winkelabtastgeschwindigkeit der optischen Leitmittel 330bestimmt werden. Dadurch kann die Polar-Position des gezogenen Fahrzeugs303 und der Abstand von der Leuchte305 zum gezogenen Fahrzeug303 bestimmt werden. Somit können das erste Projektionssystem328 und die Lichtkamera368 verwendet werden, um die relative Position und Ausrichtung des gezogenen Fahrzeugs303 zu bestimmen.A variety ofgoals 388 may be arranged in a predefined pattern, for example with a predefined angular distance between thetargets 388 and / or a predefined spatial distance between thetargets 388 , The predefined pattern may be a geometric pattern. If thegoals 388 be scanned, z. B. by scanning the from thefirst projection system 328 emitted laser, have the returned pulses on a time separation, by the angular and / or spatial separation of thetargets 388 is dependent. The angular distance of thetargets 388 and the distance to thegoals 388 may be determined with respect to the angular scanning speed of the optical guide means 330. This allows the polar position of the towedvehicle 303 and the distance from the light 305 to the towedvehicle 303 be determined. Thus, thefirst projection system 328 and thelight camera 368 used to determine the relative position and orientation of the towedvehicle 303 to determine.

Ein erster Satz, der eines oder mehrere der Ziele388 umfasst, kann auf einer ersten Oberfläche des gezogenen Fahrzeugs303 vorgesehen werden, beispielsweise auf der Rückseite des gezogenen Fahrzeugs303. Ein zweiter Satz, der eines oder mehrere der Ziele388 umfasst, kann auf einer zweiten Oberfläche des gezogenen Fahrzeugs303, beispielsweise an einer Seite des gezogenen Fahrzeugs303, vorgesehen werden. Der zweite Satz von Zielen388 kann orthogonal in Bezug auf den ersten Satz von Zielen388 ausgerichtet sein. Die Bereitstellung von ersten und zweiten Sätzen der Ziele388 kann dazu beitragen, Fehler bei der Bestimmung der Ausrichtung des gezogenen Fahrzeugs303 zu verringern. Alternativ können solche Orientierungsfehler auch durch die Analyse von Änderungen ihrer relativen Position in Abhängigkeit von der Trajektorie des gezogenen Fahrzeugs303 während der Fahrt identifiziert werden. Eine Korrektur kann angewendet werden, um identifizierte Orientierungsfehler zu korrigieren und die Ausrichtung des gezogenen Fahrzeugs303 zu bestimmen.A first sentence, one or more of thegoals 388 may include, on a first surface of the towedvehicle 303 be provided, for example, on the back of the towedvehicle 303 , A second sentence, one or more of thegoals 388 may include on a second surface of the towedvehicle 303 For example, on one side of the towedvehicle 303 be provided. The second set ofgoals 388 can be orthogonal with respect to the first set ofgoals 388 be aligned. The provision of first and second sets ofgoals 388 Can help to make mistakes in determining the orientation of the towedvehicle 303 to reduce. Alternatively, such orientation errors may also be due to the analysis of changes in their relative position as a function of the trajectory of the towedvehicle 303 be identified while driving. A correction may be applied to correct identified orientation errors and the orientation of the towedvehicle 303 to determine.

Ein Ziel388 kann optional auf das gezogene Fahrzeug303 angewendet werden, um besondere Merkmale zu identifizieren, zum Beispiel die Tür384; und/oder den elektrischen Verbinder385.Atarget 388 can be optional on the towedvehicle 303 be used to identify special features, such as thedoor 384 ; and / or theelectrical connector 385 ,

Das Konzept der Anwendung mindestens eines Ziels388 auf das gezogene Fahrzeug303 kann in den anderen hierin beschriebenen Ausführungsformen verwendet werden. So kann beispielsweise mindestens ein Ziel388 auf dem entfernten Fahrzeug250 vorgesehen werden, um dessen Identifizierung zu erleichtern. Alternativ oder zusätzlich kann die Parkleuchte305 mit mindestens einem Ziel388 versehen sein, um dessen Identifizierung zu erleichtern. Anstatt ein separates Ziel388 anzuwenden, kann das Konzept bestehende Reflektoren verwenden, die am Zugfahrzeug302, am gezogenen Fahrzeug303 oder am entfernten Fahrzeug305 vorgesehen sind. So können beispielsweise die hierin beschriebenen Techniken versuchen, Licht zu identifizieren, das von einem Reflektor reflektiert wird, der einer Lampe zugeordnet ist, oder Licht, das am Fahrzeug bereitgestellt wird. Die Technik kann beispielsweise darauf abzielen, das von einem oder mehreren der folgenden Sets reflektierte Licht zu identifizieren: ein Rückfahrlicht, ein Rücklicht, ein Seitenlicht, ein Blinker und eine Scheinwerferlampe. Die unterschiedliche Farbe des von den verschiedenen Reflektoren reflektierten Lichts kann verwendet werden, um die Position und/oder Ausrichtung des Fahrzeugs zu verfeinern.The concept of applying at least onegoal 388 on the towedvehicle 303 may be used in the other embodiments described herein. For example, at least onedestination 388 on theremote vehicle 250 provided to facilitate its identification. Alternatively or additionally, theparking light 305 with at least onegoal 388 be provided to facilitate its identification. Instead of aseparate goal 388 The concept can use existing reflectors on the towingvehicle 302 , on the towedvehicle 303 or at theremote vehicle 305 are provided. For example, the techniques described herein may attempt to identify light reflected from a reflector associated with a lamp or light provided at the vehicle. For example, the technique may be to identify the light reflected from one or more of the following sets: a reverse light, a tail light, a side light, a turn signal, and a headlight bulb. The different color of light reflected from the various reflectors may be used to refine the position and / or orientation of the vehicle.

Es ist darauf hinzuweisen, dass verschiedene Änderungen an der/den in dieser Schrift beschriebenen Ausführungsform(en) vorgenommen werden können, ohne vom Umfang der beigefügten Ansprüche abzuweichen.It should be understood that various changes can be made in the embodiment (s) described herein without departing from the scope of the appended claims.

Die Einparkassistenzsteuerung104 wurde mit Bezug auf die Identifizierung des Parkortindikators126 durch Analyse der Bilddaten von Bordkamera(s) beschrieben. Es versteht sich, dass andere Techniken verwendet werden können, um die Position der Parkleuchte105 zu bestimmen. So könnte beispielsweise die Signaltriangulation verwendet werden, um die Position der Parkleuchte105 zu bestimmen. Das Zugfahrzeug102 und/oder das gezogene Fahrzeug103 können jeweils einen oder mehrere Sender-Empfänger zur Kommunikation mit der Parkleuchte105 umfassen. Durch Messen der Laufzeit für die Kommunikation mit der Parkleuchte105 kann die Einparkassistenzsteuerung104 den Standort der Parkleuchte105 bestimmen. Ein Benutzer kann eine oder mehrere der Parkleuchten105 verwenden, um eine Zielposition zu markieren. Die Parkleuchte105 kann das hierin beschriebene optische System funktionsfähig steuern, um eine sichtbare Darstellung der Zielposition zu ermöglichen.Theparking assistant control 104 was related to the identification of theparking place indicator 126 by analyzing the image data from on-board camera (s) described. It is understood that other techniques can be used to adjust the position of theparking light 105 to determine. For example, the signal triangulation could be used to determine the position of theparking light 105 to determine. The towingvehicle 102 and / or the towed vehicle 103 can each have one or more transceivers for communication with theparking light 105 include. By measuring the transit time for communication with theparking light 105 can theparking assistant control 104 the location of theparking light 105 determine. A user can use one or more of theparking lights 105 use to mark a target position. Theparking light 105 may operatively control the optical system described herein to provide a visual representation of the target position.

Die Parkleuchte105 kann konfiguriert werden, um den ZielpfadR auf den Boden zu projizieren. So kann beispielsweise die Einparkassistenzsteuerung104 den ZielpfadR an die Parkleuchte105 übertragen. Die Parkleuchte105 kann den ZielpfadR auf den Boden projizieren, damit der Benutzer die vorgeschlagene Route visualisieren und optional auch die Route bestätigen kann. Die Lichtquelle29 und der Spiegel30 können gesteuert werden, um den ZielpfadR anzuzeigen. Durch die visuelle Projektion des Zielpfades R auf den Boden kann der Benutzer Aspekte wie Bodenbeschaffenheit und/oder Neigung berücksichtigen, die bei der Betrachtung einer Videobildausgabe auf einem Bildschirm weniger auffällig sein können.Theparking light 105 can be configured to the destination path R to project onto the ground. For example, theparking assistant control 104 the destination path R to theparking light 105 transfer. Theparking light 105 can be the destination path R project onto the ground so that the user can visualize the suggested route and optionally confirm the route. Thelight source 29 and themirror 30 can be controlled to the destination path R display. By visually projecting the target path R on the ground, the user may consider aspects such as floor conditions and / or inclination that may be less noticeable when viewing video image output on a screen.

Die hierin beschriebenen Systeme und Verfahren können in Verbindung mit einer Vielzahl der Parkleuchten verwendet werden. So können beispielsweise die Parkleuchten so angeordnet werden, dass sie eine im Wesentlichen durchgehende Kette entlang der Zielroute bilden.The systems and methods described herein may be used in conjunction with a variety of parking lights. For example, the parking lights may be arranged to form a substantially continuous chain along the target route.

Claims (11)

Translated fromGerman
Erweitertes Bildgebungssystem zum Anzeigen einer Zielposition (PTAR) eines Fahrzeugs, wobei das erweiterte Bildgebungssystem einen Prozessor (34, 134, 234) umfasst, der konfiguriert ist um:eine Zielposition für das Fahrzeug zu bestimmen;Bilddaten von einem oder mehreren Bildsensoren zu empfangen, wobei die Bilddaten ein Bild (40, 340) einschließlich der Zielposition umfassen;einen Zielpositionsindikator (39, 339) zum Darstellen der Zielposition zu erzeugen; undden Zielpositionsindikator auf dem Bild zu überlagern, um ein erweitertes Bild zu erzeugen, das die Zielposition des Fahrzeugs darstellt.An enhanced imaging system for displaying a target position (PTAR ) of a vehicle, the enhanced imaging system comprising a processor (34, 134, 234) configured to: determine a target position for the vehicle; Receiving image data from one or more image sensors, the image data including an image (40, 340) including the target position; generate a target position indicator (39, 339) for displaying the target position; and superimpose the target position indicator on the image to produce an expanded image representing the target position of the vehicle.Erweitertes Bildgebungssystem nachAnspruch 1, wobei der Prozessor (34, 134, 234) konfiguriert ist, um eine Benutzereingabe zu empfangen, um die Position und/oder Orientierung des Zielpositionsindikators (39, 339) innerhalb des erweiterten Bildes zu empfangen.Advanced imaging system after Claim 1 wherein the processor (34, 134, 234) is configured to receive a user input to receive the position and / or orientation of the target position indicator (39, 339) within the extended image.Erweitertes Bildgebungssystem nachAnspruch 1 oder2, wobei der Prozessor (34, 134, 234) konfiguriert ist zum Bestimmen einer Zielroute für das Fahrzeug von einer aktuellen Position zu der Zielposition (PTAR); Erzeugen eines Zielroutenindikators in Abhängigkeit von der Zielroute; und Überlagern des Zielroutenindikators (386) mit dem Bild, so dass das vergrößerte Bild die Zielroute des Fahrzeugs darstellt.Advanced imaging system after Claim 1 or 2 wherein the processor (34, 134, 234) is configured to determine a destination route for the vehicle from a current position to the target position (PTAR ); Generating a destination route indicator in response to the destination route; and overlaying the target route indicator (386) with the image so that the enlarged image represents the target route of the vehicle.Ein Routen-Bildgebungssystem nachAnspruch 3, wobei der Zielroutenanzeiger (386) eine oder mehrere Weglinien umfasst, die die Zielroute des Fahrzeugs repräsentieren, wobei optional die eine oder die mehreren Weglinien eines oder mehrere der folgenden repräsentieren: ein erster Weg eines ersten Rades; ein zweiter Weg eines zweiten Rades; und einen Mittelweg einer Mittellinie des Fahrzeugs.A route imaging system according to Claim 3 wherein the destination route indicator (386) comprises one or more route lines representing the destination route of the vehicle, optionally with the one or more route lines representing one or more of: a first path of a first wheel; a second path of a second wheel; and a middle path of a centerline of the vehicle.Ein erweitertes Bildgebungssystem nachAnspruch 3 oderAnspruch 4, bei dem der Prozessor (34, 134, 234) konfiguriert ist, um die Zielroute in Abhängigkeit von einer Benutzereingabe zu modifizieren.An advanced imaging system Claim 3 or Claim 4 wherein the processor (34, 134, 234) is configured to modify the destination route in response to a user input.Ein erweitertes Bildgebungssystem nach einem derAnsprüche 3 bis5, wobei der Prozessor (34, 134, 234) konfiguriert ist, um die aktuelle Position des Fahrzeugs durch Verarbeiten der Bilddaten zum Identifizieren des Fahrzeugs zu bestimmen, und/oder in Abhängigkeit von einer Benutzereingabe.An advanced imaging system according to one of Claims 3 to 5 wherein the processor (34, 134, 234) is configured to determine the current position of the vehicle by processing the image data to identify the vehicle, and / or in response to a user input.Ein erweitertes Bildgebungssystem, wie es in einem der vorhergehenden Ansprüche beansprucht wird, umfassend einen Empfänger zum Empfangen der Bilddaten von einem oder mehreren Bildsensoren und/oder einen Sender zum Übertragen von erweiterten Bilddaten, um das erweiterte Bild auf einer Fernanzeigevorrichtung anzuzeigen.An enhanced imaging system as claimed in any preceding claim comprising a receiver for receiving the image data from one or more image sensors and / or a transmitter for transmitting enhanced image data to display the enhanced image on a remote display device.Ein erweitertes Bildgebungssystem, wie es in einem der vorhergehenden Ansprüche beansprucht wird, wobei das Fahrzeug ein gezogenes Fahrzeug (3, 303) oder ein Host-Fahrzeug (102, 202) ist.An enhanced imaging system as claimed in any one of the preceding claims, wherein the vehicle is a towed vehicle (3, 303) or a host vehicle (102, 202).Eine Parkleuchte (5, 105, 205, 305), umfassend ein erweitertes Bildgebungssystem nach einem der vorhergehenden Ansprüche.A parking lamp (5, 105, 205, 305) comprising an enhanced imaging system according to any one of the preceding claims.Ein Host-Fahrzeug (102, 202), umfassend ein System nach einem derAnsprüche 1 bis7.A host vehicle (102, 202) comprising a system according to any one of Claims 1 to 7 ,Verfahren zum Erzeugen eines erweiterten Bildes zum Anzeigen einer Zielposition (PTAR) eines Fahrzeugs, wobei das Verfahren umfasst:Bestimmen einer Zielposition des Fahrzeugs;Empfangen von Bilddaten, die ein Bild (40, 340) mit der Zielposition umfassen;Erzeugen eines Zielpositionsindikators 39, 339) zum Darstellen der Zielposition; undÜberlagern des Zielpositionsindikators mit dem Bild, um ein erweitertes Bild zu erzeugen, das die Zielposition des Fahrzeugs darstellt. A method of generating an enhanced image for displaying a target position (PTAR ) of a vehicle, the method comprising: determining a target position of the vehicle; Receiving image data including an image (40, 340) having the target position; Generating a target position indicator 39, 339) for displaying the target position; and overlaying the target position indicator with the image to produce an expanded image representing the target position of the vehicle.
DE102018220279.6A2017-11-282018-11-26 IMAGING APPARATUS AND METHODPendingDE102018220279A1 (en)

Applications Claiming Priority (2)

Application NumberPriority DateFiling DateTitle
GB1719705.42017-11-28
GB1719705.4AGB2568749B (en)2017-11-282017-11-28Imaging apparatus and method

Publications (1)

Publication NumberPublication Date
DE102018220279A1true DE102018220279A1 (en)2019-05-29

Family

ID=60950685

Family Applications (1)

Application NumberTitlePriority DateFiling Date
DE102018220279.6APendingDE102018220279A1 (en)2017-11-282018-11-26 IMAGING APPARATUS AND METHOD

Country Status (3)

CountryLink
US (1)US20190162545A1 (en)
DE (1)DE102018220279A1 (en)
GB (1)GB2568749B (en)

Cited By (5)

* Cited by examiner, † Cited by third party
Publication numberPriority datePublication dateAssigneeTitle
JP2021004015A (en)*2019-06-272021-01-14パナソニックIpマネジメント株式会社Vehicle and parking assistance apparatus
WO2021238748A1 (en)*2020-05-262021-12-02三一专用汽车有限责任公司Engineering vehicle autonomous parking system and autonomous parking method suitable for construction area
US11643069B2 (en)2019-06-272023-05-09Panasonic Intellectual Property Management Co., Ltd.Vehicle and parking assistance apparatus
WO2023094144A1 (en)*2021-11-252023-06-01Zf Cv Systems Global GmbhDriver assistance system for a utility vehicle with a trailer, and method for controlling a system of this kind
US11845381B2 (en)2018-11-132023-12-19Rivian Ip Holdings, LlcSystems and methods for controlling a vehicle camera

Families Citing this family (4)

* Cited by examiner, † Cited by third party
Publication numberPriority datePublication dateAssigneeTitle
US9446713B2 (en)*2012-09-262016-09-20Magna Electronics Inc.Trailer angle detection system
US10625782B2 (en)*2017-10-032020-04-21Aisin Seiki Kabushiki KaishaSurroundings monitoring apparatus
US12122290B2 (en)*2020-12-032024-10-22Jaguar Land Rover LimitedApparatus and methods for parking assistance
JP2024167770A (en)*2023-05-222024-12-04アルプスアルパイン株式会社 Rear view display system

Family Cites Families (7)

* Cited by examiner, † Cited by third party
Publication numberPriority datePublication dateAssigneeTitle
JP2003072495A (en)*2001-09-062003-03-12Yazaki Corp Parking assistance device and parking assistance method
JP4899826B2 (en)*2006-11-282012-03-21アイシン・エィ・ダブリュ株式会社 Parking support method and parking support device
JP5636609B2 (en)*2008-05-082014-12-10アイシン精機株式会社 Vehicle periphery display device
US8831831B2 (en)*2011-12-202014-09-09Continental Automotive Systems, Inc.Trailer backing aid using GPS mapping and camera image display
DE102016205285A1 (en)*2016-03-312017-10-05Ford Global Technologies, Llc Remote control device for remote control of a motor vehicle
WO2018017094A1 (en)*2016-07-212018-01-25Ford Global Technologies, LlcAssisted self parking
JP6743593B2 (en)*2016-08-312020-08-19アイシン精機株式会社 Parking assistance device

Cited By (5)

* Cited by examiner, † Cited by third party
Publication numberPriority datePublication dateAssigneeTitle
US11845381B2 (en)2018-11-132023-12-19Rivian Ip Holdings, LlcSystems and methods for controlling a vehicle camera
JP2021004015A (en)*2019-06-272021-01-14パナソニックIpマネジメント株式会社Vehicle and parking assistance apparatus
US11643069B2 (en)2019-06-272023-05-09Panasonic Intellectual Property Management Co., Ltd.Vehicle and parking assistance apparatus
WO2021238748A1 (en)*2020-05-262021-12-02三一专用汽车有限责任公司Engineering vehicle autonomous parking system and autonomous parking method suitable for construction area
WO2023094144A1 (en)*2021-11-252023-06-01Zf Cv Systems Global GmbhDriver assistance system for a utility vehicle with a trailer, and method for controlling a system of this kind

Also Published As

Publication numberPublication date
GB201719705D0 (en)2018-01-10
GB2568749A (en)2019-05-29
US20190162545A1 (en)2019-05-30
GB2568749B (en)2020-09-02

Similar Documents

PublicationPublication DateTitle
DE102018220325A1 (en) projection device
DE102018220296A1 (en) Vehicle control unit and method
DE102018220298A1 (en) Parking assistance procedure and device
DE102018220297A1 (en) Parking assistance procedure and device
DE102018220279A1 (en) IMAGING APPARATUS AND METHOD
DE102018220257A1 (en) DOCKING STATION
DE102018220282A1 (en) VEHICLE PARK UNIT
DE60223095T2 (en) Device for image synthesis
DE102021106153A1 (en) SYSTEM AND PROCEDURE FOR AUTOMATED REMOTE VEHICLE ALIGNMENT WITH A TRAILER FOR COUPLING
DE102006035929B4 (en) Method for sensor-assisted driving under an object or for entering an object with a utility vehicle
DE102017111530A1 (en) Systems and methods for a towing vehicle and a trailer with all-round imaging devices
DE102019124152A1 (en) CLUTCH SUPPORT SYSTEM
DE102014114078A9 (en) Intelligent towing
DE102013217623A1 (en) Einparkassistentensystem
DE102017128294A1 (en) Vehicle Environment Imaging Systems and Methods
DE102017005040A1 (en) A display apparatus for a vehicle, a method of forming a virtual image, and a computer program product
DE112020001106T5 (en) Aligning road information for navigation
DE102015202435A1 (en) Vehicle control system for aligning an inductive charging connection
EP3401166A1 (en)Mirror replacement system as camera display system of a motor vehicle, in particular a commercial vehicle
DE102015102889A1 (en) Trailer lane departure warning system
DE102020121899A1 (en) SYSTEM FOR ALIGNING A LOCATION IDENTIFICATION OF A VEHICLE COUPLING WITH A TRAILER HITCH
WO2006042665A1 (en)Method for determining shaft and trailer angles
WO2019105665A1 (en)Parking assist method and apparatus
DE102008013457A1 (en) Fahrzeugmanövrierhilfen
DE102017100004A1 (en) Method for providing at least one information from a surrounding area of a motor vehicle, display system for a motor vehicle, driver assistance system for a motor vehicle and motor vehicle

Legal Events

DateCodeTitleDescription
R082Change of representative

Representative=s name:BARDEHLE PAGENBERG PARTNERSCHAFT MBB PATENTANW, DE

R163Identified publications notified

[8]ページ先頭

©2009-2025 Movatter.jp