


Die Erfindung betrifft einen zur Verwendung in einer Hinterachslenkung eines Kraftfahrzeugs vorgesehenen Fahrwerksaktuator nach dem Oberbegriff des Anspruchs 1.The invention relates to a chassis actuator provided for use in a rear axle steering system of a motor vehicle according to the preamble of
Ein derartiger Fahrwerksaktuator ist aus der
Weitere Vorrichtungen zum Lenken einer Hinterachse eines Kraftfahrzeugs sind beispielsweise aus den Dokumenten
Im Allgemeinen bietet eine Hinterachslenkung die Möglichkeit, die Hinterräder eines Fahrzeugs entweder gleichsinnig mit den Vorderrädern oder gegensinnig zu den Vorderrädern einzuschlagen. Mit einem gegensinnigen Einschlag von Vorder- und Hinterrädern wird der Wendekreis des Fahrzeugs verkleinert. Ein gleichsinniger Einschlag von Vorder- und Hinterrädern bietet dagegen Vorteile beim Spurwechsel bei hohen Geschwindigkeiten.In general, rear-axle steering offers the possibility of turning the rear wheels of a vehicle either in the same direction as the front wheels or in the opposite direction to the front wheels. The turning circle of the vehicle is reduced by turning the front and rear wheels in opposite directions. In contrast, turning the front and rear wheels in the same direction offers advantages when changing lanes at high speeds.
Aus der
Der Erfindung liegt die Aufgabe zugrunde, einen Fahrwerksaktuator für eine Hinterachslenkung eines Kraftfahrzeugs gegenüber dem genannten Stand der Technik unter messtechnischen Aspekten weiterzuentwickeln.The invention has for its object to develop a chassis actuator for a rear axle steering of a motor vehicle compared to the prior art mentioned under measurement aspects.
Diese Aufgabe wird erfindungsgemäß gelöst durch einen Fahrwerksaktuator mit den Merkmalen des Anspruchs 1. Der Fahrwerksaktuator umfasst in an sich bekannter Grundkonzeption eine Getriebeanordnung, welche ein Rotativ-Rotativ-Getriebe sowie ein diesem nachgeschaltetes, zur Umsetzung einer Rotation in eine Linearbewegung vorgesehenes zweites Getriebe aufweist, wobei eine Sensoranordnung zur Detektion der Einstellung der Getriebeanordnung vorgesehen ist, welche zwei räumlich voneinander getrennte, unabhängig voneinander funktionsfähige Sensoren umfasst.This object is achieved according to the invention by a chassis actuator having the features of
Erfindungsgemäß sind die beiden Sensoren, bei welchen es sich um ortsauflösende Sensoren handelt, an ein und demselben ausgangsseitigen, linear verschiebbaren Element der Getriebeanordnung angeordnet.According to the invention, the two sensors, which are position-resolving sensors, are arranged on one and the same output-side, linearly displaceable element of the transmission arrangement.
Im Stand der Technik, wie er durch die
Die Messbereiche, das heißt Längenintervalle, in welchen die beiden Sensoren ein Signal liefern, unterscheiden sich voneinander. Jedes der genannten Längenintervalle stellt einen Teilbereich des gesamten möglichen Verschiebebereichs des ausgangsseitigen Elementes der mehrstufigen Getriebeanordnung dar. Hierbei können die Messbereiche der beiden Sensoren entweder überlappungsfrei oder mit Überlappung hintereinander - in geometrischem Sinne - geschaltet sein.The measuring ranges, i.e. length intervals in which the two sensors deliver a signal, differ from one another. Each of the above-mentioned length intervals represents a sub-range of the total possible displacement range of the output-side element of the multi-stage gear arrangement. The measuring ranges of the two sensors can be connected either in a non-overlapping manner or with an overlap - in a geometric sense.
In jedem Fall ist durch die Sensoranordnung insgesamt ein Verschiebebereich des abtriebsseitigen Elements der Getriebeanordnung messtechnisch erfassbar, welcher über den typischerweise in mm angegebenen Messbereich eines jeden einzelnen Sensors hinausgeht. Dies hat zum einen den Vorteil, dass relativ kompakte Sensoren für einen vergleichsweise weiten Verschiebebereich des ausgangsseitigen, verschiebbaren Elements der Getriebeanordnung nutzbar sind. Überraschenderweise hat sich darüber hinaus gezeigt, dass durch die sequentielle Nutzung hintereinander geschalteter kleinerer Wegsensoren Vorteile hinsichtlich der geometrischen Präzision im Vergleich zu Messanordnungen mit lediglich einem einzigen, größer dimensionierten Sensor erzielbar sind.In any case, the sensor arrangement as a whole can be used to measure a displacement range of the output-side element of the transmission arrangement which exceeds the measuring range of each individual sensor, which is typically specified in mm. On the one hand, this has the advantage that relatively compact sensors can be used for a comparatively wide displacement range of the displaceable element of the transmission arrangement on the output side. Surprisingly, it has also been shown that the sequential use of smaller displacement sensors connected in series allows advantages in terms of geometric precision compared to measurement arrangements with only a single, larger sensor.
Optional umfasst die Sensoranordnung zusätzlich zu den beiden am ausgangsseitigen, verschiebbaren Element angeordneten Sensoren weitere ausgangsseitige ortsauflösende Sensoren. Die ausgangsseitige, bezogen auf die gesamte Getriebeanordnung, Platzierung der Sensoren hat den Vorteil, dass sich die Funktionsweise einzelner Getriebestufen in keiner Weise auf die Aussagekraft der von den Sensoren gelieferten Signale auswirkt. Insbesondere hat eventueller Getriebeschlupf, wie er zum Beispiel bei Planetenwälzgetrieben auftreten kann, keine Auswirkung auf die Genauigkeit der Sensoranordnung.In addition to the two sensors arranged on the output-side, displaceable element, the sensor arrangement optionally includes further output-side location-resolving sensors. The placement of the sensors on the output side, based on the overall gear arrangement, has the advantage that the functioning of individual gear stages has no effect on the meaningfulness of the signals supplied by the sensors. In particular, possible gear slip, as can occur, for example, in planetary roller drives, has no effect on the accuracy of the sensor arrangement.
Jeder der ortsauflösenden Sensoren umfasst ein bewegliches, starr mit dem ausgangsseitigen Element der Getriebeanordnung verbundenes Sensorelement und ein zugeordnetes unbewegliches, gehäusefestes Sensorelement. Somit umfasst die aus mindestens zwei Sensoren gebildete Sensoranordnung insgesamt mindestens vier Sensorelemente. Ist das zweite Getriebe, das heißt das zur Umsetzung einer Rotation in eine Linearbewegung vorgesehene Getriebe, als Spindeltrieb, beispielsweise Kugelgewindetrieb, gestaltet, so ist typischerweise die Spindel, das heißt Gewindespindel, des Spindeltriebs als verschiebbares Element vorgesehen. In diesem Fall sind sämtliche Sensoren der Sensoranordnung an der Gewindespindel oder einem mit der Gewindespindel fest verbundenen Teil angeordnet. Dies bedeutet, dass ein bewegliches Sensorelement eines jeden Sensors mit der Gewindespindel und ein unbewegliches Sensorelement eines jeden Sensors mit einem Gehäuse verbunden ist. Each of the spatially resolving sensors comprises a movable sensor element rigidly connected to the output-side element of the gear arrangement and an associated immovable sensor element fixed to the housing. The sensor arrangement formed from at least two sensors thus comprises a total of at least four sensor elements. If the second gear, that is to say the gear provided for converting a rotation into a linear movement, is designed as a spindle drive, for example a ball screw drive, then the spindle, that is to say the threaded spindle, of the spindle drive is typically provided as a displaceable element. In this case, all sensors of the sensor arrangement are arranged on the threaded spindle or on a part which is firmly connected to the threaded spindle. This means that a movable sensor element of each sensor is connected to the threaded spindle and an immobile sensor element of each sensor is connected to a housing.
Ortsauflösende Sensoren umfassen allgemein eine Maßverkörperung und ein Sensorelement, welches die Maßverkörperung entweder berührungsfrei oder berührend, das heißt taktil, abtastet. Das abtastende Element kann sich entweder an einem beweglichen oder an einem nicht beweglichen Maschinenelement befinden. Dies ist auch bei der Sensoranordnung des Fahrwerksaktuators der Fall. Gemäß einer möglichen Ausgestaltung weist jedes unbewegliche Sensorelement eine in Verschieberichtung der Gewindespindel gemessene Breite auf, welche größer als die maximale Ausdehnung des zugehörigen beweglichen Sensorelementes ist. Beispielsweise ist die in der genannten Richtung gemessene Breite eines unbeweglichen Sensorelementes mindestens doppelt so groß wie die in der gleichen Richtung gemessene Breite des zugehörigen verschiebbaren Sensorelementes.Spatially resolving sensors generally comprise a material measure and a sensor element, which scans the material measure either in a non-contact or in a touching manner, that is to say in a tactile manner. The scanning element can be located either on a movable or on a non-movable machine element. This is also the case with the sensor arrangement of the chassis actuator. According to a possible embodiment, each immobile sensor element has a width, measured in the direction of displacement of the threaded spindle, which is greater than the maximum extent of the associated movable sensor element. For example, the width of an immobile sensor element measured in the direction mentioned is at least twice as large as the width of the associated displaceable sensor element measured in the same direction.
Gemäß einer möglichen Weiterbildung sind die unbeweglichen, gehäusefesten Sensorelemente der Sensoranordnung auf einem gemeinsamen Sensorträger, welcher in das Gehäuse des Fahrwerksaktuators eingebaut ist, angeordnet. Hierbei können die beiden unbeweglichen Sensorelemente über eine gemeinsame Leitung an ein Steuergerät des Fahrwerksaktuators angeschlossen sein.According to a possible development, the immovable, housing-fixed sensor elements of the sensor arrangement are arranged on a common sensor carrier, which is built into the housing of the chassis actuator. The two immobile sensor elements can be connected to a control unit of the chassis actuator via a common line.
Die Funktionsweise der Sensoren kann prinzipiell auf jedem bekanntem Funktionsprinzip beruhen. Vorzugsweise handelt es sich bei den Sensoren des Fahrwerksaktuators um magnetische Sensoren. Ebenso sind zum Beispiel optische Sensoren für die Verwendung in dem Fahrwerksaktuator geeignet.The functioning of the sensors can in principle be based on any known functional principle. The sensors of the chassis actuator are preferably magnetic sensors. Optical sensors are also suitable for use in the chassis actuator, for example.
Nachfolgend werden zwei Ausführungsbeispiele der Erfindung anhand einer Zeichnung näher erläutert. Hierin zeigen:
Die folgenden Erläuterungen beziehen sich, soweit nicht anders angegeben, auf beide Ausführungsbeispiele. Einander entsprechende oder prinzipiell gleichwirkende Teile sind in allen Figuren mit den gleichen Bezugszeichen gekennzeichnet. Entsprechendes gilt für die Kennzeichnung von Abmessungen in den einzelnen Darstellungen.Unless otherwise stated, the following explanations relate to both exemplary embodiments. Corresponding or basically equivalent parts are identified in all figures with the same reference numerals. The same applies to the marking of dimensions in the individual representations.
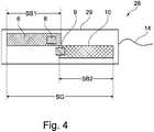
Eine insgesamt mit dem Bezugszeichen
Die gesamte zweistufige Getriebeanordnung
Die Motorwelle
Der mittige, mit der Spindelmutter
Zur Erfassung der Position der Spindel
In den Ausführungsbeispielen sind durch die unbeweglichen Sensorelemente
Im Fall von
Beiden Ausführungsbeispielen gemeinsam ist, dass die beiden beweglichen Sensorelemente
In den
BezugszeichenlisteReference list
ZITATE ENTHALTEN IN DER BESCHREIBUNG QUOTES INCLUDE IN THE DESCRIPTION
Diese Liste der vom Anmelder aufgeführten Dokumente wurde automatisiert erzeugt und ist ausschließlich zur besseren Information des Lesers aufgenommen. Die Liste ist nicht Bestandteil der deutschen Patent- bzw. Gebrauchsmusteranmeldung. Das DPMA übernimmt keinerlei Haftung für etwaige Fehler oder Auslassungen.This list of documents listed by the applicant has been generated automatically and is only included for the better information of the reader. The list is not part of the German patent or utility model application. The DPMA assumes no liability for any errors or omissions.
Zitierte PatentliteraturPatent literature cited
| Application Number | Priority Date | Filing Date | Title | 
|---|---|---|---|
| DE102018129119.1ADE102018129119A1 (en) | 2018-11-20 | 2018-11-20 | Suspension actuator for a rear axle steering | 
| Application Number | Priority Date | Filing Date | Title | 
|---|---|---|---|
| DE102018129119.1ADE102018129119A1 (en) | 2018-11-20 | 2018-11-20 | Suspension actuator for a rear axle steering | 
| Publication Number | Publication Date | 
|---|---|
| DE102018129119A1true DE102018129119A1 (en) | 2020-04-02 | 
| Application Number | Title | Priority Date | Filing Date | 
|---|---|---|---|
| DE102018129119.1ACeasedDE102018129119A1 (en) | 2018-11-20 | 2018-11-20 | Suspension actuator for a rear axle steering | 
| Country | Link | 
|---|---|
| DE (1) | DE102018129119A1 (en) | 
| Publication number | Priority date | Publication date | Assignee | Title | 
|---|---|---|---|---|
| DE102020131767A1 (en) | 2020-12-01 | 2022-06-02 | Schaeffler Technologies AG & Co. KG | Steering gear, in particular for steer-by-wire steering of a vehicle and motor vehicle | 
| DE102021132621A1 (en) | 2021-12-10 | 2022-10-13 | Schaeffler Technologies AG & Co. KG | Sensor assembly, steering actuator and method of operating a sensor assembly | 
| DE102021111644A1 (en) | 2021-05-05 | 2022-11-10 | Schaeffler Technologies AG & Co. KG | Steering actuator and method for processing sensor signals | 
| CN116018300A (en)* | 2020-09-29 | 2023-04-25 | 舍弗勒技术股份两合公司 | Actuator for a steering system of a motor vehicle | 
| DE102021132392A1 (en) | 2021-12-09 | 2023-06-15 | Schaeffler Technologies AG & Co. KG | Method for calibrating a steering of a vehicle using a sensor arrangement; sensor arrangement; Steering; vehicle | 
| DE102023109266A1 (en) | 2023-04-13 | 2024-10-17 | Schaeffler Technologies AG & Co. KG | Steering actuator and method for operating a rear-axle steering system | 
| WO2024217614A1 (en) | 2023-04-18 | 2024-10-24 | Schaeffler Technologies AG & Co. KG | Steering actuator and method for operating a rear axle steering system | 
| WO2025016498A1 (en) | 2023-07-19 | 2025-01-23 | Schaeffler Technologies AG & Co. KG | Steering actuator and method for operating a rear axle steering system | 
| DE102023127402A1 (en)* | 2023-10-09 | 2025-04-10 | Schaeffler Technologies AG & Co. KG | Steering actuator and method for operating a rear-axle steering system | 
| DE102023127405A1 (en)* | 2023-10-09 | 2025-04-10 | Schaeffler Technologies AG & Co. KG | Steering actuator and method for adapting a sensor system of a steering actuator | 
| DE102023135178A1 (en)* | 2023-12-14 | 2025-06-18 | Schaeffler Technologies AG & Co. KG | Planetary roller gear, steering actuator and rear axle steering | 
| DE102023135203A1 (en)* | 2023-12-14 | 2025-06-18 | Schaeffler Technologies AG & Co. KG | Housing part of a chassis actuator | 
| DE102024101453A1 (en)* | 2024-01-18 | 2025-07-24 | Schaeffler Technologies AG & Co. KG | Rear-axle steering systems and procedures for calibrating rear-axle steering systems | 
| DE102024105838A1 (en)* | 2024-02-29 | 2025-09-04 | Schaeffler Technologies AG & Co. KG | Rear-axle steering and method for operating a rear-axle steering | 
| Publication number | Priority date | Publication date | Assignee | Title | 
|---|---|---|---|---|
| DE3816254A1 (en)* | 1988-05-11 | 1989-11-23 | Siemens Ag | CONTROL UNIT FOR STEERING THE REAR WHEELS OF A ROAD VEHICLE | 
| DE3918986A1 (en)* | 1988-06-15 | 1989-12-21 | Zahnradfabrik Friedrichshafen | All-wheel steering system for motor vehicles | 
| DE69213363T2 (en)* | 1991-07-01 | 1997-01-16 | Nsk Ltd | Electric four-wheel steering system | 
| DE10156398A1 (en)* | 2000-11-24 | 2002-06-06 | Continental Teves Ag & Co Ohg | Device for measuring steering rod movement in motor vehicle detects variable steering rod profile with or more fixed sensor module(s) converting displacement or position change to signals | 
| DE10150305A1 (en)* | 2001-04-05 | 2002-10-31 | Continental Teves Ag & Co Ohg | Device for measuring motor vehicle steering rod travel has a steering operating device with a link to a steering rod with linear movement for swiveling the wheels into a desired position via a steering tie rod and tie rod lever | 
| DE10329293A1 (en)* | 2003-06-30 | 2005-01-20 | Zf Lenksysteme Gmbh | Device for detecting a rotational movement in a vehicle steering device | 
| DE102004043402A1 (en)* | 2004-09-08 | 2006-03-09 | Volkswagen Ag | Linear movable object e.g. transmission component, positioning method, involves detecting tensions induced by magnet in reverberation sensors based on linear movement of object, and providing position signals with respect to object | 
| DE102007021231A1 (en)* | 2006-05-26 | 2007-11-29 | Luk Lamellen Und Kupplungsbau Beteiligungs Kg | Position sensor for determining the position of a gear selector in an automatic gearbox comprises magnets arranged along a moving direction of a moving object, Hall sensors displaced in the moving direction and a control device | 
| DE102010052917A1 (en)* | 2010-11-30 | 2012-05-31 | Schaeffler Technologies Gmbh & Co. Kg | locking device | 
| Publication number | Priority date | Publication date | Assignee | Title | 
|---|---|---|---|---|
| DE3816254A1 (en)* | 1988-05-11 | 1989-11-23 | Siemens Ag | CONTROL UNIT FOR STEERING THE REAR WHEELS OF A ROAD VEHICLE | 
| DE3918986A1 (en)* | 1988-06-15 | 1989-12-21 | Zahnradfabrik Friedrichshafen | All-wheel steering system for motor vehicles | 
| DE69213363T2 (en)* | 1991-07-01 | 1997-01-16 | Nsk Ltd | Electric four-wheel steering system | 
| DE10156398A1 (en)* | 2000-11-24 | 2002-06-06 | Continental Teves Ag & Co Ohg | Device for measuring steering rod movement in motor vehicle detects variable steering rod profile with or more fixed sensor module(s) converting displacement or position change to signals | 
| DE10150305A1 (en)* | 2001-04-05 | 2002-10-31 | Continental Teves Ag & Co Ohg | Device for measuring motor vehicle steering rod travel has a steering operating device with a link to a steering rod with linear movement for swiveling the wheels into a desired position via a steering tie rod and tie rod lever | 
| DE10329293A1 (en)* | 2003-06-30 | 2005-01-20 | Zf Lenksysteme Gmbh | Device for detecting a rotational movement in a vehicle steering device | 
| DE102004043402A1 (en)* | 2004-09-08 | 2006-03-09 | Volkswagen Ag | Linear movable object e.g. transmission component, positioning method, involves detecting tensions induced by magnet in reverberation sensors based on linear movement of object, and providing position signals with respect to object | 
| DE102007021231A1 (en)* | 2006-05-26 | 2007-11-29 | Luk Lamellen Und Kupplungsbau Beteiligungs Kg | Position sensor for determining the position of a gear selector in an automatic gearbox comprises magnets arranged along a moving direction of a moving object, Hall sensors displaced in the moving direction and a control device | 
| DE102010052917A1 (en)* | 2010-11-30 | 2012-05-31 | Schaeffler Technologies Gmbh & Co. Kg | locking device | 
| Publication number | Priority date | Publication date | Assignee | Title | 
|---|---|---|---|---|
| CN116018300A (en)* | 2020-09-29 | 2023-04-25 | 舍弗勒技术股份两合公司 | Actuator for a steering system of a motor vehicle | 
| DE102020131767A1 (en) | 2020-12-01 | 2022-06-02 | Schaeffler Technologies AG & Co. KG | Steering gear, in particular for steer-by-wire steering of a vehicle and motor vehicle | 
| DE102021111644A1 (en) | 2021-05-05 | 2022-11-10 | Schaeffler Technologies AG & Co. KG | Steering actuator and method for processing sensor signals | 
| DE102021132392A1 (en) | 2021-12-09 | 2023-06-15 | Schaeffler Technologies AG & Co. KG | Method for calibrating a steering of a vehicle using a sensor arrangement; sensor arrangement; Steering; vehicle | 
| DE102021132392B4 (en) | 2021-12-09 | 2023-07-13 | Schaeffler Technologies AG & Co. KG | Method for calibrating a steering of a vehicle using a sensor arrangement; sensor arrangement; Steering; vehicle | 
| DE102021132621A1 (en) | 2021-12-10 | 2022-10-13 | Schaeffler Technologies AG & Co. KG | Sensor assembly, steering actuator and method of operating a sensor assembly | 
| DE102023109266A1 (en) | 2023-04-13 | 2024-10-17 | Schaeffler Technologies AG & Co. KG | Steering actuator and method for operating a rear-axle steering system | 
| DE102023109266B4 (en)* | 2023-04-13 | 2025-07-03 | Schaeffler Technologies AG & Co. KG | Steering actuator and method for operating a rear-axle steering system | 
| WO2024217614A1 (en) | 2023-04-18 | 2024-10-24 | Schaeffler Technologies AG & Co. KG | Steering actuator and method for operating a rear axle steering system | 
| DE102023109655A1 (en) | 2023-04-18 | 2024-10-24 | Schaeffler Technologies AG & Co. KG | Steering actuator and method for operating a rear-axle steering system | 
| DE102023119085A1 (en) | 2023-07-19 | 2025-01-23 | Schaeffler Technologies AG & Co. KG | Steering actuator and method for operating a rear-axle steering system | 
| WO2025016498A1 (en) | 2023-07-19 | 2025-01-23 | Schaeffler Technologies AG & Co. KG | Steering actuator and method for operating a rear axle steering system | 
| DE102023127402A1 (en)* | 2023-10-09 | 2025-04-10 | Schaeffler Technologies AG & Co. KG | Steering actuator and method for operating a rear-axle steering system | 
| DE102023127405A1 (en)* | 2023-10-09 | 2025-04-10 | Schaeffler Technologies AG & Co. KG | Steering actuator and method for adapting a sensor system of a steering actuator | 
| WO2025077968A1 (en) | 2023-10-09 | 2025-04-17 | Schaeffler Technologies AG & Co. KG | Steering actuator and method for operating a rear axle steering system | 
| DE102023135178A1 (en)* | 2023-12-14 | 2025-06-18 | Schaeffler Technologies AG & Co. KG | Planetary roller gear, steering actuator and rear axle steering | 
| DE102023135203A1 (en)* | 2023-12-14 | 2025-06-18 | Schaeffler Technologies AG & Co. KG | Housing part of a chassis actuator | 
| WO2025124630A1 (en) | 2023-12-14 | 2025-06-19 | Schaeffler Technologies AG & Co. KG | Planetary roller gear, steering actuator and rear-axle steering system | 
| DE102024101453A1 (en)* | 2024-01-18 | 2025-07-24 | Schaeffler Technologies AG & Co. KG | Rear-axle steering systems and procedures for calibrating rear-axle steering systems | 
| DE102024105838A1 (en)* | 2024-02-29 | 2025-09-04 | Schaeffler Technologies AG & Co. KG | Rear-axle steering and method for operating a rear-axle steering | 
| WO2025180554A1 (en) | 2024-02-29 | 2025-09-04 | Schaeffler Technologies AG & Co. KG | Rear axle steering system, and method for operating a rear axle steering system | 
| Publication | Publication Date | Title | 
|---|---|---|
| DE102018129119A1 (en) | Suspension actuator for a rear axle steering | |
| EP1132716B1 (en) | Position sensor | |
| EP1706716B1 (en) | Device for determining a steering angle and a torque that is exerted on a steering shaft | |
| DE102017126906B4 (en) | Axis rotation torque sensor | |
| DE102014210379B4 (en) | A torque sensor and method for detecting torques occurring at or in a joint of an articulated arm robot | |
| DE102015206678A1 (en) | Actuator for a rear-wheel steering of a motor vehicle | |
| DE19581912C2 (en) | Device for examining a gear wheel | |
| WO1998048244A1 (en) | Device for determining the position and/or torsion of rotating shafts | |
| DE102010050175B4 (en) | Ball screw nut | |
| DE102006055049B3 (en) | Combined steering angle and torque sensor | |
| DE102020106785A1 (en) | Rear axle steering and steering angle measurement on the rear axle of a motor vehicle | |
| EP0386334A2 (en) | Position determining device | |
| EP2607750A1 (en) | Planetary spindle drive | |
| EP0848679B1 (en) | Steering valve | |
| DE102019125310A1 (en) | Planetary gear | |
| EP0313999A2 (en) | Arrangement for measuring torque of a rotating shaft | |
| EP1843055A1 (en) | Roller bearing with sensor | |
| DE102014102982B3 (en) | Steering angle sensor | |
| DE102020108676A1 (en) | Steer-by-wire steering system | |
| DE102019119339A1 (en) | Linear actuator and method of operating a linear actuator | |
| DE102021111644A1 (en) | Steering actuator and method for processing sensor signals | |
| DE102022110510B4 (en) | Linear position sensor, rear axle steering and method for absolute position measurement | |
| DE102009054518A1 (en) | Gearbox for an angle sensor | |
| WO2004068146A1 (en) | Method and device for determining the direction of displacement of a roller bearing component | |
| DE102023109655A1 (en) | Steering actuator and method for operating a rear-axle steering system | 
| Date | Code | Title | Description | 
|---|---|---|---|
| R012 | Request for examination validly filed | ||
| R230 | Request for early publication | ||
| R002 | Refusal decision in examination/registration proceedings | ||
| R003 | Refusal decision now final |