

Die Erfindung betrifft Pumpen, die in der Wasserversorgung oder bei Abwasseranwendungen zur Anwendung kommen.The invention relates to pumps which are used in water supply or in wastewater applications.
Derartige Pumpen stellen wertvolle Investitionsgüter mit hohen Beschaffungskosten und auch langen Wiederbeschaffungszeiten dar. Deswegen ist es wünschenswert, diese Arbeitsmaschinen vor Beschädigungen durch kritische Betriebszustände, Fehlbedienungen oder Überlast zu schützen. Nach dem Stand der Technik werden dazu häufig Schutzrelais aus der Fabrikautomation eingesetzt. Diese Relais überwachen z. B. die Wicklungstemperatur des Motors, die Temperatur von Lagern oder die Leckage in der Pumpe. Dabei kommen für diese Messwerte jeweils getrennte Schutzrelais zum Einsatz.Pumps of this type represent valuable capital goods with high procurement costs and long procurement times. It is therefore desirable to protect these machines from damage due to critical operating states, incorrect operation or overload. According to the state of the art, protective relays from factory automation are often used. These relays monitor e.g. B. the winding temperature of the motor, the temperature of bearings or the leakage in the pump. Separate protective relays are used for these measured values.
In der Praxis treten beim Schutz der Pumpen immer wieder durch EMV-Störungen bedingte Fehlalarme auf, die dazu führen, dass die Pumpen abgeschaltet werden, ohne dass ein realer Fehler vorliegt, wodurch die Infrastruktur in der Wasserversorgung und Entsorgung gestört wird. Außerdem entstehen unnötige Kosten für die Betreiber der Wasserversorgung, weil Servicetechniker den Störungsmeldungen nachgehen müssen.In practice, false alarms occur during the protection of the pumps due to EMC interference, which lead to the pumps being switched off without a real fault, which disrupts the infrastructure in the water supply and disposal. In addition, unnecessary costs arise for the operators of the water supply because service technicians have to follow up the fault reports.
Der Erfindung liegt daher die Aufgabe zugrunde, die Zuverlässigkeit des Pumpenschutzes zu erhöhen und gleichzeitig eine vollständige Überwachung der Pumpe auf verschiedene Parameter zu ermöglichen.The invention is therefore based on the object of increasing the reliability of the pump protection and, at the same time, enabling complete monitoring of the pump for various parameters.
Erfindungsgemäß wird diese Aufgabe durch die Merkmale des Anspruches 1 gelöst.According to the invention, this object is achieved by the features of
Die erfindungsgemäße Pumpe weist ein Pumpengehäuse und einen Motor sowie eine mit der Pumpe in Verbindung stehende Motorschutzeinrichtung auf, wobei die Motorschutzeinrichtung einen Leitfähigkeitssensor vorsieht und ein erster Kontakt des Leitfähigkeitssensors galvanisch mit dem Pumpengehäuse verbunden ist. Ferner weist die Motorschutzeinrichtung ein Schutzrelais mit einem Mikroprozessor auf, der mit dem Leitfähigkeitssensor zur Auswertung eines Ausgangssignals des Leitfähigkeitssensors in Verbindung steht, wobei der Mikroprozessor galvanisch mit einem Massenpotential des Pumpengehäuse verbunden ist und wenigstens ein weiterer Sensor an den Mikroprozessor angeschlossen ist.The pump according to the invention has a pump housing and a motor and a motor protection device connected to the pump, the motor protection device providing a conductivity sensor and a first contact of the conductivity sensor being galvanically connected to the pump housing. Furthermore, the motor protection device has a protection relay with a microprocessor which is connected to the conductivity sensor for evaluating an output signal of the conductivity sensor, the microprocessor being galvanically connected to a ground potential of the pump housing and at least one further sensor being connected to the microprocessor.
Gegenüber der Verwendung von separaten Mikroprozessoren für jeden Sensor wird erfindungsgemäß vorgeschlagen, dass zumindest der Leitfähigkeitssensor und wenigstens ein weiterer Sensor, vorzugsweise aber alle Sensoren an einen gemeinsamen Mikroprozessor angeschlossen sind. Es ist zwar aus der Praxis bereits bekannt, dass Schutzrelais Eingänge für mehrere Sensoren aufweisen, hierbei handelt es sich jedoch um Temperatursensoren, die galvanisch nicht mit dem Pumpengehäuse gekoppelt sind. Erfindungsgemäß soll jedoch ein Leitfähigkeitssensor zum Einsatz kommen, der beispielsweise zur Füllstands- oder Leckagemessung eingesetzt wird, dessen erster Kontakt galvanisch mit dem Pumpengehäuse verbunden ist.In contrast to the use of separate microprocessors for each sensor, it is proposed according to the invention that at least the conductivity sensor and at least one further sensor, but preferably all sensors, are connected to a common microprocessor. Although it is already known from practice that protective relays have inputs for several sensors, these are temperature sensors that are not galvanically coupled to the pump housing. According to the invention, however, a conductivity sensor is to be used, which is used, for example, for level or leakage measurement, the first contact of which is galvanically connected to the pump housing.
Beim Stand der Technik ist jeder Sensor mit einem eigenen Schutzrelais verbunden, welches wiederum einen eigenen Mikroprozessor und eine eigene Stromversorgung aufweist. Dadurch kann es zu einer galvanischen Kopplung der eigentlich voneinander getrennten Messkreise kommen. Außerdem können sich an den unterschiedlichen Stromversorgungen Potentialdifferenzen ergeben, die aufgrund des gemeinsamen Potentialpunktes an der Pumpe zu Ausgleichströmen zwischen den verschiedenen Schutzrelais führen können. Diese Ausgleichströme können für einen Teil der Fehlalarme verantwortlich sein. Durch die Nutzung eines gemeinsamen Mikroprozessors für den Leitfähigkeitssensor und wenigstens einen weiteren Sensor kann die Problematik von entstehenden Potentialdifferenzen und den sich dabei ergebenden, störenden Ausgleichströmen vermindert werden.In the prior art, each sensor is connected to its own protective relay, which in turn has its own microprocessor and its own power supply. This can result in a galvanic coupling of the measuring circuits, which are actually separate from one another. In addition, there may be potential differences at the different power supplies, which, due to the common potential point on the pump, can lead to equalizing currents between the various protective relays. These compensating currents can be responsible for part of the false alarms. By using a common microprocessor for the conductivity sensor and at least one further sensor, the problem of potential differences that arise and the resulting disturbing compensating currents can be reduced.
Weitere Ausgestaltungen der Erfindung sind Gegenstand der Unteransprüche.Further embodiments of the invention are the subject of the dependent claims.
Der Leitfähigkeitssensor kann als Füllstandssensor eingesetzt werden, um ein Trockenlaufen der Pumpe zu verhindern. Außerdem kann der Leitfähigkeitssensor auch als Leckagesensor verwendet werden, um beispielsweise das Eindringen von Wasser in bestimmte Bereiche der Pumpe zu überwachen.The conductivity sensor can be used as a level sensor to prevent the pump from running dry. In addition, the conductivity sensor can also be used as a leakage sensor, for example to monitor the penetration of water into certain areas of the pump.
Gemäß einer bevorzugten Ausgestaltung der Erfindung basiert der Leitfähigkeitssensor auf einer ohmschen Widerstandsmessung. Des Weiteren kann der Leitfähigkeitssensor einen gegenüber dem Pumpengehäuse galvanisch isolierten und mit dem Mikroprozessor verbundenen zweiten Kontakt aufweisen. Der wenigstens eine weitere, an den Mikroprozessor angeschlossener Sensor kann beispielsweise durch einen Beschleunigungssensor zur Messung von Vibrationen eines Lagers der Pumpe gebildet werden. Dabei kann der Beschleunigungssensor ein Gehäuse aufweisen, das galvanisch mit dem ersten Kontakt des Leitfähigkeitssensors verbunden ist. Außerdem kann der Beschleunigungssensor eine gegenüber dem Pumpengehäuse galvanisch isolierte und mit dem Mikroprozessor verbundene Messleitung aufweisen.According to a preferred embodiment of the invention, the conductivity sensor is based on an ohmic resistance measurement. Furthermore, the conductivity sensor can have a second contact that is galvanically isolated from the pump housing and connected to the microprocessor. The at least one further sensor connected to the microprocessor can be formed, for example, by an acceleration sensor for measuring vibrations of a bearing of the pump. The acceleration sensor can have a housing that is galvanically connected to the first contact of the conductivity sensor. In addition, the acceleration sensor can have a measuring line that is galvanically insulated from the pump housing and connected to the microprocessor.
Der weitere Sensor kann aber beispielsweise auch durch einen Lager-Temperatursensor zur Messung der Temperatur wenigstens eines Lagers der Pumpe gebildet werden, wobei auch hier denkbar ist, dass das Gehäuse des Lager-Temperatursensors galvanisch mit dem ersten Kontakt des Leitfähigkeitssensors verbunden ist.However, the further sensor can also be used, for example, with a bearing temperature sensor for measuring the temperature of at least one bearing Pump are formed, wherein it is also conceivable here that the housing of the bearing temperature sensor is electrically connected to the first contact of the conductivity sensor.
Gemäß einer weiteren Ausgestaltung der Erfindung kann der weitere Sensor auch durch einen Wicklung-Temperatursensor zur Messung der Temperatur einer Wicklung des Motors gebildet werden. Dabei kann die Wicklung des Motors als Zahnspulenwicklung mit einer Vielzahl von Nuten ausgebildet sein, wobei es dann von Vorteil ist, wenn die beiden Anschlusslitzen des Wicklungstemperatursensors in ein und derselben Nut angeordnet sind, da es bei einer Anordnung der Anschlusslitzen in unterschiedlichen Nuten zu EMV-Einkopplungen aufgrund von Potentialdifferenzen kommen kann.According to a further embodiment of the invention, the further sensor can also be formed by a winding temperature sensor for measuring the temperature of a winding of the motor. The winding of the motor can be designed as a toothed coil winding with a large number of slots, it being advantageous if the two connecting strands of the winding temperature sensor are arranged in one and the same slot since, when the connecting strands are arranged in different slots, EMC Couplings can come due to potential differences.
Ferner besteht die Möglichkeit, dass der weitere Sensor durch einen Phasenüberwachungssensor zur Messung der Phasen einer für den Motor zum Einsatz kommenden Spannungsversorgung gebildet wird. Auch hier besteht die Möglichkeit, dass der Phasenüberwachungssensor galvanisch und/oder induktiv über ein Versorgungsnetzt mit dem ersten Kontakt des Leitfähigkeitssensors verbunden ist. Neben dem Leitfähigkeitssensor können an den Mikroprozessor ein oder mehrere, vorzugsweise alle der oben erwähnten weiteren Sensoren angeschlossen werden. Selbstverständlich ist es auch denkbar, dass Sensoren an den gemeinsamen Mikroprozessor angeschlossen werden, die andere Parameter überwachen und oben nicht explizit erwähnt worden sind.There is also the possibility that the additional sensor is formed by a phase monitoring sensor for measuring the phases of a voltage supply used for the motor. Here too there is the possibility that the phase monitoring sensor is connected galvanically and / or inductively to the first contact of the conductivity sensor via a supply network. In addition to the conductivity sensor, one or more, preferably all, of the other sensors mentioned above can be connected to the microprocessor. Of course, it is also conceivable that sensors are connected to the common microprocessor that monitor other parameters and have not been explicitly mentioned above.
Gemäß einer weiteren Ausgestaltung der Erfindung ist vorgesehen, dass die Motorschutzeinrichtung eine mit dem Mikroprozessor in Verbindung stehende Stromversorgung aufweist, um die für die Sensoren erforderlichen Messspannungen bereitzustellen.According to a further embodiment of the invention, it is provided that the motor protection device has a power supply connected to the microprocessor in order to provide the measurement voltages required for the sensors.
Gemäß einer bevorzugten Ausgestaltung der Erfindung handelt es sich bei der Pumpe um eine Kreiselpumpe oder eine Exzenterpumpe.According to a preferred embodiment of the invention, the pump is a centrifugal pump or an eccentric pump.
Weitere Ausgestaltungen und Vorteile der Erfindung werden anhand der nachfolgenden Beschreibung eines Ausführungsbeispiels in Verbindung mit der Zeichnung erläutert.Further refinements and advantages of the invention are explained on the basis of the following description of an exemplary embodiment in conjunction with the drawing.
In der Zeichnung zeigen
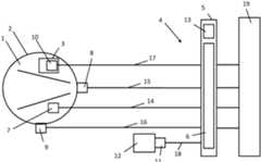
Bei der in
Die Motorschutzeinrichtung
Der Beschleunigungssensor
| Application Number | Priority Date | Filing Date | Title |
|---|---|---|---|
| DE102018119005.0ADE102018119005B4 (en) | 2018-08-06 | 2018-08-06 | Pump for wastewater applications and/or water supply |
| CN201910717001.0ACN110808570A (en) | 2018-08-06 | 2019-08-05 | Pump for waste water applications and/or water supply |
| Application Number | Priority Date | Filing Date | Title |
|---|---|---|---|
| DE102018119005.0ADE102018119005B4 (en) | 2018-08-06 | 2018-08-06 | Pump for wastewater applications and/or water supply |
| Publication Number | Publication Date |
|---|---|
| DE102018119005A1true DE102018119005A1 (en) | 2020-02-06 |
| DE102018119005B4 DE102018119005B4 (en) | 2025-03-06 |
| Application Number | Title | Priority Date | Filing Date |
|---|---|---|---|
| DE102018119005.0AActiveDE102018119005B4 (en) | 2018-08-06 | 2018-08-06 | Pump for wastewater applications and/or water supply |
| Country | Link |
|---|---|
| CN (1) | CN110808570A (en) |
| DE (1) | DE102018119005B4 (en) |
| Publication number | Priority date | Publication date | Assignee | Title |
|---|---|---|---|---|
| DE102023123148A1 (en) | 2023-08-29 | 2025-03-06 | Kriwan Industrie-Elektronik Gmbh | pump for pumping a medium |
| Publication number | Priority date | Publication date | Assignee | Title |
|---|---|---|---|---|
| US4319232A (en)* | 1980-03-19 | 1982-03-09 | Westphal Frank C | Liquid leakage detector |
| US5188143A (en)* | 1992-03-09 | 1993-02-23 | Krebs Robert G | Water leakage detection device |
| US20040105758A1 (en)* | 2002-12-02 | 2004-06-03 | Ross Carl M. | Method and system for liquid leak detection, notification and removal |
| US20040265154A1 (en)* | 2003-06-30 | 2004-12-30 | Mcdowell William M. | Peristaltic injector pump leak monitor |
| US20140255215A1 (en)* | 2013-03-11 | 2014-09-11 | Imo Industries, Inc. | Intelligent pump monitoring and control system |
| US20150226220A1 (en)* | 2014-02-13 | 2015-08-13 | Pentair Flow Technologies, Llc | Pump and Electric Insulating Oil for Use Therein |
| Publication number | Priority date | Publication date | Assignee | Title |
|---|---|---|---|---|
| DE10216379A1 (en)* | 2002-04-12 | 2003-10-30 | Conducta Endress & Hauser | Measuring device for liquid and / or gas analysis |
| DE102009001871A1 (en)* | 2009-03-26 | 2010-09-30 | Robert Bosch Gmbh | Electric coolant pump for conveying coolant in cooling system of motor vehicle, has two coolant measuring variable sensors determining process measuring variable of coolant in order to obtain conclusion of coolant characteristics |
| DE102010037379B4 (en)* | 2010-09-07 | 2021-09-23 | Homa Pumpenfabrik Gmbh | Pump arrangement with integrated vibration measurement |
| CN202140311U (en)* | 2011-07-07 | 2012-02-08 | 李新文 | Automatic alarming protective device for preventing screw oil delivery pump from being evacuated and dry-grinding |
| CN102611075B (en)* | 2012-03-28 | 2015-06-10 | 彭勇 | Smart monitoring protective device of electric water pump with liquid level control |
| EP2725691B1 (en) | 2012-10-29 | 2017-09-20 | Pierburg Pump Technology GmbH | Auxiliary device for motor vehicle |
| DE102015116845A1 (en)* | 2015-10-05 | 2017-04-06 | Kriwan Industrie-Elektronik Gmbh | Machine with at least one motor and a machine protection circuit |
| Publication number | Priority date | Publication date | Assignee | Title |
|---|---|---|---|---|
| US4319232A (en)* | 1980-03-19 | 1982-03-09 | Westphal Frank C | Liquid leakage detector |
| US5188143A (en)* | 1992-03-09 | 1993-02-23 | Krebs Robert G | Water leakage detection device |
| US20040105758A1 (en)* | 2002-12-02 | 2004-06-03 | Ross Carl M. | Method and system for liquid leak detection, notification and removal |
| US20040265154A1 (en)* | 2003-06-30 | 2004-12-30 | Mcdowell William M. | Peristaltic injector pump leak monitor |
| US20140255215A1 (en)* | 2013-03-11 | 2014-09-11 | Imo Industries, Inc. | Intelligent pump monitoring and control system |
| US20150226220A1 (en)* | 2014-02-13 | 2015-08-13 | Pentair Flow Technologies, Llc | Pump and Electric Insulating Oil for Use Therein |
| Publication number | Priority date | Publication date | Assignee | Title |
|---|---|---|---|---|
| DE102023123148A1 (en) | 2023-08-29 | 2025-03-06 | Kriwan Industrie-Elektronik Gmbh | pump for pumping a medium |
| Publication number | Publication date |
|---|---|
| CN110808570A (en) | 2020-02-18 |
| DE102018119005B4 (en) | 2025-03-06 |
| Publication | Publication Date | Title |
|---|---|---|
| DE112017007953T5 (en) | ANOMALY DIAGNOSTIC DEVICE, ANOMALY DIAGNOSTIC PROCEDURE, AND ANOMALY DIAGNOSTIC SYSTEM | |
| DE102006047960A1 (en) | Real-time multi-point ground resistance monitoring device | |
| DE102011053078A1 (en) | System and method for monitoring the status of electrical machines | |
| DE112018001976T5 (en) | PARTIAL ESTIMATION OF COUNTERVOLTAGE FOR ERROR DETECTION IN ELECTRICAL SYSTEMS | |
| DE102015216915A1 (en) | Method and device for insulation fault location with adaptive test current detection | |
| EP2392934A1 (en) | Method and device for surveillance of a sheath voltage arrester of a cable system | |
| EP2963752A2 (en) | Residual current protection device for leakage current detection | |
| EP3872503A1 (en) | Monitoring device and method for monitoring the insulation of an unshielded electrical system with grounded liquid cooling | |
| DE102018119005B4 (en) | Pump for wastewater applications and/or water supply | |
| WO2015135869A1 (en) | Safety testing arrangement and method for the operation thereof | |
| DE4339241A1 (en) | Circuit for monitoring and detecting the failure of the neutral or phase conductor of a three-phase supply | |
| DE112010002964T5 (en) | IEC 61158-2 Electrical circuit with water detection system having a physical layer attribute modifier | |
| DE10141349B4 (en) | Non-intrusive event location system and event location method for an overheat detection system | |
| DE4418124C2 (en) | Device for detecting insulation deterioration on power supply lines | |
| EP3567389A1 (en) | Method for the continuous insulation monitoring of an electrical conductor | |
| EP3320591B1 (en) | Fault current sensor for a fault current protection device for monitoring an electrical consumer for a vehicle | |
| DE112016005441B4 (en) | Electronic Device | |
| AT406091B (en) | METHOD FOR REPAIR AND REPEAT CHECKING OF ELECTRICAL DEVICES AND DEVICE FOR IMPLEMENTING THE METHOD | |
| DE102018106493A1 (en) | PROTECTION FOR OSCILLOSCOPE CHANNEL | |
| DE202017106703U1 (en) | Device for monitoring rolling bearings | |
| DE102018212845B3 (en) | A diagnostic method and apparatus for verifying operability of an electromechanical load, and a computer program product and a vehicle | |
| EP2514043A1 (en) | Self-monitoring connection line and operating equipment | |
| EP2553477B1 (en) | Device and method for diagnosing test objects using a measuring voltage | |
| DE102017127701B4 (en) | Fuse with accelerometer | |
| EP3913382B1 (en) | Method and device for determining the location of a three-pole assymetrical fault on a line of a three-phase electrical energy supply network |
| Date | Code | Title | Description |
|---|---|---|---|
| R012 | Request for examination validly filed | ||
| R016 | Response to examination communication | ||
| R016 | Response to examination communication | ||
| R018 | Grant decision by examination section/examining division |