

Die Erfindung betrifft eine elektromechanische Schalteinrichtung mit wenigstens zwei Kontakteinheiten, wobei die Kontakteinheiten jeweils wenigstens ein an einem Kontaktträger der jeweiligen Kontakteinheit angeordnetes Kontaktelement aufweisen, wobei der Kontaktträger von wenigstens einer ersten der wenigstens zwei Kontakteinheiten mit einem Betätigungsstab einer Antriebseinheit mechanisch gekoppelt ist und mittels des Betätigungsstabs zwischen einer Kontaktierungsstellung, in der sich die Kontaktelemente berühren, und einer Offenstellung verfahrbar ist, in der die Kontaktelemente voneinander entfernt positioniert sind. Darüber hinaus betrifft die Erfindung auch ein Verfahren zum Betreiben einer elektromechanischen Schalteinrichtung mit wenigstens zwei Kontakteinheiten, wobei die Kontakteinheiten jeweils wenigstens ein an einem Kontaktträger der jeweiligen Kontakteinheit angeordnetes Kontaktelement aufweisen, wobei der Kontaktträger von wenigstens einer ersten der wenigstens zwei Kontakteinheiten mit einem Betätigungsstab einer Antriebseinheit mechanisch gekoppelt ist und mittels des Betätigungsstabs zwischen einer Kontaktierungsstellung, in der sich die Kontaktelemente berühren, und einer Offenstellung verfahren wird, in der die Kontaktelemente voneinander entfernt positioniert sind.The invention relates to an electromechanical switching device having at least two contact units, the contact units each having at least one arranged on a contact carrier of the respective contact unit contact element, wherein the contact carrier of at least a first of the at least two contact units with an actuating rod of a drive unit is mechanically coupled and by means of the actuating rod between a contacting position, in which touch the contact elements, and an open position is movable, in which the contact elements are positioned away from each other. In addition, the invention also relates to a method for operating an electromechanical switching device having at least two contact units, wherein the contact units each have at least one arranged on a contact carrier of the respective contact unit contact element, wherein the contact carrier of at least a first of the at least two contact units with an actuating rod of a drive unit is mechanically coupled and by means of the actuating rod between a contacting position in which contact the contact elements, and an open position is moved, in which the contact elements are positioned away from each other.
Elektromechanische Schalteinrichtungen sowie auch Verfahren zu deren Betrieb sind im Stand der Technik umfänglich bekannt, sodass es dem Grunde nach eines gesonderten druckschriftlichen Nachweises hierfür nicht bedarf. Elektromechanische Schalteinrichtungen, auch Schalter oder Schaltgeräte genannt, dienen insbesondere dazu, zwischen wenigstens zwei elektrischen Anschlüssen eine reversibel lösbar elektrisch leitfähige Verbindung herzustellen. In diesem Zusammenhang umfasst die elektromechanische Schalteinrichtung zumindest zwei Kontakteinheiten, wobei jede der Kontakteinheiten jeweils wenigstens ein an dem Kontaktträger der Kontakteinheit angeordnetes Kontaktelement aufweist. In einem eingeschalteten Zustand sind die Kontaktelemente der wenigstens zwei Kontakteinheiten miteinander mechanisch verbunden beziehungsweise sie berühren sich, sodass ein elektrischer Kontakt hergestellt ist. Auf diese Weise wird die elektrisch leitfähige Verbindung im eingeschalteten Zustand realisiert. Im ausgeschalteten Zustand sind dagegen die wenigstens zwei Kontaktelemente voneinander entfernt angeordnet beziehungsweise positioniert, sodass die elektrisch leitfähige Verbindung unterbrochen ist. Die elektromechanische Schalteinrichtung kann auf diese Weise unterschiedlichste Schaltfunktionen realisieren, so zum Beispiel eine Schließerfunktion, eine Öffnerfunktion, eine Umschaltfunktion, Kombinationen hiervor und/oder dergleichen. Der Kontaktträger einer jeweiligen der Kontakteinheiten und das zugehörige Kontaktelement können auch einstückig ausgebildet sein.Electromechanical switching devices as well as methods for their operation are widely known in the art, so it does not need the reason of a separate documentary evidence for this purpose. Electromechanical switching devices, also called switches or switching devices, serve in particular to produce a reversibly releasably electrically conductive connection between at least two electrical connections. In this context, the electromechanical switching device comprises at least two contact units, each of the contact units each having at least one arranged on the contact carrier of the contact unit contact element. In an on state, the contact elements of the at least two contact units are mechanically connected to each other or they touch, so that an electrical contact is made. In this way, the electrically conductive connection is realized in the on state. In the off state, however, the at least two contact elements are arranged remote from each other or positioned so that the electrically conductive connection is interrupted. The electromechanical switching device can realize in this way a variety of switching functions, such as a normally open, a normally closed, a switching function, combinations thereof and / or the like. The contact carrier of a respective one of the contact units and the associated contact element may also be integrally formed.
Elektromechanische Schalteinrichtungen können dem Grunde nach manuell betätigt sein. Überwiegend sind sie jedoch mittels einer Antriebseinheit betätigbar, die zu diesem Zweck einen Betätigungsstab umfasst, der mittels der Antriebseinheit in einer vorgebbaren Weise mechanisch bewegt werden kann, beispielsweise um eine translatorische, rotatorische Bewegung oder dergleichen auszuführen. Mit dem Betätigungsstab kann zumindest der Kontaktträger einer der Kontakteinheiten in vorgebbarer Weise bewegt werden, um die gewünschten Schaltfunktionen realisieren zu können. Die Antriebseinheit kann zu diesem Zweck einen Aktuator aufweisen, der zum Beispiel mittels eines Hubmagneten als elektromechanischen Antrieb, einem pneumatischen Antrieb, einem hydraulischen Antrieb, Kombinationen hiervor oder dergleichen angetrieben sein kann. Besonders häufig werden elektromechanische Schalteinrichtungen mittels einer Antriebseinheit betätigt, die einen Hubmagneten nutzt, der beispielsweise mittels eines durch eine elektrische Spule erzeugten Magnetfeldes verfahren werden kann. Der Hubmagnet ist mit dem Betätigungsstab gekoppelt beziehungsweise einstückig mit diesem ausgebildet. Zu diesem Zweck kann die Spule mit einem elektrischen Strom beaufschlagt werden. Derartige elektromechanische Schalteinrichtungen sind vielfach im Einsatz und werden je nach Anwendung als Relais, als Schütz und/oder dergleichen bezeichnet.Electromechanical switching devices can basically be manually operated. For the most part, however, they can be actuated by means of a drive unit which, for this purpose, comprises an actuating rod which can be moved mechanically in a predeterminable manner by means of the drive unit, for example to carry out a translatory, rotational movement or the like. At least the contact carrier of one of the contact units can be moved in a predeterminable manner with the actuating rod in order to be able to realize the desired switching functions. For this purpose, the drive unit can have an actuator which can be driven, for example, by means of a lifting magnet as electromechanical drive, a pneumatic drive, a hydraulic drive, combinations thereof or the like. Particularly often electromechanical switching devices are actuated by means of a drive unit which uses a lifting magnet, which can be moved, for example, by means of a magnetic field generated by an electric coil. The solenoid is coupled to the actuating rod or formed integrally therewith. For this purpose, the coil can be acted upon by an electric current. Such electromechanical switching devices are widely used and are referred to depending on the application as a relay, contactor and / or the like.
Die Kontakteinheiten beziehungsweise insbesondere deren Kontaktelemente sind in der Regel aus chemisch edlen Metallen, häufig Silber, aber auch Kupferlegierungen oder dergleichen gebildet. Bei Kontakteinheiten beziehungsweise Kontaktelementen, die dazu ausgebildet sind, große elektrische Ströme führen zu können, sind die Kontaktelemente mit entsprechend großen Abmessungen versehen, sodass sie der Strombeaufschlagung im bestimmungsgemäßen Betrieb hinreichend lange standhalten können.The contact units or in particular their contact elements are usually formed of chemically noble metals, often silver, but also copper alloys or the like. In contact units or contact elements which are designed to be able to carry large electrical currents, the contact elements are provided with correspondingly large dimensions, so that they can withstand the application of current during normal operation for a sufficiently long time.
Die Kontakteinheit umfasst in der Regel neben dem Kontaktelement auch den Kontaktträger, der beispielsweise nach Art einer Kontaktbrücke oder dergleichen ausgebildet sein kann. Der Kontaktträger kann beispielsweise aus einem Buntmetall und/oder einem Federstall gebildet sein, um -je nach Anwendungsfall - eine entsprechend gute elektrische Leitfähigkeit bei entsprechend geeigneter mechanischer Beständigkeit und Elastizität bereitstellen zu können. Das Kontaktelement ist häufig auf dem Kontaktträger angeordnet beziehungsweise mit diesem verbunden, beispielsweise durch Schweißen, Löten und/oder dergleichen. Der Kontaktträger kann bei Bedarf auch zwei oder mehrere Kontaktelemente aufweisen.As a rule, the contact unit also comprises, in addition to the contact element, the contact carrier, which may be designed, for example, in the manner of a contact bridge or the like. The contact carrier may be formed, for example, from a non-ferrous metal and / or a spring cage to-depending on the application - to provide a correspondingly good electrical conductivity with appropriate mechanical resistance and elasticity. The contact element is often arranged on the contact carrier or connected thereto, for example by welding, soldering and / or the like. If necessary, the contact carrier can also have two or more contact elements.
Elektromechanische Schalteinrichtungen, insbesondere Kontakteinheiten sowie auch Kontaktelemente sind durch die Normung erfasst, so zum Beispiel durch die
Wird ein Schütz als elektromechanische Schalteinrichtung eingesetzt, kann dieses bei Detektieren eines Überstroms derart angesteuert werden, dass die Kontakteinheiten die elektrische Verbindung, die im eingeschalteten Zustand mittels der Kontakteinheiten hergestellt ist, unterbricht. Häufig öffnet das Schütz seinen Schaltkontakt jedoch erst nach einer vorgegebenen Verzögerungszeit. Im Falle eines harten Kurzschlusses, das ist ein Kurzschluss, bei dem ein Kurzschlussstrom auftreten kann, der ein vielfaches größer als der Bemessungsstrom sein kann, für den das Schütz im bestimmungsgemäßen Betrieb ausgelegt ist, können an den Kontakteinheiten unerwünschte Effekte auftreten, die zu Beschädigungen und/oder zu Störungen führen können.If a contactor is used as an electromechanical switching device, this can be controlled upon detection of an overcurrent such that the contact units interrupts the electrical connection, which is made in the on state by means of the contact units. Frequently, however, the contactor opens its switching contact only after a predetermined delay time. In the case of a hard short circuit, which is a short circuit in which a short circuit current can occur, which can be many times greater than the rated current for which the contactor is designed in normal operation, unwanted effects can occur on the contact units, resulting in damage and damage / or may cause interference.
Insbesondere erweist es sich als problematisch, dass aneinander anliegende beziehungsweise sich berührende Kontaktelemente im bestimmungsgemäßen Betrieb verkleben können, das heißt, dass bei einer Betätigung mittels des Betätigungsstabs von der Kontaktierungsstellung in die Offenstellung die Kontaktelemente im kontaktierten Zustand verbleiben. Die elektromechanische Schalteinrichtung kann also nicht mehr in die Offenstellung verfahren werden. Das Verkleben stört also den bestimmungsgemäßen Betrieb der elektromechanischen Schalteinrichtung. Der Effekt des Verklebens kann durch eine Vielzahl von unterschiedlichen Effekten hervorgerufen werden, zum Beispiel dass die Kontaktelemente in einem kleinen Bereich aneinander verschweißt sind, dass die Kontaktelemente mittels Verschmutzungen oder dergleichen aneinander haften, und/oder dergleichen.In particular, it proves to be problematic that adjacent or touching contact elements can stick together in normal operation, that is, that remain in an actuation by means of the actuating rod of the contacting position in the open position, the contact elements in the contacted state. The electromechanical switching device can therefore no longer be moved into the open position. The bonding thus disturbs the intended operation of the electromechanical switching device. The effect of sticking may be caused by a variety of different effects, for example that the contact elements are welded together in a small area, that the contact elements adhere to each other by means of dirt or the like, and / or the like.
Um dem Problem des Verklebens von Kontaktelementen entgegen zu treten, ist es im Stand der Technik zum Beispiel bekannt, eine Pyrofuse, oder einen Service-Disconnect-Schalter zu nutzen. Diese haben jedoch den Nachteil, dass zusätzliche Bauteile benötigt werden.For example, to address the problem of sticking contact elements, it is known in the art to use a pyrofuse, or a service disconnect switch. However, these have the disadvantage that additional components are needed.
Darüber hinaus sind aus der
Darüber hinaus ist aus der
Der Erfindung liegt die Aufgabe zugrunde, ein Lösen von verklebten Kontaktelementen bei elektromechanischen Schalteinrichtungen zu verbessern.The invention has for its object to improve a release of bonded contact elements in electromechanical switching devices.
Als Lösung werden mit der Erfindung eine elektromechanische Schalteinrichtung sowie ein Verfahren gemäß den unabhängigen Ansprüchen vorgeschlagen.As a solution, the invention proposes an electromechanical switching device and a method according to the independent claims.
Vorteilhafte Weiterbildungen ergeben sich durch Merkmale der abhängigen Ansprüche.Advantageous developments emerge by features of the dependent claims.
Mit der Erfindung wird für eine gattungsgemäße elektromechanische Schalteinrichtung insbesondere vorgeschlagen, dass die mechanische Kopplung des Betätigungsstabs mit dem Kontaktträger derart ausgebildet ist, dass der Betätigungsstab in der Kontaktierungsstellung gegenüber dem mit ihm gekoppelten Kontaktträger in Richtung Kontaktierungsstellung hinaus in eine Hammerposition bewegbar ist und einen Anschlag zum Anschlagen an dem Kontaktträger bei einer Bewegung des Betätigungsstabs aus der Hammerposition in Richtung der Offenstellung aufweist.With the invention is proposed in particular for a generic electromechanical switching device, that the mechanical coupling of the actuating rod is formed with the contact carrier such that the actuating rod in the contacting position relative to the coupled thereto contact carrier in the contacting position out into a hammer position is movable and a stop for Hitting the Contact carrier has a movement of the actuating rod from the hammer position in the direction of the open position.
Verfahrensseitig wird für ein gattungsgemäßes Verfahren insbesondere vorgeschlagen, dass der Betätigungsstab mit dem Kontaktträger derart mechanisch gekoppelt wird, dass der Betätigungsstab in der Kontaktierungsstellung gegenüber dem mit ihm gekoppelten Kontaktträger in Richtung Kontaktierungsstellung hinaus in eine Hammerposition bewegt wird und bei einer Bewegung des Betätigungsstabs aus der Hammerposition in Richtung der Offenstellung mittels eines am Betätigungsstab angeordneten Anschlags an dem Kontaktträger anschlägt.In terms of the method, it is particularly proposed for a generic method that the actuating rod is mechanically coupled to the contact carrier in such a way that the actuating rod is moved in the contacting position relative to the contact carrier coupled thereto in the contacting position into a hammer position and during a movement of the actuating rod out of the hammer position strikes in the direction of the open position by means of a arranged on the actuating rod stop on the contact carrier.
Der Erfindung liegt der Gedanke zugrunde, dass das Verkleben der Kontaktelemente durch Aufbringen eines geeigneten mechanischen Impulses besser gelöst werden kann. Durch den mechanischen Impuls, dem eine mechanische Energie zugeordnet werden kann, kann nämlich eine entsprechende Impulswirkung auf eine Verklebungsstelle zwischen den verklebten Kontaktelementen erzeugt werden, die aufgrund der Impulswirkung eine deutlich verbesserte Funktionalität in Bezug auf das Lösen der Verklebung bereitstellt. Dabei erweist es sich als vorteilhaft, wenn eine physikalische Masse des Anschlags möglichst groß ist, damit ein möglichst großer Impuls auf die Stelle der Verklebung einwirken kann. Entsprechend vorteilhaft kann sich ein großer Hub zwischen der Hammerposition und der Position des Kontaktträgers in der Kontaktierungsstellung auswirken.The invention is based on the idea that the bonding of the contact elements can be better achieved by applying a suitable mechanical pulse. By virtue of the mechanical impulse, to which a mechanical energy can be assigned, a corresponding impulse effect can be generated on a bonding site between the bonded contact elements, which, due to the impulse effect, provides a significantly improved functionality with regard to the detachment of the bond. It proves to be advantageous if a physical mass of the stopper is as large as possible so that the largest possible momentum can act on the location of the bond. Correspondingly advantageous, a large stroke between the hammer position and the position of the contact carrier in the contacting position can be affected.
Der Betätigungsstab ist mit dem Kontaktträger in der Regel derart mechanisch gekoppelt, dass der Kontaktträger in bestimmungsgemäßer Weise verfahren werden kann, um die gewünschte Stellung der Kontaktelemente beziehungsweise den gewünschten Schaltzustand der elektromechanischen Schalteinrichtungen erreichen zu können.The actuating rod is mechanically coupled to the contact carrier in the rule that the contact carrier can be moved in the intended manner to reach the desired position of the contact elements or the desired switching state of the electromechanical switching devices can.
Üblicherweise wird der Betätigungsstab mittels der Antriebseinrichtung angetrieben, die häufig eine elektromechanische Antriebseinheit ist, die mittels eines in einer Spule längs verschieblich gelagerten Hubmagneten gebildet sein kann. Natürlich kann als Antriebseinheit auch eine pneumatische oder hydraulische Antriebseinheit bereitgestellt sein, die die gewünschte mechanische Bewegung bereitzustellen vermag.Usually, the actuating rod is driven by the drive means, which is often an electromechanical drive unit, which may be formed by means of a longitudinally displaceably mounted in a coil solenoid. Of course, as a drive unit and a pneumatic or hydraulic drive unit may be provided, which is able to provide the desired mechanical movement.
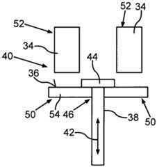
Erfindungsgemäß ist der Betätigungsstab in der Kontaktierungsstellung gegenüber dem ihm gekoppelten Kontaktträger in Richtung der Kontaktierungsstellung hinaus in eine Hammerposition bewegbar. Dies kann zum Beispiel dadurch erreicht werden, dass der Betätigungsstab über den erforderlichen Hub hinaus bewegt werden kann, der erforderlich ist, um den Kontaktträger in gewünschter Weise zu verfahren. In einem einfachen Fall kann dies dadurch erreicht werden, dass der Hub des Betätigungsstabs größer ist als der Hub, der erforderlich ist, den Kontaktträger zwischen der Offenstellung und der Kontaktierungsstellung zu verfahren. Hierzu kann vorgesehen sein, dass der Kontaktträger elastisch mit dem Betätigungsstab verbunden ist und einen entsprechend größeren Hub erlaubt. Beispielsweise kann die Verbindung dadurch realisiert sein, dass der Kontaktträger eine Durchgangsöffnung aufweist, durch die der Betätigungsstab hindurchgeführt ist, wobei der Kontaktträger in Richtung Kontaktierungsstellung mittels eines geeigneten Federelements vorgespannt sein kann. Endseitig gegenüberliegend zur Antriebseinheit ist am Betätigungsstab dann der Anschlag vorgesehen, der zugleich auch dazu dient, den Kontaktträger in der Offenstellung zu positionieren.According to the invention, the actuating rod in the contacting position relative to the contact carrier coupled thereto can be moved in the direction of the contacting position into a hammer position. This can be achieved, for example, in that the actuating rod can be moved beyond the required stroke, which is required to move the contact carrier in the desired manner. In a simple case, this can be achieved in that the stroke of the actuating rod is greater than the stroke that is required to move the contact carrier between the open position and the contacting position. For this purpose, it can be provided that the contact carrier is elastically connected to the actuating rod and allows a correspondingly larger stroke. For example, the connection can be realized in that the contact carrier has a passage opening through which the actuating rod is guided, wherein the contact carrier can be biased in the direction contacting position by means of a suitable spring element. At the end opposite to the drive unit then the stopper is provided on the actuating rod, which also serves at the same time to position the contact carrier in the open position.
Zum Einnehmen der Kontaktierungsstellung braucht der Betätigungsstab also nur soweit verfahren zu werden, dass der Kontaktträger sein Kontaktelement bis zu dem gegenüberliegenden Kontaktelement verfahren kann.To take the contacting position of the actuating rod so only needs to be moved so far that the contact carrier can move its contact element to the opposite contact element.
Darüber hinaus kann der Betätigungsstab natürlich weiter verfahren werden, wobei er nun durch die Durchgangsöffnung des Kontaktträgers hindurchgeschoben werden kann. Dabei kann sich der Kontaktträger über sein Kontaktelement am gegenüberliegenden Kontaktelement mechanisch abstützen. Dadurch wird ein Abstand beziehungsweise Hub zwischen dem Kontaktträger und dem Anschlag hergestellt.In addition, of course, the operating rod can be moved further, where it can now be pushed through the passage opening of the contact carrier. In this case, the contact carrier can be supported mechanically via its contact element on the opposite contact element. As a result, a distance or stroke between the contact carrier and the stop is made.
Soll nun eine Verklebung zwischen den Kontaktelementen gelöst werden, so kann auf einfache Weise der Betätigungsstab in die Offenstellung verfahren werden. Bei der Öffnungsbewegung aus der Hammerposition heraus schlägt der Anschlag am Kontaktträger an. Dabei wird der mechanische Impuls des Anschlags beim Anschlagen an den Kontaktträger auf diesen übertragen. Dieser mechanische Impuls wirkt dann auf die Verklebungsstelle zwischen den Kontaktelementen ein, sodass die Verklebungsstelle gelöst wird. Sollte die Verklebung nicht mit einem ersten Anschlagen des Anschlags an dem Kontaktträger gelöst werden können, kann auch ein wiederholtes Anschlagen durch entsprechende Wiederholung des vorgeschriebenen Ablaufs erfolgen.If now a bond between the contact elements are released, it can be moved in a simple manner, the actuating rod in the open position. During the opening movement out of the hammer position, the stop abuts against the contact carrier. In this case, the mechanical impulse of the stop is transmitted when striking the contact carrier on this. This mechanical impulse then acts on the bonding point between the contact elements, so that the bonding point is released. If the bond can not be solved with a first striking the stop on the contact carrier, a repeated striking by appropriate repetition of the prescribed procedure can take place.
Durch den erfindungsgemäßen Aufbau der elektromechanischen Schalteinrichtung erhält der Betätigungsstab einen gewissen Freilauf, sodass bei verklebten Kontaktelementen beim Öffnen nicht nur an der Verklebungsstelle gezogen wird, sondern darüber hinaus auch ein Ruck auf diese Stelle ausgeübt wird. Darüber hinaus kann ein Öffnungsprogramm vorgesehen sein, welches es erlaubt, den Anschlag mehrfach auf den Kontaktträger einwirken zu lassen, indem die elektromechanische Schalteinrichtung mehrfach zwischen der Kontaktierungsstellung und der Offenstellung angesteuert wird, kann die Verklebungsstelle zwischen den Kontaktelementen aufvibriert werden. Der Anschlag stößt dabei regelmäßig an den Kontaktträger an, sodass die Verklebungsstelle gelöst werden kann.Due to the construction of the electromechanical switching device according to the invention, the actuating rod receives a certain freewheel, so that when bonded contact elements when opening is not only drawn at the bonding point, but also a jerk is exerted on this point. In addition, a can Be provided opening program, which allows the stop to act on the contact carrier several times by the electromechanical switching device is repeatedly driven between the contacting position and the open position, the bonding point can be vibrated between the contact elements. The stop abuts regularly on the contact carrier, so that the bonding can be solved.
Die Erfindung hat also den Vorteil, dass nicht nur ein zuverlässiges Öffnen von miteinander verklebten Kontaktelementen erreicht werden kann, sondern sie hat darüber hinaus den Vorteil, dass die elektromechanische Schalteinrichtung auch nach dem Lösen verklebter Kontakte weiterhin einsatzbereit ist. Anders als im Stand der Technik wird die Betriebsbereitschaft einer elektrischen Anlage, die die elektromechanische Schalteinrichtung umfasst, im Wesentlichen nicht beeinträchtigt.The invention thus has the advantage that not only a reliable opening of glued together contact elements can be achieved, but it also has the advantage that the electromechanical switching device is still ready for use after loosening glued contacts. Unlike in the prior art, the operational readiness of an electrical system comprising the electromechanical switching device is substantially unaffected.
Um das Anschlagen des Anschlags am Kontaktträger auszulösen, kann eine Steuereinheit vorgesehen sein, die das Verkleben der Kontaktelemente ermittelt, und gegebenenfalls ein entsprechendes Steuersignal für die Antriebseinheit bereitstellt. Zum Ermitteln des Verklebens kann die Steuereinheit wenigstens einen entsprechenden Sensor aufweisen, mittels dem die elektrische Verbindung zwischen den Kontakteinheiten erfasst werden kann. Dies kann zum Beispiel mittels eines Stromsensors, der einen elektrischen Strom von wenigstens einer der Kontakteinheiten erfasst, oder mittels eines Widerstandssensors, der einen elektrischen Widerstand zwischen wenigstens zwei der Kontakteinheiten erfasst, erfolgen. Diese Sensorsignale können unter Berücksichtigung eines Zustandssteuersignals für die elektromechanische Schalteinheit ausgewertet werden, mittels dem ein jeweiliger Schaltzustand der elektromechanischen Schalteinheit im bestimmungsgemäßen Betrieb, das heißt, wenn kein Verkleben von Kontaktelementen vorliegt, gesteuert werden kann.In order to trigger the striking of the stop on the contact carrier, a control unit may be provided which determines the bonding of the contact elements, and optionally provides a corresponding control signal for the drive unit. To determine the bonding, the control unit can have at least one corresponding sensor by means of which the electrical connection between the contact units can be detected. This can be done for example by means of a current sensor which detects an electric current of at least one of the contact units, or by means of a resistance sensor which detects an electrical resistance between at least two of the contact units. These sensor signals can be evaluated taking into account a state control signal for the electromechanical switching unit, by means of which a respective switching state of the electromechanical switching unit in normal operation, that is, when there is no bonding of contact elements, can be controlled.
Weitere Vorteile, Merkmale und Einzelheiten der Erfindung ergeben sich aus der nachfolgenden Beschreibung eines bevorzugten Ausführungsbeispiels sowie anhand der Zeichnung. Die vorstehend in der Beschreibung genannten Merkmale und Merkmalskombinationen sowie die nachfolgend in der Figurenbeschreibung genannten und/oder in den Figuren alleine gezeigten Merkmale und Merkmalskombinationen sind nicht nur in der jeweils angegebenen Kombination, sondern auch in anderen Kombinationen oder in Alleinstellung verwendbar, ohne den Rahmen der Erfindung zu verlassen.Further advantages, features and details of the invention will become apparent from the following description of a preferred embodiment and from the drawing. The features and feature combinations mentioned above in the description as well as the features and feature combinations mentioned below in the description of the figures and / or in the figures alone can be used not only in the respectively specified combination but also in other combinations or in isolation, without the scope of To leave invention.
Dabei zeigen:
Gegenüberliegend zu stirnseitigen Enden der Kontaktelemente
Die Kontaktbrücke
Das anhand der
Zu diesem Zweck zeigt
Aus
Das Schütz
Wie bereits zu den
Sollte ein erster Impuls nicht ausreichen, um die Verklebung an den Punkten
Der Vorteil der Erfindung liegt also darin, dass Verklebungen von Kontaktelementen zuverlässig gelöst werden können. Dabei braucht das Schütz
Das Ausführungsbeispiel dient lediglich der Erläuterung der Erfindung und soll diese nicht beschränken. Natürlich kann die Erfindung auch bei Relais oder anderen elektromechanischen Schalteinrichtungen zum Einsatz kommen. Insbesondere eignet sich die Erfindung natürlich auch für den Einsatz bei elektrischen Anlagen von Kraftfahrzeugen, insbesondere elektrisch antreibbaren Kraftfahrzeugen wie Elektrofahrzeugen, Hybridfahrzeugen oder dergleichen. Dabei kann die Erfindung insbesondere auch bei elektrischen Energiespeichern der Kraftfahrzeuge zum Einsatz kommen, wenn nämlich ein Energiespeicher, beispielsweise eine Batterie, insbesondere eine Hochvoltbatterie, mit einem entsprechenden Schütz ausgerüstet werden soll.The embodiment is merely illustrative of the invention and is not intended to limit this. Of course, the invention can also be used in relays or other electromechanical switching devices. In particular, the invention is of course also suitable for use in electrical systems of motor vehicles, in particular electrically driven motor vehicles such as electric vehicles, hybrid vehicles or the like. In this case, the invention can also be used, in particular, for electric energy stores of motor vehicles, if an energy store, for example a battery, in particular a high-voltage battery, is to be equipped with a corresponding contactor.
BezugszeichenlisteLIST OF REFERENCE NUMBERS
ZITATE ENTHALTEN IN DER BESCHREIBUNG QUOTES INCLUDE IN THE DESCRIPTION
Diese Liste der vom Anmelder aufgeführten Dokumente wurde automatisiert erzeugt und ist ausschließlich zur besseren Information des Lesers aufgenommen. Die Liste ist nicht Bestandteil der deutschen Patent- bzw. Gebrauchsmusteranmeldung. Das DPMA übernimmt keinerlei Haftung für etwaige Fehler oder Auslassungen.This list of the documents listed by the applicant has been generated automatically and is included solely for the better information of the reader. The list is not part of the German patent or utility model application. The DPMA assumes no liability for any errors or omissions.
Zitierte PatentliteraturCited patent literature
Zitierte Nicht-PatentliteraturCited non-patent literature
| Application Number | Priority Date | Filing Date | Title |
|---|---|---|---|
| DE102017011206.1ADE102017011206A1 (en) | 2017-12-05 | 2017-12-05 | Electromechanical switching device |
| Application Number | Priority Date | Filing Date | Title |
|---|---|---|---|
| DE102017011206.1ADE102017011206A1 (en) | 2017-12-05 | 2017-12-05 | Electromechanical switching device |
| Publication Number | Publication Date |
|---|---|
| DE102017011206A1true DE102017011206A1 (en) | 2019-06-06 |
| Application Number | Title | Priority Date | Filing Date |
|---|---|---|---|
| DE102017011206.1AWithdrawnDE102017011206A1 (en) | 2017-12-05 | 2017-12-05 | Electromechanical switching device |
| Country | Link |
|---|---|
| DE (1) | DE102017011206A1 (en) |
| Publication number | Priority date | Publication date | Assignee | Title |
|---|---|---|---|---|
| DE102020007452A1 (en) | 2020-12-07 | 2022-06-09 | Daimler Truck AG | Method for operating a switching device of an electrical network, and switching device |
| Publication number | Priority date | Publication date | Assignee | Title |
|---|---|---|---|---|
| DE102011114997A1 (en) | 2011-10-06 | 2012-06-14 | Daimler Ag | Contact arrangement for contactor that is utilized as safety switching elements in motor vehicle, has closing device controlled by control device that supplies current to closing device, such that force is cyclically exerted on contact |
| DE102016011269A1 (en) | 2016-09-17 | 2017-03-30 | Daimler Ag | Contact arrangement for a motor vehicle, and method for operating a contact arrangement for a motor vehicle |
| Publication number | Priority date | Publication date | Assignee | Title |
|---|---|---|---|---|
| DE102011114997A1 (en) | 2011-10-06 | 2012-06-14 | Daimler Ag | Contact arrangement for contactor that is utilized as safety switching elements in motor vehicle, has closing device controlled by control device that supplies current to closing device, such that force is cyclically exerted on contact |
| DE102016011269A1 (en) | 2016-09-17 | 2017-03-30 | Daimler Ag | Contact arrangement for a motor vehicle, and method for operating a contact arrangement for a motor vehicle |
| Title |
|---|
| DIN/EN 61058-1, IEC 60947-1 |
| Norm ECE R 100 |
| Publication number | Priority date | Publication date | Assignee | Title |
|---|---|---|---|---|
| DE102020007452A1 (en) | 2020-12-07 | 2022-06-09 | Daimler Truck AG | Method for operating a switching device of an electrical network, and switching device |
| DE102020007452B4 (en) | 2020-12-07 | 2023-06-22 | Daimler Truck AG | Method for operating a switching device of an electrical network, and switching device |
| Publication | Publication Date | Title |
|---|---|---|
| DE102013211539B4 (en) | Switching mechanism and electromechanical protective switching device | |
| DE102011103834B4 (en) | SWITCHING SYSTEM FOR MOTOR VEHICLES, MOTOR VEHICLE EQUIPPED WITH SUCH A SWITCHING SYSTEM AND METHOD FOR DISCONNECTING A POWER PATH | |
| DE102010032456A1 (en) | Electric contactor | |
| EP1628317B1 (en) | Circuit breaker with short circuit and overload trip indicator and according method | |
| EP3224852B1 (en) | Switching device having a drive for functional switching and a high-speed circuit breaker for breaking a current path in the switching device | |
| DE102015211030A1 (en) | Fast closing switching element | |
| WO2020007743A1 (en) | Relay comprising shock-compensated contact bridge | |
| DE102017011206A1 (en) | Electromechanical switching device | |
| DE102008024940B3 (en) | relay | |
| WO2008095452A1 (en) | Electromechanical switching device and use of an interlayer in an electromechanical switching device | |
| DE102011114997A1 (en) | Contact arrangement for contactor that is utilized as safety switching elements in motor vehicle, has closing device controlled by control device that supplies current to closing device, such that force is cyclically exerted on contact | |
| DE102014012454A1 (en) | Contactor with fast switching properties | |
| WO2006069957A1 (en) | Method and device for the secure operation of a switching device | |
| DE2547257A1 (en) | ELECTRICAL SWITCHING CONTACT WITH EXTREMELY SMALL ACTUATION TRAVEL | |
| DE102020005534A1 (en) | Electromechanical switching device | |
| DE102009038671A1 (en) | Attachment module for detecting a switching state of an electromagnetic switching device | |
| EP3549150B1 (en) | Device for separating an electrical system from an energy source | |
| EP2774164B1 (en) | Transfer assembly | |
| DE102010017900A1 (en) | Installation switching device with a double break | |
| DE102016011341A1 (en) | High-voltage contactor arrangement for a motor vehicle and method for transferring a high-voltage contactor arrangement between an open and a closed state | |
| EP2431993B1 (en) | Modular low voltage switch | |
| DE102014111854B4 (en) | Switching device with switching and protection function | |
| DE102016011269A1 (en) | Contact arrangement for a motor vehicle, and method for operating a contact arrangement for a motor vehicle | |
| DE19947051C1 (en) | Electromechanical breaker switch for automobile electrics e.g. for safety disconnection in crash situation, has contacts at ends of load cables projecting into switch housing held together against resetting spring | |
| DE10112563A1 (en) | Device for actuating a trigger mechanism |
| Date | Code | Title | Description |
|---|---|---|---|
| R081 | Change of applicant/patentee | Owner name:MERCEDES-BENZ GROUP AG, DE Free format text:FORMER OWNER: DAIMLER AG, 70327 STUTTGART, DE Owner name:DAIMLER AG, DE Free format text:FORMER OWNER: DAIMLER AG, 70327 STUTTGART, DE | |
| R081 | Change of applicant/patentee | Owner name:MERCEDES-BENZ GROUP AG, DE Free format text:FORMER OWNER: DAIMLER AG, STUTTGART, DE | |
| R005 | Application deemed withdrawn due to failure to request examination |