
Die Erfindung betrifft eine Filtereinrichtung, insbesondere ein Luftfilter, für eine Frischluftanlage einer Brennkraftmaschine.The invention relates to a filter device, in particular an air filter, for a fresh air system of an internal combustion engine.
Aus der
Die
Als nachteilig bei den vorangehend genannten Filtereinrichtungen erweist sich, dass aufgrund von Fertigungstoleranzen an den das Gehäuse der Filtereinrichtung bildenden Gehäuseteilen die in der Filtereinrichtung vorgesehenen Dichtungseinrichtungen unter Umständen keine zuverlässige Dichtwirkung erzielen können.A disadvantage of the above-mentioned filter devices proves that due to manufacturing tolerances on the housing parts forming the housing of the filter device, the sealing devices provided in the filter device may not be able to achieve a reliable sealing effect.
Es ist daher eine Aufgabe der vorliegenden Erfindung, eine Filtereinrichtung zu schaffen, die eine Dichtungseinrichtung mit verbesserten Dichtungseigenschaften besitzt, so das insbesondere auch große Fertigungstoleranzen in den das Gehäuse der Filtereinrichtung bildenden Gehäuseteilen ausgeglichen werden können.It is therefore an object of the present invention to provide a filter device which has a sealing device with improved sealing properties, so that in particular large manufacturing tolerances can be compensated in the housing parts forming the housing of the filter device.
Diese Aufgabe wird durch den Gegenstand der unabhängigen Patentansprüche gelöst. Bevorzugte Ausführungsformen sind Gegenstand der abhängigen Patentansprüche.This object is solved by the subject matter of the independent patent claims. Preferred embodiments are subject of the dependent claims.
Grundgedanke ist demnach, eine Filtereinrichtung mit zwei Dichtungselementen auszustatten, die jeweils eine Dichtlippe aufweisen. Erfindungsgemäß sind die beiden Dichtungselemente dabei am Gehäuse der Filtereinrichtung angeordnet. Dabei stützen sich die Dichtungselemente beide an einem axial endseitig vom Filterelement der Filtereinrichtung abstehenden Kragen ab. Bevorzugt liegen die beiden Dichtlippen dabei an einander gegenüberliegenden Seiten des Kragens an.The basic idea is therefore to equip a filter device with two sealing elements, each having a sealing lip. According to the invention, the two sealing elements are arranged on the housing of the filter device. In this case, the sealing elements are both based on a collar projecting axially from the filter element of the filter device. Preferably, the two sealing lips abut against opposite sides of the collar.
Auf diese Weise kann eine hervorragende Dichtwirkung erzielt werden, so dass eine unerwünschte Leckage auch bei hohen Fertigungstoleranzen in den Gehäuseteilen des Gehäuses verhindert werden kann. Da die beiden Dichtungselemente am Gehäuse angebracht und somit Teil des Gehäuses sind, werden die Dichtungselemente bei einem Austausch des Filterelements nicht mit ausgewechselt, sondern verbleiben am Gehäuse der Filtereinrichtung. Dies bedeutet, dass das Filterelement, bei dem es sich typischerweise um ein Austauschteil handelt, nicht jeweils mit den erfindungswesentlichen Dichtungselementen ausgestattet werden muss. Dies wiederum führt zu nicht unerheblichen Kosteneinsparungen bei der Herstellung des Filterelements, was sich als besonders vorteilhaft erweist, wenn das Filterelement einmal oder mehrfach ausgetauscht werden muss.In this way, an excellent sealing effect can be achieved, so that an undesirable leakage can be prevented even at high manufacturing tolerances in the housing parts of the housing. Since the two sealing elements mounted on the housing and thus are part of the housing, the sealing elements are not replaced with an exchange of the filter element, but remain on the housing of the filter device. This means that the filter element, which is typically a replacement part, does not have to be equipped with the sealing elements essential to the invention. This in turn leads to not inconsiderable cost savings in the production of the filter element, which proves to be particularly advantageous when the filter element has to be replaced once or several times.
Eine erfindungsgemäße Filtereinrichtung umfasst ein, vorzugsweise als Ringfilter ausgebildetes, Filterelement, welches an zumindest einer Stirnseite eine axiale Endscheibe aufweist. Das Filterelement kann ein geeignetes Filtermedium zum Reinigen eines zu filternden Gases, insbesondere Luft, umfassen. Von dieser axialen Endscheibe steht in axialer Richtung des Filterelements und vom Filterelement weg ein ringförmiger Kragen ab.A filter device according to the invention comprises a, preferably designed as a ring filter, filter element which has an axial end plate on at least one end face. The filter element may comprise a suitable filter medium for cleaning a gas to be filtered, in particular air. From this axial end plate is in the axial direction of the filter element and away from the filter element, an annular collar.
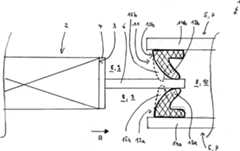
Weiterhin umfasst die Filtereinrichtung eine Gehäusewand, an welcher eine ringförmige Ausnehmung vorhanden ist. In dieser ringförmigen Ausnehmung ist besagter ringförmiger Kragen wenigstens teilweise aufgenommen. Erfindungsgemäß umfasst die Gehäusewand ein erstes Dichtungselement mit einer ersten Dichtlippe und ein zweites Dichtungselement mit einer zweiten Dichtlippe. Beide Dichtungselemente sind in der Ausnehmung angeordnet und stützen sich in der Ausnehmung an dem von der axialen Endscheibe des Filterelements abstehenden Kragen ab.Furthermore, the filter device comprises a housing wall, on which an annular recess is present. In said annular recess said annular collar is at least partially received. According to the invention, the housing wall comprises a first sealing element with a first sealing lip and a second sealing element with a second sealing lip. Both sealing elements are arranged in the recess and are supported in the recess on the protruding from the axial end plate of the filter element collar.
In einer vereinfachten Variante der erfindungsgemäßen Filtereinrichtung kann auf die axiale Endscheibe verzichtet sein. Bei dieser Variante steht der Kragen direkt vom der Stirnseite des Filterelements in axialer Richtung ab.In a simplified variant of the filter device according to the invention, the axial end disk can be dispensed with. In this variant, the collar is directly from the end face of the filter element in the axial direction.
Bei einer bevorzugten Ausführungsform ist die Gehäusewand Teil eines Filtergehäuses der Filtereinrichtung, welches einen Gehäuseinnenraum begrenzt, in welchem das Filterelement aufgenommen ist, so dass das im Filtergehäuse aufgenommene Filterelement einen vom Filtergehäuse begrenzten Gehäuseinnenraum in eine Rohseite und eine Reinseite unterteilt. Somit sind auch die beiden Dichtungselemente an der Gehäusewand angebracht, was die Montage der Dichtungselemente in der Filtereinrichtung nicht unerheblich erleichtert.In a preferred embodiment, the housing wall is part of a filter housing of the filter device, which defines a housing interior, in which the filter element is accommodated, so that the filter element accommodated in the filter housing subdivides a housing interior bounded by the filter housing into a raw side and a clean side. Thus, the two sealing elements are attached to the housing wall, which facilitates the assembly of the sealing elements in the filter device not insignificant.
Bei einer weiteren bevorzugten Ausführungsform dichten die beiden Dichtungselemente und der von der Endscheibe abstehende Kragen eine durch die Ausnehmung gebildete Fluidverbindung zwischen der Rohseite und der Reinseite ab. Auf diese Weise kann eine hohe Dichtigkeit zwischen der Rohseite und der Reinseite der Filtereinrichtung bzw. des Filterelement sichergestellt werden.In a further preferred embodiment, the two sealing elements and the collar projecting from the end disk seal a fluid connection formed by the recess between the raw side and the clean side. In this way, a high tightness between the raw side and the clean side of the filter device or the filter element can be ensured.
Zweckmäßig können die beiden Dichtungselemente und der Kragen dem Wirkprinzip eines Überdruckventils folgen. Dies geschieht derart, dass bei Überschreitung eines vorbestimmten Differenz-Schwelldrucks des in der Filtereinrichtung zu filternden Gases zwischen Rohseite und Reinseite die Dichtungselemente die Fluidverbindung zwischen Rohseite und Reinseite durch die Ausnehmung hindurch freigeben. Auf diese Weise kann ein zu hoher, mit der Gefahr von Beschädigungen am Filterelement einhergehender Gasdruck in der Rohseite vermieden werden. Dies gilt insbesondere bei sogenannten Druckstößen, also einem kurzzeitigen starken Anstieg des Gasdrucks in der Rohseite.Suitably, the two sealing elements and the collar can follow the operating principle of a pressure relief valve. This happens in such a way that, when a predetermined differential threshold pressure of the gas to be filtered in the filter device between the raw side and the clean side is exceeded, the sealing elements release the fluid connection between the raw side and the clean side through the recess. In this way, too high, accompanied by the risk of damage to the filter element gas pressure in the raw side can be avoided. This is especially true in so-called pressure surges, so a short-term sharp increase in gas pressure in the crude side.
Bei einer weiteren bevorzugten Ausführungsform sind die beiden Dichtungselemente mit den beiden Dichtlippen ein Teil des Filtergehäuses. Somit müssen die Dichtungselemente nicht mit ausgetauscht werden, wenn das Filterelement, bei welchem er sich typischerweise mein Austauschteil handelt, gewechselt werden soll. Vielmehr können die beiden Dichtungselemente am Filtergehäuse verbleiben.In a further preferred embodiment, the two sealing elements with the two sealing lips are part of the filter housing. Thus, the sealing elements must not be replaced with, if the filter element, in which he is typically my replacement part, to be changed. Rather, the two sealing elements can remain on the filter housing.
Eine besonders gute Dichtwirkung lässt sich mittels der beiden Dichtungselemente erzielen, wenn die Gehäusewand des Filtergehäuses eine radial innere und eine radial äußere Umfangswandung aufweist, welche beide die ringförmige Ausnehmung begrenzen. Bei dieser Variante ist das erste Dichtungselement an der radial inneren Umfangswandung angeordnet und das zweite Dichtungselement an der radial äußeren Umfangswandung angeordnet. Auf diese Weise können sich die beiden einander gegenüberliegenden Dichtlippen der beiden Dichtungselemente auf gegenüberliegenden Seiten des Kragens an diesem abstützen, wodurch eine gute Dichtwirkung sichergestellt werden kann.A particularly good sealing effect can be achieved by means of the two sealing elements, when the housing wall of the filter housing has a radially inner and a radially outer circumferential wall, both of which limit the annular recess. In this variant, the first sealing element is arranged on the radially inner circumferential wall and the second sealing element is arranged on the radially outer circumferential wall. In this way, the two opposing sealing lips of the two sealing elements can be supported on opposite sides of the collar on this, whereby a good sealing effect can be ensured.
Eine hervorragende Dichtwirkung lässt sich indes erzielen, wenn der von der Endscheibe abstehende Kragen sandwichartig zwischen den beiden Dichtungselementen angeordnet ist.However, an excellent sealing effect can be achieved if the protruding collar of the end plate is sandwiched between the two sealing elements.
Zweckmäßig können die beiden Dichtungselemente mittels einer stoffschlüssigen Verbindung, vorzugsweise mittels einer Klebeverbindung, an der Gehäusewand befestigt sein. Diese Maßnahme stellt eine dauerhafte, zuverlässige Befestigung der beiden Dichtungselemente am Gehäuse bzw. an der Gehäusewand sicher.Suitably, the two sealing elements by means of a cohesive connection, preferably by means of an adhesive bond, be attached to the housing wall. This measure ensures a permanent, reliable attachment of the two sealing elements on the housing or on the housing wall.
Besonders bevorzugt können die beiden Dichtungselemente als Gleichteile ausgebildet sein. Dies vereinfacht die Herstellung der Dichtungselemente und führt somit zu verringerten Herstellungskosten für die gesamte FiltereinrichtungParticularly preferably, the two sealing elements may be formed as equal parts. This simplifies the production of the sealing elements and thus leads to reduced manufacturing costs for the entire filter device
Bei einer dazu alternativen, ebenfalls bevorzugten Ausführungsform können die beiden Dichtungselemente integral an der Gehäusewand ausgeformt sein. Diese Variante bietet sich insbesondere dann an, wenn das Filtergehäuse mit der Gehäusewand als Spritzgussteil, vorzugsweise als Kunststoff-Spritzgussteil, hergestellt werden soll, sodass die Gehäusewand mit den beiden Dichtungselementen aus einem Stück gefertigt werden kann.In an alternative, also preferred embodiment, the two sealing elements may be integrally formed on the housing wall. This variant is particularly suitable when the filter housing with the housing wall as an injection molded part, preferably as a plastic injection molded part to be produced, so that the housing wall can be made with the two sealing elements in one piece.
In einer weiteren alternativen, besonders kostengünstigen Variante, können die beiden Dichtungselemente an die Gehäusewand angespritzt sein.In a further alternative, particularly cost-effective variant, the two sealing elements can be molded onto the housing wall.
Besonders bevorzugt stehen die beiden Dichtlippen in die Ausnehmung hinein von der jeweiligen Umfangswandung der Gehäusewand ab. Auf diese Weise können die Dichtungselemente mit den Dichtlippen besonders gut vor Beschädigung sowie Verschmutzung geschützt werden, was sich vorteilhaft auf die von den Dichtungselemente erzielte Dichtwirkung und auf die Lebensdauer der Dichtelemente auswirkt.Particularly preferably, the two sealing lips protrude into the recess from the respective peripheral wall of the housing wall. In this way, the sealing elements with the sealing lips can be particularly well protected against damage and contamination, which has an advantageous effect on the sealing effect achieved by the sealing elements and on the life of the sealing elements.
Besonders bevorzugt stehen die beiden Dichtlippen schräg, vorzugsweise unter einem spitzen Winkel, von der ersten bzw. zweiten Umfangswandung der Gehäusewand ab und liegen schräg, vorzugsweise unter dem spitzen Winkel, am Kragen an. Auch diese Variante führt zu einer hervorragenden Dichtwirkung, auch wenn die Gehäusewand, insbesondere die beiden Umfangswandlungen, hohe Fertigungstoleranzen aufweisen; denn diese können problemlos von den Dichtungselemente und ihren Dichtlippen mit der vorangehend beschriebenen, schrägen Anordnung ausgeglichen werden.Particularly preferably, the two sealing lips are inclined, preferably at an acute angle, from the first or second peripheral wall of the housing wall and are inclined, preferably at the acute angle, on the collar. This variant also leads to an excellent sealing effect, even if the housing wall, in particular the two peripheral conversions, have high manufacturing tolerances; because these can be easily compensated by the sealing elements and their sealing lips with the above-described oblique arrangement.
Eine besonders gute Dichtwirkung lässt sich mittels der beiden Dichtungselemente erzielen, wenn ihre beiden Dichtlippen derart ausgebildet sind, dass sie durch ein Einschieben des Kragens in die Ausnehmung gekrümmt werden.A particularly good sealing effect can be achieved by means of the two sealing elements, if their two sealing lips are formed such that they are curved by insertion of the collar into the recess.
Weitere wichtige Merkmale und Vorteile der Erfindung ergeben sich aus den Unteransprüchen, aus der Zeichnung und aus der zugehörigen Figurenbeschreibung anhand der Zeichnung.Other important features and advantages of the invention will become apparent from the dependent claims, from the drawing and from the associated description of the figures with reference to the drawing.
Es versteht sich, dass die vorstehend genannten und die nachstehend noch zu erläuternden Merkmale nicht nur in der jeweils angegebenen Kombination, sondern auch in anderen Kombinationen oder in Alleinstellung verwendbar sind, ohne den Rahmen der vorliegenden Erfindung zu verlassen. It is understood that the features mentioned above and those yet to be explained below can be used not only in the particular combination given, but also in other combinations or in isolation, without departing from the scope of the present invention.
Bevorzugte Ausführungsbeispiele der Erfindung sind in der Zeichnung dargestellt und werden in der nachfolgenden Beschreibung näher erläutert.Preferred embodiments of the invention are illustrated in the drawings and will be explained in more detail in the following description.
Die einzige
Weiterhin umfasst die Filtereinrichtung
Das Filtergehäuse
Die Gehäusewand
Die beiden Dichtungselemente
Zweckmäßig können die beiden Dichtungselemente
Wie der Längsschnitt der
Der von der axialen Endscheibe
Die beiden Dichtungselemente
In einer in den die Figur nicht gezeigte Variante können die beiden Dichtungselemente
Wie der Längsschnitt der
Zweckmäßig können die beiden Dichtlippen
Die vorangehend beschriebene Gehäusewand
ZITATE ENTHALTEN IN DER BESCHREIBUNG QUOTES INCLUDE IN THE DESCRIPTION
Diese Liste der vom Anmelder aufgeführten Dokumente wurde automatisiert erzeugt und ist ausschließlich zur besseren Information des Lesers aufgenommen. Die Liste ist nicht Bestandteil der deutschen Patent- bzw. Gebrauchsmusteranmeldung. Das DPMA übernimmt keinerlei Haftung für etwaige Fehler oder Auslassungen.This list of the documents listed by the applicant has been generated automatically and is included solely for the better information of the reader. The list is not part of the German patent or utility model application. The DPMA assumes no liability for any errors or omissions.
Zitierte PatentliteraturCited patent literature
| Application Number | Priority Date | Filing Date | Title | 
|---|---|---|---|
| DE102016213357.8ADE102016213357A1 (en) | 2016-07-21 | 2016-07-21 | Filter device, in particular air filter, for a fresh air system of an internal combustion engine | 
| Application Number | Priority Date | Filing Date | Title | 
|---|---|---|---|
| DE102016213357.8ADE102016213357A1 (en) | 2016-07-21 | 2016-07-21 | Filter device, in particular air filter, for a fresh air system of an internal combustion engine | 
| Publication Number | Publication Date | 
|---|---|
| DE102016213357A1true DE102016213357A1 (en) | 2018-01-25 | 
| Application Number | Title | Priority Date | Filing Date | 
|---|---|---|---|
| DE102016213357.8AWithdrawnDE102016213357A1 (en) | 2016-07-21 | 2016-07-21 | Filter device, in particular air filter, for a fresh air system of an internal combustion engine | 
| Country | Link | 
|---|---|
| DE (1) | DE102016213357A1 (en) | 
| Publication number | Priority date | Publication date | Assignee | Title | 
|---|---|---|---|---|
| DE102019203799A1 (en)* | 2019-03-20 | 2020-09-24 | Mahle International Gmbh | Filter device | 
| Publication number | Priority date | Publication date | Assignee | Title | 
|---|---|---|---|---|
| DE10152552A1 (en)* | 2001-10-24 | 2003-05-08 | Mann & Hummel Filter | Filter element, in particular for the filtration of liquids | 
| WO2009047204A1 (en) | 2007-10-02 | 2009-04-16 | Mann+Hummel Gmbh | Filter element having v-seal | 
| EP2152385B1 (en) | 2007-05-23 | 2011-01-26 | MAHLE International GmbH | Gas filter insert | 
| DE102011106502A1 (en)* | 2011-06-15 | 2012-12-20 | Mann + Hummel Gmbh | Filter element and housing for a filter element | 
| US20140325945A1 (en)* | 2006-10-06 | 2014-11-06 | Donaldson Company, Inc. | Air cleaner replaceable filter cartridges; and, methods | 
| Publication number | Priority date | Publication date | Assignee | Title | 
|---|---|---|---|---|
| DE10152552A1 (en)* | 2001-10-24 | 2003-05-08 | Mann & Hummel Filter | Filter element, in particular for the filtration of liquids | 
| US20140325945A1 (en)* | 2006-10-06 | 2014-11-06 | Donaldson Company, Inc. | Air cleaner replaceable filter cartridges; and, methods | 
| EP2152385B1 (en) | 2007-05-23 | 2011-01-26 | MAHLE International GmbH | Gas filter insert | 
| WO2009047204A1 (en) | 2007-10-02 | 2009-04-16 | Mann+Hummel Gmbh | Filter element having v-seal | 
| DE102011106502A1 (en)* | 2011-06-15 | 2012-12-20 | Mann + Hummel Gmbh | Filter element and housing for a filter element | 
| Publication number | Priority date | Publication date | Assignee | Title | 
|---|---|---|---|---|
| DE102019203799A1 (en)* | 2019-03-20 | 2020-09-24 | Mahle International Gmbh | Filter device | 
| Publication | Publication Date | Title | 
|---|---|---|
| DE102010033669B4 (en) | Sealing device of a filter system for filtering fluids | |
| EP2373398B1 (en) | Filter element and compressed air filter for separating foreign matter from a compressed air stream | |
| DE102010015837B3 (en) | Filter arrangement for filtering e.g. oils, has spring element applying restoring force and arranged at side of outwardly flown through filter element while side faces are turned away from inwardly flown through filter element | |
| EP3096859B1 (en) | Filter element | |
| EP3285909A1 (en) | Secondary element for a filter system and filter system with a secondary element | |
| DE102014000281A1 (en) | Cup-shaped housing, apparatus for separating liquid from air, and method for mounting the cup-shaped housing on a nipple | |
| WO2013020826A1 (en) | Heat exchanger assembly | |
| DE102009033261A1 (en) | filter system | |
| DE102013014494A1 (en) | Filter system with seal | |
| DE102014011394B4 (en) | Oil filter element and oil filter | |
| DE102013210065A1 (en) | Filter device, in particular for a motor vehicle | |
| DE102009036619A1 (en) | Coupling head for the pneumatic connection of the brake systems of a towing vehicle and a trailer with lip valve | |
| DE102016213357A1 (en) | Filter device, in particular air filter, for a fresh air system of an internal combustion engine | |
| DE102020123586A1 (en) | Filter element, filter assembly, arrangement and assembly method | |
| WO2018033317A1 (en) | Filter element assembly having sealing element and filter system | |
| DE102011108770A1 (en) | Arrangement of master cylinder at floor panel/dashboard of vehicle, has rubber seal that is arranged between flange and vehicle wall, and is formed with sealing lips in direction of vehicle wall or flange of master cylinder | |
| DE102019115547A1 (en) | Filter element of a filter for cleaning fluids, plug-in adapter and filter | |
| DE102018004041A1 (en) | Air filter element with circumferentially protruding clean air seal, filter housing and air filter | |
| DE102015005567A1 (en) | filter system | |
| DE102015112487A1 (en) | Coupling system, in particular coupling system for the pneumatic connection of a pneumatic brake system of a towing vehicle and a trailer | |
| DE102019116203A1 (en) | Fluid filter with axially flowable wound filter elements | |
| DE102013004867B4 (en) | Filter device with an annular filter element | |
| DE102015008694A1 (en) | Hollow filter element of a liquid filter, liquid filter, filter system and adapter element of a hollow filter element | |
| DE102023117941A1 (en) | filter element, drain plug element and filter system | |
| DE202010000872U1 (en) | Device for connecting a pipe to a connecting piece of a fitting or fittings | 
| Date | Code | Title | Description | 
|---|---|---|---|
| R163 | Identified publications notified | ||
| R119 | Application deemed withdrawn, or ip right lapsed, due to non-payment of renewal fee |