Movatterモバイル変換


[0]ホーム

URL:


DE10201569B4 - Surgical instrument - Google Patents

Surgical instrument
Download PDF

Info

Publication number
DE10201569B4
DE10201569B4DE2002101569DE10201569ADE10201569B4DE 10201569 B4DE10201569 B4DE 10201569B4DE 2002101569DE2002101569DE 2002101569DE 10201569 ADE10201569 ADE 10201569ADE 10201569 B4DE10201569 B4DE 10201569B4
Authority
DE
Germany
Prior art keywords
tool
fluid
instrument according
fluid channel
instrument
Prior art date
Legal status (The legal status is an assumption and is not a legal conclusion. Google has not performed a legal analysis and makes no representation as to the accuracy of the status listed.)
Expired - Fee Related
Application number
DE2002101569
Other languages
German (de)
Other versions
DE10201569A1 (en
Inventor
Christoph Dipl.-Ing. Rothweiler (FH)
Dieter Dipl.-Ing. Weißhaupt (FH)
Current Assignee (The listed assignees may be inaccurate. Google has not performed a legal analysis and makes no representation or warranty as to the accuracy of the list.)
Aesculap AG
Original Assignee
Aesculap AG
Priority date (The priority date is an assumption and is not a legal conclusion. Google has not performed a legal analysis and makes no representation as to the accuracy of the date listed.)
Filing date
Publication date
Application filed by Aesculap AGfiledCriticalAesculap AG
Priority to DE2002101569priorityCriticalpatent/DE10201569B4/en
Publication of DE10201569A1publicationCriticalpatent/DE10201569A1/en
Application grantedgrantedCritical
Publication of DE10201569B4publicationCriticalpatent/DE10201569B4/en
Anticipated expirationlegal-statusCritical
Expired - Fee Relatedlegal-statusCriticalCurrent

Links

Classifications

Landscapes

Abstract

Translated fromGerman

ChirurgischesInstrument mit einem proximalen und einem distalen Ende, mit einemersten Werkzeug und einem zweiten, relativ zum ersten bewegbarenWerkzeug am distalen Ende des Instruments, mit einem dem erstenWerkzeug zugeordneten ersten Fluidkanal, der einen Fluideinlaß an seinemproximalen Ende aufweist und eine Fluidströmung in distaler Richtung ermöglicht,und mit einem zweiten Fluidkanal, der eine Fluidströmung inproximaler Richtung ermöglichtund einen Fluidauslaß anseinem proximalen Ende aufweist, wobei das erste Werkzeug (19) denzweiten Fluidkanal (35) umfaßt, dadurchgekennzeichnet, daß dererste Fluidkanal (34) und der zweite Fluidkanal (35) einen Kühlkanal(33) bilden und daß eindistaler Endbereich des ersten Fluidkanals (34) mit einem distalenEndbereich des zweiten Fluidkanals (35) in direkter Fluidverbindungsteht, indem die beiden distalen Enden der Fluidkanäle miteinanderverbunden werden, so daß einKühlkreislaufim Kühlkanal(33) mittels eines durch den ersten und zweiten Fluidkanal (34,35) strömenden Fluidsentsteht.surgicalInstrument with a proximal and a distal end, with afirst tool and a second, relative to the first movableTool at the distal end of the instrument, with one the firstTool associated first fluid channel having a fluid inlet at itsHaving proximal end and allows fluid flow in the distal direction,and with a second fluid channel, which is a fluid flow inproximal direction allowsand a fluid outletits proximal end, wherein the first tool (19) thesecond fluid channel (35) therebycharacterized in thatfirst fluid channel (34) and the second fluid channel (35) has a cooling channel(33) form and that onedistal end portion of the first fluid channel (34) having a distalEnd portion of the second fluid channel (35) in direct fluid communicationis standing by the two distal ends of the fluid channels with each otherbe connected so that aCooling circuitin the cooling channel(33) by means of a through the first and second fluid channel (34,35) flowing fluidarises.

Figure 00000001
Figure 00000001

Description

Translated fromGerman

DieErfindung betrifft ein chirurgisches Instrument mit einem proximalenund einem distalen Ende, mit einem ersten Werkzeug und einem zweiten,relativ zum ersten bewegbaren Werkzeug am distalen Ende des Instruments,mit einem dem ersten Werkzeug zugeordneten ersten Fluidkanal, dereinen Fluideinlaß anseinem proximalen Ende aufweist und eine Fluidströmung indistaler Richtung ermöglicht, undmit einem zweiten Fluidkanal, der eine Fluidströmung in proximaler Richtungermöglichtund einen Fluidauslaß anseinem proximalen Ende aufweist, wobei das erste Werkzeug den zweitenFluidkanal umfaßt.TheThe invention relates to a surgical instrument with a proximaland a distal end, with a first tool and a second,relative to the first movable tool at the distal end of the instrument,with a first fluid channel associated with the first tool, thea fluid inlethas its proximal end and a fluid flow inallows distal direction, andwith a second fluid channel, which is a fluid flow in the proximal directionallowsand a fluid outletits proximal end, wherein the first tool the secondFluid channel includes.

ChirurgischeInstrumente der eingangs beschriebenen Art sind beispielsweise ausderUS 5,417,709 bekannt.Diese offenbart beispielsweise eine endoskopische Bipolarschere,längs deren Schaftvoneinander getrennt ein Saug- und ein Spülkanal vorgesehen sind. Amdistalen Ende des Instruments schwenkbare Werkzeuge sind mit Austritts- bzw.Ansaugöffnungenversehen, die jeweils entweder mit dem Spül- oder dem Absaugkanal inFluidverbindung stehen.Surgical instruments of the type described above are for example from the US 5,417,709 known. This discloses, for example, an endoscopic bipolar scissors, along the shaft of each other separately, a suction and a flushing channel are provided. Tools pivotable at the distal end of the instrument are provided with discharge ports which are in fluid communication with either the purge or suction channels, respectively.

ZumVerödenvon Weichgewebe wird üblicherweise über zweiElektroden ein Hochfrequenzstrom angelegt. Dieser kann direkt über dasInstrument oder überseparate Elektroden fließen.In beiden Fällenbefindet sich das Instru ment in Kontakt mit einem solchen Koagulationsbereich,mit der Folge, daß diebeiden Werkzeuge sehr heiß werdenkönnen.To thebecome desertedof soft tissue is usually over twoElectrodes applied a high frequency current. This can be done directly over theInstrument or overseparate electrodes flow.In both casesIf the instrument is in contact with such a coagulation area,with the result that theboth tools get very hotcan.

Mitden beiden bei der Bipolarschere gemäß derUS 5,417,709 vorgesehenen Spül- und Absaugkanälen istzwar prinzipiell eine Kühlungmöglich, dochbirgt diese Ausgestaltung mehrere Nachteile. Zum einen tritt Spülflüssigkeitim Operationsbereich aus dem Instrument aus, so daß mit Flüssigkeitsverlustengerechnet werden muß unddaher auch nicht jede Flüssigkeitals Kühlflüssigkeitverwendet werden kann. Zum anderen kann der Absaugkanal verstopfen,wenn Gewebeteile mit abgesaugt werden.With the two in the bipolar scissors according to the US 5,417,709 provided flushing and suction ducts is in principle a cooling possible, but this configuration has several disadvantages. On the one hand, rinsing fluid escapes from the instrument in the operating area, so that losses of fluid must be expected, and therefore not every fluid can be used as a cooling fluid. On the other hand, the suction channel can become blocked if tissue parts are extracted with suction.

AusderUS 5,300,087 isteine Multifunktionszange bekannt. In derUS 4,096,864 ist ein fluidleitendeschirurgisches Instrument in Form einer Pinzette beschrieben. InderUS 4,049,002 istein fluidleitendes chirurgisches Instrument offenbart. DieUS 6,183,433 B1 befaßt sichmit einem chirurgischen Saug- und Schneidinstrument mit internerSpülung. InderDE 692 11 950T2 ist ein Handstückfür eineUltraschallvorrichtung beschrieben. DieDE 44 29 260 A1 offenbartein chirurgisches Bipolarinstrument. Aus derUS 6,102,885 ist eine Vorrichtungzum Fettabsaugen und ein Verfahren zum Einsatz derselben beschrieben.DieDE 200 08 623U1 befasst sich mit einem scheren- oder zangenförmigen chirurgischenInstrument. Eine weitere chirurgische Bipolarschere ist in derDE 298 21 617 U1 offenbart.Und schließlichist in derUS 5,658,281 einebipolare elektrochirurgische Schere und ein Verfahren zum Herstelleneiner solchen beschrieben.From the US 5,300,087 is a multi-functional pliers known. In the US 4,096,864 is described a fluid-conducting surgical instrument in the form of forceps. In the US 4,049,002 a fluid-conducting surgical instrument is disclosed. The US 6,183,433 B1 deals with a surgical suction and cutting instrument with internal flushing. In the DE 692 11 950 T2 a handpiece for an ultrasonic device is described. The DE 44 29 260 A1 discloses a surgical bipolar instrument. From the US 6,102,885 a device for liposuction and a method for using the same is described. The DE 200 08 623 U1 deals with a scissors or forceps-shaped surgical instrument. Another surgical bipolar scissors is in the DE 298 21 617 U1 disclosed. And finally, in the US 5,658,281 a bipolar electrosurgical scissors and a method for producing such a described.

Daherist es Aufgabe der vorliegenden Erfindung, ein Instrument der eingangsbeschriebenen Art so zu verbessern, daß die Werkzeuge auf einfache Weiseund zuverlässiggekühltwerden können.ThereforeIt is an object of the present invention, an instrument of the beginningdescribed type to improve the tools in a simple mannerand reliablechilledcan be.

DieseAufgabe wird bei einem chirurgischen Instrument der eingangs beschriebenenArt erfindungsgemäß dadurchgelöst,daß dererste Fluidkanal und der zweite Fluidkanal einen Kühlkanalbilden und daß eindistaler Endbereich des ersten Fluidkanals mit einem distalen Endbereichdes zweiten Fluidkanals in direkter Fluidverbindung steht, indemdie beiden distalen Enden der Fluidkanäle miteinander verbunden werden,so daß einKühlkreislaufim Kühlkanalmittels eines durch den ersten und zweiten Fluidkanal strömenden Fluidsentsteht.TheseTask is in a surgical instrument of the type described aboveType according to the invention therebysolved,that thefirst fluid channel and the second fluid channel a cooling channelform and that onedistal end portion of the first fluid channel having a distal end portionthe second fluid channel is in direct fluid communication bythe two distal ends of the fluid channels are interconnected,so that oneCooling circuitin the cooling channelby means of a fluid flowing through the first and second fluid channelsarises.

Durchdie direkte Fluidverbindung der beiden distalen Endbereiche derbeiden Fluidkanälekann kein Fluid mehr in den Operationsbereich gelangen. Am einfachstenwird die direkte Fluidverbindung hergestellt, indem die beiden distalenEnden der Fluidkanälemiteinander verbunden werden. Durch die Anordnung der beiden Fluidkanäle an einemWerkzeug entsteht somit ein geschlossener Kühlkreislauf. Verunreinigungenkönnennicht in diesen eindringen und den Kühlkanal verstopfen. Damit kanndas eine Werkzeug auf sichere Weise gekühlt werden. In gleicher Weisekönnteauch das zweite Werkzeug mit einem Kühlkanal versehen werden. Fernerwären auch diebeiden Fluidkanäleim Bereich der Werkzeuge verbindende Querkanäle zur weiteren Verbesserung derKühlungdenkbar.Bythe direct fluid connection of the two distal end portions of thetwo fluid channelsno fluid can enter the operating area anymore. The easiestThe direct fluid connection is made by placing the two distal onesEnds of the fluid channelsbe connected to each other. By the arrangement of the two fluid channels on oneTool thus creates a closed cooling circuit. impuritiescando not penetrate into these and clog the cooling channel. So that cana tool can be safely cooled. In the same waycouldAlso, the second tool to be provided with a cooling channel. Furtherwould be thetwo fluid channelsin the field of tools connecting cross channels to further improve thecoolingconceivable.

Vorzugsweisesind der Fluideinlaß und/oder derFluidauslaß ineinem werkzeugfreien Bereich des Instruments angeordnet. Über denFluideinlaß und denFluidauslaß istder Kühlkanalmit einer Fluidzufuhr bzw. -absaugung verbindbar. Die Anordnungder beiden Anschlüssein einem werkzeugfreien Bereich des Instruments hat beispielsweisebei endoskopischen Instrumenten den Vorteil, daß die Anschlüsse am Instrumentso angeordnet werden können,daß siesich bei einem chirurgischen Eingriff außerhalb des menschlichen Körpers befindenkönnenund den Operationsbereich nicht unnötig einschränken.Preferablyare the fluid inlet and / or theFluid outlet inarranged a tool-free area of the instrument. On theFluid inlet and theFluid outlet isthe cooling channelconnectable with a fluid supply or -absaugung. The orderthe two connectionsin a tool-free area of the instrument has, for examplein endoscopic instruments the advantage that the connections on the instrumentcan be arrangedthat sheto be outside the human body during a surgical procedurecanand do not unnecessarily restrict the operation area.

Beieiner bevorzugten Ausführungsformder Erfindung kann vorgesehen sein, daß sich der erste und der zweiteFluidkanal im wesentlichen vom proximalen zum distalen Ende desInstruments erstrecken und daß derFluideinlaß undder Fluidauslaß am proximalenEnde des Instruments angeordnet sind. Auf diese Weise lassen sichbesonders schlanke Instrumente ausbilden, die bevorzugt in der EndoskopieAnwendung finden können.Ferner wird die Handhabung des Instruments erleichtert, da keinestörendenAnschlüssefür einzu- bzw. abzuführendesFluid in einem Griff- oder Werkzeugbereich des Instruments angeordnetsein müssen.In a preferred embodiment of the invention, it may be provided that the first and second fluid channels extend substantially from the proximal to the distal end of the instrument and that the fluid inlet and outlet are located at the proximal end of the instrument. In this way, particularly slim instruments can be formed which can preferably be used in endoscopy. Furthermore, the handling of the instrument is facilitated since no interfering connections for a fluid to be supplied or removed have to be arranged in a handle or tool area of the instrument.

Günstig istes, wenn ein Abstand zwischen dem ersten und dem zweiten Fluidkanalim Bereich des ersten Werkzeugs am größten ist. Durch den großen Abstandder beiden Fluidkanälekann das erste Werkzeug optimal gekühlt und Wärme von diesem großflächig abgeführt werden.Cheap isit, when a distance between the first and the second fluid channelis greatest in the area of the first tool. By the big distancethe two fluid channelsthe first tool can be cooled optimally and heat can be dissipated from this over a large area.

Grundsätzlich wäre es denkbar,das chirurgische Instrument auch als Rohrschaftinstrument auszugestalten.Vorteilhaft ist es jedoch, wenn das chirurgische Instrument zweirelativ zueinander verschwenkbar aneinander gelagerte Branchen umfaßt und wennjedes der beiden distalen Enden der Branchen eines der beiden Werkzeugeumfaßt.So kann das Instrument beispielsweise in Form einer herkömmlichenSchere ausgestaltet sein, wobei ein oder beide Fluidkanäle in oderan einer der beiden Branchen angeordnet sind.In principle, it would be conceivableto design the surgical instrument also as a tubular shaft instrument.However, it is advantageous if the surgical instrument twoincludes relative to each other pivotally mounted to each other industries and ifeach of the two distal ends of the branches of one of the two toolsincludes.For example, the instrument may be in the form of a conventional oneScissors be configured with one or both fluid channels in orarranged on one of the two branches.

Umdie Ausbildung der beiden Fluidkanäle zu erleichtern, kann esgünstigsein, wenn das erste Werkzeug mehrteilig ausgebildet ist und mindestens einerstes und ein zweites Werkzeugelement umfaßt. So können ein oder beide Fluidkanäle teilweisein einem der beiden Werkzeugelemente gebildet werden. Ferner istes möglich,unterschiedliche Materialien zu verwenden, beispielsweise ein abriebbeständiges Metallfür einschneidenförmigesWerkzeug und einen Kunststoff füreinen Fluidkanal. Auch sind keramische Werkzeugelemente denkbar.AroundIt can facilitate the formation of the two fluid channelsCheapbe when the first tool is designed in several parts and at least onecomprises first and a second tool element. So one or both fluid channels can partiallybe formed in one of the two tool elements. Further isit is possibleto use different materials, such as an abrasion resistant metalfor acut shapedTool and a plastic fora fluid channel. Also, ceramic tool elements are conceivable.

Gemäß einerbevorzugten Ausführungsform derErfindung umfaßtdas erste Werkzeugelement den ersten und/oder den zweiten Fluidkanalmindestens teilweise. Es ist demnach möglich, den Fluidkanal bzw.die beiden Fluidkanäleauch einteilig auszugestalten, beispielsweise als Rohr.According to onepreferred embodiment ofInventionthe first tool element the first and / or the second fluid channelat least partially. It is therefore possible, the fluid channel orthe two fluid channelsalso to design in one piece, for example as a pipe.

Vorteilhaftkann es aber auch sein, wenn das erste und das zweite Werkzeug elementden ersten und/oder den zweiten Fluidkanal mindestens teilweiseumfassen. Beide Werkzeugelemente können bei der Bildung der beidenFluidkanälezusammenwirken, beispielsweise indem jedes Element mit einer halbschaligenAusnehmung versehen ist.Advantageousbut it can also be when the first and the second tool elementthe first and / or the second fluid channel at least partiallyinclude. Both tool elements can help in the formation of the twofluid channelsinteract by, for example, adding each element to a half-shelled oneRecess is provided.

Diebeiden Fluidkanälekönntenvollständig innerhalbeines der beiden Werzeugelemente angeordnet sein. Günstig istes jedoch, wenn das erste und das zweite Werkzeugelement aneinanderangrenzen und wenn der erste und/oder der zweite Fluidkanal entlangeiner Grenzflächezwischen dem ersten und dem zweiten Werkzeugelement verlaufen. Dadurchwird die Herstellung der Werkzeugelemente wesentlich vereinfacht.Teile der beiden Fluidkanäle können jeweilsin die beiden Werkzeugelemente eingearbeitet werden, die dann aneinanderherangeführtwerden und gemeinsam die beiden Fluidkanäle bilden. Auch wäre es denkbar,eine rohrförmigeLeitung entlang der Grenzflächezwischen beiden Werkzeugelementen anzuordnen.Thetwo fluid channelscouldcompletely withinbe arranged one of the two Werzeugelemente. Cheap isHowever, if the first and the second tool element to each otheradjacent and when the first and / or the second fluid channel alongan interfacerun between the first and the second tool element. Therebythe production of the tool elements is considerably simplified.Parts of the two fluid channels can eachbe incorporated into the two tool elements, which then togetherbroughtbe and together form the two fluid channels. It would also be conceivablea tubularLead along the interfaceto arrange between two tool elements.

Besonderseinfach wird der Aufbau, wenn das erste und/oder das zweite Werkzeugelementjeweils mit einer Ausnehmung versehen sind zum gemeinsamen Ausbildendes ersten und/oder zweiten Fluidkanals. Beide Werkzeugelementekönnengetrennt voneinander zur Ausbildung eines Fluidkanals vorbereitetwerden. Weitere Teile sind nicht notwendig.Especiallythe structure becomes simple when the first and / or the second tool elementare each provided with a recess for common educationthe first and / or second fluid channel. Both tool elementscanprepared separately from each other to form a fluid channelbecome. Other parts are not necessary.

Besondersvorteilhaft ist es, wenn das erste Werkzeugelement aus einem Isolator,insbesondere einem keramischen Material hergestellt ist. Damit läßt sichbeispielsweise eine Isolierung zwischen dem ersten und zweiten Werkzeugherstellen, wenn das aus einem Isolator hergestellte erste Werkzeugelementan das andere der beiden Werkzeuge angrenzt. Auch kann damit einelektrischer Leiter im Bereich des ersten Werkzeugs vollständig isoliertwerden.EspeciallyIt is advantageous if the first tool element consists of an insulator,in particular a ceramic material is produced. This can beFor example, insulation between the first and second toolswhen the first tool element made of an insulatoradjacent to the other of the two tools. Also can do with itelectrical conductor completely isolated in the area of the first toolbecome.

Vorzugsweiseist das zweite Werkzeugelement aus einem Metall, insbesondere auseinem hochleitfähigenMetall hergestellt. Insbesondere bei mit Strom beaufschlagbarenInstrumenten ist ein zuverlässigerelektrischer Leiter von Vorteil, um insbesondere die Erwärmung desInstruments gering zu halten.Preferablyis the second tool element made of a metal, in particular froma highly conductiveMade of metal. Especially when acted upon by electricityInstruments is a reliable oneelectrical conductor of advantage, in particular the heating of theInstruments to keep low.

Für eine dauerhafteStabilitätdes Instruments ist es vorteilhaft, wenn das erste und das zweiteWerkzeugelement miteinander verbunden sind, insbesondere verklebtoder verlötet.Derartige Verbindungen sind auch zwischen unterschiedlichen Materialienmöglich.Gegenübereiner Verbindung durch Umhüllungmittels eines weiteren Werkzeugelements kann beim Kleben oder Verlöten daraufvollständigverzichtet werden.For a lastingstabilityof the instrument, it is advantageous if the first and the secondTool element are connected together, in particular gluedor soldered.Such compounds are also between different materialspossible.Across froma connection by claddingby means of a further tool element can when gluing or soldering itCompletelybe waived.

Besondersgünstigist es, wenn das erste und/oder das zweite Werkzeugelement mindestens teilweisemit einer Deckschicht bedeckt sind. Damit lassen sich insbesondereGrenzflächenoder Verbindungskanten schützen.Dies ist insbesondere bei Sterilisationsvorgängen, denen das chirurgischeInstrument in der Regel unterworfen sein wird, unerläßlich. Außerdem kanneine Deckschicht gleichfalls als Isolationsschicht ausgebildet werden.Besonders einfach und vorteilhaft ist die Deckschicht, wenn sie durchAnspritzen eines Kunststoffs hergestellt wird.EspeciallyCheapit is when the first and / or the second tool element at least partiallycovered with a cover layer. This can be especiallyinterfacesor protect connection edges.This is especially true in sterilization procedures involving the surgicalInstrument will usually be subject, indispensable. In addition, cana cover layer are also formed as an insulating layer.The cover layer is particularly simple and advantageous when passing throughInjection of a plastic is produced.

Umein sicheres Fließendes Fluids in den Fluidkanälenzu gewährleisten,umfaßtmindestens ein Abschnitt des ersten und/oder des zweiten Fluidkanalsein Rohr. Damit kann vermieden werden, daß beispielsweise aufgrund vonVerkleben oder Verlöten vonzwei Werkzeugelementen ein Fluidkanal bei der Herstellung verschlossenwird.Arounda safe flowof the fluid in the fluid channelsto ensure,comprisesat least a portion of the first and / or the second fluid channela pipe. This can be avoided that, for example, due toGluing or soldering oftwo tool elements closed a fluid channel during manufacturebecomes.

Gemäß einerbevorzugten Ausführungsform derErfindung kann vorgesehen sein, daß der erste und der zweiteFluidkanal in einem Bereich des ersten Werkzeugs im wesentlichenin einer Werkzeugebene angeordnet sind, daß der erste und der zweite Fluidkanalaußerhalbdes Bereichs des ersten Werkzeugs im wesentlichen in einer Zuleitungsebeneangeordnet sind, die im wesentlichen quer zur Werkzeugebene verläuft. Mitdieser Anordnung kann insbesondere eine schlanke Bauform erreichtwerden, was fürendoskopische Instrumente von Vorteil ist. Außerdem ermöglicht diese Ausgestaltung,daß beispielsweisebei einer zwei schwenkbare Branchen umfassenden Schere Anschlüsse derbeiden Fluidkanälequer zur Scherenebene abstehen und so eine Bewegung der zweitenBranche relativ zur ersten Branche nicht stören können.According to onepreferred embodiment ofInvention may be provided that the first and the secondFluid channel in a region of the first tool substantiallyare arranged in a mold plane, that the first and the second fluid channeloutsidethe area of the first tool substantially in a feed levelare arranged, which extends substantially transversely to the tool level. WithThis arrangement can be achieved in particular a slim designbecome, what forendoscopic instruments is beneficial. In addition, this embodiment allowsthat, for examplein a two swiveling industries comprehensive scissors connections oftwo fluid channelsprotrude transversely to the plane of the scissors and so a movement of the secondIndustry relative to the first industry.

EineDrehung der Zuleitungsebene und der Werkzeugebene kann beispielsweiseerreicht werden, indem die beiden Fluidkanäle entsprechend gekrümmt sind.Günstigist es jedoch, wenn eine zwei Teilkammern umfassende Fluidverteilkammerin einem Übergangsbereichzwischen dem ersten Werkzeug und einem werkzeugfreien Bereich vorgesehen ist,wenn die Fluidverteilkammer zwei parallel zur Werkzeugebene undzwei parallel zur Zuleitungsebene ausgerichtete Anschlüsse umfaßt und wennjeweils eine der beiden Teilkammern eine Fluidverbindung zwischeneinem parallel zur Werkzeugebene und einem parallel zur Zuleitungsebeneausgerichteten Anschluß bildet.Auf diese Weise werden komplizierte und die Fluidkanäle in ihrerStabilitätgefährdendeBie gungen derselben vermieden. Die Fluidkanäle können beidseitig direkt an dieFluidverteilkammer angeschlossen werden.ARotation of the feed line and the tool level can be, for examplecan be achieved by the two fluid channels are curved accordingly.CheapHowever, it is when a two-chamber fluid distribution chamberin a transition areabetween the first tool and a tool-free area,when the Fluidverteilkammer two parallel to the tool level andcomprises two aligned parallel to the feed line connections and ifone of the two sub-chambers a fluid connection betweenone parallel to the tool level and one parallel to the feed levelaligned connection forms.In this way, complicated and the fluid channels in theirstabilityhazardousBie ments same avoided. The fluid channels can be directly on both sides of theFluid distribution chamber are connected.

ZurAusbildung des Instruments als Monopolar- und/oder Bipolarinstrumentist es vorteilhaft, wenn das erste und das zweite Werkzeug elektrisch gegeneinanderisoliert sind. Dadurch werden unerwünschte Kurzschlüsse vermieden.Ein Koagulieren von Weichgewebe mittels Anlegen eines Hochfrequenzstromsan das Instrument ist auf einfache Weise möglich.toTraining the instrument as a monopolar and / or bipolar instrumentit is advantageous if the first and the second tool electrically against each otherare isolated. This avoids unwanted short circuits.Coagulation of soft tissue by application of a high frequency currentto the instrument is possible in a simple manner.

Besondersgünstigist es, wenn die erste Branche eine erste elektrische Zuleitungumfaßt,die mit dem ersten Werkzeug in Verbindung steht, und wenn an derersten oder der zweiten Branche eine zweite, von der ersten elektrischisolierte elektrische Zuleitung vorgesehen ist, die mit dem zweitenWerkzeug in Verbindung steht. Auf diese Weise kann ein Strom einfachund sicher zu den beiden Werkzeugen geleitet werden, beispielsweiseum das Werkzeug anzutreiben oder um Weichgewebe zu koagulieren.EspeciallyCheapit is when the first branch has a first electrical leadcompriseswhich is related to the first tool, and if at thefirst or the second branch a second, from the first electricinsulated electrical supply line is provided, which is connected to the secondTool communicates. That way, a stream can be easyand safely routed to the two tools, for exampleto drive the tool or to coagulate soft tissue.

Grundsätzlich istes von Vorteil, wenn die beiden Fluidkanäle so miteinander verbundensind, daß keinFluid auslaufen kann. Es kann jedoch günstig sein, wenn mindestenseiner der beiden Fluidkanälein seinem distalen Endbereich mit Öffnungen versehen ist. Diebeiden Fluidkanäledienen dann einerseits als Kühlkanal,andererseits als Spülkanal zumSpüleneines Operationsbereichs mit einer dafür geeigneten Spülflüssigkeit.BasicallyIt is advantageous if the two fluid channels are connected to each otherare that noFluid can leak. However, it can be beneficial if at leastone of the two fluid channelsis provided in its distal end with openings. Thetwo fluid channelsserve on the one hand as a cooling channel,on the other hand as a flushing channel fordo the washing upan operating area with a suitable rinsing liquid.

Vorzugsweiseumfassen das erste und das zweite Werkzeug jeweils eine Schneide.So läßt sich aufeinfache Art eine Schere ausbilden.PreferablyThe first and second tools each comprise a cutting edge.That's how it workssimple form a pair of scissors.

Dienachfolgende Zeichnung dient im Zusammenhang mit der Beschreibungbevorzugter Ausführungsformender Erfindung der näherenErläuterung.Es zeigen:TheThe following drawing is used in conjunction with the descriptionpreferred embodimentsthe invention of the closerExplanation.Show it:

1 eineteilweise durchbrochene Gesamtansicht einer Bipolarschere; 1 a partially broken overall view of a bipolar scissors;

2 eineLängsschnittansichtdurch eine der beiden Branchen der Schere; 2 a longitudinal sectional view through one of the two branches of the scissors;

3 eineQuerschnittsansicht längsLinie A-A in2; 3 a cross-sectional view along line AA in 2 ;

4 eineQuerschnittsansicht längsLinie B-B in2; 4 a cross-sectional view along line BB in 2 ;

5 eineausschnittsweise Querschnittsansicht eines zweiten Ausführungsbeispiels; 5 a partial cross-sectional view of a second embodiment;

6 eineteilweise durchbrochene Seitenansicht einer Schneide eines dritten,nicht erfindungsgemäßen Ausführungsbeispiels; 6 a partially broken side view of a cutting edge of a third, non-inventive embodiment;

7 eineteilweise Längsschnittansichtder Schneide aus6; und 7 a partial longitudinal sectional view of the cutting edge 6 ; and

8 eineAnsicht ähnlich2 einesvierten Ausführungsbeispielseiner gekühltenSchere. 8th a view similar 2 a fourth embodiment of a cooled scissors.

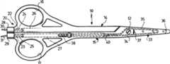
In1 isteine insgesamt mit dem Bezugszeichen10 versehene Bipolarscheremit zwei über einegleichzeitig als Drehlager dienende Verbindungsschraube12 miteinanderverbundenen und relativ zueinander verschwenkbaren Branchen14 und15.Proximale Enden der beiden Branchen14 und15 sindmit seitlich abstehenden, im wesentlichen ovalen Fingeröffnungen16 und17 versehen,die eine Scherenebene definieren. Distale Enden der Branchen14 und15 sindaus der Scherenebene heraus gekrümmtund als Schneiden18 und19 ausgebildet.In 1 is an overall reference numeral 10 provided bipolar shear with two on a simultaneously serving as a pivot bearing connection screw 12 interconnected and relatively pivotable branches 14 and 15 , Proximal ends of the two branches 14 and 15 are with laterally projecting, substantially oval finger openings 16 and 17 provided that define a scissor plane. Distal ends of the branches 14 and 15 are curved out of the plane of the scissors and as cutting 18 and 19 educated.

Amproximalen Ende20 der Bipolarschere10 ist anjeder Branche14 und15 ein Sackloch22 bzw.23 angeordnet,die in proximaler Richtung weisend geöffnet sind. In diesen sindjeweils in proximaler Richtung abstehende Kontaktstifte24 und25 vorgesehen,die mit längsder beiden Branchen14 und15 in diese eingearbeitetenelektrischen Zuleitungen26 und27 verbunden sind.Die Sacklöcher22 und23 bildenin Verbindung mit den Kontaktstiften24 und25 elektrischeAnschlüsse,beispielsweise zur Verbindung mit einer Hochfrequenzstromquelle über mit Steckern28 und29 verseheneZuleitungen30 und31.At the proximal end 20 the bipolar scissors 10 is in every industry 14 and 15 a blind hole 22 respectively. 23 arranged, which are open facing in the proximal direction. In each of these protruding contact pins are in the proximal direction 24 and 25 provided with along the two branches 14 and 15 in these incorporated electrical leads 26 and 27 are connected. The blind holes 22 and 23 form in conjunction with the contact pins 24 and 25 electrical connections, for example for connection to a high-frequency power source via with plugs 28 and 29 provided supply lines 30 and 31 ,

Diebeiden Zuleitungen26 und27 führen bis in den Bereich derbeiden Schneiden18 und19. Zur Vermeidung einesKurzschlusses umfaßtdie Schneide18 ein keramisches Schneidelement32,wodurch eine elektrische Isolation der beiden Schneiden18 und19 realisiertwird.The two supply lines 26 and 27 lead into the area of the two cutting edges 18 and 19 , To avoid a short circuit, the cutting edge includes 18 a ceramic cutting element 32 , whereby an electrical isolation of the two cutting edges 18 and 19 is realized.

ZurVermeidung einer übermäßigen Erwärmung derbeiden Schneiden18 und19 erstrecken sich zurBildung eines Kühlkanals33 inetwa von der Mitte zwischen der Verbindungsschraube12 und demproximalen Ende20 der Bipolarschere10 ein ersterFluidkanal34 bis an das distale Ende36 der Branche15 sowieein zweiter Fluidkanal35, der an das distale Ende desFluidkanals34 angeschlossen ist und sich in proximalerRichtung so weit erstreckt wie der Fluidkanal34. Der ersteFluidkanal34 ist an seinem proximalen Ende mit einem querzur Scherenebene schrägin proximaler Richtung abstehenden Anschlußstutzen38 versehen,der zweite Fluidkanal35 mit einem Anschlußstutzen39.Beide Stutzen38 und39 können mit einer Fluidversorgungbzw. -entsorgung verbunden werden, so daß ein Kühlkreislauf im Kühlkanal33 mittelseines durch den ersten und zweiten Fluidkanal strömenden beliebigenFluids entsteht.To avoid excessive heating of the two cutting edges 18 and 19 extend to form a cooling channel 33 approximately from the middle between the connecting screw 12 and the proximal end 20 the bipolar scissors 10 a first fluid channel 34 to the distal end 36 the industry 15 and a second fluid channel 35 attached to the distal end of the fluid channel 34 is connected and extends in the proximal direction as far as the fluid channel 34 , The first fluid channel 34 is at its proximal end with a transversely to the scissor plane obliquely projecting in the proximal direction connecting piece 38 provided, the second fluid channel 35 with a connecting piece 39 , Both neck 38 and 39 can be connected to a fluid supply or disposal, so that a cooling circuit in the cooling channel 33 is formed by means of an arbitrary fluid flowing through the first and second fluid channel.

Wiein1 dargestellt, ist der Abstand zwischen dem erstenund dem zweiten Fluidkanal34 bzw.35 im Bereichder Verbindungsschraube12 am größten. Dadurch wird eine optimaleKühlungder gesamten Schneide19 der Branche15 erreicht.As in 1 is shown, the distance between the first and the second fluid channel 34 respectively. 35 in the area of the connecting screw 12 the biggest. This will provide optimal cooling of the entire cutting edge 19 the industry 15 reached.

Diebeiden Fluidkanäle34 und35 verlaufen imBereich der Schneide19 im wesentlichen in einer parallelzur Scherenebene verlaufenden Schneidenebene. Im Bereich der Stutzen38 und39 verlaufen dieFluidkanäle34 und35 jedochin einer Ebene quer zur Schneidenebene. Um einen Übergangherzustellen zwischen den jeweils in den Ebenen parallel verlaufendenAbschnitten der Fluidkanäle34 und35 ist eineFluidverteilkammer40 im Übergangsbereich zwischen denStutzen38 und39 und der Verbindungsschraube12 angeordnet.Sie umfaßtzwei im Querschnitt im wesentlichen nierenförmige Teilkammern42 und43,die jeweils einen proximalen Anschluß44 bzw.45 sowiedistalen Anschluß46 bzw.47 aufweisen.Die Verbindungslinien der beiden proximalen Anschlüsse44 und45 sowieder distalen Anschlüsse46 und47 stehenim wesentlichen rechtwinklig zueinander. In3 ist dieAnordnung der Anschlüsse44 bis47 besondersgut zu erkennen.The two fluid channels 34 and 35 run in the area of the cutting edge 19 essentially in a cutting plane running parallel to the plane of the scissors. In the area of the neck 38 and 39 the fluid channels run 34 and 35 however, in a plane transverse to the cutting plane. In order to produce a transition between the respective sections of the fluid channels running parallel in the planes 34 and 35 is a fluid distribution chamber 40 in the transition area between the nozzles 38 and 39 and the connecting screw 12 arranged. It comprises two cross-sectionally substantially kidney-shaped partial chambers 42 and 43 each having a proximal terminal 44 respectively. 45 as well as distal connection 46 respectively. 47 exhibit. The connecting lines of the two proximal connections 44 and 45 as well as the distal connections 46 and 47 are essentially at right angles to each other. In 3 is the arrangement of the connections 44 to 47 particularly easy to recognize.

DerAufbau der Schneide19 ist in4 dargestellt.Das keramische Schneidelement32 umfaßt eine Schneidkante48 sowiezwei sich in Längsrichtungerstreckende halbschalige Ausnehmungen50 und51.Zwei im wesentlichen parallel zum Schneidelement verlaufende undsich in Längsrichtungerstreckende Trägerelemente52 und53 ausMetall sind ebenfalls mit sich in Längsrichtung der Schere10 erstreckendenhalbschaligen Ausnehmungen54 und55 versehen,die mit den Ausnehmungen50 und51 des Schneidelements32 denersten und zweiten Fluidkanal34 und35 bilden.Die Trägerelemente52 und53 sindmit dem Schneidelement32 entlang einer gemeinsamen Grenzfläche verklebtoder verlötet. EineDeckschicht56 aus Kunststoff ist auf die von der Schneidkante48 wegweisende Oberflächedes Schneidelements32 aufgespritzt und umgibt bzw. bedecktsomit teilweise auch die beiden Trägerelemente52 und53.The structure of the cutting edge 19 is in 4 shown. The ceramic cutting element 32 includes a cutting edge 48 and two longitudinally extending half-shell recesses 50 and 51 , Two substantially parallel to the cutting element extending and extending in the longitudinal direction carrier elements 52 and 53 made of metal are also with them in the longitudinal direction of the scissors 10 extending half-shell recesses 54 and 55 provided with the recesses 50 and 51 of the cutting element 32 the first and second fluid channels 34 and 35 form. The carrier elements 52 and 53 are with the cutting element 32 glued or soldered along a common interface. A cover layer 56 Plastic is on the of the cutting edge 48 away-facing surface of the cutting element 32 sprayed on and thus partially covers or also covers the two support elements 52 and 53 ,

Beider in den1 bis4 dargestellten Bipolarschere10 sinddie Fluidkanäle34 und35 teilweisein einzelne Bestandteile der Branchen15 eingearbeitet.Alternativ ist es möglich,wie bei einem in5 teilweise dargestellten zweitenAusführungsbeispiel,die beiden Fluidkanäle34a und35a inForm von Röhrchenauszubilden. Die Fluidkanäle34a und35a können auchnur abschnittsweise von Röhrchen gebildetwerden, beispielsweise nur im Bereich zwischen den Anschlußstutzen38 und39 undder Verteilkammer40.In the in the 1 to 4 illustrated bipolar scissors 10 are the fluid channels 34 and 35 partly into individual components of the industries 15 incorporated. Alternatively it is possible, as with a in 5 partially illustrated second embodiment, the two fluid channels 34a and 35a in the form of tubes. The fluid channels 34a and 35a can only be partially formed by tubes, for example, only in the area between the connecting piece 38 and 39 and the distribution chamber 40 ,

In6 isteine alternative, nicht erfindungsgemäße Ausgestaltung eines Fluidkanals35b dargestellt,welcher nicht vollständiggeschlossen ist, sondern eine Mehrzahl von Spülöffnungen58 im Bereich desSchneidelements32 aufweist, welche Durchbrechungen desSchneidelements32 bilden und das Austreten einer geeigneten,gewebeschonenden Spülflüssigkeitermöglichen.In 6 is an alternative, non-inventive embodiment of a fluid channel 35b shown, which is not completely closed, but a plurality of flushing openings 58 in the area of the cutting element 32 has which openings of the cutting element 32 form and allow the escape of a suitable, tissue-preserving flushing liquid.

Schließlich istin8 noch eine vierte Variante eines chirurgischenInstruments10c dargestellt, bei dem keine seitlichen Anschlußstutzenvorgesehen sind, sondern die Fluidkanäle34c und35c bis zumproximalen Ende20c der Bipolarschere10c herausgeführt sind.In proximaler Richtung stehen vom proximalen Ende20c somitzwei Anschlußstutzen38c und39c ab.Finally, in 8th a fourth variant of a surgical instrument 10c shown, in which no lateral connecting pieces are provided, but the fluid channels 34c and 35c to the proximal end 20c the bipolar scissors 10c led out. In the proximal direction are from the proximal end 20c thus two connecting pieces 38c and 39c from.

Claims (20)

Translated fromGerman
Chirurgisches Instrument mit einem proximalenund einem distalen Ende, mit einem ersten Werkzeug und einem zweiten,relativ zum ersten bewegbaren Werkzeug am distalen Ende des Instruments, miteinem dem ersten Werkzeug zugeordneten ersten Fluidkanal, der einenFluideinlaß anseinem proximalen Ende aufweist und eine Fluidströmung indistaler Richtung ermöglicht,und mit einem zweiten Fluidkanal, der eine Fluidströmung inproximaler Richtung ermöglichtund einen Fluidauslaß anseinem proximalen Ende aufweist, wobei das erste Werkzeug (19)den zweiten Fluidkanal (35) umfaßt,dadurch gekennzeichnet,daß dererste Fluidkanal (34) und der zweite Fluidkanal (35)einen Kühlkanal (33)bilden und daß eindistaler Endbereich des ersten Fluidkanals (34) mit einemdistalen Endbereich des zweiten Fluidkanals (35) in direkterFluidverbindung steht, indem die beiden distalen Enden der Fluidkanäle miteinanderverbunden werden, so daß ein Kühlkreislaufim Kühlkanal(33) mittels eines durch den ersten und zweiten Fluidkanal(34,35) strömendenFluids entsteht.Surgical instrument with a proxima len and a distal end, with a first tool and a second relative to the first movable tool at the distal end of the instrument, with a first tool associated with the first fluid channel having a fluid inlet at its proximal end and allows fluid flow in the distal direction, and a second fluid channel allowing fluid flow in the proximal direction and having a fluid outlet at its proximal end, the first tool 19 ) the second fluid channel ( 35 ),characterized in that the first fluid channel ( 34 ) and the second fluid channel ( 35 ) a cooling channel ( 33 ) and that a distal end region of the first fluid channel ( 34 ) with a distal end region of the second fluid channel ( 35 ) is in direct fluid communication by the two distal ends of the fluid channels are interconnected, so that a cooling circuit in the cooling channel ( 33 ) by means of one through the first and second fluid channel ( 34 . 35 ) flowing fluid is formed.Instrument nach Anspruch 1, dadurch gekennzeichnet,daß derFluideinlaß (38)und/oder der Fluidauslaß (39)in einem werkzeugfreien Bereich des Instruments (10) angeordnetsind.Instrument according to claim 1, characterized in that the fluid inlet ( 38 ) and / or the fluid outlet ( 39 ) in a tool-free area of the instrument ( 10 ) are arranged.Instrument nach einem der Ansprüche 1 oder 2, dadurch gekennzeichnet,daß sichder erste und der zweite Fluidkanal (34,35) imwesentlichen vom proximalen (20) zum distalen Ende (36)des Instrumentes (10) erstrecken und daß der Fluideinlaß (38c) undder Fluidauslaß (39c)am proximalen Ende (20) des Instruments (10) angeordnetsind.Instrument according to one of claims 1 or 2, characterized in that the first and the second fluid channel ( 34 . 35 ) substantially from the proximal ( 20 ) to the distal end ( 36 ) of the instrument ( 10 ) and that the fluid inlet ( 38c ) and the fluid outlet ( 39c ) at the proximal end ( 20 ) of the instrument ( 10 ) are arranged.Instrument nach einem der voranstehenden Ansprüche, dadurchgekennzeichnet, daß einAbstand (37) zwischen dem ersten und dem zweiten Fluidkanal(34,35) im Bereich des ersten Werkzeugs (19)am größten ist.Instrument according to one of the preceding claims, characterized in that a distance ( 37 ) between the first and the second fluid channel ( 34 . 35 ) in the area of the first tool ( 19 ) is the largest.Instrument nach einem der voranstehenden Ansprüche, dadurchgekennzeichnet, daß daschirurgische Instrument (10) zwei relativ zueinander verschwenkbaraneinander gelagerte Branchen (14,15) umfaßt und daß jedesder beiden distalen Enden der Branchen (14,15)eines der beiden Werkzeuge (18,19) umfaßt.Instrument according to one of the preceding claims, characterized in that the surgical instrument ( 10 ) two relative to each other pivotally mounted to each other industries ( 14 . 15 ) and that each of the two distal ends of the branches ( 14 . 15 ) one of the two tools ( 18 . 19 ).Instrument nach einem der voranstehenden Ansprüche, dadurchgekennzeichnet, daß daserste Werkzeug (19) mehrteilig ausgebildet ist und mindestensein erstes und ein zweites Werkzeugelement (32,52,53,56)umfaßt.Instrument according to one of the preceding claims, characterized in that the first tool ( 19 ) is formed in several parts and at least a first and a second tool element ( 32 . 52 . 53 . 56 ).Instrument nach Anspruch 6, dadurch gekennzeichnet,daß daserste Werkzeugelement (32;52;53;56)den ersten und/oder den zweiten Fluidkanal (34,35)mindestens teilweise umfaßt.Instrument according to claim 6, characterized in that the first tool element ( 32 ; 52 ; 53 ; 56 ) the first and / or the second fluid channel ( 34 . 35 ) at least partially.Instrument nach einem der Ansprüche 6 oder 7, dadurch gekennzeichnet,daß daserste und das zweite Werkzeugelement (32,52,53,56)den ersten und/oder den zweiten Fluidkanal (34,35)mindestens teilweise umfassen.Instrument according to one of claims 6 or 7, characterized in that the first and the second tool element ( 32 . 52 . 53 . 56 ) the first and / or the second fluid channel ( 34 . 35 ) at least partially.Instrument nach einem der Ansprüche 6 bis 8, dadurch gekennzeichnet,daß daserste und das zweite Werkzeugelement (32,52,53,56)aneinander angrenzen und daß dererste und/oder der zweite Fluidkanal (34,35)entlang einer Grenzflächezwischen dem ersten und dem zweiten Werkzeugelement (32,52,53,56)verlaufen.Instrument according to one of claims 6 to 8, characterized in that the first and the second tool element ( 32 . 52 . 53 . 56 ) adjoin one another and that the first and / or the second fluid channel ( 34 . 35 ) along an interface between the first and second tool elements ( 32 . 52 . 53 . 56 ).Instrument nach einem der Ansprüche 6 bis 9, dadurch gekennzeichnet,daß daserste und/oder das zweite Werkzeugelement (32,52,53)jeweils mit einer Ausnehmung (50,51,54,55)versehen sind zum gemeinsamen Ausbilden des ersten und/oder zweitenFluidkanals (34,35).Instrument according to one of claims 6 to 9, characterized in that the first and / or the second tool element ( 32 . 52 . 53 ) each with a recess ( 50 . 51 . 54 . 55 ) are provided for common formation of the first and / or second fluid channel ( 34 . 35 ).Instrument nach einem der Ansprüche 6 bis 10, dadurch gekennzeichnet,daß daserste Werkzeugelement (32) aus einem Isolator, insbesondere einemkeramischen Material hergestellt ist.Instrument according to one of claims 6 to 10, characterized in that the first tool element ( 32 ) is made of an insulator, in particular a ceramic material.Instrument nach einem der Ansprüche 6 bis 11, dadurch gekennzeichnet,daß daszweite Werkzeugelement (52,53) aus einem Metall,insbesondere einem hochleitfähigenMetall hergestellt ist.Instrument according to one of claims 6 to 11, characterized in that the second tool element ( 52 . 53 ) is made of a metal, in particular a highly conductive metal.Instrument nach einem der Ansprüche 6 bis 12, dadurch gekennzeichnet,daß daserste und das zweite Werkzeugelement (32,52,53)miteinander verbunden sind, insbesondere verklebt oder verlötet.Instrument according to one of claims 6 to 12, characterized in that the first and the second tool element ( 32 . 52 . 53 ) are bonded together, in particular glued or soldered.Instrument nach einem der Ansprüche 6 bis 13, dadurch gekennzeichnet,daß daserste und/oder das zweite Werkzeugelement (32,52,53)mindestens teilweise mit einer Deckschicht (56) bedeckt sind.Instrument according to one of claims 6 to 13, characterized in that the first and / or the second tool element ( 32 . 52 . 53 ) at least partially with a cover layer ( 56 ) are covered.Instrument nach einem der voranstehenden Ansprüche, dadurchgekennzeichnet, daß mindestensein Abschnitt des ersten und/oder des zweiten Fluidkanals ein Rohr(34a,35a) umfaßt.Instrument according to one of the preceding claims, characterized in that at least a portion of the first and / or the second fluid channel a pipe ( 34a . 35a ).Instrument nach einem der voranstehenden Ansprüche, dadurchgekennzeichnet, daß dererste und der zweite Fluidkanal (34,35) in einemBereich des ersten Werkzeugs (19) im wesentlichen in einer Werkzeugebeneangeordnet sind, daß dererste und der zweite Fluidkanal (34,35) außerhalbdes Bereichs des ersten Werkzeugs (19) im wesentlichenin einer Zuleitungsebene angeordnet sind, die im wesentlichen querzur Werkzeugebene verläuft.Instrument according to one of the preceding claims, characterized in that the first and the second fluid channel ( 34 . 35 ) in an area of the first tool ( 19 ) are arranged substantially in a tool plane that the first and the second fluid channel ( 34 . 35 ) outside the area of the first tool ( 19 ) are arranged substantially in a feed line, which extends substantially transversely to the tool level.Instrument nach Anspruch 16, dadurch gekennzeichnet,daß einezwei Teilkammern (42,43) umfassende Fluidverteilkammer(40) in einem Übergangsbereichzwischen dem ersten Werkzeug (19) und einem werkzeugfreienBereich vorgesehen ist, daß dieFluidverteilkammer (40) zwei parallel zur Werkzeugebeneund zwei parallel zur Zuleitungsebene ausgerichtete Anschlüsse (46,47;44,45)umfaßt unddaß jeweilseine der beiden Teilkammern (42,43) eine Fluidverbindungzwischen einem parallel zur Werkzeugebene und einem parallel zurZuleitungsebene ausgerichteten Anschluß (46,47;44,45)bildet.Instrument according to claim 16, characterized in that a two sub-chambers ( 42 . 43 ) comprehensive fluid distribution chamber ( 40 ) in an over range between the first tool ( 19 ) and a tool-free area is provided, that the fluid distribution chamber ( 40 ) two parallel to the tool level and two aligned parallel to the feed line connections ( 46 . 47 ; 44 . 45 ) and that in each case one of the two sub-chambers ( 42 . 43 ) a fluid connection between a parallel to the tool plane and a parallel to the feed plane aligned terminal ( 46 . 47 ; 44 . 45 ).Instrument nach einem der voranstehenden Ansprüche, dadurchgekennzeichnet, daß daserste und das zweite Werkzeug (18,19) elektrischgegeneinander isoliert sind.Instrument according to one of the preceding claims, characterized in that the first and the second tool ( 18 . 19 ) are electrically isolated from each other.Instrument nach Anspruch 18, dadurch gekennzeichnet,daß eineerste Branche (15) eine erste elektrische Zuleitung (27)umfaßt,die mit dem ersten Werkzeug (19) in Verbindung steht, unddaß ander ersten oder einer zweiten Branche (14,15)eine zweite, von der ersten elektrisch isolierte elektrische Zuleitung(26) vorgesehen ist, die mit dem zweiten Werkzeug (18)in Verbindung steht.Instrument according to claim 18, characterized in that a first branch ( 15 ) a first electrical lead ( 27 ) associated with the first tool ( 19 ) and that in the first or second sector ( 14 . 15 ) a second, from the first electrically isolated electrical supply line ( 26 ) provided with the second tool ( 18 ).Instrument nach einem der voranstehenden Ansprüche, dadurchgekennzeichnet, daß daserste und das zweite Werkzeug jeweils eine Schneide (18,19)umfassen.Instrument according to one of the preceding claims, characterized in that the first and the second tool each have a cutting edge ( 18 . 19 ).
DE20021015692002-01-112002-01-11 Surgical instrumentExpired - Fee RelatedDE10201569B4 (en)

Priority Applications (1)

Application NumberPriority DateFiling DateTitle
DE2002101569DE10201569B4 (en)2002-01-112002-01-11 Surgical instrument

Applications Claiming Priority (1)

Application NumberPriority DateFiling DateTitle
DE2002101569DE10201569B4 (en)2002-01-112002-01-11 Surgical instrument

Publications (2)

Publication NumberPublication Date
DE10201569A1 DE10201569A1 (en)2003-07-31
DE10201569B4true DE10201569B4 (en)2008-12-24

Family

ID=7712345

Family Applications (1)

Application NumberTitlePriority DateFiling Date
DE2002101569Expired - Fee RelatedDE10201569B4 (en)2002-01-112002-01-11 Surgical instrument

Country Status (1)

CountryLink
DE (1)DE10201569B4 (en)

Families Citing this family (190)

* Cited by examiner, † Cited by third party
Publication numberPriority datePublication dateAssigneeTitle
US11229472B2 (en)2001-06-122022-01-25Cilag Gmbh InternationalModular battery powered handheld surgical instrument with multiple magnetic position sensors
WO2004039416A2 (en)*2002-10-292004-05-13Tissuelink Medical, Inc.Fluid-assisted electrosurgical scissors and methods
US8182501B2 (en)2004-02-272012-05-22Ethicon Endo-Surgery, Inc.Ultrasonic surgical shears and method for sealing a blood vessel using same
US20060079879A1 (en)2004-10-082006-04-13Faller Craig NActuation mechanism for use with an ultrasonic surgical instrument
US20070191713A1 (en)2005-10-142007-08-16Eichmann Stephen EUltrasonic device for cutting and coagulating
US7621930B2 (en)2006-01-202009-11-24Ethicon Endo-Surgery, Inc.Ultrasound medical instrument having a medical ultrasonic blade
US8911460B2 (en)2007-03-222014-12-16Ethicon Endo-Surgery, Inc.Ultrasonic surgical instruments
US8057498B2 (en)2007-11-302011-11-15Ethicon Endo-Surgery, Inc.Ultrasonic surgical instrument blades
US8142461B2 (en)2007-03-222012-03-27Ethicon Endo-Surgery, Inc.Surgical instruments
US8808319B2 (en)2007-07-272014-08-19Ethicon Endo-Surgery, Inc.Surgical instruments
US8523889B2 (en)2007-07-272013-09-03Ethicon Endo-Surgery, Inc.Ultrasonic end effectors with increased active length
US8430898B2 (en)2007-07-312013-04-30Ethicon Endo-Surgery, Inc.Ultrasonic surgical instruments
US9044261B2 (en)2007-07-312015-06-02Ethicon Endo-Surgery, Inc.Temperature controlled ultrasonic surgical instruments
US8512365B2 (en)2007-07-312013-08-20Ethicon Endo-Surgery, Inc.Surgical instruments
EP2217157A2 (en)2007-10-052010-08-18Ethicon Endo-Surgery, Inc.Ergonomic surgical instruments
US10010339B2 (en)2007-11-302018-07-03Ethicon LlcUltrasonic surgical blades
US9089360B2 (en)2008-08-062015-07-28Ethicon Endo-Surgery, Inc.Devices and techniques for cutting and coagulating tissue
US9700339B2 (en)2009-05-202017-07-11Ethicon Endo-Surgery, Inc.Coupling arrangements and methods for attaching tools to ultrasonic surgical instruments
US8663220B2 (en)2009-07-152014-03-04Ethicon Endo-Surgery, Inc.Ultrasonic surgical instruments
US10441345B2 (en)2009-10-092019-10-15Ethicon LlcSurgical generator for ultrasonic and electrosurgical devices
US8939974B2 (en)2009-10-092015-01-27Ethicon Endo-Surgery, Inc.Surgical instrument comprising first and second drive systems actuatable by a common trigger mechanism
US8747404B2 (en)2009-10-092014-06-10Ethicon Endo-Surgery, Inc.Surgical instrument for transmitting energy to tissue comprising non-conductive grasping portions
US8906016B2 (en)2009-10-092014-12-09Ethicon Endo-Surgery, Inc.Surgical instrument for transmitting energy to tissue comprising steam control paths
US10172669B2 (en)2009-10-092019-01-08Ethicon LlcSurgical instrument comprising an energy trigger lockout
US11090104B2 (en)2009-10-092021-08-17Cilag Gmbh InternationalSurgical generator for ultrasonic and electrosurgical devices
US8574231B2 (en)2009-10-092013-11-05Ethicon Endo-Surgery, Inc.Surgical instrument for transmitting energy to tissue comprising a movable electrode or insulator
US9050093B2 (en)2009-10-092015-06-09Ethicon Endo-Surgery, Inc.Surgical generator for ultrasonic and electrosurgical devices
US8951272B2 (en)2010-02-112015-02-10Ethicon Endo-Surgery, Inc.Seal arrangements for ultrasonically powered surgical instruments
US8469981B2 (en)2010-02-112013-06-25Ethicon Endo-Surgery, Inc.Rotatable cutting implement arrangements for ultrasonic surgical instruments
US8486096B2 (en)2010-02-112013-07-16Ethicon Endo-Surgery, Inc.Dual purpose surgical instrument for cutting and coagulating tissue
US8696665B2 (en)2010-03-262014-04-15Ethicon Endo-Surgery, Inc.Surgical cutting and sealing instrument with reduced firing force
US8496682B2 (en)2010-04-122013-07-30Ethicon Endo-Surgery, Inc.Electrosurgical cutting and sealing instruments with cam-actuated jaws
US8834518B2 (en)2010-04-122014-09-16Ethicon Endo-Surgery, Inc.Electrosurgical cutting and sealing instruments with cam-actuated jaws
US8709035B2 (en)2010-04-122014-04-29Ethicon Endo-Surgery, Inc.Electrosurgical cutting and sealing instruments with jaws having a parallel closure motion
US8535311B2 (en)2010-04-222013-09-17Ethicon Endo-Surgery, Inc.Electrosurgical instrument comprising closing and firing systems
US8685020B2 (en)2010-05-172014-04-01Ethicon Endo-Surgery, Inc.Surgical instruments and end effectors therefor
GB2480498A (en)2010-05-212011-11-23Ethicon Endo Surgery IncMedical device comprising RF circuitry
US8888776B2 (en)2010-06-092014-11-18Ethicon Endo-Surgery, Inc.Electrosurgical instrument employing an electrode
US8926607B2 (en)2010-06-092015-01-06Ethicon Endo-Surgery, Inc.Electrosurgical instrument employing multiple positive temperature coefficient electrodes
US8795276B2 (en)2010-06-092014-08-05Ethicon Endo-Surgery, Inc.Electrosurgical instrument employing a plurality of electrodes
US8790342B2 (en)2010-06-092014-07-29Ethicon Endo-Surgery, Inc.Electrosurgical instrument employing pressure-variation electrodes
US8764747B2 (en)2010-06-102014-07-01Ethicon Endo-Surgery, Inc.Electrosurgical instrument comprising sequentially activated electrodes
US9005199B2 (en)2010-06-102015-04-14Ethicon Endo-Surgery, Inc.Heat management configurations for controlling heat dissipation from electrosurgical instruments
US8753338B2 (en)*2010-06-102014-06-17Ethicon Endo-Surgery, Inc.Electrosurgical instrument employing a thermal management system
US9149324B2 (en)2010-07-082015-10-06Ethicon Endo-Surgery, Inc.Surgical instrument comprising an articulatable end effector
US20120016413A1 (en)2010-07-142012-01-19Ethicon Endo-Surgery, Inc.Surgical fastening devices comprising rivets
US8453906B2 (en)2010-07-142013-06-04Ethicon Endo-Surgery, Inc.Surgical instruments with electrodes
US8795327B2 (en)2010-07-222014-08-05Ethicon Endo-Surgery, Inc.Electrosurgical instrument with separate closure and cutting members
US8979843B2 (en)2010-07-232015-03-17Ethicon Endo-Surgery, Inc.Electrosurgical cutting and sealing instrument
US8979844B2 (en)2010-07-232015-03-17Ethicon Endo-Surgery, Inc.Electrosurgical cutting and sealing instrument
US9011437B2 (en)2010-07-232015-04-21Ethicon Endo-Surgery, Inc.Electrosurgical cutting and sealing instrument
US8702704B2 (en)2010-07-232014-04-22Ethicon Endo-Surgery, Inc.Electrosurgical cutting and sealing instrument
US9192431B2 (en)2010-07-232015-11-24Ethicon Endo-Surgery, Inc.Electrosurgical cutting and sealing instrument
US8979890B2 (en)2010-10-012015-03-17Ethicon Endo-Surgery, Inc.Surgical instrument with jaw member
US8628529B2 (en)2010-10-262014-01-14Ethicon Endo-Surgery, Inc.Surgical instrument with magnetic clamping force
US8715277B2 (en)2010-12-082014-05-06Ethicon Endo-Surgery, Inc.Control of jaw compression in surgical instrument having end effector with opposing jaw members
US9259265B2 (en)2011-07-222016-02-16Ethicon Endo-Surgery, LlcSurgical instruments for tensioning tissue
US9044243B2 (en)2011-08-302015-06-02Ethcon Endo-Surgery, Inc.Surgical cutting and fastening device with descendible second trigger arrangement
US9333025B2 (en)2011-10-242016-05-10Ethicon Endo-Surgery, LlcBattery initialization clip
WO2013119545A1 (en)2012-02-102013-08-15Ethicon-Endo Surgery, Inc.Robotically controlled surgical instrument
US9439668B2 (en)2012-04-092016-09-13Ethicon Endo-Surgery, LlcSwitch arrangements for ultrasonic surgical instruments
US20140005705A1 (en)2012-06-292014-01-02Ethicon Endo-Surgery, Inc.Surgical instruments with articulating shafts
US20140005640A1 (en)2012-06-282014-01-02Ethicon Endo-Surgery, Inc.Surgical end effector jaw and electrode configurations
US9326788B2 (en)2012-06-292016-05-03Ethicon Endo-Surgery, LlcLockout mechanism for use with robotic electrosurgical device
US20140005702A1 (en)2012-06-292014-01-02Ethicon Endo-Surgery, Inc.Ultrasonic surgical instruments with distally positioned transducers
US9393037B2 (en)2012-06-292016-07-19Ethicon Endo-Surgery, LlcSurgical instruments with articulating shafts
US9408622B2 (en)2012-06-292016-08-09Ethicon Endo-Surgery, LlcSurgical instruments with articulating shafts
US9820768B2 (en)2012-06-292017-11-21Ethicon LlcUltrasonic surgical instruments with control mechanisms
US9198714B2 (en)2012-06-292015-12-01Ethicon Endo-Surgery, Inc.Haptic feedback devices for surgical robot
US9226767B2 (en)2012-06-292016-01-05Ethicon Endo-Surgery, Inc.Closed feedback control for electrosurgical device
US9351754B2 (en)2012-06-292016-05-31Ethicon Endo-Surgery, LlcUltrasonic surgical instruments with distally positioned jaw assemblies
EP2900158B1 (en)2012-09-282020-04-15Ethicon LLCMulti-function bi-polar forceps
US9095367B2 (en)2012-10-222015-08-04Ethicon Endo-Surgery, Inc.Flexible harmonic waveguides/blades for surgical instruments
US20140135804A1 (en)2012-11-152014-05-15Ethicon Endo-Surgery, Inc.Ultrasonic and electrosurgical devices
US10226273B2 (en)2013-03-142019-03-12Ethicon LlcMechanical fasteners for use with surgical energy devices
US9295514B2 (en)2013-08-302016-03-29Ethicon Endo-Surgery, LlcSurgical devices with close quarter articulation features
US9814514B2 (en)2013-09-132017-11-14Ethicon LlcElectrosurgical (RF) medical instruments for cutting and coagulating tissue
US9861428B2 (en)2013-09-162018-01-09Ethicon LlcIntegrated systems for electrosurgical steam or smoke control
US9265926B2 (en)2013-11-082016-02-23Ethicon Endo-Surgery, LlcElectrosurgical devices
US9526565B2 (en)2013-11-082016-12-27Ethicon Endo-Surgery, LlcElectrosurgical devices
GB2521229A (en)2013-12-162015-06-17Ethicon Endo Surgery IncMedical device
GB2521228A (en)2013-12-162015-06-17Ethicon Endo Surgery IncMedical device
US9795436B2 (en)2014-01-072017-10-24Ethicon LlcHarvesting energy from a surgical generator
US9408660B2 (en)2014-01-172016-08-09Ethicon Endo-Surgery, LlcDevice trigger dampening mechanism
US9554854B2 (en)2014-03-182017-01-31Ethicon Endo-Surgery, LlcDetecting short circuits in electrosurgical medical devices
US10463421B2 (en)2014-03-272019-11-05Ethicon LlcTwo stage trigger, clamp and cut bipolar vessel sealer
US10092310B2 (en)2014-03-272018-10-09Ethicon LlcElectrosurgical devices
US10524852B1 (en)2014-03-282020-01-07Ethicon LlcDistal sealing end effector with spacers
US9737355B2 (en)2014-03-312017-08-22Ethicon LlcControlling impedance rise in electrosurgical medical devices
US9913680B2 (en)2014-04-152018-03-13Ethicon LlcSoftware algorithms for electrosurgical instruments
US9757186B2 (en)2014-04-172017-09-12Ethicon LlcDevice status feedback for bipolar tissue spacer
US9700333B2 (en)2014-06-302017-07-11Ethicon LlcSurgical instrument with variable tissue compression
US10285724B2 (en)2014-07-312019-05-14Ethicon LlcActuation mechanisms and load adjustment assemblies for surgical instruments
US10194976B2 (en)2014-08-252019-02-05Ethicon LlcLockout disabling mechanism
US9877776B2 (en)2014-08-252018-01-30Ethicon LlcSimultaneous I-beam and spring driven cam jaw closure mechanism
US10194972B2 (en)2014-08-262019-02-05Ethicon LlcManaging tissue treatment
US10639092B2 (en)2014-12-082020-05-05Ethicon LlcElectrode configurations for surgical instruments
US10092348B2 (en)2014-12-222018-10-09Ethicon LlcRF tissue sealer, shear grip, trigger lock mechanism and energy activation
US10159524B2 (en)2014-12-222018-12-25Ethicon LlcHigh power battery powered RF amplifier topology
US10111699B2 (en)2014-12-222018-10-30Ethicon LlcRF tissue sealer, shear grip, trigger lock mechanism and energy activation
US9848937B2 (en)2014-12-222017-12-26Ethicon LlcEnd effector with detectable configurations
US10245095B2 (en)2015-02-062019-04-02Ethicon LlcElectrosurgical instrument with rotation and articulation mechanisms
US10342602B2 (en)2015-03-172019-07-09Ethicon LlcManaging tissue treatment
US10321950B2 (en)2015-03-172019-06-18Ethicon LlcManaging tissue treatment
US10595929B2 (en)2015-03-242020-03-24Ethicon LlcSurgical instruments with firing system overload protection mechanisms
US10314638B2 (en)2015-04-072019-06-11Ethicon LlcArticulating radio frequency (RF) tissue seal with articulating state sensing
US10117702B2 (en)2015-04-102018-11-06Ethicon LlcSurgical generator systems and related methods
US10130410B2 (en)2015-04-172018-11-20Ethicon LlcElectrosurgical instrument including a cutting member decouplable from a cutting member trigger
US9872725B2 (en)2015-04-292018-01-23Ethicon LlcRF tissue sealer with mode selection
US11020140B2 (en)2015-06-172021-06-01Cilag Gmbh InternationalUltrasonic surgical blade for use with ultrasonic surgical instruments
US10357303B2 (en)2015-06-302019-07-23Ethicon LlcTranslatable outer tube for sealing using shielded lap chole dissector
US11051873B2 (en)2015-06-302021-07-06Cilag Gmbh InternationalSurgical system with user adaptable techniques employing multiple energy modalities based on tissue parameters
US10898256B2 (en)2015-06-302021-01-26Ethicon LlcSurgical system with user adaptable techniques based on tissue impedance
US10034704B2 (en)2015-06-302018-07-31Ethicon LlcSurgical instrument with user adaptable algorithms
US11141213B2 (en)2015-06-302021-10-12Cilag Gmbh InternationalSurgical instrument with user adaptable techniques
US11129669B2 (en)2015-06-302021-09-28Cilag Gmbh InternationalSurgical system with user adaptable techniques based on tissue type
US10154852B2 (en)2015-07-012018-12-18Ethicon LlcUltrasonic surgical blade with improved cutting and coagulation features
US10194973B2 (en)2015-09-302019-02-05Ethicon LlcGenerator for digitally generating electrical signal waveforms for electrosurgical and ultrasonic surgical instruments
US10959771B2 (en)2015-10-162021-03-30Ethicon LlcSuction and irrigation sealing grasper
US10595930B2 (en)2015-10-162020-03-24Ethicon LlcElectrode wiping surgical device
US10179022B2 (en)2015-12-302019-01-15Ethicon LlcJaw position impedance limiter for electrosurgical instrument
US10959806B2 (en)2015-12-302021-03-30Ethicon LlcEnergized medical device with reusable handle
US10575892B2 (en)2015-12-312020-03-03Ethicon LlcAdapter for electrical surgical instruments
US11229471B2 (en)2016-01-152022-01-25Cilag Gmbh InternationalModular battery powered handheld surgical instrument with selective application of energy based on tissue characterization
US10716615B2 (en)2016-01-152020-07-21Ethicon LlcModular battery powered handheld surgical instrument with curved end effectors having asymmetric engagement between jaw and blade
US11129670B2 (en)2016-01-152021-09-28Cilag Gmbh InternationalModular battery powered handheld surgical instrument with selective application of energy based on button displacement, intensity, or local tissue characterization
US11051840B2 (en)2016-01-152021-07-06Ethicon LlcModular battery powered handheld surgical instrument with reusable asymmetric handle housing
US12193698B2 (en)2016-01-152025-01-14Cilag Gmbh InternationalMethod for self-diagnosing operation of a control switch in a surgical instrument system
US10555769B2 (en)2016-02-222020-02-11Ethicon LlcFlexible circuits for electrosurgical instrument
US10856934B2 (en)2016-04-292020-12-08Ethicon LlcElectrosurgical instrument with electrically conductive gap setting and tissue engaging members
US10485607B2 (en)2016-04-292019-11-26Ethicon LlcJaw structure with distal closure for electrosurgical instruments
US10987156B2 (en)2016-04-292021-04-27Ethicon LlcElectrosurgical instrument with electrically conductive gap setting member and electrically insulative tissue engaging members
US10702329B2 (en)2016-04-292020-07-07Ethicon LlcJaw structure with distal post for electrosurgical instruments
US10646269B2 (en)2016-04-292020-05-12Ethicon LlcNon-linear jaw gap for electrosurgical instruments
US10456193B2 (en)2016-05-032019-10-29Ethicon LlcMedical device with a bilateral jaw configuration for nerve stimulation
US10245064B2 (en)2016-07-122019-04-02Ethicon LlcUltrasonic surgical instrument with piezoelectric central lumen transducer
US10893883B2 (en)2016-07-132021-01-19Ethicon LlcUltrasonic assembly for use with ultrasonic surgical instruments
US10842522B2 (en)2016-07-152020-11-24Ethicon LlcUltrasonic surgical instruments having offset blades
US10376305B2 (en)2016-08-052019-08-13Ethicon LlcMethods and systems for advanced harmonic energy
US10285723B2 (en)2016-08-092019-05-14Ethicon LlcUltrasonic surgical blade with improved heel portion
USD847990S1 (en)2016-08-162019-05-07Ethicon LlcSurgical instrument
US10952759B2 (en)2016-08-252021-03-23Ethicon LlcTissue loading of a surgical instrument
US10736649B2 (en)2016-08-252020-08-11Ethicon LlcElectrical and thermal connections for ultrasonic transducer
US10751117B2 (en)2016-09-232020-08-25Ethicon LlcElectrosurgical instrument with fluid diverter
US10603064B2 (en)2016-11-282020-03-31Ethicon LlcUltrasonic transducer
US11266430B2 (en)2016-11-292022-03-08Cilag Gmbh InternationalEnd effector control and calibration
US11033325B2 (en)2017-02-162021-06-15Cilag Gmbh InternationalElectrosurgical instrument with telescoping suction port and debris cleaner
US10799284B2 (en)2017-03-152020-10-13Ethicon LlcElectrosurgical instrument with textured jaws
US11497546B2 (en)2017-03-312022-11-15Cilag Gmbh InternationalArea ratios of patterned coatings on RF electrodes to reduce sticking
US10603117B2 (en)2017-06-282020-03-31Ethicon LlcArticulation state detection mechanisms
US10820920B2 (en)2017-07-052020-11-03Ethicon LlcReusable ultrasonic medical devices and methods of their use
US11484358B2 (en)2017-09-292022-11-01Cilag Gmbh InternationalFlexible electrosurgical instrument
US11033323B2 (en)2017-09-292021-06-15Cilag Gmbh InternationalSystems and methods for managing fluid and suction in electrosurgical systems
US11490951B2 (en)2017-09-292022-11-08Cilag Gmbh InternationalSaline contact with electrodes
US11376082B2 (en)2019-06-272022-07-05Cilag Gmbh InternationalRobotic surgical system with local sensing of functional parameters based on measurements of multiple physical inputs
US11413102B2 (en)2019-06-272022-08-16Cilag Gmbh InternationalMulti-access port for surgical robotic systems
US11547468B2 (en)2019-06-272023-01-10Cilag Gmbh InternationalRobotic surgical system with safety and cooperative sensing control
US11607278B2 (en)2019-06-272023-03-21Cilag Gmbh InternationalCooperative robotic surgical systems
US11612445B2 (en)2019-06-272023-03-28Cilag Gmbh InternationalCooperative operation of robotic arms
US11723729B2 (en)2019-06-272023-08-15Cilag Gmbh InternationalRobotic surgical assembly coupling safety mechanisms
US11944366B2 (en)2019-12-302024-04-02Cilag Gmbh InternationalAsymmetric segmented ultrasonic support pad for cooperative engagement with a movable RF electrode
US11937863B2 (en)2019-12-302024-03-26Cilag Gmbh InternationalDeflectable electrode with variable compression bias along the length of the deflectable electrode
US12114912B2 (en)2019-12-302024-10-15Cilag Gmbh InternationalNon-biased deflectable electrode to minimize contact between ultrasonic blade and electrode
US11937866B2 (en)2019-12-302024-03-26Cilag Gmbh InternationalMethod for an electrosurgical procedure
US12023086B2 (en)2019-12-302024-07-02Cilag Gmbh InternationalElectrosurgical instrument for delivering blended energy modalities to tissue
US12076006B2 (en)2019-12-302024-09-03Cilag Gmbh InternationalSurgical instrument comprising an orientation detection system
US11660089B2 (en)2019-12-302023-05-30Cilag Gmbh InternationalSurgical instrument comprising a sensing system
US11786294B2 (en)2019-12-302023-10-17Cilag Gmbh InternationalControl program for modular combination energy device
US11779387B2 (en)2019-12-302023-10-10Cilag Gmbh InternationalClamp arm jaw to minimize tissue sticking and improve tissue control
US20210196357A1 (en)2019-12-302021-07-01Ethicon LlcElectrosurgical instrument with asynchronous energizing electrodes
US11684412B2 (en)2019-12-302023-06-27Cilag Gmbh InternationalSurgical instrument with rotatable and articulatable surgical end effector
US11696776B2 (en)2019-12-302023-07-11Cilag Gmbh InternationalArticulatable surgical instrument
US11950797B2 (en)2019-12-302024-04-09Cilag Gmbh InternationalDeflectable electrode with higher distal bias relative to proximal bias
US12053224B2 (en)2019-12-302024-08-06Cilag Gmbh InternationalVariation in electrode parameters and deflectable electrode to modify energy density and tissue interaction
US12336747B2 (en)2019-12-302025-06-24Cilag Gmbh InternationalMethod of operating a combination ultrasonic / bipolar RF surgical device with a combination energy modality end-effector
US11786291B2 (en)2019-12-302023-10-17Cilag Gmbh InternationalDeflectable support of RF energy electrode with respect to opposing ultrasonic blade
US12343063B2 (en)2019-12-302025-07-01Cilag Gmbh InternationalMulti-layer clamp arm pad for enhanced versatility and performance of a surgical device
US11452525B2 (en)2019-12-302022-09-27Cilag Gmbh InternationalSurgical instrument comprising an adjustment system
US11986201B2 (en)2019-12-302024-05-21Cilag Gmbh InternationalMethod for operating a surgical instrument
US11779329B2 (en)2019-12-302023-10-10Cilag Gmbh InternationalSurgical instrument comprising a flex circuit including a sensor system
US20210196362A1 (en)2019-12-302021-07-01Ethicon LlcElectrosurgical end effectors with thermally insulative and thermally conductive portions
US12064109B2 (en)2019-12-302024-08-20Cilag Gmbh InternationalSurgical instrument comprising a feedback control circuit
US12082808B2 (en)2019-12-302024-09-10Cilag Gmbh InternationalSurgical instrument comprising a control system responsive to software configurations
US11911063B2 (en)2019-12-302024-02-27Cilag Gmbh InternationalTechniques for detecting ultrasonic blade to electrode contact and reducing power to ultrasonic blade
US12262937B2 (en)2019-12-302025-04-01Cilag Gmbh InternationalUser interface for surgical instrument with combination energy modality end-effector
US11812957B2 (en)2019-12-302023-11-14Cilag Gmbh InternationalSurgical instrument comprising a signal interference resolution system
US12358136B2 (en)2021-06-302025-07-15Cilag Gmbh InternationalGrasping work determination and indications thereof
US11974829B2 (en)2021-06-302024-05-07Cilag Gmbh InternationalLink-driven articulation device for a surgical device
US11931026B2 (en)2021-06-302024-03-19Cilag Gmbh InternationalStaple cartridge replacement
US11957342B2 (en)2021-11-012024-04-16Cilag Gmbh InternationalDevices, systems, and methods for detecting tissue and foreign objects during a surgical operation

Citations (11)

* Cited by examiner, † Cited by third party
Publication numberPriority datePublication dateAssigneeTitle
US4049002A (en)*1975-07-181977-09-20Bio-Medicus, Inc.Fluid conveying surgical instrument
US4096864A (en)*1975-03-261978-06-27Bio-Medicus, Inc.Fluid carrying surgical instrument of the forceps type
US5300087A (en)*1991-03-221994-04-05Knoepfler Dennis JMultiple purpose forceps
US5417709A (en)*1994-04-121995-05-23Symbiosis CorporationEndoscopic instrument with end effectors forming suction and/or irrigation lumens
DE4429260A1 (en)*1994-08-181996-02-22Aesculap Ag Surgical bipolar instrument
DE69211950T2 (en)*1991-10-081996-12-12Surgical Design Corp Handpiece for ultrasound device
US5658281A (en)*1995-12-041997-08-19Valleylab IncBipolar electrosurgical scissors and method of manufacture
DE29821617U1 (en)*1998-12-031999-01-28Aesculap AG & Co. KG, 78532 Tuttlingen Surgical bipolar scissors
DE20008623U1 (en)*2000-05-132000-08-10Aesculap AG & Co. KG, 78532 Tuttlingen Scissors-shaped or forceps-shaped surgical instrument
US6102885A (en)*1996-08-082000-08-15Bass; Lawrence S.Device for suction-assisted lipectomy and method of using same
US6183433B1 (en)*1995-06-302001-02-06Xomed Surgical Products, Inc.Surgical suction cutting instrument with internal irrigation

Patent Citations (11)

* Cited by examiner, † Cited by third party
Publication numberPriority datePublication dateAssigneeTitle
US4096864A (en)*1975-03-261978-06-27Bio-Medicus, Inc.Fluid carrying surgical instrument of the forceps type
US4049002A (en)*1975-07-181977-09-20Bio-Medicus, Inc.Fluid conveying surgical instrument
US5300087A (en)*1991-03-221994-04-05Knoepfler Dennis JMultiple purpose forceps
DE69211950T2 (en)*1991-10-081996-12-12Surgical Design Corp Handpiece for ultrasound device
US5417709A (en)*1994-04-121995-05-23Symbiosis CorporationEndoscopic instrument with end effectors forming suction and/or irrigation lumens
DE4429260A1 (en)*1994-08-181996-02-22Aesculap Ag Surgical bipolar instrument
US6183433B1 (en)*1995-06-302001-02-06Xomed Surgical Products, Inc.Surgical suction cutting instrument with internal irrigation
US5658281A (en)*1995-12-041997-08-19Valleylab IncBipolar electrosurgical scissors and method of manufacture
US6102885A (en)*1996-08-082000-08-15Bass; Lawrence S.Device for suction-assisted lipectomy and method of using same
DE29821617U1 (en)*1998-12-031999-01-28Aesculap AG & Co. KG, 78532 Tuttlingen Surgical bipolar scissors
DE20008623U1 (en)*2000-05-132000-08-10Aesculap AG & Co. KG, 78532 Tuttlingen Scissors-shaped or forceps-shaped surgical instrument

Also Published As

Publication numberPublication date
DE10201569A1 (en)2003-07-31

Similar Documents

PublicationPublication DateTitle
DE10201569B4 (en) Surgical instrument
EP1153578B1 (en)Forceps- or scissor-like surgical instrument
DE3050386C2 (en) Multipolar electrosurgical device
DE102004055669B4 (en) Electrosurgical instrument
DE69122314T2 (en) Tool for laparascopic surgery
EP0688536B1 (en)Multifunctional instrument for ultrasonic surgery
DE102006006052B4 (en) High frequency treatment device for an endoscope
EP2862533B1 (en)Adapter element, HF surgery instrument, adapter set and system
EP1891907B1 (en)Device for resection and or ablation of organic tissue using high frequency electricity and a resectoscope
DE102004031141A1 (en) Electrosurgical instrument
EP2777583A1 (en)Instrument for vessel fusion and separation
EP3649974B1 (en)Electrode arrangement for a bipolar resectoscope and resectoscope
EP3437581A1 (en)Electrode unit for a medical resectoscope
DE10028959C1 (en)Endoscopic instrument has HF electrodes for coagulation or tissue separation positioned in sidewards and distal positions respectively with insulator body between them
EP3351198B1 (en)Vessel sealing instrument
DE10316210A1 (en) Electrosurgical instrument for endoscopic mucosal resection
DE10332613A1 (en) Treatment tool for an endoscope
DE19747149A1 (en)Surgical cutting instrument for inserting trocar
EP0998879A1 (en)Radiofrequency surgical tool
DE102009041602A1 (en) Medical resector
EP1646323B1 (en)Surgical probe
DE29617461U1 (en) Surgical device
DE20200668U1 (en) Surgical instrument
DE202006016837U1 (en)Endoscopic bipolar tongs used in laparoscopic surgery comprises spacer pieces arranged outside of the gripping surfaces
DE102021109175B4 (en) Electrode instrument, surgical hand device and their manufacturing process

Legal Events

DateCodeTitleDescription
OP8Request for examination as to paragraph 44 patent law
8127New person/name/address of the applicant

Owner name:AESCULAP AG, 78532 TUTTLINGEN, DE

8364No opposition during term of opposition
R119Application deemed withdrawn, or ip right lapsed, due to non-payment of renewal fee

Effective date:20130801


[8]ページ先頭

©2009-2025 Movatter.jp